Стандарт распространяется на конструкционные тяжелые, мелкозернистые, легкие и напрягающие бетоны монолитных, сборных и сборно-монолитных бетонных и железобетонных изделий, конструкций и сооружений (далее - конструкции) и устанавливает механические методы определения прочности на сжатие бетонов в конструкциях по упругому отскоку, ударному импульсу, пластической деформации, отрыву, скалыванию ребра и отрыву со скалыванием.
| Обозначение: | ГОСТ 22690-2015 |
| Название рус.: | Бетоны. Определение прочности механическими методами неразрушающего контроля |
| Статус: | взамен |
| Заменяет собой: | ГОСТ 22690-88 «Бетоны. Определение прочности механическими методами неразрушающего контроля» |
| Дата актуализации текста: | 05.05.2017 |
| Дата добавления в базу: | 01.02.2017 |
| Дата введения в действие: | 01.04.2016 |
| Утвержден: | 18.06.2015 Межгосударственный Совет по стандартизации, метрологии и сертификации (Inter-Governmental Council on Standardization, Metrology, and Certification 47)25.09.2015 Федеральное агентство по техническому регулированию и метрологии (1378-ст) |
| Опубликован: | Стандартинформ (2016 г. ) |
| Ссылки для скачивания: |
|
МЕЖГОСУДАРСТВЕННЫЙ
СОВЕТ ПО СТАНДАРТИЗАЦИИ, МЕТРОЛОГИИ И СЕРТИФИКАЦИИ |
|
|
ГОСТ |
|
Определение прочности
механическими методами
неразрушающего контроля
(EN 12504-2:2001, NEQ)
(EN 12504-3:2005, NEQ)
|
|
Москва |
Цели, основные принципы и основной порядок проведения работ по межгосударственной стандартизации установлены ГОСТ 1.0-92 «Межгосударственная система стандартизации. Основные положения» и ГОСТ 1.2-2009 «Межгосударственная система стандартизации. Стандарты межгосударственные, правила и рекомендации по межгосударственной стандартизации. Правила разработки, принятия, применения, обновления и отмены»
1 РАЗРАБОТАН Структурным подразделением АО «НИЦ «Строительство» Научно-исследовательским, проектно-конструкторским и технологическим институтом бетона и железобетона им. А.А. Гвоздева (НИИЖБ)
2 ВНЕСЕН Техническим комитетом по стандартизации ТК 465 «Строительство»
3 ПРИНЯТ Межгосударственным советом по стандартизации, метрологии и сертификации (протокол от 18 июня 2015 г. № 47)
За принятие проголосовали:
|
Краткое наименование страны |
Код страны |
Сокращенное наименование национального органа |
|
Армения |
AM |
Минэкономики Республики Армения |
|
Беларусь |
BY |
Госстандарт Республики Беларусь |
|
Казахстан |
KZ |
Госстандарт Республики Казахстан |
|
Киргизия |
KG |
Кыргызстандарт |
|
Молдова |
MD |
Молдова-Стандарт |
|
Россия |
RU |
Росстандарт |
|
Таджикистан |
TJ |
Таджикстандарт |
4 Приказом Федерального агентства по техническому регулированию и метрологии от 25 сентября 2015 г. № 1378-ст межгосударственный стандарт ГОСТ 22690-2015 введен в действие в качестве национального стандарта Российской Федерации с 1 апреля 2016 г.
5 В настоящем стандарте учтены основные нормативные положения в части требований к механическим методам неразрушающего контроля прочности бетона следующих европейских региональных стандартов:
EN 12504-2:2001 Testing concrete in structures - Part2: Non-destructive testing - Determination of rebound number (Испытание бетона в конструкциях. Часть 2. Неразрушающий контроль. Определение критерия отскока);
EN 12504-3:2005 Testing concrete in structures - Determination of pull-outforce (Испытание бетона в конструкциях. Часть 3. Определение усилия отрыва).
Степень соответствия - неэквивалентная (NEQ)
6 ВЗАМЕН ГОСТ 22690-88
Информация об изменениях к настоящему стандарту публикуется в ежегодном информационном указателе «Национальные стандарты», а текст изменений и поправок - в ежемесячном информационном указателе «Национальные стандарты». В случае пересмотра (замены) или отмены настоящего стандарта соответствующее уведомление будет опубликовано в ежемесячном информационном указателе «Национальные стандарты». Соответствующая информация, уведомление и тексты размещаются также в информационной системе общего пользования - на официальном сайте Федерального агентства по техническому регулированию и метрологии в сети Интернет
ГОСТ 22690-2015
Определение прочности механическими методами неразрушающего контроля
Concretes
Determination of strength by mechanical methods of nondestructive testing
Дата введения - 2016-04-01
Настоящий стандарт распространяется на конструкционные тяжелые, мелкозернистые, легкие и напрягающие бетоны монолитных, сборных и сборно-монолитных бетонных и железобетонных изделий, конструкций и сооружений (далее - конструкции) и устанавливает механические методы определения прочности на сжатие бетонов в конструкциях по упругому отскоку, ударному импульсу, пластической деформации, отрыву, скалыванию ребра и отрыву со скалыванием.
В настоящем стандарте использованы нормативные ссылки на следующие межгосударственные стандарты:
ГОСТ 166-89 (ИСО 3599-76) Штангенциркули. Технические условия
ГОСТ 577-68 Индикаторы часового типа с ценой деления 0,01 мм. Технические условия
ГОСТ 2789-73 Шероховатость поверхности. Параметры и характеристики
ГОСТ 10180-2012 Бетоны. Методы определения прочности по контрольным образцам
ГОСТ 18105-2010 Бетоны. Правила контроля и оценки прочности
ГОСТ 28243-96 Пирометры. Общие технические требования
ГОСТ 28570-90 Бетоны. Методы определения прочности по образцам, отобранным из конструкций
ГОСТ 31914-2012 Бетоны высокопрочные тяжелые и мелкозернистые для монолитных конструкций. Правила контроля и оценки качества
Примечание - При пользовании настоящим стандартом целесообразно проверить действие ссылочных стандартов в информационной системе общего пользования - на официальном сайте Федерального агентства по техническому регулированию и метрологии в сети Интернет или по ежегодному информационному указателю «Национальные стандарты», который опубликован по состоянию на 1 января текущего года, и по выпускам ежемесячного информационного указателя «Национальные стандарты» за текущий год. Если ссылочный стандарт заменен (изменен), то при пользовании настоящим стандартом следует руководствоваться заменяющим (измененным) стандартом. Если ссылочный стандарт отменен без замены, то положение, в котором дана ссылка на него, применяется в части, не затрагивающей эту ссылку.
В настоящем стандарте применены термины по ГОСТ 18105, а также следующие термины с соответствующими определениями:
3.1
разрушающие методы определения прочности бетона: Определение прочности бетона по контрольным образцам, изготовленным из бетонной смеси по ГОСТ 10180 или отобранным из конструкций по ГОСТ 28570.
[ГОСТ 18105-2010, статья 3.1.18]
3.2 неразрушающие механические методы определения прочности бетона: Определение прочности бетона непосредственно в конструкции при локальном механическом воздействии на бетон (удар, отрыв, скол, вдавливание, отрыв со скалыванием, упругий отскок).
3.3 косвенные неразрушающие методы определения прочности бетона: Определение прочности бетона по предварительно установленным градуировочным зависимостям.
3.4 прямые (стандартные) неразрушающие методы определения прочности бетона: Методы, предусматривающие стандартные схемы испытаний (отрыв со скалыванием и скалывание ребра) и допускающие применение известных градуировочных зависимостей без привязки и корректировки.
3.5 градуировочная зависимость: Графическая или аналитическая зависимость между косвенной характеристикой прочности и прочностью бетона на сжатие, определенной одним из разрушающих или прямых неразрушающих методов.
3.6 косвенные характеристики прочности (косвенный показатель): Величина прикладываемого усилия при местном разрушении бетона, величина отскока, энергия удара, размер отпечатка или другое показание прибора при измерении прочности бетона неразрушающими механическими методами.
4.1 Неразрушающие механические методы применяют для определения прочности бетона на сжатие в установленном проектной документацией промежуточном и проектном возрасте и в возрасте, превышающем проектный, при обследовании конструкций.
4.2 Неразрушающие механические методы определения прочности бетона, установленные настоящим стандартом, подразделяют по виду механического воздействия или определяемой косвенной характеристики на метод:
- упругого отскока;
- пластической деформации;
- ударного импульса;
- отрыва;
- отрыва со скалыванием;
- скалывания ребра.
4.3 Неразрушающие механические методы определения прочности бетона основаны на связи прочности бетона с косвенными характеристиками прочности:
- метод упругого отскока на связи прочности бетона со значением отскока бойка от поверхности бетона (или прижатого к ней ударника);
- метод пластической деформации на связи прочности бетона с размерами отпечатка на бетоне конструкции (диаметра, глубины и т. п.) или соотношения диаметра отпечатка на бетоне и стандартном металлическом образце при ударе индентора или вдавливании индентора в поверхность бетона;
- метод ударного импульса на связи прочности бетона с энергией удара и ее изменениями в момент соударения бойка с поверхностью бетона;
- метод отрыва на связи напряжения, необходимого для местного разрушения бетона при отрыве приклеенного к нему металлического диска, равного усилию отрыва, деленному на площадь проекции поверхности отрыва бетона на плоскость диска;
- метод отрыва со скалыванием на связи прочности бетона со значением усилия местного разрушения бетона при вырыве из него анкерного устройства;
- метод скалывания ребра на связи прочности бетона со значением усилия, необходимого для скалывания участка бетона на ребре конструкции.
4.4 В общем случае неразрушающие механические методы определения прочности бетона являются косвенными неразрушающими методами определения прочности. Прочность бетона в конструкциях определяют по экспериментально установленным градуировочным зависимостям.
4.5 Метод отрыва со скалыванием при проведении испытаний в соответствии со стандартной схемой по приложению А и метод скалывания ребра при проведении испытаний в соответствии со стандартной схемой по приложению Б являются прямыми неразрушающими методами определения прочности бетона. Для прямых неразрушающих методов допускается использовать градуировочные зависимости, установленные в приложениях В и Г.
Примечание - Стандартные схемы испытаний применимы в ограниченном диапазоне прочности бетона (см. приложения А и Б). Для случаев, не относящихся к стандартным схемам испытаний, следует устанавливать градуировочные зависимости по общим правилам.
4.6 Метод испытания следует выбирать с учетом данных, приведенных в таблице 1, и дополнительных ограничений, установленных производителями конкретных средств измерений. Применение методов за пределами рекомендуемых в таблице 1 диапазонов прочности бетона допускается при научно-техническом обосновании по результатам исследований с использованием средств измерений, прошедших метрологическую аттестацию для расширенного диапазона прочности бетона.
|
Наименование метода |
Предельные значения прочности бетона, МПа |
|
Упругий отскок и пластическая деформация |
5 - 50 |
|
Ударный импульс |
5 - 150 |
|
Отрыв |
5 - 60 |
|
Скалывание ребра |
10 - 70 |
|
Отрыв со скалыванием |
5 - 100 |
4.7 Определение прочности тяжелых бетонов проектных классов В60 и выше или при средней прочности бетона на сжатие Rm≥ 70 МПа в монолитных конструкциях необходимо проводить с учетом положений ГОСТ 31914.
4.8 Прочность бетона определяют на участках конструкций, не имеющих видимых повреждений (отслоение защитного слоя, трещины, каверны и т. п.).
4.9 Возраст бетона контролируемых конструкций и ее участков не должен отличаться от возраста бетона конструкций (участков, образцов), испытанных для установления градуировочной зависимости, более чем на 25 %. Исключениями являются контроль прочности и построение градуировочной зависимости для бетона, возраст которого превышает два месяца. В этом случае различие в возрасте отдельных конструкций (участков, образцов) не регламентируется.
4.10 Испытания проводят при положительной температуре бетона. Допускается проводить испытания при отрицательной температуре бетона, но не ниже минус 10 °С, при установлении или привязке градуировочной зависимости с учетом требований 6.2.4. Температура бетона при испытаниях должна соответствовать температуре, предусмотренной условиями эксплуатации приборов.
Градуировочные зависимости, установленные при температуре бетона ниже 0 °С, не допускается применять при положительных температурах.
4.11 При необходимости проведения испытаний бетона конструкций после тепловой обработки при температуре поверхности T ≥ 40 °С (для контроля отпускной, передаточной и распалубочной прочности бетона) градуировочную зависимость устанавливают после определения прочности бетона в конструкции косвенным неразрушающим методом при температуре t = (T ± 10) °С, а испытания бетона прямым неразрушающим методом или испытания образцов - после остывания при нормальной температуре.
5.1 Средства измерений и приборы для механических испытаний, предназначенные для определения прочности бетона, должны быть аттестованы и поверены в установленном порядке и должны соответствовать требованиям по приложению Д.
5.2 Показания приборов, градуированных в единицах прочности бетона, следует рассматривать как косвенный показатель прочности бетона. Указанные приборы следует использовать только после установления градуировочной зависимости «показание прибора - прочность бетона» или привязки зависимости, установленной в приборе в соответствии с 6.1.9.
5.3 Инструмент для измерения диаметра отпечатков (штангенциркуль по ГОСТ 166), используемый для метода пластических деформаций, должен обеспечивать измерение с погрешностью не более 0,1 мм, инструмент для измерения глубины отпечатка (индикатор часового типа по ГОСТ 577 и др.) - с погрешностью не более 0,01 мм.
5.4 Стандартные схемы проведения испытаний методом отрыва со скалыванием и скола ребра предусматривают применение анкерных устройств и захватов в соответствии с приложениями А и Б.
5.5 Для метода отрыва со скалыванием следует применять анкерные устройства, глубина заделки которых должна быть не менее максимального размера крупного заполнителя бетона испытуемой конструкции.
5.6 Для метода отрыва следует использовать стальные диски диаметром не менее 40 мм, толщиной не менее 6 мм и не менее 0,1 диаметра, с параметрами шероховатости приклеиваемой поверхности не менее Ra = 20 мкм по ГОСТ 2789. Клей для приклейки диска должен обеспечивать прочность сцепления с бетоном, при которой разрушение происходит по бетону.
6.1 Порядок подготовки к проведению испытаний
6.1.1 Подготовка к испытаниям включает в себя проверку используемых приборов в соответствии с инструкциями по их эксплуатации и установление градуировочных зависимостей между прочностью бетона и косвенной характеристикой прочности.
6.1.2 Градуировочную зависимость устанавливают на основании следующих данных:
- результатов параллельных испытаний одних и тех же участков конструкций одним из косвенных методов и прямым неразрушающим методом определения прочности бетона;
- результатов испытаний участков конструкций одним из косвенных неразрушающих методов определения прочности бетона и испытаний образцов-кернов, отобранных из тех же участков конструкции и испытанных в соответствии с ГОСТ 28570;
- результатов испытаний стандартных бетонных образцов одним из косвенных неразрушающих методов определения прочности бетона и механических испытаний по ГОСТ 10180.
6.1.3 Для косвенных неразрушающих методов определения прочности бетона градуировочную зависимость устанавливают для каждого вида нормируемой прочности, указанной в 4.1 для бетонов одного номинального состава.
Допускается строить одну градуировочную зависимость для бетонов одного вида с одним типом крупного заполнителя, с единой технологией производства, отличающихся по номинальному составу и значению нормируемой прочности при соблюдении требований 6.1.7.
6.1.4 Допустимое отличие возраста бетона отдельных конструкций (участков, образцов) при установлении градуировочной зависимости от возраста бетона контролируемой конструкции принимают по 4.9.
6.1.5 Для прямых неразрушающих методов по 4.5 допускается использовать зависимости, приведенные в приложениях В и Г для всех видов нормируемой прочности бетона.
6.1.6 Градуировочная зависимость должна иметь среднеквадратическое (остаточное) отклонение ST.H.M, не превышающее 15 % среднего значения прочности бетона участков или образцов, использованных при построении зависимости, и коэффициент (индекс) корреляции не менее 0,7.
Рекомендуется использовать линейную зависимость вида R = a + bK (где R - прочность бетона, K - косвенный показатель). Методика установления, оценки параметров и определения условий применения линейной градуировочной зависимости приведена в приложении Е.
6.1.7 При построении градуировочной
зависимости отклонения единичных значений прочности бетона Riф
от среднего значения прочности бетона участков или образцов,
использованных для построения градуировочной зависимости, должны быть в
пределах:
- от 0,5 до 1,5 среднего значения прочности бетона при
≤
20 МПа;
- от 0,6 до 1,4 среднего значения прочности бетона при
20 МПа <
≤
50 МПа;
- от 0,7 до 1,3 среднего значения прочности бетона при
50 МПа <
≤
80 МПа;
- от 0,8 до 1,2 среднего значения прочности бетона при
>
80 МПа.
6.1.8 Корректировка установленной зависимости для бетонов в промежуточном и проектном возрасте должна проводиться не реже одного раза в месяц с учетом дополнительно полученных результатов испытаний. Число образцов или участков дополнительных испытаний при проведении корректировки должно быть не менее трех. Методика корректировки приведена в приложении Е.
6.1.9 Допускается применять косвенные неразрушающие методы определения прочности бетона, используя градуировочные зависимости, установленные для бетона, отличающегося от испытуемого по составу, возрасту, условиям твердения, влажности, с привязкой в соответствии с методикой по приложению Ж.
6.1.10 Без привязки к конкретным условиям по приложению Ж градуировочные зависимости, установленные для бетона, отличающегося от испытуемого, допускается использовать только для получения ориентировочных значений прочности. Не допускается использовать ориентировочные значения прочности без привязки к конкретным условиям для оценки класса бетона по прочности.
6.2 Построение градуировочной зависимости по результатам испытаний прочности бетона в конструкциях
6.2.1 При построении градуировочной зависимости по результатам испытаний прочности бетона в конструкциях зависимость устанавливают по единичным значениям косвенного показателя и прочности бетона одних и тех же участков конструкций.
За единичное значение косвенного показателя принимают среднее значение косвенного показателя в участке. За единичное значение прочности бетона принимают прочность бетона участка, определенную прямым неразрушающим методом или испытанием отобранных образцов.
6.2.2 Минимальное число единичных значений для построения градуировочной зависимости по результатам испытаний прочности бетона в конструкциях - 12.
6.2.3 При построении градуировочной зависимости по результатам испытаний прочности бетона в конструкциях не подлежащих испытанию конструкциях или их зонах предварительно проводят измерения косвенным неразрушающим методом согласно требованиям раздела 7.
Затем выбирают участки в количестве, предусмотренном 6.2.2, на которых получены максимальное, минимальное и промежуточные значения косвенного показателя.
После испытания косвенным неразрушающим методом участки испытывают прямым неразрушающим методом или отбирают образцы для испытания по ГОСТ 28570.
6.2.4 Для определения прочности при отрицательной температуре бетона участки, выбранные для построения или привязки градуировочной зависимости, сначала испытывают косвенным неразрушающим методом, а затем отбирают образцы для последующего испытания при положительной температуре или отогревают внешними источниками тепла (инфракрасные излучатели, тепловые пушки и др.) на глубину 50 мм до температуры не ниже 0 °С и испытывают прямым неразрушающим методом. Контроль температуры отогреваемого бетона проводят на глубине установки анкерного устройства в подготовленном отверстии или по поверхности скола бесконтактным способом с помощью пирометра по ГОСТ 28243.
Отбраковка результатов испытаний, используемых для построения градуировочной зависимости при отрицательной температуре, допускается только в том случае, если отклонения связаны с нарушением процедуры испытания. При этом отбраковываемый результат должен быть заменен результатами повторного испытания в той же зоне конструкции.
6.3 Построение градуировочной зависимости по контрольным образцам
6.3.1 При построении градуировочной зависимости по контрольным образцам зависимость устанавливают по единичным значениям косвенного показателя и прочности бетона стандартных образцов-кубов.
За единичное значение косвенного показателя принимают среднее значение косвенных показателей для серии образцов или для одного образца (если градуировочную зависимость устанавливают по отдельным образцам). За единичное значение прочности бетона принимают прочность бетона в серии по ГОСТ 10180 или одного образца (градуировочная зависимость по отдельным образцам). Механические испытания образцов по ГОСТ 10180 проводят непосредственно после испытаний косвенным неразрушающим методом.
6.3.2 При построении градуировочной зависимости по результатам испытаний образцов-кубов используют не менее 15 серий образцов-кубов по ГОСТ 10180 или не менее 30 отдельных образцов-кубов. Образцы изготовляют в соответствии с требованиями ГОСТ 10180 в разные смены, в течение не менее 3 сут из бетона одного номинального состава, по одной технологии, при том же режиме твердения, что и конструкция, подлежащая контролю.
Единичные значения прочности бетона образцов-кубов, используемых для построения градуировочной зависимости, должны соответствовать ожидаемым на производстве отклонениям, при этом быть в пределах диапазонов, установленных в 6.1.7.
6.3.3 Градуировочную зависимость для методов упругого отскока, ударного импульса, пластической деформации, отрыва и скалывания ребра устанавливают на основе результатов испытаний изготовленных образцов-кубов сначала неразрушающим методом, а затем разрушающим методом по ГОСТ 10180.
При установлении градуировочной зависимости для метода отрыва со скалыванием изготовляют основные и контрольные образцы по 6.3.4. На основных образцах определяют косвенную характеристику, контрольные образцы испытывают по ГОСТ 10180. Основные и контрольные образцы должны быть изготовлены из одного бетона и твердеть в одинаковых условиях.
6.3.4 Размеры образцов следует выбирать в соответствии с наибольшей крупностью заполнителя в бетонной смеси по ГОСТ 10180, но не менее:
- 100×100×100 мм для методов отскока, ударного импульса, пластической деформации, а также для метода отрыва со скалыванием (контрольные образцы);
- 200×200×200 мм для метода скалывания ребра конструкции;
- 300×300×300 мм, но с размером ребра не менее шести глубин установки анкерного устройства для метода отрыва со скалыванием (основные образцы).
6.3.5 Для определения косвенных характеристик прочности проводят испытания согласно требованиям раздела 7 на боковых (по направлению бетонирования) гранях образцов-кубов.
Общее число измерений на каждом образце для метода упругого отскока, ударного импульса, пластической деформации при ударе должно быть не менее установленного числа испытаний на участке по таблице 2, а расстояние между местами ударов - не менее 30 мм (15 мм для метода ударного импульса). Для метода пластической деформации при вдавливании число испытаний на каждой грани должно быть не менее двух, а расстояние между местами испытаний - не менее двух диаметров отпечатков.
При установлении градуировочной зависимости для метода скалывания ребра проводят по одному испытанию на каждом боковом ребре.
При установлении градуировочной зависимости для метода отрыва со скалыванием проводят по одному испытанию на каждой боковой грани основного образца.
6.3.6 При испытаниях методом упругого отскока, ударного импульса, пластической деформации при ударе образцы должны быть зажаты в прессе с усилием не менее (30 ± 5) кН и не более 10 % ожидаемого значения разрушающей нагрузки.
6.3.7 Образцы, испытанные методом отрыва, устанавливают на прессе так, чтобы к опорным плитам пресса не прилегали поверхности, на которых проводили вырыв. Результаты испытаний по ГОСТ 10180 увеличивают на 5 %.
7.1.1 Число и расположение контролируемых участков в конструкциях должны соответствовать требованиям ГОСТ 18105 и указываться в проектной документации на конструкции или устанавливаться с учетом:
- задач контроля (определение фактического класса бетона, распалубочной или отпускной прочности, выявление участков пониженной прочности и т. п.);
- вида конструкции (колонны, балки, плиты и др.);
- размещения захваток и порядка бетонирования;
- армирования конструкций.
Правила назначения числа участков испытаний монолитных и сборных конструкций при контроле прочности бетона приведены в приложении И. При определении прочности бетона обследуемых конструкций число и расположение участков должны приниматься по программе проведения обследования.
7.1.2 Испытания проводят на участке конструкции площадью от 100 до 900 см2.
7.1.3 Общее число измерений на каждом участке, расстояние между местами измерений на участке и от края конструкции, толщина конструкций на участке измерений должны быть не менее значений, приведенных в таблице 2 в зависимости от метода испытаний.
Таблица 2 - Т ребования к участкам испытаний
|
Наименование метода |
Общее число |
Минимальное |
Минимальное |
Минимальная |
|
Упругий отскок |
9 |
30 |
50 |
100 |
|
Ударный импульс |
10 |
15 |
50 |
50 |
|
Пластическая деформация |
5 |
30 |
50 |
70 |
|
Скалывание ребра |
2 |
200 |
- |
170 |
|
Отрыв |
1 |
2 диаметра |
50 |
50 |
|
Отрыв со скалыванием при рабочей глубине заделки анкера h: |
|
5h |
150 |
2h |
|
≥ 40мм |
1 |
|||
|
< 40мм |
2 |
7.1.4 Отклонение отдельных результатов измерений на каждом участке от среднего арифметического значения результатов измерений для данного участка не должно превышать 10 %. Результаты измерений, не удовлетворяющие указанному условию, не учитывают при вычислении среднего арифметического значения косвенного показателя для данного участка. Общее число измерений на каждом участке при вычислении среднего арифметического должно соответствовать требованиям таблицы 2.
7.1.5 Прочность бетона в контролируемом участке конструкции определяют по среднему значению косвенного показателя по градуировочной зависимости, установленной в соответствии с требованиями раздела 6, при условии, что вычисленное значение косвенного показателя находится в пределах установленной (или привязанной) зависимости (между наименьшим и наибольшим значениями прочности).
7.1.6 Шероховатость поверхности участка бетона конструкций при испытании методами отскока, ударного импульса, пластической деформации должна соответствовать шероховатости поверхности участков конструкции (или кубов), испытанных при установлении градуировочной зависимости. В необходимых случаях допускается зачищать поверхности конструкции.
При использовании метода пластической деформации при вдавливании, если нулевой отсчет снимают после приложения начальной нагрузки, требований к шероховатости поверхности бетона конструкции не предъявляют.
7.2.1 Испытания проводят в следующей последовательности:
- прибор располагают так, чтобы усилие прикладывалось перпендикулярно испытуемой поверхности в соответствии с инструкцией по эксплуатации прибора;
- положение прибора при испытании конструкции относительно горизонтали рекомендуется принимать таким же, как и при установлении градуировочной зависимости. При другом положении прибора необходимо вносить поправку на показатели в соответствии с инструкцией по эксплуатации прибора;
- фиксируют значение косвенной характеристики в соответствии с инструкцией по эксплуатации прибора;
- вычисляют среднее значение косвенной характеристики на участке конструкции.
7.3 Метод пластических деформаций
7.3.1 Испытания проводят в следующей последовательности:
- прибор располагают так, чтобы усилие прикладывалось перпендикулярно испытуемой поверхности в соответствии с инструкцией по эксплуатации прибора;
- при применении сферического индентора для облегчения измерений диаметров отпечатков испытание допускается проводить через листы копировальной и белой бумаги (в этом случае испытания для установления градуировочной зависимости проводят с применением такой же бумаги);
- фиксируют значения косвенной характеристики в соответствии с инструкцией по эксплуатации прибора;
- вычисляют среднее значение косвенной характеристики на участке конструкции.
7.4.1 Испытания проводят в следующей последовательности:
- прибор располагают так, чтобы усилие прикладывалось перпендикулярно испытуемой поверхности в соответствии с инструкцией по эксплуатации прибора;
- положение прибора при испытании конструкции относительно горизонтали рекомендуется принимать таким же, как и при испытании при установлении градуировочной зависимости. При другом положении прибора необходимо вносить поправку на показания в соответствии с инструкцией по эксплуатации прибора;
- фиксируют значение косвенной характеристики в соответствии с инструкцией по эксплуатации прибора;
- вычисляют среднее значение косвенной характеристики на участке конструкции.
7.5.1 При испытании методом отрыва участки должны располагаться в зоне наименьших напряжений, вызываемых эксплуатационной нагрузкой или усилием обжатия предварительно напряженной арматуры.
7.5.2 Испытание проводят в следующей последовательности:
- в месте приклейки диска снимают поверхностный слой бетона глубиной 0,5 - 1 мм и очищают поверхность от пыли;
- диск приклеивают к бетону, прижимая диск и удаляя излишки клея за пределами диска;
- прибор соединяют с диском;
- нагрузку плавно увеличивают со скоростью (1 ± 0,3) кН/с;
- фиксируют показание силоизмерителя прибора;
- измеряют площадь проекции поверхности отрыва на плоскости диска с погрешностью ± 0,5 см2;
- определяют значение условного напряжения в бетоне при отрыве как отношение максимального усилия отрыва к площади проекции поверхности отрыва.
7.5.3 Результаты испытаний не учитывают, если при отрыве бетона была обнажена арматура или площадь проекции поверхности отрыва составила менее 80 % площади диска.
7.6 Метод отрыва со скалыванием
7.6.1 При испытании методом отрыва со скалыванием участки должны располагаться в зоне наименьших напряжений, вызываемых эксплуатационной нагрузкой или усилием обжатия предварительно напряженной арматуры.
7.6.2 Испытания проводят в следующей последовательности:
- если анкерное устройство не было установлено до бетонирования, то в бетоне выполняют отверстие, размер которого выбирают в соответствии с инструкцией по эксплуатации прибора в зависимости от типа анкерного устройства;
- в отверстие закрепляют анкерное устройство на глубину, предусмотренную инструкцией по эксплуатации прибора, в зависимости от типа анкерного устройства;
- прибор соединяют с анкерным устройством;
- нагрузку увеличивают со скоростью 1,5 - 3,0 кН/с;
- фиксируют показание силоизмерителя прибора Р0 и величину проскальзывания анкера Δh (разность между фактической глубиной вырыва и глубиной заделки анкерного устройства) с точностью не менее 0,1 мм.
7.6.3 Измеренное значение силы вырыва Р0 умножают на поправочный коэффициент γ, определяемый по формуле
|
|
(1) |
где h - рабочая глубина заделки анкерного устройства, мм;
Δh - величина проскальзывания анкера, мм.
7.6.4 Если наибольший и наименьший размеры вырванной части бетона от анкерного устройства до границ разрушения по поверхности конструкции отличаются более чем в два раза, а также, если глубина вырыва отличается от глубины заделки анкерного устройства более чем на 5 % (Δh > 0,05h, γ > 1,1), то результаты испытаний допускается учитывать только для ориентировочной оценки прочности бетона.
Примечание - Ориентировочные значения прочности бетона не допускается использовать для оценки класса бетона по прочности и построения градуировочных зависимостей.
7.6.5 Результаты испытания не учитывают, если глубина вырыва отличается от глубины заделки анкерного устройства более чем на 10 % (Δh > 0,1h) или была обнажена арматура на расстоянии от анкерного устройства, меньшем, чем глубина его заделки.
7.7.1 При испытании методом скалывания ребра на участке испытания не должно быть трещин, околов бетона, наплывов или раковин высотой (глубиной) более 5 мм. Участки должны располагаться в зоне наименьших напряжений, вызываемых эксплуатационной нагрузкой или усилием обжатия предварительно напряженной арматуры.
7.7.2 Испытание проводят в следующей последовательности:
- прибор закрепляют на конструкции, прикладывают нагрузку со скоростью не более (1 ± 0,3) кН/с;
- фиксируют показание силоизмерителя прибора;
- измеряют фактическую глубину скалывания;
- определяют среднее значение усилия скалывания.
7.7.3 Результаты испытания не учитывают, если при скалывании бетона была обнажена арматура или фактическая глубина скалывания отличалась от заданной более чем на 2 мм.
8.1 Результаты испытаний представляют в таблице, в которой указывают:
- вид конструкции;
- проектный класс бетона;
- возраст бетона;
- прочность бетона каждого проконтролированного участка по 7.1.5;
- среднюю прочность бетона конструкции;
- зоны конструкции или ее части при соблюдении требований 7.1.1.
Форма таблицы представления результатов испытаний приведена в приложении К.
8.2 Обработку и оценку соответствия установленным требованиям значений фактической прочности бетона, полученных с применением приведенных в настоящем стандарте методов, проводят по ГОСТ 18105.
Примечание - Статистическую оценку класса бетона по результатам испытаний проводят по ГОСТ 18105 (схемы «А», «Б» или «В») в тех случаях, когда прочность бетона определяется по градуировочной зависимости, построенной в соответствии с разделом 6. При использовании ранее установленных зависимостей путем их привязки (по приложению Ж) статистический контроль не допускается, а оценку класса бетона проводят только по схеме «Г» ГОСТ 18105.
8.3 Результаты определения прочности бетона механическими методами неразрушающего контроля оформляют в заключении (протоколе), в котором приводят следующие данные:
- об испытанных конструкциях с указанием проектного класса, даты бетонирования и проведения испытаний или возраста бетона на момент проведения испытания;
- о применяемых методах контроля прочности бетона;
- о типах приборов с заводскими номерами, сведения о поверках приборов;
- о принятых градуировочных зависимостях (уравнение зависимости, параметры зависимости, соблюдение условий применения градуировочной зависимости);
- используемые для построения градуировочной зависимости или ее привязки (дата проведения и результаты испытаний неразрушающими косвенными и прямыми или разрушающими методами, корректирующие коэффициенты);
- о числе участков определения прочности бетона в конструкциях с указанием их расположения;
- результаты испытаний;
- методику, результаты обработки и оценки полученных данных.
А.1 Стандартная схема испытания методом отрыва со скалыванием предусматривает проведение испытаний при соблюдении требований А.2 - А.6.
А.2 Стандартная схема испытаний применима в следующих случаях:
- испытания тяжелого бетона прочностью на сжатие от 5 до 100 МПа;
- испытания легкого бетона прочностью на сжатие от 5 до 40 МПа;
- максимальная фракция крупного заполнителя бетона не более рабочей глубины заделки анкерных устройств.
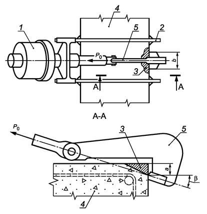
А.3 Опоры нагружающего устройства должны равномерно прилегать к поверхности бетона на расстоянии не менее 2h от оси анкерного устройства, где h - рабочая глубина заделки анкерного устройства. Схема испытания приведена на рисунке А.1.

1 - прибор с
нагружающим устройством и силоизмерителем; 2 - опора нагружающего
устройства;
3 - захват нагружающего устройства; 4 - переходные элементы,
тяги; 5 - анкерное устройство;
6 - вырываемый бетон (конус отрыва); 7 - испытуемая конструкция
Рисунок А.1 - Схема испытания методом отрыва со скалыванием
А.4 Стандартной схемой испытания методом отрыва со скалыванием предусмотрено применение анкерных устройств трех типов (см. рисунок А.2). Анкерное устройство типа I устанавливают в конструкции при бетонировании. Анкерные устройства типов II и III устанавливают в предварительно подготовленные в конструкции отверстия.

1 - рабочий
стержень; 2 - рабочий стержень с разжимным конусом; 3 -
сегментные рифленые щеки;
4 - опорный стержень; 5 - рабочий стержень с полым разжимным
конусом; 6 - выравнивающая шайба
Рисунок А.2 - Типы анкерных устройств для стандартной схемы испытаний
А.5 Параметры анкерных устройств и допустимые для них диапазоны измеряемой прочности бетона при стандартной схеме испытаний указаны в таблице А.1. Для легкого бетона при стандартной схеме испытаний применяются только анкерные устройства с глубиной заделки 48 мм.
Таблица А.1 - Параметры анкерных устройств при стандартной схеме испытаний
|
Тип анкерного |
Диаметр анкерного |
Глубина заделки анкерных устройств, |
Допустимый для анкерного устройства |
||
|
рабочая h |
полная h' |
тяжелого |
легкого |
||
|
I |
14 |
35 |
37 |
45 - 75 |
- |
|
14 |
48 |
50 |
10 - 50 |
10 - 40 |
|
|
II |
16 |
35 |
42 |
40 - 100 |
- |
|
24 |
48 |
55 |
5 - 100 |
5 - 40 |
|
|
III |
28 |
35 |
42 |
10 - 50 |
- |
А.6 Конструкции анкеров типов II и III должны обеспечивать предварительное (до приложения нагрузки) обжатие стенок отверстия на рабочей глубине заделки h и контроль проскальзывания после испытания.
Б.1 Стандартная схема испытания методом скалывания ребра предусматривает проведение испытаний при соблюдении требований Б.2 - Б.4.
Б.2 Стандартная схема испытаний применима в следующих случаях:
- максимальная фракция крупного заполнителя бетона не более 40 мм;
- испытания тяжелого бетона прочностью на сжатие от 10 до 70 МПа на гранитном и известняковом щебне.
Б.3 Для проведения испытаний применяют прибор, состоящий из силовозбудителя с блоком силоизмерителя и захвата со скобой для местного скалывания ребра конструкции. Схема испытания приведена на рисунке Б.1.

1 - прибор с
нагружающим устройством и силоизмерителем; 2 - опорная рама;
3 - скалываемый бетон; 4 - испытуемая конструкция; 5 -
захват со скобой
Рисунок Б.1 - Схема испытания методом скалывания ребра
Б.4 При местном скалывании ребра должны быть обеспечены следующие параметры:
- глубина скалывания a = (20 ± 2) мм;
- ширина скалывания b = (30 ± 0,5) мм;
- угол между направлением действия нагрузки и нормалью к нагружаемой поверхности конструкции β = (18 ± 1)°.
При проведении испытаний методом отрыва со скалыванием по стандартной схеме согласно приложению А кубиковую прочность бетона на сжатие R, МПа, допускается вычислять по градуировочной зависимости по формуле
|
R = m1m2P, |
(В.1) |
где m1 - коэффициент, учитывающий максимальный размер крупного заполнителя в зоне вырывай принимаемый равным 1 при крупности заполнителя менее 50 мм;
m2 - коэффициент пропорциональности для перехода от усилия вырывав килоньютонах к прочности бетона в мегапаскалях;
Р - усилие вырыва анкерного устройства, кН.
При испытании тяжелого бетона прочностью 5 МПа и более и легкого бетона прочностью от 5 до 40 МПа значения коэффициента пропорциональности m2 принимают по таблице В.1.
|
Тип анкерного |
Диапазон |
Диаметр анкерного |
Глубина заделки анкерного |
Значение коэффициента m2 для бетона |
|
|
тяжелого |
легкого |
||||
|
I |
45 - 75 |
14 |
35 |
2,4 |
- |
|
10 - 50 |
14 |
48 |
1,1 |
1,2 |
|
|
II |
40 - 75 |
16 |
35 |
1,7 |
- |
|
5 - 75 |
24 |
48 |
0,9 |
1,0 |
|
|
III |
10 - 50 |
28 |
35 |
1,5 |
- |
Коэффициенты m2 при испытании тяжелого бетона со средней прочностью выше 70 МПа следует принимать по ГОСТ 31914.
При выполнении испытания методом скалывания ребра по стандартной схеме согласно приложению Б кубиковую прочность на сжатие бетона на гранитном и известковом щебне R, МПа, допускается вычислять по градуировочной зависимости по формуле
|
R = 0,058m (30Р + Р2), |
(Г.1) |
где m - коэффициент, учитывающий максимальный размер крупного заполнителя и принимаемый равным:
- 1,0 - при крупности заполнителя менее 20 мм;
- 1,05 - при крупности заполнителя от 20 до 30 мм;
- 1,1 -при крупности заполнителя от 30 до 40 мм;
Р - усилие скалывания, кН.
|
Наименование характеристик приборов |
Характеристика приборов для метода |
|||||
|
упругого |
ударного |
пластической |
отрыва |
скалывания |
отрыва со |
|
|
Твердость ударника, бойка или индентора HRCэ, не менее |
51 |
51 |
51 |
- |
- |
- |
|
Шероховатость контактной части ударника или индентора, мкм, не более |
10 |
10 |
10 |
- |
- |
- |
|
Диаметр ударника или индентора, мм, не менее |
10 |
10 |
10 |
- |
- |
- |
|
Толщина кромок дискового индентора, мм, не менее |
- |
- |
10 |
- |
- |
- |
|
Угол конического индентора |
- |
- |
30° - 60° |
- |
- |
- |
|
Диаметр отпечатка, % диаметра индентора |
- |
- |
20 - 70 |
- |
- |
- |
|
Допуск перпендикулярности при приложении нагрузки на высоте 100 мм, мм |
4 |
4 |
4 |
4 |
- |
4 |
|
Энергия удара, Дж, не менее |
0,7 |
0,02 |
0,7 |
- |
- |
- |
|
Скорость увеличения нагрузки, кН/с |
- |
- |
≤ 1,5* |
0,5 - 1,5 |
0,5 - 1,5 |
1,5 - 3,0 |
|
Погрешность измерения нагрузки, %, не более |
- |
- |
5* |
5 |
5 |
5 |
|
* При вдавливании индентора в поверхность бетона. |
||||||
Е.1 Уравнение градуировочной зависимости
Уравнение зависимости «косвенная характеристика - прочность» принимают линейным по формуле
|
R = aH + b, |
(Е.1) |
где R - прочность бетона, МПа;
Н - косвенная характеристика.
a и b - коэффициенты, рассчитываемые по формулам:
|
(Е.2) |
|
|
|
(Е.3) |
здесь Riф- прочность бетона в i-м участке (образце), определенная путем испытания прямым неразрушающим методом или разрушающим образцов-кернов или стандартным образом, МПа;
Нi - косвенная характеристика в i-м участке (образце), определенная в соответствии с требованиями раздела 7;
N - число участков или отдельных образцов, использовавшихся для построения градуировочной зависимости.
Средние значения прочности
бетона и
косвенной характеристики
рассчитывают
по формулам:
|
(Е.4) |
|
|
|
(Е.5) |
Е.2 Отбраковка результатов испытаний
После построения градуировочной зависимости по формуле (Е.1) проводят ее корректировку путем отбраковки единичных результатов испытаний, не удовлетворяющих условию:
|
(Е.6) |
где RiH - прочность бетона в i-м участке, определенная по рассматриваемой градуировочной зависимости;
S - остаточное среднеквадратическое отклонение, рассчитываемое по формуле
|
(Е.7) |
здесь Riф, N - см. экспликацию к формуле (Е.3).
После отбраковки градуировочную зависимость устанавливают вновь по формулам (Е.1) - (Е.5) по оставшимся результатам испытания. Отбраковку оставшихся результатов испытаний повторяют, рассматривая выполнение условия (Е.6) при использовании новой (скорректированной) градуировочной зависимости.
Частные значения прочности бетона должны удовлетворять требованиям 6.1.7.
Е.3 Параметры градуировочной зависимости
Для принятой градуировочной зависимости определяют:
- минимальное и максимальное значения косвенной характеристики Hmin, Hmax;
- среднеквадратическое отклонение ST.H.M построенной градуировочной зависимости по формуле (Е.7);
- коэффициент корреляции градуировочной зависимости r по формуле
|
|
(Е.8) |
где среднее значение прочности бетона по
градуировочной зависимости
рассчитывают
по формуле
|
(Е.9) |
здесь значения RiH, Riф, , N - см. экспликации к формулам (Е.3), (Е.6).
Е.4 Корректировка градуировочной зависимости
Корректировка установленной градуировочной зависимости с учетом дополнительно получаемых результатов испытаний должна проводиться не реже одного раза в месяц.
При корректировке градуировочной зависимости к существующим результатам испытаний добавляют не менее трех новых результатов, полученных при минимальном, максимальном и промежуточном значениях косвенного показателя.
По мере накопления данных для построения градуировочной зависимости результаты предыдущих испытаний, начиная с самых первых, отбраковывают, чтобы общее число результатов не превышало 20. После добавления новых результатов и отбраковки старых минимальное и максимальное значения косвенной характеристики, градуировочную зависимость и ее параметры устанавливают вновь по формулам (Е.1) - (Е.9).
Е.5 Условия применения градуировочной зависимости
Применение градуировочной зависимости для определения прочности бетона по настоящему стандарту допускается только для значений косвенной характеристики, попадающей в диапазон от Hmin до Нmах.
Если коэффициент корреляции r < 0,7 или значение
,
то проведение контроля и оценка прочности по полученной зависимости не
допускаются.
Ж.1 Значение прочности бетона, определяемое с использованием градуировочной зависимости, установленной для бетона, отличающегося от испытуемого, умножают на коэффициент совпадения Kс. Значение Kс вычисляют по формуле
|
|
(Ж.1) |
где Rосi - прочность бетона в i-м участке, определяемая методом отрыва со скалыванием или испытанием кернов по ГОСТ 28570;
Rкосвi - прочность бетона в i-м участке, определяемая любым косвенным методом по используемой градуировочной зависимости;
n - число участков испытаний.
Ж.2 При вычислении коэффициента совпадения должны быть соблюдены условия:
- число участков испытаний, учитываемых при вычислении коэффициента совпадения, n ≥ 3;
- каждое частное значение Rосi /Rкосвi должно быть не менее 0,7 и не более 1,3:
|
(Ж.2) |
- каждое частное значение Rосi /Rкосвi должно отличаться от среднего значения не более чем на 15 %:
|
(Ж.3) |
Значения Rосi /Rкосвi не удовлетворяющие условиям (Ж.2), (Ж.3), не должны учитываться при вычислении коэффициента совпадения Kс.
И.1 В соответствии с ГОСТ 18105 при контроле прочности бетона сборных конструкций (отпускной или передаточной) число контролируемых конструкций каждого вида принимают не менее 10 % и не менее 12 конструкций из партии. Если партия состоит из 12 конструкций и менее, проводят сплошной контроль. При этом число участков должно быть не менее:
- 1 на 4 м длины линейных конструкций;
- 1 на 4 м2 площади плоских конструкций.
И.2 В соответствии с ГОСТ 18105 при контроле прочности бетона монолитных конструкций в промежуточном возрасте неразрушающими методами контролируют не менее одной конструкции каждого вида (колонна, стена, перекрытие, ригель и т. д.) из контролируемой партии.
И.3 В соответствии с ГОСТ 18105 при контроле прочности бетона монолитных конструкций в проектном возрасте проводят сплошной неразрушающий контроль прочности бетона всех конструкций контролируемой партии. При этом число участков испытаний должно быть не менее:
- 3 на каждую захватку для плоских конструкций (стена, перекрытие, фундаментная плита);
- 1 на 4 м длины (или 3 на захватку) для каждой линейной горизонтальной конструкции (балка, ригели);
- 6 на каждую конструкцию - для линейных вертикальных конструкций (колонна, пилон).
Общее число участков измерений для расчета характеристик однородности прочности бетона партии конструкций должно быть не менее 20.
И.4 Число единичных измерений прочности бетона механическими методами неразрушающего контроля на каждом участке (число измерений на участке) принимают по таблице 2.
|
Наименование конструкций |
Обозначение1) |
№ участка по схеме |
Прочность бетона, МПа |
Класс прочности |
|
|
участка3) |
средняя4) |
||||
|
|
|
|
|
|
|
|
|
|
||||
|
|
|
||||
|
|
|
|
|
|
|
|
|
|
||||
|
|
|
||||
|
1) Марка, условное обозначение и (или) расположение конструкции в осях, зоны конструкции, или части монолитной и сборно-монолитной конструкции (захватки), для которой определяется класс прочности бетона. 2) Общее число и расположение участков в соответствии с 7.1.1. 3) Прочность бетона участка в соответствии с 7.1.5. 4) Средняя прочность бетона конструкции, зоны конструкции или части монолитной и сборно-монолитной конструкции при количестве участков, отвечающих требованиям 7.1.1. 5) Фактический класс прочности бетона конструкции или части монолитной и сборно-монолитной конструкции согласно пунктам 7.3 - 7.5 ГОСТ 18105 в зависимости от выбранной схемы контроля. Примечание - Представление в графе «Класс прочности бетона» оценочных значений класса или значений требуемой прочности бетона для каждого участка отдельно (оценка класса прочности по одному участку) не допустимо. |
|||||
Ключевые слова: конструктивные тяжелые и легкие бетоны, монолитные и сборные бетонные и железобетонные изделия, конструкции и сооружения, механические методы определения прочности на сжатие, упругий отскок, ударный импульс, пластическая деформация, отрыв, скалывание ребра, отрыв со скалыванием