Стандарт распространяется на судовые плоские штампованные водогазонепроницаемые и проницаемые металлические двери, применяемые на кораблях, судах и плавсредствах. Стандарт не распространяется на двери, применяемые на кораблях и судах с динамическими принципами поддержания. Требования настоящего стандарта являются обязательными.
| Обозначение: | ГОСТ 25088-98 |
| Название рус.: | Двери судовые. Технические условия |
| Статус: | действует |
| Заменяет собой: | ГОСТ 25088-81 «Двери судовые. Технические условия» |
| Дата актуализации текста: | 05.05.2017 |
| Дата добавления в базу: | 01.09.2013 |
| Дата введения в действие: | 01.01.2002 |
| Утвержден: | 08.08.2001 Государственный комитет Российской Федерации по стандартизации и метрологии (Russian Federation National Committee for Standardization and Metrology 325-ст)12.11.1998 Межгосударственный Совет по стандартизации, метрологии и сертификации (Inter-Governmental Council on Standardization, Metrology, and Certification 14) |
| Опубликован: | ИПК Издательство стандартов (2002 г. ) |
| Ссылки для скачивания: |
ГОСТ 25088-98
МЕЖГОСУДАРСТВЕННЫЙ СТАНДАРТ
ДВЕРИ СУДОВЫЕ
Технические условия
МЕЖГОСУДАРСТВЕННЫЙ СОВЕТ
ПО СТАНДАРТИЗАЦИИ, МЕТРОЛОГИИ И СЕРТИФИКАЦИИ
Минск
Предисловие
1 РАЗРАБОТАН Украинским научно-исследовательским институтом стандартизации и сертификации в судостроении (УкрГОСНИИСС) Техническим комитетом по стандартизации ТК 15
ВНЕСЕН Государственным комитетом стандартизации, метрологии и сертификации Украины
2 ПРИНЯТ Межгосударственным Советом по стандартизации, метрологии и сертификации (протокол № 14 от 12 ноября 1998 г.)
За принятие проголосовали:
|
Наименование государства |
Наименование национального органа по стандартизации |
|
Азербайджанская Республика |
Азгосстандарт |
|
Республика Армения |
Армгосстандарт |
|
Республика Беларусь |
Госстандарт Республики Беларусь |
|
Республика Казахстан |
Госстандарт Республики Казахстан |
|
Российская Федерация |
Госстандарт России |
|
Республика Таджикистан |
Таджикстандарт |
|
Туркменистан |
Главгосслужба «Туркменстандартлары» |
|
Республика Узбекистан |
Узгосстандарт |
|
Украина |
Госстандарт Украины |
3 Постановлением Государственного комитета Российской Федерации по стандартизации и метрологии от 8 августа 2001 г. № 325-ст межгосударственный стандарт ГОСТ 25088-98 введен в действие непосредственно в качестве государственного стандарта Российской Федерации с 1 января 2002 г.
4 ВЗАМЕН ГОСТ 25088-81
СОДЕРЖАНИЕ
ГОСТ 25088-98
МЕЖГОСУДАРСТВЕННЫЙ СТАНДАРТ
ДВЕРИ СУДОВЫЕ
Технические условия
Ships doors. Specifications
Дата введения 2002-01-01
Настоящий стандарт распространяется на судовые плоские штампованные водогазонепроницаемые и проницаемые металлические двери (далее - судовые двери), применяемые на кораблях, судах и плавсредствах.
Стандарт не распространяется на двери, применяемые на кораблях и судах с динамическими принципами поддержания.
Требования настоящего стандарта являются обязательными.
В настоящем стандарте использованы ссылки на следующие стандарты:
ГОСТ 9.014-78 Единая система защиты от коррозии и старения. Временная противокоррозионная защита изделий. Общие требования
ГОСТ 9.402-80 Единая система защиты от коррозии и старения. Покрытия лакокрасочные. Подготовка металлических поверхностей перед окрашиванием
ГОСТ 26.020-80 Шрифты для средств измерений и автоматизации. Начертания и основные размеры
ГОСТ 977-88 Отливки стальные. Общие технические условия
ГОСТ 2405-88 Манометры, вакуумметры, мановакуумметры, напоромеры, тягомеры и тягонапоромеры. Общие технические условия
ГОСТ 2712-75 Смазка АМС. Технические условия
ГОСТ 2789-73 Шероховатость поверхности. Параметры и характеристики
ГОСТ 2991-85 Ящики дощатые неразборные для грузов массой до 500 кг. Общие технические условия
ГОСТ 4784-97 Алюминий и сплавы алюминиевые деформируемые. Марки
ГОСТ 5632-72 Стали высоколегированные и сплавы коррозионностойкие, жаростойкие и жаропрочные. Марки
ГОСТ 8026-92 Линейки поверочные. Технические условия
ГОСТ 9378-93 (ИСО 2632-1-85, ИСО 2632-2-85) Образцы шероховатости поверхности (сравнения). Общие технические условия
ГОСТ 9569-79 Бумага парафинированная. Технические условия
ГОСТ 10905-86 Плиты поверочные и разметочные. Технические условия
ГОСТ 13837-79 Динамометры общего назначения. Технические условия
ГОСТ 14192-96 Маркировка грузов
ГОСТ 14771-76 Дуговая сварка в защитном газе. Соединения сварные. Основные типы, конструктивные элементы и размеры
ГОСТ 14806-80 Дуговая сварка алюминия и алюминиевых сплавов в инертных газах. Соединения сварные. Основные типы, конструктивные элементы и размеры
ГОСТ 15150-69 Машины, приборы и другие технические изделия. Исполнения для различных климатических районов. Категории, условия эксплуатации, хранения и транспортирования в части воздействия климатических факторов внешней среды
ГОСТ 18477-79 Контейнеры универсальные. Типы, основные параметры и размеры
ГОСТ 24597-81 Пакеты тарно-штучных грузов. Основные параметры и размеры
ГОСТ 24643-81 Основные нормы взаимозаменяемости. Допуски формы и расположения поверхностей. Числовые значения
ГОСТ 29329-92 Весы для статического взвешивания. Общие технические требования.
3.1 В зависимости от степени проницаемости и конструкции полотна стандарт устанавливает три типа судовых дверей:
0 - проницаемые штампованные;
I - водогазонепроницаемые штампованные;
II - водогазонепроницаемые плоские.
3.2 В зависимости от направления открывания двери изготовляют левого (L) и правого (R) исполнений (рисунок 1).
Рисунок 1
3.3 Двери типа 0 могут быть наружного (Н) или внутреннего (В) открывания, двери типов I и II должны быть наружного (Н) открывания.
3.4 Двери типа II в зависимости от способа задраивания подразделяют на два вида:
Р - с рычажным задраиванием;
П - с индивидуальным задраиванием.
По конструкции рамы эти двери подразделяют следующим образом:
АВ - с рамой из уголка;
FB - с рамой из полосы.
3.5 Двери типов 0 и I должны изготовляться из стали (Ст) или из алюминиево-магниевого сплава (АМг5) и могут быть с иллюминатором или без него.
Двери типа II должны изготовляться из стали (Ст), без иллюминатора.
Установка иллюминатора на дверях типов 0 и I может быть предусмотрена только при толщине полотна 3 и 4 мм.
3.6 Основные параметры и размеры судовых дверей должны соответствовать указанным на рисунках 2, 4, 7, 8 и в таблицах 1 - 4.
Схемы установки иллюминаторов на дверях различных типов должны соответствовать приведенным на рисунках 3 и 5.
Расположение ручек защелки и задраек для дверей типа I с размерами в свету 1000×500 мм должно быть в соответствии с рисунком 6.
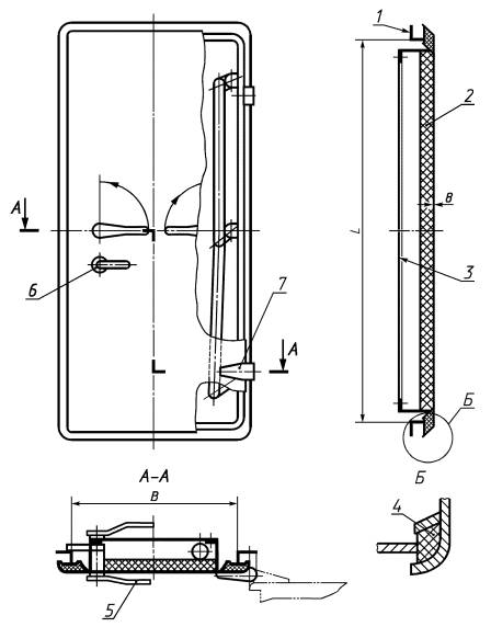
1 - рама; 2 - полотно; 3 - уплотнительная прокладка; 4 - замок с ручками-фалями; 5 - петля
Рисунок 2 - Тип 0
1 - иллюминатор
Рисунок 3 - Схема установки иллюминатора на дверях типа 0
Таблица 1 - Основные параметры и размеры дверей типа 0
Размеры в миллиметрах
|
Размеры в свету L×B |
Толщина полотна S |
Исполнение |
Масса, кг, не более |
|
|
Сталь |
1000×500 |
3 |
Правое |
30,0 |
|
Левое |
||||
|
Правое внутреннего открывания |
30,0 |
|||
|
Левое внутреннего открывания |
||||
|
1400×600 |
Правое |
39,0 |
||
|
Левое |
||||
|
Правое внутреннего открывания |
42,0 |
|||
|
Левое внутреннего открывания |
||||
|
1600×600 |
Правое |
44,0 |
||
|
Левое |
||||
|
Правое внутреннего открывания |
46,0 |
|||
|
Левое внутреннего открывания |
||||
|
1800×750 |
Правое |
56,0 |
||
|
Левое |
||||
|
Правое с иллюминатором |
58,0 |
|||
|
Левое с иллюминатором |
||||
|
Правое внутреннего открывания |
59,5 |
|||
|
Левое внутреннего открывания |
||||
|
Правое с иллюминатором внутреннего открывания |
61,0 |
|||
|
Левое с иллюминатором внутреннего открывания |
||||
|
Алюминиево-магниевый сплав |
1000×500 |
4 |
Правое |
14,0 |
|
Левое |
||||
|
Правое внутреннего открывания |
14,5 |
|||
|
Левое внутреннего открывания |
||||
|
1400×600 |
Правое |
19,0 |
||
|
Левое |
||||
|
Правое внутреннего открывания |
19,5 |
|||
|
Левое внутреннего открывания |
||||
|
1600×600 |
Правое |
21,5 |
||
|
Левое |
||||
|
Правое с иллюминатором |
23,0 |
|||
|
Левое с иллюминатором |
||||
|
Правое внутреннего открывания |
22,0 |
|||
|
Левое внутреннего открывания |
||||
|
Правое с иллюминатором внутреннего открывания |
23,0 |
|||
|
Левое с иллюминатором внутреннего открывания |
Примечание - Если не указано направление открывания дверей, двери - наружного открывания.
1 - уплотнительная прокладка; 2 - зашивка; 3 - петля; 4 - ручка защелки; 5 - ручка задрайки; 6 - рама; 7 - полотно
Рисунок 4 - Тип I
1 - иллюминатор
Рисунок 5 - Схема установки иллюминатора на дверях типа I
Рисунок 6 - Схема расположения ручек защелки и задраек для дверей типа I с размерами в свету 1000×500 мм
Таблица 2 - Основные размеры дверей типа I
Размеры в миллиметрах
|
Размеры в свету L×В |
Толщина полотна на S |
Давление, кПа (м вод. ст.), не более |
Количество задраек, шт. |
Исполнение |
Масса, кг, не более |
||
|
наружное |
внутреннее |
||||||
|
Сталь |
1000×500 |
3 |
58,8 (6,0) |
19,6 (2,0) |
4 |
Правое |
61,0 |
|
Левое |
|||||||
|
5 |
117,6 (12,0) |
98,0 (10,0) |
6 |
Правое |
80,0 |
||
|
Левое |
|||||||
|
1400×600 |
3 |
58,8 (6,0) |
19,6 (2,0) |
Правое |
88,0 |
||
|
Левое |
|||||||
|
5 |
98,0 (10,0) |
39,2 (4,0) |
Правое |
105,0 |
|||
|
Левое |
|||||||
|
1600×600 |
3 |
58,8 (6,0) |
19,6 (2,0) |
Правое с иллюминатором |
98,0 |
||
|
Левое с иллюминатором |
|||||||
|
5 |
98,0 (10,0) |
39,2 (4,0) |
Правое |
114,0 |
|||
|
Левое |
|||||||
|
7 |
176,0 (18,0) |
98,0 (10,0) |
Правое |
133,0 |
|||
|
Левое |
|||||||
|
1600×750 |
3 |
58,8 (6,0) |
19,6 (2,0) |
Правое |
105,0 |
||
|
Левое |
|||||||
|
5 |
98,0 (10,0) |
39,2 (4,0) |
Правое |
131,0 |
|||
|
Левое |
|||||||
|
7 |
157,0 (16,0) |
78,5(8,0) |
Правое |
153,0 |
|||
|
Левое |
|||||||
|
1800×750 |
3 |
58,8 (6,0) |
9,8 (1,0) |
Правое |
118,0 |
||
|
Левое |
|||||||
|
Правое с иллюминатором |
121,0 |
||||||
|
Левое с иллюминатором |
|||||||
|
Алюминиево-магниевый сплав |
1000×500 |
19,6 (2,0) |
4 |
Правое |
32,0 |
||
|
Левое |
|||||||
|
1400×600 |
4 |
6 |
Правое |
47,0 |
|||
|
Левое |
|||||||
|
6 |
117,6 (12,0) |
58,8 (6,0) |
Правое |
53,0 |
|||
|
Левое |
|||||||
|
1600×600 |
4 |
39,2 (4,0) |
19,6 (2,0) |
Правое |
50,0 |
||
|
Левое |
|||||||
|
Правое с иллюминатором |
52,0 |
||||||
|
Левое с иллюминатором |
|||||||
|
6 |
98,0 (10,0) |
39,2 (4,0) |
Правое |
60,0 |
|||
|
Левое |
|||||||
|
1600×750 |
4 |
39,2 (4,0) |
19,6 (2,0) |
Правое |
55,0 |
||
|
Левое |
|||||||
|
6 |
98,0 (10,0) |
39,2 (4,0) |
Правое |
63,0 |
|||
|
Левое |
|||||||
Примечания
1 Давление соответствует давлению на середине высоты двери при выборе дверей в соответствии с Правилами Морского Регистра судоходства (классификационного общества).
Давление, прижимающее полотно к раме, является наружным давлением, отрывающее от рамы - внутренним давлением.
2 При определении максимально допустимых давлений на уровне нижней кромки двери давление должно быть увеличено на 0,0049L кПа, где L - высота двери в свету.
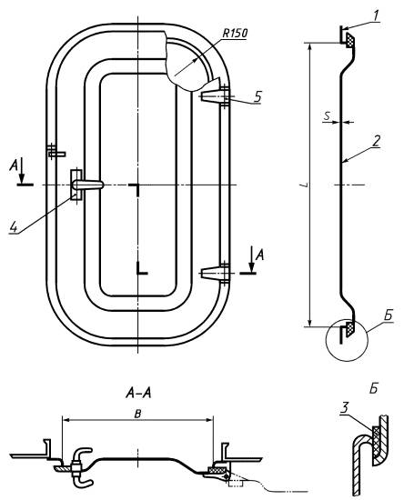
1 - рама; 2 - полотно; 3 - зашивка; 4 - уплотнительная прокладка; 5 - ручка задрайки; 6 - ручка защелки; 7 - петля
Рисунок 7 - Тип II-Р
Таблица 3 - Основные размеры дверей типа II-Р
|
Размеры в свету L×В |
Толщина полотна S |
Давление, кПа (м вод. ст.), не более |
Количество задраек, шт. |
Исполнение |
Конструкция рамы |
Масса, кг, не более |
|
|
наружное |
внутреннее |
||||||
|
1200×600 |
8 |
98,0 (10,0) |
39,2 (4,0) |
6 |
Правое Левое |
Из уголка |
197,0 |
|
Правое Левое |
Из полосы |
182,0 |
|||||
|
1400×600 |
Правое Левое |
Из уголка |
220,0 |
||||
|
Правое Левое |
Из полосы |
208,0 |
|||||
|
1400×750 |
Правое Левое |
Из уголка |
272,0 |
||||
|
Правое Левое |
Из полосы |
259,0 |
|||||
|
1600×600 |
Правое Левое |
Из уголка |
245,0 |
||||
|
Правое Левое |
Из полосы |
232,0 |
|||||
|
1600×750 |
Правое Левое |
Из уголка |
284,0 |
||||
|
Правое Левое |
Из полосы |
270,0 |
|||||
|
1200×600 |
4 |
58,8 (6,0) |
9,8 (1,0) |
Правое Левое |
Из уголка |
109,0 |
|
|
Из полосы |
100,0 |
||||||
|
Правое с иллюминатором |
Из уголка |
112,0 |
|||||
|
Левое с иллюминатором |
|||||||
|
Правое с иллюминатором |
Из полосы |
103,0 |
|||||
|
Левое с иллюминатором |
|||||||
|
1400×600 |
Правое |
Из уголка |
118,0 |
||||
|
Левое |
Из полосы |
107,0 |
|||||
|
Правое с иллюминатором |
Из уголка |
122,0 |
|||||
|
Левое с иллюминатором |
|||||||
|
Правое с иллюминатором |
Из полосы |
110,0 |
|||||
|
Левое с иллюминатором |
|||||||
|
1400×750 |
Правое Левое |
Из уголка |
132,0 |
||||
|
Из полосы |
121,0 |
||||||
|
Правое с иллюминатором |
Из уголка |
135,0 |
|||||
|
Левое с иллюминатором |
|
|
|||||
|
Правое с иллюминатором |
Из полосы |
124,0 |
|||||
|
Левое с иллюминатором |
|
|
|||||
|
1600×600 |
Правое Левое |
Из уголка |
129,0 |
||||
|
Из полосы |
118,0 |
||||||
|
Правое с иллюминатором |
Из уголка |
132,0 |
|||||
|
Левое с иллюминатором |
|||||||
|
Правое с иллюминатором |
Из полосы |
121,0 |
|||||
|
Левое с иллюминатором |
|||||||
|
1600×750 |
Правое Левое |
Из уголка |
144,0 |
||||
|
Из полосы |
132,0 |
||||||
|
Правое с иллюминатором |
Из уголка |
147,0 |
|||||
|
Левое с иллюминатором |
|||||||
|
Правое с иллюминатором |
Из полосы |
135,0 |
|||||
|
Левое с иллюминатором |
|||||||
Примечания
1 Давление соответствует давлению на середине высоты двери при выборе дверей в соответствии с Правилами Морского Регистра судоходства (классификационного общества).
Давление, прижимающее полотно к раме, является наружным давлением, отрывающее от рамы, - внутренним давлением.
2 При определении максимально допустимых давлений на уровне нижней кромки двери давление должно быть увеличено на 0,0049L кПа, где L - высота двери в свету.
1 - рама; 2 - полотно; 3 - зашивка; 4 - уплотнительная прокладка; 5 - ручка защелки; 6 - ручка задрайки; 7 - петля
Рисунок 8 - Тип II-П
Таблица 4 - Основные размеры дверей типа II-П
Размеры в миллиметрах
|
Размеры в свету L×В |
Толщина полотна S |
Давление, кПа (м вод. ст.), не более |
Количество задраек, шт. |
Исполнение |
Конструкция рамы |
Масса, кг, не более |
|
|
наружное |
внутреннее |
||||||
|
1200×600 |
8 |
98,0 (10,0) |
39,2 (4,0) |
6 |
Правое Левое |
Из уголка |
182,0 |
|
Правое Левое |
Из полосы |
164,0 |
|||||
|
1400×600 |
Правое Левое |
Из уголка |
208,0 |
||||
|
Правое Левое |
Из полосы |
188,0 |
|||||
|
1400×750 |
Правое Левое |
Из уголка |
259,0 |
||||
|
Правое Левое |
Из полосы |
234,0 |
|||||
|
1400×900 |
8 |
Правое Левое |
Из уголка |
290,0 |
|||
|
Правое Левое |
Из полосы |
261,0 |
|||||
|
1600×600 |
6 |
Правое Левое |
Из уголка |
232,0 |
|||
|
Правое Левое |
Из полосы |
209,0 |
|||||
|
1600×750 |
Правое Левое |
Из уголка |
270,0 |
||||
|
Правое Левое |
Из полосы |
243,0 |
|||||
|
1600×900 |
8 |
Правое Левое |
Из уголка |
305,0 |
|||
|
Правое Левое |
Из полосы |
275,0 |
|||||
|
1800×750 |
Правое Левое |
Из уголка |
332,0 |
||||
|
Правое Левое |
Из полосы |
299,0 |
|||||
|
1200×600 |
4 |
58,8 (6,0) |
9,8 (1,0) |
6 |
Правое Левое |
Из уголка |
100,0 |
|
Из полосы |
90,0 |
||||||
|
Правое с иллюминатором |
Из уголка |
103,0 |
|||||
|
Левое с иллюминатором |
|||||||
|
Правое с иллюминатором |
Из полосы |
93,0 |
|||||
|
Левое с иллюминатором |
|||||||
|
1400×600 |
Правое Левое |
Из уголка |
107,0 |
||||
|
Из полосы |
97,0 |
||||||
|
Правое с иллюминатором |
Из уголка |
110,0 |
|||||
|
Левое с иллюминатором |
|||||||
|
Правое с иллюминатором |
Из полосы |
100,0 |
|||||
|
Левое с иллюминатором |
|||||||
|
1400×750 |
Правое Левое |
Из уголка |
121,0 |
||||
|
Из полосы |
109,0 |
||||||
|
Правое с иллюминатором |
Из уголка |
124,0 |
|||||
|
Левое с иллюминатором |
|||||||
|
Правое с иллюминатором |
Из полосы |
112,0 |
|||||
|
Левое с иллюминатором |
|||||||
|
1400×900 |
8 |
98,0 (10,0) |
39,2 (4,0) |
8 |
Правое Левое |
Из уголка |
145,0 |
|
Из полосы |
131,0 |
||||||
|
Правое с иллюминатором |
Из уголка |
148,0 |
|||||
|
Левое с иллюминатором |
|||||||
|
Правое с иллюминатором |
Из полосы |
134,0 |
|||||
|
Левое с иллюминатором |
|||||||
|
1600×600 |
58,8 (6,0) |
9,8 (1,0) |
6 |
Правое Левое |
Из уголка |
118,0 |
|
|
Из полосы |
107,0 |
||||||
|
4 |
Правое с иллюминатором |
Из уголка |
121,0 |
||||
|
Левое с иллюминатором |
|||||||
|
Правое с иллюминатором |
Из полосы |
110,0 |
|||||
|
Левое с иллюминатором |
|||||||
|
1600×750 |
Правое Левое |
Из уголка |
132,0 |
||||
|
Из полосы |
119,0 |
||||||
|
Правое с иллюминатором |
Из уголка |
135,0 |
|||||
|
Левое с иллюминатором |
|||||||
|
Правое с иллюминатором |
Из полосы |
122,0 |
|||||
|
Левое с иллюминатором |
|||||||
|
1600×900 |
8 |
Правое Левое |
Из уголка |
148,0 |
|||
|
Из полосы |
133,0 |
||||||
|
Правое с иллюминатором |
Из уголка |
151,0 |
|||||
|
Левое с иллюминатором |
|||||||
|
Правое с иллюминатором |
Из полосы |
136,0 |
|||||
|
Левое с иллюминатором |
|||||||
|
1800×750 |
Правое Левое |
Из уголка |
166,0 |
||||
|
Из полосы |
150,0 |
||||||
|
Правое с иллюминатором |
Из уголка |
169,0 |
|||||
|
Левое с иллюминатором |
|||||||
|
Правое с иллюминатором |
Из полосы |
153,0 |
|||||
|
Левое с иллюминатором |
|||||||
Примечания
1 Давление соответствует давлению на середине высоты двери при выборе дверей в соответствии с Правилами Морского Регистра судоходства (классификационного общества).
Давление, прижимающее полотно к раме, является наружным давлением, отрывающее от рамы, - внутренним давлением.
2 При определении максимально допустимых давлений на уровне нижней кромки двери давление должно быть увеличено на 0,0049L кПа, где L - высота двери в свету.
3.7 Схема условного обозначения дверей
3.7.1 Схема условного обозначения дверей типа 0

Пример условного обозначения:
Дверь типа 0, правая, стальная, размерами в свету: 1800×750 мм, с иллюминатором, внутреннего открывания:
Двери 0-R-Cm 1800×750-И-В ГОСТ 25088-98
3.7.2 Схема условного обозначения дверей типа I

Пример условного обозначения:
Дверь типа I, левая, из алюминиево-магниевого сплава, размерами в свету 1600×600 мм, толщиной полотна 4 мм, с иллюминатором, с допускаемым давлением: наружным 39,2 кПа, внутренним - 19,6 кПа:
Дверь I-L-АМг-1600×600×4-И-39,2/19,6 ГОСТ 25088-98
3.7.3 Схема условного обозначения дверей типа II

Пример условного обозначения:
Дверь типа II, левая, размерами в свету 1400×600 мм, с рычажным задраиванием, с рамой из полосы:
Дверь II-L-1400×600-P-FB ГОСТ 25088-98
4.1.1.1 Судовые двери предназначены для закрытия проемов в корпусных конструкциях и обеспечения сообщения между смежными помещениями, а также для выхода на открытые участки палубы.
4.1.1.2 Двери должны соответствовать требованиям Международной конвенции о грузовой марке, 1966 г.
4.1.1.3 Возможность применения дверей в районах 1 и 2 должна рассматриваться в каждом конкретном случае Классификационным обществом, осуществляющим надзор за постройкой судна, и согласовываться с ним.
4.1.2.1 Назначенный срок службы дверей - 25 лет со дня ввода судна в эксплуатацию.
4.1.2.2 Назначенный срок службы дверей до заводского ремонта - 10 лет.
4.1.2.3 Срок сохраняемости дверей:
- при условии хранения дверей 2 (С) по ГОСТ 15150 - 20 лет, с переконсервацией через 5 лет;
- при условии хранения дверей 5 (ОЖ4) по ГОСТ 15150 - 20 лет, с переконсервацией через 1 год.
4.1.2.4 Сроки службы и сохраняемости обеспечиваются периодическим обновлением покрытий, заменой прокладок и смазкой узлов трения.
4.1.3.1 Двери и их уплотнения должны быть стойкими к воздействию морской воды, ультрафиолетовых лучей и изменений температур воздуха от 223 до 343 К (от минус 50 до плюс 70 °С).
Двери должны изготовляться климатического исполнения ОМ категории I по ГОСТ 15150.
4.1.3.2 Двери типа I и II должны быть непроницаемыми под действием гидростатического давления, указанного в таблицах 2 - 4, а также при действии на них расчетных нагрузок от воздействия моря.
4.1.4.1 Размеры ручек дверей должны обеспечивать свободный захват их рукой при открывании и закрывании.
4.1.5.1 Типы и конструктивные элементы сварных швов для соединений из стали - по ГОСТ 14771, для соединений из алюминиево-магниевого сплава - по ГОСТ 14806.
4.1.5.2 Шероховатость Ra обрабатываемых поверхностей деталей дверей не должна превышать 25 мкм по ГОСТ 2789.
4.1.6.1 Двери должны быть изготовлены в соответствии с требованиями настоящего стандарта и конструкторской документации, утвержденной в установленном порядке.
Основные детали дверей (полотно, рама) должны быть изготовлены:
- для стальных дверей - из стали с временным сопротивлением 350 - 480 Н/мм2 (36 - 49 кгс/мм2);
- для алюминиево-магниевых дверей - из сплава АМг5 по ГОСТ 4784.
Оси петель стальных дверей должны изготовляться по ГОСТ 5632, алюминиево-магниевых дверей - из сплава АМг6 по ГОСТ 4784.
Задрайки дверей должны изготовляться из стали 25 Л по ГОСТ 977.
Клин и петля для стальных дверей должны изготовляться из стали 25 по ГОСТ 977, алюминиево-магниевых дверей - из сплава АМг6 по ГОСТ 4784.
4.1.6.2 Узлы задраивания и узел защелки дверей типов I и II должны быть оборудованы масленками или иметь смазочные отверстия.
4.1.6.3 Уплотнительная прокладка должна крепиться к полотну дверей типа 0 клеем, к полотну дверей типов I и II - резинодержателем.
4.1.6.4 Неплоскостность уплотнительной кромки по периметру рамы дверей типов I и II не должна превышать 1 мм.
4.1.6.5 При закрытом положении дверей типов I и II уплотнительная прокладка должна равномерно прилегать к раме.
4.1.6.6 Задрайки при конечном открытом положении дверей должны стопориться.
4.1.6.7 Все поверхности судовых дверей должны быть защищены от коррозии. Защита деталей судовых дверей от коррозии - по действующей нормативной документации.
Поверхности трения должны быть покрыты смазкой АМС-3 по ГОСТ 2712.
На поверхности деталей не должно быть подтеков смазки.
Лакокрасочное покрытие дверей должно быть равномерным и сплошным.
Подготовка поверхности под грунтовку - по ГОСТ 9.402.
4.2.1 Двери должны поставляться комплектно.
4.2.2 В комплект поставки должны входить дверь в сборе и одиночный комплект запасных частей.
4.2.3 Одиночный комплект запасных частей для двери типа 0 должен содержать:
- шайбу для петель;
- одно стекло на 10 и менее дверей с иллюминатором;
- уплотнительную прокладку из расчета 1,5 м на каждую дверь, но не менее 5,0 м.
4.2.4 Одиночный комплект запасных частей двери типа I должен содержать:
- пружину для ручки защелки;
- шайбу для петли;
- шайбу под задрайку;
- уплотнительное кольцо для оси защелки;
- уплотнительное кольцо для оси задрайки;
- две регулировочные прокладки;
- одну уплотнительную прокладку в виде состыкованного кольца на каждые пять и менее дверей одного типоразмера;
- одно стекло на каждые 10 и менее дверей с иллюминатором.
4.2.5 Одиночный комплект запасных частей двери типа II вида Р должен содержать:
- пружину для ручки защелки;
- шайбу для петли;
- шайбу под задрайку;
- уплотнительное кольцо для оси защелки;
- уплотнительное кольцо для оси задрайки;
- две регулировочные прокладки;
- уплотнительную прокладку из расчета 1,5 м на каждую дверь, но не менее 5,0 м.
4.2.6 Одиночный комплект запасных частей двери типа II, вида П должен содержать:
- шайбу для петли;
- шайбу под задрайку;
- три уплотнительных кольца для оси задрайки;
- две регулировочные прокладки;
- уплотнительную прокладку из расчета 1,5 м на каждую дверь, но не менее 5,0 м.
4.2.7 Исполнения дверей и их составных частей, входящих в комплект поставки, - согласно действующей конструкторской документации и договору на поставку дверей.
4.3.1 Каждая дверь должна иметь маркировку, содержащую:
- наименование или товарный знак предприятия-изготовителя;
- условное обозначение двери;
- обозначение основного конструкторского документа;
- дату изготовления (месяц, год);
- клеймо отдела технического контроля.
4.3.2 Каждая дверь, поставляемая на экспорт, должна иметь маркировку, содержащую:
- надпись по условиям контракта или «Сделано в ...» (наименование страны - изготовителя изделия);
- товарный знак предприятия-изготовителя;
- условное обозначение двери;
- дату изготовления (месяц, год);
- клеймо отдела технического контроля.
4.3.3 Маркировку выполняют ударным способом шрифтом 6-Пр3 по ГОСТ 26.020. Знаки маркировки должны быть четкими и легко читаемыми.
Место маркировки указывают в конструкторских документах.
4.3.4 При транспортировании дверей контейнерами или пакетами к каждому из них должен быть жестко прикреплен ярлык, на котором несмываемой краской должна быть нанесена транспортная маркировка, содержащая основные, дополнительные и информационные надписи в соответствии с ГОСТ 14192.
4.3.5 Транспортная маркировка ящиков со стеклами должна содержать основные, дополнительные и информационные надписи и манипуляционные знаки: «Хрупкое. Осторожно», «Верх», «Беречь от влаги» в соответствии с ГОСТ 14192.
4.4.1 Консервацию узлов трения дверей проводят по варианту временной защиты изделий ВЗ-4, внутреннюю упаковку ВУ-0 - по ГОСТ 9.014, что обеспечивает сохранность изделий без переконсервации в течение пяти лет.
4.4.2 Двери потребителю поставляют без упаковки в вагонах, в универсальных контейнерах по ГОСТ 18477 или пакетами в сварных металлических каркасах, изготовленных по рабочим чертежам, утвержденным в установленном порядке.
Размеры и масса пакетов - по ГОСТ 24597.
При формировании вагона, пакета или контейнера двери устанавливают вертикально или горизонтально и прочно раскрепляют прокладками, исключающими их перемещение. При этом уплотнительная прокладка дверей должна быть обжата на глубину не более 1,0 мм.
4.4.3 Каждая партия дверей должна иметь сопроводительный документ, принятый предприятием-изготовителем, содержащий:
- наименование или товарный знак предприятия-изготовителя;
- наименование и обозначение основных конструкторских документов;
- количество дверей в партии;
- дату отгрузки (месяц, год);
- состав одиночного комплекта запчастей, поставляемого с партией дверей или с одной дверью.
4.4.4 Стекла иллюминаторов упаковывают в ящики типа III-1 по ГОСТ 2991.
Размеры ящиков устанавливает предприятие-изготовитель в зависимости от объема партии.
Каждое стекло перед упаковыванием в ящик должно быть обернуто бумагой по ГОСТ 9569.
Стекла в ящиках устанавливают в вертикальном положении и раскрепляют деревянными перегородками, исключающими перемещение стекол.
4.4.5 В каждый ящик со стеклом вкладывают упаковочный ярлык, содержащий:
- наименование или товарный знак предприятия-изготовителя;
- наименование и марку стекла, размеры, количество;
- обозначение документа на изготовление стекла, дату упаковывания.
5.1 Поверхности дверей не должны иметь механических повреждений и деформаций, снижающих прочность и ухудшающих товарный вид изделия.
Полотно и рама дверей, клиновые задрайки и другие детали не должны иметь острых кромок. Сварные швы должны быть зачищены, дефекты устранены.
5.2 Усилие на ручке при открывании дверей должно быть не более 0,157 кН (16 кгс).
5.3 Усилие при задраивании дверей должно быть не более 0,392 кН (40 кгс).
5.4 Время задраивания дверей типов I и II-Р должно быть не более 5 с.
5.5 Ручка защелки дверей типов I и II, а также ручка-фаля двери типа 0 должны срабатывать плавно, без заеданий.
6.1 Для проверки соответствия дверей требованием настоящего стандарта проводят приемосдаточные испытания.
6.2 На приемосдаточные испытания двери предъявляют партиями. Каждая партия должна состоять из дверей одного типоразмера. Количество дверей в одной партии не должно превышать 100 шт.
6.3 При приемосдаточных испытаниях проверяют:
- на соответствие 3.6 (кроме допустимых давлений и масс), 4.1.6.1 - 4.1.6.4, 4.1.6.6 - 4.1.6.8 и 5.1 - всю партию дверей, прошедшую операционный контроль на соответствие 4.1.6.5;
- на соответствие 3.6 (в части допустимых давлений и масс), 4.1.3.2 и 5.4 - по одной двери от партии;
- на соответствие 5.2 и 5.3 - 10 % дверей от партии.
6.4 Требования 3.6, 4.1.2.1 - 4.1.2.3 и 4.1.3.1 должны обеспечиваться конструкцией и выбором материала.
6.5 Результаты испытаний считаются положительными, если двери соответствуют требованиям настоящего стандарта.
Двери, не соответствующие требованиям настоящего стандарта, возвращают для устранения дефектов и подвергают повторному испытанию.
6.6 Результаты повторных испытаний являются окончательными и распространяются на всю партию. Двери, не отвечающие требованиям настоящего стандарта, бракуют.
6.7 Двери подлежат приемке ОТК и представителем Морского Регистра судоходства.
6.8 Типовые испытания дверей проводят во всех случаях, когда вносят изменения в конструкцию, материалы или технологию изготовления, влияющие на технические характеристики дверей.
7.1 Конструкцию и размеры (3.6; 4.1.6.9) дверей контролируют сличением с конструкторской документацией и проверкой размеров с помощью измерительных инструментов, обеспечивающих требуемую точность.
7.2 Марки материалов (4.1.6.2) изготовляемых деталей и комплектующих изделий проверяют по сертификатам предприятия-изготовителя или по заключению лаборатории.
7.3 Внешний вид (4.1.4.1; 4.1.6.1; 4.1.6.3; 4.1.6.4; 4.1.6.7 - 4.1.6.9; 5.1; 5.5), комплектность (4.2.1 - 4.2.6), маркировку (4.3.1 - 4.3.5) дверей проверяют внешним осмотром.
7.4 Массу (3.6) контролируют взвешиванием на весах среднего класса точности по ГОСТ 29329 с ценой деления не более 0,2 кг.
7.5 Шероховатость (4.1.5.2) проверяют внешним осмотром и сличением с эталонными образцами шероховатости, изготовленными по ГОСТ 9378.
7.6 Неплоскостность (4.1.6.4) проверяют по ГОСТ 24643 щупом, изготовленным по технической документации, при наложении рамы дверей на поверочную плиту по ГОСТ 10905 или наложением кромки линейки по ГОСТ 8026 на уплотняющую кромку рамы.
7.7 Качество нанесения защитного лакокрасочного покрытия и консервационной смазки проверяют внешним осмотром.
Покрытие должно быть равномерным и сплошным.
7.8 Усилие при открывании (закрывании) дверей (5.2; 5.3) проверяют динамометром ДПУ-0,1-2, 1-го класса точности по ГОСТ 13837, прикрепляемым к ручке-задрайке на расстоянии 40 мм от торца ручки. Контроль необходимо проводить при вертикальном положении двери.
7.9 Время задраивания (5.4) проверяют при помощи секундомера.
7.10 Равномерность прилегания уплотнительной прокладки к раме (4.1.6.6) проверяют по меловому отпечатку при плавном закрывании двери на глубину не более 1 мм. При этом разрывы мелового отпечатка не допускаются.
Проверку необходимо проводить при горизонтальном положении двери.
7.11 Водонепроницаемость двери проверяют наливом воды под напором.
Для проверки дверь устанавливают на стенде и закрепляют в рабочем положении (горизонтально).
В камере стенда постепенно со скоростью не более 45 кПа (0,45 кгс/см2) в минуту механическим или ручным насосом создают гидростатическое давление (напор), равное внутреннему давлению (3,6), измеряемое манометром класса точности 1,5 - 2,5 по ГОСТ 2405. Время проведения испытания - 5 мин.
Водонепроницаемость дверей считается обеспеченной, если после сброса давления по окончании испытаний в конструкции двери не будет обнаружено остаточных деформаций и разрушений.
7.12 Водонепроницаемость от воздействия моря проверяют поливанием струей воды из брандспойта диаметром выходного отверстия не менее 16 мм, высотой струи не менее 10 м и с расстояния не более 3 м. Направление струи должно быть перпендикулярно к полотну (двери) в составе корпуса.
8.1 Двери транспортируют железнодорожным транспортом в крытых вагонах при соблюдении условий хранения 5 (ОЖ4) по ГОСТ 15150.
Двери в контейнерах или пакетами размером не менее чем 1680×1240×1700 мм транспортируют в полувагонах и вагонах-платформах при соблюдении условий хранения 8 (ОЖ3) по ГОСТ 15150.
Вид отправки устанавливает предприятие-изготовитель в зависимости от объема отправляемой партии.
8.2 При отправке дверей должно быть обеспечено максимальное использование грузоподъемности и грузовместимости транспортных средств.
8.3 Стекла для судовых дверей с иллюминатором перевозят в ящиках железнодорожными вагонами.
Размещение и крепление ящиков со стеклами в вагонах должно соответствовать требованиям Технических условий погрузки и крепления грузов, утвержденных в установленном порядке.
8.4 Допускается перевозка дверей и стекол иллюминаторов автомобильным или водным транспортом в соответствии с действующими для данного вида транспорта Правилами перевозки грузов при соблюдении условий хранения 5 (Ж4) или 8 (ОЖ3) по ГОСТ 15150.
8.5 Двери следует хранить у изготовителя (потребителя) в вертикальном положении на ребро в закрытом, но не задраенном состоянии при условии хранения 2 (С) по ГОСТ 15150.
9.1 Монтаж дверей на судне необходимо выполнять в соответствии с действующей нормативной документацией.
9.2 Размеры вырезов в корпусе судна для дверей и типовые узлы установки и крепления дверей к переборке должны быть в соответствии с приложениями А и Б.
9.3 Техническое обслуживание дверей в процессе эксплуатации должно проводиться в соответствии с действующей нормативной документацией.
10.1 Изготовитель гарантирует соответствие дверей требованиям настоящего стандарта при соблюдении потребителем условий транспортирования, хранения и эксплуатации, установленных настоящим стандартом.
10.2 Гарантийный срок эксплуатации дверей - 14 мес со дня подписания приемного акта на судно.
10.3 Гарантийный срок эксплуатации дверей, поставляемых на экспорт, - 24 мес с момента пересечения государственной границы государства-изготовителя (поставщика).
Примечание - Гарантийный срок эксплуатации дверей должен быть не менее гарантийного срока эксплуатации судна (корабля) после его постройки и подписания приемного акта или приемосдаточного акта на его переоборудование или ремонт.
(обязательное)

Рисунок А. 1
Таблица А.1
Размеры в миллиметрах
|
Тип двери |
Размеры в свету L×В |
Размеры выреза в корпусе |
||
|
l |
b |
r |
||
|
0 |
1000×500 |
1090 |
590 |
200 |
|
1400×600 |
1490 |
690 |
||
|
1600×600 |
1690 |
|||
|
1800×750 |
1890 |
840 |
||
|
I |
1000×500 |
1090 |
590 |
|
|
1400×600 |
1490 |
690 |
||
|
1600×600 |
1690 |
|||
|
1600×750 |
840 |
|||
|
1800×750 |
1890 |
|||
|
II (АВ) |
1200×600 |
1280 |
680 |
80 |
|
1400×600 |
1480 |
|||
|
1400×750 |
780 |
|||
|
1400×900 |
980 |
|||
|
1600×600 |
1680 |
680 |
||
|
1600×750 |
830 |
|||
|
1600×900 |
980 |
|||
|
1800×750 |
1880 |
830 |
||
|
II (FB) |
1200×600 |
1218 |
698 |
40 |
|
1400×600 |
1418 |
618 |
||
|
1400×750 |
768 |
|||
|
1400×900 |
918 |
|||
|
1600×600 |
1618 |
618 |
||
|
1600×750 |
768 |
|||
|
1600×900 |
918 |
|||
|
1800×750 |
1818 |
768 |
||
(обязательное)

Рисунок Б.1 - Тип 0

Рисунок Б.2 - Тип I

Рисунок Б.3 - Тип II
Ключевые слова: судовые двери, штампованные плоские двери, металлические двери, классификация, основные параметры, размеры, характеристики, требования надежности, маркировка, упаковка, требования безопасности, правила приемки, методы контроля, транспортирование, хранение, указания по эксплуатации