Стандарт распространяется на адмиралтейские якоря, применяемые на надводных кораблях, судах и плавучих средствах.
| Обозначение: | ГОСТ 760-74 |
| Название рус.: | Якоря адмиралтейские. Конструкция и основные размеры |
| Статус: | действует |
| Заменяет собой: | ГОСТ 760-61 «Якорь адмиралтейский. Основные размеры» |
| Дата актуализации текста: | 05.05.2017 |
| Дата добавления в базу: | 01.09.2013 |
| Дата введения в действие: | 01.01.1976 |
| Утвержден: | 31.01.1974 Госстандарт СССР (USSR Gosstandart 326) |
| Опубликован: | Издательство стандартов (1981 г. ) Издательство стандартов (1974 г. ) |
| Ссылки для скачивания: |
ГОСУДАРСТВЕННЫЙ СТАНДАРТ СОЮЗА ССР
ЯКОРЯ АДМИРАЛТЕЙСКИЕ
КОНСТРУКЦИЯ
И ОСНОВНЫЕ РАЗМЕРЫ
ГОСТ 760-74
ГОСУДАРСТВЕННЫЙ КОМИТЕТ СССР ПО СТАНДАРТАМ
Москва
ГОСУДАРСТВЕННЫЙ СТАНДАРТ СОЮЗА ССР
|
ЯКОРЯ АДМИРАЛТЕЙСКИЕ КОНСТРУКЦИЯ И ОСНОВНЫЕ РАЗМЕРЫ Admiralty-Anchor. Constrichion and dimensions |
ГОСТ Взамен ГОСТ 760-61 |
Постановлением Государственного комитета стандартов Совета Министров СССР от 31 января 1974 г. № 326 срок введения установлен
с 01.01.1976 г.
Проверен в 1979 г. Срок действия продлен
до 01.01.1989 г.
Несоблюдение стандарта преследуется по закону
1. Настоящий стандарт распространяется на адмиралтейские якоря, применяемые на судах и плавучих средствах.
Стандарт не распространяется на адмиралтейские якоря, используемые в качестве становых и стоп-анкеров на судах, поднадзорных Регистру СССР.
(Измененная редакция, Изм. № 1, 2, 3).
2. Конструкция и основные размеры якорей в сборе должны соответствовать указанным на черт. 1 и в табл. 1.
Примечание. По требованию заказчика на якорях массой 30 - 100 кг устанавливается подвесная скоба; на якорях массой 125 кг и более устанавливается обух.
3. Основные размеры якоря должны соответствовать указанным на черт. 2 и в табл. 2; штока - черт. 3 и табл. 3; подвесной скобы - черт. 4 и табл. 4.
4. Общие технические условия на якоря - по ГОСТ 766-74.
5. Обозначение чертежей и коды ОКП приведены в справочном приложении.
(Введен дополнительно, Изм. № 2 ).
Якорь в сборе

* Размер для справок.
** Маркировка по ГОСТ 766-74.
1 - скоба якорная по ГОСТ 765-85; 2 - якорь; 3 - шток с деталями; 4 - обух; 5 - подвесная скоба.
(Измененная редакция, Изм. № 1, 2, 3).
Таблица 1
Размеры, мм
|
B |
b |
L |
H |
H1 |
h |
h1 |
x |
y |
|
|
50 |
185 |
36 |
635 |
960 |
1209 |
230 |
65 |
16 |
330 |
|
100 |
230 |
40 |
780 |
1215 |
1505 |
293 |
71 |
20 |
380 |
|
150 |
265 |
45 |
900 |
1395 |
1677 |
335 |
74 |
24 |
440 |
|
200 |
290 |
48 |
990 |
1535 |
1825 |
370 |
79,5 |
26 |
490 |
|
300 |
330 |
58 |
1105 |
1755 |
2098 |
423 |
97 |
30 |
550 |
|
400 |
365 |
65 |
1240 |
1930 |
2345 |
465 |
128,5 |
32 |
610 |
|
500 |
390 |
72 |
1335 |
2080 |
2560 |
500 |
128 |
34 |
660 |
|
700 |
440 |
78 |
1500 |
2330 |
2795 |
560 |
129 |
38 |
780 |
|
1000 |
495 |
82 |
1685 |
2620 |
3148 |
633 |
157,5 |
46 |
820 |
|
1500 |
565 |
96 |
1955 |
3000 |
3541 |
725 |
171 |
50 |
940 |
|
2000 |
625 |
102 |
2140 |
3300 |
3862 |
797 |
184 |
56 |
1050 |
|
3000 |
715 |
123 |
2415 |
3780 |
4410 |
912 |
254 |
65 |
1185 |
(Новая редакция, Изм. № 3).
Пример условного обозначения адмиралтейского якоря массой 100 кг:
Якорь адмиралтейский 100 ГОСТ 760-74
Якорь

1 - якорь; 2 - обух.
Примечание. Допускается соединение веретена с трендом электросваркой.
Таблица 2
Размеры в мм
|
Масса якоря, кг |
H |
B |
L |
L1 |
А |
а |
D |
d |
h |
h1 |
l |
l1 |
R′ |
r |
S |
S1 |
S2 |
S3 |
|
50 |
960 |
185 |
635 |
58 |
100 |
63 |
85 |
28 |
230 |
366 |
76 |
190 |
353 |
279 |
30 |
36 |
51 |
17 |
|
100 |
1215 |
230 |
780 |
73 |
130 |
80 |
107 |
34 |
293 |
440 |
96 |
240 |
429 |
331 |
33 |
45 |
64 |
22 |
|
150 |
1395 |
265 |
900 |
83 |
145 |
92 |
125 |
38 |
335 |
503 |
110 |
275 |
491 |
379 |
38 |
51 |
73 |
26 |
|
200 |
1535 |
290 |
990 |
91 |
160 |
101 |
135 |
40 |
370 |
554 |
121 |
300 |
541 |
417 |
42 |
56 |
81 |
28 |
|
300 |
1755 |
330 |
1105 |
105 |
185 |
116 |
155 |
50 |
423 |
634 |
140 |
345 |
620 |
477 |
51 |
64 |
92 |
32 |
|
400 |
1930 |
365 |
1240 |
115 |
205 |
127 |
170 |
56 |
465 |
698 |
152 |
380 |
680 |
525 |
56 |
71 |
102 |
36 |
|
500 |
2080 |
390 |
1335 |
124 |
220 |
137 |
182 |
60 |
500 |
752 |
165 |
410 |
735 |
565 |
61 |
77 |
110 |
38 |
|
700 |
2330 |
440 |
1500 |
138 |
245 |
153 |
205 |
65 |
560 |
840 |
185 |
460 |
820 |
633 |
68 |
86 |
122 |
43 |
|
1000 |
2620 |
495 |
1685 |
156 |
275 |
173 |
230 |
70 |
633 |
948 |
205 |
520 |
925 |
713 |
74 |
96 |
138 |
48 |
|
1500 |
3000 |
565 |
1955 |
180 |
315 |
198 |
265 |
80 |
725 |
1085 |
240 |
590 |
1060 |
815 |
85 |
110 |
158 |
55 |
|
2000 |
3300 |
625 |
2140 |
197 |
350 |
217 |
290 |
90 |
797 |
1194 |
260 |
650 |
1165 |
898 |
93 |
122 |
174 |
61 |
|
3000 |
3780 |
715 |
2415 |
226 |
400 |
250 |
332 |
105 |
912 |
1367 |
300 |
745 |
1335 |
1028 |
108 |
140 |
199 |
70 |
(Измененная редакция, Изм. № 2).
Шток
Крепление штока в рабочем положении
1 - шток; 2 - шайба; 3 - кольцо; 4 - чека; 5 - цепь; 6 - кольцо упорное; 7 - яблоко.
Таблица 3
Размеры в мм
|
Масса якоря, кг |
B |
D |
D1 |
D2 |
L |
L1 |
|
50 |
83 |
40 |
32 |
52 |
1010 |
485 |
|
300 |
155 |
70 |
60 |
95 |
1760 |
855 |
|
400 |
170 |
80 |
66 |
104 |
1950 |
950 |
|
500 |
185 |
85 |
71 |
113 |
2100 |
1030 |
|
700 |
200 |
95 |
78 |
124 |
2345 |
1140 |
|
100 |
105 |
50 |
41 |
65 |
1265 |
615 |
|
150 |
120 |
60 |
48 |
75 |
1415 |
690 |
|
200 |
135 |
65 |
53 |
85 |
1540 |
750 |
|
1000 |
230 |
110 |
90 |
143 |
2630 |
1275 |
|
1500 |
260 |
125 |
102 |
162 |
2960 |
1450 |
|
2000 |
295 |
140 |
115 |
182 |
3225 |
1570 |
|
3000 |
330 |
160 |
129 |
206 |
3630 |
1750 |
(Измененная редакция, Изм. № 2).
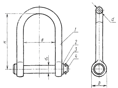
Скоба подвесная
1 - скоба; 2 - шайба по ГОСТ 11371-78; 3 - шплинт по ГОСТ 397-79; 4 - штырь.
Таблица 4
Размеры в мм
|
Масса якоря, кг |
H |
B |
D |
d |
d1 |
|
50 |
115 |
55 |
28 |
12 |
14 |
|
100 |
135 |
68 |
30 |
14 |
16 |
(Измененная редакция, Изм. № 2).
Справочное
|
Обозначение чертежа по отраслевому классификатору |
Обозначение чертежа по классификатору ЕСКД |
Код ОКП |
|
|
50 |
211-01.069 |
АЕИУ.364 213.001 |
64 1111 3005 04 |
|
100 |
211-01.077 |
АЕИУ.364 213.002 |
64 1111 3007 02 |
|
150 |
211-01.084 |
АЕИУ.364 213.003 |
64 1111 3009 00 |
|
200 |
211-01.087 |
АЕИУ.364 213.004 |
64 1111 3010 07 |
|
300 |
211-01.093 |
АЕИУ.364 213.005 |
64 1111 3012 05 |
|
400 |
211-01.096 |
АЕИУ.364 213.006 |
64 1111 3013 04 |
|
500 |
211-01.099 |
АЕИУ.364 213.007 |
64 1111 3014 03 |
|
700 |
211-01.301 |
АЕИУ.364 213.008 |
64 1111 3016 01 |
|
1000 |
211-01.307 |
АЕИУ.364 213.309 |
64 1111 3018 10 |
|
1500 |
211-01.313 |
АЕИУ.364 213.010 |
64 1111 3020 05 |
|
2000 |
211-01.316 |
АЕИУ.364 213.011 |
64 1111 3021 04 |
|
3000 |
211-01.319 |
АЕИУ.364 213.012 |
64 1111 3022 03 |
(Новая редакция, Изм. № 4).