Стандарт распространяется на сальники и их детали (гнезда, нажимные и привертные гайки, шайбы, заглушки, прокладки), предназначенные для уплотнения прохода одиночных электрических кабелей и проводов.
| Обозначение: | ГОСТ 4860.2-83 |
| Название рус.: | Сальники для электрических кабелей и проводов. Конструкция и основные размеры |
| Статус: | взамен |
| Заменяет собой: | ГОСТ 4860.2-76 «Сальники для электрических кабелей и проводов. Конструкция и размеры» ГОСТ 4860.3-76 «Сальники для электрических кабелей и проводов. Гнезда. Конструкция и размеры» ГОСТ 4860.4-76 «Сальники для электрических кабелей и проводов. Гайки нажимные. Конструкция и размеры» ГОСТ 4860.5-76 «Сальники для электрических кабелей и проводов. Гайки привертные. Размеры» ГОСТ 4860.6-76 «Сальники для электрических кабелей и проводов. Шайбы. Размеры» ГОСТ 4860.7-76 «Сальники для электрических кабелей и проводов. Заглушки. Размеры» ГОСТ 4860.8-76 «Сальники для электрических кабелей и проводов. Прокладки. Размеры» |
| Дата актуализации текста: | 05.05.2017 |
| Дата добавления в базу: | 01.09.2013 |
| Дата введения в действие: | 01.01.1985 |
| Утвержден: | 19.12.1983 Государственный комитет СССР по стандартам (USSR National Committee on Standards 6264) |
| Опубликован: | Издательство стандартов (1990 г. ) |
| Ссылки для скачивания: |

ГОСУДАРСТВЕННЫЕ СТАНДАРТЫ СОЮЗА ССР
САЛЬНИКИ
ДЛЯ ЭЛЕКТРИЧЕСКИХ КАБЕЛЕЙ
И ПРОВОДОВ
ГОСТ 4860.2-83
ГОСУДАРСТВЕННЫЙ КОМИТЕТ СССР ПО
УПРАВЛЕНИЮ
КАЧЕСТВОМ ПРОДУКЦИИ И СТАНДАРТАМ
Москва
ГОСУДАРСТВЕННЫЙ СТАНДАРТ СОЮЗА ССР
|
САЛЬНИКИ ДЛЯ ЭЛЕКТРИЧЕСКИХ Конструкция и основные размеры Glands for electric cables and wires. Design and basic dimensions |
ГОСТ |
Срок действия с 01.01.85
до 01.01.95
Несоблюдение стандарта преследуется по закону
1. Настоящий стандарт распространяется на сальники и их детали (гнезда, нажимные и привертные гайки, шайбы, заглушки, прокладки), предназначенные для уплотнения прохода одиночных электрических кабелей и проводов.
2. Конструкция, размеры и масса сальников и их деталей должны соответствовать указанным на черт. 1 - 19 и в табл. 1 - 19:
сальников - на черт. 1 - 6 и в табл. 1 - 6;
гнезд - на черт. 7 - 12 и в табл. 7 - 12. Допускается применение гнезд с другими размерами, если они конструктивно выполнены совместно с корпусом изделия. Например, гнездо сальника с корпусом аппаратуры, изготовленные методом литья;
нажимных гаек - на черт. 13 - 15 и в табл. 13 - 15;
привертных гаек - на черт. 16 и в табл. 16;
шайб - на черт. 17 и в табл. 17;
заглушек - на черт. 18 и в табл. 18;
прокладок - на черт. 19 и в табл. 19.
(Измененная редакция, Изм. № 1).
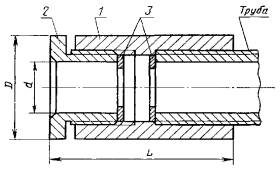
1 - гнездо; 2 - нажимная гайка исполнения 1 или 2; 3 - шайба
Черт. 1
Таблица 1
Размеры, мм
|
Наружные диаметры кабелей и проводов |
d |
d1 |
Обозначение резьбы |
D |
D1 |
L, не более |
Шайба |
Масса (сталь), кг, не более |
|
|
СКРО16 |
От 4 до 8 включ. |
10 |
8 |
М16´1 |
21,9 |
12 |
37 |
8´14 |
0,050 |
|
СКРО27 |
Св. 8 до 18 включ. |
20 |
18 |
М27´1,5 |
36,9 |
24 |
49 |
12´24 |
0,130 |
|
14´24 |
0,130 |
||||||||
|
16´24 |
0,128 |
||||||||
|
18´24 |
0,123 |
||||||||
|
СКРО42 |
Св. 18 до 30 включ. |
32 |
30 |
М42´2 |
53,0 |
36 |
67 |
20´38 |
0,313 |
|
22´38 |
0,325 |
||||||||
|
24´38 |
0,323 |
||||||||
|
26´38 |
0,321 |
||||||||
|
28´38 |
0,319 |
||||||||
|
30´38 |
0,317 |
||||||||
|
СКРО60 |
Св. 30 до 40 включ. |
45 |
40 |
М60´3 |
75,0 |
50 |
75 |
32´55 |
0,737 |
|
34´55 |
0,777 |
||||||||
|
36´55 |
0,771 |
||||||||
|
40´55 |
0,759 |
||||||||
|
СКРО76 |
Св. 40 до 56 включ. |
60 |
56 |
М76´3 |
92,4 |
64 |
83 |
44´71 |
1,191 |
|
48´71 |
1,179 |
||||||||
|
52´71 |
1,159 |
||||||||
|
56´71 |
1,151 |
||||||||
|
СКРО90 |
Св. 56 до 70 включ. |
80 |
70 |
М90´3 |
103,9 |
82 |
86 |
60´84 |
1,224 |
|
64´84 |
1,206 |
||||||||
|
70´84 |
1,176 |

1 - гнездо; 2 - нажимная гайка исполнения 1 или 2; 3 - шайба
Черт. 2
Таблица 2
Размеры, мм
|
Типоразмер сальника |
Наружные диаметры кабелей и проводов |
d |
Обозначение резьбы |
D |
L, не более |
Шайба |
Масса (сталь), кг, не более |
|
СКСО16 |
От 4 до 8 включ. |
10 |
М16´1 |
21,9 |
29 |
5´14 |
0,01 |
|
8´14 |
0,03 |
||||||
|
СКСО27 |
Св. 8 до 18 включ. |
20 |
М27´1,5 |
36,9 |
41 |
12´24 |
0,09 |
|
14´24 |
0,09 |
||||||
|
16´24 |
0,09 |
||||||
|
18´24 |
0,09 |
||||||
|
СКСО42 |
Св. 18 до 30 включ. |
32 |
М42´2 |
53,0 |
56 |
20´38 |
0,26 |
|
22´38 |
0,27 |
||||||
|
24´38 |
0,27 |
||||||
|
26´38 |
0,27 |
||||||
|
28´38 |
0,26 |
||||||
|
30´38 |
0,26 |
||||||
|
СКСО60 |
Св. 30 до 40 включ. |
45 |
М60´3 |
75,0 |
64 |
32´55 |
0,71 |
|
34´55 |
0,71 |
||||||
|
36´55 |
0,70 |
||||||
|
40´55 |
0,69 |
||||||
|
СКСО76 |
Св. 40 до 56 включ. |
60 |
М76´3 |
92,4 |
69 |
44´71 |
0,90 |
|
48´71 |
0,89 |
||||||
|
52´71 |
0,88 |
||||||
|
56´71 |
0,87 |
||||||
|
СКСО90 |
Св. 56 до 70 включ. |
80 |
М90´3 |
103,9 |
72 |
60´84 |
1,06 |
|
64´84 |
1,05 |
||||||
|
70´84 |
1,04 |
Примечание. Диаметр отверстия в аппаратуре или переборке должен быть равен внутреннему диаметру шайбы.

1 - гнездо; 2 - нажимная гайка исполнения 1; 3 - шайба
Черт. 3
Таблица 3
Размеры, мм
|
Типоразмер сальника |
Наружные диаметры кабелей и проводов |
d |
Обозначение резьбы |
D |
L, не более |
Шайба |
Масса (сталь), кг, не более |
|
СКСД16 |
От 4 до 8 включ. |
10 |
М16´1 |
21,9 |
61 |
8´14 |
0,08 |
|
СКСД27 |
Св. 8 до 18 включ. |
20 |
М27´1,5 |
36,9 |
86 |
12´24 |
0,20 |
|
14´24 |
0,20 |
||||||
|
16´24 |
0,20 |
||||||
|
18´24 |
0,19 |
||||||
|
СКСД42 |
Св. 18 до 30 включ. |
32 |
М42´2 |
53,0 |
115 |
20´38 |
0,54 |
|
22´38 |
0,53 |
||||||
|
24´38 |
0,53 |
||||||
|
26´38 |
0,52 |
||||||
|
28´38 |
0,52 |
||||||
|
30´38 |
0,53 |
||||||
|
СКСД60 |
Св. 30 до 40 включ. |
45 |
М60´3 |
75,0 |
131 |
32´55 |
1,44 |
|
34´55 |
1,44 |
||||||
|
36´55 |
1,43 |
||||||
|
40´55 |
1,42 |
||||||
|
СКСД76 |
Св. 40 до 56 включ. |
60 |
М76´3 |
92,4 |
142 |
44´71 |
1,83 |
|
48´71 |
1,82 |
||||||
|
52´71 |
1,81 |
||||||
|
56´71 |
1,80 |
||||||
|
СКСД90 |
Св. 56 до 70 включ. |
80 |
М90´3 |
103,9 |
147 |
60´84 |
2,19 |
|
64´84 |
1,82 |
||||||
|
70´84 |
1,79 |

1 - гнездо; 2 - нажимная гайка исполнения 1 или 2; 3 - шайба
Черт. 4
Таблица 4
Размеры, мм
|
Типоразмер сальника |
Наружные диаметры кабелей и проводов |
d |
d1 |
d2 |
Обозначение резьбы |
D |
D1 |
L, не более |
B |
B1 |
Шайба |
Масса (сталь), кг, не более |
|
СКПФ16 |
От 4 до 8 включ. |
10 |
8 |
4,5 |
М16´1 |
21,9 |
34 |
32 |
37 |
42 |
8´14 |
0,06 |
|
СКПФ27 |
Св. 8 до 16 включ. |
20 |
16 |
5,5 |
М27´1,5 |
36,9 |
46 |
44 |
50 |
57 |
12´24 |
0,15 |
|
14´24 |
0,14 |
|||||||||||
|
16´24 |
0,14 |
|||||||||||
|
СКПФ42 |
Св. 16 до 28 включ. |
32 |
28 |
6,6 |
М42´2 |
53,0 |
62 |
60 |
64 |
73 |
18´38 |
0,33 |
|
20´38 |
0,33 |
|||||||||||
|
22´38 |
0,32 |
|||||||||||
|
24´38 |
0,32 |
|||||||||||
|
26´38 |
0,32 |
|||||||||||
|
28´38 |
0,32 |
|||||||||||
|
СКПФ52 |
Св. 28 до 38 включ. |
40 |
38 |
6,6 |
М52´2 |
63,5 |
76 |
68 |
79 |
90 |
30´48 |
0,52 |
|
32´48 |
0,51 |
|||||||||||
|
38´48 |
0,50 |

1 - гнездо; 2 - нажимная гайка исполнения 1; 3 - шайба
Черт. 5
Таблица 5
Размеры, мм
|
Типоразмер сальника |
Наружные диаметры кабелей и проводов |
d |
Обозначение резьбы |
D |
L, не более |
Шайба |
Масса (сталь), кг, не более |
|
|
СКПТ16 |
От 4 до 8 включ. |
10 |
M16´1 |
3/8" |
21,9 |
39 |
8´14 |
0,05 |
|
СКПТ27 |
Св. 8 до 18 включ. |
20 |
М27´1,5 |
3/4" |
36,9 |
50 |
12´24 |
0,13 |
|
14´24 |
||||||||
|
16´24 |
||||||||
|
18´24 |
||||||||
|
СКПТ42 |
Св. 18 до 30 включ. |
32 |
М42´2 |
11/4" |
53,0 |
74 |
20´38 |
0,44 |
|
32´38 |
0,43 |
|||||||
|
24´38 |
||||||||
|
26´38 |
||||||||
|
28´38 |
0,42 |
|||||||
|
30´38 |
0,43 |
|||||||
|
СКПТ60 |
Св. 30 до 40 включ. |
45 |
М60´3 |
2" |
75,0 |
89 |
32´55 |
1,00 |
|
34´55 |
||||||||
|
36´55 |
0,99 |
|||||||
|
40´55 |
0,98 |
|||||||
|
СКПТ76 |
Св. 40 до 56 включ. |
60 |
М76´3 |
21/2" |
92,4 |
94 |
44´71 |
1,39 |
|
48´71 |
1,38 |
|||||||
|
52´71 |
1,36 |
|||||||
|
56´71 |
1,35 |
|||||||
|
СКПТ90 |
Св. 56 до 70 включ. |
80 |
М90´3 |
3" |
103,9 |
99 |
60´84 |
1,72 |
|
64´84 |
1,71 |
|||||||
|
70´84 |
1,68 |
|||||||
1 - гнездо; 2 - нажимная гайка исполнения 3; 3 - шайба; 4 - привертная гайка
Черт. 6
Таблица 6
Размеры, мм
|
Наружные диаметры кабелей и проводов |
d |
Обозначение резьбы |
D |
L, не более |
Шайба |
Масса, кг, не более |
|
|
СКПП18 |
От 4 до 10 включ. |
10 |
М18´2 |
32 |
92 |
8´14 |
0,05 |
|
10´14 |
0,05 |
||||||
|
СКПП24 |
Св. 10 до 14 включ. |
14 |
М24´2 |
38 |
96 |
12´20 |
0,09 |
|
14´20 |
0,09 |
||||||
|
скпп33 |
Св. 14 до 24 включ. |
20 |
М33´2 |
48 |
100 |
18´30 |
0,20 |
|
20´30 |
0,19 |
||||||
|
СКПП39 |
25 |
М39´3 |
56 |
112 |
22´34 |
0,28 |
|
|
24´34 |
0,28 |
||||||
|
СКПП48 |
Св. 24 до 32 включ. |
32 |
М48´3 |
68 |
121 |
30´44 |
0,45 |
|
32´44 |
0,44 |
||||||
|
СКПП64 |
Св. 32 до 44 включ. |
45 |
М64´4 |
88 |
133 |
36´58 |
0,79 |
|
40´58 |
0,77 |
||||||
|
42´58 |
0,77 |
||||||
|
44´58 |
0,76 |
||||||
|
СКПП72 |
Св. 44 до 50 включ. |
50 |
М72´4 |
95 |
138 |
48´64 |
0,92 |
|
50´64 |
0,91 |
||||||
|
СКПП80 |
Св. 50 до 60 включ. |
60 |
М80´4 |
105 |
142 |
54´74 |
1,03 |
|
58´74 |
1,01 |
||||||
|
60´74 |
1,00 |
||||||
|
СКПП90 |
Св. 60 до 70 включ. |
70 |
М90´4 |
115 |
151 |
64´84 |
1,23 |
|
68´84 |
1,21 |
||||||
|
70´84 |
1,20 |
||||||
|
СкпП100 |
Св. 70 до 78 включ. |
80 |
М100´4 |
125 |
151 |
72´93 |
1,76 |
|
74´93 |
1,75 |
||||||
|
78´93 |
1,72 |
Примечание. В табл. 1 - 6. Диаметры кабелей указаны с плюсовым допуском.
Черт. 7
Таблица 7
Размеры, мм
|
Обозначение резьбы |
D |
D1 |
l |
L |
Масса (сталь), кг, не более |
|
|
8 |
M16´1 |
20 |
12 |
18 |
23 |
0,03 |
|
18 |
М27´1,5 |
32 |
24 |
26 |
31 |
0,08 |
|
30 |
М42´2 |
48 |
36 |
35 |
42 |
0,17 |
|
40 |
М60´3 |
68 |
50 |
39 |
46 |
0,36 |
|
56 |
М76´3 |
85 |
64 |
43 |
52 |
0,56 |
|
70 |
М90´3 |
100 |
82 |
45 |
54 |
0,74 |

Черт. 8
Таблица 8
Размеры, мм
|
Обозначение резьбы |
D |
L |
Масса (сталь), кг, не более |
|
М16´1 |
20 |
15 |
0,02 |
|
М27´1,5 |
32 |
23 |
0,05 |
|
М4´2 |
48 |
31 |
0,12 |
|
М60´3 |
68 |
35 |
0,33 |
|
М76´3 |
85 |
38 |
0,33 |
|
М90´3 |
100 |
40 |
0,65 |

Черт. 9
Таблица 9
Размеры, мм
|
Обозначение резьбы |
D |
L |
Масса (сталь), кг, не более |
|
М16´1 |
20 |
33 |
0,04 |
|
М27´1,5 |
32 |
50 |
0,11 |
|
М42´2 |
48 |
65 |
0,25 |
|
М60´3 |
68 |
73 |
0,69 |
|
М76´3 |
85 |
80 |
0,70 |
|
М90´3 |
100 |
83 |
1,36 |

Черт. 10
Таблица 10
Размеры, мм
|
d |
d1 |
d2 |
Обозначение резьбы |
D |
D1 |
D2 |
B1 |
l |
Масса, кг, не более |
|
|
сталь |
прессовочный материал |
|||||||||
|
8 |
4,5 |
8 |
М16´1 |
20 |
34 |
46 |
42 |
18 |
0,04 |
0,012 |
|
16 |
5,5 |
10 |
М27´1,5 |
32 |
46 |
60 |
57 |
26 |
0,09 |
0,026 |
|
28 |
6,6 |
12 |
М42´2 |
46 |
62 |
78 |
73 |
35 |
0,17 |
0,049 |
|
38 |
М52´2 |
58 |
76 |
95 |
90 |
39 |
0,29 |
0,082 |
||

Черт. 11
Таблица 11
Размеры, мм
|
D |
L |
Масса (сталь), кг, не более |
||
|
М16´1 |
3/8" |
20 |
25 |
0,03 |
|
М27´1,5 |
3/4" |
32 |
38 |
0,08 |
|
М42´2 |
11/4" |
48 |
49 |
0,28 |
|
М60´3 |
2" |
68 |
60 |
0,59 |
|
М76´3 |
21/2" |
85 |
63 |
0,77 |
|
М90´3 |
3" |
100 |
67 |
1,25 |
Черт. 12
Таблица 12
Размеры, мм
|
Обозначение резьбы |
D |
l |
L |
Масса, кг, не более |
|
|
10 |
М18´2 |
26 |
36 |
73 |
0,03 |
|
14 |
М24´2 |
34 |
76 |
0,05 |
|
|
20 |
М33´2 |
48 |
80 |
0,12 |
|
|
25 |
М39´3 |
54 |
38 |
88 |
0,16 |
|
32 |
М48´3 |
64 |
93 |
0,24 |
|
|
45 |
М64´4 |
82 |
42 |
108 |
0,40 |
|
50 |
М72´4 |
90 |
0,50 |
||
|
60 |
М80´4 |
100 |
112 |
0,54 |
|
|
70 |
М90´4 |
110 |
0,62 |
||
|
80 |
М100´4 |
125 |
45 |
117 |
0,94 |
Примечание к табл. 7 - 12. Масса указана для гнезд из стали плотностью 7,85 · 103 кг/м3, из прессовочных материалов плотностью 1,8 · 103 кг/м3.
Для определения массы гнезд, изготовленных из алюминиевого сплава, значения массы, указанные в табл. 7 - 11 для стали, должны быть умножены на коэффициент 0,34, из титановых сплавов - на 0,57.
Черт. 13
Таблица 13
Размеры, мм
|
Обозначение резьбы |
D |
s |
l |
Масса (сталь), кг, не более |
|
|
10 |
М16´1 |
21,9 |
19 |
17 |
0,02 |
|
14* |
М20´1 |
25,4 |
22 |
19 |
0,02 |
|
20 |
М27´1,5 |
36,9 |
32 |
23 |
0,04 |
|
25* |
М33´1,5 |
41,6 |
36 |
23 |
0,06 |
|
32 |
М42´2 |
53,0 |
46 |
32 |
0,13 |
|
40 |
М52´2 |
63,5 |
55 |
34 |
0,19 |
|
45 |
М60´3 |
75,0 |
65 |
37 |
0,34 |
|
60 |
М76´3 |
92,4 |
80 |
40 |
0,51 |
|
80 |
М90´3 |
103,9 |
90 |
41 |
0,35 |
* Для гнезд сальников, встроенных в корпуса аппаратуры (электрооборудования).

Черт. 14
Таблица 14
Размеры, мм
|
d |
Обозначение резьбы |
D |
s |
l |
Масса, кг, не более |
|
10 |
М16´1 |
21,9 |
19 |
21 |
0,004 |
|
14* |
М20´1 |
25,4 |
22 |
23 |
0,008 |
|
20 |
М27´1,5 |
36,9 |
32 |
28 |
0,017 |
|
25* |
М33´1,5 |
41,6 |
36 |
28 |
0,024 |
|
32 |
М42´2 |
53,0 |
46 |
37 |
0,046 |
|
40 |
М52´2 |
63,5 |
55 |
41 |
0,075 |
|
45 |
М60´3 |
75,0 |
65 |
46 |
0,140 |
|
60 |
М76´3 |
92,4 |
80 |
49 |
0,188 |
|
80 |
М90´3 |
103,9 |
90 |
50 |
0,216 |
* Для гнезд сальников, встроенных в корпуса аппаратуры (электрооборудования).
Черт. 15
Таблица 15
Размеры, мм
|
Обозначение резьбы |
D |
D1 |
s |
l |
Масса, кг, не более |
|
|
10 |
М18´2 |
25,4 |
27 |
22 |
32 |
0,013 |
|
14 |
М24´2 |
31,2 |
32 |
27 |
34 |
0,021 |
|
20 |
М33´2 |
41,6 |
43 |
36 |
36 |
0,044 |
|
25 |
М39´3 |
47,3 |
48 |
41 |
44 |
0,064 |
|
32 |
М48´3 |
57,7 |
58 |
50 |
52 |
0,120 |
|
45 |
М64´4 |
81,6 |
82 |
70 |
62 |
0,225 |
|
50 |
М72´4 |
86,6 |
88 |
75 |
67 |
0,250 |
|
60 |
М80´4 |
98,0 |
100 |
85 |
0,275 |
|
|
70 |
М90´4 |
115,5 |
117 |
100 |
71 |
0,375 |
|
80 |
М100´4 |
121,2 |
123 |
105 |
0,545 |
Примечание к табл. 13 - 15. Масса указана для гаек из стали плотностью 7,85 · 103 кг/м3, из прессовочного материала - плотностью 1,8 · 103 кг/м3. Для определения массы гаек, изготовленных из других металлов, значения массы, указанные в табл. 13, должны быть умножены на коэффициент: 1,08 - для латуни; 0,34 - для алюминия; 0,57 - для титановых сплавов.

Черт. 16
Таблица 16
Размеры, мм
|
D |
h |
Масса, кг, не более |
|
|
М18´2 |
32 |
10 |
0,01 |
|
М24´2 |
38 |
0,01 |
|
|
М33´2 |
48 |
0,02 |
|
|
М39´3 |
56 |
12 |
0,04 |
|
М48´3 |
68 |
0,05 |
|
|
М64´4 |
88 |
15 |
0,09 |
|
М72´4 |
95 |
0,11 |
|
|
М80´4 |
105 |
0,12 |
|
|
М90´4 |
115 |
16 |
0,13 |
|
М100´4 |
125 |
18 |
0,15 |
Примечание. Масса указана для гаек из прессовочного материала плотностью 1,8 · 103 кг/м3.
Черт. 17
Таблица 17
Размеры, мм
|
D |
s |
Масса 100 шт. (сталь), кг, не более |
d |
D |
s |
Масса 100 шт. (сталь), кг, не более |
|
|
5 |
14 |
1,5 |
0,17 |
32 |
55 |
3,0 |
3,70 |
|
8 |
0,22 |
34 |
3,46 |
||||
|
10 |
2,0 |
0,09 |
36 |
55 |
3,20 |
||
|
12 |
18 |
0,22 |
58 |
3,32 |
|||
|
20 |
0,31 |
38 |
48 |
1,69 |
|||
|
24 |
0,53 |
40 |
55 |
2,64 |
|||
|
14 |
20 |
0,30 |
58 |
3,26 |
|||
|
24 |
0,50 |
42 |
2,90 |
||||
|
16 |
0,39 |
44 |
2,64 |
||||
|
18 |
0,30 |
71 |
5,74 |
||||
|
18 |
30 |
0,71 |
48 |
5,06 |
|||
|
0,60 |
50 |
64 |
3,31 |
||||
|
20 |
38 |
1,34 |
52 |
71 |
4,32 |
||
|
1,30 |
54 |
74 |
4,74 |
||||
|
22 |
1,18 |
56 |
71 |
3,52 |
|||
|
34 |
0,83 |
58 |
74 |
4,00 |
|||
|
24 |
0,72 |
60 |
3,47 |
||||
|
38 |
1,07 |
84 |
6,39 |
||||
|
26 |
0,95 |
64 |
5,47 |
||||
|
28 |
0,81 |
68 |
4,40 |
||||
|
30 |
3,0 |
1,69 |
70 |
3,99 |
|||
|
30 |
44 |
1,92 |
72 |
93 |
6,00 |
||
|
48 |
2,40 |
74 |
6,00 |
||||
|
32 |
2,37 |
78 |
5,00 |
||||
|
2,43 |
Примечание. Масса указана для шайб из стали плотностью 7,85 · 103 кг/м3. Для определения массы шайб, изготовленных из алюминиевого сплава, значения массы, указанные в табл. 17, должны быть умножены на коэффициент 0,34, из титановых сплавов - на 0,57.
Черт. 18
Таблица 18
Размеры, мм
|
s |
Масса 100 шт., (сталь), кг, не более |
D |
s |
Масса 100 шт., (сталь), кг, не более |
|
|
13 |
0,5 |
0,05 |
42 |
1,0 |
1,09 |
|
15 |
0,07 |
46 |
1,30 |
||
|
17 |
0,09 |
52 |
1,67 |
||
|
19 |
0,11 |
56 |
1,93 |
||
|
23 |
1,0 |
0,33 |
60 |
2,22 |
|
|
28 |
0,48 |
70 |
3,02 |
||
|
30 |
0,55 |
82 |
4,15 |
||
|
32 |
0,63 |
90 |
4,99 |
||
|
36 |
0,80 |
|
|
Примечание. Масса указана для заглушек из стали плотностью 7,85 · 103 кг/м3. Для определения массы заглушек, изготовленных из других материалов, значения массы, указанные в табл. 18, должны быть умножены на коэффициент 0,34 - для алюминиевого сплава, 0,57 - для титанового сплава.
Черт. 19
Таблица 19
Размеры, мм
|
s |
Масса 100 шт., кг, не более |
D |
s |
Масса 100 шт., кг, не более |
|
|
14 |
4 |
0,10 |
48 |
6 |
1,70 |
|
18 |
0,16 |
55 |
2,24 |
||
|
20 |
0,20 |
58 |
2,48 |
||
|
24 |
0,28 |
64 |
3,04 |
||
|
30 |
0,44 |
|
|
||
|
34 |
0,58 |
71 |
8 |
4,98 |
|
|
|
6 |
|
74 |
5,40 |
|
|
38 |
1,06 |
84 |
6,96 |
||
|
44 |
1,44 |
93 |
8,54 |
Примечание. Масса указана для прокладок из резины плотностью 1,5 · 103 кг/м3.
ИНФОРМАЦИОННЫЕ ДАННЫЕ
1. УТВЕРЖДЕН И ВВЕДЕН В ДЕЙСТВИЕ Постановлением Государственного комитета СССР по стандартам от 19.12.83.
2. Периодичность проверки 5 лет
3. ВЗАМЕН ГОСТ 4860.2-76 - ГОСТ 4860.8-76
СОДЕРЖАНИЕ