Настоящие Методические указания устанавливают общие требования к разработке, составу, содержанию и оформлению проекта производства работ (ППР) для ремонта энергетического оборудования электростанций.
Методические указания рекомендуются к применению акционерными обществами энергетики и электрификации, энергетическими и ремонтными предприятиями, а также всеми предприятиями (организациями), привлекаемыми для разработки ППР.
| Обозначение: | РД 153-34.0 -20.608-2003 |
| Название рус.: | Методические указания. Проект производства работ для ремонта энергетического оборудования электростанций. Требования к составу, содержанию и оформлению |
| Статус: | действующий (Введено впервые) |
| Дата актуализации текста: | 01.10.2008 |
| Дата добавления в базу: | 01.02.2009 |
| Дата введения в действие: | 01.03.2003 |
| Разработан: | ОАО "ЦКБ Энергоремонт" |
| Утвержден: | РАО "ЕЭС России" (22.01.2003) |
| Опубликован: | ЦКБ Энергоремонт № 2004 |
РОССИЙСКОЕ АКЦИОНЕРНОЕ ОБЩЕСТВО ЭНЕРГЕТИКИ
И ЭЛЕКТРИФИКАЦИИ «ЕЭС РОССИИ»
МЕТОДИЧЕСКИЕ УКАЗАНИЯ
ПРОЕКТ ПРОИЗВОДСТВА РАБОТ ДЛЯРЕМОНТА
ЭНЕРГЕТИЧЕСКОГО ОБОРУДОВАНИЯ
ЭЛЕКТРОСТАНЦИЙ
ТРЕБОВАНИЯ К СОСТАВУ, СОДЕРЖАНИЮ
И ОФОРМЛЕНИЮ
СО34.20.608-2003
(РД 153-34.0-20.608-2003)
Москва
2004
Разработано Открытым акционерным обществом «Центральноеконструкторское бюро Энергоремонт»
Исполнители Ю.В. Трофимов, Ю.П. Косинов,В.М. Карлинер
Согласовано РАО «ЕЭС России»
Департаментом электрическихстанций
НачальникА.А. Вагнер 25.12.2002
Департаментом техническогоперевооружения
и совершенствования ремонта
НачальникА.А. Романов 25.12.2002
Департаментом генеральнойинспекции по
эксплуатации электростанцийи сетей
НачальникИ.Ш. Загретдинов 25.12.2002
УТВЕРЖДЕНО РАО «ЕЭС России»
Заместитель ПредседателяПравления
В.П. Воронин 22.01.2003
Внесены изменения в связи свводом в действие с 01.01.2004 «Правил организации технического обслуживания иремонта оборудования, зданий и сооружений электростанций и сетей» СО34.04.181-2003.
СОДЕРЖАНИЕ
| Методические указания. Проект производства работ для ремонта энергетического оборудования электростанций. Требования к составу, содержанию и оформлению | СО 34.20.608-2003 (РД 153-34.0-20.608-2003) Введено впервые |
Дата введения 2003-03-01
Настоящие Методическиеуказания устанавливают общие требования к разработке, составу, содержанию иоформлению проекта производства работ (ППР) для ремонта энергетическогооборудования электростанций.
Методические указаниярекомендуются к применению акционерными обществами энергетики и электрификации,энергетическими и ремонтными предприятиями, а также всеми предприятиями(организациями), привлекаемыми для разработки ППР.
1.1 ППР состоит из комплектатехнических и организационно-распорядительных документов, необходимых дляподготовки и производства капитального или среднего ремонта, модернизации илитехнического перевооружения (далее в тексте - ремонт) оборудованияэнергопредприятий, в условиях безопасного выполнения работ.
1.2 ППР разрабатывается дляремонта основного и вспомогательного оборудования энергетических установок(котельной, турбинной, генераторной, трансформаторной, дизельной) иоборудования распределительных устройств, производимого на месте размещения вусловиях существующей компоновки на электростанциях, котельных, подстанциях,ОРУ (энергопредприятиях) при наличии факторов, требующих обеспечениябезопасного выполнения работ.
1.3 Основнымипроизводственными факторами в совокупности или в отдельности, определяющиминеобходимость разработки ППР, являются:
- необходимость размещениясоставных частей оборудования, инвентарных устройств и организации временныхрабочих мест ремонта за пределами площадок обслуживания ремонтируемой установкии размещения ремонтных площадок на отметках обслуживания находящегося в работеоборудования или других свободных площадках, не предназначенных согласнопроектной документации энергопредприятия для использования при ремонте;
- необходимость перемещения впроцессе ремонта составных частей ремонтируемого оборудования и другихкрупногабаритных и тяжелых грузов посредством грузоподъемных кранов по трассам,проходящим над эксплуатируемым оборудованием энергопредприятия;
- необходимость примененияпередвижных кранов для ремонта трансформаторов, высоковольтных выключателей вусловиях действующих распредустройств;
- необходимость в специальныхпроектных и конструкторских разработках на сооружение неинвентарных лесов,установку инвентарных лесов, временное закреплениеконструкций, специальные грузоподъемные устройства и т.п. для обеспечениябезопасного производства работ.
1.4Исходными документами для разработки ППР являются:
- годовой план ремонтаоборудования энергоблоков и энергоустановок с укрупненным объемом работ по СО34.04.181 (приложение 8);
- технические условия наремонт энергооборудования;
- конструкторскаядокументация на энергооборудование, подлежащее ремонту;
- проектная документацияэнергопредприятия: планы и разрезы главного корпуса (сборочные чертежи),документы, входящие в раздел «Организация и механизация ремонта» технического(технорабочего) проекта.
- СО 34.03.201 (РД34.03.201);
- СО 153-34.03.204 (РД34.03.204);
- ПОТ РМ-012-2000;
- СО 153-34.03.150.
1.6 Перечень нормативныхдокументов, на которые имеются ссылки в Методических указаниях, приведен вприложении А.
2.1.1Комплект документов ППР включает:
а) ведомость планируемыхработ по ремонту;
б) сетевой график ремонта;
в) план размещения составныхчастей оборудования и рабочих мест в процессе ремонта;
г) программу выводаэнергоустановки в ремонт;
д) программу приемкиэнергоустановки из ремонта;
е) комплект технологическихдокументов для ремонта;
ж) проектную документацию насооружение неинвентарных лесов и подмостей, закрепление специальныхгрузоподъемных устройств и др.;
з) проектную документацию наустановку инвентарных лесов;
и) конструкторскуюдокументацию на специальные грузоподъемные устройства;
к) конструкторскуюдокументацию на специальную технологическую оснастку;
л) пояснительную записку,включающую обязательный раздел «Требования безопасности при выполненииремонтных работ».
2.1.2 Обязательными длявключения в состав ППР являются документы, приведенные в 2.1.1,перечисление а, б, г, д, е, л.
2.1.3 Для обеспечениябезопасного ведения ремонтных работ, использования при ремонте специальныхлесов, подмостей, специальной технологической оснастки и грузоподъемныхустройств, а также для обеспечения перемещения грузов, в составе ППРразрабатываются другие документы, перечисленные в 2.1.1.
2.1.5 При необходимостивыполнения неотложных ремонтных работ (неплановые ремонты, работы, выявленныепри дефектации оборудования) и невозможности разработки ППР до начала работдопускается выполнение работ по типовой технологической документации или другимдокументам, содержащим требования по технике безопасности.
2.1.6 Разработанный ППР можетиспользоваться как типовой при последующих ремонтах и нуждается в пересмотрепри значительных изменениях технологии выполнения ремонта.
Сетевой график ремонтаразрабатывается в соответствии с «Методическими указаниями по разработке иприменению системы сетевого планирования и управления при ремонте оборудованияэлектростанций».
а) размещения составныхчастей оборудования и организации временных рабочих мест вне площадокобслуживания выводимого в ремонт оборудования и вне предусмотренных площадоквблизи находящегося в работе оборудования или на свободных площадках, если впроектной документации электростанции на них не предусмотрено размещениеоборудования при ремонте;
б) перемещения в процессеработ составных частей оборудования и других крупногабаритных и тяжелых конструкцийпосредством грузоподъемных кранов;
в) применения передвижныхкранов для ремонта трансформаторов, высоковольтных выключателей и другогоэлектрооборудования в условиях действующих распредустройств.
Планы размещения составныхчастей оборудования и рабочих мест разрабатываются на основании проектнойдокументации электростанции.
Трассы перемещениякрупногабаритных и тяжелых составных частей оборудования и конструкций, а такжеместа установки передвижных кранов и зона их действия указываются на планах.
При разработке плановнеобходимо учитывать требования безопасности по ГОСТ12.3.002, ГОСТ12.3.009 и ГОСТ12.3.020.
Если закрепление специальныхгрузоподъемных устройств предусматривается непосредственно на ремонтируемомоборудовании или на несущих конструкциях зданий и сооружений электростанции, тосоответствующая проектная документация должна быть согласована и утверждена вустановленном порядке.
При разработке документациинеобходимо учитывать требования СНиП III-4, ГОСТ 24258, ГОСТ26887, ГОСТ27321, ГОСТ 28012,СО 34.03.201 (РД34.03.201).
2.2.8 Проектнаядокументация на установку инвентарных лесов включает комплект документов,содержащих технические решения по установке и закреплению инвентарных лесов.
При разработке документациинеобходимо учитывать требования нормативных документов, перечисленных в 2.2.7.
При разработке документациинеобходимо учитывать требования ГОСТ12.2.003, ГОСТ12.3.009 и ПБ10-382-00.
При разработке документациинеобходимо учитывать требования ГОСТ12.2.003.
2.2.11 Пояснительнаязаписка содержит краткое описание документов ППР, технических характеристикразработанных и предусмотренных к использованию средств технологическогооснащения ремонта (подмостей, лесов, грузоподъемных устройств, ремонтныхплощадок), требования безопасности при выполнении ремонтных работ, требования корганизации ремонта и выполнению работ.
В пояснительной записке принеобходимости приводят такелажные схемы перемещения грузов, выбор и расчет ееэлементов; перечень тяжеловесных грузов с указанием масс и схем их строповки;перечень средств индивидуальной и коллективной защиты персонала и др.
Пояснительная записка в общемслучае должна состоять из следующих разделов:
- введение;
- назначение и областьприменения ППР;
- документы ППР;
- технические характеристикисредств технологического оснащения;
- требования безопасности привыполнении ремонтных работ;
- требования к организацииработ.
В зависимости от особенностейППР отдельные разделы пояснительной записки (кроме раздела «Требованиябезопасности при выполнении ремонтных работ») допускается объединять илиисключать, а также вводить новые разделы.
3.1 Ответственным за разработкуППР является энергопредприятие, которое может самостоятельно разрабатывать егополный объем, привлекать на договорной основе ремонтные предприятия и (или)специализированные организации для выполнения разработок отдельных документовППР.
При этом энергопредприятие,как правило, должно разрабатывать следующие документы ППР:
- ведомость планируемых работпо ремонту;
- программу выводаэнергоустановки в ремонт;
- программу приемкиэнергоустановки из ремонта.
3.3 Документы ППР,разработанные энергопредприятием, должны быть согласованы с ремонтнымпредприятием в пределах принятого к исполнению объема ремонта и утвержденыэнергопредприятием.
3.4 Документы ППР,разработанные ремонтным предприятием или специализированной организацией,подлежат согласованию с энергопредприятием и утверждаются разработчиком.
3.5 Полный комплект ППРсогласуется с ремонтными предприятиями, участвующими в ремонте установки, иутверждается главным инженером энергопредприятия.
3.6 Порядок согласования иперечень административных должностей лиц, участвующих в согласовании иутверждении отдельных документов ППР, должен быть отражен в распорядительномдокументе энергопредприятия, составленном с участием ремонтного предприятия.
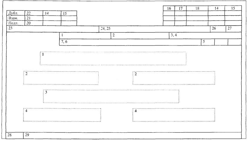
4.1.1 ППР оформляют ститульным листом (ТЛ) и ведомостью документовпроекта (ВДП).
ТЛ и ВДП имеют общуюнумерацию листов, причем ТЛ является первым листом, а заглавный лист ВДП -вторым листом. Другие документы ППР имеют собственную нумерацию листов впределах каждого документа. При комплектации документов ППР в папки или альбомыследует выполнить последовательную нумерацию всех листов, расположив их номерав нижней правой части каждого листа.
4.2.1 ТЛсоставляется по ГОСТ 3.1105 форма 2 и в соответствии с приложением Б настоящего РД.
4.2.2 На ТЛ следуетуказывать:
- на поле 1 - наименованиеэнергосистемы, в которую входит энергопредприятие;
- на поле 2 - в левой части -согласующая подпись главного инженера ремонтного предприятия, выполняющегоремонт оборудования, для которого разработан ППР. В правой части поля -утверждающая подпись главного инженера энергопредприятия;
- на поле 3 - надпись -ПРОЕКТ ПРОИЗВОДСТВА РАБОТ;
- на поле 4 - в левой части -подпись начальника цеха ремонтного предприятия. В правой части поля - подписьначальника цеха энергопредприятия, к которому относится ремонтируемоеоборудование.
4.2.3 Графы блоков основнойнадписи ТЛ следует заполнять в соответствии с таблицей 1.
4.2.4 Пример оформления ТЛприведен в приложении В.
Таблица 1 - Заполнение графосновной надписи.
| Содержание графы | |
| 1 | Краткое наименование предприятия (организации) разработчика ППР |
| 2 | Обозначение оборудования по основному конструкторскому документу. Допускается графу не заполнять |
| 3, 4, 5 | Графы не заполняются |
| 6, 7 | Наименование оборудования по основному конструкторскому документу |
| 14 - 18, 20 - 22 | Графы не заполняются |
| 23 | Наименование энергопредприятия |
| 24, 25 | Обозначение ППР. Структура обозначения приведена в приложении Г |
| 26 | Общее количество листов (считая только ТЛ и листы ВДП) |
| 27 | Порядковый номер листа |
| 28 | Условное обозначение вида документа - ППР |
| 29 | Вид ремонта - средний или капитальный |
4.3.1 ВДП предназначена дляуказания полного состава документов ППР.
4.3.2ВДП разрабатывается на формах 5 и 5а по ГОСТ 3.1122 и в соответствии с приложениями Д и Е настоящего РД (заглавныйлист и последующие листы).
4.3.3 Графы блоков основнойнадписи ВДП следует заполнять следующим образом:
- графы 1, 2, 5, 6, 7, 16 -18, 20 - 27, 29 - в соответствии с таблицей 1;
- в графах 3, 4 указываетсяобозначение ВДП. Структура обозначения по приложению Г;
- в графах 12 указываютсяхарактер работы, выполняемой подписывающими ВДП лицами, т.е. «Разработал»,«Проверил», «Согласовал», «Утвердил», «Нормоконтроль» и др.
- в графах 13, 14 и 15указываются соответственно фамилии лиц, подписывающих ВДП, их подписи и датаподписи;
- в графе 28 указываетсяобозначение вида документа - ВДП.
4.3.4 Документы ППР приводятв ВДП в последовательности, указанной в 2.1.1.
Допускается послеперечисления документов по 2.1.1 указывать производственные инструкции поохране труда, необходимые для безопасного производства работ, а также другиедокументы в соответствии с 2.1.4.
4.3.5 Пример оформления ВДПприведен в приложении Ж.
4.5.1Документы, приведенные в 2.1.1 перечисление б, в, ж, з, и, к, разрабатываются на форматах по ГОСТ 2.301 .
4.5.2Формы, размеры и порядок заполнения основных надписей документов принимаются по ГОСТ 2.104 .
4.6.1Документы оформляются в соответствии с ГОСТ 2.106 (разделы 10 и 11).
4.7.1 Комплекттехнологических документов разрабатывается и оформляется в соответствии сгосударственными стандартами ЕСТД.
(справочное)
| Обозначение НД (Прежнее обозначение НД) | Наименование НД | Пункт, в котором имеется ссылка |
| СО 34.04.181-2003 | Правила организации технического обслуживания и ремонта оборудования, зданий и сооружений электростанций и сетей | |
| СО 34.03.201-97 (РД 34.03.201-97) | Правила техники безопасности при эксплуатации тепломеханического оборудования электростанций и тепловых сетей | |
| СО 153-34.03.204 (РД 34.03.204) | Правила безопасности при работе с инструментом и приспособлениями | |
| ПОТ РМ-012-2000 | Межотраслевые правила по охране труда при работе на высоте | |
| СО 153-34.03.150-2003 | Межотраслевые правила по охране труда (правила безопасности) при эксплуатации электроустановок | |
|
| Методические указания по разработке и применению системы сетевого планирования и управления при ремонте оборудования электростанций | |
| ГОСТ 12.3.002-75 | ССБТ. Процессы производственные. Общие требования безопасности | |
| ГОСТ 12.3.009-76 | ССБТ. Работы погрузочно-разгрузочные. Общие требования безопасности | |
| ГОСТ 12.3.020-80 | ССБТ. Процессы перемещения грузов на предприятиях. Общие требования безопасности | |
| СО 34-38-445-87 (ОСТ 34-38-445-87) | СТОиР оборудования электростанций. Комплектность технологических документов | |
| СНиП III-4-80 | Строительные нормы и правила. Правила производства и приемки работ. Техника безопасности в строительстве | |
| ГОСТ 24258-88 | Средства подмащивания. Общие технические условия | |
| ГОСТ 26887-86 | Площадки и лестницы для строительно-монтажных работ. Общие технические условия | |
| ГОСТ 27321-87 | Леса стоечные приставные для строительно-монтажных работ. Технические условия | |
| ГОСТ 28012-89 | Подмости передвижные сборно-разборные. Технические условия | |
| ГОСТ 12.2.003-91 | ССБТ. Оборудование производственное. Общие требования безопасности | |
|
| ||
| ПБ 10-382-00 | Правила устройства и безопасной эксплуатации грузоподъемных кранов | |
| ГОСТ 3.1105-84 | ЕСТД. Основные надписи | |
| ГОСТ 3.1122-84 | ЕСТД. Формы и правила оформления документов специального назначения. Ведомости технологические | |
| ГОСТ 2.301-68 | ЕСКД. Форматы | |
| ГОСТ 2.104-68 | ЕСКД. Основные надписи | |
| ГОСТ 2.106-96 | ЕСКД. Текстовые документы | |
| ОКПО | Общероссийский классификатор предприятий и организаций |
(обязательное)

(справочное)

(обязательное)
Г.1 Для ППР и ВДП устанавливается следующая структура и длинаобозначения

Г.2 Условное обозначение видадокумента следующее:
- для проекта производстваработ - ППР;
- для ведомости документовППР - ВДП.
Г.3 Порядковыерегистрационные номера состоят из пяти цифр от 00001 до 99999 и присваиваютсяпредприятием-разработчиком.
Г.4 Код групп однородногооборудования принимается в соответствии с таблицей Г.1.
Г.5 Код предприятияразработавшего документ принимается согласно Общероссийскому классификаторупредприятий и организаций (ОКПО).
Таблица Г.1 - Код групподнородного оборудования
| Наименование групп однородного оборудования | |
| 100 | Паровые котлы |
| 120 | Котельно-вспомогательное оборудование |
| 150 | Дымососы, вентиляторы |
| 160 | Воздухоподогреватели |
| 170 | Мельницы |
| 200 | Турбины |
| 230 | Цилиндры высокого давления |
| 240 | Цилиндры среднего давления |
| 250 | Цилиндры низкого давления |
| 260 | Система регулирования и защиты турбины |
| 270 | Подогреватели системы регенерации паровой турбины |
| 280 | Масляная система |
| 300 | Питательные насосы |
| 350 | Насосное оборудование |
| 400 | Турбогенераторы |
| 420 | Синхронные компенсаторы |
| 500 | Силовые трансформаторы |
| 600 | Электрооборудование распределительных устройств |
| 700 | Трубопроводы |
| 750 | Арматура |
(обязательное)

(обязательное)

(справочное)


