Правила распространяются на средства защиты, используемые в электроустановках до и выше 1000 В, и устанавливают классификацию, перечень средств защиты, технические требования к ним, объем, методики и нормы испытаний, порядок пользования, содержания их, а также нормы комплектования средствами защиты электроустановок и производственных бригад. Части конструкции электроустановки (стационарные ограждения и экранирующие устройства, заземляющие ножи и т.п.), выполняющие защитные функции, в настоящих Правилах не рассматриваются.
| Обозначение: | РД 34.03.603 |
| Название рус.: | Правила применения и испытания средств защиты, используемых в электроустановках, технические требования к ним |
| Статус: | заменен |
| Заменяет собой: | «Правила применения и испытания средств защиты, используемых в электроустановках» |
| Заменен: | СО 153-34.03.603-2003 «Инструкция по применению и испытанию средств защиты, используемых в электроустановках» |
| Дата актуализации текста: | 05.05.2017 |
| Дата добавления в базу: | 01.09.2013 |
| Дата введения в действие: | 30.06.2003 |
| Утвержден: | 19.11.1992 Минтопэнерго РФ (Russian Federation Mintopenergo )26.11.1992 Главгосэнергонадзор (Glavgosenergonadzor ) |
| Опубликован: | Главгосэнергонадзор (1993 г. ) |
МИНИСТЕРСТВО ТОПЛИВА И ЭНЕРГЕТИКИ
РОССИЙСКОЙ ФЕДЕРАЦИИ
|
УТВЕРЖДАЮ: Заместитель Председателя Комитета электроэнергетики Минтопэнерго РФ И. А. Новожилов (19 ноября 1992 г.) |
УТВЕРЖДАЮ: Начальник Главгосэнергонадзора Б. П. Варнавский (26 ноября 1992 г.) |
ПРАВИЛА
применения и испытания
средств защиты,
используемых
в электроустановках,
технические требования к ним
СОГЛАСОВАНО:
Президиумом Всероссийского
Комитета «Электропрофсоюз»
(27 октября 1992 г.)
Протокол № 15
МОСКВА 1993
Разработаны СКТБ ВКТ МОСЭНЕРГО при участии специалистов Минтопэнерго РФ
Правила содержат перечень средств защиты, их классификацию, технические требования к ним, требования к испытаниям, эксплуатации, содержанию и уходу за ними.
В правилах даны нормы и методики эксплуатационных, приемо-сдаточных и типовых испытаний средств защиты, приведены порядок и нормы комплектования средствами защиты электроустановок и производственных бригад. 8-е издание под названием «Правила применения и испытания средств защиты, используемых в электроустановках» вышло в 1987 г.
Для инженерно-технического персонала и рабочих, занятых на эксплуатации электроустановок, работников служб охраны труда предприятий и организаций отрасли и предприятий потребителей электроэнергии, а также рекомендуются для использования в работе разработчикам средств защиты.
В 9-е издание правил внесены изменения и дополнения, учитывающие опыт применения современных конструкций средств защиты, а также требования действующих стандартов на конкретные виды средств защиты и в области электробезопасности по состоянию на 01.10.92.
Откорректированы термины и их определения, введены новые термины («Средство коллективной защиты работающего», «Средство индивидуальной защиты работающего», «Напряжение прикосновения», «Знак безопасности» и др.).
Классификация и перечень средств защиты дополнены новыми разработками, включены технические требования к ним.
Изменена структура правил: в тексте даны требования к конструкции средств защиты, объем и нормы эксплуатационных испытаний, правила пользования ими, а нормы приемо-сдаточных и типовых испытаний приведены в приложениях 6 и 7.
Переработаны разделы «Указатели напряжения», «Штанги изолирующие», «Пояса предохранительные монтерские» в связи с пересмотром ГОСТ на них, включены требования к сигнализаторам наличия напряжения индивидуальным, устройствам и приспособлениям для обеспечения безопасности труда при проведении измерений и испытаний в электроустановках, переносным заземлениям для ВЛ до 1150 кВ и для наложения с земли.
Существенно переработан раздел по средствам защиты и изолирующим устройствам для ПРН, введен новый раздел «Средства защиты от электрических полей повышенной напряженности» и требования к измерителям напряженности.
В приложение 9 включены два новых запрещающих плаката: по ПРН и работе в электрических полях. Добавлены приложения 10 - 13, включающие протокол испытаний средств защиты для ПРН, журнал регистрации эксплуатационных испытаний их, допустимое время пребывания человека в электрическом поле без средств защиты и протокол измерения напряженности электрического поля.
Правила разработаны в соответствии с ССБТ.
С выходом настоящего издания правил утрачивает силу 8-е издание «Правил применения и испытания средств защиты, используемых в электроустановках» (М.: Энергоатомиздат, 1987).
Правила разработаны отделом техники безопасности и эксплуатации высоковольтного электрооборудования СКТБ ВКТ Мосэнерго (З. И. Кобзева).
Консультанты: С. В. Полевой, А. В. Боев, М. Д. Столяров, В. Ф. Кузин, И. А. Бородин, В. М. Арсеньев (фирма «ОРГРЭС»).
Проект правил рассмотрен комиссией под председательством заместителя начальника Отдела охраны труда и техники безопасности Комитета электроэнергетики А. С. Горошкевича в составе: З. И. Кобзева, Н. М. Чесноков (СКТБ ВКТ Мосэнерго), А. В. Малов (МКС), В. И. Энговатов (Главгосэнергонадзор), Б. Ф. Пазиненко (Западные электросети Мосэнерго), С. В. Полевой (фирма «ОРГРЭС»), при участии заместителя главного инженера ВОП ПРН Винница-энерго В. Л. Таловерья.
Все замечания и предложения по настоящему изданию Правил просим направлять в СКТБ ВКТ Мосэнерго по адресу: 109432, Москва, 2-й Кожуховский пр., д. 29.
ОСНОВНЫЕ ТЕРМИНЫ, ПРИНЯТЫЕ В ПРАВИЛАХ
|
Термин |
Определение |
|
Средство защиты работающего |
Средство, предназначенное для предотвращения или уменьшения воздействия на работающего опасных и (или) вредных производственных факторов |
|
Средство коллективной защиты работающего |
Средство защиты, конструктивно и (или) функционально связанное с производственным оборудованием, производственным процессом, производственным помещением (зданием) или производственной площадкой |
|
Средство индивидуальной защиты работающего |
Средство защиты, надеваемое на тело человека или его части или используемое им |
|
Электрозащитное средство |
Средство защиты, предназначенное для обеспечения электробезопасности |
|
Основное электрозащитное средство |
Изолирующее электрозащитное средство, изоляция которого длительно выдерживает рабочее напряжение электроустановки и которое позволяет работать на токоведущих частях, находящихся под напряжением |
|
Дополнительное электрозащитное средство |
Изолирующее электрозащитное средство, которое само по себе не может при данном напряжении обеспечить защиту от поражения электрическим током, но дополняет основное средство защиты, а также служит для защиты от напряжения прикосновения и напряжения шага |
|
Напряжение прикосновения |
Напряжение, появляющееся на теле человека при прикосновении к двум точкам цепи тока, в том числе при повреждении изоляции между частями электроустановок, которых одновременно касается человек |
|
Напряжение шага |
Напряжение между двумя точками земли или пола, обусловленное растеканием тока замыкания в землю, при одновременном касании их ногами человека |
|
Знак безопасности |
Знак, предназначенный для предупреждения человека о возможной опасности, запрещения или предписания определенных действий, а также для информации о расположении объектов, использование которых связано с исключением или снижением последствий воздействия опасных и (или) вредных производственных факторов |
|
Цвет безопасности |
Цвет, предназначенный для привлечения внимания человека к отдельным элементам производственного оборудования и (или) строительной конструкции, которые могут являться источниками опасных и (или) вредных производственных факторов, средствам пожаротушения и знаку безопасности |
|
Напряженность неискаженного электрического поля |
Напряженность электрического поля, не искаженного присутствием человека, определяемая в зоне, где предстоит находиться человеку в процессе работы |
|
Экранирующее устройство |
Средство коллективной защиты, снижающее напряженность электрического поля на рабочих местах |
|
Зона влияния электрического поля |
Пространство, где напряженность электрического поля частотой 50 Гц более 5 кВ/м |
|
Работа под напряжением |
Работа, выполняемая с прикосновением к токоведущим частям, находящимся под рабочим напряжением, или на расстояниях до этих токоведущих частей менее допустимых |
|
Безопасное расстояние |
Наименьшее расстояние между человеком и источником опасного и вредного производственного фактора, при котором человек находится вне опасной зоны |
1.1.1. Настоящие Правила распространяются на средства защиты, используемые в электроустановках до и выше 1000 В, и устанавливают классификацию, перечень средств защиты, технические требования к ним, объем, методики и нормы испытаний, порядок пользования, содержания их, а также нормы комплектования средствами защиты электроустановок и производственных бригад.
Части конструкции электроустановки (стационарные ограждения и экранирующие устройства, заземляющие ножи и т.п.), выполняющие защитные функции, в настоящих Правилах не рассматриваются.
1.1.2. Правила обязательны при выполнении работ в электроустановках производственного назначения предприятий и организаций отрасли и потребителей электроэнергии независимо от ведомственной принадлежности и форм собственности.
Знание Правил в объеме, соответствующем занимаемой должности или профессии, обязательно для руководителей, инженерно-технического персонала и рабочих, осуществляющих эксплуатацию, ремонт, строительство, монтаж и наладку электроустановок.
Инструкции по охране труда для рабочих соответствующих профессий должны быть приведены в соответствие с настоящими Правилами.
1.1.3. Средства защиты, используемые в электроустановках, должны полностью удовлетворять требованиям соответствующих ГОСТ и настоящих Правил.
Разработка средств защиты, не указанных в настоящих правилах, должна производиться по согласованию с соответствующими государственными органами.
1.1.4. При обслуживании электроустановок напряжением до и выше 1000 В используются средства защиты от поражения электрическим током (электрозащитные средства), от электрических полей повышенной напряженности коллективные и индивидуальные, а также средства индивидуальной защиты (ГОСТ 12.4.011-89).
1.1.5. К электрозащитным средствам относятся:
- изолирующие штанги всех видов (оперативные, измерительные, для наложения заземления);
- изолирующие и электроизмерительные клещи;
- указатели напряжения всех видов и классов напряжений (с газоразрядной лампой, бесконтактные, импульсного типа, с лампой накаливания и др.);
- бесконтактные сигнализаторы наличия напряжения;
- изолированный инструмент;
- диэлектрические перчатки, боты и галоши, ковры, изолирующие подставки;
- защитные ограждения (щиты, ширмы, изолирующие накладки, колпаки);
- переносные заземления;
- устройства и приспособления для обеспечения безопасности труда при проведении испытаний и измерений в электроустановках (указатели напряжения для проверки совпадения фаз, устройства для прокола кабеля, устройство определения разности напряжений в транзите, указатели повреждения кабелей и т.п.);
- плакаты и знаки безопасности;
- прочие средства защиты, изолирующие устройства и приспособления для ремонтных работ под напряжением в электроустановках напряжением 110 кВ и выше, а также в электросетях до 1000 В (полимерные и гибкие изоляторы; изолирующие лестницы, канаты, вставки телескопических вышек и подъемников; штанги для переноса и выравнивания потенциала; гибкие изолирующие покрытия и накладки и т.п.).
1.1.6. Изолирующие электрозащитные средства делятся на основные и дополнительные.
К основным электрозащитным средствам в электроустановках напряжением выше 1000 В относятся;
- изолирующие штанги всех видов;
- изолирующие и электроизмерительные клещи;
- указатели напряжения;
- устройства и приспособления для обеспечения безопасности труда при проведении испытаний и измерений в электроустановках (указатели напряжения для проверки совпадения фаз, устройства для прокола кабеля, указатели повреждения кабелей и т.п.);
- прочие средства защиты, изолирующие устройства и приспособления для ремонтных работ под напряжением в электроустановках напряжением 110 кВ и выше (полимерные изоляторы, изолирующие лестницы и т.п.).
1.1.7. К основным электрозащитным средствам в электроустановках напряжением до 1000 В относятся:
- изолирующие штанги;
- изолирующие и электроизмерительные клещи;
- указатели напряжения;
- диэлектрические перчатки;
- изолированный инструмент.
1.1.8. К дополнительным электрозащитным средствам в электроустановках напряжением выше 1000 В относятся:
- диэлектрические перчатки;
- диэлектрические боты;
- диэлектрические ковры;
- изолирующие подставки и накладки;
- изолирующие колпаки;
- штанги для переноса и выравнивания потенциала.
1.1.9. К дополнительным электрозащитным средствам для работы в электроустановках напряжением до 1000 В относятся:
- диэлектрические галоши;
- диэлектрические ковры;
- изолирующие подставки и накладки;
- изолирующие колпаки.
1.1.10. К средствам защиты от электрических полей повышенной напряженности относятся комплекты индивидуальные экранирующие для работ на потенциале провода ВЛ и на потенциале земли в ОРУ и на ВЛ, а также съемные и переносные экранирующие устройства и плакаты безопасности.
1.1.11. Кроме перечисленных средств защиты в электроустановках применяются средства индивидуальной защиты (СИЗ) следующих классов:
- средства защиты головы (каски защитные);
- средства защиты глаз и лица (очки и щитки защитные);
- средства защиты органов дыхания (противогазы и респираторы);
- средства защиты рук (рукавицы);
- средства защиты от падения с высоты (пояса предохранительные и канаты страховочные).
1.1.12. Выбор необходимых электрозащитных средств, средств защиты от электрических полей повышенной напряженности и средств индивидуальной защиты регламентируется настоящими правилами, «Правилами техники безопасности при эксплуатации электроустановок», «Правилами техники безопасности при эксплуатации электроустановок потребителей», «Санитарными нормами выполнения работ в условиях воздействия электрических полей промышленной частоты», «Руководящими указаниями по защите персонала, обслуживающего распределительные устройства и воздушные линии электропередачи переменного тока напряжением 400, 500 и 750 кВ, от воздействия электрического поля» и другими соответствующими нормативно-техническими документами с учетом местных условий.
При выборе конкретных видов средств индивидуальной защиты следует пользоваться соответствующими каталогами СИЗ и рекомендациями по их применению.
1.1.13. При использовании основных электрозащитных средств достаточно применения одного дополнительного, за исключением случаев, оговоренных в настоящих правилах.
При необходимости защитить работающего от напряжения шага такие дополнительные электрозащитные средства, как диэлектрические боты или галоши, могут использоваться без основных средств защиты.
1.2.1. Персонал, обслуживающий электроустановки отрасли и потребителей электроэнергии, должен быть обеспечен всеми необходимыми средствами защиты, обучен правилам применения и обязан пользоваться ими для обеспечения безопасности работы.
Средства защиты должны находиться в качестве инвентарных в помещениях электроустановок (распределительных устройствах, цехах электростанций, на трансформаторных подстанциях, в распределительных пунктах электросетей и т.п.) или входить в инвентарное имущество оперативно-выездных бригад, бригад эксплуатационного обслуживания, передвижных высоковольтных лабораторий и т.п., а также выдаваться для индивидуального пользования.
1.2.2. Инвентарные средства защиты распределяются между объектами, оперативно-выездными бригадами в соответствии с системой организации эксплуатации, местными условиями и нормами комплектования (Приложение 8).
Такое распределение с указанием мест хранения должно быть зафиксировано в списках, утвержденных главным инженером предприятия (начальником сетевого района) или лицом, ответственным за электрохозяйство.
Допускается при необходимости назначение письменным распоряжением одного лица с группой по электробезопасности не ниже IV, ответственного за учет, обеспечение, организацию своевременного осмотра, испытания и хранение средств защиты в данном подразделении.
Такое назначение не отменяет обязанностей мастеров, допускающих и производителей работ по наряду контролировать наличие необходимых средств защиты и их состояние на рабочих местах.
1.2.4. При обнаружении непригодности средств защиты, выданных для отдельной электроустановки, обслуживающий ее персонал обязан немедленно их изъять, поставить об этом в известность одного из лиц, указанных в п. 1.2.3, и сделать запись в журнале учета и содержания средств защиты (приложение 1) или в оперативной документации.
1.2.5. Лица, получившие средства защиты в индивидуальное пользование, отвечают за правильную эксплуатацию их и своевременную отбраковку.
1.3.1. Средства защиты необходимо хранить и перевозить в условиях, обеспечивающих их исправность и пригодность к употреблению, поэтому они должны быть защищены от увлажнения, загрязнения и механических повреждений.
1.3.3. Изолирующие штанги и клещи хранят в условиях, исключающих их прогиб и соприкосновение со стенами.
Специальные места для хранения переносных заземлений следует снабжать номерами, соответствующими указанным на переносных заземлениях.
1.3.4. Противогазы необходимо хранить в сухих помещениях в специальных сумках.
1.3.6. Средства защиты, находящиеся в пользовании оперативно-выездных бригад и бригад эксплуатационного обслуживания, передвижных лабораторий или в индивидуальном пользовании персонала, необходимо хранить в ящиках, сумках или чехлах отдельно от прочего инструмента.
1.3.7. Средства защиты, изолирующие устройства и приспособления для работ под напряжением следует содержать в сухом, проветриваемом помещении.
Хранение и транспортирование должно производиться в условиях, обеспечивающих их сохранность.
1.3.8. Экранирующие средства защиты должны храниться отдельно от электрозащитных.
Комплекты индивидуальные экранирующие хранят в специальных шкафах: спецодежду - на вешалках, а спецобувь, средства защиты головы, лица и рук - на полках. При хранении они должны быть предохранены от воздействия влаги и агрессивных сред.
1.4.1. Все находящиеся в эксплуатации электрозащитные средства и предохранительные пояса должны быть пронумерованы, за исключением касок защитных, диэлектрических ковров, изолирующих подставок, плакатов и знаков безопасности, защитных ограждений, штанг для переноса и выравнивания потенциала. Допускается использование заводских номеров.
Порядок нумерации устанавливается на предприятии в зависимости от условий эксплуатации средств защиты.
Инвентарный номер наносят непосредственно на средство защиты краской или выбивают на металле (например, на металлических деталях пояса, изолированного инструмента, штанги и т.п.), либо на прикрепленной к средству защиты специальной бирке (изолирующий канат и т.п.).
Если средство защиты состоит из нескольких частей, общий для него номер необходимо ставить на каждой части.
1.4.3. Средства защиты, кроме изолирующих подставок, диэлектрических ковров, переносных заземлений, защитных ограждений, плакатов и знаков безопасности, полученные для эксплуатации от заводов-изготовителей или со складов, должны быть проверены по нормам эксплуатационных испытаний.
1.4.4. На выдержавшие испытания средства защиты необходимо ставить штамп следующей формы:
|
№ ___________ Годно до ___________ кВ Дата следующего испытания _________________ 19__ г. _________________________________________________ (наименование лаборатории) На средства защиты, применение которых не зависит от напряжения электроустановки (диэлектрические перчатки, боты, противогазы и др.), ставится штамп: № ___________ Дата следующего испытания _________________ 19__ г. __________________________________________________ (наименование лаборатории) |
Штамп должен быть хорошо виден. Он должен наноситься несмываемой краской или наклеиваться на изолирующей части около ограничительного кольца изолирующих электрозащитных средств и изолирующих устройств для работ под напряжением или у края резиновых изделий и предохранительных приспособлений. Если средство защиты состоит из нескольких частей, штамп ставят только на одной части.
На средствах защиты, не выдержавших испытания, штамп должен быть перечеркнут красной краской.
1.4.5. Результаты электрических и механических испытаний средств защиты записывают в специальный журнал в лаборатории, производящей испытания. При наличии большого количества средств защиты из диэлектрической резины результаты их испытаний можно оформлять в отдельном журнале (Приложение 2).
На средства защиты, принадлежащие сторонним организациям, также ставят штамп и, кроме того, заказчику выдают протоколы испытаний (Приложение 3).
1.4.6. Изолированный инструмент, указатели напряжения до 1000 В, а также предохранительные пояса и страховочные канаты разрешается маркировать доступными средствами с записью результатов испытаний в журнале учета и содержания средств защиты.
1.4.7. Средства защиты, полученные в индивидуальное пользование, также подлежат испытаниям в сроки, установленные настоящими Правилами.
1.5.1. Изолирующими электрозащитными средствами следует пользоваться по их прямому назначению в электроустановках напряжением не выше того, на которое они рассчитаны (наибольшее допустимое напряжение), в строгом соответствии с настоящими Правилами.
1.5.2. Основные и дополнительные электрозащитные средства рассчитаны на применение в закрытых электроустановках, а в открытых электроустановках и на воздушных линиях электропередачи - только в сухую погоду. В изморось и при осадках пользоваться ими запрещается. На открытом воздухе в сырую погоду могут применяться только средства защиты специальной конструкции, предназначенные для работы в таких условиях.
Изготавливают, испытывают такие средства защиты и пользуются ими в соответствии с техническими условиями и инструкциями.
1.5.3. Перед каждым применением средства защиты персонал обязан проверить его исправность, отсутствие внешних повреждений, загрязнений, проверить по штампу срок годности.
Пользоваться средствами защиты с истекшим сроком годности запрещается.
1.6.1. В эксплуатации средства защиты подвергают эксплуатационным периодическим и внеочередным испытаниям (после ремонта, замены каких-либо деталей, при наличии признаков неисправности). Внеочередные испытания средств защиты проводят по нормам эксплуатационных испытаний. Нормы эксплуатационных испытаний и сроки их проведения приведены в приложениях 4 и 5.
1.6.2. Типовые, периодические и приемо-сдаточные испытания проводятся на предприятии-изготовителе средств защиты по нормам, приведенным в приложениях 6 и 7.
1.6.3. При испытаниях проверяют механические и электрические характеристики средств защиты.
Механические испытания проводятся перед электрическими.
1.6.4. Все электрические испытания средств защиты повышенным напряжением должны проводиться специально обученными лицами.
Каждое средство защиты перед электрическим испытанием должно быть тщательно осмотрено с целью проверки размеров, исправности, комплектности, состояния изоляционных поверхностей, наличия номера. При несоответствии средств защиты требованиям настоящих Правил испытание не проводят до устранения обнаруженных недостатков.
Скорость подъема напряжения до 1/3 испытательного может быть произвольной, дальнейшее повышение напряжения должно быть плавным и быстрым, но позволяющим при напряжении более 3/4 испытательного вести отсчет показаний измерительного прибора. При достижении требуемого значения напряжение после выдержки нормированного времени должно быть быстро снижено до нуля или при значении, равном 1/3 или менее испытательного, отключено (ГОСТ 1516.2-76).
Испытание средств защиты из резины можно проводить постоянным (выпрямленным) током. При испытании постоянным током испытательное напряжение должно быть равным 2,5-кратному значению испытательного напряжения переменного тока. Ток, протекающий через изделие, при этом не нормируется. Продолжительность испытания та же, что и при переменном токе.
1.6.6. При испытаниях повышенное напряжение прикладывается к изолирующей части средства защиты. При отсутствии соответствующего источника напряжения, необходимого для испытания изолирующего электрозащитного средства целиком, допускается испытание его по частям. При этом изолирующая часть средства защиты делится на участки, к которым прикладывается часть указанного полного испытательного напряжения, пропорциональная длине и увеличенная на 20 %.
1.6.7. Основные электрозащитные средства, предназначенные для электроустановок напряжением свыше 1 до 110 кВ, испытываются напряжением, равным 3-кратному линейному, но не ниже 40 кВ, а предназначенные для электроустановок напряжением от 110 кВ и выше - равным 3-кратному фазному. Дополнительные электрозащитные средства испытываются напряжением, не зависящим от напряжения электроустановки, в которой они должны применяться, по нормам, указанным в приложениях 5 и 7.
1.6.8. Длительность приложения полного испытательного напряжения составляет 1 мин. для изоляции из фарфора и некоторых видов негигроскопических материалов (например, из стеклопластика) и 5 мин. для изоляции из твердых органических материалов (например, из бакелита).
Для изоляции из резины при эксплуатационных испытаниях длительность приложения испытательного напряжения составляет 1 мин.
1.6.9. Пробой, перекрытие и разряды по поверхности устанавливаются по показаниям измерительных приборов и визуально.
Токи, протекающие через изделия, нормируются для указателей напряжения до 1000 В, изделий из резины и изолирующих устройств для работ под напряжением.
1.6.10. Электрозащитные средства из твердых органических материалов сразу после испытания следует проверить ощупыванием на отсутствие местных нагревов из-за диэлектрических потерь.
1.6.11. При возникновении пробоя, перекрытия по поверхности, поверхностных разрядов, увеличении тока через изделие выше нормированного значения, наличии местных нагревов от диэлектрических потерь средство защиты бракуется.
Общие положения
2.1.1. Изолирующая часть электрозащитных средств со стороны рукоятки ограничивается кольцом или упором из электроизоляционного материала.
Наружный диаметр ограничительного кольца электрозащитных средств для электроустановок напряжением выше 1000 В должен превышать наружный диаметр рукоятки не менее чем на 10 мм. Отмечать границу между изолирующей частью и рукояткой только пояском краски запрещается. Ограничительное кольцо входит в длину изолирующей части.
У электрозащитных средств для электроустановок напряжением до 1000 В (кроме изолированного инструмента) высота кольца или упора должна быть не менее 3 мм.
При использовании электрозащитных средств запрещается прикасаться к их изолирующей части за ограничительным кольцом или упором, а также к рабочей части.
2.1.2. Изолирующие части электрозащитных средств должны быть выполнены из электроизоляционных материалов с устойчивыми диэлектрическими свойствами (стеклоэпоксифенольные, бумажно-бакелитовые трубки и т.д.). Материалы, поглощающие влагу (бумажно-бакелитовые трубки, дерево и т.п.), должны быть покрыты влаготрекингостойким лаком и иметь гладкую наружную и внутреннюю поверхности без трещин, расслоений и царапин.
2.1.3. Конструкция электрозащитных средств из электроизоляционных трубок должна предотвращать попадание внутрь пыли и влаги или предусматривать очистку внутренних поверхностей (например, для штанг-пылесосов).
2.1.4. Размеры рабочей части штанг и указателей напряжения не нормируются, однако они должны быть такими, чтобы при работе с ними в электроустановках исключалась возможность междуфазного короткого замыкания или замыкания на землю.
2.1.5. При повреждении лакового покрова (трещины, глубокие царапины) или других неисправностях электрозащитных средств необходимо изъять их из эксплуатации, отремонтировать и испытать. После падений и ударов при необходимости указатели напряжения подвергают внеочередным испытаниям.
2.1.6. В электроустановках напряжением свыше 1 кВ до 35 кВ пользоваться изолирующими штангами (кроме измерительных), переносными заземлениями, штангами-пылесосами, указателями напряжения и клещами изолирующими и электроизмерительными следует в диэлектрических перчатках. Применение перчаток в электроустановках 110 кВ и выше определяется правилами техники безопасности и местными условиями.
При работах с измерительными штангами применение диэлектрических перчаток не обязательно,
Назначение и конструкции штанг
2.1.7. Штанги изолирующие оперативные предназначены для оперативной работы, измерений (проверка изоляции и соединителей на линиях электропередачи и подстанциях), установки деталей разрядников и т.д.
2.1.8. Штанги изолирующие оперативные могут быть универсальными со сменными головками (рабочими частями) для выполнения различных операций (например, для смены предохранителей).
2.1.9. Для промежуточных опор воздушных линий 35 - 1150 кВ конструкция заземления может содержать вместо штанги изолирующий гибкий элемент.
2.1.10. Общие технические требования к штангам изолирующим оперативным и штангам переносных заземлений приведены в ГОСТ 20494-90*.
2.1.11. Штанги должны состоять из трех основных частей: рабочей, изолирующей и рукоятки.
2.1.12. Изолирующая часть штанг изготавливается из материалов, указанных в п. 2.1.2.
Использование бумажно-бакелитовых трубок для изготовления изолирующей части штанг переносных заземлений запрещается.
Изолирующий гибкий элемент заземления бесштанговой конструкции должен изготавливаться, как правило, из синтетических материалов (капрон и т.п.).
2.1.13. Штанги могут быть составными из нескольких звеньев. Для соединения звеньев между собой могут применяться детали, изготовленные из изоляционного материала или металла. Допускается применение телескопической конструкции.
Составные штанги переносных заземлений в электроустановках от 110 кВ и свыше могут содержать металлические токоведущие звенья при наличии изолирующей части (с рукояткой).
2.1.14. Рукоятка штанги должна представлять с изолирующей частью одно целое или быть отдельным звеном.
2.1.15. Конструкция рабочей части изолирующей оперативной штанги должна обеспечивать надежное закрепление сменных приспособлений.
2.1.16. Конструкция штанг переносных заземлений должна обеспечивать их надежное неразъемное или разъемное соединение с зажимами переносного заземления, установку этих зажимов на токоведущие части электроустановок и последующее их закрепление.
2.1.17. Конструкция и масса штанг должны обеспечивать возможность работы с ними одного человека. При этом наибольшее усилие на одну руку (поддерживающую у ограничительного кольца) не должно превышать 80 Н для измерительных штанг, для остальных (в т.ч. для наложения заземления) - 160 Н.
Конструкция штанг переносных заземлений в электроустановках от 500 кВ и свыше может быть рассчитана для работы двух человек с применением поддерживающего устройства.
2.1.18. Основные размеры штанг должны быть не менее указанных в табл. 2.1 и 2.2.
* Данный стандарт не распространяется на штанги, предназначенные для работы в среде, содержащей токопроводящую пыль и агрессивные газы повышенной концентрации, а также для выполнения работ под напряжением, и на штанги изолирующие оперативные для работы под дождем.
Таблица 2.1
Минимальные размеры изолирующих штанг
|
Длина, мм |
||
|
изолирующей части |
рукоятки |
|
|
До 1 |
Не нормируется, определяется удобством пользования |
|
|
от 2 до 15 включительно |
700 |
300 |
|
Св. 15 до 35 включительно |
1100 |
400 |
|
Св. 35 до 110 включительно |
1400 |
600 |
|
150 |
2000 |
800 |
|
220 |
2500 |
800 |
|
330 |
3000 |
800 |
|
Св. 330 до 500 включительно |
4000 |
1000 |
Таблица 2.2
Минимальные размеры штанг переносных заземлений и штанг для переноса потенциала
|
Длина, мм |
||
|
изолирующей части |
рукоятки |
|
|
Для установки заземления в электроустановках напряжением до 1000 В |
Не нормируется, определяется удобством пользования |
|
|
Для установки заземления в РУ от 2 до 500 кВ, для установки заземления на провода ВЛ от 2 до 220 кВ, выполненные целиком из электроизоляционных материалов |
По табл. 2.1 |
По табл. 2.1 |
|
Составные, с металлическими звеньями для установки заземления на провода ВЛ от 110 до 220 кВ |
500 |
По табл. 2.1 |
|
Составные, с металлическими звеньями для установки заземления на провода ВЛ от 330 до 1150 кВ |
1000 |
По табл. 2.1 |
|
Для установки заземления на изолированные от опор грозозащитные тросы ВЛ от 110 до 500 кВ |
700 |
300 |
|
Для установки заземления на изолированные от опор грозозащитные тросы ВЛ от 750 до 1150 кВ |
1400 |
500 |
|
Для установки заземления в лабораторных и испытательных установках |
не менее 700 |
300 |
|
Для переноса потенциала провода |
Не нормируется, определяется удобством пользования |
|
Длина изолирующего гибкого элемента заземления бесштанговой конструкции для проводов ВЛ от 35 до 1150 кВ должна быть не менее длины заземляющего провода.
Испытания штанг
В процессе эксплуатации механические испытания штанг не проводят.
Электрические испытания
2.1.19. При эксплуатационных испытаниях изолирующая часть оперативных и измерительных штанг подвергается испытанию повышенным напряжением согласно п. 1.6.7. При этом напряжение прикладывается к рабочей части и временному электроду, наложенному у ограничительного кольца со стороны изолирующей части.
Изолирующие оперативные и измерительные штанги на напряжение свыше 1 кВ до 35 кВ включительно должны выдерживать в течение 5 мин. повышенное напряжение переменного тока частотой 50 Гц, равное 3-кратному линейному, но не менее 40 кВ, на напряжение 110 кВ и свыше - равное 3-кратному фазному.
для 110 - 220 кВ - 50 кВ;
для 330, 400, 500 кВ - 100 кВ;
для 750 кВ - 150 кВ;
для 1150 кВ - 200 кВ.
Напряжение прикладывают, как указано в п. 2.1.19.
Эксплуатационные электрические испытания остальных штанг переносных заземлений не проводят.
Изолирующие гибкие элементы заземления бесштанговой конструкции для ВЛ 500, 750 и 1150 кВ должны выдерживать соответственно повышенное напряжение 100, 150 и 200 кВ в течение 5 мин. при эксплуатационных испытаниях.
Изолирующий гибкий элемент заземления бесштанговой конструкции испытывают по частям. К каждому участку длиной 1 м прикладывается часть полного испытательного напряжения, пропорциональная длине и увеличенная на 20 %. Допускается одновременное испытание всех участков изолирующего гибкого элемента, смотанного в бухту таким образом, чтобы длина полукруга составляла 1 м.
2.1.22. При эксплуатационных испытаниях головки измерительных штанг для контроля изоляторов на напряжение 35 - 500 кВ испытывают напряжением 30 кВ в течение 5 мин.
Правила пользования штангами
2.1.23. Измерительные штанги при пользовании ими не заземляются, за исключением тех случаев, когда принцип устройства штанги требует ее заземления.
2.1.24. Перед началом работы необходимо убедиться в отсутствии «заклинивания» резьбового соединения рабочей и изолирующей частей путем однократного свинчивания-развинчивания.
2.1.25. При работе с измерительной штангой подниматься на конструкцию или телескопическую вышку, а также спускаться с нее следует без штанги.
Назначение и конструкции клещей
2.1.26. Клещи изолирующие предназначены для замены предохранителей в электроустановках до и выше 1000 В, а также для снятия ограждений, накладок и других аналогичных работ* в электроустановках до 35 кВ.
* Вместо изолирующих клещей при необходимости следует применять изолирующие штанги с универсальной головкой.
2.1.27. Клещи состоят из рабочей (губок клещей), изолирующей частей и рукоятки (рукояток).
2.1.28. Изолирующая часть и рукоятка изготавливаются из электроизоляционного материала (например, полипропилена - клещи до 1000 В, стеклоэпоксифенольных или бумажно-бакелитовых трубок - клещи до 35 кВ и т.п.).
2.1.29. Рабочая часть изготавливается как из электроизоляционного материала (клещи до 1000 В), так и из металла. На металлические губки должны быть надеты резиновые маслобензостойкие трубки для исключения повреждения фарфора патрона предохранителя.
2.1.30. Изолирующая часть клещей должна быть отделена от рукоятки ограничительными упорами (кольцом).
Размеры клещей приведены в табл. 2.3.
Таблица 2.3
Минимальные размеры клещей изолирующих
|
Длина, мм |
||
|
изолирующей части |
рукоятки |
|
|
До 1 включительно |
Не нормируется, определяется удобством пользования |
|
|
От 6 до 10 включительно |
450 |
150 |
|
Свыше 10 до 35 включительно |
750 |
200 |
2.1.31. Масса клещей должна обеспечивать возможность удобной работы с ними одного человека.
Испытания клещей
В эксплуатации механические испытания клещей не проводят.
Электрические испытания
2.1.32. Испытания клещей на напряжение до 1000 В на электрическую прочность при эксплуатационных испытаниях должны производиться путем приложения испытательного напряжения 2 кВ в течение 5 мин. между металлическими хомутиками, накладываемыми на рукоятки (за упорными выступами) со стороны изолирующей части и на губки - у основания овального выреза.
2.1.33. Проверка электрической прочности клещей на напряжение 6 - 10 и 35 кВ при эксплуатационных испытаниях проводится путем приложения испытательного напряжения, равного 3-кратному линейному, но не менее 40 кВ и 105 кВ соответственно, в течение 5 мин. к рабочей части и временному электроду, наложенному у ограничительного кольца со стороны изолирующей части.
Правила пользования клещами
2.1.34. Работа с клещами на напряжение выше 1 кВ должна производиться в сухую погоду. Производить работы с клещами при тумане, дожде, мокром снегопаде запрещается.
2.1.35. При работе с клещами по замене предохранителей кроме диэлектрических перчаток следует применять защитные очки.
2.1.36. Клещи на напряжение до 1 кВ при пользовании ими необходимо держать на вытянутой руке, подальше от токоведущих частей, а клещи на напряжение выше 1 кВ - только за рукоятку, прикасаться к изолирующей части их запрещается.
Назначение и конструкции указателей
В электроустановках до и выше 1000 В для определения наличия или отсутствия напряжения используются различные виды указателей напряжения контактного и бесконтактного типа.
Общие технические требования к указателям напряжения контактного типа, применяемым в электроустановках переменного и постоянного тока напряжением до 1000 В и в электроустановках переменного тока напряжением выше 1000 В (до 220 кВ включительно), изложены в ГОСТ 20493-90*.
* Данный стандарт не распространяется на указатели, предназначенные для применения в среде, содержащей токопроводящую пыль и агрессивные газы повышенной концентрации, а также на указатели, принцип действия которых основан на применении автономного источника питания, и указатели, реагирующие на наличие электрического поля (бесконтактные). Стандарт не распространяется также на указатели, изготовленные до введения настоящего стандарта.
Указатели напряжения выше 1000 В с газоразрядной индикаторной лампой
Назначение и конструкция
2.1.37. Принцип действия указателей основан на свечении газоразрядной индикаторной лампы при протекании через нее емкостного тока.
2.1.38. Указатели напряжения должны состоять из трех частей: рабочей, изолирующей и рукоятки.
Рабочая часть содержит элементы электрической схемы, обеспечивающие визуальную, акустическую или визуально-акустическую индикацию напряжения.
Визуальный и акустический сигналы должны быть непрерывными или прерывистыми и надежно распознаваемыми.
Изолирующая часть должна располагаться между рабочей частью и рукояткой и может быть составной из нескольких звеньев. Для соединения звеньев между собой могут применяться соединительные детали из электроизоляционного материала или металла. Допускается применение телескопической конструкции, исключающей самопроизвольное складывание.
2.1.39. Указатель напряжения со световой индикацией должен иметь эффективное отражающее и затеняющее устройство (затенитель) для обеспечения надежного восприятия работающим сигнала при ярком наружном освещении.
Затенитель представляет собой резиновый (пластмассовый) корпус со встроенным зеркальным отражателем, снабженный кольцом для крепления его к указателю напряжения.
2.1.40. Масса и конструкция указателей должна обеспечивать возможность удобной работы с ними одного человека.
2.1.41. Конструкция указателя должна обеспечивать его работоспособность без заземления рабочей части указателя, в том числе при работе на ВЛ 6 и 10 кВ с опорами всех типов.
Находящиеся в эксплуатации указатели, которые требуют заземления рабочей части при работе на ВЛ 6 - 10 кВ с деревянными и железобетонными опорами, должны постепенно изыматься из эксплуатации.
2.1.42. Элемент индикации указателя в электроустановках на определенное напряжение не должен срабатывать от влияния соседних цепей того же напряжения, отстоящих от указателя на следующих расстояниях:
Таблица 2.4
Расстояние до ближайшего провода соседней цепи
|
Номинальное напряжение электроустановки, кВ |
Расстояние от указателя до ближайшего провода соседней цепи, мм |
|
От 1 до 6 |
150 |
|
Св. 6 до 10 |
220 |
|
Св. 10 до 35 |
500 |
|
110 |
1500 |
|
150 |
1800 |
|
220 |
2500 |
2.1.43. Напряжение индикации* указателя напряжения должно составлять не более 25 % номинального напряжения электроустановки для всех классов напряжений. Для классов напряжений до 3 кВ включительно напряжение индикации должно быть определено в технических условиях.
* Для указателей напряжения с непрерывным световым (акустическим) сигналом напряжением индикации является напряжение, при котором наступает отчетливое свечение (звучание) индикатора.
Для указателей напряжения с импульсным световым (акустическим) сигналом напряжением индикации является напряжение, при котором интервал между импульсами при индикации фазного напряжения не превышает 1,5 с.
2.1.44. Минимальные размеры указателей приведены в табл. 2.5.
Таблица 2.5
Минимальные размеры указателей напряжения
|
Длина, мм |
||
|
изолирующей части |
рукоятки |
|
|
До 1 включительно |
Не нормируется |
|
|
От 1 до 10 |
230 |
110 |
|
Св. 10 до 20 |
320 |
110 |
|
35 |
510 |
120 |
|
110 |
1400 |
600 |
|
Св. 110 до 220 |
2500 |
800 |
2.1.45. При работе с указателями напряжения импульсного типа следует помнить об импульсном характере индикации напряжения, вследствие чего первая вспышка лампы происходит через 1 - 2 с (после заряда конденсатора до напряжения индикации лампы).
Длительность прикосновения указателя к проверяемой токоведущей части должна быть не менее 10 с (при отсутствии сигнала).
Испытания указателей напряжения
Механические испытания указателей в эксплуатации не проводят.
Электрические испытания
2.1.47. Эксплуатационные испытания указателей напряжения заключаются в прикладывании повышенного напряжения отдельно к рабочей и изолирующей частям и в определении напряжения индикации указателя.
2.1.48. При испытании рабочей части повышенное напряжение прикладывают к контакту-наконечнику и винтовому разъему. Если указатель не имеет винтового разъема, соединенного с электрической схемой рабочей части, то у границы последней на ее поверхности устанавливают временный электрод для присоединения провода испытательной установки.
Испытательное напряжение для продольной изоляции при этом должно иметь значения:
12 кВ - до 10 кВ;
17 кВ - 15 кВ;
24 кВ - 20 кВ.
Продолжительность испытания - 1 мин. В указателях напряжения 35 - 220 кВ рабочую часть не испытывают.
2.1.49. При испытании изолирующей части напряжение прикладывается к резьбовому элементу изолирующей части и временному электроду, наложенному непосредственно у ограничительного кольца со стороны изолирующей части.
Изолирующая часть указателей напряжения при этом должна выдерживать в течение 1 мин. 3-кратное линейное напряжение для электроустановок напряжением свыше 1 до 110 кВ и 3-кратное фазное напряжение для электроустановок от 110 кВ и свыше, но не менее следующих значений:
40 кВ - до 10 кВ;
60 кВ - св. 10 до 20 кВ;
105 кВ - св. 20 до 35 кВ;
190 кВ - 110 кВ;
380 кВ - св. 110 до 220 кВ.
2.1.50. Напряжение индикации указателей определяют по той же схеме, по которой испытывают рабочую часть.
Правила пользования указателями напряжения
2.1.51. При проверке наличия или отсутствия напряжения указатели не должны заземляться. Исключение составляет применение указателей типов УВН-10 на опорах ВЛ (кроме металлических) или телескопических вышках (гидроподъемниках), о чем подробно указано в п. 2.1.46.
2.1.52. При использовании указателя держать его следует за рукоятку в пределах ограничительного кольца.
2.1.53. Перед началом работы необходимо проверить исправность указателя с помощью специального приспособления (например, типа ППУ-2) или путем прикосновения контактного электрода к токоведущим частям, заведомо находящимся под напряжением.
Приспособление применяется при отсутствии в электроустановках токоведущих частей, заведомо находящихся под напряжением (на подстанциях с одним питающим вводом, на трассах кабелей при вскрытии муфт, на одиночных ВЛ, на кабелях электродвигателей и др.)*, и представляет собой малогабаритный прибор со встроенным источником питания, контролем работоспособности, снабженный зарядным устройством.
* Проверку исправности указателей напряжения на свече автомашины производить запрещается из-за возможности ложных показаний.
2.1.54. Необходимо помнить, что свечение указателей импульсного типа прерывистое.
При отсутствии визуального импульсного сигнала указатель изымается из эксплуатации.
2.1.55. Указатели напряжения могут применяться в наружных установках только в сухую погоду. В сырую погоду могут применяться лишь указатели специальной конструкции.
Указатели напряжения выше 1000 В бесконтактного типа
Назначение и конструкция
2.1.56. Указатель предназначен для проверки наличия или отсутствия фазного напряжения на проводах ВЛ 6 - 35 кВ и токоведущих частях ЗРУ и ОРУ 6 - 35 кВ.
2.1.57. Работа указателя основана на принципе электростатической индукции. Сигнальным элементом могут быть лампы накаливания или светодиоды.
2.1.58. Указатель напряжения состоит, как правило, из рабочей, изолирующей частей* и зарядного устройства.
* Допускается исполнение указателей бесконтактного типа без изолирующей части.
Указатель имеет встроенный источник питания, выдает прерывистый световой сигнал, усиливающийся по мере приближения к находящимся под напряжением токоведущим частям, обеспечивает контроль исправности, в собранном виде включается автоматически.
Изолирующая часть представляет собой разборную штангу на напряжение 35 кВ.
Испытания указателей напряжения
Механические испытания указателя в эксплуатации не проводят.
Электрические испытания
2.1.59. Испытание электрической прочности изолирующей части указателя в эксплуатации проводят по нормам для изолирующих штанг на напряжение 35 кВ (п. 2.1.20).
Правила пользования указателем
2.1.60. Порядок проверки наличия или отсутствия напряжения бесконтактным указателем такой же, как и для указателя с газоразрядной лампой. Заземлять указатель не требуется. Запрещается пользоваться указателем, если нарушено пломбирование рабочей части.
Бесконтактные сигнализаторы наличия напряжения
2.1.61. В качестве вспомогательных средств защиты в электроустановках выше 1000 В могут применяться бесконтактные сигнализаторы наличия напряжения со световой и (или) звуковой сигнализацией, предупреждающие работающего о приближении к токоведущим частям, находящимся под напряжением, на опасное расстояние. Сигнализаторы могут иметь различные исполнения. Рекомендуется применять сигнализаторы, предназначенные для размещения на каске, в кармане куртки. Работоспособность сигнализаторов должна проверяться в соответствии с инструкциями по эксплуатации. При использовании сигнализаторов следует помнить, что отсутствие сигнала не является признаком отсутствия напряжения.
Указатели напряжения до 1000 В
Назначение и конструкция
2.1.62. Для проверки наличия или отсутствия напряжения в электроустановках до 1000 В применяются указатели двух типов: двухполюсные, работающие при протекании активного тока, и однополюсные, работающие при емкостном токе.
Двухполюсные указатели предназначены для электроустановок переменного и постоянного тока, а однополюсные - для электроустановок переменного тока.
Применение контрольных ламп для проверки отсутствия напряжения ЗАПРЕЩАЕТСЯ в связи с опасностью их взрыва при включении лампы на 220 В на линейное напряжение 380 В.
2.1.63. Двухполюсные указатели состоят из двух корпусов, содержащих элементы электрической схемы. Элементы электрической схемы соединяются между собой гибким проводом, не теряющим эластичности при отрицательных температурах, длиной не менее 1 м. В местах вводов в корпуса соединительный провод имеет амортизационные втулки или утолщенную изоляцию.
Однополюсный указатель размещается в одном корпусе.
2.1.64. Электрическая схема двухполюсного указателя напряжения должна содержать контакты - наконечники и элементы, обеспечивающие визуальную, акустическую или визуально-акустическую индикацию напряжения. Визуальный и акустический сигналы должны быть непрерывными или прерывистыми.
Электрическая схема двухполюсного указателя с визуальной индикацией может содержать прибор стрелочного типа или цифровую знакосинтезирующую систему (с малогабаритным источником питания индицирующей шкалы). Указатели этого типа могут применяться на напряжение от 0 до 1000 В.
Электрическая схема однополюсного указателя напряжения должна содержать элемент индикации с добавочным резистором, контакт-наконечник и контакт на торцевой (боковой) части корпуса, с которым соприкасается рука оператора.
2.1.65. Длина неизолированной части контактов-наконечников не должна превышать 5 мм. Контакты-наконечники должны быть жестко закреплены и не должны перемещаться вдоль оси.
Испытания указателей напряжения
В эксплуатации механические испытания указателей не проводят.
Электрические испытания
2.1.66. Эксплуатационные испытания указателей напряжения до 1000 В заключаются в определении напряжения индикации, проверке схемы повышенным напряжением, измерении тока, протекающего через указатель при наибольшем рабочем напряжении, испытании изоляции повышенным напряжением.
2.1.67. Для проверки напряжения индикации у двухполюсного указателя напряжение от испытательной установки прикладывается к контактам-наконечникам, у однополюсного - к контакту-наконечнику и контакту на торцевой (боковой) части корпуса.
Напряжение индикации указателей напряжения до 1000 В должно быть не выше 90 В.
2.1.68. Для проверки схемы у двухполюсного указателя напряжение от испытательной установки прикладывают к контактам-наконечникам, у однополюсного указателя - к контакту-наконечнику и контакту на торцевой (боковой) части.
Испытательное напряжение при проверке схемы должно превышать наибольшее значение рабочего напряжения не менее чем на 10 %. Продолжительность испытания - 1 мин.
Значение тока, протекающего через указатель при наибольшем значении рабочего напряжения, не должно превышать:
0,6 мА для однополюсного указателя напряжения;
10 мА для двухполюсного указателя напряжения с элементами, обеспечивающими визуальную или визуально-акустическую индикацию сигнала;
для указателей напряжения с лампой накаливания до 10 Вт напряжением 220 В значение тока определяется мощностью лампы.
Значение тока измеряется с помощью амперметра, включенного последовательно с указателем.
2.1.69. Для испытания изоляции указателей напряжения повышенным напряжением у двухполюсных указателей оба изолирующих корпуса обертываются фольгой, а соединительный провод опускается в заземленный сосуд так, чтобы вода закрывала провод, не доходя до рукоятки на 9 - 10 мм. Один провод от испытательной установки присоединяют к контактам-наконечникам, второй, заземленный, - к фольге и опускают его в воду (рис. 2.1).
Рис. 2.1. Принципиальная схема испытания электрической прочности изоляции рукояток и провода указателя напряжения
1 - испытываемый указатель; 2 - испытательный трансформатор; 3 - ванна с водой; 4 - электрод
У однополюсных указателей напряжения изолирующий корпус по всей длине до ограничительного упора обертывают фольгой. Между фольгой и контактом на торцевой части корпуса оставляют разрыв не менее 10 мм. Один провод от испытательной установки присоединяется к контакту-наконечнику, второй, заземленный, - к фольге.
Рекомендуется проводить испытания на установке для испытания диэлектрических перчаток, бот и галош (рис. 2.4).
Изоляция указателей напряжения до 500 В должна выдерживать напряжение 1 кВ, а указателей напряжения выше 500 В - 2 кВ. Продолжительность испытания - 1 мин.
Правила пользования указателями
2.1.70. Однополюсные указатели рекомендуется применять при проверке схем вторичной коммутации, определении фазного провода при подключении электросчетчиков, патронов, выключателей, предохранителей и т.п. При этом следует помнить, что во время проверки наличия или отсутствия напряжения возможно свечение сигнальной лампы от наведенного напряжения.
2.1.71. Перед применением исправность указателя проверяется на токоведущих частях, заведомо находящихся под напряжением.
2.1.72. При пользовании однополюсными указателями напряжения во избежание их неправильного показания применение диэлектрических перчаток запрещается.
Указатели напряжения для проверки совпадения фаз*
* При вводе в эксплуатацию новых конструкций указателем следует руководствоваться инструкциями по эксплуатации.
Назначение и конструкция
2.1.73. Указатели предназначены для проверки совпадения фаз на воздушных и кабельных линиях, трансформаторах и в других электроустановках от 3 до 110 кВ.
2.1.74. Указатели представляют собой двухполюсные приборы светосигнального типа, работающие при непосредственном контакте с токоведущими частями электроустановок под напряжением.
2.1.75. Указатели состоят из двух трубчатых корпусов из электроизоляционного материала, содержащих рабочие, изолирующие части и рукоятки. Элементы электрической схемы (контактные электроды, газоразрядная индикаторная лампа и соответствующие электронные компоненты) смонтированы в рабочих частях собственно указателя и трубки с добавочным сопротивлением, соединенных гибким проводом с усиленной изоляцией. Трубка с добавочным сопротивлением устроена так же, как обычный указатель напряжения, но вместо конденсатора и газоразрядной лампы внутрь вставлены термостойкие сопротивления.
2.1.76. Конструкция рабочих частей указателей должна исключать возможность пробоя и перекрытия при одновременном контакте с токоведущими и заземленными частями электроустановок.
2.1.77. Рабочие и изолирующие части должны быть разъемными, соединяющимися посредством резьбовых элементов. Рабочие части в месте установки контактных электродов не должны иметь резьбовых элементов.
Испытание указателей
В эксплуатации механические испытания указателей не проводят.
Электрические испытания
2.1.78. При эксплуатационных испытаниях проводится проверка указателей по схемам согласного и встречного включения, проверка электрической прочности рабочих и изолирующих частей и соединительного провода.
2.1.79. При проверке указателя по схеме согласного включения оба контактных электрода подключаются к высоковольтному выводу трансформатора, как указано на рис. 2.2а.
При проверке указателя по схеме встречного включения (рис. 2.2б) каждый из контактных электродов подключается к выводам трансформатора.
Рис. 2.2. Принципиальная схема испытания указателя напряжения для проверки совпадения фаз по схеме согласного (а) и встречного (б) включения:
1 - испытательный трансформатор; 2 - указатель напряжения
При испытаниях один из выводов трансформатора может быть заземлен. Во время испытания фиксируется напряжение индикации указателя, значения которого в зависимости от схемы приведены в табл. 2.6.
Таблица 2.6
Напряжение индикации указателей напряжения для проверки совпадения фаз
|
Напряжение индикации, кВ |
||
|
по схеме согласного включения, не менее |
по схеме встречного включения, не выше |
|
|
6 |
7,6 |
1,5 |
|
10 |
12,7 |
2,5 |
|
15 |
20 |
3,5 |
|
20 |
28 |
4 - 6 |
|
35 |
40 |
20 |
|
110 |
100 |
50 |
2.1.80. При проверке электрической прочности продольной изоляции рабочих частей испытательное напряжение в течение 1 мин. прикладывается к контактному электроду и элементу резьбового разъема.
При этом испытательные напряжения должны иметь значения:
12 кВ - до 10 кВ;
17 кВ - 15 кВ;
24 кВ - 20 кВ;
70 кВ - 35 кВ;
100 кВ - 110 кВ.
2.1.81. При проверке электрической прочности продольной изоляции изолирующих частей испытательное напряжение в течение 5 мин. прикладывается к металлическому разъему и проволочному бандажу, наложенному у ограничительного кольца.
При этом испытательные напряжения должны иметь следующие значения:
40 кВ - до 10 кВ;
60 кВ - св. 10 до 20 кВ;
105 кВ - св. 20 до 35 кВ;
190 кВ - 110 кВ.
2.1.82. Гибкий провод испытывают напряжением 20 кВ в течение 1 мин. для указателей до 20 кВ. Провод опускают в ванну с водой так, чтобы расстояние между местом заделки провода и уровнем воды было в пределах 60 - 70 мм. Напряжение прикладывается к контактному электроду и к корпусу металлической ванны.
При испытании гибкой связи указателей на напряжение 35 - 110 кВ провод опускают в ванну с водой (отдельно от указателя), причем уровень воды должен быть на 50 мм ниже металлических наконечников. Один вывод испытательного трансформатора присоединяют к металлическим наконечникам провода, другой - к корпусу металлической ванны или электроду, опущенному в воду. Провод должен выдерживать напряжение 50 кВ в течение 1 мин.
Правила пользования указателем
2.1.83. Работа указателя обеспечивается только при двухполюсном его подключении к электроустановке.
Применение диэлектрических перчаток при этом обязательно.
2.1.84. Исправность указателя проверяется на рабочем месте путем двухполюсного подключения указателя к земле и фазе или к двум фазам (в установках 3 кВ). Сигнальная лампа исправного указателя при этом должна ярко светиться.
2.1.85. Пользоваться указателем при дожде, тумане, снегопаде, сильном ветре, влажности воздуха более 80 % запрещается.
Электроизмерительные клещи
Назначение и конструкция
2.1.86. Клещи предназначены для измерения тока, напряжения и мощности в электрических цепях до 10 кВ без нарушения их целости.
2.1.87. Принцип действия клещей состоит в том, что ток измеряется трансформатором, вторичная обмотка которого замыкается на измерительную схему. Первичной обмоткой является шина или провод с измеряемым током.
2.1.88. Клещи для работы в электроустановках до 10 кВ состоят из рабочей, изолирующей частей и рукоятки.
Рабочую часть составляют разъемный магнитопровод, обмотка и съемный или встроенный измерительный прибор. Корпус измерительного прибора пластмассовый. Магнитопровод выполнен из листовой электротехнической стали.
Изолирующая часть с упором и рукоятка должны быть выполнены из электроизоляционного материала. Минимальная длина изолирующей части 380 мм, а рукоятки - 130 мм.
2.1.89. Все отдельные части клещей должны быть прочно и надежно скреплены между собой.
2.1.90. Клещи для электроустановок до 1000 В состоят из рабочей части (разъемный магнитопровод, обмотка и измерительный механизм) и корпуса, являющегося одновременно изолирующей частью с упором и рукояткой.
Испытания клещей
2.1.91. Клещи для электроустановок выше 1000 В испытывают при эксплуатационных испытаниях напряжением, равным 3-кратному линейному, но не менее 40 кВ, в течение 5 мин.
2.1.92. Клещи для электроустановок до 1000 В испытывают в течение 5 мин. напряжением 2 кВ.
2.1.93. При испытаниях клещей напряжение прикладывают к магнитопроводу и электродам из фольги или проволочным бандажам у ограничительного кольца со стороны изолирующей части (для клещей до 10 кВ) или у основания рукоятки (для клещей до 1000 В).
Правила пользования клещами
2.1.94. При пользовании клещами для измерений в цепях выше 1000 В запрещается применять выносные приборы, а также переключать пределы измерения, не снимая клещей с токоведущих частей. При измерении клещи следует держать на весу.
При этом запрещается наклоняться к прибору для отсчета показаний. Работать с клещами до 10 кВ необходимо в диэлектрических перчатках.
Запрещается работать с клещами до 1000 В, находясь на опоре ВЛ.
Указатель повреждения кабелей светосигнальный
Назначение и конструкция
2.1.95. Указатель предназначен для отыскания поврежденного участка разветвленной кабельной или воздушно-кабельной сети 6 и 10 кВ при любом виде повреждения линий и оборудования, имеющем замыкание одной или нескольких фаз на землю.
2.1.96. Указатель состоит из двух изолированных трубчатых корпусов, каждый из которых содержит рабочую, изолирующую части и рукоятку.
Рабочие части указателя соединяются гибким изолированным проводом.
2.1.97. Указатель представляет собой светосигнальное устройство, в рабочих частях которого размещены элементы электрической схемы: газоразрядная индикаторная лампа, выпрямительные элементы, токоограничивающие резисторы.
По принципу действия указатель представляет собой высоковольтный выпрямитель переменного тока.
Состояние испытуемой фазы определяется по изменению высоты светящегося газового столба в индикаторной лампе.
Испытания указателей
В эксплуатации механические испытания указателей не проводят.
Электрические испытания
2.1.98. При проверке электрической прочности каждой из рабочих частей напряжение 10 кВ в течение 1 мин. прикладывается к контакту-наконечнику и резьбовому разъему. Сигнальная лампа при этом шунтируется для защиты от перегрузки шунтом для испытаний (рис. 2.3).
2.1.99. При проверке значения тока индикации указатель подключается к испытательному трансформатору через миллиамперметр, имеющий защиту от перегрузки (например, разрядник). Испытания проводятся при напряжении 6 и 10 кВ. Значение тока индикации должно быть не более 10 мА.
2.1.100. При проверке четкости индикации исправного кабеля указатель подключается через конденсатор 10 кВ емкостью 1 - 3 мкФ, имитирующий кабельную линию. При заряде конденсатора светящийся столб индикаторной лампы уменьшается до полного исчезновения.
При проверке четкости индикации неисправного кабеля указатель подключается непосредственно к трансформатору.
Испытания проводятся также при напряжении 6 и 10 кВ.
2.1.101. При проверке электрической прочности изолирующих частей указателя напряжение 40 кВ в течение 5 мин. прикладывается к резьбовому разъему и временному электроду, наложенному у ограничительного кольца.
I - испытание электрической прочности рабочей части указателя;
II - испытание электрической прочности изолирующей части указателя;
III - испытание электрической прочности изоляции соединительного провода;
IV - проверка четкости индикации неисправного кабеля;
V - проверка четкости индикации исправного кабеля
Условные обозначения:
Р - разрядник; 1 - регулятор напряжения;
R - защитное сопротивление; 2 - испытательный трансформатор ИОМ 100/20;
мА - миллиамперметр до 30 мА класса 0,5; 3 - испытываемый указатель;
кВ - киловольтметр до 100 кВ класса 1,5; 4 - шунт для испытаний;
С - конденсатор 10 кВ, 1 -3 мкФ. 5 - ванна с водой;
6 - электрод;
7 - испытываемый провод
Рис. 2.3. Схема электрических испытаний указателя повреждения кабелей
2.1.102. При проверке электрической прочности изоляции соединительного привода его опускают в ванну с водой, причем уровень воды должен быть на 50 мм ниже металлических наконечников. Один вывод испытательного трансформатора должен соединяться с металлическим наконечником соединительного провода, второй, заземленный, опускается в воду.
Провод испытывают напряжением 20 кВ в течение 1 мин.
Правила пользования указателем
2.1.103. Измерения должны производиться двумя лицами, прошедшими специальное обучение, одно из которых является контролирующим.
2.1.104. Работа с указателем производится в ячейках на токоведущих частях, находящихся под рабочим напряжением, при этом работающие должны принять меры, исключающие приближение к токоведущим частям на расстояние менее 0,7 м и прикосновение оператора к металлическим конструкциям, а соединительного провода - к токоведущим частям и заземленным конструкциям. Провод должен находиться на расстоянии не менее 0,7 м от оператора.
2.1.105. Работа с указателем должна производиться в диэлектрических перчатках, на изолирующей подставке (ковре) и в защитных очках.
2.1.106. Запрещается использовать указатель при наличии «земли» в сети, от которой подается питание.
Устройство определения разности напряжений в транзите
Назначение и конструкция
2.1.107. Устройство предназначено для измерения разности напряжений в месте замыкания транзитного контура в электроустановках 6 и 10 кВ кабельных сетей.
2.1.108. Устройство состоит из двух трубчатых изолированных корпусов, каждый из которых содержит рабочую, изолирующую части и рукоятку, индикатора (измерительного прибора стрелочного типа) и соединительного провода. В обеих рабочих частях размещаются элементы электрической схемы.
2.1.109. Измерительный прибор магнитоэлектрической системы со шкалой на 1000 В имеет систему защиты от повреждения при ошибочном включении на междуфазное напряжение 6 и 10 кВ.
2.1.110. Устройство должно обеспечивать измерение напряжений (в месте замыкания транзитного контура) в пределах от 40 до 1000 В.
2.1.111. Принцип действия устройства основан на протекании активного тока.
Испытания устройства
2.1.112. При испытании каждой из рабочих частей устройства напряжение 10 кВ в течение 1 мин. прикладывается к контакту-наконечнику и резьбовому разъему.
2.1.113. При испытании каждой из изолирующих частей устройства напряжение 40 кВ в течение 5 мин. прикладывается к временным электродам, наложенным у резьбового разъема и ограничительного кольца.
2.1.114. При проверке электрической прочности соединительного провода его опускают в ванну с водой, причем уровень воды должен быть на 50 мм ниже металлических наконечников. Один вывод испытательного трансформатора должен соединяться с металлическими наконечниками соединительного провода, второй, заземленный, опускается в воду. Соединительный провод должен выдерживать в течение 1 мин. напряжение 20 кВ.
2.1.115. При проверке работоспособности, пределов измерения и системы защиты электрической схемы устройство подключается к испытательному трансформатору, напряжение должно измеряться вольтметром класса точности не ниже 2,5.
При проверке системы защиты электрической схемы должна загораться газоразрядная лампа с фиксацией стрелки прибора в конце шкалы.
Правила пользования устройством
2.1.116. Измерения проводятся двумя лицами, прошедшими специальное обучение, одно из которых является контролирующим.
2.1.117. Работа с устройством производится в ячейках на токоведущих частях, находящихся под напряжением, при этом работающие должны принять меры, исключающие приближение оператора к токоведущим частям на расстояние менее 0,6 м и прикосновение к металлическим конструкциям и токоведущим частям разноименных фаз, а также прикосновение соединительного провода к токоведущим частям и заземленным конструкциям.
2.1.118. Работа с устройством производится в диэлектрических перчатках, на изолирующей подставке (ковре) и в защитных очках.
Устройства для прокола кабеля
Кроме перечисленных устройств при работе в электроустановках применяются различные типы безопасных устройств для прокола кабеля: устройства дистанционного прокола с ручным механическим приводом или электроприводом и устройства прокола кабеля пиротехнические.
Назначение и конструкции устройств
2.1.119. Устройства для прокола кабеля предназначены для индикации отсутствия напряжения на ремонтируемом кабеле до 10 кВ перед его разрезкой путем прокола кабеля по диаметру и закорачивания всех жил разных фаз между собой и на землю.
2.1.120. Устройства включают рабочий орган, заземляющее устройство, изолирующую штангу, редуктор или электропривод с изолирующей вставкой либо спусковое устройство, состоящее из шнура и изолирующей штанги.
Заземляющее устройство включает заземляющий стержень с заземляющим канатом или струбцинами.
2.1.121. Конструкция устройства должна обеспечивать надежное закрепление его на прокалываемом кабеле и автоматически ориентировать ось режущего (колющего) элемента с диаметром прокалываемого кабеля любого сечения, а также предусматривать блокировку, исключающую выстрел при недозакрытии затвора в устройстве пиротехническом.
2.1.122. Устройство механического типа должно прокалывать кабель по диаметру не менее чем за 180 движений, при этом максимальное усилие не должно превышать 29,4 Н. Устройство дистанционного прокола должно прокалывать кабель за время не более 5 мин. Устройство пиротехническое должно прокалывать кабель за один выстрел.
2.1.123. Длина изолирующей части устройства должна быть не менее 230 мм. Длина приводного шнура (соединительного кабеля) должна быть не менее 10 м. Сечение заземляющего каната должно быть не менее 25 мм2.
Испытания устройства
Механические испытания
2.1.124. При эксплуатационных испытаниях проверяется работоспособность устройства путем прокола образца кабеля типа АВАШВ 3 × 240, а в устройствах прокола механического типа, кроме того, замеряется усилие, прилагаемое к приводному ремню.
Электрические испытания
2.1.125. При эксплуатационных испытаниях изолирующие части устройств (штанга изолирующая или изолирующая вставка электропривода) испытываются повышенным напряжением 40 кВ в течение 5 мин.
Испытательное напряжение прикладывается к изолирующей части штанги или к металлическому фланцу электропривода и специальной клемме.
Правила пользования устройствами
2.1.126. Прокол кабеля производится двумя лицами, прошедшими специальное обучение, одно из которых является контролирующим.
2.1.127. При проколе кабеля следует пользоваться диэлектрическими перчатками и защитными очками, при этом необходимо стоять на изолирующем основании сверху траншеи как можно дальше от прокалываемого кабеля.
2.1.128. При работе с устройством необходимо соблюдать меры безопасности, изложенные в инструкции по эксплуатации. Техническое обслуживание ежедневное и периодическое также производится в соответствии с требованиями инструкции по эксплуатации.
Перчатки резиновые диэлектрические
Назначение и требования к ним
2.1.129. Перчатки предназначены для защиты рук от поражения электрическим током при работе в электроустановках до 1000 В в качестве основного электрозащитного средства, а в электроустановках выше 1000 В - в качестве дополнительного.
2.1.130. В электроустановках могут применяться перчатки бесшовные из латекса натурального каучука или перчатки со швом из листовой резины, выполненные методом штанцевания.
В электроустановках разрешается использовать только перчатки с маркировкой по защитным свойствам ЭнЭв*.
* Эн - для защиты от электрического тока напряжением до 1000 В.
Эв - для защиты от электрического тока напряжением выше 1000 В.
2.1.131. Длина перчаток должна быть не менее 350 мм.
Размер перчаток должен позволять одевать под них шерстяные или хлопчатобумажные перчатки для защиты рук от пониженных температур при обслуживании открытых устройств в холодную погоду. Ширина по нижнему краю перчаток должна позволять натягивать их на рукава верхней одежды. Перчатки могут быть пятипалыми или двупалыми.
Испытания перчаток
В эксплуатации проводят только электрические испытания перчаток.
При испытании диэлектрические перчатки погружают в металлический сосуд с водой, имеющий температуру 25 ± 10 °С, которая наливается также внутрь этих изделий. Уровень воды как снаружи, так и внутри изделий должен быть на 50 мм ниже верхнего края перчаток.
Выступающие края перчаток должны быть сухими. Один вывод испытательного трансформатора соединяют с сосудом, другой заземляют. Внутрь перчаток опускают электрод, соединенный с заземлением через миллиамперметр. Одна из возможных схем испытательной установки приведена на рис. 2.4. При испытании переключатель «П» сначала устанавливают в положение А для того, чтобы по сигнальным лампам определить отсутствие или наличие пробоя. При отсутствии пробоя переключатель устанавливают в положение Б для измерения тока, проходящего через перчатку. Изделие бракуют, если ток, проходящий через него, превышает норму или происходят резкие колебания стрелки миллиамперметра.
В случае возникновения пробоя отключают дефектное изделие или всю установку.
По окончании испытаний изделия просушивают.
Рис. 2.4. Принципиальная схема испытания диэлектрических перчаток, бот и галош
1 - испытательный трансформатор; 2 - контакты переключающие; 3 - шунтирующее сопротивление (15 - 20 кОм); 4 - газоразрядная лампа; 5 - дроссель; 6 - миллиамперметр; 7 - разрядник; 8 - ванна с водой
Правила пользования перчатками
2.1.133. При использовании перчаток следует обращать внимание на то, чтобы они не были влажными и не имели повреждений.
2.1.134. Перед употреблением перчаток следует проверить наличие проколов путем скручивания их в сторону пальцев.
2.1.135. При работе в перчатках их края нельзя подвертывать.
Для защиты от механических повреждений разрешается надевать поверх перчаток кожаные или брезентовые перчатки или рукавицы.
2.1.136. Перчатки, находящиеся в эксплуатации, следует периодически (по местным условиям) дезинфицировать содовым или мыльным раствором.
Обувь специальная диэлектрическая из полимерных материалов
Боты, галоши резиновые диэлектрические
Назначение и требования к ним
2.1.137. Обувь специальная диэлектрическая (клееные галоши, резиновые клееные или формовые боты, в т.ч. боты в тропическом исполнении) является дополнительным электрозащитным средством при работе в закрытых, а при отсутствии осадков - в открытых электроустановках.
Кроме того, диэлектрические боты и галоши защищают работающих от напряжения шага.
2.1.138. В электроустановках разрешается применение диэлектрических бот и галош, изготовленных только в соответствии с требованиями ГОСТ 13385-78. Боты в тропическом исполнении должны быть грибостойкими и соответствовать также требованиям ГОСТ 15152-69.
2.1.139. Обувь применяют: галоши - при напряжении до 1000 В; боты - при всех напряжениях.
По защитным свойствам обувь обозначают: Эн - резиновые клееные галоши; Эв - резиновые клееные и формовые боты.
2.1.140. Диэлектрическая обувь должна отличаться по цвету от остальной резиновой обуви.
2.1.141. Галоши и боты состоят из резинового верха, резиновой рифленой подошвы, текстильной подкладки и внутренних усилительных деталей.
Боты должны иметь отвороты. Формовые боты могут выпускаться бесподкладочными.
Высота бот должна быть не менее 160 мм.
Испытания диэлектрической обуви
2.1.142. В эксплуатации диэлектрические галоши испытывают напряжением 3,5 кВ, а боты - напряжением 15 кВ в течение 1 мин. Токи, протекающие при этом через изделия, должны быть не более 2 мА для галош и 7,5 мА для бот.
Испытания проводят по п. 2.1.132 на установке, приведенной на рис. 2.4.
При испытаниях уровень воды как снаружи, так и внутри горизонтально установленных изделий должен быть на 20 мм ниже бортов галош и на 50 мм ниже края спущенных отворотов бот.
Правила пользования диэлектрической обувью
2.1.143. Электроустановки следует комплектовать диэлектрической обувью нескольких размеров.
2.1.144. Перед применением галоши и боты должны быть осмотрены с целью обнаружения дефектов (отслоения облицовочных деталей, незатяжки подкладки на стельку, расхождения концов подкладки, посторонних жестких включений, выступания серы).
Ковры резиновые диэлектрические и подставки изолирующие
Назначение и требования к ним
2.1.145. Ковры диэлектрические резиновые и подставки изолирующие применяются в качестве дополнительных электрозащитных средств в электроустановках до и выше 1000 В.
Ковры применяют в закрытых электроустановках всех напряжений, кроме особо сырых помещений, и в открытых электроустановках в сухую погоду.
Подставки применяют в сырых и подверженных загрязнению помещениях.
2.1.146. Ковры изготовляют в соответствии с требованиями ГОСТ 4997-75 в зависимости от назначения и условий эксплуатации следующих двух групп: 1-я группа - обычного исполнения и 2-я группа - маслобензостойкие.
2.1.147. Ковры* изготовляются следующих размеров: длиной от 500 до 1000 мм, свыше 1000 до 8000 мм; шириной от 500 до 1200 мм; толщиной 6 ± 1 мм.
* Рекомендуется применять ковры размером не менее 50 × 100 см.
2.1.148. Ковры должны иметь рифленую лицевую поверхность и быть одноцветными.
2.1.149. Изолирующая подставка состоит из настила, укрепленного на опорных изоляторах высотой не менее 70 мм. Рекомендуется применять изоляторы типа СН-6, выпускаемые специально для изготовления подставок.
2.1.150. Настил размером не менее 500 × 500 мм следует изготовлять из деревянных планок без сучков и косослоя, выструганных из хорошо просушенного дерева. Зазоры между планками не должны превышать 30 мм. Сплошные настилы применять не рекомендуется, так как они затрудняют проверку отсутствия случайного шунтирования изоляторов. Настил должен быть окрашен со всех сторон.
2.1.151. Изолирующие подставки должны быть прочными и устойчивыми. В случае применения съемных изоляторов соединение их с настилом должно исключать возможность соскальзывания настила. Для устранения возможности опрокидывания изолирующей подставки края настила не должны выступать за опорную поверхность изоляторов.
Испытания ковров и подставок
Подставки осматривают 1 раз в 3 года на отсутствие нарушений целости опорных изоляторов, изломов, ослабления связи между отдельными частями настила. При обнаружении указанных дефектов их бракуют, а после устранения дефектов испытывают по нормам приемо-сдаточных испытаний.
Правила пользования коврами и подставками
2.1.153. После хранения при отрицательной температуре ковры перед употреблением должны быть выдержаны в упакованном виде при температуре 20 ± 5 °С не менее 24 ч.
2.1.154. Ковры и изолирующие подставки перед применением должны быть очищены от загрязнений, высушены и осмотрены на отсутствие дефектов, указанных в п. 2.1.152.
Защитные ограждения применяются для предотвращения случайного приближения и прикосновения к токоведущим частям, находящимся под напряжением и расположенным вблизи места работ.
Защитные ограждения могут быть следующих видов: щиты (ширмы); изолирующие накладки; изолирующие колпаки.
Щиты (ширмы)
Назначение и конструкция
2.1.155. Щиты, ширмы применяются для временного ограждения токоведущих частей, находящихся под напряжением до и выше 1000 В.
2.1.156. Щиты следует изготовлять из сухого дерева, пропитанного олифой и окрашенного бесцветным лаком, или из прочного электроизоляционного материала, без применения металлических крепежных деталей.
2.1.157. Поверхность щитов может быть сплошной (для ограждения работающих от случайного приближения к токоведущим частям, находящимся под напряжением) или решетчатой (для ограждения входа в ячейки, камеры, проходов и т.п.).
2.1.158. Конструкция щита должна быть прочной и удобной, исключающей возможность его коробления и опрокидывания, а масса - такой, чтобы его мог переносить один человек. Высота щита должна быть не менее 1,7 м, а расстояние от нижней кромки до пола - не более 10 см.
Испытания щитов
2.1.159. Механические и электрические испытания щитов не проводят, пригодность их к применению определяют осмотром.
У щитов при осмотрах следует проверять прочность соединения частей, их устойчивость и прочность деталей, предназначенных для надежной установки или крепления щитов, наличие плакатов и знаков безопасности.
Правила применения щитов
2.1.160. Соприкосновение щитов с токоведущими частями, находящимися под напряжением, не допускается. Расстояние от щитов, ограждающих рабочее место, до токоведущих частей, находящихся под напряжением, должно выдерживаться согласно требованиям правил техники безопасности. В электроустановках напряжением 6 - 10 кВ это расстояние при необходимости может быть уменьшено до 0,35 м.
На щитах должны быть укреплены предупреждающие плакаты «СТОЙ! НАПРЯЖЕНИЕ» или нанесены соответствующие надписи.
2.1.161. Щиты должны устанавливаться надежно, но они не должны препятствовать выходу персонала из помещения в случае возникновения опасности.
Запрещается убирать или переставлять до полного окончания работы ограждения, установленные при подготовке рабочих мест.
Изолирующие накладки
Назначение и конструкция
2.1.162. Изолирующие накладки применяются в электроустановках до 20 кВ для предотвращения случайного прикосновения к токоведущим частям в тех случаях, когда нет возможности оградить рабочее место щитами. В электроустановках до 1000 В накладки применяют также для предупреждения ошибочного включения рубильников.
2.1.163. Накладки должны изготовляться из прочного электроизоляционного материала. Конструкция и размеры их должны быть такими, чтобы токоведущие части закрывались полностью.
В электроустановках до 20 кВ применяются жесткие накладки из твердого электроизоляционного материала (стеклопластика, гетинакса и т.п.).
В электроустановках до 1000 В можно использовать гибкие накладки из диэлектрической резины для закрытия токоведущих частей при работах без снятия напряжения.
Испытания изолирующих накладок
Механические испытания изолирующих накладок в эксплуатации не проводят.
2.1.164. Для испытания электрической прочности жесткую изолирующую накладку сначала помещают между двумя пластинчатыми электродами, края которых не должны достигать краев накладки на 50 мм, затем с каждой стороны между электродами, расстояние между которыми не должно превышать расстояния между полюсами разъединителя на соответствующее напряжение.
2.1.165. Жесткие накладки для электроустановок 3 - 10 кВ испытывают напряжением 20 кВ, для электроустановок 15 кВ - напряжением 30 кВ, для электроустановок 20 кВ - напряжением 40 кВ. Продолжительность испытания - 5 мин.
2.1.166. Накладки из диэлектрической резины для электроустановок до 500 В испытывают напряжением 1 кВ, свыше 500 до 1000 В - 2 кВ в течение 1 мин. Накладку со смоченной водой рифленой поверхностью (при наличии рифления) помещают между двумя электродами, края которых не должны доходить до краев накладки на 15 мм. Для измерения тока, протекающего через накладку, в цепь повышающей обмотки трансформатора включают миллиамперметр. Ток при эксплуатационных испытаниях не должен превышать 6 мА. Продолжительность испытания - 1 мин.
Жесткие накладки для электроустановок до 1000 В испытывают по тем же нормам, что и резиновые, но без измерения тока через изделие.
Правила пользования накладками
2.1.167. Установка накладок на токоведущие части напряжением выше 1000 В должна производиться двумя лицами с применением диэлектрических перчаток и изолирующих штанг либо клещей.
2.1.168. Перед применением накладки следует очистить от загрязнений и проверить на отсутствие трещин, нарушений лакового покрова, разрывов и других повреждений. Накладки следует оберегать от увлажнения и загрязнения.
Изолирующие колпаки
Назначение и конструкция
2.1.169. Изолирующие колпаки предназначены для применения в электроустановках до 10 кВ, конструкция которых по условиям электробезопасности исключает возможность наложения переносных заземлений при проведении ремонтов, испытаний и определении мест повреждения.
2.1.170. Колпаки для электроустановок до 10 кВ изготавливаются типов:
- для установки на жилах отключенных кабелей, расположенных вблизи токоведущих частей, находящихся под рабочим напряжением;
- для установки на отключенных ножах однополюсных разъединителей на сборках с вертикальным расположением фаз;
- для установки на однополюсных и трехполюсных разъединителях.
Конструкция колпаков предусматривает на торцевой стороне монтаж хомута для фиксации колпака на пальце оперативной штанги при его установке.
2.1.171. Колпаки изготавливаются из диэлектрической резины, пластмассы, стеклопластика или других электроизоляционных материалов с устойчивыми диэлектрическими свойствами.
Испытания колпаков
2.1.172. В эксплуатации колпаки для установки на жилах отключенных кабелей должны испытываться 1 раз в 12 мес. напряжением 20 кВ в течение 1 мин, а колпаки для установки на отключенных ножах разъединителей 1 раз в 12 мес. подвергаются осмотру на отсутствие трещин, разрывов и других повреждений. Методика испытаний колпаков такая же, как для диэлектрических перчаток.
Правила пользования колпаками
2.1.173. Перед установкой колпаков должно быть проверено отсутствие напряжения на жилах кабеля и ножах разъединителей.
Установка (снятие) колпаков производится двумя лицами с применением диэлектрических перчаток, оперативной штанги и диэлектрического ковра или изолирующей подставки. Последовательность установки колпаков снизу-вверх, снятия - сверху-вниз.
Хранение колпаков производится в соответствии с п.п. 1.3.2 и 1.3.5 настоящих правил.
Назначение и требования к инструменту
2.1.175. Разрешается использовать изолированный инструмент, изготовленный в соответствии с требованиями ГОСТ 11516-79 (с однослойной изоляцией) и публикации МЭК 900 (1987) (с многослойной изоляцией).
2.1.176. Изолирующие рукоятки должны быть выполнены в виде диэлектрических чехлов, насаживаемых на ручки инструмента, или неснимаемого однослойного или многослойного покрытия из влагостойкого, маслобензостойкого, нехрупкого электроизоляционного материала, наносимого методом литья под давлением, окунания и т.п. Поверхность изолирующего покрытия не должна быть скользкой. Форма и рифление поверхности изолирующих рукояток должны обеспечивать удобство пользования инструментом.
2.1.177. Соединение изолирующих рукояток с ручками инструмента и изоляцией стержней отверток должно быть прочным, исключающим возможность их взаимного продольного перемещения и проворачивания при работе.
2.1.178. Изоляция должна покрывать всю рукоятку и иметь длину не менее 100 мм до середины ограничительного упора. Упор должен иметь высоту не менее 10 мм, толщину - не менее 3 мм и не должен иметь острых кромок и граней. Высота упора ручек отвертки - не менее 5 мм.
Толщина многослойной изоляции не должна превышать 2 мм, однослойной - 1 мм. Изоляция стержней отверток не должна иметь упоров. Изоляция стержней отверток должна оканчиваться на расстоянии не более 10 мм от конца лезвия отвертки.
2.1.179. Каждый слой многослойного изоляционного покрытия должен иметь свою окраску.
Испытания инструмента
В эксплуатации механические испытания инструмента не проводят.
Электрические испытания
2.1.180. Инструмент с однослойной изоляцией в эксплуатации испытывают напряжением 2 кВ в течение 1 мин.
2.1.181. Для проведения электрических испытаний инструмент, предварительно очищенный от грязи и жира, погружают изолированной частью в ванну с водой так, чтобы вода не доходила до края изоляции на 10 мин. Один вывод испытательного трансформатора присоединяют к металлической части инструмента, а второй, заземленный, - к ванне с водой. Испытание можно проводить на установке для проверки диэлектрических перчаток.
2.1.182. Инструмент с многослойной изоляцией в эксплуатации подвергают осмотру. Если покрытие состоит из двух слоев, то при появлении другого цвета из-под верхнего слоя инструмент должен быть заменен.
Если покрытие состоит из трех слоев, то при повреждении верхнего слоя инструмент может быть оставлен в эксплуатации. При появлении нижнего слоя изоляции инструмент должен быть немедленно изъят из эксплуатации.
Правила пользования инструментом
2.1.183. Перед каждым применением инструмент должен быть осмотрен. Изолирующие рукоятки инструмента не должны иметь раковин, трещин, сколов, вздутий и других дефектов, которые приводят к ухудшению внешнего вида и снижению механической и электрической прочности.
Назначение и конструкции
2.1.185. Переносные заземления при отсутствии стационарных заземляющих ножей являются наиболее надежным средством защиты при работе на отключенных участках оборудования или линии от ошибочно поданного или наведенного напряжения.
2.1.186. Переносные заземления состоят из штанги, проводов для заземления и закорачивания между собой токоведущих частей всех фаз установки, зажимов для закрепления заземляющих проводов на токоведущих частях и наконечника или струбцины для присоединения к заземляющим проводникам или конструкциям. Допускается применение переносного заземления бесштанговой конструкции.
2.1.187. Переносные заземления должны удовлетворять следующим требованиям:
1. Провода для заземления и закорачивания должны быть выполнены из голых гибких медных жил и иметь сечение, удовлетворяющее требованиям термической стойкости при трехфазных коротких замыканиях, но не менее 25 мм2 в электроустановках напряжением выше 1000 В и не менее 16 мм2 в электроустановках до 1000 В. В сетях с заземленной нейтралью сечение проводов должно удовлетворять требованиям термической стойкости при однофазном коротком замыкании. При определении сечения медных проводов, исходя из требований термической стойкости, для станций, подстанций и линий электропередачи допускаются следующие температуры: начальная 30 °С, конечная 850 °С. Для расчета переносных заземлений на нагрев токами короткого замыкания рекомендуется пользоваться следующей упрошенной формулой:
,
где: Smin - минимальное сечение провода, мм2;
Iуст. - наибольшее значение установившегося тока короткого замыкания, кА;
tв - время наибольшей выдержки основной релейной защиты, с.
Сечение заземляющих проводников в электроустановках напряжением выше 1000 В можно определить также с помощью табл. 2.7.
Таблица 2.7
Сечения заземляющих проводников в электроустановках выше 1000 В
|
Максимально допустимый ток КЗ, кА, при длительности выдержки основной релейной защиты, с |
|||
|
0,5 |
1,0 |
3,0 |
|
|
25 |
10 |
7 |
4 |
|
50 |
20 |
14 |
8 |
|
70 |
25 |
18 |
10 |
|
90 |
35 |
25 |
15 |
|
2 × 50 |
40 |
28 |
16 |
|
2 × 95 |
70 |
50 |
30 |
При больших токах короткого замыкания разрешается устанавливать несколько заземлений параллельно.
2. Зажимы для присоединения закорачивающих проводов к шинам должны иметь такую конструкцию, чтобы при прохождении тока короткого замыкания переносное заземление не могло быть сорвано с места динамическими силами. Зажимы должны иметь приспособление, допускающее их наложение, закрепление и снятие с шин при помощи штанги для наложения заземления. Гибкий медный провод должен присоединяться к зажиму непосредственно или с помощью надежно спрессованного медного наконечника. Для защиты провода от излома в местах присоединения рекомендуется заключать его в оболочки в виде пружин из гибкой стальной проволоки. Для предохранения жил провода от механических повреждений медный провод рекомендуется помещать в прозрачную гибкую оболочку.
3. Наконечник на проводе для заземления должен выполняться в виде струбцины или соответствовать конструкции зажима (барашка), служащего для присоединения к заземляющему проводу или конструкции.
4. Элементы переносного заземления должны быть прочно и надежно соединены путем опрессовки, сварки или болтами с предварительным лужением контактных поверхностей. Применение пайки запрещается.
2.1.188. Места для присоединения заземлений должны иметь свободный и безопасный доступ. Переносные заземляющие устройства, применяемые для заземления проводов ВЛ, могут присоединяться к конструкциям металлической опоры, заземляющему спуску на деревянных опорах или к специальному временному заземлителю (штырю, забитому в землю).
2.1.189. Сечение провода переносного заземления, применяемого для снятия заряда с провода при проведении испытаний, для заземления испытательной аппаратуры и испытуемого оборудования, должно быть не менее 4 мм2, а применяемого для заземления изолированного от опор грозозащитного троса линий электропередачи, а также передвижных установок (лабораторий, мастерских и т.п.) - не менее 10 мм2 по условиям механической прочности.
2.1.190. На каждом переносном заземлении должны быть обозначены его номер и сечение заземляющих проводов. Эти данные выбиваются на бирке, закрепленной на заземлении, или на струбцине (наконечнике).
Испытания переносных заземлений
В эксплуатации механическим испытаниям переносные заземления не подвергают.
2.1.191. Эксплуатационные испытания изолирующих частей штанг переносных заземлений и изолирующих гибких элементов заземлений проводят согласно п. 2.1.21 настоящих Правил.
Правила пользования переносными заземлениями
2.1.192. Установка и снятие переносных заземлений в электроустановках выше 1000 В должны выполняться в диэлектрических перчатках с применением изолирующей штанги. Закреплять зажимы переносных заземлений следует этой же штангой или непосредственно руками в диэлектрических перчатках.
2.1.193. Должен проводиться строгий учет всех установленных заземлений.
2.1.194. Каждое переносное заземление должно быть осмотрено не реже 1 раза в 3 мес., а также перед употреблением и в том случае, если оно подвергалось воздействию токов короткого замыкания. При разрушении контактных соединений, снижении механической прочности проводников, расплавлении их, обрыве более 5 % жил и т.п. переносные заземления следует изъять из употребления.
Универсальные переносные заземления
В настоящее время разработан ряд новых видов переносных заземлений: для заземления проводов отключенных ВЛ 6 - 10 кВ непосредственно с земли с одновременной индикацией напряжения, для закорачивания между собой нулевого и всех фазных проводов ВЛ 0,4 кВ, включающих собственно заземление и указатель напряжения, а также универсальный комплект устройств для кабельной сети, представляющий собой набор устройств: для установки рабочего заземления (спецзаземление), подачи испытательного напряжения, снятия остаточного заряда, холодной фазировки и проверки целости кабельной линии напряжением 6 - 10 кВ, и др. Требования к составным частям данных комплектов, испытаниям их изложены в соответствующих разделах правил: «Переносные заземления», «Штанги изолирующие» и «Указатели напряжения», а эксплуатируются они согласно инструкциям по эксплуатации.
Назначение и исполнение
2.1.195. Плакаты и знаки безопасности следует применять для запрещения действий с коммутационными аппаратами, при ошибочном включении которых может быть подано напряжение на место работы; передвижения без средств защиты в ОРУ 330 кВ и выше с напряженностью электрического поля выше 15 кВ/м (запрещающие плакаты); для предупреждения об опасности приближения к токоведущим частям, находящимся под напряжением (предупреждающие плакаты и знаки); для разрешения определенных действий только при выполнении конкретных требований безопасности труда (предписывающие плакаты); для указания местонахождения различных объектов и устройств (указательные плакаты).
2.1.196. Плакаты и знаки безопасности должны изготавливаться в соответствии с требованиями ГОСТ 12.4.026-76.
2.1.197. По характеру применения плакаты и знаки могут быть постоянными и переносными.
Постоянные плакаты и знаки рекомендуется изготовлять из электроизоляционных материалов (стеклопластика, полистирола, гетинакса, текстолита и др.), а на бетонные и металлические поверхности (опоры ВЛ, двери камер и т.п.) - наносить красками с помощью трафаретов. Переносные плакаты и знаки изготовляются из электроизоляционных материалов. Для электроустановок, имеющих открытые токоведущие части, не допускается применять переносные плакаты, изготовленные из токопроводящего материала. Установка постоянных и переносных плакатов и знаков из металла допускается только вдали от токоведущих частей.
2.1.198. Перечень, размеры, форма, места и условия применения плакатов приведены в приложении 9.
Общие положения
2.1.199. К средствам защиты, изолирующим устройствам и приспособлениям для работ под напряжением на ВЛ 110 - 1150 кВ относятся полимерные изоляторы, канаты, лестницы (жесткие и гибкие), вставки телескопических вышек и подъемников, штанги со специальными головками и т.п.
2.1.200. Средства защиты, изолирующие устройства должны подвергаться механическим и электрическим испытаниям после изготовления и в эксплуатации.
Механические испытания проводятся перед электрическими.
2.1.201. Результаты механических приемо-сдаточных испытаний оформляются протоколом, приведенным в приложении 10. При положительных результатах на изделие наносится маркировка согласно настоящим правилам.
В эксплуатации механические испытания средств защиты и изолирующих приспособлений проводятся 1 раз в 12 мес. Результаты испытаний заносятся в журнал регистрации, приведенный в приложении 11. Сроки эксплуатационных испытаний должны приурочиваться к началу периода работ.
После ремонта или разборки средств защиты и изолирующих устройств проводятся внеочередные механические испытания в объеме эксплуатационных испытаний.
2.1.202. При механических испытаниях испытательная нагрузка прикладывается к изделию плавно. Значение испытательной нагрузки устанавливается равным 1,25 допустимой (расчетной) нагрузки, а для изолирующих канатов - 25 % от их разрывной нагрузки. Время приложения нагрузки - 1 мин.
2.1.203. Порядок подачи испытательного напряжения при электрических испытаниях такой же, как для электрозащитных средств общего назначения (п. 1.6.5 настоящих Правил). Значения испытательных напряжений определяют, исходя из удельного испытательного напряжения 2,5 кВ на 1 см длины. Испытания проводят с приложением напряжения ко всей длине изолирующего устройства или к участкам длиной не менее 30 см. Продолжительность испытания - 1 мин. При этом ток, протекающий через изолирующее устройство, не должен превышать 500 мкА. Для исключения ошибочных показаний миллиамперметра соединительные провода схемы экранируют. Периодичность эксплуатационных электрических испытаний 1 раз в 12 мес.
2.1.204. На все средства защиты, изолирующие устройства и приспособления, кроме изолирующих канатов, должна быть нанесена маркировка такая же, как для электрозащитных средств общего назначения. На изолирующих канатах или на бирке, прикрепленной к канатам, должна быть отчетливо видимая надпись «Только для работ под напряжением».
Специальные полимерные изоляторы
Назначение и конструкция полимерных изоляторов
2.1.205. Специальные полимерные изоляторы предназначены для доставки к проводу монтерской кабины и восприятия массы проводов при проведении работ под напряжением на ВЛ 110 - 1150 кВ.
2.1.206. Специальные полимерные изоляторы состоят из стеклопластикового стержня, защитной оболочки и металлических оконцевателей. При напряжении 500 кВ и выше должны применяться экранные кольца (диски). Защитная оболочка изготавливается из трекинговлагостойкого материала. При напряжении 500 кВ и выше изоляторы должны комплектоваться в гирлянды, состоящие из двух и более последовательно соединенных изоляторов, при этом длина единичного элемента не должна превышать 4 м.
Испытания полимерных изоляторов
Механические испытания
2.1.207. Стержневые полимерные изоляторы должны иметь коэффициент запаса прочности (отношение нормированной разрывной нагрузки и номинальной) не менее 2,5. Значения номинальной нагрузки при растяжении для полимерных изоляторов приведены в табл. 2.8.
Таблица 2.8
Номинальная нагрузка при растяжении
|
Тип изолятора, гирлянды |
Номинальная нагрузка при растяжении, кН |
|
|
35 |
СК 70/35 |
28 |
|
110 |
СК 70/110 |
28 |
|
150 |
СК 70/150 |
28 |
|
220 |
СК 70/220 |
28 |
|
330 |
СК 70/330 |
28 |
|
500 |
СК 160/500 |
64 |
|
СК 70/150 + СК 70/220 |
28 |
|
|
750 |
СК 70/330 + СК 70/330 |
28 |
|
СК 160/500 + СК 160/220 |
64 |
Электрические испытания
2.1.208. Электрические испытания полимерных изоляторов проводятся в соответствии с требованиями п. 2.1.203 целиком или по частям.
Правила пользования полимерными изоляторами
2.1.209. Перед каждым применением полимерного изолятора должен осуществляться визуальный контроль его внешнего состояния. При этом следует обратить внимание на целостность элементов защитной оболочки (сколы, разрывы, трещины, раковины) и оконцевателей; отсутствие следов электрических разрядов на поверхности кремнийорганического покрытия в местах стыка ребер между собой и с металлической арматурой, отсутствие следов сползания арматуры со стеклопластикового стержня. При обнаружении одного из перечисленных дефектов полимерный изолятор изымается из эксплуатации.
2.1.210. Эксплуатация полимерных изоляторов должна осуществляться в условиях, исключающих воздействие крутящих или изгибающих моментов, а также нагрузок на сжатие.
2.1.211. В случае загрязнения изоляторы с ребристой поверхностью должны протираться безворсовой тканью, смоченной спиртоацетоновой (1:2) смесью или мыльным раствором.
Изолирующие полипропиленовые канаты
Назначение и требования к ним
2.1.212. Канаты предназначены для подъема (спуска) кабины с электромонтером, приспособлений и ремонтируемых гирлянд изоляторов, оттяжки и перемещения лестниц, тележек; для страховки электромонтеров при доставке их к месту производства работ.
2.1.213. Канаты, предназначенные для подъема и страховки людей, перемещения монтерского сиденья или передвижения тележки по проводам, должны иметь коэффициент запаса прочности не менее 12, остальные канаты - не менее 6.
Испытания канатов
Механические испытания
Эксплуатационные испытания канатов проводят приложением в течение 1 мин. нагрузки равной 25 % от их разрывной нагрузки. Значения разрывной нагрузки приведены в табл. 2.9.
Таблица 2.9
Разрывная нагрузка полипропиленовых канатов
|
12,74 |
15,92 |
22,29 |
25,47 |
31,84 |
|
|
Разрывная нагрузка при растяжении, кН |
15 |
23 |
40 |
50 |
72 |
Электрические испытания
2.1.215. Электрические испытания канатов проводятся в соответствии с п. 2.1.203 по схеме, указанной на рис. 2.5.
Испытания могут проводиться следующим образом: тщательно очищенная сухая металлическая труба диаметром не менее 15 мм и длиной не менее 1 м крепится в горизонтальном положении на изоляторах, выдерживающих испытательное напряжение, вторая труба крепится на расстоянии 30 см от первой и заземляется, канат наматывается на трубы и на изолированную трубу подается испытательное напряжение. Таким образом канат испытывается по всей длине. В случае применения указанной схемы измерение тока утечки не производится.
Рис. 2.5. Схема электрических испытаний изолирующего каната
1 - источник испытательного напряжения; 2 - металлическая труба; 3 - испытуемый изолирующий канат
Правила пользования изолирующими канатами
2.1.216. Перед каждым применением изолирующие канаты должны подвергаться наружному осмотру. Поверхность каната должна быть сухой, не иметь загрязнений, плесени, надрывов волокон или пленки. Удаление загрязнений с поверхности канатов должно производиться путем их чистки с применением синтетических моющих средств. После чистки, а также в случае увлажнения канаты просушиваются на весу не менее 24 ч при относительной влажности воздуха не более 80 %. После чистки канаты должны подвергаться внеочередным электрическим испытаниям.
2.1.217. Не допускается применение канатов при относительной влажности воздуха выше 90 %, тумане, дожде, измороси, снеге. В случае возникновения таких погодных условий во время производства работ изолирующие канаты должны быть немедленно демонтированы и сняты с ВЛ.
Гибкие изоляторы с атмосферостойкой защитной оболочкой
Назначение и конструкция
2.1.218. Гибкие изоляторы предназначены для подвода кабины с электромонтером к проводу ВЛ, подъема (спуска) приспособлений и инструментов, перемещения монтера и тележки по проводу в пролете ВЛ. Допускается применение гибких изоляторов при относительной влажности воздуха выше 90 %, но при отсутствии осадков.
2.1.219. Гибкий изолятор состоит из несущего элемента (ГЭП) - лавсанового каната в защитной оболочке из этиленпропиленовой резины - и герметично спрессованных металлических оконцевателей в виде двухлапчатых проушин, которыми изолятор оснащен с обоих концов.
2.1.220. Номинальная механическая нагрузка для гибких изоляторов типа ГЭП-100 должна составлять 1000 Н (100 кгс), а для изоляторов типа ГЭП-250-2500 Н (250 кгс).
Испытания гибких изоляторов
Механические испытания
2.1.221. Механические испытания гибких изоляторов проводятся аналогично испытаниям изолирующих полипропиленовых канатов (п. 2.1.214).
Электрические испытания
2.1.222. Электрические испытания гибких изоляторов проводятся в соответствии с общими положениями, изложенными в п. 2.1.203, по схеме электрических испытаний изолирующего каната на рис. 2.5.
Гибкая изолирующая лестница
Назначение и требования к ней
2.1.223. Гибкая изолирующая лестница является приспособлением для подъема электромонтера к токоведущим частям.
2.1.224. Тетивы лестницы изготавливаются из полипропиленового каната, ступени - из стеклопластикового профиля.
2.1.225. При работах на ВЛ 220 кВ и выше возможно применение лестниц, состоящих из нескольких секций. Соединение секций между собой, а также крепление лестницы к металлоконструкциям опоры осуществляется с помощью специальных карабинов или сцепной арматуры.
2.1.226. Номинальная нагрузка гибкой лестницы составляет 1000 Н (100 кгс).
Испытания гибких лестниц
Механические испытания
Электрические испытания
2.1.228. Электрические испытания лестниц проводятся в соответствии с общими положениями (п. 2.1.203).
Правила пользования гибкими лестницами
2.1.229. Эксплуатация гибких лестниц проводится аналогично эксплуатации изолирующих канатов.
Жесткая изолирующая лестница
Назначение и конструкция
2.1.230. Жесткая изолирующая лестница предназначена для подъема электромонтера к проводам ВЛ, находящимся под напряжением.
2.1.231. Лестница состоит из нескольких секций, верхняя секция снабжена специальной площадкой с поручнями и металлическими захватами в виде крюков.
Секции лестницы соединены между собой накидными гайками. Для предотвращения расхождения тетив каждая секция снабжена двумя стеклопластиковыми болтами.
Тетивы лестницы изготавливаются из стеклопластиковых труб, ступеньки - из стеклопластикового профиля.
Испытания жестких лестниц
Механические испытания лестниц
2.1.232. Механические испытания проводятся аналогично испытаниям гибких изолирующих лестниц (п. 2.1.227), но дополнительно лестницы испытываются на изгиб приложением вертикальной нагрузки 1250 Н (125 кгс) к средней ступеньке, при этом лестница располагается под углом 45°.
Электрические испытания
2.1.233. Электрические испытания лестниц проводятся в соответствии с общими положениями (п. 2.1.203) целиком или по частям.
Правила пользования жесткими лестницами
2.1.234. Перед каждым применением жесткие изолирующие лестницы должны осматриваться, протираться безворсовой тканью и покрываться тонким слоем силиконовой пасты. При осмотре лестницы проверяются на отсутствие трещин, сколов, разрывов, вздутий, изменения окраски. При наличии указанных дефектов использовать лестницы запрещается.
Штанги для переноса и выравнивания потенциала
Назначение и конструкция
2.1.235. Штанга для переноса потенциала предназначена для переноса потенциала провода на комплект индивидуальный экранирующий, монтерскую кабину при приближении ее к проводу ВЛ.
2.1.236. Штанга состоит из металлического пружинного захвата за провод, изолирующей рукоятки и гибкого медного проводника сечением не менее 25 мм2, присоединяющегося к комплекту индивидуальному экранирующему или монтерской кабине с помощью клемм.
2.1.237. Штанга для выравнивания потенциала предназначена для выравнивания потенциала между комплектом индивидуальным экранирующим и крупногабаритными приспособлениями, подаваемыми с земли и имеющими «плавающий» потенциал.
2.1.238. Штанга состоит из металлического оконцевателя в виде крюка, изолирующей рукоятки и гибкого медного провода сечением не менее 4 мм2.
Испытания штанг
2.1.239. Механическим и электрическим испытаниям штанги для переноса и выравнивания потенциала не подвергают.
Правила пользования штангами
2.1.240. Перед каждым применением штанги должны осматриваться с целью контроля исправности пружин захвата, состояния гибких медных проводников и мест их присоединения, отсутствия коррозии на металлических поверхностях.
Изолирующие вставки телескопических вышек и подъемников
Назначение и конструкция
2.1.241. Изолирующие вставки предназначены для изоляции рабочей корзины с электромонтером от потенциала земли при ее подъеме к проводам ВЛ, находящимся под напряжением.
2.1.242. Изолирующая вставка представляет собой изолирующую конструкцию, сочленяемую с телескопической частью вышки или подъемника и обеспечивающую надлежащий уровень изоляции, устойчивость и механическую прочность. Верхний конец вставки крепится к рабочей корзине, а нижний - к звену телескопической автовышки или полностью его заменяет.
Испытания вставок
Механические испытания
2.1.243. Эксплуатационные испытания изолирующей вставки проводятся при полном выдвижении телескопической части вышки или подъемника путем приложения статической нагрузки на сжатие 2200 Н (220 кг) и на изгиб 250 Н (25 кг).
Электрические испытания
2.1.244. Электрические испытания изолирующих вставок в эксплуатации проводятся в соответствии с общими положениями (п. 2.1.203) целиком или по частям.
Правила пользования вставками
2.1.245. Перед каждым применением изолирующие вставки должны протираться безворсовой тканью и подвергаться внешнему осмотру на отсутствие трещин, сколов, разрывов, вздутий, следов от электрических разрядов. При наличии одного из указанных дефектов использование вставок запрещается.
Прочие средства защиты для работ под напряжением в электросетях до 1000 В
2.1.246. К средствам защиты для работ под напряжением в электросетях относятся изолированные инструменты*, гибкие изолирующие покрытия (оболочки) и накладки.
* Требования к изолированным инструментам изложены в пп. 2.1.174 - 2.1.184.
Гибкие изолирующие покрытия (оболочки) и накладки
Назначение и требования к ним
2.1.247. Гибкие изолирующие покрытия и накладки предназначены для защиты работающих от случайного контакта с находящимися под другим потенциалом элементами ВЛ и для исключения короткого замыкания на месте работ.
2.1.248. Покрытия могут иметь специальную форму или выпускаться в виде рулона и нарезаться по индивидуальным требованиям. Покрытия, располагаемые между частями электроустановок с различными потенциалами, должны иметь конструкцию и размеры, позволяющие полностью разделить эти части.
Накладки могут выполняться в виде Ω-ной пластины или листов-пластин.
2.1.249. Покрытия могут изготавливаться из диэлектрической резины, латекса и различных эластомерных соединений бесшовным способом.
Накладки изготавливаются из эластомера или пластика бесшовным способом.
Минимальная толщина покрытий и накладок определяется способностью выдерживать испытательные нагрузки и напряжения, максимальная толщина определяется необходимой гибкостью покрытий и накладок, обеспечивающей удобство работы с ними.
2.1.250. Механическая прочность покрытия при проколе (отношение пробивной силы к толщине образца) должна быть не менее 10 Н/мм.
Масса накладки длиной 1,5 м должна быть не более 1,0 кг. Условная прочность накладки при растяжении должна быть не менее 45 кгс/см2, относительное удлинение при разрыве - не менее 200 %.
Испытания покрытий и накладок
Эксплуатационные механические испытания покрытий и накладок не проводят.
Электрические испытания
2.1.251. Для проведения эксплуатационных электрических испытаний чистое покрытие или накладку помещают между двумя плотно прилегающими к ним электродами, края которых не должны доходить до края покрытия или накладки на 15 мм. Схемы электрических испытаний покрытий и накладок приведены на рис. 2.6. а и б. Покрытие и накладка должны выдерживать напряжение 6 кВ в течение 1 мин., при этом ток через покрытие не должен превышать 1 мА с 1 дм2.
Правила пользования покрытиями и накладками
2.1.252. Покрытия и накладки перед применением следует проверить на отсутствие опасных неровностей: проколов, складок, трещин, выступов, следов зажима. При этом на поверхности могут быть неопасные неровности в виде незначительных выступов или углублений на наружной или внутренней поверхностях, следы формовки - складки в эластомере, небольшие выступы или углубления с закругленными краями.
Рис. 2.6. Схемы электрических испытаний гибкого изолирующего покрытия (а) и гибкой изолирующей накладки (б)
1 - испытательный трансформатор; 2 - верхний (наружный) электрод; 3 - изолирующее покрытие или накладка; 4 - нижний (внутренний) электрод; 5 - миллиамперметр
2.1.253. Покрытия и накладки следует оберегать от увлажнения и загрязнения. Загрязнения смываются с них водой с мылом. Применение бензина, керосина, уайт-спирита для удаления загрязнений запрещается.
2.1.254. Покрытия и накладки устанавливаются на токоведущие части с применением основных электрозащитных средств.
Кроме указанных выше средств защиты, изолирующих устройств и приспособлений при работах под напряжением применяются комплекты индивидуальные экранирующие, требования к которым изложены ниже.
Назначение и требования к ним
2.2.1. При работе в ОРУ и на ВЛ напряжением 330 кВ и выше при напряженности электрического поля (ЭП) до 5 кВ/м время пребывания работающих в рабочих зонах без средств защиты не ограничивается, при напряженности свыше 5 до 25 кВ/м время пребывания ограничивается по ГОСТ 12.1.002-84 (приложение 12), а при напряженности свыше 25 кВ/м пребывание в ЭП без средств защиты не допускается.
В качестве средств защиты применяются стационарные, переносные и передвижные экранирующие устройства; съемные экранирующие устройства, устанавливаемые на машинах и механизмах, и комплекты индивидуальные экранирующие.
Экранирующие устройства
2.2.2. Общие технические требования, основные параметры и размеры устройств экранирующих для защиты от ЭП промышленной частоты при работе в ОРУ и на ВЛ напряжением 330 - 1150 кВ приведены в ГОСТ 12.4.154-85.
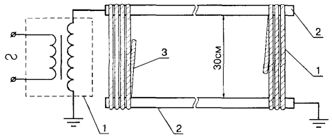
2.2.3. Экранирующие устройства должны снижать напряженность ЭП до уровня, допустимого для пребывания человека в ЭП в течение рабочего дня без средств защиты, - до 5 кВ/м.
2.2.4. Экранирующие устройства должны выполняться из токопроводящего материала.
2.2.5. Экранирующие устройства должны быть заземлены путем присоединения к заземлителю или заземленным объектам (оборудованию, механизмам) заземляющим проводником - гибким медным проводом сечением не менее 10 мм2. Съемные экранирующие устройства должны иметь гальваническое соединение с машинами и механизмами, на которых они установлены. При заземлении машин и механизмов дополнительного заземления съемных экранирующих устройств не требуется.
2.2.6. Расстояния от экранов до токоведущих частей оборудования должно быть не менее установленных Правилами устройства электроустановок. Высота установки экранирующих устройств должна определяться от площадки рабочего места.
2.2.7. В случае подъема на оборудование и конструкции, расположенные в зоне влияния ЭП, средства защиты должны применяться независимо от величины напряженности ЭП и продолжительности работы в нем. При подъеме с помощью телескопической вышки или гидроподъемника их корзины (люльки) следует снабжать съемным экраном или применять комплекты индивидуальные экранирующие.
Комплекты индивидуальные экранирующие
Назначение и требования к ним
2.2.8. Комплекты индивидуальные экранирующие предназначены для защиты работающих от воздействия ЭП промышленной частоты.
В зависимости от назначения комплекты подразделяются на следующие виды:
- комплекты, для работ на потенциале земли в ОРУ и ВЛ напряжением 330 - 1150 кВ при напряженности ЭП не более 60 кВ/м;
- комплекты, для работ на потенциале проводов ВЛ напряжением 110 - 1150 кВ с непосредственным прикосновением электромонтера к токоведущим частям.
2.2.9. Комплект включает спецодежду, спецобувь, средства защиты головы, лица, рук.
Общие технические требования и методы контроля комплектов изложены в ГОСТ 12.4.172-87.
2.2.10. Экранирующие комплекты изготовляют 4 типов*:
- для ремонтного персонала ВЛ и ОРУ (летний);
- для дежурного персонала ОРУ (летний);
- для ремонтного персонала ВЛ (зимний);
- для ремонтного персонала ВЛ при работе на потенциале проводов (летний).
Первые 3 комплекта предназначены для работы на потенциале земли.
* Разрешается применять только комплекты фабричного изготовления.
2.2.11. Все составные части комплекта должны быть выполнены из электропроводящих материалов и снабжены контактными выводами из электропроводящих материалов для создания гальванической связи частей комплекта между собой.
2.2.12. Коэффициент экранирования (защиты) комплектов должен быть не менее 30 у комплектов для работы на потенциале земли и 100 у комплектов для работы на потенциале проводов ВЛ.
2.2.13. Комплект должен сохранять свои гигиенические, эксплуатационные и защитные свойства в течение всего срока носки (не менее 12 мес.).
Электрические испытания
2.2.14. В процессе эксплуатации комплектов с целью выявления дефектов, которые могут возникнуть при транспортировании и использовании, производится проверка технического состояния комплектов.
Проверка технического состояния каждого комплекта должна проводиться:
- перед вводом в эксплуатацию;
- в процессе эксплуатации периодически 1 раз в 12 мес.;
- перед каждым подъемом к проводам ВЛ, находящимся под напряжением;
- после химической чистки или ремонта комплекта либо его элементов.
2.2.15. Проверка технического состояния комплекта заключается во внешнем осмотре всех частей комплекта с целью выявления их дефектов (обрыва соединительного элемента, неисправности контактных выводов, зажимов, истирания или отставания подошвы, разрывов или сильной деформации верха обуви и т.п.) и в контроле электрического сопротивления спецодежды, спецобуви, перчаток и носков.
Результаты периодической проверки оформляются в журнале учета и содержания средств защиты.
2.2.16. Методы контроля электрического сопротивления спецодежды, спецобуви, перчаток и носков изложены в правилах обеспечения защиты от воздействия электрических полей и в руководствах по эксплуатации.
Правила пользования комплектами
2.2.17. Спецодежда и спецобувь должны периодически чиститься (допускается только сухая чистка спецодежды) и своевременно ремонтироваться.
2.2.18. Допускается производить ремонт элементов спецодежды с целью восстановления электрической проводимости и улучшения внешнего вида (устранение разрывов швов и ткани на отдельных участках куртки, брюк, халата или полукомбинезона: отрыв карманов и контактных выводов).
Запрещается при ремонте заменять электропроводящую ткань тканью общего назначения.
Ремонт спецобуви с целью восстановления электрической проводимости в эксплуатации не производится. Допускается лишь мелкий ремонт с целью улучшения внешнего вида (устранение отслаивания подошв, разрывов по швам и т.п.).
2.2.19. Перевозка комплектов разрешается любым видом транспорта при условии защиты их от механических повреждений, влаги, масла и агрессивных сред.
Запрещается переносить и подвешивать части комплекта за контактные выводы.
2.2.20. Каждый комплект должен быть пронумерован. Экранирующие комплекты следует выдавать (кроме дежурного) для индивидуального пользования. Комплекты для дежурного персонала могут быть общего пользования, но спецобувь, входящую в комплект, необходимо закреплять за каждым работником.
2.2.21. Запрещается работать в экранирующем комплекте под дождем без плаща или другой защиты от намокания.
Измерители напряженности электрического поля
Назначение и требования к ним
2.2.22. Измерители напряженности ЭП предназначены для измерения напряженности ЭП промышленной частоты в рабочих зонах электроустановок с целью контроля за допустимыми уровнями напряженности.
2.2.23. Для измерения напряженности ЭП следует применять приборы, измеряющие действующие значения и обеспечивающие необходимые пределы измерения с допустимой погрешностью не более 10 %.
Испытание измерителей
2.2.24. Объемы и периодичность испытаний и поверок измерителей напряженности - согласно инструкциям по эксплуатации.
Правила пользования измерителем
2.2.25. При измерении напряженности ЭП должны соблюдаться установленные правилами техники безопасности допустимые расстояния от оператора, производящего измерения, и измерителя до токоведущих частей, находящихся под напряжением.
2.2.26. Напряженность электрического поля на рабочих местах должна измеряться:
- при приемке в эксплуатацию новых электроустановок;
- при организации новых рабочих мест;
- при изменении конструкции электроустановок и стационарных средств защиты от воздействия ЭП;
- при применении новых схем коммутации;
- в порядке текущего санитарного надзора 1 раз в два года.
2.2.27. При выполнении работ без подъема на конструкции или оборудование измерения напряженности ЭП должны производиться на высоте 1,8 м от поверхности земли, при отсутствии средств защиты и при работе на высоте - 0,5; 1,0 и 1,8 м при наличии коллективных средств защиты.
2.2.28. При выполнении работ с подъемом на конструкции - на высоте 0,5; 1,0 и 1,8 м от площадки рабочего места и на расстоянии 0,5 м от заземленных токоведущих частей оборудования.
2.2.29. Результаты измерений следует фиксировать в специальном журнале или оформлять в виде протокола (приложение 13).
Средства защиты головы
Каски защитные
Назначение и конструкции
2.3.1. Каски являются средством индивидуальной защиты головы работающих от механических повреждений, агрессивных жидкостей, воды, поражения электрическим током при случайном прикосновении к токоведущим частям под напряжением до 1000 В.
2.3.2. В зависимости от условий применения каска может комплектоваться утепляющим подшлемником и водозащитной пелериной, противошумными наушниками, щитками для сварщиков и головными светильниками.
2.3.3. Общие технические требования к каскам и методы их испытаний после изготовления изложены в ГОСТ 12.4.128-83, требования к каскам строительным - ГОСТ 12.4.087-84, к каскам шахтерским - ГОСТ 12.4.091-80.
2.3.4. Каски состоят из двух основных частей: корпуса и внутренней оснастки (амортизатора и несущей ленты).
Корпус каски изготовляют сплошным или составным, с козырьком или полями, без внутренних ребер жесткости.
2.3.5. Для изготовления касок применяются нетоксичные материалы, устойчивые к действию серной кислоты, минеральных масел, автомобильного бензина и дезинфицирующих средств (полиэтилен, текстолит, прессованное стекловолокно и др.).
2.3.6. Каски должны сохранять свои защитные свойства в течение установленного срока эксплуатации. Срок эксплуатации устанавливается в нормативно-технической документации на конкретный тип каски.
Испытания касок
В эксплуатации механические и электрические испытания касок не проводят.
Правила пользования касками
2.3.7. Перед применением каски должны быть осмотрены. Не допускается образование сквозных трещин и вмятин на корпусе, выскакивание подвески из кармана корпуса, а также нарушение целостности внутренней оснастки.
2.3.8. Уход за касками производится согласно инструкциям по эксплуатации.
Средства защиты глаз и лица
Защитные очки
Назначение и конструкция
2.3.9. Защитные очки являются средством индивидуальной защиты глаз от опасных и вредных производственных факторов: слепящей яркости электрической дуги, ультрафиолетового и инфракрасного излучения; твердых частиц и пыли; брызг кислот, щелочей, электролита, расплавленной мастики и расплавленного металла.
2.3.10. В электроустановках должны использоваться только очки, изготовленные в соответствии с требованиями ГОСТ 12.4.013-85 и ГОСТ 12.4.001-80.
Рекомендуется применять очки закрытого типа с непрямой вентиляцией (например, ЗН4-72, ЗН8-72-У, ЗН13-72-Т, ЗН16-90, ЗНР1 со светофильтрами С-4 ÷ С-9, ЗНРЗ (Г-1, Г-2, Г-3), ЗН5-72 (Г-1, Г-2, Г-3) и др.).
2.3.11. Очки защитные герметичные для защиты глаз от вредного воздействия различных газов, паров, дыма, брызг разъедающих жидкостей должны полностью изолировать подочковое пространство от окружающей среды и комплектоваться незапотевающей пленкой.
Правила пользования очками
2.3.12. Перед употреблением защитные очки должны осматриваться на отсутствие царапин, трещин и других дефектов, при обнаружении их очки следует заменить исправными.
2.3.13. Во избежание запотевания стекол при использовании очков для продолжительной работы внутреннюю поверхность стекол следует смазывать ПА-смазкой.
2.3.14. При загрязнении очки следует промывать теплым мыльным раствором, затем прополаскивать и вытирать мягкой тканью.
Щитки защитные для электросварщиков
Назначение и конструкция
2.3.15. Щитки являются средством индивидуальной защиты глаз и лица сварщика от ультрафиолетовых и инфракрасных излучений, слепящей яркости дуги и искр и брызг расплавленного металла.
2.3.16. Разрешается применять только щитки, изготовленные в соответствии с требованиями ГОСТ 12.4.035-78 и ГОСТ 12.4.023-84.
2.3.17. Щитки изготавливаются 4-х видов: щитки с регулируемым наголовным креплением, с ручкой и универсальные (с наголовным креплением и ручкой); для электросварщика с креплением на каске защитной.
2.3.18. Корпус щитков непрозрачный, выполнен из нетокопроводящего материала, стойкого к искрам, брызгам расплавленного металла (фибра, поликарбонат).
На корпусе крепится стеклодержатель со светофильтрами.
2.3.19. Конструкция щитков должна предусматривать устройство, предохраняющее стекла от выпадания из рамки или перемещения их при любом положении щитка, а также обеспечивать возможность смены стекол без применения инструмента.
2.3.20. При загрязнении щитки следует промывать теплым мыльным раствором, затем прополаскивать и просушивать.
Средства защиты рук
Рукавицы специальные
Назначение и требования к ним
2.3.21. Рукавицы являются средством индивидуальной защиты рук от механических повреждений, повышенных и пониженных температур, искр и брызг расплавленного металла и кабельной массы, масел и нефтепродуктов, воды, кислот, щелочей, электролита.
2.3.22. Рукавицы должны изготавливаться по ГОСТ 12.4.010-75. Рукавицы изготовляют 6 типов 4-х размеров, с усилительными защитными накладками или без них, обычной длины или удлиненные с крагами. Длина рукавиц обычно не превышает 300 мм, а длина рукавиц с крагами должна быть не менее 420 мм. Во избежание затекания расплавленного металла, рукавицы должны плотно облегать рукава одежды.
2.3.23. Для защиты рук от контакта с нагретыми поверхностями, искр и брызг расплавленного металла рекомендуется применять рукавицы из парусины с огнезащитной пропиткой с крагами или удлиненные рукавицы из шерстяных тканей, кожевенного спилка с крагами либо вачеги из сукна, кожевенного спилка, термоустойчивой юфти.
Правила пользования рукавицами
2.3.24. Перед применением рукавицы необходимо осматривать на отсутствие сквозных отверстий, надрезов, надрывов и иных дефектов, нарушающих целостность их.
2.3.25. Рукавицы следует очищать по мере загрязнения, просушивать, при необходимости - ремонтировать.
Средства индивидуальной защиты органов дыхания (СИЗОД)
Противогазы и респираторы
Назначение и конструкция
2.3.26. В ЗРУ для защиты работающих от отравления или удушения газами, образующимися в результате расплавления металла и горения электроизоляционных материалов при авариях, применяются изолирующие СИЗОД: шланговые противогазы, обеспечивающие подачу воздуха из чистой зоны по шлангу (шлангам) путем самовсасывания или через воздуходувку (например, ПШ-1 и ПШ-2). Расстояния, на которых защищают противогазы, определяются инструкциями по эксплуатации.
2.3.27. Противогазами фильтрующего действия, используемыми в целях гражданской обороны (например, ГП-5), разрешается пользоваться при необходимости только с гопкалитовым патроном, защищающим от окиси углерода. Гопкалитовый патрон разрешается применять при температуре не ниже 6 °С, при более низкой температуре его защитные свойства утрачиваются.
2.3.28. При сварочных работах для защиты от сварочных аэрозолей применяют фильтрующие противопылевые и противоаэрозольные респираторы (например, РП-К, Ф-62Ш, «Кама», ШБ-1 «Лепесток-200» и др.).
Испытания противогазов
2.3.29. Шланговые противогазы перед каждой выдачей, а также периодически не реже одного раза в 3 месяца проверяют на пригодность к работе (герметичность, отсутствие дефектов лицевой части, клапанной системы, гофрированных трубок, шлангов, исправность воздуходувок). Кроме того, противогазы подвергают на специализированных предприятиях периодическим испытаниям и перезарядкам в сроки и способами, указанными в инструкциях по эксплуатации. При каждом испытании составляют протокол, на противогазе ставят штамп для средств защиты, применение которых не зависит от напряжения. Результаты осмотров записывают в журнал учета и содержания средств защиты.
2.3.30. Респираторы перед употреблением осматриваются на отсутствие проколов, разрывов полумаски, для проверки состояния обтюраторов, фильтра, клапанов вдоха и выдоха.
Регенерация респираторов «Кама» и «Лепесток» производится стряхиванием пыли, в респираторе РП-К предусматривается возможность замены внутреннего и регенерация наружного фильтров, сменный фильтр респиратора Ф-62Ш может подвергаться регенерации путем стряхивания пыли или ее удаления продувкой чистым воздухом в направлении, обратном потоку вдыхаемого воздуха.
Правила пользования противогазами и респираторами
2.3.31. Все СИЗОД выдаются только в индивидуальное пользование. Передача другим лицам использовавшихся ранее СИЗОД может производиться только после дезинфекции. Дезинфекция противогазов и респираторов проводится согласно инструкциям по эксплуатации.
2.3.32. Персонал должен быть обучен правилам пользования противогазами и респираторами. При использовании шланговых противогазов необходимо следить, чтобы работающие постоянно находились под контролем помощников, остающихся вне опасной зоны и способных в случае необходимости оказать им помощь.
Средства индивидуальной защиты от падения с высоты
Предохранительные монтерские пояса и страховочные канаты
Назначение и требования к ним
2.3.33. Предохранительные монтерские пояса являются средствами индивидуальной защиты работающих от падения с высоты при верхолазных работах на ВЛ электропередачи, электрических станциях и подстанциях, РУ.
2.3.34. При работах в действующих электроустановках следует применять предохранительные пояса со стропом из синтетических материалов.
При работах на отключенных линиях электропередачи или в РУ при полном снятии напряжения, а также при работах вдали от токоведущих частей, находящихся под напряжением, допускается применение поясов со стропом из стального каната или цепи.
Строп пояса, применяемого при производстве огневых работ (электросварка, газорезка и т.п.), должен быть изготовлен из стального каната или цепи. Условия применения при сварочных работах поясов со стропами из синтетических материалов должны регламентироваться в инструкциях по эксплуатации поясов конкретных конструкций.
2.3.35. Предохранительные монтерские пояса должны соответствовать требованиям ГОСТ 12.4.089-86 и технических условий на пояса конкретных конструкций.
В распределительных сетях при работах на деревянных и железобетонных опорах ВЛ 0,4 - 10 кВ допускается использование монтерских поясов специальных конструкций, назначение и ограничение области применения которых должны быть установлены в технических условиях и инструкциях по эксплуатации, утвержденных в установленном порядке.
2.3.36. Конструкция замыкающего устройства (пряжки) пояса должна исключать возможность неправильного или неполного его закрывания. Карабин пояса должен иметь предохранительное устройство, исключающее его случайное раскрытие. Конструкция карабина должна обеспечивать раскрытие его замка одной рукой. Закрытие замка и предохранительного устройства карабина должно осуществляться автоматически.
2.3.37. Страховочный канат служит дополнительной мерой безопасности. Пользование им обязательно в тех случаях, когда место работы находится на расстоянии, не позволяющем закрепиться стропом пояса за конструкцию оборудования. Для страховки применяется хлопчатобумажный канат диаметром не менее 15 мм и длиной не более 10 м или канат из капронового фала. Разрывная статическая нагрузка каната должна быть не менее 7000 Н (700 кГс). Узел крепления страховочного каната к кольцу пояса показан на рис. 2.7. Страховочные канаты могут быть оснащены карабинами.
2.3.38. Разрывная статическая нагрузка для пояса должна быть не менее 7000 Н (700 кГс).
Динамическое усилие при защитном действии для безлямочного и лямочного пояса, имеющего только плечевые лямки, должно быть не более 4000 Н (400 кГс), а для лямочного пояса, имеющего плечевые и ножные лямки, - 6000 Н (600 кГс).
Испытания поясов и канатов
2.3.39. Предохранительные монтерские пояса и страховочные канаты должны подвергаться испытаниям на механическую прочность статической нагрузкой 4000 Н (400 кГс) перед выдачей в эксплуатацию, а также в процессе эксплуатации 1 раз в 6 мес.
Методика испытаний должна быть приведена в технических условиях и инструкциях по эксплуатации поясов конкретных конструкций.
Правила пользования поясами и канатами
2.3.40. Перед применением пояса работающий должен ознакомиться с его устройством, назначением, правилами эксплуатации и проверки на эксплуатационную пригодность, изложенными в инструкции по эксплуатации.
2.3.41. Перед началом работы пояс должен подвергаться внешнему осмотру с целью проверки состояния его в целом и несущих элементов в отдельности. Должен быть изъят из эксплуатации пояс, подвергшийся динамическому рывку, а также пояс, имеющий разрывы ниток в сшивках, надрывы, прожоги, надрезы поясного ремня, стропа, амортизатора, нарушения заклепочных соединений, деформированные или покрытые коррозией металлические узлы и детали.
Самостоятельный ремонт пояса запрещается.
2.3.42. Пояса и канаты хранят в сухих проветриваемых помещениях в подвешенном состоянии или разложенными на полках в один ряд. После работы, а также перед хранением их необходимо очистить от загрязнений, просушить, металлические детали протереть, а кожаные смазать жиром.
Запрещается хранение поясов рядом с тепловыделяющими приборами, а также кислотами, щелочами, растворителями, бензином и маслами.
Рис. 2.7. Узел крепления страховочного каната к кольцу
(форма рекомендуемая)
___________________________________________________________________________
(наименование средства защиты, тип)
|
Инв. № |
Дата испытания |
Дата следующего испытания |
Дата периодического осмотра |
Результат периодического осмотра |
Подпись лица, производившего осмотр |
Место нахождения |
Дата выдачи в индивидуальное пользование |
Подпись лица, получившего СИЗ в индивидуальное пользование |
Примечание |
|
|
|
|
|
|
|
|
|
|
|
Примечания: 1. Периодические осмотры проводятся не реже одного раза в 6 мес. по п. 1.4.2.
2. При выдаче протокола об испытании сторонним организациям номер протокола указывается в графе «Примечание».
(форма, рекомендуемая для лабораторий)
(Перчаток, бот, галош диэлектрических и изолирующих накладок)
___________________________________________________________________________
(наименование средства защиты, тип)
|
Инв. № |
Предприятие-владелец средства защиты |
Испытано повышенным напряжением, кВ |
Ток, протекающий через изделие, мА |
Результат испытания |
Дата следующего испытания |
Подпись лица, производившего испытание |
|
|
переменного тока |
постоянного тока |
||||||
|
|
|
|
|
|
|
|
|
(рекомендуемая)
|
___________________________________________________________________________ (наименование лаборатории) Протокол № ________ от «__» _________________ 19__ г. ___________________________________________________________________________ (наименование средств защиты) № _____________________________________ в количестве ____________________ шт. принадлежащие _____________________________________________________________ (наименование предприятия) испытаны напряжением переменного тока частотой 50 Гц, постоянного тока (нужное подчеркнуть): изолирующие части _______________________ кВ в течение __________________ мин. рабочие части _________________________ кВ в течение _____________________ мин. ток, протекающий через изделие, ____________________ мА Специальные требования* ____________________________________________________ ___________________________________________________________________________ ___________________________________________________________________________ ___________________________________________________________________________ Дата следующего испытания ____________________ 19__ г. Испытание провел ____________________ (подпись) Начальник лаборатории ____________________ (подпись) Примечание. При проверке напряжения индикации, соединительного провода, схемы указателей напряжения и др. результаты испытаний вписываются дополнительно. * Требования, обусловленные особенностями конструкции средства защиты. |
|
Наименование средства защиты |
Испытание статической нагрузкой |
Продолжительность испытания, мин. |
Нагрузка, Н (кГс) |
Периодичность испытаний |
|
Специальные полимерные изоляторы |
На разрыв |
1 |
1,25Рн* |
1 раз в 12 мес. |
|
Изолирующие канаты |
На разрыв |
1 |
25Рр** |
То же |
|
Гибкие изоляторы |
На разрыв |
1 |
1,25Рв |
То же |
|
Гибкая изолирующая лестница: |
На растяжение |
1 |
|
То же |
|
тетива |
|
|
2000 (200) |
|
|
ступенька |
|
|
1250 (125) |
|
|
Жесткая изолирующая лестница: |
|
|
|
То же |
|
тетива |
На растяжение |
1 |
2000 (200) |
|
|
ступенька |
На растяжение |
1 |
1250 (125) |
|
|
|
На изгиб |
1 |
1250 (125) |
|
|
Изолирующие вставки телескопических вышек |
На сжатие |
1 |
2200 (220) |
То же |
|
На изгиб |
1 |
250 (25) |
|
|
|
Предохранительные монтерские пояса и страховочные канаты |
На разрыв |
5 |
4000 (400) |
1 раз в 6 мес. |
|
* Значения Рн для полимерных изоляторов указаны в табл. 2.8. ** Значения Рр для изолирующих канатов указаны в табл. 2.9. |
||||
|
Наименование средства защиты |
Напряжение электроустановок, кВ |
Испытательное напряжение, кВ |
Продолжительность испытания, мин. |
Ток, протекающий через изделие, мА, не более |
Периодичность испытаний |
|
Штанги изолирующие (кроме измерительных) |
До 1 |
2 |
5 |
- |
1 раз в 24 мес. |
|
До 35 |
3-кратное линейное, но не менее 40 |
5 |
- |
|
|
|
110 и выше |
3-кратное фазное |
5 |
- |
|
|
|
Изолирующая часть штанг переносных заземлений с металлическими звеньями |
110 - 220 |
50 |
5 |
- |
1 раз в 24 мес. |
|
330 - 500 |
100 |
5 |
- |
|
|
|
750 |
150 |
5 |
- |
|
|
|
1150 |
200 |
5 |
- |
|
|
|
Изолирующие гибкие элементы заземления бесштанговой конструкции |
500 |
100 |
5 |
- |
То же |
|
750 |
150 |
5 |
- |
|
|
|
1150 |
200 |
5 |
- |
|
|
|
Измерительные штанги |
До 35 |
3-кратное линейное; но не менее 40 |
5 |
- |
1 раз в 12 мес. |
|
110 и выше |
3-кратное фазное |
5 |
- |
|
|
|
Головки измерительных штанг |
35 - 500 |
30 |
5 |
- |
То же |
|
Продольные и поперечные планки ползунковых головок и изолирующий капроновый канатик измерительных штанг |
220 - 500 |
2,5 на 1 см |
5 |
- |
То же |
|
Изолирующие клещи |
До 1 |
2 |
5 |
- |
1 раз в 24 мес. |
|
6 - 10 |
3-кратное линейное, но не менее 40 |
5 |
- |
|
|
|
35 |
3-кратное линейное |
5 |
- |
|
|
|
Указатели напряжения выше 1000 В с газоразрядной лампой: |
|
|
|
|
1 раз в 12 мес. |
|
рабочая часть (продольная изоляция) |
До 10 |
12 |
1 |
- |
|
|
15 |
17 |
1 |
- |
|
|
|
20 |
24 |
1 |
- |
|
|
|
изолирующая часть |
До 10 |
Не менее 40 |
1 |
- |
|
|
Св. 10 до 20 |
Не менее 60 |
1 |
- |
|
|
|
Св. 20 до 35 |
Не менее 105 |
1 |
- |
|
|
|
110 |
Не менее 190 |
1 |
- |
|
|
|
Св. 110 до 220 |
Не менее 380 |
1 |
- |
|
|
|
напряжение индикации |
2 - 10 |
Не выше 0,55 |
- |
- |
|
|
6 - 10 |
Не выше 1,5 |
- |
- |
|
|
|
Св. 10 до 20 |
Не выше 2,5 |
- |
- |
|
|
|
Св. 20 до 35 |
Не выше 5,0 |
- |
- |
|
|
|
Св. 35 до 220 |
Не выше 9,0 |
- |
- |
|
|
|
Указатели напряжения выше 1000 В бесконтактного типа: |
|
|
|
|
1 раз в 24 мес. |
|
- изолирующая часть |
6 - 35 |
105 |
5 |
- |
|
|
Указатели напряжения до 1000 В: |
|
|
|
|
1 раз в 12 мес. |
|
- напряжение индикации |
До 1 |
Не выше 0,09 |
- |
- |
|
|
- проверка исправности схемы: |
|
|
|
|
|
|
однополюсные указатели |
До 1 |
Не менее 1,1 Uраб. наиб. |
1 |
0,6 |
|
|
двухполюсные указатели |
До 1 |
Не менее 1,1 Uраб. наиб. |
1 |
10 |
|
|
- изолирующая часть |
До 0,5 |
1 |
1 |
- |
|
|
Св. 0,5 до 1 |
2 |
1 |
- |
|
|
|
Указатели напряжения для проверки совпадения фаз: |
|
|
|
|
1 раз в 12 мес. |
|
- изолирующая часть |
До 10 |
40 |
5 |
- |
|
|
Св. 10 до 20 |
60 |
5 |
- |
|
|
|
Св. 20 до 35 |
105 |
5 |
- |
|
|
|
110 |
190 |
5 |
- |
|
|
|
- рабочая часть (продольная изоляция) |
До 10 |
12 |
1 |
- |
|
|
15 |
17 |
1 |
- |
|
|
|
20 |
24 |
1 |
- |
|
|
|
35 |
70 |
1 |
- |
|
|
|
110 |
100 |
1 |
- |
|
|
|
Напряжение индикации: |
|
|
|
|
|
|
по схеме согласного включения |
6 |
Не менее 7,6 |
- |
- |
|
|
10 |
Не менее 12,7 |
- |
- |
|
|
|
15 |
Не менее 20 |
- |
- |
|
|
|
20 |
Не менее 28 |
- |
- |
|
|
|
35 |
Не менее 40 |
- |
- |
|
|
|
110 |
Не менее 100 |
- |
- |
|
|
|
по схеме встречного включения |
6 |
Не выше 1,5 |
- |
- |
|
|
10 |
Не выше 2,5 |
- |
- |
|
|
|
15 |
Не выше 3,5 |
- |
- |
|
|
|
20 |
Не выше 4 - 6 |
- |
- |
|
|
|
35 |
Не выше 20 |
- |
- |
|
|
|
110 |
Не выше 50 |
- |
- |
|
|
|
соединительный провод |
До 20 |
20 |
1 |
- |
|
|
35 - 110 |
50 |
1 |
- |
|
|
|
Электроизмерительные клещи |
До 1 |
2 |
5 |
- |
1 раз в 24 мес. |
|
Св. 1 до 10 |
40 |
5 |
- |
||
|
Указатель повреждения кабелей светосигнальный: |
|
|
|
|
1 раз в 12 мес. |
|
- рабочая часть |
6 и 10 |
10 |
1 |
- |
|
|
- изолирующая часть |
6 и 10 |
40 |
5 |
- |
|
|
- соединительный провод |
6 и 10 |
20 |
1 |
- |
|
|
- ток индикации |
6 и 10 |
6 и 10 |
- |
10 |
|
|
Устройство определения разности напряжений в транзите: |
|
|
|
|
1 раз в 12 мес. |
|
- рабочая часть |
6 и 10 |
10 |
1 |
- |
|
|
- изолирующая часть |
6 и 10 |
40 |
5 |
- |
|
|
- соединительный провод |
6 и 10 |
20 |
1 |
- |
|
|
Устройства для прокола кабеля: |
|
|
|
|
|
|
- изолирующая часть |
До 10 |
40 |
5 |
- |
1 раз в 12 мес. |
|
Перчатки резиновые диэлектрические |
Все напряжения |
6 |
1 |
6 |
1 раз в 6 мес. |
|
Боты диэлектрические |
Все напряжения |
15 |
1 |
7,5 |
1 раз в 36 мес. |
|
Галоши диэлектрические |
До 1 |
3,5 |
1 |
2 |
1 раз в 12 мес. |
|
Изолирующие накладки: |
|
|
|
|
1 раз в 24 мес. |
|
жесткие |
До 0,5 |
1 |
1 |
- |
|
|
Св. 0,5 до 1 |
2 |
1 |
- |
|
|
|
Св. 1 до 10 |
20 |
5 |
- |
|
|
|
15 |
30 |
5 |
- |
|
|
|
20 |
40 |
5 |
- |
|
|
|
резиновые |
До 0,5 |
1 |
1 |
6 |
|
|
Св. 0,5 до 1 |
2 |
1 |
6 |
|
|
|
Изолирующие колпаки на жилы отключенных кабелей |
До 10 |
20 |
1 |
- |
1 раз в 12 мес. |
|
Изолированный инструмент с однослойной изоляцией |
До 1 |
2 |
1 |
- |
1 раз в 12 мес. |
|
Прочие средства защиты, изолирующие устройства для ремонтных работ под напряжением в электроустановках 110 кВ и выше |
110 - 1150 |
2,5 на 1 см |
1 |
0,5 |
1 раз в 12 мес. |
|
Гибкие изолирующие покрытия |
До 1 |
6 |
1 |
1 мА/1 дм2 |
1 раз в 12 мес. |
|
Гибкие изолирующие накладки |
До 1 |
6 |
1 |
- |
То же |
|
Примечания: 1. Все средства защиты необходимо осматривать перед применением независимо от сроков периодических осмотров. 2. Ковры диэлектрические в эксплуатации подвергают осмотру 1 раз в 6 мес., подставки изолирующие - 1 раз в 36 мес., изолирующие колпаки на отключенные ножи разъединителей - 1 раз в 12 мес. |
|||||
|
Наименование средства защиты |
Испытание статической нагрузкой |
Продолжительность испытания, мин. |
Нагрузка, Н (кгс), при испытаниях |
|
|
типовых |
приемо-сдаточных |
|||
|
Штанги изолирующие: |
|
|
|
|
|
- оперативные на напряжение выше 1000 В |
На разрыв |
1 |
1000 (100) |
- |
|
На изгиб |
1 |
Собственная масса* или масса рабочей части вместе с предохранителем** |
- |
|
|
- для наложения заземления на провода ВЛ выше 1000 В |
На разрыв |
1 |
1000 (100) |
- |
|
На изгиб |
1 |
Собственная масса и масса заземляющего провода |
- |
|
|
- измерительные |
На изгиб |
1 |
Двойная масса рабочей части |
- |
|
Клещи изолирующие на напряжение выше 1000 В |
На разрыв |
1 |
1000 (100) |
- |
|
Указатели напряжения выше 35 кВ*** |
На изгиб |
1 |
Двойная масса рабочей части* |
- |
|
Изолирующие подставки |
На сжатие |
1 |
3500 Н/м2 (350 кгс/м2), равномерно распределенная |
- |
|
На устойчивость |
1 |
800 (80) на краю |
|
|
|
Изолированный инструмент с однослойной изоляцией |
На удар |
3-кратное сбрасывание с 2 м |
+ |
- |
|
Специальные полимерные изоляторы |
На разрыв |
1 |
- |
1,25Рн |
|
Изолирующие канаты |
На разрыв |
1 |
- |
25 % Рр |
|
Гибкие изоляторы |
На разрыв |
1 |
- |
1,25Рн |
|
Гибкая изолирующая лестница: |
На растяжение |
1 |
|
|
|
тетива |
|
|
- |
2000 (200) |
|
ступенька |
|
|
- |
1250 (125) |
|
Жесткая изолирующая лестница: |
|
|
|
|
|
тетива |
На растяжение |
1 |
- |
2000 (200) |
|
ступенька |
На растяжение |
1 |
- |
1250 (125) |
|
На изгиб |
1 |
- |
1250 (125) |
|
|
Изолирующие вставки телескопических вышек |
На сжатие |
1 |
- |
2200 (220) |
|
На изгиб |
1 |
- |
250 (25) |
|
|
Гибкие изолирующие покрытия |
На прокол |
- |
10 Н/мм |
- |
|
Гибкие изолирующие накладки |
На растяжение |
- |
45 кгс/см2 |
- |
|
Предохранительные монтерские пояса и страховочные канаты**** |
На разрыв |
5 |
4000 (400) |
4000 (400) |
|
* Прогиб изолирующей части не более 10 % для штанг и указателей напряжения до 220 кВ и 20 % - для штанг свыше 220 кВ. Методика проведения испытаний - по ГОСТ 20494-90 и ГОСТ 20493-90. ** Для штанг универсальных до 35 кВ для замены предохранителей. *** Указатели напряжения всех типов, в т.ч. для проверки совпадения фаз, а также клещи изолирующие, указатели повреждения кабелей, устройства прокола кабелей дистанционные и пиротехнические при типовых испытаниях проверяются на механическую прочность путем перевозки партии на автомашине на расстояние: по грунтовым дорогам - 50 км со средней скоростью 20 км/ч или по дорогам с асфальтовым покрытием - 200 км со скоростью 50 км/ч (или на вибростенде с амплитудой не менее 5 мм). **** Пояса предохранительные монтерские при типовых испытаниях подвергают динамическим испытаниям по ГОСТ 12.4.089-86. |
||||
|
Наименование средства защиты |
Напряжение электроустановок, кВ |
Испытательное напряжение, кВ |
Продолжительность испытания, мин. |
Ток, протекающий через изделие, мА, не более |
|
Штанги изолирующие (кроме измерительных) |
До 1 |
2 |
5 |
- |
|
До 35 |
3-кратное линейное, но не менее 40 |
5 |
- |
|
|
110 и выше |
3-кратное фазное |
5 |
- |
|
|
Изолирующая часть штанг переносных заземлений с металлическими звеньями |
110 - 220 |
50 |
5 |
- |
|
330 - 500 |
100 |
5 |
- |
|
|
750 |
150 |
5 |
- |
|
|
1150 |
200 |
5 |
- |
|
|
Изолирующие гибкие элементы заземления бесштанговой конструкции |
500 |
100 |
5 |
- |
|
750 |
150 |
5 |
- |
|
|
1150 |
200 |
5 |
- |
|
|
Измерительные штанги |
До 35 |
3-кратное линейное, но не менее 40 |
5 |
- |
|
110 и выше |
3-кратное фазное |
5 |
- |
|
|
Головки измерительных штанг |
35 - 500 |
35 |
5 |
- |
|
Продольные и поперечные планки ползунковых головок и изолирующий канатик измерительных штанг |
220 - 500 |
2,5 на 1 см |
5 |
- |
|
Изолирующие клещи |
До 1 |
3 |
5 |
- |
|
6 - 10 |
3-кратное линейное, но не менее 40 |
5 |
- |
|
|
35 |
3-кратное линейное |
5 |
- |
|
|
Указатели напряжения выше 1000 В с газоразрядной лампой: |
|
|
|
|
|
- рабочая часть (продольная и поперечная изоляция) |
До 10 |
12 |
1 |
- |
|
15 |
17 |
1 |
- |
|
|
20 |
24 |
1 |
- |
|
|
- изолирующая часть |
До 10 |
Не менее 40 |
1 |
- |
|
Св. 10 до 20 |
Не менее 60 |
1 |
- |
|
|
Св. 20 до 35 |
Не менее 105 |
1 |
- |
|
|
110 |
Не менее 190 |
1 |
- |
|
|
Св. 110 до 220 |
Не менее 380 |
1 |
- |
|
|
Напряжение индикации |
2 - 10 |
Не выше 0,55 |
- |
- |
|
6 - 10 |
Не выше 1,5 |
- |
- |
|
|
Св. 10 до 20 |
Не выше 2,5 |
- |
- |
|
|
Св. 20 до 35 |
Не выше 5,0 |
- |
- |
|
|
Св. 35 до 220 |
Не выше 9,0 |
- |
- |
|
|
Указатели напряжения выше 1000 В бесконтактного типа: |
|
|
|
|
|
- изолирующая часть |
6 - 35 |
105 |
5 |
- |
|
Указатели напряжения до 1000 В: |
|
|
|
|
|
- напряжение индикации |
До 1 |
Не выше 0,09 |
- |
- |
|
- изоляция корпусов |
До 0,5 |
1 |
1 |
- |
|
Св. 0,5 до 1 |
2 |
1 |
- |
|
|
- проверка исправности схемы: |
|
|
|
|
|
однополюсные указатели |
До 1 |
Не менее 1,1 Uраб. наиб. |
1 |
0,6 |
|
двухполюсные указатели |
До 1 |
Не менее 1,1 Uраб. наиб. |
1 |
10 |
|
Указатели напряжения для проверки совпадения фаз: |
|
|
|
|
|
- изолирующая часть |
До 10 |
40 |
5 |
- |
|
Св. 10 до 20 |
60 |
5 |
- |
|
|
Св. 20 до 35 |
105 |
5 |
- |
|
|
110 |
190 |
5 |
- |
|
|
- рабочая часть (продольная и поперечная изоляция) |
До 10 |
12 |
1 |
- |
|
15 |
17 |
1 |
- |
|
|
20 |
24 |
1 |
- |
|
|
(продольная изоляция) |
35 |
70 |
1 |
- |
|
110 |
100 |
1 |
- |
|
|
Напряжение индикации: |
|
|
|
|
|
по схеме согласного включения |
6 |
Не менее 7,6 |
- |
- |
|
10 |
Не менее 12,7 |
- |
- |
|
|
15 |
Не менее 20 |
- |
- |
|
|
20 |
Не менее 28 |
- |
- |
|
|
35 |
Не менее 40 |
_ |
- |
|
|
110 |
Не менее 100 |
- |
- |
|
|
по схеме встречного включения |
6 |
Не выше 1,5 |
- |
- |
|
10 |
Не выше 2,5 |
- |
- |
|
|
15 |
Не выше 3,5 |
_ |
- |
|
|
20 |
Не выше 4 - 6 |
_ |
- |
|
|
35 |
Не выше 20 |
_ |
- |
|
|
110 |
Не выше 50 |
- |
- |
|
|
- соединительный провод |
До 20 |
20 |
1 |
- |
|
35 - 110 |
50 |
1 |
- |
|
|
Электроизмерительные клещи |
До 1 |
3 |
5 |
- |
|
Св. 1 до 10 |
3-кратное линейное, но не менее 40 |
5 |
- |
|
|
Указатель повреждения кабелей светосигнальный: |
|
|
|
|
|
рабочая часть |
6 и 10 |
10 |
1 |
- |
|
ток индикации |
6 и 10 |
6 и 10 |
- |
10 |
|
изолирующая часть |
6 и 10 |
40 |
5 |
- |
|
соединительный провод |
6 и 10 |
20 |
1 |
- |
|
Устройство определения разности напряжений в транзите: |
|
|
|
|
|
рабочая часть |
6 и 10 |
10 |
1 |
- |
|
изолирующая часть |
6 и 10 |
40 |
5 |
- |
|
соединительный провод |
6 и 10 |
20 |
1 |
- |
|
Устройства для прокола кабеля: |
|
|
|
|
|
изолирующая часть |
До 10 |
40 |
5 |
- |
|
Перчатки резиновые диэлектрические |
Все напряжения |
По техническим условиям |
||
|
Боты диэлектрические |
Все напряжения |
По ГОСТ 13385-78 |
||
|
Галоши диэлектрические |
До 1 |
По ГОСТ 13385-78 |
||
|
Ковры резиновые диэлектрические |
Все напряжения |
По ГОСТ 4997-75 |
||
|
Изолирующие подставки |
До 10 |
36 |
1 |
- |
|
Изолирующие накладки: |
До 0,5 |
1 |
1 |
- |
|
жесткие |
Св. 0,5 до 1 |
2 |
1 |
- |
|
Св. 1 до 10 |
20 |
5 |
- |
|
|
15 |
30 |
5 |
- |
|
|
20 |
40 |
5 |
- |
|
|
резиновые |
До 0,5 |
1 |
1 |
6 |
|
Св. 0,5 до 1 |
2 |
1 |
6 |
|
|
Изолирующие колпаки: |
|
|
|
|
|
на жилы отключенных кабелей |
До 10 |
20 |
2 |
- |
|
на отключенные ножи разъединителей |
До 10 |
10 |
2 |
- |
|
Изолированный инструмент: |
|
|
|
|
|
- с однослойной изоляцией |
|
|
|
|
|
- с многослойной изоляцией, в т.ч. головки торцевых ключей |
До 1 |
6 |
1 |
- |
|
До 1 |
10 |
3 |
1 на 20 см |
|
|
До 1 |
6 |
3 |
1 на 20 см |
|
|
Прочие средства защиты, изолирующие устройства и приспособления для ремонтных работ под напряжением в электроустановках 110 кВ и выше |
110 - 1150 |
2,5 на 1 см |
1 |
0,5 |
|
Гибкие изолирующие покрытия |
До 1 |
6 |
1 |
1 мА/1 дм2 |
|
Гибкие изолирующие накладки |
До 1 |
9 |
1 |
9 |
|
Примечания: 1. Указатели напряжения выше 1000 В при типовых испытаниях проверяют согласно ГОСТ 20493-90 на отсутствие свечения от влияния соседних цепей, находящихся под напряжением. 2. Приемо-сдаточные испытания средств защиты проводятся теми же методами, что и эксплуатационные испытания. 3. При испытании изолированного инструмента с многослойной изоляцией образец погружают в ванну с водой так, чтобы вода не доходила до края изоляции на (24 ± 2) мм. |
||||
|
Наименование средства защиты |
Количество |
|
Распределительные устройства напряжением выше 1000 В электростанций и подстанций |
|
|
Изолирующая штанга (оперативная или универсальная) |
2 шт. на каждый класс напряжения |
|
Указатель напряжения |
То же |
|
Изолирующие клещи (при отсутствии универсальной штанги) |
По 1 шт. на каждый класс напряжения (при наличии предохранителей на эти напряжения) |
|
Диэлектрические перчатки |
Не менее 2 пар |
|
Диэлектрические боты (для ОРУ) |
1 пара |
|
Переносные заземления |
Не менее 2 на каждый класс напряжения |
|
Защитные ограждения (щиты) |
Не менее 2 шт. |
|
Плакаты и знаки безопасности (переносные) |
По местным условиям |
|
Противогаз шланговый |
2 шт. |
|
Защитные очки |
2 пары |
|
ОРУ 330 кВ и выше |
|
|
Комплекты индивидуальные экранирующие |
По местным условиям, но не менее 1 |
|
Устройства экранирующие |
По местным условиям |
|
Электроустановки напряжением 330 кВ и выше |
|
|
Комплекты индивидуальные экранирующие |
По местным условиям, но не менее 1 |
|
Устройства экранирующие |
По местным условиям |
|
Распределительные устройства напряжением до 1000 В электростанций, подстанций и находящиеся в различных производственных помещениях |
|
|
Изолирующая штанга (оперативная или универсальная) |
По местным условиям |
|
Указатель напряжения |
2 шт. |
|
Изолирующие клещи |
1 шт. |
|
Диэлектрические перчатки |
2 пары |
|
Диэлектрические галоши |
2 пары |
|
Диэлектрический ковер или изолирующая |
По местным условиям |
|
подставка |
|
|
Защитные ограждения, изолирующие накладки, переносные плакаты и знаки безопасности |
То же |
|
Защитные очки |
1 пара |
|
Переносные заземления |
По местным условиям |
|
Трансформаторные подстанции и распределительные пункты распределительных электросетей 6 - 20 кВ (кроме КТП, КРУН и мачтовых подстанций) |
|
|
Изолирующая штанга (оперативная или универсальная) |
1 шт. |
|
Диэлектрический ковер или изолирующая подставка |
По местным условиям |
|
Щиты и пульты управления электростанций и подстанций, помещения (рабочие места) дежурных электромонтеров |
|
|
Указатель напряжения |
1 шт. на каждый класс напряжения выше 1000 В и 2 шт. на напряжение до 1000 В |
|
Изолирующие клещи на напряжение выше 1000 В (при отсутствии универсальной штанги) |
По 1 шт. на каждый класс напряжения (при наличии предохранителей на эти напряжения) |
|
Изолирующие клещи на напряжение до 1000 В |
1 шт. |
|
Электроизмерительные клещи |
По местным условиям |
|
Диэлектрические перчатки |
2 пары |
|
Диэлектрические галоши |
2 пары |
|
Изолированный инструмент |
1 комплект |
|
Переносные заземления |
По местным условиям |
|
Диэлектрические ковры и изолирующие накладки |
По местным условиям |
|
Плакаты и знаки безопасности (переносные) |
То же |
|
Защитные каски |
1 шт. на каждого работающего |
|
Респираторы |
2 шт. |
|
Защитные очки |
2 пары |
|
Оперативно-выездные бригады, обслуживающие подстанции и распределительные электросети |
|
|
Изолирующие штанги (оперативные или универсальные) |
1 шт. на каждый класс напряжения |
|
Указатель напряжения до и выше 1000 В |
По 2 шт. на каждый класс напряжения |
|
Изолирующие клещи на напряжение выше 1000 В (при отсутствии универсальной штанги) |
По 1 шт. на каждый класс напряжения (при наличии предохранителей на эти напряжения) |
|
Изолирующие клещи на напряжение до 1000 В |
По местным условиям |
|
Диэлектрические перчатки |
Не менее 3 пар |
|
Диэлектрические боты (для ОРУ) |
2 пары |
|
Изолированный инструмент |
1 комплект |
|
Электроизмерительные клещи на напряжение до и выше 1000 В |
По местным условиям |
|
Переносные заземления |
По местным условиям, но не менее 2 шт. |
|
Диэлектрические ковры и изолирующие накладки |
По местным условиям |
|
Защитные очки |
2 пары |
|
Плакаты и знаки безопасности (переносные) |
По местным условиям |
|
Указатель напряжения для проверки совпадения фаз |
То же |
|
Указатели повреждения кабелей |
То же |
|
Респираторы |
То же |
|
Защитные каски |
По 1 шт. на каждого работающего |
|
Предохранительный монтерский пояс |
По местным условиям |
|
Бригада эксплуатационного обслуживания подстанций, воздушных и кабельных линий |
|
|
Изолирующие штанги (оперативные или универсальные, измерительные) |
По 1 шт. на каждый класс напряжения |
|
Указатель напряжения выше 1000 В |
1 шт. |
|
Указатель напряжения до 1000 В |
2 шт. |
|
Переносные заземления |
По местным условиям |
|
Указатель напряжения для проверки совпадения фаз |
То же |
|
Диэлектрические перчатки |
4 пары |
|
Диэлектрические боты |
1 пара |
|
Предохранительные монтерские пояса и страховочные канаты |
По местным условиям |
|
Защитные очки |
2 пары |
|
Защитный щиток для электросварщика |
1 шт. |
|
Изолированный инструмент |
2 комплекта |
|
Диэлектрические ковры и изолирующие накладки |
По местным условиям |
|
Плакаты и знаки безопасности (переносные) |
То же |
|
Респираторы |
То же |
|
Защитные каски |
По 1 шт. на каждого работающего |
|
Передвижные высоковольтные лаборатории |
|
|
Указатель напряжения выше 1000 В |
По 1 шт. на каждый класс напряжения |
|
Изолирующая штанга (оперативная) |
По 1 шт. на каждый класс напряжения |
|
Диэлектрические перчатки |
2 пары |
|
Диэлектрические боты |
1 пара |
|
Комплект плакатов безопасности |
1 |
|
Комплект универсальных устройств для кабельной сети |
1 |
|
Указатель повреждения кабелей |
По местным условиям |
|
Защитные каски |
По 1 шт. на каждого члена бригады |
|
Примечания: 1. Нормы комплектования являются минимальными и обязательными. Главным инженерам предоставляется право в зависимости от местных условий (компоновки и напряжения электроустановок, сферы обслуживания оперативного и ремонтного персонала и их количества в смене или бригаде и т.п.) увеличивать их количество и дополнять номенклатуру. 2. При размещении оборудования РУ одного напряжения (выше или до 1000 В) на разных этажах или в нескольких помещениях, отделенных друг от друга дверями или другими помещениями, указанное количество средств защиты относится ко всему РУ в целом. 3. Распределительные устройства одного напряжения при числе их не более четырех, расположенные в пределах одного здания (электростанции, цеха предприятия) и обслуживаемые одним и тем же персоналом, могут обеспечиваться одним комплектом средств защиты (исключая защитные ограждения и переносные заземления). 4. Мачтовые подстанции, КТП и КРУН комплектуют средствами защиты по местным условиям. |
|
(изображения приведены на 3-й полосе обложки)
|
Номер плаката или знака |
Назначение и наименование |
Исполнение, размеры, мм |
Область применения |
|
|
Плакаты запрещающие |
||||
|
1. |
Для запрещения подачи напряжения на рабочее место НЕ ВКЛЮЧАТЬ! РАБОТАЮТ ЛЮДИ |
Красные буквы на белом фоне. Кайма красная шириной 13 и 5 мм 240 × 130 80 × 50 Плакат переносный |
В электроустановках до и выше 1000 В. Вывешивают на приводах разъединителей, отделителей и выключателей нагрузки, на ключах и кнопках дистанционного управления, на коммутационной аппаратуре до 1000 В (автоматах, рубильниках, выключателях), при ошибочном включении которых может быть подано напряжение на рабочее место. На присоединениях до 1000 В, не имеющих в схеме коммутационных аппаратов, плакат вывешивают у снятых предохранителей |
|
|
2. |
Для запрещения подачи напряжения на линию, на которой работают люди НЕ ВКЛЮЧАТЬ! РАБОТА НА ЛИНИИ |
Белые буквы на красном фоне. Кайма белая шириной 13 и 5 мм 240 × 130 80 × 50 Плакат переносный |
То же, но вывешивают на приводах, ключах и кнопках управления тех коммутационных аппаратов, при ошибочном включении которых может быть подано напряжение на воздушную или кабельную линию, на которой работают люди |
|
|
3. |
Для предупреждения об опасности воздействия ЭП на персонал и запрещения передвижения без средств защиты ОПАСНОЕ ЭЛЕКТРИЧЕСКОЕ ПОЛЕ БЕЗ СРЕДСТВ ЗАЩИТЫ ПРОХОД ЗАПРЕЩЕН |
Красные буквы на белом поле. Кайма красная шириной 13 мм 240 × 130 Плакат постоянный |
В ОРУ напряжением 330 кВ и выше. Устанавливается после измерения напряженности ЭП на высоте 1,8 м от уровня планировки на ограждениях участков, на которых уровень ЭП выше 15 кВ/м: - на маршрутах обхода ОРУ; - вне маршрутов обхода ОРУ, но в местах, где возможно пребывание персонала при выполнении других работ (например, под низко провисшей ошиновкой оборудования или системы шин) Плакат может крепиться на специально для этого предназначенном столбе высотой 1,5 - 2 м |
|
|
4. |
Для запрещения подачи сжатого воздуха, газа НЕ ОТКРЫВАТЬ РАБОТАЮТ ЛЮДИ |
Красные буквы на белом фоне. Кайма красная шириной 13 мм 240 × 130 Плакат переносный |
В электроустановках электростанций и подстанций. Вывешивают на вентилях и задвижках: воздухопроводов к воздухосборникам и пневматическим приводам выключателей и разъединителей, при ошибочном открытии которых может быть подан сжатый воздух на работающих людей или приведен в действие выключатель или разъединитель, на котором работают люди; водородных, углекислотных и прочих трубопроводов, при ошибочном открытии которых может возникнуть опасность для работающих людей |
|
|
5. |
Для запрещения повторного ручного включения выключателей ВЛ после их автоматического отключения без согласования с производителем работ РАБОТА ПОД НАПРЯЖЕНИЕМ ПОВТОРНО НЕ ВКЛЮЧАТЬ |
Красные буквы на белом фоне. Кайма красная шириной 5 мм 80 × 50 Плакат переносный |
На ключах управления выключателей ремонтируемой ВЛ при производстве работ под напряжением |
|
|
Знаки и плакаты предупреждающие |
||||
|
6. |
Для предупреждения об опасности поражения электрическим током ОСТОРОЖНО! ЭЛЕКТРИЧЕСКОЕ НАПРЯЖЕНИЕ |
По ГОСТ 12.4.026-76 (знак 2.5) Фон желтый, кайма и стрела черные. Сторона треугольника: 360 на дверях помещений 160 |
В электроустановках до и выше 1000 В электростанций и подстанций. Укрепляется на внешней стороне входных дверей РУ, за исключением дверей КРУ и КТП, расположенных в этих устройствах; наружных дверей камер выключателей и трансформаторов; ограждений токоведущих частей, расположенных в производственных помещениях; дверей щитов и сборок напряжением до 1000 В |
|
|
100 80 50 40 25 |
Для оборудования и тары |
|||
|
Знак постоянный |
||||
|
|
То же |
То же |
В населенной местности*. Укрепляется на опорах ВЛ выше 1000 В на высоте 2,5 - 3 м от земли, при пролетах менее 100 м укрепляется через опору, при пролетах более 100 м и переходах через дороги - на каждой опоре. При переходах через дороги знаки должны быть обращены в сторону дороги, в остальных случаях - сбоку опоры поочередно с правой и левой стороны. Плакаты крепят на металлических и деревянных опорах |
|
|
7. |
Для предупреждения об опасности поражения электрическим током ОСТОРОЖНО! ЭЛЕКТРИЧЕСКОЕ НАПРЯЖЕНИЕ |
Размеры такие же, как у знака № 6. Кайму и стрелу наносят посредством трафарета на поверхность бетона несмываемой черной краской. Фоном служит поверхность бетона. Знак постоянный. |
На железобетонных опорах ВЛ |
|
|
8. |
Для предупреждения об опасности поражения электрическим током СТОЙ НАПРЯЖЕНИЕ |
Черные буквы на белом фоне. Кайма красная шириной 21 мм. Стрела красная по ГОСТ 12.4.026-76 280 × 210 Плакат переносный |
В электроустановках до и выше 1000 В электростанций и подстанций. В ЗРУ вывешивают на защитных временных ограждениях токоведущих частей, находящихся под рабочим напряжением (когда снято постоянное ограждение); на временных ограждениях, устанавливаемых в проходах, куда не следует заходить; на постоянных ограждениях камер, соседних с рабочим местом. В ОРУ вывешивают при работах, выполняемых с земли, на канатах и шнурах, ограждающих рабочее место; на конструкциях, вблизи рабочего места на пути к ближайшим токоведущим частям, находящимся под напряжением |
|
|
* Населенная местность - территории городов, поселков, деревень, промышленных и сельскохозяйственных предприятий, портов, пристаней, железнодорожных станций, общественных парков, бульваров, пляжей в границах их перспективного развития на 10 лет. |
||||
|
9. |
Для предупреждения об опасности поражения электрическим током при проведении испытаний повышенным напряжением ИСПЫТАНИЕ ОПАСНО ДЛЯ ЖИЗНИ |
Черные буквы на белом фоне. Кайма красная шириной 21 мм. Стрела красная по ГОСТ 12.4.026-76 280 × 210 Плакат переносный |
Вывешивают надписью наружу на оборудовании и ограждениях токоведущих частей при подготовке рабочего места для проведения испытания повышенным напряжением |
|
|
10. |
Для предупреждения об опасности подъема по конструкциям, при котором возможно приближение к токоведущим частям, находящимся под напряжением НЕ ВЛЕЗАЙ УБЬЕТ! |
Черные буквы на белом фоне. Кайма красная шириной 21 мм. Стрела красная по ГОСТ 12.4.026-76 280 × 210 Плакат переносный |
В РУ вывешивают на конструкциях, соседних с той, которая предназначена для подъема персонала к рабочему месту, расположенному на высоте |
|
|
Плакаты предписывающие |
||||
|
11. |
Для указания рабочего места РАБОТАТЬ ЗДЕСЬ |
Белый круг диаметром 168 и 68 мм на зеленом фоне. Буквы черные внутри круга. Кайма белая шириной 5 и 2 мм 250 × 250 100 × 100 Плакат переносный |
В электроустановках электростанций и подстанций. Вывешивают на рабочем месте. В ОРУ при наличии защитных ограждений рабочего места вывешивают в месте прохода за ограждение |
|
|
12. |
Для указания безопасного пути подъема к рабочему месту, расположенному на высоте ВЛЕЗАТЬ ЗДЕСЬ |
То же |
Вывешивают на конструкциях или стационарных лестницах, по которым разрешен подъем к расположенному на высоте рабочему месту |
|
|
Плакат указатель |
||||
|
13. |
Для указания о недопустимости подачи напряжения на заземленный участок электроустановки ЗАЗЕМЛЕНО |
Черные буквы на синем фоне. Кайма белая шириной 13 и 5 мм 240 × 130 80 × 50 |
В электроустановках электростанций и подстанций. Вывешивают на приводах разъединителей, отделителей и выключателей нагрузки, при ошибочном включении которых может быть подано напряжение на заземленный участок электроустановки, и на ключах и кнопках дистанционного управления |
|
|
Примечания: 1 в электроустановках с крупногабаритным оборудованием размеры плакатов разрешается увеличивать в отношении 2:1, 4:1, 6:1 к размерам, указанным в таблице. 2. Плакаты и знаки безопасности, изготовленные по старым Правилам, должны заменяться новыми (с каймой по ГОСТ 12.4.026-76) по мере выхода их из строя. |
||||
(форма рекомендуемая)
«__» _____________________ 199_ г.
|
________________________________________ (место испытания, организация) Разработчик изделий _________________________________________________________ ___________________________________________________________________________ Изготовитель изделий ________________________________________________________ ___________________________________________________________________________
Результаты испытаний: 1. При осмотре изделий после приложения испытательных нагрузок остаточной деформации не обнаружено. 2. Проверка изделий в процессе испытаний показала их работоспособность. 3. Изделия приемо-сдаточные испытания выдержали. 4. На все изделия нанесена маркировка. Испытания проводили: Ответственный за проведение испытаний ________________ ________________ ______________ (должность) (подпись) (фамилия, и., о.) ________________ ________________ _______________ ________________ ________________ _______________ |
|
Наименование изделия |
Номер изделия |
Грузоподъемность, кН (кгс) |
Дата последнего испытания |
Причина испытания |
Сведения о произведенных ремонтах с указанием даты |
Осмотр |
Испытание статической нагрузкой |
Дата и результат испытания (осмотра) |
Дата следующего испытания (осмотра) |
Председатель комиссии или лицо, проводившее испытание (осмотр) |
|
|
ф., и., о |
подпись |
||||||||||
|
1 |
2 |
3 |
4 |
5 |
6 |
7 |
8 |
9 |
10 |
11 |
12 |
|
Напряженность электрического поля, кВ/м |
Допустимое время пребывания без средств защиты |
Напряженность электрического поля, кВ/м |
Допустимое время пребывания без средств защиты |
|
До 5 включительно |
В течение рабочего дня |
Св. 20 до 25 |
10 мин. |
|
Св. 5 до 20 включительно |
По формуле Т = 50/Е - 2 |
Св. 25 |
Не допускается |
|
Примечания: 1. В приведенной формуле Т - допустимое время пребывания в ЭП при соответствующем уровне напряженности, ч; Е - напряженность воздействующего ЭП в контролируемой зоне, кВ/м. 2. Допустимое время пребывания в ЭП может быть реализовано одноразово или дробно в течение рабочего дня. В остальное рабочее время напряженность ЭП не должна превышать 5 кВ/м. |
|||
|
Наименование электроустановки |
Дата проведения измерений |
Номер и данные поверки измерителя |
Место измерений |
Рабочее напряжение электроустановки, кВ |
Температура и относительная влажность воздуха |
Результаты измерений |
Заключение |
Фамилия и должность лица, проводившего измерения |
Подпись лица, проводившего измерения |
ПЛАКАТЫ ЗАПРЕЩАЮЩИЕ

ЗНАКИ И ПЛАКАТЫ ПРЕДУПРЕЖДАЮЩИЕ

ПЛАКАТЫ ПРЕДПИСЫВАЮЩИЕ

ПЛАКАТ УКАЗАТЕЛЬНЫЙ

СОДЕРЖАНИЕ