Инструкция регламентирует условия, порядок и методы проведения наблюдений за сдвижениями земной поверхности и расположенными на ней объектами при строительстве в Москве подземных сооружений, а также способы обработки результатов наблюдений и требования к их оформлению. Предназначена для специалистов и работников предприятий, организаций, осуществляющих контроль за влиянием подземных сооружений на земную поверхность и расположенные на ней объекты.
| Обозначение: | РД 07-166-97 |
| Название рус.: | Инструкция по наблюдениям за сдвижениями земной поверхности и расположенными на ней объектами при строительстве в Москве подземных сооружений |
| Статус: | действует |
| Дата актуализации текста: | 05.05.2017 |
| Дата добавления в базу: | 01.09.2013 |
| Дата введения в действие: | 17.09.1997 |
| Утвержден: | 17.09.1997 Госгортехнадзор России (Russian Federation Gosgortekhnadzor 29) |
| Опубликован: | ГУП НТЦ Промышленная безопасность (2002 г. ) ЗАО Научно-технический центр исследований проблем промышленной безопасности (2010 г. (Выпуск 8)) |
| Ссылки для скачивания: |
|
Нормативные
документы в сфере деятельности ___________________ |
Серия 07
Документы
по вопросам
охраны недр и
геологомаркшейдерского контроля
Выпуск 8
ОХРАНА НЕДР
И ГЕОЛОГО-МАРКШЕЙДЕРСКИЙ
КОНТРОЛЬ
НОРМАТИВНОЕ
ОБЕСПЕЧЕНИЕ
ОХРАНЫ ОБЪЕКТОВ ОТ ВРЕДНОГО ВЛИЯНИЯ
ГОРНЫХ РАБОТ И ИХ ВЕДЕНИЯ
В ОПАСНЫХ ЗОНАХ
Москва
ЗАО НТЦ ПБ
2010
Ответственные составители-разработчики:
А.И. Субботин, В.В. Грицков,
М.Г. Козаченко, О.А. Коняхина
Сборник содержит нормативные документы, регламентирующие порядок согласования и утверждения мер охраны зданий, сооружений и природных объектов от вредного влияния горных работ, а также порядок ведения горных работ в опасных зонах. Сборник предназначен для инспекторского состава по охране недр Госгортехнадзора России и организаций независимо от их организационно-правовых форм и форм собственности, осуществляющих проектирование и разработку месторождений полезных ископаемых и использующих недра для строительства и эксплуатации подземных сооружений, не связанных с добычей полезных ископаемых.
СОДЕРЖАНИЕ
|
Утверждена постановлением
Госгортехнадзора Введена в действие 17.09.97 г. |
ИНСТРУКЦИЯ
ПО НАБЛЮДЕНИЯМ ЗА СДВИЖЕНИЯМИ ЗЕМНОЙ
ПОВЕРХНОСТИ И РАСПОЛОЖЕННЫМИ НА НЕЙ ОБЪЕКТАМИ
ПРИ СТРОИТЕЛЬСТВЕ В МОСКВЕ ПОДЗЕМНЫХ СООРУЖЕНИЙ
РД 07-166-97
ПРЕДИСЛОВИЕ
В настоящее время наблюдения за изменением геомеханического состояния породного массива и деформациями объектов при строительстве подземных сооружений ведутся различными организациями по ведомственным инструкциям, предназначенным для решения иных, как правило, более узких задач. Эти инструкции содержат неодинаковые требования к точности измерений, различные методики проведения наблюдений и обработки их результатов. Такие различия делают практически невозможным сопоставление полученных данных, их обобщение и использование, что может привести к крупным авариям, особенно в условиях интенсивного строительства подземных сооружений в плотно застроенных районах города. Отсюда возникла необходимость составления единой инструкции, содержащей научно-обоснованные нормы, требования и методы, позволяющие оперативно оценивать изменение геомеханического состояния породного массива при строительстве подземных сооружений и на основании полученной информации своевременно принимать надежные профилактические и защитные меры.
При составлении настоящей Инструкции были использованы методы, приборы и инструменты, нормы и требования, содержащиеся в существующих отраслевых документах, особенно в Инструкции по наблюдениям за сдвижением горных пород, земной поверхности и подрабатываемыми сооружениями на угольных и сланцевых месторождениях, согласованной с Госгортехнадзором СССР 05.03.87 г. и утвержденной Министерством угольной промышленности СССР 30.12.87 г. (М.: Недра, 1989). Одновременно в настоящей Инструкции отражены особенности развития деформационных процессов при строительстве подземных сооружений и учтена специфика проведения наблюдений в этих условиях.
Основным отличием настоящей Инструкции от существующих нормативных документов является то, что составлению проекта наблюдательной станции предшествует прогноз ожидаемых сдвижений и деформаций, на основании которого выбираются наиболее надежные для рассматриваемых условий методы наблюдений, оптимальное расположение реперов, рациональная частота наблюдений и другие параметры станции, при которых обеспечивается оперативное получение информации о развитии деформационных процессов, необходимой для своевременного принятия профилактических и защитных мер.
Инструкция составлена Институтом проблем комплексного освоения недр Российской академии наук совместно с Научно-исследовательским, проектно-изыскательским и конструкторско-технологическим институтом оснований и подземных сооружений им. Н.М. Герсеванова и Московским городским трестом геолого-геодезических и картографических работ при участии Управления развития Генплана г. Москвы и АО «Московский комитет по науке и технологиям».
1.1. Инструкция по наблюдениям за сдвижениями земной поверхности и расположенными на ней объектами при строительстве в Москве подземных сооружений составлена в соответствии с Законом Российской Федерации «О недрах» от 03.03.95 № 27-ФЗ (ст. 24) и регламентирует условия, порядок и методы проведения наблюдений за сдвижениями земной поверхности и расположенными на ней объектами при строительстве в Москве подземных сооружений, а также способы обработки результатов наблюдений и требования к их оформлению.
1.2. Инструкция предназначена для специалистов и работников предприятий, организаций, осуществляющих контроль за влиянием подземных сооружений на земную поверхность и расположенные на ней объекты.
1.3. Измерения сдвижений земной поверхности и расположенных на ней объектов должны проводиться по программе, отвечающей требованиям, приведенным в разд. 3 - 5 настоящей Инструкции, в целях:
определения абсолютных и относительных величин деформаций и сравнения их с расчетными и допустимыми значениями;
выявления причин возникновения и степени опасности деформаций для нормальной эксплуатации объектов;
принятия своевременных мер по борьбе с возникающими деформациями или устранению их последствий;
уточнения расчетных данных физико-механических характеристик грунтов;
уточнения методов расчета и установления допустимых и предельных величин деформаций для различных типов зданий, сооружений и коммуникаций;
установления эффективности принимаемых профилактических и защитных мер;
уточнения закономерностей процесса сдвижения горных пород и зависимостей его параметров от основных влияющих факторов.
Результаты измерений могут быть использованы также при решении спорных вопросов, связанных с определением причин деформирования объектов и степени влияния на них подземных сооружений.
Программа проведения измерений составляется организацией (имеющей соответствующую лицензию), производящей измерения, на основе технического задания, выдаваемого проектно-изыскательской или научно-исследовательской организацией по согласованию с организациями, осуществляющими строительство или эксплуатацию сооружений и объектов. Составление программы проведения наблюдений за деформациями толщи горных пород и расположенными в ней объектами должно производиться с участием специалистов-геомехаников.
Необходимость в проведении наблюдений должна определяться проектно-изыскательской или научно-исследовательской организацией в зависимости от ожидаемых деформаций земной поверхности, характера и состояния объектов, расположенных в зоне влияния подземного сооружения. Наблюдения проводятся в обязательном порядке при строительстве подземных сооружений на глубинах более пяти метров и вблизи особо ответственных объектов с повышенным риском эксплуатации. В спорных ситуациях вопрос о проведении наблюдений и интерпретации их результатов решается органами исполнительной власти города и Госгортехнадзора России с учетом рекомендаций независимой экспертизы.
1.4. Наблюдения за сдвижениями земной поверхности, толщи пород и расположенными там объектами должны вестись с начала строительства подземных сооружений и в первые годы их эксплуатации до стабилизации деформаций.
1.5. Организация и проведение наблюдений должны осуществляться в несколько этапов. Вначале составляется прогноз ожидаемых сдвижений и оцениваются возможные последствия строительства подземных сооружений. Затем составляется проект наблюдательной станции, в котором излагаются цели и задачи измерений, намечается размещение стенных и грунтовых реперов, разрабатывается календарный план измерений, выбираются приборы и методы измерений в зависимости от прогноза ожидаемых сдвижений, экономической целесообразности и имеющихся в наличии материалов и инструментов. После этого производится вынос проекта наблюдательной станции в натуру. Непосредственные измерения и обработка их результатов должны выполняться в соответствии с проектом и с учетом характера и скорости развития деформационных процессов. При необходимости изменения частоты и методики измерений, расположения реперов и других элементов проекта подготавливается соответствующее обоснование. По результатам наблюдений составляются оперативные и итоговые отчеты, которые передаются заказчику.
1.6. При выполнении полевых работ по измерению сдвижений и деформаций кроме требований настоящей Инструкции следует соблюдать требования других действующих нормативных документов, относящихся к безопасности ведения геодезических, строительных и горных работ (СНиП 3.01.03-84 «Геодезические работы в строительстве», СНиП 1-4-80 «Техника безопасности в строительстве», Положение о порядке и контроле безопасного ведения горных работ в опасных зонах, согласованное с Госгортехнадзором России письмом от 26.02.93 № 01-17/70).
2.1. Абсолютная величина горизонтального сдвижения земной поверхности (на данный момент времени) - его полная величина, получаемая по отношению к исходным геодезическим знакам, установленным вне зоны влияния подземного сооружения.
2.2. Активизация сдвижения толщи пород и земной поверхности - изменение характера распределения и величин сдвижений и деформаций земной поверхности и грунтовой толщи при строительстве сооружения в зоне влияния ранее пройденных выработок по сравнению со сдвижениями и деформациями от одиночного сооружения, возводимого в ненарушенном горными работами породном массиве.
2.3. Вероятные сдвижения и деформации - величины сдвижений и деформаций, определяемые на основании недостаточно полной информации о горно-геологических условиях возведения подземного сооружения.
2.4. Вертикальные деформации земной поверхности (наклоны, кривизна) - деформации земной поверхности в вертикальной плоскости, вызванные неравномерностью вертикальных сдвижений.
2.5. Вертикальные перемещения основания фундамента - осадки, происходящие под влиянием горных работ, а также в результате уплотнения грунта под воздействием внешних нагрузок и в отдельных случаях собственной массы грунта; просадки, происходящие в результате уплотнения под воздействием как внешних нагрузок и собственной массы грунта, так и дополнительно с ними действующих факторов (замачивание просадочного грунта, оттаивание ледовых прослоек в замерзшем грунте и т.п.); набухания и усадки, связанные с изменением объема некоторых видов глинистых грунтов при изменении их влажности, температуры (морозное пучение) или воздействия химических веществ.
2.6. Главные сечения мульды сдвижения - вертикальные сечения мульды вдоль и поперек подземного сооружения, проходящие через точки с максимальными оседаниями земной поверхности.
2.7. Горизонтальные деформации растяжения или сжатия - деформации земной поверхности в горизонтальной плоскости, вызванные неравномерностью горизонтальных сдвижений.
В точках мульды сдвижения различают горизонтальные деформации:
в продольном направлении εх;
в поперечном направлении εy;
в направлениях, параллельных продольному εх1;
в направлениях, параллельных поперечному εy1;
в заданном направлении ελ.
2.8. Горизонтальное сдвижение земной поверхности (мм) - горизонтальная составляющая вектора сдвижения точки в мульде сдвижения земной поверхности.
В точках мульды различают горизонтальные сдвижения:
в продольном направлении ξx;
в поперечном направлении ξy;
в направлении, параллельном продольному ξx1;
в направлении, параллельном поперечному ξy1;
в заданном направлении ξλ.
2.9. Граничные углы - внешние относительно выработанного пространства углы, образованные на вертикальных разрезах по главным сечениям мульды сдвижения горизонтальными линиями и линиями, соединяющими границу выработки с границей зоны влияния горных работ на земной поверхности.
2.10. Граница зоны влияния подземного сооружения или граница мульды сдвижения - контур зоны на земной поверхности, определяемый по граничным углам или по деформациям: наклона 0,5⋅10-3, растяжения 0,5⋅10-3, при длинах интервалов 15 - 20 м.
2.11. Граница зоны опасного влияния подземных горных работ - контур зоны опасного сдвижения земной поверхности, определяемый по углам сдвижения или критическим деформациям.
2.12. График сдвижений и деформаций земной поверхности - линии, изображающие в определенном масштабе распределение величин сдвижений и деформаций земной поверхности на профильной линии.
Различают графики:
а) оседания;
в) наклонов мульды сдвижения;
г) горизонтальных деформаций (растяжений, сжатий);
д) кривизны мульды сдвижения;
е) скорости оседания.
2.13. Деформация горной выработки (котлована) - изменение ее формы и размеров под действием нагрузок.
2.14. Деформационная марка - геодезический знак, жестко укрепленный на конструкции здания или сооружения (фундаменте, колонне, стене), меняющий свое положение вследствие осадки, просадки, подъема, сдвига, крена или горизонтального перемещения фундамента.
2.15 Длина полумульды - расстояние в главном сечении на продольном или поперечном разрезе между границей мульды и точкой пересечения с земной поверхностью линии, проведенной под углом полных сдвижений (при полной подработке) или под углом максимального оседания (при неполной подработке). Участок плоского дна при расчете сдвижений и деформаций в длину полумульды не включается.
Различают длины полумульд (м):
в продольном направлении L1;
в поперечном направлении L1.
2.16. Допустимые деформации земной поверхности (основания сооружений) - деформации, могущие вызвать такие повреждения в сооружениях, при которых для дальнейшей эксплуатации их по прямому назначению достаточно проведения текущих наладочных и ремонтных работ.
2.17. Зона опасного влияния подземных горных работ - часть мульды сдвижения, на которой в результате влияния горных работ возникают деформации, опасные для зданий, сооружений и природных объектов.
2.18. Зона трещин и провалов на земной поверхности - часть мульды сдвижения, на которой в результате влияния горных работ возникают трещины и провалы.
2.19. Зона трещин и разломов горных пород - часть области сдвижения горных пород, подвергшаяся сдвижению в форме прогиба и сдвига с образованием трещин.
2.20. Зона обрушения горных пород - часть области сдвижения горных пород, подвергшаяся обрушению.
2.21. Зона прогиба - часть области сдвижения горных пород, подвергшаяся сдвижению в форме прогиба слоев без разрыва их сплошности.
2.22. Исходный репер - репер, заложенный в районе наблюдательной станции на участке, не подвергающемся сдвижению и служащий для передачи отметки на опорные реперы станции.
2.23. Коэффициент запаса устойчивости - отношение суммы удерживающих сил к сумме сдвигающих.
2.24. Коэффициент подработанности земной поверхности - отношение фактического размера выработанного пространства к минимальному размеру, при котором наступает полная подработка земной поверхности.
Различают коэффициенты подработанности:
в продольном направлении n1;
в поперечном направлении n2.
При полной подработке земной поверхности коэффициенты подработанности в продольном и поперечном направлениях равны или больше единицы.
2.25. Крен фундамента - деформация в результате неравномерной осадки, просадки, подъема и т.п., характеризующая разность вертикальных перемещений точек, отнесенных к расстоянию между ними.
2.26. Кривизна мульды сдвижения (размерность 1/м) - отношение разности наклонов двух соседних интервалов мульды к полусумме длин этих интервалов. Различают кривизну мульды, определенную непосредственно по данным измерений и полученную по сглаженной кривой оседания. В точках мульды различают кривизну:
в продольном направлении Kх;
в поперечном направлении Ky;
в направлении, параллельном продольному Ky1,
в направлении, параллельном поперечному Kx1;
в заданном направлении Kλ.
2.27. Критические деформации земной поверхности - величины деформаций земной поверхности, принятые для определения границ зоны опасного влияния подземных горных работ и углов сдвижения: кривизна K = 0,2⋅10-3, 1/м, наклон i = 4⋅10-3, горизонтальное растяжение ε = 2⋅10-3, при длинах интервалов 15 - 20 м.
2.28. Максимальные горизонтальные деформации - наибольшие сжатия и растяжения интервалов мульды при закончившемся процессе сдвижения.
В точках мульды различают максимальные сжатия и растяжения:
в продольном направлении εmах, x;
в поперечном направлении εmах, y;
в направлении, параллельном продольному εmах, x1;
в направлении, параллельном поперечному εmах, y1;
в заданном направлении εmах, λ.
2.29. Максимальное горизонтальное сдвижение (мм) - наибольшая горизонтальная составляющая векторов сдвижения точек при закончившемся процессе сдвижения.
В точках мульды различают максимальные горизонтальные сдвижения:
в продольном направлении ξmах, x;
в поперечном направлении ξmах, y;
в направлении, параллельном продольному ξmах, x1;
в направлении, параллельном поперечному ξmах, y1;
в заданном направлении ξmах, λ.
2.30. Максимальная кривизна мульды сдвижения (1/м) - наибольшая кривизна мульды при закончившемся процессе сдвижения.
В точках мульды различают максимальную кривизну:
в продольном направлении Kmax, x;
в поперечном направлении Kmax, y;
направлении, параллельном продольному Kmax, x1;
в направлении, параллельном поперечному Kmax, y1;
в заданном направлении Kmax,λ.
2.31. Максимальное оседание (мм) - наибольшая вертикальная составляющая векторов сдвижения точек при закончившемся процессе сдвижения.
Различают максимальные оседания:
при полной подработке ηo;
при неполной подработке ηm.
2.32. Максимальные наклоны мульды сдвижения - наибольшие наклоны интервалов мульды сдвижения при закончившемся процессе сдвижения.
В точках мульды различают максимальные наклоны:
в продольном направлении imах, х;
в поперечном направлении imах, y;
в направлении, параллельном продольному imах, х1;
в направлении, параллельном поперечному imах, y1
в заданном направлении iλ.
2.33. Маяк - приспособление для наблюдения за развитием трещин: гипсовая или алебастровая плитка, прикрепляемая к обоим краям трещин на стене или потолке; две стеклянные или плексигласовые пластинки, имеющие риски для измерения величины раскрытия трещины и др.
2.34. Меры охраны объектов от вредного влияния горных разработок - мероприятия, направленные на уменьшение вредного влияния горных работ на здания, сооружения и природные объекты, в целях устранения причин нарушения нормальной эксплуатации объектов, могущих вызвать несчастные случаи.
2.35. Минимальный радиус кривизны (м) - радиус кривизны в точке сдвижения с максимальной кривизной.
В точках мульды различают минимальные радиусы кривизны: в продольном направлении Rmin, x;
в поперечном направлении Rmin, y;
в направлении, параллельном продольному Rmin, x1;
в направлении, параллельном поперечному Rmin, y1
в заданном направлении Rmin, λ
2.36. Мульда сдвижения земной поверхности - участок земной поверхности, подвергшийся сдвижению под влиянием горных работ.
2.37. Наблюдательная станция - совокупность реперов, заложенных по определенной системе на земной поверхности, в сооружениях или в подземных выработках в целях проведения наблюдений за сдвижением земной поверхности, сооружений или горных пород в толще. Различают типовые (рядовые и долговременные) и специальные наблюдательные станции.
2.38. Наклоны интервалов в мульде сдвижения - отношение разности оседаний двух соседних точек мульды к расстоянию между ними.
В точках мульды различают наклоны:
в продольном направлении ix;
в поперечном направлении iy;
в направлении, параллельном продольному ix1;
в направлении, параллельном поперечному iy1
в заданном направлении iλ.
2.39. Нарушение устойчивости горной выработки, котлована или сооружения - состояние, когда их деформации превосходят допустимые значения, при которых дальнейшая эксплуатация объектов затруднена и может представлять опасность для жизни людей.
2.40. Неполная серия наблюдений - комплекс измерений, в результате которых определяется положение всех или части реперов в одной из плоскостей: в горизонтальной или вертикальной, может включать или не включать определение положения трещин.
2.41. Опорный репер - репер профильной линии, заложенный на участке наблюдательной станции, не подвергающемся сдвижению, и служащий исходным для наблюдения на данной профильной линии.
2.42. Оседание земной поверхности ц (мм) - вертикальная составляющая вектора сдвижения точки в мульде сдвижения земной поверхности.
2.43. Область сдвижения горных пород - часть массива горных пород, подвергшаяся сдвижению под влиянием горных работ.
2.44. Общая продолжительность процесса сдвижения - период, в течение которого земная поверхность под влиянием горных работ находится в состоянии сдвижения. За начало процесса сдвижения точки земной поверхности принимается дата, на которую оседание точки достигает 15 мм. За окончание процесса сдвижения принимается дата, после которой суммарные оседания на протяжении 6 месяцев не превышают 10 % максимальных, но не более 30 мм.
2.45. Обрушение пород - беспорядочное перемещение разрушенных пород с потерей естественной структуры в результате ведения горных работ.
2.46. Ожидаемые сдвижения и деформации - величины сдвижений и деформаций, определяемые в условиях, когда имеются календарные планы развития горных работ и известны необходимые для расчетов исходные данные.
2.47. Оползень - медленное смещение масс горных пород, слагающих откос (а иногда и его основание), происходящее в виде скользящего движения между сдвигающимися породами и неподвижным массивом. Обрушение - быстрое смещение породных масс или блоков и пачек пород, слагающих откос, сопровождающееся дроблением смещающейся части массива. Оплывина - перемещение в виде потока насыщенных водой до текучего состояния некоторых разновидностей песчано-глинистых пород нарушенной структуры (пылеватых песков и глин, лессовидных суглинков, лессов и т.п.), которые растекаются по площади под углом 4 - 6° и менее. Осыпь - разрушение и смещение приповерхностной части крутых откосов. Оплывание - фильтрационные деформации, вызываемые переносом и переотложением грунтовых частиц подземными водами, вытекающими на откос в пределах участка их высачивания.
2.48. Относительное максимальное оседание q0 - отношение величины максимального оседания земной поверхности к величине прогиба кровли подземного сооружения при полной подработке и закончившемся процессе сдвижения.
2.49. Относительное максимальное горизонтальное сдвижение α0 - отношение максимального горизонтального сдвижения к максимальному оседанию при полной подработке и закончившемся процессе сдвижения.
2.50. Относительные перемещения основания сооружения - перемещения одних частей фундамента сооружения по отношению к другим.
2.51. Параметры сдвижения земной поверхности - величины, характеризующие процесс сдвижения земной поверхности, зависящие от горно-геологических условий строительства подземного сооружения.
К ним относятся:
а) относительные максимальные оседания;
б) относительные максимальные горизонтальные сдвижения;
в) максимальные значения наклонов, кривизны, горизонтальных деформаций, скорости оседания;
г) углы сдвижения;
д) граничные углы;
е) углы разрывов;
ж) углы полных сдвижений;
з) угол максимального оседания;
и) общая продолжительность процесса сдвижения и продолжительность периода опасных деформаций.
2.52. Поверхность скольжения - траектория, по которой движутся оползающие породы и разделяющая в условиях предельного равновесия области движения и покоя. Верхнюю (близкую к вертикальной) часть поверхности скольжения, в которой действуют растягивающие напряжения, называют поверхностью отрыва.
2.53. Полная серия наблюдений - комплекс наблюдений на наблюдательной станции, включающий измерения по реперам в вертикальной и горизонтальной плоскостях, а также определение положения трещин относительно границ горных выработок. На профильных линиях, расположенных в главных сечениях мульды сдвижения, полная серия наблюдений состоит из нивелирования реперов, измерения расстояния между ними и определения положения трещин.
2.54. Период опасных деформаций земной поверхности - период интенсивных сдвижений земной поверхности, в течение которого проявляется опасное влияние горных работ на сооружения и природные объекты. К интенсивным сдвижениям относятся сдвижения со скоростью оседания более 30 мм в месяц.
2.55. Предельные деформации земной поверхности (основания сооружений) - деформации, превышение которых может вызвать аварийное состояние сооружений, повлечь угрозу опасности для жизни людей.
2.56. Приоткосная зона - часть массива горных пород, непосредственно примыкающая к откосу, в которой распределение напряжений зависит от угла откоса и где располагается поверхность скольжения.
2.57. Профильная линия наблюдательной станции - прямая или ломаная линия, вдоль которой расположены реперы наблюдательной станции.
2.58. Провал - участок земной поверхности, подвергшийся обрушению под влиянием подземных горных работ.
2.59. Радиус кривизны мульды сдвижения (м) - величина, обратная кривизне мульды сдвижения.
В точках мульды различают радиусы кривизны:
в продольном направлении Rx;
в направлении, параллельном продольному Rx1;
в направлении, параллельном поперечному Ry1
в заданном направлении Rλ.
2.60. Расчетные сдвижения и деформации - величины сдвижений и деформаций, получаемые путем умножения ожидаемых или вероятных сдвижений и деформаций на коэффициенты перегрузки; применяются для разработки мер охраны зданий и сооружений.
2.61. Репер - знак, с фиксированной точкой (центром), закрепленный в грунте, сооружении или горной выработке для наблюдений за их сдвижением.
2.62. Рабочий репер - репер профильной линии, предназначенный для определения величин сдвижений земной поверхности, положение которого в пространстве определяется относительно опорных реперов профильной линии.
2.63. Репер глубинный - геодезический знак, основание которого устанавливается на скальные, полускальные или другие коренные практически несжимаемые грунты.
2.64. Репер грунтовый - геодезический знак, основание которого устанавливается ниже глубины сезонного промерзания или перемещения грунта.
2.65. Репер стенной - геодезический знак, устанавливаемый на несущих конструкциях зданий и сооружений.
2.66. Опорный знак - знак, практически неподвижный в горизонтальной плоскости, относительно которого определяются сдвиги и крены фундаментов зданий или сооружений.
2.67. Центрировочное устройство - устройство на опорном знаке для многократной установки геодезических инструментов в одном и том же положении.
2.68. Ориентирный знак - знак, служащий для обеспечения исходного ориентирного направления при измерении сдвигов и кренов фундаментов зданий и сооружений.
2.69. Специальная наблюдательная станция - наблюдательная станция, заложенная в целях детального изучения отдельных вопросов сдвижения горных пород и земной поверхности: по взаимосвязи деформаций сооружения и основания (грунта), по влиянию деформаций подработанной толщи и земной поверхности на фильтрацию из водных объектов в горные выработки и других вопросов.
2.70. Сосредоточенные деформации - деформации (горизонтальные и вертикальные) на небольших (до 5 м) интервалах мульды сдвижения, резко превышающие соответствующие деформации на смежных таких же интервалах; на участках сосредоточенных деформаций обычно возникают трещины, ступени и уступы. При образовании ступени участок у края трещины, расположенный ближе к точке максимального оседания, оседает больше, чем расположенный дальше от этой точки. При образовании уступа - наоборот.
2.71. Расслоение горных пород - последовательное отделение от толщи слоев пород и перемещение их в сторону выработанного пространства без нарушения слоистости.
2.72. Смежные выработки - выработки, имеющие общую границу или разделенные целиком такого размера, при котором происходит активизация сдвижения горных пород и земной поверхности.
2.73. Сдвижение горных пород - перемещение и деформирование массива горных пород в результате нарушения их естественного равновесия при строительстве подземных сооружений.
2.74. Сдвижение земной поверхности - перемещение и деформирование земной поверхности в результате сдвижения массива горных пород при строительстве подземных сооружений.
2.75. Типовая наблюдательная станция - наблюдательная станция на земной поверхности, заложенная в целях получения основных параметров сдвижения при строительстве подземных сооружений в типовых горно-геологических условиях. Продолжительность существования станций от одного года (на рядовых) до нескольких десятков лет (на долговременных).
2.76. Точность измерений - качество измерений, отражающее близость их результатов к истинному значению измеряемой величины. Погрешность измерений - отклонение результата измерения от истинного значения измеряемой величины.
2.77. Углы сдвижения - внешние относительно выработанного пространства углы, образованные на вертикальных разрезах по главным сечениям мульды сдвижения при полной подработке горизонтальными линиями и линиями, соединяющими границу выработки с границей зоны опасного влияния на земной поверхности.
2.78. Угол максимального оседания в (град) - острый угол, образованный на вертикальном разрезе в главном сечении мульды сдвижения горизонтальной линией и линией, соединяющей середину подземного сооружения с точкой максимального оседания при неполной подработке земной поверхности.
2.79. Углы полных сдвижений - внутренние относительно выработанного пространства углы, образованные на вертикальных разрезах (по главным сечениям мульды) основанием подземного сооружения и линиями, соединяющими границы выработки с границами плоского дна мульды сдвижения.
2.80. Углы разрывов - внешние относительно выработанного пространства углы, образованные на вертикальных разрезах по главным сечениям мульды горизонтальными линиями и линиями, соединяющими границы выработки с ближайшими к границам мульды сдвижения трещинами на земной поверхности.
2.81. Управление устойчивостью горных выработок, котлованов и подземных сооружений - сохранение допустимого значения коэффициента запаса устойчивости в течение срока их службы.
2.82. Устойчивость - способность горных выработок и подземных сооружений сопротивляться силам, вызывающим нарушение равновесия.
2.83. Фильтрационный выпор - нарушение устойчивости подтопленных песчаных откосов, при котором приходит в движение некоторый его объем. Суффозия - вынос мелких минеральных частиц и растворенных веществ водой, фильтрующейся в толще горных пород.
2.84. Частотные наблюдения - часто повторяемые серии наблюдений на профильных линиях с промежутками во времени не более одного месяца в целях определения отдельных параметров сдвижения.
2.85. Щелемер - приспособление для измерения величины развития трещин по трем направлениям.
3. ИСХОДНЫЕ ДАННЫЕ И ИХ КЛАССИФИКАЦИЯ
3.1. Оценка и прогноз геомеханического состояния горных пород при составлении проекта наблюдательной станции должны производиться на основании исходных данных, перечисленных в табл. 1.
3.2. При описании горно- и гидрогеологических условий строительства подземного сооружения указываются способ строительства (подземный или открытый), вид и последовательность возведения крепи. Глубина горных работ учитывается при оформлении документов на строительство сооружения. При глубине более 5 м оформляется горный отвод. Обводненность участка строительства оценивается притоком воды к сооружению в различные сезоны года. Особое внимание уделяется изучению местоположения глинистых слоев, обводненных песков и плывунов.
3.3. При составлении характеристики стратиграфического строения и тектоники района указываются мощность и состав наносов, чередуемость, состав и мощность отдельных слоев толщи пород, углы падения плоскостей сместителя и выходы их на земную поверхность, мощность и местоположение перемятых пород, сейсмичность района, наличие и местоположение поверхностей скольжения древних оползней и карстовых образований.
Классификация исходных данных
3.4. При описании основных элементов рельефа и гидрографической сети дается характеристика местности (равнинная, холмистая), приводятся данные о перепаде высот, о направлении и величине уклона местности, сведения о наличии в районе строительства рек, ручьев, прудов и оврагов, их местоположении и пропускной способности в различные периоды года.
3.5. При изучении физико-механических свойств грунтов определяются их плотностные, механические, деформационные и реологические характеристики, оценивается представительность (репрезентативность) полученных данных, указываются пределы колебаний показателей свойств и их средние значения.
3.6. При описании застройки территории указываются условия эксплуатации и назначение объектов, возможные последствия при нарушении этих условий, габариты зданий и сооружений, глубина залегания подземных коммуникаций, диаметр и материал труб, угол и направление уклона самотечных сетей и коллекторов. Описание иллюстрируется графическими материалами.
3.7. Подземное сооружение характеризуется его размерами, назначением, условиями эксплуатации, видом и материалом крепи, глубиной подземной и высотой наземной частей. Описание сопровождается планом и разрезами, на которых указывается местоположение подземного сооружения.
3.8. В пояснительной записке к проекту наблюдательной станции приводятся сведения о наличии пунктов государственной геодезической сети, а также знаков, установленных для целей строительства, материалы ранее выполненных работ по измерению деформаций и связь их с последующими работами, а также данные о системе координат и высотных отметок, если в них имеется необходимость.
4. УПРАВЛЕНИЕ ГЕО МЕХАНИЧЕСКИМ СОСТОЯНИЕМ МАССИВА ГОРНЫХ ПОРОД
4.1. Составлению проекта наблюдательной станции должны предшествовать оценка и прогноз геомеханического состояния породного массива в районе строительства подземного сооружения и в зоне его влияния на объекты, расположенные на земной поверхности и в толще пород.
4.2. Оценка геомеханического состояния до начала горных работ производится на основании геологических данных и инженерных изысканий, при этом основное внимание уделяется определению природного (естественного) поля напряжений, характеристике тектонических нарушений, трещиноватости, слоистости, водообильности, карстообразования и других особенностей массива.
4.3. Прогноз изменения геомеханического состояния породного массива под влиянием горных работ производится как для типовых условий строительства и эксплуатации подземного сооружения, так и для аварийных ситуаций (разрушение крепи выработок, прорывов в них плывунов, развитие карстовых образований, активизация древних оползней и т.д.). Он состоит из определения ожидаемых параметров развития геомеханических процессов, основными из которых являются:
размеры и местоположения зон сдвижения;
значения максимальных сдвижений и деформаций;
характер распределения деформаций в мульде сдвижения;
общая продолжительность процесса сдвижения и периода опасных деформаций.
4.4. При прогнозе геомеханического состояния следует учитывать, что при аварийных ситуациях в породном массиве может образовываться 15 зон, отличающихся по характеру и степени деформирования пород, а также по последствиям, которые возникают при попадании объектов в эти зоны (приложение 1).
4.5. Внешние границы мульды сдвижения на земной поверхности при подземном способе возведения сооружения следует определять по граничным углам, а внешние границы опасной ее части - по углам сдвижения. Значения этих углов зависят от свойств горных пород и определяются опытным путем. При отсутствии опытных данных значения граничных углов и углов сдвижения определяются по табл. 2. Углы разрывов принимаются на 10° круче углов сдвижения при f ≤ 1,5 и на 5° круче при f > 1,5.
Значения граничных углов δ0 и углов сдвижения δ в зависимости от коэффициентов крепости пород f по М.М. Протодьяконову
|
Значения коэффициента f |
Значения углов, град |
||
|
Среднее |
Предел изменения |
δ0 |
δ |
|
0,1 |
До 0,3 |
40 |
45 |
|
0,5 |
0,3 - 0,7 |
45 |
55 |
|
1,0 |
0,7 - 1,2 |
50 |
60 |
|
1,5 |
1,2 - 2,0 |
55 |
65 |
|
2,5 |
2,0 - 3,5 |
60 |
70 |
|
4,0 |
3,5 - 4,5 |
65 |
75 |
|
5,0 |
4,5 - 6,0 |
70 |
80 |
4.6. Значения ожидаемых максимальных сдвижений и деформаций земной поверхности при подземном способе возведения сооружений следует вычислять по формулам:
а) максимальное оседание земной поверхности
|
|
(1) |
где q0 - коэффициент, учитывающий характер затухания сдвижений от выработки к земной поверхности, колеблется для условий Московского региона в пределах от 0,7 до 0,9 (чем породы прочнее, тем q0 меньше);
m - величина прогиба кровли выработки;
n1 и n2 - коэффициенты подработанности, определяемые из выражений:
|
|
здесь D1 и D2 - поперечный и продольный размеры подземной выработки;
Н - глубина расположения выработки. При значениях D1 и D2 > 1 принимаются n1 и n2 = 1;
б) максимальный наклон
|
|
(2) |
где Сi - коэффициент, зависящий от горно-геологических условий строительства и эксплуатации подземного сооружения, определяется опытным путем. Значения Сi. колеблются в пределах от 1,4 до 1,8;
в) максимальная кривизна
|
|
(3) |
где Сk - коэффициент, зависящий от мощности наносов и других рыхлых отложений, определяется по результатам натурных наблюдений. Значения Сk колеблются в пределах от 3 до 4, при этом чем больше мощность наносов, тем больше значение Сk
г) максимальное горизонтальное сдвижение
|
|
(4) |
где Cξ - коэффициент, зависящий от мощности наносов и других рыхлых отложений, определяется по результатам натурных наблюдений. Значения Cξ колеблются в пределах от 0,3 до 0,4, при этом чем больше мощность наносов, тем больше значение Cξ;
д) максимальная горизонтальная деформация
|
|
(5) |
где Cε - коэффициент, зависящий от горно-геологических условий проведения и эксплуатации подземного сооружения и мощности наносов, определяется опытным путем. Значения Cε колеблются в пределах от 0,6 до 0,8, при этом чем больше мощность наносов, тем больше значение Cε.
4.7. Расчет ожидаемых сдвижений и деформаций в точках мульды сдвижения следует производить по формулам:
|
|
(6) |
|
|
(7) |
|
|
(8) |
|
|
(9) |
|
|
(10) |
где ηx, ix, Kx, ξx, и εx, - оседание, наклон, кривизна, горизонтальное сдвижение и относительная горизонтальная деформация в точке с абсциссой X (начало координат в точке максимального оседания) соответственно;
L - длина полумульды (часть мульды между границей и точкой максимального оседания), определяемая графически (рис. 1);
Z = X/L - относительная координата;
S(Z), Sʹʹ(Z), Sʹʹ(Z), F(Z), Fʹ(Z) - переменные коэффициенты (функциональные зависимости), отражающие характер распределения деформаций в мульде сдвижения. Численные значения этих коэффициентов находятся из анализа результатов натурных наблюдений. Усредненные значения указанных коэффициентов, необходимые для приближенных инженерных расчетов ожидаемых сдвижений и деформаций, приведены в табл. 3.
4.8. Общая продолжительность процесса сдвижения земной поверхности Тобщ над проводимой подземной выработкой рассчитывается по формуле
|
|
(11) |
где KТ - коэффициент, зависящий от механических свойств, литологических и других особенностей массива горных пород, определяется опытным путем. Его значения колеблются, как правило, в пределах от 1,5 до 2,5;
с - скорость подвигания забоя выработки, м/мес;
Период опасных деформаций также устанавливается опытным путем или рассчитывается по формуле
|
|
(12) |
где р - коэффициент, определяемый по табл. 4
4.9. При аварийных ситуациях следует учитывать, что в породном массиве, прилегающем к котлованам и поверхностным сооружениям, в пределах приоткосной зоны образуются поверхности скольжения, по которым происходят оползни. Размеры приоткосной зоны и местоположение наиболее вероятной поверхности скольжения могут быть определены по графикам рис. 2 и 3. Соотношение между размерами приоткосной зоны и местоположением наиболее вероятной поверхности скольжения показано на рис. 4.

Рис. 1. Основные параметры мульды сдвижения:
а - разрез поперек объекта (неполная подработка); б - разрез вдоль объекта (полная подработка)
Значения коэффициентов S(Z), Sʹ(Z), Sʹʹ(Z), F(Z), Fʹ(Z)
|
Z = X/L |
S(Z) |
Sʹ(Z) |
Sʹʹ(Z) |
F(Z) |
Fʹ(Z) |
||||||||||
|
при n ≥ 1 |
при n = 0,8 |
при n ≤ 0,6 |
при п ≥ 1 |
при n = 0,8 |
при n ≤ 0,6 |
при n ≥ 1 |
при n = 0,8 |
при n ≤ 0,6 |
при n ≥ 1 |
при n = 0,8 |
при n ≤ 0,6 |
при n ≥ 1 |
при n = 0,8 |
при n ≤ 0,6 |
|
|
0 |
1,00 |
1,00 |
1,00 |
0 |
0 |
0 |
0 |
-4,51 |
-8,60 |
0 |
0 |
0 |
0 |
-7,4 |
-9,4 |
|
0,1 |
0,99 |
0,98 |
0,96 |
-0,19 |
-0,48 |
-0,83 |
-2,10 |
-5,17 |
-7,83 |
0,19 |
0,73 |
0,91 |
-2,1 |
-7,0 |
-8,2 |
|
0,2 |
0,95 |
0,90 |
0,84 |
-0,56 |
-1,04 |
-1,25 |
-5,11 |
-6,07 |
-5,50 |
0,56 |
1,36 |
1,59 |
-5,1 |
-5,6 |
-5,2 |
|
0,3 |
0,86 |
0,77 |
0,66 |
-1,20 |
-1,63 |
-1,89 |
-7,25 |
-5,17 |
-1,91 |
1,20 |
1,83 |
1,90 |
-7,3 |
-3,0 |
-1,8 |
|
0,4 |
0,71 |
0,58 |
0,47 |
-1,89 |
-1,98 |
-1,89 |
-5,70 |
-1,55 |
1,79 |
1,89 |
1,91 |
1,85 |
-5,7 |
0,7 |
2,3 |
|
0,5 |
0,50 |
0,39 |
0,30 |
-2,20 |
-1,91 |
-1,57 |
0 |
3,01 |
4,33 |
2,20 |
1,67 |
1,49 |
0 |
3,9 |
4,3 |
|
0,6 |
0,29 |
0,22 |
0,16 |
-1,89 |
-1,44 |
-1,09 |
5,70 |
5,68 |
4,91 |
1,89 |
1,20 |
1,04 |
5,7 |
5,1 |
4,6 |
|
0,7 |
0,14 |
0,10 |
0,08 |
-1,20 |
-0,85 |
-0,64 |
7,25 |
5,45 |
3,97 |
1,20 |
0,71 |
0,62 |
7,3 |
4,4 |
3,7 |
|
0,8 |
0,08 |
0,04 |
0,03 |
-0,56 |
-0,41 |
-0,31 |
5,11 |
3,56 |
2,49 |
0,56 |
0,35 |
0,32 |
5,1 |
2,8 |
2,3 |
|
0,9 |
0,01 |
0,01 |
0,01 |
-0,19 |
-0,15 |
-0,11 |
2,10 |
1,50 |
1,10 |
0,19 |
0,13 |
0,12 |
2,1 |
1,2 |
1,1 |
|
1,0 |
0 |
0 |
0 |
0 |
0 |
0 |
0 |
0 |
0 |
0 |
0 |
0 |
0 |
0 |
0 |
Значение коэффициента р для определения периода опасных деформаций
|
η/Тобщ, мм/мес |
10 |
20 |
30 |
40 |
60 |
100 |
200 |
100 |
|
p |
0 |
од |
0,3 |
0,4 |
0,5 |
0,6 |
0,7 |
0,8 |

Рис. 2. Определение размеров приоткосной зоны

Рис. 3. Определение местоположения наиболее вероятной поверхности скольжения

Рис. 4. Соотношение между размерами приоткосной зоны и местоположением наиболее вероятной поверхности скольжения
А, В, С и D - четыре характерные точки, определяющие границу приоткосной зоны;
Вн - ширина приоткосной зоны на нижней площадке;
Вм.н - то же в приоткосном массиве на горизонте нижней площадки;
Вв - то же на верхней площадке;
Нг - глубина расположения приоткосной зоны от нижней бровки;
β - угол откоса котлована, град;
Н - глубина котлована, м;
Аʹ, Вʹ, C', Dʹ и Eʹ - характерные точки, определяющие местонахождение наиболее вероятной поверхности скольжения;
в - расстояние от верхней бровки до поверхности скольжения;
hот - высота вертикального отрыва;
вм.н - расстояние от нижней бровки до поверхности скольжения на горизонте нижней площадки в глубь массива;
вн - расстояние от нижней бровки до выхода поверхности скольжения на нижнюю площадку;
hг - глубина расположения поверхности от нижней бровки уступа.
5. НАБЛЮДЕНИЯ ЗА РАЗВИТИЕМ ДЕФОРМАЦИОННЫХ ПРОЦЕССОВ В ТОЛЩЕ ПОРОД, НА ЗЕМНОЙ ПОВЕРХНОСТИ И В СООРУЖЕНИЯХ
5.1. Инструментальные наблюдения за сдвижением земной поверхности и расположенными на ней объектами при строительстве в Москве подземных сооружений производятся в целях получения оперативной информации об изменении геомеханического состояния породного массива, на основании которой можно своевременно принимать необходимые профилактические и защитные меры. Одновременно полученная информация используется для решения задач, приведенных в разделе 1.
5.2. Инструментальные наблюдения за сдвижением земной поверхности и сооружений следует проводить на наблюдательных станциях, состоящих из системы реперов, закладываемых в грунт и в конструкции сооружений, а за сдвижением толщи горных пород - по глубинным реперам, закладываемым в скважины. На застроенных территориях для исключения возможности повреждений подземных коммуникаций места закладки реперов должны согласовываться с органами исполнительной власти. Закладка реперов и начальные наблюдения на них должны проводиться до начала горных работ. Схема наблюдательной станции приведена в приложении 2.
5.3. Закладка наблюдательной станции и наблюдения на ней производятся по специальному проекту, состоящему из графической части и пояснительной записки. Графическая часть включает план наблюдательной станции в масштабе 1:500, 1:1000 или 1:2000 (в зависимости от размеров выработанного пространства и контролируемой территории), геологические разрезы по профильным линиям (в том же масштабе, что и план станции) и чертежи конструкции реперов. На план наносятся: рельеф земной поверхности, проектируемые и существующие подземные сооружения, выходы под наносы тектонических нарушений, местоположение плывунов и карстов, глинистых прослойков, расположение зданий, сооружений и подземных коммуникаций, профильные линии и все реперы, как грунтовые и глубинные, так и закладываемые в здания и сооружения.
Геологические разрезы следует составлять на основании данных, полученных на ближайших к подземному сооружению скважинах. Особое внимание должно уделяться мощности наносов и меловых отложений, местоположению карстов, плывунов и тектонических нарушений. На разрез наносят все рабочие, опорные и глубинные реперы.
В пояснительной записке указывается цель наблюдений, приводится краткая геологическая и горнотехническая характеристика участка, обосновываются конструкция наблюдательной станции, ее местоположение, число и направление профильных линий, их длины, интервалы между реперами, число реперов и количество необходимых для закладки материалов (металл, цемент, песок и т.д.). Приводятся методика и периодичность наблюдений с соответствующим обоснованием, способ привязки станции к опорной геодезической сети и требуемая точность измерений.
5.4. Реперы наблюдательной станции закладываются по профильным линиям, перпендикулярным простиранию подземных сооружений или борту котлована. На профильной линии располагаются рабочие и опорные реперы (см. приложение 2).
Длины профильных линий определяются графически с использованием угловых или линейных параметров. Рабочая часть профильной линии устанавливается при открытом способе строительства подземного сооружения равной размеру приоткосной зоны, а при подземном способе строительства - пересечением земной поверхности линиями, проведенными от нижней границы проектируемого сооружения под граничными углами. Размеры приоткосной зоны в типовых условиях следует принимать равными глубине котлована Н. При сложных условиях залегания грунтов они могут быть определены по формуле
П.з. = 1,3Н.
С обоих концов профильной линии следует закладывать по два или три опорных репера на расстояниях 50 и 100 м или 30, 60 и 90 м от крайних рабочих реперов соответственно. Опорные реперы должны находиться за пределами зон возможного сдвижения и привязываться к исходным реперам нивелирной сети.
Одновременно с разбивкой наблюдательной станции должны намечаться места для закладки трех исходных реперов, с помощью которых в дальнейшем будет определяться положение опорных реперов профильной линии по высоте и контролироваться их неподвижность. Они должны закладываться в таких местах, где обеспечивается их стабильное положение на время существования наблюдательной станции. Исходными реперами могут служить также пункты маркшейдерской опорной геодезической сети, если обеспечивается их неподвижность и они расположены на небольшом удалении от станции.
Расстояние между рабочими реперами следует принимать равным 5 - 10 м в зависимости от размеров мульды сдвижения и характера застроенности территории. Оптимальное число реперов на каждой профильной линии составляет при подземном способе строительства сооружений - 20, при открытом способе строительства подземных сооружений - 10.
Для наблюдений за отдельными зданиями и сооружениями, попадающими в зону влияния горных работ, должны закладываться стенные реперы в соответствии с рекомендациями, приведенными далее, а также грунтовые реперы, располагаемые вдоль стен зданий напротив стенных реперов, на расстоянии 2 - 3 м от фундамента.
Когда в зону влияния подземного сооружения попадает комплекс зданий, для наблюдений следует выбирать наиболее представительные из них по типу, значимости, чувствительности к деформациям, расположению в мульде сдвижения и т.п. Одновременно с закладкой стенных и грунтовых реперов на наблюдательных объектах должны закладываться профильные линии по определенным направлениям (вдоль улиц, осей расположения объектов и т.д.), при этом направление профильных линий должно максимально приближаться к направлению продольных или поперечных осей подземного сооружения.
5.5. Разбивку наблюдательной станции (перенесение проекта в натуру) следует производить инструментально с помощью теодолита и рулетки. Места закладки реперов обозначают колышками или другими способами. Отклонения реперов от створа не должны превышать 5 см.
5.6. После разбивки наблюдательной станции закладываются реперы, конструкция которых и способ их закладки в грунт должны обеспечивать: их сохранность на весь срок службы наблюдательной станции; защиту от влияния промерзания и от внешних повреждений; прочную связь с грунтом, при которой сдвижение грунта вызывает такое же сдвижение реперов; удобство наблюдений за их сдвижением в вертикальной и горизонтальной плоскостях. Наиболее удобны и просты в исполнении грунтовые реперы, изготовленные из металлических стержней диаметром не менее 20 мм, металлических трубок диаметром не менее 30 мм или из обрезков рельсов. Верхние концы обрезков обтачиваются до полусферы, а в центре их высверливаются углубления диаметром 1 - 2 мм и глубиной 5 - 7 мм. К верхнему концу металлической трубки, используемой в качестве репера, приваривают металлическую головку, обточенную до полусферы, с высверленным отверстием указанных размеров.
Допускаются к применению и другие конструкции реперов, приведенные в СНиП 3.01.03-84 «Геодезические работы в строительстве» и в других действующих документах и не противоречащие ГОСТам и СНиПам.
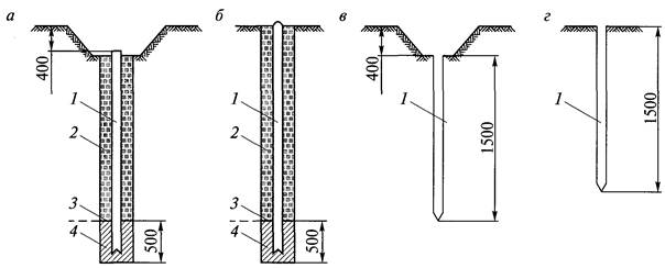
5.7. Реперы следует закладывать в скважины диаметром 150 - 170 мм или в специально подготовленные котлованы. Глубина закладки реперов должна быть такой, чтобы их нижний конец располагался на расстоянии не менее 0,5 м от границы промерзания грунта. Часть репера, расположенная ниже горизонта промерзания бетонируется, а выше - засыпается сухим плотным грунтом (рис. 5, а, б).
На участках, где при движении транспорта, ремонтных или других работах реперы могут быть повреждены, верхняя часть их заглубляется на 20 - 40 см ниже поверхности земли. В местах, где повреждение реперов исключается, их можно закладывать выступающими на 2 - 3 см над земной поверхностью. В качестве рабочих реперов допускается использовать забивные металлические стержни длиной не менее 1500 мм (рис. 5, в, г). В этом случае центры наносят с помощью ручного сверла или керна после забивки репера в грунт.
5.8. Наблюдения за сдвижением земной поверхности, а также за деформациями различных объектов, попадающих в зону влияния подземного сооружения, заключаются в инструментальном определении на разные даты положения реперов наблюдательных станций с одновременным фиксированием видимых нарушений, а также всех факторов, влияющих на величины и характер сдвижений и деформаций. Периодичность наблюдений следует устанавливать в зависимости от степени приближения вертикальных деформаций к критическим для различных грунтов оснований и типов зданий и сооружений.

Рис. 5. Конструкции реперов наблюдательных станций: бетонированные: а - заглубленные, б - незаглубленные; забивные: в - заглубленные, г - незаглубленные;
1 - металлический стержень; 2 - сухая плотная
засыпка;
3 - граница сезонного промерзания; 4 - бетон
По данным натурных наблюдений за оползнями критические значения относительных деформаций составляют: вертикальных - 0,01 - 0,02; горизонтальных - 0,001 - 0,005.
Периодичность наблюдений зависит от скорости вертикального смещения.
5.9. Геодезическими методами и приборами по наблюдательным реперам измеряют вертикальные и горизонтальные перемещения земной поверхности и при необходимости дна котлована.
|
Скорость смещения, мм/сут |
1 |
2 |
5 |
10 |
20 |
|
Периодичность наблюдений, дни |
75 |
40 |
15 |
7 |
Ежедневно |
При появлении трещин на земной поверхности в пределах при-откосной зоны необходимо организовать дополнительные систематические наблюдения за их развитием по протяженности, ширине и глубине.
Сдвижение реперов в вертикальной плоскости следует определять путем периодически проводимого нивелирования, а в горизонтальной плоскости - путем измерения расстояния между реперами по всем профильным линиям наблюдательной станции.
Перед началом наблюдений должна быть произведена привязка (определение координат х, у, z) всех опорных реперов профильных линий наблюдательной станции к ближайшим пунктам полигонометрии и триангуляции.
Система координат пунктов, от которых производят привязку станции, должна соответствовать принятой для подземной съемки.
Нивелирование может производиться в одном направлении замкнутыми ходами, когда с обеих сторон профильной линии имеются опорные реперы, или висячими ходами в прямом и обратном направлениях.
Расстояния между реперами профильных линий следует измерять стальными компарированными рулетками при постоянном натяжении силой, равной 10 кг. Вынос центров заглубленных реперов производят с помощью жестких отвесов. При измерении длин должна измеряться температура воздуха с точностью до Г в целях внесения в расчет поправки на перепад температуры.
Расстояние между реперами профильных линий измеряют в прямом и обратном направлениях. Разброс значений непосредственно измеренной длины интервала (средних величин из трех отсчетов) не должен превышать 2 мм.
Различие между значениями горизонтальных расстояний, замеренных между крайними реперами (профильной линии), при прямом и обратном ходах не должно превышать 1:10 000 длины профильной линии.
При измерениях следует контролировать отклонение промежуточных реперов от створа. Если это отклонение превышает 10 см, то измеряют отклонения всех реперов от данного створа для введения соответствующих поправок. При этом нужно фиксировать направление отклонения - «вправо», «влево».
5.10. Высотную привязку опорных реперов наблюдательной станции следует производить от реперов и пунктов нивелирной сети. Для нивелирования можно применять нивелиры любого типа с трубой, имеющей увеличение не менее 30-кратной. Цена деления цилиндрического уровня должна быть не более 15" на 2 мм, контактного - не более 30" на 2 мм.
Рейки следует применять с круглыми уровнями, трехметровые, двухсторонние, шашечные, с ценой деления, равной 1 см, или штриховые, трехметровые, односторонние рейки с двумя шкалами. Не разрешается применять раздвижные или складные рейки.
При передаче высотных отметок на опорные реперы нивелирование должно производиться из середины (при расстоянии от инструмента до реек не более 75 м и отклонении от прямой в ту или другую сторону не более 2 м) в такой последовательности:
1) отсчет по черной стороне (по основной шкале) задней рейки;
2) отсчет по черной стороне (по основной шкале) передней рейки;
3) отсчет по красной стороне (по дополнительной шкале) передней рейки;
4) отсчет по красной стороне (по дополнительной шкале) задней рейки.
При этом допускается брать отсчеты только по средней нити. Различие между суммарными значениями превышений в пределах расчетного участка при прямом и обратном ходах (в мм) не должно превышать:
|
|
где L - длина хода в одном направлении (в км).
Нивелирование реперов наблюдательной станции должно производиться из середины между связующими реперами. Неравенство расстояний от нивелира до связующих реперов не должно превышать 2 м.
Отсчеты по промежуточным реперам берут так же, как и по связующим, - по двум сторонам или по двум шкалам, по средней нити.
Порядок наблюдений при каждой установке инструмента сохраняется тот же, что и при передаче высотных отметок на опорные реперы.
Кроме того, следует производить:
1) отсчеты по черной и красной сторонам (по основной и дополнительным шкалам) задней рейки, устанавливаемой на промежуточных реперах;
2) контрольный отсчет по черной стороне (по основной шкале) передней рейки.
Различие между величинами превышений в пределах отдельного интервала наблюдательной станции, полученных по черным и красным сторонам реек (по основным и дополнительным шкалам), не должно превышать 3 мм.
Перед началом работ должны быть произведены все поверки нивелира. Особое внимание нужно обратить на сведение к минимуму непараллельности визирной оси трубы и оси цилиндрического уровня. В дальнейшем поверку непараллельности указанных осей выполняют ежедневно перед началом нивелирования. Уровни на рейках также проверяют ежедневно перед началом работ.
5.11. Горизонтальные расстояния между реперами профильной линии следует вычислять в специальном журнале с учетом поправок за температуру Δl1 за компарирование Δl2 и за провес ленты рулетки Δl3 по формуле
|
ΣΔl = Δl1 + Δl2 + Δl3, |
где ΣΔl - суммарная поправка;
|
ΣΔl1 = lk(t - tk), |
здесь l - длина измеренной линии, м;
k - коэффициент линейного расширения ленты рулетки (для стали k = 0,0000115);
t - температура воздуха на момент измерения, °С;
tk - температура при компарировании, °С;
Δl2 - поправка за компарирование, принимаемая согласно данным, приведенным в паспорте (свидетельстве) компарирования рулетки.
|
|
здесь ΔL - поправка за провес на всю длину рулетки, вычисляемая по формуле
|
|
L - длина всей рулетки;
l - измеренная длина интервала;
s - стрела провеса всей рулетки.
Поправку за провес ленты рулетки можно не вводить, если начальное измерение и все последующие производят одной и той же рулеткой при одном и том же натяжении и если интервалы измеряют непосредственно между реперами, без промежуточных точек.
5.12. Измерения на наблюдательной станции могут быть начаты не ранее чем через семь дней после закладки опорных реперов и не ранее трех дней после закладки рабочих, забивных реперов.
Начальное положение реперов следует определять по среднеарифметическому значению, по двум сериям наблюдений, проводимых до начала влияния горных работ на наблюдательную станцию. Разрыв во времени между двумя сериями наблюдений не должен превышать трех дней.
Последующие наблюдения должны проводиться в период непосредственной подработки наблюдательной станции с интервалом, устанавливаемым в зависимости от прогнозируемой скорости сдвижения.
Одновременно с инструментальными наблюдениями на земной поверхности необходимо проводить маркшейдерские наблюдения непосредственно в подземном сооружении.
По материалам вычислений и геолого-маркшейдерской документации составляют технический отчет, содержащий:
1) совмещенный план наблюдательной станции и подземного сооружения;
2) вертикальные геологические разрезы по профильным линиям;
3) ведомости сдвижений реперов в вертикальной и горизонтальной плоскостях по направлению профильной линии, а также ведомости скоростей смещения реперов (приложение 3);
4) ведомости оседаний реперов и измеренных длин интервалов между ними с указанием даты наблюдений.
5.13. По представленным материалам наблюдений по каждому из реперов следует вычислять оседания земной поверхности, в мм, - разности высотных отметок в начальной (H0) и последующих (Hm сериях наблюдений
|
η = Hm - H0. |
Кроме того, по всем расчетным интервалам между реперами наблюдательной станции последовательно вычисляют:
1) наклоны, мм/м,
|
|
ηm, ηm-1 - величины оседаний т-то и m - 1 реперов, мм, соответственно;
l - длина интервала между рассматриваемыми реперами по данным начального наблюдения, м;
2) кривизну, 1/м,
|
|
где in, in-1 - величины наклонов n-го и n - 1 интервалов между реперами;
3) радиус кривизны, м,
|
|
4) горизонтальные деформации
|
|
где lk, l0 - приведенные длины интервалов между реперами из последующего (k-го) и начального наблюдений.
5.14. По полученным величинам η, i, K (или R) и ε должны строиться графики вертикальных и горизонтальных деформаций по всем профильным линиям наблюдательной станции. По графикам определяют характерные точки мульды сдвижения относительно границ подземного сооружения:
а) границы зоны влияния (по оседаниям η = 10 мм; наклонам i = 0,5⋅10-3 и растяжениям ε = 0,5⋅10-3);
б) точки с максимальными растяжениями и сжатиями, εmах;
в) точки с максимальными наклонами imах;
г) точки с максимальной кривизной Kmax (минимальным радиусом Rmax);
д) участки земной поверхности, на которых образовались сосредоточенные деформации в виде трещин, ступеней и уступов.
5.15. Для определения участков земной поверхности, на которых начинают образовываться сосредоточенные деформации в виде трещин, ступеней и уступов, но размеры которых еще невелики и визуально не прослеживаются, вычисления деформаций следует производить при различных расстояниях между реперами по следующим формулам:
|
|
где вт, hc и hy - вероятные ширина трещин, высота ступеней и уступов, которые образовались на наблюдаемом участке земной поверхности;
εф, iф(c), iф(y) - фактические горизонтальные деформации и наклоны кривой мульды сдвижения на участках между трещинами (εф), ступенями (iф(c)) и уступами (iф(c));
ε1, и i1 - горизонтальные деформации и наклоны, полученные в результате измерений при расстоянии между реперами l1;
ε2, и i2 - горизонтальные деформации и наклоны, вычисленные при расстоянии между реперами l1 + l2 (рис. 6).
На интервалах, где величины вт, hc или hy получаются больше 2 см, а значения εф εф или iф(с) существенно (в 2 - 3 раза) меньше измеренных наклонов или iф(y) - больше измеренных наклонов на интервале l1 (или имеет противоположный измеренному знак), следует ожидать образования сосредоточенных деформаций. В целях установления местоположения этих деформаций на интервале l1 закладываются дополнительные реперы с расстоянием между ними l1/4, l1/3 или l1/2, на которых проводят частотные наблюдения. На основании этих наблюдений по той же методике определяют концентрацию деформаций на более коротких интервалах, которые при необходимости делятся потом еще на более короткие.

Рис. 6. Виды сосредоточенных деформаций
земной поверхности:
а
- ступени; б - уступы; в -
трещины
5.16. Наблюдения за зданиями, сооружениями, коммуникациями и другими объектами, попадающими в зону влияния подземного сооружения, должны проводиться по программе, отвечающей требованиям, приведенным в Приложении 3 к ГОСТ 24846-81 «Грунты. Методы измерения деформаций основания зданий и сооружений», утвержденному Постановлением Государственного комитета СССР по делам строительства от 17 июня 1981 г. (М., 1981), именуемому далее ГОСТ 24846-81, в целях:
определения абсолютных и относительных величин деформаций и сравнения их с расчетными;
выявления причин возникновения и степени опасности деформаций для нормальной эксплуатации объектов, принятия своевременных мер по борьбе с возникающими деформациями, предотвращению возможных последствий или устранению их;
установления наличия, местоположения и величин зависания фундамента над опустившимся под влиянием подземного сооружения грунтом;
получения необходимых характеристик устойчивости оснований и фундаментов;
уточнения расчетных данных физико-механических характеристик грунтов; уточнения методов расчета и установления допустимых и предельных величин деформаций для различных грунтов оснований, типов и конструкций зданий, сооружений и технологического оборудования.
5.17. При наблюдениях за зданиями следует определять неравномерность оседаний фундаментов, фиксировать трещины и другие повреждения конструкций, надежность узлов их опирания, наличие необходимых зазоров в швах и шарнирных опорах. В промышленных зданиях должны определяться также относительные горизонтальные перемещения отдельно стоящих фундаментов колонн, наклоны фундаментов технологического оборудования, а при наличии мостовых кранов - отклонения от проектного положения подкрановых путей: поперечный и продольный уклоны, изменение ширины колеи и приближение крана к строениям.
5.18. Измерения деформаций оснований зданий и сооружений следует проводить в течение всего периода строительства и эксплуатации подземного сооружения до достижения условной стабилизации деформаций, устанавливаемой проектной или эксплуатирующей организацией на основании результатов инструментальных наблюдений.
5.19. В процессе измерений деформаций оснований фундаментов должны быть определены (отдельно или совместно) величины:
вертикальных перемещений (осадок, просадок, подъемов);
горизонтальных перемещений (сдвигов);
кренов.
5.20. Методы измерений вертикальных и горизонтальных перемещений и определения крена фундамента следует устанавливать в зависимости от требуемой точности измерений, конструктивных особенностей фундамента, инженерно-геологической и гидрогеологической характеристик грунтов основания, возможности применения и экономической целесообразности методов в данных условиях. Предварительное определение точности измерения вертикальных и горизонтальных деформаций выполняют в зависимости от ожидаемых величин перемещения в соответствии с ГОСТ 24846-81.
5.21. Реперы в бескаркасных зданиях следует закладывать в несущие стены и пилястры по всему наружному периметру через 6 - 12 м. На каждой стороне здания в пределах отсека должно быть не менее трех реперов. В каркасных зданиях реперы закладывают в колонны. У деформационного шва, а также над предполагаемым участком сосредоточенных деформаций (уступами, ступенями, трещинами) реперы закладывают по обе стороны от них (рис. 7).
Конструкция стенных реперов и способ их закладки (рис. 8) должны обеспечивать удобство проведения наблюдений, прочную связь со стеной и колонной, надежную сохранность реперов на период наблюдений.

Рис. 7. План размещения реперов в
зданиях:
а
- каркасных; б - бескаркасных; колонны:
1 - фахверковая; 2 - основная; 3 - репер; оси здания (в
кружках):
А - В - продольные; 1 - 7 поперечные

Рис. 8. Конструкция стенных реперов:
а
- с заделкой в стене; б - с дюбелем, забиваемым строительно-монтажным
пистолетом;
в - на металлоконструкциях; г - при необходимости измерения
взаимно перпендикулярных расстояний между колоннами;
1 - репер; 2 - дюбель (D = 10 мм); 3 - головка репера;
4 - металлоконструкция
5.22. Относительные горизонтальные перемещения отдельно стоящих фундаментов колонн определяют по результатам измерения расстояний между реперами. Измерения производят стальной компарированной рулеткой с динамометром для контроля натяжения. У деформационного шва измерения производят штангенциркулем или с помощью специальных шаблонов, оснащенных индикаторами часового типа или микрометрическими головками.
5.23. Для непосредственного измерения ширины раскрытия трещин следует применять измерительный клин, щуп с набором пластин различной толщины, отсчетный микроскоп, штангенциркуль или стальную линейку, прозрачный трафарет с нанесенными на нем линиями различной толщины. Для наблюдений за изменением ширины раскрытия трещин устанавливают маяки из гипса или цементно-песчаного раствора.
В недоступных местах трещины измеряют с помощью приборов для дистанционного измерения трещин, методами фотограмметрии или фотофиксации.
5.24. Наклоны фундаментов технологического оборудования должны определяться в двух взаимно перпендикулярных направлениях. Для этой цели по углам фундамента закладывают четыре репера. В качестве реперов могут быть использованы выступающие части анкерных болтов. Наклоны фундамента в направлении створа какой-либо пары реперов определяют по разности оседаний этих реперов.
5.25. Поперечный и продольный уклоны подкранового пути следует определять по результатам нивелирования. Нивелируют с помощью специальной рейки, подвешиваемой на подкрановый рельс при расположении нивелира на полу, или с помощью рейки длиной 1,5 м при расположении нивелира на кране. Рейку устанавливают на подкрановые рельсы в местах опирания подкрановых балок на колонны.
Измерение ширины колеи подкрановых путей производят стальной компарированной рулеткой, шаблонами или специальными механическими приборами, домеряющими расстояние от базисных точек на кране до головок рельсов.
5.26. Наблюдения за высотными сооружениями, и в частности дымовыми трубами, заключаются в определении их наклона с помощью теодолита с постоянных (закрепленных на местности) точек, расположенных на взаимно перпендикулярных прямых, путем совмещения проекции центра верхнего сечения с центром нижнего, в соответствии с Руководством по определению кренов инженерных сооружений башенного типа геодезическими методами (М.: Стройиздат, 1981).
Наклоны и кривизна ствола трубы могут быть определены также фотограмметрическим методом: съемкой фототеодолитом или универсальной фотографической камерой (например, УМК-100) с последующим измерением снимка на стереокомпараторе по методике, изложенной в Руководстве по наблюдениям за осадками и смещениями инженерных сооружений фотограмметрическими методами (М.: Недра, 1979).
5.27. При наблюдениях за транспортерными галереями и надземными трубопроводами эстакадной прокладки следует устанавливать неравномерность оседаний и горизонтальных перемещений фундаментов опор вдоль оси эстакады, а также наличие необходимой подвижности и величину подвижек пролетных строений или трубопроводов на опорах. Подвижки измеряют металлической линейкой по специальным меткам, нанесенным на пролетное строение или трубу и опору.
5.28. При наблюдениях за подземными трубопроводами и коммуникационными тоннелями должно определяться их напряженно-деформированное состояние.
Для этого следует производить:
для стальных напорных трубопроводов - измерение деформаций трубы в отдельных точках, вычисление напряжений в них и проверку условий прочности;
для секционных трубопроводов - измерение подвижек стыковых соединений и проверку условий самотечности;
для самотечных трубопроводов - нивелировку дна лотков и трубопроводов и проверку условий самотечности;
для коммуникационных тоннелей - фиксацию трещин и повреждений гидроизоляции.
5.29. Измерение деформаций стального напорного трубопровода следует производить на прямолинейных участках трассы, где ожидаются максимальные горизонтальные деформации земной поверхности, а также уступы, ступени и трещины. Для удобства измерений устраивают колодцы или отрывают шурфы. На поверхность трубы на расстоянии замерной базы приваривают две пластины с запрессованными в них со стороны контакта с измерительным прибором стальными полированными шариками диаметром 5 - 6 мм. Измерения производят микрометрическим нутрометром или индикатором часового типа (цена деления 0,01 мм) с удлиненной базой (рис. 9). На период между наблюдениями контактные поверхности шариков должны быть защищены от коррозии смазкой.
Во всех измерениях ориентация измерительного прибора относительно замерной базы трубопровода должна быть одинаковой. Перед снятием отсчета измерительный прибор выдерживают на базе трубопровода до выравнивания их температур (15 - 30 мин), при этом защищают его от прямого попадания солнечных лучей. Признаком выравнивания температур является неизменность показаний прибора в течение 5 мин.
На магистральных трубопроводах, особенно в местах возможного проявления сосредоточенных деформаций, измерения производят на двух параллельных замерных базах, закрепленных на верхней и нижней сторонах трубопровода.
Одновременно с измерением деформаций трубопровода измеряют деформации земной поверхности в целях определения места и времени появления их максимальных значений. Для этой цели вдоль трубопровода на расстоянии 2 - 5 м от его оси закладывают профильную линию. Расстояния между реперами принимают в соответствии с рекомендациями п. 5.5 настоящей Инструкции.

Рис. 9. Индикаторный измеритель
деформаций:
1
- контактный наконечник; 2 - измерительный элемент; 3 - распорная
пружина;
4 - удлиняющий стержень
5.30. Напряжения а в стальном напорном трубопроводе (нормальные, действующие в продольном направлении) от совместного воздействия деформаций земной поверхности и изменения температуры следует вычислять по формуле
|
|
где Е - модуль упругости стали (0,2⋅10-6 МПа);
Δl - измеренная деформация трубопровода;
l - длина замерной базы;
ΔK - поправка за компарирование базы прибора, определяемая на компараторе (жестком стальном отрезке с соответствующей замерной базой) как разность между отсчетами в начальном и каждом последующих наблюдениях;
α - коэффициент линейного расширения стали (1,2⋅10-5 °С-1);
Δt - изменение температуры трубы на момент измерения по сравнению с моментом замыкания системы после монтажа, °С.
Найденные напряжения для трубопроводов, стыковые соединения которых равнопрочны самим трубам, должны удовлетворять условию
|
|
где mc - коэффициент условий работы трубопровода, определяемый в зависимости от длины участка трубопровода, попадающего в зону влияния подземного сооружения, по табл. 5;
R - расчетное сопротивление материала трубы растяжению или сжатию;
Σσ0 - продольные нормальные напряжения от нагрузок, действующих в обычных условиях (≈ 50 МПа).
Коэффициент условий работы mc
|
Коэффициент |
Длина участка трубопровода, м |
||||
|
Менее 15 |
15 - 30 |
31 - 45 |
46 - 60 |
Более 60 |
|
|
mc |
1 |
0,85 |
0,70 |
0,60 |
0,50 |
5.31. Наблюдения за железнодорожными и трамвайными путями заключаются в нивелировании путей и определении их профиля по головкам рельсов через 10 - 15 м, проверке состояния стыковых соединений и измерении ширины колеи.
5.32. При наблюдении за железобетонными резервуарами следует определять интенсивность утечки воды и раскрытие трещин в элементах резервуаров и их стыках. Утечку воды устанавливают при отключенных трубопроводах с помощью датчиков уровня воды, например электрических.
Наличие трещин и величин их раскрытия (более 0,2 мм) фиксируют во время профилактических осмотров и при утечках, превышающих 3 л/сут с 1 м2 смачиваемой поверхности. Для фиксирования трещин применяют очки-бинокль или отсчетный микроскоп.
5.33. Для определения взаимосвязи деформаций грунта и сооружений напротив стенных реперов (в 2 - 3 м от фундамента) закладывают грунтовые реперы, измерения на которых производят одновременно со стенными.
5.34. При выборе методов измерения осадок, сдвигов и кренов сооружений, конструкций реперов и знаков, принадлежностей и приспособлений, применяемых при измерениях, а также форм заполнения полевых журналов и ведомостей следует пользоваться Руководством по наблюдениям за деформациями оснований фундаментов зданий и сооружений.: Стройиздат, 1975).
5.35. Результаты наблюдений следует оформлять в техническом отчете. В нем приводят план наблюдательной станции, основные строительные чертежи зданий и сооружений, попадающих в зону влияния подземного объекта, сведения о грунтах основания (угол внутреннего трения, сцепления), техническом состоянии (акты обследования) и балансовой стоимости зданий и сооружений.
Для подземных трубопроводов должны быть указаны следующие данные: назначение, внутреннее давление и температура, материал труб, диаметр, толщина стенок, характеристика стыковых соединений (компенсационная способность для секционных трубопроводов), глубина заложения, сведения о грунтах, уклон (для самотечных трубопроводов), год прокладки и балансовая стоимость.
Выявленные повреждения и деформации конструкций, вызванные влиянием подземного сооружения, и связанные с ними мероприятия и затраты должны отражаться в отчете в виде подробного описания, а также схем, фотографий, таблиц и графиков с необходимыми пояснениями, выводами и рекомендациями. Особое внимание следует уделять повреждениям на участках сосредоточенных деформаций. В отчете должна быть изложена принятая методика наблюдений с указанием использованных приборов и инструментов, приведен список исполнителей, проводивших наблюдения и составивших отчет.
6.1. При возведении подземного сооружения в Москве следует осуществлять мониторинг самого подземного сооружения, прилегающего к нему массива грунта, а также окружающих его объектов как на стадии возведения подземного сооружения, так и в период его эксплуатации.
6.2. Мониторинг подземного сооружения, прилегающего массива грунта и окружающих его зданий и сооружений проводится в соответствии с ранее разработанным проектом.
6.3. По функциональному назначению мониторинг состоит из нескольких блоков:
система наблюдений за надземными сооружениями вокруг проектируемого комплекса;
система наблюдений за деформациями конструкций проектируемого сооружения;
система наблюдений за состоянием окружающего массива грунта за пределами ограждающих конструкций подземного сооружения;
система наблюдений за существующими подземными сооружениями, в частности тоннелями метрополитена;
система стационарных режимных наблюдений за гидрогеологической средой на территории, прилегающей к строительному объекту.
6.4. Система наблюдений за окружающими подземное сооружение объектами (возможно имеющими историческое значение) состоит из маяков, установленных на трещинах, а также из деформационных марок, расположенных на фасадах здания, и грунтовых реперов, а также измерительной аппаратуры.
6.5. В процессе измерений деформаций оснований фундаментов должны быть определены (отдельно или совместно) величины:
вертикальных перемещений (осадок, просадок, подъемов);
горизонтальных перемещений (сдвигов);
кренов.
6.6. Наблюдения за деформациями оснований фундаментов следует производить в такой последовательности:
разработка программы измерений;
выбор конструкции, места расположения и установка исходных геодезических знаков высотной и плановой основы;
осуществление высотной и плановой привязки установленных исходных геодезических знаков;
установка деформационных марок на зданиях и сооружениях; инструментальные измерения величин вертикальных и горизонтальных перемещений и кренов;
обработка и анализ результатов наблюдений.
6.7. Метод измерений вертикальных и горизонтальных перемещений и определения крена фундамента следует устанавливать программой измерения деформаций в зависимости от требуемой точности измерения, конструктивных особенностей фундамента, инженерно-геологической и гидрогеологической характеристик грунтов основания, возможности применения и экономической целесообразности метода в данных условиях.
6.8. Предварительное определение точности измерения вертикальных и горизонтальных деформаций надлежит выполнять в зависимости от ожидаемой величины перемещения, установленной проектом, в соответствии с табл. 6.
На основании определенной по табл. 6 допускаемой погрешности устанавливается класс точности измерения вертикальных и горизонтальных перемещений фундаментов зданий и сооружений согласно табл. 7.
|
Расчетная величина вертикальных или горизонтальных перемещений, предусмотренная проектом, мм |
Допускаемая погрешность измерения для периода, мм |
|||
|
строительного |
эксплуатационного |
|||
|
Грунты |
||||
|
песчаные |
глинистые |
песчаные |
глинистые |
|
|
До 50 |
1 |
1 |
1 |
1 |
|
50 - 100 |
2 |
1 |
1 |
1 |
|
100 - 250 |
5 |
2 |
1 |
2 |
|
250 - 500 |
10 |
5 |
2 |
5 |
|
Свыше 500 |
15 |
10 |
5 |
10 |
При отсутствии данных по расчетным величинам деформаций оснований фундаментов класс точности измерения вертикальных и горизонтальных перемещений допускается устанавливать:
I - для зданий и сооружений: уникальных, длительное время (более 50 лет) находящихся в эксплуатации, возводимых на скальных и полускальных грунтах;
II - для зданий и сооружений, возводимых на песчаных, глинистых и других сжимаемых грунтах;
III - для зданий и сооружений, возводимых на насыпных, про-садочных, заторфованных и других сильно сжимаемых грунтах;
IV - для земляных сооружений.
Допускаемая погрешность измерения перемещений
|
Класс точности измерений |
Допускаемая погрешность измерения перемещений, мм |
|
|
вертикальных |
горизонтальных |
|
|
I |
1 |
2 |
|
II |
2 |
5 |
|
III |
5 |
10 |
|
IV |
10 |
15 |
Перед началом измерений вертикальных перемещений необходимо установить:
реперы - исходные геодезические знаки высотной основы (число реперов должно быть не менее трех);
деформационные марки - контрольные геодезические знаки, размещаемые на зданиях и сооружениях, для которых определяются вертикальные перемещения.
6.10. После установки репера на него должна быть передана высотная отметка от ближайших пунктов государственной или местного значения геодезической высотной сети. При значительном (более 2 км) удалении пунктов геодезической сети от устанавливаемых реперов допускается принимать условную систему высот.
6.11. При каждом репере должны быть обозначены наименование организации, установившей его, и порядковый номер знака. Установленные репера необходимо сдать на сохранение строительной или эксплуатирующей организации по актам.
6.12. В процессе измерения вертикальных деформаций следует контролировать устойчивость исходных реперов для каждого цикла наблюдений.
6.13. Деформационные марки для определения вертикальных перемещений устанавливаются в нижней части несущих конструкций по всему периметру здания (сооружения) внутри него, в том числе на углах, на стыках строительных блоков, по обе стороны осадочного или температурного шва, в местах примыкания продольных и поперечных стен, на поперечных стенах в местах пересечения их с продольной осью, на несущих колоннах, вокруг зон с большими динамическими нагрузками, на участках с неблагоприятными геологическими условиями.
6.14. Вертикальные перемещения оснований фундаментов следует измерять одним из следующих методов или их комбинированием: геометрическим, тригонометрическим или гидростатическим нивелированием, фотограмметрии.
6.15. Отдельные методы измерения вертикальных перемещений должны приниматься в зависимости от классов точности измерения, целесообразных для данного метода (в соответствии с ГОСТ 24846-81):
I - IV классы - метод геометрического нивелирования;
II - IV классы - метод тригонометрического нивелирования;
I - IV классы - метод гидростатического нивелирования;
II - IV классы - метод фотограмметрии.
6.16. Крен фундамента (или здания, сооружения в целом) следует измерять одним из следующих методов или их комбинированием: проецирования, координирования; измерения углов или направлений; фотограмметрии; механическими способами с применением креномеров, прямых и обратных отвесов.
6.17. Предельные погрешности измерения крена в зависимости от высоты Н наблюдаемого здания (сооружения) не должны превышать величины, мм, для:
0,0001H - гражданских зданий и сооружений;
0,0005H - промышленных зданий и сооружений, дымовых труб, мачт, башен и др.;
0,00001H- фундаментов под машины и агрегаты.
6.18. Систематическое наблюдение за развитием трещин следует проводить при появлении их в несущих конструкциях зданий и сооружений, с тем чтобы выяснить характер деформаций и степень опасности их для дальнейшей эксплуатации объекта.
6.19. При наблюдениях за развитием трещины по длине концы ее следует периодически фиксировать поперечными штрихами, нанесенными краской, рядом с которыми проставляется дата осмотра.
6.20. При наблюдениях за раскрытием трещин по ширине следует использовать измерительные или фиксирующие устройства, прикрепляемые к обеим сторонам трещины: маяки, щелемеры, рядом с которыми проставляются их номера и дата установки.
6.21. При ширине трещины более 1 мм необходимо измерять ее глубину.
6.22. Система наблюдений за состоянием окружающего грунта включает сеть грунтовых марок из знаков, которые представляют собой:
точки, накерненные на обечайках колодцев подземных коммуникаций, глубиной заложения от 2 до 4 м;
грунтовые стальные трубчатые марки глубиной заложения от 2 до 12 м;
кусты грунтовых реперов для наблюдений за послойными вертикальными перемещениями грунта на различных глубинах (глубина реперов от 10 до 30 м);
плитные марки.
6.23. Система наблюдений за конструкциями подземного сооружения состоит из:
а) подсистемы геодезического контроля, включающего:
измерения осадок ограждающих конструкций и колонн подземного сооружения;
измерения горизонтальных перемещений ограждающих конструкций подземного сооружения на разных уровнях по высоте;
измерения сближения ограждающих конструкций подземного сооружения с помощью светодальномера;
б) подсистемы деформационного контроля, состоящей из системы оперативного деформографического контроля в поперечных и продольных створах и инклинометрического контроля.
6.24. Для измерения деформаций в системе деформографического контроля используется аппаратурный комплекс АДК, в состав которого входят датчик-наклономер НИ-2 или деформограф-стрейн-сейсмограф со встроенным измерителем температуры, блок управления и цифровой вольтметр (например, В7-41 или аналогичный).
6.25. В системе инклинометрического контроля производятся непосредственные измерения наклона ограждающих конструкций подземного сооружения с помощью специального измерительного устройства, представляющего собой жесткую рейку длиной 2 м, на середине которой жестко установлен уровневый элемент.
6.26. Система стационарных наблюдений за гидрогеологической средой включает пробуренные на все водоносные горизонты гидрогеологические скважины, объединенные в кусты. Наблюдения за уровневым режимом проводятся путем замеров в скважинах хлопушкой. Кроме того, раз в квартал проводится отбор проб воды из скважин на химический анализ. Также с периодичностью один раз в квартал проводятся наблюдения за температурным режимом.
При аварийных ситуациях в породном массиве может образовываться 15 зон, отличающихся по характеру и степени деформирования пород, а также по последствиям, которые возникают при попадании объектов в эти зоны. На рис. 1 приведена схема расположения указанных зон при неблагоприятном развитии деформационных процессов в массиве, вмещающем подземные горные выработки и сооружения.
В зоне 1, расположенной непосредственно над выработкой, породы наиболее деформированы и разделены на отдельные куски и мелкие блоки. Она носит название зоны обрушения.
Зона 2, прилегающая к зоне обрушения, характеризуется развитием в прогибающихся породах нормально секущих трещин и трещин расслоения, разбивающих массив на крупные блоки и образующих систему сквозных водо- и газопроводящих каналов с малым аэро- и гидродинамическим сопротивлением, практически не оказывающими влияния на прохождение по каналам растворов и газов. Эта зона является зоной сквозных трещин.
В зоне 3 секущие трещины и трещины расслоения соединяются между собой по ломаным кривым и создают систему водо- и газопроводящих трещин со значительным аэро- и гидродинамическим сопротивлением, которое растет пропорционально удалению их от деформированной выработки. Она носит название зоны активных (фильтрующих) трещин.
В зоне 4 деформации растяжения, вызванные изгибом пород, достигают критических значений только в отдельных, наиболее слабых слоях, и потому трещины здесь имеют прерывный характер. Поскольку в этой зоне сквозной водо- и газопроводящей системы трещин не образуется, она называется зоной локальных трещин.
Рис. 1. Схема сдвижения горных пород над подземными сооружениями при нарушении их устойчивости
Зона 5, характеризующаяся прогибом пород без разрыва их сплошности, носит название зоны плавного прогиба.
Зоны 6 и 7 находятся в области повышенного горного давления, при этом в зоне 6 преобладают упругие деформации, в зоне 7 - неупругие (необратимые).
Зона 6 обычно называется зоной опорного давления, а зона 7 - зоной предельно напряженного состояния. В ней породы проходят все стадии деформирования - от значительного всестороннего сжатия на границе с зоной упругих деформаций до сильного разрыхления вблизи от обнажения, при этом основные необратимые деформации происходят по природным системам трещин, что сопровождается подвижками по поверхностям структурных элементов.
Перечисленные шесть зон находятся в подработанной толще пород, под которой понимается толща пород, расположенная выше горизонтальной плоскости, проведенной через продольную ось выработки. Толща пород, расположенная ниже этой плоскости, называется надработанной. Зона 7 распространяется как на подработанную, так и на надработанную толщу, но в основном она проявляется в боках выработки. В надработанной толще имеется пять зон (зона обрушения отсутствует), при этом зоны 8, 9, 10, 11 и 12 по своим качественным характеристикам соответствуют зонам 2, 3, 4, 5 и 6 подработанной толщи, но все зоны, образующиеся в надработанной толще, расположены ближе (примерно втрое) к выработке, чем в подработанной.
В прилегающем к земной поверхности слое (или пачке слоев, деформирующихся как одно целое) в результате изгиба образуются зоны растяжения и зоны сжатия. Зона 13 характеризуется максимальным растяжением у земной поверхности и постепенным затуханием его в глубину слоя. Зона 14, наоборот, - максимальным растяжением на нижней границе слоя и постепенным затуханием растяжений по мере приближения их к земной поверхности. В зоне 15 происходит сжатие слоя, при этом характер затухания сжатия здесь аналогичен таковому при растяжении.
В особо неблагоприятных условиях на земной поверхности могут образоваться провалы, террасообразные ступени и трещины. Наиболее вероятно образование провалов, когда глубина расположения обрушенной выработки Н не превышает величины, определяемой из выражения
|
|
(1) |
где D и h - ширина и высота обрушенной выработки;
X - коэффициент, зависящий от свойств горных пород, определяемый опытным путем. Обычно он колеблется в пределах от 0,8 до 1,2, при этом чем породы крепче, тем коэффициент λ меньше.
Провалы и воронки опоясываются, как правило, террасообразными ступенями и трещинами, внешняя граница которых при подземном способе возведения сооружения определяется углами разрывов. Ступени и трещины могут образоваться и при отсутствии провалов, когда деформации земной поверхности превышают критические значения. В Московском регионе деформации растяжения, при которых породы теряют сплошность, колеблются в пределах от 2⋅10-3 до 8⋅10-3, при этом чем больше в породах пластичных глинистых веществ, тем значения критических деформаций больше.

Рис.
2. Определение длин профильных линий при подземном способе строительства
сооружений:
а и
б - на плане и разрезе вдоль сооружения; в и г - на плане
и разрезе поперек сооружения;
I, II, III, IV, V, VI, VII, VIII - опорные реперы; 1, 2, 3,..., 40 - рабочие
реперы; АБ и ДЕ - зоны влияния подземного сооружения на земную поверхность, ВГ
и ЖИ - зоны возможного образования трещин

Рис. 3. Схема к составлению проекта наблюдательной станции при открытом способе строительства подземного сооружения
Наблюдательная станция № __
|
Номер профильной линии |
Номер репера |
1-е наблюдение, м 01.03.97 г. |
2-е наблюдение, м 01.04.97 г. |
1 - 2 мм |
3-е наблюдение, м 04.05.97 г. |
2 - 3 мм |
1 - 3 мм |
Последнее минус первое |
|
1 - 10 |
1 |
220,832 |
220,832 |
0 |
220,832 |
0 |
0 |
|
|
2 |
220,820 |
220,818 |
2 |
220,815 |
3 |
5 |
|
|
|
3 |
220,780 |
220,775 |
5 |
220,768 |
7 |
12 |
|
|
|
4 |
220,765 |
220,755 |
10 |
220,743 |
12 |
22 |
|
|
|
5 |
220,663 |
220,588 |
45 |
220,530 |
58 |
103 |
|
|
|
6 |
220,572 |
220,422 |
150 |
220,252 |
170 |
320 |
|
|
|
7 |
220,490 |
220,405 |
85 |
220,304 |
101 |
186 |
|
|
|
8 |
220,350 |
220,323 |
27 |
220,281 |
42 |
69 |
|
|
|
9 |
220,298 |
220,295 |
3 |
220,290 |
5 |
8 |
|
|
|
10 |
220,262 |
220,621 |
1 |
220,262 |
-1 |
0 |
|
Ведомость горизонтальных деформаций
Наблюдательная станция № __
|
Номер профильной линии |
Интервал |
1-е наблюдение, м 01.03.97 г. |
2-е наблюдение, м 01.04.97 г. |
2 - 1 мм |
Деформация ε⋅103 |
3-е наблюдение, м 04.05.97 г. |
3 - 1 мм |
Деформация ε⋅103 |
|
I - II |
I - II |
49,952 |
49,951 |
-1 |
0 |
49,952 |
0 |
0 |
|
II - III |
49,980 |
49,981 |
+1 |
0 |
49,980 |
0 |
0 |
|
|
III-11 |
9,907 |
9,907 |
0 |
0 |
9,908 |
+1 |
+0,1 |
|
|
11 - 12 |
10,082 |
10,084 |
+2 |
+0,2 |
10,088 |
+6 |
+0,6 |
|
|
12 - 13 |
9,966 |
9,969 |
+3 |
+0,3 |
9,975 |
+9 |
+0,9 |
|
|
13 - 14 |
10,154 |
10,158 |
+4 |
+0,4 |
10,164 |
+10 |
+1,0 |
|
|
14 - 15 |
10,100 |
10,106 |
+6 |
+0,6 |
10,111 |
+11 |
+1,1 |
|
|
15 - 16 |
10,003 |
10,023 |
+20 |
+2,0 |
10,034 |
+31 |
+3,1 |
|
|
16 - 17 |
10,001 |
10,031 |
+30 |
+3,0 |
10,050 |
+49 |
+4,9 |
Ведомость горизонтальных сдвижений
Наблюдательная станция № __
|
Номер профильной линии |
Номер репера |
1-е наблюдение, м 01.03.97 г. |
2-е наблюдение, м 01.04.97 г. |
1 - 2 мм |
3-е наблюдение, м 04.05.97 г. |
2 - 3 мм |
1 - 3 мм |
Примечание |
|
I - II |
I |
0 |
0 |
0 |
0 |
0 |
0 |
|
|
II |
49,952 |
49,951 |
-1 |
49,952 |
+1 |
0 |
|
|
|
III |
99,932 |
99,932 |
0 |
99,932 |
0 |
0 |
|
|
|
11 |
109,839 |
109,839 |
0 |
109,840 |
+1 |
+1 |
|
|
|
12 |
119,921 |
119,923 |
+2 |
119,928 |
+5 |
+7 |
|
|
|
13 |
129,887 |
129,892 |
+5 |
129,903 |
+11 |
+16 |
|
|
|
14 |
140,041 |
140,050 |
+9 |
140,067 |
+17 |
+26 |
|
|
|
15 |
150,141 |
150,156 |
+15 |
150,178 |
+22 |
+37 |
|
|
|
16 |
160,144 |
160,179 |
+35 |
160,212 |
+33 |
+68 |
|
|
|
17 |
170,145 |
170,210 |
+65 |
170,262 |
+52 |
+117 |
|
Ведомость скоростей смещений реперов
Наблюдательная станция № __
Профильная линия № __
Дата 1-го наблюдения 05.02.97 г.
|
№ репера |
2-е наблюдение, величина вектора, м 02.03.97 г. |
2 - 1 количество суток, скорость, мм/сут |
3-е наблюдение, величина вектора, м 02.03.97 г. |
3 - 2 изменение величины вектора, мм |
3 - 2 количество суток, скорость, мм/сут |
Примечание |
|
|
|
25 |
|
|
62 |
|
|
1 |
0,750 |
30,0 |
0,930 |
180 |
2,9 |
|
|
2 |
1,000 |
40,0 |
1,220 |
220 |
3,5 |
|