Настоящая серия содержит общие указания по подбору типа и конструкции облицовки стен каркасного и бескаркасного типа из гипсокартонных листов, а также рабочие чертежи узлов облицовки стен. Вприложении к серии приведены сведения о типах и характеристиках применяемых элементов и материалов КНАУФ.
ТИПОВЫЕ СТРОИТЕЛЬНЫЕКОНСТРУКЦИИ, ИЗДЕЛИЯ И УЗЛЫ
СЕРИЯ 1.420.3-36.03
КАРКАСЫ СТАЛЬНЫЕ ТИПА «УНИТЕК»
ОДНОЭТАЖНЫЕ ПРОИЗВОДСТВЕННЫЕ ЗДАНИЯ С ПРИМЕНЕНИЕМКОНСТРУКЦИЙ ИЗ ПРОФИЛЕЙ СТАЛЬНЫХ ГНУТЫХ ЗАМКНУТЫХ СВАРНЫХ КВАДРАТНЫХ ИПРЯМОУГОЛЬНЫХ
ВЫПУСК0-1
КАРКАСЫ С ОДНО- И МНОГОПРОЛЕТНЫМИ РАМАМИ ПРОЛЕТАМИ 15,18,21,24 и 30 м ДЛЯ БЕСКРАНОВЫХ ЗДАНИЙ И ЗДАНИЙ С ПОДВЕСНЫМИ КРАНАМИГРУЗОПОДЪЕМНОСТЬЮ ДО 5 т.
МАТЕРИАЛЫ ДЛЯ ПРОЕКТИРОВАНИЯ
| Разработаны | Утверждены |
| ООО «Научно-исследовательская и проектно-строительная фирма «УНИКОН» | ОАО «УРАЛТРУБПРОМ» Приказ от 16.05.03 № 290 |
| Президент фирмы, Руководитель проекта Катюшин В.В. Главный инженер проекта Шуткина Г.П. |
|
| При участии | Введены в действие |
| ОАО «УРАЛТРУБПРОМ» Генеральный директор Кожухарь А.Ф. ОАО «Объединение СОЮЗЛЕГКОНСТРУКЦИЯ» Генеральный директор Шамсутдинов И.З. | ОАО «УРАЛТРУЮПРОМ» с 01.06.03, Приказ от 16.05.03 № 290 |
Уральский трубный завод
«УРАЛТРУБПРОМ»
2005
1.1.Стальные каркасы типа УНИТЕК (Универсальные Трубчатые Конструкции) одноэтажныхпроизводственных зданий с применением конструкций из профилей стальных гнутыхзамкнутых сварных квадратных и прямоугольных (далее - гнутосварные трубы)разработаны ООО "Научно-исследовательская и проектно-строительная фирма"УНИКОН" в соответствии с техническим заданием ОАО"УРАЛТРУБПРОМ".
1.2.Настоящий выпуск содержит материалы для разработки типовых зданий различногоназначения с применением сквозных одно- и многопролетных рам из гнутосварныхтруб, в том числе:
•габаритные схемы основных несущих конструкций;
• схемыдля определения нагрузок на фундаменты;
• схемыпривязок рам и стоек фахверка одно- и многопролетных зданий;
• схемыразмещения связевых блоков;
•таблицы для подбора отправочных элементов рам;
•сортаменты элементов фахверка, кровельных и стеновых прогонов,
•элементов связевого блока;
•сортаменты элементов рам;
• узлынесущих конструкций.
2.1.Стальные каркасы типа УНИТЕК одноэтажных производственных зданий с применениемконструкций из гнутосварных труб (далее - каркасы УНИТЕК), выпуск 0-1,разработаны для применения в отапливаемых и неотапливаемых зданиях без кранов ис мостовыми однобалочными подвесными кранами (далее - с подвесными кранами)грузоподъемностью от 1 до 5 т с режимами работы 1К - 5К с неагрессивной илислабоагрессивной средой при относительной влажности внутри помещения не более70%.
В качествеограждающих конструкций, как правило, применяются панели с обшивкой изпрофилированного листа или конструкции послойной сборки для отапливаемых зданийи профилированный лист для неотапливаемых зданий.
2.2.Конструкции каркасов УНИТЕК предназначены для строительства:
• в I - VI районахпо весу снегового покрова;
• в 1а- VIIрайонах по ветровому давлению;
• в I1 - II5 районах по климатическимусловиям строительства;
• внесейсмических и сейсмических районах с расчетной сейсмичностью до 9 балловвключительно.
2.3Конструкции каркасов УНИТЕК разработаны для зданий с параметрами, приведеннымив табл.1. За высоту Н принятаотметка низа несущей конструкции ригеля в месте сопряжения с крайней стойкойрамы.
| Пролет L, м | Количество пролетов | Высота до низа ригеля Н, м | ||||
| 4.8 | 6.0 | 7.2 | 8.4 | 9.6 | ||
| 15 | 1 | • | • | • |
|
|
| 18 | от 1 до 5 | • | • | • | • |
|
| 21 | от 1 до 5 |
| • | • | • | • |
| 24 | от 1 до 5 |
| • | • | • | • |
| 30 | от 1 до 5 |
| • | • | • | • |
2.4. Отклонения от указанной области применения конструкцийкаркасов УНИТЕК следует согласовывать с ООО "Фирма "УНИКОН" илизаводом-изготовителем.
3.1.Основными несущими конструкциями каркасов УНИТЕК являются сквозные одно- имногопролетные рамы из гнутосварных труб (далее - трубчатые рамы) по ГОСТ30245-03. Шаг основных несущих конструкций 6 м. При необходимости, прибольших вертикальных нагрузках (снеговой мешок и др.) шаг рам может бытьуменьшен по согласованию с заводом-изготовителем.
3.2. Сопряжение конструкций крайних стоек рам сфундаментом - шарнирное; средних стоек рам и стоек фахверка - жесткое.
Сопряжениеригеля рамы с крайними стойками - жесткое; со средними стойками - шарнирное.
3.3.Устойчивость и геометрическая неизменяемость здания обеспечивается: впоперечном направлении - конструкциями несущих рам; в продольном направлении -системой вертикальных связей и распорок.
Жесткостьпокрытия обеспечивается системой горизонтальных связей и распорок по ригелюрамы; жесткость торцевых стен - системой вертикальных связей и распорок постойкам фахверка.
3.4.Прогоны покрытия выполнены по разрезной схеме. Шаг прогонов покрытия принимаетсяравным 1.5 или 3.0 м в зависимости от нагрузки на покрытие и несущейспособности кровельных ограждающих конструкций. Сечения прогонов покрытияприняты из прокатных и гнутых швеллеров.
3.5.Прогоны стен выполнены по разрезной схеме. Шаг стеновых прогонов назначается от1.2 до 3.0 м кратным 0.6 м в соответствии с расположением окон, ворот и другихпроемов, а также в зависимости от вертикальной и горизонтальной нагрузок инесущей способности стеновых ограждающих конструкций.
Сечениястеновых прогонов приняты из прокатных и гнутых швеллеров, а также изгнуто-сварных труб.
3.6.Горизонтальные и вертикальные связи по каркасу и фахверку - крестовые гибкие изкруглой стали Ø20 и Ø 24 мм, устанавливаемые с предварительнымнатяжением или без натяжения.
3.7.Распорки между рамами выполняются 2-х типов:
-двухветвевые решетчатого типа из гнутосварных труб (для связевых блоков);
-одноветвевые из гнутосварных труб.
Допускаетсяприменение гибких растяжек вместо одноветвевых распорок по нижним поясамригелей рам, за исключением связевых блоков.
3.8.Все заводские соединения - сварные. Монтажные соединения на втулках и наобычных и высокопрочных болтах (см. п. 7 "Требования к изготовлению имонтажу").
3.9.Основные конструктивные элементы каркасов УНИТЕК представлены на листе 10.
4.1.Расчет конструкций произведен в соответствии с главами СНиП II-23-81* "Стальные конструкции. Нормыпроектирования", СНиП2.01.07-85* "Нагрузки и воздействия", СНиП II-7-81* "Строительство всейсмических районах", "Пособием попроектированию стальных конструкций (к СНиП II-23-81*)","Руководством по проектированию стальных конструкций из гнутосварныхзамкнутых профилей", М., 1978 г.
4.2. Рамные конструкции каркасов УНИТЕК рассчитанына сочетание вертикальных и горизонтальных нагрузок. Подбор сечений рамныхконструкций (крайних стоек и ригелей) производится по расчетным кодамвертикальной нагрузки, который определяется в зависимости от базового кодавертикальной нагрузки на покрытие.
Базовыйкод является расчетным для рам из стали С255 для бескрановых зданий. Приизменении перечисленных условий - сталь С345 или наличие кранового оборудования- расчетный код вертикальной нагрузки для рамных конструкций получается путемкорректировки базового в соответствии с таблицей 8.
Сеченияостальных конструкций каркаса подбирается в зависимости от:
• базового кода вертикальной нагрузки с учетомдействия на них дополнительных факторов: ветровой и крановой нагрузок;
•действующих в элементе усилий, определенных от соответствующих нагрузок.
| Наименование нагрузки | Величина нормативной нагрузки, кгс/м2 |
| 1. Ограждающий конструкции покрытия | 36.0 |
| 2. Несущие конструкции покрытия | 32.0 |
| 3. Нагрузки от освещения, систем сигнализации, пожаротушения и т.д. | 8.0 |
| Итого: | 76.0 |
Средний коэффициент надежности для постоянной нагрузки γf=1,13.
Коэффициентнадежности по назначению γn принят равным 0,95.
4.3.Определение базового кода.
Базовыйкод вертикальной нагрузки на покрытие определяется по табл.3. Для удобствапользования базовый код вертикальной нагрузки принят равным номеру снеговогорайона. Унифицированная вертикальная нагрузка, состоящая из постоянной иснеговой нагрузок, приведена в табл.3. Допускается превышение кодовой нагрузки неболее 3 %.
| Базовый код вертикальной нагрузки | I | II | III | IV | V | VI |
| Снеговой район по СНиП 2.01.07-85* | I | II | III | IV | V | VI |
| Унифицированная вертикальная расчетная нагрузка, qкод, кгс/м2 | 155 | 180 | 240 | 315 | 390 | 480 |
Определение базового кода вертикальной нагрузки припроектировании может производиться двумя способами:
1способ
Базовыйкод определяется по номеру снегового района места строительства. Применяетсядля бескрановых зданий, при отсутствии на покрытии снеговых мешков и припостоянной нормативной вертикальной нагрузке, входящей в qкод, не превышающей 76,0 кгс/м2.
2способ
Коднагрузки определяется в соответствии с фактической величиной расчетнойнагрузки. Применяется при воздействии нагрузок со значениями, существенноотличающимися от нагрузок по кодам (при повышенной постоянной нагрузке,образовании снеговых мешков на участках кровли и т.п.), а также при возможностиуменьшения массы зданий за счет корректировки нагрузок (для неотапливаемыхзданий, при учете сдува снега ветром и т.д.). Сбор нагрузок производится всоответствии со СНиП2.01.07-85*, далее определяется фактическая вертикальная расчетная нагрузкана здание:
qфакт=qпост+qврем,
где qпост - постоянная нагрузка, действующая на здание;
qврем - временная нагрузка,действующая на здание.
Путемсравнения qфaкт с унифицированной нагрузкой (по табл. 2.) определяется базовый код вертикальной нагрузкипри условии, что qкод≥qфакт.
4.4.Код горизонтальной нагрузки на несущие рамы определяется по табл. 4,в зависимости от ветровой нагрузки, определяемой по СНиП 2.01.07-85* для местности типа В.
| Код горизонтальной нагрузки | 1 | 2 |
| Величина нормативной ветровой нагрузки, кгс/м2 | qw≤38 | 38<qw≤85 |
4.5. Ветровая нагрузка на средние стойки рам, конструкциифахверка, стеновые прогоны, конструкции связевых блоков, а так же дляопределения горизонтальных нагрузок на фундаменты, принимается в соответствии сфактическими ветровыми районами по СНиП 2.01.07-85*.
4.6.Нагрузки от подвесных кранов не должны превышать значения, приведенные в табл.5.
| 1 подвесной кран на пути | |||
| Q кран, тс | D max, тс | D min, тс | Т попереч, тс |
| 1 | 1.67 | 0.72 | 0.075 |
| 2 | 2.78 | 0.88 | 0.15 |
| 3.2 | 4.22 | 1.18 | 0.25 |
| 5 | 6.16 | 1.52 | 0.38 |
| 2 подвесных крана на пути (ψ=0.85) | |||
| 1 | 2.56 | 1.10 | 0.13 |
| 2 | 4.27 | 1.36 | 0.26 |
| 3.2 | 6.43 | 1.76 | 0.43 |
| 5 | 9.32 | 2.30 | 0.64 |
5.1.Выбор основных несущих конструкций производится исходя из следующих условий:
•модификации несущих рам;
•вертикальных и горизонтальных нагрузок, определяемых соответствующими кодаминагрузок;
•сейсмичности площадки строительства;
•крановых нагрузок;
• сталинесущих конструкций, определяемой климатическими условиями строительства и(или) действующими нагрузками.
Порядоквыбора основных несущих конструкций приведен ниже.
5.2.Каркасы УНИТЕК включают основные несущие рамы 3 модификаций.
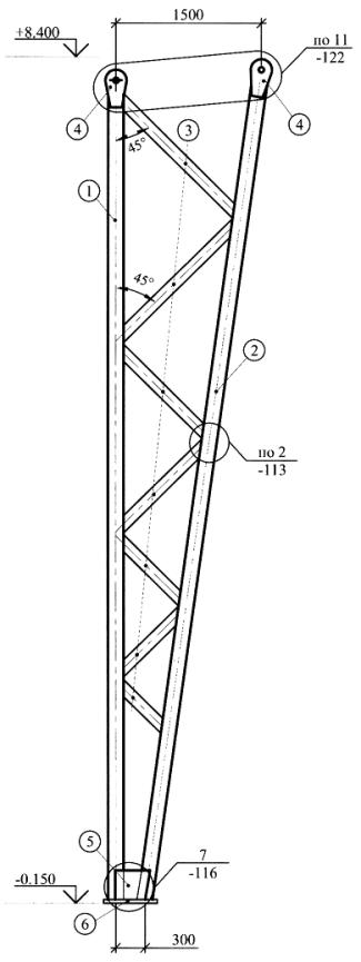
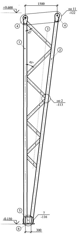
| Модификация 1– (основная) | рамы одно- и многопролетные с пролетами 18, 21, 24 и 30 м. Высота ригеля 1.5 м. Длина панели 3.0 м. |
| Модификация 2– | рамы по сечениям и габаритам идентичны рамам модификации 1. Решетка ригеля выполнена с дополнительными стойками для шага прогонов покрытия 1.5 м. |
| Модификация 3– | рамы однопролетные с пролетами 15 м. Имеют уменьшенную высоту ригеля и стоек по сравнению с рамами модификации 1 и 2. |
Выбор модификации 1 или 2 зависит от выбранного шагапрогонов покрытия.
5.3.При выборе пролетов рамы необходимо учитывать ограничения, связанные ссейсмичностью площадки строительства в соответствии с табл. 6. Расчетная сейсмичностьплощадки строительства определяется по СНиП II-7-81* "Строительство всейсмических районах".
5.4.Сталь выбирается по табл.7, в зависимости от типа здания (отапливаемоеили неотапливаемое) и климатического района строительства. Рамы всехмодификаций могут быть выполнены из 2-х сталей: С255 и С345.
5.5.Код вертикальной нагрузки определяется по табл. 3 в зависимости от фактической вертикальнойнагрузки и корректируется в зависимости от стали, наличия кранов, их количестваи грузоподъемности, а также от количества и величины пролета рамы по табл. 8.В таблице выделен базовый вариант. В графе "Учет крановой нагрузки"указано количество кранов на одном пути. Привязка кранов относительно пролетаздания принята центральной.
| Пролет, м | Код вертикальной нагрузки | |||||
| I | II | III | IV | V | VI | |
| 15 | ≤9 | ≤9 | ≤9 | ≤9 | ≤8 | ≤7 |
| 18 | ≤9 | ≤9 | ≤9 | ≤9 | ≤8 | ≤7 |
| 21 | ≤9 | ≤9 | ≤9 | ≤8 | ≤7 | ≤6 |
| 24 | ≤9 | ≤9 | ≤9 | ≤8 | ≤7 | ≤6 |
| 30 | ≤9 | ≤9 | ≤9 | ≤8 | ≤7 | ≤6 |
| Климатические районы | Расчетная температура района строительства, °С | Сталь при типе здания | |
| Неотапливаемое | Отапливаемое | ||
| II4, II5 | -30°С>t≥-40°С | С255 | С255 |
| I2, II2 и II3 | -40°С>t≥-50°С | С345-3 | С345-3 (С2551) |
| I1 | -50°C>t≥-65°C | С345-4 | С345-4 (С2551) |
1- применение данной стали возможно в соответствии с п.2.1*.СНиП II-23-81*.
5.6.Сечения элементов рам подбираются по сортаментам стоек и ригелей рам взависимости от расчетного кода вертикальной нагрузки и марки рамы.
| Тип рамы | Сталь | Учет крановой нагрузки | Код вертикальной нагрузки | |||||
| Однопролетные L=l5,18,21,24 и 30 м Многопролетные L=18,21 м | С255 | Без крана | I | II | III | IV | V | VI |
| С255 | 2 крана Q=2 т (1 кран Q=3.2 т) | II | III | IV | V | VI | – | |
| С255 | 2 крана Q=5 т | III | IV | V | VI | – | – | |
| С345 | Без крана | I | II | II | II | III | IV | |
| С345 | 2 крана Q=от 1 до 5 т | I | II | III | IV | V | VI | |
| Многопролетные L=24 м | С255 | Без крана | I | II | III | IV | V | – |
| С255 | 2 крана Q=2 т (1 кран Q=3.2 т) | II | III | IV | V | – | – | |
| С255 | 2 крана Q=5 т | III | IV | V | – | – | – | |
| С345 | Без крана | I | II | III | IV | V | VI | |
| С345 | 2 крана Q=l-2 т (1 кран Q=3.2 т) | II | III | IV | V | VI | – | |
| С345 | 2 крана Q=от 1 до 5 т | III | IV | V | VI | – | – | |
| Многопролетные L=30 м | С255 | Без крана | I | II | III | IV | – | – |
| С255 | 2 крана Q=2 т (1 кран Q=3.2 т) | II | III | IV | – | – | – | |
| С255 | 2 крана Q=5 т | III | IV | – | – | – | – | |
| С345 | Без крана | I | II | III | IV | V | – | |
| С345 | 2 крана Q=l-2 т (1 кран Q=3.2 т) | I | II | III | IV | – | – | |
| С345 | 2 крана Q=от 1 до 5 т | I | II | III | IV | – | – | |
5.7. Пример определения кода несущей рамы.

Для удобства пользования в настоящем выпуске серииприменяются 3 типа сокращенных кодов рам, в которых часть обозначений заменазнаком * (звездочка). Сокращенный код не допускается применять в чертежах КМ(КМД) и при заказе конструкций.
Примерысокращенных кодов рамы:
Тип 1

Используется в основных надписях габаритных схем рам исортаментов ригелей рам, а также в документах сортаментов ригелей рам.
Тип 2

Используется в таблицах, приведенных на габаритных схемахрам, в основных надписях и в документах сортаментов стоек рам.
Тип 3

Используется в основных надписях и в документах сортаментовригелей и крайних стоек рам.
6.1.Привязки стоек рам и фахверка к осям здания выбираются в зависимости отвозможности будущего расширения здания по длине, а также в зависимости отналичия подвесных кранов.
6.2.Количество и расположение связевых блоков определяется в зависимости от длиныздания и расчетной сейсмичности площадки. Количество связевых блоков может бытьскорректировано после определения усилий в элементах связевых блоков.
6.3.Выбор элементов каркаса и подбор их сечений производится в зависимости отдействующих нагрузок в соответствующих документах настоящей серии.
6.4.Нагрузки на фундаменты стоек рам и фахверка определяются в зависимости отвыбранной схемы и кодов нагрузок.
7.1.Изготовление и монтаж конструкций производить в соответствии с требованиямисуществующих документов: ГОСТ 23118-99"Конструкции стальные строительные. Общие технические условия", СНиП 3.03.01-87"Несущие и ограждающие конструкции", "Рекомендации по сборкефланцевых соединений стальных строительных конструкций" МинмонтажспецстрояСССР и стандарта предприятия на изготовление конструкций.
7.2.Для изготовления конструкций применены стали С255 и С345 по ГОСТ27772-88. Допускается производить замену сталей на другую в соответствии соСНиП II-23-81* "Стальныеконструкции. Нормы проектирования"
7.3. Все заводские соединения сварные. Монтажныесоединения на втулках, высокопрочных болтах, болтах нормальной точности исамонарезающих винтах.
7.4.Заводская сварка полуавтоматическая в среде углекислого газа по ГОСТ8050-85. Марка сварочной проволоки Св-08Г2С диаметром 1.4 мм по ГОСТ2246-70.
7.5. Постоянные болты М12, М16, М20 и М24 классапрочности 5.8. по ГОСТ1759.4-87.
Всейсмических районах класс прочности постоянных болтов 8.8. Применениеавтоматной стали для болтов не допускается.
7.6.Высокопрочные болты М24 исполнения ХЛ по ГОСТ22353-77 с временным сопротивлением 110 кг/мм2 из стали 40Х"Селект" по ГОСТ4543-71, категории размещения I по ГОСТ22356-77. Высокопрочные гайки М24 по ГОСТ 22354-77с временным сопротивлением 110 кг/мм2 из стали 40Х"Селект" по ГОСТ4543-71, категории размещения I по ГОСТ22356-77. Шайбы 24 по ГОСТ22355-77.
7.7. Анкерные болты для всех стоек должныизготовляться в соответствии с требованиями ГОСТ 24379.0-80 и ГОСТ24379.1-80. Материал анкерных болтов принимать в соответствии с таблицейдокум. -112.
7.8. Гайки постоянных болтов (анкерных и нормальнойточности) после выверки конструкций закрепляются контргайками. Допускаетсявместо контргаек постановка пружинных шайб.
7.9.Окраску стальных конструкций следует производить в соответствии с требованиями СНиП2.03.11-85 "Защита строительных конструкций от коррозии". Вчертежах КМ проектируемого объекта необходимо указывать способ защиты, маркиматериалов и количество слоев и толщину покрытия (для лакокрасочных покрытий -количество грунтовых и покрывных слоев).
| Шифр или серия | Наименование | Примечания |
| Серия 1.426.2-6 | Балки путей подвесного транспорта |
|
| Выпуск 1/91 | Балки пролетом 3, 4 и 6 м. Чертежи КМ |
|
| ГОСТ | Наименование | Примечания |
| ГОСТ 30245-2003 | Профили стальные гнутые замкнутые сварные квадратные и прямоугольные для строительных конструкций. Технические условия |
|
| ГОСТ 23118-99 | Конструкции стальные строительные. Общие технические условия |
|
| ГОСТ 19425-74 | Балки двутавровые и швеллеры стальные специальные. Сортамент |
|
| ГОСТ 26020-83 | Двутавры стальные горячекатаные с параллельными гранями полок. |
|
|
| Сортамент |
|
| ГОСТ 8240-97 | Швеллеры стальные горячекатаные. Сортамент |
|
| ГОСТ 8278-83 | Швеллеры стальные гнутые равнополочные. Сортамент |
|
| ГОСТ 8050-85 | Двуокись углерода газообразная и жидкая. Технические условия |
|
| ГОСТ 2246-70 | Проволока стальная сварочная. Технические условия |
|
| ГОСТ 7798-70 | Болты с шестигранной головкой класса точности В. Конструкция и размеры |
|
| ГОСТ 1759.4-87 | Болты, винты и шпильки. Механические свойства и методы испытаний |
|
| ГОСТ 15589-70 | Болты с шестигранной головкой класса точности С. Конструкция и размеры |
|
| ГОСТ 15591-70 | Болты с шестигранной уменьшенной головкой класса точности С. |
|
|
| Конструкция и размеры |
|
| ГОСТ 7796-70 | Болты с шестигранной уменьшенной головкой класса точности А. |
|
|
| Конструкция и размеры |
|
| ГОСТ 5915-70 | Гайки шестигранные класса точности В. Конструкция и размеры |
|
| ГОСТ 24379.0-80 | Болты фундаментные. Общие технические условия |
|
| ГОСТ 24379.1-80 | Болты фундаментные. Конструкция и размеры |
|
| ГОСТ 22353-77 | Болты высокопрочные класса точности В. Конструкция и размеры |
|
| ГОСТ 22356-77 | Болты и гайки высокопрочные и шайбы. Общие технические условия |
|
| ГОСТ 22354-77 | Гайки высокопрочные класса точности В. Конструкция и размеры |
|
| ГОСТ 22355-77 | Шайбы класса точности С к высокопрочным болтам. Конструкция и размеры |
|
| ГОСТ 6402-70 | Шайбы пружинные. Технические условия |
|
| ГОСТ 4543-71 | Прокат из легированной конструкционной стали. Технические условия |
|
| ГОСТ 27772-88 | Прокат для строительных стальных конструкций. Общие технические условия |
|
| ГОСТ 2590-88 | Прокат стальной горячекатаный круглый. Сортамент |
|
| ГОСТ 19903-74 | Прокат листовой горячекатаный. Сортамент |
|
| ГОСТ 19281-89 | Прокат из стали повышенной прочности. Общие технические условия |
|
| ГОСТ 2695-83 | Пиломатериалы лиственных пород. Технические условия |
|
| ГОСТ 24741-81 | Узел крепления крановых рельсов к стальным подкрановым балкам. |
|
|
| Технические условия | |
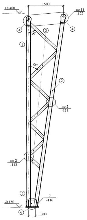
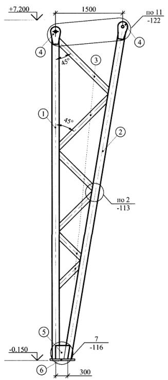
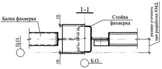
Основныминесущими конструкциями каркасов УНИТЕК являются сквозные одно- имногопролетные рамы из гнутосварных труб (далее - трубчатые рамы).
Связевыеблокиустанавливаются по стойкам и ригелям рам. Они состоят из гибких связей ираспорок (одно- и двухветвевых). Количество связевых блоков определяетсяиндивидуально для каждого здания в зависимости от его длины и сейсмичностиплощадки строительства.
В торцездания устанавливается несущий торцевой фахверк, состоящий из стоек ибалок. Жесткость системы фахверка обеспечивается постановкой системы гибкихсвязей и распорок. В случае предполагаемого расширения здания в торцеустанавливается основная несущая рама с самонесущими стойками фахверка.
Прогоныпокрытияустанавливаются с шагом 3.0 или 1.5 метра в зависимости от нагрузки напокрытие. Прогоны выполняются по разрезной схеме. Сечение прогонов - гнутые илипрокатные швеллеры. При необходимости на кровле здания могут быть установленысветоаэрационные фонари и дефлекторы.
Прогоныстенустанавливаются в соответствии с расположением окон, ворот, козырьков иподобных элементов. Рядовые прогоны выполняются из гнутых или прокатныхшвеллеров. Надоконные и подоконные прогоны - из гнутосварных труб. Стеновыепрогоны выполняются по разрезной схеме.
Ограждающиеконструкции кровли и стенв зданиях с каркасами УНИТЕК могут применяться теплые или холодные взависимости от типа здания (отапливаемое или неотапливаемое). В неотапливаемыхзданиях ограждающие конструкции, как правило, выполняются из одного слояпрофилированного листа, в отапливаемых - из панелей с обшивками изпрофилированного листа или послойной сборкой.
УСЛОВНЫЕИЗОБРАЖЕНИЯ И ОБОЗНАЧЕНИЯ МЕТИЗОВ
| № п/п | Условное изображение | Наименование | Условное обозначение | |
| в плане | в разрезе | |||
| 1. |
|
| Болт нормальной точности | М12 |
| М16 | ||||
| М20 | ||||
| М24 | ||||
| 2. |
|
| Высокопрочный болт | ВПБ М24 |
УСЛОВНЫЕИЗОБРАЖЕНИЯ И ОБОЗНАЧЕНИЯ СВАРНЫХ ШВОВ
| № п/п | Условное изображение шва | Наименование | |
| заводского | монтажного | ||
|
|
|
| Шов сварного соединения стыкового - сплошной: |
| 1. |
|
| с видимой стороны |
| 2. |
|
| с невидимой стороны |
|
|
|
| Шов сварного соединения углового, таврового или внахлестку - сплошной: |
| 3. |
|
| с видимой стороны |
| 4. |
|
| с невидимой стороны |
СОКРАЩЕНИЯ В ТЕКСТЕ
| Полное наименование | Сокращение |
| Документ | докум. |
| Таблица | табл. |
| Лист | л. |
| Пункт | п. |
| Примечания | прим. |
| Количество | кол-во |
ОБОЗНАЧЕНИЕУЗЛОВ НА СХЕМАХ


Условноеизображение линии симметрии
ИСХОДНЫЕ ДАННЫЕ
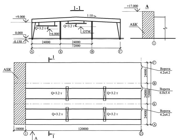
1.Производственное здание.
2.Место строительства - г. Челябинск.
3.Размеры в плане - (3×24)×120 м. Отметка низа несущих конструкций9.0 м.
4.Здание отапливаемое, температура внутреннего воздуха +5°С.
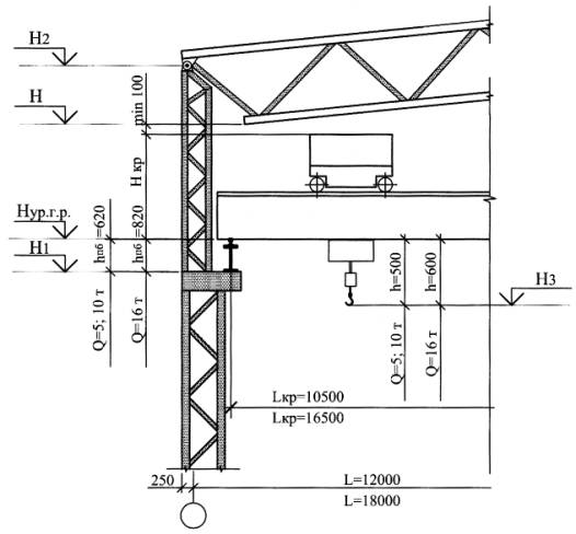
5.Подвесной кран грузоподъемностью Q=3.2 т (2 крана на пути). Пролет крана 15 м. Высота подъемакрюка 6.0 и 9.0 м. Расположение кранов см. схему.
6.Дополнительная нагрузка - нагрузка от автоматического пожаротушения 10 кгс/м2.
7.Ворота 4.2×4.2 - 2 шт., ворота 6.0×5.4 - 1 шт. см. схему.
8.Дополнительные условия - примыкание АБК с торца здания, см. схему.
КЛИМАТИЧЕСКИЕ УСЛОВИЯ
1.Снеговой район - III.
2.Ветровой район - II.
3.Средняя скорость ветра за 3 наиболее холодных месяца - 3 м/с.
4.Расчетная температура наиболее холодной пятидневки (обеспеченностью 0.92) -минус 34°С.
5.Климатический район - II4.
6.Несейсмичный район строительства.
ОГРАЖДАЮЩИЕ КОНСТРУКЦИИ
1.Кровля - послойная сборка из 2 слоев профлиста и утеплителя типа URSA.
2.Стены - стеновые панели по шифру 172 КМ5.
Потеплотехническому расчету толщина утеплителя для кровли - 100 мм, для стен -100мм.

СБОРНАГРУЗОК
1.1.Дополнительные исходные данные:
-снеговой район III,нормативное значение веса снегового покрова 100 кгс/м2;
-ветровой район II,нормативное значение ветрового давления 30 кгс/м2;
Из-заотсутствия данных о площадке строительства принимаем, что проектируемое зданиезащищено более высокими соседними зданиями, поэтому снижение снеговой нагрузкиот сдува ветром не учитываем. Тип местности В.
|
| Наименование нагрузки | Нормативная нагрузка, кгс/м2 | Коэффициент надежности по нагрузке, γf | Расчетная нагрузка, кгс/м2 |
|
| ПОСТОЯННЫЕ НАГРУЗКИ 1. Ограждающие конструкции покрытия: |
|
|
|
|
| - профлист Н60-845-0.7 (2 слоя), с коэффициентом перехлеста 1.02; | 18 | 1.05 | 18.9 |
|
| - утеплитель URSA; толщиной 100 мм, 25 кг/м3; | 2.5 | 1.2 | 3.0 |
|
| - тетива; | 2 | 1.05 | 2.1 |
|
| - пароизоляция | 1 | 1.2 | 1.2 |
|
| 2. Прогоны покрытия | 10 | 1.05 | 10.5 |
|
| 3. Ригели рам | 22 | 1.05 | 23.1 |
|
| 3. Технологические нагрузки (автоматическое пожаротушение) | 10 | 1.1 | 11.0 |
|
| Итого: q1 | 65.5 |
| 70.0 |
|
| СНЕГОВЫЕ НАГРУЗКИ |
|
|
|
|
| 4. Снеговая нагрузка для рядовых рам q2 (исключая зону снегового мешка) q1/q2=65.5/100=0.655<0.8, тогда коэффициент надежности по нагрузке γf принять 1.6 | 100 | 1.6 | 160 |
|
| Всего: | 165.5 |
| 230.0 |
1.2. Определение базового кода вертикальной нагрузки длярядовых рам (исключая зону снегового мешка).
способ1:
-снеговой район III,следовательно по табл. 3 докум. -01ПЗ принимаем базовый код вертикальнойнагрузки III.
способ2:
-собранная фактическая вертикальная расчетная нагрузка составляет 230 кгс/м2,следовательно по табл. 3 докум. -01 ПЗ принимаем базовый код вертикальнойнагрузки IIIс соответствующей ему унифицированной расчетной нагрузкой 240 кгс/м2.
1.3.Определение кода горизонтальной нагрузки: - ветровой район II, qw=30 кгс/м2.
Всоответствии с табл. 4 докум. -01ПЗ принимается код горизонтальной нагрузки 1.
1.4.Определение расчетного кода вертикальной нагрузки для рядовых рам.
Всоответствии с табл. 7 докум. -01ПЗ принимаем сталь С255 (для отапливаемогоздания, проектируемого для климатического района 114).
Всоответствии с табл. 8 докум. -01ПЗ принимаем расчетный код вертикальнойнагрузки Vдля рам (исключая зону снегового мешка) - для многопролетного здания спролетами 24 м, оборудованного двумя кранами на одном пути с грузоподъемностью Q=3.2 т (какдля Q=5т).
СБОРНАГРУЗОК В ЗОНЕ СНЕГОВОГО МЕШКА

Рис.1
Определение нагрузок в зоне снегового мешка производим всоответствии со СНиП2.01.07-85* (см. рис. 1.)
Нормативноезначение веса снегового покрова S0=1кПа (100 кгс/м2). Для пологих покрытий принимаем доли переносимогоснега m1=m2=0.5.
Врезультате вычислений принимаем длину зону повышенных снегоотложений b=9.5 м иследующие коэффициенты перехода от веса снегового покрова земли к снеговойнагрузке на покрытие (см. рис. 2):
μ=3.8
μ1=0.5
μ2=1.72(см. рис. 2)

Рис.2
При загружении рам единичной нагрузкой получим реакцию R1=9.32.
Призагружении снеговой нагрузкой одного погонного метра рамы с S0=100 кгс/м2 нагрузка составит:
нормативнаянагрузка 9.32•100•1=932 кгс/м;
расчетнаянагрузка 9.32•100•1•1.6=1491 кгс/м.
Базовыйкод вертикальной нагрузки в табл. 3 докум. -01ПЗ определен для шага рам 6 м иприводится в кгс/м2, поэтому переведем полученную расчетную нагрузкуот снега в кгс/м2:
1491/6=248 кгс/м2.
Полнаянагрузка на раму по оси 1 составит:
постояннаярасчетная -70 кгс/м2
снеговаярасчетная -248 кгс/м2
Итого:318 кгс/м2
Следовательно,для рам в зоне снегового мешка в соответствии с табл.3 принимаем базовый кодвертикальной нагрузки - IV.
Произвестипереход с базового кода на расчетный код вертикальный нагрузки для рам в зонеснегового мешка в соответствии с табл. 8 докум. -01ПЗ невозможно. Поэтомуизменяем шаг рам - ставим дополнительную раму в осях 1-2, см. рис. 3.
Необходимопроизвести сбор снеговой нагрузки при изменении шага рам в зоне снеговогомешка.

Рис.3
В результате вычислений получаем для дополнительной рамы восях 1-2 значение коэффициента μ12=2.76. При загружении единичнойнагрузкой слева реакция составляет R12=4.46 и при загружении единичной нагрузкой справа R12=3.62.

Рис.4
Так как прогон покрытия имеет длину 6 м, то при определениинагрузки на дополнительную раму необходимо учесть коэффициенты реакций опор какдля двухпролетной балки с равными пролетами, см. рис.4:
1.25•(R12 слева +R12справа)=1.25•(4.46+3.62)=10.35
Призагружении снеговой нагрузкой одного погонного метра дополнительной рамы с S0=100 кгс/м2 нагрузкасоставит:
нормативнаянагрузка 10.35•100•1=1035 кгс/м;
расчетнаянагрузка 10.35•100•1•1.6=1656 кгс/м.
Базовыйкод вертикальной нагрузки в табл. 3 докум. -01ПЗ определен для шага рам 6 м иприводится в кгс/м2, поэтому переведем полученную расчетную нагрузкуот снега в кгс/м2 и учтем уменьшение шага рам в 2 раза:
1656/(6•2)=138кгс/м2.
Полнаянагрузка на дополнительную раму (между осями 1 и 2) составит:
постояннаярасчетная -70 кгс/м2
снеговаярасчетная –138 кгс/м2
Итого:218 кгс/м2
Следовательнодля рам, поставленных в зоне снегового мешка с шагом 3 м, принимаем базовый кодвертикальной нагрузки IIIв соответствии с табл. 3 докум. -01ПЗ.
Для рамв зоне снегового мешка (по оси 1 и на расстоянии 3 м от оси 1) принимаемрасчетный код вертикальной нагрузки V в соответствии с табл. 8 докум. -01ПЗ.
Базовыеи расчетные коды вертикальных нагрузок для разных конструкций сведены в табл.2.
| Вид конструкции | Код вертикальной нагрузки | Код горизонтальной нагрузки | |
| базовый | расчетный | ||
| 1. Несущие рамы: |
|
|
|
| - рядовые рамы | III | V | I |
| - рамы в осях 1-2 | III | V | I |
| 2. Прогоны покрытия |
|
|
|
| - рядовые | III | III |
|
| - в зоне снегового мешка (см. схема, лист 6) | III | VI |
|
| 3. Стойки фахверка | III | III | I |
| 4. Балки фахверка | III | III |
|
ВЫБОР ОСНОВНЫХ НЕСУЩИХ КОНСТРУКЦИЙ
НЕСУЩИЕРАМЫ
1. Раматрехпролетная с пролетами 24 м - 3×24.
Высотадо низа несущих конструкций по заданию 9.0 м, принимаем близкую к этой величинеунифицированную высоту 9.6 м.
2.Расчетный код вертикальной нагрузки - V.
3.Сталь несущих конструкций С255 (по табл. 7 докум. -01ПЗ).
4.Определение модификации рамы.
Модификациярамы (1 или 2) зависит от шага прогонов покрытия.
Определимшаг прогонов покрытия в зависимости от несущей способности ограждающихконструкций.
ТАБЛИЦАСБОРА НАГРУЗОК НА ПРОГОНЫ ПОКРЫТИЯ
| Наименование нагрузки | Нормативная нагрузка, кгс/м2 | Коэффициент надежности по нагрузке, γf | Расчетная нагрузка, кгс/м2 |
| ПОСТОЯННЫЕ НАГРУЗКИ |
|
|
|
| 1. Ограждающие конструкции покрытия | 23.5 |
| 25.2 |
| 2. Прогоны покрытия | 10 | 1.05 | 10.5 |
| Итого: | 33.5 |
| 35.7 |
| СНЕГОВЫЕ НАГРУЗКИ |
|
|
|
| 3. Снеговая нагрузка для прогонов покрытия в осях 3-21 | 100 | 1.6 | 160.0 |
| 4. Снеговая нагрузка для прогонов покрытия в осях 2-3 (в зоне снегового мешка) с коэффициентом μ2=1.72: | 172 | 1.6 | 275.0 |
| 5. Снеговая нагрузка для прогонов покрытия в осях 1-2 (в зоне снегового мешка) с коэффициентом μ12=2.76: | 276 | 1.6 | 442.0 |
| Всего для прогонов в осях 3-21: | 133.5 |
| 195.7 |
| Всего для прогонов в осях 2-3: | 205.5 |
| 311.0 |
| Всего для прогонов в осях 1 -2: | 310.0 |
| 478.0 |
5. В соответствии с табл. 1 докум. -059 принимаем дляпрогонов покрытия в осях 3-21 код вертикальной нагрузки III (срасчетной кодовой нагрузкой 215 кгс/м2 при фактической расчетнойнагрузке 195.7 кгс/м2).
6. Всоответствии с табл. 2 докум. -059 принимаем в осях 3-21 марку прогона ППР-3.0-III. Сечениепрогона [20 (по таблице докум. -061). Шаг прогонов 3 м в осях 3-21.
7. Всоответствии с табл. 1 докум. -059 принимаем для прогонов покрытия в осях 2-3код вертикальной нагрузки V (с расчетной кодовой нагрузкой 365 кгс/м2 прифактической расчетной нагрузке 311 кгс/м2). В соответствии с табл. 2докум.-059 должны принять в осях 2-3 марку прогона ППР-3.0-V, этоймарке соответствует прогон сечением [24 по таблице докум. -061. Но длясохранения высоты сечения прогонов покрытия по всей кровле (h=200)примем для осей 2-3 марку прогона ППР-1.5-VI с соответствующим сечением [20(по таблице докум. -061). Шаг прогонов 1.5 м в осях 2-3.
8. Взоне снегового мешка в осях 1-2 рамы стоят с шагом 3 м, следовательно прогонпокрытия длиной 6 м работает по 2-х пролетной схеме. Такая схема прогоновпокрытия не предусмотрена в настоящей серии. В целях унификации принимаем дляосей 1-2 прогоны покрытия марки ППР-1.5-VI с соответствующим сечением [20.Шаг прогонов принимаем 1.5 м в осях 1-2.
9.Принимаем модификацию рамы в соответствии с пунктом 5.2. докум. -01ПЗ:
- дляосей с 4 по 21 - модификация 1;
- дляосей 1, 2, 3 - модификация 2.
10.Таким образом, рядовая рама имеет марку 1 РТМ 3×240.96 - V-1.
В зонеснегового мешка рамы имеют марку 2 РТМ 3×240.96 - V-1.
СХЕМАНЕСУЩИХ РАМ

СХЕМА ПРОГОНОВ ПОКРЫТИЯ

| Прогоны покрытия | |
| марка | сечение |
| ППР-3.0-III | [20 |
| ППР-1.5-III | [20 |
В соответствии с докум.-059 принята разрезная схема прогонов покрытия без тяжей, так как принятыеограждающие конструкции покрытия (послойная сборка) создают жесткий дискпокрытия. Прогоны покрытия в коньке скрепить специальными элементами, установленнымис шагом 1 м.
РАЗБИВКАРАМЫ НА ОТПРАВОЧНЫЕ ЭЛЕМЕНТЫ

1. Марки отправочным элементам назначают в соответствии сдокум. -065...- 071.
В маркеотправочного элемента ригеля над чертой дана марка для рядовых рам, под чертой- марка для рам в зоне снегового мешка.
2. Дляопределения типа средней стойки К2 (одноветвевая или двухветвевая) и подборасечения необходимо определить суммарное вертикальное усилие на среднюю стойку всвязевом блоке в соответствии с докум. -045.
ОПРЕДЕЛЕНИЕ СУММАРНОГО ВЕРТИКАЛЬНОГОУСИЛИЯ
НАСРЕДНИЕ СТОЙКИ РАМ В СВЯЗЕВОМ БЛОКЕ
|
| Усилие на среднюю стойку |
| Nкод - усилие в стойке от вертикальных нагрузок, |
|
| определяемое по докум. -022, | N2 код=0.9•N2 табл |
| для рамы с пролетом 3×24 высотой 9.6 м, | N2 табл=37.1 тс |
| базовый код вертикальной нагрузки III (для рядовых рам и рам в зоне снегового мешка). | N2 код=0.9•37.1=33.39 тс |
| Nкран - усилие в стойке от действия крана, определяемое по докум. -023, | Σ Nкран=(Nкран лев+Nкран прав)•ψ |
| Σ Nкран=(Nкран лев+Nкран прав)•ψ, | Nкран=4.86 тс |
| где ψ=0.7 - при двух кранах в каждом пролете | Σ Nкран=1.8•(4.86+4.86)•0.7 |
| Коэффициент k=1.8 для рядовых рам при наличии двух кранов на одном пути. | Σ Nкран=12.25 тс |
| Nw - дополнительное вертикальное усилие на стойку в связевом блоке от ветра, определяемое по документам -042...-045 (для рядовых рам и для рамы по оси 2). | Nw=2.045 тс (см. лист 10 докум. -02ПЗ) |
| Суммарное вертикальное усилие на среднюю стойку в связевом блоке (для рядовых рам и для рамы по оси 2): ΣNст=Nкод+Nкран+Nw | ΣNст=33.39+12.25+2.045=47.685 тс |
3. Марка средней стойки рядовой рамы (в осях 3...21) - 2К2.150.55-1-1. Марка средней стойки рамы в зоне снегового мешка (в осях 1...3) -2К2.1 50.55-1-1.
4.Сечениесредней стойки К2 принимаем по сортаменту двухветвевых средних стоек всоответствии с докум. -094 при суммарном вертикальном усилии в стойке ΣN=47.685 тсдля высоты стойки Нст=12 м, при высоте сечения поясов ригеля h=180.
Сечениеветвей средней стойки: гн. □180×5, сечение решетки гн.□140×4.
СВЯЗЕВЫЕБЛОКИ
1. В соответствии с докум. -028 и -029 здание длиной 120 мнеобходимо разбить на 2 температурных блока длиной 60 м каждый. Длина блоковдолжна быть согласована с заказчиком и соответствовать технологии производства.
2.Расстановка горизонтальных и вертикальных связей, распорок по покрытию и стойкамрам выполнена в соответствии с докум. -030...-032, 038, 039.
3.Определение усилий в элементах связевого блока и выбор сечений элементовсвязевого блока выполнен в соответствии с докум. -042...-045.
Схемагоризонтальных связей и распорок по покрытию

Схемагоризонтальных связей и распорок в связевом блоке

Схемагоризонтальных связей и распорок в рядовом блоке

Схемавертикальных связей и распорок по крайним стойкам рам

1 Отметка установки распорки определяется местоположением2-го узла сверху по внутренней ветви стойки, точную отметку уточнить приразработке КМД.
Схема вертикальных связей ираспорок по средним стойкам рам

Определение усилий и выбор сечений элементов связевого блокасм. лист 10.
СВОДНАЯТАБЛИЦА СЕЧЕНИЙ ЭЛЕМЕНТОВ СВЯЗЕВОГО БЛОКА
| Элементы связевого блока | |||||
| по средним стойкам | по крайним стойкам | по покрытию | |||
| Марка | сечение | марка | сечение | марка | сечение |
| СВ1 | Ø20 | СВ2 | Ø20 | СГ1 | Ø20 |
| РС1 | □100×4 | РС2 | □100×4 | РСЗ | □100×4 |
| РРС1 | пояса □l00×4 раскосы □80×4 | РРС2 | пояса □100×4 раскосы □80×4 | РРСЗ | пояса □100×4 раскосы □80×4 |
ОПРЕДЕЛЕНИЕУСИЛИЙ В ЭЛЕМЕНТАХ СВЯЗЕВОГО БЛОКА
Усилияв элементах связевого блока определяются в соответствии с документами-042...-045.
|
| Для средней стойки | Для крайней стойки |
| Суммарная ветровая нагрузка QΣw=СеΣ·w0·Kzcp·γf·Агр | Грузовая площадь Агр= 0.5•15.26•24=183 м2 | Грузовая площадь Агр= 0.5•(9.6+2+0.1•24/2)•(24/2) =76.8 м2 |
| w0=30 CeΣ=1.4 Kzcp=0.65 γf =1.4 | QΣw =1.4·30·0.65·1.4·183=6.99 тс | QΣw =1.4·30·0.65·1.4·76.8=2.935тс |
| Нагрузка в гибкой связи: Nсв=0.525•Qyc/(cosα•γс) Qyc=l.l•QΣw/n γc=0.9 n=2 - количество связевых блоков по длине температурного блока | Вертикальные связи по средним стойкам
| Вертикальные связи по крайним стойкам
|
|
| Qyc=1.1•6.99/2=3.84 тс | Qyc=1.1•2.935/2=1.61 тс |
|
| cosα=6/7.2=0.832 | cosα=6/8.34= 0.719 |
|
| Nсв=0.525•3.84/(0.832•0.9)=2.69 тс | Nсв=0.525•1.61/(0.719•0.9)=1.31 тс |
| Усилие предварительного натяжения: Sпн=0.95•Nпред где Nпред - предельная несущая способность гибкой связи по табл. 2 докум. -044. | По табл. 2 докум. -044 принимаем сечение гибкой связи Ø20 класса прочности 4.8., сталь С255. Nпред=3.53 тс Sпн=0.95•3.53=3.35 тс | По табл. 2 докум. -044 принимаем сечение гибкой связи Ø20 класса прочности 4.8., сталь С255. Nпред=3.53 тс Sпн=0.95•3.53=3.35 тс |
| Суммарное вертикальное усилие на стойки в связевом блоке: ΣNст=Nкод+Nкран+Nw Nкод - см. докум. -022 и лист 7. Nкран - см. докум. -023 и лист 7. ΣNw - см. докум. -045 ΣNw=1.1•Sпн•sin α | Nкод=33.39 тс Nкран=12.25 тс sin α=4/7.2=0.555 ΣNw=1.1•3.35•0.555=2.045 тс ΣNст=33.39+12.25+2.045=47.685 тс | Nкод=22.14 тс Nкран=8.75 тс sin α=5.8/8.34=0.695 ΣNw=1.1•3.35•0.695=2.56 тс ΣNст=22.14+8.75+2.56=33.45 тс |
| Усилие в одноветвевой распорке PC Nрасп=2.2•Sпн•cosα+QficΣ где QficΣ - суммарная условная сила; QficΣ=Qfic•√nc, но не менее 2Qfic Qfic=0.02•ΣNст nc=4 - количество стоек, примыкающих к связевому блоку | Qfic=0.02•47.685=0.954 тс QficΣ=0.954•√4=1.91 тс Nрасп=2.2•3.35•0.832+1.91=8.04 тс По табл. 1 докум. -044 принимаем сечение распорки PC: □100×4 | Qfic=0.02•33.45=0.669 тс QficΣ=0.669•√4=1.34 тс Nрасп=2.2•3.35•0.719+1.34=6.64 тс По табл. 1 докум. -044 принимаем сечение распорки PC: □100×4 |
| Усилие в поясе двухветвевой распорке РРС Nрасп=0.5(2.2•Sпн•cosα+QficΣ) | Nрасп=0.5•(2.2•3.35•0.832+1.91)=4.02 тс По таблице докум. -043 принимаем сечение распорки РРС: пояса - □100×4 раскосы - □80×4 | Nрасп=0.5•(2.2•3.35•0.719+1.34)=3.32 тс По таблице докум. -043 принимаем сечение распорки РРС: пояса - □100×4 раскосы - □80×4 |
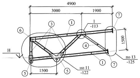
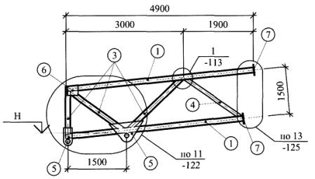
ТОРЦЕВОЙФАХВЕРК
Схема стоек и балок фахверка,распорок, вертикальных связей и балок БШ

1. В соответствии с заданием принята схема с несущимфахверком по оси 21.
2.Проектирование конструкций несущего фахверка выполнено в соответствии с докум.-046...-048.
3.Крановые пути в торце опираются на балки БШ между стойками фахверка.
4.Связевый блок расположен в середине торца здания. При установке ворот всоседнем шаге происходит разрыв линии распорок по стойкам фахверка, поэтомуустанавливается дополнительный связевый блок с другой стороны разрыва.
ОПРЕДЕЛЕНИЕ УСИЛИЙ И ПОДБОР СЕЧЕНИЙ В ЭЛЕМЕНТАХ ТОРЦЕВОГОФАХВЕРКА
| Марка | Маркировка по настоящей серии | Тип элемента | Сечение элемента |
| Ссылочный документ |
| СФ1 | СФ1.160-1-III | стойка несущего фахверка без крана | гн. □160×240×8 | ветровой район II, код вертикальной нагрузки III, при Нсф=14.7 м | докум. -050 |
| СФ2 | СФ2.160-1-III | стойка несущего фахверка с краном | гн. □160×240×10 | ветровой район II, код вертикальной нагрузки III, при Нсф=14.7 м | докум. -051 |
| БФ1 | БФ1.60-III | рядовая балка фахверка | гн. □140×180×5 | код вертикальной нагрузки III | докум. -053 |
5. Сечения элементов связевого блока по фахверку принимаеманалогично сечениям элементов связевого блока по крайним стойкам несущим рам.
ТАБЛИЦАСЕЧЕНИЙ ЭЛЕМЕНТОВ СВЯЗЕВОГО БЛОКА ФАХВЕРКА
| Элементы связевого блока | |
| марка | сечение |
| СВ3 | Ø20 |
| РС4 | □100×4 |
ОПРЕДЕЛЕНИЕНАГРУЗОК НА ФУНДАМЕНТЫ.


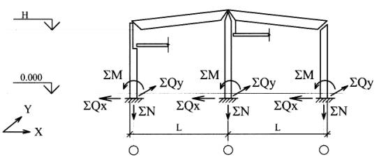
На схеме показаны направления усилий с положительнымизнаками.
1. Сбор нагрузок на фундаменты стоек несущих рамвыполнен в соответствии с докум. -020...-024 и представлен в табл. 10. Сводныйсбор нагрузок на фундаменты стоек несущих рам представлен в табл. 9.
2. Сборнагрузок на фундаменты стоек несущего фахверка выполнен в соответствии с докум.-025 и представлен в табл. 11.
СВОДНАЯТАБЛИЦА НАГРУЗОК НА ФУНДАМЕНТЫ СТОЕК НЕСУЩИХ РАМ, тс
| Усилие | Рядовой блок | Связевый блок | Температ. шов | Снегов. мешок | ||||
| Ф1 | Ф2 | ФЗ | Ф4 | Ф5 | Ф6 | Ф7 | Ф8 | |
| Суммарное вертикальное усилие ΣN | –31.31 | –45.64 | –32.87 | –48.18 | –16.96 | –24.74 | –15.65 | –22.83 |
| Суммарное горизонтальное усилие ΣQx | ±9.88 |
| ±9.88 |
| ±5.34 |
| ±4.93 |
|
| Суммарное горизонтальное усилие ΣQy |
|
| ±3.55 | ±4.33 |
|
|
|
|
ТАБЛИЦАСБОРА НАГРУЗОК НА ФУНДАМЕНТЫ НЕСУЩИХ РАМ, тс
| Усилие | Рядовой блок | Связевый блок | Температ. шов | Снегов. мешок | ||||
| Ф1 | Ф2 | Ф3 | Ф4 | Ф5 | Ф6 | Ф7 | Ф8 | |
| ОПРЕДЕЛЕНИЕ СУММАРНОГО ВЕРТИКАЛЬНОГО УСИЛИЯ ΣN, тс | ||||||||
| Nкод - усилие от вертикальных нагрузок: |
|
|
|
|
|
|
|
|
| для крайних стоек N1код=1.07•N1табл | –22.14 |
| –22.14 |
| –11.99 |
| –11.07 |
|
| для средних стоек N2код=0.9•N2табл |
| –33.39 |
| –33.9 |
| –18.10 |
| –16.70 |
| N1табл=20.7 тс, N2табл=37.1 тс |
|
|
|
|
|
|
|
|
| Nкран - усилие от подвесного крана Икран=4.86 тс, к=1.8 - для рядовых рам |
|
|
|
|
|
|
|
|
| Для крайних стоек: ΣNкран=k•Nкран лев | –8.75 |
| –8.75 |
| –4.74 |
| –4.37 |
|
| Для средних стоек: ΣNкран=k•(Nкран лев+ Nкран прав)•0.7 |
| –12.25 |
| –12.25 |
| –6.64 |
| –6.13 |
| Nw - вертикальное усилие в стойке от ветра поперек здания Nw=MΣw/Lзд | –0.42 |
| –0.42 |
| –0.23 |
| –0.21 |
|
| MΣw=0.575•QΣw•Нзд QΣw=СеΣ·w0·Kzcp·γf·Aгр w0=30кгс/м2, СеΣ=1.4, Kzcp=0.65, γf=1.4 Aгр=90.66 м2 (крайняя стойка) |
|
|
|
|
|
|
|
|
| Nw - вертикальное усилие в стойке связевого блока от ветра вдоль здания. |
|
|
|
|
|
|
|
|
| Nw=Qy•h/В |
|
| –1.56 | –2.54 |
|
|
|
|
| h=5.8 (крайняя ст-ка), h= 4.0 (средняя ст-ка) Qy=l.l·QΣw/n, n=2 QΣw = CeΣ·w0·Kzcp·γf·Arp w0=30 кгс/м2, CeΣ=1.4, Kzcp=0.65, γf=1.4 Агр=76.8 м2 (кр. ст-ка), Агр=181.32 м2 (ср. ст-ка) |
|
|
|
|
|
|
|
|
| Суммарное вертикальное усилие ΣN, тс | –31.31 | –45.64 | –32.87 | –48.18 | –16.96 | –24.74 | –15.65 | –22.83 |
| ОПРЕДЕЛЕНИЕ СУММАРНОГО ГОРИЗОНТАЛЬНОГО УСИЛИЯ ΣQx, тс | ||||||||
| Qx - усилие от вертикальных нагрузок: для крайних стоек Qx=1.05•Qxтабл Qxтабл=3.8 тс | ±3.99 |
| ±3.99 |
| ±2.16 |
| ±1.99 |
|
| Qxкран - усилие от действия подвесного крана, k=1.8 Qxкран=2.64 тс Для крайних стоек: ΣQкран=0.85•k•Qxкран | ±4.04 |
| ±4.04 |
| ±2.18 |
| ±2.02 |
|
| Qxw – усилие от ветра поперек здания. Qlxwmax=0.535·QΣw | ±1.85 |
| ±1.85 |
| ±1.00 |
| ±0.92 |
|
| QΣw=CeΣ·w0·Kzcp·γf·Aгр w0=30 кгс/м2, CeΣ=1.4, Kzcp=0.65, γf=1.4 Aгр=90.66 м2 (крайняя стойка) |
|
|
|
|
|
|
|
|
| Суммарное горизонтальное усилие ΣQx, тс | ±9.88 |
| ±9.88 |
| ±5.34 |
| ±4.93 |
|
| ОПРЕДЕЛЕНИЕ СУММАРНОГО ГОРИЗОНТАЛЬНОГО УСИЛИЯ ΣQy, тс | ||||||||
| Qyкран - усилие от подвесного крана, k=1.8 Qyкран=±0.5 тс |
|
|
|
|
|
|
|
|
| Для крайних стоек : ΣQyкран=k•Qyкран |
|
| ±0.90 |
|
|
|
|
|
| Для средних стоек: ΣQyкран=0.7•k•(Qyкран лев+Qyкран прав) |
|
|
| ±1.26 |
|
|
|
|
| Qyw - усилие от ветра вдоль здания в связевом блоке: Qyw=1.1•Sпн•cosα Sпн=0.95•Nпред, Nпред=3.53 тс |
|
|
|
|
|
|
|
|
| cosα=0.719 ( крайняя стойка) |
|
| ±2.65 |
|
|
|
|
|
| cosα=0.832 ( средняя стойка) |
|
|
| ±3.07 |
|
|
|
|
| Суммарное горизонтальное усилие ΣQy, тс |
|
| ±3.55 | ±4.33 |
|
|
|
|
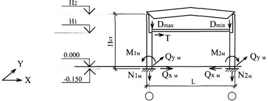
Схемафундаментов стоек несущего фахверка (по оси 21)

Суммарная ветровая нагрузкана стойки фахверка определяется в соответствии с докум. -025:
- ветерпоперек здания
QxΣw=0.25·CeΣ·w0·Kzcp·γf·Нзд·В
w0=30 кгс/м2, CeΣ=1.4,Kzcp=0.65,γf=1.4, принимаем Нзд=14.7+0.15+0.410=15.26 м
QxΣw=0.25·1.4·30·0.65·1.4·15.26·6=0.875тс
- ветер вдоль здания
QyΣw=CeΣ·w0·Kzcp·γf·Нзд·l
QyΣw=1.4·30·0.65·1.4·15.26·6=3.500тс
ТАБЛИЦАСБОРА НАГРУЗОК НА ФУНДАМЕНТЫ СТОЕК НЕСУЩЕГО ФАХВЕРКА
| Усилие | Ф10 | Ф11 | Ф12 | Ф13 | Ф14 | Ф15 | Ф16 |
| ОПРЕДЕЛЕНИЕ СУММАРНОГО ВЕРТИКАЛЬНОГО УСИЛИЯ ΣN, тс | |||||||
| Nкод - вертикальная нагрузка от покрытия Nкод=0.5•qкод•В•l; qкод=240 кгс/м2 | –4.32 | –4.32 | –4.32 | –4.32 | –4.32 | –4.32 | –4.32 |
| Nст - вертикальная нагрузка от стены и цоколя Nст=qстен•hстен•l+qцок•hцок•l qстен=50 кгс/м2, qцок=750 кгс/м2, hцок=0.6 м | –6.20 | –6.74 | –6.92 | –7.10 | –7.28 | –7.10 | –6.20 |
| Nкр - вертикальная нагрузка от действия крана Nкр=ΣNкран•(l–а)/l; а=4.5 м Nкран=4.86 тс, k=1.2 - для торцевых рам Для стойки по оси Б: ΣNкран=k•(Nкран лев+Nкран прав)•0.7 Для остальных крановых стоек: ΣNкран=k•Nкран лев | –1.46 |
| –2.04 | –1.46 |
| –1.46 |
|
| Nw - вертикальная нагрузка от ветра поперек здания (вдоль оси X в связевом блоке) Nw=QxΣw•Нзд/l |
|
|
| –2.23 | –2.23 |
|
|
| Суммарное вертикальное усилие ΣN | –11.98 | -11.06 | -13.28 | -15.11 | -13.83 | -12.88 | -10.52 |
| ОПРЕДЕЛЕНИЕ СУММАРНОГО ГОРИЗОНТАЛЬНОГО УСИЛИЯ ΣQx, тс | |||||||
| Qx - горизонтальная нагрузка от ветра вдоль оси X: |
|
|
|
|
|
|
|
| для стойки в связевом блоке Qx=1.1•Sпн•cosα Sпн=3.35 т, cosα=6/7.75=0.775 |
|
|
| ±2.86 | ±2.86 |
|
|
| для крайней стойки Qx = QxΣw | ±0.88 |
|
|
|
|
| ±0.88 |
| Суммарное горизонтальное усилие ΣQx | ±0.88 |
|
| ±2.86 | ±2.86 |
| ±0.88 |
| ОПРЕДЕЛЕНИЕ СУММАРНОГО ГОРИЗОНТАЛЬНОГО УСИЛИЯ ΣQy, тс | |||||||
| Qy -горизонтальная нагрузка от ветра вдоль оси Y: Qy=0.5•QyΣw | ±1.75 | ±1.75 | ±1.75 | ±1.75 | ±1.75 | ±1.75 | ±1.75 |
| ОПРЕДЕЛЕНИЕ МОМЕНТА Мх, тм | |||||||
| Мх - опрокидывающий момент, возникающий от действия ветра вдоль оси Y: Мх=0.125•QyΣ•Нзд | ±6.67 | ±6.67 | ±6.67 | ±6.67 | ±6.67 | ±6.67 | +6.67 |
СТЕНОВЫЕПРОГОНЫ
Определениеусилий и подбор сечений стеновых прогонов см. следующий лист.
Схемастеновых прогонов в осях 1-21, 21-1

ФасадА-Г

Схемастеновых прогонов в осях А-Г

1. Расстановка стеновых прогонов производится в соответствиис заданными фасадами. Максимальный шаг прогонов по высоте принимается всоответствии с проектом по шифру 172 КМ5.
2.Сечения стеновых прогонов принимаются в зависимости от расчетного ветровогодавления и расчетной вертикальной нагрузки в соответствии с докум. -062...-064.
ОПРЕДЕЛЕНИЕУСИЛИЙ И ПОДБОР СЕЧЕНИЙ СТЕНОВЫХ ПРОГОНОВ
| Марка | Местоположение | Расчетное ветровое давление | Р, кгс/м | Расчетная вертикальная нагрузка | Q, кгс/м | Сечение элемента |
|
|
| P=w0•k•c•γf•hw w=30 кгс/м2, с=1.4 k=0.55, γf=1.4 |
| Q=q св•hс Ql ст=50 кгс/м2 - вес стены, см. докум. -062 q2 ст=5 кгс/м2- вес стенового прогона. |
|
|
| ПС2 | Фасад 1-21 (21-1) отм.+7.500 | hw=3.5/2+3.5/2=3.5 м - для рядового прогона | 113 | hc=3.5/2+3.5/2=3.5 м - для рядового прогона Q=5•3.5=18 кгс/м | 18 | гн.[160×80×5 |
| ПС1 | отм.+4.000 | hw=l.8/2+3.5/2=2.65 м - для надоконного прогона | 85.7 | hc=11.0-4.0=7.0 м - для надоконного прогона Q=50•7.0=350 кгс/м | 350 | гн.□160×5 |
| ПС2 | Фасад А-Г отм.+4.200 | hw=3.6/2+3.6/2=3.60 м - для рядового прогона | 116 | hс=3.6/2+3.6/2=3.60 м - для рядового прогона Q=5•3.6=18 кгс/м | 18 | гн.[160×80×5 |
| ПС1 | отм.+7.800 | hw=3.6/2+3.2/2=3.40 м - для стыкового прогона | 110 | hс =14.7–7.8=6.90 м - для стыкового прогона Q=50•6.9=345 кгс/м | 345 | гн.□160×5 |
| ПС2 | отм.+11.000 | hw=3.7/2+3.2/2=3.45 м - для рядового прогона | 112 | hс=3.7/2+3.2/2=3.45 м - для рядового прогона Q=5•3.45=18 кгс/м | 18 | гн.[160×80×5 |
| ПСЗ | отм.+4.200 | hw=4.2/2+3.6/2=3.9 м - для надворотного прогона | 126 | hс=7.8–4.2=3.6 м - для надворотного прогона Q=50•3.6=180 кгс/м | 180 | гн.□160×5 (унификация) |
| ПЦ1 | отм.+0.600 | В соответствии с проектом по шифру 172 КМ5. | гн.[160×80×4 | |||
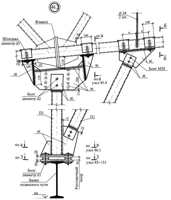
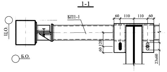
ПУТИПОДВЕСНОГО ТРАНСПОРТА



1. Схемы путей подвесного транспорта выполнены всоответствии с докум. -055 ...-058.
2.Сечения элементов для крепления путей подвесного транспорта см. лист 18.

| Грузоподъемность крана | Марки элементов для крепления путей подвесного транспорта | Балки подвесных путей | ||||||||
| БП1 | БП2 | П1 | П2 | |||||||
| Сечение | Сталь | Сечение | Сталь | Сечение | Сталь | Сечение | Сталь | Сечение | Сталь | |
| Q=3.2 т | [30 | С255 | гн. □140×4 | С255 | гн. □100×4 | С255 | гн. □100×4 | С255 | I 36M | С345 |
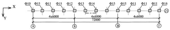
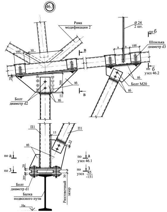
ДАННЫЕДЛЯ УЗЛОВ КРЕПЛЕНИЯ ПОДВЕСНЫХ ПУТЕЙ
| Грузо-подъемность крана | Толщина пластины tпл, мм | Болт диаметр d1, мм ГОСТ 15589-70 | Болт диаметр d2, мм ГОСТ 15589-70 | Шпилька диаметр d3, мм | Класс прочности |
| Q=3.2 т | 22 | 20 | 24 | 20 | 5.8 |
1. Узлы крепления элементов путей подвесного транспортавыполнить в соответствии с документами -151...-158.
2.Допускается применять болты по ГОСТ 15591-70*, ГОСТ7796-70* и назначать по табл. 57 СНиП II-23-81* применительно к конструкциям, не рассчитываемым навыносливость.
3.Гайки применять по ГОСТ5915-70.

| КОД РАМЫ | Осевая привязка, А, мм | Размеры рамы, м | Размеры крана, м | ||||||
| L | Н | Нр | Нс | С | d | Lкр | Lk, max | ||
| 1РТО180.48-* | 0 | 18.0 | 4.8 | 1.5 | 1.5 | 0.3 | 3.0 | ≤12.0 | 1.2 |
| 250 | 12.0 | 1.5 | |||||||
| 1РТО180.60-* | 0 | 18.0 | 6.0 | 1.5 | 1.5 | 0.3 | 3.0 | ≤12.0 | 1.2 |
| 250 | 12.0 | 1.5 | |||||||
| 1РТО180.72-* | 0 | 18.0 | 7.2 | 1.5 | 1.5 | 0.3 | 3.0 | ≤12.0 | 1.2 |
| 250 | 12.0 | 1.5 | |||||||
| 1РТО180.84-* | 0 | 18.0 | 8.4 | 1.5 | 1.5 | 0.3 | 3.0 | ≤12.0 | 1.2 |
| 250 | 12.0 | 1.5 | |||||||
Пролет21 м

| КОД РАМЫ | Размеры рамы, м | Размеры крана, м | ||||||
| L | Н | Нр | Нc | С | d | Lкр | Lk, max | |
| 1РТО210.60-* | 21.0 | 6.0 | 1.5 | 1.5 | 0.3 | 3.0 | ≤15.0 | 1.5 |
| 1РТО210.72-* | 21.0 | 7.2 | 1.5 | 1.5 | 0.3 | 3.0 | ≤15.0 | 1.5 |
| 1РТО210.84-* | 21.0 | 8.4 | 1.5 | 1.5 | 0.3 | 3.0 | ≤15.0 | 1.5 |
| 1РТО210.96-* | 21.0 | 9.6 | 1.5 | 1.5 | 0.3 | 3.0 | ≤15.0 | 1.5 |
1. Трубчатые рамы суказанными габаритами могут применяться в зданиях без кранов или с подвеснымикранами. При наличии кранов следует руководствоваться данными по привязке стоекрам и параметрами кранов, указанными в таблицах 1,2.
2. Lkmaxуточнить в соответствии с табл. 1, документ 056.
3.Принцип маркировки рам см. документ 01ПЗ.

| КОД РАМЫ | Размеры рамы, м | Размеры крана, м | ||||||
| L | Н | Нр | Нс | С | d | Lкр | Lk, max | |
| 1РТО240.60-* | 24.0 | 6.0 | 1.5 | 1.5 | 0.3 | 3.0 | ≤15 | 1.5 |
| 1РТО240.72-* | 24.0 | 7.2 | 1.5 | 1.5 | 0.3 | 3.0 | ≤15 | 1.5 |
| 1РТО240.84-* | 24.0 | 8.4 | 1.5 | 1.5 | 0.3 | 3.0 | ≤15 | 1.5 |
| 1РТО240.96-* | 24.0 | 9.6 | 1.5 | 1.5 | 0.3 | 3.0 | ≤15 | 1.5 |
Примечаниясм. документ –001.

| КОД РАМЫ | Размеры рамы, м | Размеры крана, м | ||||||
| L | H | Нр | Нc | С | d | Lкр | Lk, max | |
| 1РТО300.60-* | 30.0 | 6.0 | 1.5 | 1.5 | 0.3 | 3.0 | ≤15 | 1.5 |
| 1РТО300.72-* | 30.0 | 7.2 | 1.5 | 1.5 | 0.3 | 3.0 | ≤15 | 1.5 |
| 1РТО300.84-* | 30.0 | 8.4 | 1.5 | 1.5 | 0.3 | 3.0 | ≤15 | 1.5 |
| 1РТО300.96-* | 30.0 | 9.6 | 1.5 | 1.5 | 0.3 | 3.0 | ≤15 | 1.5 |

| КОД РАМЫ | Осевая привязка, А, мм | Размеры рамы, м | Размеры крана, м | ||||||
| L | Н | Нр | Нc | С | d | Lкр | Lk, max | ||
| 2РТО180.48-* | 0 | 18.0 | 4.8 | 1.5 | 1.5 | 0.3 | 1.5 | ≤12.0 | 1.2 |
| 250 | 12.0 | 1.5 | |||||||
| 2РТО180.60-* | 0 | 18.0 | 6.0 | 1.5 | 1.5 | 0.3 | 1.5 | ≤12.0 | 1.2 |
| 250 | 12.0 | 1.5 | |||||||
| 2РТО180.72-* | 0 | 18.0 | 7.2 | 1.5 | 1.5 | 0.3 | 1.5 | ≤12.0 | 1.2 |
| 250 | 12.0 | 1.5 | |||||||
| 2РТО180.84-* | 0 | 18.0 | 8.4 | 1.5 | 1.5 | 0.3 | 1.5 | ≤12.0 | 1.2 |
| 250 | 12.0 | 1.5 | |||||||
Пролет21 м

| КОД РАМЫ | Размеры рамы, м | Размеры крана, м | ||||||
| L | Н | Нр | Нc | С | d | Lкр | Lk, max | |
| 2РТО210.60-* | 21.0 | 6.0 | 1.5 | 1.5 | 0.3 | 1.5 | ≤15.0 | 1.5 |
| 2РТО210.72-* | 21.0 | 7.2 | 1.5 | 1.5 | 0.3 | 1.5 | ≤15.0 | 1.5 |
| 2РТО210.84-* | 21.0 | 8.4 | 1.5 | 1.5 | 0.3 | 1.5 | ≤15.0 | 1.5 |
| 2РТО210.96-* | 21.0 | 9.6 | 1.5 | 1.5 | 0.3 | 1.5 | ≤15.0 | 1.5 |

| КОД РАМЫ | Размеры рамы, м | Размеры крана, м | ||||||
| L | Н | Нр | Нc | С | d | Lкр | Lk, max | |
| 2РТО240.60-* | 24.0 | 6.0 | 1.5 | 1.5 | 0.3 | 1.5 | ≤15 | 1.5 |
| 2РТО240.72-* | 24.0 | 7.2 | 1.5 | 1.5 | 0.3 | 1.5 | ≤15 | 1.5 |
| 2РТО240.84-* | 24.0 | 8.4 | 1.5 | 1.5 | 0.3 | 1.5 | ≤15 | 1.5 |
| 2РТО240.96-* | 24.0 | 9.6 | 1.5 | 1.5 | 0.3 | 1.5 | ≤15 | 1.5 |
Пролет30 м

| КОД РАМЫ | Размеры рамы, м | Размеры крана, м | ||||||
| L | Н | Нр | Нc | С | d | Lкр | Lk, max | |
| 2РТО300.60-* | 30.0 | 6.0 | 1.5 | 1.5 | 0.3 | 1.5 | ≤15 | 1.5 |
| 2РТО300.72-* | 30.0 | 7.2 | 1.5 | 1.5 | 0.3 | 1.5 | ≤15 | 1.5 |
| 2РТО300.84-* | 30.0 | 8.4 | 1.5 | 1.5 | 0.3 | 1.5 | ≤15 | 1.5 |
| 2РТО300.96-* | 30.0 | 9.6 | 1.5 | 1.5 | 0.3 | 1.5 | ≤15 | 1.5 |

| КОД РАМЫ | Осевая привязка, А, мм | Размеры рамы, м | Размеры крана, м | ||||||
| L | Н | Нр | Нc | с | d | Lкр | Lk, max | ||
| 3РТ0150.48-* | 0 | 15.0 | 4.8 | 1.0 | 1.0 | 0.25 | 1.5 | ≤9.0 | 1.5 |
| 250 | 12.0 | 0.6 | |||||||
| 3РТО150.60-* | 0 | 15.0 | 6.0 | 1.0 | 1.0 | 0.25 | 1.5 | ≤9.0 | 1.5 |
| 250 | 12.0 | 0.6 | |||||||
| 3РТО150.72-* | 0 | 15.0 | 7.2 | 1.0 | 1.0 | 0.25 | 1.5 | ≤9.0 | 1.5 |
| 250 | 12.0 | 0.6 | |||||||
1. Трубчатые рамы с указанными габаритами могут применятьсяв зданиях без кранов или с подвесными кранами. При наличии кранов следуетруководствоваться данными по осевой привязке стоек рам и параметрами кранов,указанными в таблице.
2. Lkmaxуточнить в соответствии с таблицей 1 документ -056.
3.Принцип маркировки рам см. документ -01ПЗ.

| КОД РАМЫ | Размеры рамы, м | Размеры крана, м | |||||||
| L | L1 | Н | Нр | Нc | С | d | Lкр | Lk, max | |
| 1РТМ2×180.48-* | 36.0 | 18.0 | 4.8 | 1.5 | 1.5 | 0.25 | 3.0 | ≤12.0 | 1.5 |
| 1РТМ2×180.60-* | 36.0 | 18.0 | 6.0 | 1.5 | 1.5 | 0.3 | 3.0 | ≤12.0 | 1.5 |
| 1РТМ2×180.72-* | 36.0 | 18.0 | 7.2 | 1.5 | 1.5 | 0.3 | 3.0 | ≤12.0 | 1.5 |
| 1РТМ2×180.84-* | 36.0 | 18.0 | 8.4 | 1.5 | 1.5 | 0.3 | 3.0 | ≤12.0 | 1.5 |
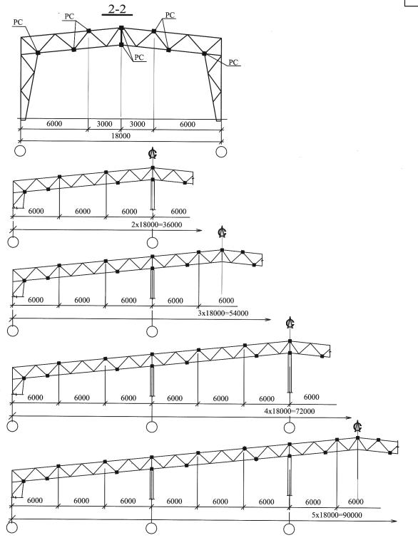
Пролет3×18 м

| КОД РАМЫ | Размеры рамы, м | Размеры крана, м | |||||||
| L | L1 | Н | Нр | Нc | С | d | Lкр, max | Lk, max | |
| 1РТМ3×180.48-* | 54.0 | 18.0 | 4.8 | 1.5 | 1.5 | 0.25 | 3.0 | ≤12.0 | 1.5 |
| 1РТМ3×180.60-* | 54.0 | 18.0 | 6.0 | 1.5 | 1.5 | 0.3 | 3.0 | ≤12.0 | 1.5 |
| 1РТМ3×180.72-* | 54.0 | 18.0 | 7.2 | 1.5 | 1.5 | 0.3 | 3.0 | ≤12.0 | 1.5 |
| 1РТМ3×180.84-* | 54.0 | 18.0 | 8.4 | 1.5 | 1.5 | 0.3 | 3.0 | ≤12.0 | 1.5 |
1. Трубчатые рамы с указанными габаритами могут применятьсяв зданиях без кранов или с подвесными кранами.
2.Принципы маркировки рам см. документ -01ПЗ.

| КОД РАМЫ | Размеры рамы, м | Размеры крана, м | |||||||
| L | L1 | Н | Hp | Нc | С | d | Lкр, max | Lk, max | |
| 1РТМ4×180.48-* | 72.0 | 18.0 | 4.8 | 1.5 | 1.5 | 0.3 | 3.0 | ≤12.0 | 1.5 |
| 1РТМ4×180.60-* | 72.0 | 18.0 | 6.0 | 1.5 | 1.5 | 0.3 | 3.0 | ≤12.0 | 1.5 |
| 1РТМ4×180.72-* | 72.0 | 18.0 | 7.2 | 1.5 | 1.5 | 0.3 | 3.0 | ≤12.0 | 1.5 |
| 1РТМ4×180.84-* | 72.0 | 18.0 | 8.4 | 1.5 | 1.5 | 0.3 | 3.0 | ≤12.0 | 1.5 |
Пролет5×18 м

| КОД РАМЫ | Размеры рамы, м | Размеры крана, м | |||||||
| L | L1 | Н | Нр | Нc | С | d | Lкр, max | Lk, max | |
| 1РТМ5×180.48-* | 90.0 | 18.0 | 4.8 | 1.5 | 1.5 | 0.3 | 3.0 | ≤12.0 | 1.5 |
| 1РТМ5×180.60-* | 90.0 | 18.0 | 6.0 | 1.5 | 1.5 | 0.3 | 3.0 | ≤12.0 | 1.5 |
| 1РТМ5×180.72-* | 90.0 | 18.0 | 7.2 | 1.5 | 1.5 | 0.3 | 3.0 | ≤12.0 | 1.5 |
| 1РТМ5×180.84-* | 90.0 | 18.0 | 8.4 | 1.5 | 1.5 | 0.3 | 3.0 | ≤12.0 | 1.5 |

| КОД РАМЫ | Размеры рамы, м | Размеры крана, м | |||||||
| L | L1 | Н | Нр | Нc | С | d | Lкр | Lk, max | |
| 1РТМ2×210.60-* | 42.0 | 21.0 | 6.0 | 1.5 | 1.5 | 0.3 | 3.0 | ≤l5.0 | 1.5 |
| 1РТМ2×210.72-* | 42.0 | 21.0 | 7.2 | 1.5 | 1.5 | 0.3 | 3.0 | ≤15.0 | 1.5 |
| 1РТМ2×210.84-* | 42.0 | 21.0 | 8.4 | 1.5 | 1.5 | 0.3 | 3.0 | ≤15.0 | 1.5 |
| 1РТМ2×210.96-* | 42.0 | 21.0 | 9.6 | 1.5 | 1.5 | 0.3 | 3.0 | ≤15.0 | 1.5 |
Пролет3×21 м

| КОД РАМЫ | Размеры рамы, м | Размеры крана, м | |||||||
| L | L1 | H | Нр | Нc | С | d | Lкр | Lk, max | |
| 1РТМ3×210.60-* | 63.0 | 21.0 | 6.0 | 1.5 | 1.5 | 0.3 | 3.0 | ≤15.0 | 1.5 |
| 1РТМ3×210.72-* | 63.0 | 21.0 | 7.2 | 1.5 | 1.5 | 0.3 | 3.0 | ≤15.0 | 1.5 |
| 1РТМ3×210.84-* | 63.0 | 21.0 | 8.4 | 1.5 | 1.5 | 0.3 | 3.0 | ≤15.0 | 1.5 |
| 1РТМ3×210.96-* | 63.0 | 21.0 | 9.6 | 1.5 | 1.5 | 0.3 | 3.0 | ≤15.0 | 1.5 |
Трубчатыерамы с указанными габаритами могут применяться в зданиях без кранов или сподвесными кранами.
Пролет 4×21 м

| КОД РАМЫ | Размеры рамы, м | Размеры крана, м | |||||||
| L | L1 | Н | Нр | Нc | С | d | Lкр | Lk, max | |
| 1РТМ4×210.60-* | 84.0 | 21.0 | 6.0 | 1.5 | 1.5 | 0.3 | 3.0 | ≤15.0 | 1.5 |
| 1РТМ4×210.72-* | 84.0 | 21.0 | 7.2 | 1.5 | 1.5 | 0.3 | 3.0 | ≤15.0 | 1.5 |
| 1РТМ4×210.84-* | 84.0 | 21.0 | 8.4 | 1.5 | 1.5 | 0.3 | 3.0 | ≤15.0 | 1.5 |
| 1РТМ4×210.96-* | 84.0 | 21.0 | 9.6 | 1.5 | 1.5 | 0.3 | 3.0 | ≤l5.0 | 1.5 |
Пролет 2×24 м

| КОД РАМЫ | Размеры рамы, м | Размеры крана, м | |||||||
| L | L1 | Н | Нр | Нc | С | d | Lкр | Lk, max | |
| 1РТМ2×240.60-* | 48.0 | 24.0 | 6.0 | 1.5 | 1.5 | 0.3 | 3.0 | ≤15.0 | 1.5 |
| 1РТМ2×240.72-* | 48.0 | 24.0 | 7.2 | 1.5 | 1.5 | 0.3 | 3.0 | ≤15.0 | 1.5 |
| 1РТМ2×240.84-* | 48.0 | 24.0 | 8.4 | 1.5 | 1.5 | 0.3 | 3.0 | ≤15.0 | 1.5 |
| 1РТМ2×240.96-* | 48.0 | 24.0 | 9.6 | 1.5 | 1.5 | 0.3 | 3.0 | ≤15.0 | 1.5 |
Пролет3×24 м

| КОД РАМЫ | Размеры рамы, м | Размеры крана, м | |||||||
| L | L1 | Н | Нр | Нc | С | d | Lkp, max | Lk, max | |
| 1РТМ3×240.60-* | 72.0 | 24.0 | 6.0 | 1.5 | 1.5 | 0.3 | 3.0 | ≤15.0 | 1.5 |
| 1РТМ3×240.72-* | 72.0 | 24.0 | 7.2 | 1.5 | 1.5 | 0.3 | 3.0 | ≤15.0 | 1.5 |
| 1РТМ3×240.84-* | 72.0 | 24.0 | 8.4 | 1.5 | 1.5 | 0.3 | 3.0 | ≤15.0 | 1.5 |
| 1РТМ3×240.96-* | 72.0 | 24.0 | 9.6 | 1.5 | 1.5 | 0.3 | 3.0 | ≤15.0 | 1.5 |
Пролет 4×24 м

| КОД РАМЫ | Размеры рамы, м | Размеры крана, м | |||||||
| L | L1 | Н | Нр | Нc | С | d | Lкр, max | Lk, max | |
| 1РТМ4×240.60-* | 96.0 | 24.0 | 6.0 | 1.5 | 1.5 | 0.3 | 3.0 | ≤15.0 | 1.5 |
| 1РТМ4×240.72-* | 96.0 | 24.0 | 7.2 | 1.5 | 1.5 | 0.3 | 3.0 | ≤15.0 | 1.5 |
| 1РТМ4×240.84-* | 96.0 | 24.0 | 8.4 | 1.5 | 1.5 | 0.3 | 3.0 | ≤15.0 | 1.5 |
| 1РТМ4×240.96-* | 96.0 | 24.0 | 9.6 | 1.5 | 1.5 | 0.3 | 3.0 | ≤l5.0 | 1.5 |
Пролет 2×30 м

| КОД РАМЫ | Размеры рамы, м | Размеры крана, м | |||||||
| L | L1 | Н | Нр | Нc | С | d | Lкр | Lk, max | |
| 1РТМ2×300.60-* | 60.0 | 30.0 | 6.0 | 1.5 | 1.5 | 0.3 | 3.0 | ≤15.0 | 1.5 |
| 1РТМ2×300.72-* | 60.0 | 30.0 | 7.2 | 1.5 | 1.5 | 0.3 | 3.0 | ≤15.0 | 1.5 |
| 1РТМ2×300.84-* | 60.0 | 30.0 | 8.4 | 1.5 | 1.5 | 0.3 | 3.0 | ≤15.0 | 1.5 |
| 1РТМ2×300.96-* | 60.0 | 30.0 | 9.6 | 1.5 | 1.5 | 0.3 | 3.0 | ≤15.0 | 1.5 |
Пролет3×30 м

| КОД РАМЫ | Размеры рамы, м | Размеры крана, м | |||||||
| L | L1 | H | Нр | Нc | С | d | Lкр | Lk, max | |
| 1РТМ3×300.60-* | 90.0 | 30.0 | 6.0 | 1.5 | 1.5 | 0.3 | 3.0 | ≤15.0 | 1.5 |
| 1РТМ3×300.72-* | 90.0 | 30.0 | 7.2 | 1.5 | 1.5 | 0.3 | 3.0 | ≤15.0 | 1.5 |
| 1РТМ3×300.84-* | 90.0 | 30.0 | 8.4 | 1.5 | 1.5 | 0.3 | 3.0 | ≤15.0 | 1.5 |
| 1РТМ3×300.96-* | 90.0 | 30.0 | 9.6 | 1.5 | 1.5 | 0.3 | 3.0 | ≤15.0 | 1.5 |
Трубчатые рамы с указанными габаритами могут применяться взданиях без кранов или с подвесными кранами.
Пролет 2×18 м

| КОД РАМЫ | Размеры рамы, м | Размеры крана, м | |||||||
| L | L1 | Н | Нр | Нc | С | d | Lкр | Lk, max | |
| 2РТМ2×180.48-* | 36.0 | 18.0 | 4.8 | 1.5 | 1.5 | 0.3 | 1.5 | ≤12.0 | 1.5 |
| 2РТМ2×180.60-* | 36.0 | 18.0 | 6.0 | 1.5 | 1.5 | 0.3 | 1.5 | ≤12.0 | 1.5 |
| 2РТМ2×180.72-* | 36.0 | 18.0 | 7.2 | 1.5 | 1.5 | 0.3 | 1.5 | ≤12.0 | 1.5 |
| 2РТМ2×180.84-* | 36.0 | 18.0 | 8.4 | 1.5 | 1.5 | 0.3 | 1.5 | ≤12.0 | 1.5 |
Пролет3×18 м

| КОД РАМЫ | Размеры рамы, м | Размеры крана, м | |||||||
| L | L1 | Н | Hp | Нc | С | d | Lкр, max | Lk, max | |
| 2РТМ3×180.48-* | 54.0 | 18.0 | 4.8 | 1.5 | 1.5 | 0.3 | 1.5 | ≤12.0 | 1.5 |
| 2РТМ3×180.60-* | 54.0 | 18.0 | 6.0 | 1.5 | 1.5 | 0.3 | 1.5 | ≤12.0 | 1.5 |
| 2РТМ3×180.72-* | 54.0 | 18.0 | 7.2 | 1.5 | 1.5 | 0.3 | 1.5 | ≤12.0 | 1.5 |
| 2РТМ3×180.84-* | 54.0 | 18.0 | 8.4 | 1.5 | 1.5 | 0.3 | 1.5 | ≤12.0 | 1.5 |
Пролет 4×18 м

| КОД РАМЫ | Размеры рамы, м | Размеры крана, м | |||||||
| L | L1 | Н | Нр | Нc | С | d | Lкр, max | Lk, max | |
| 2РТМ4×180.48-* | 72.0 | 18.0 | 4.8 | 1.5 | 1.5 | 0.3 | 1.5 | ≤l2.0 | 1.5 |
| 2РТМ4×180.60-* | 72.0 | 18.0 | 6.0 | 1.5 | 1.5 | 0.3 | 1.5 | ≤12.0 | 1.5 |
| 2РТМ4×180.72-* | 72.0 | 18.0 | 7.2 | 1.5 | 1.5 | 0.3 | 1.5 | ≤12.0 | 1.5 |
| 2РТМ4×180.84-* | 72.0 | 18.0 | 8.4 | 1.5 | 1.5 | 0.3 | 1.5 | ≤l2.0 | 1.5 |
Пролет5×18 м

| КОД РАМЫ | Размеры рамы, м | Размеры крана, м | |||||||
| L | L1 | Н | Нр | Нc | С | d | Lкр, max | Lk, max | |
| 2РТМ5×180.48-* | 90.0 | 18.0 | 4.8 | 1.5 | 1.5 | 0.3 | 1.5 | ≤12.0 | 1.5 |
| 2РТМ5×180.60-* | 90.0 | 18.0 | 6.0 | 1.5 | 1.5 | 0.3 | 1.5 | ≤l2.0 | 1.5 |
| 2РТМ5×180.72-* | 90.0 | 18.0 | 7.2 | 1.5 | 1.5 | 0.3 | 1.5 | ≤l2.0 | 1.5 |
| 2РТМ5×180.84-* | 90.0 | 18.0 | 8.4 | 1.5 | 1.5 | 0.3 | 1.5 | ≤12.0 | 1.5 |
Пролет 2×21 м.

| КОД РАМЫ | Размеры рамы, м | Размеры крана, м | |||||||
| L | L1 | Н | Нр | Нc | С | d | Lкр | Lk, max | |
| 2РТМ2×210.60-* | 42.0 | 21.0 | 6.0 | 1.5 | 1.5 | 0.3 | 1.5 | <15.0 | 1.5 |
| 2РТМ2×210.72-* | 42.0 | 21.0 | 7.2 | 1.5 | 1.5 | 0.3 | 1.5 | <15.0 | 1.5 |
| 2РТМ2×210.72-* | 42.0 | 21.0 | 8.4 | 1.5 | 1.5 | 0.3 | 1.5 | <15.0 | 1.5 |
| 2РТМ2×210.84-* | 42.0 | 21.0 | 9.6 | 1.5 | 1.5 | 0.3 | 1.5 | <15.0 | 1.5 |
Пролет3×21 м

| КОД РАМЫ | Размеры рамы, м | Размеры крана, м | |||||||
| L | L1 | Н | Нр | Нс | С | d | Lкр | Lk, max | |
| 2РТМ3×210.60-* | 63.0 | 21.0 | 6.0 | 1.5 | 1.5 | 0.3 | 1.5 | ≤15.0 | 1.5 |
| 2РТМ3×210.72-* | 63.0 | 21.0 | 7.2 | 1.5 | 1.5 | 0.3 | 1.5 | ≤15.0 | 1.5 |
| 2РТМ3×210.72-* | 63.0 | 21.0 | 8.4 | 1.5 | 1.5 | 0.3 | 1.5 | ≤15.0 | 1.5 |
| 2РТМ3×210.84-* | 63.0 | 21.0 | 9.6 | 1.5 | 1.5 | 0.3 | 1.5 | ≤15.0 | 1.5 |
Пролет 4×21 м

| КОД РАМЫ | Размеры рамы, м | Размеры крана, м | |||||||
| L | L1 | Н | Нр | Нc | С | d | Lкp | Lk, max | |
| 2РТМ4×210.60-* | 84.0 | 21.0 | 6.0 | 1.5 | 1.5 | 0.3 | 1.5 | ≤l5.0 | 1.5 |
| 2РТМ4×210.72-* | 84.0 | 21.0 | 7.2 | 1.5 | 1.5 | 0.3 | 1.5 | ≤15.0 | 1.5 |
| 2РТМ4×210.84-* | 84.0 | 21.0 | 8.4 | 1.5 | 1.5 | 0.3 | 1.5 | ≤15.0 | 1.5 |
| 2РТМ4×210.96-* | 84.0 | 21.0 | 9.6 | 1.5 | 1.5 | 0.3 | 1.5 | ≤15.0 | 1.5 |
Пролет 2×24 м

| КОД РАМЫ | Размеры рамы, м | Размеры крана, м | |||||||
| L | L1 | Н | Нр | Нc | С | d | Lкр | Lk, max | |
| 2РТМ2×240.60-* | 48.0 | 24.0 | 6.0 | 1.5 | 1.5 | 0.3 | 1.5 | ≤15.0 | 1.5 |
| 2РТМ2×240.72-* | 48.0 | 24.0 | 7.2 | 1.5 | 1.5 | 0.3 | 1.5 | ≤15.0 | 1.5 |
| 2РТМ2×240.84-* | 48.0 | 24.0 | 8.4 | 1.5 | 1.5 | 0.3 | 1.5 | ≤15.0 | 1.5 |
| 2РТМ2×240.96-* | 48.0 | 24.0 | 9.6 | 1.5 | 1.5 | 0.3 | 1.5 | ≤15.0 | 1.5 |
Пролет3×24 м

| КОД РАМЫ | Размеры рамы, м | Размеры крана, м | |||||||
| L | L1 | Н | Нр | Нc | С | d | Lкр, max | Lk, max | |
| 2РТМ3×240.60-* | 72.0 | 24.0 | 6.0 | 1.5 | 1.5 | 0.3 | 1.5 | ≤15.0 | 1.5 |
| 2РТМ3×240.72-* | 72.0 | 24.0 | 7.2 | 1.5 | 1.5 | 0.3 | 1.5 | ≤15.0 | 1.5 |
| 2РТМ3×240.84-* | 72.0 | 24.0 | 8.4 | 1.5 | 1.5 | 0.3 | 1.5 | ≤15.0 | 1.5 |
| 2РТМ3×240.96-* | 72.0 | 24.0 | 9.6 | 1.5 | 1.5 | 0.3 | 1.5 | ≤15.0 | 1.5 |
Пролет 4×24 м

| КОД РАМЫ | Размеры рамы, м | Размеры крана, м | |||||||
| L | L1 | Н | Нр | Нc | С | d | Lкр, max | Lk, max | |
| 2РТМ4×240.60-* | 96.0 | 24.0 | 6.0 | 1.5 | 1.5 | 0.3 | 1.5 | ≤l5.0 | 1.5 |
| 2РТМ4×240.72-* | 96.0 | 24.0 | 7.2 | 1.5 | 1.5 | 0.3 | 1.5 | ≤l5.0 | 1.5 |
| 2РТМ4×240.84-* | 96.0 | 24.0 | 8.4 | 1.5 | 1.5 | 0.3 | 1.5 | ≤15.0 | 1.5 |
| 2РТМ4×240.96-* | 96.0 | 24.0 | 9.6 | 1.5 | 1.5 | 0.3 | 1.5 | ≤15.0 | 1.5 |
Пролет 2×30 м

| КОД РАМЫ | Размеры рамы, м | Размеры крана, м | |||||||
| L | L1 | H | Нр | Нc | С | d | Lкр | Lk, max | |
| 2РТМ2×300.60-* | 60.0 | 30.0 | 6.0 | 1.5 | 1.5 | 0.3 | 1.5 | ≤15.0 | 1.5 |
| 2РТМ2×300.72-* | 60.0 | 30.0 | 7.2 | 1.5 | 1.5 | 0.3 | 1.5 | ≤15.0 | 1.5 |
| 2РТМ2×300.84-* | 60.0 | 30.0 | 8.4 | 1.5 | 1.5 | 0.3 | 1.5 | ≤15.0 | 1.5 |
| 2РТМ2×300.96-* | 60.0 | 30.0 | 9.6 | 1.5 | 1.5 | 0.3 | 1.5 | ≤15.0 | 1.5 |
Пролет3×30 м

| КОД РАМЫ | Размеры рамы, м | Размеры крана, м | |||||||
| L | L1 | H | Нр | Нc | С | d | Lкр | Lk, max | |
| 2РТМ3×300.60-* | 90.0 | 30.0 | 6.0 | 1.5 | 1.5 | 0.3 | 1.5 | ≤15.0 | 1.5 |
| 2РТМ3×300.72-* | 90.0 | 30.0 | 7.2 | 1.5 | 1.5 | 0.3 | 1.5 | ≤15.0 | 1.5 |
| 2РТМ3×300.84-* | 90.0 | 30.0 | 8.4 | 1.5 | 1.5 | 0.3 | 1.5 | ≤15.0 | 1.5 |
| 2РТМ3×300.96-* | 90.0 | 30.0 | 9.6 | 1.5 | 1.5 | 0.3 | 1.5 | ≤15.0 | 1.5 |

Нагрузки на фундаменты определяются как сумма постоянных,длительных и кратковременных нагрузок.
| Суммарная вертикальная нагрузка: | ΣN=Nкод+Nкран+Nw | (1) | |
| Суммарная горизонтальная нагрузка по оси X: | ΣQx=Qx+Qxкран+Qxw | (2) | |
| Суммарная горизонтальная нагрузка по оси Y: | ΣQy=Qyкран+Qyw | (3) | |
| где Nкод, Qx | – усилия от вертикальных нагрузок, которые включают в себя постоянные, снеговые и технологические нагрузки от коммуникаций, определяются по таблицам докум. -021, - 022; | ||
| Nкран, Qxкран, Qyкран | – усилия от действия крана, определяются по таблице см. докум. -023; | ||
| Nw, Qxw, Qyw | – усилия от ветра (вдоль или поперек здания) определяются в зависимости от ветрового района, конфигурации и габаритов здания по формулам, приведенным в докум. -024. | ||
Расчет фундаментов следует выполнять с учетом наиболеенеблагоприятных сочетаний нагрузок. Эти сочетания устанавливаются из анализареальных вариантов одновременного действия различных нагрузок. При учетесочетаний следует вводить коэффициенты сочетаний в соответствии со СНиП 2.01.07-85*"Нагрузки и воздействия".
Допускаетсякорректировка усилий, действующих на фундаменты, по следующим формулам:
|
| (4) | |
|
| (5) | |
|
| (6) | |
| где Nфакт, Qxфакт, Qy факт | – фактическое усилие на фундамент; | |
| ΣN, ΣQx, ΣQy | – суммарные усилия на фундамент, определенные в соответствии с кодом вертикальной нагрузки; | |
| qфaкт | – фактическая вертикальная нагрузка, кгс/м2; | |
| qкод | – унифицированная вертикальная нагрузка, см. табл. 3 докум. -01ПЗ, кгс/м2 | |

РАСЧЕТНЫЕУСИЛИЯ НА ФУНДАМЕНТЫ ОДНОПРОЛЕТНЫХ РАМ ОТ ВЕРТИКАЛЬНЫХ НАГРУЗОК, тс
| Пролет рамы L, м | Отметка Н, м | Код вертикальной нагрузки | |||||||||||
| I | II | III | IV | V | VI | ||||||||
| N | Qx | N | Qx | N | Qx | N | Qx | N | Qx | N | Qx | ||
| 15 | 4.8; 6.0 | 9.24 | 2.13 | 11.09 | 2.56 | 13.04 | 3.39 | 16.94 | 4.40 | 19.93 | 5.54 | 24.60 | 6.84 |
| 7.2 | 9.80 | 1.35 | 11.76 | 1.62 | 13.56 | 2.19 | 17.61 | 2.85 | 20.46 | 3.62 | 25.26 | 4.47 | |
| 18 | 4.8; 6.0 | 10.55 | 2.87 | 12.66 | 3.45 | 15.15 | 4.60 | 19.68 | 5.97 | 23.38 | 7.64 | 28.86 | 9.43 |
| 7.2; 8.4 | 11.65 | 1.79 | 13.98 | 2.15 | 16.17 | 2.87 | 21.00 | 3.73 | 24.45 | 4.67 | 30.18 | 5.77 | |
| 21 | 6.0; 7.2 | 12.31 | 3.48 | 14.78 | 4.18 | 17.69 | 5.66 | 22.97 | 7.35 | 27.52 | 9.23 | 33.97 | 11.40 |
| 8.4; 9.6 | 13.42 | 2.30 | 16.11 | 2.76 | 18.71 | 3.85 | 24.30 | 5.00 | 28.36 | 6.27 | 35.01 | 7.74 | |
| 24 | 6.0; 7.2 | 13.69 | 4.73 | 16.43 | 5.68 | 19.55 | 7.55 | 25.39 | 9.80 | 30.80 | 12.18 | 38.03 | 15.04 |
| 8.4; 9.6 | 14.74 | 3.27 | 17.69 | 3.92 | 20.83 | 5.19 | 27.05 | 6.75 | 31.82 | 8.46 | 39.29 | 10.45 | |
| 30 | 6.0; 7.2 | 16.24 | 7.31 | 19.50 | 8.78 | 24.03 | 11.66 | 31.21 | 15.14 | 37.67 | 18.99 | 46.51 | 23.44 |
| 8.4; 9.6 | 17.17 | 5.11 | 20.61 | 6.13 | 24.49 | 8.32 | 31.80 | 10.80 | 38.56 | 13.54 | 47.61 | 16.72 | |
1. Вертикальные нагрузки включают постоянные (каркас,ограждающие конструкции кровли и стен, кроме цоколя), снеговые и дополнительныенагрузки (освещение, сигнализация и электрокабели с суммарным нормативнымзначением 8 кгс/м2). Нагрузки от цоколя определяются индивидуально взависимости от принятого типа цоколя.
2.Нагрузки на фундаменты от снега определяются путем умножения усилий N, Qx из табл. 1 на коэффициент kснег из табл. 2.
ОТНОСИТЕЛЬНАЯДОЛЯ РАСЧЕТНОЙ СНЕГОВОЙ НАГРУЗКИ
| Коэффициент перехода к снеговой нагрузке | Код вертикальной нагрузки | |||||
| I | II | III | IV | V | VI | |
| kснег | 0.45 | 0.55 | 0.58 | 0.67 | 0.72 | 0.73 |

РАСЧЕТНЫЕ УСИЛИЯ НА ФУНДАМЕНТЫДВУХПРОЛЕТНЫХ РАМ ОТ ВЕРТИКАЛЬНЫХ НАГРУЗОК, тс
| Пролет рамы L, м | Отметка Н, м | Код вертикальной нагрузки | |||||||||||||||||
| I | II | III | IV | V | VI | ||||||||||||||
| N1 | N2 | Qx | N1 | N2 | Qx | N1 | N2 | Qx | N1 | N2 | Qx | N1 | N2 | Qx | N1 | N2 | Qx | ||
| 18 | 4.8; 6.0 | 10.8 | 16.8 | 2.1 | 12.4 | 20.2 | 2.5 | 15.6 | 26.8 | 3.3 | 19.4 | 34.6 | 4.3 | 23.6 | 43.5 | 5.3 | 28.2 | 53.5 | 6.6 |
| 7.2; 8.4 | 11.7 | 17.3 | 1.6 | 13.3 | 20.6 | 1.9 | 16.5 | 27.4 | 2.6 | 20.2 | 35.3 | 3.3 | 24.5 | 44.4 | 4.1 | 29.3 | 54.6 | 5.1 | |
| 21 | 6.0; 7.2 | 12.4 | 19.9 | 2.3 | 14.3 | 23.9 | 2.8 | 18.1 | 31.8 | 3.7 | 22.5 | 41.0 | 4.8 | 27.5 | 51.5 | 6.0 | 33.2 | 63.3 | 7.4 |
| 8.4; 9.6 | 13.4 | 20.4 | 1.8 | 15.2 | 24.4 | 2.2 | 18.9 | 32.5 | 2.9 | 23.3 | 41.8 | 3.7 | 28.5 | 52.5 | 4.7 | 34.3 | 64.6 | 5.7 | |
| 24 | 6.0; 7.2 | 13.5 | 22.7 | 3.0 | 15.6 | 27.3 | 3.7 | 19.8 | 36.3 | 4.8 | 24.8 | 46.8 | 6.3 | 30.3 | 58.9 | 7.9 | 36.3 | 72.4 | 9.7 |
| 8.4; 9.6 | 14.4 | 23.3 | 2.4 | 16.5 | 27.9 | 2.8 | 20.7 | 37.1 | 3.8 | 25.6 | 47.8 | 4.9 | 31.2 | 60.1 | 6.1 | 37.5 | 73.8 | 7.5 | |
| 30 | 6.0; 7.2 | 15.9 | 28.2 | 4.9 | 18.6 | 33.7 | 5.9 | 23.9 | 44.9 | 7.7 | 30.2 | 57.9 | 10.1 | 37.1 | 72.8 | 12.6 | 44.7 | 97.4 | 15.6 |
| 8.4; 9.6 | 16.9 | 28.8 | 3.8 | 19.6 | 34.5 | 4.5 | 24.8 | 45.8 | 6.0 | 31.0 | 59.1 | 7.8 | 38.1 | 74.2 | 9.8 | 46.0 | 99.3 | 12.1 | |
Нагрузки на фундаменты двухпролетных рам от снегаопределяются путем умножения усилий N1, N2, Qx, приведенных в таблице, насоответствующий коэффициент kснегиз табл. 2, докум. -021.
РАСЧЕТНЫЕУСИЛИЯ НА ФУНДАМЕНТЫ МНОГОПРОЛЕТНЫХ РАМ ОТ ВЕРТИКАЛЬНЫХ НАГРУЗОК, тс

Нагрузкина фундаменты многопролетных рам с числом пролетов n=3...5 определяются следующимобразом:
вертикальные усилия
| N1=1.07•N1табл | (1) |
| N2=0.9•N2табл | (2) |
| N3=0.8•N2табл | (3) |
горизонтальныеусилия
| Qx=1.05•Qxтабл | (4) |
где N1табл,N2табл,Qxтабл – соответствующие значениянагрузок N1,N2,Qxиз таблицы для двухпролетных рам.
Коэффициентыполучены в результате обобщенных расчетов.

РАСЧЕТНЫЕУСИЛИЯ НА ФУНДАМЕНТЫ ОДНОПРОЛЕТНЫХ РАМ ОТ ПОДВЕСНЫХ КРАНОВ, тс
| Нагрузки на фундаменты | Грузоподъемность подвесного крана, т | |||
| ≤1 | 2 | 3.2 | 5 | |
| Nкран | 2.38 | 3.24 | 4.86 | 6.94 |
| Qxкран | 1.23 | 1.8 | 2.64 | 3.67 |
| Qyкран | ±0.21 | ±0.33 | ±0.50 | ±0.71 |
1. В таблице приведены максимальные расчетные нагрузки отодного подвесного крана для зданий всех пролетов и высот. При наличии двухкранов на одном пути значения нагрузок Nкран и Qxкран, приведенные в таблице, следуетумножать на коэффициент k=1.8 для рядовых рам и k=1.2 для торцевых рам.
2. Приопределении Qxкран учтены максимальные величинынагрузок, взятые от действия сил поперечного торможения тележки крана и распораот вертикальной крановой нагрузки.
3.Усилие Qyкран прикладывается только кфундаментам связевых блоков.
4. Длясредних стоек многопролетных зданий нагрузки на фундаменты определяются поформулам:
| – вертикальная нагрузка | ΣNкран=(Nкран лев+Nкран прав)•ψ | (1) | |
| – горизонтальная нагрузка | ΣQyкран=(Qyкран лев+Qyкран прав)•ψ, | (2) | |
| где Nкран лев и Nкран прав | – определяются по таблице и п. 1. в зависимости от количества кранов в каждом пролете; | ||
| ψ=0.85 | – при одном кране в каждом пролете; | ||
| ψ=0.7 | – при двух кранах в каждом пролете. | ||
СХЕМА 1 ВЕТЕР ПОПЕРЕК ЗДАНИЯ

СХЕМА2 ВЕТЕР ВДОЛЬ ЗДАНИЯ

Суммарнаяветровая нагрузка:
– сдвигающая нагрузка
| QΣw=CeΣ•W0•Kzcp•γf•Aгр | (1) |
– опрокидывающий момент
| MΣw=0.575•QΣw•Нзд | (2) |
| где CeΣ | – суммарный аэродинамический коэффициент для наветренной и подветренной стен здания, определяемый по СНиП 2.01.07-85* "Нагрузки и воздействия": СеΣ=Се+Се3 (максимальное значение СеΣ=1.4 – для зданий с проницаемостью μ<1) | |||||||||||||||
| W0 | – нормативное значение ветрового давления, определяемое в соответствии со СНиП 2.01.07-85* "Нагрузки и воздействия"; | |||||||||||||||
| Kzcp | – усредненный коэффициент, учитывающий изменение ветрового давления по высоте здания, принимаемый по приведенной ниже таблице:
| |||||||||||||||
| γf=1.4 | – коэффициент надежности по ветровой нагрузке; | |||||||||||||||
| Нзд | – высота здания от уровня фундаментов до конька с учетом ограждающих конструкций, м. | |||||||||||||||
| Агр | – грузовая площадь, м2, определяемая по формуле: Агр=a×в | |||||||||||||||
| a, в | – размеры грузовой площади, м, определенные в соответствии со схемами 1 и 2,
| |||||||||||||||
НАГРУЗКИНА ФУНДАМЕНТЫ СТОЕК ОТ ВЕТРА ПОПЕРЕК ЗДАНИЯ
СХЕМА1 ВЕТЕР ПОПЕРЕК ЗДАНИЯ

| Горизонтальная нагрузка на наветренную стойку рамы: | Q1xw=Q1w•(0.6+0.25•Се3)/СеΣ | (3) |
| Q2xw max=0.535•QΣw | (4) | |
| Горизонтальная нагрузка на подветренную стойку рамы: | Q2xw=QΣw•(0.2+0.75•Се3)/CeΣ | (5) |
| Q2xw max=0.465•QΣw | (6) | |
| Вертикальная нагрузка на стойку рамы: | N1w= N2w=MΣw/L | (7) |
| где L - общая ширина здания. |
|
НАГРУЗКИ НА ФУНДАМЕНТЫ СТОЕКСВЯЗЕВОГО БЛОКА ОТ ВЕТРА ВДОЛЬ ЗДАНИЯ
| СХЕМА 2 ВЕТЕР ВДОЛЬ ЗДАНИЯ
| Крестовые гибкие связи без предварительного натяжения
| Крестовые гибкие связи с предварительным натяжением
| ||||
| Горизонтальная нагрузка на фундамент стойки связевого блока: |
|
| ||||
| Вертикальная нагрузка на фундамент стойки связевого блока: |
|
|
| где Sпн | – усилие предварительного натяжения связи, см.докум.- 044; | ||
| n | – количество связевых блоков по длине здания; | ||
| h | – высота связевого блока, м; | ||
| Qy | – горизонтальное усилие от ветра на стойку связевого блока, определяемое по формуле:
|

Суммарная ветровая нагрузка настойки торцевого фахверка:
Ветер поперек здания
| QxΣw=0.25•СехΣ•W0•Kzcp•γf•Нзд•В | (1) |
Ветер вдоль здания
| QyΣw=СеуΣ•W0•Kzcp•γf•Нзд•l | (2) | |
| где СехΣ | – суммарный аэродинамический коэффициент для наветренной и подветренной стен здания, определяемый по СНиП 2.01.07-85* "Нагрузки и воздействия": СехΣ=Се+Се3 (максимальное значение СеΣ=1.4) | |
| СеуΣ | – суммарный аэродинамический коэффициент для наветренной стены здания, определяемый по СНиП 2.01.07-85* "Нагрузки и воздействия": СеуΣ=1 | |
| W0 | – нормативное значение ветрового давления, определяемое в соответствии со СНиП 2.01.07-85* "Нагрузки и воздействия"; | |
| Kzcp | – усредненный коэффициент, учитывающий изменение ветрового давления по высоте здания, принимаемый по таблице см. л. 1 докум. -024; | |
| γf=1.4 | – коэффициент надежности по ветровой нагрузке; | |
| Нзд | – высота здания от уровня фундаментов до конька с учетом ограждающих конструкций, м; | |
| В | – шаг стоек рам, В=6 м; | |
| l | – шаг стоек фахверка, м. | |
НАГРУЗКИНА ФУНДАМЕНТЫ СТОЕК ЙЕСУЩЕГО ФАХВЕРКА
Суммарная вертикальная нагрузка:
ΣN=Nкод+Nст+Nкр+Nw,
| где Nкод – вертикальная нагрузка от покрытия | Nкод=0.5•qкод•В•l | (3) |
| Nст – вертикальная нагрузка от стены и цоколя | Nст=qстен•hстен•l+qцок•hцок•l | (4) |
| Nкр – вертикальная нагрузка от действия крана | Nкp=Nкран•(l–а)/l | (5) |
| Nw – вертикальная нагрузка от ветра поперек здания (вдоль оси X в связевом блоке) | Nw=QxΣw•Нзд/l | (6) |
| где qкод | – унифицированная вертикальная нагрузка от покрытия, определяется по табл.3 докум. -01ПЗ, кгс/м2; |
| qстен, qцок | – вертикальная нагрузка от ограждающих конструкций стены и цоколя, определяется индивидуально, кгс/м2; |
| hстен | – высота стенового ограждения, м; |
| hцок | – высота цоколя, м; |
| Nкран | – вертикальное усилие от крана в зависимости от грузоподъемности, см. таблицу докум. -023. |
Приналичии двух кранов на соседних путях следует учитывать их одновременноевоздействие. При наличии двух кранов на одном пути значение N кран следуетумножать на коэффициент 1.2. Для учета сочетаний нагрузок следует вводитькоэффициенты сочетаний нагрузок в соответствии со СНиП 2.01.07-85*.
| Горизонтальная нагрузка от ветра вдоль оси X: |
|
|
| – для стойки в связевом блоке | Qx=1.1•Sпн•Cosα | (7) |
|
| где Sпн – усилие предварительного натяжения связи, см. докум. -044 |
|
| – для крайней стойки | Qx=QxΣw | (8) |
| – для крайней стойки, к которой примыкает связевый блок | Qx=1.1•Sпн•Cosα+QxΣw | (9) |
| Горизонтальная нагрузка от ветра вдоль оси Y: | Qy=0.5•QyΣw | (10) |
| Опрокидывающий момент, возникающий от действия ветра вдоль оси Y: | Мх=0.125•QyΣ•Нзд | (11) |

Суммарная ветровая нагрузка настойки самонесущего фахверка:
Ветер вдоль здания
| QyΣw=Сеу•W0•Kzcp•γf•Нзд•l | (1) | |
| где Сеу | – суммарный аэродинамический коэффициент для наветренной и подветренной стен здания, определяемый по СНиП 2.01.07-85* "Нагрузки и воздействия": CeyΣ=1 | |
| W0 | – нормативное значение ветрового давления, определяемое в соответствии со СНиП 2.01.07-85* "Нагрузки и воздействия"; | |
| Kzcp | – усредненный коэффициент, учитывающий изменение ветрового давления по высоте здания, принимаемый по табл. лист 1 докум. -024; | |
| γf=1.4 | – коэффициент надежности по ветровой нагрузке; | |
| Нзд | – высота здания от уровня фундаментов до конька, м. | |
| l | – шаг стоек фахверка, м. | |
НАГРУЗКИНА ФУНДАМЕНТЫ СТОЕК САМОНЕСУЩЕГО ФАХВЕРКА
| Вертикальная нагрузка от покрытия | NΣ=qфахв•Нзд•l | (2) |
|
| где qфахв – вертикальная нагрузка от стоек самонесущего фахверка, веса ограждающих конструкций стены и веса цоколя, кгс/м2, определяется индивидуально. |
|
| Горизонтальная нагрузка от ветра вдоль оси Y: | Qy=0.5•QyΣw | (3) |
| Опрокидывающий момент, возникающий от действия ветра вдоль оси Y: | Мх=0.125•QySΣ•Нзд | (4) |
Нагрузки на фундаменты основной несущей рамы в торце зданияопределяются аналогично нагрузкам на фундаменты соответствующей рамы отвертикальных, крановых, ветровых нагрузок с учетом уменьшенной грузовой площадипокрытия и дополнительной нагрузки от собственного веса торца здания.
ОДНОПРОЛЕТНЫЕ ЗДАНИЯ
ТОРЕЦ СНЕСУЩИМ ФАХВЕРКОМ

ТОРЕЦ СОСНОВНОЙ НЕСУЩЕЙ РАМОЙ
(для перспективного расширенияздания)

В зданиях пролетом 15 и 18 м при наличии подвесных крановпривязка "А" принимается "0" или "250" мм взависимости от параметров выбранного крана. Для других пролетов рам, а такжедля зданий без кранов при любых пролетах, принята нулевая привязка.
Шагстоек фахверка l принимается в зависимости отпролета в соответствии со схемами фахверка.
МНОГОПРОЛЕТНЫЕЗДАНИЯ
ТОРЕЦ С НЕСУЩИМ ФАХВЕРКОМ

ТОРЕЦ СОСНОВНОЙ НЕСУЩЕЙ РАМОЙ
(для перспективного расширенияздания)

СХЕМЫПРИВЯЗКИ СТОЕК В ТЕМПЕРАТУРНЫХ ШВАХ
ВАРИАНТ 1

ВАРИАНТ 2

СВЯЗЕВЫЕ БЛОКИ
1.Расстановка связевых блоков в одно- и многопролетных зданиях производится всоответствии со схемами, приведенными в докум. -029 в зависимости от длиныздания.
2.Дополнительные связевые блоки, показанные на схемах связевых блоков пунктирами,устанавливаются в следующих случаях:
а) врайонах с сейсмичностью ≥7 баллов в зданиях длиной 54...72 и 90...96 мдля всех кодов вертикальной нагрузки;
б) взданиях длиной 90 и 96 м для кодов вертикальной нагрузки V и VI даже присейсмике <7 баллов.
Дополнительныесвязевые блоки также могут быть установлены в соответствии с п. 5 настоящихуказаний.
3.Связевый блок состоит из распорок и гибких связей, которые устанавливаются покрайним и средним стойкам и ригелям рам. Распорки в связевом блоке могут бытьдвухветвевые решетчатые и одноветвевые из замкнутых гнутосварных трубквадратного сечения. Гибкие связи могут выполняться с предварительнымнатяжением и без натяжения из круглой стали. При проектировании предпочтениеследует отдавать связям с предварительным натяжением, как наиболеепрогрессивным. Сечения элементов связевых блоков подбираются по сортаментам взависимости от действующих усилий.
4.Между связевыми блоками раскрепление рам производится одноветвевыми жесткимираспорками или гибкими растяжками (только по нижним поясам ригелей). Заменужестких распорок на гибкие растяжки допускается производить в зданиях спролетами L≤24м при отсутствии крановой и сейсмической нагрузок. Сечение гибких растяжекпринимается по сортаменту как для гибких связей покрытия.
5.Усилия в элементах связевого блока определяются в соответствии с положениями,приведенными в докум. -042. При выборе основных несущих конструкций (колонн,стоек, ригелей), входящих в состав связевого блока, должны быть учтеныдополнительные усилия от горизонтальных нагрузок и предварительного натяжениясвязей. Усилия во всех конструкциях, входящих в состав связевого блока недолжны превышать их предельной несущей способности, указанной в сортаменте. Дляуменьшения усилий в элементах каркаса и связевых блоков необходимоустанавливать дополнительные связевые блоки.
6.Величина предварительного натяжения гибких связей определяется в соответствии сформулой, приведенной в докум. -044. Контроль натяжения связей - по моментузакручивания. При установке гибких связей предусматривать последовательность ихнатяжения, исключающую появление перекосов и деформаций конструкций каркаса.
7.Маркировка элементов связевого блока:
-распорки двухветвевые решетчатые - РРС;
-распорки одноветвевые - PC;
-вертикальные связи гибкие - СВ.
-горизонтальные связи гибкие - СГ.





Обозначениесвязевых блоков:
1 -основные связевые блоки из горизонтальных и вертикальных связей;
2 -основные связевые блоки только из горизонтальных связей;
3 -дополнительные связевые блоки из горизонтальных и вертикальных связей.
1. При длине здания более 96 м необходимо устраиватьтемпературный шов.
2.Вертикальные связи в многопролетных зданиях устанавливаются по крайним исредним стойкам.


1. Схемы вертикальных связей зависят только от высоты стоек.
2.Отметка установки распорки определяется местоположением 2-го узла сверху повнутренней ветви стойки и вычисляется по формуле:
Нр≈Н–3.9 м
При разработке чертежей КМД отметка уточняется.

а) В связевых блоках между средними стойками ставятся распоркимарки:
PC- между одноветвевыми средними стойками;
РРС - между двухветвевыми среднимистойками.
б) В двухветвевых стойках распорка PCустанавливается между каждой ветвью.
1. Распорки устанавливаются только между рамами.
2.Суммарное вертикальное усилие в стойке ΣNст определяется по формуле 1,докум. -045.
1. Наданном листе представлена принципиальная схема связей и распорок по покрытию.
2.Расположение и маркировка распорок и связей для конкретных пролетов зданийприведены в документах -033...-041 в виде разрезов в связевом блоке 1-1 и врядовом блоке 2-2.
3. Вслучае, когда в торце здания устанавливается несущий фахверк, в крайнем шагераспорки PCпо покрытию устанавливаются только в уровне верхнего пояса рамы.
4.Сечения связей и распорок по покрытию принимаются такими же, как для элементоввертикальных связевых блоков по крайним стойкам рам.


| УСЛОВНЫЕ ОБОЗНАЧЕНИЯ: | |
| Решетчатая распорка РРС |
|
| Распорка PC |
|
| Горизонтальная связь ГС |
|
1. В зданиях без крановой и сейсмической нагрузкидопускается замена распорок PC между связевыми блоками по нижнему поясу ригеля на гибкиерастяжки по типу гибких связей.
2.Сечение гибких растяжек принимать по сортаменту гибких связей (табл.2, докум.-044).


| УСЛОВНЫЕ ОБОЗНАЧЕНИЯ: | |
| Решетчатая распорка РРС |
|
| Распорка PC |
|
| Связь горизонтальная СГ Связь вертикальная СВ |
|
Для раммодификации 2 расстановку распорок выполнять согласно данного документа.

| УСЛОВНЫЕ ОБОЗНАЧЕНИЯ: | |
| Распорка PC |
|
1. В зданиях без крановой и сейсмической нагрузкидопускается замена распорок PC между связевыми блоками по нижним поясам ригелей на гибкиерастяжки, выполненные по типу гибких связей.
2.Сечение гибких растяжек принимать по сортаменту гибких связей (табл. 2,документ -044).
3. Длярам модификации 2 расстановку распорок выполнять согласно данного документа.

| УСЛОВНЫЕ ОБОЗНАЧЕНИЯ: | |
| Решетчатая распорка РРС |
|
| Распорка PC |
|
| Связь горизонтальная СГ Связь вертикальная СВ |
|
Для рам модификации 2 расстановку распорок выполнятьсогласно данного документа.

| УСЛОВНЫЕ ОБОЗНАЧЕНИЯ: | |
| Распорка PC |
|
1. В зданиях без крановой и сейсмической нагрузкидопускается замена распорок PC между связевыми блоками по нижним поясам ригелей на гибкиерастяжки, выполненные по типу гибких связей.
2.Сечение гибких растяжек принимать по сортаменту гибких связей (табл. 2,документ -044).
3. Длярам модификации 2 расстановку распорок выполнять согласно данного документа.


| УСЛОВНЫЕ ОБОЗНАЧЕНИЯ: | |
| Решетчатая распорка РРС |
|
| Распорка PC |
|
| Связь горизонтальная СГ Связь вертикальная СВ |
|
Для раммодификации 2 расстановку распорок выполнять согласно данного документа.


| УСЛОВНЫЕ ОБОЗНАЧЕНИЯ: | |
| Распорка PC | ■ |
1. В зданиях без крановой и сейсмической нагрузкидопускается замена распорок PC между связевыми блоками по нижним поясам рам на гибкиерастяжки, выполненные по типу гибких связей.
2.Сечение гибких растяжек принимать по сортаменту гибких связей (табл. 2,документ -044).
3. Длярам модификации 2 расстановку распорок выполнять согласно данного документа.


| УСЛОВНЫЕ ОБОЗНАЧЕНИЯ: | |
| Решетчатая распорка РРС |
|
| Распорка PC |
|
| Связь горизонтальная СГ Связь вертикальная СВ |
|
Для рам модификации 2 расстановку распорок выполнятьсогласно данного документа.


| УСЛОВНЫЕ ОБОЗНАЧЕНИЯ: | |
| Распорка PC |
|
Для рам модификации 2 расстановку распорок выполнятьсогласно данного документа.
СХЕМА 1

СХЕМА 2

Суммарная ветровая нагрузка:
| QΣw=CeΣ•W0•KZcp•γf•Агр | (1) | |||||||||||||
| где CeΣ | – суммарный аэродинамический коэффициент для наветренной и подветренной стен здания, определяемый по СНиП 2.01.07-85* "Нагрузки и воздействия": максимальное значение СеΣ=1.4 | |||||||||||||
| W0 | – нормативное значение ветрового давления, определяемое в соответствии со СНиП 2.01.07-85* "Нагрузки и воздействия"; | |||||||||||||
| KZcp | – усредненный коэффициент, учитывающий изменение ветрового давления по высоте здания, принимаемый по таблице докум. -024 данного выпуска; | |||||||||||||
| γf=1.4 | – коэффициент надежности по ветровой нагрузке; | |||||||||||||
| Нзд | – высота здания от уровня фундаментов до конька, м. | |||||||||||||
| Агр | – грузовая площадь, определяемая по формуле, м2: Агр=a×в | |||||||||||||
| а, в | – размеры грузовой площади, определенные в соответствии со схемой 2, м:
| |||||||||||||

УСИЛИЕВ ГИБКОЙ СВЯЗИ:
с предварительным натяжением
| Ncв=0.525•Qyc/(cosα•γс) | (2) |
без предварительного натяжения
| Ncв=Qyc/(cosα•γс) | (3) | |
| Qyc=1.1•QΣw/n | (4) | |
| где α | – наибольший угол наклона вертикальной связи к горизонту (при максимальном значении hi); | |
| γс | – коэффициент условий работы, принимаемый по СНиП П-23-81*; | |
| n | – количество связевых блоков по длине здания. | |
В соответствии с полученным усилием Nсв производится подбор сечениягибких связей по сортаменту гибких связей (табл. 2, докум. -044) и для связей спредварительным натяжением определяется усилие предварительного натяжения Sпн (формула в докум. -044).
Рекомендация:в случае, когда усилие Nсв превышает предельное усилие Nпред, приведенное в сортаментегибких связей (табл. 2, докум. -044), необходимо увеличить количество связевыхблоков (n)и произвести пересчет усилия Nсв.
УСИЛИЕВ ОДНОВЕТВЕВОЙ РАСПОРКЕ PC:
для связевого блока длясвязевого блока
| Nрасп=2.2•Sпн•cosα+QficΣ | (5) |
спредварительным натяжением связей без предварительного натяжения связей
| Nрасп=Qyc+QficΣ | (6) | |||||
| где QficΣ | – суммарная условная сила;
| |||||
| где nc | – количество стоек, примыкающих к связевому блоку; | |||||
| ΣNст | – суммарное вертикальное усилие в стойке рамы в связевом блоке, определяется по формуле 1, докум. -045. | |||||
В соответствии с полученным усилием Nрасп производится подбор сеченияодноветвевых распорок по сортаменту распорок PC (табл.1, докум.-044).
УСИЛИЕВ ПОЯСЕ ДВУХВЕТВЕВОЙ РАСПОРКИ РРС:
для связевого блока длясвязевого блока
| Nрасп=0.5•(2.2•Sпн•cosα+QficΣ) | (9) |
с предварительным натяжениемсвязей без предварительного натяжения связей
| Nрасп=0.5•(Qyc+QficΣ) | (10) |
Всоответствии с полученным усилием N расп производится подбор сечениядвухветвевых распорок по сортаменту распорок РРС (см. докум. -043).
РЕШЕТЧАТЫЕ РАСПОРКИ РРС

1.Высота распорок hопределяется в зависимости от параметров рамы.
2.Число панелей (2, 3 и 4) определяется высотой решетчатой распорки h.

3.Сечение элементов распорок РРС определяется по сортаменту в зависимости отпредельной несущей способности распорки.
СОРТАМЕНТ РАСПОРОК РРС
| № п/п | Сечение | Предельная несущая способность ветви решетчатой распорки Nпред, т Nпред≥Nрасп | Масса (кг) при различной высоте h, мм | |||
| пояса | раскоса | h=1000 | h=1500 | h=2000 | ||
| 1 | □100×4 | □80×4 | 9.6 | 212.6 | 223.3 | 215.5 |
| 2 | □120×4 | □80×4 | 16.4 | 248.4 | 259.1 | 251.3 |
| 3 | □140×4 | □100×4 | 25.4 | 232.0 | 267.8 | 303.7 |
4. Пояса и раскосы в распорках выполнять из гнутосварныхтруб по ГОСТ30245-03.
5.Сечение распорок по покрытию принимать равным сечению распорок по крайнимстойкам.
6.Массу распорок с высотой h, отличной от приведенных, принимать по интерполяции.

| № п/п | Сечение распорки | Предельная несущая способность распорки Nпред, тс Nпред≥Nрасп | Масса, кг |
| 1 | □100×4 | 9.6 | 72.34 |
| 2 | □120×4 | 16.4 | 90.4 |
| 3 | □140×4 | 25.4 | 108.1 |
- масса дана из условия номинальной длины распорки L=6.0 м.

СОРТАМЕНТГИБКИХ СВЯЗЕЙ СГ и СВ
| № п/п | Сталь круглая горячекатаным ГОСТ 2590-88 | Предельная несущая способность гибкой связи Nпред, тс Nпред≥Nрасп | Масса, кг | ||
| Сталь по ГОСТ 27772-88 | 35Х (см. п. 2) | ||||
| С255 | С345 | ||||
| Класс прочности | |||||
| 4.8. | 5.8. | 8.8 | |||
| 1 | Ø20 | 3.53 | 4.41 | 8.82 | 33.09 |
| 2 | Ø24 | 5.07 | 6.34 | 12.67 | 45.83 |
- масса связи дана при длине связи L=11.0 м
1. Гнутосварные трубы для распорок по ГОСТ30245-03 из стали С255 по ГОСТ27772-88.
2.Сталь 35Х термически обработанная по ГОСТ4543-71.
3.Усилие предварительного натяжения гибких связей определяется по формуле:
Sпн=0.95•Nпред
где Nпред – предельная несущаяспособность гибкой связи, приведенная в табл. 2.
4.Сечение распорок по покрытию принимать равным сечению распорок по крайнимстойкам.
5.Сечение горизонтальных связей принимать равным сечению гибких вертикальныхсвязей по крайним стойкам.
ОПРЕДЕЛЕНИЕ ВЕРТИКАЛЬНЫХ УСИЛИЙВ СТОЙКАХ РАМ
1.Вертикальные усилия в стойках связевых блоков определяются по формулам(1)...(3) настоящего документа.
2. Всоответствии с найденными усилиями в стойках определяются:
- сечения средних стоек;
- параметры узлов сопряжения ригеля рамы со средней стойкой;
- условная сила Qfic,необходимая для определения усилий в связях и распорках связевых блоков крайнихи средних рядов стоек.
3.Подбор сечения средних стоек рам производится по сортаментам в зависимости отдействующих в них усилий и высот стоек.

СУММАРНОЕВЕРТИКАЛЬНОЕ УСИЛИЕ НА СРЕДНИЕ И КРАЙНИЕ СТОЙКИ РАМ В СВЯЗЕВОМ БЛОКЕ
| ΣNстi=Nкод+Nкран+Nw | (1) | |||||
| где Nкод | – усилие в стойке от вертикальных нагрузок, определяемое по таблице и формулам см. документ -021 и -022; | |||||
| Nкран | – усилие в стойке от подвесного крана, определяемое по таблице и формулам см. документ -023; | |||||
| Nw | – дополнительное вертикальное усилие на стойку от ветра в связевом блоке со связями: с предварительным натяжением
без предварительного натяжения
| |||||
| где α | – наибольшее значение угла наклона вертикальной связи к горизонту; | |||||
| h, b | – высота и ширина связевого блока соответственно, м. | |||||
Дляучета сочетаний нагрузок следует вводить коэффициенты сочетаний нагрузок всоответствии со СНиП2.01.07-85*.
Сечениясредних стоек подбираются по сортаментам средних стоек рам в соответствии сполученным усилием ΣNст.
ВЕРТИКАЛЬНОЕУСИЛИЕ НА УЗЕЛ СОПРЯЖЕНИЯ СРЕДНЕЙ СТОЙКИ С РИГЕЛЕМ РАМЫ В СВЯЗЕВОМ БЛОКЕ
| ΣNвт=Nкод+Nкран+Nw | (4) | |
| где ΣNвт | – вертикальное усилие, на которое рассчитываются втулка и проушины узла сопряжения средней стойки с ригелем рамы; | |
| n | – количество раскреплений стойки по высоте; | |
| Nкод, Nкран, Nw | – см. выше. | |
ТОРЦЕВОЙ ФАХВЕРК
1. Торцевые фахверки в каркасах УНИТЕК подразделяются на дватипа:
Тип 1. Несущий фахверк – воспринимает вертикальнуюнагрузку от покрытия, торцевой стены, кранов и собственного веса конструкцийфахверка, а также нагрузку от ветра, действующую вдоль и поперек здания.
Тип 2. Самонесущий фахверк – воспринимает вертикальнуюнагрузку от торцевой стены и собственного веса конструкций фахверка, а такженагрузку от ветра, действующую вдоль здания. Остальные нагрузки (от покрытия,кранов, ветра поперек здания и др.) воспринимаются основной несущей рамой,установленной в торце здания с привязкой 500 мм к крайней оси. Самонесущийфахверк применяется, в основном, в случае перспективного расширения здания подлине. Допускается применение фахверка обоих типов в одном здании.
2.Проектирование конструкций несущего и самонесущего фахверков выполняется всоответствии со схемами настоящего раздела.
3.Сечения конструкций несущего и самонесущего фахверков принимаются по сортаментув зависимости от типа фахверка, его высоты и действующих нагрузок, включаякрановые.
4. Приподборе и расстановке стоек фахверка необходимо учитывать ориентацию ихсечений. Обозначение сечения стойки: b×h×t, где b×h -размер в плоскости и из плоскости торцевой стенысоответственно; t- толщина трубы.
5. Связевыйблок фахверка следует располагать в шаге размером 6 м по возможности в среднейчасти торца здания. В зданиях шириной 21м связевый блок следует располагать вшаге размером 4.5 м. В случае разрыва линии распорок по стойкам фахверка(например, при установке ворот и др.) следует устанавливать дополнительныйсвязевый блок с другой стороны разрыва.
Маркастойки фахверка:

1 -стоика несущего фахверка в здании без крана
2 -стойка несущего фахверка в здании с кранами
3 -стойка самонесущего фахверка
1) Сечение стоек самонесущегофахверка не зависит от кода вертикальной нагрузки.
2) Высота стойки в маркировкеуказывается максимальной для группы стоек по высотам Нсф, по которой принимается еесечение, см. таблицы докум. -050...-052.
Сокращеннаямарка стойки фахверка - используется в документах сортаментов стоек фахверка:

Марка балки фахверка:

1 -рядовая балка фахверка
2 -коньковая балка фахверка
Сокращенная марка балки фахверка - используется в документахсортаментов балок фахверка:


В зданиях пролетом 15 и 18 м при наличии подвесных крановпривязка "А" крайних стоек принимается 0 или 250 мм в зависимости отпараметров крана (см. схемы рам). Для остальных зданий принята привязка"А"=0.

СХЕМАСТОЕК И БАЛОК ФАХВЕРКА ДЛЯ ЗДАНИЙ ПРОЛЕТОМ, КРАТНЫМ 6 м

СХЕМАСТОЕК И БАЛОК ФАХВЕРКА ДЛЯ ЗДАНИЙ ШИРИНОЙ L = 63 м

1. Наданном листе представлены схемы несущих фахверков для одно- и многопролетныхзданий.
2.Схема связевого блока выбирается в зависимости от наибольшей высоты стойкифахверка.
3.Расположение связевого блока должно быть максимально приближено к серединеторца здания.
4.Сечение стоек фахверка подбирается по сортаменту для стойки максимальной высотыи принимается для всех стоек данного фахверка одинаковым. Допускается назначатьсечение стоек в соответствии с их фактической высотой и действующими на нихнагрузками (включая крановые).
5.Сечения распорок и гибких связей по фахверку принимается по табл. 1 и 2 докум.-044. Усилия в элементах связевого блока несущего фахверка определяются по типупродольных связевых блоков (см. докум.-042).

1) В случае разрыва линии распорок проемом необходимопоставить дополнительный блок связей или дополнительные конструкции,обеспечивающие раскрепление стоек фахверка в плоскости стены.
1. Наданном листе представлены схемы самонесущих фахверков для одно- имногопролетных зданий.
2. Схемасвязевого блока выбирается в зависимости от наибольшей высоты стойки фахверка.
3.Расположение связевого блока должно быть максимально приближено к серединеторца здания.
4.Сечение стоек фахверка подбирается по сортаменту для стойки максимальной высотыи принимается для всех стоек данного фахверка одинаковым. Допускается назначатьсечение стоек в соответствии с их фактической высотой и действующими на нихнагрузками.
5.Сечения распорок и гибких связей по самонесущему фахверку принимаетсяминимальными по табл. 1 и 2 , см. докум.-044.

1) В случае разрыва линии распорок проемом необходимопоставить дополнительный блок связей или дополнительные конструкции,обеспечивающие раскрепление стоек фахверка в плоскости стены.


| Группы стоек фахверка по высотам Нсф, м | Марка стойки фахверка | Гнутосварные трубы по ГОСТ 30245-03, сечение b×h×t, мм | |||
| Ветровой район по СНиП 2.01.07-85* | Код вертикальной нагрузки | ||||
| I-II | III-IV | V-VI | |||
| Нсф≤6.0 | СФ1.60-* | I |
|
|
|
| II |
| 120×5 |
| ||
| III |
|
|
| ||
| IV |
| 120×160×5 |
| ||
| V |
|
| |||
| VI | 140×160×5 |
| |||
| VII | 160×5 | ||||
| 6.0<Нсф≤8.4 | СФ1.84-* | I | 140×160×5 |
| |
| II |
| 160×5 |
| ||
| III | 160×200×5 | ||||
| IV | 160×200×6 | ||||
| V |
| 200×6 |
| ||
| VI |
|
|
| ||
| VII |
| 160×240×8 | |||
| 8.4<Нсф≤10.8 | СФ1.108-* | I |
| 160×5 | |
| II |
| 160×200×5 | |||
| III | 160×200×5 | 160×200×6 |
| ||
| IV |
|
|
| ||
| V | 200×6 |
| |||
| VI |
|
| |||
| VII | 160×240×8 |
| |||
| 10.8<Нсф≤13.2 | СФ1.132-* | I | 160×200×6 |
|
|
| II |
| 200×6 |
| ||
| III |
|
| 160×240×8 | ||
| IV | 160×240×8 | 160×240×10 | |||
| V |
| 160×240×10 |
| ||
| VI | 160×240×10 | 300×8 | |||
| VII |
| ||||
| 13.2<Нсф≤16.0 | СФ1.160-* | I | 200×6 | 160×240×8 |
|
| II |
|
|
| ||
| III |
| 160×240×10 | |||
| IV |
| 300×8 |
| ||
| V |
|
| |||
| VI |
|
| |||
| VII |
|
| |||
1. Применяемая сталь С255 по ГОСТ27772-88.
2.Сортамент стоек фахверка с учетом крановой нагрузки см. докум.-051.
3.Принцип маркировки стоек фахверка см. докум.-046.


| Группы стоек фахверка по высотам Нсф, м | Марка стойки фахверка | Гнутосварные трубы по ГОСТ 30245-03, сечения b×h×t, мм | |||
| Ветровой район по СНиП 2.01.07-85* | Код вертикальной нагрузки | ||||
| I-II | III-IV | V-VI | |||
| Нсф≤6.0 | СФ2.60 - * | I | 140×160×5 |
| |
| II |
| ||||
| III |
| 160×5 |
| ||
| IV |
|
| |||
| V |
|
|
| ||
| VI |
| 160×200×5 |
| ||
| VII |
|
|
| ||
| 6.0<Нсф≤8.4 | СФ2.84 - * | I |
| 160×200×6 | |
| II |
| ||||
| III |
|
|
| ||
| IV |
| 200×6 |
| ||
| V |
|
|
| ||
| VI |
| 160×240×8 |
| ||
| VII |
| 160×240×10 |
| ||
| 8.4<Нсф≤10.8 | СФ2.108-* | I | 160×200×5 |
| |
| II |
| 160×200×6 | |||
| III | 160×200×6 |
| |||
| IV |
| 200×6 |
| ||
| V |
| 160×240×8 |
| ||
| VI |
|
| |||
| VII |
| 160×240×10 |
| ||
| 10.8<Нсф≤13.2 | СФ2.132-* | I |
| 200×6 |
|
| II |
| 160×240×8 | |||
| III | 160×240×8 | 160×240×10 | |||
| IV | 300×8 | ||||
| V | |||||
| VI | |||||
| VII | |||||
| 13.2<Нсф≤16.0 | СФ2.160-* | I | 160×240×8 |
| |
| II |
| 160×240×10 | |||
| III | 300×8 | ||||
| IV | |||||
| V | |||||
| VI | |||||
| VII | |||||
1. Применяемая сталь С255 по ГОСТ27772-88.
2.Принцип маркировки стоек фахверка см. докум.-046.


| Группы стоек фахверка по высотам Нсф, м | Марка стойки фахверка | Ветровой район по СНиП 2.01.07-85* | Гнутосварные трубы по ГОСТ 30245-03, сечение b×h×t, мм |
| Код вертикальной нагрузки | |||
| I-VI | |||
| Нсф≤6.0 | СФ3.60-* | I | 120×5 |
| II | |||
| III | |||
| IV | |||
| V | |||
| VI | |||
| VII | 120×160×5 | ||
| 6.0<Нсф≤8.4 | СФ3.84-* | I | 120×5 |
| II | 120×160×5 | ||
| III | |||
| IV | |||
| V | 160×5 | ||
| VI | 160×200×5 | ||
| VII | |||
| 8.4<Нсф≤10.8 | СФ3.108-* | I | 160×5 |
| II | |||
| III | 160×200×5 | ||
| IV | |||
| V | 160×200×6 | ||
| VI | 200×6 | ||
| VII | 160×240×8 | ||
| 10.8<Нсф≤13.2 | СФ3.132-* | I | 160×200×6 |
| II | |||
| III | 200×6 | ||
| IV | 160×240×8 | ||
| V | |||
| VI | 160×240×10 | ||
| VII | 300×8 | ||
| 13.2<Нсф≤16.0 | СФ3.160-* | I | 200×6 |
| II | 160×240×8 | ||
| III | |||
| IV | 160×240×10 | ||
| V | 300×8 | ||
| VI | |||
| VII |
1. Применяемая сталь С255 по ГОСТ27772-88.
2.Принцип маркировки стоек фахверка см. докум.-046.
Балка фахверка рядовая БФ1.*

Балкафахверка коньковая БФ2.*


СОРТАМЕНТ БАЛОК ФАХВЕРКА
| Марка балки фахверка | Номинальная длина L, м | Код вертикальной нагрузки | Гнутосварные трубы по ГОСТ 30245-03, сечение b×h×t, мм |
| БФ1.* | 6.0 4.5 | I | 120×160×5 |
| II | 140×160×5 | ||
| III | 140×180×5 | ||
| IV | 100×200×6 | ||
| V | 160×200×6 | ||
| VI | 200×200×6 | ||
| БФ2.* | 6.0 3.0 | I | 120×160×5 |
| II | 140×160×5 | ||
| III | 140×180×5 | ||
| IV | 100×200×6 | ||
| V | 160×200×6 | ||
| VI | 200×200×6 |
1. Применяемая сталь С255 по ГОСТ27772-88.
2.Принцип маркировки балок фахверка см. докум.-046.
1. Взданиях с каркасами УНИТЕК выпуск 0-1 могут применяться подвесные краны срежимами работы 1К-3К грузоподъемностью 1, 2, 3.2 и 5 т.
2.Возможность и условия применения кранов той или иной грузоподъемности, а такжевозможное количество кранов на одном пути определяется по табл. 8 докум.-01ПЗ взависимости от пролета рамы и кода вертикальной нагрузки.
3.Подвеска кранов производится симметрично, относительно центральной оси пролетарамы.
4. Допустимыегабариты подвесных кранов (пролет крана и длина консоли) для различных пролетоврам приведены в табл. 1, докум.-056.
5.Крепление балок подвесных путей производится к несущим рамам при помощиспециальных крепежных элементов, передающих нагрузку в нижний или верхний узелригеля рамы. Внеузловая передача нагрузки от подкранового пути на верхний илинижний пояс ригеля запрещается.
6. Вторцах зданий с несущим фахверком подвесные пути опираются на специальные балкиили непосредственно на стойки фахверка.



1. А – осевая привязка. А=0 или 250 мм.
2.Основные примечания к настоящему документу см. л. 2.
3.Балки БП1-1 показаны условно.

Нк – отметка низа балки подвесныхпутей;
Н –отметка низа ригеля




1. Кран располагать по центру пролета.
2.Размеры подвесных кранов и сортамент балок см. документы -056, -057 и -058.
3.Балки подвесных путей раскрепляются подкосами для передачи тормозных усилийчерез тормозные балки БП2 на раму. Тормозные балки БП2 крепятся к ригелю рамы вместах крепления распорок связевого блока.
4. Наразрезе 4-4 показаны различные случаи опирания балок подкрановых путей в торцездания на балку БП1 (БП1-1- решетчатого типа или БШ-2 прокатный профиль) или настойку фахверка.
ПАРАМЕТРЫПОДВЕСНЫХ КРАНОВ
| Пролет рамы L, м | А, мм | Количество пролетов рамы | Грузоподъемность крана, т | Пролет крана Lкр, м | Длина консоли крана Lк, м |
| 15 | 0 | 1 | 1; 2; 3.2; 5 | 9 | 0.6; 0.9; 1.2; 1.5 |
| 250 | 1 | 1; 2; 3.2; 5 | 9 | 0.6; 0.9; 1.2; 1.5 | |
| 12 | 0.6 | ||||
| 18 | 0 | 1-5 | 1; 2; 3.2; 5 | 9 | 0.6; 0.9; 1.2; 1.5 |
| 12 | 0.6; 0.9; 1.2 | ||||
| 250 | 1 | 1; 2; 3.2; 5 | 9 | 0.6; 0.9; 1.2; 1.5 | |
| 12 | 0.6; 0.9; 1.2; 1.5 | ||||
| 21 | 0 | 1-4 | 1; 2; 3.2; 5 | 9 | 0.6; 0.9; 1.2; 1.5 |
| 12 | 0.6; 0.9; 1.2; 1.5 | ||||
| 15 | 0.6; 0.9; 1.2 | ||||
| 24 | 0 | 1-4 | 1; 2; 3.2; 5 | 9 | 0.6; 0.9; 1.2; 1.5 |
| 12 | 0.6; 0.9; 1.2; 1.5 | ||||
| 15 | 0.6; 0.9; 1.2; 1.5 | ||||
| 30 | 0 | 1-3 | 1; 2; 3.2; 5 | 9 | 0.6; 0.9; 1.2; 1.5 |
| 12 | 0.6; 0.9; 1.2; 1.5 | ||||
| 15 | 0.6; 0.9; 1.2; 1.5 |
• А - осевая привязка крайних стоек рамы
СОРТАМЕНТБАЛОК ПОДВЕСНЫХ КРАНОВЫХ ПУТЕЙ
| Грузоподъемность крана, т | Кол-во кранов на колее | Сечение балок подвесных путей | Примечание | |
| Балки двутавровые по ГОСТ 19425-74* | ||||
| Сталь С255 | Сталь С345 | |||
| 1 | 1 | I24M |
| Наименование стали приведены для климатических районов II4 и II5. Для остальных климатических районов применять сталь С345. |
| 2 | I30M |
| ||
| 2 | 1 | I30M |
| |
| 2 | I36M |
| ||
| 3.2 | 1 | I36M |
| |
| 2 |
| I36M | ||
| 5 | 1 | I36M |
| |
| 2 | I45M |
| ||
1. Балки подвесных путей для подвесных кранов рассчитаны нанагрузки от одного или двух кранов, расположенных самым невыгодным образом.
2.Элементы замаркированы на документе -055.
СОРТАМЕНТЭЛЕМЕНТОВ КРЕПЛЕНИЯ ПОДВЕСНЫХ ПУТЕЙ
| Грузоподъемность крана, т | Сечение, марка и масса элементов | ||||||
| БП1–1 БП1–2 | БП2 | П1 | П2 | ||||
| сечение | масса, кг | сечение | масса, кг | сечение | масса, кг | ||
| 1 | Сечения, марки и массу БП1 см. документ -058 | гн.□120×4 | 78.1 | гн.□100×4 | 64.7 | гн.□100×4 | 64.7 |
| 2 | |||||||
| 3.2 | гн.□140×4 | 92.1 | гн.□100×4 | 64.7 | гн.□100×4 | 64.7 | |
| 5 | |||||||
ДАННЫЕДЛЯ УЗЛОВ КРЕПЛЕНИЯ ПОДВЕСНЫХ ПУТЕЙ
| Грузоподъемность крана, т | Толщина пластины tпл, мм | Болт диаметр d1, мм ГОСТ 15589-70* | Болт диаметр d2, мм ГОСТ 15589-70* | Шпилька диаметр d3, мм | Класс прочности | Примечание |
| 1 | 14 | 16 | 20 | 16 | 5.8 | Сталь болтов назначается в соответствии с таблицей 57 СНиП II-23-81* |
| 2 | 18 | 16 | 20 | 16 | 5.8 | |
| 3.2 | 22 | 20 | 24 | 20 | 5.8 | |
| 5 | 25 | 24 | 24 | 20 | 5.8 |
1. Для элементов крепления подвесных кранов применять стальмарки С255 для климатических районов II4 и II5, для остальных климатическихрайонов применять сталь С345.
2.Балку БП2 и подкосы П1, П2 выполнить из гнутосварных труб по ГОСТ30245-03.
3.Массы элементов приведены для справок, при L=6 м.
4.Допускается применять болты по ГОСТ 15591-70*,ГОСТ7798-70*, ГОСТ7796-70* и назначать по табл. 57 СНиП II-23-81* применительно к конструкциям, не рассчитываемым навыносливость.
5.Гайки применять по ГОСТ5915-70*.
6.Толщины пластин tпл и диаметры болтов d1 приняты по серии 1.426.2-6 "Балки путей подвесноготранспорта" выпуск 1/91.
БАЛКА БП1-1

БАЛКА БП1-2

СОРТАМЕНТБАЛОК БП1
| Грузоподъемность крана, т | Решетчатого типа БП1–1 | Прокатный профиль БП1–2 | |||||
| Номер позиции | Масса, кг | Номер позиции | Масса, кг | ||||
| 1 | 2 | 4 | 3 | 4 | |||
| 1 | □120×4 | □120×4 | t6 | 138.4 | [22 | t6 | 117.4 |
| 2 | □120×4 | □120×4 | 138.4 | [27 | 154.8 | ||
| 3.2 | □140×4 | □120×4 | 161.0 | [30 | 177.4 | ||
| 5 | □140×4 | □120×4 | 161.0 | [40 | 268.6 | ||
1. Балки БП1-1 и БП1-2 служат для опирания балки подвесныхпутей в торце здания.
2.Балка БП1-1 выполняется из гнутосварных труб по ГОСТ30245-03, балка БП1-2 - из горячекатанных швеллеров по ГОСТ 8240-97.
3.Балка подвесных путей опирается на верхний пояс балки БШ-1 (решетчатого типа) вточках крепления вертикальных элементов решетки и на балку БП1-2 (прокатногопрофиля) в местах крепления вертикальных ребер.
4.Привязку определить при разработке КМД.
1. Вкаркасах УНИТЕК предусматривается разрезная схема прогонов покрытия.
2.Марка прогонов покрытия определяется в зависимости от шага прогонов и кодавертикальной нагрузки. Код вертикальной нагрузки соответствует снеговым районампо СНиШ.01.07-85*. При воздействии нагрузок, существенно отличающихся отнагрузок по кодам (повышенная постоянная нагрузка, образование снеговых мешкови др.), код должен быть скорректирован.
| Код вертикальной нагрузки для прогонов | I | II | III | IV | V | VI |
| Снеговой район по СНиП 2.01.07-85* | I | II | III | IV | V | VI |
| Расчетная кодовая нагрузка, qкод, кгс/м2 | 130 | 155 | 215 | 290 | 365 | 455 |
3. Сечение прогонов покрытия подбирается по сортаментам взависимости от марки прогона.
4.Раскрепление прогонов от действия скатной составляющей может осуществляться припомощи ограждающих конструкций кровли (послойная сборка, кровельные панели) засчет прикрепления указанных конструкций непосредственно к прогонам в каждомпродольном стыке самонарезающими винтами. В случае, когда крепление ограждающихконструкций не обеспечивает раскрепление прогонов, прогоны должны бытьраскреплены в плоскости ската гибкими тяжами. Монтаж прогонов покрытия безих раскрепления ограждающими конструкциями или тяжами запрещается.
5. Дляуравновешивания скатной составляющей коньковые прогоны объединяются попарноспециальными элементами с шагом 1 м, а при применении тяжей - в местах,расположения тяжей. В случае установки в коньке светоаэрационных фонарейпрогоны, на которые опираются фонари, дополнительно объединяются между собой спомощью тяжей.
КОДПРОГОНОВ ПОКРЫТИЯ
| Шаг прогонов, м | Код вертикальной нагрузки | |||||
| I | II | III | IV | V | VI | |
| 3.0 | ППР-3.0-I | ППР-3.0-II | ППР-3.0-III | ППР-3.0-IV | ППР-3.0-V | - |
| 1.5 | ППР-1.5-I | ППР-1.5-II | ППР-1.5-III | ППР-1.5-IV | ППР-1.5-V | ППР-1.5-VI |
ПРИМЕР МАРКИРОВОК:
ППР-3.0-I – Прогон Покрытия по Разрезной схеме, шаг прогонов - 3.0 м, вертикальная нагрузка - код I.


1. Шаг прогонов покрытия выбирается в зависимости отдействующей на здание нагрузки и несущей способности ограждающих конструкций.
Основнойшаг прогонов 3 м. Для больших вертикальных нагрузок и в зоне снеговых мешковшаг прогонов принимается 1.5 м.
2.Марки прогонов в зависимости от кода вертикальной нагрузки приведены в табл. 2,докум.-059 . Сечения прогонов в зависимости от марок приведены в сортаменте вдокум. -061.
3.Прогоны покрытия ставятся над верхними узлами решетки ригеля.


1. На данной странице представлена принципиальная схемараскрепления прогонов покрытия тяжами.
2. Тяжипо прогонам покрытия служат для уменьшения скатной составляющей вертикальнойнагрузки и устанавливаются в тех случаях, когда ограждающие конструкциипокрытия (кровли) не обеспечивают требуемой развязки прогонов из плоскостиизгиба. При наличии жесткого диска покрытия или при прикреплении ограждающихконструкций непосредственно к прогонам установка тяжей не требуется.
Сечениетяжей определяется при разработке КМ как для растянутых элементов дляодноболтовых соединений при γс=0.9 в зависимости от величиныскатной составляющей.
4.Прогоны в коньке должны быть скреплены друг с другом специальными элементами,устанавливаемыми напротив тяжей.
ПРОГОНЫ В СРЕДНЕМ ШАГЕ НЕСУЩИХКОНСТРУКЦИЙ

ПРОГОНЫ ВКРАЙНЕМ ШАГЕ НЕСУЩИХ КОНСТРУКЦИЙ


СОРТАМЕНТ РАЗРЕЗНЫХ ПРОГОНОВПОКРЫТИЯ
| КОД ПРОГОНА | Швеллер горячекатаный по ГОСТ 8240-97 | Швеллер гнутый равнополочный по ГОСТ 8278-83* | ||||
| Сечение | Размеры, мм | Сечение | Размеры, мм | |||
| a1 | a2 | a1 | a2 | |||
| ППР-3.0-I | [18 | 50 | 60 | гн.[200×80×4 | 50 | 60 |
| ППР-3.0-II | [18 | 50 | 60 | гн.[250×125×3 | 65 | 90 |
| ППР-3.0-III | [20 | 50 | 60 | гн.[250×125×3 | 65 | 90 |
| ППР-3.0-IV | [22 | 65 | 90 | гн.[250×125×4 | 65 | 90 |
| ППР-3.0-V | [24 | 65 | 90 | - | - | - |
|
|
|
|
|
|
|
|
| ППР-1.5-I | [14 | 50 | 60 | гн.[200×80×3 | 50 | 60 |
| ППР-1.5-II | [14 | 50 | 60 | гн.[200×80×3 | 50 | 60 |
| ППР-1.5-III | [16 | 50 | 60 | гн.[200×80×3 | 50 | 60 |
| ППР-1.5-IV | [18 | 50 | 60 | гн.[200×80×4 | 50 | 60 |
| ППР-1.5-V | [18 | 50 | 60 | гн.[250×125×3 | 50 | 60 |
| ППР-1.5-VI | [20 | 50 | 60 | гн.[250×125×4 | 65 | 90 |
1. Применяемая сталь С255 по ГОСТ27772-88.
2.Определить при разработке КМД в зависимости от сортамента стоек и балокфахверка, а также от типа несущей конструкции в торце здания.
3. Всеотверстия в прогонах 019, болты для крепления прогонов к ригелям рамы -М16×40.58.
Сечениястеновых прогонов подбираются по сортаментам (докум. -064) в зависимости отвеличины горизонтальной (нагрузка от ветрового давления) и вертикальной(нагрузка от ограждающих конструкций стен) нагрузок.
Горизонтальнаянагрузка, приходящаяся на стену, воспринимается всеми стеновыми прогонамипропорционально грузовой площади.
В сериипринято, что вертикальная нагрузка - нагрузка от веса стены:
а) приприменении панелей заводского изготовления передается на опорные прогоны или нацоколь, при этом рядовые прогоны воспринимают только ветровую нагрузку;
б) приприменении ограждающих конструкций послойной сборки равномерно распределяетсямежду стеновыми прогонами пропорционально грузовой площади.
Расстояниямежду стеновыми прогонами принимаются равными 1.2; 1.8; 2.4 и 3.0 м взависимости от несущей способности ограждающих конструкций. Возможно изменениерасстояния между прогонами без превышения их несущей способности.
Принципиальныесхемы сбора нагрузки на стеновые прогоны

РАСЧЕТНОЕ ВЕТРОВОЕ ДАВЛЕНИЕ
| P=W0•k•с•γf•hw | (1) |
РАСЧЕТНАЯ ВЕРТИКАЛЬНАЯ НАГРУЗКА
| Q=qст•hс | (2) | |
| где Р | – расчетное ветровое давление, кгс/м; | |
| W0 | – нормативное значение ветрового давления, кгс/м2; | |
| k | – коэффициент, учитывающий изменение ветрового давления по высоте здания и от типа местности; | |
| с | – аэродинамический коэффициент; | |
| hw | – высота грузовой площади прогона для ветровой нагрузки, м; | |
| γf | – коэффициент надежности по ветровой нагрузке, γf=1.4; | |
| Q | – расчетная вертикальная нагрузка (от собственного веса прогона и стенового ограждения), кгс/м ; | |
| qст | – расчетная нагрузка от веса стенового ограждения и собственного веса прогона, кгс/м2 (по проекту), если стеновое ограждение неизвестно, принимается: qст=50 кгс/м2 – для теплого здания; qст=20 кгс/м2 – для холодного здания, | |
| hс | – высота грузовой площади для стенового ограждения, м. | |
ТИПЫ И МАРКИРОВКА СТЕНОВЫХПРОГОНОВ
Стеновыепрогоны по восприятию нагрузок и местоположению на стене подразделяются на тритипа:
-рядовые ПСР – Прогон Стеновой Рядовой;
ПСРТ – Прогон Стеновой Рядовой с Тяжом;
-опорные (стыковые, надоконные, подоконные, надворотные и т.п.)
ПСО – Прогон Стеновой Опорный;
ПСОТ – Прогон Стеновой Опорный с Тяжом;
-цокольные ПЦ – Прогон Цокольный.

СТАТИЧЕСКИЕСХЕМЫ СТЕНОВЫХ ПРОГОНОВ
Вкаркасах УНИТЕК предусматривается разрезная схема для стеновых прогонов.
Дляуменьшения вертикальной нагрузки от стенового ограждения стеновые прогоны могутбыть раскреплены гибкими тяжами.
Стеновыепрогоны могут изготавливаться из горячекатаных и гнутых швеллеров (рядовые) игнутосварных труб (опорные).
Принятиетипов сечения прогонов производится проектировщиком в зависимости от конкретныхусловий. Сечение подбирается по сортаментам в зависимости от выбранного типа,горизонтальной и вертикальной нагрузки.

Сечение тяжей Т1 зависит от высоты грузовой площади ипринимается из круглой стали по ГОСТ 2590-88:
при Н≤8 м – Ø14;
Н>8 м –Ø16.
СтальС255 по ГОСТ27772-88.
Сечениестойки Т2 зависит от ее высоты и принято по предельной гибкости:
при h≤2м – гн. L60×3;
h>2 м –гн. L80×3.
СОРТАМЕНТРЯДОВЫХ ПРОГОНОВ ПСР ИЗ ГНУТЫХ ШВЕЛЛЕРОВ ПО ГОСТ 8278-83
| Вертикальная нагрузка Q, кгс/м | Ветровое давление Р, кгс/м | ||||||
| 50 | 100 | 150 | 200 | 250 | 300 | ||
| 15 (без тяжа) | гн.[120×60×5 | гн.[160×80×4 |
|
| |||
| 30 (без тяжа) |
|
| гн.[160×80×5 | * | |||
| с тяжом | 15 |
|
| гн.[160×80×3 |
|
|
|
| 30 | гн.[120×60×3 | гн.[160×80×4 |
| ||||
| 60 |
|
|
|
| |||
| 90 | гн.[120×60×5 |
| гн.[160×80×5 | ||||
| 120 |
|
|
|
|
| * | |
| 150 |
| гн.[160×80×4 |
|
| |||
СОРТАМЕНТРЯДОВЫХ ПРОГОНОВ ПСР ИЗ ПРОКАТНЫХ ШВЕЛЛЕРОВ
ПО ГОСТ 8240-97
| Вертикальнаянагрузка Q,кгс/м | Ветровое давление Р, кгс/м | |||||||
| 50 | 100 | 150 | 200 | 250 | 300 | 350 | ||
| 15 (без тяжа) |
|
| [14 |
|
| [16 | ||
| с тяжом | 15 |
| [12 |
|
|
|
|
|
| 30 |
|
| [14 |
|
| |||
| 60 |
|
|
|
|
|
| ||
| 90 |
|
|
| [16 |
| |||
| 120 |
| [14 |
|
|
| * | ||
| 150 |
|
|
|
|
| |||
*–сечение определяется индивидуально
СОРТАМЕНТОПОРНЫХ ПРОГОНОВ ПСО ИЗ ГНУТОСВАРНЫХ ТРУБ ПО ГОСТ30245-03
| Вертикальная нагрузка Q,кгс/м | Ветровое давление Р, кгс/м | |||||||||||
|
| 50 | 100 | 150 | 200 | 250 | 300 | 350 | 400 | 450 | 500 | ||
| без тяжа | 10 |
|
|
|
|
|
|
|
| |||
| 25 | гн.□120×4 |
|
|
|
|
|
|
| ||||
| 50 |
|
|
|
|
|
|
| |||||
| 100 |
| гн.□140×4 |
|
|
|
|
| |||||
| 150 |
|
|
|
|
|
|
|
|
|
| ||
| 200 |
|
|
|
|
|
|
|
|
|
| ||
| 250 |
|
|
|
|
| гн.□140×5 |
|
|
| |||
| 300 |
|
|
|
|
|
|
|
|
|
| ||
| 350 |
|
|
|
|
|
| гн.□160×5 |
|
| |||
| 400 |
|
|
|
|
|
|
|
|
|
| ||
| 450 |
|
|
|
|
|
|
| гн.□160×6 |
| |||
| 500 |
|
|
|
|
|
|
|
| * | |||
| 550 | гн.□160×8 |
| ||||||||||
При установке тяжей на прогонах, выполненных из холодногнутыхсварных труб, при выборе прогона следует принять величину расчетной нагрузки отограждения уменьшенную в 4 раза.
Намаркировочных схемах элементов рам приведена разбивка рам на отправочныеэлементы, которым присвоены начальные коды марок элементов (К1, К2, Р1-Р6).Цифра в начальном коде элемента ригеля определяет место элемента в конкретнойраме. Элементы ригеля нумеруются в соответствии с маркировочными схемами рам.Крайняя стойка рамы всегда имеет начальный код К1, средние стойки рамы всегдаимеют начальный код К2. Полная марка элемента получается добавлением кначальному коду факторов, влияющих на сечение элемента. Для удобства пользованияв сортаментах применяются сокращенные марки крайних стоек рам и элементовригеля.
Марка крайней стойки

Пример:
К1.180.72-III-1(с)– стойка рамыК1 для рамы пролетом L=18м, высотой Н=7.2 м, при расчетном коде вертикальной нагрузки - III, из сталиС255, при сейсмической нагрузке более 7 баллов.
Сокращенная марка крайней стойки

Марка средней стойки рамы

Пример:
1К2.110.75-2-2(c) – средняя одноветвевая стойка,высотой 8<Н≤11 м, действующее в стойке усилие находится в пределах65<ΣNст≤75 тс, примыкает к ригелюс высотой сечения нижней ветви hp=200мм, из стали С345, может применяться при сейсмической нагрузке более 7 баллов.
Подборсечений средних стоек производится в зависимости от усилия, действующего встойке, и высоты данной стойки.
Марка ригеля

Пример:
1Р1-2х210-П-1(с)- модификация 1ригеля рамы Р1, для двухпролетной рамы пролетом L=2×21 м, при расчетномкоде вертикальной нагрузки-II, из стали С255, при сейсмичности более 7 баллов.
Сокращенная марка ригеля

ОРИЕНТАЦИЯ СЕЧЕНИЙ ЭЛЕМЕНТОВ РАМ
| При выборе сечений стоек рам необходимо знать их ориентацию. Во всех сортаментах запись тр. 100×200×6 соответствует b×h×t, где b – размер в плоскости рамы, h – размер из плоскости рамы, t – толщина трубы. Запись 180×6 соответствует b×h×t, где b=h. |
Все элементы каркасов УНИТЕК выполнены из гнутосварных трубпо ГОСТ30245-03 и листовой стали по ГОСТ 19903-74*.
1РТО180.*
2РТО180.*

1РТО210.*
2РТО210.*
1РТО240.*
2РТО240.*

1РТО300.*
2РТО300.*

3РТО150.*






СОРТАМЕНТКРАЙНИХ СТОЕК ОДНОПРОЛЕТНЫХ РАМ 1РТО180.48-*, 2РТО180.48-*
| Код вертикальной нагрузки | Гнутосварные трубы, b×h×t, мм | Листовая сталь t, мм | |||||
| Номер позиции | |||||||
| 1 | 2 | 3 | 4 | 5 | 6 | ||
| K1.180.48- | I | 120×160×5 | 140×160×6 | 80×4 | 12 | 6 | 20 |
| II | 120×160×5 | 140×160×6 | 80×4 | 12 | 6 | 20 | |
| III | 120×160×5 | 160×6 | 80×4 | 12 | 6 | 25 | |
| IV | 120×160×5 | 160×6 | 80×4 | 12 | 6 | 25 | |
| V | 120×160×5 | 160×8 | 80×4 | 14 | 6 | 25 | |
| VI | 120×160×5 | 160×8 | 80×4 | 14 | 6 | 25 | |
1. Сталь определяется по табл. 7 докум.-01ПЗ.
2.Сечение элемента подбирается по сортаменту в соответствии с табл. 8 докум.- 01ПЗ.

СОРТАМЕНТКРАЙНИХ СТОЕК ОДНОПРОЛЕТНЫХ РАМ 1РТО180.60-*, 2РТО180.60-*
| Код вертикальной нагрузки | Гнутосварные трубы, b×h×t, мм | Листовая сталь t, мм | |||||
| Номер позиции | |||||||
| 1 | 2 | 3 | 4 | 5 | 6 | ||
| K1.180.60-* | I | 120×160×5 | 160×6 | 80×4 | 12 | 6 | 20 |
| II | 120×160×5 | 160×6 | 80×4 | 12 | 6 | 20 | |
| III | 120×160×5 | 160×8 | 80×4 | 12 | 6 | 25 | |
| IV | 120×160×5 | 160×8 | 80×4 | 12 | 6 | 25 | |
| V | 120×160×5 | 160×8 | 80×4 | 14 | 6 | 25 | |
| VI | 120×160×5 | 160×8 | 80×4 | 14 | 6 | 25 | |
СОРТАМЕНТКРАЙНИХ СТОЕК ОДНОПРОЛЕТНЫХ РАМ 1РТО210.60-*, 2РТО210.60-*
| Код вертикальной нагрузки | Гнутосварные трубы, b×h×t, мм | Листовая сталь t, мм | |||||
| Номер позиции | |||||||
| 1 | 2 | 3 | 4 | 5 | 6 | ||
| K1.210.60-* | I | 140×180×5 | 140×180×6 | 100×4 | 12 | 6 | 20 |
| II | 140×180×5 | 140×180×6 | 100×4 | 12 | 6 | 20 | |
| III | 140×180×5 | 180×6 | 100×4 | 14 | 6 | 25 | |
| IV | 140×180×5 | 180×6 | 100×4 | 14 | 6 | 25 | |
| V | 140×180×6 | 180×8 | 100×4 | 16 | 6 | 25 | |
| VI | 140×180×6 | 180×8 | 100×4 | 16 | 6 | 25 | |
1. Сталь определяется по табл. 7 докум.-01ПЗ.
2.Сечение элемента подбирается по сортаменту в соответствии с табл. 8 докум.-01ПЗ.

СОРТАМЕНТКРАЙНИХ СТОЕК ОДНОПРОЛЕТНЫХ РАМ 1РТО180.72-*, 2РТО180.72-*
| Код вертикальной нагрузки | Гнутосварные трубы, b×h×t, мм | Листовая сталь t, мм | |||||
| Номер позиции | |||||||
| 1 | 2 | 3 | 4 | 5 | 6 | ||
| K1.180.72-* | I | 120×160×5 | 120×160×5 | 80×4 | 12 | 6 | 20 |
| II | 120×160×5 | 120×160×5 | 80×4 | 12 | 6 | 20 | |
| III | 120×160×5 | 160×5 | 80×4 | 12 | 6 | 25 | |
| IV | 120×160×5 | 160×5 | 80×4 | 12 | 6 | 25 | |
| V | 120×160×5 | 160×6 | 80×4 | 14 | 6 | 25 | |
| VI | 120×160×5 | 160×6 | 80×4 | 14 | 6 | 25 | |
СОРТАМЕНТКРАЙНИХ СТОЕК ОДНОПРОЛЕТНЫХ РАМ 1РТО210.72-*, 2РТО210.72-*
| Код вертикальной нагрузки | Гнутосварные трубы, b×h×t, мм | Листовая сталь t, мм | |||||
| Номер позиции | |||||||
| 1 | 2 | 3 | 4 | 5 | 6 | ||
| K1.210.72-* | I | 140×180×5 | 180×5 | 100×4 | 12 | 6 | 20 |
| II | 140×180×5 | 180×5 | 100×4 | 12 | 6 | 20 | |
| III | 140×180×5 | 180×5 | 100×4 | 14 | 6 | 25 | |
| IV | 140×180×5 | 180×5 | 100×4 | 14 | 6 | 25 | |
| V | 140×180×5 | 180×6 | 100×4 | 16 | 6 | 25 | |
| VI | 140×180×5 | 180×6 | 100×4 | 16 | 6 | 25 | |
1. Сталь определяется по табл. 7 докум.-01ПЗ.
2.Сечение элемента подбирается по сортаменту в соответствии с табл. 8 докум.-01ПЗ.

СОРТАМЕНТКРАЙНИХ СТОЕК ОДНОПРОЛЕТНЫХ РАМ 1РТО180.84-*, 2РТО180.84-*
| Код вертикальной нагрузки | Гнутосварные трубы, b×h×t, мм | Листовая сталь t, мм | |||||
| Номер позиции | |||||||
| 1 | 2 | 3 | 4 | 5 | 6 | ||
| K1.180.84-* | I | 120×160×5 | 140×160×5 | 80×4 | 12 | 6 | 20 |
| II | 120×160×5 | 140×160×5 | 80×4 | 12 | 6 | 20 | |
| III | 120×160×5 | 160×6 | 80×4 | 12 | 6 | 25 | |
| IV | 120×160×5 | 160×6 | 80×4 | 12 | 6 | 25 | |
| V | 120×160×5 | 160×8 | 80×4 | 14 | 6 | 25 | |
| VI | 120×160×5 | 160×8 | 80×4 | 14 | 6 | 25 | |
СОРТАМЕНТКРАЙНИХ СТОЕК ОДНОПРОЛЕТНЫХ РАМ 1РТО210.84-*, 2РТО210.84-*
| Код вертикальной нагрузки | Гнутосварные трубы, b×h×t, мм | Листовая сталь t, мм | |||||
| Номер позиции | |||||||
| 1 | 2 | 3 | 4 | 5 | 6 | ||
| K1.210.84-* | I | 140×180×5 | 180×5 | 100×4 | 12 | 6 | 20 |
| II | 140×180×5 | 180×5 | 100×4 | 12 | 6 | 20 | |
| III | 140×180×5 | 180×5 | 100×4 | 14 | 6 | 25 | |
| IV | 140×180×5 | 180×5 | 100×4 | 14 | 6 | 25 | |
| V | 140×180×5 | 180×6 | 100×4 | 16 | 6 | 25 | |
| VI | 140×180×5 | 180×6 | 100×4 | 16 | 6 | 25 | |
1. Сталь определяется по табл. 7 докум.-01ПЗ.
2.Сечение элемента подбирается по сортаменту в соответствии с табл. 8докум.-01ПЗ.

СОРТАМЕНТКРАЙНИХ СТОЕК ОДНОПРОЛЕТНЫХ РАМ 1РТО210.96-*, 2РТО210.96-*
| Код вертикальной нагрузки | Гнутосварные трубы, b×h×t, мм | Листовая сталь t, мм | |||||
| Номер позиции | |||||||
| 1 | 2 | 3 | 4 | 5 | 6 | ||
| K1.210.96-* | I | 140×180×5 | 180×5 | 100×4 | 12 | 6 | 20 |
| II | 140×180×5 | 180×5 | 100×4 | 12 | 6 | 20 | |
| III | 140×180×5 | 180×5 | 100×4 | 14 | 6 | 25 | |
| IV | 140×180×5 | 180×5 | 100×4 | 14 | 6 | 25 | |
| V | 140×180×5 | 180×6 | 100×4 | 16 | 6 | 25 | |
| VI | 140×180×5 | 180×6 | 100×4 | 16 | 6 | 25 | |
1. Сталь определяется по табл. 7 докум.-01ПЗ.
2.Сечение элемента подбирается по сортаменту в соответствии с табл. 8 докум.-01ПЗ.

СОРТАМЕНТКРАЙНИХ СТОЕК ОДНОПРОЛЕТНЫХ РАМ 1РТО240.60-*, 2РТО240.60-*
| Код вертикальной нагрузки | Гнутосварные трубы, b×h×t, мм | Листовая сталь t, мм | |||||
| Номер позиции | |||||||
| 1 | 2 | 3 | 4 | 5 | 6 | ||
| K1.240.60-* | I | 140×180×5 | 180×6 | 100×4 | 12 | 6 | 20 |
| II | 140×180×5 | 180×6 | 100×4 | 12 | 6 | 20 | |
| III | 140×180×6 | 180×8 | 100×4 | 14 | 6 | 25 | |
| IV | 140×180×6 | 180×8 | 100×4 | 14 | 6 | 25 | |
| V | 100×200×6 | 200×8 | 120×4 | 16 | 6 | 25 | |
| VI | 100×200×6 | 200×8 | 120×4 | 16 | 6 | 25 | |
СОРТАМЕНТКРАЙНИХ СТОЕК ОДНОПРОЛЕТНЫХ РАМ 1РТО300.60-*, 2РТО300.60-*
| Код вертикальной нагрузки | Гнутосварные трубы, b×h×t, мм | Листовая сталь t, мм | |||||
| Номер позиции | |||||||
| 1 | 2 | 3 | 4 | 5 | 6 | ||
| K1.300.60-* | I | 100×200×6 | 200×6 | 120×4 | 16 | 6 | 25 |
| II | 100×200×6 | 200×6 | 120×4 | 16 | 6 | 25 | |
| III | 160×240×6 | 160×240×8 | 140×4 | 18 | 8 | 25 | |
| IV | 160×240×6 | 160×240×8 | 140×4 | 18 | 8 | 25 | |
| V | 160×240×8 | 160×240×10 | 140×4 | 20 | 8 | 25 | |
| VI | 160×240×8 | 160×240×10 | 140×4 | 20 | 8 | 25 | |
1. Сталь определяется по табл. 7 докум.- 01ПЗ.
2.Сечение элемента подбирается по сортаменту в соответствии с табл. 8 докум.-01ПЗ.

СОРТАМЕНТКРАЙНИХ СТОЕК ОДНОПРОЛЕТНЫХ РАМ 1РТО240.72-*, 2РТО240.72-*
| Код вертикальной нагрузки | Гнутосварные трубы, b×h×t, мм | Листовая сталь t, мм | |||||
| Номер позиции | |||||||
| 1 | 2 | 3 | 4 | 5 | 6 | ||
| K1.240.72-* | I | 140×180×5 | 180×5 | 100×4 | 12 | 6 | 20 |
| II | 140×180×5 | 180×5 | 100×4 | 12 | 6 | 20 | |
| III | 140×180×6 | 180×6 | 100×4 | 14 | 6 | 25 | |
| IV | 140×180×6 | 180×6 | 100×4 | 14 | 6 | 25 | |
| V | 100×200×6 | 200×6 | 120×4 | 16 | 6 | 25 | |
| VI | 100×200×6 | 200×6 | 120×4 | 16 | 6 | 25 | |
СОРТАМЕНТКРАЙНИХ СТОЕК ОДНОПРОЛЕТНЫХ РАМ 1РТО300.72-*, 2РТО300.72-*
| Код вертикальной нагрузки | Гнутосварные трубы, b×h×t, мм | Листовая сталь t, мм | |||||
| Номер позиции | |||||||
| 1 | 2 | 3 | 4 | 5 | 6 | ||
| K1.300.72-* | I | 100×200×6 | 200×6 | 120×4 | 16 | 6 | 25 |
| II | 100×200×6 | 200×6 | 120×4 | 16 | 6 | 25 | |
| III | 160×240×6 | 160×240×8 | 140×4 | 18 | 8 | 25 | |
| IV | 160×240×6 | 160×240×8 | 140×4 | 18 | 8 | 25 | |
| V | 160×240×8 | 160×240×10 | 140×4 | 20 | 8 | 25 | |
| VI | 160×240×8 | 160×240×10 | 140×4 | 20 | 8 | 25 | |
1. Сталь определяется по табл. 7 докум.- 01ПЗ.
2.Сечение элемента подбирается по сортаменту в соответствии с табл. 8 докум.-01ПЗ.

СОРТАМЕНТКРАЙНИХ СТОЕК ОДНОПРОЛЕТНЫХ РАМ 1РТО240.84-*, 2РТО240.84-*
| Код вертикальной нагрузки | Гнутосварные трубы, b×h×t, мм | Листовая сталь t, мм | |||||
| Номер позиции | |||||||
| 1 | 2 | 3 | 4 | 5 | 6 | ||
| K1.240.84-* | I | 140×180×5 | 180×5 | 100×4 | 12 | 6 | 20 |
| II | 140×180×5 | 180×5 | 100×4 | 12 | 6 | 20 | |
| III | 140×180×6 | 180×6 | 100×4 | 14 | 6 | 25 | |
| IV | 140×180×6 | 180×6 | 100×4 | 14 | 6 | 25 | |
| V | 100×200×6 | 200×6 | 120×4 | 16 | 6 | 25 | |
| VI | 100×200×6 | 200×6 | 120×4 | 16 | 6 | 25 | |
СОРТАМЕНТКРАЙНИХ СТОЕК ОДНОПРОЛЕТНЫХ РАМ 1РТО300.84-*, 2РТО300.84-*
| Код вертикальной нагрузки | Гнутосварные трубы, b×h×t, мм | Листовая сталь t, мм | |||||
| Номер позиции | |||||||
| 1 | 2 | 3 | 4 | 5 | 6 | ||
| K1.300.84-* | I | 100×200×6 | 200×6 | 120×4 | 16 | 6 | 25 |
| II | 100×200×6 | 200×6 | 120×4 | 16 | 6 | 25 | |
| III | 160×240×6 | 160×240×8 | 140×4 | 18 | 8 | 25 | |
| IV | 160×240×6 | 160×240×8 | 140×4 | 18 | 8 | 25 | |
| V | 160×240×8 | 160×240×10 | 140×4 | 20 | 8 | 25 | |
| VI | 160×240×8 | 160×240×10 | 140×4 | 20 | 8 | 25 | |
1. Сталь определяется по табл. 7 докум.- 01ПЗ.
2.Сечение элемента подбирается по сортаменту в соответствии с табл. 8 докум.-01ПЗ.

СОРТАМЕНТКРАЙНИХ СТОЕК ОДНОПРОЛЕТНЫХ РАМ 1РТО240.96-*, 2РТО240.96-*
| Код вертикальной нагрузки | Гнутосварные трубы, b×h×t, мм | Листовая сталь t, мм | |||||
| Номер позиции | |||||||
| 1 | 2 | 3 | 4 | 5 | 6 | ||
| K1.240.96-* | I | 140×180×5 | 180×6 | 100×4 | 12 | 6 | 20 |
| II | 140×180×5 | 180×6 | 100×4 | 12 | 6 | 20 | |
| III | 140×180×6 | 180×8 | 100×4 | 14 | 6 | 25 | |
| IV | 140×180×6 | 180×8 | 100×4 | 14 | 6 | 25 | |
| V | 100×200×6 | 200×8 | 120×4 | 16 | 6 | 25 | |
| VI | 100×200×6 | 200×8 | 120×4 | 16 | 6 | 25 | |
СОРТАМЕНТКРАЙНИХ СТОЕК ОДНОПРОЛЕТНЫХ РАМ 1РТО300.96-*, 2РТО300.96-*
| Код вертикальной нагрузки | Гнутосварные трубы, b×h×t, мм | Листовая сталь t, мм | |||||
| Номер позиции | |||||||
| 1 | 2 | 3 | 4 | 5 | 6 | ||
| K1.300.96-* | I | 100×200×6 | 200×6 | 120×4 | 16 | 6 | 25 |
| II | 100×200×6 | 200×6 | 120×4 | 16 | 6 | 25 | |
| III | 160×240×6 | 160×240×8 | 140×4 | 18 | 8 | 25 | |
| IV | 160×240×6 | 160×240×8 | 140×4 | 18 | 8 | 25 | |
| V | 160×240×8 | 160×240×10 | 140×4 | 20 | 8 | 25 | |
| VI | 160×240×8 | 160×240×10 | 140×4 | 20 | 8 | 25 | |
1. Сталь определяется по табл. 7 докум.- 01ПЗ.
2.Сечение элемента подбирается по сортаменту в соответствии с табл. 8 докум.-01ПЗ.

СОРТАМЕНТКРАЙНИХ СТОЕК ОДНОПРОЛЕТНЫХ РАМ 3РТО150.48-*
| Код вертикальной нагрузки | Гнутосварные трубы, b×h×t, мм | Листовая сталь t, мм | |||||
| Номер позиции | |||||||
| 1 | 2 | 3 | 4 | 5 | 6 | ||
| K1.150.48-* | I | 140×180×5 | 140×180×5 | 100×4 | 12 | 6 | 20 |
| II | 140×180×5 | 140×180×5 | 100×4 | 12 | 6 | 20 | |
| III | 140×180×5 | 140×180×5 | 100×4 | 12 | 6 | 20 | |
| IV | 140×180×5 | 140×180×5 | 100×4 | 12 | 6 | 20 | |
| V | 140×180×5 | 180×5 | 100×4 | 12 | 6 | 20 | |
| VI | 140×180×5 | 180×5 | 100×4 | 12 | 6 | 20 | |
1. Сталь определяется по табл. 7 докум.- 01ПЗ.
2.Сечение элемента подбирается по сортаменту в соответствии с табл. 8 докум.-01ПЗ.

СОРТАМЕНТКРАЙНИХ СТОЕК ОДНОПРОЛЕТНЫХ РАМ 3РТ0150.60-*
| Код вертикальной нагрузки | Гнутосварные трубы, b×h×t, мм | Листовая сталь t, мм | |||||
| Номер позиции | |||||||
| 1 | 2 | 3 | 4 | 5 | 6 | ||
| K1.150.60-* | I | 140×180×5 | 140×180×5 | 100×4 | 12 | 6 | 20 |
| II | 140×180×5 | 140×180×5 | 100×4 | 12 | 6 | 20 | |
| III | 140×180×5 | 180×5 | 100×4 | 12 | 6 | 20 | |
| IV | 140×180×5 | 180×5 | 100×4 | 12 | 6 | 20 | |
| V | 140×180×5 | 180×6 | 100×4 | 12 | 6 | 20 | |
| VI | 140×180×5 | 180×6 | 100×4 | 12 | 6 | 20 | |
1. Сталь определяется по табл. 7 докум.- 01ПЗ.
2.Сечение элемента подбирается по сортаменту в соответствии с табл. 8 докум.-01ПЗ.

СОРТАМЕНТ КРАЙНИХ СТОЕКОДНОПРОЛЕТНЫХ РАМ 3РТ0150.72-*
| Код вертикальной нагрузки | Гнутосварные трубы, b×h×t, мм | Листовая сталь t, мм | |||||
| Номер позиции | |||||||
| 1 | 2 | 3 | 4 | 5 | 6 | ||
| K1.150.72-* | I | 140×180×5 | 140×180×5 | 100×4 | 12 | 6 | 20 |
| II | 140×180×5 | 140×180×5 | 100×4 | 12 | 6 | 20 | |
| III | 140×180×5 | 140×180×5 | 100×4 | 12 | 6 | 20 | |
| IV | 140×180×5 | 140×180×5 | 100×4 | 12 | 6 | 20 | |
| V | 140×180×5 | 180×5 | 100×4 | 12 | 6 | 20 | |
| VI | 140×180×5 | 180×5 | 100×4 | 12 | 6 | 20 | |
1. Сталь определяется по табл. 7 докум.- 01ПЗ.
2.Сечение элемента подбирается по сортаменту в соответствии с табл. 8 докум.-01ПЗ.

СОРТАМЕНТ КРАЙНИХ СТОЕКМНОГОПРОЛЕТНЫХ РАМ
1РТМ2×180.48-*,2РТМ2×180.48-*,
1РТМ3×180.48-*,2РТМ3×180.48-*,
1РТМ4×180.48-*,2РТМ4×180.48-*,
1РТМ5×180.48-*,2PTM5×180.48-*
| Код вертикальной нагрузки | Гнутосварные трубы, b×h×t, мм | Листовая сталь t, мм | |||||
| Номер позиции | |||||||
| 1 | 2 | 3 | 4 | 5 | 6 | ||
| K1.n×180.48-* | I | 140×180×5 | 140×180×5 | 100×4 | 12 | 6 | 20 |
| II | 140×180×5 | 140×180×5 | 100×4 | 12 | 6 | 20 | |
| III | 100×200×5 | 160×200×5 | 120×4 | 12 | 6 | 25 | |
| IV | 100×200×5 | 160×200×5 | 120×4 | 12 | 6 | 25 | |
| V | 100×200×5 | 160×200×6 | 120×4 | 12 | 6 | 25 | |
| VI | 100×200×5 | 160×200×6 | 120×4 | 12 | 6 | 25 | |
1. Сталь определяется по табл. 7 докум.- 01ПЗ.
2.Сечение элемента подбирается по сортаменту в соответствии с табл. 8 докум.-01ПЗ.

СОРТАМЕНТ КРАЙНИХ СТОЕКМНОГОПРОЛЕТНЫХ РАМ
1РТМ2×180.60-*,2РТМ2×180.60-*,
1РТМ3×180.60-*,2РТМ3×180.60-*,
1РТМ4×180.60-*,2РТМ4×180.60-*,
1РТМ5×180.60-*,2PTM5×180.60-*
| Код вертикальной нагрузки | Гнутосварные трубы, b×h×t, мм | Листовая сталь t, мм | |||||
| Номер позиции | |||||||
| 1 | 2 | 3 | 4 | 5 | 6 | ||
| K1.n×l80.60-* | I | 140×180×5 | 180×5 | 100×4 | 12 | 6 | 20 |
| II | 140×180×5 | 180×5 | 100×4 | 12 | 6 | 20 | |
| III | 100×200×5 | 160×200×5 | 120×4 | 12 | 6 | 25 | |
| IV | 100×200×5 | 160×200×5 | 120×4 | 12 | 6 | 25 | |
| V | 100×200×5 | 160×200×6 | 120×4 | 12 | 6 | 25 | |
| VI | 100×200×5 | 160×200×6 | 120×4 | 12 | 6 | 25 | |
СОРТАМЕНТ КРАЙНИХ СТОЕКМНОГОПРОЛЕТНЫХ РАМ
1РТМ2×210.60-*,2РТМ2×210.60-*,
1РТМ3×210.60-*,2РТМ3×210.60-*,
1РТМ4×210.60-*,2РТМ4×210.60-*,
1РТМ5×210.60-*,2РТМ5×210.60-*
| Код вертикальной нагрузки | Гнутосварные трубы, b×h×t, мм | Листовая сталь t, мм | |||||
| Номер позиции | |||||||
| 1 | 2 | 3 | 4 | 5 | 6 | ||
| K1.n×210.60-* | I | 100×200×5 | 120×200×6 | 120×4 | 12 | 6 | 20 |
| II | 100×200×5 | 120×200×6 | 120×4 | 12 | 6 | 20 | |
| III | 160×240×5 | 160×240×5 | 140×4 | 12 | 6 | 25 | |
| IV | 160×240×5 | 160×240×5 | 140×4 | 12 | 6 | 25 | |
| V | 160×240×5 | 160×240×6 | 140×4 | 12 | 6 | 25 | |
| VI | 160×240×5 | 160×240×6 | 140×4 | 12 | 6 | 25 | |
1. Сталь определяется по табл. 7 докум.- 01ПЗ.
2.Сечение элемента подбирается по сортаменту в соответствии с табл. 8 докум.-01ПЗ.

СОРТАМЕНТ КРАЙНИХ СТОЕКМНОГОПРОЛЕТНЫХ РАМ
1РТМ2×180.72-*,2РТМ2×180.72-*,
1РТМ3×180.72-*,2РТМ3×180.72-*,
1РТМ4×180.72-*,2РТМ4×180.72-*,
1РТМ5×180.72-*,2PTM5×180.72-*
| Код вертикальной нагрузки | Гнутосварные трубы, b×h×t, мм | Листовая сталь t, мм | |||||
| Номер позиции | |||||||
| 1 | 2 | 3 | 4 | 5 | 6 | ||
| K1.n×l80.72-* | I | 140×180×5 | 140×180×5 | 100×4 | 12 | 6 | 25 |
| II | 140×180×5 | 140×180×5 | 100×4 | 12 | 6 | 25 | |
| III | 100×200×5 | 160×200×5 | 120×4 | 12 | 6 | 25 | |
| IV | 100×200×5 | 160×200×5 | 120×4 | 12 | 6 | 25 | |
| V | 100×200×5 | 160×200×6 | 120×4 | 12 | 6 | 25 | |
| VI | 100×200×5 | 160×200×6 | 120×4 | 12 | 6 | 25 | |
СОРТАМЕНТ КРАЙНИХ СТОЕКМНОГОПРОЛЕТНЫХ РАМ
1РТМ2×210.72-*,2РТМ2×210.72-*,
1РТМ3×210.72-*,2РТМ3×210.72-*,
1РТМ4×210.72-*,2РТМ4×210.72-*,
1РТМ5×210.72-*,2РТМ5×210.72-*
| Код вертикальной нагрузки | Гнутосварные трубы, b×h×t, мм | Листовая сталь t, мм | |||||
| Номер позиции | |||||||
| 1 | 2 | 3 | 4 | 5 | 6 | ||
| K1.n×210.72-* | I | 100×200×5 | 120×200×6 | 120×4 | 12 | 6 | 25 |
| II | 100×200×5 | 120×200×6 | 120×4 | 12 | 6 | 25 | |
| III | 160×240×5 | 160×240×5 | 140×4 | 12 | 6 | 25 | |
| IV | 160×240×5 | 160×240×5 | 140×4 | 12 | 6 | 25 | |
| V | 160×240×5 | 160×240×6 | 140×4 | 12 | 6 | 25 | |
| VI | 160×240×5 | 160×240×6 | 140×4 | 12 | 6 | 25 | |
1. Сталь определяется по табл. 7 докум.- 01ПЗ.
2.Сечение элемента подбирается по сортаменту в соответствии с табл. 8 докум.-01ПЗ.

СОРТАМЕНТ КРАЙНИХ СТОЕКМНОГОПРОЛЕТНЫХ РАМ
1РТМ2×180.84-*,2РТМ2×180.84-*,
1РТМ3×180.84-*,2РТМ3×180.84-*,
1РТМ4×180.84-*,2РТМ4×180.84-*,
1РТМ5×180.84-*,2PTM5×180.84-*
| Код вертикальной нагрузки | Гнутосварные трубы, b×h×t, мм | Листовая сталь t, мм | |||||
| Номер позиции | |||||||
| 1 | 2 | 3 | 4 | 5 | 6 | ||
| K1.n×l80.84-* | I | 140×180×5 | 140×180×5 | 100×4 | 12 | 6 | 25 |
| II | 140×180×5 | 140×180×5 | 100×4 | 12 | 6 | 25 | |
| III | 100×200×5 | 160×200×5 | 120×4 | 12 | 6 | 25 | |
| IV | 100×200×5 | 160×200×5 | 120×4 | 12 | 6 | 25 | |
| V | 100×200×5 | 160×200×6 | 120×4 | 12 | 6 | 25 | |
| VI | 100×200×5 | 160×200×6 | 120×4 | 12 | 6 | 25 | |
СОРТАМЕНТ КРАЙНИХ СТОЕКМНОГОПРОЛЕТНЫХ РАМ
1РТМ2×210.84-*,2РТМ2×210.84-*,
1РТМ3×210.84-*,2РТМ3×210.84-*,
1РТМ4×210.84-*,2РТМ4×210.84-*,
1РТМ5×210.84-*,2РТМ5×210.84-*
| Код вертикальной нагрузки | Гнутосварные трубы, b×h×t, мм | Листовая сталь t, мм | |||||
| Номер позиции | |||||||
| 1 | 2 | 3 |
|
|
| ||
| K1.n×210.84-* | I | 100×200×5 | 120×200×6 | 120×4 | 12 | 6 | 25 |
| II | 100×200×5 | 120×200×6 | 120×4 | 12 | 6 | 25 | |
| III | 160×240×5 | 160×240×5 | 140×4 | 12 | 6 | 25 | |
| IV | 160×240×5 | 160×240×5 | 140×4 | 12 | 6 | 25 | |
| V | 160×240×5 | 160×240×6 | 140×4 | 12 | 6 | 25 | |
| VI | 160×240×5 | 160×240×6 | 140×4 | 12 | 6 | 25 | |
1. Сталь определяется по табл. 7 докум.- 01ПЗ.
2.Сечение элемента подбирается по сортаменту в соответствии с табл. 8 докум.-01ПЗ.

СОРТАМЕНТ КРАЙНИХ СТОЕКМНОГОПРОЛЕТНЫХ РАМ
1РТМ2×210.96-*,2РТМ2×210.96-*,
1РТМ3×210.96-*,2РТМ3×210.96-*,
1РТМ4×210.96-*,2РТМ4×210.96-*
| Код вертикальной нагрузки | Гнутосварные трубы, b×h×t, мм | Листовая сталь t, мм | |||||
| Номер позиции | |||||||
| 1 | 2 | 3 | 4 | 5 | 6 | ||
| K1.n×210.96-* | I | 100×200×5 | 120×200×6 | 120×4 | 12 | 6 | 25 |
| II | 100×200×5 | 120×200×6 | 120×4 | 12 | 6 | 25 | |
| III | 160×240×5 | 160×240×5 | 140×4 | 12 | 6 | 25 | |
| IV | 160×240×5 | 160×240×5 | 140×4 | 12 | 6 | 25 | |
| V | 160×240×5 | 160×240×6 | 140×4 | 12 | 6 | 25 | |
| VI | 160×240×5 | 160×240×6 | 140×4 | 12 | 6 | 25 | |
1. Сталь определяется по табл. 7 докум.- 01ПЗ.
2.Сечение элемента подбирается по сортаменту в соответствии с табл. 8 докум.-01ПЗ.

СОРТАМЕНТ КРАЙНИХ СТОЕКМНОГОПРОЛЕТНЫХ РАМ
1РТМ2×240.60-*,2РТМ2×240.60-*,
1РТМ3×240.60-*,2РТМ3×240.60-*,
1РТМ4×240.60-*,2РТМ4×240.60-*
| Код вертикальной нагрузки | Гнутосварные трубы, b×h×t, мм | Листовая сталь t, мм | |||||
| Номер позиции | |||||||
| 1 | 2 | 3 | 4 | 5 | 6 | ||
| K1.n×240.60-* |
| Сталь С255 и С345 | |||||
| I | 100×200×5 | 160×200×6 | 120×4 | 12 | 6 | 25 | |
| II | 100×200×5 | 160×200×6 | 120×4 | 12 | 6 | 25 | |
| III | 160×240×6 | 160×240×6 | 140×4 | 14 | 6 | 25 | |
| IV | 160×240×6 | 160×240×6 | 140×4 | 14 | 6 | 25 | |
| V | 160×240×6 | 160×240×8 | 140×4 | 14 | 6 | 25 | |
|
| Сталь С345 | ||||||
| VI | 160×240×6 | 160×240×8 | 140×4 | 14 | 6 | 25 | |
СОРТАМЕНТ КРАЙНИХ СТОЕКМНОГОПРОЛЕТНЫХ РАМ
1РТМ2×300.60-*,2РТМ2×300.60-*
1РТМ3×300.60-*,2РТМ3×300.60-*
| Код вертикальной нагрузки | Гнутосварные трубы, b×h×t, мм | Листовая сталь t, мм | |||||
| Номер позиции | |||||||
| 1 | 2 | 3 | 4 | 5 | 6 | ||
| K1.n×300.60-* |
| Сталь С255 и С345 | |||||
| I | 160×240×6 | 160×240×6 | 140×4 | 16 | 6 | 20 | |
| II | 160×240×6 | 160×240×6 | 140×4 | 16 | 6 | 20 | |
| III | 160×240×6 | 160×240×8 | 140×4 | 16 | 8 | 25 | |
| IV | 160×240×6 | 160×240×8 | 140×4 | 16 | 8 | 25 | |
|
| Сталь С345 | ||||||
| V | 160×240×6 | 160×240×8 | 140×4 | 16 | 8 | 25 | |
| VI | - | - | - | - | - | - | |
1. Сталь определяется по табл. 7 докум.-01ПЗ.
2.Сечение элемента подбирается по сортаменту в соответствии с табл. 8 докум.-01ПЗ.

СОРТАМЕНТ КРАЙНИХ СТОЕКМНОГОПРОЛЕТНЫХ РАМ
1РТМ2×240.72-*,2РТМ2×240.72-*,
1РТМ3×240.72-*,2РТМ3×240.72-*,
1РТМ4×240.72-*,2РТМ4×240.72-*
| Код вертикальной нагрузки | Гнутосварные трубы, b×h×t, мм | Листовая сталь t, мм | |||||
| Номер позиции | |||||||
| 1 | 2 | 3 | 4 | 5 | 6 | ||
| K1.n×240.72-* |
| Сталь С255 и С345 | |||||
| I | 100×200×5 | 160×200×5 | 120×4 | 12 | 6 | 25 | |
| II | 100×200×5 | 160×200×5 | 120×4 | 12 | 6 | 25 | |
| III | 160×240×6 | 160×240×6 | 140×4 | 14 | 6 | 25 | |
| IV | 160×240×6 | 160×240×6 | 140×4 | 14 | 6 | 25 | |
| V | 160×240×6 | 160×240×8 | 140×4 | 14 | 6 | 25 | |
|
| Сталь С345 | ||||||
| VI | 160×240×6 | 160×240×8 | 140×4 | 14 | 6 | 25 | |
СОРТАМЕНТ КРАЙНИХ СТОЕКМНОГОПРОЛЕТНЫХ РАМ
1РТМ2×300.72-*,2РТМ2×300.72-*,
1РТМ3×300.72-*,2РТМ3×300.72-*
| Код вертикальной нагрузки | Гнутосварные трубы, b×h×t, мм | Листовая сталь t, мм | |||||
| Номер позиции | |||||||
| 1 | 2 | 3 | 4 | 5 | 6 | ||
| K1.n×300.72-* |
| Сталь С255 и С345 | |||||
| I | 160×240×6 | 160×240×6 | 140×4 | 16 | 6 | 25 | |
| II | 160×240×6 | 160×240×6 | 140×4 | 16 | 6 | 25 | |
| III | 160×240×6 | 160×240×6 | 140×4 | 16 | 8 | 25 | |
| IV | 160×240×6 | 160×240×6 | 140×4 | 16 | 8 | 25 | |
|
| Сталь С345 | ||||||
| V | 160×240×6 | 160×240×8 | 140×4 | 16 | 8 | 25 | |
| VI | - | - | - | - | - | - | |
1. Сталь определяется по табл. 7 докум.-01ПЗ.
2.Сечение элемента подбирается по сортаменту в соответствии с табл. 8 докум.-01ПЗ.

СОРТАМЕНТ КРАЙНИХ СТОЕКМНОГОПРОЛЕТНЫХ РАМ
1РТМ2×240.84-*,2РТМ2×240.84-*,
1РТМ3×240.84-*,2РТМ3×240.84-*,
1РТМ4×240.84-*,2РТМ4×240.84-*
| Код вертикальной нагрузки | Гнутосварные трубы, b×h×t, мм | Листовая сталь t, мм | |||||
| Номер позиции | |||||||
| 1 | 2 | 3 | 4 | 5 | 6 | ||
| K1.n×240.84-* |
| Сталь С255 и С345 | |||||
| I | 100×200×5 | 160×200×5 | 120×4 | 12 | 6 | 25 | |
| II | 100×200×5 | 160×200×5 | 120×4 | 12 | 6 | 25 | |
| III | 160×240×6 | 160×240×6 | 140×4 | 14 | 6 | 25 | |
| IV | 160×240×6 | 160×240×6 | 140×4 | 14 | 6 | 25 | |
| V | 160×240×6 | 160×240×8 | 140×4 | 14 | 6 | 25 | |
|
| Сталь С345 | ||||||
| VI | 160×240×6 | 160×240×8 | 140×4 | 14 | 6 | 25 | |
СОРТАМЕНТ КРАЙНИХ СТОЕКМНОГОПРОЛЕТНЫХ РАМ
1РТМ2×300.84-*,2РТМ2×300.84-*,
1РТМ3×300.84-*,2РТМ3×300.84-*
| Код вертикальной нагрузки | Гнутосварные трубы, b×h×t, мм | Листовая сталь t, мм | |||||
| Номер позиции | |||||||
| 1 | 2 | 3 | 4 | 5 | 6 | ||
| Kl.n×300.84-* |
| Сталь С255 и С345 | |||||
| I | 160×240×6 | 160×240×6 | 140×4 | 16 | 6 | 25 | |
| II | 160×240×6 | 160×240×6 | 140×4 | 16 | 6 | 25 | |
| III | 160×240×6 | 160×240×6 | 140×4 | 16 | 8 | 25 | |
| IV | 160×240×6 | 160×240×6 | 140×4 | 16 | 8 | 25 | |
|
| Сталь С345 | ||||||
| V | 160×240×6 | 160×240×8 | 140×4 | 16 | 8 | 25 | |
| VI | - | - | - | - | - | - | |
1. Сталь определяется по табл. 7 докум.- 01ПЗ.
2.Сечение элемента подбирается по сортаменту в соответствии с табл. 8 докум.-01ПЗ.

СОРТАМЕНТ КРАЙНИХ СТОЕКМНОГОПРОЛЕТНЫХ РАМ
1РТМ2×240.96-*,2РТМ2×240.96-*,
1РТМ3×240.96-*,2РТМ3×240.96-*,
1РТМ4×240.96-*,2РТМ4×240.96-*
| Код вертикальной нагрузки |
|
| |||||
| Номер позиции | |||||||
| 1 | 2 | 3 | 4 | 5 | 6 | ||
| K1.n×240.96-* |
| Сталь С255 и С345 | |||||
| I | 100×200×5 | 160×200×6 | 120×4 | 12 | 6 | 25 | |
| II | 100×200×5 | 160×200×6 | 120×4 | 12 | 6 | 25 | |
| III | 160×240×6 | 160×240×6 | 140×4 | 14 | 6 | 25 | |
| IV | 160×240×6 | 160×240×6 | 140×4 | 14 | 6 | 25 | |
| V | 160×240×6 | 160×240×8 | 140×4 | 14 | 6 | 25 | |
|
| Сталь С345 | ||||||
| VI | 160×240×6 | 160×240×8 | 140×4 | 14 | 6 | 25 | |
СОРТАМЕНТ КРАЙНИХ СТОЕКМНОГОПРОЛЕТНЫХ РАМ
1РТМ2×300.96-*,2РТМ2×300.96-*,
1РТМ3×300.96-*,2РТМ3×300.96-*
| Код вертикальной нагрузки |
|
| |||||
| Номер позиции | |||||||
| 1 | 2 | 3 | 4 | 5 | 6 | ||
| K1.n×300.96-* |
| Сталь С255 и С345 | |||||
| I | 160×240×6 | 160×240×6 | 140×4 | 16 | 6 | 25 | |
| II | 160×240×6 | 160×240×6 | 140×4 | 16 | 6 | 25 | |
| III | 160×240×6 | 160×240×6 | 140×4 | 16 | 8 | 25 | |
| IV | 160×240×6 | 160×240×6 | 140×4 | 16 | 8 | 25 | |
|
| Сталь С345 | ||||||
| V | 160×240×6 | 160×240×8 | 140×4 | 16 | 8 | 25 | |
| VI | - | - | - | - | - | - | |
1. Сталь определяется по табл. 7 докум.- 01ПЗ.
2.Сечение элемента подбирается по сортаменту в соответствии с табл. 8 докум.-01ПЗ.


СОРТАМЕНТ ОДНОВЕТВЕВЫХ СРЕДНИХСТОЕК РАМ
| Суммарное вертикальное усилие ΣNст, тс | Марка стали | Сечение гнутосварных труб по ГОСТ 30245-03, h×t, мм, в зависимости от высоты средней стойки Нст, м, и высоты сечения нижнего пояса ригеля hp, мм | |||
| 6<Нст≤8 | 8<Нст≤11 | ||||
| hp=180 | hp=200 | hp=180 | hp=200 | ||
| N≤25 | C255 | 180×5 | 200×6 | 180×5 | 200×6 |
| C345 | |||||
| 25<N≤35 | C255 | 180×6 | |||
| C345 | |||||
| 35<N≤45 | C255 | 180×6 | 180×8 | ||
| C345 | 180×5 | ||||
| 45<N≤55 | C255 | 180×8 | 180×10 | 200×8 | |
| C345 | 180×6 | 180×8 | 200×6 | ||
| 55<N≤65 | C255 | 180×8 | 200×8 | - | 200×8 |
| C345 | 180×8 | 200×6 | 180×10 | ||
| 65<N≤75 | C255 | 180×10 | 200×8 | - | 200×10 |
| C345 | 180×8 | 200×6 | 200×8 | ||
| 75<N≤85 | C255 | 180×10 | 200×8 | 200×10 | |
| C345 | 180×10 | 200×6 | |||
| 85<N≤95 | C255 | - | 200×10 | - | |
| C345 | 180×10 | 200×8 | 200×10 | ||
| 95<N≤105 | C255 | - | 200×10 | - | |
| C345 | 180×10 | 200×8 | |||
| 105<N≤115 | C255 | - | - | ||
| C345 | - | 200×8 | |||
1. hp – высотасечения нижнего пояса ригеля, hст - высота сечения ветви стойки.
2. Дляригелей с высотой сечения нижнего пояса h1=140 мм принимать среднюю стойкутолько с высотой сечения ветви hст=180 мм.
3.Сталь определяется по табл. 7 докум.-01ПЗ.
4.Принцип маркировки средних стоек много пролетных рам см. докум.-065.


СОРТАМЕНТ ДВУХВЕТВЕВЫХ СРЕДНИХСТОЕК РАМ
| Суммарное вертикальное усилие ΣNст, тс | Марка стали | Сечение гнутосварных труб по ГОСТ 30245-03, h×t, мм, в зависимости от высоты средней стойки Нcт, м, и высоты сечения нижнего пояса ригеля hp, мм | |||||
| 6<Нст≤8 | 8<Нст≤11 | 11<Нст≤15 | |||||
| hp=180 | hp=200 | hp=180 | hp=200 | hp=180 | hp=200 | ||
| 25<N≤55 | C255 | - | - | - | - | 180×5 | 200×6 |
| C345 | |||||||
| 55<N≤65 | C255 | 180×5 | |||||
| C345 | - | ||||||
| 65<N≤75 | C255 | 180×5 | |||||
| C345 | |||||||
| 75<N≤85 | C255 | ||||||
| C345 | |||||||
| 85<N≤95 | C255 | 180×8 | 200×6 | ||||
| C345 | |||||||
| 95<N≤105 | C255 | 180×6 | |||||
| C345 | 180×5 | ||||||
| 105<N≤115 | C255 | 200×6 | 180×6 | 180×6 | |||
| C345 | - | 180×5 | 180×5 | ||||
| 115<N≤125 | C255 | 200×6 | 180×8 | 180×6 | |||
| C345 | 180×6 | 180×5 | |||||
| 125<N≤135 | C255 | 180×8 | 180×8 | ||||
| C345 | 180×6 | 180×6 | |||||
| 135<N≤145 | C255 | 180×8 | 180×8 | ||||
| C345 | 180×6 | 180×6 | |||||
| 145<N≤155 | C255 | 180×10 | 200×8 | 180×8 | 200×8 | 180×8 | |
| C345 | 180×8 | 200×6 | 200×6 | 180×6 | |||
| 155<N≤165 | C255 | 180×10 | 200×8 | 180×10 | 200×8 | 180×8 | 200×8 |
| C345 | 180×8 | 200×6 | 180×8 | 200×6 | 200×6 | ||
| 165<N≤175 | C255 | 180×10 | 200×8 | 180×10 | 200×8 | 180×10 | 200×8 |
| C345 | 180×8 | 200×6 | 180×8 | 200×6 | 180×8 | 200×6 | |
| 175<N≤185 | C255 | 180×10 | 200×8 | 180×10 | 200×8 | 180×10 | 200×8 |
| C345 | 180×8 | 200×6 | 180×8 | 200×6 | |||
| 185<N≤195 | C255 | - | 200×10 | 180×10 | 200×8 | 180×10 | 200×8 |
| C345 | 180×10 | 200×8 | 180×8 | 180×8 | 200×6 | ||
1. hp – высотасечения нижнего пояса ригеля, h – высота сечения ветви стойки.
2. Дляригелей с высотой сечения нижнего пояса hp=140 мм принимать среднюю стойку только с высотой сеченияветви hст=180 мм.
3.Сечение решетки средней стойки принимать равным сечению решетки крайней стойки.
4.Сталь определяется по табл. 7 докум.-01ПЗ.
5.Принцип маркировки средних стоек многопролетных рам см. докум.-065.
1Р1.180.*

СОРТАМЕНТ РИГЕЛЕЙ ОДНОПРОЛЕТНЫХРАМ 1РТО180.*
| Код вертикальной нагрузки | Гнутосварные трубы, b×h×t, мм | Листовая сталь, t, мм | |||||
| Номер позиции | |||||||
| 1 | 2 | 3 | 4 | 5 | 6 | ||
| 1Р1.180.* | I | 120×5 | 120×5 | 80×4 | 12 | 6 | 20 |
| II | 120×5 | 120×5 | 80×4 | 12 | 6 | 20 | |
| III | 120×5 | 120×5 | 80×4 | 12 | 6 | 20 | |
| IV | 120×5 | 120×5 | 80×4 | 12 | 6 | 20 | |
| V | 120×6 | 120×6 | 80×4 | 14 | 6 | 20 | |
| VI | 120×6 | 120×6 | 80×4 | 14 | 6 | 20 | |
1. Сталь определяется по табл. 7 докум.-01ПЗ.
2.Сечение элемента подбирается по сортаменту в соответствии с табл. 8 докум.-01ПЗ.
1Р1.210.*

СОРТАМЕНТ РИГЕЛЕЙ ОДНОПРОЛЕТНЫХРАМ 1РТО210.*
| Код вертикальной нагрузки | Гнутосварные трубы, b×h×t, мм | Листовая сталь, t, мм | |||||
| Номер позиции | |||||||
| 1 | 2 | 3 | 4 | 5 | 6 | ||
| 1Р1.210.* | I | 140×5 | 140×5 | 100×4 | 12 | 6 | 20 |
| II | 140×5 | 140×5 | 100×4 | 12 | 6 | 20 | |
| III | 140×6 | 140×6 | 100×4 | 14 | 6 | 20 | |
| IV | 140×6 | 140×6 | 100×4 | 14 | 6 | 20 | |
| V | 140×8 | 140×8 | 100×4 | 16 | 6 | 25 | |
| VI | 140×8 | 140×8 | 100×4 | 16 | 6 | 25 | |
1. Сталь определяется по табл. 7 докум.- 01ПЗ.
2.Сечение элемента подбирается по сортаменту в соответствии с табл. 8 докум.-01ПЗ.
1Р1.240.*

СОРТАМЕНТ РИГЕЛЕЙ ОДНОПРОЛЕТНЫХРАМ 1РТО240.*
| Код вертикальной нагрузки | Гнутосварные трубы, b×h×t, мм | Листовая сталь, t, мм | |||||
| Номер позиции | |||||||
| 1 | 2 | 3 | 4 | 5 | 6 | ||
| 1Р1.240.* | I | 140×5 | 140×5 | 100×4 | 12 | 6 | 20 |
| II | 140×5 | 140×5 | 100×4 | 12 | 6 | 20 | |
| III | 140×6 | 140×6 | 100×4 | 14 | 6 | 25 | |
| IV | 140×6 | 140×6 | 100×4 | 14 | 6 | 25 | |
| V | 160×8 | 160×8 | 120×4 | 16 | 6 | 25 | |
| VI | 160×8 | 160×8 | 120×4 | 16 | 6 | 25 | |
1. Сталь определяется по табл. 7 докум.- 01ПЗ.
2.Сечение элемента подбирается по сортаменту в соответствии с табл. 8 докум.-01ПЗ.
1Р1.300.*

1Р2.300.*

СОРТАМЕНТ РИГЕЛЕЙ ОДНОПРОЛЕТНЫХРАМ 1РТО300.*
| Код вертикальной нагрузки | Гнутосварные трубы, b×h×t, мм | Листовая сталь, t, мм | ||||||
| Номер позиции | ||||||||
| 1 | 2 | 3 | 4 | 5 | 6 | 7 | ||
| 1Р1.300.* 1Р2.300.* | I | 160×6 | 160×8 | 160×6 | 120×4 | 16 | 6 | 20 |
| II | 160×6 | 160×8 | 160×6 | 120×4 | 16 | 6 | 20 | |
| III | 180×6 | 180×8 | 180×6 | 140×4 | 18 | 6 | 25 | |
| IV | 180×6 | 180×8 | 180×6 | 140×4 | 18 | 6 | 25 | |
| V | 180×8 | 180×10 | 180×8 | 140×4 | 20 | 8 | 30 | |
| VI | 180×8 | 180×10 | 180×8 | 140×4 | 20 | 8 | 30 | |
1. Сталь определяется по табл. 7 докум.- 01ПЗ.
2.Сечение элемента подбирается по сортаменту в соответствии с табл. 8 докум.-01ПЗ.
2Р1.180.*

СОРТАМЕНТ РИГЕЛЕЙ ОДНОПРОЛЕТНЫХРАМ 2РТО180.*
| Код вертикальной нагрузки | Холодногнутые сварные трубы | Листовая сталь, t | |||||
| Номер позиции | |||||||
| 1 | 2 | 3 | 4 | 5 | 6 | ||
| 2Р1.180.* | I | 120×5 | 120×5 | 80×4 | 12 | 6 | 20 |
| II | 120×5 | 120×5 | 80×4 | 12 | 6 | 20 | |
| III | 120×5 | 120×5 | 80×4 | 12 | 6 | 20 | |
| IV | 120×5 | 120×5 | 80×4 | 12 | 6 | 20 | |
| V | 120×6 | 120×6 | 80×4 | 14 | 6 | 20 | |
| VI | 120×6 | 120×6 | 80×4 | 14 | 6 | 20 | |
1. Сталь определяется по табл. 7 докум.- 01ПЗ.
2.Сечение элемента подбирается по сортаменту в соответствии с табл. 8 докум.-01ПЗ.
2Р1.210.*

СОРТАМЕНТ РИГЕЛЕЙ ОДНОПРОЛЕТНЫХРАМ 2РТО.210.*
| Код вертикальной нагрузки | Гнутосварные трубы, b×h×t, мм | Листовая сталь, t, мм | |||||
| Номер позиции | |||||||
| 1 | 2 | 3 | 4 | 5 | 6 | ||
| 2Р1.210.* | I | 140×5 | 140×5 | 100×4 | 12 | 6 | 20 |
| II | 140×5 | 140×5 | 100×4 | 12 | 6 | 20 | |
| III | 140×6 | 140×6 | 100×4 | 14 | 6 | 20 | |
| IV | 140×6 | 140×6 | 100×4 | 14 | 6 | 20 | |
| V | 140×8 | 140×8 | 100×4 | 16 | 6 | 25 | |
| VI | 140×8 | 140×8 | 100×4 | 16 | 6 | 25 | |
1. Сталь определяется по табл. 7 докум.- 01ПЗ.
2.Сечение элемента подбирается по сортаменту в соответствии с табл. 8 докум.-01ПЗ.
2Р1.240.*

СОРТАМЕНТ РИГЕЛЕЙ ОДНОПРОЛЕТНЫХРАМ 2РТО240.*
| Код вертикальной нагрузки | Гнутосварные трубы, b×h×t, мм | Листовая сталь, t, мм | |||||
| Номер позиции | |||||||
| 1 | 2 | 3 | 4 | 5 | 6 | ||
| 2Р1.240.* | I | 140×5 | 140×5 | 100×4 | 12 | 6 | 20 |
| II | 140×5 | 140×5 | 100×4 | 12 | 6 | 20 | |
| III | 140×6 | 140×6 | 100×4 | 14 | 6 | 25 | |
| IV | 140×6 | 140×6 | 100×4 | 14 | 6 | 25 | |
| V | 160×8 | 160×8 | 120×4 | 16 | 6 | 25 | |
| VI | 160×8 | 160×8 | 120×4 | 16 | 6 | 25 | |
1. Сталь определяется по табл. 7 докум.- 01ПЗ.
2.Сечение элемента подбирается по сортаменту в соответствии с табл. 8 докум.-01ПЗ.
2Р1.300.*

2Р2.300.*

СОРТАМЕНТ РИГЕЛЕЙ ОДНОПРОЛЕТНЫХРАМ 2РТО300.*
| Код вертикальной нагрузки | Гнутосварные трубы, b×h×t, мм | Листовая сталь, t, мм | ||||||
| Номер позиции | ||||||||
| 1 | 2 | 3 | 4 | 5 | 6 | 7 | ||
| 2Р1.300.* 2Р2.300.* | I | 160×6 | 160×8 | 160×6 | 120×4 | 16 | 6 | 20 |
| II | 160×6 | 160×8 | 160×6 | 120×4 | 16 | 6 | 20 | |
| III | 180×6 | 180×8 | 180×6 | 140×4 | 18 | 6 | 25 | |
| IV | 180×6 | 180×8 | 180×6 | 140×4 | 18 | 6 | 25 | |
| V | 180×8 | 180×10 | 180×8 | 140×4 | 20 | 8 | 30 | |
| VI | 180×8 | 180×10 | 180×8 | 140×4 | 20 | 8 | 30 | |
1. Сталь определяется по табл. 7 докум.- 01ПЗ.
2.Сечение элемента подбирается по сортаменту в соответствии с табл. 8 докум.- 01ПЗ.
3Р1.150.*

СОРТАМЕНТ РИГЕЛЕЙ ОДНОПРОЛЕТНЫХРАМ ЗРТО150.*
| Код вертикальной нагрузки | Гнутосварные трубы, b×h×t, мм | Листовая сталь, t, мм | |||||
| Номер позиции | |||||||
| 1 | 2 | 3 | 4 | 5 | 6 | ||
| 3Р1.150.* | I | 140×5 | 140×5 | 100×4 | 12 | 6 | 20 |
| II | 140×5 | 140×5 | 100×4 | 12 | 6 | 20 | |
| III | 140×6 | 140×6 | 100×4 | 12 | 6 | 20 | |
| IV | 140×6 | 140×6 | 100×4 | 12 | 6 | 20 | |
| V | 140×8 | 140×8 | 100×4 | 12 | 6 | 20 | |
| VI | 140×8 | 140×8 | 100×4 | 12 | 6 | 20 | |
1. Сталь определяется по табл. 7 докум. -01ПЗ.
2.Сечение элемента подбирается по сортаменту в соответствии с табл. 8 докум.-01ПЗ.
1Р1.n×180.*

1Р2.n×180.*

СОРТАМЕНТ РИГЕЛЕЙ МНОГОПРОЛЕТНЫХРАМ
1РТМ2×180.*,1РТМ3×180.*,
1РТМ4×180.*,1РТМ5×180.*
| Код вертикальной нагрузки | Гнутосварные трубы, b×h×t, мм | Листовая сталь, t, мм | ||||||
| Номер позиции | ||||||||
| 1 | 2 | 3 | 4 | 5 | 6 | 7 | ||
| 1Р1.n×180.* 1Р2.n×180.* | I | 140×5 | 140×6 | 140×5 | 100×4 | 12 | 6 | 20 |
| II | 140×5 | 140×6 | 140×5 | 100×4 | 12 | 6 | 20 | |
| III | 160×5 | 160×6 | 160×5 | 120×4 | 12 | 6 | 20 | |
| IV | 160×5 | 160×6 | 160×5 | 120×4 | 12 | 6 | 20 | |
| V | 160×6 | 160×8 | 160×6 | 120×4 | 12 | 6 | 20 | |
| VI | 160×6 | 160×8 | 160×6 | 120×4 | 12 | 6 | 20 | |
1. Сталь определяется по табл. 7 докум.-01ПЗ.
2.Сечение элемента подбирается по сортаменту в соответствии с табл. 8 докум.-01ПЗ.
1P3.n×180.*

1Р4.n×180.*

СОРТАМЕНТ РИГЕЛЕЙ МНОГОПРОЛЕТНЫХРАМ
1РТМ2×180.*,1РТМ3×180.*,
1РТМ4×180.*,1РТМ5×180.*
| Код вертикальной нагрузки | Гнутосварные трубы, b×h×t, мм | Листовая сталь, t, мм | |||||
| Номер позиции | |||||||
| 1 | 2 | 3 | 4 | 5 | 6 | ||
| 1P3.n×180.* 1P4.n×180.* | I | 140×6 | 140×6 | 100×4 | 20 | - | - |
| II | 140×6 | 140×6 | 100×4 | 20 | - | - | |
| III | 160×6 | 160×6 | 120×4 | 20 | - | - | |
| IV | 160×6 | 160×6 | 120×4 | 20 | - | - | |
| V | 160×8 | 160×8 | 120×4 | 20 | - | - | |
| VI | 160×8 | 160×8 | 120×4 | 20 | - | - | |
1. Сталь определяется по табл. 7 докум.-01ПЗ.
2.Сечение элемента подбирается по сортаменту в соответствии с табл. 8 докум.-01ПЗ.
1Р5.n×180.*

СОРТАМЕНТ РИГЕЛЕЙ МНОГОПРОЛЕТНЫХРАМ
1РТМ3×180.*,1РТМ5×180.*
| Код вертикальной нагрузки | Гнутосварные трубы, b×h×t, мм | Листовая сталь, t, мм | |||||
| Номер позиции | |||||||
| 1 | 2 | 3 | 4 | 5 | 6 | ||
| 1Р5.n×180.* | I | 140×5 | 140×6 | 100×4 | 20 | - | - |
| II | 140×5 | 140×6 | 100×4 | 20 | - | - | |
| III | 160×5 | 160×6 | 120×4 | 20 | - | - | |
| IV | 160×5 | 160×6 | 120×4 | 20 | - | - | |
| V | 160×6 | 160×8 | 120×4 | 20 | - | - | |
| VI | 160×6 | 160×8 | 120×4 | 20 | - | - | |
1. Сталь определяется по табл. 7 докум.-01ПЗ.
2.Сечение элемента подбирается по сортаменту в соответствии с табл. 8докум.-01ПЗ.
1Р1.n×210.*

1Р2.n×210.*

СОРТАМЕНТ РИГЕЛЕЙ МНОГОПРОЛЕТНЫХРАМ
1РТМ2×210.*,1РТМ3×210.*,
1РТМ4×210.*
| Код вертикальной нагрузки | Гнутосварные трубы, b×h×t, мм | Листовая сталь, t, мм | ||||||
| Номер позиции | ||||||||
| 1 | 2 | 3 | 4 | 5 | 6 | 7 | ||
| 1Р1.n×210.* 1Р2.n×210.* | I | 160×5 | 160×6 | 160×5 | 120×4 | 12 | 6 | 20 |
| II | 160×5 | 160×6 | 160×5 | 120×4 | 12 | 6 | 20 | |
| III | 180×5 | 180×6 | 180×5 | 140×4 | 12 | 6 | 20 | |
| IV | 180×5 | 180×6 | 180×5 | 140×4 | 12 | 6 | 20 | |
| V | 180×6 | 180×8 | 180×6 | 140×4 | 12 | 6 | 25 | |
| VI | 180×6 | 180×8 | 180×6 | 140×4 | 12 | 6 | 25 | |
1. Сталь определяется по табл. 7 докум.-01ПЗ.
2.Сечение элемента подбирается по сортаменту в соответствии с табл. 8докум.-01ПЗ.
1Р3.n×210.*

1Р4.n×210.*

СОРТАМЕНТ РИГЕЛЕЙ МНОГОПРОЛЕТНЫХРАМ
1РТМ2×210.*,1РТМ3×210.*,
1РТМ4×210.*
| Код вертикальной нагрузки | Гнутосварные трубы, b×h×t, мм | Листовая сталь, t, мм | |||||
| Номер позиции | |||||||
| 1 | 2 | 3 | 4 | 5 | 6 | ||
| 1Р3.n×210.* 1Р4.n×210.* | I | 160×6 | 160×6 | 120×4 | 20 | - | - |
| II | 160×6 | 160×6 | 120×4 | 20 | - | - | |
| III | 180×6 | 180×6 | 140×4 | 20 | - | - | |
| IV | 180×6 | 180×6 | 140×4 | 20 | - | - | |
| V | 180×8 | 180×8 | 140×4 | 25 | - | - | |
| VI | 180×8 | 180×8 | 140×4 | 25 | - | - | |
1. Сталь определяется по табл. 7 докум.-01ПЗ.
2.Сечение элемента подбирается по сортаменту в соответствии с табл. 8докум.-01ПЗ.
1Р5.n×210.*

СОРТАМЕНТ РИГЕЛЕЙ МНОГОПРОЛЕТНЫХРАМ
1РТМ3×210.*
| Код вертикальной нагрузки | Гнутосварные трубы, b×h×t, мм | Листовая сталь, t, мм | |||||
| Номер позиции | |||||||
| 1 | 2 | 3 | 4 | 5 | 6 | ||
| 1Р5.n×210.* | I | 160×5 | 160×6 | 120×4 | 20 | - | - |
| II | 160×5 | 160×6 | 120×4 | 20 | - | - | |
| III | 180×5 | 180×6 | 140×4 | 20 | - | - | |
| IV | 180×5 | 180×6 | 140×4 | 20 | - | - | |
| V | 180×6 | 180×8 | 140×4 | 25 | - | - | |
| VI | 180×6 | 180×8 | 140×4 | 25 | - | - | |
1. Сталь определяется по табл. 7 докум.-01ПЗ.
2.Сечение элемента подбирается по сортаменту в соответствии с табл. 8докум.-01ПЗ.
1Р1.n×240.*

1Р2.m×240.*

СОРТАМЕНТ РИГЕЛЕЙ МНОГОПРОЛЕТНЫХРАМ
1РТМ2×240.*,1РТМ3×240.*,
1РТМ4×240.*
| Код вертикальной нагрузки | Гнутосварные трубы, b×h×t, мм | Листовая сталь, t, мм | |||||||
| Номер позиции | |||||||||
| 1 | 2 | 3 | 4 | 5 | 6 | 7 | 8 | ||
| 1Р1.n×240.* 1Р2.n×240.* |
| Сталь С255 и С345 | |||||||
| I | 160×6 | 160×8 | 160×6 | 120×4 | 12 | 6 | 20 | 20 | |
| II | 160×6 | 160×8 | 160×6 | 120×4 | 12 | 6 | 20 | 20 | |
| III | 180×6 | 180×8 | 180×6 | 140×4 | 14 | 6 | 25 | 20 | |
| IV | 180×6 | 180×8 | 180×6 | 140×4 | 14 | 6 | 25 | 20 | |
| V | 180×8 | 180×10 | 180×8 | 140×4 | 14 | 6 | 30 | 20 | |
|
| Сталь С345 | ||||||||
| VI | 180×8 | 180×10 | 180×8 | 140×4 | 14 | 6 | 30 | 20 | |
1. Сталь определяется по табл. 7 докум.-01ПЗ.
2.Сечение элемента подбирается по сортаменту в соответствии с табл. 8докум.-01ПЗ.
1Р3.n×240.*

1Р4.n×240.*

СОРТАМЕНТ РИГЕЛЕЙ МНОГОПРОЛЕТНЫХРАМ
1РТМ2×240.*,1РТМ3×240.*,
1РТМ4×240.*
| Код вертикальной нагрузки | Гнутосварные трубы, b×h×t, мм | Листовая сталь, t, мм | |||||
| Номер позиции | |||||||
| 1 | 2 | 3 | 4 | 5 | 6 | ||
| 1Р3.n×240.* 1Р4.n×240.* |
| Сталь С255 и С345 | |||||
| I | 160×8 | 160×8 | 120×4 | 20 | 20 | - | |
| II | 160×8 | 160×8 | 120×4 | 20 | 20 | - | |
| III | 180×8 | 180×8 | 140×4 | 20 | 25 | - | |
| IV | 180×8 | 180×8 | 140×4 | 20 | 25 | - | |
| V | 180×10 | 180×10 | 140×4 | 20 | 30 | - | |
|
| Сталь С345 | ||||||
| VI | 180×10 | 180×10 | 140×4 | 20 | 30 | - | |
1. Сталь определяется по табл. 7 докум.-01ПЗ.
2.Сечение элемента подбирается по сортаменту в соответствии с табл. 8докум.-01ПЗ.
1Р5.n×240.*

СОРТАМЕНТ РИГЕЛЕЙ МНОГОПРОЛЕТНЫХРАМ
1РТМ3×240.*
| Код вертикальной нагрузки | Гнутосварные трубы, b×h×t, мм | Листовая сталь, t, мм | |||||
| Номер позиции | |||||||
| 1 | 2 | 3 | 4 | 5 | 6 | ||
| 1Р5.n×240.* |
| Сталь С255 и С345 | |||||
| I | 160×6 | 160×8 | 120×4 | 20 | - | - | |
| II | 160×6 | 160×8 | 120×4 | 20 | - | - | |
| III | 180×6 | 180×8 | 140×4 | 25 | - | - | |
| IV | 180×6 | 180×8 | 140×4 | 25 | - | - | |
| V | 180×8 | 180×10 | 140×4 | 30 | - | - | |
|
| Сталь С345 | ||||||
| VI | 180×8 | 180×10 | 140×4 | 30 | - | - | |
1. Сталь определяется по табл. 7 докум.-01ПЗ.
2.Сечение элемента подбирается по сортаменту в соответствии с табл. 8докум.-01ПЗ.
1Р1.n×300.*

1Р2.n×.300.*

СОРТАМЕНТ РИГЕЛЕЙ МНОГОПРОЛЕТНЫХРАМ
1РТМ2×300.*,1РТМ3×300.*
| Код вертикальной нагрузки | Гнутосварные трубы, b×h×t, мм | Листовая сталь, t, мм | |||||||
| Номер позиции | |||||||||
| 1 | 2 | 3 | 4 | 5 | 6 | 7 | 8 | ||
| 1Р1.n×300.* 1Р2.n×300.* |
| Сталь С255 и С345 | |||||||
| I | 180×6 | 180×8 | 180×6 | 140×4 | 16 | 6 | 20 | 25 | |
| II | 180×6 | 180×8 | 180×6 | 140×4 | 16 | 6 | 20 | 25 | |
| III | 200×8 | 200×10 | 200×8 | 140×4 | 16 | 6 | 25 | 30 | |
| IV | 200×8 | 200×10 | 200×8 | 140×4 | 16 | 6 | 25 | 30 | |
|
| Сталь С345 | ||||||||
| V | 200×8 | 200×10 | 200×8 | 140×4 | 16 | 8 | 25 | 30 | |
| VI | - | - | - | - | - | - | - | - | |
1. Сталь определяется по табл. 7 докум.-01ПЗ.
2.Сечение элемента подбирается по сортаменту в соответствии с табл. 8докум.-01ПЗ.
1Р6.n×300.*

1Р3.n×300.*

СОРТАМЕНТ РИГЕЛЕЙ МНОГОПРОЛЕТНЫХРАМ
1РТМ2×300.*,1РТМ3×300.*
| Код вертикальной нагрузки | Гнутосварные трубы, b×h×t, мм | Листовая сталь, t, мм | ||||||
| Номер позиции | ||||||||
| 1 | 2 | 3 | 4 | 5 | 6 | 7 | ||
| 1Р6.n×300.* 1Р3.n×300.* |
| Сталь С255 и С345 | ||||||
| I | 180×6 | 180×8 | 180×8 | 140×4 | 25 | 20 | - | |
| II | 180×6 | 180×8 | 180×8 | 140×4 | 25 | 20 | - | |
| III | 200×8 | 200×10 | 200×10 | 140×4 | 30 | 20 | - | |
| IV | 200×8 | 200×10 | 200×10 | 140×4 | 30 | 20 | - | |
|
| Сталь С345 | |||||||
| V | 200×8 | 200×10 | 200×10 | 140×4 | 30 | 20 | - | |
| VI | - | - | - | - | - | - | - | |
1. Сталь определяется по табл. 7 докум.-01ПЗ.
2.Сечение элемента подбирается по сортаменту в соответствии с табл. 8докум.-01ПЗ.
1Р4.n×300.*

1P7.n×300.*

СОРТАМЕНТРИГЕЛЕЙ МНОГОПРОЛЕТНЫХ РАМ
1РТМ3×300.*
| Код вертикальной нагрузки | Гнутосварные трубы, b×h×t, мм | Листовая сталь, t, мм | |||||||
| Номер позиции | |||||||||
| 1 | 2 | 3 | 4 | 5 | 6 | 7 | 8 | ||
| 1Р4.n×300.* 1Р7.n×300.* |
| Сталь С255 и С345 | |||||||
| I | 180×6 | 180×8 | 180×8 | 140×4 | 20 | 25 | 20 | - | |
| II | 180×6 | 180×8 | 180×8 | 140×4 | 20 | 25 | 20 | - | |
| III | 200×8 | 200×10 | 200×10 | 140×4 | 20 | 30 | 25 | - | |
| IV | 200×8 | 200×10 | 200×10 | 140×4 | 20 | 30 | 25 | - | |
|
| Сталь С345 | ||||||||
| V | 200×8 | 200×10 | 200×10 | 140×4 | 20 | 30 | 25 | - | |
| VI | - | - | - | - | - | - | - | - | |
1. Сталь определяется по табл. 7 докум.-01ПЗ.
2.Сечение элемента подбирается по сортаменту в соответствии с табл. 8докум.-01ПЗ.
2Р1.n×180.*

2Р2.n×180.*

СОРТАМЕНТ РИГЕЛЕЙ МНОГОПРОЛЕТНЫХРАМ
2РТМ2×180.*,2РТМ3×180.*,
2РТМ4×180.*,2РТМ5×180.*
| Код вертикальной нагрузки | Гнутосварные трубы, b×h×t, мм | Листовая сталь, t, мм | ||||||
| Номер позиции | ||||||||
| 1 | 2 | 3 | 4 | 5 | 6 | 7 | ||
| 2Р1.n×180.* 2Р2.n×180.* | I | 140×5 | 140×6 | 140×5 | 100×4 | 12 | 6 | 20 |
| II | 140×5 | 140×6 | 140×5 | 100×4 | 12 | 6 | 20 | |
| III | 160×5 | 160×6 | 160×5 | 120×4 | 12 | 6 | 20 | |
| IV | 160×5 | 160×6 | 160×5 | 120×4 | 12 | 6 | 20 | |
| V | 160×6 | 160×8 | 160×6 | 120×4 | 12 | 6 | 20 | |
| VI | 160×6 | 160×8 | 160×6 | 120×4 | 12 | 6 | 20 | |
1. Сталь определяется по табл. 7 докум.-01ПЗ.
2.Сечение элемента подбирается по сортаменту в соответствии с табл. 8докум.-01ПЗ.
2P3.n×l80.*

2P4.n×180.*

СОРТАМЕНТ РИГЕЛЕЙ МНОГОПРОЛЕТНЫХРАМ
2РТМ2×180.*,2РТМ3×180.*,
2РТМ4×180.*,2РТМ5×180.*
| Код вертикальной нагрузки | Гнутосварные трубы, b×h×t, мм | Листовая сталь, t, мм | |||||
| Номер позиции | |||||||
| 1 | 2 | 3 | 4 | 5 | 6 | ||
| 2P3.n×l80.* 2P4.n×l80.* | I | 140×6 | 140×6 | 100×4 | 20 | - | - |
| II | 140×6 | 140×6 | 100×4 | 20 | - | - | |
| III | 160×6 | 160×6 | 120×4 | 20 | - | - | |
| IV | 160×6 | 160×6 | 120×4 | 20 | - | - | |
| V | 160×8 | 160×8 | 120×4 | 20 | - | - | |
| VI | 160×8 | 160×8 | 120×4 | 20 | - | - | |
1. Сталь определяется по табл. 7 докум.-01ПЗ.
2.Сечение элемента подбирается по сортаменту в соответствии с табл. 8докум.-01ПЗ.
2P5.n×180.*

СОРТАМЕНТ РИГЕЛЕЙ МНОГОПРОЛЕТНЫХРАМ
2РТМ3×180.*,2РТМ5×180.*
| Код вертикальной нагрузки | Гнутосварные трубы, b×h×t, мм | Листовая сталь, t, мм | |||||
| Номер позиции | |||||||
| 1 | 2 | 3 | 4 | 5 | 6 | ||
| 2P5.n×180.* | I | 140×5 | 140×6 | 100×4 | 20 | - | - |
| II | 140×5 | 140×6 | 100×4 | 20 | - | - | |
| III | 160×5 | 160×6 | 120×4 | 20 | - | - | |
| IV | 160×5 | 160×6 | 120×4 | 20 | - | - | |
| V | 160×6 | 160×8 | 120×4 | 20 | - | - | |
| VI | 160×6 | 160×8 | 120×4 | 20 | - | - | |
1. Сталь определяется по табл. 7 докум.-01ПЗ.
2.Сечение элемента подбирается по сортаменту в соответствии с табл. 8докум.-01ПЗ.
2Р1.n×210.*

2Р2.n×210.*

СОРТАМЕНТ РИГЕЛЕЙ МНОГОПРОЛЕТНЫХРАМ
2РТМ2×210.*,2РТМ3×210.*,
2РТМ4×210.*
| Код вертикальной нагрузки | Гнутосварные трубы, b×h×t, мм | Листовая сталь, t, мм | ||||||
| Номер позиции | ||||||||
| 1 | 2 | 3 | 4 | 5 | 6 | 7 | ||
| 2Р1.n×210.* 2Р2.n×210.* | I | 160×5 | 160×6 | 160×5 | 120×4 | 12 | 6 | 20 |
| II | 160×5 | 160×6 | 160×5 | 120×4 | 12 | 6 | 20 | |
| III | 180×5 | 180×6 | 180×5 | 140×4 | 12 | 6 | 20 | |
| IV | 180×5 | 180×6 | 180×5 | 140×4 | 12 | 6 | 20 | |
| V | 180×6 | 180×8 | 180×6 | 140×4 | 12 | 6 | 25 | |
| VI | 180×6 | 180×8 | 180×6 | 140×4 | 12 | 6 | 25 | |
1. Сталь определяется по табл. 7 докум.-01ПЗ.
2.Сечение элемента подбирается по сортаменту в соответствии с табл. 8докум.-01ПЗ.
2P3.n×210.*

2P4.n×210.*

СОРТАМЕНТ РИГЕЛЕЙ МНОГОПРОЛЕТНЫХРАМ
2РТМ2×210.*,2РТМ3×210.*,
2РТМ4×210.*
| Код вертикальной нагрузки | Гнутосварные трубы, b×h×t, мм | Листовая сталь, t, мм | |||||
| Номер позиции | |||||||
| 1 | 2 | 3 | 4 | 5 | 6 | ||
| 2P3.n×210.* 2P4.n×210.* | I | 160×6 | 160×6 | 120×4 | 20 | - | - |
| II | 160×6 | 160×6 | 120×4 | 20 | - | - | |
| III | 180×6 | 180×6 | 140×4 | 20 | - | - | |
| IV | 180×6 | 180×6 | 140×4 | 20 | - | - | |
| V | 180×8 | 180×8 | 140×4 | 25 | - | - | |
| VI | 180×8 | 180×8 | 140×4 | 25 | - | - | |
1. Сталь определяется по табл. 7 докум.-01ПЗ.
2.Сечение элемента подбирается по сортаменту в соответствии с табл. 8докум.-01ПЗ.
2P5.n×210.*

СОРТАМЕНТ РИГЕЛЕЙ МНОГОПРОЛЕТНЫХРАМ
2РТМ3×210.*
| Код вертикальной нагрузки | Гнутосварные трубы, b×h×t, мм | Листовая сталь, t, мм | |||||
| Номер позиции | |||||||
| 1 | 2 | 3 | 4 | 5 | 6 | ||
| 2P5.n×210.* | I | 160×5 | 160×6 | 120×4 | 20 | - | - |
| II | 160×5 | 160×6 | 120×4 | 20 | - | - | |
| III | 180×5 | 180×6 | 140×4 | 20 | - | - | |
| IV | 180×5 | 180×6 | 140×4 | 20 | - | - | |
| V | 180×6 | 180×8 | 140×4 | 25 | - | - | |
| VI | 180×6 | 180×8 | 140×4 | 25 | - | - | |
1. Сталь определяется по табл. 7 докум.-01ПЗ.
2.Сечение элемента подбирается по сортаменту в соответствии с табл. 8докум.-01ПЗ.
2Р1.n×240.*

2Р2.n×240.*

СОРТАМЕНТ РИГЕЛЕЙ МНОГОПРОЛЕТНЫХРАМ
2РТМ2×240.*,2РТМ3×240.*,
2РТМ4×240.*
| Код вертикальной нагрузки | Гнутосварные трубы, b×h×t, мм | Листовая сталь, t, мм | |||||||
| Номер позиции | |||||||||
| 1 | 2 | 3 | 4 | 5 | 6 | 7 | 8 | ||
| 2Р1.n×240.* 2Р2.n×240.* |
| Сталь С255 и С345 | |||||||
| I | 160×6 | 160×8 | 160×6 | 120×4 | 12 | 6 | 20 | 20 | |
| II | 160×6 | 160×8 | 160×6 | 120×4 | 12 | 6 | 20 | 20 | |
| III | 180×6 | 180×8 | 180×6 | 140×4 | 14 | 6 | 25 | 20 | |
| IV | 180×6 | 180×8 | 180×6 | 140×4 | 14 | 6 | 25 | 20 | |
| V | 180×8 | 180×10 | 180×8 | 140×4 | 14 | 6 | 30 | 20 | |
|
| Сталь С345 | ||||||||
| VI | 180×8 | 180×10 | 180×8 | 140×4 | 14 | 6 | 30 | 20 | |
1. Сталь определяется по табл. 7 докум.-01ПЗ.
2.Сечение элемента подбирается по сортаменту в соответствии с табл. 8докум.-01ПЗ.
2P3.n×240.*

2P4.n×240.*

СОРТАМЕНТ РИГЕЛЕЙ МНОГОПРОЛЕТНЫХРАМ
2РТМ2×240.*,2РТМ3×240.*,
2РТМ4×240.*
| Код вертикальной нагрузки | Гнутосварные трубы, b×h×t, мм | Листовая сталь, t, мм | |||||
| Номер позиции | |||||||
| 1 | 2 | 3 | 4 | 5 | 6 | ||
| 2P3.n×240.* 2P4.n×240.* |
| Сталь С255 и С345 | |||||
| I | 160×8 | 160×8 | 120×4 | 20 | 20 | - | |
| II | 160×8 | 160×8 | 120×4 | 20 | 20 | - | |
| III | 180×8 | 180×8 | 140×4 | 20 | 25 | - | |
| IV | 180×8 | 180×8 | 140×4 | 20 | 25 | - | |
| V | 180×10 | 180×10 | 140×4 | 20 | 30 | - | |
|
| Сталь С345 | ||||||
| VI | 180×10 | 180×10 | 140×4 | 20 | 30 | - | |
1. Сталь определяется по табл. 7 докум.-01ПЗ.
2.Сечение элемента подбирается по сортаменту в соответствии с табл. 8докум.-01ПЗ.
2P5.n×240.*

СОРТАМЕНТ РИГЕЛЕЙ МНОГОПРОЛЕТНЫХРАМ
2РТМ3×240.*
| Код вертикальной нагрузки | Гнутосварные трубы, b×h×t, мм | Листовая сталь, t, ми | |||||
| Номер позиции | |||||||
| 1 | 2 | 3 | 4 | 5 | 6 | ||
| 2P5.n×240.* |
| Сталь С255 и С345 | |||||
| I | 160×6 | 160×8 | 120×4 | 20 | - | - | |
| II | 160×6 | 160×8 | 120×4 | 20 | - | - | |
| III | 180×6 | 180×8 | 140×4 | 25 | - | - | |
| IV | 180×6 | 180×8 | 140×4 | 25 | - | - | |
| V | 180×8 | 180×10 | 140×4 | 30 | - | - | |
|
| Сталь С345 | ||||||
| VI | 180×8 | 180×10 | 140×4 | 30 | - | - | |
1. Сталь определяется по табл. 7 докум.-01ПЗ.
2.Сечение элемента подбирается по сортаменту в соответствии с табл. 8докум.-01ПЗ.
2Р1.n×300.*

2Р2.n×300.*

СОРТАМЕНТ РИГЕЛЕЙ МНОГОПРОЛЕТНЫХРАМ
2РТМ2×300.*,2РТМ3×300.*
| Код вертикальной нагрузки | Гнутосварные трубы, b×h×t, мм | Листовая сталь, t, мм | |||||||
| Номер позиции | |||||||||
| 1 | 2 | 3 | 4 | 5 | 6 | 7 | 8 | ||
| 2Р1.n×300.* 2Р2.n×300.* |
| Сталь С255 и С345 |
| ||||||
| I | 180×6 | 180×8 | 180×6 | 140×4 | 16 | 6 | 20 | 25 | |
| II | 180×6 | 180×8 | 180×6 | 140×4 | 16 | 6 | 20 | 25 | |
| III | 200×8 | 200×10 | 200×8 | 140×4 | 16 | 6 | 25 | 30 | |
| IV | 200×8 | 200×10 | 200×8 | 140×4 | 16 | 6 | 25 | 30 | |
|
| Сталь С345 |
|
|
|
| ||||
| V | 200×8 | 200×10 | 200×8 | 140×4 | 16 | 8 | 25 | 30 | |
| VI | - | - | - | - | - | - | - | - | |
1. Сталь определяется по табл. 7 докум. -01ПЗ.
2.Сечение элемента подбирается по сортаменту в соответствии с табл. 8 докум.-01ПЗ.
2P6.n×300.*

2P3.n×300.*

СОРТАМЕНТРИГЕЛЕЙ МНОГОПРОЛЕТНЫХ РАМ
2РТМ2×300.*,2РТМ3×300.*
| Код вертикальной нагрузки | Гнутосварные трубы, b×h×t, мм | Листовая сталь, t, мм | ||||||
| Номер позиции | ||||||||
| 1 | 2 | 3 | 4 | 5 | 6 | 7 | ||
| 2P6.n×300.* 2P3.n×300.* |
| Сталь С255 и С345 | ||||||
| I | 180×6 | 180×8 | 180×8 | 140×4 | 25 | 20 | - | |
| II | 180×6 | 180×8 | 180×8 | 140×4 | 25 | 20 | - | |
| III | 200×8 | 200×10 | 200×10 | 140×4 | 30 | 20 | - | |
| IV | 200×8 | 200×10 | 200×10 | 140×4 | 30 | 20 | - | |
|
| Сталь С345 | |||||||
| V | 200×8 | 200×10 | 200×10 | 140×4 | 30 | 20 | - | |
| VI | - | - | - | - | - | - | - | |
1. Сталь определяется по табл. 7 докум. -01ПЗ.
2.Сечение элемента подбирается по сортаменту в соответствии с табл. 8 докум.-01ПЗ.
2P4.n×300.*

2P7.n×300.*

СОРТАМЕНТРИГЕЛЕЙ МНОГОПРОЛЕТНЫХ РАМ
2РТМ3×300.*
| Код вертикальной нагрузки | Гнутосварные трубы, b×h×t, мм | Листовая сталь, t, мм | ||||||
| Номер позиции | ||||||||
| 1 | 2 | 3 | 4 | 5 | 6 | 7 | ||
|
|
| Сталь С255 и С345 | ||||||
| I | 180×6 | 180×8 | 180×8 | 140×4 | 20 | 25 | 20 | |
| II | 180×6 | 180×8 | 180×8 | 140×4 | 20 | 25 | 20 | |
| III | 200×8 | 200×10 | 200×10 | 140×4 | 20 | 30 | 25 | |
| IV | 200×8 | 200×10 | 200×10 | 140×4 | 20 | 30 | 25 | |
|
| Сталь С345 | |||||||
| V | 200×8 | 200×10 | 200×10 | 140×4 | 20 | 30 | 25 | |
| VI | - | - | - | - | - | - | - | |
1. Сталь определяется по табл. 7 докум. -01ПЗ.
2.Сечение элемента подбирается по сортаменту в соответствии с табл. 8 докум.-01ПЗ.
1. Взаводских условиях для сварки элементов следует применять полуавтоматическуюсварку в среде углекислого газа по ГОСТ8050-85. Марка сварочной проволоки Св-08Г2С диаметром 1.4 мм по ГОСТ2246-70*. Материалы для монтажной сварки применять в соответствии с т. 55 СНиП II-23-81* "Стальныеконструкции. Нормы проектирования".
2. Монтажные соединения выполнять на втулках,высокопрочных болтах, болтах нормальной точности и самонарезающих винтах.
3.Постоянные болты М12, М16, М20 и М24 ГОСТ7798-70 класса прочности 5.8. по ГОСТ1759.4-87. Всейсмических районах класс прочности постоянных болтов 8.8. Применениеавтоматной стали для болтов не допускается.
4.Гайки постоянных болтов (анкерных, нормальной точности) после выверкиконструкций закреплять контргайками. Допускается вместо контргаек постановкапружинных шайб по ГОСТ 6402-70.
5.Образование отверстий в соединениях с болтами предусматривать сверлением вкондукторах или на поточных линиях, при этом допускаемые отклонения расстояниймежду центрами отверстий в группе ±1.0 мм, диаметров отверстий +1.0 мм.
6.Высокопрочные болты М24 исполнения ХЛ по ГОСТ22353-77 с временным сопротивлением 110 кгс/мм2 из стали 40Х"Селект" по ГОСТ4543-71*, категории размещения I по ГОСТ22356-77. Высокопрочные гайки М24 по ГОСТ22354-77 с временным сопротивлением 110 кгс/мм2 из стали 40Х"Селект" по ГОСТ4543-71*, категории размещения I по ГОСТ 22356-77. Шайбы 24 по ГОСТ22355-77.
7. Дляфланцев применять толстолистовую горячекатаную сталь марки 09Г2С-15 по ГОСТ19281-89. Расчетное сопротивление в направлении толщины проката Rth=225 МПа. Осевое натяжениевысокопрочных болтов фланцевых соединений 24 тс. Контроль натяжения - помоменту закручивания.
8.Сталь фланцев должна быть проверена на отсутствие несплошностей (расслоений)при помощи ультразвукового дефектоскопического контроля до приваривания фланца.
9. Анкерные болты для всех стоек выполнять в соответствии сГОСТ 24379.0 и ГОСТ 24379.1-80. Сталь болтов принимать всоответствии с ГОСТ 24379.0-80 в зависимости от климатическогорайона строительства по таблице.
| Климатические районы | Расчетная температура района строительства, °С | Сталь |
| II4, II5 | -30°С>t≥-40°С | Ст3пс2 по ГОСТ 380-88* |
| I2, II2 и II3 | -40°С>t≥-50°С | 09Г2С-6 по ГОСТ 19281-89 |
| I1 | -50°С>t≥-65°С | 09Г2С-8 по ГОСТ 19281-89 |
10. Контроль натяжения гибких связей с предварительнымнатяжением - по моменту закручивания.

1. Катеты швов kf=1.2·tmin, где tmin – минимальная толщина соединяемых элементов.
2. Дляэлементов решетки из стали С345 для кодов нагрузки III, IV, V, VI с толщиной стенки 4 мм. раскосыварить с полным проваром или увеличить толщину элементов решетки с 4 мм на 5мм.
3.Толщину пластины принимать равной толщине стенки пояса, но не менее 6мм.

1. Катеты швов kf=1.2·tmin, где tmin – минимальная толщина соединяемых элементов.
2. Дляэлементов решетки из стали С345 для кодов нагрузки III, IV, V, VI с толщиной стенки 4 мм. раскосыварить с полным проваром или увеличить толщину элементов решетки с 4 мм на 5мм.

1. Катеты швов kf=1.2·tmin, где tmin – минимальная толщина соединяемых элементов.
2.Обварить по контуру. Сварной шов выполнить с полным проваром.
3.После выполнения сварного шва шов зачистить.

Катеты швов kf=1.2·tmin, где tmin – минимальная толщина соединяемых элементов.

1. Катеты швов kf=1.2·tmin, где tmin – минимальная толщина соединяемых элементов.
2. Дляэлементов решетки из стали С345 для кодов нагрузки III, IV, V, VI с толщиной стенки 4 мм раскосыварить с полным проваром или увеличить толщину элементов решетки с 4 мм на 5мм.

1. Катеты швов kf=1.2·tmin, где tmin– минимальнаятолщина соединяемых элементов.
2. Дляэлементов решетки из стали С345 для кодов нагрузки III, IV, V, VI с толщиной стенки 4 мм раскосыварить с полным проваром или увеличить толщину элементов решетки с 4 мм на 5мм.
3.Толщину пластины принимать равной толщине стенки пояса, но не менее 6 мм.



| Параметры | Анкерный болт, d1, мм при пролете рамы L, м | ||
| 15 | 18; 21 | 24; 30 | |
| М24 | М30 | М36 | |
| В | 450 | 490 | 580 |
| b1 | 170 | 180 | 210 |
| b2 | 80 | 100 | 120 |
| h1 | 80 | 100 | 100 |
| d2 | 25 | 31 | 37 |
| tпл | 8 | 8 | 8 |
| d3 | Ø36 | Ø45 | Ø54 |
С - расстояние между осями ветвей стойки рамы (см. докум.-072...-092)
1.Необозначенные катеты швов kf=1.2tmin, но неболее 8мм.
2.Бетонируется бетоном класса В7.5 на высоту 300 мм.
3. Дляопорных пластин применяется сталь марки С255. Толщину опорной пластины (tоп) см. табл. 2.
4.Диаметр анкерных болтов определяется по табл. 1.
5. Впластине на высоте не более 8 мм от нижнего края выполняется отверстиеØ30 мм для стока воды.
6.Определение сечений противосдвиговых закладных элементов фундаментапроизводится по табл. 3, докум. -117.
ТАБЛИЦАТОЛЩИН ОПОРНЫХ ПЛИТ ДЛЯ КРАЙНИХ СТОЕК РАМ
| Пролет, м | Высота стойки, м | Код горизонт, нагрузки | Толщина опорной плиты tоп, мм | |||||
| Код вертикальной нагрузки | ||||||||
| I | II | III | IV | V | VI | |||
| 15 | 4.8-7.2 | 1; 2 |
|
| 20 |
|
|
|
| 18 | 4.8-8.4 | 1; 2 |
|
|
|
|
|
|
| 21 | 6.0-9.6 | 1; 2 |
|
|
|
|
|
|
| 24 | 6.0-9.6 | 1; 2 |
|
|
| 25 |
| |
| 30 | 6.0-7.2 | 1 |
|
|
|
|
|
|
| 2 |
|
|
|
|
|
| ||
| 8.4-9.6 | 1; 2 |
|
|
|
|
|
| |



| Параметры | Анкерный болт, d1, мм при пролете рамы L, м | ||
| 15 | 18; 21 | 24; 30 | |
| М24 | М30 | М36 | |
| В | 55 | 65 | 80 |
| b1 | 55 | 65 | 80 |
| b2 | 80 | 100 | 100 |
| h1 | 80 | 100 | 120 |
| d2 | 25 | 31 | 37 |
| tпл | 8 | 8 | 8 |
| d3 | Ø36 | Ø45 | Ø54 |
a=h–2•r,
где r – радиусгиба сечения стойки;
h– высота сечения ветви средней стойки.
1. Необозначенные катеты швов kf= 1.2·tmin,но не более 8 мм.
2.Толщину опорной пластины (tоп) см. табл. 2, л. 2.
3.Диаметр анкерных болтов d1 определяется по табл. 1.
4.Толщину пластины принимать равной толщине стенки стойки tпл=t,но не менее 6 мм.
5.Противосдвиговые закладные элементы фундамента ставить только в опорных узлахстоек связевых блоков, h закладного элемента см. документ -116.
6.Определение сечений противосдвиговых закладных элементов фундаментапроизводится по табл. 3.
ТОЛЩИНАОПОРНЫХ ПЛАСТИН СРЕДНИХ ОДНОВЕТВЕВЫХ СТОЕК
| Суммарное вертикальное усилие ΣNст, тс | Толщина опорной пластины tоп, мм |
| Nст≤55 | 20 |
| 55<Nст≤85 | 20 |
| 85<Nст≤115 | 25 |
Для опорных пластин применять сталь С255.
ОПРЕДЕЛЕНИЕУСИЛИЯ НА ПРОТИВОСДВИГОВОЙ ЗАКЛАДНОЙ ЭЛЕМЕНТ ФУНДАМЕНТА
Определениесечений противосдвиговых закладных элементов фундамента производится по табл. 3по большему значению усилий Qха или Qya, определяемых по формулам:
| Qxa=ΣQx/n–ΣN•μ/n | (1) | |
| Qya=ΣQy/n–ΣNmin•μ/n, | (2) | |
| где ΣQx, ΣQy, ΣN | – см. общие положения определения нагрузок на фундаменты рам докум. -020; | |
| n | – количество противосдвиговых закладных элементов фундамента; | |
| ΣNmin | – минимальное вертикальное усилие от постоянных нагрузок; | |
| μ=0.25 | – коэффициент трения опорной пластины о поверхность бетона фундамента. | |
|
| Предельные горизонтальные усилия | Длина заделки lх, м | Длина заделки lу, м | Примечание | |||
| Qy, тс | Qx, тс | ||||||
| при m=100 мм | при m=50 мм | при m=100 мм | при m=50 мм | ||||
| [12 | 2.9 | 3.75 | 2.9 | 3.84 | 0.68 | 0.62 | Нагрузки Qx и Qy действуют раздельно |
| [14 | 3.8 | 4.85 | 3.9 | 5.05 | 0.76 | 0.68 | |
| [16 | 4.9 | 6.2 | 5.1 | 6.4 | 0.85 | 0.74 | |
| [18 | 6.1 | 7.5 | 6.4 | 8.05 | 0.93 | 0.81 | |
| [20 | 7.4 | 9.0 | 7.9 | 9.85 | 1.01 | 0.87 | |
| [22 | 9.0 | 10.7 | 9.6 | 11.8 | 1.1 | 0.93 | |
| [24 | 11.0 | 13.1 | 11.6 | 14.1 | 1.2 | 1.01 | |
| [27 | 12.9 | 15.2 | 14.3 | 17.1 | 1.3 | 1.08 | |
| [30 | 15.0 | 17.4 | 17.1 | 20.3 | 1.41 | 1.15 | |
1. m– расстояние приложения поперечной силы от поверхности бетона.
2.Класс бетона фундамента В12.5.
Дляболее высокого класса бетона предельные нагрузки Q увеличиваются в k=Rпр/60 раз. Анкерные болты при этом должны быть дополнительнопроверены на совместное действие N и Q.
3.Длина заделки (lх и lу) определяется от верхнего обреза фундамента.


| Переменные | Анкерный болт, dl, мм при пролете рамы L, м | ||
| 15 | 18; 21 | 24; 30 | |
| М24 | М30 | М36 | |
| h1 | 55 | 65 | 80 |
| h2 | 80 | 100 | 120 |
| b2 | 80 | 100 | 100 |
| d2 | 25 | 31 | 37 |
| tпл | 8 | 8 | 8 |
| d3 | Ø36 | Ø45 | Ø54 |
а=b–2•r1,
где r1 – радиус гиба сечения ветви средней стойки;
b– ширина сечения ветви средней стойки.
1. Необозначенные катеты швов kf=1.2·tmin,но не более 8 мм.
2.Толщину опорной пластины (tоп) см. табл. 2, л. 2.
3.Диаметр анкерных болтов определяется по табл. 1.
4.Толщину пластины принимать равной толщине стенки стойки tпл=t,но не менее 6 мм.
5.Противосдвиговые закладные элементы ставить только в опорных узлах стоексвязевых блоков.
6.Определение сечений противосдвиговых элементов фундамента производится по табл.3, документ -117, л. 2.
ТОЛЩИНЫОПОРНЫХ ПЛАСТИН СРЕДНИХ ДВУХВЕТВЕВЫХ СТОЕК
| Суммарное вертикальное усилие ΣNст, тс | Толщина опорной пластины tоп, мм в зависимости от высоты средней стойки Нст, м | |||
| 6<Нст≤8 | 8<Нст≤11 | 11<Нст≤15 | ||
| h=180 | h=200 | |||
| Nст≤55 | - | - | - | 16 |
| 55<Nст≤65 | 16 | |||
| 65<Nст≤75 | ||||
| 75<Nст<85 | ||||
| 85<Nст≤95 | 16 | |||
| 95<Nст≤105 | ||||
| 105<Nст≤115 | 16 | |||
| 115<Nст≤125 | ||||
| 125<Nст≤135 | 18 | 18 | 18 | 18 |
| 135<Nст≤145 | ||||
| 145<Nст≤155 | ||||
| 155<Nст≤165 | 20 | |||
| 165<Nст≤175 | 20 | 20 | 20 | |
| 175<Nст≤185 | ||||
| 185<Nст≤195 | ||||
1. Для опорных пластин применять сталь С255.
2. Втабл. 2 величина h,мм - высота сечения ветви средней стойки.




| Параметры | Анкерный болт, dl | |||
| М20 | М24 | М30 | М36 | |
| a1 | 60 | 70 | 80 | 90 |
| b1 | 45 | 55 | 65 | 80 |
| b2 | 70 | 80 | 100 | 120 |
| h1 | 70 | 80 | 100 | 100 |
| d2 | 21 | 25 | 31 | 37 |
| tпл | 8 | 8 | 8 | 8 |
| d3 | Ø30 | Ø36 | Ø45 | Ø54 |
a=h–2•r1,
где r1 – радиус гиба сечения стойки.
1. Необозначенные катеты швов kf= 1.2·tmin,но не более 8 мм.
2.Диаметр анкерных болтов (d1) и толщину опорной пластины (tоп) см. табл. 2 и табл. 3, л. 2.
3.Толщину пластины принимать равной толщине стенки стойки tp=t, но не менее 6 мм.
ТАБЛИЦААНКЕРНЫХ БОЛТОВ И ТОЛЩИН ОПОРНЫХ ПЛИТ ДЛЯ НЕСУЩЕГО ФАХВЕРКА
| Код горизонт, нагрузки | Ветровой район | Высота стоек фахверка, м | ||||||
| Нсф≤6.0 | 6.0<Нсф≤8.4 | 8.4<Нсф≤10.8 | 10.8<Нсф≤13.2 | 13.2<Нсф≤16.0 | ||||
| СНЕГОВЫЕ РАЙОНЫ | ||||||||
| I-VI | I-VI | I-VI | I-VI | I - II | III -IV | V-VI | ||
| 1 | I | tоп=16 мм | tоп=16 мм | tоп=16 мм | tоп=20 мм | tоп=20 мм | ||
| II, III | tоп=25 мм | |||||||
| 2 | IV | tоп=20 мм | tоп=25 мм |
| ||||
| V | tоп=16 мм | tоп=25 мм |
|
|
| |||
| VI | tоп=20 мм | tоп=25 мм | tоп=25 мм |
| tоп=25 мм | |||
| VII | tоп=25 мм |
| ||||||
ТАБЛИЦААНКЕРНЫХ БОЛТОВ И ТОЛЩИН ОПОРНЫХ ПЛИТ ДЛЯ САМОНЕСУЩЕГО ФАХВЕРКА
| Код горизонт, нагрузки | Ветровой район | Высота стоек фахверка, м | |||||||||
| Нсф≤6.0 | 6.0<Нсф≤8.4 | 8.4<Нсф≤10.8 | 10.8<Нсф≤13.2 | 13.2<Нсф≤16.0 | |||||||
| tоп | d1 | tоп | d1 | tоп | d1 | tоп | d1 | tоп | d1 | ||
| 1 | I, II | 16 | 020 | 16 | 020 | 16 | 020 | 20 | 020 | 20 | 024 |
| III | 024 | 030 | |||||||||
| 2 | IV, V | 20 | |||||||||
| VI, VII | 024 | 030 | 25 | ||||||||
1. tоп – толщина опорной плиты.
d1– диаметр анкерного болта.
2.Диаметры анкерных болтов и толщины опорных плит для стоек фахверка определяютсяпо таблицам 2 и 3 для стойки максимальной высоты и принимаются для всех стоекданного фахверка одинаковыми. Допускается принимать значения в соответствии сфактической высотой стоек фахверка и действующими на них нагрузками.
СРЕДНЯЯ ОДНОВЕТВЕВАЯ СТОЙКА РАМЫ

1.Необозначенные катеты швов kf=1.2·tmin, но не более 8 мм.
2.Соприкасающиеся поверхности фланцев не грунтовать. На монтаже соприкасающиесяповерхности фланцев очистить металлическими щетками.
3. ВПБМ24×90 исполнение ХЛ по ГОСТ22353-77 сталь 40Х "Селект" по ГОСТ4543-71. Осевое натяжение высокопрочных болтов фланцевых соединений - 24тс. Контроль натяжения - по моменту закручивания.
4.Отметка монтажного стыка средней стойки, Н≤11.85 м.


a1=h–2•r1
b1=b–2•r1,
где r1 – радиус гиба сечения стойки;
h– высота сечения ветви средней стойки;
b– ширина сечения ветви средней стойки.
Необозначенные катеты швов kf=1.2·tmin,но не более 8 мм.

1. Разрез 2-2 и примечания см. л. 2.
2.Крепление распорок см. на узле 21 докум. -133 .
3.Численные значения параметров см. табл. 1 и 2, л. 3.
4. Ra – точность обработкиповерхности отверстия в проушинах.


1. Катеты швов kf=1.2tmin, где tmin– минимальнаятолщина соединяемых элементов.
2.Сталь проушин С345-3 (для климатического района строительства I1 – C345-4).
3.Численные значения параметров (tпр) см. докум. -122, лист 3.
4.Размеры проушин на внутренней и внешней ветвях крайней стойки рамы выполняютсяодного размера.
5.Сборочные чертежи монтажных элементов M1, Ш1, В1 см. л. 4.
6.Зазоры между проушинами ригеля и стойки должны быть симметрично заполненымонтажными прокладками. Толщину монтажных прокладок определить при разработкеКМД. Для удобства монтажа одну из прокладок рекомендуется приварить до монтажа.
ТОЛЩИНАПРОУШИН И ДИАМЕТРЫ ВТУЛОК ДЛЯ СТОЕК ОДНОПРОЛЕТНЫХ РАМ
| ПРОЛЕТ, м | КОД ВЕРТИКАЛЬНОЙ НАГРУЗКИ | tпр, мм | Dвт, мм | R, мм | r, мм | h1, мм | h2, мм |
| 15.0 | I-VI | 12 | 64 | 110 | 34 | 150 | 100 |
| 18.0 | I-IV | 200 | |||||
| V, VI | 14 | ||||||
| 21.0 | I, II | 12 | |||||
| III, IV | 14 | ||||||
| V, VI | 16 | 72 | 38 | 250 | 120 | ||
| 24.0 | I, II | 12 | 64 | 34 | 100 | ||
| III, IV | 14 | ||||||
| V, VI | 16 | 72 | 38 | 120 | |||
| 30.0 | I, II | 64 | 34 | 100 | |||
| III, IV | 18 | 84 | 44 | 140 | |||
| V,VI | 20 |
|
ТОЛЩИНАПРОУШИН И ДИАМЕТРЫ ВТУЛОК ДЛЯ КРАЙНИХ СТОЕК МНОГОПРОЛЕТНЫХ РАМ
| ПРОЛЕТ, м | КОД ВЕРТИКАЛЬНОЙ НАГРУЗКИ | tпр, мм | Dвт, мм | R, мм | r, мм | h1, мм | h2, мм |
| 18.0 | I÷VI | 12 | 64 | 110 | 34 | 200 | 100 |
| 21.0 | I÷VI | ||||||
| 24.0 | I, II | 72 | 38 | 250 | 120 | ||
| III, VI | 14 | ||||||
| 30.0 | I÷V | 16 | |||||
| VI | - | - | - | - | - | - |
СБОРОЧНЫЙЧЕРТЕЖ

МУФТА M1

ШПИЛЬКАШ1

ВТУЛКАВ1

L1=bн(bв)+2•tпр,
где bн (bв) – размер из плоскости наружнойили внутренней ветви стойки рамы;
tпр – толщина проушин.
Требуемыемеханические характеристики для сталей втулок
-предел текучести σ02≥3600 кгс/см2;
-относительное сужение, ψ≥40%;
-относительное удлинение, δ05≥10%;
-твердость по Бринеллю НВ=160–250;
-ударная вязкость KCU,Дж/см2, при температуре Т, °С:
| Т, °С | –20°С | –40°С | –60°С |
| KCU | ≥55 | ≥39 | ≥35 |
1. Численные значения Dвт и tпр см. в табл. 1 и табл. 2.
2.Определить при разработке КМД.
3.Примеры сталей втулок, отвечающие приведенным в табл. 3 требованиям приприменении термической обработки: 30Х, 35Х, 40Х, 45Х по ГОСТ4543-71.
ВАРИАНТ 1

1. Узел сопряжения средней стойки с ригелем может быть решенв двух вариантах в зависимости от высоты сечений ригеля (hp) и средней стойки (hст). Выбор варианта производится по таблице на л. 2.
2. См.примечания с п.1 по п.5 на л. 2.
3.Крепление распорок см. узел 17, докум. -129.
ВАРИАНТ2

1.Катеты швов kf=l.2·tmin где tmin– минимальная толщина соединяемых элементов.
2.Сталь проушин С345-3 (для климатического района строительства I1 – С345-4).
3.Численные значения параметров см. табл 2, докум. -124.
4.Сборочные чертежи монтажных элементов M1, Ш1, В1 см. докум. -122, л. 4.
5. Ra – точность обработкиповерхности отверстия в проушинах.
6.Зазоры между проушинами ригеля и стойки должны быть симметрично заполненымонтажными прокладками. Толщину монтажных прокладок определить при разработкеКМД. Для удобства монтажа одну из прокладок рекомендуется приварить до монтажа.
7. Толщины добавочных пластин для сопряжения ригеля сосредней стойкой по ВАРИАНТУ 2, определяются по таблице. Сталь добавочныхпластин С345-3 (для климатического района строительства I1 – C345-4).
| Высота сечения стойки hст, мм | Высота сечения ригеля hp, мм | |||
| 140 | 160 | 180 | 200 | |
| 180 | Вариант 1 | Вариант 2 | Вариант 2 | - |
| tпл=10 мм | tпл=20 мм | |||
| 200 | - | Вариант 1 | Вариант 2 | Вариант 2 |
| tпл=10 мм | tпл=20 мм | |||
ВАРИАНТ 1

1. Узел сопряжения средней двухветвевой стойки с ригелемможет быть решен в двух вариантах в зависимости от высоты сечений ригеля (hp) и средней стойки (hст). Выбор варианта производится по таблице 1.
2. См.прим. п.1 -п.5 на докум. -123, л. 2.
3.Крепление распорок см. на узле 21, докум. -133.
4.Толщины проушин и диаметров втулок для средних стоек см. табл. 2.
5.Заполнить на монтаже прокладками. Толщину прокладок определить при разработкеКМД.
6. r1 – радиус закругления гнутосварного профиля.
| Высота сечения стойки hст, мм | Высота сечения ригеля hp, мм | |||
| 140 | 160 | 180 | 200 | |
| 180 | Вариант 1 | Вариант 2 | Вариант 2 | - |
|
| tпл=10 мм | tпл=20 мм | ||
| 200 | - | Вариант 1 | Вариант 2 | Вариант 2 |
| tпл=10 мм | tпл=20 мм | |||
ВАРИАНТ2

ТОЛЩИНАПРОУШИН И ДИАМЕТРЫ ВТУЛОК ДЛЯ СРЕДНИХ СТОЕК РАМ
| УсилиеNвт, тс | tпр, мм | Dвт ,мм | R, мм | г, мм | h2, мм |
| Nвт≤55 | 12 | 56 | 110 | 30 | 100 |
| 55<Nвт≤75 | 14 | 64 | 34 | ||
| 75<Nвт≤105 | 16 | 72 | 38 | 120 | |
| 105<Nвт≤125 | 18 | 84 | 44 | 140 |
Усилие Nвт определяется по формуле 4,докум. -045.
1. Узелсопряжения двухветвевой средней стойки с ригелем может быть решен в двухвариантах в зависимости от высоты сечений ригеля (hp) и средней стойки (hст). Выбор варианта и tпл производится по табл. 1. докум. -124.
2. См.примечания п.1-п.5 на докум.-123, лист 2.
3. Креплениераспорок см. на узле 21, докум. -133 .
4.Заполнить на монтаже прокладками. Толщину прокладок определить при разработкеКМД.
5. r1 – радиус закругления гнутосварного профиля.

1. Катеты швов kf=1.2·tmin, где tmin – минимальная толщина соединяемых элементов.
2. Втом случае, если ширина раскоса меньше ширины пояса, вертикальные ребра врастянутом фланце можно не приваривать к раскосам.
3. tp=1.2•t, где t – толщина стенки пояса.
4.Толщины фланцев указаны в таблицах сортаментов ригелей рам.

1.Катеты швов kf=l.2·tmin, где tmin – минимальная толщина соединяемых элементов.
2.Толщины фланцев указаны в таблицах сортаментов ригелей рам.
3.Вертикальную стойку ставить только в одном из коньковых элементов рамы.

1. Катеты швов kf=1.2·tmin, где tmin – минимальная толщина соединяемых элементов.
2. Всенеуказанные толщины 6 мм.
3.Определить при разработке чертежей КМД.



1. Катеты швов kf=1.2·tmin, где tmin – минимальная толщина соединяемых элементов.
2.Уточнить при разработке чертежей КМД.
3.Крепление распорок (одно- и двухветвевых) выполнять по узлу 21 докум. -133.



1. Все неуказанные толщины 6 мм.
2.Уточнить при разработке чертежей КМД.
3.Крепление распорок (одиночных и пространственных) выполнять по узлу 21 докум.-133.
4.Катеты швов kf=1.2·tmin, где tmin – минимальная толщина соединяемых элементов.
ВАРИАНТ 1


ВАРИАНТ2


| Код ветровой нагрузки | № варианта | d1 | L1 | L2 | b | h1 | h2 | t1 | Прим. |
| 1 | Вариант 1 | Ø20 | 45 | 40 | 120 | 40 | 36 | 8 |
|
| Вариант 2 | Ø20 | 45 | 40 | 100 | 40 | 36 | 6 |
| |
| 2 | Вариант 1 | Ø24 | 55 | 50 | 120 | 50 | 45 | 8 |
|
| Вариант 2 | Ø24 | 55 | 50 | 100 | 50 | 45 | 6 |
|
1. Возможна замена гнутого профиля на сварной.
2.Гнутосварной профиль коробчатого сечения по ГОСТ30245-03.
3.Размер "b"определяется из условия (B–2r1), где r1 – радиус закруглениягнутосварного профиля.
4.Диаметры гибких растяжек принимать равными диаметрам вертикальных связей.Расчет вертикальных связей табл. 2 докум. -044 (при выборе двойных вертикальныхсвязей ставить одинарную гибкую растяжку указанного сечения).

1. Катеты швов kf=1.2·tmin, где tmin – минимальная толщина соединяемых элементов.
2.Пластина для крепления горизонтальной связи (горизонтальная связь условно непоказана).
3.Определить при разработке чертежей КМД.
4.Крепление распорок (одиночных и пространственных) выполнять по узлу 21докум.-133.

1. Катеты швов kf=1.2·tmin, где tmin – минимальная толщина соединяемых элементов.
2.Пластина для крепления горизонтальной связи (горизонтальная связь условно непоказана).
3.Крепление распорок (одиночных и пространственных) выполнять по узлу 21 докум.-133.
ВАРИАНТ 1
(без накладки)

1. Вариант узла крепления распорки принимается по табл. 1 взависимости от действующего в распорке усилия Nрасп.
2.Катеты швов kf=1.2·tmin, где tmin - минимальная толщина соединяемых элементов.
3.Диаметр болта определяется по табл. 2 в зависимости от Nрасп. Nb=Nрасп•0,5
4.Гнутосварные трубы по ГОСТ30245-03.
| Сечение распорки | tпл, мм | Предельное усилие на узел Nрасп, тс | |
| Вариант 1 | Вариант 2 | ||
| □100×4 | 6 | 7.3 | 9.6 |
| □120×4 | 10 | 12.2 | 16.4 |
| □140×4 | 14 | 16.1 | 25.4 |
| Диаметр болта, мм | Предельно допустимое усилие на болт Nb>, тс | |
| класс прочности 5.8 | класс прочности 8.8 | |
| Ø16 | 3.61 | 5.78 |
| Ø20 | 5.65 | 9.04 |
| Ø24 | 8.13 | 13.01 |



ОПОРНЫЙСТОЛИК ОПЗ-1

ОПОРНЫЙСТОЛИК ОПЗ-2

1. Опорный элемент может быть выполнен как гнутым, так исварным.
2.Размеры a1и а2 см. докум. -061.
3.Размер hоп определить при разработке КМД.
4.Опорное ребро обварить по контуру.

1.Определить при разработке КМД в зависимости от сортамента балок и стоекфахверка.
2.Привязки (a1,a2,)и диаметры болтов (d)см. докум. -061.
3.Опорный столик ОПЗ-2 см. докум. -134.

1. Для уравновешивания скатной составляющей коньковыепрогоны объединяются попарно специальными элементами с шагом не более 1 м.
2.Элемент для объединения прогонов покрытия не должен попадать в места опираниянижней гофры профлиста.
3.Привязка прогонов покрытия к коньку определяется при разработке чертежей КМД изависит от осевой привязки рам "А"(А=0 или А=250, см. докум. -060).

1. Для уравновешивания скатной составляющей коньковыепрогоны объединяются попарно специальными элементами с шагом не более 1 м.
2.Коньковые прогоны объединяются специальными элементами в местах креплениятяжей.
3.Элемент для объединения прогонов покрытия не должен попадать в места опираниянижней гофры профлиста.
4.Привязка прогонов покрытия к коньку определяется при разработке чертежей КМД изависит от осевой привязки рам "А"(А=0 или А=250, см. докум. -060).

Длину резьбы у кровельных тяжей принимать равной 100 мм.

1. Катеты швов kf=1.2·tmin, где tmin – минимальная толщина соединяемых элементов.
2. Уголопределить при разработке КМД.
3.Сварной шов с полным проваром, зачистить.





Длину неразрезных прогонов, попадающих в зону зенитногофонаря, скорректировать в соответствии с узлом С.


1. Размеры h1 и h2 определяются при КМД и зависят от толщины кровельногоутеплителя. Кроме того, размер h2 зависит от диаметра дефлектора или крышного вентилятора.
2. Вгоризонтальных элементах рамки (L75×5и [10) выполнить отверстия для крепления дефлектора или крышного вентилятора.Диаметр и количество отверстий определяется по серии вентилятора илидефлектора.

1. Катеты швов kf=1.2·tmin, где tmin – минимальная толщина соединяемых элементов.
2. Всенеуказанные толщины 6 мм.
3.Размеры a1,а2 и диаметр болтов см. таблицу.
4. Применяемая сталь С255 по ГОСТ27772-88*.
| Прогоны стеновые рядовые марки ПСР | |||||
| Сечение прогона | Размеры, мм | Болт | Масса, кг | ||
| a1 | а2 | Øотв. | |||
| [12 | 100 | 40 | 15 | М12×40.58 | 62,4 |
| [14 | 85 | 50 |
| 73,8 | |
| [16 | 70 | 60 | 19 | М16×40.58 | 85,2 |
| гн.[120×60×3 | 100 | 40 | 15 | М12×40.58 | 56,6 |
| гн.[120×60×5 | 100 | 40 |
| 52,3 | |
| гн.[160×80×3 | 70 | 60 | 19 | М16×40.58 | 43,2 |
| гн.[160×80×4 | 70 | 60 |
| 57,5 | |
| гн.[160×80×5 | 70 | 60 |
| 71,2 | |

1. Катеты швов kf=1.2·tmin, где tmin – минимальная толщина соединяемых элементов.
2. Всенеуказанные толщины 6 мм.
3.Размеры a1,а2 и диаметр болтов см. таблицу.
4. Применяемая сталь С255 по ГОСТ27772-88.
| Прогоны стеновые опорные марки ПСО | |||||
| Сечение прогона | Размеры, мм | Болт | Масса, кг | ||
| a1 | а2 | Øотв. | |||
| гн.□120×4 | 60 | 80 | 19 | М16×40.58 | 88,4 |
| гн.□140×4 | 60 | 80 | 103,9 | ||
| гн.□140×5 | 60 | 80 | 127,6 | ||
| гн.□160×5 | 60 | 80 | 146,8 | ||
| гн.□160×6 | 60 | 80 | 174,0 | ||
| гн.□160×8 | 60 | 80 | 227,0 | ||
ВАРИАНТ А
при примыкании к стойке опорныхпрогонов

ВАРИАНТ Б
при примыкании к стойке рядовыхпрогонов


1. Сортамент стеновых тяжей см. докум. -063.
2.Отверстия под тяжи выполнить 019 мм.
ВАРИАНТ А

1. Сортамент тяжей и стойки см. докум. -063.
2. В"Варианте Б" вместо пластины можно использовать гнутый уголоктолщиной 6 мм.



1. Неуказанные фасонки и ребра толщиной 6 мм.
2.Катет шва kf=6 мм.
3. Всенеуказанные болты М20.

1. Необозначенные катеты швов kf=1.2·tmin, но не более 8 мм.
2. Всенеуказанные накладки t=8мм.
3. Всенеуказанные сварные швы kf=tmin свариваемых элементов.

1.Уточнить при разработке КМД .
2. Всенеуказанные болты М16.
3. Всенеуказанные толщины 6 мм.
4. Всенеуказанные катеты швов kf=6мм.
5.Крепление распорок выполнить по узлу 21 докум. -133



1. Катеты швов kf=1.2·tmin, где tmin – минимальная толщина соединяемых элементов.
2. Всенеуказанные толщины 6 мм.
3. Всенеуказанные болты M16.
4.Уточнить при разработке КМД.

| d1 | d2 | d3 |
| 20 | 36 | 14 |
| 24 | 42 | 16 |
Диаметр связей см. "Сортамент гибких связей"докум.-044.
1. Узелнатяжения связи для удобства закручивания располагать на расстоянии 1000-1500мм от узла крепления связи.
2.Наружный диаметр резьбы ветвей связи и диаметр контргайки берутся равныминаружному диаметру связи.
3.Объединяющие элементы в двойных связях ставить с шагом 3000 мм после натяжениясвязей на проектное усилие.



| Сталь связи | Сталь проушин | Болты |
| 35Х | С345 | ВПБ24 |
| С255 | С255 | М24 |
| С345 | С255 | М24 |
| d1 | p1 | d4 | R1 | n1 |
| 20 | 5 | 14 | 5 | 14 |
| 24 | 5 | 14 | 5 | 18 |



1. Отметку определить при разработке индивидуальногопроекта.
2.Привязку стоек для проема определить при разработке КМД.
3. Всенеуказанные болты М16.




1. Разрешается выполнять крепление дополнительного стеновогопрогона на сварке.
2.Отметку верха дверного проема определить при разработке КМД.
3.Пластина толщиной 4 мм для крепления уголка при монтаже стеновых панелей.


1.Разрезы 1-1, 2-2, 3-3,4-4 л. 3.
2.Катет шва назначается исходя из минимальной толщины соединяемых деталей всоответствии со СНиП II-23-81*.
3.Данные для проектирования узлов подвесных путей см. докум. -054...-058.



1. Разрезы 1-1,3-3, 4-4 см. л. 3.
2.Катет шва назначается исходя аз минимальной толщины соединяемых деталей всоответствии со СНиП II-23-81*.
3.Данные для проектирования узлов подвесных путей см. докум. -054...-058.

1. Катет шва назначается исходя из минимальной толщинысоединяемых деталей в соответствии со СНиП II-23-81*
2.Данные для проектирования узлов подвесных путей см. докум. -054...-058.


1. См.совместно с узлом 45 докум. -151.
2.Катет шва назначается исходя из минимальной толщины соединяемых деталей всоответствии со СНиП II-23-81*.
3.Данные для проектирования узлов подвесных путей см. докум. -054...-058.
4.Размер "а" определяется при разработке КМД из условия симметричностикрепежных элементов.


1. См. совместно с узлом 45 докум. 151.
2.Катет шва назначается исходя из минимальной толщины соединяемых деталей всоответствии со СНиП II-23-81*.
3.Данные для проектирования узлов подвесных путей см. докум. -054...-058.
4.Размер "а" определяется при разработке КМД из условия симметричностикрепежных элементов.


1. См. совместно с узлом 45 докум. -151.
2.Катет шва назначается исходя из минимальной толщины соединяемых деталей всоответствии со СНиП II-23-81*.
3.Данные для проектирования узлов подвесных путей см. докум. -054...-058.
4.Размер "а" определяется при разработке КМД из условия симметричностикрепежных элементов.

1. Катет шва назначается исходя из минимальной толщинысоединяемых деталей в соответствии со СНиП II-26-81*.
2.Толщина ребер и фасонок 6 мм.
3.Данные для проектирования узлов подвесных путей см. докум. -054...-058.



1. Катет шва назначается исходя из минимальной толщинысоединяемых деталей в соответствии со СНиП II-23-81*.
3.Данные для проектирования узлов подвесных путей см. докум. -054...-058.

1. Монтажный стык балок подвесного пути выполнить всоответствии с серией 1.426.2-6 вып. 1/91.
2.Монтажный шов выполнить с полным проваром.

1. Расположение упора (выше или ниже ездовой поверхности)определяется по оборудованию подвесного транспорта.
2. Упоркрепить к балке подвесного пути болтами M18 для I 24M - I 36M, М20 для I 45M .
3.Привязку упора принимать в соответствии со схемами, см. докум. -055.


1. Сортамент балки БП1-1 см. докум. -058.
2.Катет шва назначается исходя из минимальной толщины соединяемых деталей всоответствии со СНиП II-23-81*.


1. Сортамент балки БП1-2 см. докум. -058.
2.Катет шва назначается исходя из минимальной толщины соединяемых деталей всоответствии со СНиП II-23-81*.

1. Катет шва назначается исходя из минимальной толщинысоединяемых деталей в соответствии со СНиП II-23-81*.
2. Болт M16 при грузоподъемности крана Q=l–2 т,
М20 при грузоподъемности кранаQ=3.2–5т.
3.Данные для проектирования узлов подвесных путей см. докум. -054 ... - 058.
Массыпрогонов покрытия, стеновых прогонов, элементов рам (стоек и ригелей), стоек ибалок фахверка в спецификациях приведены для справок.
Вспецификациях наряду с обычными марками элементов рам применяются марки, вкоторых приведены несколько кодов вертикальной нагрузки и значок * (звездочка),обозначающий стали С255 и С345 одновременно.
Например,марка K1.150.48-I(II-IV)-*(c) обозначает, что указанные дляданной марки в спецификации сечения и массы применимы для крайних стоек рам с15-ти метровым пролетом, высотой до низа ригеля 4.8 м, с кодами вертикальнойнагрузки I-IV, изсталей С255 и С345 при сейсмичности района строительства более 7 баллов.
Массыстоек фахверка даны для стоек максимальной высоты в марке. Для элементов рам(ригелей и стоек), стоек и балок фахверка применяются гнутосварные трубы по ГОСТ30245-03 и листовая сталь по ГОСТ 19903-74.
СПЕЦИФИКАЦИЯПРОГОНОВ ПОКРЫТИЯ
| Код прогона | Масса по профилям, кг | |||||||||||||||||||
| швеллер горячекатанный по ГОСТ 8240-97 | швеллер гнутый равнополочный по ГОСТ 8278-83* | |||||||||||||||||||
| в среднем шаге | в крайнем шаге | в среднем шаге | в крайнем шаге | |||||||||||||||||
| [14 | [16 | [18 | [20 | [22 | [24 | [14 | [16 | [18 | [20 | [22 | [24 | 200×80×3 | 200×80×4 | 250×125×3 | 250×125×4 | 200×80×3 | 200×80×4 | 250×125×3 | 250×125×4 | |
| ППР-3.0-I |
|
| 98 |
|
|
|
|
| 101 |
|
|
|
| 65 |
|
|
| 67 |
|
|
| ППР-3.0-II |
|
| 98 |
|
|
|
|
| 101 |
|
|
|
|
| 68 |
|
|
| 70 |
|
| ППР-3.0-Ш |
|
|
| 111 |
|
|
|
|
| 114 |
|
|
|
| 68 |
|
|
| 70 |
|
| ППР-3.0-IV |
|
|
|
| 126 |
|
|
|
|
| 130 |
|
|
|
| 90 |
|
|
| 93 |
| ППР-3.0-V |
|
|
|
|
| 144 |
|
|
|
|
| 148 |
|
|
|
| - |
|
| - |
| ППР-1.5-I | 74 |
|
|
|
|
| 76 |
|
|
|
|
| 49 |
|
|
| 51 |
|
|
|
| ППР-1.5-II | 74 |
|
|
|
|
| 76 |
|
|
|
|
| 49 |
|
|
| 51 |
|
|
|
| ППР-1.5-Ш |
| 85 |
|
|
|
|
| 88 |
|
|
|
| 49 |
|
|
| 51 |
|
|
|
| ППР-1.5-IV |
|
| 98 |
|
|
|
|
| 101 |
|
|
|
| 65 |
|
|
| 67 |
|
|
| ППР-1.5-V |
|
| 98 |
|
|
|
|
| 101 |
|
|
|
|
| 68 |
|
|
| 70 |
|
| ППP-1.5-VI |
|
|
| 111 |
|
|
|
|
| 114 |
|
|
|
|
| 90 |
|
|
| 93 |
СПЕЦИФИКАЦИЯСТЕНОВЫХ ПРОГОНОВ
| Код прогона | Масса по профилям, кг | |||||||||||||
| швеллер горячекатанный по ГОСТ 8240-97 | швеллер гнутый равнополочный по ГОСТ 8278-83* | гнутосварные трубы по ГОСТ 30245-03 | ||||||||||||
| [12 | [14 | [16 | 120×60×3 | 120×60×5 | 160×80×3 | 160×80×4 | 160×80×5 | 120×4 | 140×4 | 140×5 | 160×5 | 160×6 | 160×8 | |
| ПСР | 63 | 74 | 85 | 33 | 52 | 43 | 57 | 71 |
|
|
|
|
|
|
| ПСО |
|
|
|
|
|
|
|
| 89 | 104 | 128 | 147 | 174 | 227 |
СПЕЦИФИКАЦИЯСТОЕК ОДНОПРОЛЕТНЫХ РАМ
| Марка элемента | Масса по профилям, кг | Общая масса, кг | ||||||||||||||||||||||
| Гнутосварные трубы | сталь листовая | прочее | ||||||||||||||||||||||
| 80×4 | 100×4 | 100×200×6 | 120×4 | 120×160×5 | 140×4 | 140×160×5 | 140×160×6 | 140×180×5 | 140×180×6 | 160×5 | 160×6 | 160×8 | 160×240×6 | 160×240×8 | 160×240×10 | 180×5 | 180×6 | 180×8 | 200×6 | 200×8 | ||||
| K1.150.48‑I(II‑IV)‑*(c) |
| 66 |
|
|
|
|
|
| 221 |
|
|
|
|
|
|
|
|
|
|
|
| 80 |
| 367 |
| K1.150.48‑V(VI)‑*(c) |
| 66 |
|
|
|
|
|
| 107 |
|
|
|
|
|
|
| 129 |
|
|
|
| 80 |
| 382 |
| K1.150.60‑1(II)‑*(с) |
| 66 |
|
|
|
|
|
| 277 |
|
|
|
|
|
|
|
|
|
|
|
| 80 |
| 423 |
| K1.150.60‑III(IV)‑*(c) |
| 66 |
|
|
|
|
|
| 136 |
|
|
|
|
|
|
| 141 |
|
|
|
| 80 |
| 423 |
| K1.150.60‑V(VI)‑*(c) |
| 66 |
|
|
|
|
|
| 136 |
|
|
|
|
|
|
|
| 160 |
|
|
| 80 |
| 442 |
| K1.150.72‑I(II‑IV)‑*(c) |
| 66 |
|
|
|
|
|
| 333 |
|
|
|
|
|
|
|
|
|
|
|
| 80 |
| 479 |
| K1.150.72‑V(VI)‑*(c) |
| 66 |
|
|
|
|
|
| 164 |
|
|
|
|
|
|
| 192 |
|
|
|
| 80 |
| 502 |
| K1.180.48‑1(II)‑*(с) | 42 |
|
|
| 93 |
|
| 126 |
|
|
|
|
|
|
|
|
|
|
|
|
| 85 |
| 346 |
| K1.180.48‑III(IV)‑*(c) | 42 |
|
|
| 93 |
|
|
|
|
|
| 135 |
|
|
|
|
|
|
|
|
| 93 |
| 363 |
| K1.180.48‑V(VI)‑*(c) | 42 |
|
|
| 93 |
|
|
|
|
|
|
| 176 |
|
|
|
|
|
|
|
| 100 |
| 411 |
| K1.180.60‑I(II)‑*(c) | 63 |
|
|
| 118 |
|
|
|
|
|
| 167 |
|
|
|
|
|
|
|
|
| 90 |
| 438 |
| K1.180.60‑III(IV‑VI)‑*(c) | 63 |
|
|
| 118 |
|
|
|
|
|
|
| 218 |
|
|
|
|
|
|
|
| 106 |
| 505 |
| K1.180.72‑I(II)‑*(c) | 63 |
|
|
| 289 |
|
|
|
|
|
|
|
|
|
|
|
|
|
|
|
| 90 |
| 442 |
| K1.180.72‑III(IV)‑*(c) | 63 |
|
|
| 142 |
|
|
|
|
| 169 |
|
|
|
|
|
|
|
|
|
| 100 |
| 474 |
| K1.180.72‑V(VI)‑*(c) | 63 |
|
|
| 142 |
|
|
|
|
|
| 201 |
|
|
|
|
|
|
|
|
| 106 |
| 512 |
| K1.180.84‑I(II)‑*(c) | 74 |
|
|
| 167 |
| 184 |
|
|
|
|
|
|
|
|
|
|
|
|
|
| 90 |
| 515 |
| K1.180.84‑III(IV)‑*(c) | 74 |
|
|
| 167 |
|
|
|
|
|
| 234 |
|
|
|
|
|
|
|
|
| 100 |
| 575 |
| K1.180.84‑V(VI)‑*(c) | 74 |
|
|
| 167 |
|
|
|
|
|
|
| 304 |
|
|
|
|
|
|
|
| 106 |
| 651 |
| K1.210.60‑I(II)‑*(c) |
| 79 |
|
|
|
|
|
| 136 | 141 |
|
|
|
|
|
|
|
|
|
|
| 92 |
| 448 |
| K1.210.60‑III(IV)‑*(c) |
| 79 |
|
|
|
|
|
| 136 |
|
|
|
|
|
|
|
| 190 |
|
|
| 109 |
| 514 |
| K1.210.60‑V(VI)‑*(c) |
| 79 |
|
|
|
|
|
| 136 |
|
|
|
|
|
|
|
|
| 248 |
|
| 122 |
| 584 |
| K1.210.72‑I(II)‑*(c) |
| 79 |
|
|
|
|
|
| 164 |
|
|
|
|
|
|
| 192 |
|
|
|
| 92 |
| 527 |
| K1.210.72‑III(IV)‑*(c) |
| 79 |
|
|
|
|
|
| 164 |
|
|
|
|
|
|
| 192 |
|
|
|
| 109 |
| 544 |
| K1.210.72‑V(VI)‑*(c) |
| 79 |
|
|
|
|
|
| 164 |
|
|
|
|
|
|
|
| 228 |
|
|
| 122 |
| 593 |
| K1.210.84‑I(II)‑*(c) |
| 92 |
|
|
|
|
|
| 192 |
|
|
|
|
|
|
| 223 |
|
|
|
| 92 |
| 599 |
| K1.210.84‑III(IV)‑*(c) |
| 92 |
|
|
|
|
|
| 192 |
|
|
|
|
|
|
| 223 |
|
|
|
| 109 |
| 616 |
| K1.210.84‑V(VI)‑*(c) |
| 92 |
|
|
|
|
|
| 192 |
|
|
|
|
|
|
|
| 265 |
|
|
| 122 |
| 671 |
| K1.210.96‑I(II)‑*(c) |
| 92 |
|
|
|
|
|
| 221 |
|
|
|
|
|
|
| 255 |
|
|
|
| 92 |
| 660 |
| K1.210.96‑III(IV)‑*(c) |
| 92 |
|
|
|
|
|
| 221 |
|
|
|
|
|
|
| 255 |
|
|
|
| 109 |
| 677 |
| K1.210.96‑V(VI)‑*(c) |
| 92 |
|
|
|
|
|
| 221 |
|
|
|
|
|
|
|
| 303 |
|
|
| 122 |
| 738 |
| K1.240.60‑I(II)‑*(c) |
| 91 |
|
|
|
|
|
| 136 |
|
|
|
|
|
|
|
| 190 |
| 109 |
| 104 |
| 521 |
| K1.240.60‑III(IV)‑*(c) |
| 91 |
|
|
|
|
|
|
| 161 |
|
|
|
|
|
|
|
| 248 |
|
| 124 |
| 624 |
| K1.240.60‑V(VI)‑*(c) |
| 91 | 150 |
|
|
|
|
|
|
|
|
|
|
|
|
|
|
|
|
| 278 | 132 |
| 651 |
| K1.240.72‑I(II)‑*(c) |
| 91 |
|
|
|
|
|
| 164 |
|
|
|
|
|
|
| 192 |
|
|
|
| 104 |
| 551 |
| K1.240.72‑III(IV)‑*(c) |
| 91 |
|
|
|
|
|
|
| 194 |
|
|
|
|
|
|
| 228 |
|
|
| 124 |
| 637 |
| K1.240.72‑V(VI)‑*(c) |
|
| 181 | 110 |
|
|
|
|
|
|
|
|
|
|
|
|
|
|
| 254 |
| 132 |
| 677 |
| K1.240.84‑I(II)‑*(c) |
| 91 |
|
|
|
|
|
| 192 |
|
|
|
|
|
|
| 223 |
|
|
|
| 104 |
| 610 |
| K1.240.84‑III(IV)‑*(c) |
| 91 |
|
|
|
|
|
|
| 228 |
|
|
|
|
|
|
| 265 |
|
|
| 124 |
| 708 |
| K1.240.84‑V(VI)‑*(c) |
|
| 213 |
|
|
|
|
|
|
|
|
|
|
|
|
|
|
|
| 300 |
| 132 |
| 755 |
| K1.240.96‑I(II)‑*(c) |
| 91 |
|
|
|
|
|
| 221 |
|
|
|
|
|
|
|
| 303 |
|
|
| 104 |
| 719 |
| K1.240.96‑III(IV)‑*(c) |
| 91 |
|
|
|
|
|
|
| 262 |
|
|
|
|
|
|
|
| 395 |
|
| 124 |
| 872 |
| K1.240.96‑V(VI)‑*(c) |
|
| 244 | 110 |
|
|
|
|
|
|
|
|
|
|
|
|
|
|
|
| 443 | 132 |
| 929 |
| K1.300.60‑I(II)‑*(c) |
|
| 150 | 109 |
|
|
|
|
|
|
|
|
|
|
|
|
|
|
| 213 |
| 121 133 |
| 593 605 |
| K1.300.60‑III(IV)‑*(c) |
|
|
|
|
| 128 |
|
|
|
|
|
|
| 204 | 278 |
|
|
|
|
|
| 145 |
| 755 |
| K1.300.60‑V(VI)‑*(c) |
|
|
|
|
| 128 |
|
|
|
|
|
|
|
| 267 | 340 |
|
|
|
|
| 152 |
| 887 |
| K1.300.72‑I(II)‑*(c) |
|
| 164 | 89 |
|
|
|
|
|
|
|
|
|
|
|
|
|
|
| 254 |
| 121 133 |
| 628 640 |
| K1.300.72‑III(IV)‑*(c) |
|
|
|
|
| 109 |
|
|
|
|
|
|
| 247 | 333 |
|
|
|
|
|
| 145 |
| 834 |
| K1.300.72‑V(VI)‑*(c) |
|
|
|
|
| 109 |
|
|
|
|
|
|
|
| 322 | 407 |
|
|
|
|
| 152 |
| 990 |
| K1.300.84‑I(II)‑*(c) |
|
| 213 | 109 |
|
|
|
|
|
|
|
|
|
|
|
|
|
|
| 297 |
| 133 |
| 752 |
| K1.300.84‑III(IV)‑*(c) |
|
|
|
|
| 128 |
|
|
|
|
|
|
| 289 | 388 |
|
|
|
|
|
| 145 |
| 950 |
| K1.300.84‑V(VI)‑*(c) |
|
|
|
|
| 128 |
|
|
|
|
|
|
|
| 378 | 475 |
|
|
|
|
| 152 |
| 1113 |
| K1.300.96‑I(II)‑*(c) |
|
| 244 | 109 |
|
|
|
|
|
|
|
|
|
|
|
|
|
|
| 339 |
| 133 |
| 825 |
| K1.300.96‑III(IV)‑*(c) |
|
|
|
|
| 128 |
|
|
|
|
|
|
| 332 | 443 |
|
|
|
|
|
| 145 |
| 1048 |
| K1.300.96‑V(VI)‑*(c) |
|
|
|
|
| 128 |
|
|
|
|
|
|
|
| 434 | 543 |
|
|
|
|
| 152 |
| 1257 |
СПЕЦИФИКАЦИЯКРАЙНИХ СТОЕК МНОГОПРОЛЕТНЫХ РАМ
| Марка элемента | Масса по профилям, кг | Общая масса, кг | |||||||||||||||
| Гнутосварные трубы | сталь листовая | ||||||||||||||||
| 100×4 | 100×200×5 | 120×4 | 120×200×6 | 140×4 | 140×180×5 | 160×200×5 | 160×200×6 | 160×240×5 | 160×240×6 | 160×240×8 | 180×5 |
|
|
| |||
|
|
|
|
|
|
|
|
|
|
|
|
|
|
|
|
|
|
|
| K1.n×180.48‑I(II)‑*(с) | 53 |
|
|
|
| 221 |
|
|
|
|
|
|
|
|
| 82 | 356 |
| K1.n×180.48‑III(IV)‑*(c) |
| 100 | 65 |
|
|
| 129 |
|
|
|
|
|
|
|
| 91 | 385 |
| K1.n×180.48‑V(VI)‑*(c) |
| 100 | 65 |
|
|
|
| 153 |
|
|
|
|
|
|
| 90 | 408 |
| K1.n×180.60‑I(II)‑*(c) | 80 |
|
|
|
| 136 |
|
|
|
|
| 160 |
|
|
| 88 | 464 |
| K1.n×180.60‑III(IV)‑*(c) |
| 127 | 97 |
|
|
| 160 |
|
|
|
|
|
|
|
| 97 | 481 |
| K1.n×180.60‑V(VI)‑*(c) |
| 127 | 97 |
|
|
|
| 190 |
|
|
|
|
|
|
| 97 | 511 |
| K1.n×180.72‑I(II)‑*(c) | 80 |
|
|
|
| 333 |
|
|
|
|
|
|
|
|
| 96 | 509 |
| K1.n×180.72‑III(IV)‑*(c) |
| 153 | 97 |
|
|
| 192 |
|
|
|
|
|
|
|
| 96 | 538 |
| K1.n×180.72‑V(VI)‑*(c) |
| 153 | 97 |
|
|
|
| 228 |
|
|
|
|
|
|
| 96 | 574 |
| K1.n×180.84‑I(II)‑*(c) | 93 |
|
|
|
| 390 |
|
|
|
|
|
|
|
|
| 96 | 579 |
| K1.n×180.84‑III(IV)‑*(c) |
| 180 | 113 |
|
|
| 224 |
|
|
|
|
|
|
|
| 96 | 613 |
| K1.n×180.84‑V(VI)‑*(c) |
| 180 | 113 |
|
|
|
| 265 |
|
|
|
|
|
|
| 96 | 654 |
| K1.n×210.60‑I(II)‑*(c) |
| 127 | 96 | 168 |
|
|
|
|
|
|
|
|
|
|
| 92 | 483 |
| K1.n×210.60‑III(IV)‑*(c) |
|
|
|
| 112 |
|
|
| 350 |
|
|
|
|
|
| 103 | 565 |
| K1.n×210.60‑V(VI)‑*(c) |
|
|
|
| 112 |
|
|
| 171 | 213 |
|
|
|
|
| 103 | 599 |
| K1.n×210.72‑I(II)‑*(c) |
| 153 | 96 | 201 |
|
|
|
|
|
|
|
|
|
|
| 102 | 552 |
| K1.n×210.72‑III(IV)‑*(c) |
|
|
|
| 112 |
|
|
| 421 |
|
|
|
|
|
| 103 | 636 |
| K1.n×210.72‑V(VI)‑*(c) |
|
|
|
| 112 |
|
|
| 207 | 255 |
|
|
|
|
| 103 | 677 |
| K1.n×210.84‑I(II)‑*(c) |
| 180 | 112 | 234 |
|
|
|
|
|
|
|
|
|
|
| 102 | 628 |
| K1.n×210.84‑III(IV)‑*(c) |
|
|
|
| 131 |
|
|
| 493 |
|
|
|
|
|
| 103 | 727 |
| K1.n×210.84‑V(VI)‑*(c) |
|
|
|
| 131 |
|
|
| 243 | 297 |
|
|
|
|
| 103 | 774 |
| K1.n×210.96‑I(II)‑*(c) |
| 206 | 112 | 267 |
|
|
|
|
|
|
|
|
|
|
| 102 | 687 |
| K1.n×210.96‑III(IV)‑*(c) |
|
|
|
| 131 |
|
|
| 564 |
|
|
|
|
|
| 103 | 798 |
| K1.n×210.96‑V(VI)‑*(c) |
|
|
|
| 131 |
|
|
| 279 | 339 |
|
|
|
|
| 103 | 852 |
| K1.n×240.60‑I(II)‑*(c) |
| 127 | 96 |
|
|
|
| 190 |
|
|
|
|
|
|
| 115 | 528 |
| K1.n×240.60‑III(IV)‑*(c) |
|
|
|
| 112 |
|
|
|
| 417 |
|
|
|
|
| 124 | 653 |
| K1.n×240.60‑V‑*(c) |
|
|
|
| 112 |
|
|
|
| 204 | 278 |
|
|
|
| 124 | 718 |
| K1.n×240.60‑VI‑2(c) |
|
|
|
| 112 |
|
|
|
| 204 | 278 |
|
|
|
| 124 | 718 |
| K1.n×240.72‑I(II)‑*(c) |
| 153 | 96 |
|
|
|
| 192 |
|
|
|
|
|
|
| 115 | 556 |
| K1.n×240.72‑III(IV)‑*(c) |
|
|
|
| 112 |
|
|
|
| 501 |
|
|
|
|
| 124 | 737 |
| K1.n×240.72‑V‑*(c) |
|
|
|
| 112 |
|
|
|
| 247 | 333 |
|
|
|
| 124 | 816 |
| K1.n×240.72‑VI‑2(c) |
|
|
|
| 112 |
|
|
|
| 247 | 333 |
|
|
|
| 124 | 816 |
| K1.n×240.84‑I(II)‑*(c) |
| 180 | 114 |
|
|
|
| 224 |
|
|
|
|
|
|
| 115 | 633 |
| K1.n×240.84‑III(IV)‑*(c) |
|
|
|
| 134 |
|
|
|
| 586 |
|
|
|
|
| 124 | 844 |
| K1.n×240.84‑V‑*(c) |
|
|
|
| 134 |
|
|
|
| 289 | 388 |
|
|
|
| 124 | 935 |
| K1.n×240.84‑VI‑2(c) |
|
|
|
| 134 |
|
|
|
| 289 | 388 |
|
|
|
| 124 | 935 |
| K1.n×240.96‑I(II)‑*(c) |
| 206 | 112 |
|
|
|
| 303 |
|
|
|
|
|
|
| 115 | 736 |
| K1.n×240.96‑III(IV)‑*(c) |
|
|
|
| 131 |
|
|
|
| 671 |
|
|
|
|
| 124 | 926 |
| K1.n×240.96‑V‑*(c) |
|
|
|
| 131 |
|
|
|
| 332 | 443 |
|
|
|
| 124 | 1030 |
| K1.n×240.96‑VI‑2(c) |
|
|
|
| 131 |
|
|
|
| 332 | 443 |
|
|
|
| 124 | 1030 |
| K1.n×300.60‑I(II)‑*(c) |
|
|
|
| 112 |
|
|
|
| 417 |
|
|
|
|
| 131 | 660 |
| K1.n×300.60‑III(IV)‑*(c) |
|
|
|
| 112 |
|
|
|
| 204 | 278 |
|
|
|
| 135 | 729 |
| K1.n×300.60‑V‑2(c) |
|
|
|
| 112 |
|
|
|
| 204 | 278 |
|
|
|
| 135 | 729 |
| K1.n×300.72‑I(II)‑*(c) |
|
|
|
| 112 |
|
|
|
| 501 |
|
|
|
|
| 131 | 744 |
| K1.n×300.72‑III(IV)‑*(c) |
|
|
|
| 112 |
|
|
|
| 501 |
|
|
|
|
| 134 | 747 |
| K1.n×300.72‑V‑2(c) |
|
|
|
| 112 |
|
|
|
| 247 | 333 |
|
|
|
| 134 | 826 |
| K1.n×300.84‑I(II)‑*(c) |
|
|
|
| 131 |
|
|
|
| 586 |
|
|
|
|
| 131 | 848 |
| K1.n×300.84‑III(IV)‑*(c) |
|
|
|
| 131 |
|
|
|
| 586 |
|
|
|
|
| 134 | 851 |
| K1.n×300.84‑V‑2(c) |
|
|
|
| 131 |
|
|
|
| 289 | 388 |
|
|
|
| 134 | 942 |
| K1.n×300.96‑I(II)‑*(c) |
|
|
|
| 131 |
|
|
|
| 671 |
|
|
|
|
| 131 | 933 |
| K1.n×300.96‑III(IV)‑*(c) |
|
|
|
| 131 |
|
|
|
| 671 |
|
|
|
|
| 134 | 936 |
| K1.n×300.96‑V‑2(c) |
|
|
|
| 131 |
|
|
|
| 332 | 443 |
|
|
|
| 134 | 1040 |
СПЕЦИФИКАЦИЯСРЕДНИХ СТОЕК МНОГОПРОЛЕТНЫХ РАМ
| Марка элемента | Масса по профилям, кг | Общая масса, кг | ||||||||
| Гнутосварные трубы | сталь листовая | |||||||||
| 180×5 | 180×6 | 180×8 | 180×10 | 200×6 | 200×8 | 200×10 |
| |||
|
| Одноветвевые стойки | |||||||||
| 1K2.80.25(35)‑1‑*(с) | 207 |
|
|
|
|
|
|
| 88 | 295 |
| 1K2.80.45‑1‑1(с) |
| 248 |
|
|
|
|
|
| 88 | 336 |
| 1K2.80.45‑1‑2(с) | 207 |
|
|
|
|
|
|
| 88 | 295 |
| 1K2.80.55‑1‑1(с) |
|
| 324 |
|
|
|
|
| 89 | 413 |
| 1K2.80.55‑1‑2(с) |
| 248 |
|
|
|
|
|
| 88 | 336 |
| 1K2.80.65‑1‑*(с) |
|
| 324 |
|
|
|
|
| 91 | 415 |
| 1K2.80.75‑1‑1(с) |
|
|
| 397 |
|
|
|
| 93 | 490 |
| 1K2.80.75‑1‑2(с) |
|
| 324 |
|
|
|
|
| 91 | 415 |
| 1K2.80.85‑1‑*(с) |
|
|
| 397 |
|
|
|
| 93 | 490 |
| 1K2.80.95(105)‑1‑2(с) |
|
|
| 397 |
|
|
|
| 110 | 507 |
| 1K2.80.25(35‑55)‑2‑*(с) |
|
|
|
| 275 |
|
|
| 88 | 363 |
| 1K2.80.65(75‑85)‑2‑1(с) |
|
|
|
|
| 359 |
|
| 92 | 451 |
| 1K2.80.65(75‑85)‑2‑2(с) |
|
|
|
| 275 |
|
|
| 197 | 472 |
| 1K2.80.95(105)‑2‑1(с) |
|
|
|
|
|
| 440 |
| 110 | 550 |
| 1K2.80.95(105)‑2‑2(с) |
|
|
|
|
| 359 |
|
| 109 | 468 |
| 1K2.80.115‑2‑2(с) |
|
|
|
|
| 359 |
|
| 112 | 471 |
| 1K2.110.25‑1‑*(с) | 288 |
|
|
|
|
|
|
| 87 | 375 |
| 1K2.110.35‑1‑*(с) |
| 344 |
|
|
|
|
|
| 88 | 432 |
| 1K2.110.45‑1‑*(с) |
|
| 450 |
|
|
|
|
| 88 | 538 |
| 1K2.110.55‑1‑1(с) |
|
|
| 551 |
|
|
|
| 91 | 642 |
| 1K2.110.55‑1‑2(c) |
|
| 450 |
|
|
|
|
| 91 | 541 |
| 1K2.110.65‑1‑2(c) |
|
| 450 |
|
|
|
|
| 195 | 645 |
| 1K2.110.25(35‑45)‑2‑*(с) |
|
|
|
| 382 |
|
|
| 88 | 470 |
| 1K2.110.55‑2‑1(с) |
|
|
|
|
| 500 |
|
| 88 | 588 |
| 1K2.110.55‑2‑2(с) |
|
|
|
| 382 |
|
|
| 88 | 470 |
| 1K2.110.65‑2‑*(с) |
|
|
|
|
| 500 |
|
| 92 | 592 |
| 1K2.110.75(85)‑2‑1(с) |
|
|
|
|
|
| 611 |
| 110 | 721 |
| 1K2.110.75‑2‑2(с) |
|
|
|
|
| 500 |
|
| 110 | 610 |
| 1K2.110.85(95)‑2‑2(с) |
|
|
|
|
|
| 611 |
| 109 | 720 |
|
| Двухветвевые стойки | |||||||||
| 2K2.80.95(105‑125)‑1‑*(с) |
|
| 779 |
|
|
|
|
| 203 | 982 |
| 2K2.80.135(145)‑1‑*(с) |
|
| 779 |
|
|
|
|
| 208 | 987 |
| 2K2.80.155‑1‑1(с) |
|
|
| 921 |
|
|
|
| 213 | 1134 |
| 2K2.80.155‑1‑2(c) |
|
| 779 |
|
|
|
|
| 208 | 987 |
| 2K2.80.165(175‑185)‑1‑1(с) |
|
|
| 921 |
|
|
|
| 217 | 1138 |
| 2K2.80.165(175)‑1‑2(с) |
|
| 779 |
|
|
|
|
| 213 | 992 |
| 2K2.80.185(195)‑1‑2(с) |
|
|
| 921 |
|
|
|
| 217 | 1138 |
| 2K2.80.115‑2‑1(с) |
|
|
|
| 689 |
|
|
| 206 | 895 |
| 2K2.80.125‑2‑*(с) |
|
|
|
| 689 |
|
|
| 206 | 895 |
| 2K2.80.135(145)‑2‑*(с) |
|
|
|
| 689 |
|
|
| 211 | 900 |
| 2K2.80.155(165)‑2‑1(с) |
|
|
|
|
| 856 |
|
| 218 | 1074 |
| 2K2.80.155(165)‑2‑2(с) |
|
|
|
| 689 |
|
|
| 206 | 895 |
| 2K2.80.175‑2‑1(с) |
|
|
|
|
| 856 |
|
| 223 | 1079 |
| 2K2.80.175‑2‑2(с) |
|
|
|
| 689 |
|
|
| 216 | 905 |
| 2K2.80.185‑2‑*(с) |
|
|
|
|
| 856 |
|
| 223 | 1079 |
| 2K2.80.195‑2‑1(с) |
|
|
|
|
|
| 1020 |
| 223 | 1243 |
| 2K2.80.195‑2‑2(с) |
|
|
|
|
| 856 |
|
| 223 | 1079 |
| 2K2.110.65‑1‑1(с) | 771 |
|
|
|
|
|
|
| 203 | 974 |
| 2K2.110.65(75‑95)‑1‑2(с) | 771 |
|
|
|
|
|
|
| 203 | 974 |
| 2K2.110.105(115)‑1‑1(с) |
| 879 |
|
|
|
|
|
| 203 | 1082 |
| 2K2.110.105(115)‑1‑2(с) | 771 |
|
|
|
|
|
|
| 203 | 974 |
| 2K2.110.125(135)‑1‑1(с) |
|
| 1087 |
|
|
|
|
| 203 | 1290 |
| 2K2.110.125(135)‑1‑2(с) |
| 879 |
|
|
|
|
|
| 203 | 1082 |
| 2K2.110.145(155)‑1‑1(с) |
|
| 1087 |
|
|
|
|
| 213 | 1300 |
| 2K2.110.145‑1‑2(с) |
| 879 |
|
|
|
|
|
| 213 | 1092 |
| 2K2.110.155(165)‑1‑2(с) |
|
| 1087 |
|
|
|
|
| 213 | 1300 |
| 2K2.110.165‑1‑1(с) |
|
|
| 1284 |
|
|
|
| 213 | 1497 |
| 2X2.110.175(185‑195)‑1‑1(с) |
|
|
| 1284 |
|
|
|
| 218 | 1502 |
| 2K2.110.175(185‑195)‑1‑2(с) |
|
| 1087 |
|
|
|
|
| 218 | 1305 |
| 2K2.110.95(105‑135)‑2‑*(с) |
|
|
|
| 967 |
|
|
| 267 | 1174 |
| 2K2.110.145‑2‑*(с) |
|
|
|
| 967 |
|
|
| 267 | 1174 |
| 2K2.110.155(165)‑2‑1(с) |
|
|
|
|
| 1202 |
|
| 216 | 1418 |
| 2K2.110.155(165)‑2‑2(с) |
|
|
|
| 967 |
|
|
| 216 | 1183 |
| 2K2.110.175(185‑195)‑2‑1(с) |
|
|
|
|
| 1202 |
|
| 221 | 1423 |
| 2K2.110.175(185)‑2‑2(с) |
|
|
|
| 967 |
|
|
| 221 | 1188 |
| 2K2.110.195‑2‑2(с) |
|
|
|
|
| 1202 |
|
| 221 | 1423 |
| 2K2.150.25(55‑105)‑1‑*(с) | 985 |
|
|
|
|
|
|
| 286 | 1271 |
| 2K2.150.115(125)‑1‑1(с) |
| 1133 |
|
|
|
|
|
| 286 | 1419 |
| 2K2.150.115(125)‑1‑2(с) | 985 |
|
|
|
|
|
|
| 286 | 1271 |
| 2K2.150.135‑1‑1(с) |
|
| 1418 |
|
|
|
|
| 286 | 1704 |
| 2K2.150.135‑1‑2(с) |
| 1133 |
|
|
|
|
|
| 286 | 1419 |
| 2K2.150.145(155‑165)‑1‑1(с) |
|
| 1418 |
|
|
|
|
| 290 | 1708 |
| 2K2.150.145(155)‑1‑2(с) |
| 1133 |
|
|
|
|
|
| 290 | 1423 |
| 2K2.150.165‑1‑2(c) |
|
| 1418 |
|
|
|
|
| 290 | 1708 |
| 2K2.150.175(185‑195)‑1‑1(с) |
|
|
| 1690 |
|
|
|
| 389 | 1989 |
| 2K2.150.175(185‑195)‑1‑2(с) |
|
| 1418 |
|
|
|
|
| 300 | 1718 |
| 2K2.150.25(55‑135)‑2‑*(с) |
|
|
|
| 1332 |
|
|
| 298 | 1630 |
| 2K2.150.145(155)‑2‑*(с) |
|
|
|
| 1332 |
|
|
| 307 | 1369 |
| 2K2.150.165‑2‑1(c) |
|
|
|
|
| 1654 |
|
| 307 | 1961 |
| 2K2.150.165‑2‑2(с) |
|
|
|
| 1332 |
|
|
| 307 | 1639 |
| 2K2.150.175(185‑195)‑2‑1(c) |
|
|
|
|
| 1654 |
|
| 312 | 1966 |
| 2K2.150.175(185‑195)‑2‑2(с) |
|
|
|
| 1332 |
|
|
| 213 | 1644 |
СПЕЦИФИКАЦИЯРИГЕЛЕЙ ОДНОПРОЛЕТНЫХ РАМ
| Марка элемента | Масса по профилям, кг | Общая масса, кг | |||||||||||||||
| Гнутосварные трубы | сталь листовая | прочее | |||||||||||||||
| 80×4 | 100×4 | 120×4 | 120×5 | 120×6 | 140×4 | 140×5 | 140×6 | 140×8 | 160×6 | 160×8 | 180×6 | 180×8 | 180×10 | ||||
| 1Р1.180‑I(III‑IV)‑*(с) | 85 85 |
|
| 407 417 |
|
|
|
|
|
|
|
|
|
| 161 161 | 36 36 | 689 696 |
| 1P1.180‑V(VI)‑*(c) | 85 85 |
|
|
| 480 490 |
|
|
|
|
|
|
|
|
| 175 175 | 36 36 | 776 785 |
| 1Р1.210‑I(Ш)‑*(с) |
| 129 |
|
|
|
| 540 |
|
|
|
|
|
|
| 176 | 39 | 884 |
| 1Р1.210‑III(IV)‑*(с) |
| 129 |
|
|
|
|
| 640 |
|
|
|
|
|
| 190 | 39 | 998 |
| 1P1.210‑V(VI)‑*(c) |
| 129 |
|
|
|
|
|
| 827 |
|
|
|
|
| 227 | 49 | 1232 |
| 1Р1.240‑I(Ш)‑*(с) |
| 151 |
|
|
|
| 601 |
|
|
|
|
|
|
| 187 | 21 | 960 |
| 1Р1.240‑III(IV)‑*(с) |
| 151 |
|
|
|
|
| 713 |
|
|
|
|
|
| 212 | 21 | 1096 |
| 1P1.240‑V(VI)‑*(c) |
|
| 183 |
|
|
|
|
|
|
| 1068 |
|
|
| 257 | 45 | 1553 |
| 1Р1.300‑I(Ш)‑*(с) |
|
| 81 |
|
|
|
|
|
| 577 |
|
|
|
| 238 | 39 | 935 |
| 1P1.300‑III(IV)‑*(c) |
|
|
|
|
| 95 |
|
|
|
|
| 655 |
|
| 295 | 62 | 1107 |
| 1P1.300‑V(VI)‑*(c) |
|
|
|
|
| 95 |
|
|
|
|
|
| 854 |
| 338 | 62 | 1349 |
| 1Р2.300‑I(III)‑*(c) |
|
| 154 |
|
|
|
|
|
|
| 506 |
|
|
| 99 | – | 759 |
| 1P2.300‑III(IV)‑*(c) |
|
|
|
|
| 181 |
|
|
|
|
|
| 575 |
| 128 | – | 884 |
| 1P2.300‑V(VI)‑*(c) |
|
|
|
|
| 181 |
|
|
|
|
|
|
| 703 | 155 | – | 1039 |
| 2P1.180‑I(III‑IV)‑*(c) | 98 98 |
|
| 430 440 |
|
|
|
|
|
|
|
|
|
| 164 164 | 36 36 | 729 739 |
| 2P1.180‑V(VI)‑*(c) | 98 98 |
|
|
| 507 518 |
|
|
|
|
|
|
|
|
| 178 178 | 36 36 | 820 831 |
| 2P1.210‑I(III)‑*(c) |
| 145 |
|
|
|
| 568 |
|
|
|
|
|
|
| 182 | 39 | 936 |
| 2P1.210‑III(IV)‑*(c) |
| 145 |
|
|
|
| 672 |
|
|
|
|
|
|
| 197 | 39 | 1053 |
| 2P1.210‑V(VI)‑*(c) |
| 145 |
|
|
|
|
| 870 |
|
|
|
|
|
| 233 | 49 | 1297 |
| 2P1.240‑I(III)‑*(c) |
| 182 |
|
|
|
| 629 |
|
|
|
|
|
|
| 193 | 21 | 1025 |
| 2P1.240‑III(IV)‑*(c) |
| 182 |
|
|
|
|
| 744 |
|
|
|
|
|
| 218 | 21 | 1165 |
| 2P1.240‑V(VI)‑*(c) |
|
| 221 |
|
|
|
|
|
|
| 1118 |
|
|
| 264 | 45 | 1648 |
| 2P1.300‑I(III)‑*(c) |
|
| 119 |
|
|
|
|
|
| 615 |
|
|
|
| 242 | 39 | 1015 |
| 2P1.300‑III(IV)‑*(c) |
|
|
|
|
| 140 |
|
|
|
|
| 697 |
|
| 301 | 62 | 1200 |
| 2P1.300‑V(VI)‑*(c) |
|
|
|
|
| 140 |
|
|
|
|
|
| 909 |
| 344 | 62 | 1455 |
| 2P2.300‑I(III)‑*(c) |
|
| 173 |
|
|
|
|
|
|
| 506 |
|
|
| 104 | – | 783 |
| 2P2.300‑III(IV)‑*(c) |
|
|
|
|
| 203 |
|
|
|
|
|
| 575 |
| 132 | – | 910 |
| 2P2.300‑V(VI)‑*(c) |
|
|
|
|
| 203 |
|
|
|
|
|
|
| 703 | 160 | – | 1065 |
| 3P1.150‑I(III)‑*(c) |
| 161 164 |
|
|
|
| 377 404 |
|
|
|
|
|
|
| 194 194 | 20 20 | 752 782 |
| 3P1.150‑III(IV)‑*(c) |
| 161 164 |
|
|
|
|
| 446 479 |
|
|
|
|
|
| 194 194 | 20 20 | 821 857 |
| 3P1.150‑V(VI)‑*(c) |
| 161 164 |
|
|
|
|
|
| 577 620 |
|
|
|
|
| 194 194 | 20 20 | 952 998 |
Массы, приведенные над чертой приведены для А=0, под чертойдля А=250мм.
ПривязкуА см. докум.027 и докум.-056.
СПЕЦИФИКАЦИЯРИГЕЛЕЙ МНОГОПРОЛЕТНЫХ РАМ
| Марка элемента | Масса по профилям, кг | Общая масса, кг | |||||||||||||||
| Гнутосварные трубы | сталь листовая | прочее | |||||||||||||||
| 100×4 | 120×4 | 140×4 | 140×5 | 140×6 | 160×5 | 160×6 | 160×8 | 180×5 | 180×6 | 180×8 | 180×10 |
|
| ||||
| Многопролетные рамы с пролетом L=n×18 м | |||||||||||||||||
| 1Р1.nх180‑1(II)‑*(с) | 23 |
|
| 300 |
|
|
|
|
|
|
|
|
|
| 174 | 36 | 553 |
| 1P1.n×180‑III(IV)‑*(c) |
| 27 |
|
|
| 346 |
|
|
|
|
|
|
|
| 190 | 39 | 602 |
| 1P1.n×180‑V(VI)‑*(c) |
| 27 |
|
|
|
| 410 |
|
|
|
|
|
|
| 190 | 39 | 666 |
| 1Р2.nх180‑I(II)‑*(с) | 135 |
|
| 186 | 210 |
|
|
|
|
|
|
|
|
| 90 | – | 601 |
| 1Р2.nх180‑III(TV)‑*(c) |
| 164 |
|
|
| 214 | 243 |
|
|
|
|
|
|
| 107 | – | 728 |
| 1Р2.nх180‑V(VI)‑*(c) |
| 164 |
|
|
|
| 254 | 243 |
|
|
|
|
|
| 107 | – | 768 |
| 1P3.n×180‑I(II)‑*(c) | 90 |
|
|
| 507 |
|
|
|
|
|
|
|
|
| 142 | 36 | 775 |
| 1P3.n×180‑III(IV)‑*(c) |
| 109 |
|
|
|
| 585 |
|
|
|
|
|
|
| 172 | 39 | 905 |
| 1Р3.nх180‑V(VI)‑*(c) |
| 109 |
|
|
|
|
| 761 |
|
|
|
|
|
| 182 | 39 | 1091 |
| 1P4.n×180‑I(II)‑*(c) | 90 |
|
|
| 555 |
|
|
|
|
|
|
|
|
| 142 | 36 | 823 |
| 1P4.n×180‑III(IV)‑*(c) |
| 109 |
|
|
|
| 641 |
|
|
|
|
|
|
| 172 | 39 | 961 |
| 1P4.n×180‑V(VI)‑*(c) |
| 109 |
|
|
|
|
| 834 |
|
|
|
|
|
| 182 | 39 | 1164 |
| 1P5.n×180‑I(II)‑*(c) | 151 |
|
| 169 | 181 |
|
|
|
|
|
|
|
|
| 102 | – | 603 |
| 1P5.n×180‑III(IV)‑*(c) |
| 183 |
|
|
| 195 | 209 |
|
|
|
|
|
|
| 122 | – | 709 |
| 1P5.n×180‑V(VI)‑*(c) |
| 183 |
|
|
|
| 232 | 271 |
|
|
|
|
|
| 122 | – | 808 |
| 2P1.n×180‑I(II)‑*(c) | 38 |
|
| 330 |
|
|
|
|
|
|
|
|
|
| 175 | 37 | 580 |
| 2P1.n×180‑III(IV)‑*(c) |
| 47 |
|
|
| 346 |
|
|
|
|
|
|
|
| 191 | 39 | 623 |
| 2P1.n×180‑V(VI)‑*(c) |
| 47 |
|
|
|
| 410 |
|
|
|
|
|
|
| 191 | 39 | 687 |
| 2P2.n×180‑I(II)‑*(c) | 182 |
|
| 186 | 210 |
|
|
|
|
|
|
|
|
| 96 | – | 674 |
| 2P2.n×180‑III(IV)‑*(c) |
| 222 |
|
|
| 214 | 243 |
|
|
|
|
|
|
| 115 | – | 794 |
| 2P2.n×180‑V(VI)‑*(c) |
| 222 |
|
|
|
| 254 | 243 |
|
|
|
|
|
| 115 | – | 834 |
| 2P3.n×180‑I(II)‑*(c) | 122 |
|
|
| 507 |
|
|
|
|
|
|
|
|
| 148 | 36 | 813 |
| 2P3.n×180‑III(IV)‑*(c) |
| 148 |
|
|
|
| 585 |
|
|
|
|
|
|
| 179 | 39 | 951 |
| 2P3.n×180‑V(VI)‑*(c) |
| 148 |
|
|
|
|
| 761 |
|
|
|
|
|
| 189 | 39 | 1137 |
| 2P4.n×180‑I(II)‑*(c) | 137 |
|
|
| 555 |
|
|
|
|
|
|
|
|
| 148 | 36 | 876 |
| 2P4.n×180‑III(TV)‑*(c) |
| 168 |
|
|
|
| 641 |
|
|
|
|
|
|
| 179 | 39 | 1027 |
| 2P4.n×180‑V(VI)‑*(c) |
| 168 |
|
|
|
|
| 834 |
|
|
|
|
|
| 189 | 39 | 1230 |
| 2P5.n×180‑I(II)‑*(c) | 182 |
|
| 169 | 181 |
|
|
|
|
|
|
|
|
| 108 | – | 640 |
| 2P5.n×180‑III(TV)‑*(c) |
| 222 |
|
|
| 195 | 209 |
|
|
|
|
|
|
| 128 | – | 754 |
| 2P5.n×180‑V(VI)‑*(c) |
| 222 |
|
|
|
| 232 | 271 |
|
|
|
|
|
| 128 | – | 853 |
| Многопролетные рамы с пролетом L=n×21 м | |||||||||||||||||
| 1Р1.nх210‑I(II)‑*(с) |
| 27 |
|
|
|
| 344 |
|
|
|
|
|
|
| 185 | 35 | 591 1 |
| 1P1.n×210‑III(IV)‑*(c) |
|
| 32 |
|
|
|
|
| 390 |
|
|
|
|
| 201 | 41 | 664 |
| 1P1.n×210‑V(VI)‑*(c) |
|
| 32 |
|
|
|
|
|
| 463 |
|
|
|
| 211 | 41 | 747 |
| 1Р2.nх210‑I(II)‑*(с) |
| 216 |
|
|
| 285 | 327 |
|
|
|
|
|
|
| 98 | – | 926 |
| 1P2.n×210‑III(IV)‑*(c) |
|
| 253 |
|
|
|
|
| 323 | 371 |
|
|
|
| 116 | – | 1063 |
| 1P2.n×210‑V(VI)‑*(c) |
|
| 253 |
|
|
|
|
|
| 384 | 484 |
|
|
| 116 | – | 1237 |
| 1Р3.nх210‑I(II)‑*(c) |
| 108 |
|
|
|
| 583 |
|
|
|
|
|
|
| 159 | 39 | 891 |
| 1P3.n×210‑III(IV)‑*(c) |
|
| 127 |
|
|
|
|
|
| 661 |
|
|
|
| 190 | 41 | 1019 |
| 1P3.n×210‑V(VI)‑*(c) |
|
| 127 |
|
|
|
|
|
|
| 862 |
|
|
| 200 | 41 | 1230 |
| 1P4.n×210‑I(II)‑*(c) |
| 108 |
|
|
|
| 640 |
|
|
|
|
|
|
| 159 | 39 | 946 |
| 1Р4.nх210‑III(IV)‑*(с) |
|
| 127 |
|
|
|
|
|
| 725 |
|
|
|
| 190 | 41 | 1083 |
| 1P4.n×210‑V(VI)‑*(c) |
|
| 127 |
|
|
|
|
|
|
| 946 |
|
|
| 200 | 41 | 1314 |
| 1Р5.nх210‑I(II)‑*(с) |
| 235 |
|
|
| 266 | 294 |
|
|
|
|
|
|
| 113 | – | 908 |
| 1P5.n×210‑III(IV)‑*(c) |
|
| 275 |
|
|
|
|
| 302 | 333 |
|
|
|
| 132 | – | 1042 |
| 1P5.n×210‑V(VI)‑*(c) |
|
| 275 |
|
|
|
|
|
| 358 | 434 |
|
|
| 137 | – | 1204 |
| 2P1.n×210‑I(II)‑*(c) |
| 46 |
|
|
| 376 |
|
|
|
|
|
|
|
| 186 | 35 | 643 |
| 2P1.n×210‑III(IV)‑*(c) |
|
| 54 |
|
|
|
|
| 426 |
|
|
|
|
| 202 | 41 | 723 |
| 2P1.n×210‑V(VI)‑*(c) |
|
| 54 |
|
|
|
|
|
| 505 |
|
|
|
| 212 | 41 | 812 |
| 2P2.n×210‑I(II)‑*(c) |
| 292 |
|
|
| 285 | 327 |
|
|
|
|
|
|
| 105 | – | 1009 |
| 2P2.n×210‑III(TV)‑*(c) |
|
| 342 |
|
|
|
|
| 232 | 371 |
|
|
|
| 124 | – | 1169 |
| 2P2.n×210‑V(VI)‑*(c) |
|
| 342 |
|
|
|
|
|
| 384 | 484 |
|
|
| 124 | – | 1334 |
| 2P3.n×210‑I(II)‑*(c) |
| 147 |
|
|
|
| 583 |
|
|
|
|
|
|
| 166 | 39 | 935 |
| 2P3.n×210‑III(IV)‑*(c) |
|
| 172 |
|
|
|
|
|
| 661 |
|
|
|
| 198 | 41 | 1072 |
| 2P3.n×210‑V(VI)‑*(c) |
|
| 172 |
|
|
|
|
|
|
| 862 |
|
|
| 208 | 41 | 1283 |
| 2P4.n×210‑I(II)‑*(c) |
| 165 |
|
|
|
| 638 |
|
|
|
|
|
|
| 166 | 39 | 1008 |
| 2P4.n×210‑III(IV)‑*(c) |
|
| 194 |
|
|
|
|
|
| 725 |
|
|
|
| 198 | 41 | 1158 |
| 2P4.n×210‑V(VI)‑*(c) |
|
| 194 |
|
|
|
|
|
|
| 946 |
|
|
| 208 | 41 | 1389 |
| 2P5.n×210‑I(II)‑*(c) |
| 273 |
|
|
| 266 | 294 |
|
|
|
|
|
|
| 120 | – | 953 |
| 2P5.n×210‑III(IV)‑*(c) |
|
| 320 |
|
|
|
|
| 302 | 333 |
|
|
|
| 140 | – | 1095 |
| 2P5.n×210‑V(VI)‑*(c) |
|
| 320 |
|
|
|
|
|
| 358 | 434 |
|
|
| 145 | – | 1257 |
| Многопролетные рамы с пролетом L=n×24 м | |||||||||||||||||
| 1Р1.nх240‑I(II)‑*(с) |
| 82 |
|
|
|
| 578 |
|
|
|
|
|
|
| 208 | 45 | 913 |
| 1P1.n×240‑III(IV)‑*(c) |
|
| 95 |
|
|
|
|
|
| 655 |
|
|
|
| 257 | 49 | 1056 |
| 1P1.n×240‑V(VI)‑*(c) |
|
| 95 |
|
|
|
|
|
|
| 854 |
|
|
| 267 | 49 | 1265 |
| 1Р2.nх240‑I(II)‑*(c) |
| 216 |
|
|
|
| 338 | 425 |
|
|
|
|
|
| 107 | – | 1086 |
| 1Р2.n×240‑III(IV)‑*(c) |
|
| 253 |
|
|
|
|
|
| 384 | 484 |
|
|
| 133 | – | 1254 |
| 1Р2.n×240‑V(VI)‑*(c) |
|
| 253 |
|
|
|
|
|
|
| 500 | 591 |
|
| 144 | – | 1488 |
| !P3.n×240‑I(II)‑*(c) |
| 108 |
|
|
|
|
| 758 |
|
|
|
|
|
| 192 | 45 | 1103 |
| 1РЗ.n×240‑III(IV)‑*(c) |
|
| 127 |
|
|
|
|
|
|
| 862 |
|
|
| 228 | 49 | 1266 |
| 1РЗ.n×240‑V‑*(c) |
|
| 127 |
|
|
|
|
|
|
|
| 1054 |
|
| 241 | 49 | 1471 |
| 1РЗ.n×240‑VI‑2(c) |
|
| 127 |
|
|
|
|
|
|
|
| 1054 |
|
| 241 | 49 | 1471 |
| 1P4.n×240‑I(II)‑*(c) |
| 162 |
|
|
|
|
| 1051 |
|
|
|
|
|
| 206 | 45 | 1464 |
| 1Р4.n×240‑III(IV)‑*(c) |
|
| 190 |
|
|
|
|
|
|
| 1196 |
|
|
| 213 | 49 | 1648 |
| 1Р4.n×240‑V‑*(c) |
|
| 190 |
|
|
|
|
|
|
|
| 1461 |
|
| 262 | 49 | 1962 |
| 1P4.n×240‑VI‑2(c) |
|
| 190 |
|
|
|
|
|
|
|
| 1461 |
|
| 262 | 49 | 1962 |
| 1P5.n×240‑I(II)‑*(c) |
| 235 |
|
|
|
| 232 | 272 |
|
|
|
|
|
| 131 | – | 870 |
| 1Р5.n×240‑III(IV)‑*(c) |
|
| 275 |
|
|
|
|
|
| 262 | 309 |
|
|
| 150 | – | 996 |
| 1P5.n×240‑V‑*(c) |
|
| 275 |
|
|
|
|
|
|
| 342 | 377 |
|
| 156 | – | 1150 |
| 1Р5.n×240‑VI‑2(c) |
|
| 275 |
|
|
|
|
|
|
| 342 | 377 |
|
| 156 | – | 1150 |
| 2P1.n×240‑I(II)‑*(c) |
| 119 |
|
|
|
| 615 |
|
|
|
|
|
|
| 211 | 45 | 990 |
| 2P1.n×240‑III(IV)‑*(c) |
|
| 140 |
|
|
|
|
|
| 697 |
|
|
|
| 260 | 49 | 1146 |
| 2P1.n×240‑V(VI)‑*(c) |
|
| 140 |
|
|
|
|
|
|
| 909 |
|
|
| 271 | 49 | 1369 |
| 2Р2.n×240‑I(II)‑*(с) |
| 292 |
|
|
|
| 339 | 425 |
|
|
|
|
|
| 114 | – | 1170 |
| 2Р2.n×240‑III(IV)‑*(с) |
|
| 342 |
|
|
|
|
|
| 384 | 484 |
|
|
| 142 | – | 1352 |
| 2Р2.n×240‑V(VI)‑*(с) |
|
| 342 |
|
|
|
|
|
|
| 500 | 591 |
|
| 152 | – | 1585 |
| 1РЗ.n×240‑I(II)‑*(с) |
| 147 |
|
|
|
|
| 758 |
|
|
|
|
|
| 199 | 45 | 1149 |
| 1РЗ.n×240‑III(IV)‑*(с) |
|
| 172 |
|
|
|
|
|
|
| 862 |
|
|
| 237 | 49 | 1320 |
| 1P3.n×240‑V‑*(c) |
|
| 172 |
|
|
|
|
|
|
|
| 1053 |
|
| 249 | 49 | 1523 |
| 1P3.n×240‑VI‑2(c) |
|
| 172 |
|
|
|
|
|
|
|
| 1053 |
|
| 249 | 49 | 1523 |
| 1Р4.n×240‑I(II)‑*(с) |
| 238 |
|
|
|
|
| 1051 |
|
|
|
|
|
| 217 | 45 | 1551 |
| 1Р4.n×240‑III(IV)‑*(с) |
|
| 279 |
|
|
|
|
|
|
| 1196 |
|
|
| 226 | 49 | 1750 |
| 1Р4.n×240‑V‑*(с) |
|
| 279 |
|
|
|
|
|
|
|
| 1461 |
|
| 275 | 49 | 2064 |
| 1Р4.n×240‑VI‑2(с) |
|
| 279 |
|
|
|
|
|
|
|
| 1461 |
|
| 275 | 49 | 2064 |
| 1Р5.n×240‑I(II)‑*(с) |
| 273 |
|
|
|
| 231 | 271 |
|
|
|
|
|
| 138 | – | 913 |
| 1Р5.n×240‑III(IV)‑*(с) |
|
| 320 |
|
|
|
|
|
| 262 | 309 |
|
|
| 158 | – | 1049 |
| 1P5.n×240‑V‑*(c) |
|
| 320 |
|
|
|
|
|
|
| 342 | 377 |
|
| 164 | – | 1203 |
| 1Р5.n×240‑VI‑2(с) |
|
| 320 |
|
|
|
|
|
|
| 342 | 377 |
|
| 164 | – | 1203 |
СПЕЦИФИКАЦИЯРИГЕЛЕЙ МНОГОПРОЛЕТНЫХ РАМ С ПРОЛЕТОМ L=n×30м
| Марка элемента | Масса по профилям, кг | Общая масса, кг | ||||||
| Гнутосварные трубы | сталь листовая | прочее | ||||||
| 140×4 | 180×6 | 180×8 | 200×8 | 200×10 | ||||
| 1Р1.n×300‑I(II)‑*(с) | 31 | 460 |
|
|
| 249 | 49 | 789 |
| 1P1.n×300‑III(IV)‑*(c) | 31 |
|
| 673 |
| 287 | 51 | 1042 |
| 1Р1.n×300‑V‑2(c) | 31 |
|
| 673 |
| 297 | 51 | 1052 |
| 1Р2.n×300‑I(II)‑*(с) | 249 | 384 | 484 |
|
| 126 | – | 1243 |
| 1Р2.n×300‑III(IV)‑*(с) | 249 |
|
| 561 | 664 | 167 | – | 1641 |
| 1Р2.n×300‑V‑2(с) | 249 |
|
| 561 | 664 | 167 | – | 1641 |
| 1Р3.n×300‑I(II)‑*(с) | 249 | 288 | 359 |
|
| 126 | – | 1022 |
| 1P3.n×300‑III(IV)‑*(с) | 249 |
|
| 421 | 493 | 156 | – | 1319 |
| 1Р3.n×300‑V‑2(с) | 249 |
|
| 421 | 493 | 156 | – | 1319 |
| 1Р4.n×300‑I(II)‑*(с) | 125 |
| 859 |
|
| 218 | 51 | 1253 |
| 1P4.n×300‑III(IV)‑*(c) | 125 |
|
|
| 1180 | 267 | 54 | 1626 |
| 1Р4.n×300‑V‑2(с) | 125 |
|
|
| 1180 | 267 | 54 | 1626 |
| 1Р5.n×300‑I(II)‑*(с) | 125 |
| 942 |
|
| 221 | 48 | 1336 |
| 1Р5.n×300‑III(IV)‑*(с) | 125 |
|
|
| 1294 | 283 | 50 | 1752 |
| 1P5.n×300‑V‑2(c) | 125 |
|
|
| 1294 | 283 | 50 | 1752 |
| 1Р6.n×300‑I(II)‑*(с) | 218 | 310 |
| 421 |
| 126 | – | 1075 |
| 1Р6.n×300‑III(IV)‑*(с) | 218 |
|
| 454 | 578 | 167 | – | 1417 |
| 1Р6.n×300‑V‑2(с) | 218 |
|
| 454 | 578 | 167 | – | 1417 |
| 2Р1.n×300‑I(II)‑*(с) | 53 | 502 |
|
|
| 251 | 49 | 855 |
| 2P1.n×300‑III(IV)‑*(c) | 53 |
|
| 734 |
| 289 | 51 | 1127 |
| 2Р1.n×300‑V‑*(c) | 53 |
|
| 734 |
| 299 | 51 | 1137 |
| 2P2.n×300‑I(II)‑*(с) | 337 | 384 | 484 |
|
| 134 | – | 1339 |
| 2P2.n×300‑III(IV)‑*(с) | 337 |
|
| 561 | 664 | 175 | – | 1737 |
| 2P2.n×300‑V‑*(с) | 337 |
|
| 561 | 664 | 175 | – | 1737 |
| 2Р3.n×300‑I(II)‑*(с) | 315 | 288 | 359 |
|
| 131 | – | 1093 |
| 2Р3.n×300‑III(IV)‑*(с) | 315 |
|
| 421 | 492 | 161 | – | 1389 |
| 2Р3.n×300‑V‑2(с) | 315 |
|
| 421 | 492 | 161 | – | 1389 |
| 2Р4.n×300‑I(II)‑*(с) | 169 |
| 859 |
|
| 227 | 51 | 1306 |
| 2Р4.n×300‑III(IV)‑*(с) | 169 |
|
|
| 1180 | 275 | 54 | 1678 |
| 2Р4.n×300‑V‑2(с) | 169 |
|
|
| 1180 | 275 | 54 | 1678 |
| 2Р5.n×300‑I(II)‑*(с) | 191 |
| 942 |
|
| 229 | 48 | 1410 |
| 2Р5.n×300‑III(IV)‑*(с) | 191 |
|
|
| 1294 | 290 | 50 | 1825 |
| 2Р5.n×300‑V‑2(с) | 191 |
|
|
| 1294 | 290 | 50 | 1825 |
| 2Р6.n×300‑I(II)‑*(с) | 284 | 310 | 421 |
|
| 133 | – | 1148 |
| 2Р6.n×300‑III(IV)‑*(с) | 284 |
|
| 454 | 578 | 174 | – | 1490 |
| 2Р6.n×300‑V‑2(с) | 284 |
|
| 454 | 578 | 174 | – | 1490 |
СПЕЦИФИКАЦИЯСТОЕК НЕСУЩЕГО ФАХВЕРКА В ЗДАНИЯХ БЕЗ КРАНА
| Марка элемента | Масса по профилям, кг | Общая масса, кг | ||||||||
| Гнутосварные трубы | сталь листовая | |||||||||
| 120×5 | 120×160×5 | 140×160×5 | 160×5 | 160×200×5 | 160×200×6 | 200×6 | 160×240×8 | |||
| СФ1.60‑1(II)‑I(II‑VI) | 107 |
|
|
|
|
|
|
| 29 | 136 |
| СФ1.60‑III‑I(II‑IV) | 107 |
|
|
|
|
|
|
| 29 | 136 |
| CФ1.60‑III‑V(VI) |
| 127 |
|
|
|
|
|
| 31 | 158 |
| CФ1.60‑IV‑I(II‑VI) |
| 127 |
|
|
|
|
|
| 31 | 158 |
| СФ1.60‑V‑I(II‑IV) |
| 127 |
|
|
|
|
|
| 31 | 158 |
| СФ1.60‑V‑V(VI) |
|
| 136 |
|
|
|
|
| 33 | 169 |
| CФ1.60‑VI‑I(II‑VI) |
|
| 136 |
|
|
|
|
| 33 | 169 |
| СФ1.60‑VII‑I(II‑VI) |
|
|
| 146 |
|
|
|
| 32 | 178 |
| СФ1.84‑I‑I(II‑IV) |
|
| 189 |
|
|
|
|
| 29 | 218 |
| CФ184‑I‑V(VI) |
|
|
| 203 |
|
|
|
| 30 | 233 |
| CФ1.84‑II‑I(II‑VI) |
|
|
| 203 |
|
|
|
| 30 | 233 |
| CФ1.84‑III‑I(II‑VI) |
|
|
|
| 230 |
|
|
| 32 | 262 |
| CФ1.84‑IV‑I(II‑VI) |
|
|
|
|
| 273 |
|
| 32 | 305 |
| CФ1.84‑V‑I(II‑VI) |
|
|
|
|
|
| 305 |
| 39 | 344 |
| CФ1.84‑VI‑I(II‑VI) |
|
|
|
|
|
| 305 |
| 45 | 350 |
| СФ1.84‑VII‑I(II) |
|
|
|
|
|
| 305 |
| 45 | 350 |
| CФ1.84‑VII‑III(IV‑VI) |
|
|
|
|
|
|
| 399 | 48 | 447 |
| СФ1.108‑I‑I(II‑VI) |
|
|
| 260 |
|
|
|
| 33 | 293 |
| СФ1.108‑II‑I(II) |
|
|
| 260 |
|
|
|
| 33 | 293 |
| CФ1.108‑II‑III(IV‑VI) |
|
|
|
| 294 |
|
|
| 37 | 331 |
| СФ1.108‑III‑I(II) |
|
|
|
| 294 |
|
|
| 37 | 331 |
| СФ1.108‑III‑III(IV‑VI) |
|
|
|
|
| 349 |
|
| 37 | 386 |
| СФ1.108‑IV‑I(II‑IV) |
|
|
|
|
| 349 |
|
| 41 | 390 |
| СФ1.108‑IV‑V(VI) |
|
|
|
|
|
| 390 |
| 45 | 435 |
| СФ1.108‑V‑I(II‑VI) |
|
|
|
|
|
| 390 |
| 45 | 435 |
| СФ1.108‑VI‑I(II‑IV) |
|
|
|
|
|
| 390 |
| 52 | 442 |
| СФ1.108‑VI‑V(VI) |
|
|
|
|
|
|
| 510 | 55 | 565 |
| СФ1.108‑VII‑I(II‑VI) |
|
|
|
|
|
|
| 510 | 61 | 571 |
| Марка элемента | Масса по профилям, кг | Общая масса, кг | |||||
| Гнутосварные трубы | сталь листовая | ||||||
| 160×200×6 | 200×6 | 160×240×8 | 160×240×10 | 300×8 | |||
| СФ1.132‑I‑I(II) | 425 |
|
|
|
| 42 | 467 |
| СФ1.132‑I‑III(IV‑VI) |
| 476 |
|
|
| 45 | 521 |
| СФ1.132‑II‑I(II) | 425 |
|
|
|
| 42 | 467 |
| СФ1.132‑II‑III(IV‑VI) |
| 476 |
|
|
| 45 | 521 |
| СФ1.132‑III‑I(II‑IV) |
| 476 |
|
|
| 45 | 521 |
| СФ1.132‑III‑V(VI) |
|
| 622 |
|
| 49 | 671 |
| СФ1.132‑IV‑I(II‑IV) |
|
| 622 |
|
| 49 | 671 |
| СФ1.132‑IV‑V(VI) |
|
|
| 762 |
| 49 | 811 |
| СФ1.132‑V‑I(II) |
|
| 622 |
|
| 56 | 678 |
| СФ1.132‑V‑III(IV) |
|
|
| 762 |
| 56 | 818 |
| СФ1.132‑V‑V(VI) |
|
|
|
| 958 | 77 | 1035 |
| СФ1.132‑VI‑I(II) |
|
|
| 762 |
| 64 | 826 |
| СФ1.132‑VI‑III(IV‑VI) |
|
|
|
| 958 | 87 | 1045 |
| СФ1.132‑VII‑I(II‑VI) |
|
|
|
| 958 | 87 | 1045 |
| СФ1.160‑I‑I(II) |
| 576 |
|
|
| 45 | 621 |
| СФ1.160‑I‑III(IV‑VI) |
|
| 753 |
|
| 49 | 802 |
| СФ1.160‑II‑I(II‑VI) |
|
| 753 |
|
| 49 | 802 |
| СФ1.160‑III‑I(II) |
|
| 753 |
|
| 49 | 802 |
| СФ1.160‑Ш‑Ш(IV‑VI) |
|
|
| 922 |
| 57 | 979 |
| СФ1.160‑IV‑I(II) |
|
|
| 922 |
| 64 | 986 |
| СФ1.160‑IV‑III(IV‑VI) |
|
|
|
| 1159 | 87 | 1246 |
| СФ1.160‑V‑I(II‑VI) |
|
|
|
| 1159 | 103 | 1262 |
| СФ1.160‑VI‑I(II‑VI) |
|
|
|
| 1159 | 103 | 1262 |
| СФ1.160‑VII‑I(II‑VI) |
|
|
|
| 1159 | 103 | 1262 |
СПЕЦИФИКАЦИЯСТОЕК НЕСУЩЕГО ФАХВЕРКА В ЗДАНИЯХ СКРАНАМИ
| Марка элемента | Масса по профилям, кг | Общая масса, кг | |||||||
| Гнутосварные трубы | сталь листовая | ||||||||
| 140×160×5 | 160×5 | 160×200×5 | 160×200×6 | 200×6 | 160×240×8 | 160×240×10 | |||
| СФ2.60‑I‑I(II‑IV) | 139 |
|
|
|
|
|
| 33 | 172 |
| СФ2.60‑I‑V(VI) |
| 146 |
|
|
|
|
| 34 | 180 |
| СФ2.60‑II‑I(II‑IV) | 139 |
|
|
|
|
|
| 33 | 172 |
| СФ2.60‑II‑V(VI) |
| 146 |
|
|
|
|
| 34 | 180 |
| СФ2.60‑III‑I(II) | 139 |
|
|
|
|
|
| 33 | 172 |
| СФ2.60‑III‑III(IV‑VI) |
| 146 |
|
|
|
|
| 34 | 180 |
| СФ2.60‑IV‑I(II‑IV) |
| 146 |
|
|
|
|
| 34 | 180 |
| СФ2.60‑IV‑V(VI) |
|
| 165 |
|
|
|
| 37 | 202 |
| СФ2.60‑V‑I(II‑VI) |
|
| 165 |
|
|
|
| 37 | 202 |
| СФ2.60‑VI‑I(II‑IV) |
|
| 165 |
|
|
|
| 37 | 202 |
| СФ2.60‑VI‑V(VI) |
|
|
| 196 |
|
|
| 37 | 233 |
| СФ2.60‑VII‑I(II‑IV) |
|
| 165 |
|
|
|
| 37 | 202 |
| СФ2.60‑VII‑V(VI) |
|
|
| 196 |
|
|
| 37 | 233 |
| СФ2.84‑I‑I(II) |
|
| 230 |
|
|
|
| 32 | 262 |
| СФ2.84‑I‑III(IV‑VI) |
|
|
| 273 |
|
|
| 32 | 305 |
| СФ2.84‑II‑I(II‑VI) |
|
|
| 273 |
|
|
| 32 | 305 |
| СФ2.84‑III(IV)‑I(II‑VI) |
|
|
|
| 305 |
|
| 34 | 339 |
| СФ2.84‑V‑I(II‑VI) |
|
|
|
| 305 |
|
| 39 | 344 |
| СФ2.84‑VI‑I(II‑VI) |
|
|
|
|
| 399 |
| 48 | 447 |
| СФ2.84‑VII‑I(II‑VI) |
|
|
|
|
|
| 488 | 51 | 539 |
| СФ2.108‑I‑I(П‑V1) |
|
| 294 |
|
|
|
| 37 | 331 |
| СФ2.108‑II‑I(II‑IV) |
|
| 294 |
|
|
|
| 37 | 331 |
| СФ2.108‑II‑V(VI) |
|
|
| 349 |
|
|
| 37 | 386 |
| СФ2.108‑III‑I(II‑IV) |
|
|
| 349 |
|
|
| 37 | 386 |
| СФ2.108‑III‑V(VI) |
|
|
|
| 390 |
|
| 40 | 430 |
| СФ2.108‑IV‑I(II‑VI) |
|
|
|
| 390 |
|
| 45 | 435 |
| СФ2.108‑V‑I(II) |
|
|
|
| 390 |
|
| 45 | 435 |
| СФ2.108‑V‑III(IV‑VI) |
|
|
|
|
| 510 |
| 49 | 559 |
| СФ2.108‑VI‑I(II‑IV) |
|
|
|
|
| 510 |
| 55 | 565 |
| СФ2.108‑VI‑V(VI) |
|
|
|
|
|
| 625 | 56 | 681 |
| СФ2.108‑VII‑I(VI) |
|
|
|
|
|
| 625 | 64 | 689 |
| Марка элемента | Масса по профилям, кг | Общая масса, кг | ||||
| Гнутосварные трубы | сталь листовая | |||||
| 200×6 | 160×240×8 | 160×240×10 | 300×8 | |||
| СФ2.132‑I‑I(II‑VI) | 476 |
|
|
| 45 | 521 |
| СФ2.132‑II‑I(II) | 476 |
|
|
| 45 | 521 |
| СФ2.132‑II‑III(IV‑VI) |
| 622 |
|
| 49 | 671 |
| СФ2.132‑III‑I(II) |
| 622 |
|
| 49 | 671 |
| СФ2.132‑III‑III(IV‑VI) |
|
| 762 |
| 48 | 810 |
| СФ2.132‑IV‑I(II‑VI) |
|
|
| 958 | 66 | 1024 |
| СФ2.132‑V‑I(II‑VI) |
|
|
| 958 | 77 | 1035 |
| СФ2.132‑VI(VII)‑I(II‑VI) |
|
|
| 958 | 87 | 1045 |
| СФ2.160‑I‑I(II‑IV) |
| 753 |
|
| 45 | 798 |
| СФ2.160‑I‑V(VI) |
|
| 922 |
| 49 | 971 |
| СФ2.160‑II‑I(II‑VI) |
|
| 922 |
| 56 | 978 |
| СФ2.160‑III‑I(II‑VI) |
|
|
| 1159 | 57 | 1216 |
| СФ2.160‑IV‑I(II) |
|
|
| 1159 | 64 | 1223 |
| CФ2.160‑IV‑III(IV‑VI) |
|
|
| 1159 | 87 | 1246 |
| СФ2.160‑V‑I(II‑VI) |
|
|
| 1159 | 103 | 1262 |
| СФ2.160‑VI‑I(II‑VI) |
|
|
| 1159 | 103 | 1262 |
| СФ2.160‑VII‑I(II‑VI) |
|
|
| 1159 | 103 | 1262 |
СПЕЦИФИКАЦИЯСТОЕК САМОНЕСУЩЕГО ФАХВЕРКА
| Марка элемента | Масса по профилям, кг | Общая масса, кг | ||||||||
| Гнутосварные трубы | сталь листовая | |||||||||
| 120×5 | 120×160×5 | 140×160×5 | 160×5 | 160×200×5 | 160×200×6 | 200×6 | 160×240×8 | |||
| СФ3.60‑I(II‑VI) | 107 |
|
|
|
|
|
|
| 23 | 130 |
| СФ3.60‑VII |
| 127 |
|
|
|
|
|
| 26 | 153 |
| СФ3.84‑I | 149 |
|
|
|
|
|
|
| 24 | 173 |
| СФ3.84‑II(III‑IV) |
| 176 |
|
|
|
|
|
| 25 | 201 |
| СФ3.84‑V |
|
|
| 203 |
|
|
|
| 29 | 232 |
| СФ3.84‑VI(VII) |
|
|
|
| 230 |
|
|
| 32 | 262 |
| СФ3.108‑I(II) |
|
|
| 260 |
|
|
|
| 29 | 289 |
| СФ3.108‑III |
|
|
|
| 294 |
|
|
| 32 | 326 |
| СФ3.108‑IV |
|
|
|
| 294 |
|
|
| 36 | 330 |
| СФ3.108‑V |
|
|
|
|
| 349 |
|
| 36 | 385 |
| СФ3.108‑VI |
|
|
|
|
|
| 390 |
| 45 | 435 |
| СФ3.108‑VII |
|
|
|
|
|
|
| 510 | 46 | 556 |
| Марка элемента | Масса по профилям, кг | Общая масса, кг | |||||
| Гнутосварные трубы | сталь листовая | ||||||
| 160×200×6 | 200×6 | 160×240×8 | 160×240×10 | 300×8 | |||
| СФ3.132‑I(II) | 425 |
|
|
|
| 36 | 461 |
| СФ3.132‑III |
| 476 |
|
|
| 45 | 521 |
| СФ3.132‑IV(V) |
|
| 622 |
|
| 46 | 668 |
| СФ3.132‑VI |
|
|
| 762 |
| 56 | 818 |
| СФ3.132‑VII |
|
|
|
| 958 | 75 | 1033 |
| СФ3.160‑I |
| 576 |
|
|
| 47 | 623 |
| СФ3.160‑II |
|
| 753 |
|
| 47 | 800 |
| СФ3.160‑III |
|
| 753 |
|
| 57 | 810 |
| СФ3.160‑IV |
|
|
| 922 |
| 56 | 978 |
| СФ3.160‑V |
|
|
|
| 1159 | 75 | 1234 |
| СФ3.160‑VI |
|
|
|
| 1159 | 87 | 1246 |
| СФ3.160‑VII |
|
|
|
| 1159 | 87 | 1246 |
СПЕЦИФИКАЦИЯБАЛОК ФАХВЕРКА
| Марка элемента | Масса по профилям, кг | Общая масса, кг | ||||||
| Гнутосварные трубы | сталь листовая | |||||||
| 120×160×5 | 140×160×5 | 140×180×5 | 200×100×6 | 200×160×6 | 200×6 | |||
| БФ1.60‑I | 116 |
|
|
|
|
| 5 | 121 |
| БФ1.60‑II |
| 125 |
|
|
|
| 5 | 130 |
| БФ1.60‑III |
|
| 134 |
|
|
| 6 | 140 |
| БФ1.60‑IV |
|
|
| 148 |
|
| 6 | 154 |
| БФ1.60‑V |
|
|
|
| 180 |
| 6 | 186 |
| БФ1.60‑VI |
|
|
|
|
| 201 | 8 | 209 |
| БФ1.45‑I | 85 |
|
|
|
|
| 5 | 90 |
| БФ1.45‑II |
| 92 |
|
|
|
| 5 | 97 |
| БФ1.45‑III |
|
| 99 |
|
|
| 6 | 105 |
| БФ1.45‑IV |
|
|
| 109 |
|
| 6 | 115 |
| БФ1.45‑V |
|
|
|
| 132 |
| 6 | 138 |
| БФ1.45‑VI |
|
|
|
|
| 148 | 8 | 156 |
| БФ2.60‑I | 118 |
|
|
|
|
| 5 | 123 |
| БФ2.60‑II |
| 127 |
|
|
|
| 5 | 132 |
| БФ2.60‑III |
|
| 137 |
|
|
| 6 | 143 |
| БФ2.60‑IV |
|
|
| 150 |
|
| 6 | 156 |
| БФ2.60‑V |
|
|
|
| 177 |
| 6 | 183 |
| БФ2.60‑VI |
|
|
|
|
| 205 | 8 | 213 |
| БФ2.30‑I | 56 |
|
|
|
|
| 5 | 61 |
| БФ2.30‑II |
| 61 |
|
|
|
| 5 | 66 |
| БФ2.30‑III |
|
| 65 |
|
|
| 6 | 71 |
| БФ2.30‑IV |
|
|
| 72 |
|
| 6 | 78 |
| БФ2.30‑V |
|
|
|
| 87 |
| 6 | 93 |
| БФ2.30‑VI |
|
|
|
|
| 98 | 8 | 106 |
ТИПОВЫЕСТРОИТЕЛЬНЫЕ КОНСТРУКЦИИ, ИЗДЕЛИЯ И УЗЛЫ
СЕРИЯ 1.420.3-36.03 КАРКАСЫ СТАЛЬНЫЕ ТИПА «УНИТЕК»
ОДНОЭТАЖНЫЕПРОИЗВОДСТВЕННЫЕ ЗДАНИЯ С ПРИМЕНЕНИЕМ КОНСТРУКЦИЙ ИЗ ПРОФИЛЕЙ СТАЛЬНЫХ ГНУТЫХЗАМКНУТЫХ СВАРНЫХ КВАДРАТНЫХ И ПРЯМОУГОЛЬНЫХ
ВЫПУСК0-2
КАРКАСЫС ОДНО- И ДВУХПРОЛЕТНЫМИ РАМАМИ ПРОЛЕТАМИ 12 И 18 м ДЛЯ БЕСКРАНОВЫХ ЗДАНИЙ ИЗДАНИЙ С ПОДВЕСНЫМИ КРАНАМИ ГРУЗОПОДЪЕМНОСТЬЮ ДО 5 т И С МОСТОВЫМИ ОПОРНЫМИКРАНАМИ ГРУЗОПОДЪЕМНОСТЬЮ ДО 16 т.
МАТЕРИАЛЫДЛЯ ПРОЕКТИРОВАНИЯ
| Разработаны | Утверждены |
| ООО «Научно-исследовательская и проектно-строительная фирма «УНИКОН» | ОАО «УРАЛТРУБПРОМ» Приказ от 16.05.03 № 290 |
| Президент фирмы, Руководитель проекта Катюшин В.В. Главный инженер проекта Шуткина Г.П. |
|
| При участии | Введены в действие |
| ОАО «УРАЛТРУБПРОМ» Генеральный директор Кожухарь А.Ф. ОАО «Объединение СОЮЗЛЕГКОНСТРУКЦИЯ» Генеральный директор Шамсутдинов И.З. | ОАО «УРАЛТРУЮПРОМ» с 01.06.03, Приказ от 16.05.03 № 290 |
Уральский трубный завод
«УРАЛТРУБПРОМ»
2005
1.1. Стальные каркасы типа УНИТЕК (УНИверсальные Трубчатые Конструкции)одноэтажных производственных зданий с применением конструкций из профилей стальныхгнутых замкнутых сварных квадратных и прямоугольных (далее - гнутосварныетрубы) разработаны ООО "Научно-исследовательская и проектно-строительнаяфирма "УНИКОН" в соответствии с техническим заданием ОАО"УРАЛТРУБПРОМ".
1.2. Настоящий выпуск содержит материалы для разработкикаркасов типовых зданий различного назначения с применением сквозных одно- идвухпролетных рам из гнутосварных труб.
Выпуск 0-2 включает:
• габаритные схемы основных несущих конструкций;
• схемы для определения нагрузок на фундаменты;
• схемы размещения связевых блоков для зданий с мостовымиопорными кранами;
• схемы путей мостовых опорных кранов;
• дополнительные сортаменты элементов фахверка и элементовсвязевого блока;
• сортаменты отправочных элементов рам;
• дополнительные узлы несущих конструкций.
2.1. Стальные каркасы типа УНИТЕК одноэтажныхпроизводственных зданий с применением конструкций из гнутосварных труб (далее -каркасы УНИТЕК, выпуск 0-2) разработаны для применения в отапливаемыхзданиях с неагрессивной или слабоагрессивной средой при влажности внутрипомещения не более 70% без кранов, с мостовыми однобалочными подвесными кранами(далее - подвесными кранами) грузоподъемностью 1; 3.2; 5 т с режимами работы1К-3К и с мостовыми опорными кранами (далее - мостовыми кранами)грузоподъемностью 5; 10; 16 т с режимами работы 1К-5К. Допустимое количествомостовых опорных кранов определенной грузоподъемности на одном пути исоответствующий режим работы принимается по табл. 1. Для двухпролетныхзданий допускается использование одновременно мостовых опорных и подвесныхкранов в соседних пролетах.
| Грузоподъемность мостовых опорных кранов, т | Количество кранов на пути | Режим работы кранов |
| 5; 10; 16 | 1 | 1К-5К |
| 5 | 2 | 1К-5К |
| 10; 16 | 2 | 1К-3К |
2.2. Каркасы УНИТЕК выпуск 0-2 предназначеныдля строительства:
• в III;IV и V районах повесу снегового покрова;
• в IIIи IV районах поветровому давлению;
• в I1-II5 районах по климатическим условиямстроительства;
• в районах с расчетной сейсмичностью до 6 балловвключительно.
2.3. Каркасы УНИТЕКвыпуск 0-2 разработаны для зданий следующих параметров:
• пролет здания L=12 м, число пролетов 1,2;
• пролет здания L=18 м, число пролетов 1, 2;
• высота здания Н=6.0; 7.2; 8.4; 9.6; 10.8; 12.0; 13.2 и14.4 м;
• за высоту Н принята отметка низа несущей конструкцииригеля в месте сопряжения с крайней стойкой рамы;
• шаг основных несущих конструкций 6 м.
3.1. Основными несущими конструкциями каркасов УНИТЕКявляются сквозные одно- и многопролетные рамы из гнутосварных труб по ГОСТ30245-2003 (далее - трубчатыерамы).
3.2. Сопряжение крайних и средних стоек рам с фундаментом -жесткое.
Сопряжение ригеля с крайними и средними стойками рамы -шарнирное.
3.3. Устойчивость и геометрическая неизменяемость зданийобеспечивается: в поперечном направлении - конструкциями несущих рам; впродольном направлении - системой вертикальных связей и распорок.
3.4. Для бескрановых зданий и зданий с подвесными кранамигоризонтальные и вертикальные связи
по каркасу принимаются по выпуску 0-1 настоящей серии.
3.5. Для зданий с мостовыми кранами схемы связевых блоковприведены в настоящем выпуске.
Вертикальные связи в зданиях с мостовыми кранами выполняютсяжесткими. Допускается установка гибких вертикальных связей из круглой стали 024мм в зданиях с мостовыми кранами грузоподъемностью 5 т с режимом работы 1К-5К.
3.6. Прогоны покрытия и прогоны стен подбираются по выпуску0-1 настоящей серии.
3.7. Основные решения по торцевому фахверку, в том числевертикальные связи по фахверку, приведены в выпуске 0-1 данной серии. Внастоящем выпуске приведены дополнительные схемы фахверка и дополнительныесортаменты стоек фахверка.
4.1 Основные расчетные положения см. выпуск 0-1 настоящейсерии.
4.2. Конструкции каркасов УНИТЕК выпуск 0-2 рассчитаны на сочетания унифицированныхвертикальных и горизонтальных нагрузок, приведенных в табл. 2 и 3 докум. -ПЗ, сучетом допустимого количества мостовых опорных кранов определеннойгрузоподъемности на одном пути и соответствующего режима работы, приведенных в табл. 1.
4.3. Конструкции каркасов УНИТЕК выпуск 0-2 выполняются из стали С345 по ГОСТ27772-88 с учетом требований табл.5.
4.4. Кодвертикальной нагрузки на несущие рамы принимать по табл.2. Состав вертикальных нагрузок см. выпуск 0-1настоящей серии.
| Базовый код вертикальной нагрузки | III | IV | V |
| Снеговой район по СНиП 2.01.07-85* | III | IV | V |
| Унифицированная вертикальная расчетная нагрузка, дкод, кгс/м2 | 240 | 315 | 390 |
4.5. Код горизонтальной нагрузки на несущие рамы принимается по табл.3. в зависимости от ветровойнагрузки, определяемой по СНиП2.01.07-85* для местности типа В.
| Код горизонтальной нагрузки | 1 | 2 |
| Величина нормативной ветровой нагрузки, кгс/м2 | qw≤38 | 38<qw≤48 |
4.6. Нагрузки от подвесных кранов не должны превышать значения,приведенные в табл. 4.
| 1 подвесной кран на пути | |||
| Qкран, т | Dmax, тс | Dmin, тс | Тпопереч, тс |
| 1 | 1.67 | 0.72 | 0.075 |
| 2 | 2.78 | 0.88 | 0.15 |
| 3.2 | 4.22 | 1.18 | 0.25 |
| 5 | 6.16 | 1.52 | 0.38 |
| 2 подвесных крана на пути (ψ=0.85) | |||
| 1 | 2.56 | 1.10 | 0.13 |
| 2 | 4.27 | 1.36 | 0.26 |
| 3.2 | 6.43 | 1.76 | 0.43 |
| 5 | 9.32 | 2.30 | 0.64 |
4.7. Код крановой нагрузки принимается по табл. 5.
| № п/п | Тип крана | Код крановой нагрузки | ||||||||
| 0 | 1 | 2 | 3 | 4 | ||||||
| Количество кранов в пролете, шт | ||||||||||
| Без кранов | 1 | 2 | 1 | 2 | 1 | 2 | 1 | 2 | ||
| Грузоподъемности кранов, т | ||||||||||
| 1 | Мостовые опорные краны | - | 5 | - | 10 | 5 | 16 | 10 | - | 16 |
| 2 | Подвесные краны | - | 1 | 1 | 3.2 | - | 5 | 3.2 | - | 5 |
5.1. Выбор основных несущих конструкций производится исходяиз следующих условий:
• габаритных размеров здания;
• величин вертикальных и горизонтальных нагрузок,определяемых соответствующими кодами нагрузок;
• наличие подвесных или мостовых опорных кранов;
• грузоподъемности кранов, определяемой соответствующимикодами крановых нагрузок.
В случае, когда двухпролетное здание в соседних пролетахоборудовано различными кранами (мостовой и подвесной) или кранами одного типа,но различной грузоподъемности, при выборе конструкций необходиморуководствоваться следующим:
- средние стойки выбираются по сортаментам для максимальнойкрановой нагрузки, действующей в одном из пролетов;
- крайние стойки и ригели при соответствующем обоснованиидопускается выбирать по сортаментам для крановой нагрузки, принадлежащейданному пролету.
5.2. Каркасы УНИТЕКвыпуск 0-2 включают 2 модификации основных несущих рам.
Модификация4 - рамы одно- и двухпролетные с пролетами12 ми 18 м без кранового оборудования и (или) с подвесными кранами.
Модификация 5 - рамы одно- и двухпролетные спролетами 12ми 18мс мостовыми кранами.
Определение габаритов рамы модификации 5 производится сучетом требований табл. 8.Пример определения кода несущей рамы.

Для удобства пользования внастоящем выпуске серии применяются 2 типа сокращенных кодов рам, в которыхчасть обозначений замена знаком * (звездочка). Сокращенный код не допускаетсяприменять в чертежах КМ (КМД) и при заказе конструкций.
Примеры сокращенных кодов рамы: Тип1

Используется в таблицах, приведенных на габаритных схемахрам, в документах сортаментов стоек рам.
Тип 2

Используется в основных надписях и в документах сортаментовэлементов рам.
5.3. Категория стали несущих конструкцийвыбирается по табл. 6 в зависимостиот климатического района строительства.
| Климатичские районы | Расчетная температура района строительства, °С | Наименование стали |
| II4, II5 | -30°С>t≥-40°С | С345-3 |
| I2, II2 и II3 | -40°С>t≥-50°С | С345-3 |
| I1 | -50°С>t≥-65°С | С345-4 |
6.1. Привязка крайних стоек рам к продольным осям зданий,разработанных в настоящем выпуске, независимо от наличия кранов принята 250 мм.Основные положения по осевым привязкам конструкций в зданиях без кранов и (или)с кранами определены в выпуске 0-1 настоящей серии.
6.2. Расстановка связевых блоков в зданиях без кранов и взданиях с подвесными кранами принимается по выпуску 0-1 настоящей серии.Расстановка связевых блоков в зданиях с мостовыми кранами приведена в докум.-014. Количество связевых блоков может быть увеличено для уменьшения усилий вэлементах связевых блоков.
6.3. Нагрузки на фундаменты стоек рам определяются поформулам, приведенным в докум. -006...- 012, в зависимости от выбранной схемырамы.
6.4. Нагрузки на фундаменты стоек фахверка определяются подокум. 0-1-025 и 0-1-026 настоящей серии.
7.1. Требования к изготовлению и монтажу конструкций см.выпуск 0-1 настоящей серии.
7.2. Для изготовления несущих конструкций рам примененасталь С345 (см. табл. 6) дляизготовления остальных конструкций - сталь С245 и С255 по ГОСТ27772-88. Сталь для подкрановых конструкций см. серию 1.426.2-7" Балки подкрановые стальные под мостовые опорные краны ", вып. 3.
7.3. Допускается производить замены стали в соответствии со СНиП II-23-81* "Стальныеконструкции. Нормы проектирования".
| Шифр или серия | Наименование | Примечания |
| Серия 1.426.2-6 | Балки путей подвесного транспорта |
|
| Выпуск 1/91 | Балки пролетом 3, 4 и 6 м. Чертежи КМ |
|
| Серия 1.426.2-7 | Балки подкрановые стальные под мостовые опорные краны |
|
| Выпуск 3 | Балки пролетом 6 и 12 м разрезные под краны общего назначения грузоподъемностью до 50 т. Чертежи КМ |
|

| Н, м | Н2, м | Грузоподъемность крана Q, т | |||||
| 5 | 10 | 16 | |||||
| Н1, м | Н3, м | Н1, м | Н3, м | Н1, м | Н3, м | ||
| 8.400 | 9.600 | 6.000 | 6.120 | 5.600 | 5.720 | 5.200 | 5.420 |
| 9.600 | 10.800 | 7.200 | 7.320 | 6.800 | 6.920 | 6.400 | 6.620 |
| 10.800 | 12.000 | 8.400 | 8.520 | 8.000 | 8.120 | 7.600 | 7.820 |
| 12.000 | 13.200 | 9.600 | 9.720 | 9.200 | 9.320 | 8.800 | 9.020 |
| 13.200 | 14.400 | 10.800 | 10.920 | 10.400 | 10.520 | 10.000 | 10.220 |
| 14.400 | 15.600 | 12.000 | 12.12 | 11.600 | 11.720 | 11.200 | 11.420 |
Н - номинальная отметка низа ригеляна крайней опоре, может меняться в зависимости от сечения пояса ригеля.
Нур.г.р. - отметка уровня головки рельса;
Н3 - высота подъема крюка крана.
| ГОСТ | Наименование | Примечания |
| ГОСТ 30245-2003 | Профили стальные гнутые замкнутые сварные квадратные и прямоугольные для строительных конструкций. Технические условия |
|
| ГОСТ 23118-99 | Конструкции стальные строительные. Общие технические условия |
|
| ГОСТ 19425-74 | Балки двутавровые и швеллеры стальные специальные. Сортамент |
|
| ГОСТ 26020-83 | Двутавры стальные горячекатаные с параллельными гранями полок. Сортамент |
|
| ГОСТ 8240-97 | Швеллеры стальные горячекатаные. Сортамент |
|
| ГОСТ 8278-83 | Швеллеры стальные гнутые равнополочные. Сортамент |
|
| ГОСТ 8050-85 | Двуокись углерода газообразная и жидкая. Технические условия |
|
| ГОСТ 2246-70 | Проволока стальная сварочная. Технические условия |
|
| ГОСТ 7798-70 | Болты с шестигранной головкой класса точности В. Конструкция и размеры |
|
| ГОСТ 1759.4-87 | Болты, винты и шпильки. Механические свойства и методы испытаний |
|
| ГОСТ 15589-70 | Болты с шестигранной головкой класса точности С. Конструкция и размеры |
|
| ГОСТ 15591-70 | Болты с шестигранной уменьшенной головкой класса точности С. Конструкция и размеры |
|
| ГОСТ 7798-70 | Болты с шестигранной головкой класса точности В. Конструкция и размеры |
|
| ГОСТ 7796-70 | Болты с шестигранной уменьшенной головкой класса точности А. Конструкция и размеры |
|
| ГОСТ 5915-70 | Гайки шестигранные класса точности В. Конструкция и размеры |
|
| ГОСТ 24379.0-80 | Болты фундаментные. Общие технические условия |
|
| ГОСТ 24379.1-80 | Болты фундаментные. Конструкция и размеры |
|
| ГОСТ 22353-77 | Болты высокопрочные класса точности В. Конструкция и размеры |
|
| ГОСТ 22356-77 | Болты и гайки высокопрочные и шайбы. Общие технические условия |
|
| ГОСТ 22354-77 | Гайки высокопрочные класса точности В. Конструкция и размеры |
|
| ГОСТ 22355-77 | Шайбы класса точности С к высокопрочным болтам. Конструкция и размеры |
|
| ГОСТ 6402-70 | Шайбы пружинные. Технические условия |
|
| ГОСТ 4543-71 | Прокат из легированной конструкционной стали. Технические условия |
|
| ГОСТ 27772-88 | Прокат для строительных стальных конструкций. Общие технические условия |
|
| ГОСТ 2590-88 | Прокат стальной горячекатаный круглый. Сортамент |
|
| ГОСТ 19903-74 | Прокат листовой горячекатаный. Сортамент |
|
| ГОСТ 19281-89 | Прокат из стали повышенной прочности. Общие технические условия |
|
| ГОСТ 2695-83 | Пиломатериалы лиственных пород. Технические условия |
|
| ГОСТ 24741-81 | Узел крепления крановых рельсов к стальным подкрановым балкам. Технические условия |
|

| КОД РАМЫ | Размеры рамы, м | ||||
| L | Н | Нр | Нс | d | |
| 4РТО120.60-* | 12.0 | 6.0 | 1.5 | 0.9 | 1.5; 3.0 |
| 4РТО120.72-* | 12.0 | 7.2 | 1.5 | 0.9 | 1.5; 3.0 |
| 4РТО120.84-* | 12.0 | 8.4 | 1.5 | 0.9 | 1.5; 3.0 |
| 4РТО120.96-* | 12.0 | 9.6 | 1.5 | 0.9 | 1.5; 3.0 |
| 4РТО120.108-* | 12.0 | 10.8 | 1.5 | 0.9 | 1.5; 3.0 |
| 4РТО120.120-* | 12.0 | 12.0 | 1.5 | 0.9 | 1.5; 3.0 |
| 4РТО120.132-* | 12.0 | 13.2 | 1.5 | 0.9 | 1.5; 3.0 |
| 4РТО120.144-* | 12.0 | 14.4 | 1.5 | 0.9 | 1.5; 3.0 |
| 4РТО180.60-* | 12.0 | 6.0 | 1.5 | 0.9 | 1.5; 3.0 |
| 4РТО180.72-* | 12.0 | 7.2 | 1.5 | 0.9 | 1.5; 3.0 |
| 4РТО180.84-* | 18.0 | 8.4 | 1.5 | 0.9 | 1.5; 3.0 |
| 4РТО180.96-* | 18.0 | 9.6 | 1.5 | 0.9 | 1.5; 3.0 |
| 4РТО180.108-* | 18.0 | 10.8 | 1.5 | 0.9 | 1.5; 3.0 |
| 4РТО180.120-* | 18.0 | 12.0 | 1.5 | 0.9 | 1.5; 3.0 |
| 4РТО180.132-* | 18.0 | 13.2 | 1.5 | 0.9 | 1.5; 3.0 |
| 4РТО180.144-* | 18.0 | 14.4 | 1.5 | 0.9 | 1.5; 3.0 |
Трубчатые рамы с указаннымигабаритами применяются в зданиях без кранов или в зданиях с подвесными кранами.При наличии кранов следует руководствоваться данными по параметрам кранов (Lк, Lкр),указанных в таблице в докум. -028.

| КОД РАМЫ | Размеры рамы, м | Пролет крана, м | |||||
| L | Н | Нр | Нс | Нв | d | Lкр | |
| 5РТО120.84-* | 12.0 | 8.4 | 1.5 | 0.9 | 0.62 | 1.5; 3.0 | 10.5 |
| 5РТО120.96-* | 12.0 | 9.6 | 1.5 | 0.9 | 0.62 | 1.5; 3.0 | 10.5 |
| 5РТО120.108-* | 12.0 | 10.8 | 1.5 | 0.9 | 0.62 | 1.5; 3.0 | 10.5 |
| 5РТО120.120-* | 12.0 | 12.0 | 1.5 | 0.9 | 0.62 | 1.5; 3.0 | 10.5 |
| 5РТО120.132-* | 12.0 | 13.2 | 1.5 | 0.9 | 0.62 | 1.5; 3.0 | 10.5 |
| 5РТО120.144-* | 12.0 | 14.4 | 1.5 | 0.9 | 0.62 | 1.5; 3.0 | 10.5 |
| 5РТО180.84-* | 18.0 | 8.4 | 1.5 | 0.9 | 0.62 | 1.5; 3.0 | 16.5 |
| 5РТО180.96-* | 18.0 | 9.6 | 1.5 | 0.9 | 0.62 | 1.5; 3.0 | 16.5 |
| 5РТО180.108-* | 18.0 | 10.8 | 1.5 | 0.9 | 0.62 | 1.5; 3.0 | 16.5 |
| 5РТО180.120-* | 18.0 | 12.0 | 1.5 | 0.9 | 0.62 | 1.5; 3.0 | 16.5 |
| 5РТО180.132-* | 18.0 | 13.2 | 1.5 | 0.9 | 0.62 | 1.5; 3.0 | 16.5 |
| 5РТО180.144-* | 18.0 | 14.4 | 1.5 | 0.9 | 0.62 | 1.5; 3.0 | 16.5 |
1. Трубчатые рамы с указаннымигабаритами применяются в зданиях с мостовыми кранами.
2. Отметку H1в зависимости от грузоподъемности крана см. табл. 8 докум. -ПЗ лист 6.

| КОД РАМЫ | Размеры рамы, м | ||||||
| L | L1 | Н | Нр | Нс | Нср | d | |
| 4PTM2×120.60-* | 24.0 | 12.0 | 6.0 | 1.5 | 0.2 | 0.9 | 1.5; 3.0 |
| 4PTM2×120.72-* | 24.0 | 12.0 | 7.2 | 1.5 | 0.2 | 0.9 | 1.5; 3.0 |
| 4РТМ2×120.84-* | 24.0 | 12.0 | 8.4 | 1.5 | 0.24 | 0.9 | 1.5; 3.0 |
| 4РТМ2×120.96-* | 24.0 | 12.0 | 9.6 | 1.5 | 0.24 | 0.9 | 1.5; 3.0 |
| 4PTM2×180.60-* | 36.0 | 18.0 | 6.0 | 1.5 | 0.2 | 0.9 | 1.5; 3.0 |
| 4PTM2×180.72-* | 36.0 | 18.0 | 7.2 | 1.5 | 0.2 | 0.9 | 1.5; 3.0 |
| 4РТМ2×180.84-* | 36.0 | 18.0 | 8.4 | 1.5 | 0.24 | 0.9 | 1.5; 3.0 |
| 4PTM2×180.96-* | 36.0 | 18.0 | 9.6 | 1.5 | 0.24 | 0.9 | 1.5; 3.0 |
Трубчатые рамы с указаннымигабаритами применяются в зданиях без кранов или в зданиях с подвесными кранами.При наличии кранов следует руководствоваться данными по параметрам кранов (Lк, Lкр),указанных в таблице в докум. -028.

| КОД РАМЫ | Размеры рамы, м | ||||||
| L | L1 | Н | Нр | Нс | Нср | d | |
| 4РТМ2×120.108-* | 24.0 | 12.0 | 10.8 | 1.5 | 0.9 | 0.9 | 1.5; 3.0 |
| 4РТМ2×120.120-* | 24.0 | 12.0 | 12.0 | 1.5 | 0.9 | 0.9 | 1.5; 3.0 |
| 4РТМ2×120.132-* | 24.0 | 12.0 | 13.2 | 1.5 | 0.9 | 0.9 | 1.5; 3.0 |
| 4РТМ2×120.144-* | 24.0 | 12.0 | 14.4 | 1.5 | 0.9 | 0.9 | 1.5; 3.0 |
| 4РТМ2×180.108-* | 36.0 | 18.0 | 10.8 | 1.5 | 0.9 | 0.9 | 1.5; 3.0 |
| 4РТМ2×180.120-* | 36.0 | 18.0 | 12.0 | 1.5 | 0.9 | 0.9 | 1.5; 3.0 |
| 4РТМ2×180.132-* | 36.0 | 18.0 | 13.2 | 1.5 | 0.9 | 0.9 | 1.5; 3.0 |
| 4РТМ2×180.144-* | 36.0 | 18.0 | 14.4 | 1.5 | 0.9 | 0.9 | 1.5; 3.0 |
Трубчатые рамы с указаннымигабаритами применяются в зданиях без кранов или в зданиях с подвесными кранами.При наличии кранов следует руководствоваться данными по параметрам кранов (Lк, Lкр),указанных в таблице в докум.-028.

| КОД РАМЫ | Размеры рамы, м | Пролет крана, м | |||||||
| L | L1 | Н | Нр | Нс | Нв | Нср | d | Lкр | |
| 5РТМ2×120.84-* | 24.0 | 12.0 | 8.4 | 1.5 | 0.9 | 0.62 | 0.9 | 1.5; 3.0 | 10.5 |
| 5РТМ2×120.96-* | 24.0 | 12.0 | 9.6 | 1.5 | 0.9 | 0.62 | 0.9 | 1.5; 3.0 | 10.5 |
| 5РТМ2×120.108-* | 24.0 | 12.0 | 10.8 | 1.5 | 0.9 | 0.62 | 0.9 | 1.5; 3.0 | 10.5 |
| 5РТМ2×120.120-* | 24.0 | 12.0 | 12.0 | 1.5 | 0.9 | 0.62 | 0.9 | 1.5; 3.0 | 10.5 |
| 5РТМ2×120.132-* | 24.0 | 12.0 | 13.2 | 1.5 | 0.9 | 0.62 | 0.9 | 1.5; 3.0 | 10.5 |
| 5РТМ2×120.144-* | 24.0 | 12.0 | 14.4 | 1.5 | 0.9 | 0.62 | 0.9 | 1.5; 3.0 | 10.5 |
| 5РТМ2×180.84-* | 36.0 | 18.0 | 8.4 | 1.5 | 0.9 | 0.62 | 0.9 | 1.5; 3.0 | 16.5 |
| 5РТМ2×180.96-* | 36.0 | 18.0 | 9.6 | 1.5 | 0.9 | 0.62 | 0.9 | 1.5; 3.0 | 16.5 |
| 5РТМ2×180.108-* | 36.0 | 18.0 | 10.8 | 1.5 | 0.9 | 0.62 | 0.9 | 1.5; 3.0 | 16.5 |
| 5РТМ2×180.120-* | 36.0 | 18.0 | 12.0 | 1.5 | 0.9 | 0.62 | 0.9 | 1.5; 3.0 | 16.5 |
| 5РТМ2×180.132-* | 36.0 | 18.0 | 13.2 | 1.5 | 0.9 | 0.62 | 0.9 | 1.5; 3.0 | 16.5 |
| 5РТМ2×180.144-* | 36.0 | 18.0 | 14.4 | 1.5 | 0.9 | 0.62 | 0.9 | 1.5; 3.0 | 16.5 |
1. Трубчатые рамы с указаннымигабаритами применяются в зданиях с мостовыми кранами.
2. Отметку H1в зависимости от грузоподъемности крана см. табл. 8 докум. -ПЗ лист 6.

Нагрузки на фундаменты определяются как сумма постоянных,длительных и кратковременных нагрузок отдельно для крайних и средних стоек:
| Суммарный опрокидывающий момент: | ΣМ=Му код+Mw+Mкp(Mм) | (1) | |
| Суммарная вертикальная нагрузка: | ΣN=Nкод+Nкр(Nм) | (2) | |
| Суммарная горизонтальная нагрузка по оси X: | ΣQx=Qx код+Qx w+Qx кр(Qx м) | (3) | |
| Суммарная горизонтальная нагрузка по оси Y: | ΣQy=Qy w+Qy кр(Qy м) | (4) | |
| где My код, Nкод, Qx код- | усилия от вертикальных нагрузок, определенные по докум. -007; | ||
| Mw, Qx w, Qy w- | усилия от ветра (вдоль или поперек здания) определяются в зависимости от ветрового района, конфигурации и габаритов здания по докум. -008; | ||
| Мкр, Nкp, Qx кр, Qy кр- | усилия от действия подвесных кранов, определяются по докум. -009, -010; | ||
| Мм, Nм, Qx м, Qy м- | усилия от действия мостовых кранов, определяются по докум. -011, -012. | ||
Расчет фундаментов следуетвыполнять с учетом наиболее неблагоприятных сочетаний нагрузок. Эти сочетанияустанавливаются из анализа реальных вариантов одновременного действия различныхнагрузок. В особых случаях, не предусмотренных данным разделом, нагрузки нафундаменты определяются статическим или динамическим расчетом.
При учете сочетаний следует вводить коэффициенты сочетаний всоответствии со СНиП2.01.07-85* "Нагрузки и воздействия".
При одновременном использовании в двухпролетных зданияхподвесных и мостовых кранов, определение нагрузок от них производитьиндивидуально.
Унифицированную расчетную вертикальную нагрузку см. табл. 2докум. -ПЗ.


НАГРУЗКИНА ФУНДАМЕНТЫ СТОЕК ОДНОПРОЛЕТНЫХ РАМ
| Вертикальная нагрузка: | N1код=0.5•qкод•L•B+qстен•Hcтен•B+Gк+Gдоп | (1) |
| Опрокидывающий момент: | Му код=0.05•N1код•Нст | (2) |
| Горизонтальная нагрузка: | Qx код=0.05•N1код | (3) |
НАГРУЗКИ НА ФУНДАМЕНТЫ СТОЕК ДВУХПРОЛЕТНЫХ РАМ
В крайней стойке:
| Вертикальная нагрузка: | N1код определяется по формуле (1) |
|
| Опрокидывающий момент: | My1код определяется по формуле (2) |
|
| Горизонтальная нагрузка: | Qx1код определяется по формуле (3) |
|
В средней стойке:
| Вертикальная нагрузка: | N2код=0.5•qкод•(L1+L2)•B+Gк+Gдоп | (4) | |
| где qкод- | унифицированная вертикальная нагрузка, которая включает в себя постоянные, снеговые и нагрузки от коммуникаций, определяется по табл. 2 докум. -ПЗ, кгс/м2; | ||
| L, L1, L2- | пролеты здания по наружным граням крайних стоек, м; | ||
| В- | шаг стоек каркаса, В=6м; | ||
| qcтен- | собственный вес стенового ограждения ,30-50 кгс/м2; | ||
| Нстен- | высота стены, м; | ||
| Gк- | собственный вес стойки, Gк=100•(Н+0.15), кгс; | ||
| Gдоп- | дополнительная нагрузка на стоики от технологических площадок, кронштейнов и т.д., кгс ; | ||
| Нст- | высота стойки Нст=Н+0.35, м | ||
Нагрузки на фундаменты от снеговойнагрузки определяются путем умножения полученных усилий Ni, Qx на соответствующийкоэффициент kснег из приведеннойниже таблицы.
ОТНОСИТЕЛЬНАЯДОЛЯ СНЕГОВОЙ НАГРУЗКИ В ОБЩЕЙ НАГРУЗКЕ
| Коэффициент перехода к снеговой нагрузке | КОД ВЕРТИКАЛЬНОЙ НАГРУЗКИ | |||||
| III | IV | V | ||||
| Ni | Qx | Ni | Qx | Ni | Qx | |
| kснег | 0.37 | 0.68 | 0.47 | 0.76 | 0.54 | 0.80 |
ВЕТЕРПОПЕРЕК ЗДАНИЯ

Суммарный опрокидывающий момент МΣw от действия ветрана каркас:
| MΣw=1.15•CeΣ•W0•KZcp•γf•В•Нзд2/2 | (1) |
Суммарнаяпоперечная сила QxΣw от действия ветра на каркас:
| QxΣw=CeΣ•W0•KZcp•γf•В•Нзд | (2) |
| где CeΣ- | суммарный аэродинамический коэффициент для наветренной и подветренной стен здания, определяемый по СНиП 2.01.07-85* "Нагрузки и воздействия": CeΣ=Се+Се3 (максимальное значение CeΣ=1.4 - для зданий с проницаемостью μ<1); |
| W0- | нормативное значение ветрового давления, определяемое в соответствии со СНиП 2.01.07-85* "Нагрузки и воздействия"; |
| KZcp- | усредненный коэффициент, учитывающий изменение ветрового давления по высоте здания, принимаемый по приведенной ниже таблице: |
|
| Значение KZcp при типе местности | ||
| Высота здания Нзд, м | А | В | С |
| Нзд≤10 | 0.85 | 0.55 | 0.40 |
| 10<Нзд≤20 | 0.95 | 0.65 | 0.45 |
| γf=1.4- | коэффициент надежности по ветровой нагрузке; |
| В- | шаг стоек каркаса, В=6 м; |
| Нзд- | высота здания от уровня фундаментов до конька с учетом ограждающих конструкций, м. |
НАГРУЗКИ НА ФУНДАМЕНТЫ СТОЕК ОДНОПРОЛЕТНЫХ РАМ
Опрокидывающий момент на наветренную стойку рамы:
| M1w=Mw•(0.5+0.375•Се3)/CeΣ | (3) |
Опрокидывающиймомент на подветренную стойку рамы:
| M2w=Mw•(0.3+0.625•Се3)/CeΣ | (4) |
Горизонтальнаянагрузка на наветренную стойку рамы:
| Q1xw=Qw•(0.65+0.2•Се3)/СeΣ | (5) |
Горизонтальнаянагрузка на подветренную стойку рамы:
| Q2xw=Qw•(0.15+0.8•Се3)/СeΣ | (6) |
ВЕТЕР ПОПЕРЕК ЗДАНИЯ

НАГРУЗКИ НА ФУНДАМЕНТЫ СТОЕК МНОГОПРОЛЕТНЫХ РАМ
| Опрокидывающий момент: - на крайнюю стойку рамы | M1w=±k1•MΣw | (7) |
| - на среднюю стойку рамы | M2w=±k2•MΣw | (8) |
| Горизонтальная нагрузка: - на крайнюю стойку рамы | Q1xw=±n1•QxΣw | (9) |
| - на среднюю стойку рамы | Q2xw=±n2•QxΣw | (10) |
где k1, k2,n1, n2 - коэффициенты, принимаемые по таблице.
| Тип крайней стойки | kl | k2 | n1 | n2 |
| сплошная | 0.2 | 0.7 | 0.4 | 0.4 |
| сквозная | 0.4 | 0.3 | 0.5 | 0.2 |
ВЕТЕР ВДОЛЬ ЗДАНИЯ
Нагрузки на фундаменты стоек рам от ветра вдоль зданияопределяются по формулам, приведенным в выпуске 0-1 настоящей серии докум.0-1-024.

НАГРУЗКИ НА ФУНДАМЕНТЫ СТОЕК ОДНОПРОЛЕТНЫХ РАМ
| Опрокидывающий момент: | M1кp=М2кр=±(Тх•Нст)/2 | (1) | ||
| Вертикальная нагрузка: | Nкр max=[Dmin•a+Dmax•(L-a)]/L, | (2) | ||
| Горизонтальная нагрузка по оси X : | Qx кр=±Tx | (3) | ||
| Горизонтальная нагрузка по оси У: | Qy кр=±0.1•Nкр max | (4) | ||
| где Dmax; Dmin; Tx- | суммарные нагрузки от одного или двух подвесных кранов, см. приведенную ниже таблицу; |
| ||
| Hcт- | высота стойки рамы, м; |
| ||
| L- | пролет здания по наружным граням стоек, м; |
| ||
| Lкp- | пролет крана, м; |
| ||
| a- | привязка подвески крана, м: а=(L-Lкр)/2 |
| ||
НАГРУЗКИНА РАМЫ ОТ ПОДВЕСНЫХ КРАНОВ
| Вид нагрузки | Количество кранов в пролете | |||||
| 1 кран в пролете | 2 крана в пролете | |||||
| Грузоподъемность крана, т | Грузоподъемность крана, т | |||||
| 1 | 3.2 | 5 | 1 | 3.2 | 5 | |
| Dmax, тс | 2.130 | 5.400 | 7.320 | 3.220 | 7.680 | 10.970 |
| Dmin, тс | 1.050 | 1.660 | 2.030 | 1.550 | 2.360 | 2.970 |
| Тх, тс | 0.086 | 0.285 | 0.433 | 0.130 | 0.490 | 0.730 |
1. Нагрузки Dmax, Dmin,Тх даны сучетом коэффициента сочетаний ψ,принятого согласно п.4.17. СНиП2.01.07-85*: ψ=1- для одного крана, ψ=0.85- для двух кранов.
Масса монорельсов (подкрановых балок для мостовых кранов) внагрузках Dmax, Dmin не учтена.
2. Горизонтальная нагрузка Qy крприкладывается только к фундаментам связевых блоков.
СХЕМА 1
(Н≤9.6 м)

НАГРУЗКИНА ФУНДАМЕНТЫ СТОЕК ДВУХПРОЛЕТНЫХ РАМ СОСПЛОШНОЙ КРАЙНЕЙ СТОЙКОЙ (СХЕМА 1)
| Опрокидывающий момент в средней стойке: | М2кр=0.9•ΣТх•(Нст+0.1•Li max) | (1) |
| Опрокидывающий момент в крайней стойке: | М1кр=0.1•М2кр | (2) |
| Вертикальная нагрузка в крайней стойке: | N1кp max (N3кp max) определяется по формуле 2 докум. -009 с учетом положения тележки |
|
| Вертикальная нагрузка в средней стойке: | Nкр max=Nлев кр max+Nправ кр max | (3) |
| где Nлев кр max, Nправ кр max- | максимальные вертикальные нагрузки от кранов, расположенных в левом и правом пролетах соответственно, и определяемые по формуле 2 докум. -009 для каждого пролета |
|
| Горизонтальная нагрузка по оси X: | Qx кр определяется по формуле 3 докум. -009 |
|
| - в крайней стойке | как для крайней стойки однопролетной рамы |
|
| - в средней стойке | Qx кр=±ΣTх | (4) |
| Горизонтальная нагрузка по оси У ( в зоне связевых блоков): | Qy кр определяется по формуле 4 докум. -009 |
|
| - в крайней стойке | как для крайней стойки однопролетной рамы |
|
| - в средней стойке | Qy кр=±0.1•N2кр max | (5) |
При учете четырех кранов дляопределения нагрузок для средней стойки необходимо значения, приведенные втаблице докум. -009 (2 крана в пролете), умножить на коэффициент 0.82.
СХЕМА 2
(9.6м<Н≤14.4м)

НАГРУЗКИНА ФУНДАМЕНТЫ СТОЕК ДВУХПРОЛЕТНЫХ РАМ СО СКВОЗНОЙ КРАЙНЕЙ СТОЙКОЙ (СХЕМА 2)
| Опрокидывающий момент в крайней стойке: | M1кр=0.4•ΣTx•Hcт | (6) |
| Опрокидывающий момент в средней стойке: | М2кр=0.4•ΣTх•(Нст+0.1•Li max) | (7) |
| Вертикальная нагрузка в крайней стойке: | N1кр max, N3кр max определяется по формуле 2 докум. -009 с учетом положения тележки |
|
| Вертикальная нагрузка в средней стойке: | N2кp max определяется по формуле 3 лист 1. |
|
| Горизонтальная нагрузка по оси X в крайней и средней стойке: | Qx кр=0.4•ΣTx | (8) |
| Горизонтальная нагрузка по оси У (в зоне связевых блоков): |
|
|
| - для крайней стойки | Qy кр определяется по формуле 4 докум. -009 |
|
| - в средней стойке | Qy кр определяется по формуле 5 лист 1. |
|
При учете четырех кранов дляопределения нагрузок для средней стойки необходимо значения, приведенные втаблице на листе 1 (2 крана в пролете), умножить на коэффициент 0.82.

| Опрокидывающий момент: | Mм=MD+MT | (1) |
| где MD- | момент от вертикального давления крана, |
|
| МT- | момент от поперечного торможения тележки крана. |
|
|
| М1D=М•[K-1.16•(0.33/(1-λ)-0.15)•(1+K)] | (2) |
|
| M2D=M•[1-1.16•(0.33/(1-λ)-0.15)•(1+K)] | (3) |
|
| M=Dmax•е | (4) |
|
| λ=(H2-H1)/Нcт | (5) |
|
| M1T=±T•Нcт•(0.5-0.217•λ)•(1+hпб/H1) | (6) |
|
| М2T=±0.25•Т•Нcт•(2-3.13•λ)•(1+hпб/H1) | (7) |
Для расчета принимаетсямаксимальный момент М, определенный для опоры 1 и опоры 2.
| Горизонтальная нагрузка по оси X: | Qx м=QT+QD | (8) | ||||||||||||
| где QD- | горизонтальная сила, возникающая от вертикального давления крана, | |||||||||||||
| QT- | горизонтальная сила, возникающая от торможения тележки крана | |||||||||||||
|
| QD=M/Нст•(1+K)•[1-1.16•(0.33/λ-0.15)] | (9) | ||||||||||||
|
| Q1T=±Tx•(0.5+0.782•λ)•(1+hпб/H1) | (10) | ||||||||||||
|
| Q2T=±0.25•Tx•(2-3.13•λ)•(1+hпб/H1) | (11) | ||||||||||||
| Горизонтальная нагрузка по оси Y: | Qy м=+0.l•Dmax | (12) | ||||||||||||
| Вертикальная нагрузка: | N1м=Dmax | (13) | ||||||||||||
|
| N2м=Dmin | (14) | ||||||||||||
| где Dmax; Dmin; T- | суммарные нагрузки от одного или двух мостовых кранов, см. таблицу докум. -012 лист 2; | |||||||||||||
| K- | коэффициент K=Dmin/Dmax, принимаемый по таблице; | |||||||||||||
| Нст- | полная высота стойки, Нст=Н2+0.15, м; | |||||||||||||
| H1, H2- | габаритные отметки для стойки; | |||||||||||||
| e- | эксцентриситет приложения нагрузок Dmax и Dmin относительно оси сечения стойки, е≈0.55 м; | |||||||||||||
| hпб- | высота подкрановой балки и рельса по таблице, м.
| |||||||||||||
1. На схеме показаны положительныенаправления нагрузок М, Qx.
2. Горизонтальная нагрузка Qy м прикладываетсятолько к фундаментам связевых блоков.
3. При необходимости нагрузки уточнить путем статическогорасчета.

1. МОСТОВОЙ КРАН В ОДНОМ ПРОЛЕТЕ
| Опрокидывающий момент: | Mм=MD+MT | (1) |
| где MD- | момент от вертикального давления крана, |
|
| МT- | момент от поперечного торможения тележки крана. |
|
| для крайней стойки: | М1D=М•[0.5-λ2•(0.68+1.7•K)] | (2) |
|
| М1T=±0.8•Тх•Нcт•(0.5-0.217•λ)•(1+hпб/H1) | (3) |
| для средней стойки: | М2D=М•(K•λ2•(1.47-0.47•λ2)-0.51+0.65•λ2) | (4) |
|
| М2Т определяется по формуле 3 |
|
|
| M=Dmax•e | (5) |
|
| λ=(H2-H1)/Нcт | (6) |
Для расчета принимаетсямаксимальный момент М, определенный для опоры 1 и опоры 2.
| Горизонтальная нагрузка по оси X: | Qx м=QT+QD | (7) |
| где QD- | горизонтальная сила, возникающая от вертикального давления крана, | |
| QT- | горизонтальная сила, возникающая от торможения тележки крана | |
| для крайней стойки: | Q1D=-M/Нст•(0.5-0.68• λ2+K•(1-1.7• λ2) | (8) |
|
| Q1T=±0.5•Tx•(0.5-0.217•λ)•(1+hпб/H1) | (9) |
| для средней стойки: | Q2D=М/Нст•(K•(1-1.35•λ2)+0.51-0.65•λ2) | (10) |
|
| Q2T=±Tx•(0.5-0.217•λ)•(1+hпб/H1) | (11) |
| Горизонтальная нагрузка по оси Y: | Qy м=+0.l•Dmax | (12) |
| Вертикальная нагрузка: | N1м=Dmax | (13) |
|
| N2м=Dmin | (14) |
| где Dmax; Dmin; T- | суммарные нагрузки от одного или двух мостовых кранов, см. таблицу докум. -012 лист 2; | |
| K- | коэффициент K=Dmin/Dmax, принимаемый по таблице; | |
| Нст- | полная высота стойки, Нст=Н2+0.15, м; | |
| H1, H2- | габаритные отметки для стойки; | |
| e- | эксцентриситет приложения нагрузок Dmax и Dmin относительно оси сечения стойки, е≈0.55 м; | |
| hпб- | высота подкрановой балки и рельса по таблице докум. -011, м; | |
1. На схеме показаны положительные направления нагрузок М, Qx.
2. Горизонтальная нагрузка Qy м прикладывается только к фундаментамсвязевых блоков.
3. При необходимости нагрузки уточнить путем статическогорасчета.

2. МОСТОВОЙ КРАН В ДВУХ ПРОЛЕТАХ
| Опрокидывающий момент: | Mм=MD+MT | (1) |
| где MD- | момент от вертикального давления крана, |
|
| МT- | момент от поперечного торможения тележки крана. |
|
| для крайней стойки: | М1D=M•[1-1.72•λ2-K•(1.02•λ2+0.5)] | (15) |
|
| М1T=±1.3•Тх•Нcт•(0.5-0.217•λ)•(1+hпб/H1) | (16) |
| для средней стойки: | М2D=M•(0.55• λ2+0.1•λ+0.5)•(K-1) | (17) |
|
| М2Т=±1.55•Тх•Нcт•(0.5-0.217•λ)•(1+hпб/H1) | (18) |
Для расчета принимаетсямаксимальный момент М, определенный для опоры 1 и опоры 2.
| Горизонтальная нагрузка по оси X: | Qx м=QT+QD | (7) |
| где QD- | горизонтальная сила, возникающая от вертикального давления крана, | |
| QT- | горизонтальная сила, возникающая от торможения тележки крана | |
| для крайней стойки: | Q1D=M/Нст•[1-1.72•λ2+K•(0.5-1.02• λ2)] | (19) |
|
| Q1T=±1.3•Tx•(0.5-0.217•λ)•(1+hпб/H1) | (20) |
| для средней стойки: | Q2D=М/Нст•(K•(0.5-0.7•λ2)+0.7•λ2-0.5) | (21) |
|
| Q2T=±1.55•Tx•(0.5-0.217•λ)•(1+hпб/H1) | (22) |
| Горизонтальная нагрузка по оси Y: |
|
|
| для крайней стойки: | Q1ум=±0.1•Dmax | (23) |
| для средней стойки: | Q2yм=±0.1•(D1max+D2max) | (24) |
| Вертикальная нагрузка: |
|
|
| для крайней стойки: | N1м=D1max | (25) |
| для средней стойки: | N2м=D1max+D2max | (26) |
НАГРУЗКИНА РАМЫ ОТ МОСТОВЫХ КРАНОВ С УЧЕТОМ ВЕСА ПОДКРАНОВЫХ БАЛОК
| Вид нагрузки, тс | Количество кранов в пролете | |||||
| 1 кран в пролете | 2 крана в пролете | |||||
| Грузоподъемность крана, т | Грузоподъемность крана, т | |||||
| 5 | 10 | 16 | 5 | 10 | 16 | |
| Dmax | 9.780 | 13.650 | 20.210 | 14.270 | 19.800 | 28.540 |
| Dmin | 5.850 | 6.420 | 8.660 | 8.380 | 9.140 | 12.030 |
| Тх | 0.433 | 0.855 | 1.368 | 0.741 | 1.460 | 2.330 |
1. Условние обозначения,коэффициенты см. лист 1.
2. На схеме показаны положительные направления нагрузок М, Qx.
3. Горизонтальная нагрузка Qy м прикладывается только к фундаментамсвязевых блоков.
4. При необходимости нагрузки уточнить путем статическогорасчета.
1. Проектирование связевых блоков в зданиях без кранов илиоборудованных подвесными кранами производится в соответствии с положениями,приведенными в выпуске 0-1 настоящей серии. При этом замена распорок по нижнемупоясу ригеля на гибкие растяжки не допускается.
2. Вертикальные связи и распорки в зданиях без кранов или сподвесными кранами по двухветвевым стойкам устанавливаются в плоскости каждойветви стойки.
3. В зданиях с мостовыми опорными кранами расстановкасвязевых блоков производится в соответствии со схемами, приведенными внастоящем выпуске, в зависимости от длины здания. Связевый блок (горизонтальныесвязи по покрытию, вертикальные связи по колоннам и распорки) устанавливается всередине температурного блока, кроме того, в крайних шагах рам устанавливаютсягоризонтальные связи по покрытию и вертикальные связи по надкрановым частямколонн.
4. В здании с мостовыми опорными кранами связевый блоксостоит из распорок и жестких вертикальных связей по крайним и средним стойками гибких связей по ригелям рам. В зданиях с мостовыми кранами грузоподъемностью5 т с режимом работы 1К-5К допускается установка гибких предварительнонапряженных вертикальных связей из круглой стали С255 Ø24 мм, усилие предварительного натяжениясвязей 3,0 тс.
5. Жесткие двухветвевые решетчатые связи выполняются изпрофилей стальных гнутых замкнутых сварных квадратных и прямоугольных по ГОСТ30245-2003 (далее - гнутосварные трубы).
6. Распорки в связевом блоке выполняются двухветвевымирешетчатыми и одноветвевыми из гнутосварных труб. В шагах, расположенных междусвязевыми блоками, устанавливаются одноветвевые распорки по каждой ветвистойки. Раскрепление ригелей рам между связевыми блоками производитсяодноветвевыми распорками.
7. Сечения элементов связевых блоков (гибких горизонтальныхи жестких вертикальных связей и распорок) приведены в сортаменте в документе-022 настоящего выпуска.
Схемы расположения блоков горизонтальных и вертикальныхсвязей для бескрановых зданий или зданий с подвесным крановым оборудованиемпринимаются по схемам выпуска 0-1 настоящей серии.
На листе даны схемы для зданий, оборудованных мостовымикранами и с сейсмичностью до 6 баллов включительно.



1. H1 - отметка низа подкрановой балки.
2. Максимальная длина температурного блока для зданий,оборудованных мостовыми кранами, не более 96 м.
3. Вертикальные связи в многопролетных зданияхустанавливаются по крайним и средним стойкам.

1. Схемы вертикальных связейзависят от высоты стойки.
2. Сортамент распорок и гибких связей см. докум. 0-1-043 и0-1-044.
3. Н2=Н+1.2м, где Н - отметка низа ригеля на крайней опоре.

1. Схемы вертикальных связейзависят от высоты стойки.
2. Сортамент распорок и гибких связей см. докум. 0-1-043 и0-1-044.
3. Н2=Н+1.2м, где Н - отметка низа ригеля на крайней опоре.

1. Схемы вертикальных связейзависят от высоты стойки.
2. Сортамент распорок и гибких связей см. докум. 0-1-043 и0-1-044.
3. Н2=H+1.2+0.1Lmax, где Н - отметканиза ригеля на крайней опоре,
Lmax - величина большего пролета с учетомосевой привязки стойки.

1. В зданиях с мостовыми кранамиустанавливаются жесткие вертикальные связи марки СВР.
При грузоподъемности кранов 5 т с режимами работы 1К-5Кдопускается установка гибких вертикальных связей СВ из круглой стали С255 Ø24 мм с усилиемпредварительного натяжения 3.0 т. Расстановку гибких вертикальных связейвыполнять по типу схем, приведенных в докум. -015 и -016. Раскрепление стоекраспорками производить в соответствии со схемами на данном листе.
2. Сечения распорок и жестких вертикальных связей см. докум.-022.

1. В зданиях с мостовыми кранамиустанавливаются жесткие вертикальные связи марки СВР. При грузоподъемностикранов 5 т с режимами работы 1К-5К допускается установка гибких вертикальныхсвязей СВ из круглой стали С255 Ø24мм с усилием предварительного натяжения 3.0 тс. Расстановку гибких вертикальныхсвязей выполнять по типу схем, приведенных в докум. -015 и -016. Раскреплениестоек распорками производить в соответствии со схемами на данном листе.
2. Сечения распорок и жестких вертикальных связей см. докум.-022.




| УСЛОВНЫЕ ОБОЗНАЧЕНИЯ: | |
| Решетчатая распорка РРС |
|
| Распорка PC |
|
| Связь горизонтальная СГ |
|




| УСЛОВНЫЕ ОБОЗНАЧЕНИЯ: | |
| Распорка PC |
|
1. Коньковые прогоны включены в связевую систему и выполняютроль распорок.
2. Распорки на стойках показаны условно.
| Марка | ЭСКИЗ | Код ветровой нагрузки | Номер позиции | Сечение | Наименование стали | Масса марки, кг |
| PC |
| 1 2 | 1 | □120×4 | С255 | 88 |
| 2 | -t10 | С255 | ||||
|
|
|
| ||||
|
|
|
| ||||
|
|
|
| ||||
| РРС (см. прим. п. 3) |
| 1 | 1 | □120×4 | С255 | 323 |
| 2 | □80×4 | С255 | ||||
| 3 | -t10 | С255 | ||||
| 2 | 1 | □140×4 | С255 | 354 | ||
| 2 | □80×4 | С255 | ||||
| 3 | -t10 | С255 | ||||
|
|
|
| ||||
|
|
|
| ||||
|
|
|
| ||||
|
|
|
| ||||
|
|
|
| ||||
|
|
|
| ||||
| СГ |
| 1 | 1 | Ø20 | С255, С345 | 26 |
| 2 | -t12 | C255 | ||||
| 2 | 1 | Ø24 | С255, С345 | 36 | ||
| 2 | -t12 | С255 | ||||
|
|
|
| ||||
| СВТ |
| 1 2 | 1 | □140×4 | С255 | 113 |
| 2 | -t10 | С255 | ||||
|
|
|
| ||||
|
|
|
| ||||
|
|
|
| ||||
| СВР |
| 1 2 | 1 | □140×4 | С255 | 614 |
| 2 | □80×4 | С255 | ||||
| 3 | -t10 | С255 | ||||
|
|
|
| ||||
|
|
|
| ||||
|
|
|
| ||||
|
|
|
| ||||
|
|
|
| ||||
|
|
|
|
1. Распорки выполнены из гнутосварных труб по ГОСТ30245-2003.
Гибкие связи выполнены из круглой стали по ГОСТ 2590-88.
2. Конфигурацию решетки распорки в зависимости от высоты h см. докум. 0-1-043.
3. Распорки РРС по покрытию всегда имеют сечение □120×4.
4. Усилие предварительного натяжения гибкой связи
из стали С255: Ø20 - 2.0 тс, Ø24 - 3.0 тс;
из стали С345: Ø20 - 2.5 тс, Ø24 - 3.5 тс;
ТОРЦЕВОЙФАХВЕРК
1. Фахверк в зданиях без кранов и с подвесными кранами можетбыть несущим или самонесущим. В зданиях с опорными кранами применяется толькосамонесущий фахверк с установкой поперечных рам на крайних осях.
2. Размещение стоек несущего и самонесущего торцевыхфахверков выполняется в соответствии со схемами, приведенными в данномдокументе.
3. При высоте стоек в коньке здания до 16 м проектированиефахверков производится по выпуску 0-1 настоящей серии. Схемы раскрепления стоекраспорками и вертикальными связями см докум. 0-1-048 и 0-1-049. Сечения балок истоек высотой до 16 м несущего и самонесущего фахверков принимаются посортаменту в зависимости от типа фахверка, его высоты и действующих нагрузок,включая нагрузки от подвесных кранов см. докум. с 0-1-050 по 0-1-053.
4. Для стоек фахверка высотой 16...18 м схемы раскреплениястоек распорками и вертикальными связями приведены в докум. -024 настоящеговыпуска.
5. Дополнительный сортамент для стоек фахверка высотой 16...18 м приведен в докум. -025.
СХЕМЫ РАЗМЕЩЕНИЯ СТОЕК И БАЛОК ФАХВЕРКА ДЛЯ ОДНО- ИДВУХПРОЛЕТНЫХ ЗДАНИЙ





1. На данном листе представлены схемы несущих и самонесущихфахверков для одно- и двухпролетных зданий при высоте стоек фахверка 16...18 м.
2. Сечение стоек фахверка подбирается по сортаментам: длястоек высотой до 16 м см. выпуск 0-1 настоящей серии, для стоек высотой более16 м см. табл. 1, докум. -025. Сечение принимается для всех стоек данногофахверка одинаковым. Допускается назначать сечение стоек в соответствии с ихфактической высотой и действующими на них нагрузками (включая крановые).
3. Сечения элементов связевого блока несущего фахверкаподбираются по сортаментам:
- для распорок см. докум. -022;
- для вертикальных связей см. докум. -025.
4. Сечения элементов связевого блока самонесущего фахверкапринимаются минимальными по таблицам 1 и 2 докум. 0-1-044.
СХЕМА НЕСУЩЕГО ФАХВЕРКА

СХЕМА САМОНЕСУЩЕГО ФАХВЕРКА



СОРТАМЕНТ СТОЕКФАХВЕРКА
| Высота стойки фахверка, м | Гнутосварные трубы по ГОСТ 30245-2003. Сечение b×h×t, мм |
| 16.0<Нсф≤18.0 | 300×300×8 |
1. Данный сортаментраспространяется на все типы стоек фахверка (несущие, несущие крановые,самонесущие).
2. Применяемая сталь С255 по ГОСТ27772-88.
СОРТАМЕНТ ГИБКИХВЕРТИКАЛЬНЫХ СВЯЗЕЙ ПО ФАХВЕРКУ

| Высота стойки фахверка, м | Ветровой район по СНиП 2.01.07-85* | Марка стали | |||
| С255 | С345 | ||||
| d, мм | Nнат, тс | d, мм | Nнат, тс | ||
| Нсф≤15.6 | III; IV | 20 | 2.0 | 20 | 2.5 |
| Нсф>15.6 | III | 20 | 2.0 | 20 | 2.5 |
| IV | 24 | 3.0 | 20 | 3.5 | |
1. В таблице:
d,мм - сечение гибкой связи;
Nнат - усилиепредварительного натяжения гибких связей.
2. Гибкая связь выполнена из круглой стали по ГОСТ 2590-88.
1. В зданиях с каркасами УНИТЕК выпуск 0-2 могутприменяться:
- подвесные краны;
- мостовые краны.
Грузоподъемность, режимы работыи параметры на краны представлены в таблице.
| Тип крана | Грузоподъемность крана, т | Режим работы по ГОСТ 25546-82 | Пролет крана, м | Длина консоли, м (для справки) |
| Подвесные краны | 1, 3.2, 5 | 1К-3К | 6; 9; 12; 15 | 0.6-1.5 |
| Мостовые краны общего назначения | 5 | 1К-5К | 10.5; 16.5 |
|
| 10 | 1К-5К |
| ||
| 16 | 1К-5К |
|
2. Габаритные отметки рам длязданий с мостовыми кранами в зависимости от грузоподъемности крана приведены втабл. 8 докум. ПЗ, лист 6.
3. Допустимые габариты подвесных кранов (пролет крана идлина консоли) для различных пролетов рам приведены в докум. -028.
4. В настоящем выпуске предусмотрены 2 схемы размещенияподвесных кранов:
вариант "а" -для зданий пролетом 12 м с краном пролетом 9 м;
-для зданий пролетом 18 м с краном пролетом 15 м;
вариант "б" -для зданий пролетом 12 м с краном пролетом 6 м;
-для зданий пролетом 18 м с краном пролетом 12 м;
Схемы подвески кранов см. докум. -028.
5. Сортамент подвесных путей, а так же сортамент элементовдля крепления подвесных путей на фахверке и данные для узлов крепленияподвесных путей приведены в выпуске 0-1 настоящей серии.
6. Схемы размещения путей мостовых кранов приведены вдокументе -027.
7. Подкрановые балки под мостовые краны в каркасах УНИТЕКвыполняются сварными или прокатными. Сварные подкрановые балки приняты по серии1.426.2-7 "Балки подкрановые стальные под мостовые опорные краны",выпуск 3. Сортамент прокатных подкрановых балок приведен в таблице докум. -027.
8. Узлы крепления подкрановых балок к колоннам и между собойвыполняются в соответствии с серией 1.426.2-7 "Балки подкрановые стальныепод мостовые краны", выпуск 3.
9. Для подкрановых путей мостовых кранов следует применятьспециальные крановые рельсы КР70 или железнодорожные Р43 или любые другие поднагрузку не более 30 тс.

1. Сортамент сварных подкрановыхбалок см. серию 1.426.2-7 "Балки подкрановые стальные под мостовые опорныекраны" выпуск 3.
2. Сортамент прокатных подкрановых балок см. таблицу,приведенную ниже. Общий вид прокатных подкрановых балок и дополнительныеэлементы (опорные ребра, ребра жесткости, планки и т.д.) должны соответствоватьсварным балкам по серии 1.426.2-7 "Балки подкрановые стальные под мостовыеопорные краны" выпуск 3.
3.Стали для подкрановых балок принимаются для климатическихрайонов с расчетной температурой:
до - 40°С -С255 по ГОСТ27772-88;
-40°С>t≥-50°С - С345 по ГОСТ27772-88.
4. Узлы крепления крановых рельсов и стык рельсов см. узел67 докум. -070 и узел 68 докум. -071.
СОРТАМЕНТПРОКАТНЫХ ПОДКРАНОВЫХ БАЛОК
| Элемент конструкции | Сечение подкрановой балки для кранов грузоподъемностью, т | |
| 5; 10 | 16 | |
| Двутавры стальные горячекатанные по ГОСТ 26020-83 | I40Ш1 | I50Ш2 |



1. ур.г.р. - уровень головки рельса(по ГОСТ21.101-97).
2. В зданиях с мостовыми кранами вертикальные связи принятыжесткие диагональные, при использовании кранов грузоподъемностью 5т с режимамиработы 1К-5К допускаются крестовые гибкие вертикальные связи из круглой сталиС255 Ø24 мм.Усилие натяжения гибких связей - 3.0 тс.
3. Сортамент связей и распорок см. докум. -022.

• Н - отметка низа ригеля
• Нк- отметка низа балки подвесных путей
• Нс- ширина крайней стойки по наружным граням
ПАРАМЕТРЫПОДВЕСНЫХ КРАНОВ
| Пролет рамы L, м | Количество пролетов рамы | Грузоподъемность крана, т | Пролет крана Lкр, м | Длина консоли крана Lк, m | Примечание |
| 12 | 1 | 1; 3.2; 5 | 6 | 0.6; 0.9; |
|
| 1 | 1; 3.2; 5 | 9 | 0.6 |
| |
| 2 | 1; 3.2; 5 | 6 | 0.6; 0.9 |
| |
| 2 | 1; 3.2; 5 | 9 | 0.6 (при Нс=900 мм) |
| |
| 0.9 (при Нс=240 мм) |
| ||||
| 18 | 1 | 1; 3.2; 5 | 12 | 0.6; 0.9; 1.2; 1.5 |
|
| 1 | 1; 3.2; 5 | 15 | 0.6 |
| |
| 2 | 1; 3.2; 5 | 12 | 0.6; 0.9; 1.2; 1.5 |
| |
| 2 | 1; 3.2; 5 | 15 | 0.6 (при Нс=900 мм) |
| |
| 0.9 (при Нс=240 мм) |
|
1. Запрещается использовать краны спролетами, отличными от указанных в таблице, для соответствующих пролетов рам.
2. Схемы размещения и сортамент подвесных путей, сортаментэлементов крепления подвесных путей на фахверке и данные для узлов их крепленияопределяется по выпуску 0-1 настоящей серии.
3. Варианты "а" и "б" отличаютсяподвеской кранов:
- вариант "а" - подвеска подкрановых путей вкрайних узлах нижнего пояса ригеля, для кранов пролетом 9 и 15 м;
- вариант "б" - подвеска подкрановых путейпосередине первой панели нижнего пояса ригеля, для кранов пролетом 6 и 12 м.
СОРТАМЕНТЭЛЕМЕНТОВ РАМ
1. Сортамент элементов рам содержит сортаменты крайних,средних стоек рам и ригелей рам. Элементы рам выполнены из гнутосварных труб поГОСТ30245-2003.
2. Категория стали элементов рамназначается по таблице в зависимости от климатического района строительства.
| Климатические районы | Расчетная температура района строительства, °С | Сталь |
| II4, II5 | -30°С>t≥-40°С | С345-3 |
| I2, II2 и II3 | -40°С>t≥-50°С | С345-3 |
| I1 | -50°С>t≥-65°С | С345-4 |
3. Подбор сечений крайних и среднихстоек рам производится по сортаменту в зависимости от кода вертикальнойнагрузки, кода крановой нагрузки, модификации рамы, высоты стоек
и пролета рам.
4. Подбор сечений ригелей рам производится по сортаменту взависимости от кода вертикальной нагрузки, кода крановой нагрузки и пролетарамы.
В настоящем выпуске приводится 2 варианта ("а" и"б") ригелей рам для зданий с подвесными кранами, которые отличаютсядруг от друга пролетом подвески крана при всех прочих равных условиях. Схемыподвески кранов см. документ -028.
Вариант "а" -для зданий пролетом 12 м с краном пролетом Lкр=9м;
-для зданий пролетом 18 м с краном пролетом Lкр=15м.
Вариант "б" -для зданий пролетом 12 м с краном пролетом Lкр=6м;
-для зданий пролетом 18 м с краном пролетом Lкр=12м.
Буквы "а" и "б" введены в маркировкуригелей.
5. В случае, когда двухпролетное здание в соседних пролетахоборудовано различными кранами (мостовой и подвесной) или кранами одного типа,но различной грузоподъемности, при выборе конструкций необходиморуководствоваться следующим:
- средние стойки выбираются по сортаментам для максимальнойкрановой нагрузки, действующей в одном из пролетов;
- крайние стойки и ригели присоответствующем обосновании допускается выбирать по сортаментам для крановойнагрузки, принадлежащей данному пролету.
| Ориентация сечений элементов рам При выборе сечений стоек рам необходимо знать их ориентацию. Во всех сортаментах запись 100×200×6 соответствует b×h×t, где b - размер в плоскости рамы, мм; h - размер из плоскости рамы, мм; t - толщина трубы, мм. Запись 100×6 соответствует b×t, где b=h. |
На маркировочных схемах элементов рам приведена разбивка рамна отправочные элементы, которым присвоены начальные коды марок элементов.Начальные коды стоек: 4К1, 4К2, 5К1, 5К2. Начальные коды элементов ригелей:4*Р1, 4*Р2, 5*Р1, 5*Р2. Вторая цифра в коде элементов определяет место элементав конкретной раме. Значок * (звездочка) обозначает тип решетки ригеля (см.марку элемента ригеля). Полная марка элемента получается добавлением кначальному коду факторов, влияющих на сечение элемента. Для удобствапользования в сортаментах применяются сокращенные марки стоек рам и элементовригеля.
Марка стойки

Пример:
5 К1.2х180.60-II-1 - крайняя стойка К1 рамы модификации 5 для двухпролетнойрамы пролетом L=2x18 м, высотой до низа ригеляН=6.0 м, код вертикальной нагрузки - II и код крановой нагрузки - 1 .
Сокращенная марка стойки

Марка ригеля

Примечание:Ригели рам модификации 4 могут выполняться в 3-х вариантах:
- без буквенного индекса - длязданий без кранового оборудования;
- с буквой "а" - длязданий с подвесным краном пролетом 9 и 15 м;
- с буквой "б" - длязданий с подвесным краном пролетом 6 и 12 м.
Пример: 41P1a.2×180-V-2 - ригель Р1 двухпролетнойрамы пролетом L=2×18 м, модификации4 с решеткой первого типа (для шага прогонов 3 м), исполнения "а"(для крана пролетом 15 м) при коде вертикальной нагрузки-V, коде крановой нагрузки - 2.
Сокращенная марка ригеля


Отметку H1 определить по табл. 8 докум. -ПЗ лист 6 взависимости от грузоподъемности крана.

1, Крайние стойки двухпролетных рамдо отметки Н=9.6 м включительно - одноветвевые. С отметки 10.8 м -двухветвевые. Монтажный стык по средней стойке К2 выполняется при отметке низаригеля - 10.8 м.
2. Отметку H1 в зависимости отгрузоподъемности крана определить по табл. 8 докум. -ПЗ лист 6.
4К1.120.60-*4К1.180.60-*
4К1.120.72-*4К1.180.72-*
4К1.120.84-*4К1.180.84-*
4К1.120.96-*4К1.180.96-*

СОРТАМЕНТ СТОЕК ОДНОПРОЛЕТНЫХ РАМ
4РТО120.60-*, 4РТО120.72-*,
4РТО120.84-*,4РТО120.96-*
| Код вертикал, нагрузки | Код крановой нагрузки | Гнутосварные трубы, b×h×t, мм | Листовая сталь t, мм | |||
| Номер позиции | ||||||
| 1 | 2 | 3 |
|
| ||
| III-V | 0 | 140×5 | 80×4 | 12 |
|
|
| 1 | 140×5 | 80×4 | 12 |
|
| |
| 2 | 140×5 | 80×4 | 12 |
|
| |
| 3 | 120×160×5 | 80×4 | 12 |
|
| |
| 4 | 120×160×5 | 80×4 | 12 |
|
| |
СОРТАМЕНТ СТОЕК ОДНОПРОЛЕТНЫХ РАМ
4РТО180.60-*, 4РТО180.72-*,
4РТО180.84-*,4РТО180.96-*
| Код вертикал, нагрузки | Код крановой нагрузки | Гнутосварные трубы, b×h×t, мм | Листовая сталь t, мм | |||
| Номер позиции | ||||||
| 1 | 2 | 3 |
|
| ||
| III-V | 0 | 140×5 | 80×4 | 12 |
|
|
| 1 | 140×5 | 80×4 | 12 |
|
| |
| 2 | 120×160×5 | 80×4 | 12 |
|
| |
| 3 | 120×160×5 | 80×4 | 12 |
|
| |
| 4 | 120×160×5 | 80×4 | 12 |
|
| |
4К1.120.108-*4К1.120.132-*
4К1.120.120-*4К1.120.144-*
4K1.2×l20.108-* 4K1.2×l20.132-*
4К1.2×120.120-* 4К1.2×120.144-*
4К1.180.108-*4К1.180.132-*
4К1.180.120-*4К1.180.144-*
4К1.2×180.108-* 4K1.2×180.132-*
4К1.2×180.120-* 4К1.2×180.144-*

СОРТАМЕНТ КРАЙНИХ СТОЕК РАМ
4РТО120.108-*, 4РТМ2×120.108-*,
4РТО120.120-*, 4РТМ2×120.120-*
| Код вертикал, нагрузки | Код крановой нагрузки | Гнутосварные трубы, b×h×t, мм | Листовая сталь t, мм | |||
| Номер позиции | ||||||
| 1 | 2 | 3 |
|
| ||
| III-V | 0 | 140×5 | 80×4 | 12 |
|
|
| 1 | 140×5 | 80×4 | 12 |
|
| |
| 2 | 140×5 | 80×4 | 12 |
|
| |
| 3 | 120×160×5 | 80×4 | 12 |
|
| |
| 4 | 120×160×5 | 80×4 | 12 |
|
| |
СОРТАМЕНТ КРАЙНИХ СТОЕК РАМ
4РТО180.108-*, 4РТМ2×180.108-*,
4РТО180.120-*. 4РТМ2×180.120-*
| Код вертикал, нагрузки | Код крановой нагрузки | Гнутосварные трубы, b×h×t, мм | Листовая стань t, мм | |||
| Номер позиции | ||||||
| 1 | 2 | 3 |
|
| ||
| III-V | 0 | 140×5 | 80×4 | 12 |
|
|
| 1 | 140×5 | 80×4 | 12 |
|
| |
| 2 | 120×160×5 | 80×4 | 12 |
|
| |
| 3 | 120×160×5 | 80×4 | 12 |
|
| |
| 4 | 120×160×5 | 80×4 | 12 |
|
| |
СОРТАМЕНТ КРАЙНИХ СТОЕК РАМ
4РТО120.132-*, 4РТМ2×120.132-*,
4РТО120.144-*, 4РТМ2×120.144-*
| Код вертикал, нагрузки | Код крановой нагрузки | Гнутосварные трубы, b×h×t, мм | Листовая сталь t, мм | |||
| Номер позиции | ||||||
| 1 | 2 | 3 |
|
| ||
| III-V | 0 | 120×160×5 | 80×4 | 12 |
|
|
| 1 | 120×160×5 | 80×4 | 12 |
|
| |
| 2 | 120×160×5 | 80×4 | 12 |
|
| |
| 3 | 140×160×5 | 80×4 | 12 |
|
| |
| 4 | 140×180×5 | 100×4 | 12 |
|
| |
СОРТАМЕНТ КРАЙНИХ СТОЕК РАМ
4РТО180.132-*, 4РТМ2×180.132-*,
4РТО180.144-* 4РТМ2×180.144-*
| Код вертикал, нагрузки | Код крановой нагрузки | Гнутосварные трубы, b×h×t, мм | Листовая сталь t, мм | |||
| Номер позиции | ||||||
| 1 | 2 | 3 |
|
| ||
| III-V | 0 | 120×160×5 | 80×4 | 12 |
|
|
| 1 | 140×160×5 | 80×4 | 12 |
|
| |
| 2 | 160×5 | 80×4 | 12 |
|
| |
| 3 | 160×5 | 80×4 | 12 |
|
| |
| 4 | 140×180×5 | 100×4 | 12 |
|
| |
4К1.2×120.60-*
4К1.2×120.72-*
4К1.2×180.60-*
4К1.2×180.72-*
4К1.2×120.84-*
4К1.2×120.96-*
4К1.2×180.84-*
4К1.2×180.96-*

СОРТАМЕНТ КРАЙНИХ СТОЕК ДВУХПРОЛЕТНЫХ РАМ
4РТМ2×120.60-* 4РТМ2×120.72-*
| Код вертикал, нагрузки | Код крановой нагрузки | Гнутосварные трубы, b×h×t, мм | Листовая сталь t, мм | ||
| Номер позиции | |||||
| 1 | 2 |
|
| ||
| III-V | 0 | 200×160×6 | 12 |
|
|
| 1 | 200×160×6 | 12 |
|
| |
| 2 | 200×160×6 | 12 |
|
| |
| 3 | 200×160×6 | 12 |
|
| |
| 4 | 200×160×6 | 12 |
|
| |
СОРТАМЕНТ КРАЙНИХ СТОЕК ДВУХПРОЛЕТНЫХ РАМ
4РТМ2×180.60-* 4РТМ2×180.72-*
| Код вертикал, нагрузки | Код крановой нагрузки | Гнутосварные трубы, b×h×t, мм | Листовая сталь t, мм | ||
| Номер позиции | |||||
| 1 | 2 |
|
| ||
| III-V | 0 | 200×160×6 | 12 |
|
|
| 1 | 200×160×6 | 12 |
|
| |
| 2 | 240×160×6 | 12 |
|
| |
| 3 | 240×160×6 | 12 |
|
| |
| 4 | 240×160×6 | 12 |
|
| |
СОРТАМЕНТ КРАЙНИХ СТОЕК ДВУХПРОЛЕТНЫХ РАМ
4РТМ2×120.84-* 4PTM2×120.96-*
| Код вертикал, нагрузки | Код крановой нагрузки | Гнутосварные трубы, b×h×t, мм | Листовая сталь t, мм | ||
| Номер позиции | |||||
| 1 | 2 |
|
| ||
| III-V | 0 | 240×160×6 | 12 |
|
|
| 1 | 240×160×6 | 12 |
|
| |
| 2 | 240×160×6 | 12 |
|
| |
| 3 | 240×160×6 | 12 |
|
| |
| 4 | 240×160×8 | 12 |
|
| |
СОРТАМЕНТ КРАЙНИХ СТОЕК ДВУХПРОЛЕТНЫХ РАМ
4РТМ2×180.84-* 4РТМ2×180.96-*
| Код вертикал, нагрузки | Код крановой нагрузки | Гнутосварные трубы, b×h×t, мм | Листовая сталь t, мм | ||
| Номер позиции | |||||
| 1 | 2 |
|
| ||
| III-V | 0 | 240×160×6 | 12 |
|
|
| 1 | 240×160×8 | 12 |
|
| |
| 2 | 240×160×8 | 12 |
|
| |
| 3 | 240×160×8 | 12 |
|
| |
| 4 | 240×160×8 | 12 |
|
| |
4К2.2×120.60-*
4K2.2×120.72-*
4К2.2×180.60-*
4K2.2×180.72-*

СОРТАМЕНТ СРЕДНИХ СТОЕК ДВУХПРОЛЕТНЫХ РАМ
4РТМ2×120.60-* 4РТМ2×120.72-*
| Код вертикал нагрузки | Код крановой нагрузки | Гнутосварные трубы, b×h×t, мм | Листовая сталь t, мм | |||
| Номер позиции | ||||||
| 1 | 2 | 3 |
|
| ||
| III | 0 | 140×5 | 80×4 | 12 |
|
|
| 1 | 140×5 | 80×4 | 12 |
|
| |
| 2 | 140×5 | 80×4 | 12 |
|
| |
| 3 | 160×5 | 80×4 | 12 |
|
| |
| 4 | 160×5 | 80×4 | 12 |
|
| |
| IV-V | 0 | 140×5 | 80×4 | 12 |
|
|
| 1 | 140×5 | 80×4 | 12 |
|
| |
| 2 | 140×5 | 80×4 | 12 |
|
| |
| 3 | 160×5 | 80×4 | 12 |
|
| |
| 4 | 160×5 | 80×4 | 12 |
|
| |
СОРТАМЕНТ СРЕДНИХ СТОЕК ДВУХПРОЛЕТНЫХ РАМ
4РТМ2×180.60-* 4PTM2×180.72-*
| Код вертикал, нагрузки | Код крановой нагрузки | Гнутосварные трубы, b×h×t, мм | Листовая сталь t, мм | |||
| Номер позиции | ||||||
| 1 | 2 | 3 |
|
| ||
| III | 0 | 140×5 | 80×4 | 12 |
|
|
| 1 | 120×160×5 | 80×4 | 12 |
|
| |
| 2 | 120×160×5 | 80×4 | 12 |
|
| |
| 3 | 140×160×5 | 80×4 | 12 |
|
| |
| 4 | 180×5 | 100×4 | 12 |
|
| |
| IV-V | 0 | 120×160×5 | 80×4 | 12 |
|
|
| 1 | 120×160×5 | 80×4 | 12 |
|
| |
| 2 | 140×160×5 | 80×4 | 12 |
|
| |
| 3 | 140×180×5 | 100×4 | 12 |
|
| |
| 4 | 180×5 | 100×4 | 12 |
|
| |
4K2.2×120.84-* 4K2.2×120.96-*
4K2.2×180.84-* 4К2.2×180.96-*

СОРТАМЕНТ СРЕДНИХ СТОЕК ДВУХПРОЛЕТНЬК РАМ
4РТМ2×120.84-* 4РТМ2×120.96-*
| Код вертикал нагрузки | Код крановой нагрузки | Гнутосварные трубы, b×h×t, мм | Листовая сталь t, мм | |||
| Номер позиции | ||||||
| 1 | 2 | 3 |
|
| ||
| III | 0 | 160×5 | 80×4 | 12 |
|
|
| 1 | 160×5 | 80×4 | 12 |
|
| |
| 2 | 140×180×5 | 100×4 | 12 |
|
| |
| 3 | 180×5 | 100×4 | 12 |
|
| |
| 4 | 180×6 | 100×4 | 12 |
|
| |
| IV-V | 0 | 160×5 | 80×4 | 12 |
|
|
| 1 | 140×180×5 | 100×4 | 12 |
|
| |
| 2 | 140×180×5 | 100×4 | 12 |
|
| |
| 3 | 180×6 | 100×4 | 12 |
|
| |
| 4 | 180×6 | 100×4 | 12 |
|
| |
СОРТАМЕНТ СРЕДНИХ СТОЕК ДВУХПРОЛЕТНЫХ РАМ
4РТМ2×180.84-* 4РТМ2×180.96-*
| Код вертикал нагрузки | Код крановой нагрузки | Гнутосварные трубы, b×h×t, мм | Листовая сталь t, мм | |||
| Номер позиции | ||||||
| 1 | 2 | 3 |
|
| ||
| III | 0 | 140×5 | 80×4 | 12 |
|
|
| 1 | 120×160×5 | 80×4 | 12 |
|
| |
| 2 | 120×160×5 | 80×4 | 12 |
|
| |
| 3 | 140×160×5 | 80×4 | 12 |
|
| |
| 4 | 100×200×6 | 100×4 | 12 |
|
| |
| IV-V | 0 | 120×160×5 | 80×4 | 12 |
|
|
| 1 | 120×160×5 | 80×4 | 12 |
|
| |
| 2 | 140×160×5 | 80×4 | 12 |
|
| |
| 3 | 100×200×6 | 100×4 | 12 |
|
| |
| 4 | 100×200×6 | 100×4 | 12 |
|
| |
4K2.2×120.108-* 4К2.2×120.120-*
4K2.2×180.108-* 4K2.2×180.120-*

СОРТАМЕНТ СРЕДНИХ СТОЕК ДВУХПРОЛЕТНЬЕК РАМ
4РТМ2×120.108* 4РТМ2×120.120-*
| Код вертикал нагрузки | Код крановой нагрузки | Гнутосварные трубы, b×h×t, мм | Листовая сталь t, мм | |||
| Номер позиции | ||||||
| 1 | 2 | 3 |
|
| ||
| III | 0 | 140×5 | 80×4 | 12 |
|
|
| 1 | 140×5 | 80×4 | 12 |
|
| |
| 2 | 140×5 | 80×4 | 12 |
|
| |
| 3 | 120×160×5 | 80×4 | 12 |
|
| |
| 4 | 120×160×5 | 80×4 | 12 |
|
| |
| IV-V | 0 | 140×5 | 80×4 | 12 |
|
|
| 1 | 140×5 | 80×4 | 12 |
|
| |
| 2 | 140×5 | 80×4 | 12 |
|
| |
| 3 | 120×160×5 | 80×4 | 12 |
|
| |
| 4 | 120×160×5 | 80×4 | 12 |
|
| |
СОРТАМЕНТ СРЕДНИХ СТОЕК ДВУХПРОЛЕТНЬК РАМ
РТМ2×180.108-* 4РТМ2×180.120-*
| Код вертикал. нагрузки | Код крановой нагрузки | Гнутосварные трубы, b×h×t, мм | Листовая сталь t, мм | |||
| Номер позиции | ||||||
| 1 | 2 | 3 |
|
| ||
| III | 0 | 140×5 | 80×4 | 12 |
|
|
| 1 | 120×160×5 | 80×4 | 12 |
|
| |
| 2 | 120×160×5 | 80×4 | 12 |
|
| |
| 3 | 120×160×5 | 80×4 | 12 |
|
| |
| 4 | 120×160×5 | 80×4 | 12 |
|
| |
| IV-V | 0 | 120×160×5 | 80×4 | 12 |
|
|
| 1 | 120×160×5 | 80×4 | 12 |
|
| |
| 2 | 120×160×5 | 80×4 | 12 |
|
| |
| 3 | 140×160×5 | 80×4 | 12 |
|
| |
| 4 | 160×5 | 80×4 | 12 |
|
| |
4K2.2×120.132-*
4K2.2×120.144-*
4K2.2×180.132-*
4K2.2×180.144-*

СОРТАМЕНТ СРЕДНИХ СТОЕК ДВУХПРОЛЕТНЬЕК РАМ
4РТМ2×120.132-* 4РТМ2×120.144-*
| Код вертикал нагрузки | Код крановой нагрузки | Гнутосварные трубы, b×h×t, мм | Листовая сталь t, мм | |||
| Номер позиции | ||||||
| 1 | 2 | 3 |
|
| ||
| III | 0 | 140×5 | 80×4 | 12 |
|
|
| 1 | 120×160×5 | 80×4 | 12 |
|
| |
| 2 | 120×160×5 | 80×4 | 12 |
|
| |
| 3 | 140×160×5 | 80×4 | 12 |
|
| |
| 4 | 160×5 | 80×4 | 12 |
|
| |
| IV-V | 0 | 140×5 | 80×4 | 12 |
|
|
| 1 | 120×160×5 | 80×4 | 12 |
|
| |
| 2 | 140×160×5 | 80×4 | 12 |
|
| |
| 3 | 160×5 | 80×4 | 12 |
|
| |
| 4 | 140×180×5 | 100×4 | 12 |
|
| |
СОРТАМЕНТ СРЕДНИХ СТОЕК ДВУХПРОЛЕТНЫХ РАМ
4РТМ2×180.132-* 4РТМ2×180.144-*
| Код вертикал нагрузки | Код крановой нагрузки | Гнутосварные трубы, b×h×t, мм | Листовая сталь t, мм | |||
| Номер позиции | ||||||
| 1 | 2 | 3 |
|
| ||
| III | 0 | 140×5 | 80×4 | 12 |
|
|
| 1 | 140×5 | 80×4 | 12 |
|
| |
| 2 | 120×160×5 | 80×4 | 12 |
|
| |
| 3 | 120×160×5 | 80×4 | 12 |
|
| |
| 4 | 120×160×5 | 80×4 | 12 |
|
| |
| IV-V | 0 | 120×160×5 | 80×4 | 12 |
|
|
| 1 | 120×160×5 | 80×4 | 12 |
|
| |
| 2 | 120×160×5 | 80×4 | 12 |
|
| |
| 3 | 140×160×5 | 80×4 | 12 |
|
| |
| 4 | 160×5 | 80×4 | 12 |
|
| |
5K1.120-84-*
5К1.120-96-*
5К1.180-84-*
5К1.180-96-*
5K1.2×120.84-*
5K1.2×120.96-*
5К1.2×180.84-*
5K1.2×180.96-*

СОРТАМЕНТ КРАЙНИХ СТОЕК РАМ
5РТО120.84-*, 5РТО120.96-*,
5РТМ2×120.84-*, 5PTM2×120.96-*
| Код вертикал. нагрузки | Код крановой нагрузки | Гнутосварные трубы, b×h×t, мм | Листовая сталь t, мм | |||
| Номер позиции | ||||||
| 1 | 2 | 3 |
|
| ||
| III | 1 | 140×180×5 | 100×4 | 12 |
|
|
| 2 | 140×180×5 | 100×4 | 12 |
|
| |
| 3 | 160×200×5 | 100×4 | 12 |
|
| |
| 4 | 200×6 | 100×4 | 12 |
|
| |
| IV | 1 | 140×180×5 | 100×4 | 12 |
|
|
| 2 | 180×5 | 100×4 | 12 |
|
| |
| 3 | 160×200×5 | 100×4 | 12 |
|
| |
| 4 | 200×6 | 100×4 | 12 |
|
| |
| V | 1 | 140×180×5 | 100×4 | 12 |
|
|
| 2 | 180×5 | 100×4 | 12 |
|
| |
| 3 | 160×200×5 | 100×4 | 12 |
|
| |
| 4 | 200×6 | 100×4 | 12 |
|
| |
СОРТАМЕНТ КРАЙНИХ СТОЕК РАМ
5РТО180.84-*, 5РТО180.96-*,
5РТМ2×180.84-*, 5РТМ2×180.96-*
| Код вертикал, нагрузки | Код крановой нагрузки | Гнутосварные трубы, b х h × t, мм | Листовая сталь t, мм | |||
| Номер позиции | ||||||
| 1 | 2 | 3 |
|
| ||
| III | 1 | 100×200×6 | 100×4 | 12 |
|
|
| 2 | 100×200×6 | 100×4 | 12 |
|
| |
| 3 | 160×200×5 | 100×4 | 12 |
|
| |
| 4 | 200×6 | 100×4 | 12 |
|
| |
| IV | 1 | 100×200×6 | 100×4 | 12 |
|
|
| 2 | 160×200×5 | 100×4 | 12 |
|
| |
| 3 | 160×200×5 | 100×4 | 12 |
|
| |
| 4 | 200×6 | 100×4 | 12 |
|
| |
| V | 1 | 100×200×6 | 100×4 | 12 |
|
|
| 2 | 160×200×5 | 100×4 | 12 |
|
| |
| 3 | 200×6 | 100×4 | 12 |
|
| |
| 4 | 200×6 | 100×4 | 12 |
|
| |
Независимо от нагрузок: поз. 4 - □140×5;
поз.5 - □80×4.
5К1.120.108-*5Kl.2×120.108-*
5К1.120.120-*5К1.2×120.120-*
5К1.180.108-* 5Kl.2×180.108-*
5К1.180.120-*5Kl.2×180.120-*

СОРТАМЕНТ КРАЙНИХ СТОЕК РАМ
5РТО120.108-*, 5РТО120.120-*,
5РТМ2×120.108-*, 5РТМ2×120.120-*
| Код вертикал нагрузки | Код крановой нагрузки | Гнутосварные трубы, b×h×t, мм | Листовая сталь t, мм | |||
| Номер позиции | ||||||
| 1 | 2 | 3 |
|
| ||
| III | 1 | 120×160×5 | 80×4 | 12 |
|
|
| 2 | 120×160×5 | 80×4 | 12 |
|
| |
| 3 | 160×5 | 80×4 | 12 |
|
| |
| 4 | 180×5 | 100×4 | 12 |
|
| |
| IV | 1 | 120×160×5 | 80×4 | 12 |
|
|
| 2 | 120×160×5 | 80×4 | 12 |
|
| |
| 3 | 160×5 | 80×4 | 12 |
|
| |
| 4 | 180×5 | 100×4 | 12 |
|
| |
| V | 1 | 120×160×5 | 80×4 | 12 |
|
|
| 2 | 120×160×5 | 80×4 | 12 |
|
| |
| 3 | 160×5 | 80×4 | 12 |
|
| |
| 4 | 180×5 | 100×4 | 12 |
|
| |
СОРТАМЕНТ КРАЙНИХ СТОЕК РАМ
5РТО180.108-*, 5РТО180.120-*,
5РТМ2×180.108-*, 5РТМ2×180.120-*
| Код вертикал нагрузки | Код крановой нагрузки | Гнутосварные трубы, b×h×t, мм | Листовая сталь t, мм | |||
| Номер позиции | ||||||
| 1 | 2 | 3 |
|
| ||
| III | 1 | 120×160×5 | 80×4 | 12 |
|
|
| 2 | 120×160×5 | 80×4 | 12 |
|
| |
| 3 | 140×180×5 | 100×4 | 12 |
|
| |
| 4 | 160×200×5 | 100×4 | 12 |
|
| |
|
| 1 | 120×160×5 | 80×4 | 12 |
|
|
| 2 | 120×160×5 | 80×4 | 12 |
|
| |
| 3 | 140×180×5 | 100×4 | 12 |
|
| |
| 4 | 160×200×5 | 100×4 | 12 |
|
| |
| V | 1 | 120×160×5 | 80×4 | 12 |
|
|
| 2 | 140×160×5 | 80×4 | 12 |
|
| |
| 3 | 140×180×5 | 100×4 | 12 |
|
| |
| 4 | 160×200×5 | 100×4 | 12 |
|
| |
Независимо от нагрузок: поз. 4 - □140×5;
поз.5 - □80×4.
5К1.120.132-*
5К1.120.144-*
5К1.180.132-*
5К1.180.144-*
5K1.2×120.132-*
5K1.2×120.144-*
5К1.2×180.132-*
5К1.2×180.144-*

СОРТАМЕНТ КРАЙНИХ СТОЕК РАМ
5РТО120.132-*, 5РТО120.144-*,
5РТМ2×120.132-*, 5РТМ2×120.144-*
| Код вертикал. нагрузки | Код крановой нагрузки | Гнутосварные трубы, b×h×t, мм | Листовая сталь t, мм | |||
| Номер позиции | ||||||
| 1 | 2 | 3 |
|
| ||
| III | 1 | 120×160×5 | 80×4 | 12 |
|
|
| 2 | 120×160×5 | 80×4 | 12 |
|
| |
| 3 | 140×180×5 | 100×4 | 12 |
|
| |
| 4 | 180×6 | 100×4 | 12 |
|
| |
| IV | 1 | 120×160×5 | 80×4 | 12 |
|
|
| 2 | 120×160×5 | 80×4 | 12 |
|
| |
| 3 | 140×180×5 | 100×4 | 12 |
|
| |
| 4 | 180×6 | 100×4 | 12 |
|
| |
| V | 1 | 120×160×5 | 80×4 | 12 |
|
|
| 2 | 140×160×5 | 80×4 | 12 |
|
| |
| 3 | 140×180×5 | 100×4 | 12 |
|
| |
| 4 | 180×6 | 100×4 | 12 |
|
| |
СОРТАМЕНТ КРАЙНИХ СТОЕК РАМ
5РТО180.132-*, 5РТО180.144-*,
5РТМ2×180.132-*, 5РТМ2×180.144-*
| Код вертикал. нагрузки | Код крановой нагрузки | Гнутосварные трубы, b×h×t, мм | Листовая сталь t, мм | |||
| Номер позиции | ||||||
| 1 | 2 | 3 |
|
| ||
| III | 1 | 120×160×5 | 80×4 | 12 |
|
|
| 2 | 120×160×5 | 80×4 | 12 |
|
| |
| 3 | 100×200×6 | 100×4 | 12 |
|
| |
| 4 | 160×200×5 | 100×4 | 12 |
|
| |
| IV | 1 | 120×160×5 | 80×4 | 12 |
|
|
| 2 | 140×160×5 | 80×4 | 12 |
|
| |
| 3 | 100×200×6 | 100×4 | 12 |
|
| |
| 4 | 200×6 | 100×4 | 12 |
|
| |
| V | 1 | 120×160×5 | 80×4 | 12 |
|
|
| 2 | 140×160×5 | 80×4 | 12 |
|
| |
| 3 | 160×200×5 | 100×4 | 12 |
|
| |
| 4 | 200×6 | 100×4 | 12 |
|
| |
Независимо от нагрузок: поз. 4 - □140×5;
поз.5 - □80×4.
5K2.2×120.84-*
5К2.2×120.96-*
5К2.2×180.84-*
5K2.2×180.96-*

СОРТАМЕНТСРЕДНИХ СТОЕК ДВУХПРОЛЕТНЬЕК РАМ
5РТМ2×120.84-* 5РТМ2×120.96-*
| Код вертикал нагрузки | Код крановой нагрузки | Гнутосварные трубы, b×h×t, мм | Листовая сталь t, мм | |||
| Номер позиции | ||||||
| 1 | 2 | 3 |
|
| ||
| III | 1 | 140×180×5 | 100×4 | 12 |
|
|
| 2 | 180×5 | 100×4 | 12 |
|
| |
| 3 | 200×6 | 100×4 | 12 |
|
| |
| 4 | 200×8 | 100×4 | 12 |
|
| |
| IV | 1 | 140×180×5 | 100×4 | 12 |
|
|
| 2 | 180×5 | 100×4 | 12 |
|
| |
| 3 | 200×6 | 100×4 | 12 |
|
| |
| 4 | 200×8 | 100×4 | 12 |
|
| |
| V | 1 | 140×180×5 | 100×4 | 12 |
|
|
| 2 | 160×200×5 | 100×4 | 12 |
|
| |
| 3 | 200×6 | 100×4 | 12 |
|
| |
| 4 | 200×8 | 100×4 | 12 |
|
| |
СОРТАМЕНТСРЕДНИХ СТОЕК ДВУХПРОЛЕТНЫХ РАМ
5РТМ2×180.84-* 5РТМ2×180.96-*
| Код вертикал нагрузки | Код крановой нагрузки | Гнутосварные трубы, b×h×t, мм | Листовая сталь t, мм | |||
| Номер позиции | ||||||
| 1 | 2 | 3 |
|
| ||
| III | 1 | 140×180×5 | 100×4 | 12 |
|
|
| 2 | 160×200×5 | 100×4 | 12 |
|
| |
| 3 | 200×6 | 100×4 | 12 |
|
| |
| 4 | 200×8 | 100×4 | 12 |
|
| |
| IV | 1 | 180×5 | 100×4 | 12 |
|
|
| 2 | 160×200×5 | 100×4 | 12 |
|
| |
| 3 | 200×6 | 100×4 | 12 |
|
| |
| 4 | 200×8 | 100×4 | 12 |
|
| |
| V | 1 | 180×5 | 100×4 | 12 |
|
|
| 2 | 200×6 | 100×4 | 12 |
|
| |
| 3 | 200×6 | 100×4 | 12 |
|
| |
| 4 | 200×8 | 100×4 | 12 |
|
| |
5K2.2×120.108-*
5K2.2×120.120-*
5K2.2×180.108-*
5K2.2×180.120-*

СОРТАМЕНТ СРЕДНИХ СТОЕК ДВУХПРОЛЕТНЫХ РАМ
5РТМ2×120.108-* 5РТМ2×120.120-*
| Код вертикал нагрузки | Код крановой нагрузки | Гнутосварные трубы, b×h×t, мм | Листовая сталь t, мм | |||
| Номер позиции | ||||||
| 1 | 2 | 3 |
|
| ||
| III | 1 | 140×5 | 80×4 | 12 |
|
|
| 2 | 160×5 | 80×4 | 12 |
|
| |
| 3 | 180×5 | 100×4 | 12 |
|
| |
| 4 | 200×6 | 100×4 | 12 |
|
| |
| IV | 1 | 140×5 | 80×4 | 12 |
|
|
| 2 | 160×5 | 80×4 | 12 |
|
| |
| 3 | 180×5 | 100×4 | 12 |
|
| |
| 4 | 200×6 | 100×4 | 12 |
|
| |
| V | 1 | 140×5 | 80×4 | 12 |
|
|
| 2 | 160×5 | 80×4 | 12 |
|
| |
| 3 | 180×5 | 100×4 | 12 |
|
| |
| 4 | 200×6 | 100×4 | 12 |
|
| |
СОРТАМЕНТ СРЕДНИХ СТОЕК ДВУХПРОЛЕТНЫХ РАМ
5РТМ2×180.108-* 5РТМ2×180.120-*
| Код вертикал нагрузки | Код крановой нагрузки | Гнутосварные трубы, b×h×t, мм | Листовая сталь t, мм | |||
| Номер позиции | ||||||
| 1 | 2 | 3 |
|
| ||
| III | 1 | 120×160×5 | 80×4 | 12 |
|
|
| 2 | 140×160×5 | 80×4 | 12 |
|
| |
| 3 | 180×5 | 100×4 | 12 |
|
| |
| 4 | 200×6 | 100×4 | 12 |
|
| |
| IV | 1 | 120×160×5 | 80×4 | 12 |
|
|
| 2 | 160×5 | 80×4 | 12 |
|
| |
| 3 | 180×5 | 100×4 | 12 |
|
| |
| 4 | 200×6 | 100×4 | 12 |
|
| |
| V | 1 | 140×160×5 | 80×4 | 12 |
|
|
| 2 | 160×5 | 80×4 | 12 |
|
| |
| 3 | 160×200×6 | 100×4 | 12 |
|
| |
| 4 | 200×6 | 100×4 | 12 |
|
| |
5K2.2×120.132-*
5K2.2×120.144-*
5K2.2×180.132-*
5K2.2×180.144-*

СОРТАМЕНТ СРЕДНИХ СТОЕК ДВУХПРОЛЕТНЫХ РАМ
5РТМ2×120.132-* 5РТМ2×120.144-*
| Код вертикал, нагрузки | Код крановой нагрузки | Гнутосварные трубы, b×h×t, мм | Листовая сталь t, мм | |||
| Номер позиции | ||||||
| 1 | 2 | 3 |
|
| ||
| III | 1 | 140×5 | 80×4 | 12 |
|
|
| 2 | 140×160×5 | 80×4 | 12 |
|
| |
| 3 | 120×200×6 | 100×4 | 12 |
|
| |
| 4 | 200×6 | 100×4 | 12 |
|
| |
| IV | 1 | 140×5 | 80×4 | 12 |
|
|
| 2 | 140×160×5 | 80×4 | 12 |
|
| |
| 3 | 120×200×6 | 100×4 | 12 |
|
| |
| 4 | 200×6 | 100×4 | 12 |
|
| |
| V | 1 | 140×5 | 80×4 | 12 |
|
|
| 2 | 140×160×5 | 80×4 | 12 |
|
| |
| 3 | 120×200×6 | 100×4 | 12 |
|
| |
| 4 | 200×8 | 100×4 | 12 |
|
| |
СОРТАМЕНТ СРЕДНИХ СТОЕК ДВУХПРОЛЕТНЫХ РАМ
5РТМ2×180.132-* 5РТМ2×180.144-*
| Код вертикал. нагрузки | Код крановой нагрузки | Гнутосварные трубы, b×h×t, мм | Листовая сталь t, мм | |||
| Номер позиции | ||||||
| 1 | 2 | 3 |
|
| ||
| III | 1 | 120×160×5 | 80×4 | 12 |
|
|
| 2 | 160×6 | 80×4 | 12 |
|
| |
| 3 | 200×6 | 100×4 | 12 |
|
| |
| 4 | 180×8 | 100×4 | 12 |
|
| |
| IV | 1 | 120×160×5 | 80×4 | 12 |
|
|
| 2 | 160×6 | 80×4 | 12 |
|
| |
| 3 | 200×6 | 100×4 | 12 |
|
| |
| 4 | 180×8 | 100×4 | 12 |
|
| |
| V | 1 | 160×5 | 80×4 | 12 |
|
|
| 2 | 160×6 | 80×4 | 12 |
|
| |
| 3 | 200×6 | 100×4 | 12 |
|
| |
| 4 | 200×8 | 100×4 | 12 |
|
| |

СОРТАМЕНТ РИГЕЛЕЙ ОДНОПРОЛЕТНЫХ РАМ
4РТО120.*
| Код вертикал. нагрузки | Код крановой нагрузки | Гнутосварные трубы, b×h×t, мм | Листовая сталь t, мм | ||||
| Номер позиции | |||||||
| 1 | 2 | 3 | 4 | 5 |
| ||
| III | 0 | 120×5 | 120×4 | 80×4 | 12 | - |
|
| 1 | 120×5 | 120×4 | 80×4 | 12 | - |
| |
| 2 | 120×5 | 120×5 | 80×4 | 12 | - |
| |
| 3 | 140×5 | 120×5 | 80×4 | 12 | - |
| |
| 4 | 140×5 | 120×5 | 80×4 | 12 | - |
| |
| IV | 0 | 120×5 | 120×5 | 80×4 | 12 | - |
|
| 1 | 140×5 | 120×5 | 80×4 | 12 | - |
| |
| 2 | 140×5 | 120×5 | 80×4 | 12 | - |
| |
| 3 | 140×5 | 120×5 | 80×4 | 12 | - |
| |
| 4 | 140×5 | 120×5 | 80×4 | 12 | - |
| |
| V | 0 | 140×5 | 120×5 | 100×4 | 12 | - |
|
| 1 | 140×5 | 120×5 | 100×4 | 12 | - |
| |
| 2 | 140×5 | 120×5 | 100×4 | 12 | - |
| |
| 3 | 140×5 | 120×5 | 100×4 | 12 | - |
| |
| 4 | 140×5 | 120×5 | 100×4 | 12 | - |
| |
СОРТАМЕНТ РИГЕЛЕЙ ОДНОПРОЛЕТНЫХ РАМ
5РТО120.*
| Код вертикал. нагрузки | Код крановой нагрузки | Гнутосварные трубы, b×h×t, мм | Листовая сталь t, мм | ||||
| Номер позиции | |||||||
| 1 | 2 | 3 | 4 | 5 |
| ||
| III | 1-4 | 120×5 | 120×4 | 80×4 | 12 | - |
|
| IV | 1-4 | 120×5 | 120×5 | 80×4 | 12 | - |
|
| V | 1-4 | 140×5 | 120×5 | 100×4 | 12 | - |
|
1. Стойки, обозначенные на чертежепунктиром, добавляются в решетку ригеля для марок 42Р1.120* , 42Р1а.120* и52Р1.120* (для шага прогонов покрытия 1.5 м). Сечение стоек решетки принимаетсяпо поз. 3.
2. Вариант "а" для подвесного крана пролетом 15 м.Схему подвески крана см. докум. -028.

СОРТАМЕНТ РИГЕЛЕЙ ОДНОПРОЛЕТНЫХ РАМ
4РТО120.*
| Код вертикал. нагрузки | Код крановой нагрузки | Гнутосварные трубы, b×h×t, мм | Листовая сталь t, мм | ||||
| Номер позиции | |||||||
| 1 | 2 | 3 | 4 | 5 |
| ||
| III | 1 | 120×5 | 120×4 | 80×4 | 12 | - |
|
| 2 | 140×5 | 120×5 | 80×4 | 12 | - |
| |
| 3 | 140×5 | 120×5 | 80×4 | 12 | - |
| |
| 4 | 140×5 | 120×5 | 80×4 | 12 | - |
| |
| IV | 1 | 140×5 | 120×5 | 80×4 | 12 | - |
|
| 2 | 140×5 | 120×5 | 80×4 | 12 | - |
| |
| 3 | 140×5 | 120×5 | 80×4 | 12 | - |
| |
| 4 | 140×5 | 120×5 | 80×4 | 12 | - |
| |
| V | 1 | 140×5 | 120×5 | 100×4 | 12 | - |
|
| 2 | 140×5 | 120×5 | 100×4 | 12 | - |
| |
| 3 | 160×5 | 120×5 | 100×4 | 12 | - |
| |
| 4 | 160×5 | 120×5 | 100×4 | 12 | - |
| |
1. Стойки, обозначенные на чертеже пунктиром, добавляются врешетку ригеля для марок 42Р16.120* (для шага прогонов покрытия 1.5 м). Сечениестоек решетки принимается по поз. 3.
2. Вариант "б" для подвесного крана пролетом 6 м.Схему подвески крана см. докум. -028.

СОРТАМЕНТ РИГЕЛЕЙ ОДНОПРОЛЕТНЫХ РАМ
4РТО180.*
| Код вертикал. нагрузки | Код крановой нагрузки | Гнутосварные трубы, b×h×t, мм | Листовая сталь t, мм | ||||
| Номер позиции | |||||||
| 1 | 2 | 3 | 4 | 5 |
| ||
| III | 0 | 140×5 | 120×5 | 80×4 | 12 | 20 |
|
| 1 | 140×5 | 120×5 | 80×4 | 12 | 20 |
| |
| 2 | 140×5 | 120×5 | 80×4 | 12 | 20 |
| |
| 3 | 140×5 | 120×5 | 80×4 | 12 | 20 |
| |
| 4 | 140×6 | 120×5 | 80×4 | 12 | 20 |
| |
| IV | 0 | 160×5 | 140×5 | 100×4 | 12 | 20 |
|
| 1 | 160×5 | 140×5 | 100×4 | 12 | 20 |
| |
| 2 | 160×5 | 140×5 | 100×4 | 12 | 20 |
| |
| 3 | 160×5 | 140×5 | 100×4 | 12 | 20 |
| |
| 4 | 160×5 | 140×5 | 100×4 | 12 | 20 |
| |
| V | 0 | 160×5 | 160×5 | 100×4 | 12 | 25 |
|
| 1 | 160×6 | 160×5 | 100×4 | 12 | 25 |
| |
| 2 | 160×6 | 160×5 | 100×4 | 12 | 25 |
| |
| 3 | 160×6 | 160×5 | 100×4 | 12 | 25 |
| |
| 4 | 160×6 | 160×5 | 120×4 | 12 | 25 |
| |
СОРТАМЕНТ РИГЕЛЕЙ ОДНОПРОЛЕТНЫХ РАМ
5РТО180.*
| Код вертикал. нагрузки | Код крановой нагрузки | Гнутосварные трубы, b×h×t, мм | Листовая сталь t, мм | ||||
| Номер позиции | |||||||
| 1 | 2 | 3 | 4 | 5 |
| ||
| III | 1-4 | 140×5 | 120×5 | 80×4 | 12 | 20 |
|
| IV | 1-4 | 160×5 | 140×5 | 100×4 | 12 | 20 |
|
| V | 1-4 | 160×5 | 160×5 | 100×4 | 12 | 25 |
|
1. Стойки, обозначенные на чертеже пунктиром, добавляются врешетку ригеля для марок 42Р1.180* ,42Р1а.180* и 52Р1а.180* (для шага прогоновпокрытия 1.5 м). Сечение стоек решетки принимается по поз. 3.
2. Вариант "а" для подвесного крана пролетом 15 м.Схему подвески крана см. докум. -028.

СОРТАМЕНТ РИГЕЛЕЙ ОДНОПРОЛЕТНЫХ РАМ 4РТО180.*
| Код вертикал. нагрузки | Код крановой нагрузки | Гнутосварные трубы, b×h×t, мм | Листовая сталь t, мм | ||||
| Номер позиции | |||||||
| 1 | 2 | 3 | 4 | 5 |
| ||
| III | 1 | 140×5 | 120×5 | 80×4 | 12 | 20 |
|
| 2 | 160×5 | 120×5 | 80×4 | 12 | 20 |
| |
| 3 | 160×5 | 120×5 | 80×4 | 12 | 20 |
| |
| 4 | 160×6 | 140×5 | 80×4 | 12 | 20 |
| |
| IV | 1 | 160×5 | 140×5 | 100×4 | 12 | 20 |
|
| 2 | 160×5 | 140×5 | 100×4 | 12 | 20 |
| |
| 3 | 160×6 | 140×5 | 100×4 | 12 | 20 |
| |
| 4 | 160×6 | 160×5 | 100×4 | 12 | 20 |
| |
| V | 1 | 160×6 | 160×5 | 100×4 | 12 | 25 |
|
| 2 | 160×6 | 160×5 | 100×4 | 12 | 25 |
| |
| 3 | 180×5 | 160×5 | 120×4 | 12 | 25 |
| |
| 4 | 180×6 | 160×6 | 120×4 | 12 | 25 |
| |
1. Стойки, обозначенные на чертежепунктиром, добавляются в решетку ригеля для марки 42Р16.180* (для шага прогоновпокрытия 1.5 м). Сечение стоек решетки принимается по поз. 3.
2. Вариант "б" для подвесного крана пролетом 12 м.Схему подвески крана см. докум. -028.
41Р1.2×120.* 42Р1.2×120.*
51Р1.2×120.* 52Р1.2×120.*

СОРТАМЕНТ РИГЕЛЕЙ ДВУХПРОЛЕТНЫХ РАМ
4РТМ2×120.*
| Код вертикал. нагрузки | Код крановой нагрузки | Гнутосварные трубы, b×h×t, мм | Листовая сталь t, мм | ||||
| Номер позиции | |||||||
| 1 | 2 | 3 | 4 | 5 |
| ||
| III | 0 | 120×5 | 120×4 | 80×4 | 12 | 12 |
|
| IV | 0 | 120×5 | 120×4 | 80×4 | 12 | 12 |
|
| V | 0 | 140×5 | 120×5 | 100×4 | 12 | 12 |
|
СОРТАМЕНТ РИГЕЛЕЙДВУХПРОЛЕТНЫХ РАМ 5РТМ2х120.*
| Код вертикал. нагрузки | Код крановой нагрузки | Гнутосварные трубы, b×h×t, мм | Листовая сталь t, мм | ||||
| Номер позиции | |||||||
| 1 | 2 | 3 | 4 | 5 |
| ||
| III | 1-4 | 120×5 | 120×4 | 80×4 | 12 | 12 |
|
| IV | 1-4 | 120×5 | 120×4 | 80×4 | 12 | 12 |
|
| V | 1-4 | 140×5 | 120×5 | 100×4 | 12 | 12 |
|
Стойки, обозначенные на чертежепунктиром, добавляются в решетку ригеля для марки 42Р1.120* и 52Р1.120* (дляшага прогонов покрытия 1.5 м). Сечение стоек решетки принимается по поз. 3.
41Р1а.2×120.* 42Р1а.2×120.*

СОРТАМЕНТ РИГЕЛЕЙ ДВУХПРОЛЕТНЫХ РАМ
4РТМ2×120.*
| Код вертикал. нагрузки | Код крановой нагрузки | Гнутосварные трубы, b×h×t, мм | Листовая сталь t, мм | ||||
| Номер позиции | |||||||
| 1 | 2 | 3 | 4 | 5 |
| ||
| III | 1 | 120×5 | 120×4 | 80×4 | 12 | 12 |
|
| 2 | 120×5 | 120×5 | 80×4 | 12 | 12 |
| |
| 3 | 120×5 | 120×5 | 80×4 | 12 | 12 |
| |
| 4 | 120×5 | 120×5 | 80×4 | 12 | 12 |
| |
| IV | 1 | 140×5 | 120×5 | 80×4 | 12 | 12 |
|
| 2 | 140×5 | 120×5 | 80×4 | 12 | 12 |
| |
| 3 | 140×5 | 120×5 | 80×4 | 12 | 12 |
| |
| 4 | 140×5 | 120×5 | 80×4 | 12 | 12 |
| |
| V | 1 | 140×5 | 120×5 | 100×4 | 12 | 12 |
|
| 2 | 140×5 | 120×5 | 100×4 | 12 | 12 |
| |
| 3 | 140×5 | 120×5 | 100×4 | 12 | 12 |
| |
| 4 | 140×5 | 120×5 | 100×4 | 12 | 12 |
| |
1. Стойки, обозначенные на чертежепунктиром, добавляются в решетку ригеля для марки 42Р16.2×120* (для шагапрогонов покрытия 1.5 м). Сечение стоек решетки принимается по поз. 3.
2. Вариант "а" для подвесного крана пролетом 9 м.Схему подвески крана см. докум. -028.
41Р1б.2×120.* 42Р1б.2×120.*

СОРТАМЕНТ РИГЕЛЕЙ ДВУХПРОЛЕТНЫХ РАМ4РТМ2х120.*
| Код вертикал. нагрузки | Код крановой нагрузки | Гнутосварные трубы, b×h×t, мм | Листовая сталь t, мм | ||||
| Номер позиции | |||||||
| 1 | 2 | 3 | 4 | 5 |
| ||
| III | 1 | 120×5 | 120×4 | 80×4 | 12 | 12 |
|
| 2 | 140×5 | 120×5 | 80×4 | 12 | 12 |
| |
| 3 | 140×5 | 120×5 | 80×4 | 12 | 12 |
| |
| 4 | 140×5 | 120×5 | 80×4 | 12 | 12 |
| |
| IV | 1 | 140×5 | 120×5 | 80×4 | 12 | 12 |
|
| 2 | 140×5 | 120×5 | 80×4 | 12 | 12 |
| |
| 3 | 140×5 | 120×5 | 80×4 | 12 | 12 |
| |
| 4 | 140×5 | 120×5 | 80×4 | 12 | 12 |
| |
| V | 1 | 140×5 | 120×5 | 100×4 | 12 | 12 |
|
| 2 | 140×5 | 120×5 | 100×4 | 12 | 12 |
| |
| 3 | 160×5 | 120×5 | 100×4 | 12 | 12 |
| |
| 4 | 160×5 | 120×5 | 100×4 | 12 | 12 |
| |
1. Стойки, обозначенные на чертежепунктиром, добавляются в решетку ригеля для марки 42Р16.2×120* (для шагапрогонов покрытия 1.5 м). Сечение стоек решетки принимается по поз. 3.
2. Вариант "б" для подвесного крана пролетом 6 м.Схему подвески крана см. докум. -028.
41Р1.2×180.* 41Р1а.2×180.* -42Р1.2×180.* 42Р1а.2×180.*
51Р1.2×180.* 52Р1.2×180.*

СОРТАМЕНТ РИГЕЛЕЙ ДВУХПРОЛЕТНЫХ РАМ
4РТМ2×180.*
| Код вертикал. нагрузки | Код крановой нагрузки | Гнутосварные трубы, b×h×t, мм | Листовая сталь t, мм | ||||
| Номер позиции | |||||||
| 1 | 2 | 3 | 4 | 5 |
| ||
| III | 0 | 160×5 | 120×5 | 80×4 | 12 | 16 |
|
| 1 | 160×5 | 120×5 | 80×4 | 12 | 16 |
| |
| 2 | 160×5 | 120×5 | 80×4 | 12 | 16 |
| |
| 3 | 160×5 | 120×5 | 80×4 | 12 | 20 |
| |
| 4 | 160×5 | 120×5 | 100×4 | 12 | 20 |
| |
| IV | 0 | 160×6 | 120×5 | 80×4 | 12 | 20 |
|
| 1 | 160×6 | 120×5 | 80×4 | 12 | 20 |
| |
| 2 | 160×6 | 120×5 | 80×4 | 12 | 20 |
| |
| 3 | 160×6 | 120×5 | 80×4 | 12 | 20 |
| |
| 4 | 160×6 | 120×5 | 100×4 | 12 | 20 |
| |
| V | 0 | 180×6 | 140×5 | 100×4 | 12 | 20 |
|
| 1 | 180×6 | 140×5 | 100×4 | 12 | 20 |
| |
| 2 | 180×6 | 140×5 | 100×4 | 12 | 20 |
| |
| 3 | 180×6 | 140×5 | 100×4 | 12 | 20 |
| |
| 4 | 180×6 | 140×5 | 100×4 | 12 | 25 |
| |
СОРТАМЕНТ РИГЕЛЕЙ ДВУХПРОЛЕТНЫХ РАМ
5РТМ2×180.*
| Код вертикал. нагрузки | Код крановой нагрузки | Гнутосварные трубы, b×h×t, мм | Листовая сталь t, мм | ||||
| Номер позиции | |||||||
| 1 | 2 | 3 | 4 | 5 |
| ||
| III | 1-4 | 160×5 | 120×5 | 80×4 | 12 | 16 |
|
| IV | 1-4 | 160×6 | 120×5 | 80×4 | 12 | 20 |
|
| V | 1-4 | 180×6 | 140×5 | 100×4 | 12 | 20 |
|
1. Стойки, обозначенные на чертежепунктиром, добавляются в решетку ригеля для марок 42Р1.2×180*, 42Р1а.2×180*, 52Р1.2×180* (для шага прогонов покрытия 1.5 м).Сечение стоек решетки принимается по поз. 3.
2. Вариант "а" для подвесного крана пролетом 15 м.Схему подвески крана см. докум. -028.
41Р1б.2×180.* 42Р1б.2×180.*

СОРТАМЕНТ РИГЕЛЕЙ ДВУХПРОЛЕТНЫХ РАМ
4РТМ2×180.*
| Код вертикал. нагрузки | Код крановой нагрузки | Гнутосварные трубы, b×h×t, мм | Листовая сталь t, мм | ||||
| Номер позиции | |||||||
| 1 | 2 | 3 | 4 | 5 |
| ||
| III | 1 | 160×5 | 120×5 | 80×4 | 12 | 16 |
|
| 2 | 160×6 | 120×5 | 80×4 | 12 | 16 |
| |
| 3 | 160×6 | 120×5 | 80×4 | 12 | 20 |
| |
| 4 | 180×5 | 140×5 | 100×4 | 12 | 20 |
| |
| IV | 1 | 180×5 | 140×5 | 100×4 | 12 | 20 |
|
| 2 | 180×5 | 140×5 | 100×4 | 12 | 20 |
| |
| 3 | 180×6 | 140×5 | 100×4 | 12 | 20 |
| |
| 4 | 180×6 | 140×5 | 100×4 | 12 | 20 |
| |
| V | 1 | 180×6 | 140×5 | 100×4 | 12 | 20 |
|
| 2 | 180×8 | 140×5 | 100×4 | 12 | 20 |
| |
| 3 | 180×8 | 140×5 | 100×4 | 12 | 20 |
| |
| 4 | 180×8 | 160×5 | 100×4 | 12 | 25 |
| |
1. Стойки, обозначенные на чертежепунктиром, добавляются в решетку ригеля для марки 42Р1б.2×180* (для шагапрогонов покрытия 1.5 м). Сечение стоек решетки принимается по поз. 3.
2. Вариант "б" для подвесного крана пролетом 12 м.Схему подвески крана см. докум. -028.
41Р2.2×180.* 42Р2.2×180.*
51Р2.2×180.* 52Р2.2×180.*

СОРТАМЕНТ РИГЕЛЕЙ ДВУХПРОЛЕТНЫХ РАМ
4РТМ2×180.*
| Код вертикал. нагрузки | Код крановой нагрузки | Гнутосварные трубы, b×h×t, мм | Листовая сталь t, мм | ||||
| Номер позиции | |||||||
| 1 | 2 | 3 | 4 | 5 |
| ||
| III | 0 | 160×5 | 120×5 | 80×4 | 12 | 16 |
|
| 1 | 160×5 | 120×5 | 80×4 | 12 | 16 |
| |
| 2 | 160×5 | 120×5 | 80×4 | 12 | 16 |
| |
| 3 | 160×5 | 120×5 | 80×4 | 12 | 20 |
| |
| 4 | 160×5 | 120×5 | 100×4 | 12 | 20 |
| |
| IV | 0 | 160×6 | 120×5 | 80×4 | 12 | 20 |
|
| 1 | 160×6 | 120×5 | 80×4 | 12 | 20 |
| |
| ' 2 | 160×6 | 120×5 | 80×4 | 12 | 20 |
| |
| 3 | 160×6 | 120×5 | 80×4 | 12 | 20 |
| |
| 4 | 160×6 | 120×5 | 100×4 | 12 | 20 |
| |
| V | 0 | 180×6 | 140×5 | 100×4 | 12 | 20 |
|
| 1 | 180×6 | 140×5 | 100×4 | 12 | 20 |
| |
| 2 | 180×6 | 140×5 | 100×4 | 12 | 20 |
| |
| 3 | 180×6 | 140×5 | 100×4 | 12 | 20 |
| |
| 4 | 180×6 | 140×5 | 100×4 | 12 | 25 |
| |
СОРТАМЕНТ РИГЕЛЕЙ ДВУХПРОЛЕТНЫХ РАМ
5РТМ2×180.*
| Код вертикал. нагрузки | Код крановой нагрузки | Гнутосварные трубы, b×h×t, мм | Листовая сталь t, мм | ||||
| Номер позиции | |||||||
| 1 | 2 | 3 | 4 | 5 |
| ||
| III | 1-4 | 160×5 | 120×5 | 80×4 | 12 | 16 |
|
| IV | 1-4 | 160×6 | 120×5 | 80×4 | 12 | 20 |
|
| V | 1-4 | 180×6 | 140×5 | 100×4 | 12 | 20 |
|
Стойки, обозначенные на чертежепунктиром, добавляются в решетку ригеля для марки 42Р2.2×180.*, 52Р2.2×180.* (для шага прогонов покрытия 1.5 м).Сечение стоек решетки принимается по поз. 3.
41Р2а.2×180.* 42Р2а.2×180.*
41Р2б.2×180.* 42Р2б.2×180.*

СОРТАМЕНТ РИГЕЛЕЙ ДВУХПРОЛЕТНЫХ РАМ4РТМ2х180.*
| Код вертикал. нагрузки | Код крановой нагрузки | Гнутосварные трубы, b×h×t, мм | Листовая сталь t, мм | ||||||
| Номер позиции | |||||||||
| 1а | 2а | 3а | 1б | 2б | 3б | 4 | 5 | ||
| III | 1 | 160×5 | 120×5 | 80×4 | 160×5 | 120×5 | 80×4 | 12 | 16 |
| 2 | 160×5 | 120×5 | 80×4 | 160×6 | 120×5 | 80×4 | 12 | 16 | |
| 3 | 160×5 | 120×5 | 80×4 | 160×6 | 120×5 | 80×4 | 12 | 20 | |
| 4 | 160×5 | 120×5 | 100×4 | 180×5 | 140×5 | 100×4 | 12 | 20 | |
| IV | 1 | 160×6 | 120×5 | 80×4 | 180×5 | 140×5 | 100×4 | 12 | 20 |
| 2 | 160×6 | 120×5 | 80×4 | 180×5 | 140×5 | 100×4 | 12 | 20 | |
| 3 | 160×6 | 120×5 | 80×4 | 180×6 | 140×5 | 100×4 | | ! 12 | 20 | |
| 4 | 160×6 | 120×5 | 100×4 | 180×6 | 140×5 | 100×4 | 12 | 20 | |
| V | 1 | 180×6 | 140×5 | 100×4 | 180×6 | 140×5 | 100×4 | 12 | 20 { |
| 2 | 180×6 | 140×5 | 100×4 | 180×8 | 140×5 | 100×4 | 12 | 20 | |
| 3 | 180×6 | 140×5 | 100×4 | 180×8 | 140×5 | 100×4 | 12 | 20 | |
| 4 | 180×6 | 140×5 | 100×4 | 180×8 | 160×5 | 100×4 | 12 | 25 | | |
Позиция 1а, 2а, 3а - для ригелямарок 41Р2а.2×180.*и 42Р2а.2×180.*.
Позиция 1б, 2б, 3б - для ригеля марок 41Р2б.2×180.* и 42Р2б.2×180.*.
1. Стойки, обозначенные на чертеже пунктиром, добавляются врешетку ригеля для марки 42Р1а.2×180*, 42Р1б.2×180*(для шага прогонов покрытия 1.5 м). Сечение стоек решетки принимается по поз.3.
2. Вариант "а" для подвесного крана пролетом 15 м,вариант "б" - пролетом 12 м. Схему подвески кранов см. докум. -028.
УЗЛЫ НЕСУЩИХ КОНСТРУКЦИЙ
Узлы несущих конструкций, разработанные в настоящем выпускеследует выполнять в соответствии с указаниями, приведенными в докум. 0-1-112настоящей серии.
Крепление подкрановых балок выполняется по приведенным внастоящем выпуске узлам с учетом серии 1.426.2-7 "Балки подкрановыестальные под мостовые опорные краны", выпуск 3.

1. Катеты швов kf=1.2·tmin, но не более 8мм.
2. Толщину пластины принимать равной толщине стенки стойки tпл=t, но не менее 6 мм.
3. а=b-2•r,
где r - радиус гиба сечения стойки;
b - высота сечения ветви средней стойки.

1. Катеты швов kf=tmin, где tmin - минимальная толщина соединяемых элементов.
2. Противосдвиговые закладные элементы ставить только вопорных узлах стоек связевых блоков. Определение сечений противосдвиговыхэлементов фундамента производится по таблице 3 докум. 0-1-117. Установкупротивосдвиговых элементов выполнять по узлу 56 докум. -059.
3. Для опорных пластин сталь С255 по ГОСТ27772-88.

1. Катеты швов kf=tmin,где tmin - минимальная толщина соединяемых элементов.
2. Толщину опорной пластины tоп см. табл.1.
3. Численные значения параметров d1, h1, h2 см. табл. 2 и3, л.2.
4. Противосдвиговые закладные элементы ставить только вопорных узлах стоек связевых блоков. Сечения противосдвиговых элементовфундамента определяются по табл. 3 докум. 0-1-117.
5. Максимальное напряжение под плитой 90 кгс/см2.
ТОЛЩИНА ОПОРНЫХ ПЛАСТИН ДВУХВЕТВЕВЫХ СТОЕК РАМ
| Количество кранов в пролете, шт. | Толщина опорной пластины tоп, мм, при грузоподъемности крана, т | |||||
| здания с подвесными кранами | здания с мостовыми кранами | |||||
| Q=1 | Q=3.2 | Q=5 | Q=5 | Q=10 | Q=16 | |
| 1 | 20 | 20 | 25 | 20 | 20 | 25 |
| 2 | 20 | 25 | 25 | 20 | 25 | 25 |
| Бескрановые здания - tоп=20 мм | ||||||
ДИАМЕТРЫ АНКЕРНЫХ БОЛТОВ ДВУХВЕТВЕВЫХ СТОЕК РАМ
| Количество кранов в пролете, шт. | Грузоподъемность крана для зданий, т | Диаметр анкерного болта d1, мм | ||||
| ветровой район III | ветровой район IV | |||||
| с подвесными кранами | с мостовыми кранами | Нcт≤12 | Нст>12 | Нcт≤12 | Нcт>12 | |
| 1 | Q=1; 3.2 | Q=5; 10 | 30 | 36 | 30 | 36 |
| Q=5 | Q=16 | 30 | 36 | 30 | 42 | |
| 2 | Q=1; 3.2 | Q=5; 10 | 30 | 36 | 30 | 42 |
| Q=5 | Q=16 | 36 | 42 | 36 | 42 | |
| Бескрановые здания | 30 | 36 | 30 | 36 | ||
| Обозначение параметров | Величины параметров, мм | ||
| при диаметре анкерного болта d1, мм | |||
| 30 | 36 | 42 | |
| d2 | 31 | 37 | 43 |
| d3 | 45 | 54 | 63 |
| h1 | 80 | 80 | 100 |
| h2 | 65 | 80 | 100 |
| tp | 20 | 20 | 20 |
1. Для опорных пластин сталь С255по ГОСТ27772-88.
2. В таблице величина "Нcт" - высотастойки в метрах.

1. Катеты швов kf: - для крепления проушин и опорныхпластин - kf=1.2tmin;
-для остальных швов - kf=tmin, но не менее 6 мм,
где tmin - минимальная толщина соединяемыхэлементов.
2. Сталь проушин С345-3 (для климатического районастроительства I1 - C345-4).
3. r - радиус отверстия в проушине.
Ra - точность обработки поверхностиотверстия в проушинах.
4. Минимальное расстояние между втулкой и наклонным раскосомригеля.
СБОРОЧНЫЙ ЧЕРТЕЖ

МУФТА Ml

ШПИЛЬКА Ш1

ВТУЛКА В1

L1=b+2•tпр,
где b - размер из плоскости наружной или внутренней ветви стойкирамы;
tпр - толщина проушин.
Требуемые механические характеристики для сталей втулок
- предел текучести σ02≥3600 кгс/см2;
- относительное сужение, ψ≥40%;
- относительное удлинение, δ05≥10%;
- твердость по Бринеллю НВ=160-250;
- ударная вязкость KCU, Дж/см2, притемпературе Т, °С:
| т,°С | -20°С | -40°С | -60°С |
| KCU | ≥55 | ≥39 | ≥35 |
1. Определить при разработкечертежей КМД.
2. Примеры сталей втулок, отвечающие требованиям,приведенным в таблице, при применении термообработки: 30Х, 35Х, 40Х, 45Х.

1. Катеты швов kf:
- для крепления проушин, опорныхпластин и элементов распорок - kf=1.2tmin;
- для остальных швов - kf=tmin,но не менее 6 мм,
где tmin - минимальная толщина соединяемыхэлементов.
2. Сталь проушин С345-3 (для климатического районастроительства I1 - C345-4).
3. Сборочные чертежи монтажных элементов M1, Ш1, В1 см. докум. -060, лист 2.
4. Распорки, вертикальные и горизонтальные связи на узлеусловно не показаны.
5. Зазоры между проушинами ригеля и стойки должны бытьсимметрично заполнены монтажными прокладками. Толщину монтажных прокладокопределить при разработке КМД. Для удобства монтажа одну из прокладокрекомендуется приварить до монтажа.
6. Минимальное расстояние между втулкой и наклонным раскосомригеля.
СОПРЯЖЕНИЕПРОГОНОВ МЕЖДУ СОБОЙ В ПРОЛЕТЕ

1. Катеты швов kf:
- для крепления проушин, опорныхпластин и элементов распорок - kf=1.2tmin;
- для остальных швов - kf=tmin,но не менее 6 мм,
где tmin - минимальная толщина соединяемых элементов.
2. Сталь проушин С345-3 (для климатического районастроительства I1 - C345-4).
3. Сборочные чертежи монтажных элементов M1, Ш1, В1 см. докум. -060, лист 2.
4. Распорки, вертикальные и горизонтальные связи на узлеусловно не показаны.
5. Толщина пластины tпл=t, но не менее 6 мм.
6. Коньковые прогоны включены в связевую систему и выполняютроль распорок.


Катеты швов kf:
- для крепления элементовраспорок - kf=1.2tmin;
- для крепления фасоноквертикальных связей - kf=tmin, но не менее 6 мм,
где tmin - минимальная толщина соединяемыхэлементов.


Катеты швов kf:
- для крепления элементов распорок- kf=1.2tmin;
- для крепления фасоноквертикальных связей - kf=tmin, но не менее 6 мм,
где tmin - минимальная толщина соединяемыхэлементов.



1. Данные для проектирования узловподвесных путей (tпл, d1, d3) см. докум. 0-1-057.
2. Катет шва назначается исходя из минимальной толщинысоединяемых деталей в соответствии со СНиП II-23-81*.
3. Сопряжение пояса и раскосов выполнять по узлу 5 или 6(докум 0-1-115) в зависимости от сечения элементов решетки.



1. Разрез 2-2 выполнить по разрезу2-2, докум. -065.
2. Данные для проектирования узлов подвесных путей (tпл, d1, d3)см. докум. 0-1-057.
3. Катет шва назначается исходя из минимальной толщинысоединяемых изделий в соответствии со СНиП II-23-81*.

| Параметры | Толщина, мм при грузоподъемности кранов | |
| 5т | 10т; 16 т | |
| tпл | 14 | 16 |
| tpl | 6 | 8 |
| tp2 | 6 | 8 |
1. Катеты швов (кроме оговоренных) kf=tmin,где tmin -минимальная толщина соединяемых элементов.
2. Сортамент сварных подкрановых балок и узлы крепления см.серию 1.426.2-7, вып. 3.
3. Данный узел см. совместно с узлом 65 докум. -068.
4. Разрез 3-3 см. узел 65, докум. -068.
5. Уточнить при разработке чертежей КМД.


1. Толщины элементов tпл, tp1, tp2 см. таблицу данный докум. лист 1.
2. Место стыка горизонтальной пластины определить приразработке КМД.
3. Катеты швов (кроме оговоренных) kf=tmin, где tmin -минимальная толщина соединяемых элементов.


1. Толщины элементов tпл, tp1, tp2 см. таблицу в докум. -067, лист 1.
2. Катеты швов (кроме оговоренных) kf=tmin, где tmin -минимальная толщина соединяемых элементов.
3. Уточнить при разработке чертежей КМД.


1. Катеты швов (кроме оговоренных) kf=tmin,где tmin - минимальная толщина соединяемых элементов.
2. Данный узел см. совместно с узлом 64 докум. -067.
3. Толщины элементов tпл,tp1, tp2 см. таблицу вдокум. -067, лист 1.



1. Катеты швов (кроме оговоренных) kf=tmin,где tmin - минимальная толщина соединяемых элементов.
2. Уточнить при разработке чертежей КМД.
3. Данный узел см. совместно с узлом 65 докум. -068.
4. Толщины элементов tпл,tp1, tp2 см. таблицу вдокум. -067
h - высотасечения ветви стойки, определить по сортаменту стоек.
5. Соприкасающиеся поверхности фланцев не грунтовать. Намонтаже соприкасающиеся поверхности фланцев очистить металлическими щетками.Сталь фланцев 09Г2С-15.
6. ВПБ М24×90исполнение ХЛ по ГОСТ 22353сталь 40Х "Селект". Осевое натяжение высокопрочных болтов фланцевыхсоединений - 15тс Контроль натяжения - по моменту закручивания.
СТЫКРЕЛЬСА ЖЕЛЕЗНОДОРОЖНОГО ТИПА Р43

СТЫК РЕЛЬСА КРАНОВОГО ТИПА КР70

1. Стыки рельсов должны бытьсмещены относительно стыков балок не менее, чем на 1500 мм.
2. Накладки для стыка рельсов должны поставляться вкомплекте с рельсом.
КРЕПЛЕНИЕЖЕЛЕЗНОДОРОЖНОГО РЕЛЬСА ТИПА Р43


КРЕПЛЕНИЕ КРАНОВОГО РЕЛЬСА ТИПА КР70

1. Крановые рельсы крепятсяпосредством планок с подкладками по ГОСТ24741-81.
2. Планки имеют круглые отверстия и соединяются с балкойболтами 0 24 мм, а подкладки имеют овальные вырезы, которые позволяют рихтоватьрельс упором подкладок. После рихтовки рельсов плотно прижатые к ним подкладкиприваривают к планкам.

| Грузоподъемность крана, т | Группа режима крана | Размер h, мм (ориентировочный) | |
| 2К; 3К | 4К; 5К | ||
| Сечение упора | |||
| 5 | I35Б1 | I35Б1 | 700 |
| 10 | I35Б1 | I35Б1 | 725 |
| 16 | I35Б1 | I40Б2 | 835 |
1. Размер определить при разработкечертежей КМД.
2. Конструкцию упора выполнить по серии 1.426.2-7 вып.3.
3. Нагрузки от удара крана о тупиковый упор определяют поприложению 2 СНиП 2.01.07-85*.
4. Катет шва kf=6 мм, кроме оговоренных.
5. Сечение упора выполнить из прокатного двутавра по ГОСТ26020-83.
Массы элементов рам (стоек и ригелей) в спецификацияхприведены для справок. В спецификациях наряду с обычными марками элементов рамприменяются марки, в которых приведены несколько кодов вертикальной и (или)крановой нагрузок.
Например, марка 4K1.120.60-III(IV-V)-0(1;2) обозначает, что указанныев спецификации сечения и массы для данной марки применимы для крайних стоек рамс 12-ти метровым пролетом, высотой до низа ригеля 6.0 м, с кодами вертикальнойнагрузки III-V и кодами крановой нагрузки 0-2.
В марках элементов ригелей рам модификации 4 могутобъединяться два варианта исполнения ригелей, например, 41Р1(1а).120-III-0(1). Указанные вспецификации сечения и массы для данной марки применимы для первых элементовригелей рам с 12-ти метровым пролетом, высотой до низа ригеля 6.0 м, с кодомвертикальной нагрузки IIIи кодами крановой нагрузки 0 и 1, для зданий без кранов (исполнение 1) и сподвесными кранами пролетом 9 м (исполнение 1а).
Для элементов рам (ригелей и стоек) применяются гнутосварныетрубы по ГОСТ30245-2003 и листовая сталь по ГОСТ 19903-74.
СПЕЦИФИКАЦИЯ КРАЙНИХ СТОЕК РАМ МОДИФИКАЦИИ 4
| Марка элемента | Масса по профилям, кг | Общая масса, кг | ||||||||||
| Гнутосварные трубы | сталь листовая | |||||||||||
| 80×4 | 100×4 | 120×160×5 | 140×5 | 140×160×5 | 140×180×5 | 160×5 | 200×160×6 | 240×160×6 | 240×160×8 | |||
| 4K1.120.60‑III(IV;V)‑0(1;2) | 89 |
|
| 282 |
|
|
|
|
|
| 94 | 660 |
| 4K1.120.60‑III(IV;V)‑3(4) | 92 |
| 282 |
|
|
|
|
|
|
| 105 | 479 |
| 4K1.120.72‑III(IV;V)‑0(1;2) | 109 |
|
| 332 |
|
|
|
|
|
| 94 | 535 |
| 4K1.120.72‑III(IV;V)‑3(4) | 102 |
| 232 |
|
|
|
|
|
|
| 105 | 538 |
| 4K1.120.84‑III(IV;V)‑0(1;2) | 119 |
|
| 381 |
|
|
|
|
|
| 94 | 594 |
| 4K1.120.84‑III(IV;V)‑3(4) | 122 |
| 380 |
|
|
|
|
|
|
| 106 | 608 |
| 4K1.120.96‑III(IV;V)‑0(1;2) | 139 |
|
| 430 |
|
|
|
|
|
| 93 | 662 |
| 4K1.120.96‑III(IV;V)‑3(4) | 132 |
| 430 |
|
|
|
|
|
|
| 105 | 667 |
| 4K1.120.108‑III(IV;V)‑0(1;2) | 149 |
|
| 479 |
|
|
|
|
|
| 94 | 722 |
| 4K1.120.108‑III(IV;V)‑3(4) | 153 |
| 479 |
|
|
|
|
|
|
| 105 | 737 |
| 4K1.120.120‑III(IV;V)‑0(1;2) | 169 |
|
| 529 |
|
|
|
|
|
| 180 | 878 |
| 4K1.120.120‑III(IV;V)‑3(4) | 173 |
| 528 |
|
|
|
|
|
|
| 195 | 896 |
| 4K1.120.132‑III(IV;V)‑0(1;2) | 183 |
| 577 |
|
|
|
|
|
|
| 185 | 945 |
| 4K1.120.132‑III(IV;V)‑3 | 188 |
|
|
| 662 |
|
|
|
|
| 201 | 1051 |
| 4K1.120.132‑III(IV;V)‑4 |
| 240 |
|
|
| 666 |
|
|
|
| 209 | 1115 |
| 4K1.120.144‑III(IV;V)‑0(1;2) | 203 |
| 627 |
|
|
|
|
|
|
| 185 | 1015 |
| 4K1.120.144‑III(IV;V)‑3 | 198 |
|
|
| 675 |
|
|
|
|
| 200 | 1073 |
| 4K1.120.144‑III(IV;V)‑4 |
| 252 |
|
|
| 723 |
|
|
|
| 210 | 1185 |
| 4K1.180.60‑III(IV;V)‑0(1) | 89 |
|
| 282 |
|
|
|
|
|
| 95 | 466 |
| 4K1.180.60‑III(IV;V)‑2 | 92 |
| 282 |
|
|
|
|
|
|
| 93 | 467 |
| 4K1.180.60‑III(IV;V)‑3(4) | 92 |
| 282 |
|
|
|
|
|
|
| 104 | 478 |
| 4K1.180.72‑III(IV;V)‑0(1) | 109 |
|
| 332 |
|
|
|
|
|
| 94 | 535 |
| 4K1.180.72‑III(IV;V)‑2 | 102 |
| 332 |
|
|
|
|
|
|
| 94 | 527 |
| 4K1.180.72‑III(IV;V)‑3(4) | 102 |
| 332 |
|
|
|
|
|
|
| 104 | 537 |
| 4K1.180.84‑III(IV;V)‑0(1) | 119 |
|
| 381 |
|
|
|
|
|
| 94 | 594 |
| 4K1.180.84‑III(IV;V)‑2 | 122 |
| 380 |
|
|
|
|
|
|
| 94 | 596 |
| 4K1.180.84‑III(IV;V)‑3(4) | 122 |
| 380 |
|
|
|
|
|
|
| 104 | 606 |
| 4K1.180.96‑III(IV;V)‑0(1) | 139 |
|
| 430 |
|
|
|
|
|
| 94 | 663 |
| 4K1.180.96‑III(IV;V)‑2 | 132 |
| 430 |
|
|
|
|
|
|
| 94 | 596 |
| 4K1.180.96‑III(IV;V)‑3(4) | 132 |
| 430 |
|
|
|
|
|
|
| 104 | 607 |
| 4K1.180.108‑III(IV;V)‑0(1) | 149 |
|
| 479 |
|
|
|
|
|
| 94 | 722 |
| 4K1.180.108‑III(IV;V)‑2 | 153 |
| 479 |
|
|
|
|
|
|
| 92 | 724 |
| 4K1.180.108‑III(IV;V)‑3(4) | 153 |
| 479 |
|
|
|
|
|
|
| 105 | 737 |
| 4K1.180.120‑III(IV;V)‑0(1) | 169 |
|
| 528 |
|
|
|
|
|
| 181 | 878 |
| 4K1.180.120‑III(IV;V)‑2 | 173 |
| 528 |
|
|
|
|
|
|
| 175 | 876 |
| 4K1.180.120‑III(IV;V)‑3(4) | 173 |
| 528 |
|
|
|
|
|
|
| 195 | 896 |
| 4K1.180.132‑III(IV;V)‑0 | 183 |
| 577 |
|
|
|
|
|
|
| 178 | 938 |
| 4K1.180.132‑III(IV;V)‑1 | 188 |
|
|
| 662 |
|
|
|
|
| 190 | 1040 |
| 4K1.180.132‑III(IV;V)‑2(3) | 183 |
|
|
|
|
| 667 |
|
|
| 208 | 1058 |
| 4K1.180.132‑III(IV;V)‑4 |
| 240 |
|
|
|
|
| 666 |
|
| 209 | 1115 |
| 4K1.180.144‑III(IV;V)‑0 | 203 |
| 627 |
|
|
|
|
|
|
| 178 | 1008 |
| 4K1.180.144‑III(IV;V)‑1 | 198 |
|
|
| 675 |
|
|
|
|
| 189 | 1062 |
| 4K1.180.144‑III(IV;V)‑2 | 203 |
|
|
|
|
| 724 |
|
|
| 190 | 1117 |
| 4K1.180.144‑III(IV;V)‑3 | 203 |
|
|
|
|
| 724 |
|
|
| 207 | 1134 |
| 4K1.180.144‑III(IV;V)‑4 |
| 252 |
|
|
| 723 |
|
|
|
| 209 | 1184 |
| 4K1.2×120(2×180).60‑III(IV;V)‑0(1‑4) |
|
|
|
|
|
|
| 231 |
|
| 103 | 334 |
| 4K1.2×120(2×180).72‑III(IV;V)‑0(1‑4) |
|
|
|
|
|
|
| 269 |
|
| 103 | 372 |
| 4K1.2×120.84‑III(IV;V)‑0(1‑3) |
|
|
|
|
|
|
|
| 344 |
| 111 | 454 |
| 4K1.2×120.84‑III(IV;V)‑4 |
|
|
|
|
|
|
|
|
| 449 | 111 | 560 |
| 4K1.2×120.96‑III(IV;V)‑0(1‑3) |
|
|
|
|
|
|
|
| 386 |
| 111 | 497 |
| 4K1.2×120.96‑III(IV;V)‑4 |
|
|
|
|
|
|
|
|
| 505 | 111 | 616 |
| 4K1.2×120.108‑III(IV;V)‑0(1‑2) | 149 |
|
| 479 |
|
|
|
|
|
| 94 | 722 |
| 4K1.2×120.108‑III(IV;V)‑3(4) | 153 |
| 479 |
|
|
|
|
|
|
| 105 | 737 |
| 4K1.2×120.120‑III(IV;V)‑0(1‑2) | 168 |
|
| 529 |
|
|
|
|
|
| 180 | 877 |
| 4K1.2×120.120‑III(IV;V)‑3(4) | 173 |
| 577 |
|
|
|
|
|
|
| 194 | 896 |
| 4K1.2×120.132‑III(IV;V)‑0(1;2) | 183 |
| 529 |
|
|
|
|
|
|
| 185 | 945 |
| 4K1.2×120.132‑III(IV;V)‑3 | 188 |
|
|
| 662 |
|
|
|
|
| 201 | 1051 |
| 4K1.2×120.132‑III(IV;V)‑4 |
| 240 |
|
|
| 666 |
|
|
|
| 209 | 1115 |
| 4K1.2×120.144‑III(IV;V)‑0(1;2) | 203 |
| 627 |
|
|
|
|
|
|
| 185 | 1015 |
| 4K1.2×120.144‑III(IV;V)‑3 | 198 |
|
|
| 675 |
|
|
|
|
| 195 | 1073 |
| 4K1.2×120.144‑III(IV;V)‑4 |
| 252 |
|
|
| 723 |
|
|
|
| 210 | 1185 |
| 4K1.2×180.84‑III(IV;V)‑0 |
|
|
|
|
|
|
|
| 343 |
| 111 | 454 |
| 4K1.2×180.84‑III(IV;V)‑1(2‑4) |
|
|
|
|
|
|
|
|
| 449 | 111 | 560 |
| 4K1.2×180.96‑III(IV;V)‑0 |
|
|
|
|
|
|
|
| 386 |
| 111 | 497 |
| 4K1.2×180.96‑III(IV;V)‑1(2‑4) |
|
|
|
|
|
|
|
|
| 505 | 111 | 616 |
| 4K1.2×180.108‑III(IV;V)‑0(1) | 149 |
|
| 479 |
|
|
|
|
|
| 94 | 722 |
| 4K1.2×180.108‑III(IV;V)‑2 | 153 |
| 479 |
|
|
|
|
|
|
| 92 | 724 |
| 4K1.2×180.108‑III(IV;V)‑3(4) | 153 |
| 479 |
|
|
|
|
|
|
| 106 | 738 |
| 4K1.2×180.120‑III(IV;V)‑0(1) | 168 |
|
| 529 |
|
|
|
|
|
| 181 | 878 |
| 4K1.2×180.120‑III(IV;V)‑2 | 173 |
| 529 |
|
|
|
|
|
|
| 174 | 876 |
| 4K1,2×180.120‑III(IV;V)‑3(4) | 173 |
| 529 |
|
|
|
|
|
|
| 194 | 896 |
| 4K1.2×180.132‑III(IV;V)‑0 | 183 |
| 577 |
|
|
|
|
|
|
| 178 | 938 |
| 4K1.2×180.132‑III(IV;V)‑1 | 188 |
|
|
| 662 |
|
|
|
|
| 189 | 1039 |
| 4K1.2×180.132‑III(IV;V)‑2 | 183 |
|
|
|
|
| 667 |
|
|
| 191 | 1041 |
| 4K1.2×180.132‑III(IV;V)‑3 | 183 |
|
|
|
|
| 667 |
|
|
| 208 | 1058 |
| 4K1.2×180.132‑III(IV;V)‑4 |
| 240 |
|
|
| 666 |
|
|
|
| 209 | 1115 |
| 4K1.2×180.144‑III(IV;V)‑0 | 203 |
| 627 |
|
|
|
|
|
|
| 178 | 1008 |
| 4K1.2×180.144‑III(IV;V)‑1 | 198 |
|
|
| 675 |
|
|
|
|
| 189 | 1062 |
| 4K1.2×180.144‑III(IV;V)‑2 | 203 |
|
|
|
|
| 724 |
|
|
| 191 | 1118 |
| 4K1.2×180.144‑III(IV;V)‑3 | 203 |
|
|
|
|
| 724 |
|
|
| 208 | 1135 |
| 4K1.2×180.144‑III(IV;V)‑4 |
| 252 |
|
|
| 723 |
|
|
|
| 209 | 1184 |
СПЕЦИФИКАЦИЯ СРЕДНИХ СТОЕК РАМ МОДИФИКАЦИИ 4
| Марка элемента | Масса по профилям, кг | Общая масса, кг | ||||||||||
| Гнутосварные трубы | сталь листовая | |||||||||||
| 80×4 | 100×4 | 100×200×6 | 120×160×5 | 140×5 | 140×160×5 | 140×180×5 | 160×5 | 180×5 | 180×6 | |||
| 4K2.2×120.60‑III(IV;V)‑0(1;2) | 109 |
|
|
| 382 |
|
|
|
|
| 126 | 617 |
| 4K2.2×120.60‑III(IV;V)‑3(4) | 106 |
|
|
|
|
|
| 439 |
|
| 146 | 691 |
| 4K2.2×120.72‑III(IV;V)‑0(1;2) | 129 |
|
|
| 431 |
|
|
|
|
| 126 | 686 |
| 4K2.2×120.72‑III(IV;V)‑3(4) | 126 |
|
|
|
|
|
| 496 |
|
| 146 | 768 |
| 4K2.2×120.84‑III‑0(1) | 145 |
|
|
|
|
|
| 553 |
|
| 134 | 832 |
| 4К2.2×120.84‑III‑2 |
| 177 |
|
|
|
| 554 |
|
|
| 132 | 863 |
| 4К2.2×120.84‑III‑3 |
| 179 |
|
|
|
|
|
| 625 |
| 152 | 956 |
| 4К2.2×120.84‑III‑4 |
| 179 |
|
|
|
|
|
|
| 742 | 156 | 1077 |
| 4K2.2×120.84‑IV(V)‑0 | 145 |
|
|
|
|
|
| 553 |
|
| 134 | 832 |
| 4K2.2×120.84‑IV(V)‑1(2) |
| 177 |
|
|
|
| 554 |
|
|
| 132 | 863 |
| 4K2.2×120.84‑IV(V)‑3(4) |
| 179 |
|
|
|
|
|
|
| 742 | 156 | 1077 |
| 4К2.2×120.96‑III‑0(1) | 154 |
|
|
|
|
|
| 609 |
|
| 134 | 897 |
| 4К2.2×120.96‑III‑2 |
| 202 |
|
|
|
| 611 |
|
|
| 132 | 945 |
| 4К2.2×120.96‑III‑3 |
| 203 |
|
|
|
|
|
| 689 |
| 152 | 1044 |
| 4К2.2×120.96‑III‑4 |
| 203 |
|
|
|
|
|
|
| 818 | 156 | 1177 |
| 4K2.2×120.96‑IV(V)‑0 | 154 |
|
|
|
|
|
| 609 |
|
| 134 | 897 |
| 4K2.2×120.96‑IV(V)‑1(2) |
| 202 |
|
|
|
| 611 |
|
|
| 132 | 945 |
| 4K2.2×120.96‑IV(V)‑3(4) |
| 203 |
|
|
|
|
|
|
| 818 | 156 | 1177 |
| 4K2.2×120.108‑III(IV;V)‑0(1;2) | 169 |
|
|
| 579 |
|
|
|
|
| 125 | 873 |
| 4K2.2×120.108‑III(IV;V)‑3(4) | 173 |
|
| 579 |
|
|
|
|
|
| 136 | 888 |
| 4K2.2×120.120‑III(IV;V)‑0(1;2) | 188 |
|
|
| 628 |
|
|
|
|
| 134 | 950 |
| 4K2.2×120.120‑III(IV;V)‑3(4) | 183 |
|
| 628 |
|
|
|
|
|
| 144 | 955 |
| 4K2.2×120.132‑III(IV;V)‑0 | 198 |
|
|
| 677 |
|
|
|
|
| 128 | 1003 |
| 4K2.2×120.132‑III‑1(2) | 203 |
|
| 678 |
|
|
|
|
|
| 134 | 1015 |
| 4K2.2×120.132‑III‑3 | 198 |
|
|
|
| 729 |
|
|
|
| 149 | 1076 |
| 4K2.2×120.132‑III‑4 | 203 |
|
|
|
|
|
| 780 |
|
| 154 | 1137 |
| 4K2.2×120.132‑IV(V)‑1 | 203 |
|
| 678 |
|
|
|
|
|
| 134 | 1015 |
| 4K2.2×120.132‑IV(V)‑2 | 198 |
|
|
|
| 729 |
|
|
|
| 132 | 1059 |
| 4K2.2×120.132‑IV(V)‑3 | 203 |
|
|
|
|
|
| 780 |
|
| 154 | 1037 |
| 4K2.2×120.132‑IV(V)‑4 |
| 252 |
|
|
|
| 782 |
|
|
| 155 | 1189 |
| 4K2.2×120.144‑III(IV;V)‑0 | 218 |
|
|
| 726 |
|
|
|
|
| 128 | 1072 |
| 4K2.2×120.144‑111‑1(2) | 214 |
|
| 726 |
|
|
|
|
|
| 134 | 1074 |
| 4K2.2×120.144‑III‑3 | 218 |
|
|
|
| 782 |
|
|
|
| 149 | 1049 |
| 4K2.2×120.144‑III‑4 | 222 |
|
|
|
|
|
| 827 |
|
| 154 | 1203 |
| 4K2.2×120.144‑IV(V)‑1 | 214 |
|
| 727 |
|
|
|
|
|
| 134 | 1075 |
| 4K2.2×120.144‑IV(V)‑2 | 218 |
|
|
|
| 782 |
|
|
|
| 132 | 1132 |
| 4K2.2×120.144‑IV(V)‑3 | 222 |
|
|
|
|
|
| 827 |
|
| 154 | 1203 |
| 4K2.2×120.144‑IV(V)‑4 |
| 277 |
|
|
|
| 839 |
|
|
| 155 | 1271 |
| 4К2.2×180.60‑III‑0 | 109 |
|
|
| 382 |
|
|
|
|
| 126 | 617 |
| 4К2.2×180.60‑III‑1(2) | 112 |
|
| 382 |
|
|
|
|
|
| 121 | 615 |
| 4К2.2×180.60‑III‑3 | 109 |
|
|
|
| 411 |
|
|
|
| 138 | 658 |
| 4К2.2×180.60‑III(1V;V)‑4 |
| 143 |
|
|
|
|
|
| 496 |
| 156 | 795 |
| 4K2.2×180.60‑IV(V)‑0(1) | 112 |
|
| 382 |
|
|
|
|
|
| 121 | 615 |
| 4K2.2×180.60‑IV(V)‑2 | 109 |
|
|
|
| 411 |
|
|
|
| 129 | 649 |
| 4K2.2×180.60‑IV(V)‑3 |
| 139 |
|
|
|
| 441 |
|
|
| 142 | 722 |
| 4К2.2×180.72‑III‑0 | 129 |
|
|
| 431 |
|
|
|
|
| 126 | 686 |
| 4K2.2×180.72‑III‑1(2) | 122 |
|
| 431 |
|
|
|
|
|
| 121 | 674 |
| 4К2.2×180.72‑III‑3 | 129 |
|
|
|
| 464 |
|
|
|
| 138 | 731 |
| 4K2.2×180.72‑III(IV;V)‑4 |
| 155 |
|
|
|
|
|
| 561 |
| 156 | 872 |
| 4K2.2×180.72‑IV(V)‑0(1) | 122 |
|
| 431 |
|
|
|
|
|
| 121 | 674 |
| 4K2.2×180.72‑IV(V)‑2 | 129 |
|
|
|
| 464 |
|
|
|
| 129 | 722 |
| 4K2.2×180.72‑IV(V)‑3 |
| 164 |
|
|
|
| 498 |
|
|
| 142 | 804 |
| 4K2.2×180.84‑III‑0 | 139 |
|
|
| 480 |
|
|
|
|
| 126 | 745 |
| 4K2.2×180.84‑III‑1(2) | 139 |
|
| 481 |
|
|
|
|
|
| 125 | 745 |
| 4K2.2×180.84‑III‑3 | 139 |
|
|
|
| 517 |
|
|
|
| 138 | 794 |
| 4K2.2×180.84‑III‑4 |
| 173 | 614 |
|
|
|
|
|
|
| 139 | 926 |
| 4K2.2×180.84‑IV(V)‑0(1) | 139 |
|
| 481 |
|
|
|
|
|
| 125 | 745 |
| 4K2.2×180.84‑IV(V)‑2 | 139 |
|
|
|
| 517 |
|
|
|
| 129 | 785 |
| 4K2.2×180.84‑IV(V)‑3(4) |
| 173 | 614 |
|
|
|
|
|
|
| 139 | 926 |
| 4K2.2×180.96‑III‑0 | 159 |
|
|
| 529 |
|
|
|
|
| 126 | 814 |
| 4K2.2×180.96‑III‑1(2) | 153 |
|
| 529 |
|
|
|
|
|
| 125 | 807 |
| 4K2.2×180.96‑III‑3 | 159 |
|
|
|
| 570 |
|
|
|
| 138 | 867 |
| 4K2.2×180.96‑III‑4 |
| 199 | 677 |
|
|
|
|
|
|
| 139 | 1015 |
| 4K2.2×180.96‑IV(V)‑0(1) | 153 |
|
| 529 |
|
|
|
|
|
| 125 | 807 |
| 4K2.2×180.96‑IV(V)‑2 | 159 |
|
|
|
| 570 |
|
|
|
| 129 | 858 |
| 4K2.2×180.96‑IV(V)‑3(4) |
| 199 | 677 |
|
|
|
|
|
|
| 139 | 1015 |
| 4K2.2×180.108‑III‑0 | 169 |
|
|
| 579 |
|
|
|
|
| 126 | 874 |
| 4K2.2×180.108‑III‑1(2) | 173 |
|
| 579 |
|
|
|
|
|
| 125 | 877 |
| 4K2.2×180.108‑III‑3(4) | 173 |
|
| 579 |
|
|
|
|
|
| 136 | 888 |
| 4K2.2×180.108‑IV(V)‑0(1;2) | 173 |
|
| 579 |
|
|
|
|
|
| 125 | 877 |
| 4K2.2×180.108‑IV(V)‑3 | 169 |
|
|
|
| 623 |
|
|
|
| 138 | 930 |
| 4K2.2×180.108‑IV(V)‑4 | 174 |
|
|
|
|
|
| 666 |
|
| 146 | 986 |
| 4K2.2×180.120‑III‑0 | 188 |
|
|
| 628 |
|
|
|
|
| 128 | 944 |
| 4K2.2×180.120‑III‑1(2) | 183 |
|
| 628 |
|
|
|
|
|
| 134 | 945 |
| 4K2.2×180.120‑III‑3(4) | 183 |
|
| 628 |
|
|
|
|
|
| 144 | 955 |
| 4K2.2×180.120‑IV(V)‑0(1;2) | 183 |
|
| 628 |
|
|
|
|
|
| 127 | 938 |
| 4K2.2×180.120‑IV(V)‑3 | 188 |
|
|
|
| 676 |
|
|
|
| 137 | 1001 |
| 4K2.2×180.120‑IV(V)‑4 | 183 |
|
|
|
|
|
| 723 |
|
| 150 | 1056 |
| 4К2.2×180.132‑III‑0(1) | 198 |
|
|
| 677 |
|
|
|
|
| 134 | 1009 |
| 4К2.2×180.132‑III‑2 | 203 |
|
| 678 |
|
|
|
|
|
| 127 | 1008 |
| 4К2.2×180.132‑III‑3(4) | 203 |
|
| 678 |
|
|
|
|
|
| 144 | 1025 |
| 4K2.2×l80.132‑IV(V)‑0(l;2) | 203 |
|
| 678 |
|
|
|
|
|
| 134 | 1015 |
| 4K2.2×l80.132‑IV(V)‑3 | 198 |
|
|
|
| 729 |
|
|
|
| 149 | 1076 |
| 4K2.2×l80.132‑IV(V)‑4 | 203 |
|
|
|
|
|
| 780 |
|
| 154 | 1139 |
| 4К2.2×180.144‑III‑0(1) | 218 |
|
|
| 726 |
|
|
|
|
| 134 | 1078 |
| 4К2.2×180.144‑III‑2 | 213 |
|
| 726 |
|
|
|
|
|
| 127 | 1066 |
| 4K2.2×l80.144‑III‑3(4) | 213 |
|
| 726 |
|
|
|
|
|
| 144 | 1083 |
| 4K2.2×l80.144‑IV(V)‑0(l;2) | 213 |
|
| 726 |
|
|
|
|
|
| 134 | 1073 |
| 4K2.2×l80.144‑IV(V)‑3 | 218 |
|
|
|
| 782 |
|
|
|
| 149 | 1149 |
| 4K2.2×l80.144‑IV(V)‑4 | 222 |
|
|
|
|
|
| 837 |
|
| 154 | 1213 |
СПЕЦИФИКАЦИЯ КРАЙНИХ СТОЕК РАМ МОДИФИКАЦИИ 5
| Марка элемента | Масса по профилям, кг | Общая масса, кг | ||||||||||||
| Гнутосварные трубы | сталь листовая | |||||||||||||
| 80×4 | 100×4 | 100×200×6 | 120×160×5 | 140×5 | 140×160×5 | 140×180×5 | 160×5 | 160×200×5 | 180×5 | 180×6 | 200×6 | |||
| 5K1.2×120.84‑III(IV;V)‑1 | 32 | 88 |
|
| 161 |
| 272 |
|
|
|
|
| 284 | 837 |
| 5К1.2×120.84‑III‑2 | 32 | 88 |
|
| 161 |
| 272 |
|
|
|
|
| 305 | 858 |
| 5K1.2×120.84‑III(IV;V)‑3 | 32 | 86 |
|
| 177 |
|
|
| 300 |
|
|
| 311 | 906 |
| 5K1.2×120.84‑III(IV;V)‑4 | 38 | 81 |
|
| 193 |
|
|
|
|
|
| 352 | 321 | 985 |
| 5K1.2×120.84‑IV(V)‑2 | 32 | 84 |
|
| 161 |
|
|
|
| 308 |
|
| 309 | 894 |
| 5K1.2×120.96‑III(IV;V)‑1 | 32 | 114 |
|
| 161 |
| 329 |
|
|
|
|
| 284 | 920 |
| 5K1.2×120.96‑III‑2 | 32 | 114 |
|
| 161 |
| 329 |
|
|
|
|
| 305 | 939 |
| 5K1.2×120.96‑III(IV;V)‑3 | 32 | 98 |
|
| 177 |
|
|
| 367 |
|
|
| 311 | 985 |
| 5K1.2×120.96‑III(IV;V)‑4 | 38 | 93 |
|
| 193 |
|
|
|
|
|
| 438 | 321 | 1083 |
| 5K1.2×120.96‑IV(V)‑2 | 32 | 108 |
|
| 161 |
|
|
|
| 373 |
|
| 309 | 983 |
| 5K1.2×120.108‑III(IV;V)‑1 | 134 |
|
| 334 | 161 |
|
|
|
|
|
|
| 355 | 984 |
| 5K1.2×120.108‑III(IV;V)‑2 | 134 |
|
| 334 | 161 |
|
|
|
|
|
|
| 379 | 1008 |
| 5K1.2×120.108‑III(IV;V)‑3 | 129 |
|
|
| 177 |
|
| 367 |
|
|
|
| 416 | 1088 |
| 5K1.2×120.108‑III(IV;V)‑4 | 38 | 119 |
|
| 193 |
|
|
|
| 394 |
|
| 423 | 1167 |
| 5K1.2×120.120‑III(IV;V)‑1 | 144 |
|
| 384 | 161 |
|
|
|
|
|
|
| 355 | 1044 |
| 5K1.2×120.120‑III(IV;V)‑2 | 144 |
|
| 384 | 161 |
|
|
|
|
|
|
| 379 | 1068 |
| 5K1.2×120.120‑III(IV;V)‑3 | 179 |
|
|
| 177 |
|
| 424 |
|
|
|
| 416 | 1196 |
| 5K1.2×120.120‑III(IV;V)‑4 | 38 | 131 |
|
| 193 |
|
|
|
| 458 |
|
| 423 | 1243 |
| 5K1.2×120.132‑III(IV;V)‑1 | 164 |
|
| 433 | 161 |
|
|
|
|
|
|
| 355 | 1113 |
| 5K1.2×120.132‑III(IV)‑2 | 164 |
|
| 433 | 161 |
|
|
|
|
|
|
| 379 | 1137 |
| 5K1.2×120.132‑III(IV;V)‑3 | 32 | 164 |
|
| 177 |
| 480 |
|
|
|
|
| 389 | 1242 |
| 5K1.2×120.132‑III(IV;V)‑4 | 38 | 155 |
|
| 193 |
|
|
|
|
| 620 |
| 423 | 1429 |
| 5K1.2×120.120‑V‑2 | 161 |
|
|
| 161 | 466 |
|
|
|
|
|
| 381 | 1169 |
| 5K1.2×120.144‑III(IV;V)‑1 | 185 |
|
| 482 | 161 |
|
|
|
|
|
|
| 355 | 1183 |
| 5K1.2×120.144‑III(IV)‑2 | 185 |
|
| 482 | 161 |
|
|
|
|
|
|
| 379 | 1207 |
| 5K1.2×120.144‑III(IV;V)‑3 | 32 | 177 |
|
| 177 |
| 537 |
|
|
|
|
| 389 | 1312 |
| 5K1.2×120.144‑III(IV;V)‑4 | 38 | 179 |
|
| 193 |
|
|
|
|
| 697 |
| 423 | 1530 |
| 5K1.2×120.144‑V‑2 | 181 |
|
|
| 161 | 519 |
|
|
|
|
|
| 381 | 1242 |
| 5K1.2×180.84‑III(IV;V)‑1 | 32 | 93 | 301 |
| 161 |
|
|
|
|
|
|
| 281 | 868 |
| 5K1.2×180.84‑III‑2 | 32 | 93 | 301 |
| 161 |
|
|
|
|
|
|
| 302 | 889 |
| 5K1.2×180.84‑III(IV)‑3 | 32 | 86 |
|
| 177 |
|
|
| 287 |
|
|
| 314 | 896 |
| 5K1.2×180.84‑III(IV;V)‑4 | 38 | 81 |
|
| 193 |
|
|
|
|
|
| 352 | 316 | 980 |
| 5K1.2×180.84‑IV(V)‑2 | 32 | 86 |
|
| 161 |
|
|
| 366 |
|
|
| 309 | 954 |
| 5K1.2×180.84‑V‑3 | 32 | 81 |
|
| 177 |
|
|
|
|
|
| 381 | 314 | 985 |
| 5K1.2×180.96‑III(IV;V)‑1 | 32 | 106 | 364 |
| 161 |
|
|
|
|
|
|
| 281 | 944 |
| 5K1.2×180.96‑III‑2 | 32 | 106 | 364 |
| 161 |
|
|
|
|
|
|
| 302 | 965 |
| 5K1.2×180.96‑III(IV)‑3 | 32 | 98 |
|
| 177 |
|
|
| 351 |
|
|
| 314 | 972 |
| 5K1.2×180.96‑III(IV;V)‑4 | 38 | 93 |
|
| 193 |
|
|
|
|
|
| 438 | 326 | 1088 |
| 5K1.2×180.96‑IV(V)‑2 | 32 | 111 |
|
| 161 |
|
|
| 442 |
|
|
| 309 | 1055 |
| 5K1.2×180.96‑V‑3 | 32 | 105 |
|
| 177 |
|
|
|
|
|
| 466 | 312 | 1092 |
| 5К1.2×180.108‑III(IV;V)‑1 | 134 |
| 335 |
| 161 |
|
|
|
|
|
|
| 355 | 985 |
| 5K1.2×18O.108‑III(IV)‑2 | 134 |
| 335 |
| 161 |
|
|
|
|
|
|
| 379 | 1009 |
| 5К1.2×180.108‑III(IV;V)‑3 | 32 | 126 |
|
| 177 |
| 367 |
|
|
|
|
| 389 | 1091 |
| 5K1.2×180.108‑III(IV;V)‑4 | 38 | 111 |
|
| 193 |
|
|
| 394 |
|
|
| 421 | 1157 |
| 5K1.2×180.108‑V‑2 | 131 |
|
|
| 161 | 360 |
|
|
|
|
|
| 379 | 1031 |
| 5K1.2×180.120‑III(IV;V)‑1 | 144 |
| 384 |
| 161 |
|
|
|
|
|
|
| 355 | 1044 |
| 5К1.2×180.120‑III(IV)‑2 | 144 |
| 384 |
| 161 |
|
|
|
|
|
|
| 379 | 1068 |
| 5K1.2×180.120‑III(IV;V)‑3 | 32 | 139 |
|
| 177 |
| 424 |
|
|
|
|
| 389 | 1161 |
| 5K1.2×180.120‑III(IV;V)‑4 | 38 | 135 |
|
| 193 |
|
|
| 458 |
|
|
| 421 | 1245 |
| 5K1.2×180.120‑V‑2 | 151 |
|
|
| 161 | 413 |
|
|
|
|
|
| 389 | 1114 |
| 5K1.2×180.132‑III(IV;V)‑1 | 164 |
|
| 433 | 161 |
|
|
|
|
|
|
| 355 | 1113 |
| 5K1.2×180.132‑III‑2 | 164 |
|
| 433 | 161 |
|
|
|
|
|
|
| 379 | 1135 |
| 5K1.2×180.132‑III(IV)‑3 | 32 | 159 | 531 |
| 177 |
|
|
|
|
|
|
| 412 | 1311 |
| 5K1.2×180.132‑III‑4 | 38 | 160 |
|
| 193 |
|
|
| 620 |
|
|
| 421 | 1432 |
| 5K1.2×180.132‑IV(V)‑2 | 161 |
|
|
| 161 | 466 |
|
|
|
|
|
| 409 | 1197 |
| 5K1.2×180.132‑IV(V)‑4 | 38 | 151 |
|
| 193 |
|
|
|
|
|
| 694 | 428 | 1504 |
| 5K1.2×180.132‑V‑3 | 32 | 160 |
|
| 177 |
|
|
| 544 |
|
|
| 418 | 1331 |
| 5K1.2×180.144‑III(IV;V)‑1 | 185 |
|
| 482 | 161 |
|
|
|
|
|
|
| 355 | 1183 |
| 5K1.2×180.144‑III‑2 | 185 |
|
| 482 | 161 |
|
|
|
|
|
|
| 379 | 1207 |
| 5K1.2×180.144‑III(IV)‑3 | 32 | 186 | 594 |
| 177 |
|
|
|
|
|
|
| 412 | 1401 |
| 5K1.2×180.144‑III‑4 | 38 | 172 |
|
| 193 |
|
|
| 697 |
|
|
| 421 | 1521 |
| 5K1.2×180.144‑IV(V)‑2 | 181 |
|
|
| 161 | 519 |
|
|
|
|
|
| 409 | 1270 |
| 5K1.2×180.144‑IV(V)‑4 | 38 | 174 |
|
| 193 |
|
|
|
|
|
| 779 | 428 | 1612 |
| 5K1.2×180.144‑V‑3 | 32 | 184 |
|
| 177 |
|
|
| 608 |
|
|
| 418 | 1419 |
СПЕЦИФИКАЦИЯ СРЕДНИХ СТОЕК РАМ МОДИФИКАЦИИ 5
| Марка элемента | Масса по профилям, кг | Общая масса, кг | |||||||||||||||
| Гнутосварные трубы | сталь листовая | ||||||||||||||||
| 80×4 | 100×4 | 120×200×5 | 120×200×6 | 140×5 | 140×160×5 | 140×180×5 | 160×5 | 160×6 | 160×200×5 | 160×200×6 | 180×5 | 180×8 | 200×6 | 200×8 | |||
| 5K2.2×120.84‑III(IV;V)‑1 |
| 164 |
|
|
|
| 509 |
|
|
|
|
|
|
|
| 393 | 1066 |
| 5K2.2×120.84‑III(IV)‑2 |
| 167 |
|
|
|
|
|
|
|
|
| 577 |
|
|
| 425 | 1169 |
| 5K2.2×120.84‑III(IV;V)‑3 |
| 174 |
|
|
|
|
|
|
|
|
|
|
| 766 |
| 427 | 1367 |
| 5K2.2×120.84‑III(IV;V)‑4 |
| 174 |
|
|
|
|
|
|
|
|
|
|
|
| 1001 | 429 | 1604 |
| 5K2.2×120.84‑V‑2 |
| 172 |
|
|
|
|
|
|
| 577 |
|
|
|
|
| 414 | 1163 |
| 5K2.2×120.96‑III(IV;V)‑1 |
| 189 |
|
|
|
| 566 |
|
|
|
|
|
|
|
| 445 | 1200 |
| 5K2.2×120.96‑III(IV)‑2 |
| 191 |
|
|
|
|
|
|
|
|
| 641 |
|
|
| 490 | 1322 |
| 5K2.2×120.96‑III(IV;V)‑3 |
| 197 |
|
|
|
|
|
|
|
|
|
|
| 851 |
| 498 | 1546 |
| 5K2.2×120.96‑III(IV;V)‑4 |
| 186 |
|
|
|
|
|
|
|
|
|
|
|
| 1113 | 498 | 1797 |
| 5K2.2×120.96‑V‑2 |
| 196 |
|
|
|
|
|
|
| 641 |
|
|
|
|
| 481 | 1318 |
| 5K2.2×120.108‑III(IV;V)‑1 | 159 |
|
|
| 540 |
|
|
|
|
|
|
|
|
|
| 439 | 1138 |
| 5K2.2×120.108‑III(IV;V)‑2 | 174 |
|
|
|
|
|
| 623 |
|
|
|
|
|
|
| 475 | 1272 |
| 5K2.2×120.108‑III(IV;V)‑3 |
| 203 |
|
|
|
|
|
|
|
|
| 705 |
|
|
| 490 | 1398 |
| 5K2.2×120.108‑III(IV;V)‑4 |
| 209 |
|
|
|
|
|
|
|
|
|
|
| 937 |
| 494 | 1318 |
| 5K2.2×120.120‑III(IV;V)‑1 | 178 |
|
|
| 589 |
|
|
|
|
|
|
|
|
|
| 439 | 1206 |
| 5K2.2×120.120‑III(IV;V)‑2 | 183 |
|
|
|
|
|
| 680 |
|
|
|
|
|
|
| 475 | 1338 |
| 5K2.2×120.120‑III(IV;V)‑3 |
| 227 |
|
|
|
|
|
|
|
|
| 770 |
|
|
| 490 | 1487 |
| 5K2.2×120.120‑III(IV;V)‑4 |
| 232 |
|
|
|
|
|
|
|
|
|
|
| 1022 |
| 494 | 1748 |
| 5K2.2×120.132‑III(IV;V)‑1 | 188 |
|
|
| 639 |
|
|
|
|
|
|
|
|
|
| 440 | 1267 |
| 5K2.2×120.132‑III(IV;V)‑2 | 188 |
|
|
|
| 687 |
|
|
|
|
|
|
|
|
| 472 | 1347 |
| 5K2.2×120.132‑III(IV;V)‑3 |
| 258 |
| 873 |
|
|
|
|
|
|
|
|
|
|
| 464 | 1595 |
| 5K2.2×120.132‑III(IV)‑4 |
| 244 |
|
|
|
|
|
|
|
|
|
|
| 1107 |
| 498 | 1849 |
| 5K2.2×120.132‑V‑4 |
| 244 |
|
|
|
|
|
|
|
|
|
|
|
| 1416 | 498 | 2158 |
| 5K2.2×120.144‑III(IV;V)‑1 | 208 |
|
|
| 688 |
|
|
|
|
|
|
|
|
|
| 440 | 1336 |
| 5K2.2×120.144‑III(IV;V)‑2 | 208 |
|
|
|
| 741 |
|
|
|
|
|
|
|
|
| 472 | 1421 |
| 5K2.2×120.144‑III(IV;V)‑3 |
| 271 |
| 940 |
|
|
|
|
|
|
|
|
|
|
| 464 | 1675 |
| 5K2.2×120.144‑III(IV)‑4 |
| 279 |
|
|
|
|
|
|
|
|
|
|
| 1193 |
| 498 | 1970 |
| 5K2.2×120.144‑V‑4 |
| 267 |
|
|
|
|
|
|
|
|
|
|
|
| 1526 | 498 | 2291 |
| 5K2.2×180.84‑III‑1 | 164 |
|
|
|
|
| 509 |
|
|
|
|
|
|
|
| 393 | 1066 |
| 5K2.2×180.84‑III(IV)‑2 | 172 |
|
|
|
|
|
|
|
| 577 |
|
|
|
|
| 414 | 1163 |
| 5K2.2×180.84‑III(IV;V)‑3 | 174 |
|
|
|
|
|
|
|
|
|
|
|
| 766 |
| 427 | 1367 |
| 5K2.2×120.84‑III(IV;V)‑4 | 174 |
|
|
|
|
|
|
|
|
|
|
|
|
| 1001 | 429 | 1604 |
| 5K2.2×180.84‑IV(V)‑1 | 167 |
|
|
|
|
|
|
|
|
|
| 577 |
|
|
| 397 | 1141 |
| 5K2.2×180.84‑V‑2 | 174 |
|
|
|
|
|
|
|
|
|
|
|
| 766 |
| 421 | 1361 |
| 5K2.2×180.96‑III‑1 | 189 |
|
|
|
|
| 566 |
|
|
|
|
|
|
|
| 445 | 1200 |
| 5K2.2×180.96‑III(IV)‑2 | 196 |
|
|
|
|
|
|
|
| 641 |
|
|
|
|
| 474 | 1311 |
| 5K2.2×180.96‑III(IV;V)‑3 | 197 |
|
|
|
|
|
|
|
|
|
|
|
| 851 |
| 498 | 1546 |
| 5K2.2×120.96‑III(IV;V)‑4 | 186 |
|
|
|
|
|
|
|
|
|
|
|
|
| 1113 | 498 | 1797 |
| 5K2.2×180.96‑IV(V)‑1 | 191 |
|
|
|
|
|
|
|
|
|
| 641 |
|
|
| 461 | 1293 |
| 5K2.2×180.96‑V‑2 | 186 |
|
|
|
|
|
|
|
|
|
|
|
| 851 |
| 491 | 1528 |
| 5K2.2×180.108‑III(IV)‑1 | 163 |
| 540 |
|
|
|
|
|
|
|
|
|
|
|
| 434 | 1137 |
| 5K2.2×180.108‑III‑2 | 159 |
|
|
|
| 581 |
|
|
|
|
|
|
|
|
| 472 | 1212 |
| 5K2.2×180.108‑III(IV)‑3 |
| 203 |
|
|
|
|
|
|
|
|
| 705 |
|
|
| 497 | 1405 |
| 5K2.2×180.108‑III(IV;V)‑4 |
| 209 |
|
|
|
|
|
|
|
|
|
|
| 937 |
| 498 | 1644 |
| 5K2.2×180.108‑IV(V)‑2 | 174 |
|
|
|
|
|
| 623 |
|
|
|
|
|
|
| 482 | 1279 |
| 5K2.2×180.108‑V‑1 | 163 |
|
|
|
| 540 |
|
|
|
|
|
|
|
|
| 443 | 1146 |
| 5K2.2×180.108‑V‑3 |
| 209 |
|
|
|
|
|
|
|
| 738 |
|
|
|
| 481 | 1428 |
| 5K2.2×180.120‑III(IV)‑1 | 173 |
| 589 |
|
|
|
|
|
|
|
|
|
|
|
| 434 | 1196 |
| 5K2.2×180.120‑III‑2 | 178 |
|
|
|
| 634 |
|
|
|
|
|
|
|
|
| 472 | 1284 |
| 5K2.2×180.120‑III(IV)‑3 |
| 227 |
|
|
|
|
|
|
|
|
| 770 |
|
|
| 497 | 1494 |
| 5K2.2×180.120‑III(IV;V)‑4 |
| 232 |
|
|
|
|
|
|
|
|
|
|
| 1022 |
| 498 | 1752 |
| 5K2.2×180.120‑IV(V)‑2 | 183 |
|
|
|
|
|
| 680 |
|
|
|
|
|
|
| 482 | 1345 |
| 5K2.2×180.120‑V‑1 | 178 |
|
|
|
| 634 |
|
|
|
|
|
|
|
|
| 443 | 1255 |
| 5K2.2×180.120‑V‑3 |
| 233 |
|
|
|
|
|
|
|
| 805 |
|
|
|
| 481 | 1519 |
| 5K2.2×180.132‑III(IV)‑1 | 193 |
| 639 |
|
|
|
|
|
|
|
|
|
|
|
| 434 | 1266 |
| 5K2.2×180.132‑III(IV;V)‑2 | 203 |
|
|
|
|
|
|
| 873 |
|
|
|
|
|
| 480 | 1556 |
| 5K2.2×180.132‑III(IV;V)‑3 |
| 256 |
|
|
|
|
|
|
|
|
|
|
| 1107 |
| 498 | 1861 |
| 5K2.2×180.132‑III(IV)‑4 |
| 251 |
|
|
|
|
|
|
|
|
|
| 1291 |
|
| 497 | 2039 |
| 5K2.2×180.132‑V‑1 | 203 |
|
|
|
|
|
| 736 |
|
|
|
|
|
|
| 449 | 1388 |
| 5K2.2×180.132‑V‑4 |
| 251 |
|
|
|
|
|
|
|
|
|
|
|
| 1447 | 498 | 2196 |
| 5K2.2×180.144‑III(IV)‑1 | 214 |
| 688 |
|
|
|
|
|
|
|
|
|
|
|
| 434 | 1336 |
| 5K2.2×180.144‑III(IV,V)‑2 | 212 |
|
|
|
|
|
|
| 940 |
|
|
|
|
|
| 480 | 1632 |
| 5K2.2×180.144‑III(IV;V)‑3 |
| 279 |
|
|
|
|
|
|
|
|
|
|
| 1193 |
| 498 | 1970 |
| 5K2.2×180.144‑III(IV)‑4 |
| 263 |
|
|
|
|
|
|
|
|
|
| 1390 |
|
| 497 | 2150 |
| 5K2.2×180.144‑V‑1 | 212 |
|
|
|
|
|
| 793 |
|
|
|
|
|
|
| 449 | 1454 |
| 5K2.2×180.144‑V‑4 |
| 279 |
|
|
|
|
|
|
|
|
|
|
|
| 1559 | 498 | 2336 |
СПЕЦИФИКАЦИЯ РИГЕЛЕЙ ОДНОПРОЛЕТНЫХ РАМ МОДИФИКАЦИИ 4
| Марка элемента | Масса по профилям, кг | Общая масса, кг | |||||||||||
| Гнутосварные трубы | сталь листовая | прочее |
| ||||||||||
| 80×4 | 100×4 | 120×4 | 120×5 | 140×5 | 140×6 | 160×5 | 160×6 | 180×5 | 180×6 | ||||
| 41Р1(1а).120‑III‑0(1) | 84 |
| 175 | 109 |
|
|
|
|
|
| 53 | 11 | 432 |
| 41Р1(1а).120‑III‑2 41P1(1a).120‑IV‑0 | 84 |
|
| 322 |
|
|
|
|
|
| 53 | 11 | 470 |
| 41Р1(1а).120‑III‑3(4) 41P1(1a).120‑IV‑1(2‑4) | 84 |
|
| 213 | 129 |
|
|
|
|
| 53 | 11 | 490 |
| 41P1(1a).120‑V‑0(1‑4) | 107 |
|
| 213 | 129 |
|
|
|
|
| 62 | 11 | 522 |
| 41Р1б.120‑III‑1 | 109 |
| 175 | 109 |
|
|
|
|
|
| 53 | 11 | 457 |
| 41Р1б.120‑III‑2(3;4) 41P1б.120‑IV‑1(2‑4) | 109 |
|
| 213 | 129 |
|
|
|
|
| 53 | 11 | 515 |
| 41P1б.120‑V‑1(2) |
| 139 |
| 213 | 129 |
|
|
|
|
| 62 | 11 | 554 |
| 41P1б.120‑V‑3(4) |
| 139 |
| 213 |
|
| 149 |
|
|
| 63 | 11 | 575 |
| 41Р1(1а).180‑III‑0(1‑3) | 83 |
| 66 | 131 | 191 |
|
|
|
|
| 60 | 11 | 542 |
| 41Р1(1а).180‑III‑4 | 83 |
| 66 | 131 |
| 226 |
|
|
|
| 62 | 11 | 577 |
| 41Р1(1а).180‑IV‑0(1‑4) |
| 105 |
|
| 233 |
| 220 |
|
|
| 67 | 12 | 637 |
| 41P1(1a).180‑V‑0 |
| 105 |
|
|
|
| 488 |
|
|
| 80 | 12 | 685 |
| 41P1(1a).180‑V‑1(2;3) |
| 105 |
|
|
|
| 269 | 261 |
|
| 80 | 12 | 727 |
| 41P1(1a).180‑V‑4 |
|
| 128 |
|
|
| 269 | 261 |
|
| 81 | 12 | 750 |
| 41P1б.180‑III‑1 | 95 |
|
| 197 | 191 |
|
|
|
|
| 60 | 11 | 554 |
| 41Р1б.180‑III‑2(3) | 95 |
|
| 197 |
|
| 220 |
|
|
| 62 | 11 | 585 |
| 41P1б.180‑III‑4 | 95 |
|
|
| 233 |
|
| 261 |
|
| 65 | 12 | 665 |
| 41P1б.180‑IV‑1(2) |
| 121 |
|
| 233 |
| 220 |
|
|
| 65 | 12 | 651 |
| 41P1б.180‑IV‑3(4) |
| 121 |
|
| 233 |
|
| 261 |
|
| 65 | 12 | 692 |
| 41P1б.180‑V‑1(2) |
| 121 |
|
|
|
| 269 | 261 |
|
| 80 | 12 | 743 |
| 41P1б.180‑V‑3 |
|
| 147 |
|
|
| 269 |
| 249 |
| 83 | 12 | 760 |
| 41P1б.180‑V‑4 |
|
| 147 |
|
|
|
| 318 |
| 296 | 83 | 12 | 856 |
| 42P1(1a).120‑III‑0(1) | 135 |
| 175 | 109 |
|
|
|
|
|
| 59 | 11 | 489 |
| 42P1(1a).120‑III‑2 42P1(1a).120‑IV‑0 | 135 |
|
| 322 |
|
|
|
|
|
| 59 | 11 | 527 |
| 42P1(1a).120‑III‑3(4) 42P1(1a).120‑IV‑1(2‑4) | 135 |
|
| 213 | 129 |
|
|
|
|
| 60 | 11 | 548 |
| 42P1(1a).120‑V‑0(1‑4) | 172 |
|
| 213 | 129 |
|
|
|
|
| 69 | 11 | 594 |
| 42P1б.120‑III‑1 | 160 |
| 175 | 109 |
|
|
|
|
|
| 59 | 11 | 514 |
| 42P1б.120‑III‑2(3;4) 42P1б.120‑IV‑1(2‑4) | 160 |
|
| 213 | 129 |
|
|
|
|
| 60 | 11 | 573 |
| 42P1б.120‑V‑1(2) |
| 204 |
| 213 | 129 |
|
|
|
|
| 69 | 11 | 625 |
| 42P1б.120‑V‑3(4) |
| 203 |
| 213 |
|
| 149 |
|
|
| 69 | 11 | 645 |
| 42P1(1a).180‑III‑0(1‑3) | 120 |
| 66 | 131 | 191 |
|
|
|
|
| 63 | 11 | 582 |
| 42P1(1a).180‑III‑4 | 120 |
| 66 | 131 |
| 226 |
|
|
|
| 63 | И | 617 |
| 42P1(1a).180‑IV‑0(1‑4) |
| 152 |
|
| 233 |
| 220 |
|
|
| 71 | 12 | 688 |
| 42P1(1a).180‑V‑0 |
| 152 |
|
|
|
| 488 |
|
|
| 84 | 12 | 736 |
| 42P1(1a).180‑V‑1(2;3) |
| 152 |
|
|
|
| 269 | 261 |
|
| 84 | 12 | 778 |
| 42P1(1a).180‑V‑4 |
|
| 185 |
|
|
| 269 | 261 |
|
| 85 | 12 | 811 |
| 42Р1б.180‑III‑1 | 132 |
|
| 197 | 191 |
|
|
|
|
| 63 | 11 | 594 |
| 42Р1б.180‑III‑2(3) | 132 |
|
| 197 |
|
| 220 |
|
|
| 65 | 11 | 625 |
| 42Р1б.180‑III‑4 | 132 |
|
|
| 233 |
|
| 261 |
|
| 68 | 12 | 706 |
| 42P1б.180‑IV‑1(2) |
| 168 |
|
| 233 |
| 220 |
|
|
| 69 | 12 | 702 |
| 42P1б.180‑IV‑3(4) |
| 168 |
|
| 233 |
|
| 261 |
|
| 69 | 12 | 743 |
| 42P1б.180‑V‑1(2) |
| 168 |
|
|
|
| 269 | 261 |
|
| 84 | 12 | 794 |
| 42P1б.180‑V‑3 |
|
| 204 |
|
|
| 269 |
| 249 |
| 87 | 12 | 821 |
| 42P1б.180‑V‑4 |
|
| 204 |
|
|
|
| 318 |
| 296 | 87 | 12 | 917 |
СПЕЦИФИКАЦИЯ РИГЕЛЕЙ ОДНОПРОЛЕТНЫХРАМ МОДИФИКАЦИИ 5
| Марка элемента | Масса по профилям, кг | Общая масса, кг | |||||||||||
| Гнутосварные трубы | сталь листовая | прочее | |||||||||||
| 80×4 | 100×4 | 120×4 | 120×5 | 140×5 | 160×5 |
|
|
|
| ||||
| 51Р1.120‑III‑1(2‑4) | 84 |
| 175 | 109 |
|
|
|
|
|
| 53 | 11 | 432 |
| 51P1.120‑IV‑1(2‑4) | 84 |
|
| 322 |
|
|
|
|
|
| 53 | 11 | 470 |
| 51P1.120‑V‑1(2‑4) |
| 107 |
| 213 | 129 |
|
|
|
|
| 62 | 11 | 522 |
| 51Р1.180‑III‑1(2‑4) | 83 |
|
| 197 | 191 |
|
|
|
|
| 60 | 11 | 542 |
| 51P1.180‑IV‑1(2‑4) |
| 105 |
|
| 233 | 220 |
|
|
|
| 67 | 12 | 637 |
| 51P1.180‑V‑1(2‑4) |
| 105 |
|
|
| 488 |
|
|
|
| 80 | 12 | 685 |
| 52P1.120‑III‑1(2‑4) | 135 |
| 175 | 109 |
|
|
|
|
|
| 59 | 11 | 489 |
| 52P1.120‑IV‑1(2‑4) | 135 |
|
| 322 |
|
|
|
|
|
| 59 | 11 | 527 |
| 52P1.120‑V‑1(2‑4) |
| 172 |
| 213 | 129 |
|
|
|
|
| 69 | 11 | 594 |
| 52Р1.180‑III‑1(2‑4) | 120 |
|
| 197 | 191 |
|
|
|
|
| 63 | 11 | 582 |
| 52P1.180‑IV‑1(2‑4) |
| 152 |
|
| 233 | 220 |
|
|
|
| 71 | 12 | 688 |
| 52P1.180‑V‑1(2‑4) |
| 152 |
|
|
| 488 |
|
|
|
| 84 | 12 | 736 |
СПЕЦИФИКАЦИЯ РИГЕЛЕЙ ДВУХПРОЛЕТНЫХ РАМ МОДИФИКАЦИИ 4
| Марка элемента | Масса по профилям, кг | Общая масса, кг | |||||||||||
| Гнутосварные трубы | сталь листовая | прочее | |||||||||||
| 80×4 | 100×4 | 120×4 | 120×5 | 140×5 | 160×5 | 160×6 | 180×5 | 180×6 | 180×8 | ||||
| 41Р1.2×120‑III‑0 | 105 |
| 183 | 214 |
|
|
|
|
|
| 44 | 11 | 557 |
| 41P1.2×120.IV‑0 | 105 |
| 183 | 214 |
|
|
|
|
|
| 44 | 11 | 557 |
| 41P1.2×120.V‑0 |
| 134 |
| 224 | 253 |
|
|
|
|
| 47 | 11 | 669 |
| 41Р1а.2×120‑III‑1 | 100 |
| 211 | 214 |
|
|
|
|
|
| 44 | 11 | 580 |
| 41Р1а.2×120‑III‑2(3;4) | 100 |
|
| 471 |
|
|
|
|
|
| 44 | 11 | 626 |
| 41P1a.2×120‑IV‑1(2‑4) | 100 |
|
| 257 | 253 |
|
|
|
|
| 44 | 11 | 665 |
| 41P1a.2×120‑V‑1(2‑4) |
| 127 |
| 257 | 253 |
|
|
|
|
| 47 | 11 | 695 |
| 41Р1б.2×120‑III‑1 | 95 |
| 238 | 214 |
|
|
|
|
|
| 47 | 11 | 605 |
| 41Р1б.2×120‑III‑2(3;4) | 95 |
|
| 290 | 253 |
|
|
|
|
| 48 | И | 697 |
| 41P1б.2×120‑IV‑1(2‑4) | 95 |
|
| 290 | 253 |
|
|
|
|
| 48 | 11 | 697 |
| 41P1б.2×120‑V‑1(2) |
| 121 |
| 290 | 253 |
|
|
|
|
| 48 | 11 | 723 |
| 41P1б.2×120‑V‑3(4) |
| 121 |
| 290 |
| 292 |
|
|
|
| 49 | 11 | 763 |
| 41Р1(1а).2×180‑III‑0(1;2) | 70 |
|
| 138 |
| 194 |
|
|
|
| 67 | 11 | 480 |
| 41Р1(1а).2×180‑III‑3 | 70 |
|
| 138 |
| 194 |
|
|
|
| 74 | 11 | 487 |
| 41Р1(1а).2×180‑III‑4 |
| 89 |
| 138 |
| 194 |
|
|
|
| 76 | 11 | 508 |
| 41Р1(1а).2×180‑IV‑0(1‑3) | 70 |
|
| 138 |
|
| 230 |
|
|
| 74 | 11 | 523 |
| 41P1(1a).2×180‑IV‑4 |
| 89 |
| 138 |
|
| 230 |
|
|
| 77 | 11 | 545 |
| 41P1(1a).2×180‑V‑0(1‑3) |
| 89 |
|
| 163 |
|
|
| 261 |
| 81 | 12 | 606 |
| 41P1(1a).2×180‑V‑4 |
| 89 |
|
| 163 |
|
|
| 261 |
| 90 | 12 | 615 |
| 41Р1б.2×180‑III‑1 | 65 |
|
| 171 |
| 194 |
|
|
|
| 68 | 11 | 509 |
| 41Р1б.2×180‑III‑2 | 65 |
|
| 171 |
|
| 230 |
|
|
| 68 | 11 | 547 |
| 41Р1б.2×180‑III‑3 | 65 |
|
| 171 |
| 194 |
|
|
|
| 75 | 11 | 516 |
| 41Р1б.2×180‑III‑4 |
| 83 |
|
| 202 |
|
| 220 |
|
| 83 | 12 | 600 |
| 41P1б.2×180‑IV‑1(2) |
| 83 |
|
| 202 |
|
| 220 |
|
| 83 | 12 | 600 |
| 41P1б.2×180‑IV‑3(4) |
| 83 |
|
| 202 |
|
|
| 261 |
| 84 | 12 | 642 |
| 41P1б.2×180‑V‑1 |
| 83 |
|
| 202 |
|
|
| 261 |
| 84 | 12 | 642 |
| 41P1б.2×180‑V‑2(3) |
| 83 |
|
| 202 |
|
|
|
| 340 | 84 | 12 | 721 |
| 41P1б.2×180‑V‑4 |
| 83 |
|
|
| 233 |
|
|
| 340 | 96 | 12 | 764 |
| 41P2.2×180‑III‑0(1;2) | 105 |
|
| 190 |
| 240 |
|
|
|
| 66 | 11 | 612 |
| 41P2.2×180‑III‑3 | 105 |
|
| 190 |
| 240 |
|
|
|
| 73 | 11 | 619 |
| 41P2.2×180‑III‑4 |
| 134 |
| 190 |
| 240 |
|
|
|
| 75 | 11 | 650 |
| 41P2.2×180‑IV‑0(1‑3) | 105 |
|
| 190 |
|
| 285 |
|
|
| 73 | 11 | 664 |
| 41P2.2×180‑IV‑4 |
| 134 |
| 190 |
|
| 285 |
|
|
| 75 | 11 | 695 |
| 41P2.2×180‑V‑0(1‑3) |
| 134 |
|
| 225 |
|
|
| 323 |
| 80 | 12 | 774 |
| 41P2.2×180‑V‑4 |
| 134 |
|
| 225 |
|
|
| 323 |
| 89 | 12 | 783 |
| 41P2a.2×180‑III‑1(2) | 100 |
|
| 223 |
| 240 |
|
|
|
| 68 | 11 | 642 |
| 41P2a.2×180‑III‑3 | 100 |
|
| 223 |
| 240 |
|
|
|
| 74 | 11 | 648 |
| 41P2a.2×180‑III‑4 |
| 127 |
| 223 |
| 240 |
|
|
|
| 76 | 11 | 677 |
| 41P2a.2×180‑IV‑1(2;3) | 100 |
|
| 223 |
|
| 285 |
|
|
| 74 | 11 | 693 |
| 41P2a.2×180‑IV‑4 |
| 127 |
| 223 |
|
| 285 |
|
|
| 76 | 11 | 722 |
| 41P2a.2×180‑V‑1(2;3) |
| 127 |
|
| 264 |
|
|
| 323 |
| 82 | 12 | 808 |
| 41P2a.2×180‑V‑4 |
| 127 |
|
| 264 |
|
|
| 323 |
| 91 | 12 | 817 |
| 41Р2б.2×180‑III‑1 | 100 |
|
| 223 |
| 240 |
|
|
|
| 68 | 11 | 642 |
| 41Р2б.2×180‑III‑2 | 100 |
|
| 223 |
|
| 285 |
|
|
| 68 | 11 | 687 |
| 41Р2б.2×180‑III‑3 |
| 127 |
| 223 |
|
|
| 245 |
|
| 76 | 11 | 722 |
| 41Р2б.2×180‑III‑4 |
| 127 |
|
| 264 |
|
| 245 |
|
| 82 | 12 | 757 |
| 41P2б.2×180‑IV‑1(2) |
| 127 |
|
| 264 |
|
| 245 |
|
| 82 | 12 | 757 |
| 41P2б.2×180‑IV‑3(4) |
| 127 |
|
| 264 |
|
|
| 322 |
| 82 | 12 | 807 |
| 41P2б.2×180‑V‑1 |
| 127 |
|
| 264 |
|
|
| 322 |
| 82 | 12 | 807 |
| 41P2б.2×180‑V‑2(3) |
| 127 |
|
| 264 |
|
|
|
| 421 | 82 | 12 | 906 |
| 41P2б.2×180‑V‑4 |
| 127 |
|
|
| 304 |
|
|
| 421 | 96 | 12 | 960 |
| 42P1.2×120‑III‑0 | 155 |
| 183 | 214 |
|
|
|
|
|
| 51 | 11 | 614 |
| 42P1.2×120‑IV‑0 | 155 |
| 183 | 214 |
|
|
|
|
|
| 51 | 11 | 614 |
| 42P1.2×120‑V‑0 |
| 197 |
| 224 | 253 |
|
|
|
|
| 54 | 11 | 739 |
| 42P1a.2×120‑III‑1 | 137 |
| 211 | 214 |
|
|
|
|
|
| 48 | 11 | 621 |
| 42P1a.2×120‑III‑2(3;4) | 137 |
|
| 471 |
|
|
|
|
|
| 48 | 11 | 667 |
| 42P1a.2×120‑IV‑1(2‑4) | 137 |
|
| 257 | 253 |
|
|
|
|
| 48 | 11 | 706 |
| 42P1a.2×120‑V‑1(2‑4) |
| 174 |
| 257 | 253 |
|
|
|
|
| 51 | 11 | 746 |
| 42P1б.2×120‑III‑1 | 144 |
| 238 | 214 |
|
|
|
|
|
| 50 | 11 | 657 |
| 42P1б.2×120‑III‑2(3;4) | 144 |
|
| 290 | 253 |
|
|
|
|
| 51 | 11 | 749 |
| 42P1б.2×120‑IV‑1(2‑4) | 144 |
|
| 290 | 253 |
|
|
|
|
| 51 | 11 | 749 |
| 42P1б.2×120‑V‑1(2) |
| 184 |
| 290 | 253 |
|
|
|
|
| 53 | 11 | 791 |
| 42P1б.2×120‑V‑3(4) |
| 184 |
| 290 |
| 292 |
|
|
|
| 53 | 11 | 830 |
| 42P1(1a).2×180‑III‑0(1;2) | 107 |
|
| 138 |
| 194 |
|
|
|
| 70 | 11 | 520 |
| 42P1(1a).2×180‑III‑3 | 107 |
|
| 138 |
| 194 |
|
|
|
| 77 | 11 | 527 |
| 42P1(1a).2×180‑III‑4 |
| 136 |
| 138 |
| 194 |
|
|
|
| 80 | 11 | 559 |
| 42P1(1a).2×180‑IV‑0(1‑3) | 107 |
|
| 138 |
|
| 230 |
|
|
| 77 | 11 | 563 |
| 42P1(1a).2×180‑IV‑4 |
| 136 |
| 138 |
|
| 230 |
|
|
| 80 | 11 | 595 |
| 42P1(1a).2×180‑V‑0(1‑3) |
| 136 |
|
| 163 |
|
|
| 261 |
| 84 | 12 | 656 |
| 42P1(1a).2×180‑V‑4 |
| 136 |
|
| 163 |
|
|
| 261 |
| 93 | 12 | 665 |
| 42P1б.2×180‑III‑1 | 102 |
|
| 171 |
| 194 |
|
|
|
| 71 | 11 | 549 |
| 42Р1б.2×180‑III‑2 | 102 |
|
| 171 |
|
| 230 |
|
|
| 71 | 11 | 585 |
| 42Р1б.2×180‑III‑3 | 102 |
|
| 171 |
| 194 |
|
|
|
| 77 | 11 | 555 |
| 42Р1б.2×180‑III‑4 |
| 130 |
|
| 202 |
|
| 220 |
|
| 87 | 12 | 651 |
| 42P1б.2×180‑IV‑1(2) |
| 130 |
|
| 202 |
|
| 220 |
|
| 87 | 12 | 651 |
| 42P1б.2×180‑IV‑3(4) |
| 130 |
|
| 202 |
|
|
| 261 |
| 87 | 12 | 692 |
| 42P1б.2×180‑V‑1 |
| 130 |
|
| 202 |
|
|
| 261 |
| 87 | 12 | 692 |
| 42P1б.2×180‑V‑2(3) |
| 130 |
|
| 202 |
|
|
|
| 340 | 87 | 12 | 771 |
| 42P1б.2×180‑V‑4 |
| 130 |
|
|
| 233 |
|
|
| 340 | 99 | 12 | 814 |
| 42P2.2×180‑III‑0(1;2) | 142 |
|
| 190 |
| 240 |
|
|
|
| 70 | 11 | 653 |
| 42P2.2×180‑III‑3 | 142 |
|
| 190 |
| 240 |
|
|
|
| 76 | 11 | 659 |
| 42P2.2×180‑III‑4 |
| 181 |
| 190 |
| 240 |
|
|
|
| 79 | 11 | 701 |
| 42P2.2×180‑IV‑0(1‑3) | 142 |
|
| 190 |
|
| 285 |
|
|
| 76 | 11 | 704 |
| 42P2.2×180‑IV‑4 |
| 181 |
| 190 |
|
| 285 |
|
|
| 79 | 11 | 746 |
| 42P2.2×180‑V‑0(1‑3) |
| 181 |
|
| 225 |
|
|
| 323 |
| 84 | 12 | 825 |
| 42P2.2×180‑V‑4 |
| 181 |
|
| 225 |
|
|
| 323 |
| 93 | 12 | 834 |
| 42Р2а.2×180‑III‑1(2) | 137 |
|
| 223 |
| 240 |
|
|
|
| 71 | 11 | 682 |
| 42Р2а.2×180‑III‑3 | 137 |
|
| 223 |
| 240 |
|
|
|
| 78 | 11 | 689 |
| 42Р2а.2×180‑III‑4 |
| 174 |
| 223 |
| 240 |
|
|
|
| 80 | 11 | 728 |
| 42P2a.2×180‑IV‑1(2;3) | 137 |
|
| 223 |
|
| 285 |
|
|
| 78 | 11 | 734 |
| 42P2a.2×180‑IV‑4 |
| 174 |
| 223 |
|
| 285 |
|
|
| 80 | 11 | 773 |
| 42P2a.2×180‑V‑1(2;3) |
| 174 |
|
| 264 |
|
|
| 323 |
| 86 | 12 | 859 |
| 42P2a.2×180‑V‑4 |
| 174 |
|
| 264 |
|
|
| 323 |
| 95 | 12 | 868 |
| 42Р2б.2×180‑III‑1 | 137 |
|
| 223 |
| 240 |
|
|
|
| 71 | 11 | 682 |
| 42Р2б.2×180‑III‑2 | 137 |
|
| 223 |
|
| 285 |
|
|
| 71 | 11 | 727 |
| 42Р2б.2×180‑III‑3 |
| 174 |
| 223 |
|
|
| 245 |
|
| 80 | 11 | 733 |
| 42Р2б.2×180‑III‑4 |
| 174 |
|
| 264 |
|
| 245 |
|
| 86 | 12 | 808 |
| 42P2б.2×180‑IV‑1(2) |
| 174 |
|
| 264 |
|
| 245 |
|
| 86 | 12 | 808 |
| 42P2б.2×180‑IV‑3(4) |
| 174 |
|
| 264 |
|
|
| 322 |
| 86 | 12 | 858 |
| 42P2б.2×180‑V‑1 |
| 174 |
|
| 264 |
|
|
| 322 |
| 86 | 12 | 858 |
| 42P2б.2×180‑V‑2(3) |
| 174 |
|
| 264 |
|
|
|
| 421 | 86 | 12 | 957 |
| 42P2б.2×180‑V‑4 |
| 174 |
|
|
| 304 |
|
|
| 421 | 100 | 12 | 1011 |
СПЕЦИФИКАЦИЯРИГЕЛЕЙ ДВУХПРОЛЕТНЫХ РАММОДИФИКАЦИИ 5
| Марка элемента | Масса по профилям, кг | Общая масса, кг | |||||||||||
| Гнутосварные трубы | сталь листовая | прочее | |||||||||||
| 80×4 | 100×4 | 120×4 | 120×5 | 140×5 | 160×5 | 160×6 | 180×5 | 180×6 | 180×8 | ||||
| 51Р1.2х120-III-1(2-4) 51P1.2×120-IV-1(2-4) | 105 |
| 184 | 214 |
|
|
|
|
|
| 44 | 11 | 558 |
| 51P1.2×120-V-1(2-4) |
| 134 |
| 224 | 253 |
|
|
|
|
| 47 | 11 | 669 |
| 51Р1.2×180-III-1(2-4) | 70 |
|
| 138 |
| 194 |
|
|
|
| 67 | 11 | 480 |
| 51P1.2×180-IV-1(2-4) | 70 |
|
| 138 |
|
| 230 |
|
|
| 74 | 11 | 523 |
| 51P1.2×180-V-1(2-4) |
| 89 |
|
| 163 |
|
|
| 261 |
| 81 | 12 | 606 |
| 51P2.2×180-III-1(2-4) | 105 |
|
| 190 |
| 240 |
|
|
|
| 66 | 11 | 612 |
| 51P2.2×180-IV-1(2-4) | 105 |
|
| 190 |
|
| 285 |
|
|
| 73 | 11 | 664 |
| 51P2.2×180-V-1(2-4) |
| 134 |
|
| 225 |
|
|
| 323 |
| 80 | 12 | 774 |
| 52P1.2×120-III-1(2-4) 52P1.2×120-IV-1(2-4) | 155 |
| 183 | 214 |
|
|
|
|
|
| 51 | 11 | 614 |
| 52P1.2×120-V-1(2-4) |
| 197 |
| 224 | 253 |
|
|
|
|
| 54 | 11 | 739 |
| 52P1.2×180-III-1(2-4) | 107 |
|
| 138 |
| 194 |
|
|
|
| 70 | 11 | 520 |
| 52P1.2×180-IV-1(2-4) | 107 |
|
| 138 |
|
| 230 |
|
|
| 77 | 11 | 563 |
| 52P1.2×180-V-1(2-4) |
| 136 |
|
| 163 |
|
|
| 261 |
| 84 | 12 | 656 |
| 52P2.2×180-III-1(2-4) | 142 |
|
| 190 |
| 240 |
|
|
|
| 70 | 11 | 653 |
| 52P2.2×180‑IV‑1(2‑4) | 142 |
|
| 190 |
|
| 285 |
|
|
| 76 | 11 | 704 |
| 52P2.2×180-V-1(2-4) |
| 181 |
|
| 225 |
|
|
| 323 |
| 84 | 12 | 825 |