Свод правил устанавливает методы расчета глубин местных размывов у оснований сооружений железных и автомобильных дорог при воздействии на них водного потока и волн.
| Обозначение: | СП 32-102-95 |
| Название рус.: | Сооружения мостовых переходов и подтопляемых насыпей. Методы расчета местных размывов |
| Статус: | действует |
| Заменяет собой: | ВСН 62-69 «Технические указания по расчету местного размыва у опор мостов, струенаправляющих дамб и траверсов» |
| Дата актуализации текста: | 05.05.2017 |
| Дата добавления в базу: | 01.09.2013 |
| Дата введения в действие: | 01.04.1996 |
| Утвержден: | 22.12.1995 Государственная корпорация Трансстрой (Transstroy Government-Owned Corporation МО-298) |
| Опубликован: | Центр Трансстройиздат (1996 г. ) |
| Ссылки для скачивания: |
СИСТЕМА НОРМАТИВНЫХДОКУМЕНТОВ
В СТРОИТЕЛЬСТВЕ
СВОД ПРАВИЛ
СООРУЖЕНИЯ
МОСТОВЫХ ПЕРЕХОДОВ
И ПОДТОПЛЯЕМЫХ НАСЫПЕЙ
МЕТОДЫ РАСЧЕТА
МЕСТНЫХ РАЗМЫВОВ
СП 32-102-95
КОРПОРАЦИЯ «ТРАНССТРОЙ»
МОСКВА
1996
Предисловие
1. РазработанНаучно-исследовательским институтом транспортного строительства (АО «ЦНИИС»).
ВнесенКорпорацией «Трансстрой».
2. СогласованФедеральным дорожным департаментом Минтранспорта РФ (№ АТО-8/150 от 11.11.94) иЦНИ МПС (№ ЦПИ-4/16 от 20.12.94).
3. ОдобренМинстроем РФ (№ 13-238 от 05.06.95).
Принят и введенв действие Корпорацией «Трансстрой» (№ МО-298 от 22.12.95).
5. Взамен ВСН62-69 «Технические указания по расчету местного размыва у опор мостов,струенаправляющих дамб и траверсов».
Введение
Главное задачейнастоящего свода правил является упорядочение как принципиальных подходов, таки методов расчета местных размывов в зависимости от типа сооружений и ихвзаимодействия с потоком.
Свод правилразработан АО «ЦНИИС» (ответственный исполнитель - канд. техн. наук В.Ш. Цыпин)на основе накопленных в России и за рубежом за несколько десятилетий данных оместных размывах, по результатам лабораторных гидравлических исследований,натурных наблюдений на естественных водотоках и на эксплуатируемых мостовыхпереходах, а также с учетом опыта проектирования и строительства мостовыхпереходов.
Приведенныеправила и положения позволяют по сравнению с имеющимися зарубежными аналогамиболее полно учесть в расчетах реальные условия работы сооружений и повыситьдостоверность определения глубин воронок местных размывов.
СП 32-102-95
СВОДПРАВИЛ
СООРУЖЕНИЯМОСТОВЫХ ПЕРЕХОДОВ И ПОДТОПЛЯЕМЫХ НАСЫПЕЙ
МЕТОДЫ РАСЧЕТА МЕСТНЫХРАЗМЫВОВ
CONSTRUCTIONS OFBRIDGES AND ABUTMENTS
METHODS OF LOCALSCOUR CALCULATION
Дата введения 1996-04-01
Настоящий сводправил устанавливает методы расчета глубин местных размывов у основанийсооружений железных и автомобильных дорог при воздействии на них водного потокаи волн.
Положениянастоящего документа обязательны для предприятий, организаций и объединенийнезависимо от их форм собственности и принадлежности, осуществляющихпроектирование, строительство и эксплуатацию сооружений на железных и автомобильныхдорогах.
В настоящемсводе правил использованы ссылки на следующие документы:
СНиП 2.02.01-83* Основания зданий исооружений.
СНиП 2.05.03-84* Мосты и трубы.
СНиП2.06.04-82* Нагрузки и воздействия на гидротехнические сооружения(волновые, ледовые и от судов).
ГОСТ20522-75 Грунты. Метод статистической обработки результатов определенияхарактеристик.
В настоящемсводе правил применены термины в соответствии со СНиП2.06.04-82*, СНиП2.02.01-83* и СНиП 2.05.03-84*.
4.1 Расчетместного размыва производится для следующих сооружений мостовых переходов:
- промежуточныхопор мостов;
- береговых опормостов, грани которых выступают из конуса;
- насыпейпойменных подходов и в долинах рек, в том числе на прижимных участках, когдачасть откоса насыпи попадает в русло;
-струенаправляющих дамб и конусов мостов, регулирующих пойменный поток;
- сплошныхнезатопляемых поперечных регуляционных сооружений, отжимающих поток от пойменныхнасыпей (траверсы) или от берегов и насыпей на прижимных участках рек (буны,шпоры и т.п.), а также затопляемых сооружений (типа полузапруд).
4.2Глубину местного размыва следует определять для условий возможныхнаиневыгоднейших положений русла и наносных скоплений, выявляемых с учетомруслового процесса в районе перехода:
- упромежуточных и береговых опор - после окончания общего размыва подмостовогосечения;
- уструенаправляющих дамб - на пике расчетного паводка;
Еслирасчет общего размыва производится по допускаемым скоростям течений, то снекоторым завышением местные размывы допускается определять на момент 50 %полного размыва при продолжительных паводках (к которым следует относитьснеговой сток) и 25 % размыва при непродолжительных (ливневых);
- у другихсооружений, расположенных на пойме, - на пике расчетного паводка;
- у другихсооружений, расположенных в русле, за расчетный принимают наибольший размыв,определенный при расчетном уровне и уровне, соответствующем протеканию потока вбровках русла.
Еслив расчетах глубина размыва получается отрицательной, то глубину размывапринимают равной нулю (размыв отсутствует).
4.3Расчетную (наинизшую) отметку у основания сооружений после местного размываследует определять, отсчитывая полученную согласно настоящим нормам глубинуместного размыва:
- у опор - отрасчетной отметки дна на соответствующей вертикали после общего размыва (сучетом возможного перемещения в русле вертикали с наибольшей глубиной потока);
- у прочихсооружений - от бытового дна с учетом естественного переформирования русла иливозможных изменений в гидрографической сети в районе перехода.
4.4 Расчет местного размыва предусматривается в двух случаях:
а)когда в воронку размыва беспрепятственно поступают наносы, влекомые потоком;
б)когда поток не влечет наносов или какая-либо причина исключает их поступление вворонку размыва.
Кпоследнему случаю относятся водотоки и их участки, на которых скорость прирасчетном паводке менее размывающей для грунтов русла, а также пойменные потокина задернованных и заросших поймах. К этому же случаю относятся условия, когдарусловые деформации в подмостовом сечении протекают при дефиците донных наносов(например, при волне попуска).
4.5Для определения глубины местного размыва необходимы следующие данные:гидравлические характеристики бытового и стесненного потоков у сооружений и вотверстии моста; характеристики грунтов в пределах ожидаемого местного размыва;очертания и размеры сооружений; их положение относительно направления потока.Исходные данные получают в результате топографических, гидрометрических игеологических работ, выполненных на стадии изысканий, а также на основелабораторных анализов и в процессе проектирования.
4.6При определении расчетных характеристик грунтов, а также их связности инеоднородности необходимо пользоваться приложением А.
4.7При надлежащем обосновании в проектах могут быть использованы коррективы илиметоды определения местных размывов, не включенные в нормы.
5.1.1В расчетах грунт следует считать однородным, если местный размыв происходит засчет выноса из воронки размыва всех входящих в несвязный материалразнозернистых частиц. Требования, обеспечивающие указанное условие, изложены вприложении А(п. А.4).
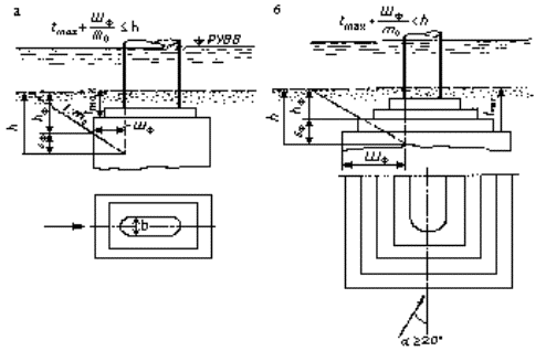
5.1.2Наибольшую глубину местного размыва h,м, в однородном несвязном грунте у опоры (в виде одиночно стоящей сваи,сваи-оболочки и т.п.), имеющей от уровня воды до дна воронки местного размывапостоянную ширину поперечного сечения (рисунок 5.1), следует определять поформулам:
-при поступлении наносов в воронку размыва (υ ³ υ0)
-без поступления наносов в воронку размыва
где b - расчетная ширина (поперечное сечение) опоры, равная ширине еепередней грани, м;
υ,H - средняя скорость, м/с, и глубинапотока, м, перед опорой после общего размыва;
υ0, υв - размывающая и взмучивающаяскорости потока для грунта, в котором происходит местный размыв, м/с, (см.приложение Аи п. 5.1.5);
υн- начальная скорость, м/с, (см. п. 5.1.6);
M, K -коэффициенты формы (см. п. 5.1.9) и косины (см. п. 5.1.10) опоры.
5.1.3.Наибольшую глубину местного размыва, м, в однородном несвязном грунте у опорына массивном фундаменте, имеющей от уровня воды до дна воронки местного размывапеременную ширину поперечного сечения (рисунок 5.2), следует определять поформулам:
-в случае, предусмотренном п. 4.4.а,
-в случае, предусмотренном п. 4.4.б,
где F(b) - параметр, учитывающий геометриюопоры, м0,6; определяется по формуле
где bi - ширина поперечного сечения i-го из n имеющихся вышеотметки дна после общего размыва элементов опоры с постоянной шириной, м(рисунок 5.3);
Мi, Ki - коэффициенты формы и косины i-го элемента опоры, определяемые соответственно по пп. 5.1.9 и 5.1.10;
fi - весовой коэффициент,приходящийся на i-й элемент опоры(см. п. 5.1.8).
5.1.4. Наибольшую глубину местного размыва в однородном несвязномгрунте у опор на свайном основании следует определять в зависимости отположения низа плиты ростверка еотносительно дна русла после общего размыва (рисунок 5.4):
Рисунок 5.1 - Опора с постоянной шириной от расчетного уровня воды(РУВВ) до дна воронки местного размыва
Рисунок5.2 - Схемы опор на массивном фундаменте:
а - с постояннойшириной в пределах глубины потока; б- с переменной шириной в пределах глубины потока
Рисунок 5.3 - Разделение опоры на элементы (1, 2, 3, ... n) с постоянной шириной
а)при e ³ 0,3H по формулам (5.3) или (5.4) в зависимости от режимананосов;
б)при е < 0,3Н по формуле
где hе - глубина размыва, определяемая по формулам (5.3)или (5.4)при положении низа плиты ростверка относительно дна после общего размыва,равном е = 0,3Н (рисунок 5.5);
hм - то же, при плитеростверка, низ которой заглублен ниже отметки возможных размывов (а ее верх - на проектной заданной отметке).
Рисунок 5.4 - Схема опор на свайном фундаменте:
а и б - профиль и фасад опоры с плитойростверка выше дна русла после общего размыва; в - профиль опоры с плитой ростверка ниже дна русла:
1 - дно русла; 2 - сечениеворонки размыва при расчете как для опоры на массивном фундаменте (т.е. безучета свайного основания); 3 - то же, с учетом свайного основания; 4- расчетная отметка дна воронки размыва, когда глубина размыва, определеннаябез учета свайного основания, больше глубины заделки низа плиты ростверка е и меньше е при учете свайного основания
Еслиглубина размыва, определенная по формуле (5.6), окажется меньше глубинызаделки низа плиты ростверка в русло от отметки общего размыва (h < |e|), то расчетместного размыва следует производить по формулам (5.3) или(5.4)как для опор на массивном фундаменте. Если при этом отметка дна воронкиокажется ниже подошвы плиты ростверка, то в расчете следует принимать глубинуразмыва до отметки подошвы плиты ростверка (см. рисунок 5.4.в).
5.1.5. Взмучивающую скорость υв, м/с, характеризующую мутность потока (т.е. содержание взвешенныхнаносов в единице объема воды) определяют по формуле
где g - ускорение свободного падения (g = 9,8 м/с2);
ω -гидравлическая крупность размываемого грунта, м/с; принимается по приложению А(табл. А.4).
Рисунок 5.5 - Промежуточные и исходные глубины размыва у опор насвайном фундаменте при е < 0,3Н (в скобках даны характеристики,определяемые при расчете размывов в неоднородных несвязных грунтах):
а- низ ростверка расположен на высоте 0,3Ннад дном русла после общего размыва; б- проектное положение плиты ростверка; в- низ плиты ростверка заглублен ниже отметки возможных местных размывов (а ееверх -на проектной заданной отметке)
где ![]()
b - расчетная ширина опоры, м(см. п. 5.1.7);
d - средний диаметр частиц грунта,м (см. п. А.3).
Еслипо формуле (5.8)получается υн ³ 0,9υ0, то следует принимать υн = 0,9υ0.
Рисунок 5.6 - Разделение на элементытела опоры при недискретном изменении ее размеров
Приопределении расчетной ширины опоры на свайном фундаменте по формуле (5.9) вкачестве расчетной ширины свайного фундамента необходимо принимать ширину однойсваи.
Уопор на участке с недискретным (плавным) изменением ширины поперечного сеченияследует выделять не менее трех одинаковых по высоте элементов, для которых вкачестве расчетной ширины поперечного сечения bi принимают среднюю ширину рассматриваемых элементов(рисунок 5.6).
5.1.8 Весовой коэффициент i-гоэлемента опоры (см. рисунок 5.3) следует определять по формуле
где А, j - коэффициент и показательстепени, принимаемые в зависимости от относительной высоты до верха Нi/ Н i-го и Нi-1 / Н (i- 1)-го элементов:
приHi/ H ³ 0,3 (или Hi-1 / H ³ 0,3) A = 1, j = 1/3;
приHi/ H < 0,3 (или Hi-1/ H < 0,3) A = 2,23, j = 1.
Рисунок 5.7 - График для определения коэффициента косины K
Дляпоследнего (находящегося у поверхности потока) n-го элемента Нn= Н.
Весовыекоэффициенты первого и последнего элементов опоры соответственно равны
f1 = A1(H1 / H)j1, (5.11)
fn = 1 - An-1(Hn-1/ H)jn-1. (5.12)
5.1.9. Коэффициент формы опоры Мили элемента опоры Мiдолжен приниматься следующим:
Форма опоры КоэффициентМ
Цилиндрическая............................................................................ 1,0
С овальной или полуциркульной передней гранью.................. 0,85
Прямоугольная.............................................................................. 1,24
С верховой стороны в виде двугранного угла Q:
120°................................................................................................. 1,22
90°.................................................................................................... 1,0
60°................................................................................................... 0,73
Дляпрямоугольной опоры с закругленными углами коэффициент формы следует определятьв зависимости от отношения радиуса закругления r и ширины опоры b:
2r / b 0 0,2 0,4 0,5 0,6 0,7 0,8 0,9 1
М 1,24 1,20 1,18 1,15 1,11 1,07 1,01 0,94 0,85
Формырассматриваемых опор приведены в справочном приложении В.
Коэффициентформы при двугранном угле Q с верховой стороны опоры впределах 30° £ Q £ 120° допускается определять по формуле
М = (Q/90°)3/4.
Коэффициентформы свайного фундамента следует определять по приложению Б.
5.1.10 Если продольная ось опоры образует с направлением набегающего нанее потока угол a > 10°, глубины размыва h следуетопределять с учетом коэффициента косины K. Коэффициент косины для всей опоры K или элемента опоры Ki определяютпо графику (рисунок 5.7) или по формулам
приba / b £ 2,53M1/3 (зона I)
приba / b > 2,53M1/3 (зона II)
(5.14)
где ba - приведенная ширина опорыили ее элемента, равная ширине их проекции на плоскость, нормальную направлениюпотока, м.
Расчетныеформулы для определения приведенных ширин характерных форм опор даны вприложении В.
Косинанабегания потока на свайное основание опор (на ряд опор, расположенных пофасаду к направлению течения) учитывается только коэффициентом косины уотдельно стоящей сваи.
Примерырасчета глубин местного размыва у промежуточных опор приведены в приложении Г.
5.1.11Ступени, образующиеся в теле опоры и массивном фундаменте переменного сечения,приводят к снижению глубины размыва, которое может быть определено поприложениям Ди Е.
Уменьшениеглубины размыва dт за счет ступеней на границеэлементов промежуточной опоры, находящихся выше отметки общего размыва,рекомендуется учитывать по приложению Д при расположении ступенейна глубине потока ниже 0,5Н и имеющихсуммарную ширину больше половины ширины элемента опоры, находящегося вышеверхней ступени (см. рисунки 5.2 и 5.3).
Уменьшениеглубины размыва dф за счет обнажаемой впроцессе местного размыва части массивного фундамента рекомендуется учитыватьпо приложению Е, когда суммарная ширина обнажаемых ступенейфундамента составляет не менее 15 - 20 % от ширины грани опоры (илифундамента), располагающейся непосредственно выше отметки общего размыва.
Вслучаях, когда указанные выше условия не удовлетворяются, уменьшение глубинразмыва dт и dф незначительно и его можноне учитывать.
5.1.12При резком изменении гидравлических характеристик потока под мостом(интенсивные ливневые паводки, волны попуска в нижнем бьефе плотин, аварийныесбросы воды из водохранилищ и т.п.) допускается определять глубину местногоразмыва с учетом времени воздействия потока на размываемое у основания опоры.
Учетфактора времени эффективен при отношении расчетной ширины опоры b (см. п. 5.1.7) к времени Т воздействия потока b / T> 2 ¸ 3 м/сут.
5.2.1Несвязный грунт является неоднородным, т.е. образует естественную отмостку вворонке местного размыва, если удовлетворяются требования, изложенные в п. А.5.
5.2.2Наибольшую глубину местного размыва в неоднородном по крупности несвязномгрунте h, м, определяют по формулам:
а)при eυ > υнD
дляопор на свайном основании при e <0,3H (см. рисунок 5.4)
длявсех остальных типов фундаментов
б)при eυ £ υнD
где e - коэффициент абразивности (см. п. 5.2.3);
υнD, υ0D - начальная (см. п. 5.1.6)и размывающая (см. п. А.6) средние скорости потока, м/с, для среднегодиаметра частиц D слоя отмостки, м,которых содержится в грунте (по массе) pдолей (см. п. 5.2.4);
hcD - глубина местного размыва в однородном несвязном грунте со среднимдиаметром частиц D при скоростипотока υ = υ0D у опор на свайномфундаменте, когда е < 0,3Н (см. п. 5.1.4), определяемая поформуле
h0e, h0m - глубина местного размыва воднородном несвязном грунте со средним диаметром частиц D и при скорости потока υ = υ0D соответственно при положении низа плиты ростверка относительно днапосле общего размыва е = 0,3Н и при плите ростверка, низ которойзаглублен ниже отметки возможных местных размывов (см. рисунок 5.5);
h0D - то же для опор на массивном фундаменте и свайном основании при e ³ 0,3H.
Глубинаразмыва h0e, h0м иh0D определяют по формуле
где υвD - взмучивающая скорость потока для грунта со среднимдиаметром частиц D (см. п. 5.1.5).
5.2.3 Коэффициент абразивности e характеризует уменьшение устойчивости крупных частиц в потоке,находящихся среди более мелких и подвижных фракций. При размыве несвязныхгрунтов значения коэффициента e следует принимать равным:
D/dм £ 3 4 6 8
e 1 1,19 1,16 1,14
D/dм 10 12 15 20 30
e 1,125 1,11 1,09 1,075 1,06
или по формуле при D / dм> 3
где dм- средний диаметр частиц мелких фракций, который определяют по формуле
ПриD / dм > 30 можно принимать e = 1.
Вслучае, предусмотренном п. 4.4.а, когда известен средний диаметр частицнаносов, поступающих в воронку местного размыва, последний следует принимать зарасчетное значение dм.
а) при
- подбором из уравнения
p / D = Rp, (5.22)
где
(5.23)
- коэффициентабразивности и начальная скорость для самых крупных частиц (или включений) вгрунте со средним диаметром частиц Dmax(см. п. А.4).
Еслиопределяют глубину размыва у опоры на свайном основании при е< 0,3Н, то в формуле (5.23)вместо h0D следует принимать глубину размыва hcD по формуле(5.18).
Порядокопределения среднего диаметра частиц слоя отмостки D и их содержание в грунте риз уравнения (5.22), а также пример расчета глубиныместного размыва в неоднородном несвязном грунте изложен в приложении Ж;
б)при
- по формуле
(5.24)
где Dmin - минимальная крупность частиц в слое отмостки.
ОпределениеDmin, м, следует начинатьс расчета по формуле
Приналичии в грунте частиц крупнее полученного значения менее 15 % размер частицпринимают за искомый, а более или равное 15 % - размер частиц, полученных поформуле (5.25),умножают на коэффициент 0,5. Если частиц полученной крупности Dmin грунт не содержит, тоискомыми частицами Dminбудут ближайшие к рассчитанным более крупные частицы;
в)при наличии в грунте крупных включений (см. п. А.5) не менее 2 % - значение D принимают равным среднему диаметручастиц этих включений.
5.3.1К связным относятся глинистые, суглинистые и супесчаные грунты с числомпластичности Wп³ 0,01 (см. п. А.7).
Прирасчете местных размывов к связным также относятся:
а)глинистые, суглинистые, супесчаные и песчаные грунты при заторфованности(содержании растительных остатков) более 10 %;
б)пылеватые пески, содержащие более 20 % по массе пылеватых частиц (мельче 0,10мм).
Глубинуразмыва у опоры на свайном основании при е < 0,3Н следует определять по формуле (5.6), в которой глубиныразмыва he и hмнаходят по формуле (5.26).
Приопределении наибольшей глубины размыва по формуле (5.26) необходимо принимать:
- коэффициентабразивности e = 1,16 при поступлении вворонку размыва песчаных наносов и e = 1, когда нет поступлениянаносов;
- в формуленачальной скорости υн в качестве среднего диаметра частиц грунта -утроенную толщину отрывающихся отдельностей, т.е. d = 3z, где z - толщина отрывающихся отдельностей,мм,
z = 0,35 + 0,6cp10-4. (5.27)
Здесь ср - расчетное сцепление, Па.
Пример расчетаразмывов в связных грунтах приведен в приложении Г.
5.3.3.В случае, предусмотренном в п. 4.4.а, когда поток влечет наносы, за расчетную глубину в неоднородныхнесвязных и связных грунтах следует принимать меньшую из глубин, полученных поформулам соответственно (5.15) - (5.17) или (5.26) и по формуле (5.3) или (5.6) в зависимости от типафундамента опор для грунта, влекомого потоком.
В случае,предусмотренном в п. 4.4.б, за расчетную глубину в неоднородныхнесвязных грунтах принимают меньшую из глубин, полученных по формулам (5.15)- (5.17)или (5.26)и по формулам (5.4) или (5.6) для грунта, средний диаметрчастиц которого dмопределяют по формуле (5.21).
5.4.1 Залеганиегрунтов следует считать слоистым, если:
а) в процессеместного размыва вскрывается грунт, по физико-механическим свойствам (крупностиили нормативному удельному сцеплению) отличающийся от вышележащего;
б) в процессеобщего размыва вскрывается грунт, по физико-механическим свойствам отличающийсяот грунта, влекомого потоком.
В последнемслучае в расчетах толщину слоя влекомых наносов следует принимать равной нулю.
а) когдавышележащий слой подстилает более размываемый грунт, должно быть обеспеченоусловие, при котором рассчитанная глубина размыва в верхнем слое грунта h, м, не должна доходить до нижнейграницы этого слоя на величину
Dd > 0,15h. (5.28)
В противном случаерасчет размыва производят по параметрам нижнего более размываемого слоя;
б) если прирасчете одного из нижних слоев глубина размыва окажется меньше суммывышележащих слоев åD, то следует принимать, что размывпрекратится на поверхности рассматриваемого слоя.
Пример расчетаразмывов в слоистых грунтах приведен в приложении И.
* Неоднородность и связность грунтовопределяют так же, как при расчете промежуточных опор.
где υг, Hг - скорость, м/с (см. п. 6.1.2) и глубина потока, м(см. п. 6.1.4)у подошвы головы дамбы или конуса;
υ0- размывающая скорость для грунтов, в которых происходит размыв, м/с (см. п. А.8);
Kl- коэффициент,характеризующий увеличение скорости потока в голове дамбы или в верховой частиконуса при недостаточной длине сооружения; определяется по приложению К.
Kl - коэффициент, принимаемыйравным 1,0, когда дамба или конус обтекаются потоком, и 0,85 при плохообтекаемых сооружениях;
Km- коэффициент,зависящий от коэффициента заложения откоса или конуса дамбы m со стороны русла:
m................. 1,0 1,5 2,0 2,5 3,0
Km................. 1 0,94 0,80 0,70 0,67
Если при расчетепо формуле (6.1)глубина размыва получается меньше нуля, то глубину размыва принимают равнойнулю.
Пример расчетаместных размывов у дамб и конусов моста приведен в приложении Л.
6.1.2Скорость потока в голове дамбы или в верховой части конуса υг, м/с, следует определять взависимости от числа пойм, на которых устраивают струенаправляющие дамбы, поформулам:
а) приодносторонней пойме
б) при пересеченииводотока с двумя поймами со стороны мощной (пропускающей больший расход воды) υг(м) и слабой υг(с) пойм соответственно:
где Сг, Сгм- коэффициент Шези, м0,5/с, определяется по коэффициенту шероховатостирусла nр при глубинепотока на односторонней Hги на мощной Hгм, м (см. п.6.1.4)поймах по формуле
d (или dм, dс) - коэффициент стесненияпотока подходами на одной пойме Qп/ Q или со стороны соответственномощной Qпм / Q и слабой Qпс / Q пойм;
Qпi - расход воды в расчетныйпаводок, проходящий в бытовом состоянии на части i-й поймы, перекрытой насыпью;
Q - расчетный расход воды в речной долине;
i - продольный уклон свободной поверхностинестесненного потока в расчетный паводок;
iм - средний уклон свободной поверхности потока передмостом (см. п. 6.1.3);
iм(м), iм(с)- фиктивные средние уклоны свободной поверхности потока перед мостом со сторонысоответственно мощной и слабой пойм (см. п. 6.1.3);
b - показатель степени, определяемый поформуле
Если праваячасть формулы (6.6) получается меньше 0,2, то следует приниматьb = 0,2.
Уклоны вформулах (6.2)- (6.4)принимают в долях единицы.
При расчетеместных размывов у струенаправляющих дамб и верховой части конусов мостаучасток реки следует рассматривать как с одной поймой, если по другой проходитменее 5 % расчетного расхода.
6.1.3Средний уклон свободной поверхности потока перед мостом следует определять поформулам:
- припересечении водотока с одной поймой
(6.7)
- припересечении водотока с двумя поймами
где Х0- расстояние от моста до вертикали, где устанавливается предмостовой подпор Dhв;
j - коэффициент, характеризующий долюпредмостового подпора, вызванную стеснением i-йпоймы (мощной - с индексом «м», слабой - с индексом «с»), определяется поформуле:
QL - расход воды, проходящий при отсутствии стесненияна ширине отверстия моста.
При косомпересечении поймы подходом, если расстояние вверх по течению от створа моста довыхода насыпи за пределы размыва S0в> X0, то в формуле (6.8)принимают Х0 = S0в.
6.1.4Глубину потока Hгi, м, у подошвы головы дамбы состороны i-й поймы можно приниматьравной:
Hri = Hбi + Dhв, (6.10)
где Hбi - глубинапотока на вертикали у подошвы головы дамбы в бытовых условиях (до устройствамостового перехода) со стороны i-йпоймы, м.
а) при υг > 0,5υ0DKl / Kl
h = hD + 1,3D / p, (6.11)
б) при υг £0,5υ0DKl / Kl
h =1,3D / p, (6.12)
где hD - глубинаразмыва, определяемая по формуле (6.1), в которой вместо υ0 принимают υ0D - размывающую скорость для среднего диаметрачастиц D в слое отмостки (см. п. 6.2.2).
К расчетуследует принимать меньшую из глубин, получаемых по формулам (6.11) или (6.12) и по формуле (6.1) для грунта, среднийдиаметр частиц которого dмопределяют по формуле (5.21).
а) в случае,предусмотренном п. 6.2.а, - подбором из уравнения:
(6.13)
При решенииуравнения и назначении расчетных значений Dи р поступают, как при расчетеразмывов у опор в аналогичных условиях по приложению Ж;
б) в случае,предусмотренном п. 6.2.б, - по гранулометрическому составу грунтасогласно п. 5.2.4.б.При этом определение минимальной крупности частиц Dmin, м, входящих в слой отмостки, следует начинать срасчета по формуле
(6.14)
в) при наличии вгрунте крупных включений (см. приложение А) - по среднему диаметручастиц этих включений.
6.2.3В случаях, когда пойма в районе расположения струенаправляющей дамбы сложенаслоями различных грунтов, при определении глубин размывов следует пользоватьсярекомендациями п. 5.4.2 и приложения И применительно к дамбам:
а) приоднородных по крупности несвязных грунтах в слоях с залеганием сверху болеемелкого грунта, а также при верхнем более мелком неоднородном по крупностигрунте - по формуле (6.1) для обнажаемого грунта;
б) при нижнемсвязном материале, размывающая скорость которого больше, чем вышележащегонесвязного грунта (однородного или неоднородного), - по формуле (6.1)для обнажаемого связного материала с учетом абразивного воздействия на негонесвязных частиц (для чего первый член в скобках принимают равным
, где e = 1,16).
в) приоднородных и неоднородных по крупности слоях с залеганием слоя из мелкогогрунта (со средним диаметром частиц d2)ниже крупного (со средним диаметром частиц d1),а также при нижнем связном материале, размывающая скорость которого меньше, чемвышележащего грунта - по формуле
h = h2 - hd, (6.15)
где hd - снижение размыва из-зазаноса воронки более крупным грунтом верхнего слоя, определяемое по формуле
(6.16)
h2, h1 - глубина местного размыва, определяемая по формуле (6.1)для соответственно нижнего и верхнего слоев грунта (неоднородность грунтов неучитывается);
D - толщина верхнего слоягрунта.
г) прирасположении в нижнем слое крупного неоднородного по составу несвязного грунтав случае, предусмотренном п. 6.2.1.а и при hD ³ D - по формуле (6.11); в остальных случаях поформуле
h = D + 1,3D / p. (6.17)
7.1У сплошных затопляемых поперечных сооружений и береговых опор, боковая гранькоторых не обсыпана конусом, при коэффициенте стеснения потока d £ 0,15 (см. п. 6.1.2) наибольшую глубину местного размыва в однородных несвязных и связныхгрунтах следует определять по формулам:
- при
(7.1)
- при
(7.2)
где b -расчетная ширина сооружения, м (см. приложение М);
υг - скорость потока в голове поперечного сооруженияили у боковой грани береговой опоры, м/с (см. п. 7.3);
Kυ - коэффициент,характеризующий поступление наносов в воронку размыва и определяемый поприложению Н;
Н - глубина потока в головепоперечного сооружения или у боковой грани береговой опоры в расчетныхусловиях, м (с учетом естественного руслового процесса и общего размыва);
υ0 - размывающая скорость,м/с, определяемая с учетом глубины потока Н;
Km - коэффициент, зависящий от коэффициента заложенияоткоса m рассматриваемых сооружений,определяемый согласно п. 6.1.1.
За расчетнуюглубину размыва в связном грунте, когда поток влечет несвязные наносы, следуетпринимать меньшее из значений, получаемое по формулам (7.1) или (7.2)для связного грунта и грунта, влекомого потоком.
Примеры расчетапо формулам (7.1)и (7.2)приведены в приложении П.
7.2. Прикоэффициенте стеснения потока поперечными сооружениями d > 0,15 глубину местного размыва у такогосооружения следует определять согласно рекомендациям в разделе 6 как у плохообтекаемых струенаправляющих дамб.
7.3.Скорость потока υг, м/с, в голове поперечного сооружения или боковой грани береговойопоры следует определять в зависимости от расчетной ширины и направлениянабегающего потока на сооружение по формулам:
при a ³ 45° υг = (b / H)1/4υ; (7.3)
при a < 45°
(7.4)
где υ - скорость потока врасчетных условиях на вертикали в голове поперечного сооружения до егопостройки или у подошвы конуса в створе моста после общего размыва, м/с.
При определениискорости потока υг по формулам (7.3) и (7.4)при b / H > 50 или b / H < 1 следует принимать соответственноb / H = 50 и b / H = 1.
а) при υг > 0,45υ0D h= hD + 1,3D / p; (7.5)
б) при υг £ 0,45υ0D h= 1,3D / p, (7.6)
где hD - глубинаразмыва, определяемая по формулам (7.1) или (7.2), вкоторых вместо υ0 принимают υ0D - размывающую скорость для среднего диаметра частиц отмостки D (см. п. 7.5) при глубине потока Н и Kυ = 1.
К расчетуследует принимать меньшую из глубин, получаемых по формулам (7.5) или (7.6) и по формулам (7.1) или (7.2)для грунта, средний диаметр частиц которого dмопределяют по формуле (5.21).
7.5.Средний диаметр частиц отмостки D, м,и их содержание в грунте (по массе) рследует определять:
а) в случае,предусмотренном п. 7.4.а, - подбором из уравнений
при b / H ³ 1
(7.7)
при b / Н < 1
(7.8)
При решенииуравнений (7.7)или (7.8) и назначении расчетных значенийD и р поступают, как при расчете размывов у опор в аналогичныхусловиях, изложенных в приложении Ж;
б) в случае,предусмотренном п. 7.4.б, - по гранулометрическому составу грунтасогласно п. 5.2.4.При этом минимальную крупность частиц Dmin, входящих в слойотмостки, следует начинать определять с расчета по формуле
(7.9)
в) при наличии вгрунте крупных включений - по среднему диаметру частиц этих включений.
7.6Наибольшую глубину местного размыва у массивных затопляемых поперечныхсооружений высотой Н1следует определять согласно пп. 7.1 - 7.5 как и у незатопляемыхпоперечных сооружений с учетом того, что правую часть формулы (7.1) или(7.2) умножают, а правую частьуравнений (7.7) или (7.8) делят на коэффициент f1,определяемый по формуле (5.11).
За расчетнуюглубину местного размыва у затопляемых поперечных сооружений следует приниматьнаибольшую глубину местного размыва, полученную как при расчетном уровне, когдасооружение затоплено, так и при условиях его работы как незатопленного(например, для шпоры, отжимающей поток от вогнутого берега излучины припрохождении потока в бровках русла). Пример расчета у затопляемой шпорыприведен в приложении П.
7.7 В случае,когда в процессе местного размыва обнажаются слои грунтов различной крупности,наибольшую глубину размыва следует определять с учетом рекомендаций п. 5.4.2 иприложения И:
а) приоднородных по крупности слоях с залеганием сверху более мелкого грунта, а такжепри верхнем более мелком и неоднородном по крупности грунте - по формулам (7.1)или (7.2)для обнажаемого грунта, а при поступлении наносов в воронку размыва - поменьшему из значений, получаемых по формулам (7.1) или (7.2)для обнажаемого грунта и влекомого потоком;
б) приоднородных по крупности слоях с залеганием слоя из мелкого грунта (со среднимдиаметром частиц d2) нижекрупного (со средним диаметром частиц d1),а также при нижнем более мелком неоднородном по крупности грунте - по формуле
h = h2 - hd, (7.10)
где h2 - глубина местного размыва, определяемая по формуле (7.1)или (7.2)для слоя с более мелким (d2)грунтом;
hd - снижение размыва из-зазаноса воронки более крупным грунтом d1верхнего слоя, определяемое по формуле (И.2) приложения И;
в) прирасположении в нижнем слое более крупного неоднородного по составу несвязногогрунта следует учитывать его неоднородность.
В случае,предусмотренном в п. 7.4.а и hD³ D, глубину местного размыва определяют поформуле (7.5),в остальных случаях по формуле (7.6) с учетом вышележащих слоев [по аналогии сформулой (И.5)].
Если в воронкуразмыва поступают наносы (материал верхнего слоя), то необходимо проверитьвозможность стабилизации размыва при динамическом равновесии частиц верхнегослоя;
г) прирасположении в нижнем слое связного грунта - по аналогии с п. 6.2.3.б.
* Все рассматриваемые в главе размывыусловно отнесены к местным, хотя некоторые (например, от продольных течений)имеют иную природу образования.
8.1Возможную глубину размыва h, м, отпродольных течений у подошвы насыпи с верховой ее стороны на вертикали сглубиной Н и скоростью потока υ следует определять в зависимости от грунтов в основании насыпи:
а) приоднородных несвязных грунтах со средним диаметром частиц d, м
где x - коэффициент, характеризующий увеличениеразмывов от продольных течений при одновременном воздействии волн (см. п. 8.3); приотсутствии волновых воздействий x = 1;
б) принеоднородных несвязных грунтах, когда υ > υ0D,
где D, р - диаметротмащивающих частиц, м, и их содержание по массе в перерабатываемом грунте,определяемые с учетом гранулометрического состава грунта подбором из уравнений:
(8.3)
в) принеоднородных несвязных грунтах, когда υ £ υ0D
Полученные поформулам (8.2)и (8.5)глубины размыва не должны быть больше глубин, определяемых по формуле (8.1)для мелких частиц грунта со средним диаметром частиц dм, который находится по формуле (5.21).
Размывающуюскорость υ0D длягрунтов со средним диаметром частиц Dследует определять по приложению А.
г) при связныхгрунтах
где n -коэффициент шероховатости на рассматриваемом участке проложения насыпи;
e - коэффициент абразивности(см. п. 5.3.2);
ср - расчетное сцеплениегрунта, Па.
Принеобходимости учета температурного режима грунта или его засоленности первыйчлен в формуле (8.6) следует принимать с коэффициентамисоответственно (1 / кt)6/7,(1 / кс)6/7 или(1 / кtкс)6/7в зависимости от характеристик грунта. Значение коэффициентов кс и кt - см. А.10, А.11;
д) при обнажениив процессе размыва слоя грунта, отличного от вышележащего, расчет размыва в немпроизводят согласно требованиям п. 5.4.2 в предположении, чторассматриваемый грунт находится на поверхности поймы или русла, по формуламсоответственно (8.1), (8.2)или (8.6),а в случае, указанном в п. 8.1.в, по формуле
где åD - толщина вышележащих слоев.
а) приотсутствии поступления наносов (случай, предусмотренный п. 4.4.б)расчет следует производить по формулам (8.1) - (8.7),принимая в качестве Н и υсоответственно глубину и скорость потока у подошвы насыпи до размыва;
б) при движениинаносов в русле (случай, предусмотренный п. 4.4.а) расчет размывов воднородных несвязных грунтах следует выполнять по формуле
Размыв внеоднородных несвязных, связных и слоистых грунтах следует определять поформулам (8.2)- (8.7).Причем за расчетную глубину размыва принимают меньшую из глубин, полученных поуказанным формулам для соответствующего случая. Для частиц dн, равных среднему диаметру частиц донных наносов врусле, расчет ведут по формуле (8.8).
В формулах (8.2) -(8.8)Н и υ - соответственно глубина искорость потока у подошвы насыпи до размыва с учетом возможных естественныхпреобразований в русле.
Пример расчетаглубины размыва для случаев, рассматриваемых в пп. 8.1 и8.2,приведены в приложении Р.
8.3.Глубину размыва у подошвы насыпи от продольных течений при наличии волновыхвоздействий следует определять по соответствующим формулам (8.1), (8.2), (8.4), (8.6) и(8.8), в которых коэффициент x, характеризующий дополнительное «обезвешивание» частиц грунта приволновых воздействиях, равен
где ρ, ρ' -фактическая и «обезвешивающая» плотность частиц грунта;
ρ0- плотность воды.
Рисунок8.1. - График размывающих донных скоростей.
Обезвешиваниечастиц при волновых воздействиях количественно можно оценивать по зависимости
где hв, Т -высота, м, и период, с, волны;
к - размерный коэффициент, равный 2 м/с0,5.
8.4Возможную глубину размыва h отволновых воздействий у подошвы насыпи определяют по приложению С из уравнения
υdmax£ υd(0), (8.11)
где υdmax -максимальная донная скорость нисходящего с откоса потока от действия волн уподошвы насыпи;
υd(0)- размывающая донная скорость для грунтов в основании насыпи (см. п. 8.5).
8.5Размывающую донную скорость υd(0) следует принимать по графику(рисунок 8.1) в зависимости от среднего диаметра частиц несвязного грунта d (неоднородность несвязного грунта неучитывается) или эквивалентного диаметра связного материала, мм, определяемогопо формуле
dэ = 7,5(0,1 + 10cр), (8.12)
где cр - расчетное сцепление, 105 Па.
8.6 Присовместных воздействиях продольных течений и волн к расчету следует приниматьнаибольшие глубины размыва, полученные только от волновых воздействий (см. п. 8.4) илиот расчетных продольных течений при наличии волн (см. п. 8.1 - 8.2). Вуказанных расчетах следует принимать расчетные параметры волн.
Поскольку подмывподошвы насыпи нельзя допускать, полученные глубины размыва характеризуют тип имощность укрепления, необходимого для защиты от размыва основания насыпи.
8.7 Местные размывыу подошвы насыпи со стороны вогнутого берега вызываются нарушениеместественного хода руслового процесса при воздействии искривленного потока (вплане и поперечном сечении) с неразмываемым речным откосом.
Глубину местногоразмыва у подошвы насыпи h, м,возникшего в связи с нарушением естественного хода руслового процесса, следуетопределять по формуле
где Нр, υр - средняя глубина, м, и скорость,м/с, потока в рассматриваемом створе русла (после стеснения) при расчетномуровне;
υ0- размывающая скорость для размываемого грунта на вертикали с глубиной Нр, м/с;
n - коэффициент шероховатости укрепления,определяемый в зависимости от материала укрепления (для плитных укреплений n = 0,011 - 0,015; для каменной наброскиn = 0,03 - 0,045);
М - коэффициент формы укрепления, принимаемый длявертикальных стенок и стенок с заложением откоса m < 1, а также без фундамента (например, каменная наброска)равным 1,0; для откосного типа укрепления (при крутизне откоса m³ 1) с вертикальной внешнейстенкой фундамента М = 1,2;
rи, r -минимальный радиус кривизны излучины соответственно по оси излучины и увогнутого берега (см. приложение Т);
Н - глубина потока у вогнутого берега (послестеснения) при расчетном уровне, м.
Пример расчетапо формуле (8.13)приведен в приложении Т.
8.8Глубину местного размыва у закрепленного вогнутого берега излучины следует определятьпо формуле (8.13). При этом, если со стороны вогнутого берега есть пойменный массив(т.е. в паводки вода выходит на пойму), то глубину местного размыва узакрепленного берега следует определить как при расчетном уровне, так и приусловиях, когда вода достигла бровки берега. К расчету принимают наибольшуюглубину местного размыва.
(обязательное)
А.1 При расчетерусловых деформаций грунты подразделяются на несвязные и связные, талые иоттаявшие.
В расчетах коттаявшим относят только связные грунты, в которых после промерзания нарушаютсявнутренние связи. Все несвязные грунты при оттаивании практически не меняютсвоих физико-механических свойств и относятся поэтому к талым.
Далее, если неоговаривается, рассматриваются характеристики талых грунтов.
А.2 К несвязнымгрунтам относятся крупнообломочные (валунный, галечниковый, гравийный) ипесчаные грунты, не обладающие свойством пластичности (раскатывания).
При расчетеместных размывов к несвязным следует относить указанные грунты, содержащие помассе: не более 10 % растительных остатков (торф); б) пылеватые пески ссодержанием пылеватых частиц (мельче 0,10 мм) менее 20 %.
где di - средний диаметр частиц i-й фракции, определяемый среднеарифметическим размером отверстийсит, ограничивающих данную фракцию;
pi - содержание в грунте i-й фракции, в долях единицы по массе;
n - число фракций.
Если несвязныйгрунт содержит частицы мельче 0,10 мм, то к расчету принимают средний диаметрчастиц грунта крупнее 0,10 мм, вычисляемый по формуле
где p0 -содержание в грунте частиц мельче 0,10 мм, в долях единицы.
Значения pi и di определяют на основании гранулометрического анализапроб грунта, отобранных в местах предполагаемых местных размывов. При этом замассу всего несвязного грунта принимают массу без растительных остатков.
А.4Несвязный грунт считается однородным при соблюдении любого из (достаточных)условий:
а) Dmax / d £ 3; (А.3)
б) в случае,предусмотренном п. 4.4.а, при средней скорости потока большеразмывающей для частиц диаметром Dmax.
Здесь Dmax - средний диаметр крупных частиц, которые составляют 2 % массыгрунта, или самой крупной (по размеру) фракции, если она составляет 2 % и болеемассы грунта;
Когда самаякрупная по размеру частиц фракция составляет менее 2 % массы грунта, среднийдиаметр крупных частиц определяют по формуле
где p1 - содержание по массе в грунте самой крупной фракциисо средним диаметром частиц d1;
p2, pn- содержание по массе следующих по крупности фракций со средним диаметромчастиц d2 и dn.
А.5Несвязный грунт следует относить к неоднородному, если:
а) частиц сосредним диаметром D, образующихотмостку на дне воронки, не менее 2 %, и они удовлетворяют неравенству
D /d > 3.
Примечание.Расчет среднего диаметра частиц слоя отмостки D приведен в разделах основного текста для каждого вида сооруженийв зависимости от гранулометрического состава грунта и гидравлическиххарактеристик потока;
б) имеютсякрупные включения не менее 2 % массы грунта, когда средняя скорость потокаменьше размывающей для среднего диаметра частиц D этих включений.
К материалу,содержащему крупные включения со средним диаметром D = Dmax,относится грунт, удовлетворяющий неравенству Dmax / dм³ 25, где dм - средний диаметр частицматериала без крупных включений. Примером крупных включений служит галька (Dmax) в песке (dм).
(А.5)
где cн - нормативное сцепление, определяемое на основаниистандартных методов испытаний (согласно ГОСТ20522-75 или заменяющего его документа) в состоянии капиллярноговодонасыщения при полной влагоемкости;
gg - коэффициент надежности погрунту, учитывающий вероятность отклонения величины сил сцепления отнормативного значения и определяемый с учетом доверительной вероятности 0,90;при отсутствии данных испытаний образцов грунта можно принимать максимальноезначение gg = 2.
При отсутствииданных инженерно-геологических исследований допускается определять расчетноеудельное сцепление cрсвязных грунтов по СНиП2.02.01-83 или заменяющим его нормативным документам, а при высокойзаторфованности связных грунтов - по таблице А.1.
Единицаизмерения сцеплений - паскаль (Па).
cн = Kрсн(от), (А.6)
где коэффициент перехода Kр принимают равным 1,5 принормативном значении показателя текучести 0,25 £ Il £ 0,75 и равным 1,1, еслизначение Il выходит изуказанного диапазона.
ТаблицаА.1 - Расчетное сцепление заторфованного связногогрунта
| Вид торфа | Расчетное сцепление cр, 105 Па | |
| Более 60 | Древесный | 0,005 |
| Хвощевой | 0,025 | |
| 40 - 60 (сильнозаторфованный) | Осоковогипновый | 0,025 |
| Сфагновый | 0,40 | |
| 25 - 40 (среднезаторфованный) | Осоковогипновый | 0,075 |
| Сфагновый | 0,10 |
Нормативноезначение показателя текучести грунтов
определяют взависимости от природной влажности Wи числа пластичности Wп = Wт - Wр, где Wт,Wр - влажность грунта награницах текучести и раскатывания (в долях единицы).
Коэффициентнадежности по грунту gg, полученный для оттаявшегомонолита, следует принимать в качестве искомого при определении расчетногосцепления талого грунта.
При отсутствииспециальных обоснований размывающую скорость следует определять впредположении, что на пойменных участках дерновой покров отсутствует (разрушенпри производстве работ).
Размывающуюскорость υ0, м/с, для однородного несвязного грунта со среднимдиаметром частиц d, м, при глубинепотока Н, м, рекомендуется определятьпо формуле
где g - ускорение свободного падения (g = 9,8 м/с2).
По этой жеформуле требуется определять размывающую среднюю скорость υ0D для частиц слоя отмостки и i-го слоя грунта, заменяя в формулесредний диаметр частиц d среднимидиаметрами частиц соответственно слоя отмостки D и i-го слоя грунта di.
Для ускорениярасчета по формуле (А.7) рекомендуется пользоваться графиком(рисунок А.1).
Для пылеватыхпесков, содержащих пылеватых частиц (в долях единицы по массе) 0,03 £ pп< 0,20, размывающую скоростьследует определять по формуле
Для засоленныхпесчаных грунтов (средний диаметр частиц до 2 мм) размывающую скоростьопределяют по формулам (А.7) или (А.8) с коэффициентом 0,92.
РисунокА.1 - График для определения размывающей скорости несвязных грунтов
А.9Размывающую скорость для связных грунтов, м/с, рекомендуется определять поформуле
где С - коэффициент Шези, определяемый в зависимости от глубины потока Н и коэффициента шероховатости n: можно принимать С = Н1/6 / n.
cр - расчетное сцепление, Па.
Для ускорениярасчета по формуле (А.9) составлен график размывающей скорости прикоэффициенте шероховатости n = 0,03(рисунок А.2).При n ¹ 0,03 значения υ0,полученные по графику, следует умножать на величину 0,03 / n.
РисунокА.2 - График для определения размывающей скорости связных грунтов прикоэффициенте абразивности e = 1 и коэффициентешероховатости n = 0,03
υ0с= υ0кc, (А.10)
где υ0 -размывающая средняя скорость, определяемая по формуле (А.9);
кс - понижающий коэффициент, который допускаетсяпринимать в зависимости от расчетного сцепления равным:
ср × 105 Па £ 0,05 0,01 0,02 0,03
кс 0,92 0,90 0,90 0,75
ср × 105 Па 0,04 0,05 0,075 ³ 0,010
кс 0,72 0,67 0,63 0,59
При содержании вгрунте свыше 3 % легкорастворимых солей размывающая скорость должнаустанавливаться на основании специальных исследований.
А.11Размывающую скорость для оттаявших связных грунтов следует определять поформуле
υ0t= υ0кt, (А.11)
где кt - коэффициентуменьшения размывающей скорости потока для оттаявших грунтов по сравнению сталыми, определяемый по таблице А.2, в зависимости от вида криогенной текстурыгрунта в мерзлом состоянии и льдистости за счет ледяных включений*(т.е. отношения объема ледяных включений к объему мерзлого грунта).
*Указанную льдистость следует отличать от суммарной льдистости (отношение объемальда к объему мерзлого грунта).
Таблица А.2 - Значения коэффициента кt
| Льдистость за счет ледяных включений | кt | |
| Атакситовая | Более 0,5 | 0,3 |
| Слоисто-сетчатая | 0,4 - 0,03 | 0,3 - 0,5 |
| Массивная | 0,03 и менее | 0,5 - 0,9 (0,75 - 1) |
| Примечания: 1. В таблице А.2 меньшее значение кt соответствует большей льдистости за счет ледяных включений. 2. Значения кt приведены для связных грунтов, в скобках - для пылеватого песка с содержанием пылеватых частиц от 20 до 70 %. | ||
Дляоттаявших засоленных грунтов размывающую скорость определяют по формуле
υ0tc = υ0кtкc. (А.12)
А.12Гидравлическую крупность частиц несвязного грунта ω (т.е. скорость их осажденияв стоячей воде) следует определять в зависимости от диаметра частиц d по графику (рисунок А.3).
РисунокА.3 - График для определения гидравлической крупности несвязных грунтов
Гидравлическуюкрупность несвязного грунта, состоящего из частиц различной крупности,определяют как средневзвешенную по аналогии с определением среднего диаметрачастиц грунта по формуле (А.1) или (А.2).
А.13.Гидравлическую крупность отрывающихся отдельностей связного грунта принимают потаблице А.3в зависимости от их толщины z,определяемой по формуле (5.27).
А.14. Дляпылеватых песков с содержанием пылеватых частиц pп³ 0,2 (грунт относится ксвязному) гидравлическую крупность следует определять по эквивалентномурасчетному сцеплению, Па
где υ0 -размывающая скорость для песчаных частиц грунта, м/с, определяемая по формуле (А.7);
С - коэффициент Шези, м0,5/с;
e - коэффициент абразивности, принимаемыйравным 1,16 при грядовом движении по руслу песчаного материала, при отсутствиидвижения песчаного материала e = 1.
Если по формуле(А.13)получается cрэ < 0,001 × 105 Па, торекомендуется принимать cрэ= 0,001 × 105 Па.
Таблица А.3 - Гидравлическая крупность отрывающихсяотдельностей связного грунта
| Толщина отрывающихся отдельностей z, мм | Гидравлическая крупность ω, м/с | |
| 0,001 | 0,36 | 0,067 |
| 0,005 | 0,38 | 0,07 |
| 0,01 | 0,41 | 0,077 |
| 0,025 | 0,50 | 0,086 |
| 0,050 | 0,65 | 0,10 |
| 0,075 | 0,80 | 0,11 |
| 0,10 | 0,91 | 0,12 |
| 0,25 | 1,85 | 0,15 |
| 0,50 | 3,35 | 0,20 |
| 0,75 | 4,85 | 0,25 |
| 1,0 | 6,35 | 0,31 |
(обязательное)
Б.1 Подкоэффициентом формы М свайногофундамента понимают коэффициент увеличения местного размыва у ряда свай посравнению с размывом у одной сваи цилиндрической формы.
Коэффициентформы М следует определять урасчетного ряда, в качестве которого необходимо принимать один из первых двухрядов свайного фундамента с наибольшей глубиной размыва и расположенного при a £ 20° перпендикулярно продольной оси опоры, а при a > 20° вдоль ее (рисунок Б.1).
Рисунок Б.1 - К определениюрасчетного ряда свайного фундамента:
а - продольный вид опоры; б - план свай;
1 - направление течения; 2 - расчетный ряд
При одинаковыхформе и размерах свай в двух рассматриваемых рядах, а также одинаковыхпросветах между сваями расчетным будет тот ряд, в котором находится большесвай.
Б.2 Коэффициентформы М свайного фундамента сколичеством свай n > 1 в расчетном ряду следуетопределять по формуле
M = M1M2cMnc, (Б.1)
где М1 - коэффициент формы отдельной сваи, принимаемыйсогласно п. 5.1.9;
М2с - коэффициент увеличения размыва у двух свай посравнению с размывом у отдельной сваи
Мnс - коэффициент увеличения размыва у n свай по сравнению с размывом у двухсвай
(Б.3)
S - расстояние в свету между сваями в ряду, м;
Шn, Ш2 - полная ширина ряда из n свай и из двух свай (рисунок Б.2).
Коэффициент М2с рассчитывают по формуле (Б.2)при всех несвязных грунтах по среднему диаметру частиц d, м; при связных - по утроенной толщине отрывающихся отдельностей(т.е. d = 3z); в слоистых грунтах - по вскрываемому грунту.
Значениякоэффициентов М2с и Мnс принимают:
приM2c£ 1 M2c = Mnc = 1;
приM2c³ 1,75 / M1 M2c = 1,75 / M1;
приМ2сМnc³ (1,1 / M1)n2/3 M2cMnc=(1,1 / M1)n2/3.
При неодинаковыхпросветах между сваями в расчетном ряду коэффициенты М2с и Мnсопределяют с учетом наибольшего просвета Smax(см. рисунок Б.2)по формулам
(Б.4)
(Б.5)
Произведение М2с(max)Мnс(max) необходимо сопоставить скоэффициентом увеличения размыва М2с(min)у двух свай в ряду, расположенных с минимальным просветом Smin. К расчету по формуле (Б.1) следует приниматьнаибольшее значение из сопоставляемых величин. При этом, если М2с(max)Мnc(max) < Мnc(min), то принимают Мnc = 1.
При наличиинаклонных свай в плоскости, перпендикулярной направлению сечения, к расчетуследует принимать среднюю величину просвета Sмежду ними на уровне выше отметки общего размыва (рисунок Б.3, а),а в случае, когда низ плиты ростверка заглублен ниже отметки общего размыва -расстояние между сваями в месте примыкания к плите ростверка (рисунок Б.3, б).
РисунокБ.2 - Основные геометрические размеры свайных рядов:
а - ряд содинаковыми просветами между сваями; б- ряд с неодинаковыми просветами
РисунокБ.3 - Часть фасада опор с наклонными сваями фундамента
(справочное)
Формулы дляопределения приведенной ширины ba некоторых характерных формопор (или их элементов) даны в таблице В.1. Формулы не учитываютвозможной скошенности или закругления вершины двугранного угла Q, которыми в расчетах приведенной шириныопоры можно пренебречь.
Характерныеформы опор представлены на рисунке В.1.
Таблица В.1 - Формулы для приведенной ширины опоры
| Форма тела опоры | Расчетные формулы | |
| 1 | Прямоугольная | ba = Lsin a + bcos a |
| 2 | Прямоугольная с закругленными углами при радиусе закругления r | ba = (L - 2r)sin a + b |
| 3 | Полуциркульная | ba = (L - b)sin a + b |
| 4 | Полуциркульная с двугранным углом в лобовой части | при a < Q/2
при a ³ Q/2
|
| 5 | Прямоугольная с двугранным углом в лобовой части | при α < Θ/2
при a ³ Q/2
|
| 6 | Прямоугольная с двугранным углом в лобовой и торцевой частях | при a < Q/2
при |

РисунокВ.1 - Характерные формы опор
(справочное)
Пример Г.1 Глубина и средняя скорость перед опорой после общего размыва Н = 6 м и υ = 1,25 м/с. Дно рекисложено мелкозернистым песком, гранулометрический состав которого приведенниже:
Диаметр частиц, мм > 0,1 0,1- 0,25 0,25 - 0,50 0,50 - 1,00 1- 2 2 - 3
Содержание pi,
по массе, % 2,15 23,61 53,26 16,02 3,57 1,39
Определитьглубину местного размыва у овальной в плане опоры шириной b = 4 м и длиной L = 12 м(см. рисунок 5.1).Опора расположена под углом a = 15° к направлению течения.
Решение. 1. Определяем неоднородность грунта. Самаякрупная фракция составляет менее 2 % массы грунта. Поэтому по формуле (А.4)средний диаметр крупных частиц грунта:
![]()
По формуле (А.2)средний диаметр частиц грунта:
![]()
ИмеемDmax / d = 2,2 / 0,46 = 4,8, что больше 3, т.е.не соблюдается одно из условий однородности грунта согласно п. А.4.
Проверяем второеусловие. Размывающая скорость для частиц диаметром 2,2 мм по графику (см.рисунок А.1)υ0Dmax = 1,23 м/с, что меньше скороститечения. Следовательно, грунт в рассматриваемых условиях отмостки не образует,и расчет выполняем как для однородного грунта со средним диаметром частиц 0,46мм.
2. Посколькуυ > υ0 (так как даже υ > υ0Dmax)глубину местного размыва определяем по формуле (5.1), в которой неизвестныпараметры υв, M и K.
3. Пригидравлической крупности грунта со средним диаметром частиц 0,46 мм ω =0,06 м/с (см. рисунок А.3) и взмучивающая скорость по формуле (5.7) υв = (9,8 × 0,06 × 6)1/3 = 1,52м/с.
Примечание. Более правильным являетсяопределение гидравлической крупности как средневзвешенной по аналогии сопределением среднего диаметра частиц грунта по формуле (А.2);тогда получается ω= 0,046 м/с и υв = 1,4 м/с.
4. По п. 5.1.9коэффициент формы овальной опоры M =0,85.
5. Дляопределения коэффициента косины Kвначале по приведенным в приложении В формулам получим при a = 15° приведенную ширину опоры:
ba = (L - b)sina + b = (12 - 4)sin 15° + 4= 6,07 м.
По рисунку 5.7 илипо формуле (5.13),поскольку ba / b < 2,53M1/3имеем:
![]()
6. Глубинаместного размыва по формуле (5.1):

Пример Г.2 Для условий примера Г.1 определить глубину местногоразмыва у опоры на массивном фундаменте, состоящей из двух элементов овальнойформы в плане: нижняя часть возвышается над дном на высоту H1 = 2,0 м, как в примере Г.1 (b1 = 4 м, L1= 12 м), верхняя имеет b2= 3 м и L2 = 11 м (см.рисунок 5.2, б).
Решение. Расчет местного размыва производим по формуле (5.3), вкоторой неизвестен только параметр F(b), учитывающий геометрию опоры.
1. Элементыопоры в плане овальной формы, поэтому они имеют одинаковый коэффициент формы М1 = М2= 0,85 (см. п. 5.1.9).
2. Коэффициенткосины для первого элемента определен в примере Г.1 и равен K1 = 1,22. Аналогично длявторого элемента
bα2 = (11 - 3)sin 15° + 3 = 5,07 м;
![]()
3. По формуле (5.11)при Н1 / Н = 2 / 6 = 0,334 > 0,3
А1 = 1 и j1 = 1/3 f1=
= 0,695.
По формуле (5.12),в которой Аn-1 = А2 = А1и j2 = j1,
f2 = 1 - 0,695 = 0,305.
4. По формуле (5.5)
F(b) = 40,6× 0,85 × 1,22 × 0,695 + 30,6× 0,85 × 1,39 × 0,305 = 1,65 + 0,70 = 2,35.
5. Подставляя вформулу (5.3)результаты проведенного расчета и полученные в примере Г.1, определим глубину местногоразмыва:
h =0,77 × 6,00,4
· 2,35 = 3,28 м.
Пример Г.3 Для условий примера Г.1 определить глубину местногоразмыва у опоры на свайном основании (см. рисунок 5.4, а и б):
Числосвай-оболочек диаметром b1= 1,2 м по фасаду n = 2, просвет пофасаду между сваями S = 1,5 м; плитаростверка прямоугольной формы в плане, шириной по фасаду b2 = 5,0 м и длиной L2= 12 м; низ плиты ростверка расположен выше отметки дна после общего размыва нае = 0,5 м, толщина плиты ростверка r = 1,5 м; тело опоры овальной формы вплане, шириной и длиной соответственно b3= 3 м и L3 = 11 м.
Решение. Поскольку е< 0,3Н, расчет глубины размываследует производить по формуле (5.6). Расчет сводится к определению глубиныразмыва hе у опоры приположении низа ростверка относительно дна после общего размыва, равном е = 0,3Н (см. рисунок 5.5, а),и глубины размыва hм уопоры на массивном фундаменте, по форме в плане соответствующей плите ростверкаи с отметкой верха, равной отметке верха плиты (см. рисунок 5.5, в).
Для указанныхглубин размыва постоянным является параметр, характеризующий гидравлическиехарактеристики потока.
F(Н, υ) = 0,77Н0,4
= 0,77 × 6,00,4
= 1,43.
Для проводимыхрасчетов глубин размыва общими являются также коэффициенты формы и косиныэлементов опор.
1. Коэффициентформы свайного основания определяем по приложению Б:
- коэффициентформы отдельной сваи цилиндрической формы М= 1 (см. п. 5.1.9);
- коэффициентувеличения размыва у двух свай по сравнению с размывом у отдельной сваи поформуле (Б.2):

что меньше 1,75, поэтомуполученную величину принимаем за искомую. По формуле (Б.1) коэффициент формысвайного фундамента или 1-го элемента опоры М1= 1 × 1,65 = 1,65.
Коэффициенткосины свайного основания следует принимать K1 = 1 (см. п. 5.1.10).
2. Коэффициентформы плиты ростверка (или массивного фундамента) М2 = 1,24 (см. п. 5.1.9).
Приведеннаяширина плиты ростверка (или массивного фундамента) по приложению В
bα2 = L2sin15° + b2cos 15° =12sin 15° + 5cos 15° = 3,11 + 4,82 = 7,93 м.
При
= 1,585 и M2 = 1,24 находим по рисунку 5.7 K2 = 1,1.
3. Коэффициентыформы и косины тела опоры (овальной формы) равны соответственно М3 = 0,85 и K3 = 1,39 (получено в примере Г.2).
4. Для опоры насвайном основании при е = 0,3Н = 0,3 × 6 = 1,8 м весовыекоэффициенты элементов опоры равны:
- для свайногооснования при А1 = 1 и j1 = 1/3 по формуле (5.11)
![]()
- для плитыростверка по формуле (5.10) при Аi-1 = Ai = 1, ji-1 = ji = 1/3, Hi-1 = 1,8 м и Hi = 0,3H + r = 1,8 + 1,5 = 3,3 м
f2 =
- 0,67 = 0,82 - 0,67 = 0,15;
- для тела опорыпо формуле (5.12)
f3 = 1 - 0,82 = 0,18.
5. Параметр F(b)для опоры на свайном основании при е= 0,3Н по формуле (5.5)
F(b) = 1,20,6× 1,65 × 1 × 0,67 + 5,00,6× 1,24 × 1,1 × 0,15 + 3,00,6× 0,85 × 1,39 × 0,18 = 1,235 + 0,54 + 0,41= 2,185.
Глубина местногоразмыва у такой опоры hе =F(Н,υ) F(b) = 1,43 × 2,185 = 3,12 м.
6. Опора намассивном фундаменте имеет два элемента: фундамент и тело опоры.
Весовойкоэффициент фундамента при
по формуле (5.11)(A1 = 1; j1 = 1/3) f1 = 0,3341/3 = 0,695.
Весовойкоэффициент тела опоры по формуле (5.12) f2 = 1 - 0,695 = 0,305.
7. Параметр F(b)для опоры на массивном фундаменте по формуле (5.5)
F(b) = 50,6× 1,24 × 1,1 × 0,695 + 30,6× 0,85 × 1,39 × 0,305 = 2,5 + 0,69 = 3,19.
Глубина размывау такой опоры hм = 1,43 × 3,19 = 4,56 м.
8. Искомаяглубина местного размыва по формуле (5.6)
h =3,12 + (4,56 - 3,12)
= 3,12 + 0,44 = 3,56м.
Пример Г.4 Для условий примера Г.2 определить глубину местногоразмыва у опоры, если известно, что в русле, коэффициент шероховатости которогоn = 0,028, на глубине D = 1 м ниже отметки общего размыва залегают глины с расчетнымсцеплением ср = 0,09 × 105 Па.
Решение. 1. Вначале определим по формуле (А.9)или графику (см. рисунок А.2) размывающую скорость для глин с расчетнымсцеплением ср = 0,09 × 105 Па приглубине потока Н = 6 (при определенииразмывающей скорости глубина потока отсчитывается от отметки общего размыванезависимо от того, на какой отметке ниже общего размыва залегаетрассматриваемый грунт).
По графику (см.рисунок А.2)размывающая скорость определена равной 1,4 м/с. Поскольку шероховатость руслаотличается от той, для которой составлен график (n = 0,03), то фактическая размывающая скорость согласно п. А.9 будетравна υ0 = 1,4 · 0,03 / 0,028 = 1,5 м/с.
2. По таблице А.3получим две другие необходимые характеристики связного грунта: толщинуотрывающихся отдельностей z = 0,87 мми гидравлическую крупность этих отдельностей ω = 0,12 м/с. Тогда поформуле (5.7)взмучивающая скорость равна υв = (9,8 × 0,12 × 6,0)1/3 = 1,92м/с.
3. По формуле (5.8)определим начальную скорость υн, в которой для связных грунтоввместо среднего диаметра частиц несвязного грунта следует принимать (см. п. 5.3.2) d = 3z= 3 × 0,87 = 2,61 мм.
Поскольку опорасостоит из двух элементов, расчетную ширину опоры для определения начальнойскорости найдем по формуле (5.9), в которой b1 = 4,0 м и f1= 0,695, b2 = 3,0 м и f2 = 0,305 (см. расчетпримера 2).
b =(4,00,6× 0,695 + 3,00,6× 0,305)5/3 =(2,18)5/3 = 3,36 м.
При ![]()

Полученнаяначальная скорость принята за искомую, так как υн <0,9υ0 (см. п. 5.1.6).
4. С учетомтого, что коэффициент абразивности e = 1,16, так как в воронкуразмыва поступают песчаные наносы (см. п. 5.3.2), а параметр F(b)= 2,35 (см. расчет примера Г.2), глубина местного размыва в обнажаемой глине(она будет обнажаться, так как размыв в верхнем слое - песке - больше этогослоя) по формуле (5.26) равна

5. Приназначении расчетной глубины местного размыва следует учесть следующие дваобстоятельства.
Во-первых,полученная глубина размыва в глине больше толщины слоя (а в общем случае -слоев) грунта над глиной, т.е. действительно в процессе местного размыва будетобнажаться нижележащий грунт.
Во-вторых,согласно п. 5.3.3полученную глубину размыва следует сравнить с глубиной, сформированнойнаносами. Из примера Г.2 эта глубина равна 3,28 м, что большерассчитанной для глины. Поэтому искомая глубина h = 3,1 м.
Длярассматриваемого случая, если бы не удовлетворялось первое условие (глубинаместного размыва в глине была бы меньше толщины слоя над глиной, т.е. h < D), то к расчету следовало быпринимать глубину местного размыва h= D (отметка дна воронки размыва равна отметкеповерхности глин).
(рекомендуемое)
В тех случаях,когда выше отметки общего размыва опора имеет ступенчатую форму, можно учестьуменьшение глубины местного размыва, обусловленное наличием ступеней тела опорыили фундамента.
Фактическаяглубина размыва будет равна
hт = h - dт. (Д.1)
Уменьшениеразмыва от n-го элемента опоры (см.рисунок 5.3)за счет (n - 1) ступеней, находящийсяниже этого элемента, следует определять по формуле:
(Д.2)
где F(b)n - параметр, определяемый по формуле (5.5)для всех элементов опоры;
f(b)n = bn0,6MnKnfn - параметр, учитывающийгеометрию n-го элемента опоры;
- сумма значенийширины (n - 1) ступеней перед n-ым элементом опоры выше отметки общегоразмыва; размеры ступеней принимают без каких-либо поправок на их увеличениевдоль направления потока со стороны передней (при a £ 20°) или боковой (a > 20°) грани опоры;
m0 - коэффициентзаложения откоса с верховой стороны воронки, определяемый по таблице Д.1.
Таблица Д.1 - Коэффициент заложения откоса m0верховой стороны воронки
| Диаметр частиц d, мм | Коэффициент m0 | |
| Несвязный |
|
|
| Песок: |
|
|
| мелкий и средний | 0,1 - 0,5 | 1,75 - 1,65 |
| крупный | 0,5 - 1,0 | 1,65 - 1,60 |
| Гравий: |
|
|
| мелкий | 1 - 2 | 1,60 - 1,55 |
| средний | 2 - 5 | 1,55 - 1,45 |
| крупный | 5 - 10 | 1,45 - 1,40 |
| Галька | 10 - 100 | 1,40 - 1,25 |
| Валуны | ³ 100 | 1,25 |
| Связный | < 0,1 | 1,0 |
Приучете влияния ступенчатой формы опор на глубину размыва коэффициент m0 следует назначать для всехнесвязных грунтов по среднему диаметру (крупности) частиц d, а при слоистом залегании грунтов - по верхнему слою грунта, вкачестве которого при движении наносов принимают грунт, влекомый потоком.
Общее снижениеразмыва от (n - 1)-го элемента опоры(от второго до n-го) за счет ступенейв пределах глубины потока равно сумме уменьшения размыва, приходящегося накаждый элемент опоры:

или
(Д.3)
Если окажется,что удовлетворяется условие
где
- глубина размыва,приходящаяся на элементы опоры от верхнего до к-го включительно,
то все, что находится выше (к - 1)-й ступени в расчет размывавводить не требуется. Расчет местного размыва в этом случае производят впредположении, что часть опоры выше (к- 1) ступени отсутствует, и в формуле (5.5)
f(b)к,f(b)к+1 ... f(b)n-1 и f(b)n
следует принимать равнымнулю (см. пример Д.2).
При недискретномизменении сечения опоры в плоскости, в которой определяют ширину ступеней,такое сечение следует заменить эквивалентным по площади не менее чем тремяодинаковыми по высоте элементами постоянной ширины (см. рисунок 5.6).
Примечание. При расчете глубин местногоразмыва слияние ступеней, расположенных на глубине потока выше 0,5Н и имеющих ширину
незначительно иуменьшение глубины размыва dт можно не учитывать.
Пример 1. Для условий примера Г.2 определить глубину hт местного размыва у опоры сучетом уменьшения размыва за счет ступени шириной Шт1 = 0,5 м на границе 2-го и 1-го элементов опоры.(Глубина размыва без учета ступеней равна 3,28 м).
Решение. 1. Из примера Г.2 известно, что параметры,учитывающие геометрии всей опоры и только второго элемента соответственно равныF(b)2= 2,35 и f(b)2 = 0,7.
Для песка сосредним диаметром частиц 0,46 мм принимаем по таблице Д.1 коэффициент заложенияоткоса m0 = 1,65.
2. Подставляя вформулу (А.2)выявленные выше параметры, получим уменьшение размыва от второго элемента опорыза счет ступени на границе элементов опоры:
![]()
Искомая глубинаместного размыва по формуле (Д.1)
hт = 3,28 - 0,1 = 3,18 м.
Как и следовалоожидать, при относительной ширине ступени Шт1/ b2 = 0,5 / 3 <<0,5 влияние ее на размыв незначительное.
Пример Д.2. Для условий примера Д.1 определить глубину местного размыва у опоры, если ее второй (верхний)элемент представляет собой стойку цилиндрической формы (коэффициенты формы икосины М2 = K2 = 1) шириной b2 =1,0 м, а ширина ступени Шт1= 1,5 м.
Решение. 1. Для такой опоры f(b)2 = 1,00,6× 1 × 1 × 0,305 = 0,305 исоответственно F(b)2 = 40,6× 0,85 × 1,22 × 0,695 + 1,00,6× 1 × 1 × 0,305 = 1,65 + 0,305 =1,955 м0,6.
2. По формуле (5.3)глубина местного размыва (без учета влияния ступени)
h =0,77 × 60,4
1,955 = 2,79 м.
3. Для учетавлияния на размыв ступени проверяем условие (Д.4), в котором
= Шт1 = 1,5 м, а
= h2 - глубина размыва,приходящаяся на верхний (второй) элемент опоры:
h2 = 0,77 × 60,4
0,305 = 0,44 м.
Посколькуусловие соблюдается (1,5 > 0,44 × 1,65), то при расчетеместного размыва в F(b)2 по формуле (5.5) f(b)2 = 0 т.е.F(b)2= f(b)1 = 1,65.
4. Искомаяглубина местного размыва по формуле (5.3)
hт = 0,77 × 60,4
1,65 = 2,35 м.
Тот же результатполучается по формуле (Д.1): hт= 2,79 - 0,44 = 2,35 м.
(рекомендуемое)
Если в процессеместного размыва обнажается часть массивного фундамента, размеры которого вплане больше соответствующих размеров опоры, то такой фундамент уменьшаетнаибольшую глубину местного размыва hна величину dф. Фактическая глубинаразмыва будет равна hф = h - dф.
Глубину dф следует определять (рисунокЕ.1):
- в грунтах содинаковыми физико-механическими свойствами при соблюдении неравенства tmax + Шф / m0£ h - по формуле dф = Шф / m0;
- в тех жегрунтах при несоблюдении указанного неравенства или при слоистом залеганиигрунтов - графическим путем.
Здесь tmax - глубина заложения(ниже отметки общего размыва) верха наиболее удаленной от тела опоры ступенифундамента;
РисунокЕ.1 - К определению глубины уменьшения размыва dф за счет массивногофундамента в грунтах с одинаковыми физико-механическими свойствами:
а - аналитическим способом; б - графическим
РисунокЕ.2 - К определению снижения размыва dф в слоистых грунтах
Шф -суммарная ширина ступеней фундамента от ближайшей передней (при a £20°)или боковой (при a>20°)грани опоры (или фундамента), располагающейся выше отметки общего размыва; m0 - коэффициент заложенияоткоса с верховой стороны воронки, определяемый по таблице Д.1 длякаждого вскрываемого грунта в процессе местного размыва (рисунок Е.2);для всех несвязных грунтов m0назначают по среднему диаметру частиц (без учета неоднородности).
При определенииуменьшения глубины размыва dф графическим путемнеобходимо (см. рисунки Е.1, б и Е.2):
вычертить вмасштабе продольное (при a £ 20°) или поперечное (при a > 20°) сечение опоры;
отложитьнаибольшую глубину местного размыва на вертикали, где наиболее удаленная от осиопоры ее грань пересекает отметку общего размыва;
от полученной такимобразом отметки глубины h провестилинию верхового откоса, начиная от дна воронки с заложением 1:m0, соответствующем грунту, вкотором определялся размыв; при слоистых грунтах заложение откоса 1:m0 в каждом грунте должносоответствовать его физико-механическим свойствам.
По отметкепересечения откоса с фундаментом определяют величину dф или непосредственно искомуюглубину местного размыва.
Примечание. Приопределении суммарной ширины ступеней фундамента следует:
- ширину ступеней принимать без каких-либо поправок на их увеличениевдоль направления потока при косорасположенных опорах;
- отсчитывать ширину ступеней фундамента отбоковой грани опоры (при любом значении угла a), если ступени с этойстороны уже, чем с передней.
(рекомендуемое)
В случае,предусмотренном п. 5.2.4, а, для определения характеристик грунта вслое отмостки D и p поступают следующим образом. Принимаютнекоторое содержание р ³ 0,02 по массе крупных(отмащивающих) частиц в размываемом грунте и для него подсчитывают среднийдиаметр частиц D по формуле:
![]()
где åpi = p.
Принятоезначение p и полученную по формулевеличину D подставляют в уравнение (5.22).Если окажется p / D > Rp (с точностью ± 5 %), то принимают меньшеезначение p, а при p /D < Rp - большее и повторяют те же действия до тех пор, покаподберут значения p и D, удовлетворяющие уравнению (5.22).
Если самаякрупная фракция со средним диаметром Dmaxсоставляет не менее 2 % массы всего грунта (р³ 0,02) и удовлетворяетнеравенству p / Dmax³ Rp, то в расчет принимают значения Dmax и p этойфракции.
Если получено p < 0,02, то глубину размываопределяют по формулам для однородного несвязного грунта.
Пример. Для условий примера Г.1 (Н = 6,0 м, υ = 1,25 м/с, опора овальной формы b = 4,0 м, косина потока a = 15°), определить глубинуместного размыва, если в процессе общего размыва обнажился гравий среднимдиаметром частиц d = 3 мм следующегогранулометрического состава:
d, мм 25 - 15 15- 10 10 - 7 7 - 5 5 - 3
pi, % по массе 1,2 2,4 3,7 6,7 17,2
d, мм 3 - 2 2- 1 1,0 - 0,5 0,3 - 0,25 0,25- 0,10
pi, % 31,2 10,8 5,6 17,0 4,2
По руслувлекутся донные наносы - песок со средним диаметром частиц dм = 0,46 мм.
Решение. 1. Определим неоднородность грунта. Самая крупнаяфракция составляет менее 2 % массы грунта. Поэтому по формуле (А.4)средний диаметр крупных частиц:
![]()
Имеем
, т.е. грунт может образовывать отмостку.
Проверяемвторое условие. Размывающая скорость для частиц диаметром 17 мм по графику (см.рисунок А.1):υ0Dmax= 2,05 м/с, что больше скорости течения. Следовательно, данный грунт можетобразовывать отмостку (т.е. он может рассматриваться как неоднородный).
2. Определяемметод нахождения крупности частиц слоя отмостки. Для этого находим:
а) начальнуюскорость для частиц Dmaxпо формуле (5.8)
при ![]()
υнDmax = 2,05
0,895 = 0,905;
б) коэффициентабразивности для частиц Dmaxпри среднем диаметре мелких частиц, в качестве которых следует приниматьсредний диаметр частиц наносов (см. п. 5.2.3), dм = 0,46 мм, равен emax = 1, так как Dmax / dм = 37 > 30 (см. п. 5.2.3).
Неравенство emaxυ > υнDmax удовлетворяется, поэтомусредний диаметр частиц слоя отмостки определяем из уравнения (5.22).
3. Задаемсясодержанием отмащивающих частиц p =0,02. Для D = Dmax = 17 мм гидравлическая крупность по рисунку А.3 ωD = 0,5 м/с; при Н= 6 м взмучивающая скорость υвD= 3,05 м/с.
По формуле (5.19)при М = 0,85 и K = 1,22 находим глубинуместного размыва в однородном несвязном грунте со средним диаметром частиц D = Dmaxи скорости потока υ = υ0D= 2,05 м/с
h0D = 0,77 × 60,40,40,6× 0,85 × 1,22
= 3,75
=3,07 м.
Определяем по (5.23)параметр
что больше p / D= 0,02 / 0,017 = 1,18,
т.е. уравнение (5.22)не удовлетворяется и требуется изменить характеристики отмащивающего грунта.
4. Принимаем вкачестве отмащивающих частиц три наибольших по крупности фракции. Тогда p = 0,012 + 0,024 + 0,037 = 0,073;
![]()
Для принятогогрунта имеем:
по рисунку А.3 ωD = 0,42 м/с;
по рисунку А.1 υ0D = 1,87 м/с;
по формуле (5.7) υвD = 2,9 м/с;
по формуле (5.8) υнD = 1,87
× 0,895 = 0,806 м/с;
по формуле (5.19)с учетом, что 0,77H0,4b0,6MK = 3,75, 
по п. 5.2.3при
= 25,4 и e = 1,07;
![]()
5. При p = 0,11 D = 9,8 мм. Для такого грунта ωD = 0,41 м/с; υ0D = 1,81 м/с; υвD= 2,8 м/с; υнD = 0,76м/с;
h0D = 3,75
= 3,01;
и e = 1,075;
при
.
Параметрыотмащивающего грунта найдены. Он будет отмащивать воронку, так как υ0D > υ и D / d= 9,8 / 3 = 3,26 > 3.
6. По формуле (5.16)глубина размыва с учетом образования отмостки

7. Согласно п. 5.3.3полученную глубину размыва необходимо сопоставить с глубиной размыва в грунте,влекомого потоком. Из примера Г.1 эта глубина равна 3,4 м. Следовательно, красчету надо принимать глубину размыва 3,12 м.
Как видим,эффект учета неоднородности грунта невелик, что можно было бы прогнозировать, посколькуотношение D / d близко к 3 (критериальной величине).
Глубина размывав однородном гравии с учетом абразивного воздействия наносов равна 4,98 м, но вэтом случае надо было бы принимать к расчету глубину размыва 3,4 м в грунте,влекомым потоком, - песке со средним диаметром частиц 0,46 мм.
(обязательное)
Возможныследующие случаи слоистого залегания грунтов:
а) все слои,которые прорезает воронка местного размыва, состоят из однородных несвязныхгрунтов, причем по мере увеличения глубины местного размыва вскрывается болеекрупный грунт или все слои состоят из связных материалов;
б) имеется дваслоя однородного несвязного грунта, причем вскрывающийся в процессе местногоразмыва второй слой - более мелкий или такой же по крупности, чем вышележащий;
в) процессместного размыва проходит в двух слоях несвязного грунта, причем один или обанеоднородные;
г) процессместного размыва проходит в двух слоях грунта, причем один из слоев - связныйгрунт;
д) общий случай,когда слоев два и более с произвольным расположением в них грунтов,отличающихся друг от друга по физико-механическим свойствам.
И.2Для случая, указанного в п. И.1а, когда поток не влечет донных наносов, глубину местного размываопределяют вначале по формуле (5.4) для обнажаемого грунта вследующем порядке: находят глубину размыва для первого слоя; если полученнаяглубина размыва захватывает второй слой, расчет проводят для второго слоя,считая, что он выходит на поверхность, и так до тех пор, пока будет найдетслой, в котором размыв прекратится. Если при расчете для какого-либо слояглубина размыва получается меньше суммы толщин вышележащих слоев, то этозначит, что размыв останавливается на поверхности рассматриваемого слоя.
И.3 В случае,указанном в п. И.1а,когда поток влечет донные наносы, расчет глубины размыва следует производить втаком порядке:
1) определяютглубину размыва hн вгрунте dм, влекомомпотоком, по формуле (5.3);
2) определяютглубины размыва для обнажаемых грунтов согласно рекомендациям п. И.2 поформуле
где h0i - глубинаразмыва, определяемая по формуле (5.19) в обнажаемом грунте со средним диаметромчастиц di при скоростипотока, равной размывающей υ0iдля этого грунта;
υ0i, υнi - размывающая и начальнаяскорости для частиц грунта крупностью di,определяемые для глубины потока Н,т.е. для условий, если бы верх этого слоя находился на отметке после общегоразмыва.
Коэффициентабразивности e определяют по формуле (5.20)с учетом воздействия частиц грунта dмна частицы di;
3) выявляютсогласно рекомендациям п. И.2 слой грунта крупностью dj, в котором размыв остановился, и соответствующуюглубину размыва hj;
4) сопоставляютглубины размыва hн и hj. Если hн£ hj, то к расчету принимают глубину размыва h = hн.Если hн > hj, то к расчету принимаютглубину размыва h = hj.
И.4В случае, указанном в п. И.1б, когда поток влечет донные наносы, глубину местного размыва следуетопределять по формуле (5.3) или (5.6) для грунта верхнего слоя, независимо от того, обнажился или необнажился нижележащий слой.
В случае, когдапоток не влечет донных наносов, следует сопоставить глубины местного размыва h1 и (h2 - hd), где h1 - глубина местного размыва, определяемая для грунтасо средним диаметром частиц d1верхнего слоя по формулам (5.4); h2 - то же, но для грунта d2 нижнего слоя; hd - уменьшение глубиныместного размыва в нижележащем слое из-за заноса воронки более крупным грунтомверхнего слоя, определяемое по формуле:
Здесь D - толщина верхнего слоя;
m1, m2 - коэффициенты заложения верхового откоса воронок вгрунтах со средним диаметром частиц соответственно d1 и d2(см. таблицу Д.1).
При h1³ h2 - hd к расчету следует приниматьглубину размыва h = h1.
При h1 < h2 - hd к расчету следует приниматьглубину размыва h = h2 - hd.
В формуле (И.2)при m1h1³ m2h2принимают hd = 0.
И.5 В случае,указанном в п. И.1в,если нижележащий слой состоит из однородного несвязного грунта, тонеоднородность вышележащего грунта учитывать не следует. В зависимости отзначения средних крупностей частиц рассматриваемых двух грунтов расчет проводятсогласно п. И.2при d1 < d2 или п. И.4(когда поток не влечет донных наносов) при d1> d2.
Если нижележащийслой неоднородный со средним диаметром частиц в слое отмостки D, то расчет местного размыва в этомгрунте следует проводить по формулам:
а) при eυ ³ υнD и
- по формуле (5.15)или (5.16);
б) при eυ ³ υнD, но
или eυ < υнD по формуле
h = D +1,7D / p, (И.3)
где D - толщина верхнего слоя.
При расчетеглубин размыва, если имеется движение донных наносов, то они учитываются приопределении коэффициента абразивности.
Дальнейшийрасчет связан с крупностью вышележащего грунта. Если по среднему диаметру частицвышележащий грунт мельче обнажившегося, то к расчету принимают глубину размывапо формуле (5.16)или (И.3).При этом следует учитывать рекомендации п. 5.3.3.
Если по среднемудиаметру частиц вышележащий грунт оказался крупнее обнажившегося, то глубинуразмыва, полученную по формулам (5.15), (5.16) или по формуле (И.3),уменьшают на hd согласно формуле (И.2), вкоторой глубину размыва h1в вышележащем слое определяют по среднему диаметру частиц грунта d1. Вычисленную таким образомглубину размыва h = h2 - hd необходимо сопоставить сглубинами размыва h1 или hн (глубина размыва внаносах, поступающих в воронку при естественной отмостке русла). К расчетупринимают глубину размыва, указанную в таблице И.1.
И.6. В случае,указанном в п. И.1г,если верхний слой состоит из связного грунта, то расчет размыва следуетпроизводить:
- при обнажениинесвязного однородного грунта - согласно п. И.2 с учетом того, что связныйгрунт не заносит воронку размыва в несвязном материале;
- при обнажениинеоднородного несвязного грунта - по формулам (5.15) или (5.16) или по формуле (И.3).
Таблица И.1 - Назначение глубины размыва при слоистомзалегании грунтов
| Дополнительные условия | Глубина размыва | Примечание | |
| В верхнем слое однородный грунт | |||
| Нет движения наносов | h2 - hd ³ h1 | h2 - hd | Глубины размыва h1 и h2 рассчитывают по формулам, рекомендованным п. 4.4б, независимо от гидравлических |
| D < h2 - hd < h1 | h2 | ||
| h2 £ h1 | |||
| h2 - hd < h1 | h1 | ||
| h2 > h1 | |||
| h1 > h2 < D | D | ||
| Есть движение наносов | d1 ³ d2 | h1 | Глубину размыва h2 рассчитывают по формулам, рекомендованным п. 4.4б, независимо от гидравлических условий с учетом абразивного воздействия наносов на частицы нижнего слоя |
| d1< d2 | D | ||
| h2 £ D | |||
| d1 < d2 | h2 | ||
| h2 > D, h2£ h1 | |||
| d1 < d2 | h1 | ||
| h2 > D, h2 > h1 | |||
| В верхнем слое неоднородный грунт | |||
| Нет движения наносов | Так же, как в однородных грунтах при том же режиме наносов | Глубину h1 рассчитывают по среднему диаметру частиц грунта верхнего слоя | |
| Движение мелких фракций dм | h2 - hd ³ hн | hн | Глубину размыва h2 рассчитывают по формулам, рекомендованным п. 4.4б, независимо от гидравлических условий с учетом абразивного воздействия на частицы грунтов нижнего слоя мелких частиц крупностью dм |
| D < h2 - hd < hн | h2 - hd | ||
| D > h2 - hd < hн | D | ||
Вслучае, указанном в п. И.1г, когда нижний слой состоит из связногогрунта, расчет размыва следует производить:
- если естьдвижение наносов, то согласно п. 5.3.3;
- если нетдвижения наносов, то аналогично случаю И.1б (см. п. И.4) сучетом того, что нижележащий грунт не оказывает абразивного воздействия насвязный материал нижнего слоя.
И.7 В случае,указанном в п. И.1д,расчет размыва следует производить для обнаженного слоя применительно к одномуиз случаев И.1а- И.1гс учетом следующего:
1) вместотолщины верхнего слоя D принимают суммарную толщинуслоев
, расположенных выше рассматриваемого j-го слоя;
2) засыпаютворонку размыва только несвязные частицы. Воронку местного размыва в обнаженномсвязном грунте засыпают все вышележащие слои несвязных грунтов, размывающаяскорость для которых больше, чем для обнажаемого связного материала (с учетомабразивного воздействия на него несвязных частиц).
Если j-й грунт несвязный, то воронку в немзасыпают более крупные (по среднему диаметру частиц) вышележащие несвязныегрунты.
Средний диаметрчастиц грунтов вышележащих слоев, которые засыпают воронку размыва, определяютпо формуле:
(И.4)
Здесь Di - только те слои несвязногогрунта, в которых di > dj, или при условии
, где υ0cj- размывающая скорость связного грунта;
3) уменьшениеглубины местного размыва в j-ом слоеиз-за заноса воронки более крупным материалом верхних слоев определяют поформуле
4) вычисленнуюглубину размыва в j-м слое h = hj-
необходимосопоставлять с глубинами размыва hнили hj-1соответственно в грунте, поступающем в воронку размыва или находящемся ввышележащем слое, с учетом того, что последний грунт рассматривается какоднородный.
К расчетупринимают глубину размыва, указанную в таблице И.1, в которой принимают h2 = hj, h1= hj-1, hd =
и D =
.
И.8 Пример. Для условий примера Г.1(глубина и скорость потока Н = 6,0 м,υ = 1,25 м/с, косина набегания на опору овальной формы в плане шириной b = 4,0 м и длиной L = 12,0 м, a = 15°) определить глубину местного размыва у опорыпри следующих геологических условиях:
- после общегоразмыва на поверхности оказался однородный гравийный материал со среднимдиаметром частиц 5 мм; толщина слоя 1,0 м;
- ниже - слойглины толщиной 1,6 м с расчетным сцеплением ср= 0,09 × 105 Па;
- под глиной -однородный крупный песок со средним диаметром частиц 0,66 мм.
В воронкуразмыва в качестве донных наносов поступает песок со средним диаметром частиц0,46 мм (как в примере Г.1).
Решение. 1. Определим глубину размыва в гравии. Еслигидравлическая крупность по графику (см. рисунок А.3) ω = 0,29 м/с,размывающая скорость при глубине потока Н= 6,0 м по рисунку А.1 υ0= 1,55 м/с, взмучивающая скорость υв = 2,65 м/с.
По формуле (5.8)при
начальная скоростьравна υн = 1,55
× 0,895 = 0,6 м/с.
Прикоэффициентах формы и косины опоры М= 0,85 и K = 1,22 (см. пример Г.1) поформуле (И.1)глубина размыва в гравии (e = 1,115, см. п. 5.2.3)
h =0,77 × 6,00,4× 4,00,6
× 0,85 × 1,22 = 2,57 м.
2. Полученнаяглубина размыва больше гравийного слоя. Следовательно, размыв будет проходить вследующем слое - глине. По аналогии с данными примера Г.4 для глины с таким жерасчетным сцеплением имеем:
- размывающуюскорость (также принимаем коэффициент шероховатости русла n = 0,028) υ0 = 1,5 м/с;
- толщинуотрывающихся отдельностей z = 0,87мм; их гидравлическую крупность ω = 0,12 м/с и взмучивающуюскорость υв = 1,92 м/с. При 3z = 2,61 мм и m = 0,895 (см. выше) поформуле (5.8)начальная скорость
υн = 1,5
× 0,895 = 0,54 м/с.
3. Глубинаместного размыва в глине по формуле (5.6) при F(b) = 4,00,6× 0,85 × 1,22 = 2,38 и коэффициентеабразивности e = 1,16 (поскольку по руслудвижутся песчаные наносы)
h =0,77 × 6,00,4
2,38 = 3,2 м.
4. Гравийныйматериал будет засыпать воронку, образованную в глине, поскольку (см. п. И.7.2) размывающая скорость гравия υ0/ e = 1,55 / 1,115 = 1,39 м/с больше, чем дляглины с учетом абразивного воздействия наносов на эти грунты
![]()
Прикоэффициентах заложения откоса воронки для гравия m1 = 1,45 и глины m2= 1,0 (см. таблицу Д.1), толщине слоя гравия D = 1,0 м и соответствующих глубинах местногоразмыва в глине из-за заноса воронки гравием равно
,
поэтому принимаем hd = 0.
Тогдафактическая глубина размыва в глине h2- hd = 3,2 м.
Полученнаяглубина размыва больше суммарной толщины слоев гравия и глины 1,0 + 1,6 = 2,6м, поэтому вскрывается нижележащий грунт - песок, в котором будет происходитьразмыв.
5. Для песка сосредним диаметром частиц 0,66 мм имеем (по аналогии, как для гравия): ω =0,08 м/с; υ0 = 0,92 м/с; υв = 1,67 м/с и υн= 0,28 м/с.
По формуле (5.2)глубина размыва в песке

6. Полученнаяглубина размыва больше толщины слоев над вскрываемым грунтом (песком), поэтомууказанный грунт будет участвовать в процессе местного размыва. В то же времявышележащие слои (включая сюда и донные наносы) могут оказывать влияние наформирование глубины размыва:
- во-первых,более крупный (гравийный) грунт верхнего слоя будет уменьшать глубину размыва впеске (гравий будет ссыпаться в воронку размыва);
- во-вторых,поступающие в воронку размыва наносы также могут уменьшить глубину размыва.
7. Занос воронкибудет происходить только гравийным материалом (отрываемые отдельности глиныбудут уноситься потоком). При коэффициентах заложения откосов воронки длягравия m1 = 1,45 инижележащего слоя песка m2= 1,6 (см. таблицу Д.1), толщине слоя гравия D = 1,0 м и соответствующих глубинах местногоразмыва h1 = 2,57 м и h2 = 3,7 м по формуле (И.2)уменьшение глубины местного размыва в песке из-за заноса воронки гравием равно
![]()
Соответственно h2 - hd = 3,7 - 1,65 = 2,05 м.
8. Полученнаяглубина размыва в песке с учетом заноса гравием оказалась меньше и глубиныразмыва в заносимом материале (2,57 м), и суммарной толщины слоев гравия иглины (2,60 м). Поэтому, если бы поток не влек донные наносы, к расчетуследовало бы принимать глубину размыва до отметки верха песка (2,60 м).
Так как потоквлечет наносы, то следует сопоставить полученную глубину размыва 2,60 м сглубиной, которую формируют донные наносы. Из примера Г.1 известно, что эта глубинаразмыва равна 3,4 м, что больше полученной. Следовательно, окончательнорасчетная глубина местного размыва в рассматриваемых условиях равна 2,60 м.
9. Следуетобратить внимание на казалось бы парадоксальное обстоятельство: если бы не былослоя глины, глубина размыва (принципиально) оказалась бы меньше принятой, т.е. h = 2,57 м. Эту глубину следуетназначать согласно таблице И.1 (при дополнительных условиях h2 - hd < h1 и h2> h1).
Такой «парадокс»объясняется тем, что при вскрыше нижнего песчаного слоя размеры воронки в планезначительно превосходят эти размеры при формировании воронки в связномматериале (коэффициент заложения откосов воронки в глине и песке соответственноравны 1,0 и 1,6). Поэтому и больший объем гравия в первом случае будет засыпатьворонку.
(рекомендуемое)
Коэффициент Kt, характеризующийувеличение скорости потока в голове дамбы или в верховой части конуса при длинесооружения вверх по течению от оси подходной насыпи lвф меньше требуемой длины (вылета) lв для плавного его обтекания, следует определять потаблице К.1,составленной по формуле
Kt = ехр[0,35l2(1 - lвф / lв)2],
где l - требуемое для плавногообтекания отношение полуосей дамбы.
Расчетныеплановые размеры дамб и конусов рекомендуется определять в плоскости,соответствующей РУВВ - расчетному уровню воды в створе моста.
Если при расчетекоэффициента Kt окажется, что Kt³ 0,75
, то следует принимать Kt= 0,75
,где υдм - расчетная скорость потока у подошвы в створе моста (впроцессе общего размыва на момент наибольшего подпора).
Таблица К.1 - Коэффициент Kt
| lв | Значение Kt при требуемом l | ||||
| 1,25 | 1,6 | 1,75 | 2,0 | 2,25 | |
| 0,9 | 1,00 | 1,00 | 1,01 | 1,01 | 1,02 |
| 0,8 | 1,02 | 1,03 | 1,04 | 1,06 | 1,09 |
| 0,7 | 1,05 | 1,07 | 1,10 | 1,13 | 1,22 |
| 0,6 | 1,09 | 1,13 | 1,19 | 1,25 | 1,42 |
| 0,5 | 1,15 | 1,22 | 1,30 | 1,42 | 1,72 |
| 0,4 | 1,22 | 1,33 | 1,47 | 1,66 | 2,21 |
| 0,3 | 1,30 | 1,47 | 1,69 | 1,98 | 2,91 |
| 0,2 | 1,42 | 1,60 | 1,98 | 2,44 | 4,04 |
| 0,1 | 1,55 | 1,89 | 2,12 | 3,10 | 5,90 |
(справочное)
Пример. Определить глубину местного размыва у левобережнойструенаправляющей дамбы и правобережного конуса. В расчетный паводоккоэффициенты стеснения потока подходами на левой пойме dл = 0,42, на правой dп = 0,06; глубина воды уголов дамб в бытовых условиях соответственно Нбл = 2,0 м и Нбп= 2,5 м; средний уклон свободной поверхности потока в районе моста i = 0,0002.
Левая поймасложена суглинком с расчетным сцеплением ср= 2,02 × 105 Па; праваяпойма - мелким однородным песком со средним диаметром частиц 0,3 мм.
В процессепроектирования мостового перехода определены предмостовой подпор Dhв = 0,25 м и расстояние Х0 = 650 м от моста довертикали, где устанавливается предмостовой подпор.
Плановые размерылевобережной дамбы приняты полученными по расчету (т.е. дамба имеет достаточнуюдлину вылета и хорошо обтекается потоком); крутизна откосов дамбы m = 2.
У правого устоязапроектирован конус (учитывая малое стеснение потока на пойме). Ширина еговверх по течению от оси подходной насыпи на уровне УВВ составляет lвф = 25 м, хотя по расчетутребуется дамба с длиной вылета lв= 42,5 м и отношением полуосей l = 1,5. Крутизна откосовконуса m = 1,5.
Решение. 1. Левая пойма пропускает значительно большийрасход воды, чем правая, поэтому с нее надо начинать расчет размывов у дамб.Для этого, в первую очередь, определим глубину Нгл = Нгми скорость υгл = υгм потока у подошвы головылевобережной дамбы.
2. Глубинупотока у подошвы головы левобережной дамбы определим по формуле (6.10)
Нгм = 2,0 + 0,25 = 2,25 м.
По формуле (6.5)коэффициент Шези (принимаем коэффициент шероховатости русла nр = 0,03)
Сгм = 2,251/6/0,03 =38,3 (м0,5/с).
3. С учетомотносительного расхода воды, проходящего на ширине отверстия моста приотсутствии стеснения,
QL/ Q= 1 - (dл + dп) = 1 - (0,42 + 0,06) = 0,52и соответственно
Q / QL = 1 / 0,52 = 1,925 поформуле (6.9)
![]()
4. По формуле (6.8)средний уклон свободной поверхности потока перед мостом, как бы вызванныйстеснением левой мощной поймы,
iм(м) = 0,0002 + 0,845 × 0,25 / 650 = 0,0002 +0,000325 = 0,525 × 10-3.
5. По формуле (6.3)скорость потока в голове левобережной дамбы
υг(м) = 38,3
(0,2 × 10-6× 0,525)1/4 = 0,68м/с.
6. Дляправобережного конуса по формуле (6.10)
Нгп = Нгс = 2,5 + 0,25 = 2,75 м.
7. Дляопределения скорости потока в верховой части правобережного конуса υr(с)по формуле (6.4)предварительно найдем:
- по формуле (6.9)
![]()
- по формуле (6.8)
iм(с) = 0,0002 + 0,092 × 0,25 / 650 = 0,235 × 10-3;
- по формуле (6.6)
b = 1,55 × 0,68 /
= 0,224 > 0,2.
Подставляявычисленные значения в формулу (6.4), получим
υг(с) = 0,68
= 0,36 м/с.
8. Глубинуразмыва в голове левобережной дамбы определим по формуле (6.1) сучетом того, что ее длина вылета достаточная и она хорошо обтекается потоком (Kl = Kl = 1). Для суглинка срасчетным сцеплением Ср =0,02 × 105 Па,коэффициенте шероховатости русла nр= 0,03 и глубине потока 2,25 м по графику (см. рисунок А.2) размывающая скоростьυ0 = 0,62 м/с. При коэффициенте заложения откоса дамбы m = 2 Km = 0,77 (см. п. 6.1.1).Тогда:
![]()
9. Расчетглубины размыва в верховой части правого конуса следует также выполнять поформуле (6.1)с учетом того, что его ширина вверх по течению от оси подходной насыписоставляет lвф = 25 м,тогда как для плавного обтекания требуется lв= 42,5 м. При этом следует, что такой конус будет плохо (т.е. с отрывнымитечениями и водоворотными зонами) обтекаться потоком и поэтому Kl = 0,85. Из-за недостаточныхплановых размеров конуса по таблице К.1 при lвф / lв= 25,0 / 42,5 = 0,59 и требуемом отношении полуосей сооружения l = 1,5 получаем Kl = 1,14. При m = 1,5Km = 0,8 (см. п. 6.1.1).
Для мелкогооднородного песка со средним диаметром частиц 0,3 мм при глубине потока Нгс = 2,75 м неразмывающаяскорость по графику (см. рисунок А.1) υ0 = 0,6 м/с. Тогда
![]()
(обязательное)
За расчетнуюширину b береговых опор следуетпринимать среднюю ширину под водой (до местного размыва) боковой грани опоры,перпендикулярной направлению потока и выступающей из конуса (рисунок М.1).
За расчетнуюширину b поперечного регуляционногосооружения следует принимать проекцию его длины l0 на нормаль к насыпи или берегу (рисунок М.2) иопределять по формуле
b = l0sin a, (М.1)
где a - угол примыканияпоперечного сооружения к насыпи или берегу.
Угол a должен отсчитываться от продольной осисооружения вниз по течению; на криволинейном участке - между осью сооружения икасательной к оси насыпи или линии берега в точке примыкания к ним. Длинупоперечного сооружения l0,равную средней длине его продольного сечения под водой, следует определять поформуле
l0 = lниз - 0,5mН. (М.2)
где lниз - длинапоперечного сооружения понизу вдоль его продольной оси.
РисунокМ.1 - Расчетная ширина береговой опоры
РисунокМ.2 - План поперечных сооружений:
а - при углепримыкания поперечного сооружения a ³ 45°; б - то же,при a< 45°;в - определение угла примыкания накриволинейном участке; 1 - подошва (до размыва) откоса сооружения; 2- урез воды; 3 - схематизированный контур воронки размыва; 4 -расчетный створ; 5 - вертикаль с наибольшей глубиной размыва; 6 -касательная к линии берега
(рекомендуемое)
Коэффициент Kυ, характеризующийпоступление наносов в воронку размыва, следует принимать равным:
- прирасположении поперечного сооружения на пойме, размывах в связных грунтах илипри υ £ υ0Kυ = 1;
- при ³ 1,35υ0 ирасположении поперечного сооружения в русле
Kυ = Kυmax = 0,96(H / d)0,05; (Н.1)
- при υ0< υ < 1,35υ0 и расположении поперечного сооружения врусле
Для ускоренияопределения коэффициента Kυmax по формуле (1) рекомендуется пользоваться следующимиданными:
Н / d 50 100 200 400 600
Kυmax 2,17 1,21 1,25 1,30 1,31
Н / d 1000 2000 40000 6000 10000
Kυmax 1,35 1,41 1,45 1,48 1,52
(справочное)
Пример П.1. Определить глубину местногоразмыва у шпоры, отжимающей поток на криволинейном русле от насыпи, подошвакоторой попадает в русло. Русло сложено однородным песком со средним диаметромчастиц 0,5 мм; у подошвы насыпи глубина и скорость потока соответственно равны Н = 6,5 м и υ = 1,0 м/с.
Шпоразапроектирована длиной понизу lниз= 25 м с откосом m = 2; уголпримыкания к насыпи a = 35° (см. рисунок М.2).
Решение. 1. Вначале согласно приложению Мопределим расчетную ширину шпоры b.По формуле (М.2)длина шпоры
l0 = 25 - 0,5 × 2 × 6,5 = 18,0 м,
а по формуле (М.1)
b = 18,0sin 35° = 10,3 м.
2. Глубинуместного размыва будем определять по формуле (7.1), поскольку b / Н> 1.
Предварительно вэтой формуле определим:
- по формуле (7.4) скорость потока в голове шпоры
υг = 1,0 + 
- по рисунку А.1размывающая скорость при d = 0,5 мм иН = 6,5 м, υ0 = 0,87м/с;
- по формуле (Н.2)при υ0 < υ < 1,35υ0 и Kυmax = 0,96 (Н/ d)0,05 = 0,96
= 1,55.
Kυ = 1 + (1,55 - 1) × (1,0 - 0,87) / (0,35 × 0,87) = 1,235;
- при m = 2 согласно п. 6.1.1 Km = 0,77, тогда
h =
6,5 × 0,77 = 3,67 м.
Пример П.2. Для условий примера П.1 определить глубину местногоразмыва у такой же шпоры, но устраиваемой для отжима потока от вогнутого берегавровень с берегом. При проходе воды в бровках русла глубина и скорость потока уберега Нбр = 4,0 м иυбр = 0,8 м/с (высота сооружения Н1 = Нбр= 4,0 м).
Решение. 1. Уточним расчетную ширину шпоры l0 по формуле (М.2)
l0 = 25 - 0,5 × 2 × 4 = 21 м;
по формуле (М.1) b = 21sin 35° = 12,05 м.
2. Для условийпрохода расчетного паводка (Н = 6,5м, υ = 1,0 м/с) требуется уточнение скорости потока в голове шпоры υги весового коэффициента f1,учитывающего снижение глубины местного размыва за счет затопления сооружения.
По формуле (7.4)
υг = 1,0 +
1,0= 1,15 м/с.
По формуле (5.11)
(при
= 0,615 > 0,3) A = 1 и j = 1/3 f1 =
= 0,85.
3. Для условийпрохода расчетного паводка по формуле (7.1) с учетом коэффициента f1 (см. п. 7.6)глубина местного размыва равна
h =
6,5 × 0,77 × 0,85 = 3,36 м.
4. Согласно п. 7.6необходимо определить глубину размыва при проходе потока в бровках русла.
По аналогии спроводимыми действиями в примере П.1 имеем:
υг = 0,8 +
0,8 = 1,03 м/с;
Kυmax = 0,96
= 1,5; υ0= 0,77 м/с, υ0 < υ < 1,35υ0;
Kυ = 1 + (1,5 - 1)(0,88 -0,77) / (0,35 × 0,77) = 1,20.
Тогда по формуле(7.1)
h =
4 × 0,77 = 2,6 м.
5. К расчетуследует принимать большую из полученных глубин местного размыва, т.е. 3,36 м.
Пример П.3. Для условий, приведенных в примере П.1 (Н = 6,5 м, υ = 1,0 м/с, d = 0,5 мм) определить глубину местногоразмыва у береговой опоры (устоя), боковые грани которой не обсыпаны конусом.Причем боковая грань, перпендикулярная направлению потока, в плоскости расчетногоуровня (УВВ) выступает из конуса на bmax= 10 м (см. рисунок М.1).
Решение. 1. Согласно приложению М расчетная ширина опорыравна средней ширине под водой боковой ее грани, т.е.
b = bmax / 2 = 5 м.
2. Поскольку b / Н < 1, то глубину местного размываследует определять по формуле (7.2), в которой известно из примера П.1 Kυ = 1,235 и υ0= 0,87 м/с.
Согласно п. 6.1.1для вертикальной стенки (m = 0) Km = 1.
По формуле (7.3) сучетом b / Н < 1 скорость потока у боковой грани опоры υг =υ = 1,0 м/с.
Тогда h =
5 × 1 = 3,07 м.
(справочное)
Пример Р.1. Определить глубину размыва у подошвы насыпи с откосом, попавшим врусло, в расчетный паводок. Глубина и скорость потока соответственно равны Н = 6,5 м и υ = 1,4 м/с. Руслосложено суглинком с расчетным сцеплением ср= 0,07 × 105 Па; поток в русле влечет донные наносы со среднимдиаметром частиц d = 0,3 мм. Коэффициентшероховатости русла nр =0,03.
Решение. По формуле (8.6) глубина размыва

Согласно п. 8.2б,следует проверить по формуле (8.8) возможность заноса полученной глубиныразмыва донными наносами

К расчету следует принятьглубину размыва h = 0,85 м.
Пример Р.2. Для условий примера Р.1 определить глубину размывау подошвы насыпи от продольных течений при наличии волновых воздействий(расчетная высота волны 0,5 м; средний период волн Т = 1,7 с).
Решение. Вначале определим коэффициент x, учитывающий увеличение размыва отпродольных течений при наличии волновых воздействий. При плотности частицгрунта r = 2650 кг/м3 (иводы r0 = 1000 кг/м3) поформуле (8.10)
![]()
По формуле (8.9)
![]()
Подставляякоэффициент x в формулу (8.8),имеем глубину размыва

Примечание.Расчет проведен по формуле (8.8), а не (8.6), поскольку из примера Р.1выяснено, что глубина размыва у подошвы насыпи определяется динамическимравновесием наносов на этом участке русла.
(рекомендуемое)
С.1 Приобрушении волны на откос она разделяется на два противоположных по направлениюпотока (рисунок С.1). Из потока, идущего вверх по откосу,формируется так называемый накат волны; нисходящие струи, достигаянеукрепленной подошвы откоса, могут вызвать размыв дна у основания откосногосооружения (насыпи).
С.2 Скоростьструй, идущих вниз по откосу, убывает с глубиной потока. Максимальную скоростьнисходящего потока у подошвы откоса (или максимальную донную скорость υдmax)рекомендуется определять по формуле
где hв - расчетная высота волны;
l - средняя длина волны;
Н - глубина воды у подошвы насыпи, исчисляемая отстатистического подпертого уровня воды перед насыпью (ПУВВ), складывается изглубины воды у насыпи до размыва Нби глубины размыва h.
Для определениязначения гиперболического косинуса
можно пользоватьсяграфиком (рисунок С.2).
Формула (С.1)справедлива при коэффициенте заложения откоса m £ 3. При более пологихоткосах формула завышает значение максимальной донной скорости.
РисунокС.1 - Схема разрушения волны и формирования воронки размыва:
1 - гребень волны до разрушения; 2 -опрокинутый гребень в момент обрушения волны на откос; 3 - траекториядвижения частиц воды на гребне волны; 4 - исходящие струи, образующиесяпри разрушении волны
С.3 Еслиокажется, что максимальная донная скорость меньше размывающей донной скоростиυд(0) для грунтов в основании насыпи, то размыва у подошвынасыпи не будет.
РисунокС.2 - Значения гиперболической функции ![]()
При υдmax> υд(0) следует задаться глубиной размыва h, определить максимальную доннуюскорость υдmax при глубине потока перед насыпью Н = Нб+ h и сопоставить с υд(0).Операция повторяется до получения υдmax£ υд(0).
С.4 Пополученной глубине размыва h задаютнеобходимый объем рисбермы для защиты подошвы насыпи от подмыва. При этомкрупность камня в рисберме должна обеспечивать устойчивость от воздействияисходящего с откоса потока при глубине воды у насыпи Н. Для предотвращения размывов у подошвы откосов основание насыписледует укреплять на ширину не менее глубины воды перед откосом.
Пример. Определить возможный размыв и соответственнонеобходимость укрепления подошвы откоса от волнового воздействия при глубинепотока перед насыпью Н = 3,2 м,расчетной высоте и средней длине волны соответственно hв = 0,75 м l = 8,4 м; в основании насыпи- суглинок с расчетным сцеплением ср= 0,04 × 105 Па.
Решение. По формуле (С.1) определяем максимальнуюдонную скорость у подошвы откоса. При
по графику (см.рисунок С.2)имеем
. Тогда ![]()
2. По формуле (8.12)эквивалентный диаметр суглинка dэ= 7,5(0,1 + 10 × 0,04) = 3,08 мм, длякоторого размывающая донная скорость по графику (см. рисунок 8.1)υд(0) = 0,52 м/с.
Поскольку υдmax> υд(0), необходимо укрепление подошвы откоса.
3. По графику(см. рисунок 8.1)из условия υд(0)³ υдmaxкрупность камня dк,которым можно укреплять подошву откоса, равна dк³ 20 мм.
4. Дляопределения размыва у подошвы насыпи без его укрепления поступим следующим образом:
- из формулы (С.1)определяем требуемое значение гиперболической функции при υдmax= υд(0) = 0,52 м/с
![]()
- по графику(см. рисунок С.2)находим для полученного значения гиперболической функции H / l = 0,63;
- определяемглубину потока у подошвы насыпи после размыва Н = 0,63 × 8,4 = 5,28 м; откудаглубина размыва h = 5,28 - 3,2 = 2,08м.
(рекомендуемое)
Т.1 Радиускривизны потока у вогнутого берега или прислоненного откоса насыпи определяютпо формуле
r = rи + Вр / 2, (Т.1)
где rи -минимальный радиус кривизны излучины по оси русла шириной Вр.
Т.2 Радиускривизны потока по оси русла rи,когда поток не выходит из бровок русла, совпадает с радиусом кривизны излучиныи может быть определен по формуле
rи = rи(бр) =
(Т.2)
где аи - расстояние от середины шага излучины lи до ее вершины по оси русла(рисунок Т.1).
rи = rи(бр)
(Т.3)
где Нр, Нн- средняя глубина потока и глубина потока у вогнутого берега в рассматриваемомстворе русла при проходе расчетного паводка;
Нрбр, Нибр- соответствующие глубины потока в бровках русла.
При устройствесрезки грунта со стороны выпуклого (противоположного укрепляемому) берегарадиус кривизны потока rипри выходе на пойму можно принимать по формуле (Т.3) с коэффициентом 1,1 -1,2.
Т.4 Если междупродольной осью насыпи и берегом на входе трассы в русло будет угол более 10°, то для входного участка, составляющего неменее ширины нестесненного русла Вр,радиус кривизны русла rинезависимо от уровня воды рекомендуется принимать по формуле (Т.2).
Пример. Определить глубину местного размыва у подошвынасыпи (см. рисунок Т.1), возникшего в связи с нарушениеместественного хода руслового процесса.
Русло шириной Вр = 260 м сложено однороднымпеском со средним диаметром частиц 0,5 мм; минимальный радиус кривизны излучиныпо оси русла rи = 600 м.Когда поток достигает бровки русла, средняя глубина в русле Нрбр = 4 м; глубина увогнутого берега Нибр = 6м; средняя скорость потока υрбр = 0,8 м/с. При расчетномпаводке средние глубина и скорость потока в русле Нр = 6,5 м и υр = 1,0 м/с. Речной откоснасыпи крутизной m = 2 укрепленкаменной наброской.
Решение. 1. Вначале определим радиус кривизны потока по осирусла rи при выходе водына пойму. При средней глубине потока в русле при расчетном уровне и уровне вбровках русла Нр = 6,5 м иНрбр = 4 м, а такжеглубине потока у вогнутого берега (у подошвы насыпи) при расчетном уровне
Ни = Нибр + (Нр- Нрбр) = 6 + (6,5 - 4) =8,5 м
по формуле (Т.3)
![]()
РисунокТ.1 - К определению радиуса кривизны потока rи:
1 - направление течения; 2 - ось русла; 3- конец и начало излучины; 5, 6 - трасса и ее входной участок
2. Радиускривизны потока у вогнутого берега по формуле (Т.1)
r =680 + 260 / 2 = 810 м.
3. По графику(см. рисунок А.1)размывающая скорость для частиц грунта 0,5 мм и глубине потока Н = Нр= 6,5 м υ0 = 0,87 м/с.
4. Определяемдля расчетного уровня (при проходе расчетного паводка) глубину местного размывау подошвы насыпи по формуле (8.13) при коэффициенте шероховатости укрепления(каменной наброски) n = 0,03 икоэффициенте формы укрепления М = 1[см. пояснения к формуле (8.13)].

=0,67 × 6,5 × e1,12 - 8,5 =13,3 - 8,5 = 4,8 м.
5. Согласно п. 8.8необходимо также определить глубину местного размыва у подошвы насыпи, когдапоток только достиг бровки берега.
По формуле (8.13)при Н = Нрбр = 4 м, υр = υрбр =0,8 м/с, υ0 = 0,77 м/с (при глубине потока 4 м), rи = 600 м и r = 600 +
= 730 м глубинаразмыва равна

6. Посколькуполученная глубина размыва меньше рассчитанной при расчетном уровне, за искомуюследует принимать h = 4,8 м.
7. Дляуменьшения глубины размыва устроим срезку грунта со стороны выпуклого берега.Тогда радиус кривизны потока в русле при расчетном уровне примем равным 1,15 × rи = 1,15 × 680 » 780 м (см. п. Т.3), r = 780 + 260 / 2 = 910 м, и глубина размыва по формуле (Т.3)будет равна 2,85 м.
Как видим, устройство срезки грунта на противоположном (укрепляемому)берегу является эффективным методом снижения размывов у вогнутых берегов русел.
Ключевыеслова: глубинаместного размыва, опора моста, струенаправляющая дамба, конус моста, подошванасыпи, регуляционные сооружения, грунты связные и несвязные.
СОДЕРЖАНИЕ