Настоящие Указания рассматривают мероприятия по защите PC напряжением 0,4-10 кВ от грозовых перенапряжений. Защита от внутренних перенапряжений (резонансных и коммутационных) обеспечивается изоляцией сетей и не рассматривается.
Задачей защиты PC напряжением 0,4 кВ является предотвращение поражения людей, животных и возникновения пожаров вследствие проникновения грозовых перенапряжений во внутренние проводки жилых домов и других строений, а также повреждения электрооборудования подстанций 6-10/0,4 кВ.
| Обозначение: | СТО 56947007-29.240.02.001-2008 |
| Название рус.: | Методические указания по защите распределительных электрических сетей напряжением 0,4-10 кВ от грозовых перенапряжений |
| Статус: | действующий (№ регистрации 24.0086) |
| Заменяет собой: | «Руководящие указания по защите от перенапряжений сельских электроустановок напряжением до 35 кВ включительно» (издание 1963 года) |
| Дата актуализации текста: | 08.10.2010 |
| Дата добавления в базу: | 08.10.2010 |
| Дата введения в действие: | 01.12.2004 |
| Разработан: | ОАО "РОСЭП" ОАО "НПО Стример" |
| Утвержден: | ОАО "ФСК ЕЭС" (30.11.2004) |
| Опубликован: | ОАО "ФСК ЕЭС" № 2008 |
ФЕДЕРАЛЬНАЯ СЕТЕВАЯ КОМПАНИЯ ЕДИНОЙ ЭНЕРГЕТИЧЕСКОЙ СИСТЕМЫ
(ОАО "ФСК ЕЭС")
ОТКРЫТОЕ АКЦИОНЕРНОЕ ОБЩЕСТВО ПО ПРОЕКТИРОВАНИЮ СЕТЕВЫХ ИЭНЕРГЕТИЧЕСКИХ ОБЪЕКТОВ
(ОАО "РОСЭП")
МЕТОДИЧЕСКИЕ УКАЗАНИЯ
ПО ЗАЩИТЕ РАСПРЕДЕЛИТЕЛЬНЫХ ЭЛЕКТРИЧЕСКИХ СЕТЕЙ
НАПРЯЖЕНИЕМ 0,4-10 кВ ОТ ГРОЗОВЫХ ПЕРЕНАПРЯЖЕНИЙ
СТО 56947007-29.240.02.001-2008
РАЗРАБОТЧИК Открытое акционерное общество по проектированиюсетевых и энергетических объектов (ОАО "РОСЭП")
УТВЕРЖДЕНЫ Протоколом № 2 заседания Постояннодействующей комиссии по нормативно-техническому обеспечению деятельности ОАО"ФСК ЕЭС" от 30.11.2004
ВВЕДЕНЫ в действие с 01.12.2004
Указания подготовлены авторским коллективом ОАО"РОСЭП" - В.И. Шевляков (руководитель коллектива), Г.С. Боков, Н.П.Васина, И.И. Данилова, Ю.М. Кадыков, С.С. Кустов.
Разделы 3 приложений Г и Д подготовлены сучастием И.В. Житенева, Г.В. Подпоркина и А.Д. Сиваева (ОАО "НПОСтример").
При подготовке Указаний большая помощь былаоказана канд. технических наук Н.Н. Беляковым - в виде консультаций и разработкиотдельных материалов.
СОДЕРЖАНИЕ
"Методические указания по защитераспределительных электрических сетей напряжением 0,4-10 кВ от грозовыхперенапряжений" (в дальнейшем Указания) разработаны по заданию ОАО"ФСК ЕЭС" и предназначены для организаций, занимающихсяпроектированием, строительством и эксплуатацией распределительных электрическихсетей напряжением 0,4-10 кВ.
Указания подготовлены в развитие и дополнение:
- Глав 1.7; 2.4; 2.5 и 4.2 Правил устройстваэлектроустановок (ПУЭ. Седьмое издание. 2002-2003).
- Руководства по защите электрических сетей6-1150 кВ от грозовых и внутренних перенапряжений (РД153-34.3-35.125-99).
- Методических указаний по применениюограничителей перенапряжений нелинейных в электрических сетях 6-35 кВ (М.:,2001).
С введением в действие настоящих"Методических указаний по защите распределительных электрических сетейнапряжением 0,4-10 кВ от грозовых перенапряжений" утрачивают силу"Руководящие указания по защите от перенапряжений сельскихэлектроустановок напряжением до 35 кВ включительно" издания 1963 года.
Распределительные электрические сети (PC)напряжением 0,4-10 кВ в последние годы оснащаются электрооборудованием,аппаратами, устройствами, изоляторами и проводами, изготовленными на новойсовременной технической базе.
Эксплуатация таких сетевых объектов требуетнадежной системы защиты от грозовых перенапряжений с использованием современныхтехнических средств. Разработка технических средств и методов защиты отперенапряжений PC связана с количественной оценкой параметров молнии и вероятногочисла грозовых повреждений.
Для расчетов плотности прямых ударов молнии наземлю используется информация об интенсивности грозовой деятельности. При этомнеобходимо учитывать экранирование сетевых объектов зданиями, сооружениями,деревьями и т.п. Экранирование в отдельных случаях может снизить количествопрямых ударов в сетевые объекты на ~ 70%.
Надежная защита достигается, если оборудование иконструкции будут иметь достаточно высокую прочность изоляции или в PCустановлены эффективные аппараты защиты от грозовых перенапряжений.
Для защиты PCнапряжением 0,4-10 кВ от грозовых перенапряжений применяются:
- ограничители перенапряжений нелинейные (ОПН);
- разрядники длинно-искровые (РДИ);
- разрядники вентильные (РВ) и трубчатые (РТ);
- защитные искровые промежутки (ИП).
Тип, количество и место установки аппаратовзащиты выбирается при проектировании конкретных сетевых объектов. При установкеаппаратов защиты требования к значению сопротивления заземления выбираютсогласно ПУЭ и главы 2.5 настоящих Указаний, учитывающих конкретныеособенности применяемых систем и принципов действия аппаратов (устройств)защиты от грозовых перенапряжений.
Для магистральных линий напряжением 6-10 кВ,выполненных в габаритах ВЛ напряжением 35 кВ, рекомендуется применять тросовыемолниеотводы на подходах к подстанциям и распределительным пунктам.
Настоящие Указания рассматривают мероприятия позащите PC напряжением 0,4-10 кВ от грозовых перенапряжений. Защита отвнутренних перенапряжений (резонансных и коммутационных) обеспечивается изоляциейсетей и не рассматривается.
Задачей защиты PCнапряжением 0,4 кВ является предотвращение поражения людей, животных ивозникновения пожаров вследствие проникновения грозовых перенапряжений вовнутренние проводки жилых домов и других строений, а также поврежденияэлектрооборудования подстанций 6-10/0,4 кВ.
Проблема защиты от грозовых перенапряжений ВЛ иподстанций весьма актуальна для PC напряжением 0,4-10 кВ, так как ониимеют низкую импульсную прочность изоляции по сравнению с электроустановкамидругих классов напряжения и имеют большую протяженность.
В Указаниях изложены методы выбора аппаратовзащиты от грозовых перенапряжений ВЛ и подстанций в распределительныхэлектрических сетях напряжением 0,4-10 кВ, а также методы расчетагрозоупорности сетевых объектов. Приведены характеристики средств защиты отгрозовых перенапряжений и электрической прочности изоляции электроустановок.
Причинами грозовых перенапряжений на ВЛ являютсяпрямые удары молнии (ПУМ) в линию, а также близкие удары в землю, вызывающиеиндуктированные (наведенные) перенапряжения на проводах линии.
На изоляцию оборудования подстанций воздействуютволны грозовых перенапряжений, приходящие с ВЛ при их поражениях молниями, иперенапряжения при прямых ударах молний в оборудование и конструкцииподстанций.
Для РУ 6-10 кВ опасными являются такжеперенапряжения, индуктированные на токоведущих частях при ударах молнии в землюили другие объекты вблизи подстанции.
Грозоупорность ВЛ напряжением 0,38-10 кВсущественно повышается при использовании изоляции дерева на сооружаемых ВЛ сдеревянными опорами, а на ВЛ с железобетонными и металлическими опорами (далеепо тексту Указаний с железобетонными опорами) - при применении изоляционныхтраверс.
В настоящих Указаниях использованы следующиестандарты и нормативные документы:
- Правила устройстваэлектроустановок. Изд. 7, (Главы 1.7; 2.4; 2.5 и 4.2). М.,"Издательство НЦ ЭНАС", 2003.
- ГОСТ24291-90 Электрическая часть электростанций и электрической сети. Термины иопределения.
- ГОСТ1516.3-96 Электрооборудование переменного тока на напряжение от 1 до 750кВ. Требования к электрической прочности изоляции.
- ГОСТР 50571.19-2000 (МЭК 60364-4-443-95) Электроустановки зданий. Часть 4.Требования по обеспечению безопасности. Глава 44. Защита от перенапряжений.Раздел 443. Защита электроустановок от грозовых и коммутационныхперенапряжений.
- РД153-34.3-35.125-99. Руководство по защитеэлектрических сетей 6-1150 кВ от грозовых и внутренних перенапряжений. 2-е изд.СПб: ПЭИПК, 1999.
- Методические указания по применениюограничителей перенапряжений нелинейных в электрических сетях 6-35 кВ. РАО"ЕЭС России", Москва. 2001.
В настоящих Указаниях приняты следующие терминыс соответствующими определениями.
1.3.1 Класс напряжения электрооборудования - номинальное междуфазное напряжение электрической сети, для работыв которой предназначено электрооборудование.
1.3.2 Наибольшее рабочее напряжениеэлектрооборудования - наибольшее напряжение частоты 50 Гц, неограниченнодлительное приложение которого к зажимам разных фаз (полюсов)электрооборудования допустимо по условиям работы его изоляции.
1.3.3 Уровень изоляции электрическойустановки - совокупность нормированных испытательных напряжений,установленных в стандарте для испытаний внутренней и внешней изоляции данногоэлектрооборудования (обмотки, нейтрали и т.п.).
1.3.4 Перенапряжение - всякое повышениенапряжения сверх амплитуды длительно допустимого рабочего фазного напряжения.
1.3.5 Коммутационные (внутренние)перенапряжения - перенапряжения, которые возникают при нормальных(оперативных) включениях и отключениях, изменениях нагрузки или авариях(замыканиях на землю, КЗ, обрывах проводов и др.). Характеризуются кратностьюпо отношению к фазному напряжению.
1.3.6 Грозовые перенапряжения -перенапряжения, возникающие в результате воздействия на электрическую установкуразрядов молнии.
1.3.7 Система защиты от перенапряжений -совокупность мероприятий и технических средств (устройства заземления,молниеприемники и аппараты защиты), снижающих негативное воздействиеперенапряжений на электроустановки.
1.3.8 Импульс тока молнии - изменениетока молнии во времени (разряда молнии). Имеет форму апериодического разряда.Характеризуется амплитудой импульса, его крутизной и продолжительностью, атакже скоростью распространения главного разряда.
1.3.9 Экранирование линии - защита ВЛ отпрямых ударов молнии более высокими объектами (сооружениями, зданиями,деревьями, другими ВЛ и т.д.).
1.3.10 Индуктированные (наведенные)перенапряжения - перенапряжения, наведенные током молнии при ударе молнии вземлю или другие объекты вблизи линии или подстанции.
1.3.11 Грозоупорность ВЛ - устойчивостьлинии к воздействию грозовых перенапряжений. Показателем грозоупорности ВЛявляется число ее грозовых отключений.
В зависимости от поставленной задачи могутрассматриваться: удельное число грозовых отключений на 100 км и 100 грозовыхчасов в год; удельное число грозовых отключений на 100 км и один годэксплуатации; абсолютное число грозовых отключений, рассчитанное на фактическуюдлину ВЛ и фактическую интенсивность грозовой деятельности.
1.3.12 Заземление - преднамеренноеэлектрическое соединение какой-либо части (точки) сети, электроустановки илиоборудования с заземляющим устройством.
1.3.13 Заземляющее устройство - совокупностьзаземлителя и заземляющих проводников.
1.3.14 Заземлитель - проводящая часть илисовокупность соединенных между собой проводящих частей, находящихся вэлектрическом контакте с землей непосредственно или через промежуточнуюпроводящую среду.
1.3.15 Заземляющий проводник - проводник,соединяющий заземляемую часть (точку) с заземлителем.
1.3.16 Сопротивление заземляющего устройства- отношение напряжения на заземляющем устройстве к току, стекающему сзаземлителя в землю.
1.3.17 Короткое замыкание (КЗ) - замыкание,при котором токи в ветвях электроустановки, примыкающих к месту еговозникновения, резко возрастают, превышая наибольший допустимый токпродолжительного режима.
1.3.18 Замыкание на землю - случайныйэлектрический контакт между токоведущими частями, находящимися под напряжением,и землей.
1.3.19 Импульсная прочность изоляции (уровеньизоляции) - определяется нормированными испытательными напряжениями при полноми срезанном грозовом импульсе.
1.3.20 Электрическая распределительная сеть- совокупность электроустановок для распределения электроэнергии, состоящая изподстанций, распределительных устройств, токопроводов, воздушных и кабельныхлиний электропередачи, работающих на определенной территории (напряжение PC находитсяв пределах 0,4-150 кВ).
1.3.21 Электрическая сеть с изолированнойнейтралью - сеть, нейтраль которой не имеет соединения с землей, заисключением приборов сигнализации, измерения и защиты, имеющих весьма высокоесопротивление. К сетям с изолированной нейтралью следует относить сети скомпенсированной нейтралью, нейтраль которых соединена с землей черездугогасящий реактор (ДГР). Индуктивность ДГР такова, что при однофазномзамыкании на землю (ОЗЗ) ток реактора компенсирует емкостную составляющую токаОЗЗ.
1.3.22 Электрическая сеть с заземленнойнейтралью - сеть, нейтраль которой соединена с землей наглухо или черезрезистор или реактор, сопротивление которых достаточно мало, чтобы существенноограничить колебания переходного процесса и обеспечить значение тока,необходимое для селективной защиты от замыкания на землю.
1.4.1 На действующих ВЛ напряжением 6-10 кВ и0,38 кВ защитные тросы не применяются из-за малой их эффективности при низкойимпульсной прочности изоляции.
1.4.3 Отключения ВЛ напряжением 6-10 кВ отвоздействия грозовых перенапряжений возможны только вследствие двух илитрехфазных перекрытий изоляции.
1.4.4 В PCнапряжением 6-10 кВ с изолированной или компенсированной нейтралью однофазныеимпульсные перекрытия и возникающая при этом дуга ОЗЗ не сопровождается КЗ иотключением ВЛ напряжением 6-10 кВ.
1.4.5 Число грозовых отключений ВЛ напряжением6-10 кВ на железобетонных опорах снижается при усилении изоляции фазныхпроводов относительно земли и увеличении длины разрядного расстояния.
1.4.6 Снижение сопротивления заземления опор ВЛнапряжением 6-10 кВ ниже значений, приведенных в главе 2.5 настоящихУказаний, практически не отражается на количестве отключений от воздействиягрозовых перенапряжений.
1.4.7 Снижение числа отключений ВЛ напряжением6-10 кВ на деревянных опорах при воздействии грозовых перенапряженийдостигается принятием специальных мер по защите участков ВЛ с ослабленнойизоляцией (например, отдельных железобетонных опор).
1.4.8 При применении на ВЛ напряжением 6-10 кВзащищенных проводов с изоляцией из сшитого полиэтилена (ВЛЗ 6-10 кВ) необходимоустанавливать аппараты защиты от пережогов проводов при воздействиях грозовыхперенапряжений.
2.1.1 От воздействия грозовых перенапряженийнеобходимо защищать:
- линейное электрооборудование, установленное наопорах ВЛ (силовые и измерительные трансформаторы, разъединители и другиеаппараты);
- участки ВЛ напряжением 6-10 кВ с ослабленнойизоляцией (места пересечения ВЛ, опоры с кабельными муфтами, отдельныежелезобетонные опоры на ВЛ с деревянными опорами и другие);
- воздушные линии с защищенными проводами;
- воздушные линии с неизолированными проводами(в местах, например, с аномальной грозовой деятельностью).
2.1.2 Для ВЛ напряжением 6-10 кВ нажелезобетонных опорах основным резервным мероприятием для повышенияэксплуатационной надежности, предотвращающим перерывы в электроснабжении,является АПВ. Отказ от АПВ в каждом отдельном случае должен быть обоснован.Имеющиеся в эксплуатации устройства АПВ должны быть постоянно включены вработу.
На ВЛ напряжением 6-10 кВ должны применятьсяустройства АПВ одно и двукратного действия. Для первого цикла АПВ следуетиспользовать бестоковую паузу продолжительностью 1-3 с, а для второго цикла -не менее 15-20 с.
Вероятность успешной работы АПВ на ВЛнапряжением 6-10 кВ при грозах составляет ~ 0,5.
2.1.3 Если на ВЛ напряжением 6-10 кВ сдеревянными опорами устанавливаются отдельные железобетонные опоры, то напоследних при отсутствии аппаратов защиты должны применяться изоляторы болеевысокого класса напряжения и/или изоляционные траверсы.
При этом градиент рабочего напряжения по путиперекрытия между фазами не должен превышать значений, рекомендуемых в п. 2.1.4.
2.1.4 Для повышения грозоупорности ВЛнапряжением 6-10 кВ рекомендуется использовать деревянные опоры и/илиизолирующие траверсы из различных материалов (полимеров, сухой древесины,пропитанной новыми антисептиками).
Длина изолирующих траверс в изоляционной частидолжна быть такой, чтобы градиент рабочего напряжения по пути перекрытия междуфазами не превышал 8-10 кВ/м.
Применение металлических траверс на деревянныхопорах не рекомендуется.
2.1.5 На ответвлениях от магистрали ВЛнапряжением 6-10 кВ на деревянных опорах за линейным разъединителем со стороныпитания должен устанавливаться аппарат защиты от грозовых перенапряжений.
2.1.6 Кабельные вставки в ВЛ напряжением 6-10 кВдолжны быть защищены по обоим концам кабеля за исключением:
- вставок с пластмассовой изоляцией и оболочкойдлиной 2,5 км и более;
- вставок других конструкций кабеля длиной 1,5км и более (см. п.3.1.6).
2.2.1 Защите от грозовых перенапряжений подлежатсиловые и измерительные трансформаторы, выключатели, разъединители,предохранители и другие аппараты.
2.2.2 Для защиты секционирующих пунктов ипунктов АВР 6-10 кВ должны быть установлены аппараты защиты - по одномукомплекту с каждой стороны ВЛ.
2.2.3 Для защиты разъединителей и выключателей,имеющих изоляцию того же класса, что и ВЛ 6-10 кВ с железобетонными опорами,аппараты защиты от грозовых перенапряжений не устанавливаются.
2.3.1 ВЛ напряжением 6-10 кВ при пересеченияхтребуют установки аппаратов защиты от воздействия грозовых перенапряжений.
2.3.2 Применение специальных мер защиты ВЛнапряжением 6-10 кВ на пересечениях не требуется для линий, выполненных на:
- железобетонных опорах;
- деревянных опорах при расстояниях междупроводами пересекающихся ВЛ не менее:
- 9 м при пересечении с ВЛ 750 кВ;
- 7 м - с ВЛ 330-500 кВ;
- 6 м - с ВЛ 150-220 кВ;
- 5 м - с ВЛ 35-110 кВ;
- 4 м - с ВЛ 6-10 кВ и более низкого напряжения.
2.3.3 Рекомендуется выбирать место пересечениявозможно ближе к опоре верхней из пересекающихся линий, что обычно позволяетобеспечить требуемые по условиям защиты от воздействия грозовых перенапряженийрасстояния в месте пересечения.
Провода ВЛ более высокого напряжения, какправило, должны быть расположены выше проводов пересекаемых ВЛ более низкогонапряжения.
2.3.4 Наименьшие расстояния между ближайшимипроводами пересекающихся ВЛ должны быть не менее приведенных в таблице 2.1 притемпературе воздуха плюс 15 °С без ветра.
Для промежуточных значений пролетовсоответствующие расстояния определяются линейной интерполяцией. Расстояниемежду ближайшими проводами пересекающей и пересекаемой ВЛ напряжением 6-10 кВпри условии, что хотя бы одна из них выполнена с защищенными проводами, должнобыть не менее 1,5 м (при температуре воздуха плюс 15 °С без ветра).
2.3.5 На ВЛ с деревянными опорами на опорах,ограничивающих пролеты пересечения ВЛ, должны устанавливаться аппараты защитына обеих пересекающихся линиях. Расстояния между проводами пересекающихся ВЛдолжны быть не менее приведенных в таблице 2.1.
Таблица 2.1
Наименьшие расстояния между проводами пересекающихся ВЛ нажелезобетонных опорах, а также на деревянных опорах при наличии аппаратовзащиты
| Пересекающая воздушная линия | Длина пролета пересекающей ВЛ, м | При расстоянии от места пересечения до ближайшей опоры ВЛ, м | |||||
| 30 | 50 | 70 | 100 | 120 | 150 | ||
| ВЛ 750 кВ | до 200 | 6,5 | 6,5 | 6,5 | 7 | - | - |
| 300 | 6,5 | 6,5 | 7 | 7,5 | 8 | 8,5 | |
| 450 | 6,5 | 6,5 | 7,5 | 8 | 8,5 | 9 | |
| 500 | 7 | 7 | 8 | 8,5 | 9 | 9,5 | |
| ВЛ 330-500 кВ | до 200 | 5 | 5 | 5 | 5,5 | - | - |
| 300 | 5 | 5 | 5,5 | 6 | 6,5 | 7 | |
| 450 | 5 | 5,5 | 6 | 7 | 7,5 | 8 | |
| ВЛ 150-220 кВ | до 200 | 4 | 4 | 4 | 4 | - | - |
| 300 | 4 | 4 | 4 | 4,5 | 5 | 5,5 | |
| 450 | 4 | 4 | 5 | 6 | 6,5 | 7 | |
| ВЛ 20-110 кВ | до 200 | 3 | 3 | 3 | 4 | - | - |
| 300 | 3 | 3 | 4 | 4,5 | 5 | - | |
| ВЛ 6-10 кВ и более низкого напряжения | до 100 | 2 | 2 | - | - | - | - |
| 150 | 2 | 2,5 | 2,5 | - | - | - | |
2.3.6 На деревянных опорах ВЛ напряжением6-10 кВ при пересечении с ВЛ напряжением 750 кВ и ниже устанавливаются аппаратызащиты.
При пересечении ВЛ с деревянными опорами с ВЛнапряжением 750 кВ металлические детали для крепления проводов (крюки, штыри)на опорах, ограничивающих пролеты пересечения, должны быть заземлены.
Для пересекающихся ВЛ при расстоянии от местапересечения до ближайших опор более 40 м аппараты защиты не устанавливаются.
2.4.1 На ВЛ напряжением 6-10 кВ с защищеннымипроводами (ВЛЗ 6-10 кВ) должны применяться изоляторы в соответствии стребованиями, предъявляемыми к ВЛ с неизолированными проводами.
2.4.2 На ВЛЗ 6-10 кВ расстояния по воздуху отзащищенных проводов и арматуры, находящихся под напряжением, до опор должныбыть не менее, чем для ВЛ с неизолированными проводами (см. таблицу 2.5.17 ПУЭ).
2.4.3 На ВЛЗ 6-10 кВ, проходящей по населеннойместности и зоне с грозовой деятельностью в среднем 20 грозовых часов и более,необходимо предусмотреть установку для защиты от грозовых перенапряжений РДИ(см. приложениеД и рисунок Ж.6).
При отсутствии данных о среднегодовойпродолжительности гроз рекомендуется пользоваться картой районированиятерритории России по числу грозовых часов в году в соответствии с рисунком2.5.3 ПУЭ.
2.4.4 Защита ВЛЗ 6-10 кВ на подходах кподстанциям от грозовых перенапряжений должна выполняться в соответствии стребованиями главы 3.1 настоящихУказаний.
2.4.5 На ВЛЗ 6-10 кВ требования к заземлениюопор, значение сопротивления заземляющих устройств опор должны соответствоватьтребованиям для ВЛ с неизолированными проводами (см. главу 2.5 настоящихУказаний).
2.5.1 На ВЛ напряжением 6-10 кВ всоответствии с требованиями главы 2.5 ПУЭ должныбыть заземлены:
a) Опоры, имеющие аппараты защиты от грозовыхперенапряжений.
b) Железобетонные опоры.
c) Опоры, на которых установлены силовые илиизмерительные трансформаторы, разъединители, предохранители или другиеаппараты.
Деревянные опоры и деревянные опоры сметаллическими траверсами, не имеющие аппаратов защиты от грозовыхперенапряжений, не заземляются.
2.5.2 Сопротивления заземляющихустройств опор, указанных в п. 2.5.1 (поз. а), а также ВЛ напряжением 6-10 кВ (поз. b), проходящих в населеннойместности, должны быть не более приведенных в таблице 2.2.
Наибольшие значения сопротивления заземляющих устройств опор ВЛ
| Удельное сопротивление грунта r, Ом×м | 100 и менее | > 100 до 500 | ³ 500 до 1000 | ³ 1000 до 5000 | Более 5000 |
| Сопротивление заземляющего устройства, Ом | 10 | 15 | 20 | 30 | 6×10-3r |
Допускается превышение сопротивленийзаземления части опор по сравнению с нормируемыми значениями, если имеютсяопоры с пониженными значениями сопротивлений заземления, а ожидаемое числогрозовых отключений не превышает значений, получаемых при выполнении требованийтаблицы 2.2 для всех опор ВЛ.
2.5.3 На двухцепных опорах ВЛ, рекомендуетсяснижать сопротивление заземляющих устройств в 2 раза по сравнению сприведенными в таблице 2.2.
2.5.4 Для опор ВЛ, расположенных в горнойместности на высотах более 700 м над уровнем моря, указанные значениясопротивления могут быть увеличены в 2 раза.
2.5.5 Для железобетонных опор ВЛ 6-10 кВ вненаселенной местности сопротивление заземляющих устройств должно быть:
- £ 30 Ом - в грунтах с удельным сопротивлением r до 100 Ом×м;
- £ 0,3r Ом- в грунтах с удельным сопротивлением r выше 100 Ом×м.
2.5.6 Сопротивление заземляющих устройств опорВЛ напряжением 6-10 кВ, указанных в п.2.5.1 (поз. с), не должно превышать 30 Ом.
Значение сопротивления заземляющих устройствопор ВЛ напряжением 6-10 кВ должно обеспечиваться применением заземлителей.Естественная проводимость фундаментов, подземных частей опор и пасынков(приставок) при расчетах не должна учитываться.
2.5.7 Нормированное значение сопротивлениязаземляющих устройств опор ВЛ должно обеспечиваться и измеряться с помощьюспециальных приборов контроля заземляющих устройств в период их наибольшихзначений (сухое летнее время).
Допускается производить измерение в другиепериоды с корректировкой результатов путем введения сезонного коэффициента,однако, не следует производить измерение при промерзшем грунте.
2.5.8 Сопротивления заземляющих устройствэлектроустановок в сетях напряжением 6-10 кВ рассчитываются в соответствие стребованиями п.п. 1.7.96-1.7.97 ПУЭ.
2.5.9 Влияние значения сопротивления заземленияопор на характеристики грозоупорности ВЛ следует оценивать с учетом основныхопределяющих факторов:
- соотношения количества двух видов опасных для изоляцииВЛ грозовых перенапряжений - индуктированных и прямого удара;
- конструктивных параметров опор;
- вида аппаратов защиты и способов их установкина ВЛ.
3.1.1 Защита подходов ВЛ на деревянных опорахнапряжением 6-10 кВ к подстанциям 35-110/6-10 кВ от грозовых перенапряженийдолжна выполняться в соответствии с рисунком 3.1(см. главу 3.2настоящих Указаний).
3.1.2 Для защиты подходов рекомендуетсяустанавливать ОПН (или РВ), РДИ вместо разрядников PT1 и РТ2 (рисунок 3.2).
3.1.3 На подходах ВЛ 6-10 кВ с деревяннымиопорами к ПС (РУ, РП или РТП 6-10 кВ) на расстоянии 200-300 м от ПС должен бытьустановлен комплект аппаратов защиты.
На ВЛ напряжением 6-10 кВ, на которых в грозовойсезон могут иметь место длительные отключения с одной стороны, следуетустанавливать аппараты защиты (РТ2) на конструкции ПС или наконцевой опоре того конца ВЛ, который может быть длительно отключен (рисунок 3.1).Расстояние от РТ2 до отключенного выключателя по ошиновке должнобыть не более 10 м.
При невозможности выдержать указанныерасстояния, а также при наличии на отключенном конце ВЛ трансформаторовнапряжения вместо РТ2 должны быть установлены РВ или ОПН. Расстояниеот РВ до защищаемого оборудования должно быть при этом не более 10 м, для ОПН -увеличенное пропорционально разности испытательного напряжения ТН и остающегосянапряжения ОПН.
При установке РВ или ОПН на всех вводах ВЛ в ПСи их удалении от подстанционного оборудования в пределах допустимых значений поусловиям грозозащиты аппараты защиты на шинах ПС могут не устанавливаться.
Сопротивление заземления разрядников PT1 и РТ2 не должны превышать 10 Ом при удельномсопротивлении земли до 1000 Ом×м и 15 Ом при более высоком удельном сопротивлении.
3.1.4 Защита подходов ВЛ напряжением 6-10 кВ кПС молниеотводами по условиям грозозащиты не требуется.
3.1.5. На подходах ВЛ напряжением 6-10 кВ сжелезобетонными опорами к подстанциям установка аппаратов защиты не требуется.Однако, при применении на ВЛ напряжением 6-10 кВ изоляции, усиленной более чемна 30% (например, из-за загрязнения атмосферы), на расстоянии 200-300 м от ПС ина ее вводе должны быть установлены аппараты защиты.
Железобетонные опоры на протяжении 200-300 мподхода к ПС должны быть заземлены с сопротивлением не более указанных в п.2.5.2.
3.1.6 В случае присоединения ВЛнапряжением 6-10 кВ к ПС посредством кабельной вставки, в месте присоединениякабеля к ВЛ должен быть установлен комплект РВ или ОПН. В этом случаезаземляющий зажим разрядника, металлические оболочки кабеля, а также корпускабельной муфты должны быть соединены между собой по кратчайшему пути.Заземляющий зажим разрядника должен быть соединен с заземлителем отдельнымспуском.
Если ВЛ выполнена на деревянных опорах, нарасстоянии 200-300 м от конца кабеля следует устанавливать комплект аппаратовзащиты. При длине кабельной вставки более 50 м установка РВ или ОПН на ПС нетребуется. Сопротивление заземления аппарата должно быть не более значенийуказанных в п.2.5.2.
3.1.7 Аппараты защиты от грозовых перенапряжений(ОПН, РДИ, РВ или РТ) должны быть установлены в точках ВЛ с ослабленнойизоляцией:
- на единичных железобетонных опорах ВЛнапряжением 6-10 кВ с деревянными опорами;
- на опорах, ограничивающих пролеты пересеченийВЛ;
- на опорах с кабельными муфтами.
3.1.8 Сопротивления заземляющих устройств деревянныхопор, на которых установлены трубчатые разрядники, ОПН и защитные промежуткидолжны приниматься в соответствии с таблицей2.2 настоящих Указаний.
3.1.9 Подходы ВЛ напряжением 6-10 кВ, магистраликоторых выполнены в габаритах ВЛ напряжением 35 кВ, рекомендуется защищать отпрямых ударов молнии тросовыми молниеотводами (см. п.1.4.2).
3.2.1 Распредустройства 6-10 кВ, к которымприсоединены ВЛ, должны быть защищены ОПН (или РВ), установленными на шинах илиу трансформаторов (рисунки 3.1 и 3.2).
В обоснованных случаях применяются дополнительнозащитные емкости.
Ограничитель перенапряжения (или вентильныйразрядник) в одной ячейке с трансформатором напряжения должен быть присоединендо его предохранителя.
3.2.2 При применении воздушной связитрансформаторов с шинами РУ 6-10 кВ расстояния от ОПН (или РВ) до защищаемогооборудования не должны превышать 60 м при ВЛ на деревянных опорах и 90 м при ВЛна железобетонных опорах.
Рисунок3.1 - Защита РУ 10 кВ от набегающих грозовых волн с ВЛ напряжением 10 кВ надеревянных опорах (на ВЛ установлены ОПН с разрядным номинальным током 10 кА итоком пропускной способности 500 А на прямоугольном импульсе длительностью 2000мкс)
3.2.3 При присоединении трансформаторов к шинамкабелями расстояния от установленных на шинах ОПН (или РВ) до трансформаторовне ограничиваются.
3.2.4 При установке на всех вводах линий в РУ аппаратовзащиты (ОПН или РВ) с расстояниями до оборудования согласно п. 3.2.2 настоящихУказаний, по условиям защиты от грозовых перенапряжений на шинах ПС аппаратызащиты могут не устанавливаться.
Рисунок3.2 - Схема защиты от грозовых перенапряжений РУ 10 кВ с отходящими ВЛ надеревянных опорах (на ВЛ установлены ОПН с разрядным номинальным током 10 кА итоком пропускной способности 500 А на прямоугольном импульсе длительностью 2000мкс и РДИ согласно п.3.2 приложения Д)
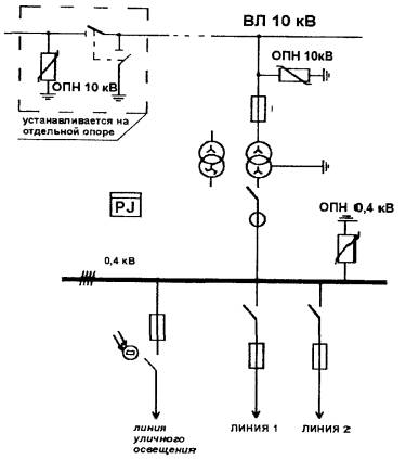
3.3.1 Защита ТП 6-10/0,4 кВ (ЗТП, КТП, столбовых(СТП) и мачтовых (МТП) подстанций) осуществляется комплектом ОПН (или РВ).
На МТП и СТП аппараты защиты устанавливаются наопорах (опоре) после или до разъединителя.
На КТП шкафного или киоскового исполнения своздушным вводом аппараты защиты устанавливаются на шкафу устройства вводавысокого напряжения.
На ЗТП с воздушным вводом аппараты защитыустанавливаются на шинную сборку 6-10 кВ (рисунок 3.3).

Рисунок3.3 - Схема защиты ТП 6-10/0,4 кВ от воздействия грозовых перенапряжений
3.3.2 Защита электрооборудования ТП 6-10/0,4 кВ,непосредственно связанного с ВЛ напряжением 0,38 кВ, осуществляется путемустановки на шинах 0,4 кВ ОПН (или РВ), а на подходах ВЛ - двух защитныхзаземлений на расстоянии ~ 50 м от трансформатора и на таком же расстоянии другот друга с присоединением их к нулевому проводу и к крюкам ил и штырямизоляторов фазных проводов.
Сопротивление заземления должно быть не более 30Ом.
3.3.3 Защита подстанций 10/0,4 кВ, связанных сВЛ напряжением 0,38 кВ через кабельную вставку, от перенапряжений со стороны ВЛосуществляется посредством установки ОПН (или РВ) на опоре с концевой кабельноймуфтой и защитой подхода согласно п. 3.3.2.
На деревянных опорах ВЛ при переходе в кабельнуюлинию заземляющий проводник должен быть присоединен к PEN-проводникуВЛ и металлической оболочке кабеля (PEN-проводник - совмещенныйнулевой защитный и нулевой рабочий проводник).
4.1 ОПН в сетях напряжением 6-10 кВустанавливаются:
- на шинах РУ 6-10 кВ (включая РП и РТП) длязащиты силовых трансформаторов и электрооборудования;
- для защиты электрооборудования пунктовсекционирования и АВР;
- на подходах ВЛ к РУ;
- на ВЛ для защиты ослабленных мест(железобетонные опоры на ВЛ с деревянными опорами, кабельные муфты, местапересечений);
- на вводах напряжением 6-10 кВ силовыхтрансформаторов ТП 6-10/0,4 кВ.
4.2 Наибольшее рабочее напряжение ОПН Uн.р.ОПН выбирается равным наибольшемурабочему напряжению электрооборудования Uн.р.ОПН = 7,2 и 12,0 кВ соответственно для PCнапряжением 6 и 10 кВ.
4.3 Остающееся напряжение при грозовом импульсетока 8/20 мкс с амплитудой 5 кА должно быть не выше Uост.5кА = 27 и 45 кВ соответственно для PCнапряжением 6 и 10 кВ.
4.4 Номинальный разрядный ток ОПН во всехслучаях, кроме указанных ниже, принимается равным 5 кА.
4.5 Номинальный разрядный ток ОПН принимаетсяравным 10 кА при установке аппаратов защиты:
- в районах с интенсивностью грозовойдеятельности более 50 грозовых часов в год;
- в сетях с ВЛ на деревянных опорах;
- в сетях с повышенными требованиями понадежности.
4.6 ОПН должен быть отстроен от работы приперенапряжениях, вызванных однофазными дуговыми замыканиями на землю.
Это требование выполняется, если остающеесянапряжение при импульсе тока 30/60 мкс с амплитудой 0,5 кА будет Uост.5кА ³ 18 и 29 кВ соответственно для PC напряжением 6 и 10 кВ. При этомпропускная способность ОПН (амплитуда прямоугольного импульса токадлительностью 2000 мкс) должна быть не менее 250 А.
4.7 На шинах ПС, подходах ВЛ с деревяннымиопорами (в т.ч. на оборудовании ВЛ) длина пути утечки внешней изоляцииограничителей должна быть не менее 13 и 22 см соответственно для PCнапряжением 6 и 10 кВ.
5.1.1 От грозовых перенапряжений должны бытьзащищены:
- электрооборудование и аппараты, установленныена опорах ВЛ;
- ответвления от магистрали к вводам в здания;
- защита изоляции проводов ВЛИ.
5.1.2 Защита ответвлений от магистрали к вводамв здания и снижение величины грозовых перенапряжений, проникающих во внутренниепроводки, достигается путем отвода тока молнии в заземлитель через заземляющийспуск, смонтированный на опоре с ответвлением к вводу потребителя.
5.1.3 ВЛ напряжением 0,38 кВ, проходящие по населеннойместности с одно и двухэтажной застройкой, должны иметь заземляющие устройства,предназначенные для защиты от грозовых перенапряжений.
К заземляющим устройствам должны бытьприсоединены нулевой провод, крюки или штыри фазных проводов и проводов всехдругих линий (проводного вещания, связи и др.), подвешенных на деревянных ижелезобетонных опорах, а также арматура железобетонных опор.
Сопротивление заземляющих устройств опор должнобыть не более 30 Ом. Расстояния между опорами с заземляющими устройствами недолжно превышать:
- 200 м для районов со среднегодовойпродолжительностью гроз £ 40 ч;
- 100 м - для районов со среднегодовойпродолжительностью гроз более 40 ч.
5.1.4 Дополнительно, заземляющиеустройства должны быть выполнены:
на опорах с ответвлениями к вводам в здания, вкоторых может быть сосредоточено большое количество людей (школы, ясли,больницы), или которые представляют большую материальную ценность(животноводческие, птицеводческие помещения, склады);
- на концевых опорах линий, имеющих ответвленияк вводам, при этом наибольшее расстояние от соседнего заземления, этих же линийдолжно быть не более 100 м для районов со среднегодовым числом часов гроз до 40и 50 м - для районов со среднегодовым числом часов гроз более 40.
5.1.5 На вводах в здания и на концевых опорахлиний, рекомендуется дополнительно устанавливать ОПН низкого напряжения.
5.1.6 Для защиты электронного оборудования(компьютеры, телевизоры и т.д.) от грозовых перенапряжений проникающих впроводку здания, следует применять специальные разрядники и ОПН, расположенныев непосредственной близости от защищаемого оборудования. Для защиты особочувствительного оборудования следует предусматривать специальныетрансформаторы, фильтры и источники питания.
5.1.7 Крюки, штыри деревянных опор заземлению неподлежат, за исключением крюков и штырей на опорах, где выполнены повторныезаземления для защиты от грозовых перенапряжений.
Крюки, штыри и арматура опор, ограничивающихпролет пересечения, а также опор, на которых производится совместная подвеска,должны быть заземлены.
5.2.1 На ВЛ напряжением 0,38 кВ с изолированнымисамонесущими проводами (ВЛИ 0,38 кВ) должны быть выполнены заземляющиеустройства, предназначенные для повторного заземления нулевого провода, защитыот грозовых перенапряжений, заземления электрооборудования, установленного наопорах ВЛИ 0,38 кВ.
5.2.2 Заземляющие устройства для повторногозаземления нулевого провода и для целей защиты от грозовых перенапряжений должнывыполняться в соответствие с требованиями 5.1.4настоящих Указаний. В случае изолированного нулевого провода присоединение егок заземлению осуществляется с помощью прокалывающего зажима.
5.2.3 Для защиты электрооборудования, аппаратови ВЛИ 0,38 кВ должны применяться ОПН (или РВ), установленные в непосредственнойблизости от защищаемых объектов.
ОПН (или РВ) на ВЛИ должны быть присоединены кфазному проводу посредством прокалывающих: зажимов.
5.2.4 Ограничители перенапряжения и разрядники,устанавливаемые на опорах ВЛИ 0,38 кВ для защиты кабельных вставок от грозовыхперенапряжений, должны быть присоединены к заземлителю отдельным спуском.
1. Ларионов В.П. Молниезащита. Часть III.Электричество, 1996, № 9, с. 61-68.
2. Электрофизические основы техники высокихнапряжений / Под ред. Верещагина И.П., Ларионова В.П. - М.: Энергоатомиздат,1993, 543 с.
3. Перенапряжения в электрических системах изащита от них. Базуткин В.В., Кадомская К.П. и др. - СПб.: Энергоатомиздат,1995, 320 с.
4. Перенапряжения и защита от них в воздушных икабельных электропередачах высокого напряжения. Костенко М.В., Левинштейн М.Л.и др. - Л.: Наука, 1988, 302 с.
5. Руководствопо защите электрических сетей 6-1150 кВ от грозовых и внутренних перенапряжений/ Под научной ред. Н.Н. Тиходеева - Санкт-Петербург: ПЭИПК Минтопэнерго РФ,1999, 353 с.
6. Защита сетей 6-35 кВ от перенапряжений /Халилов Ф.Х., Евдокунин Г.А., Поляков B.C.,Подпоркин Г.В., Таджибаев А.И. - СПб.: Энергоатомиздат. Санкт-Петербургскоеотделение, 2002.- 272 с.
7. Подпоркин Г.В., Пильщиков В.Е., Сиваев А.Д.Грозозащита воздушных линий 10 кВ длинно-искровыми разрядниками модульного типа/ Электричество, 2002, № 4, с. 8-15.
8. Руководящие материалы по проектированиюэлектроснабжения сельского хозяйства, ОАО "РОСЭП", 2000, № 11, с.10-36.
9. Правила устройств электроустановок (ПУЭ), 7 изд.(Главы 1.7, 2.4, 2.5 и 4.2), М., "Издательство НЦ ЭНАС", 2003.
10. ГОСТ1232-82. Изоляторы.
11. ГОСТ24291-90 Электрическая часть электростанций и электрической сети. Термины иопределения.
12. ГОСТ1516.3-96 Электрооборудование переменного тока на напряжение от 1 до 750кВ. Требования к электрической прочности изоляции.
13. ГОСТР 50571.19-2000 (МЭК 60364 4 443 95) Электроустановки зданий. Часть 4.Требования по обеспечению безопасности. Глава 44. Защита от перенапряжений.Раздел 443. Защита электроустановок от грозовых и коммутационныхперенапряжений.
14. Справочник по электрическим установкамвысокого напряжения. М.: Энергоатомиздат, 1989.
15. Методические указания по применениюограничителей перенапряжений нелинейных в электрических сетях 6-35 кВ., М.: РАО"ЕЭС России", 2001.
1 При интенсивности грозовой деятельности 100 грозовых часов в годсреднегодовая плотность ударов молнии в поверхность земли принимается равной6,7 удара на 1 км2 и уменьшается пропорционально числу грозовыхчасов (гр. ч) в конкретной местности. Годовое число ПУМ в сооружение высотой Ни площадью (А×В) (размеры в метрах) определяется поформуле:
ппум = 6,7(А + 6Н)(В+ 6Н)×10-6, ударов.
2 Для ВЛ удельное число прямых ударов молнии (на 100 км за 100 гр.ч) составляет:
Nвл = 4hcp,ударов/(100 км×100 гр. ч),
где hcp -средняя высота подвеса верхнего провода, м; для линии без защитного тросаопределяется по формуле hcp = hоп, - (2/3)f,
hоп - высота подвеса верхнегопровода на опоре, м;
f - стрела провеса провода, м.
При отсутствии данных о стреле провеса, f вычисляется приближенно черезнормированный габарит между нижним проводом и землей hг по формуле:
![]()
где
- высота подвесанижнего провода на опоре (для ВЛ 6-10 кВ равна 7-9 м).
3 Общее число ПУМ в линию за год оценивается по формуле:
N = 4hcp(I/100)×(Tч/100),
где I - длина линии, км;
Тч - число грозовых часов в году.
4 Строения и деревья, окружающие линию 6-10 кВ, снижают своимэкранированием число ударов молнии в линию до величины:
Nэ = N(1- Kэ),
где N - число ПУМ в ВЛ на открытой местности;
Kэ - коэффициент экранирования.Экранирование различают по высоте экранирующего объекта (рисунки А.1 и А.2):
- экранирование объектом, меньшим или равным высоте линии;
- экранирование объектом, большим по высоте линии.

РисунокА.1 - Коэффициенты экранирования для одностороннего экранирующего объектавысотой, равной hвл/2(1) и hвл(2), при различных расстояниях S от ВЛ. Высота ВЛ hвл =9-15 м

РисунокА.2 - Коэффициенты экранирования для объектов высотой (1,5-2)hвлодностороннего (1) и двухстороннего (2), при различных расстояниях S отВЛ. Высота ВЛ hвл =9-15 м
Если экранирующие объекты выше линии, то коэффициентыэкранирования на сторонах линии нельзя суммировать из-за эффектадополнительного экранирования и следует пользоваться кривой 2 на рисунке А.2.
Если экранирующие объекты находятся на обеих сторонах ВЛ и ихвысота меньше или равна высоте линии, то коэффициент экранированиярассчитывается по формуле:
Kэ = Kэ.п + Kэ.л,
где Kэ.п - экранирующий коэффициентправой стороны ВЛ;
Kэ.л - экранирующий коэффициентлевой стороны ВЛ.
Небольшое число редко растущих деревьев практически не экранируютВЛ. Во всех случаях экранирующий эффект сводится к нулю при расстояниях объектаот ВЛ свыше 100-120 м.
При экспресс оценке экранирования близлежащих объектов можноприменять следующие значения коэффициентов экранирования:
- Kэ = 0,3-0,5 - в городскихусловиях, вблизи строений и частых деревьев;
- Kэ = 0,6-0,8 - при прохождении ВЛ по просеке в лесу.
1 Зона защиты молниеотвода - это часть пространства, внутрикоторого здание или сооружение защищено от ПУМ с определенной степеньюнадежности. По мере продвижения по поверхности внутрь зоны надежность защитыувеличивается.
В сетях 6-10 кВ молниеотводами от ПУМ должныбыть защищены ОРУ 6-10 кВ, подстанции 35 кВ и выше, а также шинные мосты игибкие связи 6-10 кВ от понижающих трансформаторов до ОРУ 6-10 кВ.
2 Зона защиты одиночного стержневого молниеотвода высотой h < 150 м представляет собойкруговой конус (рисунок Б.1) с вершиной на высоте h0 < h. Горизонтальноесечение зоны защиты на высоте hx представляет собой круг радиусом rх. На уровне земли зона защитыобразует круг радиусом r0. Граница зоны защиты (при вероятности прорыва 0,05) описываетсяформулами:
h0 = 0,92h; r0 =1,5h;
rx = 1,5(h - hx/0,92)


РисунокБ.1. Зона защиты одиночного стержневого молниеотвода высотой до 150 м:
1 -граница зоны защиты на уровне земли; 2 - то же на высоте hx.
Высота одиночного стержневого молниеотвода при известныхдля защищаемого объекта величинах hx и rх определяется по формуле:
h = (rх + 1,63hx)/1,5.
3 Зона защиты двух стержневых молниеотводов одинаковой высотой h < 150 м показана на рисунке Б.2.Торцевые области зоны защиты (габариты h0, r0, rх1, rх2) определяются как зоныодиночных стержневых молниеотводов. Зоны защиты двойного стержневогомолниеотвода (при вероятности прорыва 0,05) имеют следующие габариты:
При L < 1,5h: hc = h0; rcx = rx; rc = r0.
При 5h > L > 1,5h: 
При известных hc и L (при rсх = 0) высота молниеотвода определяется по формуле:
h = (h + 0,14L)/1,13.
Стержневые молниеотводы, находящиеся на расстоянии L >5h, следуетрассматривать как одиночные.

РисунокБ.2. Зона защиты двойного стержневого молниеотвода высотой до 150 м:
1 -граница зоны защиты на уровне земли; 2 - то же на высоте hx.
Параметры разряда молнии, используемые в расчетах защиты ВЛ и ПС отгрозовых перенапряжений, и информация об их количественных характеристиках данав таблице В.1 и подробно изложена в разделе 6 "Руководства по защитеэлектрических сетей 6-1150 кВ от грозовых и внутренних перенапряжений".
До 90% разрядов молнии в землю имеют отрицательную полярность. Токглавного разряда молнии имеет форму апериодического импульса и характеризуетсямаксимальной крутизной ам, длительностью фронта,длительностью импульса tи (до полуспада) и амплитудойимпульса Iм. Вместо крутизны фронта врасчетах можно использовать длительность фронта tф, определяемую изсоотношения ан = Iм/tф.
Грозоупорность ВЛ, как правило, рассчитываетсятолько для первого импульса разряда молнии, так как вероятность перекрытияизоляции при воздействии последующих импульсов на порядок и более меньше, чемпри воздействии первого импульса. Учет последующих импульсов в оценкегрозоупорности оправдан только в некоторых специальных случаях при большойиндуктивности опор (многоцепные ВЛ на одностоечных опорах, большие переходы ВЛчерез водные преграды и т.д.).
При многократном разряде молнии перенапряжения на изоляции ВЛвозникают как при первом, так и последующих импульсах тока, однако при обычномвремени действия защит и АПВ (не менее 1 с) все возможные при многократномразряде молнии перекрытия линейной изоляции укладываются в интервал одногоотключения ВЛ.
Расчеты по защите ПС от воздействия грозовых перенапряжений должнывыполняться с обязательным учетом первых и последующих импульсов многократногоразряда молнии.
Таблица В.1
Параметры разрядамолнии, используемые в расчетах защиты ВЛ и ПС от грозовых перенапряжений
| Параметр | Количественные характеристики* | |
| Полярность разряда | С вероятностью 0,9 отрицательная | |
| Многокомпонентность | Статистическое распределение числа импульсов в разрядах по рисунку 6.2 | |
| Для первой и последующих составляющих | Форма импульсов | Обобщенная форма импульсов дана на рисунке 6.4, расчетная (п. 6.2.3) |
| Длительность импульса и длительность фронта | Статистические распределения (п. 6.2.2) | |
| Амплитуда и крутизна тока | ||
| Корреляция между амплитудой и крутизной тока | В расчетах амплитуда и крутизна тока приняты взаимно независимыми (п. 6.2.4) | |
| Скорость распространения главного разряда | 0,3 скорости света (п. 6.2.5) | |
| Эквивалентное сопротивление канала молнии | Учитывается зависимость от амплитуды тока молнии (п. 6.2.6) | |
| * Количественные характеристики приведены по разделу 6 "Руководства по защите электрических сетей 6-1150 кВ от грозовых и внутренних перенапряжений". | ||
1.1 На ВЛ 6-10 кВ применяются штыревые и подвесные изоляторы, атакже полимерные изоляторы и траверсы, проводящие (железобетонные) и деревянныеопоры.
Тип изолятора ВЛ 6-10 кВ выбирается не по условиям защиты отгрозовых перенапряжений, а по величине рабочего напряжения и проверяется повнутренним перенапряжениям. Поэтому импульсная прочность изоляции ВЛ 6-10 кВкрайне низка.
Импульсный уровень изоляции ВЛ на железобетонных опорахопределяется прочностью используемых изоляторов. На ВЛ с деревянными опорамиследует учитывать дополнительную импульсную прочность, вносимую древесиной.
Для ВЛ 6 и 10 кВ рекомендуемые мокроразрядные напряжения штыревыхизоляторов должны составлять соответственно не менее 28 и 34 кВ.
Согласно ПУЭ на ВЛ 6-10 кВ достаточно применять один подвесной изолятор сдлиной пути утечки не менее 25 см.
На одностоечных деревянных опорах допускается расстояние междуфазами по дереву для ВЛ 6-10 кВ - 0,75 м при условии соблюдения требований посближению проводов в пролете.
1.2 Основные параметры штыревых изоляторов (фарфоровых истеклянных) для ВЛ 6-10 кВ в соответствии с ГОСТ 1232:
1. Класс напряжения - 10 кВ.
2. Выдерживаемое напряжение при импульсах 1,2/50 мкс, не менее -80 кВ.
3. Изоляционное расстояние по воздуху от провода до штыря, неменее - 150 мм.
Параметры выпускаемых заводами изоляторов обычно выше, чемтребуемые ГОСТ.
1.3 Характеристика линейных изоляторов для ВЛ 6-10 кВ и 0,38 кВприведены на рисунке Г.1 и таблицах Г.1-Г.2.

РисунокГ.1 - Изоляторы линейные фарфоровые
Приводимые в ГОСТ и каталогах заводов значениявыдерживаемых импульсных напряжений изоляторов, как следует из нормированнойметодики испытаний, имеют вероятность выдерживания 0,9 (по существу являются10%-ми разрядными напряжениями)/
Наиболее распространенный в сетях 10 кВ линейный штыревой изоляторИ1Ф10-Г имеет следующие импульсные разрядные характеристики:
- при стандартном импульсе 1,2/50 мкс 50 процентные разрядныенапряжения не зависят от полярности воздействующего напряжения и равны U50%+ = U50%- = 130 кВ;
- стандартные отклонения разрядных напряжений также не зависит от полярностинапряжения и составляет s+ = s- = 3,1%.
1.4 Изоляционные расстояния по воздуху на опорах ВЛ выбираютсятакими, чтобы их разрядные напряжения были не ниже, чем у линейных изоляторов.Для ВЛ 6-10 кВ наименьшее допустимое изоляционное расстояние по воздуху отпроводов до заземленных частей опор по ПУЭсоставляет:
- 20 см по грозовым перенапряжениям (для штыревых и подвесныхизоляторов);
- 10 см по внутренним перенапряжениям;
- 4 см по рабочему напряжению.
Изоляционные расстояния по воздуху до деревянной опоры, не имеющейзаземляющих спусков, допускается уменьшить на 10%.
Указанные изоляционные расстояния по внутренним перенапряжениямприведены для расчетной кратности, равной 4,5.
Характеристика линейных штыревых изоляторов на напряжение 0,4-10кВ
| Параметр | ШФ20-Г | ШФУ-10 ШФ-15 | ШФ10-Г | ТФ20 |
| Номинальное напряжение, кВ | 20 | 10 | 10 | 1 |
| Пробивное напряжение в изоляционной среде, кВ | 180 | 165 | 160 |
|
| Выдерживаемое импульсное напряжение, кВ | 135 | 110 | 100 |
|
| Выдерживаемое напряжение в сухом состоянии, кВ | 85 | 70 | 65 |
|
| Выдерживаемое напряжение под дождем, кВ | 65 | 50 | 42 |
|
| Длина пути утечки, не менее, мм | 400 | 300 | 265 |
|
| Разрушающая сила при изгибе, не менее, кН | 13 | 13 | 12,5 |
|
| Масса, кг | 3,5 | 2,4 | 1,7 | 0,49 |
| Прочность на изгиб, Н |
|
|
| 8000 |
| Сопротивление изоляции, не менее, МОм |
|
|
| 50000 |
1.5 Изменение импульсной прочности комбинированнойизоляции "дерево - изоляторы" показано на рисунке Г.2.Экспериментальные данные по импульсной прочности дерева имеют большой разброс,связанный с состоянием образцов дерева, используемых при опытах.
Импульсная прочность комбинированной изоляции оценивается последующим формулам:
Uимп = Uи.ш + 100Iдер - для штыревых изоляторов;
Uимп = Uи.г + 100Iдер - для гирлянд подвесных изоляторов;
где: Uи.ш, Uи.г - импульсное 50 процентноеразрядное напряжение соответственно штыревых изоляторов и гирлянды подвесныхизоляторов (фарфоровых либо стеклянных), кВ;
Iдер - длина дерева (формулы справедливы для Iдер£ 4 м), м.
При длинах дерева I1 для штыревых и I2 для подвесных изоляторов импульсная прочность комбинированнойизоляции равна Uимп = 300Iдер, то есть прочность изоляторов не учитывается. Для большихотрезков дерева (стойки опор) 8-12 м импульсная прочность древесины оцениваетсявеличиной 180 кВ/м.

РисунокГ.2 - Импульсная прочность изоляции:
1 -дерево и штыревых изоляторов; 2 - дерево и подвесных изоляторов; 3- только дерева.
1.6 Изоляционное покрытие защищенных проводовне может служить основной изоляцией ВЛ по отношению к земле. Изоляция ВЛЗ 10кВ, соответствующая номинальному напряжению, обеспечивается изоляторами,установленными на опорах.
Выбор изоляторов и изоляционных расстояний от токоведущих дозаземленных частей опор производится так же, как для ВЛ с неизолированнымипроводами.
1.7 Для низковольтных линейных изоляторов (типа ТФ-20, D = 7,0 см иН = 10,0 см) импульсное разрядное напряжение составляет U50% 50 кВ.
Характеристики подвесных тарельчатых изоляторов
| Тип изолятора | Стеклянный изолятор | Фарфоровый изолятор | ||||||||
| нормального исполнения | с увеличенным вылетом ребра | двукрылый | нормального исполнения | |||||||
| ПС 40-А | ПС 70-Е | ПСВ 40-В | ПСВ 70-А | ПСД 70-Е | ПФ 40-А | ПФ 70-А | ПФ 70-Д | ПФ6-А (П-4,5) | ПФ6-Б (П-4,5) | |
| Минимальная механическая разрушающая нагрузка, кН | 40 | 70 | 40 | 70 | 70 | 40 | 70 | 70 | 60 | 60 |
| Диаметр D, мм | 175 | 255 | 255 | 280 | 270 | 255 | 255 | 250 | 270 | 270 |
| Строительная высота Н, мм | 110 | 127 | 110 | 146 | 146 | 214 | 180 | 127 | 170 | 140 |
| Длина пути утечки, мм | 190 | 303 | 320 | 442 | 411 | 303 | 303 | 303 | 285 | 280 |
| Пробивное напряжение в изоляционной среде, кВ | 100 | 130 | 100 | 130 | 130 | 130 | 130 | 130 | 110 | 100 |
| Выдерживаемое напряжение 50 Гц (в сухом состоянии), кВ | 55 | 70 | 70 | 82 | 75 |
|
|
| 60 | 60 |
| Выдерживаемое напряжение 50 Гц (под дождем), кВ | 33 | 40 | 40 | 50 | 45 | 40 | 40 | 40 | 32 | 32 |
| Выдерживаемое импульсное напряжение 1,2/50 +/-, кВ | 70/70 | 100/ 100 | 100/ 100 | 125/ 125 | 110/ 110 | 100/ 100 | 100/ 100 | 100/ 100 | 130/ 130 | 130/ 130 |
| Масса, кг | 1,7 | 3,4 | 3,0 | 5,6 | 4,6 | 4,7 | 4,7 | 4,5 | 6,5 | 6,0 |
2.1 В таблице Г.3 приведены нормированныеиспытательные напряжения внутренней и внешней изоляции электрооборудования 6-10кВ (по ГОСТ1516.3-96).
Таблица Г.3
Испытательные напряжения внутренней и внешней изоляцииэлектрооборудования
| Напряжение, кВ | Испытательное напряжение для оборудования с нормальной изоляцией, кВ | Испытательное напряжение для оборудования с облегченной изоляцией, кВ | ||||||
| грозового импульса | одноминутное переменное | полного грозового импульса | одноминутное переменное | |||||
| полного | срезанного | в сухом состоянии | под дождем | в сухом состоянии | под дождем | |||
| аппараты | силовые трансформаторы | |||||||
| 6 | 60 | 70* | 32 | 25 | 20 | 40 | 20 | 20 |
| 10 | 75 | 90* | 42 | 35 | 28 | 60 | 28 | 28 |
| * только для оборудования, имеющего обмотки (трансформаторы силовые и напряжения, шунтирующие реакторы) | ||||||||
2.2 В эксплуатации для внутренней изоляциитрансформаторов характерны воздействия униполярного колебательного импульса.Значение уровня допустимых (выдерживаемых) напряжений внутренней изоляцииэлектрооборудования 6-10 кВ принимается равные" значению испытательныхнапряжений (таблица Г.4).
Таблица Г.4
Уровень допустимых перенапряжений для внутренней изоляцииэлектрооборудования 6-10 кВ
| Параметр | Изоляция | |||
| Нормальная | Облегченная | |||
| Номинальное напряжение, Uн, кВ | 6 | 10 | 6 | 10 |
| Наибольшее рабочее напряжение, Uн.р, кВ | 7,2 | 12 | 7,2 | 12 |
| Амплитуда наибольшего рабочего фазного напряжения, Uф. = Uн.р | 5,88 | 9,80 | 5,88 | 9,80 |
| Испытательное напряжение срезанного импульса (для трансформаторов силовых и напряжения) Uсги. | 70 | 90 | - | - |
| Испытательное напряжение полного импульса Uпги, кВ | 60 | 75 | 40 | 60 |
| Уровень допустимых грозовых перенапряжений Uдоп.г., кВ | 60 | 75 | 40 | 60 |
| Кратность допустимых перенапряжений по отношению к амплитуде наибольшего рабочего фазного напряжения Uдоп.г./Uф | 10,2 | 7,7 | 6,8 | 6,1 |
2.3 Допустимые грозовые перенапряжения для внешнейизоляции электрооборудования подстанции (вводов, выключателей, разъединителей,трансформаторов тока, предохранителей) определяются по вольт-секунднымхарактеристикам изоляции и рассчитываются по формуле:
![]()
где: t - время, мкс;
Т и А- постоянные, значения которых находятся подстановкой в формулу для Uд(t)) испытательных напряжений электрооборудования при полноми срезанном импульсах и времени 10 и 2 мкс соответственно.
Допустимые перенапряжения для внешнейизоляции электрооборудования 6-10 кВ с нормальной изоляцией приведены нарисунке Г.3.
Так как значения испытательных напряжений меньшеразрядных, то полученные допустимые воздействия имеют определенный запас.Допустимые грозовые перенапряжения для внешней изоляции электрооборудования6-10 кВ с нормальной изоляцией приведены на рисунке Г.3.

Рисунок Г.3 - Вольт-секунднаяхарактеристика для допустимых значений грозовых импульсов на внешней изоляцииоборудования с нормальной изоляцией подстанций 6-10 кВ
(на рисунке: Uд1 - для ТП 10 кВ; Uд2 - для ТП 6 кВ)
2.4 Для изоляции оборудования класса 0,4 кВиспытания грозовыми импульсами не предусмотрены. Для исправной изоляциивыдерживаемый импульсный уровень принимается равным амплитуде одноминутногоиспытательного напряжения 50 Гц (таблица Г.5).
Таблица Г.5
| Изоляция | Одноминутное испытательное напряжение 50 Гц (по ГОСТ 1516.3-96), кВ | Допустимый уровень грозовых перенапряжений, кВ |
| Изоляция обмоток 0,4 кВ трансформаторов с изоляцией обмоток ВН: |
|
|
| нормальной | 5 | 7 |
| облегченной | 3 | 4 |
| Изоляция остального электрооборудования 0,4 кВ | 2,0 | 2,8 |
После грозового перекрытия изолятора илиискрового промежутка луга тока промышленной частоты устанавливается с некоторойвероятностью:
h = (1,6Еср -6)0,01,
где Еср = U/Iразр - средний градиент электрического поля, кВ/м;
U - действующее значение напряжениявдоль пути перекрытия, кВ;
Iразр - длина пути разряда, м.
Формула не учитывает влияние величинысопровождающего тока и приближенно отражает вероятность установления дуги притоках порядка 100 А.
Важной характеристикой процесса являетсякритический градиент рабочего напряжения вдоль пути перекрытия, при котором непроисходит перехода импульсного перекрытия в дугу промышленной частоты:
Екр = U/Iразр.
Указанная зависимость приведена на рисунке Г.4.Критический градиент зависит от сопровождающего тока. С его ростом вдиапазоне 20-300 А критический градиент снижается от 20 до 7 кВ/м, а придальнейшем увеличении тока - изменяется относительно медленно.
При изменении тока от 1000 до 10000 Акритический градиент уменьшается с 5 до 4 кВ/м. В случае перекрытия изоляторовна одной фазе линии сопровождающий ток является током ОЗЗ в сети сизолированной нейтралью.
Это емкостный ток, как правило, не превышает 20А. При снижении емкостного тока с 12 до 5 А критический градиент возрастаетпримерно с 40 до 80 кВ/м.
Зависимость на рисунке Г.4 описываетсяформулами:
Екр = 70I-0,41 , при 20 £ I £ 600 А;
Екр = 8I-0,08 , при 600 < I £ 10000 А
где: I - действующее значение сопровождающего тока, А;
Екр - действующее значение критического градиента напряженияпромышленной частоты, кВ/м.

Рисунок Г.4 - Зависимость критического градиента переходаимпульсного перекрытия в дугу от сопровождающего тока
В случае если Еср£ Екр вероятность установлениясиловой дуги равна нулю h = 0.
При Еср > Екрвероятность установления силовой дуги определяется формулой:
.
Ограничитель перенапряжений нелинейный (ОПН)является аппаратом, обеспечивающим защиту изоляции электрооборудования в PC отгрозовых перенапряжений. ОПН не применяется для защитыэлектрооборудования от ПУМ, т.к. в этом случае он разрушается. Поэтомуприменение ОПН для защиты линий связано с риском разрушения аппаратов. В сетях10 кВ изоляция линии является достаточной для защиты от коммутационныхперенапряжений.
Конструктивно ОПН представляет нелинейноесопротивление, набранное из оксидно-цинковых варисторов, соединенныхпоследовательно и заключенных в фарфоровую или полимерную покрышку. Какправило, аппарат снабжен противовзрывным клапаном.
Важным отличием ОПН от вентильного разрядникаявляется его постоянное подключение к фазе электрической сети. В нормальномрежиме ОПН находится под фазным напряжением и через него проходит ток (~ 0,1мА). При повышении напряжения на ОПН ток через него резко возрастает.Выделяемая вследствие этого в ОПН энергия должна быть меньше нормируемогозначения, иначе произойдет нарушение термостабильности аппарата защиты и егопробой.
Выбор ОПН определяется как энергетическимивоздействиями на него в различных режимах, так и его защитным уровнем приперенапряжениях, который должен координироваться с испытательными напряжениямиэлектрооборудования.
Значение энергоемкости ОПН определяется восновном током пропускной способности и нормированным наибольшим длительнодопустимым рабочим напряжением.
Выбор ОПН для защиты от грозовых перенапряжений
ОПН 6-10 кВ устанавливают там же, где ивентильные разрядники. К основным параметрам ОПН относятся - наибольшеедлительное допустимое рабочее напряжение, номинальный разрядный ток,энергоемкость, остающееся напряжение при грозовое импульсе тока, значение токасрабатывания противовзрывного устройства, длина пути утечки внешней изоляции.
Наибольшее длительно допустимое рабочеенапряжение ограничителя - наибольшее действующеезначение напряжения промышленной частоты, которое неограниченно долго можетбыть приложено между выводами ОПН. Обозначается Uнро, измеряется в действующих единицах кВ. В каталогахиностранных фирм обозначается как Uс.
Временно допустимоеповышение напряжения на ограничителе - наибольшее действующее значениенапряжения промышленной частоты, превышающее Uнро, которое может быть приложено к ОПН в течение заданного времени,не вызывая его повреждения. Обозначается Uвр, измеряется в действующих единицах кВ. Нормируемыезависимости Uвр от допустимой длительности приводятся в виде зависимостей"допустимое напряжение - время".
Номинальное напряжение ограничителя - действующее значение напряжения промышленной частоты, котороеОПН должен выдерживать в течение не менее 10 с в процессе рабочих испытаний.Номинальное напряжение должно быть не менее 1,25 наибольшего длительнодопустимого рабочего напряжения.
Защитный уровень ОПН при коммутационныхперенапряжениях - амплитуда остающегосянапряжения (кВмакс) на ОПН при нормируемом токе коммутационныхперенапряжений (на импульсе тока 30/60 мкс).
Защитный уровень ОПН при грозовыхперенапряжениях - амплитуда (кВмакс)напряжения на ОПН при номинальном разрядном токе.
Номинальный разрядный ток - амплитуда (кАмакс) нормируемого грозового импульса8/20 мкс, используемого для классификации ОПН, который ОПН должен выдерживатьпри испытаниях 20 раз.
Удельная энергоемкость - рассеиваемая ОПН энергия, после воздействия нормированногоимпульса тока, отнесенная к 1 кВ длительно допустимого рабочего напряжения.Полная энергоемкость - произведение удельной энергоемкости на наибольшеедлительно допустимое рабочее напряжение. Обозначается Эопн,измеряется в кДж.
Ток пропускной способности ОПН (ток большой длительности) - амплитуда прямоугольного импульсатока длительностью ³ 2000 мкс, который выдерживается ОПН при испытаниях 20 раз.
Квазистационарные перенапряжения - перенапряжения промышленной или близкой к ней частоты,возникающие как следствие коммутаций в сети (например, при замыкании на землю,отключении нагрузки, обрывах проводов). Продолжительность этих перенапряженийот 0,1 с до нескольких часов.
Исходя из методики выбора ОПН (раздел 4 Методическихуказаний), в таблице Д.1 приведены параметры ограничителей 6-10 кВ.Характеристики ОПН приведены в "Методических указаниях по применениюограничителей перенапряжений нелинейных в электрических сетях 6-35 кВ",РАО "ЕЭС России", М., 2001.
Таблица Д.1
Параметры ограничителей 6-10 кВ
| Параметр | Значение параметра | |
| Класс напряжения, кВ | 6 | 10 |
| Наибольшее рабочее напряжение электрооборудования, кВ | 7,2 | 12,0 |
| Номинальный разрядный ток, кА, не менее | 10 или 5 | 10 или 5 |
| Напряжение на ОПН при грозовом импульсе (8/20 мкс) с амплитудой 5000 А, не более кВ | 27 | 45 |
| Напряжение на ОПН при коммутационном токе 30/60 мкс с амплитудой 500 А, не менее кВ | 18 | 29 |
| Пропускная способность на прямоугольном импульсе тока длиной 2000 мкс, А, не менее | 250 | 250 |
| Длина пути утечки, см, не менее | 13,0 | 22,0 |
Вентильные разрядники являются аппаратами защиты от грозовых (в пределахих пропускной способности) перенапряжений изоляции электроустановок.Электрические характеристики вентильных разрядников приведены в таблице Д.2.
Номинальное напряжение разрядников, пробивные и остающиесянапряжения должны быть согласованы (скоординированы) соответственно снаибольшим рабочим напряжением и электрической прочностью электрооборудования.Для защиты РУ и ТП 6-10 кВ от грозовых перенапряжений применяются вентильныеразрядники IV группы по ГОСТ16357-83 (типа РВО-6 и РВО-10) на классы напряжения 6-10 кВ.
Таблица Д.2
Электрические характеристики вилитовых вентильных разрядников
(группа IV, легкого режима по ГОСТ16357-83)
| Тип разрядника | РВП-6 | РВО-6 | РВП-10 | РВО-10 |
| Класс напряжения разрядника, кВ | 6 | 6 | 10 | 10 |
| Номинальное напряжение разрядника (наибольшее допустимое), кВ | 7,5 | 7,5 | 12,7 | 12,7 |
| Пробивное напряжение (эффективное) разрядника при частоте 50 Гц в сухом состоянии и под дождем, кВ, |
|
|
|
|
| не менее | 16 | 16 | 26 | 26 |
| не более | 19 | 19 | 30,5 | 30,5 |
| Импульсное пробивное напряжение разрядника (при предразрядном времени от 2 до 20 мкс и при полном импульсе 1,2/50 мкс), кВ, не более | 35 | 32 | 50 | 48 |
| Остающееся напряжение на разряднике при импульсе тока с длительностью фронта 8 мкс, с максимальными значениями: |
|
|
|
|
| 3000 А, кВ, не более, | 28 | 25 | 47 | 43 |
| 5000 А, кВ, не более | 30 | 27 | 50 | 45 |
| Токовая пропускная способность: |
|
|
|
|
| 20 импульсов 16/40 мкс, кА; | - | 5 | - | 5 |
| 20 импульсов прямоугольной формы длительностью 2000 мкс, А | - | 75 | - | 75 |
Примечания.
1 Искровые промежутки этих разрядников не имеют шунтирующихрезисторов.
2 В результате длительной эксплуатации остающееся напряжение можетувеличиться на 5-10%.
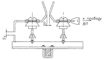
На рисунке Д.1 показан разрядник, установленный на опоре ВЛ 10 кВ.Металлический стержень, покрытый слоем изоляции, согнут в виде петли 1 иукреплен при помощи зажима 2 к штырю 3 изолятора 7. Всредней части петли 1 поверх изоляции установлена металлическая трубка 4.На провод устанавливается универсальный зажим 8. Разрядникустанавливается таким образом, чтобы между трубкой и зажимом 8обеспечивался воздушный промежуток S. Петля 1 имеет такойже потенциал, что и штырь 3 (опора).
Вследствие относительно большой емкости между металлическойтрубкой 4 и металлической жилой петли 1 все перенапряжение,приложенное между проводом 5 и опорой, оказывается приложенным междупроводом 5 и трубкой 4. При достаточно большом значенииперенапряжения искровой промежуток 5 пробивается, и перенапряжениеприкладывается между трубкой 4 и металлической жилой петли 1 к ееизоляции.

РисунокД.1 - Конструктивный эскиз петлевого РДИ, установленного на опоре:
1 -металлическая петля, покрытая изоляцией; 2 - узел крепления; 3 -штырь изолятора; 4 - металлическая трубка; 5 - провод линии; 6- канал разряда; 7 - изолятор; 8 - зажим.
Под действием приложенного перенапряжения с трубки 4 вдольповерхности изоляции петли 1 развивается скользящий разряд 6 поодному или по обоим плечам петли 1 до момента, пока он не замкнется наузле крепления 2, гальванически связанным со штырем 3, т.е. с опорой.Благодаря большой длине перекрытия по поверхности петли импульсное перекрытиене переходит в силовую дугу промышленной частоты. Вследствие эффекта скользящего разряда вольт-секундная характеристикаразрядника расположена ниже, чем изолятора, т.е. при воздействии грозовогоперенапряжения разрядник перекрывается, а изолятор нет.
Длинно-искровые разрядники петлевого типа служатдля защиты ВЛ 6-10 кВ с неизолированными и с защищенными проводами. В последнемслучае на защищенный провод устанавливается прокалывающий зажим, а воздушныйпромежуток образуется между металлической трубкой 4 (рисунок Д.1) ипрокалывающим зажимом.
Разрядники предназначены для защиты ВЛ 6-10 кВот индуктированных грозовых перенапряжений, которые составляют от 70% (припрохождении ВЛ по открытому полю) до 100% (при прохождении ВЛ в лесу) от общегочисла грозовых перенапряжений.
При ОЗЗ ток не превышает 10-20 А, и петлевойразрядник с общей длиной перекрытия 80 см исключает возникновение силовой дуги.
Для ограничения тока 2-фазного замыкания наземлю целесообразно устанавливать по одному разряднику на опору с чередованиемфаз, например, на первой опоре разрядник устанавливается на фазу А, на второй -на фазу В, на третьей - на фазу С и т.д. (рисунок Д.2).
Индуктированное на линии грозовое перенапряжениеприводит к перекрытию разрядников на разных фазах соседних опор и образованиюконтура междуфазного замыкания сопровождающего тока на напряжение промышленнойчастоты. В этот контур включены сопротивления заземления опор Rз (рисунок Д.2), которые ограничиваюттоки замыкания, способствуя их гашению и предотвращению отключения ВЛ. Такимобразом, увеличение сопротивлений заземления опор при рассматриваемой системезащиты от грозовых перенапряжений является благоприятным фактором.

Рисунок Д.2 - Схема установкиразрядников на линии
Основные технические характеристикиРДИП-10-4-УХЛ1 (ТУ 341430-023-45533350-02) ОАО "НПО Стример" приведеныв таблице Д.3. Конструкция узла крепления РДИП-10-4-УХЛ1 позволяетустанавливать его на штырь или крюк изолятора ВЛ и на другие элементы арматурыс защищенными и неизолированными проводами. Длинно-искровые разрядники:
- предотвращают пережог проводов (как и"дугозащитные рога");
- исключают дуговые замыкания и отключениялинии, возникающие вследствие индуктированных грозовых перенапряжений.
Разрядный элемент РДИ, вдоль которогоразвивается скользящий разряд, имеет длину, в несколько раз превышающую длинуимпульсного перекрытия защищаемого изолятора линии. Конструктивные особенностиразрядника обеспечивают более низкое разрядное напряжение при грозовом импульсепо сравнению с разрядным напряжением защищаемой изоляции. Главной особенностьюРДИ является то, что вследствие большой длины грозового перекрытия вероятностьустановления дуги короткого замыкания практически сводится к нулю.
Таблица Д.3
Технические характеристики РДИП-10-4-УХЛ1
| Класс напряжения, кВ | 10 |
| Длина перекрытия по поверхности, см | 78 |
| Размер внешнего искрового промежутка, см | 2-4 |
| 50% импульсное пробивное напряжение, кВ, не более | 110 |
| Напряжение координации с изолятором ШФ10-Г, кВ* | 400 |
| Выдерживаемое напряжение коммутационного импульса, кВ | 90 |
| Выдерживаемое напряжение промышленной частоты, кВ: |
|
| в сухом состоянии | 60 |
| под дождем | 50 |
| Ток гашения дуги при номинальном напряжении, А | 200 |
| Выдерживаемый импульсный ток 8-20 мкс, кА | 40 |
| * Наибольшее напряжение при стандартной форме импульса 1,2/50 мкс, при котором обеспечивается защита разрядником изолятора, называется "напряжением координации". | |
Трубчатые разрядники (РТ) предназначены длязащиты от грозовых перенапряжений изоляции линий высокого напряжения, а всовокупности с другими аппаратами защиты - для защиты изоляцииэлектрооборудования подстанций и распределительных устройств.
Гашение дуги в РТ производится за счет газов,выделяемых при нагреве стенок трубки. Трубчатые разрядники имеют верхний инижний пределы отключаемых токов КЗ. При токах КЗ менее 200 А трубчатыеразрядники не могут погасить дугу. Трубчатые разрядники для сетей 6-10 кВ сизолированной или заземленной через дугогасящий реактор нейтралью должны бытьвыбраны по токам КЗ в соответствии с требованиями:
- верхний предел тока, отключаемого РТ, долженбыть не менее наибольшего возможного эффективного значения тока 3-фазного КЗ вданной точке сети (с учетом апериодической составляющей);
- нижний предел тока, отключаемого РТ, долженбыть не более наименьшего возможного значения установившегося тока двухфазногоКЗ в данной точке сети (без учета апериодической составляющей).
При выборе трубчатых разрядников следует иметь ввиду, что для сети с изолированной или компенсированной нейтралью малые токиОЗЗ гасятся разрядниками. Разрядники на напряжение 6-10 кВ отключают емкостныетоки до 80-90 А.
Характеристики винипластовых трубчатыхразрядников представлены в таблице Д.4, а на рисунке Д.3 даны вольт - секундныехарактеристики РТ. Вольт-секундные характеристики трубчатых разрядников иногдаснижают подключением параллельно внутреннему искровому промежутку емкости ввиде штыревого изолятора. Минимальное импульсное разрядное напряжение РТ 6-10кВ снижается при этом на 15-20%.

Рисунок Д.3 - Защитныехарактеристики трубчатых разрядников РТВ 6/0,5-4 и РТВ 6/2-12 при импульсе1,5/40 мкс (отрицательная полярность). Внешний искровой промежуток 10 мм
Недостатки трубчатых разрядников (крутая и невсегда стабильная вольт - секундная характеристика, наличие "срезов"напряжения, выхлоп раскаленных газов) исключают использование их в качествеосновного средства защиты электрооборудования подстанций. РТ из-за возможных"срезов" напряжения не рекомендуется устанавливать вблизиэлектрооборудования, имеющего обмотки (трансформаторы силовые и напряжения,дугогасящие реакторы). Они находят применение на подходах линий к подстанциям,для защиты ослабленных по изоляции точек на ВЛ (отдельные металлические опоры;опоры, ограничивающие пролеты пересечения с другими линиями, опоры сразъединителями, кабельные переходы и т.п.).
Таблица Д.4
Технические характеристики винипластовых РТВ ЗАО "ЗЭТО"
| Параметр | РТВ 10/0,5-2,5 | РТВ 10/2-10 |
| Номинальное/наибольшее допустимое напряжение, кВ | 10/12 | 10/12 |
| Пределы тока отключения, кА: |
|
|
| - нижний | 0,5 | 2 |
| - верхний | 2,5 | 10 |
| Пробивное напряжение при импульсе 1,2/50 мкс, кВ, не более |
|
|
| - при 2 мкс, | 80 | 80 |
| - наименьшее | 70 | 70 |
| Пробивное напряжение при частоте 50 Гц, кВ, не менее |
|
|
| - в сухом состоянии, | 40 | 40 |
| - под дождем | 38 | 38 |
| Выдерживаемое напряжение импульса 260/2500 мкс внешней изоляции без внешнего искрового промежутка, кВ, не менее: |
|
|
| - в сухом состоянии, | 63 | 63 |
| - под дождем | 48 | 48 |
| Выдерживаемый импульсный ток 8/20 мкс, кА, не менее | 20 | 20 |
| Длина, мм, не более | 600 | 555 |
| Масса, кг, не более | 2,1 | 1,8 |
Внешние промежутки трубчатых разрядников 6-10кВ должны выбираться такими, чтобы разрядники не срабатывали от коммутационныхперенапряжений с кратностью 3,2-3,5 фазного напряжения. Внешние искровыепромежутки должны быть не менее значений, указанных в таблице Д.5.
Таблица Д.5
Минимальные внешние промежутки трубчатых разрядников
| Номинальное напряжение сети, кВ | 6 | 10 |
| Минимальный внешний промежуток, мм | 10 | 15 |
Защитные искровые промежутки (ИП) являютсянаиболее простым аппаратом защиты. Они устанавливаются взамен РТ в схемахзащиты линий и подстанций в случаях, когда отсутствуют РТ с необходимымнапряжением и пределами отключаемых токов.
В сетях напряжением 6-10 кВ с изолированной иликомпенсированной нейтралью ИП целесообразно выполнять из круглой стали в виде"рогов", которые способствуют самогашению дуги при малых токах КЗ ипри ОЗЗ (рисунок Д.4). На деревянных опорах ВЛ устанавливаются также бандажныеискровые промежутки.

Рисунок Д.4 - Роговойискровой промежуток для защиты подстанций и ВЛ напряжением 6-10 кВ
Для исключения ОЗЗ при случайных замыканияхискрового промежутка рекомендуется устанавливать дополнительный промежуток,включенный последовательно с роговым промежутком, параллельно одному изподдерживающих его изоляторов. На опорах дополнительный промежуток выполняетсяв заземляющих спусках основных промежутков на расстоянии 1,5-3 м от последних.Наличие дополнительного промежутка практически не влияет на разряднуюхарактеристику основного ИП из-за наличия каскадов пробоя.
Гашение дуги в сетях напряжением 6-10 кВимеет место при значениях тока до 300 А. Защитные искровые промежутки сразрядным расстоянием 30 и 60 мм и дополнительным промежутком 15 мм при токах £ 300 А гасят открытую дугу за время £ 1,2 с. Рекомендуемые размеры ИП и ихразрядные напряжения приведены в таблице Д.6. Разрядные напряжения ИП из-завлияния атмосферных условий имеют разброс ±20%.
Таблица Д.6
Размеры и разрядные напряжения защитных искровых промежутков
| Номинальное напряжение в сети, кВ | Размер основных искровых промежутков, мм | Размер дополнительных промежутков, мм | Разрядное напряжение, кВэф | Импульсное разрядное напряжение, кВ |
| 6 | 40 | 10 | 34 | + 51 - минус 53 |
| 10 | 60 | 15 | 45 | + 66 - минус 68 |
При установке "роговых" ИП вкачестве единственного аппарата защиты на ТП 6-10/0,4 кВ размер основныхпромежутков должен быть снижен соответственно до 20 и 30 мм.
1 Внастоящих Указаниях принята упрощенная методика оценки числа отключений ВЛ6-10 кВ из-за грозовых перенапряжений. Вероятность токов, вызывающих перекрытиеизоляции ВЛ, рассчитывается по распределению первых импульсов тока разрядовмолнии. При этом для определения вероятности превышения амплитуды тока молнии(для первых импульсов) используется формула:
PIm = ехр(-0,04Iм);
Расчеты позволяют делать сравнение и определятьспособы повышения грозоупорности ВЛ различных конструкций.
2 Вкачестве исходной информации для проведения расчетов используются протяженностьлинии и ее геометрические параметры (волновое сопротивление и коэффициентысвязи проводов).
Геометрическое волновое сопротивление (безкороны) одиночного провода рассчитывается по формуле:
Z11г = 60ln(2hcp/r),
hcp = h – 2/3f,
где r -радиус провода, м;
hср - средняя высота подвесапровода над землей, м;
h - высота подвеса провода на опоре,м;
f - стрела провеса провода, м.
При отсутствии информации о стреле провеса онаопределяется через нормированный наименьший габарит между нижним проводом иземлей hг:
![]()
где
- высота подвеса нижнего провода наопоре (для ВЛ 6-10 кВ она равна 7-9 м).
Взаимное волновое сопротивление (без учетавлияния импульсной короны) между проводом 1 и зеркальным отображением провода 2рассчитывается по формуле:
Z12 = 60ln(D12/d12),
где D12 - расстояние между проводом1 и зеркальным отображением провода 2 относительно земной поверхности, м;
d12 - расстояние между проводами1 и 2, м.
Все геометрические размеры определяются посредней высоте проводов над землей.
Геометрический коэффициент связи проводов 1 и 2рассчитывается по формуле:
K12г = Z12/Z11г = [ln(D12/d12)]/ln(2hcp/r),
Поправка на корону для волновых сопротивлений наВЛ 6-10 кВ принимается равной 0,9. Тогда волновое сопротивление одиночногопровода и коэффициент связи между проводами 1 и 2 ВЛ с учетом импульсной коронырассчитываются по формулам:
Z11 = 0,9Z11г
K12к = Z12/Z11 = K12г/0,9.
3 Расчет числа грозовых отключений на ВЛ 6-10 кВна железобетонных опорах осуществляется в следующей последовательности:
3.1 ВЛ 6-10 кВ работают в режиме с изолированнойили компенсированной нейтралью, поэтому ОЗЗ опасности не представляют, т.к.возникающая при ОЗЗ дуга тока КЗ гаснет. Грозовые отключения ВЛ 6-10 кВ имеютместо при 2-фазных или 3-фазных перекрытиях изоляции.
Причиной отключений ВЛ 6-10 кВ являются ПУМ влинию, а также близкие удары молнии в землю, вызывающие индуктированныеперенапряжения на проводах ВЛ. Общее число грозовых отключений ВЛ составит:
nг = nПУМ + nинд,
где: nг - удельное число грозовых отключений ВЛ длиной 100 км за год при100 грозовых часах в году.
3.2 Число грозовых отключений ВЛ напряжением6-10 кВ на железобетонных опорах от ПУМ складывается из отключений от ударов вопоры и провода в пролете:
nПУМ = nоп + nпр.
Число ударов в опору определяется по формуле:
Nоп = Nвл4hоп/Iпр,
где hоп - высота опоры;
Iпр - длина пролета;
Nвл - общее число ударов в линиюдлиной 100 км при 100 ч грозовой деятельности.
Величина Nвл рассчитывается по формуле
Nвл = 4hcp.
3.3 При расчете числа отключений от ударов вопоры принимается, что из-за низкого разрядного напряжения при любом ударемолнии перекрывается изоляция одной из фаз. Для этого достаточно тока молниивыше уровня грозоупорности:
Iм1 = 2U50%/Zпр,
где U50% - импульсное 50%-ноеразрядное напряжение фазной изоляции на опоре;
Zпр - волновое сопротивлениепровода линии с учетом короны.
После перекрытия фаза работает как заземленныйтрос. Отключения ВЛ напряжением 6-10 кВ возможны при токе молнии Iм2, достаточном для обратного перекрытия на неповрежденныефазы. В расчетах допускается пренебречь падением напряжения на индуктивностиопоры и рабочим напряжением. При этом ток молнии должен быть больше, чем:
Iм2 = U50%(Rз + 0,5Zпр)/(1 - K12)(Rз0,5Znp),
где Rз - сопротивлениезаземления опоры;
K12 - коэффициент связи с учетомкороны между пораженной фазой и наиболее удаленной от нее фазой.
Дальнейшее возрастание тока молнии до величины Iм3 приводит к обратному перекрытию на третью фазу линии при токе
Iм3 = U50%[Rз + 0,25Zпр(1 + K12)]/(1 - K12-3)(Rз0,25Zпр)(1 + K12),
где K12-3 = (Z13 + Z23)/(Zпр + Z12) - коэффициент связи двух ранее перекрытых фаз, соединенныхпараллельно, с третьей фазой.
Удельное число грозовых отключений на 100 кми 100 грозовых часов от ударов в опору рассчитывается по формуле:
nоп = Nоп[(P1,2 - P1,2,3)h1,2 + P1,2,3h1,2(2 h1,2),
где Nоп - число ударов молнии вопоры линии;
P1,2 и P1,2,3 - вероятность соответственно двухфазных и трехфазных перекрытий,определяемых вероятностями соответствующих токов:
P1,2 = ехр(-0,04Iм2); P1,2,3 = ехр(-0,04Iм3);
h1,2 - вероятность перехода импульсного перекрытия в дугу токапромышленной частоты на двух фазах;
Вероятность установления хотя бы одной дуги при3-фазном перекрытии составляет:
h1,2,3 = h1,2(2 - h1,2).
Возникновение силовой дуги промышленной частоты(КЗ) после импульсного перекрытия зависит от длины пути разряда и рабочегонапряжения.
Для комбинированной изоляции (изоляторы +деревянная или полимерная траверса) вероятность возникновения КЗ послеимпульсного перекрытия изоляции двух фаз определяется по формуле:
h1,2 = (1,6Uнр/(Iразр - 6))0,01,
где Uнр - наибольшее длительнодопустимое линейное напряжение, кВэфф,
Iразр - суммарная длина путиразряда между проводами двух фаз, м.
На ВЛ со штыревыми изоляторами КЗ возникает,если в момент импульсного перекрытия значение градиента напряжения на разрядномпромежутке составляет 14 кВ/м и более. Критическая фаза для синусоиды рабочегонапряжение определяется так:
jкр = arcsin (10/[Uнр/Iразр]).
Для штыревых изоляторов вероятность переходаимпульсного перекрытия в дугу промышленной частоты рассчитывается по формуле:
h1,2 = (90° - jкр)/90°.
3.4 При ударе молнии в середину пролета в опорепротекает менее 1/2 тока молнии. Напряжение на изоляции опоры определяется поформуле:
U50% = Iм4Rз(1 - K12)Zпр/2(Rз + Zпр).
Перекрытие с вероятностью Р4 =ехр(-0,04Iм4) произойдет при токе молнии:
Iм4 ³ 2U50%(Rз + Zпр)/RзZпр(1 - K12).
Вероятность перекрытия изоляции на одной изближайших двух опор равна Р4
.
Число грозовых отключений от ударов в пролетсоставит:
nп = Nвл(1 - 4hоп/Lпрол)Р4n12(2 - n12).
Полное удельное число отключений ВЛ от ПУМ вопоры и пролет:
nпум = Nвл{4hоп[(P1,2 – P1,2,3)h1,2 + Р1,2,3h1,2(2 - h1,2)]/Lпрол + (1 – 4hоп/Lпрол)Р4h1,2(2 - h1,2)},
где Nвл - число ударов молнии в ВЛ;
P1,2 и P1,2,3 - вероятности амплитуд токов молнии, приводящих, соответственно,к двухфазным и трехфазным перекрытиям,
h1,2 - вероятность перехода импульсного перекрытия в дугу тока промышленнойчастоты на двух фазах.
Приведенные расчетные значения грозовыхотключений ВЛ не учитывают случаев удержания линии в рабочем состояниивследствие действия устройств АПВ. При учете действия АПВ число отказов отгрозовых перенапряжений корректируется коэффициентом (1 - bАПВ) (bАПВ - вероятность успешного АПВ, равная для ВЛ 6-10 кВ - 0,5).
3.5 Индуктированные напряжения возникаютодновременно на всех фазах. Их значения пропорциональны средним высотам подвесапроводов фаз над землей. При одинаковых высотах равновероятно перекрытие налюбой из фаз. Перекрытие междуфазной изоляции затруднено до перекрытия одной изфаз на землю.
В расчете на 100 км линий и 100 ч грозовойдеятельности удельное число перенапряжений в зависимости от амплитуды Uинд определяется формул ой:
Uинд = [1005hcpехр(-Uинд/250)]/Uинд.
Значения перенапряжений, при которых возможны2-фазные и 3-фазные перекрытия, должны иметь значения:
;
,
где
; ![]()
Zпр - волновое сопротивлениеодного провода с учетом влияния импульсной короны.
Удельное число грозовых отключений линии отиндуктированных перенапряжений рассчитывается по формуле:
nинд = (Nинд2 - Nинд3)h1,2 + Nинд3(2 - h1,2)]h1,2,
здесь h1,2 - коэффициент перехода импульсного перекрытия от индуктированныхперенапряжений в дугу тока промышленной частоты на двух фазах.
4 Оценка числа грозовых отключений ВЛ 6-10 кВ надеревянных опорах
ВЛ на деревянных опорах не отключаются отиндуктированных перенапряжений, вызванных близкими ударами молнии в землю.Индуктированные перенапряжения возникают одновременно на всех проводах ВЛ иравной величиной. Различие возможно из-за высоты подвеса проводов. Поэтому междуфазнаяизоляция не подвергается воздействию индуктированных перенапряжений. Вследствиеэтого для ВЛ на деревянных опорах, у которых изоляция на землю значительно вышемеждуфазной изоляции, индуктированные перенапряжения не представляют опасности.
Грозовые отключения вызываются прямыми ударамимолнии в ВЛ. На ВЛ с деревянными опорами из-за небольшой длины пролетов и стрелпровеса проводов можно пренебречь вероятностью поражения молнией опоры посравнению с вероятностью поражения провода, т.е. принять Nпр = Nвл, где Nвл - общее число ударов в линию, определяемое по формуле сиспользованием средней высоты подвеса верхнего провода: Nвл = 4hcp.
Перекрытие изоляции на ВЛ с деревянными опорамипроисходит, как правило, между проводами соседних фаз на опоре по деревяннойтраверсе и двум изоляторам, а при дальнейшем нарастании тока молнииперекрывается опора на землю.
Критическое значение тока молнии (уровеньгрозоупорности) при ударе в провод определяется как
,
где zпр и K12 - волновое сопротивление провода и коэффициент связи двухпроводов с учетом импульсной короны при напряжении на пораженном проводе,которое соответствует возникновению перекрытия междуфазной комбинированнойизоляции.
Значение тока Iкр определяет вероятность
.
Вероятность h перехода перекрытия в силовую дугу,т.е. вероятность отключения линии, оценивается по средней рабочей напряженностиЕср, кВ/м вдоль пути разряда Iразр:
Еср = Uн/Iразр,
где Iразр - суммарная длина путиразряда между проводами двух фаз по двум изоляторам и участку по дереву.
Значение вероятности h вычисляется по формуле
h = (1,6Еср -6)0,01.
Если h по формуле получается меньше 0,1 илибольше 0,9, то в расчетах принимаются эти предельные значения.
Удельное число отключений ВЛ на деревянныхопорах определяется как:
nпум = NвлIкрh.
На особо поражаемых молнией участках трассы ВЛ6-10 кВ рекомендуется отдельные деревянные стойки защищать от расщепления приПУМ шунтированием верхней части стоек металлическим спуском и установкойбандажей из стальной проволоки на нижние части стоек по рисунок Ж.1. Указаннаязащита позволяет сохранить достаточную изоляцию на землю, чтобы предотвратитьгрозовые перекрытия при индуктированных перенапряжениях.
Грозоупорность ВЛ 6-10 кВ на железобетонных илидеревянных опорах повышается применением "схемы с защитным проводом"(рисунок Ж.2). Изолятор верхнего провода шунтируется искровым промежутком (дляВЛ 10 кВ он равен 12 см) и провод работает как "грозозащитный трос".Нижние провода крепятся на изоляционных траверсах. Защитный угол должен быть £ 30°.
На деревянных опорах заземляющий спуск от штыряизолятора верхнего провода на уровне траверсы отводится от столба для усиленияизоляции между спуском и проводами на траверсе.
Заземляющий спуск должен иметь разрыв 15 см навысоте 4 м от земли. Деревянные опоры, защищенные таким образом, размещаются нереже, чем через каждые 2-3 опоры и их сопротивление заземления должно быть невыше 20 Ом.
Повышение надежности защиты от грозовых перенапряжений ВЛ 6-10 кВс железобетонными опорами достигается усилением прочности изоляции. Например,применение изоляционных траверс значительно снижает количество грозовыхотключений.
Применение опор из облегченных железобетонных конструкций сполимерными траверсами - изоляторами (рисунок Ж.3) длиной изоляционных участков0,33; 0,4 и 0,5 м обеспечивает 50%-ное импульсное разрядное напряжениесоответственно 215; 260 и 325 кВ.
Расчетная грозоупорность ВЛ с такими опорами выше, чем утрадиционных ВЛ 6-10 кВ, что достигается усилением изоляции и уменьшениемвероятности возникновения КЗ после грозового перекрытия. Индуктированныеперенапряжения на ВЛ 6-10 кВ, практически, не превосходят величины 300 кВ.Поэтому для ВЛ с импульсным уровнем фазной изоляции 300 кВ и вышеиндуктированные перенапряжения не опасны.
Линия с траверсами-изоляторами длиной 0,4-0,5 м имеет изоляцию,для которой практически безопасны индуктированные перенапряжения и поэтому нетребует защиты от индуктированных грозовых перенапряжений.

Рисунок Ж.1 - Защитадеревянных опор от расщепления при ПУМ:
1 - металлический спуск Æ 6-8 мм; 2 -металлические бандажи (3-4 витка) из стальной проволоки
|
|
|
| Рисунок Ж.2 - Деревянные или железобетонные опоры ВЛ 10 кВ с изоляционной траверсой и защитным проводом | Рисунок Ж.3 - Опора из железобетонных конструкций с полимерными траверсами-изоляторами: 1 - полимерный изолятор; 2 - металлическая траверса; 3 - опора |
Для защиты ВЛ с неизолированными проводами от грозовыхперенапряжений массовая установка аппаратов защиты параллельно изоляторам нерекомендуется, так как при этом создаются условия для дополнительных отключенийвследствие повреждений и отказов аппаратов защиты в результате воздействиягрозовых перенапряжений с большими токами.
На ВЛЗ 6-10 кВ грозовое перекрытие приводит к повреждению изоляциии жил проводов, так как образующаяся вслед за грозовым перекрытиемэлектрическая дуга не может перемещаться вдоль изоляции проводов. Приотсутствии РДИ защита проводов от повреждений дугой возможна посредствомустановки на каждой опоре ВЛЗ междуфазных искровых промежутков, образуемых"защитными рогами" (рисунок Ж.4). Искровые промежутки устанавливаютсяна всех фазах и опорах.
Для отвода дуги от проводов ВЛЗ с металлическими траверсами прирасстоянии между проводами более 600 мм рекомендуется применять устройство,показанное на рисунке Ж.5.
Применение "защитных рогов" в случае их срабатыванияприводит к отключению ВЛ, термическому и электродинамическому воздействию наоборудование из-за протекания больших токов междуфазного КЗ, а также обгоранию"защитных рогов", что требует их периодической замены.
|
|
|
| а) вид сбоку | б) вид сверху (показаны два провода) |
Рисунок Ж.4 -Защита ВЛЗ 6-10 кВ с двухсторонним питанием от дуговых повреждений сиспользованием "защитных рогов":
1 -провод; 2 - изоляция провода; 3 - изолятор; 4 - траверса; 5- прокалывающий зажим; 6 - спираль (алюминиевый провод); 7 -"защитный рог"; 8 - грозовое перекрытие

Рисунок Ж.5 -Искровые промежутки на опоре с металлической траверсой для защиты ВЛЗ 6-10 кВот дуговых повреждений при расстоянии между проводами на опоре более 0,6 м
Защиту проводов ВЛЗ 6-10 кВ от пережогов возможно одновременновыполнить с защитой линий от грозовых перенапряжений на принципе действия РДИ(см. приложение Д) при применении усиленных трехслойных защищенных проводов(рисунок Ж.6).
На расстоянии L = 300 мм от конца металлической обвязки 6 крепления провода 1к изолятору 3 устанавливается прокалывающий зажим 5, подключаемыйк проводу 1. При перенапряжении перекрывается изолятор 3 ипроисходит скользящий разряд 8 по поверхности изолированного провода 1.Опорная точка дуги находится на прокалывающем зажиме 5, а не на проводе.Из-за увеличенного разрядного расстояния снижается также вероятностьвозникновения КЗ.
Рисунок Ж.6 - Защита ВЛЗ отпережогов проводов при грозовых перекрытиях