Настоящий стандарт распространяется на производство работ по строительству капитальных и временных шпунтовых стен морских и речных портовых, гидротехнических и берегозащитных сооружений, а также шпунтовых стен ограждающих конструкций различного назначения с применением шпунта трубчатого сварного.
| Обозначение: | СТО-ГК Трансстрой 010-2007 |
| Название рус.: | Шпунт трубчатый сварной. Правила производства работ по строительству шпунтовых стен |
| Статус: | действующий (Зарегистрирован ФГУП "Стандартинформ" 11.04.2007 № 200/103118 и ООО "Группа компаний "Трансстрой" 24.04.2007 № ГК/219) |
| Заменяет собой: | СТП 010-2000 «Правила производства работ по строительству шпунтовых стен из трубчатого сварного шпунта» |
| Дата актуализации текста: | 01.10.2008 |
| Дата добавления в базу: | 01.02.2009 |
| Дата введения в действие: | 10.04.2007 |
| Разработан: | ОАО "ЦНИИС" РОО "Научно-техническая ассоциация ученых и специалистов транспортного строительства" ООО "Трест Запсибгидрострой" |
| Утвержден: | ООО "Группа компаний "Трансстрой" (09.04.2007) |
| Опубликован: | ООО "Группа компаний "Трансстрой" № 2007 |
Стандартизация в Группе компаний «Трансстрой»
СТАНДАРТОРГАНИЗАЦИИ
Шпунт трубчатый сварной.
Правила производства работ
по строительству шпунтовых стен
СТО ГК «Трансстрой»-010-2007

Москва, 2007
Предисловие
1 РАЗРАБОТАН POO «Научно-техническая ассоциация ученых и специалистов транспортногостроительства», ОАО «Научно-исследовательский институт транспортногостроительства (ЦНИИС)» (кандидаты техн. наук Н.А. Ефремов, Л.Н. Лосев, А.Н.Ефремов, инженеры Д.М. Долганов, А.В. Кручинкин, М.Б. Смирнов, Р.В. Ступников),ООО «Трест Запсибгидрострой» (В.В. Гончаров) по заказу ООО «Группа компаний«Трансстрой»
2 ВНЕСЕН Департаментом развитиятехнологии и стандартизации ООО «Группа компаний «Трансстрой»
3 ПРИНЯТ И ВВЕДЕН В ДЕЙСТВИЕ ООО «Группакомпаний «Трансстрой» распоряжением от 09 апреля 2007 г. № ГК/ПН-17
4 СОГЛАСОВАН ОАО «ЛенморНИИпроект» (исх.№ ОГС-573 от 13.02.2007 г.), Ассоциация «Гидропроект» (исх. № 3.2.4-20/282 от28.12.2006 г.), ОАО «СоюзморНИИпроект» (исх. № 8/15 от 11.01.2007 г.),«Подводречстрой-4» Федерального агентства морского и речного транспортаМинтранса РФ (исх. № 262 от 28.12.2006 г.), ОАО «Трансмост» (исх. № 09/10-125от 31.01.2007 г.), департаментом капитального строительства ОАО «РЖД» (исх. №ЦУКСи-20/643 от 15.03.2007 г.), ЗАО «Трансмонолит» (исх. № Т-01-09/1985 от11.12.2006 г.)
5 Разработка стандарта организациипредусмотрена статьей 13 Федерального закона «О техническом регулировании» от27.12.2002 № 184-ФЗ
6 Настоящий стандарт разработан всоответствии с СТО-ГК«Трансстрой»-002-2006 «Правила построения, изложения и обозначения приразработке стандартов организации Группы компаний «Трансстрой», а такжемеждународных стандартов США А 328/А 328М-93а и Японии J1S А 5525 и J1S А 5530,регламентирующих производство шпунтовых трубчатых свай и их применение пристроительстве шпунтовых стен различного назначения
7 ЗАРЕГИСТРИРОВАН ФГУП «Стандартинформ»11.04.2007 г. № 200/103118 и ООО «Группа компаний «Трансстрой» 24.04.2007 г. №ГК/219
8 ДЕРЖАТЕЛЬ ПОДЛИННИКА - ООО «Группакомпаний «Трансстрой»
9 ВВЕДЕН взамен СТП-010-2000
Содержание
| Шпунт трубчатый сварной. Правила производства работ по строительству шпунтовых стен | Введен взамен СТП 010-2000 |
Утвержден и введен в действие распоряжением ООО «Группа компаний«Трансстрой» от 09 апреля 2007 г. № ГК/ПН-17.
Дата введения 2007-04-10
Настоящийстандарт распространяется на производство работ по строительству капитальных ивременных шпунтовых стен морских и речных портовых, гидротехнических иберегозащитных сооружений, а также шпунтовых стен ограждающих конструкцийразличного назначения с применением шпунта трубчатого сварного (далее по текстуШТС).
Внастоящем стандарте использованы нормативные ссылки на следующие стандарты инормативные документы:
| ГОСТ 380-94 | Сталь углеродистая обыкновенного качества. Марки. |
| ГОСТ 427-75* | Линейки измерительные металлические. Технические условия. |
| ГОСТ 2590-88 | Прокат стальной горячекатаный круглый. Сортамент. |
| ГОСТ 5264-80 | Ручная дуговая сварка. Соединения сварные. Основные типы, конструктивные элементы и размеры. |
| ГОСТ 6996-66* | Сварные соединения. Методы определения механических свойств. |
| ГОСТ 7502-98 | Рулетки измерительные металлические. Технические условия. |
| ГОСТ 7566-94 | Металлопродукция. Приемка, маркировка, упаковка, транспортирование и хранение. |
| ГОСТ 10704-91 | Трубы стальные электросварные прямошовные. Сортамент. |
| ГОСТ 10706-76* | Трубы стальные электросварные прямошовные. Технические требования. |
| ГОСТ 14771-76* | Дуговая сварка в защитном газе. Соединения сварные. Основные типы, конструктивные элементы и размеры. |
| ГОСТ 15150-69* | Машины, приборы и другие технические изделия. Исполнения для различных климатических районов. Категории, условия эксплуатации, хранения и транспортирования в части воздействия климатических факторов внешней среды. |
| ГОСТ 20295-85 | Трубы стальные сварные для магистральных газонефтепроводов. Технические условия. |
| ГОСТ 25100-95 | Грунты. Классификация. |
| ГОСТ 12.3.009-76* ССБТ | Работы погрузо-разгрузочные. Общие требования безопасности. |
| ГОСТ 17.1.3.13-86 | Охрана природы. Гидросфера. Общие требования к охране поверхностных вод от загрязнения. |
| ГОСТ 17.4.3.02-85 | Охрана природы. Почвы. Требования к охране плодородного слоя почвы при производстве земляных работ. |
| ГОСТ 17.5.3.04-83* | Охрана природы. Земли. Общие требования к рекультивации земель. |
| ГОСТ 17.5.3.06-85 | Охрана природы. Земли. Требования к определению норм снятия плодородного слоя почвы при производстве земляных работ. |
| ГОСТ Р 52711-2007 | Шпунт трубчатый сварной. Технические условия. |
| СНиП II-23-81* | Стальные конструкции. |
| СНиП 2.02.03-85 | Свайные фундаменты. |
| СНиП 3.01.04-87* | Приемка в эксплуатацию законченных строительством объектов. Основные положения. |
| СНиП 3.02.01-87 | Земляные сооружения, основания и фундаменты. |
| СНиП 3.04.03-85 | Защита строительных конструкций и сооружений от коррозии. |
| СНиП 3.07.02-87 | Гидротехнические морские и речные транспортные сооружения. |
| СНиП 12-01-2004 | Организация строительства. |
| СНиП 12-04-2002 | Безопасность труда в строительстве. Часть 2. Строительное производство. |
| СП 53-101-98 | Изготовление и контроль качества стальных строительных конструкций. |
| ВСН 34-91 | Правила производства и приемки работ на строительстве новых, реконструкции и расширении действующих гидротехнических морских и речных транспортных сооружений. |
| ТУ 0925-003-01393674-95 | Профиль шпунтовый трубчатый сварной. |
| ТУ 0925-005-01393674-99 | Профиль шпунтовый трубчатый сварной с замками из проката общего назначения. |
| ТУ 5264-001-40222779-06 | Шпунт трубчатый сварной. |
При пользовании настоящим стандартом целесообразнопроверить действие ссылочных стандартов и нормативных документов винформационной системе общего пользования - на официальном сайте национальногооргана Российской Федерации по стандартизации в сети Интернет или по ежегодно издаваемомуинформационному указателю «Национальные стандарты».
В настоящем стандарте применены следующие термины ссоответствующими определениями:
3.1 анкерная крепь: Крепь изметаллических стержней, расположенных в грунтовом массиве, скрепляющая иудерживающая грунты от обрушения.
3.2 анкерная свая (плита): Свая(плита), закрепленная в грунтовом массиве и служащая для удерживания шпунтовойстенки и анкерной крепи.
3.3 больверк: Шпунтовая стенкаморского или речного причального сооружения в виде забитых шпунтовых свай,связанных поверху специальной конструкцией, шпунтовых свай в грунтовый массив.
3.4 грунтовый массив: Массив грунта,обеспечивающий общую устойчивость шпунтовой стенки по схеме глубинного сдвига ивращательного перемещения.
3.5 незаанкерованная шпунтовая стенка: Стенкаиз шпунтовых свай без анкерной крепи.
3.6 свайный молот: Строительнаямашина ударного действия для забивки шпунтовых свай в фунтовый массив.
3.7 шпунтовые работы:Совокупность технологических операций (работ), выполняемых со шпунтовыми сваямипри возведении шпунтовой стены.
3.8 шпунтовая свая (шпунтина):Отдельный монтажный элемент шпунтовой стены в виде стальной трубы (столба) спродольными замковыми элементами традиционного (Ларсен 4 или Ларсен 5) илиоригинального профиля, которые присоединяют к трубе электросваркой.
3.9 шпунтовая стена: Сплошнаятонкая вертикальная или наклонная стена из забитых в грунт шпунтовых свай(шпунтин). Предназначена для восприятия, в основном, горизонтальных нагрузок и,прежде всего, давления находящегося за ней грунта.
3.10 ПОС: Проект организациистроительства.
3.11 ППР: Проект производстваработ.
3.12 ШТС: Шпунт трубчатыйсварной.
4.1 Шпунтовая стенка из ШТС с анкерным креплением(рисунок 1) предназначена для удерживания грунтового массива от сдвига или еговращательного перемещения. Она состоит из ШТС, шапочного или колесоотбойногобруса, распределительной балки, анкерных тяг и анкерных свай.
4.2 Заанкерованная шпунтовая стенкаснабжена анкерными устройствами, препятствующими перемещению верхнего конца ШТСи может быть с одним или несколькими ярусами анкеров.
Глубина забивки и сечение ШТС, конструкция анкернойкрепи, анкерных свай и число ярусов анкеров принимается в соответствии спроектом.
Наиболее распространены шпунтовые стенки из ШТС содним ярусом анкеров, возводимые при глубине дна 10-16 м
4.3 Незаанкерованная шпунтовая стенка(рисунок 2) имеет более простую конструкцию. Она состоит из забитого в грунтряда свай ШТС, объединенных шапочным брусом.
Свободная высота незаанкерованной шпунтовой стенки иглубина забивки ШТС, в соответствии с требованиями проектной документации,определяются расчетами на устойчивость. В ординарных условиях свободная высотанезаанкерованной шпунтовой стенки не должна превышать 8 м.
4.4 Для ШТС установлены следующие типызамковых соединений (рисунки 3-13):
- из раскроя корытного шпунта;
- из раскроя плоского шпунта;
- замки «УТ» из горячекатаной сталифасонного проката (уголков по ГОСТ 8510и двутавров по ГОСТ 8239);
- замки «ПБ» из горячекатаной стали (ГОСТ9235 и ГОСТ21937);
- замки типа «Cornersection»;
- трубы.
4.5 ШТС изготавливают длиной от 6 до 24м. Длина ШТС в зависимости от его расчетных параметров (диаметр трубы, толщинастенки), фунтовых условий, глубины водотока и замкового соединения для каждогоконкретного объекта определяется проектом.
Способ производства работ по возведению шпунтовойстены выбирают в зависимости от типа ШТС, грунтовых условий, техническойоснащенности строительной организации. При строительстве на акватории учитываютглубину водоема, скорость течения, размываемость грунтов.
4.6 Изготовление шпунта на строительнойплощадке не допускается. Шпунт изготавливается только в заводских условиях.
4.7 Профили ШТС изготавливают изстальных электросварных прямошовных труб по ГОСТ 10704-91 или ГОСТ20295-85 в заводских условиях с использованиемспециальных стендов. К стальным прямошовным трубам сварными швами присоединяютв соответствии с рисунками 3-13 стандартные замки-полупрофили шпунта корытноготипа (типа «Ларсен», ШК-1 и др.), полупрофили плоского шпунта (ШП, FL, AS и др.), получаемые резкой полных профилей по их продольной оси.

Рисунок 1 - Шпунтовая стенкаиз ШТС с анкерным креплением
1 - массив грунта; 2 -свая ШТС; 3 - шапочный брус; 4- распределительная балка; 5 - анкерная тяга; 6 - анкерная свая.

Рисунок 2 - Шпунтовая стенкаиз ШТС
1 - массив грунта; 2 -свая ШТС; 3 - шапочный брус;

Рисунок 3 - Профиль шпунтовыйтрубчатый сварной с фасонным элементом от шпунта Л4
1 - труба по ГОСТ10704-91, ГОСТ20295-85 ; 2 - фасонныйэлемент-полупрофиль Л4 по ТУ 14-2-879-89; 3 - сварной шов.

Рисунок 4 - Профиль шпунтовыйтрубчатый сварной с фасонным элементом от шпунта Л5
1 - труба по ГОСТ 10704-91, ГОСТ20295-85 ; 2 - фасонныйэлемент-полупрофиль Л5 по ТУ 14-2-879-89; 3 - сварной шов.

Рисунок 5 - Профиль шпунтовыйтрубчатый сварной рядовой ШТС с замками из шпунта ШК-1
1 - труба по ГОСТ10704-91 , ГОСТ20295-85 ; 2 - фасонныйэлемент-полупрофиль ШК-1 по ГОСТ4781-85*; 3 - сварной шов; 0-0 - ось шпунтовой стенки; 1-1 и 2-2- главныеоси инерции.

Рисунок 6 - Профиль шпунтовыйтрубчатый сварной угловой ШТСу
1 - труба по ГОСТ10704-91 , ГОСТ20295-85 ; 2 - фасонныйэлемент-полупрофиль ШК-1 по ГОСТ4781-85*; 0-0-0 - ось шпунтовой стенки; Х-0-Х - ось полокзамков; γ - задаваемый проектом угол поворота шпунтовой стенки и уголвыполняемого смещения полки замка.

Рисунок 7 - Профиль шпунтовыйтрубчатый сварной с фасонным элементом от шпунта Л4
1 - труба; 2 - замковыйэлемент-обойма (по рисункам 10 и 11); 0-0 - ось шпунтовой стенки.

Рисунок 8 - Профиль шпунтовыйтрубчатый сварной с замками из уголкови тавра с гребнями
1 - труба; 2 - замковый элемент-гребень (по рисункам 10 и11); 0-0 - ось шпунтовой стенки.

Рисунок 9 - Профиль шпунтовыйтрубчатый сварной рядовой ШТС с замками из шпунта FL-511(FL-512)
1 - труба по ГОСТ10704-91 ГОСТ20295-85 ; 2 - фасонныйэлемент-полупрофиль FL-511 (FL-512) по DIN EN 10248-2; 3 - сварной шов; 0-0 - ось шпунтовой стенки.

Рисунок 10 - Замковыеэлементы из уголков и тавра (УТ)
1 - труба; 2 - замковыйэлемент-стенка обоймы; 3 - замковыйэлемент-гребень; 4 - диафрагма;5 - сварное соединение Т1 по ГОСТ14771-76 * или ГОСТ5264-80 *; 6 - сварное соединение; 0-0- ось шпунтовой стенки.

Рисунок 11 - Замковыеэлементы из полособульбов (ПБ)
1 - труба; 2 - замковый элемент-стенкаобоймы; 3 - замковый элемент-гребень; 4 - диафрагма; 5 - сварное соединение Т1по ГОСТ14771-76 * или ГОСТ5264-80 *; 6 - сварное соединение; 0-0- ось шпунтовой стенки.

Рисунок 12 - Профильшпунтовый трубчатый сварной угловой
0-0-0 - ось шпунтовой стенки;Х-0-Х - ось полок замков; γ - задаваемый проектом угол поворота шпунтовойстенки.

Рисунок 13 - Схема контроляперекоса и смещения замковых элементов
1 - диаметральная проверкалинии; 2 - контролируемая суммарная величина смещения.
4.8 Марку стали для профилей ШТС выбирают по согласованию междузаказчиком и изготовителем: для труб - по ГОСТ10706-76 или ГОСТ20295-85, для замков - по ГОСТ4781-85 илиТУ-14-2-879-89. Трубы, бывшие ранее в употреблении, например, в трубопроводахдля транспортирования нефтепродуктов, используются при изготовлении ШТС наосновании результатов испытания качества стали.
4.9 Предельная отрицательная температура, при которой допускаетсяпроизводство работ по погружению ШТС, устанавливается проектной организацией взависимости от марки стали шпунта, ее ударной вязкости и конкретных условийпроизводства работ.
4.10 При изготовлении профилей следует применять виды сварки (ГОСТ8713-79, ГОСТ14771-76 и ГОСТ5264-80), обеспечивающие получение соединений, прочность которых не менеесоответствующих характеристик основного металла, а коррозионная стойкость нениже стойкости основного металла, подвергнутого воздействию термического цикласварки.
4.11 Сортамент и характеристики ШТС и шпунтовых стен из негоприведены в приложении А.
4.12 Отечественные шпунтовые стенки, выполненные из ШТС, по своимхарактеристикам сопоставимы с импортными шпунтами (стандарты США А 328/А 328М-93а, Японии JIS А 5525 и JIS А 5530). Для ряда профилей сортамента удельный расход стали,момент сопротивления и допускаемое усилие на разрыв в замковых соединениях ШТСотечественного производства на 10-15 % предпочтительнее зарубежных аналогов.
4.13 Сравнительные характеристики шпунтовых стен из ШТС приведеныв приложении Б.
5.1 ШТС, анкерные тяги и сваи могут перевозиться транспортом всехвидов в соответствии с правилами перевозок, действующими на транспортеконкретного вида.
5.2 В пределах акватории ШТС, анкерные сваи и тяги следуеттранспортировать на палубных баржах, понтонах, имеющих необходимую плавучесть иостойчивость, проверенные расчетом на восприятие сосредоточенных нагрузок отмассы шпунта. Разрешается транспортировка ШТС на палубе плавкранов нарасстояние до 4 км по защищенной от волнения акватории.
5.3 Транспортирование и хранение ШТС, анкерных тяг и свай в частивоздействия климатических факторов внешней среды должно соответствоватьтребованиям ГОСТ15150. Допускается хранение ШТС, анкерных свай и тяг на открытом воздухе.
5.4 ШТС следует хранить в штабелях не более чем в 2 ряда повысоте.
5.5 При хранении, погрузке, транспортировке и разгрузке ШТС,анкерных тяг и свай должны применяться подкладки и строповочные устройства,исключающие остаточные деформации и повреждения замков и обеспечивающиесохранность их формы.
5.6 При хранении ШТС, анкерных тяг и свай должна быть обеспеченахорошая видимость маркировки конструкций.
5.7 Размеры проходов и проездовв месте хранения конструкций между штабелями или отдельными конструкциямидолжны соответствовать требованиям строительных норм.
6.1 Каждая партия шпунтовых свай ШТС, анкерных тяг и свай,поступившая на строительную площадку, должна сопровождаться документацией(паспортом) согласно требованиям СНиП 12-01-04 , ВСН34-91, ГОСТ7566-94, ТУ и иметь сертификаты соответствия согласно требованиямФедерального Закона «О техническом регулировании» (№ 184-ФЗ, глава 4).
6.2 Документ (паспорт) о качестве ШТС, анкерных тяг и свай долженсодержать:
- наименование предприятия-изготовителя, его адрес и товарныйзнак;
- обозначение ШТС, анкерных свай и тяг;
- номер паспорта и дату его составления, информацию о марке сталиШТС, анкерных тяг и свай;
- параметры изделий;
- тип антикоррозионного покрытия и его характеристики;
- количество поставленных изделий;
- подпись начальника ОТК или другогоответственного представителя предприятия-изготовителя;
К документу о качестве прилагаются:
- исполнительные чертежи отгружаемыхизделий;
- ведомость документов о качествематериалов, использованных для изготовления изделий;
- копии или номера дипломов(удостоверений) о квалификации газорезчиков и сварщиков, изготовивших изделия;
- ведомость результатов контроля качества сварныхсоединений в изделиях.
6.3 Допускаются к приемке ШТС и анкерныетяги, если их размеры и формы профилей отличаются от проектных в пределах,указанных в соответствующих ТУ и нормативных документах.
6.4 Защитное покрытие ШТС, анкерных тяги свай должно иметь не более двух отслоений площадью поверхности до 20 см2на 1 м2. Отклонения по толщине защитного покрытия не должныпревышать ±10 %. При проверкекачества защитных покрытий рассматриваются документы, характеризующиесоставляющие компоненты в части соблюдения сроков их годности.
6.5 Для электрической сварки ШТС,анкерных тяг и свай на строительной площадке следует применять сварочныематериалы в соответствии с требованиями проекта, СНиП II-23-81 и настоящего стандарта.
6.6 Сварные соединения надлежитвыполнять в соответствии с требованиями ГОСТ5264-80 и ГОСТ14771-76 .
6.7 Сварочные стыки ШТС выполняют всоответствии с проектом из условия обеспечения равнопрочности стыка основномусечению сваи. Сварочные стыки соседних ШТС допускается устраивать не ближе 2 модин от другого, при этом напряжения на данном участке не должны превышать 50 %расчетного.
6.8 Перед погружением необходимо длявсех ШТС проверить геометрические размеры замковых соединений, прямолинейностьформы и возможность взаимного беспрепятственного прохождения соседних замковыхсоединений.
6.9 Геометрические размеры замков ШТСрекомендуется проверять на стенде и с применением шаблонов длиной не менее 2 м.Выявленные дефекты замков ШТС (изгибы, вмятины) надлежит исправлятьмеханической правкой. Для одной ШТС допускается замена одного дефекта замка научастке длиной не более 0,5 м.
6.10 На каждой шпунтине должен бытьнанесён несмываемой краской порядковый номер и указана длина, а также нанесенаглубина погружения ее в грунт по проекту.
6.11 Каждая ШТС должна быть оборудованаспециальными строповочными петлями или отверстиями для выполненияпогрузо-разгрузочных работ, подъёма и подачи к месту погружения.
6.12 Все подъёмно-транспортные операциинадлежит выполнять в соответствии с требованиями ППР, соблюдая мерыпредосторожности против повреждения антикоррозийного покрытия, замков ивозникновения прочих дефектов.
Перевод элементов шпунтовых стен из горизонтальногоположения в вертикальное должен осуществляться с помощью траверс.
6.13 Места складирования запасаэлементов необходимо выбирать возможно ближе к копрам или кранам. Элементыследует перекладывать в штабели с таким расчётом, чтобы не производитьперекантовки при строповке.
Места складирования элементов шпунтовой стены должныбыть удобными для проезда кранов и транспортных средств и производствапогрузо-разгрузочных работ.
7.1 Возведение шпунтовых стен с применением ШТСдолжно выполняться в соответствии с требованиями рабочей документации, СНиП 3.01.01-85,СНиП 12-01-04, ВСН34-91 , ПОС, ППР, а также настоящего стандарта организации. Все отступления отрабочей документации должны предварительно согласовываться с проектнойорганизацией.
7.2 Погружению ШТС должно предшествовать выполнениеи принятие по акту следующих работ:
- проверка наличия комплектапроектно-сметной документации на объекте; ознакомление ИТР и рабочих спроектной документацией по возведению шпунтовой стены и ППР;
- разбивка и закрепление главных осейсооружения, вынос в зону работ высотного репера, создание строительной сети,закрепление в натуре границ строительной площадки;
- приёмка (входной контроль) ШТС идругих элементов шпунтовой стены и соответствующая подготовка их к погружению;
- подготовка и опробование механизмов имашин (грузоподъёмных средств, молотов, вибропогружателей) и вспомогательныхустройств (шаблонов, направляющих, кондукторов, рисунок 14), предусмотренных киспользованию на строительстве шпунтовой стены;
- на строительстве причальногосооружения промеры глубин в зоне возведения шпунтовой стены с целью проверкисоответствия подводного откоса проекту и уточнения объема работ по засыпкезастенного пространства. В случае значительного отклонения фактического профиляоткоса от проектного необходимо привести его в проектное положениедополнительной разработкой или досыпкой грунта;
- подготовка грунтового основания(снятие и складирование растительного слоя), обследование грунтового массива наналичие камней и валунов, в том числе геофизическими методами и т.п.) в створепогружения ШТС и анкерных свай (если они приняты в проектной документации ввиде стальных труб);
- водолазное обследование дна акваториипричала с целью выявления и удаления предметов, которые могут препятствоватьпогружению ШТС и анкерных свай;
- устройство в соответствии с ППРподъездных дорог, площадок складирования, линий электроснабжения, наружногоосвещения строительной площадки, служебно-бытовых помещений и спасательногопоста.
7.3. При возведении шпунтовой стены в морскихусловиях, на реке или другом водном объекте дно акватории обследуют силамиводолазов или известными методами: подводными телевизионными установками и т.п.оборудованием. В случае обнаружения каких-либо предметов, препятствующихпогружению ШТС в грунт, выполняют мероприятия по их устранению. Припроизводстве свайных работ с воды рекомендуется устройство лидирующей траншеи судалением грунтов на глубину техногенных отложений.
7.4. Пробное погружение ШТС и их извлечениевыполняют по программе, составленной проектной организацией (если онопредусмотрено в проекте), с целью отработки технологии производства работ,уточнения конструкции строповочных устройства, кондукторов, шаблонов, режимаработы основного и вспомогательного оборудования, определения длины ШТС инесущей способности свай.
8.1 Способ погружения ШТС и применяемоеоборудование должны соответствовать указаниям ПОС, ППР, рабочей документациидля данной шпунтовой стенки и указаниям настоящего стандарта организации. Выборпогружающего оборудования следует проводить, руководствуясь принятым методомпроизводства работ, указаниями проектной документации, местнымитехнологическими и природными условиями настоящего раздела Стандарта.
8.2 Комплект оборудования для возведенияшпунтовой стены выбирают на основе результатов анализа исходных данных,основными из которых являются:
- назначение шпунтовой стенки,требования к обеспечению её безопасности, временные и эксплуатационныенагрузки;
- инженерно-геологические условия наплощадке строительства;
- характеристики ШТС, в том числе длина,диаметр трубы, площадь поперечного сечения; длина замков;
- гидрометеорологические условия(глубина воды, скорость течения, колебания уровня воды, роза ветров,защищенность акватории от волнения);
- местные технические условия (наличиеоборудования, электроэнергии, транспортных путей и т.п.);
- принятая технология производства работ(последовательность забивки ШТС, время выполнения работ и т.п.).
8.3 При возведении шпунтовых стен ШТСпогружают в грунт молотами или вибропогружателем. Допускается такжекомбинированная схема погружения ШТС в грунтовый массив (вибропогружение сдобивкой молотом).
8.4 Тип молота для забивки ШТС ианкерных свай следует выбирать в соответствии с указаниями СНиП 3.02.01-87(Приложение 5) и приложенияВ настоящего Стандарта.
Тип вибропогружателя для погружения ШТС и анкерныхсвай следует выбирать в соответствии с указаниями СНиП 3.02.01-87(Приложение 6) и приложенияВ настоящего Стандарта.
8.5 Критерием правильности выборапогружающего механизма является успешное пробное погружение не менее трех ШТС внаиболее характерных пунктах данной площадки.
8.6 В случае тяжелых условий погруженияШТС и анкерных свай (отказ при забивке менее 0,2 см или скоростьвибропогружения менее 2 см/мин) необходимо осуществлять дополнительныеоблегчающие погружение мероприятия.
Разработка и удаление грунта из полых ШТС и анкерныхсвай грейфером, гидроэлеватором, эрлифтом, шнековым бурением, а такжеустройство грунтовой прорези способствуют погружению шпунтовых свай допроектных отметок.
9.1 ШТС при возведении шпунтовой стенкиследует погружать с применением направляющего устройства, конструкцию которогоразрабатывают в зависимости от типа сооружения, местных условий, ПОС и ППР.
В качестве направляющей при сооружении шпунтовойстены рекомендуется использовать устройство (рисунок 14) в виде двухпараллельных балок, расставленных на расстояние, равное диаметру ШТС плюс зазорне более 0,01-0,02 м. Балки направляющих изготавливают из профильной стали икрепят болтами к уже забитым ШТС, а спереди - к временным вертикальным сваямили специальным переставным опорам.
Плавучие направляющие, как правило, закрепляются неменее чем на четырех прикольных сваях. Величина их предельного перемещения недолжна превышать 0,02 м.
Если длина ШТС при забивке превышает в два разарасстояние от дна акватории до направляющих, их устраивают в два яруса и более.Расстояние между ярусами принимают не менее 3 м.
Для обеспечения сохранности антикоррозийногопокрытия каждую ШТС при погружении надлежит оснащать переставными обрезиненнымироликами.
9.2 ШТС, как правило, погружаютзахватками. Длина захватки зависит от производительности оборудования,гидрологических условий на площадке строительства и обычно составляет от 10 до30 м.
9.3 Для уменьшения трения в замках ШТСрекомендуется устанавливать заглушки, заполнять замки бентонитом или другимподобным материалом.
9.4 При погружении первой ШТС и анкернойсваи необходимо особое внимание уделять соблюдению вертикальности (заданногонаклона). Правильность забивки ШТС и анкерной сваи контролируют в двухплоскостях и в последующем повторяют не реже, чем через каждую вторую шпунтинуили анкерную сваю геодезическими приборами или, например, уровнями длиной 2 м.
9.5 Погружающий механизм (молот иливибропогружатель) рекомендуется устанавливать с предотвращением веерностишпунтовой стенки.
9.6 При наличии слабых грунтов вгрунтовом массиве и в основании шпунтовой стенки возможен уход ранеепогруженной ШТС ниже проектной отметки. Для предотвращения этого явленияшпунтины, погруженные до проектных отметок, рекомендуется объединять с помощьюсварки.
9.7 Более мощное оборудование длязабивки ШТС или дополнительные средства, обеспечивающие подмыв, удаление грунтаиз полости трубы и т.п., следует применять, если шпунтина не достигаетпроектной отметки. При этом предпочтение следует отдавать гидромолотам илимолоту с более тяжёлой ударной частью.
9.8 При погружении ШТС и анкерной сваивибропогружателем необходимо обеспечить жесткую и постоянную связь шпунтины ивибромашины. Для погружения ШТС предпочтение следует оказыватьвибропогружателям с гидравлическими наголовниками.
9.9 В процессе вибропогружения ШТСследует осуществлять контроль за положением каната и крюка крана, на которомподвешен вибропогружатель.
При работе с вибропогружателем, оснащеннымамортизатором, скорость спуска крюка крана должна исключать зависаниевибромашины.
При работе с вибропогружателем без амортизатораскорость спуска крана не должна являться причиной торможения погружения ШТС.
9.10 При погружении ШТС вибропогружателем,снабжённым амортизатором, недопогружение ШТС может быть устраненоодно-двукратным подъёмом ШТС на 0,5-1 м и последующим погружением.
Если недопогружение вызвано встречей ШТС спрепятствием, процесс погружения следует прекратить и решать вопрос совместно спредставителем проектной организации.
9.11 При производстве работ попогружению ШТС и забивке анкерных свай следует вести журнал погружения ШТС ианкерных свай. По данным журнала составляется сводная ведомость погруженияшпунта. К журналу следует прилагать плановые и профильные схемы проектного ифактического положения шпунтовой стены и её анкерных свай.
9.12 Срезку ШТС допускается проводитьтолько с разрешения представителя авторского надзора, заказчика, о чем вжурнале производства работ должна быть произведена соответствующая запись.
9.13 После забивки ШТС рекомендуетсязаполнить внутреннее пространство труб песком с уплотнением. Песок погранулометрическому составу (ГОСТ25100-95) в зоне промерзания должен быть не нижесредней крупности. В зоне промерзания полость трубы рекомендуется заполнитьсмесью песка и цемента в количестве до 5 %. Решение о заполнении ШТС песком ицементом принимает проектная организация.
9.14 Забивку ШТС и анкерных сваймолотами следует производить с применением специальных наголовников (рисунок 15) в виде распределительных плит, снабжённых вверхней части кольцевой обоймой для размещения в ней амортизатора, а в нижнейчасти - системой выступов для фиксации головы ШТС и определения положенияотносительно молота.
Наголовник предназначен для равномерногоперераспределения нагрузки на ШТС при ударе молота и смягчения резкого ударногоимпульса.
9.15 Плановые размеры плиты наголовникаи её нижняя поверхность должны обеспечивать плотный контакт с торцовойповерхностью ШТС по всей площади трубы, исключая замковые соединения.
Толщина плиты наголовника должна быть не менее 0,15 D, где D - внутреннийдиаметр трубы ШТС.
9.16 Предпочтительно изготовлениеамортизаторов в виде резиновых колец.
9.17 Минимальный отказ ШТС и анкернойсваи при забивке должен составлять 0,5 см, но не менее приведенного в паспортефирмы-изготовителя молота и в инструкции по его эксплуатации.
9.18 Подмыв, эрлифт и гидроэлеватороблегчают условия погружения ШТС и анкерных свай до проектных отметок. Этиметоды допускаются к применению на площадке строительства, если расстояниемежду шпунтовой стенкой и существующими сооружениями не менее двукратнойглубины погружения ШТС.
9.19 Применение подмыва наиболееэффективно в сочетании с вибропогружением ШТС. Параметры подмыва, эрлифта игидроэлеватора следует определять на основе соответствующих гидравлическихрасчётов с учётом скорости размыва грунта и расхода воды для гидротранспорта разрабатываемыхгрунтов.
9.20 Для извлечения ШТС рекомендуетсяприменять краны грузоподъёмностью 500 кН и более, краны, оснащенныевибропогружателями, шпунтовыдергиватели ударного действия, молоты двойногодействия.
Рекомендуется также комбинированный способвыдергивания ШТС в сочетании с подмывом.
9.21 Сопротивление грунта при выдергивании ШТСслагается из веса шпунта, грунтовой пробки внутри трубы и трения по боковойповерхности. Эффективность выдергивания ШТС повышается при предварительномпромачивании грунтового массива на участке работ.
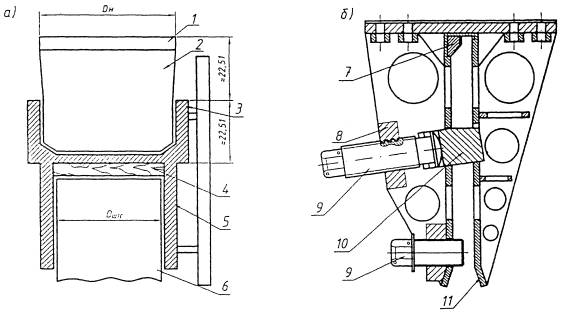
Рисунок 14 - Инвентарныеподмости-кондуктор для забивки свай ШТС
1 - направляющиешпунтины; 2 - маячные сваи; 3 - забитаясвая ШТС; 4 - деревянныепредохранители; 5 - деревянныеподмостки; 6 - перильное ограждение; 7 - крепление направляющих
Рисунок 15 - Наголовники для погружения ШТС (а - молотом; б -вибропогружателем)
1 - стальной бандаж; 2 - вкладыш;3, 5 - верхняя цилиндрическая и нижняя части корпуса; 4 - амортизирующая прокладка; 6 - ШТС; 7 - сменный вкладыш; 8 - направляющая планка; 9 - винты; 10 - клин; 11 -щека; Dштс - диаметр ШТС; Dн - диаметр наголовника.
10.1 Для повышения надёжности работ наэтапах возведения и эксплуатации шпунтовых стен из ШТС должен выполнятьсякомплекс мероприятий по организации отведения поверхностных и грунтовых вод сплощадки строительства.
10.2 Общие решения по отводу воды отшпунтовой стенки разрабатывает проектная организация на основе расчетов стокаповерхностных и дренажных вод, расчетов кривой депрессии и предотвращенияпоявления барражного эффекта.
10.3 Отвод поверхностных вод в периодстроительства следует вести с помощью нагорных канав расчётного профиля иуклонов.
Для отвода грунтовой воды отсыпают дренажные призмыпосле погружения ШТС. В замковой части ШТС устраивают также отверстиярасчётного поперечного сечения для организованного отвода грунтовой воды,снятия давления, повышения надежности и уровня безопасности шпунтовой стены.
10.4 При отводе поверхностных иподземных вод следует исключать подтопление сооружений, образование оползней,размыв грунта и заболачивание местности.
10.5 Все постоянные водопонизительные иводоотводящие устройства, используемые в период строительства, при сдаче вэксплуатацию должны соответствовать требованиям проекта.
10.6 Водонепроницаемость шпунтовойстенки из ШТС следует обеспечивать в соответствии с требованиями проекта инастоящего Стандарта.
Водонепроницаемость шпунтовых стен после погруженияШТС до проектных отметок достигается:
- свариванием стыков замковых соединенийс внешней стороны шпунтовой стены и при послойной выемке грунта перед стеной;
- инъектированием в замковое соединениеШТС водонепроницаемых материалов, например герметиков на основе гидроактивныходнокомпонентных полиуретановых составов низкой вязкости типа (Cut, Injecto Grout), которые при взаимодействии с водоймногократно увеличиваются в объеме.
11.1 Земляные работы по заполнению пазухгрунтом должны производиться в соответствии с указаниями СНиП 3.02.01-87, СНиП3.07.02-87, настоящего Стандарта и ППР, в котором должны быть указаныспособы и очередность заполнения пазух грунтом.
11.2 Перед заполнением пазух грунтомдолжно быть произведено освидетельствование готовности шпунтовой стенки исоответствие проекту выполненных её элементов, в том числе анкерных креплений иустройств, обеспечивающих грунтонепроницаемость. В пазухе не должно бытьстроительного мусора, снега и льда.
11.3 В проекте должны быть указаны типыи физико-механические характеристики грунтов, предназначенных для устройстваобратных засыпок. Если в тылу шпунтовой стенки присутствуют место слабые илистыегрунты, то в ПОС должны быть предусмотрены специальные меры для предотвращенияподвижек их в сторону шпунтовой стенки в процессе засыпки.
11.4 Засыпку грунтовых пазух выполняют,как правило, из песчаного водопроницаемого грунта, коэффициент фильтрациикоторого Кф > 0,5м/сут. Грунт засыпки должен быть непучинистым (ГОСТ 25100-95) и не содержать в своем составе органическихи водорастворимых примесей. Для засыпки наиболее желательны песчаные кварцевыепески средней крупности по ГОСТ 25100-95 со степенью неоднородностигранулометрического состава Си > 3.
11.5 Грунты засыпки следует уплотнять доплотности, приведенной в проектной документации. Как правило, степень плотностигрунта Id должнабыть не менее 0,95 ... 0,98.
11.6 Опытное уплотнение грунтоввыполняют в соответствии с требованиями СНиП 3.02.01-87(приложение 4) с целью установления максимальной объемной массы песка, величиныоптимальной влажности, толщины уплотняемого слоя, необходимого числа ударовтрамбовки для достижения проектных показателей.
11.7 В процессе устройства грунтовойзасыпки шпунтовой стенки осуществляют систематический пооперационный контроль,отслеживая:
- качество выполнения работ поподготовке дна и откоса пазух;
- соответствие отсыпаемого грунтапринятому в ППР;
- толщину отсыпаемого слоя грунта;
- влажность отсыпаемого грунта;
- число прохода грунтоуплотняющих машин;
- степень плотности грунта.
11.8 Степень плотности грунта определяютрежущим кольцом, зондированием, динамическим пенетрометром.
При недостаточной степени уплотнения грунт впределах выделенного участка уплотняют дополнительно.
11.9 В процессе устройства грунтовойзасыпки следует принять меры, исключающие повреждение анкерных тяг и анкерныхсвай, а также их антикоррозионного покрытия. Песок в тело шпунтовой стенки,щебень и камень в упорную призму и обратный фильтр с помощью плавкрана рекомендуетсяотсыпать с применением устройства (рисунок 16), предохраняющего анкерные тяги ианкерные сваи.
11.10 При заполнении пазух намывомгрунта не допускается одновременная разработка грунта земснарядом передшпунтовой стенкой. В процессе производства намывных работ контролируют напорводы в обратной засыпке, размещая не менее двух пьезометров на 25 м шпунтовойстенки. По окончании намывных работ разбирают водосбросные пульпопроводы наглубину не менее 1,5 м от проектной поверхности территории и засыпают грунтом суплотнением.
11.11 Сдачу-приёмку работ по уплотнениюгрунта обратной засыпки пазух ведут по данным журнала производства работ,исполнительной схеме, результатам послойного контроля плотности и влажностигрунта.

Рисунок 16 - Устройство длязащиты анкерных тяг и свай и направляющий экран для отсыпки каменной призмы
1 - ШТС; 2 - распределительный пояс; 3 - анкерная тяга; 4- защитная конструкция; 5 -направляющий экран; 6- деревянныенасадки; 7-анкерная свая.
12.1 Для условий Севера и для возведенияшпунтовой стенки зимой на талых грунтах используются все конструкции ШТС,которые применяются в аналогичных геологических и гидрологических условиях врайонах с умеренным климатом.
С целью обеспечения условий погружения ШТС зимой идля условий севера кордон шпунтовой стенки рекомендуется располагать в русловойчасти акватории, чтобы погружение ШТС производилось в талый грунт.
12.2 Все работы по возведению шпунтовыхстен из ШТС при наступлении отрицательных температур должны выполняться встрогом соответствии с ППР и с требованиями настоящего стандарта организации.
12.3 В ППР должны быть отраженыконкретные организационные и технологические решения, обеспечивающиебезопасность выполняемых работ при наступлении отрицательных температур.
12.4 Персонал производственныхорганизаций, предназначенный для подготовки и выполнения работ по погружениюШТС, до начала производства работ должен изучить и впоследствии выполнятьтребования ППР.
12.5 Кабины кранов, бульдозеров,копровых установок для выполнения работ по возведению шпунтовых стен из ШТСдолжны быть остеклены, дополнительно утеплены, оснащены калориферами и другимиотопительными приборами заводского изготовления для создания нормальных условийработы машинистов.
12.6 Выполнение работ по погружению ШТСв русле рек в период осеннего ледостава и весеннего ледохода запрещено.
12.7 Работу буксирных судов поразрушению ледового покрова у кордона шпунтовой стенки из ШТС необходимовыполнять с соблюдением мероприятий предосторожности и распоряженийспециалистов.
12.8 Ремонт оборудования для погруженияШТС, находящегося на плаву, необходимо выполнять на палубе плашкоута после егонадежного закрепления.
Ремонт на воде и на неустойчивом основании запрещен.
12.9 Строительство больверков из ШТС приотрицательных температурах, зимой и в Северной климатической зоне имеет рядспецифических особенностей, влияющих на выбор конструкции ШТС и на технологиювозведения больверка.
Особенности гидрологического и ледового режимов оказываютсущественное влияние на выбор места строительства стенки из ШТС. Наиболеепредпочтительным является размещение больверка на защищенных от навала льдаакваториях, искусственно созданных ковшах, в том числе на период строительства,в перегороженных с верховой стороны протоках или под защитой ограждающих дамб.
12.10 Конструкция больверков привозведении зимой должна быть рассчитана на тяжелые ледовые условия. Применятьна незащищенных акваториях отдельно стоящие сваи не допускается.
12.11 Верховой открылок шпунтовых стениз ШТС целесообразно выполнять под острым углом к направлению потока.
12.12 При возведении шпунтовых стен изШТС следует учитывать, что в период весеннего паводка грунтовая засыпка, какправило, приморожена. В связи с этим ледовые нагрузки, действующие на шпунтовуюстенку, в период строительства в значительной степени воспринимаются мерзлымгрунтом, имеющим плотность ниже предусмотренной проектом.
12.13 Для снижения нагрузок на ШТС отпримерзшего льда целесообразно для лицевой стенки применять покрытия в видегидрофобной консистентной смазки.
12.14 ППР для шпунтовых стен из ШТС навечномерзлых грунтах должны содержать мероприятия, осуществление которыхисключит возможность появления недопустимых деформаций больверка и обеспечиваеттребуемые эксплуатационные качества, надежность и долговечность. С этой цельюпредусматривают улучшение строительных свойств грунтового основания,регулирование его теплового режима с помощью охлаждающих устройств различнойконструкции.
12.15 В соответствии с проектнойдокументацией мерзлые грунты могут быть использованы в шпунтовой стенке по I принципу (сохранение грунта в мерзлом состоянии в процессе строительстваи в течении всего периода эксплуатации) или по II принципу- вечномерзлые грунты используются в оттаивающем состоянии в пределах заданнойглубины.
Для каждой шпунтовой стенки из ШТС рекомендуетсяприменять один принцип использования вечномерзлых грунтов.
12.16 Шпунтовые стенки из ШТС вгидротехнических сооружениях непосредственно контактируют с талой водойакватории. Поэтому проект шпунтовой стенки из ШТС с сохранением вечной мерзлоты(принцип I) допускается применять, в основном, при искусственном охлаждении грунта.
12.17 Погружение ШТС в вечномерзлыегрунты, используемые по I принципу (в мерзлом состоянии),осуществляется буроопускным, опускным и бурозабивным способами.
12.18 Буроопускной способ погружения ШТСприменяется при средней температуре вечномерзлого грунта по длине ШТС минус0,5°С (и ниже). ШТС погружается в предварительно пробуренные скважины.
13.1 Шпунтовые стенки из ШТС принимают всоответствии с требованиями проектной документации, указаниями СНиП3.01.04-87, СНиП3.07.02-87, ВСН34-91 и настоящего Стандарта.
13.2 При приемке шпунтовой стенкипредставляют журналы погружения ШТС и других элементов, которые передаютзаказчику. К журналам прилагают плановые и профильные схемы погружения ШТС ианкерных свай, сводная ведомость погружения элементов с указанием их номеров,зазоров между шпунтинами и отступлений от проектного решения.
Перечень документов, предъявляемых приёмочнойкомиссии, указан в приложении Д настоящего Стандарта.
Для шпунтового ряда вычерчивается фасадный чертёж суказанием исполнительного положения каждой ШТС.
В случае применения подмыва, эрлифтирования и т.п.необходимо указать в журнале, на каких отметках начато и закончено применениеэтих методов.
13.3 Состав приёмочной комиссии ипорядок её работы устанавливается заказчиком и строительной организацией.
13.4 Проверка отклонений ШТСпроизводится до срезки и какой-либо выправки шпунтовых, стен. Точностьизмерений плановых отклонений должна составлять 5 мм, а отклонений от вертикали- 0,1 %.
13.5 Отклонения ШТС от проектногоположения в плане и по высоте не должны превышать величин, указанных в таблице1.
Таблица 1 -Допускаемые отклонения ШТС и анкерных тяг от проектного положения
| Контролируемый параметр | Ед. изм. | Допустимое отклонение | Объём контроля | Метод контроля |
| 1 | 2 | 3 | 4 | 5 |
| Смещение ШТС от оси стены в плане на уровне проектной отметки верха шпунта | мм | Не более ± 150 | 100 % длины стены | Геодезический контроль и измерения каждого ШТС |
| Отклонения ШТС от вертикали | % | 0,5 | 100 % длины стены | Геодезический контроль и измерения каждого ШТС |
| Высота отметки голов ШТС | мм | ± 10 | Каждый ШТС | Нивелирование |
| Выход ШТС из замков |
| Не допускается | Каждый ШТС | Обследование |
| Недобивка ШТС до проектных отметок | мм | 100 | Каждый ШТС | Расчёт по отметкам |
| Расстояние между шпунтовой стенкой и анкерной сваей | мм | ± 100 | Каждая анкерная система | Геодезический контроль |
| Смещение анкерных свай и анкерных тяг | мм | ± 100 | Каждая анкерная система | Геодезический контроль |
| Отметка верха анкерной сваи | мм | ± 80 | Каждая анкерная свая | Геодезический контроль |
| Максимальное отклонение анкерных свай в плоскости, параллельной или перпендикулярной шпунтовой стенке | - | 100:1 | Каждая анкерная свая | Геодезический контроль |
| Отклонение оси анкерной тяги от проектного угла по направлению к шпунтовой стенке | - | ± 0,5° | Каждая анкерная свая | Геодезический контроль |
13.6 Проектная организация имеет правоустанавливать допуски отклонения ШТС от проектного положения менее указанных втаблице 1. При этом она должна разработать соответствующие направляющие,каркасы, кондукторы или шаблоны, обеспечивающие их соблюдение.
14.1 При производстве работ построительству шпунтовых стен из ШТС должны соблюдаться требования СНиП12-04-2002, «Правила по охране труда при производстве строительно-монтажныхработ по постройке портовых гидротехнических сооружений», а также правила итребования органов Государственного надзора.
14.2 Применяемые при производствешпунтовых работ плавучие средства и береговые механизмы и оборудование должныэксплуатироваться с соблюдением требований Регистра и Госгортехнадзора.Судоходные участки акватории в местах производства работ должны бытьоборудованы навигационными знаками.
14.3 Максимальная допустимая балльностьволнения, при которой разрешается производство работ по погружению шпунта ШТС,устанавливается ППР в зависимости от технических характеристик основной несущеймашины (плавучего крана, плавучего копра, самоподъемной платформы) и местныхусловий.
В любом случае работы по погружению ШТС допускаетсяпроизводить при волнении не более одного балла (высота волны до 0,25 м), еслиприменяют плавучие краны и копры водоизмещением до 500 т, и не более двух баллов(высота волны до 0,75 м) - при большем водоизмещении. При использованиисамоподъемных платформ допускается производить работы по погружению шпунта ШТСпри волнении не более трех баллов (высота волны до 1,25 м) и скорости ветраболее четырех баллов (7,4 м/с).
14.4 Все подъемно-транспортные операциидолжны выполняться с соблюдением требований СНиП12-04-2002, ГОСТ12.3.009-76 и настоящего Стандарта.
Строповка свайных элементов должна производиться вместах, предусмотренных проектом. Подъем шпунтин в любом случае долженпроизводиться при вертикальном положении грузового полиспаста. Кантование,перемещение волоком и сбрасывание ШТС с высоты не допускаются.
При переводе длинномерных ШТС из горизонтальногоположения в вертикальное следует применять специальные траверсы.
14.5 Забивку ШТС в условияхотрицательных температур необходимо производить по специально разработанной длязимних условий инструкции, утвержденной в установленном порядке.
14.6 При забивке молотом ивибропогружении шпунта ШТС необходимо применять устройства, грузоподъемностькоторых в 1,5 раза превышает суммарную массу молота с наголовником и навеснойнаправляющей или суммарную массу вибромашины и наголовника. Грузоподъемностьустройств также должна быть не менее удвоенной массы ШТС с вибромашиной.
Высота подъема крюка должна обеспечивать подачушпунтины в замок ранее выставленной или погруженной шпунтины с запасом повысоте не менее 0,25 м при работе береговыми копрами и кранами и не менее 1 мпри работе плавучими копрами и кранами.
14.7 Операцию подъема и перемещения ШТСк месту установки во избежание большой раскачки следует вести плавно, безрывков с применением оттяжек, не допуская удары шпунтины о направляющие и оранее установленный шпунтовый ряд.
Для подъема шпунтин краном рекомендуется применятьстроповочный захват с дистанционным расцеплением. ШТС в замок на высоте следуетзаводить только с применением дистанционных устройств.
14.8 При строительстве шпунтовых стен сприменением ШТС следует предусматривать меры, исключающие случайное падениечеловека в полость забитой шпунтины.
15.1 Возведение стен из шпунта ШТСдолжно выполняться в соответствии с ППР и требованиями раздела ОВОС проектнойдокументации.
15.2 Проектная документация должнапредусматривать предварительное снятие почвенного слоя на территории, отведеннойпод строительную площадку. Нормы снятия плодородного слоя почвы различного типаи механического состава содержатся в ГОСТ17.5.3.06-85, а требования по охране плодородного слоя почвы припроизводстве строительных работ - в ГОСТ17.4.3.02-85. Рекультивация земель производится в соответствии с ГОСТ17.5.3.04-83.
15.3 При производствестроительно-монтажных работ необходимо предусмотреть мероприятия попредотвращению загрязнения строительной площадки, примыкающих водных объектов иих ледового покрова строительными и бытовыми отходами и нефтепродуктами,уменьшать загрязнение воздуха выбросами вредных веществ, а также уровеньвибрации и шума при работе строительных машин и механизмов.
15.4 Возведение шпунтовых стен ивыполнение других строительно-монтажных работ допускается проводить согласно ГОСТ17.1.3.13-86 только после получения письменногоуведомления или разрешения, выдаваемого компетентными органами.
15.5 Запрещается заправка транспортных истроительных машин топливом и маслом вне стационарных или передвижныхзаправочных пунктов. Слив отработанного масла на почвенный покров или в водныеобъекты запрещается. Не допускается также мытье машин в неустановленных местах.
15.6 Контроль за выполнением требованийпо охране природы осуществляется должностными лицами и органами государственногои производственного экологического надзора. Наряду с этим, контроль завыполнением экологических требований при строительстве осуществляет разработчикпроекта.
16.1 Для контрольных измерений приприемке профилей ШТС следует применять:
- при измерении длины профилей и смещения замков впоперечном сечении - измерительную металлическую рулетку по ГОСТ7502-98 ;
- при измерении диаметра труб, размеров поперечногосечения изделий, перекоса торцов профиля, стрелы кривизны профиля -металлические шаблоны, измерительные линейки по ГОСТ 427-75 и приспособлениядля проведения измерении.
16.2 Размеры поперечного сечения труб изамковых элементов измеряют на расстоянии до 1 м от их торцов и в среднемсечении.
16.3 Перекос кромки замков контролируютс применением шаблона измерением на торцах отклонения кромки от нанесенной на шаблоносевой линии.
16.4 Кривизну профилей контролируют пригоризонтальном положении полок замков натяжением струны и измерением стрелыкривизны: в горизонтальной плоскости - по внешней боковой грани замков; ввертикальной плоскости - по нижней образующей линии поверхности трубы.
16.5 Качество продольных и поперечныхсварных швов в профилях следует проверять в соответствии с требованиями СП53-101-98. Геометрические размеры усиления шва контролируют с помощьюшаблона.
16.6 Механические свойства металласварных стыковых соединений определяют и контролируют в соответствии стребованиями ГОСТ 6996-66 .
17.1 Эксплуатация шпунтовых стен из ШТС должна бытьорганизована в соответствии с требованиями проектной документации, ПОС и ППР,разработанными с учетом климатических условий и требований СНиП 3.01.01-85, СНиП3.02.04-87, СНиП3.07.02-87, а также настоящего Стандарта.
17.2 В проектной документации навозведение шпунтовых стен, расположенных в сложных гидрометеорологических иинженерно-геологических условиях, при наличии глубин воды более 16 м, течениясо скоростью более 1 м/с, колебаний уровня воды более 2 м/сут, вечномерзлых илисильносжимаемых грунтов в основании следует предусматривать раздел,регламентирующий условия нормальной эксплуатации сооружения, и требования поконтролю за параметрами, определяющими безопасные условия работы конструкций.
17.3 Точность геодезических наблюденийза деформациями должна соответствовать требованиям СНиП 3.01.01-85, требованиямпроектной организации и настоящего Стандарта.
17.4 В случае повреждения изогнутуюстенку из ШТС исправляют отдельными участками путем натяжения, придавая ейпервоначальное положение. Натяжение следует производить равномерно по всейдлине деформированного участка, предварительно установив на поврежденныйучасток съемную металлическую раму. Рекомендуется вырезать часть разрушенныхшпунтовых свай и накладывать металлический пластырь подводной электросваркойили на болтах. Для исправления рекомендуется также забивать дополнительные ШТС.
17.5 В случае размыва грунта у кордонастенки из ШТС рекомендуется размытый участок заполнить камнем, уложить тюфяки,мешки с грунтом и т.п.
17.6 Шпунтовые стенки из ШТС применяют вморских и речных условиях при устройстве набережных и ячеистых конструкций.Возможность применения ШТС определяется в проектной документации. В отечественнойпрактике используют стальной шпунт из углеродистых сталей; для суровыхклиматических условий - из низколегированных сталей.
| Шпунтовые профили ШТС и ШТСу | Характеристики профилей | Характеристики шпунтовой стены длиной 1 м | ||||||||||||||
| Размеры поперечного сечения | Площадь поперечного сечения | Масса2) 1м | Справочные значения величин | |||||||||||||
| диаметр трубы | толщина стенки трубы | ширина профиля | для оси 0-03) | для расчета сопротивления грунта погружению профиля | шаг профилей в шпунтовой стене | площадь поперечного сечения | удельный расход стали | справочные значения величин для оси 0-0 | ||||||||
| расчетная | полная | |||||||||||||||
| периметр | площадь торца | |||||||||||||||
| D, мм | t, мм | Вр, мм | В, мм | см2 | кг | J0, см4 | W0, см3 | см | см2 | l | см2 | кг/см2 | J0, см4 | W0, см3 | ||
|
| Свая ШТС с замковым элементом Л4 | |||||||||||||||
| 530×8-Л4 | 530 | 8 | 930 | 966 | 225,8 | 177,0 | 50861,0 | 1919,2 | 488,5 | 646,1 | 975,5 | 242,7 | 190,3 | 52651,14 | 1986,75 | |
| 530×10-Л4 | 10 | 257,9 | 202,2 | 61402,6 61402610 1,17 | 2317,0 | 487,8 | 277,3 | 217,4 | 63563,77 | 2398,55 | ||||||
| 630×8-Л4 | 630 | 8 | 1030 | 1066 | 250,9 | 196,7 | 82378,3 | 2615,1 | 551,3 | 873,9 | 1071,3 | 243,6 | 190,9 | 77277,95 | 2453,19 | |
| 630×10-Л4 | 10 | 289,3 | 226,8 | 100381,4 | 3186,7 | 550,7 | 280,9 | 220,2 | 94166,42 | 2989,40 | ||||||
| 720×8-Л4 | 720 | 8 | 1120 | 1156 | 273,5 | 214.4 | 120635,6 | 3350,9 | 607,8 | 1112,4 | 1158,1 | 244,2 | 191,4 | 104356,06 | 2898,70 | |
| 720×9-Л4 | 9 | 295,6 | 231,7 | 134279,1 | 3729,9 | 607,5 | 263,9 | 206,9 | 116158,39 | 3226,56 | ||||||
| 720×10-Л4 | 10 | 317,6 | 249,0 | 147806,5 | 4105,7 | 607,2 | 283,6 | 222,3 | 127860,29 | 3551,64 | ||||||
| 720×12-Л4 | 12 | 361,5 | 283,4 | 174515,6 | 4847,6 | 606,6 | 322,8 | 253,0 | 150965,05 | 4193,43 | ||||||
| 820×10-Л4 | 820 | 10 | 1220 | 1256 | 349,0 | 273,6 | 216372,0 | 5277,3 | 670,0 | 1414,8 | 1255,0 | 286,1 | 224,3 | 172270,70 | 4201,67 | |
| 820×12-Л4 | 12 | 399,2 | 312,9 | 256283,8 | 6250,8 | 669,4 | 327,2 | 256,5 | 204047,61 | 4976,75 | ||||||
| 820×14-Л4 | 14 | 449,0 | 352,1 | 295598,5 | 7209,7 | 668,8 | 368,1 | 288,6 | 235349,12 | 5740,21 | ||||||
| 1020×10-Л4 | 1020 | 10 | 1420 | 1456 | 411,9 | 322,9 | 412966,9 | 8097,3 | 795,7 | 2137,4 | 1450,2 | 290,1 | 227,4 | 283631,11 | 5561,33 | |
| 1020×12-Л4 | 12 | 474,6 | 372,1 | 491036,8 | 9628,1 | 795,1 | 334,2 | 262,0 | 337250,55 | 6612,71 | ||||||
| 1020×14-Л4 | 14 | 537,0 | 421,0 | 568171,6 | 11140,6 | 794,5 | 378,2 | 296,5 | 390227,75 | 7651,51 | ||||||
| 1120×12-Л4 | 1120 | 12 | 1520 | 1556 | 512,3 | 401,6 | 649656,0 | 11601,0 | 857,9 | 2557,6 | 1548,3 | 337,1 | 264,2 | 417516,71 | 7455,66 | |
| 1120×14-Л4 | 14 | 581,0 | 455,5 | 752491,5 | 13437,3 | 857,3 | 382,3 | 299,7 | 483606,36 | 8635,80 | ||||||
| 1220×12-Л4 | 1220 | 12 | 1620 | 1656 | 549,9 | 431,2 | 839649,0 | 13764,7 | 920,7 | 3017,0 | 1646,5 | 339,5 | 266,2 | 507034,42 | 8312,02 | |
| 1220×14-Л4 | 14 | 625,0 | 490,0 | 973340,5 | 15956,4 | 920,1 | 385,8 | 302,5 | 587766,00 | 9635,51 | ||||||
| 1420×12-Л4 | 1420 | 12 | 1820 | 1856 | 625,4 | 490,3 | 1324766,0 | 18658,6 | 1046,4 | 4053,8 | 1843,7 | 343,6 | 269,4 | 713774,78 | 10053,13 | |
| 1420×14-Л4 | 14 | 712,9 | 558,9 | 1537521,0 | 21655,2 | 1045,8 | 391,7 | 307,1 | 828405,71 | 11667,67 | ||||||
| 1420×16-Л4 1420 | 16 | 800,3 | 627,4 | 1957563,0 | 27571,3 | 1045,1 | 439,7 | 344,7 | 1054721,44 | 14855,23 | ||||||
Продолжение таблицы
| Шпунтовые профили ШТС и ШТСу | Характеристики профилей | Характеристики шпунтовой стены длиной 1 м | ||||||||||||||
| Размеры поперечного сечения | Площадь поперечного сечения | Масса2) 1м | Справочные значения величин | |||||||||||||
| диаметр трубы | толщина стенки трубы | ширине профиля | для оси 0-03) | для расчета сопротивления грунта погружению профиля | шаг профилей в шпунтовой стене | площадь поперечного сечения | удельный расход стали | справочные значения величин для оси 0-0 | ||||||||
| расчётная | полная | |||||||||||||||
| периметр | площадь торца | |||||||||||||||
| D, мм | t, мм | Bp мм | В. мм | см2 | кг | J0 см4 | W0 см5 | см | см2 | l | см2 | кг/см2 | J 0см4 | W0 см3 | ||
|
| Свая ШТС с замковым элементом Л5 | |||||||||||||||
| 530×8-Л5 | 530 | 8 | 958 | 996 | 258,9 | 203,0 | 54591,9 | 2060,1 | 500,0 | 679,3 | 1010,4 | 260,0 | 203,8 | 54811,14 | 2068,37 | |
| 530×10-Л5 | 10 | 291,1 | 228,2 | 65134,0 | 2457,9 | 499,4 | 292,3 | 229,1 | 65395,58 | 2467,77 | ||||||
| 630×8-Л5 | 630 | 8 | 1058 | 1096 | 284,1 | 222,7 | 86948,1 | 2760,3 | 562,9 | 907,1 | 1105,7 | 253,2 | 203,2 | 79332,21 | 2518,52 | |
| 630×10-Л5 | 10 | 322,5 | 252,9 | 104951,3 | 3331,8 | 562,2 | 294,3 | 230,7 | 95758,49 | 3039,96 | ||||||
| 720×8-Л5 | 720 | 8 | 1148 | 1186 | 306,7 | 240,4 | 125483,9 | 3485,7 | 619,4 | 1145,6 | 1192,1 | 258,6 | 202,7 | 105804,30 | 2939,04 | |
| 720×9-Л5 | 9 | 328,8 | 257,8 | 139127,4 | 3864,7 | 619,2 | 277,2 | 217,3 | 117308,09 | 3258,60 | ||||||
| 720×10-Л5 | 10 | 350,8 | 275,0 | 152654,8 | 4240,4 | 618,8 | 295,8 | 231,9 | 128714,00 | 3575,38 | ||||||
| 720×12-Л5 | 12 | 394,6 | 309,4 | 179364,0 | 4982,3 | 618,2 | 332,8 | 260,9 | 151234,40 | 4200,93 | ||||||
| 820×10-Л5 | 820 | 10 | 1248 | 1286 | 382,2 | 299,6 | 221529,1 | 5403,1 | 681,6 | 1448,0 | 1288,7 | 297,2 | 233,0 | 172262,13 | 4201,48 | |
| 820×12-Л5 | 12 | 432,3 | 338,9 | 261440,9 | 6376,6 | 681,0 | 336,2 | 263,6 | 203297,74 | 4958,48 | ||||||
| 820×4-Л5 | 14 | 482,3 | 378,1 | 300755,6 | 7335,5 | 680,4 | 375,0 | 294,0 | 233869,05 | 5704,12 | ||||||
| 1020×10-Л5 | 1020 | 10 | 1448 | 1486 | 445,0 | 348,9 | 418638,6 | 8208,6 | 807,3 | 2170,6 | 1483,2 | 299,5 | 231,8 | 281721,80 | 5523,96 | |
| 1020×12-Л5 | 12 | 507,7 | 398,1 | 496708,4 | 9739,4 | 806,7 | 341,7 | 267,9 | 334258,68 | 6554,10 | ||||||
| 1020×14-Л5 | 14 | 570,2 | 447,0 | 573843,3 | 11251,8 | 806,1 | 383,7 | 300,8 | 386166,42 | 7571,87 | ||||||
| 1120×12-Л5 | 1120 | 12 | 1548 | 1586 | 545,4 | 427,6 | 655578,2 | 11706,8 | 869,5 | 2590,8 | 1580,9 | 343,9 | 269,6 | 413353,22 | 7381.34 | |
| 1120×14-Л5 | 14 | 614,2 | 481,5 | 758413,7 | 13543,1 | 868,9 | 387,2 | 303,6 | 478192,75 | 8539,16 | ||||||
| 1220×12-Л5 | 1220 | 12 | 1648 | 1686 | 583,1 | 457,2 | 843167,8 | 13822,4 | 932,3 | 3050,2 | 1679,0 | 345,8 | 271,2 | 500099,53 | 8198,34 | |
| 1220×14-Л5 | 14 | 658,1 | 516,0 | 976859,4 | 16014,1 | 931,7 | 390,4 | 306,0 | 579394,66 | 9498,28 | ||||||
| 1420×12-Л5 | 1420 | 12 | 1848 | 1886 | 658,5 | 516,3 | 1329862,0 | 18730,5 | 1058,0 | 4086,9 | 1875,7 | 349,2 | 273,7 | 705123,01 | 9931,34 | |
| 1420×14-Л5 | 14 | 746,1 | 585,0 | 1542617,0 | 21727,0 | 1057,4 | 395,6 | 310,2 | 817930,54 | 11520,15 | ||||||
| 1420×16-Л5 | 16 | 833,5 | 653,4 | 1753545,0 | 24697,8 | 1056,8 | 441.9 | 346,5 | 929769,35 | 13005,33 | ||||||
Продолжение таблицы
| Шпунтовые профили ШТС и ШТСу | Характеристики профилей | Характеристики шпунтовой стены длиной 1 м | ||||||||||||||
| Размеры поперечного сечения | Площадь поперечного сечения | Масса2) 1м | Справочные значения величин | |||||||||||||
| диаметр трубы | толщина трубы | ширина профиля | для оси 0-03) | для расчета сопротивления грунта погружению профиля | шаг профилей в шпунтовой стене | площадь поперечного сечения | удельный расход стали | справочные значения величин для оси 0-0 | ||||||||
| расчетная | полная | |||||||||||||||
| периметр | площадь тора» | |||||||||||||||
| D, мм | t, мм | Вp, мм | В, мм | см2 | кг | J0, см4 | W0, см3 | см | см2 | l | см2 | кг/см2 | J0, см4 | W0, см3 | ||
|
| Свая ШТС с замковым элементом ШК-1 | |||||||||||||||
| 530×8-ШК1 | 530 | 8 | 949 | 928 | 194,8 | 152,7 | 45402,7 | 1713,3 | 449,4 | 615,1 | 934,5 | 205,7 | 161,3 | 48925,3 | 1846,21 | |
| 530×10-ШК1 | 10 | 226,9 | 177,9 | 55944,3 | 2111,1 | 448,7 | 239,7 | 187,9 | 60284,8 | 2274,91 | ||||||
| 630×8-ШК1 | 630 | 8 | 1047 | 1028 | 219,9 | 172,4 | 76319,6 | 2422,8 | 512,2 | 842,9 | 1033,9 | 210,1 | 164,7 | 74240,9 | 2356,9 | |
| 630×10-ШК1 | 10 | 258,3 | 202,5 | 94322,8 | 2994,4 | 511,6 | 246,8 | 193,5 | 91753,7 | 2912,8 | ||||||
| 720×8-ШК1 | 720 | 8 | 1137 | 1118 | 242,5 | 190,1 | 114115,5 | 3169,9 | 568,7 | 1081,5 | 1123,4 | 213,3 | 167,2 | 102071,1 | 2835,3 | |
| 720×9-ШК1 | 9 | 264,6 | 207,4 | 127759,1 | 3548,9 | 568,4 | 232,7 | 182,5 | 114274,7 | 3174,3 | ||||||
| 720×10-ШК1 | 10 | 286,6 | 224,7 | 141286,5 | 3924,6 | 568,1 | 252,1 | 197,7 | 126374,3 | 3510,4 | ||||||
| 720×12-ШК1 | 12 | 330,5 | 259,1 | 167995,6 | 4666,5 | 567,5 | 290,7 | 227,9 | 150264,4 | 4174,0 | ||||||
| 820×10-ШК1 | 820 | 10 | 1237 | 1218 | 318,0 | 249,3 | 209435,5 | 5108,2 | 630,9 | 1383,8 | 1222,9 | 257,1 | 201,6 | 171950,3 | 4193.9 | |
| 820×12-ШК1 | 12 | 368,2 | 288,7 | 249347,3 | 6081,6 | 630,3 | 297,7 | 233,4 | 204718,6 | 4993,1 | ||||||
| 820×14-ШК1 | 14 | 418,1 | 327,8 | 288661,9 | 7040,5 | 629,7 | 338,0 | 265,0 | 236996,6 | 5780,4 | ||||||
| 1020×10-ШК1 | 1020 | 10 | 1437 | 1418 | 380,9 | 298,6 | 405357,6 | 7948,2 | 756,6 | 2106,4 | 1422,2 | 265,0 | 207,8 | 285865,7 | 5605,2 | |
| 1020×12-ШК1 | 12 | 443,6 | 347,8 | 483427,4 | 9479,0 | 756,0 | 308,7 | 242,0 | 340922,0 | 6684,7 | ||||||
| 1020×14-ШК1 | 14 | 506,0 | 396,7 | 560562,3 | 10991,4 | 755,3 | 352,3 | 276,1 | 395319,0 | 7751,4 | ||||||
| 1120×12-ШК1 | 1120 | 12 | 1537 | 1518 | 481,3 | 377,3 | 641798,4 | 11460,7 | 818,8 | 2526,6 | 1521,9 | 313,2 | 245,5 | 422792,1 | 7549,9 | |
| 1120×14-ШК1 | 14 | 550,0 | 431,2 | 744633,9 | 13297,0 | 818,2 | 357,9 | 280,6 | 490536,2 | 8759,6 | ||||||
| 1220×12-ШК1 | 1220 | 12 | 1637 | 1618 | 519,0 | 406,9 | 831497,3 | 13631,1 | 881,6 | 2986,0 | 1621,7 | 317,1 | 248,6 | 513904,4 | 8424,7 | |
| 1220×14-ШК1 | 14 | 594,0 | 465,7 | 965188,9 | 15822,8 | 881,0 | 362,9 | 284,5 | 596532,1 | 9779,2 | ||||||
| 1420×12- ШК1 | 1420 | 12 | 1837 | 1818 | 594,4 | 466,0 | 1316188 | 18537,9 | 1007,3 | 4022,8 | 1821,2 | 323,6 | 253,7 | 723975,8 | 10196,8 | |
| 1420×14-ШК1 | 14 | 682,0 | 534,6 | 1528943 | 21534,4 | 1006,7 | 371,3 | 291,1 | 841002,8 | 11845,1 | ||||||
| 1420×16-ШК1 | 16 | 769,3 | 603,1 | 1739871 | 24505,2 | 1006,0 | 418,8 | 328,4 | 957024,8 | 13479,2 | ||||||
Продолжение таблицы
| Шпунтовые профили ШТС и ШТСу | Характеристики профилей | Характеристики шпунтовой стены длиной 1 м | ||||||||||||||
| Размеры поперечного сечения | Площадь поперечного сечения | Масса2) 1м | Справочные значения величин | |||||||||||||
| диаметр трубы | стенки трубы | ширина профиля | для оси 0-03) | для расчета сопротивления грунта погружению профиля | шаг профилей в шпунтовой стене | площадь поперечного сечения | удельный расход стали | справочные значения величин для оси 0-0 | ||||||||
| расчетная | полная | |||||||||||||||
| периметр | площадь торца | |||||||||||||||
| D, мм | t, мм | Bр, мм | В, мм | см2 | кг | J0, см4 | W0, см3 | см | см2 | l | см2 | кг/см2 | J0, см4 | W0, см3 | ||
|
| Свая ШТС с замковым элементом УТ | |||||||||||||||
| 530×9-УТо 530×9-УТг | 530 | 9 | УТо717 УТг999 | УТо748 УТг1030 | 254,9 247.3 | 202 196 | 56300 51000 | 21251925 | 376 485 | 595 247 | 858 | 292,7 | 232 | 62600 | 2360 | |
| 530×10-УТо 530×10-УТг | 10 | 271,0 263,4 | 214 209 | 61600 56300 | 23252125 | 376 484 | 611 263 | 311,4 | 247 | 68700 | 2590 | |||||
| 530×11-УТо 530×11-УТг | 11 | 287,0 279,4 | 228 221 | 66700 61500 | 25202320 | 375 483 | 627 279 | 330,0 | 262 | 74700 | 2820 | |||||
| 530×12-УТо 530×12-УТг | 12 | 302,9 295,3 | 240 234 | 71900 66600 | 27102510 | 374 483 | 643 295 | 348,6 | 276 | 80700 | 3045 | |||||
| 630×9-УТо 630×9-УТг | 630 | 9 | УТо823 УТг1099 | УТо854 УТг1130 | 283,2 275,6 | 225 219 | 91000 85700 | 28902720 | 439 548 | 632 276 | 961 | 290,8 | 231 | 92000 | 2920 | |
| 630×10-УТо 630х10-УТг | 10 | 302,4 294,8 | 240 234 | 99900 94700 | 31753005 | 439 547 | 651 295 | 310,8 | 246 | 101300 | 3215 | |||||
| 630×11-УTo 630×11-УГг | 11 | 321,5 313,9 | 255 249 | 108800 103500 | 34553285 | 438 546 | 670 314 | 330,7 | 262 | 110500 | 3510 | |||||
| 630×12-УТо 630×l2-УTг | 12 | 340,6 333,0 | 270 264 | 117600 112300 | 37353565 | 438 546 | 689 333 | 350.6 | 278 | 119700 | 3800 | |||||
| 720×10-УТо 720×10-УТг | 720 | 10 | УТо916 УТг1189 | УТо947 УТг1220 | 330,6 323,1 | 262 256 | 146900 141600 | 40803935 | 496 603 | 685 323 | 1052 | 310,6 | 246 | 137100 | 3810 | |
| 720×11-УТо 720×11-УТг | 11 | 352,6 345,0 | 280 274 | 160300 155000 | 44554305 | 495 603 | 707 345 | 331,4 | 263 | 149800 | 4160 | |||||
| 720×12-УТо 720×12-УТг | 12 | 374,5 366,9 | 297 291 | 173600 168300 | 48204675 | 494 602 | 729 367 | 352,2 | 279 | 162500 | 4515 | |||||
| 720×13-УТо 720×13-УТг | 13 | 396,3 388,7 | 314 308 | 186800 181500 | 51905040 | 494 602 | 751 389 | 373,0 | 296 | 175000 | 4860 | |||||
| 820×10-УТо 820×10-УТг | 820 | 10 | УТо1019 УТг1289 | УТо1050 УТг1320 | 362,1 354,5 | 287 281 | 215100 209800 | 52455115 | 559 666 | 721 354 | 1154 | 310,5 | 246 | 184100 | 4490 | |
| 820×11-УТо 820×11-УТг | 11 | 387,2 379,6 | 307 301 | 235100 229800 | 57355605 | 558 666 | 746 380 | 332,3 | 263 | 201500 | 4915 | |||||
| 820×12-УТо 820×12-УТг | 12 | 412,2 404,6 | 327 321 | 255000 249700 | 62206090 | 557 665 | 771 405 | 354,0 | 281 | 218700 | 5335 | |||||
| 820×13-УТо 820×13-УТг | 13 | 437,2 429,6 | 347 341 | 274700 269400 | 67006570 | 557 664 | 796 430 | 375,6 | 298 | 235800 | 5750 | |||||
Продолжение таблицы
| Шпунтовые профили ШТС и ШТСу | Характеристики профилей | Характеристики шпунтовой стены длиной 1 м | ||||||||||||||
| Размеры поперечного сечения | Площадь поперечного сечения | Масса2) 1 м | Сплавочные значения величин | |||||||||||||
| диаметр трубы | толщина стенки трубы | ширина профиля | для оси 0-03) | для расчета сопротивления грунта погружению профиля | шаг профилей в шпунтовой стене | площадь поперечного сечения | удельный расход стали | справочные значения величин для оси 0-0 | ||||||||
| расчетная | полная | |||||||||||||||
| периметр | площадь торца | |||||||||||||||
| D, мм | t, мм | Bр, мм | В, мм | см2 | кг | J0, см4 | W0, см3 | см | см2 | l | см2 | кг/см2 | J0, см4 | W0, см3 | ||
| 920×10-УТо 920×10-УТг | 920 | 10 | УТо1121 УТг1389 | УТо1152 УТг1420 | 393,5 385,9 | 312 306 | 302300 297000 | 6570 6455 | 621 729 | 756 386 | 1255 | 310,5 | 246 | 238800 | 5190 | |
| 920×11-УГо 920×11-УТг | 11 | 421,7 414,1 | 334 328 | 330800 325500 | 7190 7075 | 621 729 | 785 414 | 333,0 | 264 | 261500 | 5685 | |||||
| 920×12-УТо 920×12-УТг | 12 | 449,9 442,3 | 357 351 | 359200 353900 | 7810 7695 | 620 728 | 813 442 | 355,5 | 282 | 284100 | 6175 | |||||
| 920×13-УТо 920×13-УТг | 13 | 478,0 470,4 | 379 373 | 387300 382000 | 8420 8305 | 620 727 | 841 470 | 377,9 | 300 | 306500 | 6665 | |||||
| 920×14-УTo 920×14-УТг | 14 | 506,1 498,5 | 401 395 | 415300 410000 | 9030 8915 | 619 727 | 869 498 | 400,2 | 317 | 328800 | 7150 | |||||
| 1020×10-УТо 1020×10-УТг | 1020 | 10 | УТо1223 УТг1489 | УТо1254 УТг1520 | 424,9 417,3 | 337 331 | 411000 405700 | 8060 7955 | 684 792 | 791 417 | 1356 | 310,6 | 246 | 301200 | 5905 | |
| 1020×11-УТо 1020×11-УТг | 11 | 456,3 448,7 | 362 356 | 450100 444800 | 8825 8720 | 684 791 | 822 449 | 333,7 | 265 | 330000 | 6470 | |||||
| 1020×12-УТо 1020×12-УТг | 12 | 487,6 480,0 | 387 381 | 489000 483750 | 9590 9485 | 683 791 | 854 480 | 356,8 | 283 | 358700 | 7035 | |||||
| 1020×13-УТо 1020×13-УТг | 13 | 518,9 511,3 | 411 405 | 527700 522400 | 10345 10245 | 682 790 | 885 511 | 379,9 | 301 | 387300 | 7595 | |||||
| 1020×14-УТо 1020×14-УТг | 14 | 550,1 542,5 | 436 430 | 566200 560900 | 11100 11000 | 682 789 | 916 542 | 402,9 | 319 | 415600 | 8150 | |||||
| 1120×10-УТо 1120×10-УТг | 1120 | 10 | УТо1324 УТг1589 | УТо1355 УТг1620 | 456,3 448,7 | 362 356 | 543400 538200 | 9705 9610 | 747 855 | 825 449 | 1456 | 310,7 | 246 | 371300 | 6630 | |
| 1120×11-УТо 1120×11-УТг | 11 | 490,8 483,2 | 389 383 | 595600 590300 | 10635 10540 | 747 854 | 859 483 | 334,4 | 265 | 407100 | 7270 | |||||
| 1120×12-УТо 1120×12-УТг | 12 | 525,3 517,7 | 416 410 | 647400 642100 | 11560 11465 | 746 854 | 894 518 | 358,0 | 284 | 442700 | 7905 | |||||
| 1120×13-УТо 1120×13-УТг | 13 | 559,7 552,1 | 444 438 | 699000 693700 | 12480 12385 | 745 853 | 928 552 | 381,7 | 303 | 478100 | 8535 | |||||
| 1120×14УТо 1120×14-УТг | 14 | 594,0 586,4 | 471 465 | 750200 745000 | 13395 13305 | 745 852 | 962 586 | 405,2 | 321 | 513300 | 9165 | |||||
Продолжение таблицы
| Шпунтовые профили ШТС и ШТСу | Характеристики профилей | Характеристики шпунтовой стены длиной | ||||||||||||||
| Размеры поперечного сечения | Площадь поперечного сечения | Macca2) | Справочные значения величин | |||||||||||||
| диаметр трубы | толщина стенки трубы | ширина профиля | для оси 0-03) | для расчета сопротивления грунта погружению профиля | шаг профилей в шпунтовой стене | площадь поперечного сечения | удельный расход стали | справочные значения величин для оси 0-0 | ||||||||
| расчетная | полная | |||||||||||||||
| периметр | площадь торца | |||||||||||||||
| D, мм | t, мм | Вр, мм | В, мм | см2 | кг | J0, см4 | W0, см3 | см | см2 | l | см2 | кг/см2 | J0, см4 | W0, см3 | ||
|
| Свая ШТС с замковым элементом УТ | |||||||||||||||
| 530×9-ПБо 530×9-ПБг | 530 | 9 | ПБо842 ПБг928 | ПБо884 ПБг970 | 248,8 213,6 | 197 169 | 51500 50100 | 1945 1890 | 398 435 | 494 214 | 885 | 261,3 | 207 | 57400 | 2165 | |
| 530×10-ПБо 530×10-ПБг | 10 | 264,9 229,7 | 210 182 | 56800 55300 | 2145 2090 | 397 435 | 510 230 | 279,5 | 222 | 63300 | 2390 | |||||
| 530×11-ПБо 530×11-ПБг | 11 | 280,9 245,6 | 223 195 | 62000 60500 | 2340 2285 | 397 434 | 526 246 | 297,5 | 236 | 69200 | 2610 | |||||
| 530×12-ПБо 530×12-ПБг | 12 | 296,8 261,6 | 235 207 | 67100 65600 | 2530 2475 | 396 433 | 542 262 | 315,5 | 250 | 75000 | 2830 | |||||
| 630×9-ПБо 630×9-ПБг | 630 | 9 | ПБо943 ПБг1028 | ПБо985 ПБг1070 | 277,1 241,9 | 220 192 | 86200 84700 | 2735 2690 | 461 498 | 523 242 | 985 | 263,4 | 209 | 86700 | 2755 | |
| 630×10-ПБо 630×10-ПБг | 10 | 296,3 261,1 | 235 207 | 95200 93700 | 3020 2975 | 460 498 | 542 261 | 282,8 | 224 | 95800 | 3040 | |||||
| 630×11-ПБо 630×11-ПБг | 11 | 315,4 280,2 | 250 222 | 104000 102600 | 3300 3255 | 460 497 | 561 280 | 302,2 | 240 | 104800 | 3330 | |||||
| 630×12-ПБо 630×12-ПБг | 12 | 334,5 299,3 | 265 237 | 112800 111400 | 3580 3535 | 459 496 | 580 299 | 321,6 | 255 | 113800 | 3610 | |||||
| 720×10-ПБо 720х10-ПБг | 720 | 10 | ПБо1034 ПБг1118 | ПБо1076 ПБг1160 | 324,6 289,3 | 257 229 | 142100 140700 | 3950 3905 | 517 554 | 571 289 | 1076 | 285,4 | 226 | 131500 | 3650 | |
| 720×11-ПБо 720×11-ПБг | 11 | 346,5 311,3 | 275 247 | 155500 154100 | 4320 4280 | 516 553 | 593 311 | 305,8 | 242 | 143900 | 4000 | |||||
| 720×12-ПБо 720×12-ПБг | 12 | 368,4 333,2 | 292 264 | 168800 167400 | 4690 4650 | 516 553 | 615 333 | 326,2 | 259 | 156300 | 4340 | |||||
| 720×13-ПБо 720×13-ПБг | 13 | 390,3 355,0 | 309 281 | 182000 180600 | 5055 5015 | 515 552 | 637 355 | 346,4 | 275 | 168500 | 4680 | |||||
| 820×10-ПБо 820×10-ПБг | 820 | 10 | ПБо1134 ПБг1218 | ПБо1176 ПБг1260 | 356,0 320,8 | 282 254 | 210300 208800 | 5130 5095 | 580 617 | 603 321 | 1176 | 278,8 | 228 | 178200 | 4345 | |
| 820×11-ПБо 820×11-ПБг | 11 | 381,1 345,9 | 302 274 | 230300 228800 | 5615 5580 | 579 616 | 628 346 | 309,1 | 245 | 195200 | 4760 | |||||
| 820×12-ПБо 820×12-ПБг | 12 | 406,1 370,9 | 322 294 | 250200 248700 | 6100 6065 | 578 616 | 653 371 | 330,4 | 262 | 212200 | 5175 | |||||
| 820×13-ПБо 820×13-ПБг | 13 | 431,1 395,9 | 342 314 | 269900 268500 | 6585 6550 | 578 615 | 678 396 | 351,7 | 279 | 228900 | 5585 | |||||
Продолжение таблицы
| Шпунтовые профили ШТС и ШТСу | Характеристики профилей | Характеристики шпунтовой стены длиной | ||||||||||||||
| Размеры поперечного сечения | Площадь поперечного сечения | Масса2) 1м | Справочные значения величин | |||||||||||||
| диаметр трубы | толщина стенки трубы | ширина профиля | для оси 0-03) | для расчета сопротивления грунта погружению профиля | шаг профилей в шпунтовой стене | поперечного сечения | удельный расход стали | справочные значения величин для оси 0-0 | ||||||||
| расчетная | полная | |||||||||||||||
| периметр | площадь торца | |||||||||||||||
| D, мм | t, мм | Bр, мм | B, мм | см2 | кг | J0, см4 | W0, см3 | см | см2 | l | см2 | кг/см2 | J0, см4 | W0, см3 | ||
| 920×10-ПБо 920×10-ПБг | 920 | 10 | ПБо1234 ПБг318 | ПБо1277 ПБг1360 | 387,4 352,2 | 307 279 | 297500 296000 | 6465 6435 | 643 680 | 635 352 | 1276 | 289,8 | 230 | 232600 | 5055 | |
| 920×11-ПБо 920×11-ПБг | 11 | 415,6 380,4 | 330 302 | 326000 324600 | 7090 7055 | 642 679 | 663 330 | 311,9 | 247 | 254900 | 5540 | |||||
| 920×12-ПБо 920×12-ПБг | 12 | 443,6 408,6 | 352 324 | 354400 352900 | 7705 7670 | 691 678 | 691 409 | 334,0 | 265 | 277200 | 6025 | |||||
| 920×13-ПБо 920×13-ПБг | 13 | 472,0 436,7 | 374 346 | 382500 381100 | 8315 8285 | 641 678 | 719 437 | 356,0 | 282 | 299200 | 6505 | |||||
| 920×14-ПБо 920×14-ПБг | 14 | 500,0 464,8 | 396 368 | 410500 409000 | 8925 8890 | 640 677 | 747 465 | 378,0 | 300 | 321100 | 6980 | |||||
| 1020×10-ПБо 1020×10-ПБг | 1020 | 10 | ПБо1335 ПБг418 | ПБо1377 ПБг1460 | 418,8 383,6 | 332 304 | 406200 404700 | 7965 7935 | 705 743 | 667 384 | 1376 | 291,5 | 231 | 294600 | 5775 | |
| 1020×11-ПБо 1020×11-ПБг | 11 | 450,2 415,0 | 357 329 | 445300 443900 | 8730 8705 | 705 742 | 698 415 | 314,3 | 249 | 323000 | 6335 | |||||
| 1020×12-ПБо 1020×12-ПБг | 12 | 481,5 446,3 | 382 354 | 484200 482800 | 9495 9465 | 704 741 | 729 446 | 337,1 | 267 | 351300 | 6890 | |||||
| 1020×13-ПБо 1020×13-ПБг | 13 | 512,8 477,6 | 407 379 | 522900 521500 | 10255 10225 | 703 741 | 761 478 | 359,8 | 285 | 379500 | 7440 | |||||
| 1020×14-ПБо 1020×14-ПБг | 14 | 544,0 508,7 | 431 403 | 561400 559900 | 11010 10980 | 703 740 | 792 509 | 382,5 | 303 | 407400 | 7990 | |||||
| 1120×10-ПБо 1120×10-ПБг | 1120 | 10 | ПБо1435 ПБг518 | ПБо1477 ПБг1560 | 450,2 415,0 | 357 329 | 538700 537200 | 9620 9595 | 768 805 | 698 415 | 1476 | 293,0 | 232 | 364400 | 6505 | |
| 1120×11-ПБо 1120×11-ПБг | 11 | 484,8 449,5 | 384 356 | 590800 589300 | 10550 10525 | 768 805 | 733 450 | 316,4 | 251 | 399700 | 7135 | |||||
| 1120×12-ПБо 1120×12-ПБг | 12 | 519,2 484,0 | 412 384 | 642600 641200 | 11475 11450 | 767 804 | 767 484 | 339,8 | 269 | 434800 | 7765 | |||||
| 1120×13-ПБо 1120×13-ПБг | 13 | 553,6 518,4 | 439 411 | 694200 692700 | 12395 12370 | 766 804 | 802 518 | 363,1 | 288 | 469700 | 8390 | |||||
| 1120×14-ПБо 1120×14-ПБг | 14 | 588,0 552,7 | 466 438 | 745500 744000 | 13310 13285 | 766 803 | 836 553 | 386,3 | 306 | 504500 | 9010 | |||||
Продолжение таблицы
| Шпунтовые профили ШТС и ШТСу | Характеристики профилей | Характеристики шпунтовой стены длиной | ||||||||||||||
| Размеры поперечного сечения | Площадь поперечного сечения | Масса3) | Справочные значения величин | |||||||||||||
| диаметр | толщина стенки трубы | ширина профиля | для оси 0-03) | для расчета сопротивления грунта погружению профиля | шаг профилей в шпунтовой стене | площадь поперечного сечения | удельный расход стали | справочные значения величин для оси 0-0 | ||||||||
| расчетная | полная | |||||||||||||||
| периметр | площадь торца | |||||||||||||||
| D, мм | t, мм | Bр, мм | В, мм | см2 | кг | J0, см4 | W0, см3 | см | см2 | l | см2 | кг/см2 | J0, см4 | W0, см3 | ||
|
| Свая ШТС с замковым элементом FL-511 | |||||||||||||||
| 530×8-FL511 | 530 | 8 | 1030 | 1050 | 219,5 | 172,1 | 44945,0 | 1696,0 | 470,6 | 639,8 | 1050 | 213,1 | 167,0 | 42804,8 | 1615,3 | |
| 530×10-FL511 | 10 | 251,6 | 197,3 | 50246,7 | 1896,1 | 470,0 | 244,3 | 191,5 | 47854,0 | 1805,8 | ||||||
| 630×8-FL511 | 630 | 8 | 1130 | 1150 | 244,6 | 191,8 | 75862,0 | 2408,3 | 533,5 | 867,6 | 1150 | 216,5 | 169,7 | 65967,0 | 2094,2 | |
| 630×10-FL511 | 10 | 283,0 | 221,9 | 93865,1 | 2979,8 | 532,8 | 250,5 | 196,4 | 81621,8 | 2591,2 | ||||||
| 720×8- FL511 | 720 | 8 | 1220 | 1240 | 267,2 | 209,5 | 113653,6 | 3157,0 | 590,0 | 1106,1 | 1240 | 219,0 | 171,7 | 91656,1 | 2546,0 | |
| 720×9-FL511 | 9 | 289,3 | 226,8 | 127297,1 | 3536,0 | 589,7 | 237,1 | 185,9 | 102659,0 | 2851,6 | ||||||
| 720×10-FL511 | 10 | 311,3 | 244,1 | 140824,5 | 3911,8 | 589,4 | 255,2 | 200,1 | 113568,1 | 3154,7 | ||||||
| 720×12-FL511 | 12 | 355,2 | 278,5 | 167533,6 | 4653,7 | 588,7 | 291,1 | 228,2 | 135107,7 | 3753,0 | ||||||
| 820×10-FL511 | 820 | 10 | 1320 | 1340 | 342,7 | 268,7 | 208969,3 | 5096,8 | 652,2 | 1408,5 | 1340 | 259,6 | 203,6 | 155947,2 | 3803,6 | |
| 820×12-FL511 | 12 | 392,9 | 308,0 | 248881,2 | 6070,3 | 651,6 | 297,6 | 233,3 | 185732,2 | 4530,1 | ||||||
| 820×14-FL511 | 14 | 442,8 | 347,1 | 288195,8 | 7029,2 | 651,0 | 335,4 | 263,0 | 215071,5 | 5245,6 | ||||||
| 1020×10-FL511 | 1020 | 10 | 1520 | 1540 | 405,6 | 318,0 | 404879,1 | 7938,8 | 777,9 | 2131,1 | 1540 | 266,8 | 209,2 | 262908,5 | 5155,1 | |
| 1020×12-FL511 | 12 | 468,3 | 367,1 | 482948,9 | 9469,6 | 777,2 | 308,1 | 241,5 | 313603,2 | 6149,1 | ||||||
| 1020×14- FL511 | 14 | 530,7 | 416,1 | 560083,8 | 10982,0 | 776,6 | 349,2 | 273,7 | 363690,8 | 7131,2 | ||||||
| 1120×12-FL511 | 1120 | 12 | 1620 | 1640 | 506,0 | 396,7 | 641319,9 | 11452,0 | 840,1 | 2551,3 | 1640 | 312,3 | 244,9 | 391048,7 | 6983,0 | |
| 1120×14-FL511 | 14 | 574,7 | 450,6 | 744155,4 | 13288,0 | 839,4 | 354,8 | 278,1 | 453753,3 | 8102,7 | ||||||
| 1220×12-FL511 | 1220 | 12 | 1720 | 1740 | 543,7 | 426,2 | 831018,8 | 13623,0 | 902,9 | 3010,7 | 1740 | 316,1 | 247,8 | 477597,0 | 7829,5 | |
| 1220×14-FL511 | 14 | 618,7 | 485,1 | 964710,4 | 15814,0 | 902,3 | 359,7 | 282,0 | 554431,3 | 9089,0 | ||||||
| 1420×12-FL511 | 1420 | 12 | 1920 | 1940 | 619,1 | 485,4 | 1315710,0 | 18531,0 | 1028,6 | 4047,5 | 1940 | 322,4 | 252,8 | 678201,0 | 9552,1 | |
| 1420×14-FL511 | 14 | 706,7 | 554,0 | 1528465,0 | 21527,0 | 1027,9 | 368,1 | 288,6 | 787868,6 | 11096,7 | ||||||
| 1420×16-FL511 | 16 | 794,0 | 622,5 | 1739393,0 | 24498,0 | 1027,3 | 413,5 | 324,2 | 896594,3 | 12628,1 | ||||||
Окончание таблицы
| Шпунтовые профили ШТС и ШТСу | Характеристики профилей | Характеристики шпунтовой стены длиной | ||||||||||||||
| Размеры поперечного сечения | Площадь поперечного сечения | Масса2) | Справочные значения величин | |||||||||||||
| диаметр трубы | толщина стенки трубы | ширина профиля | для оси 0-03) | для расчета сопротивления грунта погружению профиля | шаг профилей в шпунтовой стене | площадь поперечного сечения | удельный расход стали | справочные значения величин для оси 0-0 | ||||||||
| расчетная | полная | |||||||||||||||
| периметр | площадь торца | |||||||||||||||
| D, мм | t, мм | Bр, мм | B, мм | см2 | кг | J0, см4 | W0, см3 | см | см2 | l | см2 | кг/см2 | J0, см4 | W0, см3 | ||
|
| Свая ШТС с замковым элементом FL-512 | |||||||||||||||
| 530×8-FL512 | 530 | 8 | 1030 | 1050 | 223,3 | 175,1 | 44945,0 | 1696,0 | 470,8 | 643,7 | 1050 | 216,8 | 170.0 | 42804,8 | 1615,3 | |
| 530×10-FL512 | 10 | 255,5 | 200,3 | 50246,7 | 1896,1 | 470,2 | 248,0 | 194,5 | 47854,0 | 1805,8 | ||||||
| 630×8-FL512 | 630 | 8 | 1130 | 1150 | 248,4 | 194,8 | 75862,0 | 2408,3 | 533,6 | 871,4 | 1150 | 219,9 | 172,4 | 65967,0 | 2094,2 | |
| 630×10-FL512 | 10 | 286,9 | 224,9 | 93865,1 | 2979,8 | 533,0 | 253,9 | 199,0 | 81621,8 | 2591,2 | ||||||
| 720×8-FL512 | 720 | 8 | 1220 | 1240 | 271,1 | 212,5 | 113653,6 | 3157,0 | 590,2 | 1110 | 1240 | 222,2 | 174,2 | 91656,1 | 2546,0 | |
| 720×9-FL512 | 9 | 293,1 | 229,8 | 127297,1 | 3536,0 | 589,8 | 240,3 | 188,4 | 102659,0 | 2851,6 | ||||||
| 720x10-FL512 | 10 | 315,2 | 247,1 | 140824,5 | 3911,8 | 589,5 | 258,3 | 202,5 | 113568,1 | 3154,7 | ||||||
| 720×12-FL512 | 12 | 359,0 | 281,5 | 167533,6 | 4653,7 | 588,9 | 294,3 | 230,7 | 135107,7 | 3753,0 | ||||||
| 820×10-FL512 | 820 | 10 | 1320 | 1340 | 346,6 | 271,7 | 208969,3 | 5096,8 | 652,4 | 1412,4 | 1340 | 262,6 | 205,8 | 155947,2 | 3803,6 | |
| 820×12-FL512 | 12 | 396,7 | 311,0 | 248881,2 | 6070,3 | 651,7 | 300,5 | 235,6 | 185732,2 | 4530,1 | ||||||
| 820×14-FL512 | 14 | 446,6 | 350,1 | 288195,8 | 7029,2 | 651,1 | 338,3 | 265,3 | 215071,5 | 5245,6 | ||||||
| 1020×10-FL512 | 1020 | 10 | 1520 | 1540 | 409,4 | 321,0 | 404879,1 | 7938,8 | 778,0 | 2134,9 | 1540 | 269,3 | 211,2 | 262908,5 | 5155,1 | |
| 1020×12-FL512 | 12 | 472,1 | 370,1 | 482948,9 | 9469,6 | 777,4 | 310,6 | 243,5 | 313603,2 | 6149,1 | ||||||
| 1020×14-FL5I2 | 14 | 534,6 | 419,1 | 560083,8 | 10982,0 | 776,8 | 351,7 | 275,7 | 363690,8 | 7131,2 | ||||||
| 1120×12-FL512 | 1120 | 12 | 1620 | 1640 | 509,8 | 399,7 | 641319,9 | 11452,0 | 840,2 | 2555,1 | 1640 | 314,7 | 246,7 | 391048,7 | 6983,0 | |
| 1120×14-FL512 | 14 | 578,6 | 453,6 | 744155,4 | 13288,5 | 839,6 | 357,1 | 280,0 | 453753,3 | 8102,7 | ||||||
| 1220×12-FL512 | 1220 | 12 | 1720 | 1740 | 547,5 | 429,3 | 831018,8 | 13623,3 | 903,1 | 3014,6 | 1740 | 318,3 | 249,6 | 477597,0 | 7829,5 | |
| 1220×14-FL512 | 14 | 622,5 | 488,1 | 964710,4 | 15814,9 | 902,4 | 361,9 | 283,8 | 554431,3 | 9089,0 | ||||||
| 1420×12-FL512 | 1420 | 12 | 1920 | 1940 | 622,9 | 488,4 | 1315710,00 | 18531,1 | 1028,7 | 4051,3 | 1940 | 324,4 | 254,4 | 678201,0 | 9552,1 | |
| 1420×14-FL512 | 14 | 710,5 | 557,0 | 1528465,0 | 21527,7 | 1028,1 | 370,1 | 290,1 | 787868,6 | 11096,7 | ||||||
| 1420×16-FL512 | 16 | 797,8 | 625,5 | 1739393,0 | 24498,5 | 1027,5 | 415,5 | 325,8 | 896594,3 | 12628,1 | ||||||
1)Для замков УТ втаблице принято исполнение 1 по таблице 2. В приложении А даны формулы длярасчета характеристик профилей с замками УТ исполнений 2 и 3
2)С учетом наплавленного металла (сварныешвы) и L = L3
3)Даны значения Jo и Wорядовых профилей ШТС. Для угловых профилей ШТСу эти характеристики определяютпри проектировании шпунтовой стены
| Профиль ШТС1), тип замка | Ширина профиля, мм | Масса, кг | Момент сопротивления профиля Wo, см3 | Предельная нагрузка замка, тс/п.м. | Показатель эффективности |
| ||
| | | |||||||
| N 3) | M 4) |
| ||||||
| Л4 (рисунок 3) | 1156 | 249,0 | 222,3 | 4105,7 | 67,3 | 0,82 | 16,5 |
|
| Л5 (рисунок 4) | 1186 | 275,0 | 231,9 | 4240,4 | 74,9 | 0,91 | 15,4 |
|
| ШК-1 (рисунок 5) | 1118 | 224,7 | 197,7 | 3924,6 | 306,7 | 3,71 | 17,5 |
|
| УТ | 916 | 262,0 | 246,0 | 4080 | 120,0 | 1,45 | 15,6 |
|
| FL-511 (рисунок 9) | 1240 | 244,1 | 200,1 | 3911,8 | 445,0 | 5,4 | 16,0 |
|
| JIS 55302) | 778 | 219,0 (труба) | 281,0 | 4780 | 82,5 | 1,0 | 17,0 |
|
1)В таблице приведены сравнительныехарактеристики шпунтовых стен из ШТС на основе труб диаметром
2)В Стандарте Японии JIS 5530 ШТС на основе трубы диаметром
3)N - показатель эффективности замкового соединения ШТС,предельная разрывающая нагрузка для замкового соединения профиля / то же для JIS 5530;
4)М - показатель эффективности использования стали впрофиле ШТС, момент сопротивления (табл. 1, Wo) см3/масса 1м длины ШТС в кг.
В.1 Необходимую минимальную энергию удара молота Eh, кДж,следует определять по формуле
Еh = 0,045N, (В.1)
где N- расчетная нагрузка, передаваемая на ШТС, кН.
Принятый тип молота с расчетной энергией удара Ed > Еh, кДж,должен удовлетворять условию
(В.2)
где К- коэффициент применимости молота, значения которого приведены в табл.1;
m1 - масса молота, т;
m2 - масса ШТС с наголовником, т;
m3 - масса подбабка, т.
Таблица В.1
| Тип молота | Коэффициент К, т/кДж |
| Трубчатые дизель-молоты и молоты двойного действия | 0,55 |
| Молоты одиночного действия и штанговые дизель-молоты | 0,4 |
| Подвесные молоты и гидромолоты | 0,25 |
| Примечание - При погружении свай любого типа с подмывом, а также ШТС из стальных труб с открытым нижним концом указанные значения коэффициентов увеличиваются в 1,5 раза. | |
В.2 При забивке наклонныхШТС расчетную энергию молота Еh, следуетопределять с учетом повышенного коэффициента, значение которого принимается дляШТС с наклоном 5:1; 4:1; 3:1; 2:1 равным соответственно 1,1; 1,15; 1,25; и 1,4.
При выборе молота для забивки ШТС значение N определяется расчетом так же, как идля ШТС, в соответствии с указаниями СНиП 2.02.05-85, причемзначения коэффициентов условия работ γс, γcR и γсf при этом расчете следует принимать равными1,0.
В.3 Выбранный в соответствии срекомендациями В.1 молот следует проверить на минимально допустимый отказсвайного элемента Smin, который принимается равным минимальнодопустимому отказу для данного типа молота, указанному в его техническом паспорте,но не менее
Выбор молота при забивке ШТС длиной свыше
В.4 Забивку ШТС до проектных отметок следуетвыполнять, как правило, без применения лидерных скважин и без подмыва путемиспользования соответствующего сваебойного оборудования. Применение лидерныхскважин допускается только в тех случаях, когда для погружения ШТС до проектныхотметок требуются молоты с большой массой ударной части, а также при прорезкесваями просадочных грунтов.
Значение необходимой энергии удара молота Eh, кДж, обеспечивающей погружение ШТС допроектной отметки без дополнительных мероприятий, следует определять по формуле
(В.3)
где Fi - несущая способность ШТС в пределах i-гo слоя грунта, кН;
Hi - толщина i-го слоя грунта, м;
Bi - число ударов молота, необходимое для погружения ШТС, принимаемое обычноравным не более 500 ударов;
n - параметр, принимаемый равным n = 4,5 припаровоздушных механических и штанговых дизель-молотах и h = 5,5 при трубчатых дизель-молотах;
m2 - масса ШТС, т;
m4 = масса ударной части молота, т.
В.5 При проверке контрольных отказов в случаях, когдав проекте дана только расчетная нагрузка на ШТС N, кН, несущую способность ШТС Fd, кН,следует принимать равной
Fd = γkN, (B.4)
где γk - коэффициентнадежности, равный 1,25.
Г.1 Значение необходимой вынуждающей силы вибропогружателя Fo, кН, определяют по формуле
(Г.1)
где Fd - сопротивление грунтапогружению шпунта, кН, определяемое так же, как и несущая способность сваи всоответствии с указаниями СНиП2.02.03, при этом расчётные значения периметра сечения шпунта и площадинижнего торца принимаются по приложению А;
Gn - суммарный вес вибросистемы, включая динамический вес вибропогружателя,зажимов и панели, кН;
Gc -статический вес вибропогружателя, кН;
Gk -вдавливающее усилие на панель от копра, кН;
Ks -коэффициент снижения бокового сопротивления грунта во время вибропогружения,принимаемый по таблице Г.1.
Г.2 По принятой необходимой вынуждающей силе Fo следуетподбирать тот вибропогружатель наименьшей мощности, у которого статическиймомент массы дебалансов Кm (или промежуточное значение Кm для вибропогружателя с регулируемыми параметрами), кг×м, удовлетворяет условию
Кm3МсАо/100, (Г.2)
где Мс- суммарная масса вибросистемы, включая динамическую массу вибропогружателя,зажимов и шпунтины, кг;
Ао - необходимая амплитуда колебанийвибросистемы при отсутствии сопротивления грунта, см; принимается по таблицеГ.2.
При окончательном выборе типа вибропогружателяследует учитывать, что при равной вынуждающей силе большей погружающейспособностью обладает вибропогружатель с большим статическим моментом массыдебалансов Кm , а при прочих равных условиях следует выбирать вибропогружатель срегулируемыми в процессе работы параметрами.
Таблица Г.1Коэффициент снижения бокового сопротивления грунта Ks
| Коэффициент Ks для грунтов | ||||||||
| песчаных влажных средней плотности | ||||||||
| гравелистых | крупных | средних | пылеватых | мелких | ||||
| 2,6 | 3,2 | 4,9 | 5,6 | 6,3 1 | ||||
| глинистых с показателем текучести IL | ||||||||
| 0 | 0,1 | 0,2 | 0,3 | 0,4 | 0,5 | 0,6 | 0,7 | 0,8 |
| 1,3 | 1,4 | 1,5 | 1,7 | 2,0 | 2,5 | 3,0 | 3,3 | 3,5 |
| Примечания: 1 Для водонасыщенных крупных песков значения Ks увеличиваются в 1,2 раза, средних песков - в 1,3 раза, мелких и пылеватых - в 1,5 раза. 2 Для заиленных песков значения Кs понижаются в 1,2 раза. 3 Для плотных песков значения Кs понижаются в 1,2 раза, а для рыхлых - увеличиваются в 1,1 раза. 4 Для промежуточных значений показателей текучести глинистых грунтов значения Кs определяются интерполяцией. 5 При слоистом напластовании грунтов коэффициент Кs определяется, как средневзвешенный по глубине. | ||||||||
Таблица Г.2Необходимая амплитуда вибросистемы при отсутствии сопротивления грунта
| Характеристика прорезаемых шпунтом грунтов | Аo, см, при глубине погружения панели: | |
| до | свыше | |
| Водонасыщенные пески и супеси, илы, мягко- и текучепластичные, пылевато-глинистые грунты с показателем текучести IL > 0,5 | 0,35 | 0,45 |
| Влажные пески, супеси, тугопластичные, пылевато-глинистые грунты с показателем текучести IL > 0,3 | 0,5 | 0,6 |
| Полутвердые и твердые, пылевато-глинистые грунты, гравелистые маловлажные плотные пески | 0,7 | 0,8 |
| Примечание - При слоистом напластовании грунтов значение Аo принимается для слоя самого прочного грунта из числа прорезаемых слоев. | ||
А. Приприёмке разбивочных работ
1. Схемы разбивки и привязки к опорнымпунктам (или к магистральной линии) основных осей сооружения.
2. Каталог геодезических знаков.
3. Журналы измерений углов и линий.
4. Журналы нивелировки.
Б. Приприёмке шпунтовой стенки
1. Проектные чертежи с геологическими(гидрогеологическими) профилями.
2. Рабочие чертежи шпунтовых элементов.
3. Исполнительный схематический планзабитых шпунтовых элементов с указанием на нем границ сдаваемого участка,основных разбивочных линий, величин отклонений в плане забитых шпунтовыхэлементов от проектного положения.
4. Продольные профили по линиям забитыхшпунтин с указанием фактических и проектных отметок низа и верха шпунтин.
5. Результаты динамических и статическихиспытаний ШТС.
6. Паспорта заводов-изготовителей нашпунтовые элементы.
7. Акты освидетельствования шпунтовыхэлементов до их погружения в грунт.
8. Акты освидетельствования и приемкишпунтовой стенки.
9. Журналы забивки ШТС.
10. Сводная ведомость забитых ШТС.
11. Журналы погружения шпунтины.
12. Журналы вибропогружения ШТС.
13. Сводная ведомость погружения ШТС.
Ключевые слова: стандарт, шпунт трубчатый сварной,производство работ, стена, вибропогружение, забивка.