Документ предназначен для научно-исследовательских и проектных организаций гидротехнического профиля, экспертных центров по безопасности гидротехнических сооружений, органов, осуществляющих надзор за безопасностью гидротехнических сооружений, а также для лиц, отвечающих за надежную и безопасную эксплуатацию гидротехнических сооружений, страховых, аудиторских и оценочных компаний.
| Обозначение: | СТП ВНИИГ 210.02.НТ-04 |
| Название рус.: | Методические указания по проведению анализа риска аварий гидротехнических сооружений |
| Статус: | действует |
| Заменяет собой: | СТП ВНИИГ 230.2.001-00 |
| Дата актуализации текста: | 05.05.2017 |
| Дата добавления в базу: | 01.09.2013 |
| Утвержден: | 19.11.2004 ОАО ВНИИГ им. Б.Е. Веденеева |
| Ссылки для скачивания: |
ОАО «Всероссийский научно-исследовательский институт
гидротехники им. Б.Е. Веденеева»
|
УТВЕРЖДАЮ Е.H. Беллендир |
СТАНДАРТ ПРЕДПРИЯТИЯ
МЕТОДИЧЕСКИЕ УКАЗАНИЯ
ПО ПРОВЕДЕНИЮ АНАЛИЗА РИСКА АВАРИЙ
ГИДРОТЕХНИЧЕСКИХ СООРУЖЕНИЙ
СТП ВНИИГ 210.02.НТ-04
Взамен СТП ВНИИГ2З0.2.001-00
Санкт-Петербург
2005
Срок действия стандарта - 31 декабря 2007 г.
Одобрены решением Ученого совета ОАО «ВНИИГ им. Б.Е. Веденеева» - протокол № 12 от 19.11.04.
«Методические указания по проведению анализа риска аварий гидротехнических сооружений» разработаны ОАО «ВНИИГ им. Б.Е. Веденеева» в соответствии с требованиями Федерального Закона «О безопасности гидротехнических сооружений», на основе мирового опыта оценки риска гидротехнических сооружений и практических разработок в этой области, выполненных сотрудниками института в последние годы.
Методические указания устанавливают методические принципы, термины и определения анализа риска, сферу применения, основные требования к процедуре и оформлению результатов, представляют основные методы анализа и оценки риска аварий гидротехнических сооружений различных типов и классов, а также содержат ряд примеров анализа и оценки риска аварий конкретных сооружений.
Методические указания предназначены для научно-исследовательских и проектных организаций гидротехнического профиля, экспертных центров по безопасности гидротехнических сооружений, органов, осуществляющих надзор за безопасностью гидротехнических сооружений, а также для лиц, отвечающих за надежную и безопасную эксплуатацию гидротехнических сооружений, страховых, аудиторских и оценочных компаний.
Методические указания распространяются на плотины, здания гидроэлектростанций, водосбросные, водоспускные и водовыпускные сооружения, туннели, каналы, насосные станции, судоходные шлюзы, судоподъемники; сооружения, предназначенные для защиты от наводнений и разрушений берегов водохранилищ, берегов и дна русел рек; сооружения (дамбы), ограждающие хранилища жидких отходов промышленных и сельскохозяйственных организаций; устройства от размывов на каналах, а также другие сооружения, предназначенные для использования водных ресурсов и предотвращения вредного воздействия вод и жидких отходов.
В разработке Методических указаний принимали участие ведущие специалисты института.
Научный руководитель разработки - канд. техн. наук Е.Н. Беллендир.
Рецензент: доктор техн. наук С.Н. Добрынин.
ВВЕДЕНИЕ
«Методические указания по проведению анализа риска аварий гидротехнических сооружений» (далее - Методические указания) - первое издание [22] - были разработаны в ОАО «ВНИИГ им. Б.Е. Веденеева» в 2000 г. в соответствии с требованиями Федерального Закона «О безопасности гидротехнических сооружений» на основе анализа мирового опыта оценки риска гидротехнических сооружений (ГТС) и практических разработок в этой области, выполненных сотрудниками института в 1997 - 2000 гг. Методические указания были утверждены в качестве стандарта предприятия (СТП ВНИИГ 230.2.001-00).
Актуальность доработки и переиздания Методических указаний объясняется несколькими причинами. За время действия СТП ВНИИГ 230.2.001-00 накоплен обширный опыт декларирования безопасности отечественных гидротехнических сооружений, решения других вопросов обеспечения безопасности гидротехнических сооружений (так, например, Методические указания использовались при разработке более 170 деклараций безопасности ГТС объектов Министерства энергетики, Министерства природных ресурсов и Госгортехнадзора России).
В России и за рубежом в последние годы опубликован значительный ряд нормативных и методических документов, научных трудов, относящихся к указанной сфере. Продолжается активная деятельность Международного Комитета по большим плотинам (ICOLD) по формированию концепции и общих положений процедуры анализа и оценки риска аварий гидротехнических сооружений [65, 67, 71, 72, 74, 77]. Вышел ряд отечественных норм и правил по обеспечению безопасности ГТС [18 - 21, 27, 31, 33, 51], в соответствии с которыми требуется проведение анализа и оценки риска аварий гидротехнических сооружений.
Предметом Методических указаний является наиболее сложная стадия анализа риска аварий гидротехнических сооружений - анализ и оценка (качественная и/или количественная) ожидаемых вероятностей (среднегодовых частот) аварий, возможных на ГТС. Стадия анализа и оценки последствий аварий гидротехнических сооружений достаточно полно отражена в соответствующих методиках по расчетам волн прорыва, размеров зон затопления и величины ущерба от аварий гидротехнических сооружений [18, 19, 21, 27, 31, 34, 37, 38] и поэтому в настоящих Методических указаниях детально не рассматривается.
При разработке второго издания были учтены замечания и предложения, поступившие от специалистов и организаций, занимающихся вопросами обеспечения безопасности ГТС и использующих Методические указания в своей деятельности. Результаты применения подходов и методов, рекомендованных Методическими указаниями, обсуждались на совещаниях и семинарах, проводимых РАО «ЕЭС России», МПР России, Госгортехнадзором России, МЧС России, и опубликованы в научно-технической литературе [1 - 4, 24 - 26, 52, 53, 55, 56, 58 - 60, 64].
В новой редакции Методических указаний основное внимание уделено общим принципам и основным требованиям к процедуре, методам и оформлению результатов анализа риска аварий гидротехнических сооружений. Существенно расширена сфера применения документа с выходом в свет «Правил определения величины финансового обеспечения гражданской ответственности за вред, причиненный в результате аварии гидротехнического сооружения» [31] и проекта Закона «Об обязательном страховании гражданской ответственности владельцев гидротехнических сооружений за вред, причиненный в результате аварии». Методология анализа и оценки риска становится эффективным инструментом идентификации опасностей и обоснования сценариев аварий ГТС, а также оценки ущерба, являющейся основой определения размера вреда, который может быть причинен жизни, здоровью физических лиц, имуществу физических и юридических лиц в результате аварии гидротехнического сооружения.
Кроме того, методы анализа и оценки риска оказались весьма эффективными в разработках, связанных с анализом безопасности сложных природно-технических систем, включающих гидротехнические сооружения и опасные производственные объекты [52], а также при идентификации ГТС, подлежащих обязательному декларированию безопасности [24 - 26]. Основные подходы и принципы анализа риска применялись при разработке проекта целевой программы «Обеспечение безопасности гидротехнических сооружений Санкт-Петербурга на период 2004 - 2010 гг.» [53]. Весьма полезной и актуальной представляется роль анализа и оценки риска в целом ряде иных видов деятельности по обеспечению безопасности гидротехнических сооружений - таких, как выбор и обоснование проектных решений, оценка эффективности мероприятий по повышению безопасности ГТС, обоснование страховых тарифов и ставок и т.д.
Второе издание Методических указаний содержит общие методические положения, краткую характеристику методов анализа и оценки риска аварий ГТС, а также ряд примеров анализа и оценки риска аварий конкретных гидротехнических сооружений, иллюстрирующих возможности основных принципов, подходов и методов, изложенных в общих положениях. В ближайшее время планируется выпуск сборника методик анализа и оценки риска аварий гидротехнических сооружений, разработанных в ОАО «ВНИИГ им. Б.Е. Веденеева» для гидротехнических сооружений различных типов и назначения.
1.1. «Методические указания по проведению анализа риска аварий гидротехнических сооружений» распространяются на ГТС, входящие в сферу действия и определенные статьей 3 Федерального Закона «О безопасности гидротехнических сооружений» [13], а также СНиП 33-01-03 «Гидротехнические сооружения. Основные положения» [51].
1.2. Методические указания могут применяться при декларировании безопасности гидротехнических сооружений с целью идентификации ГТС, подлежащих обязательному декларированию безопасности, при разработке соответствующих разделов деклараций безопасности ГТС различных классов, типов и назначения.
1.3. Применение Методических указаний рекомендуется при разработке критериев безопасности ГТС для обоснования сценариев аварий, возможных на гидротехнических сооружениях, и оценке их вероятности и последствий при расчете вреда, который может быть причинен жизни, здоровью физических лиц, имуществу физических и юридических лиц в результате аварии гидротехнического сооружения, для обоснования страховых тарифов и ставок при заключении договоров страхования гражданской ответственности владельцев ГТС за вред, нанесенный при аварии гидротехнических сооружений.
1.4. Методические указания могут применяться при анализе безопасности сложных природно-технических систем, включающих гидротехнические сооружения и опасные производственные объекты или транспортные системы, в иных приложениях обеспечения безопасности при проектировании, строительстве, вводе в эксплуатацию, эксплуатации, реконструкции, восстановлении, консервации и ликвидации гидротехнических сооружений для оптимизации основных технических решений при проектировании новых и ремонтах или реконструкции эксплуатируемых ГТС.
1.5. Методические указания не определяют критерии допустимого риска аварий гидротехнических сооружений, устанавливаемые нормативным путем в соответствии с требованиями Федерального Закона «О безопасности гидротехнических сооружений». До выхода в свет федерального норматива в качестве значений допустимого риска аварий гидротехнических сооружений могут использоваться величины, приведенные в СНиП 33-01-2003 [51].
Нормативные ссылки
Необходимость анализа риска аварий гидротехнических сооружений устанавливается требованиями следующих законодательных и нормативных актов:
Федеральный Закон «О безопасности гидротехнических сооружений» № 117-ФЗ от 21.07.1997 г. [13];
Положение «О декларировании безопасности гидротехнических сооружений». Утверждено Постановлением Правительства РФ № 1303 от 06.11.1998 г. [30];
Правила декларирования безопасности гидротехнических сооружений, находящихся в ведении, собственности или эксплуатации топливно-энергетического комплекса РФ. Утверждены Приказом Минтопэнерго России № 232 от 12.07.1999 г. [32];
Порядок разработки и дополнительные требования к содержанию декларации безопасности гидротехнических сооружений на подконтрольных Госгортехнадзору России предприятиях (организациях) РД 03-268-99. Утвержден Постановлением Госгортехнадзора России № 17 от 25.02.99 г. [28];
Дополнительные требования к содержанию и форме декларации безопасности гидротехнических сооружений, поднадзорных МПР России. Утверждены приказом МПР России от 02.03.99 г. № 39 [11];
Правила декларирования безопасности судоходных гидротехнических сооружений. Утверждены Министерством транспорта России и согласованы с МЧС России 01.09.1999 г. № 33-2670-9 [33];
Методика определения критериев безопасности гидротехнических сооружений. РД-153-34.2-21.342-00. Утверждена Департаментом технической политики и развития РАО «ЕЭС России» [20];
Правила определения величины финансового обеспечения гражданской ответственности за вред, причиненный в результате аварии гидротехнического сооружения. Утверждены Постановлением Правительства РФ № 876 от 18.12.2001 г. [31];
Порядок определения размера вреда, который может быть причинен жизни, здоровью физических лиц, имуществу физических и юридических лиц в результате аварии гидротехнического сооружения. Утвержден совместным приказом МЧС России, Минэнерго России, Минтранса России и Госгортехнадзора России № 243/150/270/68/89 от 18.05.2002 [27].
2.1. Авария - опасное техногенное происшествие, создающее на объекте, определенной территории или акватории угрозу жизни и здоровью людей и приводящее к разрушению зданий, сооружений, оборудования и транспортных средств, нарушению производственного и транспортного процесса, а также нанесению ущерба окружающей природной среде [8].
2.2. Гидродинамическая авария - авария на гидротехническом сооружении, связанная с распространением с большой скоростью воды и создающая угрозу возникновения чрезвычайной ситуации [8].
2.3. Гидротехнические сооружения - плотины, здания гидроэлектростанций, водосбросные, водоспускные и водовыпускные сооружения, туннели, каналы, насосные станции, судоходные шлюзы, судоподъемники, сооружения, предназначенные для защиты от наводнений и разрушений берегов водохранилищ, берегов и дна русел рек; сооружения (дамбы), ограждающие хранилища жидких отходов промышленных и сельскохозяйственных организаций; устройства от размывов на каналах, а также другие сооружения, предназначенные для использования водных ресурсов и предотвращения вредного воздействия вод и жидких отходов [13].
2.4. Чрезвычайная ситуация - обстановка на определенной территории, сложившаяся в результате аварии гидротехнического сооружения, которая может повлечь или повлекла за собой человеческие жертвы, ущерб здоровью людей или окружающей природной среде, значительные материальные потери и нарушение условий жизнедеятельности людей [13].
2.5. Безопасность гидротехнических сооружений - свойство гидротехнических сооружений обеспечивать защиту жизни, здоровья и законных интересов людей, окружающей среды и хозяйственных объектов [13].
2.6. Декларация безопасности гидротехнического сооружения - документ, в котором обосновывается безопасность гидротехнического сооружения и определяются меры по обеспечению безопасности с учетом его класса [13].
2.7. Критерии безопасности гидротехнического сооружения - предельные значения количественных и качественных показателей состояния гидротехнического сооружения и условий его эксплуатации, соответствующие допустимому уровню риска аварии гидротехнического сооружения и утвержденные в установленном порядке федеральными органами исполнительной власти, осуществляющими государственный надзор за безопасностью гидротехнических сооружений [13].
2.8. Оценка безопасности гидротехнического сооружения - определение соответствия состояния гидротехнического сооружения и квалификации работников эксплуатирующей организации нормам и правилам, утвержденным в порядке, определенном Федеральным Законом «О безопасности гидротехнических сооружений» [13].
2.9. Допустимый уровень риска аварии гидротехнического сооружения - значение риска аварии гидротехнического сооружения, установленное нормативными документами [13].
2.10. Обеспечение безопасности гидротехнического сооружения - разработка и осуществление мер по предупреждению аварий гидротехнического сооружения [13].
2.11. Опасность аварии гидротехнического сооружения - угроза, возможность причинения вреда здоровью, жизни людей, имуществу и окружающей природной среде вследствие аварии гидротехнического сооружения [7, 17, 22, 23, 31].
2.12. Риск аварии гидротехнического сооружения - мера опасности, характеризующая возможность возникновения аварии гидротехнического сооружения и тяжесть ее последствий для здоровья, жизни людей, имущества и окружающей природной среды [7, 8, 12, 17, 74, 77].
2.13. Анализ риска аварии гидротехнического сооружения - процесс идентификации опасностей и оценки (качественной и/или количественной) частоты (вероятности) и последствий аварии гидротехнического сооружения для здоровья, жизни людей, имущества и окружающей природной среды [7, 8, 12, 17, 74, 77].
2.14. Идентификация опасностей аварии гидротехнического сооружения - процесс выявления и признания существования опасностей возникновения аварии гидротехнического сооружения и определения характеристик выявленных опасностей [7, 8, 12, 17, 74, 77].
2.15. Оценка риска аварии гидротехнического сооружения - процесс, используемый для определения частоты (вероятности) и степени тяжести последствий реализации опасностей аварии ГТС для здоровья, жизни людей, имущества и окружающей природной среды. Оценка риска аварии ГТС включает оценку частоты (вероятности) и последствий возможной аварии ГТС и сравнение полученных результатов с допустимым уровнем риска аварии гидротехнического сооружения [7, 8, 12, 17, 74, 77].
2.16. Ущерб от аварии гидротехнического сооружения - потери (убытки) в производственной и непроизводственной сфере жизнедеятельности человека, вред окружающей природной среде, причиненные в результате аварии гидротехнического сооружения и исчисляемые в натуральном и/или денежном эквиваленте [12, 19, 21, 22, 27, 29, 31, 74, 77].
2.17. Управление риском аварии гидротехнического сооружения - реализация оптимальной системы законодательных, экономических, технических, организационных и социально-психологических мер, направленных на снижение риска аварии гидротехнического сооружения [12, 57, 74, 77].
3.1. Анализ риска аварий гидротехнических сооружений является частью системного подхода к принятию организационно-технических решений, процедур и практических мер по предупреждению или уменьшению опасности аварий гидротехнических сооружений для жизни людей и их здоровья, ущерба имуществу и окружающей природной среде.
3.2. Анализ риска - центральное звено в процедурах обеспечения безопасности гидротехнических сооружений, базирующееся на всей доступной информации о сооружениях и определяющее меры по контролю за уровнем их безопасности. Процедура анализа риска - составная часть декларирования безопасности гидротехнических сооружений, экспертизы деклараций безопасности ГТС, определения критериев безопасности ГТС, расчета вероятного вреда, который может быть причинен третьим лицам в результате аварий, возможных на ГТС, экономического анализа безопасности гидротехнических сооружений по критериям «стоимость - безопасность - выгода», обоснования страховых ставок и тарифов, выбора приоритетов при планировании ремонтно-восстановительных работ и других видов оценки состояния гидротехнических сооружений и уровня их безопасности.
3.3. Методология анализа риска аварий сложных технических систем успешно применяется в ряде опасных отраслей промышленности - атомной энергетике, нефтехимии, производстве взрывчатых веществ и т.д. Широкое распространение методов анализа и оценки риска аварий в промышленности стало возможным на базе обширных данных об интенсивности отказов стандартных элементов и блоков технологического оборудования и систем противоаварийной защиты.
Необходимость учета разнообразной по характеру и полноте исходной информации о природно-климатических и социально-экономических условиях районов размещения ГТС, а также исключительное разнообразие условий их эксплуатации существенно затрудняют формализацию процедуры анализа и оценки риска аварий. При этом, если отказы затворов водосбросных сооружений весьма схожи с отказами оборудования в промышленности, поскольку возникают, как правило, при отказах элементов механического или электрического оборудования, стандартизованного в достаточной мере, то практически все виды отказов плотин и дамб при сверхрасчетных воздействиях на ГТС, а также вследствие нарушений устойчивости и прочности сооружений совершенно непохожи на таковые в промышленности. Особую сложность представляет анализ риска аварий ГТС в результате человеческого фактора (ошибочные действия персонала, запаздывание, бездействие в аварийных ситуациях, ошибки изысканий, проектирования, строительства и т.д.), который не поддается сегодня аналитическому моделированию ни в одной отрасли техногенной деятельности, но остается одной из главных причин аварий и неполадок.
3.4. Основная задача анализа риска аварий гидротехнических сооружений заключается в использовании всей доступной информации о сооружениях для оценки вероятности (среднегодовой частоты) и последствий для отдельных людей, групп населения, имущества и окружающей природной среды от реализации опасностей, свойственных авариям ГТС. По результатам анализа риска при необходимости разрабатываются рекомендации по повышению уровня безопасности анализируемых гидротехнических сооружений (рис. 1).
Анализ риска в обязательном порядке включает три основных стадии [12, 22, 23, 74, 77]:
1) идентификация опасностей - выявление всех возможных нежелательных явлений, процессов и событий, способных привести к аварии анализируемого сооружения; по результатам идентификации опасностей разрабатывается перечень сценариев аварий, возможных на сооружении;
Рис. 1. Основные составляющие процедуры анализа и оценки риска аварий ГТС
2) анализ частоты - оценка (качественная и/или количественная) среднегодовой вероятности реализации выявленных на предыдущей стадии нежелательных явлений, процессов и событий, а также основных сценариев аварий, возможных на сооружении;
3) анализ последствий - оценка (качественная и/или количественная) ущерба (вреда) от возможных на анализируемом гидротехническом сооружении аварий, наносимого персоналу объекта, населению, имуществу и окружающей природной среде.
3.5. Результаты анализа риска аварий гидротехнических сооружений позволяют получить объективную информацию о состоянии сооружений и уровне их безопасности, данные о наиболее опасных процессах и воздействиях на сооружение, способных привести к его аварии, обоснованные рекомендации по уменьшению риска аварий ГТС.
Для обеспечения качества и согласованности результатов процесс анализа риска аварий гидротехнических сооружений должен включать следующие основные этапы [12, 22, 23, 57, 74, 77]:
организация и планирование работ;
идентификация опасностей;
оценка риска;
разработка рекомендаций по уменьшению риска.
Содержание и основные требования к этапам анализа риска аварий гидротехнических сооружений приведены в пп. 4.1 - 4.4 настоящих Методических указаний. Каждый этап процедуры анализа риска аварий ГТС должен быть оформлен в соответствии с требованиями, изложенными в разделе 6 Методических указаний. Краткая характеристика методов, рекомендуемых для анализа и оценки риска аварий гидротехнических сооружений, приведена в Приложении 1.
4.1.1. На этапе организации и планирования работ по проведению анализа риска аварий конкретного гидротехнического сооружения необходимо [12, 22, 23, 74, 77]:
1) описать причины и проблемы, вызвавшие необходимость анализа риска ГТС;
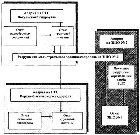
2) определить объект исследования - анализируемое сооружение или природно-техническую систему, формируемую на базе ГТС (рис. 2), и дать его описание;
3) подобрать необходимую группу исполнителей для проведения анализа риска аварий гидротехнического сооружения;
4) определить и описать источники информации о ГТС, территории его размещения, уровне его безопасности;
Рис. 2. Пример анализируемой природно-технической системы, формируемой на базе ГТС
5) указать ограничения исходных данных, финансовых ресурсов и других факторов, определяющих глубину, полноту и детальность процесса анализа риска аварий ГТС;
6) определить цели анализа риска аварий ГТС;
7) выбрать методы анализа риска с учетом целей исследования, объема и качества исходных данных о сооружении, состава группы исполнителей и уровня их квалификации;
8) определить (по возможности) критерии допустимого риска аварий ГТС данного типа, класса и назначения.
4.1.2. Экспертная группа для проведения анализа риска аварий гидротехнического сооружения, как правило, должна включать специалистов в области гидрологии, геотехники, проектирования ГТС, представителей эксплуатационного персонала сооружений и т.д. [22, 23, 53, 61, 67, 74, 77]. Координация действий рабочей группы должна выполняться специалистами в области анализа риска аварий гидротехнических сооружений.
4.1.3. Определение и описание источников информации о гидротехническом сооружении, территории его размещения, уровне его безопасности должно включать сведения о проектной и исполнительной документации, правилах эксплуатации сооружения, материалы отраслевой системы надзора за состоянием ГТС, данные об имевших место авариях и неполадках на исследуемом ГТС и подобных сооружениях, а также сведения о результатах анализа риска сооружений-аналогов (если таковые существуют).
4.1.4. Ограничения исходных данных, финансовых ресурсов и других факторов, определяющих глубину, полноту и детальность процесса анализа риска аварий гидротехнического сооружения, должны быть четко зафиксированы и обоснованы (например, отсутствие на объекте проектных и исполнительных документов на ГТС отрицательно скажется на результатах оценки соответствия параметров и состояния сооружения проекту, но при наличии временных и финансовых ресурсов может быть восполнено архивными материалами проектной организации).
4.1.5. Цели анализа риска аварий должны быть определены и зафиксированы на этапе организации и планирования работ, исходя из причин и проблем, вызвавших необходимость проведения анализа риска, с учетом ограничений исходных данных, финансовых ресурсов и других факторов [22, 23, 74, 77]. На разных этапах жизненного цикла гидротехнического сооружения могут определяться конкретные цели анализа риска.
На этапе проектирования гидротехнического сооружения целью анализа риска может быть:
идентификация возможных опасностей и априорная сравнительная оценка риска аварий ГТС для различных вариантов его размещения и проектных решений при обосновании оптимального варианта;
обоснование допустимости (приемлемости) риска аварий проектируемого ГТС для персонала, населения, имущества и окружающей природной среды территории;
обеспечение информацией для разработки инструкций по обеспечению безопасности проектируемого ГТС, планов ликвидации аварийных ситуаций, планов действий в чрезвычайных ситуациях (ЧС) и т.д.;
обоснование страховых тарифов и ставок для заключения договора страхования гражданской ответственности объекта - владельца ГТС;
разработка декларации безопасности проектируемого сооружения и т.д.
На этапе ввода в эксплуатацию гидротехнического сооружения целью анализа риска может быть:
идентификация возможных опасностей и оценка риска аварий, возможных на этапе ввода ГТС в эксплуатацию, уточнение оценок риска, полученных на предыдущих этапах жизненного цикла объекта;
корректировка графика завершения строительства ГТС и уточнение степени готовности сооружений к вводу в эксплуатацию;
проверка соответствия условий ввода ГТС в эксплуатацию требованиям безопасности;
разработка и уточнение инструкций по вводу в эксплуатацию ГТС;
разработка декларации безопасности ГТС на стадии ввода в эксплуатацию;
уточнение плана мероприятий по предотвращению аварийных ситуаций на ГТС, локализации и ликвидации последствий чрезвычайных ситуаций и т.д.
На этапе эксплуатации и реконструкции гидротехнического сооружения целью анализа риска может быть:
уточнение информации об основных опасностях (например, при изменении социально-экономической инфраструктуры в нижнем бьефе гидроузла);
оценка соответствия состояния ГТС и условий его эксплуатации современным нормам и правилам;
определение приоритетных мер по ремонту и реконструкции ГТС, обоснование эффективности затрат на ремонт и реконструкцию;
разработка декларации безопасности эксплуатируемого ГТС;
расчет вероятного вреда, который может быть причинен в результате аварии ГТС, обоснование страховых тарифов и ставок;
квалифицированное расследование причин имевших место аварий и неполадок на ГТС;
разработка рекомендаций по организации безопасной эксплуатации ГТС, взаимодействию с органами надзора, страховыми компаниями и т.д.;
совершенствование планов локализации аварийных ситуаций и действий в чрезвычайных ситуациях;
разработка противотеррористических паспортов объектов и т.д.
На этапе вывода из эксплуатации и консервации гидротехнического сооружения целью анализа риска может быть:
обоснование необходимых и достаточных мер по выводу из эксплуатации и консервации объекта, обеспечивающих его безопасность на указанных стадиях жизненного цикла ГТС;
обоснование возможности размещения новых объектов на территории законсервированного сооружения и т.д.
4.1.6. Критерии допустимого риска аварий гидротехнических сооружений могут быть заданы нормативно-правовыми актами или (до выхода в свет нормативов) определены на этапе организации и планирования работ. Основные требования к выбору критериев допустимого риска - их обоснованность и определенность [12, 22, 23, 74, 77]. В общем виде основой для определения критериев допустимого риска являются:
отечественное и зарубежное законодательство по безопасности гидротехнических сооружений;
правила и нормы безопасности в области гидротехники;
дополнительные требования специально уполномоченных органов надзора и контроля за безопасностью ГТС;
сведения об имевших место авариях гидротехнических сооружений различных типов и их последствиях;
региональные законодательные и нормативные акты;
соглашение о допустимости риска аварий ГТС между заинтересованными сторонами;
опыт практической деятельности.
Идентификация опасностей для конкретного гидротехнического сооружения должна включать следующие основные шаги [12, 22, 74]:
предварительный анализ опасностей ГТС;
разработка перечня возможных нежелательных процессов и событий, приводящих к аварии ГТС;
формирование перечня основных сценариев возникновения и развития аварий и ЧС на ГТС;
ранжирование основных сценариев возникновения и развития аварий и ЧС на ГТС по уровню риска для персонала объекта, населения, имущества и окружающей природной среды;
выбор дальнейших направлений деятельности по анализу риска аварий ГТС.
4.2.1. Предварительный анализ опасностей (ПАО) гидротехнического сооружения - первый обязательный шаг идентификации опасностей - выполняется с целью выявления опасных элементов и конструкций ГТС и воздействий на них, способных привести к аварии анализируемого сооружения (рис. 3). Это один из наиболее ответственных этапов анализа риска, поскольку не выявленные на этапе ПАО опасности не подвергаются дальнейшему рассмотрению и исчезают из поля зрения группы специалистов, выполняющих анализ риска аварий ГТС [22, 74, 77].
4.2.2. Результаты ПАО рекомендуется оформить в виде протокола, содержащего так называемую таблицу результатов предварительного анализа опасностей (табл. 1).
4.2.3. По результатам ПАО разрабатывается перечень возможных нежелательных процессов и событий, приводящих к аварии анализируемого ГТС, - вероятных причин аварий анализируемого гидротехнического сооружения. При разработке указанного перечня следует учитывать тип и класс сооружения, его назначение, условия размещения и эксплуатации, природно-климатические, социально-экономические и экологические факторы, а также сведения об авариях и ЧС, имевших место на аналогичных сооружениях.
4.2.4. На основе анализа вероятных причин аварий ГТС и результатов ПАО разрабатывается перечень основных сценариев возникновения и развития аварий и ЧС на анализируемом ГТС, учитывающий особенности гидротехнического сооружения и территории возможного аварийного воздействия (см. рис. 3). Указанный перечень должен быть максимально полным и учитывать по возможности все опасности, способные инициировать аварии ГТС, приводящие к чрезвычайной ситуации. Последнее требование может быть удовлетворено путем обсуждения результатов деятельности группы специалистов, выполняющей анализ риска конкретного ГТС, с экспертами по безопасности ГТС, не участвовавшими в процедуре предварительного анализа опасностей.
Рис. 3. Основные шаги процедуры идентификации опасностей
Таблица 1
Примерная форма таблицы результатов предварительного анализа опасностей (ПАО) аварий ГТС
|
№ п/п |
Сооружение, элемент |
Нежелательные явления, процессы, события, способные инициировать аварию ГТС |
Ожидаемые последствия для персонала, населения, имущества и окружающей природной среды |
Предварительная оценка вероятности реализации |
|
Левобережная грунтовая плотина |
||||
|
1.1 |
Сопряжение грунтовой плотины с бетонным водосбросом |
Потеря фильтрационной прочности грунтов тела плотины в зоне сопряжения |
Обрушение участка плотины в зоне сопряжения, образование прорана и волны прорыва, затопление территории в нижнем бьефе |
Весьма вероятна ввиду низкого качества сопряжения |
|
1.2 |
||||
4.2.5. Ранжирование основных сценариев возникновения и развития аварий и ЧС на ГТС по уровню опасности для персонала, населения, имущества и окружающей природной среды рекомендуется выполнять с помощью матрицы «частота - тяжесть последствий» [22, 23], приведенной в табл. 2. На этом этапе последствия аварии ГТС целесообразно оценить экспертным путем на качественном уровне.
Цель ранжирования - определить, какие элементы и конструкции исследуемого ГТС и воздействия на него наиболее опасны с точки зрения возможности аварии сооружения и какие представляют меньший интерес.
В ряде практических приложений может применяться матрица качественной оценки риска гидротехнических сооружений (см., например, работу [74]), в которой вместо уровней риска А - D используется понятие категорий аварий по уровню риска. В табл. 3 приведены категории прогнозируемых аварий ГТС и соответствующие уровни риска по тяжести последствий для основных групп реципиентов риска.
По результатам ранжирования основных сценариев возникновения и развития аварий и чрезвычайных ситуаций на анализируемом гидротехническом сооружении группа исполнителей принимает решение о выборе дальнейших направлений деятельности (см. рис. 3):
Таблица 2
Матрица «частота - тяжесть последствий» для ранжирования возможных сценариев возникновения и развития аварий ГТС
|
Среднегодовая частота, 1/год |
Последствия аварии ГТС |
|||||
|
несущественные |
малые |
средние |
значительные |
катастрофические |
||
|
Почти несомненна |
> 1 |
В |
В |
А |
А |
А |
|
Весьма возможна |
1 - 10-2 |
С |
В |
В |
А |
А |
|
Вероятна |
10-2 - 10-4 |
D |
С |
В |
А |
А |
|
Вряд ли |
10-4 - 10-6 |
D |
D |
С |
В |
А |
|
Редко |
< 10-6 |
D |
D |
с |
В |
В |
Обозначения уровней риска аварий: А - высокий; В - существенный;
С - средний; D - низкий.
прекратить дальнейший анализ риска аварий гидротехнического сооружения, его элемента, конструкции ввиду незначительности опасности;
провести более детальный анализ риска аварий анализируемого гидротехнического сооружения ввиду значимости опасности.
4.2.6. Результаты идентификации опасностей весьма полезны при разработке актов комиссионных обследований гидротехнических сооружений конкретных объектов, для обоснования основных сценариев аварий, возможных на ГТС, выявления сценариев аварий ГТС с максимально возможными последствиями или наиболее вероятных сценариев, а также классификации чрезвычайных ситуаций, возникающих в результате таких аварий.
4.3.1. Основными задачами оценки риска аварий ГТС являются [12, 22, 23, 57, 61, 62, 74, 77]:
оценка частот (среднегодовых вероятностей) возникновения и развития аварий ГТС по всем основным сценариям, идентифицированным на стадии предварительного анализа опасностей (ПАО);
оценка последствий возникновения и развития основных сценариев аварий ГТС;
обобщение полученных оценок.
Таблица 3
Категорирование по уровню риска аварий, возможных на ГТС
|
Уровень риска |
Тяжесть последствий аварии |
Рекомендации по анализу риска |
Разработка мер безопасности |
|||
|
для персонала и населения |
для объектов и иных материальных ценностей |
для окружающей природной среды |
||||
|
А |
Высокий |
Гибель людей |
Существенный ущерб ГТС и имуществу третьих лиц |
Невосполнимые экологические потери |
Обязателен детальный анализ риска |
Требуются особые меры для снижения риска |
|
В |
Существенный |
Угроза жизни людей, травмы персонала и населения |
Значительные разрушения ГТС и имущества третьих лиц |
Существенные экологические потери |
Желателен детальный анализ риска |
Требуются меры безопасности для снижения риска |
|
с |
Средний |
Потери маловероятны |
Незначительные повреждения ГТС, потери имущества третьих лип |
Незначительные экологические потери |
Рекомендовав качественный анализ риска |
Рекомендуется принятие мер безопасности |
|
D |
Низкий |
Потери маловероятны |
Несущественные повреждения ГТС, потери имущества третьих лиц мало вероятны |
Несущественные экологические потери |
Анализ риска не требуется |
Принятие мер безопасности не требуется |
Примечание: число категорий аварий, как и число уровней риска, может быть разным в зависимости от особенностей анализируемого ГТС и целей анализа риска.
4.3.2. Для оценки (количественной и/или качественной) ожидаемых частот аварий гидротехнических сооружений используются следующие подходы [12, 22, 23, 57, 61, 74, 77]:
статистический, заключающийся в максимально полном использовании статистики аварий и неполадок, а также данных о надежности объектов-аналогов;
графоаналитический, заключающийся в использовании логических методов анализа «деревьев отказов» и «деревьев событий» или расчетных моделей сооружения;
экспертный, заключающийся в выработке оценки путем учета мнений специалистов в данной области.
При этом процедуры анализа риска аварий гидротехнических сооружений можно подразделить на три категории [74, 77]: анализ, основанный на действующих нормах [5, 6, 39 - 51, 58, 59]; качественный анализ и/или количественный анализ [12, 22, 37, 61, 74, 77].
Применяются также так называемые полуколичественные оценки, сочетающие качественные и количественные показатели риска [22, 37, 77].
Следует отметить, что пределы и степень детализации анализа риска могут отличаться для разных подходов, допускающих как качественные, так и количественные оценки.
Для гидротехнических сооружений ввиду явного недостатка репрезентативных статистических данных об отказах элементов ГТС и аварий на объектах-аналогах, уникальности сооружений, отсутствия исчерпывающих исходных данных о сооружениях, условиях размещения и эксплуатации целесообразно применение сочетания указанных подходов и процедур, адаптированных к специфике целей и задач анализа риска конкретного ГТС [22 - 24, 74, 77].
4.3.3. Оценка последствий аварий ГТС (количественная или качественная) включает анализ возможных аварийных воздействий ГТС на основные группы реципиентов риска, к которым относятся [12, 27, 31, 35]:
персонал объекта - владельца гидротехнического сооружения или эксплуатирующей организации;
население прилегающей территории, попадающей в зону затопления при гидродинамической аварии или лишенной энергоснабжения при остановке электростанции в результате аварии ГТС;
имущество третьих лиц (предприятия, здания и сооружения промышленных и селитебных зон);
окружающая природная среда.
4.3.4. Для оценки последствий необходимо оценить негативные эффекты аварийного воздействия ГТС - физические (глубина затопления, скорость воды, температура и т.д.), социально-экономические (потери устойчивости затопленных зданий и сооружений, характер и продолжительность прекращения энергоснабжения и т.д.) и экологические (затопление сельхозугодий, ущерб рыбным запасам, загрязнение природных вод, почв, грунтов и т.д.) [19, 27, 31]. При оценке последствий аварий ГТС необходимо использовать модели аварийных процессов на ГТС и критерии поражения людей, имущества и окружающей природной среды с учетом неизбежных ограничений в выборе таких критериев [18, 19, 21, 27, 34, 52, 63, 70 - 74].
4.3.5. Этап оценки риска должен (помимо оценки частоты и последствий нежелательных опасных явлений, событий и процессов, способных привести к аварии ГТС) включать анализ неопределенностей и точности полученных результатов [22, 23, 74, 77]. Основными источниками неопределенностей при анализе и оценке риска, как показывает практика, являются недостаточность информации о надежности сооружения и его элементов, человеческих ошибках, особенно в нештатных ситуациях, а также неизбежные допущения и ограничения при моделировании аварийных процессов на ГТС. Анализ неопределенностей - это перевод ограничений и допущений, а также недостатка исходных данных, используемых при анализе риска, в погрешность (неопределенность) результатов. Источники неопределенности должны быть идентифицированы и представлены в результатах анализа риска аварий ГТС.
4.3.6. При необходимости по результатам анализа и оценки частоты выявленных опасных событий и их последствий определяется значение риска аварий ГТС в целом путем обобщения показателей риска (частот и последствий) всех выявленных опасных событий (см. рис. 4). Здесь также возможны как количественные, так и качественные оценки [22, 23, 66, 74, 77].
4.3.7. Собственно оценка риска по результатам предыдущих этапов - это процесс выработки решения, является ли определенный качественно или количественно риск аварий ГТС допустимым, а меры контроля за безопасностью ГТС - адекватными [22, 77]. В случае количественной оценки риска аварий ГТС и наличия нормативных значений критериев допустимого риска сооружений данного типа, класса и назначения процедура оценки риска включает сравнение вычисленных показателей риска аварий конкретного ГТС с критериями допустимого риска (см. рис. 1). В случае качественных оценок риска суждение о допустимости риска аварий ГТС выносится группой экспертов-исполнителей. Аналогичным образом проверяется адекватность мер контроля за уровнем безопасности ГТС.
Рис. 4. Способы обобщения оценок составляющих риска аварий ГТС
Если риск опасного события, приводящего к аварии ГТС, признан недопустимым, а меры контроля за уровнем безопасности сооружения - неадекватными потенциальной опасности, то на этапе оценки риска определяется характер дополнительных мер контроля состояния сооружения и уровня его безопасности.
4.4.1. Рекомендации по уменьшению риска аварий гидротехнического сооружения разрабатываются на заключительном этапе анализа риска в случае, если вычисленный или качественно определенный риск опасных событий и процессов, приводящих к аварии ГТС, признан недопустимым и значимым по своим последствиям для основных групп реципиентов риска.
4.4.2. Меры по уменьшению риска могут иметь организационный, технический или социально-психологический характер (рис. 5) [12, 22, 57, 74, 77]. В выборе характера мероприятий решающее значение имеет общая оценка действенности мер по уменьшению риска.
Наиболее предпочтительны технические и организационные меры, поскольку социально-психологические меры не изменяют уровень риска и касаются только проблем его восприятия обществом. На стадии эксплуатации организационные меры управления риском могут компенсировать ограниченные возможности владельца ГТС для принятия эффективных, но дорогостоящих технических мер по уменьшению риска аварий гидротехнического сооружения.
Рис. 5. Возможные меры управления риском аварий гидротехнических сооружений
4.4.3. Во всех случаях, где это возможно, меры уменьшения ожидаемой частоты аварий ГТС (активные меры управления риском) должны иметь приоритет над мерами уменьшения возможных последствий аварий (пассивные меры управления риском) [12, 22, 57, 77]. Это означает, что при выборе технических и организационных мер для уменьшения риска аварий обязательно должны рассматриваться:
активные меры управления риском, включающие
меры уменьшения частоты (вероятности) возникновения опасных событий и процессов, ведущих к аварии ГТС;
меры уменьшения частоты (вероятности) перерастания неполадки на ГТС в аварию;
пассивные меры управления риском, имеющие, в свою очередь, свои приоритеты:
меры, предусматриваемые уже на стадии проектирования гидротехнического сооружения;
меры, относящиеся к системам противоаварийной защиты и контроля за состоянием ГТС;
меры в части организации, оснащенности и готовности к действиям противоаварийных служб на объекте.
4.4.4. При обосновании и оценке эффективности предлагаемых мер по уменьшению риска рекомендуется придерживаться одной из двух альтернативных целей их оптимизации:
при заданных средствах обеспечить максимальное снижение риска аварии гидротехнического сооружения;
при минимальных затратах обеспечить снижение риска аварии гидротехнического сооружения до допустимого уровня.
4.4.5. Установление приоритетности мер по уменьшению риска аварий ГТС в условиях заданных объемов средств или ограниченных ресурсов выполняется следующим образом:
определяется совокупность мер, которые могут быть реализованы при заданных объемах финансирования;
выполняется ранжирование этих мер по показателю «эффективность - затраты»;
выполняется обоснование и оценка эффективности предлагаемых мер.
5.1. При выборе методов проведения анализа риска аварий гидротехнических сооружений необходимо учитывать цели анализа риска, тип, класс, назначение и этап жизненного цикла анализируемого ГТС, характер опасностей, объем и качество исходных данных, наличие временных и финансовых ресурсов для проведения анализа риска, опыт и квалификацию исполнителей.
5.2. Для анализа риска аварий гидротехнических сооружений рекомендуется использовать хорошо отработанные и апробированные в других отраслях техногенной деятельности методы анализа риска сложных технических систем [12, 21, 22, 36, 37, 57, 61, 74, 77], однако применение их в гидротехнике возможно лишь с учетом всего спектра отличий ГТС от механических, электрических и технологических систем.
5.3. Методы проведения анализа риска аварий гидротехнических сооружений должны удовлетворять следующим общим требованиям [21, 22, 61, 74]:
методы должны быть научно обоснованы и соответствовать целям анализа риска и анализируемому сооружению;
методы должны давать результаты в виде, позволяющем лучше понимать уровень риска и намечать наиболее эффективные пути его снижения;
результаты применения методов должны быть воспроизводимыми.
5.4. На этапе идентификации опасностей рекомендуется использовать один или несколько из перечисленных ниже методов анализа риска [54, 58, 61, 62, 71, 73, 74]*:
Что будет, если...?" («What - if?»);
Проверочный лист («Check List»);
Анализ опасности и работоспособности («Hazard and Operability Study» - HAZOP);
Анализ вида и последствий отказов («Failure Mode and Effects Analysis» - FMEA);
Анализ вида, последствий и критичности отказов («Failure Mode, Effects and Critical Analysis» - FMECA), другие эквивалентные методы.
___________
* Латинские названия методов и их аббревиатуры приведены для упрощения поиска описаний соответствующих методов в справочной литературе.
Перечисленные методы дают структурированные логические схемы систематического использования экспертных оценок и данных о сооружении для наглядного и воспроизводимого анализа риска аварий ГТС.
Применение указанных методов особенно эффективно при идентификации гидротехнических сооружений, подлежащих обязательному декларированию безопасности.
В табл. 4 представлены рекомендации по выбору метода или комбинации методов анализа риска аварий ГТС при проведении идентификации опасностей с учетом этапа жизненного цикла сооружений. Методы могут применяться изолированно или в дополнение друг друга, причем качественные и количественные оценки могут сочетаться.
Краткая характеристика методов анализа риска, рекомендуемых на стадии предварительного анализа опасностей, приведена в Приложении 1 к настоящим Методическим указаниям.
Таблица 4
Рекомендации по выбору методов анализа риска гидротехнических сооружений на этапе идентификации опасностей
|
Этап жизненного цикла ГТС |
|||||
|
проектирование |
ввод в эксплуатацию |
эксплуатация |
вывод из эксплуатации |
реконструкция |
|
|
Что будет, если...? |
+ |
* |
* |
* |
+ |
|
Проверочный лист |
+ |
+ |
* |
+ |
+ |
|
Анализ опасности и работоспособности |
* |
+ |
+ |
+ |
* |
|
Анализ вида и последствий отказов |
* |
+ |
+ |
+ |
* |
|
Анализ вида, последствий и критичности отказов |
* |
+ |
+ |
+ |
* |
+ - рекомендуемый метод; * - наиболее подходящий метод
5.5. На этапе оценки риска аварий гидротехнических сооружений для определения качественных или количественных показателей частот прогнозируемых нежелательных явлений, процессов и событий целесообразно использовать один или комбинацию следующих методов [22, 23]:
анализ дерева отказов (Fault Tree Analysis - FTA) [10, 12, 22, 23, 61, 62];
анализ дерева событий (Event Tree Analysis - ETA) [22, 23, 61, 62, 68];
математическое моделирование состояния сооружений (статистические, детерминистические, смешанные модели) [1, 5, 12, 36, 37, 42 - 51, 58, 59].
Краткая характеристика рекомендуемых методов оценки риска аварий гидротехнических сооружений представлена в Приложении 1 к настоящим Методическим указаниям.
Примеры реализации предлагаемых подходов и перечисленных методов приведены в Приложении 2 к настоящим Методическим указаниям.
6.1. Общие требования к проведению и оформлению результатов анализа риска аварий гидротехнических сооружений должны соответствовать основным положениям Федерального Закона «О безопасности гидротехнических сооружений» [13], Постановления Правительства РФ «Об утверждении Положения о декларировании безопасности гидротехнических сооружений» [30], правил и норм в области безопасности гидротехнических сооружений [11, 19 - 21, 27, 28, 32, 33, 51].
6.2. Результаты анализа риска аварий гидротехнических сооружений должны быть обоснованы и оформлены таким образом, чтобы выполненные оценки, расчеты и выводы могли быть воспроизведены специалистами, не участвовавшими в первоначальном анализе.
6.3. Состав и объем документации, фиксирующей результаты анализа риска аварий ГТС, определяется целями и задачами анализа риска, включая идентификацию ГТС, подлежащих обязательному декларированию безопасности, разработку деклараций безопасности ГТС, экспертизу безопасности ГТС, расчет вреда от аварий ГТС, выбор приоритетов при проведении ремонтно-восстановительных работ, обоснование страховых тарифов и ставок, апостериорную оценку частот и последствий аварии ГТС и т.д.
6.4. В тех случаях, когда проведение анализа риска аварий ГТС имеет самостоятельные цели, результаты следует документировать отчетом, включающим [22, 23, 61, 77]:
титульный лист;
список исполнителей;
содержание (оглавление) отчета;
цели анализа риска и сферу исследований;
краткое описание ГТС, исходные данные и их источники;
методологию анализа риска - описание используемых методов анализа риска, моделей развития аварийных процессов и обоснование их применения; ограничения и допущения, используемые при анализе;
результаты идентификации опасностей;
результаты оценки риска аварий ГТС;
анализ неопределенностей результатов анализа риска;
рекомендации по снижению риска аварий ГТС;
выводы;
список источников информации.
6.5. При проведении анализа риска аварий гидротехнических сооружений в рамках декларирования безопасности ГТС, находящихся в ведении, собственности или эксплуатации организаций топливно-энергетического комплекса Российской Федерации, результаты анализа риска ГТС как составная часть декларации безопасности должны быть оформлены в соответствии с требованиями действующих Правил [32].
6.6. При проведении анализа риска аварий гидротехнических сооружений в рамках декларирования безопасности ГТС организаций, поднадзорных Министерству природных ресурсов России, Министерству транспорта России или Госгортехнадзору России, результаты анализа риска ГТС как составная часть декларации безопасности должны быть оформлены в соответствии с требованиями порядков разработки деклараций безопасности ГТС, утвержденных соответственно МПР России, Минтрансом России или Госгортехнадзором России [11, 28, 33].
6.7. Результаты анализа риска, выполняемые с целью обоснования сценариев наиболее тяжелой по последствиям и наиболее вероятной аварий, возможных на ГТС, как составной части документа «Расчет вероятного вреда...» [19, 21, 27, 31], должны быть оформлены в соответствии с требованиями Порядка определения размера вреда, который может быть причинен жизни, здоровью физических лиц, имуществу физических и юридических лиц в результате аварии гидротехнического сооружения [27].
1. Арефьев Н.В., Добрынин С.Н., Ивашинцов Д.А., Тихонова Т.С. Анализ и оценка развития аварийных ситуаций на инженерных объектах. СПб: ОАО «ВНИИГ им. Б.Е. Веденеева». 2000.
2. Беллендир Е.Н., Никитина Н.Я. Управление риском аварий гидротехнических сооружений - проблемы, подходы, опыт, перспективы // Проблемы безопасности при чрезвычайных ситуациях. 2003. Вып. 3. С. 124 - 135.
3. Беллендир Е.Н., Никитина Н.Я., Сельский С.В. Методические основы, анализ и оценка риска аварий грунтовых плотин в Российской Федерации // Известия ВНИИГ им. Б.Е. Веденеева. 2000. Т. 238. С. 15 - 19.
4. Беллендир Е.Н., Никитина Н.Я., Пантелеев В.Г., Сольский С.В. Анализ риска и декларирование безопасности золошлакоотвалов // Безопасность энергетических сооружений. М: Глобус. 1998. Вып. 2 - 3. С. 44 - 54.
5. ВСН 04-71. Указания по расчету устойчивости земляных откосов. 2-е издание. М.: Минэнерго СССР. 1971.
6. ГОСТ 16350-80. Климат СССР. Районирование и статистические параметры климатических факторов для технических целей. М.: Издательство стандартов. 1986.
7. ГОСТ Р 22.0.01-94. Безопасность в чрезвычайных ситуациях. Основные положения. М.: Издательство стандартов. 1994.
8. ГОСТ Р 22.0.05-94. Безопасность в чрезвычайных ситуациях. Техногенные чрезвычайные ситуации. Термины и определения. М.: Издательство стандартов. 1994.
9. ГОСТ 27.002-89. Надежность в технике. Основные понятия. Термины и определения. М.: Госкомитет СССР по управлению качеством продукции и стандартам. 1990.
10. ГОСТ Р 27.3.10-93. Анализ видов, последствий и критичности отказов. Основные положения. М.: Издательство стандартов. 1993.
11. Дополнительные требования к содержанию и форме декларации безопасности гидротехнических сооружений, поднадзорных МПР России. Утверждены Приказом МПР России от 02.03.99 г. № 39.
12. Елохин А.Н. Анализ и управление риском: теория и практика. М.: Страховая группа «Лукойл». 2000.
13. Закон РФ «О безопасности гидротехнических сооружений». № 117-ФЗ. Принят Госдумой 23.06.1997 г. Утвержден 21.07.1997.
14. Золотев Л.А., Ивашенко И.Н., Радкевич Д.Б. Оперативная количественная оценка уровня безопасности эксплуатируемых гидротехнических сооружений // Гидротехническое строительство. 1997. № 2. С. 40 - 43.
15. Корытова И.В., Шульман С.Г. О выборе принципа возведения намывных золошлакохранилищ тепловых электростанций с учетом случайных факторов // Известия ВНИИГ им. Б.Е. Веденеева. 1999. Т. 233. С. 25 - 34.
16. Кофман А. Введение в теорию нечетких множеств. М.: Радио и связь. 1982.
17. Маршалл В. Основные опасности химических производств / Пер. с англ. М.: Мир. 1989.
18. Методика расчета зон затопления при гидродинамических авариях на хранилищах производственных отходов химических предприятий. РД 09-391-00. М.: НТЦ «Промышленная безопасность» Госгортехнадзора России. 2001.
19. Методика определения вреда, который может быть причинен жизни, здоровью физических и юридических лиц, имуществу физических и юридических лиц в результате аварии гидротехнического сооружения организаций, производств и объектов, поднадзорных Госгортехнадзору России. Утверждена Приказом Госгортехнадзора России № 482/175 от 15.08.2003.
20. Методика определения критериев безопасности гидротехнических сооружений. РД-153-34.2-21.342-00. М.: РАО «ЕЭС России». 2000.
21. Методика определения размера вреда, который может быть причинен жизни, здоровью физических лиц, имуществу физических и юридических лиц в результате аварий гидротехнических сооружений предприятий топливно-энергетического комплекса. Утверждена Приказом МЧС России и Минэнерго России № 776/508 от 29.12.2003.
22. Методические указания по проведению анализа риска аварий гидротехнических сооружений. СТП ВНИИГ 230.2.001-00/Под ред. Е.Н. Беллендира, С.В. Сельского, Н.Я. Никитиной. СПб: ОАО «ВНИИГ им. Б.Е. Веденеева». 2000.
23. Методические указания по проведению анализа риска опасных производственных объектов. РД 03-418-01. Утверждены Постановлением № 30 Госгортехнадзора России от 10.07.2001.
24. Никитина Н.Я. Методические основы анализа и оценки риска аварий ГТС различных типов и назначения / Материалы Совещания-семинара «Современные методы инструментального обследования для определения реального состояния ГТС электростанций России и опыт составления деклараций безопасности». М.: РАО «ЕЭС России», 20 - 22 сентября 2000 г. // Безопасность энергетических сооружений. Вып. 7. М.: АО НИИЭС. 2000. С. 221 - 232.
25. Никитина Н.Я. Количественные оценки риска аварий грунтовых плотин и дамб по результатам декларирования безопасности гидротехнических сооружений // Труды Международной конференции «Геотехника. Оценка состояния оснований и сооружений». СПб. 2001. С. 78 - 81.
26. Никитина Н.Я., Лопатина М.Г. Анализ безопасности типовых комплексов очистных сооружений на примере Центральной станции аэрации ГУП «Водоканал Санкт-Петербурга» // Известия ВНИИГ им. Б.Е. Веденеева. Т. 242. 2003. С. 24 - 33.
27. Порядок определения размера вреда, который может быть причинен жизни, здоровью физических лиц, имуществу физических и юридических лиц в результате аварии гидротехнического сооружения. Утвержден Приказом МЧС России, Минэнерго России, МПР России, Минтранса России и Госгортехнадзора России № 243/150/270/68/89 от 18.05.2002, зарегистрированном в Минюсте РФ 03.06.2002 г. № 3493.
28. Порядок разработки и дополнительные требования к содержанию декларации безопасности гидротехнических сооружений на подконтрольных Госгортехнадзору России предприятиях (организациях): РД 03-268-99. Утвержден Постановлением Госгортехнадзора России № 17 от 25.02.99 г.
29. Постановление Правительства РФ «О классификации чрезвычайных ситуаций природного и техногенного характера». № 1094 от 13.09.1996.
30. Постановление Правительства РФ «Об утверждении Положения о декларировании безопасности гидротехнических сооружений». № 1303 от 06.11.1998.
31. Постановление Правительства РФ «Об утверждении Правил определения величины финансового обеспечения гражданской ответственности за вред, причиненный в результате аварии гидротехнического сооружения». № 876 от 18.12.2001.
32. Правила декларирования безопасности гидротехнических сооружений, находящихся в ведении, собственности или эксплуатации организаций топливно-энергетического комплекса РФ. Утверждены Приказом Минтопэнерго России от 12 июля 1999 г. № 232. М. 1999.
33. Правила декларирования безопасности судоходных гидротехнических сооружений. Утверждены Министерством транспорта России и согласованы МЧС России 01.09.1999 г. № 33-2670-9.
34. Прудовский A.M. Образование прорана при прорыве земляной плотины // Безопасность энергетических сооружений. 1998. Вып. 2 - 3. М.: АО НИИЭС. 1998.
35. Радкевич Д.Б. О реализации Федерального Закона «О безопасности гидротехнических сооружений». Библиотечка гидротехника: Безопасность гидротехнических сооружений. Приложение к журналу «Гидротехническое строительство». М.: НТФ «Энергопрогресс». 2000. Вып. 1.
36. Рекомендации по оценке надежности гидротехнических сооружений. П 842-86. М.: Гидропроект. 1986.
37. Руководство по классификации сооружений в зависимости от степени их опасности для нижнего бьефа. Технический меморандум «ACER» № 11, Бюро мелиорации США. 1996.
38. Сборник методик по прогнозированию возможных аварий, катастроф и стихийных бедствий. Кн. 1 и 2. М.: МЧС России. 1994.
39. СНиП 1.01.01-82* (1-1-74). Система нормативных документов в строительстве. Основные положения. М.: ЦИТП Госстроя СССР. 1984.
40. СНиП 1.02.07-87. Инженерные изыскания для строительства. М.: ЦИТП Госстроя СССР. 1988.
41. СНиП 2.01.01-82 (П-А, 6-72). Строительная климатология и геофизика. М.: ЦИТП Госстроя СССР. 1983.
42. СНиП 2.01.07-85. Нагрузки и воздействия. М.: ЦИТП Госстроя СССР. 1988.
43. СНиП II-7-81*. Строительство в сейсмических районах. М.: АПП ЦИТП Госстроя СССР. 1982.
44. СНиП 2.01.14-83. Определение расчетных гидрологических характеристик. М.: ЦИТП Госстроя СССР. 1985.
45. СНиП 2.01.15-90. Инженерная защита территорий, зданий и сооружений от опасных геологических процессов. Основные положения проектирования. М.: ЦИТП Госстроя СССР. 1991.
46. СНиП 2.02.02-85. Основания гидротехнических сооружений. М.: Госстрой СССР. 1988.
47. СНиП 2.03.11-85. Защита строительных конструкций от коррозии. М.: ЦИТП Госстроя СССР. 1986.
48. СНиП 2.06.04-82* (II-57-75). Нагрузки и воздействия на гидротехнические сооружения (волновые, ледовые и от судов). М.: ЦИТП Госстроя СССР. 1986.
49. СНиП 2.06.05-84* (II-И.4-73). Плотины из грунтовых материалов. М.: ЦИТП Госстроя СССР. 1991.
50. СНиП 2.06.08-87. Бетонные и железобетонные конструкции гидротехнических сооружений. М.: ЦИТП Госстроя СССР. 1987.
51. СНиП 33-01-2003. Гидротехнические сооружения. Основные положения. М.: Госстрой России. 2004.
52. Сольский С.В., Никитина Н.Я., Бондарева Н.Л. Обеспечение безопасности сложных природно-технических систем, включающих грунтовые гидротехнические сооружения и опасные производственные объекты // Известия ВНИИГ им. Б.Е. Веденеева. 2001. Т. 239. С. 206 - 212.
53. Сольский С.В., Белякова С.Н., Гинц А.В., Крупное О.Р., Никитина Н.Я. Обеспечение безопасности гидротехнических сооружений на территории Санкт-Петербурга // Известия ВНИИГ им. Б.Е. Веденеева. 2003. Т. 242. С. 9 - 17.
54. Стандарт МЭК. Техника анализа надежности систем. Метод анализа вида и последствий отказов. Публикация 812 (1985 г.).
55. Стефанишин Д.В. Оценка нормативной безопасности плотин по критериям риска // Гидротехническое строительство. 1997. № 2. С. 44 - 47.
56. Стефанишин Д.В. Первоочередные задачи по вероятностным расчетам сооружений при составлении декларации их безопасности // Гидротехническое строительство. 1998. № 10. С. 1 - 6.
57. Управление риском: Риск. Устойчивое развитие. Синергетика. М.: Наука. 2000. (Серия «Кибернетика: неограниченные возможности и возможные ограничения»).
58. Филиппова Б.А. Критерии безопасности и оценка состояния эксплуатируемых грунтовых гидротехнических сооружений // Безопасность энергетических сооружений. Научно-технический и производственный сборник. М.: АО НИИЭС. 2000. № 7.
59. Филиппова Е.А. Условия обеспечения безопасной эксплуатации грунтовых сооружений различного назначения // Материалы международной конференции «Инженерно-геологические изыскания и исследования в криолитозоне». СПб. ИГК. 2000.
60. Финагенов О.М., Шульман С.Г., Лучина В.К. Оценка надежности дамбы хвостохранилища при землетрясении // Гидротехническое строительство. 1999. № 3. С. 34 - 37.
61. Хенли Дж. Э., Кумамото X. Надежность технических систем и оценка риска. М.: Машиностроение. 1984.
62. Химмельблау Д. Обнаружение и диагностика неполадок в химических процессах. Л.: Химия. 1983.
63. Школьников С.Я. К вопросу о конструировании консервативных конечно-разностных схем для дифференциальных уравнений неустановившегося течения в непризматическом русле // Гидротехническое строительство. 1998. № 5. С. 3 - 9.
64. Штильман В.Б. Повышение надежности затворов ГТС / 1-ая Международная конференция «Научно-технические проблемы прогнозирования надежности и долговечности металлических конструкций и методы их решения». Сб. докладов. СПб: СПбГТУ 1995. С. 53 - 54.
65. Fell R. Essential Components of Risk Assessment for Dams. Chapter 12. Risk-Based Dam Safety Evaluations. Trondheim, Norway. 28 - 29 June 1997. NNCOLD-CanCOLD-ICH.
66. Fell R. Estimating the Probability of Failure of Embankment Dams under Normal Operating Conditions // Repair and Upgrading of Dams. Symposium in Stockholm. June 5 - 7. 1996. P. 567 - 576.
67. Graham P.L. Risk Analysis for the Assessment and Management of Dam Safety. / Licentiate Thesis. Royal Institute of Technology. 1995.
68. Guidelines for the Risk Analysis of Technological Systems. Committee Draft, IEC/TC 56. 27.1, 1993-09-30.
69. Hackney G. Embankment Dams and Their Probability of Failure. BE (Civil) Thesis, School of Civil engineering. University of New South Wales. 1994.
70. Kast K., Bieberstein A. Detection and Assessment of Dambreak - scenarios / Dams and Safety Management at Downstream Valleys. 1997. Balkema. Rotterdam. ISBN 9054109165. P. 133 - 142.
71. Lecornu J. Dam Safety: from the Engineers Duty to Risk Management / The International Journal on Hydropower & Dams. 1998. Vol. 5. P. 43 - 56.
72. Londe P. Safety Evaluation using Reliability Analysis. Int. Workshop on Dam Safety Evaluation 1994. Vol. 4. P. 171 - 185.
73. Marshall V. С Hazard... Risk... which? Health & Safety of Work, London. March. 1981.
74. Memorandum to Members of ICOLD Committee on Dam Safety: Guidelines on Risk Assessment on Dams. 19.10.98.
75. Methods of Fault Tree Analysis and Their Limits / Weber G.G. / Brunei University / U.K.. 1984.
76. Reliability and Safety of Processes and Manufacturing Systems / 12 Annual Symp. / Tampere / Finland. 1991.
77. Risk Assessment in Dam Safety Management. A Reconnaissance of Benefits, Methods and Current Applications / Rev. No. 2.5. ICOLD. 29.09.2003.
78. Services and Technical Support. Reliability and Safety Department, Essen, 1990.
79. Wilhiams D.A., Marker H.F., McPhail G.I., Greaver P. Probability Approach of a Flow Failure Occurring at a Platinum Tailings Impoundment in Southern Africa. / Int. Symposium on Safety and Rehabilitation of Tailings Dams. CIGB ICOLD. Sydney, 23 May 1990. Presented Papers. Volume 1. P. 204 - 223.
ПРИЛОЖЕНИЯ
ХАРАКТЕРИСТИКА МЕТОДОВ АНАЛИЗА РИСКА АВАРИЙ ГИДРОТЕХНИЧЕСКИХ СООРУЖЕНИЙ
1. «Что будет, если...?» («What - if?») и проверочный лист («Check List»)
Методы «Что будет, если...?» («What - if?») и проверочного листа («Check List») относятся к качественным экспертным методам и представляют собой формализованные процедуры изучения степени соответствия условий проектирования, строительства и эксплуатации анализируемого гидротехнического сооружения требованиям правил и норм в сфере обеспечения безопасности ГТС [12, 37, 61, 62, 67 - 69, 73]*.
_____________
* В Приложении 1 и 2 ссылки даны на список источников информации к основному тексту «Методических указаний по проведению анализа риска аварий ГТС».
Использование метода «Что будет, если...?» («What - if?») предполагает ответы на перечень вопросов** - что будет с сооружением или его элементом, если реализуется конкретный вид нагрузок и/или воздействий (сверхрасчетное сейсмическое воздействие, паводок, ливень, ледовые, ветровые нагрузки и т.д.), либо процесс или событие, способное инициировать аварии ГТС (ошибки персонала, несанкционированное техногенное воздействие на ГТС, старение материалов и т.д.). При этом вопросы «генерируются» в процессе анализа риска и определяются не только типом и классом сооружения, но и специфическими особенностями компоновки ГТС, условий его размещения и функционирования. Ответы на вопросы должны отражать мнение экспертов в части оценки характера и масштабов ожидаемых повреждений.
_____________
** Как правило, это делает группа экспертов, включающая как лиц, ответственных за эксплуатацию сооружения, так и специалистов в разных областях гидротехники - см. п. 4.1.2 настоящих Методических указаний.
Результатом применения метода «Что будет, если...?» («What - if?») является таблица или иная форма регистрации полученной информации, содержащая, как правило, наименование сооружения и его элементов, инициирующие опасные нагрузки, воздействия, процессы и события, характеристику повреждений ГТС, вызываемых этими опасностями, а также качественную экспертную оценку последствий аварий для основных групп реципиентов риска - персонала ГТС, населения, имущества физических и юридических лиц и окружающей природной среды (табл. П1.1*).
_____________
* Примеры, приведенные в таблицах данного приложения, носят иллюстрационный характер и служат для пояснения логики использования предлагаемых методов.
Таблица П1.1
Примерный вид таблицы результатов применения метода «Что будет, если...?»
|
Наименование ГТС и его элементов |
Причины повреждений и аварий ГТС |
Характер и масштабы повреждений и аварий ГТС |
Последствия для персонала, населения, имущества и окружающей среды |
|
|
1. |
Ограждающая дамба намывного золошлакоотвала |
Некачественный дренаж на участке ПК13 - ПК18 |
Повышение положения поверхности депрессии выше ПДЗ, потеря устойчивости низового откоса дамбы, обрушение участка дамбы, образование прорана |
Вынос селя золошлаковых отходов за пределы отвала; остановка ТЭС; загрязнение территории вне ЗШО золошлаковыми отходами; существенное загрязнение водотоков территории; значительный экологический ущерб |
|
2. |
Водосбросной колодец секции золошлакоотвала (резервный колодец отсутствует) |
Отказ колодца (засорение или потеря устойчивости конструкции) |
Подъем уровня воды в секции выше отметки гребня ограждающей дамбы; перелив воды через гребень дамбы, образование прорана |
Метод проверочного листа («Check List») отличается от метода «Что будет, если...?» («What - if?») более широким и полным представлением исходных данных и результирующей информации о последствиях опасных повреждений для основных групп реципиентов риска. Кроме того, в проверочном листе принято не только идентифицировать причины повреждений, их характер, масштабы и последствия, но и определять (на предварительном уровне) вероятность аварий, а также меры, необходимые для обеспечения безопасности ГТС в каждом из рассматриваемых случаев [12, 22, 37, 61, 68] (табл. П1.2).
Таблица П1.2
Примерный вид таблицы результатов применения метода проверочного листа
|
Наименование ГТС и его элементов |
Причины возможных повреждений и аварий ГТС |
Характер и масштабы возможных повреждений и аварий ГТС |
Ожидаемая частота повреждений, 1/год |
Последствия для персонала, населения, имущества и окружающей среды |
Меры по предотвращению повреждений и аварий ГТС |
|
|
1. |
Насыпная грунтовая плотина с бетонным водосливом |
Отказ затворов водослива в период прохождения сверхрасчетного паводка |
Повышение уровня воды в водохранилище до отметки гребня плотины, перелив через гребень плотины в зоне сопряжения с бетонным водосливом, образование прорана и волны прорыва |
Крайне малая Рс.пав · Ротк.затв |
Опорожнение водохранилища, затопление территории в нижнем бьефе, значительный социальный, материальный и экологический ущерб |
Повышение гребня плотины в зоне сопряжения до проектной отметки, ремонт затворов |
|
2. |
Потеря фильтрационной прочности грунтов тела плотины вследствие наличия прослоек некачественных грунтов в теле плотины на конкретном участке |
Подъем поверхности депрессии выше ПДЗ, вынос грунта из тела плотины, обрушение участка плотины, образование прорана и волны прорыва |
Малая (≈ 10-4) |
Опорожнение водохранилища, затопление территории в нижнем бьефе, значительный социальный, материальный и экологический ущерб (меньший, чем в сценарии 1, т.к. перелив начинается при НПУ) |
Планировка и укрепление откосов и гребня плотины, пригрузка низового откоса на указанном участке |
Достоинством методов «Что будет, если...?» («What - if?») и проверочного листа («Check List») является их простота для понимания всеми участниками анализа риска и относительно небольшие временные затраты на реализацию. К недостаткам следует отнести необходимость рассмотрения весьма широкого перечня событий и процессов, а также всегда присутствующую возможность упущения ряда действительно серьезных опасностей, способных привести к крупной аварии ГТС.
Указанные методы весьма эффективны практически на всех стадиях жизненного цикла гидротехнических сооружений для предварительного анализа опасностей и качественного анализа риска аварий ГТС.
Качественные оценки вероятностей аварий по каждому из выявленных возможных сценариев их возникновения и развития рекомендуется выполнять на основе коллективного мнения экспертов, сформулированного с помощью формализма нечетких множеств [16], количественные оценки - как экспертным, так и расчетным путем.
2. Анализ опасности и работоспособности («Hazard and Operability Study» - HAZOP)
Применение метода HAZOP начинается, в отличие от методов «Что будет, если...?» («What - if»?) и проверочного листа («Check List»), не с определения видов возможных повреждений и неполадок, а с изучения всего перечня контролируемых показателей состояния анализируемого сооружения и их отклонений от допустимых значений (критериев безопасности) [12, 17, 22, 23, 61, 77].
Метод HAZOP основан на предположении (подтверждаемом обширным опытом эксплуатации гидротехнических сооружений), согласно которому развивающиеся или уже имеющиеся повреждения и неполадки проявляются в той или иной мере в отклонениях значений показателей состояния ГТС от обычно наблюдаемого или предельно допустимого уровня.
Применение данного метода начинается с исследования компоновки и структуры элементов анализируемого гидротехнического сооружения, воздействий и нагрузок на ГТС, а также особенностей жизненного цикла сооружения, включая уже имевшие место повреждения, аварии и неполадки. Далее изучается весь перечень контролируемых показателей состояния ГТС и анализируются все возможные отклонения каждого из показателей состояния от допустимых значений. Затем выявляются возможные причины и следствия этих отклонений. Наконец, на завершающем шаге определяются меры по предотвращению опасных отклонений показателей состояния ГТС от допустимых значений. Результаты исследований для каждого из показателей состояния анализируемого сооружения заносятся в специальные таблицы (табл. П1.3).
Таким образом, реализация метода HAZOP заключается в получении ответов на вопросы: что может произойти с сооружением при изменениях его показателей состояния, чем эти изменения могут быть вызваны, к чему приведут и как противодействовать нежелательным процессам и событиям.
В процессе изучения возможных отклонений показателей состояния ГТС от допустимых значений рекомендуется использовать ключевые слова - «нет», «больше», «меньше», «другой», «иначе чем» и т.д. Примерное содержание ключевых слов следующее [61, 62, 73]:
«нет» - отсутствие возможности открыть затвор; отсутствие персонала на объекте в момент повреждения; отсутствие электропитания приводов механического оборудования затворов и т.д.;
«больше» - уровень воды в верхнем бьефе выше отметки ФПУ; расход воды в дренажном коллекторе больше обычного значения и т.д.;
«меньше» - отметка гребня плотины на конкретном участке меньше проектной величины, расход воды в дренажном коллекторе меньше обычного значения и т.д.;
«другой» - на территории ГТС ведутся несанкционированные работы; в тело плотины уложены грунты, не предусмотренные проектом, и т.д.;
«иначе чем» - в дренажном стоке отмечена мутность воды, крепление откосов выполнено не по проекту и т.д.
Разумеется, приведенный перечень носит предварительный характер и определяется для каждого сооружения самостоятельно.
Степень опасности отклонений показателей состояния анализируемого ГТС от предельно допустимых значений (критериев безопасности) в рамках метода HAZOP может быть определена как качественно (экспертные оценки), так и количественно - путем расчетных оценок показателей фильтрационной прочности, устойчивости сооружения, вероятностей (среднегодовых частот) реализации причин неполадок и повреждений, габаритов зоны аварийного воздействия и масштабов последствий возможных опасных отклонений.
Примерный вид таблицы результатов применения метода анализа опасности и работоспособности (HAZOP)
|
№ п/п |
Показатель состояния ГТС |
Предельно допустимое значение (критерий безопасности), м |
Ключевое слово HAZOP |
Причины изменения показателя состояния (в соответствии с ключевым словом) |
Последствия изменения показателя состояния |
Мероприятия по предотвращению опасных отклонений показателя состояния от ПДЗ |
|
Правобережная грунтовая плотина |
||||||
|
1.1. |
Отметка гребня |
Проектная отметка - 150,00 |
«меньше» |
Несанкционированные работы на плотине |
В сверхрасчетный паводок - перелив через гребень плотины на участке понижения, образование прорана и волны прорыва, затопление территории в нижнем бьефе |
Контроль состояния крепления гребня и откосов плотины, запрет на несанкционированные работы на плотине, восстановление крепления гребня и откосов плотины |
|
Ветровая и дождевая эрозия гребня |
||||||
|
Нарушение целостности крепления гребня и откосов плотины |
||||||
|
«больше» |
Несанкционированные работы на плотине |
Опасности не представляет, далее не рассматривается |
||||
|
1.2. |
Положение поверхности депрессии в ствоpe |
Максимальные уровни воды в пьезометрах: пьезометр 1 -124,5; пьезометр 2 -133,2; пьезометр 3 -136,8 |
«меньше» |
Консолидация грунтов тела плотины |
Опасности не представляет, далее не рассматривается |
|
|
«больше» |
Старение грунтов, суффозия, подтопление низового откоса при сверхрасчетных атмосферных осадках или засорении дренажной канавы |
Потеря фильтрационной прочности грунтов тела плотины, обрушение участка плотины, образование прорана (далее по п. 1.1) |
Расчистка дренажной канавы, планировка и укрепление гребня и откосов плотины |
|||
3. Анализ вида и последствий отказов («Failure Mode and Effects Analysis» - FMEA)
«Failure Mode and Effects Analysis» - FMEA является методом индуктивного типа, с помощью которого систематически, путем последовательного рассмотрения одного элемента ГТС за другим, определяются все возможные виды отказов, повреждений или аварийных ситуаций и их результирующие воздействия на сооружение в целом и окружающую его среду, включая население и имущество третьих лиц [12, 37, 54, 61, 73, 74]. Отдельные аварийные ситуации, повреждения или отказы элементов гидротехнического сооружения анализируются с целью оценки их влияния на другие элементы ГТС и сооружение в целом, а также окружающую его среду (табл. П1.4).
Существенной особенностью метода FMEA является необходимость рассмотрения всех без исключения элементов и конструкций анализируемого сооружения. Цель рассмотрения - определение по возможности всех мыслимых (не противоречащих законам природы и здравому смыслу) причин и видов отказов, повреждений и неполадок каждого из элементов (конструкций) ГТС и последствий этих отказов, повреждений и неполадок для сооружения в целом и окружающей его среды, включая все основные группы реципиентов риска.
В этом аспекте метод FMEA дает возможность провести более полный качественный анализ причин и последствий отказов элементов и конструкций ГТС, чем метод анализа «дерева отказов» (см. ниже), в котором анализируются и оцениваются только те события, отказы и процессы, которые приводят к головному событию [61].
Как правило, метод FMEA применяется для качественного анализа риска аварий ГТС. Однако его использование зачастую связано со значительными трудозатратами, поскольку необходимо рассмотреть максимально широкий перечень возможных причин и видов отказов, в том числе и не опасных для третьих лиц. Тем не менее, метод FMEA весьма полезен на стадии предварительного анализа опасностей. Кроме того, данный метод позволяет составить максимально подробный перечень показателей состояния ГТС и необходимых проверок соответствия этих показателей предельно допустимым значениям (критериям безопасности).
Таблица П1.4
Примерный вид таблицы результатов применения метода анализа вида и последствий отказов (FMEA)
|
Наименование ГТС и его элементов |
Вид повреждения или отказа |
Причины |
Признаки и локальные последствия, включая зависимые отказы |
Способ распознавания повреждения или отказа |
Меры предотвращения или локализации повреждения или отказа |
Воздействие отказа или повреждения на ГТС в целом и окружающую среду |
Примечание (оценка опасности отказа или повреждения) |
|
|
1. |
Затворы водосбросного сооружения |
Заклинивание в паводок |
Потеря внешнего электропитания |
Снижение пропускной способности водосброса, повышение уровня воды в верхнем бьефе, угроза перелива через гребень грунтовой плотины |
Нет электропитания |
Подрыв заклинившего затвора при угрозе перелива через гребень. Регулярные осмотры и контроль состояния механического оборудования затворов. Резервирование электропитания |
Перелив через гребень грунтовой плотины, образование прорана и волны прорыва, затопление территории в нижнем бьефе, опорожнение водохранилища |
Остановка ГЭС, нарушение водоснабжения, значительные социальный, материальный и экологический ущербы |
|
Перекос направляющих пазов |
Затвор не поднимается, имеются перекосы направляющих пазов |
|||||||
|
Коррозия металла затворов |
Значительные повреждения металла затвора |
|||||||
|
2. |
Участок плотины ПК45 - ПК47 |
Понижение гребня ниже ПДЗ |
Наличие некачественных грунтов в теле и основании плотины |
Осадка гребня, угроза обрушения участка |
Осадка гребня, деформация участка плотины |
Восстановление проектного профиля плотины |
4. Анализ вида, последствий и критичности отказа («Failure Mode, Effects and Critical Analysis» - FMECA)
Анализ вида и последствий отказа (FMEA) можно расширить до количественного анализа вида, последствий и критичности отказа (FMECA) путем ранжирования всех идентифицированных видов отказов элементов и конструкций анализируемого сооружения с учетом двух составляющих критичности - вероятности (среднегодовой частоты) и тяжести последствий данного отказа [12, 37, 54, 61, 62, 74, 77].
Понятие критичности достаточно близко к понятию риска и может использоваться при детальном количественном анализе риска аварий гидротехнических сооружений. Определение параметров критичности весьма полезно при обосновании приоритетов и выборе мероприятий по повышению безопасности ГТС, причем для разных целей анализа риска возможны разные пути установления параметров критичности.
При проведении анализа риска аварий ГТС в соответствии с требованиями правовых и нормативных актов Российской Федерации необходимо выделять четыре группы реципиентов риска, которым может быть нанесен ущерб от аварии ГТС - персонал ГТС, население, материальные объекты (имущество третьих лиц) и окружающая природная среда [19, 21 - 23, 27, 31]. По отношению к указанным группам реципиентов риска при выполнении анализа риска аварий гидротехнических сооружений в рамках разработки деклараций безопасности, расчетов вероятного вреда от аварии ГТС, определении критериев безопасности ГТС целесообразно использовать следующие параметры критичности отказов по тяжести последствий [10, 17, 61, 62]:
катастрофический отказ - приводит к гибели и травмам людей, наносит значительный ущерб анализируемому объекту, населению, имуществу третьих лиц и окружающей природной среде;
критический отказ - угрожает жизни и здоровью людей, наносит существенный ущерб анализируемому объекту, населению, имуществу третьих лиц и окружающей природной среде;
некритический отказ - не угрожает жизни и здоровью людей, потере объекта, имуществу третьих лиц и окружающей природной среде;
отказ с пренебрежимо малыми последствиями - не относится по своим последствиям ни к одной из первых трех категорий.
В табл. П1.5 приведена матрица рекомендуемых параметров критичности по степени риска отказа, повреждения, неполадки, аварии с учетом тяжести последствий*.
_____________
* Следует отметить, что матрица «вероятность - тяжесть последствий» в табл. П1.5 практически повторяет матрицу качественной оценки риска для ранжирования возможных сценариев возникновения и развития аварий ГТС, приведенную в табл. 2 основного текста настоящих Методических указаний, и приводится здесь для наглядности характеристики метода. Количество уровней ранжирования отказов по вероятности и тяжести последствий может выбираться в каждом конкретном случае самостоятельно [74].
Таблица П1.5
Матрица «вероятность - тяжесть последствий» для анализа вида, последствий и критичности отказов (FMECA)
|
Ожидаемая частота возникновения отказа, 1/год |
Тяжесть последствий |
||||
|
катастрофический отказ |
критический отказ |
некритический отказ |
отказ с пренебрежимо малыми последствиями |
||
|
Частый отказ |
> 1 |
А |
А |
А |
С |
|
Вероятный отказ |
1 - 10-2 |
А |
А |
В |
С |
|
Возможный отказ |
10-2 - 10-4 |
А |
В |
В |
с |
|
Редкий отказ |
10-4 - 10-6 |
А |
В |
С |
D |
|
Практически невероятный отказ |
< 10-6 |
В |
С |
с |
D |
Категории отказов, получаемые их ранжированием с помощью матрицы «вероятность - тяжесть последствий», выглядят следующим образом:
А - обязателен детальный количественный анализ риска, требуются особые меры снижения риска аварии и обеспечения безопасности ГТС;
В - желателен детальный количественный анализ риска, требуется принятие определенных мер безопасности;
С - рекомендуется проведение качественного анализа риска и принятие определенных мер безопасности;
D - детальный анализ риска и принятие мер безопасности не требуются.
5. Анализ «дерева отказов» («Fault Tree Analysis» - FTA)
Анализ «дерева отказов» («Fault Tree Analysis» - FTA) это дедуктивный метод определения условий и факторов, способных привести к определенному нежелательному событию (так называемому головному событию). «Дерево отказов» - логически организованная графическая конструкция, в которой демонстрируется взаимодействие элементов системы, отказ которых по отдельности или в сочетании может способствовать появлению нежелательного события - отказа системы в целом - головного события «дерева отказов» [10, 12, 17, 22, 23, 61, 62, 68, 74, 77].
Анализ «дерева отказов» и начинается с определения головного события (для грунтовых плотин и дамб это может быть перелив через гребень, потеря устойчивости, фильтрационной прочности, для водосбросных сооружений - отказ затворов и т.д.). Возможные физические события и процессы, способные привести к головному событию, образуют следующий за ним первый уровень «дерева отказов». На втором уровне определяются события, явления и процессы, способные вызвать отказы первого уровня «дерева отказов», на третьем уровне - второго уровня и т.д. (см., например, рис. П2.2 в Приложении 2).
Пошаговое движение по всем возможным путям нежелательного функционирования сооружения от верхнего уровня к нижним приводит, таким образом, к уровню отказов элементов ГТС и его оборудования - так называемым базовым отказам [10, 54, 61, 62, 68]. События и процессы каждого уровня связываются с таковыми для следующего уровня «дерева отказов» логическими операторами типа «И», «ИЛИ» и т.д.
При построении «деревьев отказов» используются условные обозначения событий, приведенные в табл. П1.6 [61]. Условные обозначения логических операторов приведены в табл. П1.7.
При наличии репрезентативных данных (статистики, паспортов и т.д.) об интенсивности базовых отказов «дерево отказов» может быть решено, т.е. найдена среднегодовая частота (вероятность) реализации головного события по частотам базовых отказов элементов ГТС, его оборудования, иных событий и явлений, способных привести к головному событию «дерева отказов».
Следует учитывать, что элементы «дерева отказов» могут быть событиями, связанными не только с отказами элементов ГТС и оборудования, но и с ошибками эксплуатации, проекта, строительства, изысканий, а также внешними природными и техногенными воздействиями (сверхрасчетный паводок, ливень, сейсмическое воздействие, террористический акт и т.д.). Примеры решения «дерева отказов» приведены в Приложении 2.
Таблица П1.6
Условные обозначения событий
|
Событие |
|
|
|
Разрабатываемое событие |
|
|
Событие-условие |
|
|
Символ переноса |
Таблица П1.7
Условные обозначения логических операторов
|
Наименование оператора |
Причинно-следственное соотношение, выражающееся оператором |
|
|
|
«или» |
Событие-следствие имеет место при наступлении хотя бы одного из исходных событий |
|
|
«или исключительное» |
Событие-следствие имеет место при наступлении любого из исходных событий, но не двух одновременно |
|
|
«и» |
Событие-следствие имеет место при наступлении всех исходных событий |
|
|
«m из n» |
Событие-следствие происходит при наступлении любых т из п исходных событий |
|
|
«условие» |
Наступление события-следствия возможно при наступлении события-условия |
Располагая репрезентативными данными численных значений вероятностей базовых отказов, можно получить количественную оценку величины среднегодовой частоты реализации головного события аварии конкретного ГТС*.
_____________
* В качестве источников информации для получения сведений о среднегодовых частотах базовых отказов могут использоваться справочные, нормативные, литературные издания и публикации в сфере анализа риска и оценки уровня безопасности гидротехнических сооружений и их элементов, а также сведения банков данных об авариях гидротехнических сооружений.
Следует отметить, что анализ «дерева отказов» можно использовать не только для определения частоты (вероятности) головного события, но и для определения частот событий на любом уровне «дерева отказов», что является несомненным достоинством метода в приложениях его к гидротехническим сооружениям, поскольку многие ветви «деревьев отказов» для различных головных событий совпадают.
Анализ «дерева отказов» дает группе исполнителей возможность построить логическую модель возникновения и развития процессов и явлений, приводящих к аварии ГТС, причем такая модель дает как качественную, так и количественную информацию о безопасности сооружения и уровне риска аварий, на нем возможных [54, 61, 77].
Недостатком метода является его трудоемкость и значительные сложности при проверке адекватности построенных графов реальным процессам, способным инициировать аварии анализируемого сооружения.
К несомненным достоинствам метода анализа «дерева отказов», широко применяемого в самых разных отраслях промышленности и уже начинающего применяться в сфере гидротехники, следует отнести [61, 77]:
возможность выявления тех аспектов работы сооружения, которые имеют большое значение для обеспечения его безопасности;
представление специалистам, работающим не только в области гидротехники, но и в других отраслях знаний, имеющим отношение к обеспечению безопасности ГТС (страховщики, социологи, спасатели и т.д.), наглядной графической информации о путях возникновения и развития аварийных процессов на анализируемом сооружении;
возможность проведения как качественного, так и количественного анализа риска аварий гидротехнических сооружений;
возможность детального анализа отдельных видов и способов отказов сооружений.
6. Анализ «дерева событий» («Event Tree Analysis» - ETA)
Анализ «дерева событий» («Event Tree Analysis» - ETA) - индуктивный метод определения возможных следствий и, если это требуется по условиям анализа риска, вероятностей (среднегодовых частот) реализации некоторого отправного события [54, 61, 62]. ЕТА широко используется для анализа последствий нежелательных событий для сложных технических систем в электронике, ядерной технике, химико-технологических установках, оснащенных системами обеспечения безопасности. В сфере гидротехники анализ «дерева событий» находит применение при исследованиях возможных путей развития аварийных процессов и распространения их за пределы ГТС [74, 77].
Построение «дерева событий» начинается с определения исходного события, вероятность которого, как правило, определяется путем решения «дерева отказов» (см. п. 5 настоящего Приложения). Ветви «дерева событий» строятся в зависимости от специфики компоновки и конструкции элементов анализируемого сооружения, а также наличия и характера имеющихся систем обеспечения безопасности (рисунок).
|
Исходное событие |
Развитие аварийного процесса |
Оценка риска |
||
|
среднегодовая частота, 1/год |
последствия |
|||
|
социально-экономические потери, тыс. $ |
финансовые потери, тыс. $ |
|||
|
|
P1 = Pq > Q(T)PA1РA2 |
10000 |
25000 |
|
|
P2 = Pq > Q(T)PA1(1 - РA2) |
0 |
5000 |
||
|
Pq > Q(T) |
P3 = Pq > Q(T)(1 - РA1)(1 - РA2) |
0 |
0 |
|
Пример «дерева событий» с количественной оценкой среднегодовой частоты реализации каждой из ветвей развития аварийного процесса:
Pq > Q(T), РA1, РA2 - среднегодовые ожидаемые частоты реализации событий - элементов «дерева»; Р1, Р2, Р3 - среднегодовые ожидаемые частоты реализации сценариев развития аварий, соответствующих различным ветвям «дерева событий».
Следует отметить, что при проведении детального анализа риска аварий ГТС рекомендуется совместное применение методов анализа «дерева отказов» и анализа «дерева событий». На рисунке приведены результаты решения «дерева событий», полученного на основе анализа и решения соответствующих «деревьев отказов» для событий:
«приток превышает мощность турбин ГЭС» (Pq > Q(T)),
«отказ затворов водосброса» (РA1),
«обрушение участка сопряжения плотины с водосбросом» (РA2).
К достоинствам метода анализа «дерева событий» (ЕТА) относятся его наглядность, возможность обоснования необходимости внедрения дополнительных систем обеспечения безопасности гидротехнических сооружений и оценки их эффективности, включая системы оповещения населения об угрозе аварии ГТС, планы взаимодействия аварийно-спасательных служб гидротехнического объекта и сил МЧС и т.п.
ПРИМЕРЫ АНАЛИЗА И ОЦЕНКИ РИСКА АВАРИЙ КОНКРЕТНЫХ ГИДРОТЕХНИЧЕСКИХ СООРУЖЕНИЙ
2.1. Анализ и оценка риска аварий ГТС Чирюртских ГЭС
Состав сооружений: земляная плотина, донный бетонный водосброс, сопрягающий лоток, деривационный канал, напорный бассейн, напорные трубопроводы, здание ГЭС, отводящий канал, ОРУ 110 кВт.
Класс сооружений - II.
Длина напорного фронта - 0,35 км. Полная емкость водохранилища - 0,1 км3, полезная емкость - 0,004 км3. Максимальный статический напор - 49,5 м. Установленная мощность ГЭС при расчетном напоре 40,7 м составляет 72 тыс. кВт. Согласно результатам предварительного анализа опасностей (ПАО), выполненного экспертной группой в рамках комиссионного обследования состояния ГТС, обязательному декларированию безопасности подлежат: земляная плотина, донный водосброс, деривационный канал.
Земляная плотина - насыпная грунтовая зонированная, с глинистым ядром; длина - 430 м, максимальная высота - 37,5 м; ширина гребня - 9,5 м; заложение откосов: верхового от 1:2,5 до 1:3,5, низового от 1:2 до 1:2,25; в зоне переменного уровня верховой откос имеет крепление сборными железобетонными плитами. Донный бетонный водосброс в теле земляной плотины совмещен с водоприемником; водосброс длиной 34 м имеет 4 пролета шириной по 7 м и рассчитан на пропуск 3000 м3/с воды (паводок 0,1 % обесп.); удельный расход на рисберме - 80 м3/с.
Внешними причинами аварий и чрезвычайных ситуаций на декларируемых гидротехнических сооружениях Чирюртских ГЭС, как показывают результаты ПАО, могут быть следующие природные и техногенные воздействия:
сверхрасчетное землетрясение;
сверхрасчетный ливень;
сверхрасчетный паводок;
потеря внешнего электропитания;
террористический акт на ГЭС.
Техногенные воздействия - случайные и злонамеренные - рассматриваются ввиду сложившейся на Северном Кавказе обстановки.
К внутренним причинам аварий ГТС Чирюртских ГЭС относятся:
отказы механического оборудования водосброса;
нарушение фильтрационной прочности грунтов тела и/или основания плотины или насыпной части деривационного канала;
нарушение статической устойчивости низовой призмы грунтовой плотины;
старение бетонной облицовки насыпной части деривационного канала;
нарушение водонепроницаемости противофильтрационных элементов плотины.
Анализ природно-климатических условий территории размещения гидротехнических сооружений Чирюртских ГЭС, показателей природных и техногенных воздействий на ГТС, компоновки сооружений, их конструкций и опыта эксплуатации, выполненный экспертной группой, позволяет считать, что на Чирюртских ГЭС возможны следующие основные сценарии возникновения и развития аварий гидротехнических сооружений, способных привести к чрезвычайным ситуациям:
А1: перелив через гребень грунтовой плотины в паводок при снижении пропускной способности водосброса, возможном вследствие отказов механического оборудования водосбросных устройств, при потере внешнего электропитания или в результате террористического акта. Следствием перелива будет размыв участка плотины, образование прорана в теле плотины, волна прорыва и затопление нижнего бьефа.
А2: локальное разрушение участка грунтовой плотины вследствие возможной потери статической устойчивости плотины или фильтрационной прочности грунтов тела и/или основания плотины, сверхрасчетного землетрясения или злонамеренного разрушения плотины (террористический акт) может привести к переливу в зоне локального понижения гребня на разрушенном участке плотины даже при НПУ. Следствием перелива будет дополнительный размыв разрушенного участка плотины, образование прорана, волна прорыва и затопление нижнего бьефа.
A3: разрушение участка деривационного канала, возможное вследствие нарушения целостности бетонной облицовки или разрушения насыпной части борта канала, может привести к изливу массы воды из канала на прилегающую территорию.
Иные сценарии аварий, возможных на ГТС Чирюртских ГЭС, как показывает предварительный анализ опасностей и качественное ранжирование сценариев по уровню риска, к чрезвычайным ситуациям привести не могут, и поэтому далее не рассматриваются. Блок-схема анализа основных вероятных сценариев возникновения и развития аварий на ГТС Чирюртских ГЭС приведена на рис. П2.1.
Моделирование прорана в теле грунтовой плотины, оценка параметров зоны затопления и ущерба от аварий А1 и А2 позволяют классифицировать их как территориальные чрезвычайные ситуации [29]. Оценка габаритов зоны затопления и ущерба от аварии A3 позволяет классифицировать ее как локальную чрезвычайную ситуацию.
Причинами снижения пропускной способности водосброса могут быть:
механические повреждения затворов;
механические повреждения в пазах затворов;
неисправности приводных устройств;
потеря внешнего электропитания;
злонамеренные действия - террористический акт.
Возможные причины разрушения грунтовой плотины вследствие потери статической устойчивости или фильтрационной прочности (перелив через гребень рассматривается как отдельный сценарий аварии):
потеря статической устойчивости низовой призмы плотины;
сверхрасчетное землетрясение;
террористический акт;
суффозия в основании плотины;
суффозия в теле плотины;
нарушение водонепроницаемости противофильтрационных устройств плотины.
Возможные причины разрушения участка деривационного канала представляются следующими:
старение бетона облицовки участка канала в отсутствие контроля за ее целостностью;
злонамеренное разрушение бетонной облицовки или насыпи;
суффозия грунтов насыпной части канала;
сверхрасчетное землетрясение.
Рис. П2.1. Блок-схема анализа основных вероятных сценариев возникновения и развития аварий на ГТС Чирюртских ГЭС
Качественная оценка риска основных сценариев развития аварий на декларируемых ГТС Чирюртских ГЭС, выполненная экспертным путем, показывает, что существенным является риск отказа водосброса в паводок (сценарий А1) и риск разрушения участка грунтовой плотины (сценарий А2), поскольку последствия аварий по этим сценариям классифицируются как территориальные чрезвычайные ситуации [29]. Риск разрушения участка деривационного канала может считаться несущественным, так как его последствия классифицируются как локальная чрезвычайная ситуация.
Для количественной оценки риска основных сценариев развития аварий А1, А2, A3, возможных на ГТС Чирюртских ГЭС, использован метод анализа «дерева отказов» («Fault Tree Analysis» - FTA), рекомендованный СТП ВНИИГ.230.2.001-00 [22]. На рис. П2.2 - П2.4 представлены «деревья отказов» для головных событий каждого из идентифицированных сценариев аварий на ГТС Чирюртских ГЭС.
Рис. П2.2. «Дерево отказов» для сценария аварии А1

Рис. П2.3. «Дерево отказов» для сценария аварии А2
Рис. П2.4. «Дерево отказов» для сценария аварии A3
Решение «деревьев отказов» выполнено по следующим формулам (обозначения элементов «деревьев отказов» приведены на рис. П2.2 - П2.4):
Сценарий А1 - перелив через гребень плотины в паводок при снижении пропускной способности водосброса*
_____________
* Среднегодовые вероятности событий D1, D2, D3 численно не определялись ввиду отсутствия статистических данных. Для оценки величины среднегодовой вероятности реализации события С2 использовались литературные источники.
РA1 = РВ1РВ2; (П2.1)
РВ1 = 1 - (1 - РС1)(1 - РС2)(1 - РС3). (П2.2)
Сценарий А2 - локальное разрушение участка грунтовой плотины
РА2 = 1 - (1 - РВ4)(1 - РВ4); (П2.3)
РВ3 = 1 - (1 - РС3)(1 - РС4)(1 - РС5); (П2.4)
РВ4 = 1 - (1 - РС6)(1 - РС7)(1 - РС8). (П2.5)
Сценарий A3 - разрушение участка деривационного канала
РА3 = 1 - (1 - РВ5)(1 - РВ6)(1 - РС3); (П2.6)
РВ6 = 1 - (1 - РС9)(1 - РС4). (П2.7)
Численные значения ожидаемых среднегодовых частот реализации событий - элементов «деревьев отказов» - определялись следующим образом:
С1, С2, С3, С8, С9, С10 - по опубликованным источникам информации;
С4, В2 - по данным проекта;
С5, С6, С7 - по методике R.Fell, рекомендуемой СТП ВНИИГ [22];
Al, A2, A3, В1, В3, В4, В5, В6 - по формулам (П2.1) - (П2.7).
Табл. П2.1 содержит численные значения ожидаемых среднегодовых частот реализации событий и инцидентов, способных инициировать основные сценарии аварий на гидротехнических сооружениях Чирюртских ГЭС**.
______________
** В табл. П2.1 и в других таблицах, относящихся к рассмотренным ниже примерам, приведены только порядки величин среднегодовых частот, уточненные в каждом конкретном случае путем подбора значений частот соответствующих значений базовых отказов по литературным источникам.
Таким образом, среднегодовые вероятности аварий, возможных на гидротехнических сооружениях Чирюртских ГЭС, составляют:
Сценарий А1 - перелив через гребень плотины в паводок при снижении пропускной способности водосброса
РА1 = 10-6 1/год
(среднегодовая ожидаемая частота события «снижение пропускной способности водосброса в паводок» РВ1 = 10-3 1/год; среднегодовая частота сверхрасчетных паводков для сооружений II класса РВ2 = 1 · 10-3 1/год).
Сценарий А2 - локальное разрушение участка плотины
РА2 = 10-3 1/год.
Сценарий A3 - разрушение участка (ПК 20) деривационного канала
РА3 = 10-3 1/год.
Следует отметить, что полученные количественные оценки учитывают вклад и среднегодовые вероятности возможных внешних воздействий на гидротехнические сооружения Чирюртских ГЭС:
сверхрасчетный паводок (10-3 1/год),
злонамеренные действия (10-3 1/год),
террористический акт (10-3 1/год),
сверхрасчетное землетрясение (10-3 1/год).
Среднегодовые вероятности аварий декларируемых ГТС, возможных по внутренним причинам, составляют соответственно:
С2 - снижение пропускной способности водосброса в паводок вследствие отказов механического оборудования
РС2 = 10-5 1/год;
С5 - потеря статической устойчивости низовой призмы плотины
РС5 = 10-6 1/год;
С6 - суффозия в основании плотины
РС6 = 10-7 1/год;
С7 - суффозия в теле плотины
РС7 = 10-6 1/год;
Таблица П2.1
Численные значения среднегодовых вероятностей отказов и инцидентов, возможных на гидротехнических сооружениях Чирюртских ГЭС
|
Наименование элемента «дерева отказов» |
Среднегодовая частота отказа Р, 1/год |
|
|
А1 |
Перелив через гребень грунтовой плотины |
10-6 |
|
А2 |
Разрушение участка грунтовой плотины |
10-3 |
|
A3 |
Разрушение участка деривационного канала |
10-3 |
|
В1 |
Снижение пропускной способности водосброса |
10-3 |
|
В2 |
Сверхрасчетный паводок |
10-3 |
|
В3 |
Потеря статической устойчивости грунтовой плотины |
10-3 |
|
В4 |
Потеря фильтрационной прочности грунтовой плотины |
10-5 |
|
В5 |
Старение бетонной облицовки в отсутствие контроля за ее целостностью |
10-4 |
|
В6 |
Нарушение устойчивости насыпной части деривационного канала |
10-3 |
|
С1 |
Потеря внешнего электропитания |
10-2 |
|
С2 |
Отказ механического оборудования водосброса |
10-4 |
|
С3 |
Террористический акт |
10-3 |
|
С4 |
Сверхрасчетное землетрясение |
< 10-3 |
|
С5 |
Потеря статической устойчивости низовой призмы плотины |
10-6 |
|
С6 |
Суффозия в основании плотины |
10-7 |
|
С7 |
Суффозия в теле плотины |
10-6 |
|
С8 |
Отказ противофильтрационных устройств плотины |
10-5 |
|
С9 |
Суффозия грунтов насыпной части деривационного канала |
10-5 |
С8 - отказ противофильтрационных устройств плотины
РС8 = 10-5 1/год;
В5 - старение бетонной облицовки деривационного канала в отсутствие контроля за ее целостностью
РВ5 = 1 · 10-4 1/год.
Следовательно, риск катастрофических отказов декларируемых гидротехнических сооружений Чирюртских ГЭС по внутренним причинам составляет:
отказ водосброса - 10-5 1/год,
отказ грунтовой плотины - 10-5 1/год,
отказ деривационного канала - 10-4 1/год.
Допускаемый отечественными нормами обобщенный риск реализации предельного состояния первой группы для грунтовых плотин II класса в период постоянной эксплуатации, согласно данным [55], составляет (4 - 5) 10-4 1/год*.
______________
* Оценка допустимости риска аварий ГТС в данном и остальных примерах выполнялась до выхода в свет СНиП 33-01-2003.
Сравнение указанных величин с полученными расчетным путем величинами риска катастрофических отказов декларируемых ГТС Чирюртских ГЭС позволяет считать риск аварий грунтовой плотины Чирюртских ГЭС приемлемым, а уровень безопасности ГТС в целом - соответствующим современным нормам и правилам. Однако, учитывая значительные масштабы последствий аварий на грунтовой плотине, рекомендуется разработка мероприятий по повышению уровня безопасности ГТС Чирюртских ГЭС.
2.2. АНАЛИЗ И ОЦЕНКА РИСКА АВАРИЙ ГТС ПРОЕКТИРУЕМОГО ШЛАМОХРАНИЛИЩА ОАО «АЧИНСКИЙ ГЛИНОЗЕМНЫЙ КОМБИНАТ»
Декларированию безопасности подлежат гидротехнические сооружения карты № 2 шламохранилища (ШХ) открытого акционерного общества «Ачинский глиноземный комбинат» (ОАО «АГК») на стадии проектирования. Шламохранилище предназначено для приема и складирования нефелинового шлама глиноземного производства и золошлаковых отходов ТЭЦ.
В состав ГТС проектируемой карты № 2 ШХ входят:
ограждающие дамбы ярусов наращивания и пионерная дамба с отметкой гребня 204,00 м;
водоотводная зона на отметке 199,00 м;
разводящие шламопроводы, укладываемые по периметру дамб;
боковые выпуски шлама через 80 м по длине шламопроводов;
водосбросные колодцы шахтного типа - 2 шт.;
водосбросные коллекторы - 2 шт.;
сооружения системы дренажа.
В основании карты № 2 уложен противофильтрационный экран из полиэтиленовой пленки толщиной 1 мм.
Шламохранилище по рельефу местности относится к равнинному типу; по конструкции - к II типу (с дамбами из шламового материала). Площадь декларируемой карты № 2 - 115 га (в осях ограждающей дамбы). Карта № 2 ШХ АГК располагается в юго-западной части шламового поля. С восточной стороны карта № 2 примыкает к действующей карте № 1, с северной - к карте № 3.
Карта № 2 запроектирована на складирование 48 млн.т шлама и золы в течение 6 - 8 лет при коэффициенте заполнения 0,9. Согласно данным проекта, ГТС карты № 2 при намыве ее до отметки 246,0 м относятся к II классу.
Сооружением, образующим напорный фронт секции № 2, является пионерная дамба, а также дамбы ярусов наращивания, возводимые из свежих шламов. Полезная площадь (площадь карты намыва) в осях пионерных дамб составляет 105 га. Длина ограждающей дамбы секции № 2 составляет 3,05 км. Строительный объем для тела проектируемых дамб секции № 2 - 211,76 · 106 м3. Размеры шламохранилища 2,5´2,2 км. Шламохранилище расположено на расстоянии 0,4 км к северу от основной промплощадки комбината.
На площадке карты № 2 имелись заиленные бывшие старицы и оз. Подкова. В прошлые годы на карте № 2 был произведен замыв естественного ложа шламом до отметок 196,0 - 198,0 м на 70 % площади для выравнивания основания перед устройством экрана.
По результатам предварительного анализа опасностей обязательному декларированию безопасности подлежит ограждающая дамба секции № 2.
Основными внешними причинами, способными вызвать чрезвычайные ситуации на декларируемом сооружении, могут быть следующие природные и техногенные воздействия:
сверхрасчетное землетрясение;
сверхрасчетные неблагоприятные природные явления (ливень большой интенсивности и протяженности; обильное снеготаяние и др.);
авария с образованием волны прорыва на ограждающих дамбах примыкающих карт;
воздействие на шахтные водосбросы ледовых нагрузок;
изменение температуры в зимний период (процесс замерзания-оттаивания).
К внутренним причинам аварий дамбы относятся:
потеря устойчивости низового откоса дамбы;
потеря фильтрационной прочности грунтов тела дамбы;
перелив воды через гребень дамбы.
Поскольку оценка риска аварий ГТС проводится на стадии проекта, в анализе факторов возникновения аварий дамбы не учитывались дополнительные причины, свойственные процессам строительства и последующей эксплуатации сооружений.
Аварии на шламопроводах, связанные с их разрушением вне границ шламохранилища, а также отказы оборудования насосной станции не приведут к возникновению и развитию аварийной ситуации, поскольку на станции за работой системы гидротранспорта и ее элементов ведется надлежащий ежедневный контроль, позволяющий своевременно обнаружить и устранить возникновение повреждений в системе, а проектом предусмотрено резервное оборудование насосной станции.
Выполненный анализ факторов, обуславливающих возможные аварии ГТС карты № 2, и результаты оценки проектных решений конструкций сооружений позволили идентифицировать следующие сценарии возникновения и развития аварий, способных привести к ЧС:
отказ ограждающей дамбы (сценарий А1);
отказ водоотводных сооружений системы гидротранспорта (сценарий А2).
Блок-схема анализа вероятных сценариев возникновения и развития аварий ГТС секции № 2 шламохранилища АГК приведена на рис. П2.5.
Анализ исполнительной и проектной документации, результатов выполненных расчетов по обоснованию конструкции дамбы, опыт эксплуатации аналогичных объектов позволяют идентифицировать следующие возможные причины отказа сооружений карты № 2 ШХ АГК - сценарий А1:
потеря устойчивости низового откоса ограждающей дамбы;
нарушение фильтрационной прочности грунтов тела дамбы;
перелив воды через гребень дамбы.
Возможными причинами отказа системы гидротранспорта карты № 2 - сценарий А2 - являются:
разрушение золошлакопроводов в границах карты № 2;
повреждение шахтных водосбросных колодцев;
отказ отводящего коллектора осветленной воды;
нарушение технологии заполнения карты № 2.
На рис. П2.6 представлен логический причинно-следственный граф - «дерево отказов» для сценария А1 (отказ ограждающей дамбы), построенный с учетом практически всех возможных внешних воздействий и внутренних опасностей на карте № 2 ШХ.
Внешние воздействия учтены в «дереве отказов» в виде событий, связанных со сверхрасчетным снеготаянием и интенсивными осадками, а также возможными ледовыми нагрузками на водосбросные сооружения осветленной воды в зимний период.
Развитие аварийного процесса по сценарию А1 характеризует максимальную по уровню риска аварию ГТС карты № 2 шламохранилища. Наиболее вероятными представляются две ветви «дерева отказов» (см. рис. П2.6), по которым разрушение ограждающей дамбы проходит вследствие:
перелива воды через гребень дамбы;
потери фильтрационной прочности тела ограждающей дамбы в районе шахтного колодца.
Рис. П2.5. Блок-схема развития аварийного процесса для сценариев А1 и А2 на карте № 2 шламохранилища
Рис. П2.6. «Дерево отказов» ограждающей дамбы карты № 2 шламохранилища
Намеченные пути развития возможных аварий ГТС карты № 2 шламохранилища подтверждаются выполненными расчетами по обоснованию проектной конструкции. Для указанных наиболее вероятных путей развития аварий выполнены расчеты волны прорыва и определена зона затопления в результате отказа ограждающей дамбы карты № 2 с последующим обрушением дамбы карты № 3 и аварийным затоплением территории.
Развитие аварийного процесса по сценарию А2 в конечном итоге приводит к сценарию А1, т.е. к разрушению ограждающей дамбы карты № 2, поэтому схема аварийного процесса по сценарию А2 совмещена со схемой сценария А1, а в «дерево отказов» для сценария А1 включены все возможные отказы конструкций и отдельных элементов системы гидротранспорта, приводящие к возникновению аварии или ЧС.
Качественная оценка риска различных сценариев возникновения и развития аварий ограждающей дамбы карты № 2 шламохранилища АГК выполнена на основе анализа факторов, обуславливающих возможные аварии на декларируемом объекте. Проведенный экспертным путем анализ позволил на качественном уровне ранжировать по уровню риска основные сценарии возможных аварий на карте № 2. Наиболее вероятной и имеющей максимальные последствия является авария, связанная с разрушением ограждающей дамбы карты № 2 с последующим разрушением ограждающей дамбы карты № 3 (сценарий A1), вызванная нарушением фильтрационной прочности тела дамбы, потерей устойчивости откосов дамбы или переливом воды через гребень дамбы карты № 2 в районе расположения шахтных колодцев.
При оценке экспертным путем, учитывая, что определяется вероятность аварии проектируемого сооружения, указанные причины возникновения возможной аварии приняты равновероятными. Вероятность реализации наиболее опасного по последствиям сценария возникновения и развития аварии на карте № 2 (сценарий А1 - отказ ограждающей дамбы карты № 2 шламохранилища АГК) определялась по методике, изложенной в Стандарте предприятия ОАО «ВНИИГ им. Б.Е. Веденеева» [22].
На основе выполненных расчетов получены значения среднегодовых вероятностей отказов ограждающей дамбы карты № 2 по трем основным причинам:
1) потеря устойчивости откосов дамбы - Pss ≈ 10-4 1/год;
2) нарушение фильтрационной прочности грунтов тела дамбы - РЕЕ ≈ 10-4 1/год;
3) нарушение фильтрационной прочности грунтов основания дамбы - PEE ≈ 10-5 1/год.
Очевидно, что из трех основных возможных причин отказа ограждающей дамбы наиболее вероятными являются нарушение фильтрационной прочности тела дамбы и потеря устойчивости откосов дамб, как имеющие наибольшую ожидаемую частоту аварий в год. Поэтому в качестве окончательной величины среднегодовой вероятности реализации аварии по сценарию А1 (отказ ограждающей дамбы) принимается суммарная величина частоты отказа тела дамбы по причине нарушения фильтрационной прочности и устойчивости откосов РA1 = РЕЕ + Pss = 10-4 1/год, что подтверждается ранее выполненной качественной оценкой риска возможных на ограждающей дамбе карты № 2 аварий.
Для оценки вероятности отказов элементов системы гидротранспорта на экспертном уровне использовались данные, полученные в результате анализа материалов по авариям и ЧС, систематизированные в банке данных в ОАО «ВНИИГ им. Б.Е. Веденеева».
Выполненная качественная оценка риска возникновения аварии из-за отказа системы гидротранспорта выявила наиболее вероятные причины возникновения подобного события, а именно:
нарушение в работе дренажной системы;
нарушение в системе возврата осветленной воды, в том числе - нарушение в работе водосбросных колодцев.
Наиболее вероятной причиной перелива через гребень дамбы является отказ системы возврата осветленной воды.
Суммарная вероятность отказа системы гидротранспорта по указанным причинам с учетом специфики проектируемого сооружения оценивается экспертным путем как рA2 = 103 [79], что соответствует среднегодовой величине частоты реализации возможной аварии РA2 = 10-5 1/год, поэтому за итоговую среднегодовую частоту возникновения возможной аварии карты № 2 шламохранилища принимается величина РА1 = 10-4 1/год, что соответствует среднегодовой допускаемой вероятности аварий для сооружений II класса, которая составляет 5,0 - 10 1/год [55].
Использование алгоритма оценки вероятности отказа ГТС карты № 2 шламохранилища АГК по методике, изложенной в СТП ВНИИГ им. Б.Е. Веденеева [22], позволило получить численные значения среднегодовой частоты отказа ГТС карты № 2 и сравнить полученные величины с допускаемой вероятностью возникновения аварий на сооружениях.
Выполненные расчеты по обоснованию конструкции дамбы карты № 2 шламохранилища АГК, а также проведенная качественная и количественная оценка риска возникновения развития различных сценариев возможных аварий сооружений позволили сделать следующие выводы:
наиболее вероятной и наиболее опасной, т.е. имеющей максимальные последствия, является авария, связанная с разрушением ограждающей дамбы карты № 2 шламохранилища АГК, вследствие нарушения фильтрационной прочности тела дамбы, потери устойчивости откосов или перелива через гребень ограждающей дамбы;
поскольку возможные аварии рассматриваются для проектируемого сооружения, для которого факторы, влияющие на вероятность возникновения аварии, учтены в полном объеме, вероятности реализации аварии по причинам нарушения фильтрационной прочности тела дамбы, потери устойчивости откосов или перелива через гребень дамбы являются величинами одного порядка, близкими по значению друг другу;
среднегодовая частота реализации такой аварии составляет РA1 = 10-4 1/год, что меньше нормируемой среднегодовой вероятности аварий для сооружения II класса, которая составляет 5,0 · 10-4 1/год;
возможная авария на карте № 2 шламохранилища АГК с учетом числа пострадавших, размера материального ущерба и зоны распространения относится к локальной чрезвычайной ситуации.
Все вышеизложенное позволяет считать риск возникновения аварии на ГТС шламохранилища приемлемым, а уровень безопасности декларируемого сооружения - нормальным.
2.3. АНАЛИЗ И ОЦЕНКА РИСКА АВАРИЙ ГТС НИЖНЕ-ТУРИНСКОГО ГИДРОУЗЛА
Состав сооружений Нижне-Туринского гидроузла (НТГУ): водохранилище, грунтовая плотина, левобережная защитная дамба, паводковый водосброс (водослив с широким порогом, быстроток).
Класс сооружений - II.
Водохранилище НТГУ является источником водоснабжения г. Нижняя Тура, Нижне-Туринской ГРЭС, г. Лесной, имеет рыбохозяйственное значение, служит объектом рекреации.
Характеристика плотины:
тип - земляная, однородная;
материал - суглинки и глины со щебнем и строительным мусором;
длина по гребню - 300,0 м;
отметка гребня - 182,0 м;
ширина по гребню - 10,0 м (по гребню проходит автодорога);
максимальная высота - 13,0 м;
максимальный напор при НПУ - 10,0 м;
превышение гребня над НПУ - 2,3 м;
верховой откос - 1:2; 1:1,6; 1:3,5;
крепление верхового откоса - горная масса;
низовой откос - 1:2;
крепление низового откоса - одерновка;
наслонный дренаж на низовом откосе.
Характеристики водосброса:
тип водосброса - двухпролетный водослив с широким порогом;
материал - железобетон;
количество пролетов - 2;
ширина пролета в свету - 14,0 м;
пропускная способность при НПУ 179,70 м одного пролета 337,5 м3/с (двух - 675,0 м3/с);
отметка порога водослива - 174,50 м;
количество затворов - 2;
тип затворов - металлический сегментный, размеры щитов - 14,0´5,7 м;
управление затворами - механизированное, грузоподъемность подъемного механизма 75 т, расположено в помещениях на отметке 182,75 м.
В результате проведенного анализа инженерно-геологических и природно-климатических условий расположения площадки сооружений гидроузла, современных конструктивно-компоновочных решений ГТС НТГУ с учетом различных режимов эксплуатации, а также условий возникновения и развития аналогичных аварий на других гидроузлах были определены возможные аварии на Нижне-Туринском гидроузле и выявлены их основные причины. На НТГУ возможны следующие крупные аварии:
отказ грунтовой плотины;
отказ водосброса.
Отказ сооружений технического водоснабжения приведет к остановке станции и прекращению выработки электроэнергии. Отказ быстротока с водобойным колодцем не повлечет за собой аварии на гидроузле.
Причины возникновения предаварийных ситуаций и аварий на ГТС НТГУ могут быть условно разделены на внутренние и внешние.
Внутренними причинами возможных аварий рассматриваемых ГТС являются:
нарушение фильтрационной прочности в теле, основании грунтовой плотины и/или в местах сопряжений с берегами и водосбросом;
отказ механического оборудования водосброса;
разрушение бетонного порога водосброса;
некачественное производство работ по реконструкции грунтовой плотины в районе заделки старых водозаборных сооружений заводской установки и/или старого водозабора.
К внешним причинам возможных аварий можно отнести следующие:
сверхрасчетный паводок;
прорыв плотин вышерасположенных водохранилищ;
сверхрасчетные волновые воздействия;
сверхрасчетные ледовые воздействия;
взрыв на электроаппаратном заводе;
террористический акт.
Район расположения ГТС НТГУ не является сейсмо-, селе- и лавиноопасным, следовательно, эти внешние воздействия на ГТС НТГУ при анализе риска возникновения аварии не рассматриваются.
Возможными причинами отказа грунтовой плотины НТГУ являются:
перелив через гребень;
нарушение статической устойчивости;
потеря фильтрационной прочности тела плотины и/или основания.
Причины, вызывающие перелив через гребень плотины:
прорыв плотины вышерасположенного водохранилища (Кувшинского - 9,2 млн. м3 или Верхне-Туринского - 9,8 млн. м3);
взрыв на электроаппаратном заводе, расположенном рядом с грунтовой плотиной;
сверхрасчетный паводок;
нарушение работы водосброса.
Нарушение фильтрационной прочности тела и/или основания плотины с водосбросом может быть обусловлено следующими причинами:
разрушение заделки старого водосброса в теле плотины;
разрушение заделки старого водозабора заводской установки;
напорная фильтрация в гравийно-галечниковом грунте основания;
разрушение бетона в боковых устоях водосброса;
некачественное производство работ.
Причины потери статической устойчивости грунтовой плотины:
некачественное производство работ (в том числе в районе старых водозаборных сооружений);
мгновенная сработка водохранилища;
террористический акт.
Возможными причинами аварий водосброса НТГУ являются:
отказ водосброса или его элементов;
потеря фильтрационной прочности в местах сопряжения водосброса с берегом и/или грунтовой плотиной.
Причинами отказа водосброса или его элементов могут быть:
отказ затвора (затворов);
отказ подъемных механизмов;
разрушение бетонной части водосброса;
террористический акт.
Потеря фильтрационной прочности в местах сопряжения водосброса с берегом может быть обусловлена следующими причинами:
некачественное производство работ по сопряжению;
разрушение бетонной части водосброса в местах сопряжения;
ненадежная конструкция сопряжения.
В результате выполненного анализа инженерно-геологических условий размещения ГТС НТГУ, особенностей их компоновки, конструкций и условий эксплуатации определены основные сценарии возникновения возможных аварий и ЧС:
сценарий А1 - отказ (обрушение участка) грунтовой плотины;
сценарий А2 - катастрофический отказ водосброса.
Для сценариев А1 и А2 развитие аварийного процесса приводит к прорыву напорного фронта, образованию прорана и волны прорыва с последующим затоплением территории. При этом ожидается опорожнение водохранилища, останов станции и прекращение выработки электроэнергии. Схема развития аварийного процесса по сценариям А1 и А2 представлена на рис. П2.7.
По результатам предварительного ранжирования сценарий А1 представляется более вероятным, чем сценарий А2, поскольку на объекте имеются потенциально опасные «ослабленные» зоны в местах сопряжения бетонной и грунтовой частей сооружений, а также в местах тампонирования старых водозаборных сооружений и старого водосброса.
Рис. П2.7. Блок-схема развития аварийного процесса для сценариев А1 и А2
На рис. П2.8 представлено «дерево отказов» для сценария А1 аварии грунтовой плотины Нижне-Туринского гидроузла.
Количественная оценка вероятности отказа грунтовой плотины (сценарий А1) выполнена по методике, изложенной в СТП ВНИИГ 230.2.001-00 [22].
Анализ полученных расчетных значений вероятностей и частот отказов грунтовой плотины Нижне-Туринского гидроузла позволяет выделить в качестве основных причин возможной аварии потерю устойчивости откосов и нарушение фильтрационной прочности грунтов тела плотины. Среднегодовая вероятность возникновения такой аварии составляет величину РА1 = 10-4 1/год.
Выполненные поверочные расчеты устойчивости водосброса показали, что рассматриваемое сооружение обладает устойчивостью с коэффициентом больше нормативного. По данным визуального осмотра наружных и внутренних поверхностей бетонной конструкции трещин или каких-либо неблагоприятных явлений (очагов фильтрации, следов выщелачивания и др.) не обнаружено.
Основными критериями безотказной работы элементов затворов водосброса (и, следовательно, их безопасного состояния) являются:
непревышение допустимых значений пределов прочности, текучести, выносливости элементов затворов;
непревышение допустимых значений деформаций и перемещений элементов затворов;
непревышение допустимых значений величин протечек через уплотнения затворов;
соответствие сил сопротивления маневрированию и веса затворов грузоподъемности подъемного механизма.
При оценке вероятности отказов затворов как системы в качестве исходных принимались данные натурных наблюдений и обследований, а также проектные материалы и информация о режимах эксплуатации механического оборудования (МО) водосбросного сооружения - величины нагрузок, пределов прочности, текучести и выносливости, точнее, их математические ожидания и стандарты, соответствие используемых расчетных схем и методов расчета конструкций реальным условиям их работы.
«Дерево отказов» для сценария А2 аварии водосброса (включая систему механического оборудования) Нижне-Туринского гидроузла приведено на рис. П2.9.
Анализ «дерева отказов» показывает, что наиболее вероятной причиной, приводящей к наиболее опасным последствиям (перелив через гребень), является невозможность поднять затвор. К этому могут привести разрушение узла подвеса, превышение вследствие каких-либо причин (например, примерзание, перекос затвора) подъемными усилиями грузоподъемности цепного механизма, отказ самого подъемного оборудования. К переполнению водохранилища может привести и разрушение узла подвеса или обрыв цепи при поднятом затворе и, как следствие этого, посадка затвора на порог.
Механическое оборудование Нижне-Туринского гидроузла является системой с частичным резервированием, поэтому отказ при подъеме одного затвора при наступлении паводка, пропуск которого можно осуществить через один пролет водосброса, не приводит к отказу МО, так как в данном случае достаточно поднять один затвор. Подобный отказ при наступлении паводка со сбросным расходом малой обеспеченности приведет к отказу всего водосброса.
При экспертной оценке приводящего к аварии отказа затворов принималось во внимание следующее:
1) небольшой напор на затворы (при НПУ = 179,7 м напор на пороге равен 5,2 м);
2) в ходе проведенного обследования повреждений сегментного затвора и неисправностей подъемного и электрического оборудования водосброса не выявлено; состояние МО удовлетворительное;
3) правила эксплуатации затворов персоналом соблюдаются.
Учитывая вышеизложенное, а также основываясь на опыте оценки надежности водосбросов и их МО, можно принять в качестве экспертной оценки следующее значение среднегодовой вероятности аварии затворов Нижне-Туринского гидроузла:
РА2 ≈ 10-4 1/год.
Рис. П.2.8. «Дерево отказов» для грунтовой плотины НТГУ (сценарий А1)

Рис. П.2.8. (продолжение)

Рис. П.2.8. (продолжение)

Рис. П.2.8. (окончание)
Рис. П.2.9. «Дерево отказов» водосброса Нижне-Туринского гидроузла (сценарий А2)

Рис. П.2.9. (продолжение)

Рис. П.2.9. (окончание)
2.4. АНАЛИЗ И ОЦЕНКА РИСКА АВАРИЙ ГТС ВЕРХНЕ-ТАГИЛЬСКОЙ ГРЭС
Состав гидротехнических сооружений, обеспечивающих техническое водоснабжение Верхне-Тагильской ГРЭС (далее - ВТ ГРЭС):
Верхне-Тагильский гидроузел, включающий водохранилище, грунтовую плотину, бетонный водосброс;
Вогульский гидроузел, включающий водохранилище, грунтовую плотину и башенный водосброс;
Гидроузел № 4, включающий пруд-охладитель № 4, грунтовую плотину, трубчатый перепуск, водосливную плотину;
Сооружения технического водоснабжения, обеспечивающие подачу холодной воды на ВТ ГРЭС, отведение теплой воды, рассредоточенный выпуск ее для лучшего охлаждения;
Золошлакоотвал № 2 (ЗШО № 2), включая ограждающую дамбу и шахтные колодцы и сооружения систем внутреннего и внешнего гидрозолоудаления (ГЗУ).
Обязательному декларированию безопасности подлежат сооружения напорного фронта Верхне-Тагильской ГРЭС: Верхне-Тагильского гидроузла, Вогульского гидроузла, золошлакоотвала № 2.
Верхне-Тагильский гидроузел
Декларируемыми являются сооружения напорного фронта гидроузла: грунтовая плотина, бетонный водосброс.
Грунтовая плотина
Тип сооружения - гравитационная, однородная, суглинистая.
Грунты основания - скала, суглинки.
Превышение гребня над НПУ - 1 м.
Длина по гребню - 262 м.
Ширина по гребню - 15 м.
Ширина по подошве - 61,25 м.
Максимальная высота - 12,5 м.
Максимальный напор - 11,50 м.
Материал тела плотины - суглинки.
Заложение откосов: верхового 1:2,5; низового 1:1,5.
Тип крепления верхового откоса - одиночная мостовая из рваного камня по слою щебня и песка толщиной соответственно 0,3; 0,15; 0,15 м; низового откоса - посев трав.
Противофильтрационные и дренажные устройства отсутствуют.
Основные особенности компоновки и конструкции плотины:
новая грунтовая плотина выполнена в примыкании к низовому откосу старой плотины, реконструкция выполнена в 1958 г. по проекту ЛО института «Теплоэлектропроект»;
По гребню плотины проходит асфальтированная автодорога (Висимский заповедник - пос. Левиха - г. Кировоград).
Бетонный водосброс
Тип сооружения - водослив практического профиля.
Материал - монолитный железобетон.
Количество пролетов - 2.
Ширина пролета - 10,0 м, форма сечения - прямоугольная.
Максимальный напор - 11,0 м, напор на пороге - 5,5 м.
Длина - 25,5 м.
Ширина по гребню - 26,35 м.
Ширина по подошве - 33,85 м.
Пропускная способность пролета - 200 м3/с.
Суммарная пропускная способность - 400 м3/с.
Грунты основания - скала.
Водосброс представляет собой бетонную конструкцию докового типа, разделенную бычком толщиной 2,50 м на две секции. Толщина днища переменная от 4,00 до 2,00 м. В качестве противофильтрационного устройства в 1960 г. в основании водосброса выполнена цементационная завеса в виде ряда скважин диаметром 50 мм с шагом 1 м в шахматном порядке глубиной 1 м до скального основания.
Вогульский гидроузел
Декларируемыми сооружениями гидроузла являются: грунтовая плотина, водосбросные сооружения.
Грунтовая плотина
Тип сооружения - гравитационная, грунтовая с каменной пригрузкой.
Максимальная высота - 22,5 м.
Максимальный напор - 16,50 м.
Длина по гребню - 1003 м.
Ширина по гребню - 10 м.
Ширина по подошве - 115 м.
Грунты основания - суглинки аллювиальные, туффиты и туфо-песчанники.
Материал тела плотины - пылеватые суглинки.
Заложение откосов - верхового 1:3, низового 1:2,5;
Тип крепления откосов:
верхового - каменная наброска, толщиной 1,0 м по слою щебня,
толщиной 0,30 м;
низового - каменная наброска (на участке ПК5 - ПК9) толщиной
до 8 м.
Противофильтрационные устройства - понур из суглинка выполнен на участке (ПК 0 - ПК 6+50) длиной 650 м, шириной 15,00 - 30,00 м, толщиной 1,00 - 1,20 м с защитой верхнего слоя грунтосмесью толщиной 0,40 м и зуб, а в некоторых сечениях два зуба из суглинка высотой 2,00 м с откосами заложением 1:1.
Дренажные устройства - ленточный дренаж шириной 5,2 м с отводящими дренами из щебня длиной 11 - 14 м и дренажная призма (банкет) из каменной наброски.
Основные особенности компоновки и конструкции: новая плотина отсыпана на старую существующую с устройством башенного водосброса в левобережной части. Реконструкция выполнена в 1957 - 1967 гг. по проекту ЛО института «Теплоэлектропроект».
Водосбросные сооружения
Водосброс представляет собой прямоугольную башню, высотой 8,5 м со стенами толщиной 0,7 - 1,5 м, выдвинутую в верхний бьеф и находящуюся под всесторонним давлением воды, поэтому в создании напорного фронта не участвующую. Водосброс соединен с нижним бьефом тремя водоводами, имеет водобойный колодец на выходе из них. Суммарный сбросной расход через все водосбросные сооружения - 134,2 м3/с, в том числе через водосброс - 102,4 м3/с, ГЭС - 32 м3/с.
Башенный водосброс:
Грунт основания - скала.
Материал - железобетон.
Основные размеры отверстий: 3 донных отверстия 2,5´2,0 м, отметка порога - 261,50 м; 3 поверхностных отверстия 2,5´3,2 м, отметка порога - 271,80 м.
Максимальный напор - 17,4 м.
Суммарная пропускная способность - 102,4 м3/с.
Отверстия перекрываются плоскими колесными затворами.
Водоводы: количество - 3; сечение 3´3 м каждый, длина 57 м; материал - железобетон.
Золошлакоотвал № 2 (ЗШО № 2)
Тип золошлакоотвала - косогорный, односекционный, класс сооружений - II, эксплуатируется с 1967 г. ЗШО первоначальной площадью 398 га был образован отсыпкой с двух сторон первичных ограждающих дамб: восточной ПК 0 - ПК 20 и северной ПК 20 - ПК 33. Дамбы перегородили русло р. Сибирка в двух местах на ПК 15 и ПК 25; река с территории ЗШО была отведена посредством канала в старое русло. Золошлакоотвал рассчитан на три очереди эксплуатации.
В настоящее время закончено сооружение дамбы III яруса наращивания с отметкой гребня 274,5 м по всему периметру. Высота ограждающих дамб составляет 4,5 - 29 м. Свободной емкости для складирования золошлаков при заполнении до проектных отметок достаточно на 7 - 8 лет работы ВТ ГРЭС при современном выходе золошлаковых отходов.
Конструкция дамб
По способу возведения все дамбы являются насыпными, возводимыми послойной отсыпкой грунтов насухо с последующим уплотнением. Основанием дамб служат естественные грунты (суглинки, щебень, скала) и техногенный намытый золошлаковый материал (ЗШМ).
Противофильтрационные устройства ЗШО:
первичная дамба имеет суглинистый экран толщиной 2 - 10 м со стороны внутреннего откоса; в переходных слоях на дамбах наращивания также предусмотрен суглинистый экран;
строящаяся дамба наращивания III яруса отсыпается из слабопроницаемого суглинка и специальных противофильтрационных устройств не имеет.
К внешним факторам природного характера, способным инициировать аварии декларируемых сооружений ВТ ГРЭС, следует отнести:
карстообразование в основании Верхнетагильской плотины;
увеличение максимальных расходов притока дождевых паводков в водохранилищах Верхне-Тагильского и Вогульского гидроузлов.
К внешним факторам техногенного характера, способным инициировать аварии декларируемых сооружений ВТ ГРЭС, следует отнести:
волну прорыва, возможную при отказе (разрушении) земляной плотины Вогульского гидроузла;
транспортные аварии на автодорогах, проходящих по гребням плотин Верхне-Тагильского и Вогульского гидроузлов;
прорыв золошлакопровода, проходящего по гребню плотины Вогульского гидроузла;
террористический акт, вероятность которого в настоящее время невозможно исключить ввиду сложной политической обстановки в мире и в России.
Анализ особенностей конструктивных решений и эксплуатации ГТС Верхне-Тагильской ГРЭС позволяет предположить, что основными внутренними факторами, обуславливающими возможные аварии, могут быть:
потеря устойчивости откосов грунтовых плотин гидроузлов и ограждающей дамбы золошлакоотвала № 2;
потеря фильтрационной прочности грунтов тела плотин и дамбы;
потеря фильтрационной прочности грунтов основания плотин и дамбы;
отказы элементов оборудования водосбросных сооружений гидроузлов и золошлакоотвала.
Перечисленные внешние и внутренние факторы могут инициировать аварии, развивающиеся по следующим сценариям, результаты рассмотрения которых приведены ниже.
Верхне-Тагильский гидроузел
Сценарий 1.1: разрушение грунтовой плотины Верхне-Тагильского гидроузла, возможное по внешним причинам (прорыв напорного фронта Вогульского гидроузла, террористический акт, крупная авария на автодороге, проходящей по гребню плотины) или внутренним причинам (потеря устойчивости откосов, нарушение фильтрационной прочности грунтов тела и/или основания плотины), приведет к образованию прорана и волны прорыва, распространяющейся вдоль р. Тагил, затоплению значительной территории, социальному, материальному и экологическому ущербу; приоритетная внешняя причина аварии грунтовой плотины Верхне-Тагильского гидроузла - прорыв напорного фронта Вогульского гидроузла; приоритетная внутренняя причина аварии - нарушение фильтрационной прочности грунтов тела плотины на контакте с водосбросным сооружением.
Сценарий 1.2: отказы элементов оборудования водосбросного сооружения гидроузла приведут к переливу через гребень грунтовой плотины Верхне-Тагильского гидроузла, последующему размыву гребня, образованию прорана и волны прорыва, распространяющейся вдоль р. Тагил, затоплению значительной территории, социальному, материальному и экологическому ущербу; отказ бетонного водосброса может произойти вследствие потери внешнего электропитания, отказов элементов механического оборудования водосброса, потери статической устойчивости водосброса вследствие старения бетона или образования трещин, а также при террористическом акте; приоритетной причиной отказа водосброса следует считать террористический акт.
Вогульский гидроузел
Сценарий 2.1: разрушение грунтовой плотины Вогульского гидроузла, возможное по внешним причинам (террористический акт, крупная автомобильная авария, разрушение магистрального золошлакопровода, проходящего по гребню грунтовой плотины) или внутренним причинам (потеря устойчивости откосов, нарушение фильтрационной прочности грунтов тела и/или основания плотины), приведет к образованию прорана и волны прорыва, распространяющейся в Верхне-Тагильское водохранилище; ввиду незначительного превышения отметки гребня плотины Верхне-Тагильского гидроузла над НПУ повышение уровня в Верхне-Тагильском водохранилище, достигнув отметки гребня грунтовой плотины, приведет к переливу и последующему образованию прорана в плотине Верхне-Тагильского гидроузла; волна прорыва из Верхне-Тагильского водохранилища приведет к затоплению значительной территории, социальному, материальному и экологическому ущербу; кроме того, разрушение грунтовой плотины Вогульского гидроузла по причинам, не связанным с магистральным золошлакопроводом, вызовет его разрыв, что, в свою очередь, вызовет прекращение подачи пульпы на золошлакоотвал и его остановку; приоритетные причины аварии грунтовой плотины Вогульского гидроузла - внешние техногенные воздействия (террористический акт, автомобильная авария) и внутренние причины - нарушение фильтрационной прочности грунтов тела плотины в зоне примыкания к водосбросному сооружению.
Сценарий 2.2: отказ водосбросного сооружения в паводок приведет к переливу через гребень плотины Вогульского гидроузла, последующему размыву гребня и образованию прорана; далее аварийный процесс будет развиваться по сценарию 2.1; отказ башенного водосброса может произойти вследствие нарушения внешнего электропитания, отказов элементов механического оборудования водосброса, потери статической устойчивости водосброса вследствие старения бетона или образования трещин, а также при террористическом акте; приоритетной причиной отказа башенного водосброса следует считать террористический акт.
Сценарий 3.1: локальное разрушение ограждающей дамбы золошлакоотвала приведет к образованию прорана и выбросу массы воды и техногенного селя из воды системы ГЗУ и золошлаковых материалов за пределы ЗШО, затоплению и загрязнению территории вдоль старого русла р. Сибирки, экологическому и материальному ущербу.
Причины локального разрушения ограждающей дамбы ЗШО:
потеря устойчивости откосов дамбы наращивания;
потеря фильтрационной прочности грунтов тела дамбы;
потеря фильтрационной прочности грунтов основания дамбы;
террористический акт.
Сценарий 3.2: отказ водосбросных сооружений золошлакоотвала приведет к переливу через гребень ограждающей дамбы, локальному ее разрушению в месте понижения отметки гребня, образованию прорана и далее по сценарию 3.1; причинами отказа водосбросных сооружений ЗШО могут быть: разрушение водосбросного колодца вследствие давления льда, волнового воздействия, потери устойчивости конструкции; авария золошлакоотвала вследствие отказа водосбросных сооружений маловероятна, поскольку резервная емкость ЗШО № 2 достаточно велика (практически до проектной отметки уже возведены дамбы наращивания III яруса), однако полностью исключить возможность возникновения и развития аварии ЗШО по данному сценарию нельзя.
При анализе возможных сценариев возникновения и развития аварий на гидротехнических сооружениях Верхне-Тагильской ГРЭС следует учитывать каскадность их размещения:
первый каскад образован прудом-охладителем № 4 и Верхне-Тагильским водохранилищем;
второй каскад образован Вогульским и Верхне-Тагильским водохранилищами.
На рис. П2.10 приведена общая схема развития аварий на гидротехнических сооружениях Верхне-Тагильской ГРЭС с учетом каскадности их расположения. Блок-схемы развития аварийных процессов по сценариям аварий, возможных на ГТС Верхне-Тагильской ГРЭС, представлены на рис. П2.11 и П2.12.
Рис. П2.10. Общая схема развития аварий на ГТС ВТ ГРЭС с учетом каскадности размещения сооружений
Экспертное ранжирование по уровню риска аварий, возможных на декларируемых сооружениях Верхне-Тагильской ГРЭС, выполнено согласно «Методическим указаниям по проведению анализа риска аварий гидротехнических сооружений» [22].
В табл. П2.2 приведены результаты экспертного ранжирования аварий, возможных на ГТС Верхне-Тагильской ГРЭС, по уровню вероятности реализации и последствий. Матрица качественной оценки риска аварий ГТС Верхне-Тагильской ГРЭС приведена в табл. П2.3.
Рис. П2.11. Блок-схема анализа условий возникновения и развития аварий на ГТС Верхне-Тагильского и Вогульского гидроузлов ВТ ГРЭС. Схема 1. Сценарии 1.1, 1.2. 2.1, 2.2
Результаты качественной оценки риска аварий гидротехнических сооружений Верхне-Тагильской ГРЭС выглядят следующим образом:
высокий уровень риска имеют сценарии 1.1 и 2.1 - соответственно разрушение грунтовой плотины Вогульского и Верхне-Тагильского гидроузла вследствие внешних или внутренних причин;
существенный уровень риска имеют сценарии 2.2 и 3.1 - отказ водосброса плотины Вогульского гидроузла в паводок и локальное разрушение ограждающей дамбы золошлакоотвала № 2;
средний уровень риска имеет сценарий 1.2 - отказ водосброса плотины Верхне-Тагильского гидроузла в паводок;
низкий уровень риска имеет сценарий 3.2 - отказ водосбросных сооружений ЗШО № 2.
Рис. П2.12. Блок-схема анализа условий возникновения и развития аварий на золошлакоотвале № 2 Верхне-Тагильской ГРЭС. Схема 2. Сценарии 3.1, 3.2
Количественная оценка риска аварий, возможных на декларируемых ГТС, выполнена согласно «Методическим указаниям по проведению анализа риска аварий гидротехнических сооружений» [22] с использованием метода анализа «дерева отказов». «Дерево отказов» для сценария 2.1 наиболее опасной по последствиям аварии приведено на рис. П2.13. Фрагмент «дерева отказов», относящийся к сценарию 2.2 - отказ грунтовой плотины Вогульского гидроузла вследствие перелива через гребень плотины - отмечен на рис. П2.13 курсивом. Табл. П2.4 содержит численные значения среднегодовых вероятностей отказов для элементов данного «дерева отказов».
Решение «дерева отказов», приведенного на рис. П2.13, производится по следующим формулам:
р2.1 = р2.1.1+ р2.1.2 + р2.1.3 + р2.1.4 + р2.1.5+ р2.1.6;
Р2.2 = Р2.2.1 Р2.2.2.
Таблица П2.2
Матрица экспертного ранжирования аварий ГТС Верхне-Тагильской ГРЭС по уровню вероятности реализации и последствий
|
Краткая характеристика сценария |
Экспертная оценка вероятности сценария |
Экспертная оценка уровня последствий аварии |
|
|
1.1 |
Разрушение грунтовой плотины Верхне-Тагильского гидроузла вследствие внешних или внутренних причин |
Весьма возможно |
Средний ущерб |
|
1.2 |
Отказ водосброса плотины Верхне-Тагильского гидроузла в паводок |
Мало вероятно |
|
|
2.1 |
Разрушение грунтовой плотины Вогульского гидроузла вследствие внешних или внутренних причин |
Весьма возможно |
Значительный ущерб |
|
2.2 |
Отказ водосброса плотины Вогульского гидроузла в паводок |
Мало вероятно |
|
|
3.1 3.2 |
Локальное разрушение ограждающей дамбы ЗШО № 2 |
Вероятно |
Относительно малый ущерб |
|
Отказ водосбросных сооружений ЗШО № 2 |
Мало вероятно |
Таблица П2.3
Матрица качественной оценки риска аварий ГТС Верхне-Тагильской ГРЭС
|
Последствия аварии |
||||
|
несущественные |
малые |
средние |
значительные |
|
|
Весьма возможна |
С |
В |
А (1.1) |
А (2.1) |
|
Вероятна |
D |
В (3.1) |
В |
А |
|
Мало вероятна |
D |
D (3.2) |
С (1.2) |
В (2.2) |
Обозначения уровней риска аварий: А - высокий, В - существенный, С - средний. D - низкий. В круглых скобках указаны номера сценариев аварий.
Таблица П2.4
Результаты решения «дерева отказов» для грунтовой плотины Вогульского гидроузла
|
Характеристика элемента «дерева отказов» |
Среднегодовая вероятность отказа, 1/год |
|
|
2.1 |
Отказ грунтовой плотины Вогульского гидроузла по внутренним и внешним причинам (за исключением перелива через гребень плотины) |
10-3 |
|
2.2 |
Перелив через гребень грунтовой плотины Вогульского гидроузла |
10-7 |
|
2.1.1 |
Потеря устойчивости откосов грунтовой плотины Вогульского гидроузла |
10-5 |
|
2.1.2 |
Нарушение фильтрационной прочности грунтов тела плотины |
10-5 |
|
2.1.3 |
Нарушение фильтрационной прочности грунтов основания плотины |
10-5 |
|
2.1.4 |
Террористический акт |
10-3 |
|
2.1.5 |
Авария на автодороге |
10-4 |
|
2.1.6 |
Прорыв золошлакопровода, проходящего по гребню плотины |
10-4 |
|
2.2.1 |
Отказ водосброса |
10-4 |
|
2.2.2 |
Сверхрасчетный паводок |
10-3 |
Здесь Рi.j, Рi.j.k - среднегодовые вероятности реализации событий -элементов «дерева отказов»; при этом значения р2.1.1, р2.1.2, р2.1.3 определяются расчетным путем по методике R. Fell, рекомендованной «Методическими указаниями по проведению анализа риска аварий гидротехнических сооружений» [22] для грунтовых плотин и дамб, значения р2.1.4, р2.1.5, р2.1.6, р2.2.1 - по литературным данным, значение р2.2.2 - по гидрологическим данным проекта сооружений, значения р2.1 и р2.2 - по формулам, приведенным выше.
Рис. П2.13. «Дерево отказов» для сценариев 2.1 и 2.2 аварий ГТС
Результаты расчетов показали, что среднегодовая вероятность реализации наиболее опасного по уровню риска и последствий сценария аварии, возможного на гидротехнических сооружениях Верхне-Тагильской ГРЭС, - отказ грунтовой плотины Вогульского гидроузла (сценарий 2.1) - составляет величину
Р2.1 = 10-3 1/год.
Среднегодовая вероятность отказа грунтовой плотины Вогульского гидроузла вследствие отказа водосброса (сценарий 2.2) составляет величину
Р2.2 = 10-7 1/год.
«Дерево отказов» для сценариев аварий 1.1 и 1.2 (разрушение грунтовой плотины Верхне-Тагильского гидроузла вследствие внешних или внутренних причин (1.1) и перелив через гребень плотины в паводок при отказе водосброса (1.2) соответственно) приведено на рис. П2.14. Ветвь «дерева отказов», относящаяся к прорыву напорного фронта Вогульского гидроузла, отмечена на рисунке жирными линиями и курсивом. В табл. П2.5 содержатся результаты решения данного «дерева отказов».
Рис. П2.14. «Дерево отказов» для сценариев 1.1 и 1.2 аварий ГТС
Рис. П2.15. «Дерево отказов» для сценариев 3.1 и 3.2 аварий ЗШО № 2
Таблица П2.5
Результаты решения «дерева отказов» для грунтовой плотины Верхне-Тагильского гидроузла
|
Характеристика элемента «дерева отказов» |
Среднегодовая вероятность отказа, 1/год |
|
|
1.1 |
Отказ грунтовой плотины Верхне-Тагильского гидроузла по внутренним и внешним причинам (за исключением перелива через гребень плотины) |
10-3 |
|
1.2 |
Перелив через гребень грунтовой плотины Верхне-Тагильского гидроузла |
10-7 |
|
1.1.1 |
Потеря устойчивости откосов грунтовой плотины Верхне-Тагильского гидроузла |
10-5 |
|
1.1.2 |
Нарушение фильтрационной прочности грунтов тела плотины |
10-5 |
|
1.1.3 |
Нарушение фильтрационной прочности грунтов основания плотины |
10-5 |
|
1.1.4 |
Террористический акт |
10-3 |
|
1.1.5 |
Авария на автодороге |
10-4 |
|
1.1.6 |
Прорыв напорного фронта Вогульского гидроузла |
10-3 |
|
1.2.1 |
Отказ водосброса |
10-4 |
|
1.2.2 |
Сверхрасчетный паводок |
10-3 |
Среднегодовая вероятность прорыва напорного фронта Вогульского гидроузла составляет
Р2 = Р2.2 + Р2.2 ≈ Р2.1 = 10-3 1/год,
поскольку Р2.2 на четыре порядка меньше Р2.1.
Таким образом, среднегодовая вероятность реализации сценария крупной аварии, возможной на Верхне-Тагильской грунтовой плотине и характеризуемой высоким уровнем риска - отказ грунтовой плотины Верхне-Тагильского гидроузла (сценарий 1.1) составляет величину
Р1.1 = 10-3 1/год.
Таблица П2.6
Результаты решения «дерева отказов» для золошлакоотвала № 2 ВТ ГРЭС
|
Характеристика элемента «дерева отказов» |
Среднегодовая вероятность отказа, 1/год |
|
|
3.1 |
Отказ ограждающей дамбы ЗШО № 2 по внутренним и внешним причинам |
10-3 |
|
3.2 |
Отказ водосбросных сооружений ЗШО № 2 |
10-4 |
|
3.1.1 |
Потеря устойчивости откосов ограждающей дамбы ЗШО № 2 |
10-6 |
|
3.1.2 |
Нарушение фильтрационной прочности грунтов тела ограждающей дамбы ЗШО № 2 |
10-5 |
|
3.1.3 |
Нарушение фильтрационной прочности грунтов основания ограждающей дамбы ЗШО № 2 |
10-6 |
|
3.1.4 |
Отказ ограждающей дамбы ЗШО № 2 вследствие террористического акта |
10-3 |
Среднегодовая вероятность отказа грунтовой плотины Верхне-Тагильского гидроузла вследствие отказа водосброса (сценарий 1.2) составляет величину
Р1.2 = 10-7 1/год.
«Дерево отказов» для золошлакоотвала № 2 представлено на рис. П2.15. В табл. П2.6 содержатся результаты решения данного «дерева отказов», выполненного по формуле
Р3.1 = р3.1.1 + р3.1.2 + р3.1.3 + р3.1.4.
Здесь р3.1.1, р3.1.2, р3.1.3 - среднегодовые вероятности отказа грунтовой дамбы ограждения ЗШО № 2 по причинам нарушения устойчивости откосов, фильтрационной прочности грунтов тела и основания дамбы. Значения р3.1.1, р3.1.2, р3.1.3 получены с учетом периода безаварийной работы ЗШО № 2 по методике R.Fell [22].
Таблица П2.7
Результаты количественной оценки среднегодовой вероятности реализации основных сценариев аварий, возможных на ГТС Верхне-Тагильской ГРЭС
|
Обозначение сценария аварии |
Сценарий аварии |
Вероятность реализации, 1/год |
|
|
Грунтовая плотина Верхне-Тагильского гидроузла |
1.1 |
Разрушение грунтовой плотины Верхне-Тагильского гидроузла вследствие внешних или внутренних причин |
10-1 |
|
1.2 |
Отказ водосброса плотины Верхне-Тагильского гидроузла в паводок |
10-7 |
|
|
Грунтовая плотина Вогульского гидроузла |
2.1 |
Разрушение грунтовой плотины Вогульского гидроузла вследствие внешних или внутренних причин |
10-3 |
|
2.2 |
Отказ водосброса плотины Вогульского гидроузла в паводок |
10-7 |
|
|
Золошлакоотвал № 2 |
3.1 |
Локальное разрушение ограждающей дамбы ЗШО № 2 вследствие внешних или внутренних причин |
10-3 |
|
3.2 |
Отказ водосбросных сооружений ЗШО № 2 |
10-4 |
Таблица П2.8
Принятые в качестве допустимых значения риска аварий ГТС [55]
|
Допускаемый нормами обобщенный риск реализации предельных состояний первой группы для плотин II класса, 1/год |
||
|
верхняя граница риска |
нижняя граница риска |
|
|
Бетонные гравитационные |
5 · 10-4 |
2,5 · 10-4 |
|
Плотины из грунтовых материалов |
5 · 10-4 |
4 · 10-4 |
Результаты количественной оценки среднегодовой вероятности реализации основных сценариев аварий, возможных на декларируемых гидротехнических сооружениях Верхне-Тагильской ГРЭС, представлены в табл. П2.7.
На момент разработки декларации безопасности ГТС Верхне-Тагильской ГРЭС нормативные значения допустимого риска аварий гидротехнических сооружений отсутствовали. Поэтому в качестве временных значений допустимого риска аварий ГТС используются, согласно рекомендациям СТП ВНИИГ 230.2.001-00 [22], допускаемые отечественными нормами значения обобщенного риска реализации предельных состояний первой группы для бетонных и грунтовых плотин II класса, приведенные в работе [55] для периода постоянной эксплуатации сооружений (табл. П2.8).
Сравнение результатов количественных оценок риска аварий, декларируемых ГТС ВТ ГРЭС, с данными, приведенными в табл. П2.8, показывает:
риск аварий декларируемых грунтовых сооружений - плотин Верхне-Тагильского и Вогульского гидроузлов и ограждающей дамбы золошлакоотвала № 2 - как минимум на порядок превышает допустимые значения для сценариев аварий, инициируемых внешними или внутренними причинами за исключением отказов водосбросных сооружений;
риск аварий декларируемых гидротехнических сооружений Верхне-Тагильского и Вогульского гидроузлов вследствие отказов водосбросных сооружений почти на три порядка меньше допустимых значений;
риск аварии золошлакоотвала № 2 вследствие отказа водосбросных сооружений в 2,5 раза меньше значения, соответствующего нижней границе риска, допускаемого отечественными нормами.
СОДЕРЖАНИЕ