Документ распространяется на устройство различных оснований внутриквартальных дорог с учетом неблагоприятных гидрогеологических условий, подземных инженерных сетей, траншей и котлованов с использованием современных строительных материалов и изделий, а также машин и механизмов.
| Обозначение: | ТР 192-08 |
| Название рус.: | Технические рекомендации по устройству оснований внутриквартальных дорог, в т.ч. при неблагоприятных гидрологических условиях, наличии подземных инженерных сетей, траншей, котлованов |
| Статус: | действует |
| Дата актуализации текста: | 05.05.2017 |
| Дата добавления в базу: | 01.09.2013 |
| Дата введения в действие: | 01.01.2009 |
| Утвержден: | 25.12.2008 Управление научно-технической политики в строительной отрасли |
| Ссылки для скачивания: |
КОМПЛЕКС АРХИТЕКТУРЫ,
СТРОИТЕЛЬСТВА, РАЗВИТИЯ
И РЕКОНСТРУКЦИИ ГОРОДА МОСКВЫ
ГОСУДАРСТВЕННОЕ УНИТАРНОЕ
ПРЕДПРИЯТИЕ
НАУЧНО-ИССЛЕДОВАТЕЛЬСКИЙ ИНСТИТУТ
МОСКОВСКОГО СТРОИТЕЛЬСТВА
ГУП «НИИМосстрой»
ТЕХНИЧЕСКИЕ РЕКОМЕНДАЦИИ
ПО УСТРОЙСТВУ ОСНОВАНИЙ ВНУТРИКВАРТАЛЬНЫХ
ДОРОГ, В Т.Ч. ПРИ НЕБЛАГОПРИЯТНЫХ
ГИДРОГЕОЛОГИЧЕСКИХ УСЛОВИЯХ, НАЛИЧИИ ПОДЗЕМНЫХ
ИНЖЕНЕРНЫХ СЕТЕЙ, ТРАНШЕЙ, КОТЛОВАНОВ
ТР 192-08
Москва 2008
Технические рекомендации разработаны на основе результатов научно-исследовательских, опытно-производственных работ, анализа отечественного опыта строительства и эксплуатации, внутриквартальных дорог различного назначения.
Рекомендации направлены на совершенствование нормативной базы, на строительство внутриквартальных дорог, повышение качества, снижение стоимости устройства дорог за счет внедрения новых технологий и материалов.
Рекомендации разработаны канд. техн. наук Л.В. Городецким, Р.И. Бега, ст. науч. сотр. В.Ф. Деминым, мл. науч. сотр. Н.Н. Маныловой (ГУП «НИИМосстрой»), инж. Г.М. Животинским (ОАО «Мосинжстрой»), инж. Л.И. Зинченко (ООО «Оптим инжиниринг»).
Технические рекомендации согласованы с ОАО «Гордорстрой», ОАО «Инждорстрой».
|
Комплекс архитектуры, строительства, развития и реконструкции города Москвы |
ТЕХНИЧЕСКИЕ РЕКОМЕНДАЦИИ |
ТР 192-08 |
|
Вводятся впервые |
|
Разработаны ГУП «НИИМосстрой» |
УТВЕРЖДЕНЫ: Начальник Управления научно-технической политики в строительной отрасли _____________ А.Н. Дмитриев «25» декабря 2008 г. |
Дата введения в действие |
|
«01» января 2009 г. |
1.1 Настоящие рекомендации распространяются на устройство различных оснований внутриквартальных дорог с учетом неблагоприятных гидрогеологических условий, подземных инженерных сетей, траншей и котлованов с использованием современных строительных материалов и изделий, а также машин и механизмов.
1.2 В рекомендациях приведены предлагаемые конструкции оснований для внутриквартальных дорог, требования к материалам для устройства различных конструктивных слоев и изделиям, технология их устройства.
1.3 В технических рекомендациях обобщен опыт устройства и эксплуатации внутриквартальных дорог строительными организациями г. Москвы.
1.4 Технические рекомендации разработаны в соответствии с требованиями действующих нормативных документов на устройство дорожных конструкций в г. Москве, альбома типовых конструкций СК 6101 «Внутриквартальные дороги и улицы. Часть 2», строительными нормами и правилами СНиП 3.06.03-85 «Автомобильные дороги».
1.5 Технологический процесс сооружения основания внутри квартальных дорог включает следующие этапы:
- возведение земляного полотна;
- устройство подстилающего (морозозащитного) слоя;
- установка дождеприемных и смотровых колодцев;
- установка бортовых камней;
- устройство оснований.
1.6 В соответствии с требованиями проекта или указаниями настоящих технических рекомендаций в различных технологических слоях могут быть использованы геотекстиль или геосинтетика (геосетки).
2.1 До начала работ по устройству земляного полотна предварительно должны быть выполнены: расчистка площади строительства, снятие и складирование плодородного слоя почвы, прокладка подземных сетей, попадающих в зону строительства дорог; разработка выемок и возведение насыпей с послойным разравниванием и уплотнением грунта до установленных пределов.
2.2 Обеспечение прочности и устойчивости земляного полотна, выбор грунтов для его сооружения должны быть предусмотрены проектом.
2.3 Разработка выемок должна начинаться, как правило, с пониженных мест рельефа. В период строительства, при необходимости, следует обеспечить отвод поверхностных вод и зоны производства работ.
2.4 Для возведения насыпей рекомендуется применять песчаные грунты, за исключением недренирующих мелких и пылеватых песков, и супеси легкие крупные, для которых содержание частиц размером 2 - 0,25 мм составляет более 50 % (таблица 1, 2).
Таблица 1 - Характеристика песчаных грунтов
|
Содержание частиц в % от общей массы сухого грунта |
|
|
1 |
2 |
|
Песок гравелистый |
Масса частиц крупнее 2 мм составляет более 25 % |
|
Песок крупный |
Масса частиц крупнее 0,5 мм составляет более 50 % |
|
Песок средней крупности |
Масса частиц крупнее 0,25 мм составляет более 50 % |
|
Песок мелкий |
Масса частиц крупнее 0,1 мм составляет более 75 % |
|
Песок пылеватый |
Масса частиц крупнее 0,1 мм составляет менее 75 % |
Таблица 2 - Характеристика грунтов
|
Разновидности грунтов |
Содержание песчаных частиц размерами от 2 до 0,5 мм, % по массе |
Число пластичности Wn |
|
|
1 |
2 |
3 |
4 |
|
Супесь |
Легкая крупная |
> 50х) |
1 < Wn < 7 |
|
Легкая |
> 50 |
||
|
Пылеватая |
20 - 50 |
||
|
Тяжелая пылеватая |
< 20 |
||
|
Суглинок |
Легкий |
> 50 |
7 < Wn < 12 |
|
Легкий пылеватый |
< 40 |
||
|
Тяжелый |
> 50 |
12 < Wn < 17 |
|
|
Тяжелый пылеватый |
< 40 |
||
|
Глина |
Песчанистая |
40 |
1 < Wn < 7 |
|
Пылеватая |
меньше, чем пылеватых разм. 0,005 - 0,005 мм |
17 < Wn < 27 |
|
|
Жирная |
не нормируется |
Wn > 27 |
2.5 Глинистые грунты допускается применять для отсыпки нижней части насыпи.
2.6 При возведении насыпей из неоднородных грунтов отсыпка должна производиться послойно в следующем порядке: менее дренирующие грунты укладываются в нижнюю часть насыпи, более дренирующие - в верхние слои. Применение грунтов различных видов в одном слое насыпи не допускается.
В отдельных случаях для защиты насыпи от воздействия грунтовых вод в нижней её части устраивают отдельные слои из хорошо дренирующихся грунтов или укладывают геотекстиль, геосинтетику с подложкой.
2.7 Верхнюю часть земляного полотна дороги на 1,2 м от поверхности цементобетонного покрытия и на 1,0 м от поверхности асфальтобетонного покрытия следует сооружать из непучинистых или слабопучинистых грунтов (песчаные или легкие супесчаные грунты) (таблицы 1, 2). При отсутствии таких грунтов необходимо по земляному полотну устраивать прослойки из геотекстиля или геосеток с подложкой из геотекстиля.
2.8 Влажность песчаных и глинистых грунтов, укладываемых в насыпь и подлежащих уплотнению, должна быть оптимальной (Wо) или близкой к ней. Если естественная влажность применяемых глинистых грунтов, ниже 0,9Wo и песков менее 4 %, следует производить дополнительное их увлажнение до получения оптимальной влажности.
2.9 Максимальная допустимая влажность грунтов (Wпр), применяемых для устройства насыпи, при которой будет обеспечена требуемая плотность, может быть определена по формуле:
Wпp = Ky · Wо,
Ку - коэффициент «переувлажнения», принимаемый по таблице 3;
Wо - оптимальная влажность для данного грунта.
Таблица 3 - Допустимый коэффициент «переувлажнения» грунта
|
Оптимальная влажность, % |
Коэффициент «переувлажнения» |
|
|
1 |
2 |
3 |
|
Пески пылеватые, супеси легкие крупные |
8 - 12 |
1,35 |
|
Супеси легкие и пылеватые |
9 - 15 |
1,25 |
|
Супеси тяжелые пылеватые, суглинки легкие и легкие пылеватые |
12 - 17 |
1,15 |
|
Суглинки тяжелые и тяжелые пылеватые |
16 - 23 |
1,05 |
2.10 Для устройства насыпей могут быть применены также отходы промышленных предприятий (шлаки, горелые формовочные земли, золошлаковые смеси). Слои насыпи, в которые могут укладываться отходы, зависят от их состава, местных условий и определяются проектом.
2.11 Отсыпка грунта в насыпь производится слоями от краев к середине. Для обеспечения требуемого уплотнения краев насыпи ширина отсыпки (корыта) увеличивается на 0,5 м с каждой стороны.
Отсыпка, разравнивание, уплотнение каждого слоя производится с соблюдением продольных и поперечных уклонов.
Толщина слоя отсыпки должна соответствовать заданной толщине технологического слоя с учетом коэффициента запаса на уплотнение, принимаемого в зависимости от типа грунта при его влажности, близкой к оптимальной (таблица 4).
Таблица 4 - Коэффициент запаса на уплотнение грунтов при оптимальной влажности
|
Оптимальная влажность, % |
Коэффициента запаса на уплотнение |
|
|
1 |
2 |
3 |
|
Песок крупный и гравелистый |
6 |
1,3 |
|
Песок средней крупности |
8 |
1,3 |
|
Песок мелкий и пылеватый |
10 |
1,4 |
|
Супесь легкая |
9 - 11 |
1,25 |
|
Супесь пылеватая |
9 - 13 |
1,3 |
|
Суглинок легкий |
14 - 16 |
1,2 |
|
Суглинок тяжелый |
16 - 18 |
1,2 |
|
Глина пылеватая |
18 - 20 |
1,15 |
2.12 При отрицательных температурах возведение насыпей допускается при наличии необходимого количества уплотняющих средств, обеспечивающих быстрое уплотнение отсыпаемого грунта до требуемого значения плотности.
Насыпи, как правило, должны возводиться из талого грунта с обязательным уплотнением до наступления смерзания насыпанного грунта. Допускается отсыпка высоких (более 1,5 м) насыпей из смеси талого и мерзлого грунтов (таблицы 5, 6).
Насыпи высотой менее 1,5 м должны возводиться из талых грунтов при влажности, близкой к оптимальной. Содержание мерзлого грунта в насыпи допускается до 20 % с размером комьев не более 15 см.
Отсыпку насыпи следует производить слоями с уклоном 2 - 3 % на всю ширину с обеспечением стока воды с поверхности земляного полотна (в случае, если строительство основания дороги будет осуществляться весной) и возможности механизированной очистки от снега.
Таблица 5 - Условия применения грунтов в насыпях, возводимых в зимнее время
|
Условия применения |
Допускаемая высота насыпи, м |
|
|
1 |
2 |
3 |
|
Скальный крупнообломочный, крупный и средней крупности песок |
Применяют без ограничений |
Без ограничений |
|
Глинистый |
Допускается с влажностью не более 1,1 от оптимальной |
В зависимости от климата района: |
|
суровый - 2,5 |
||
|
холодный - 3,5 |
||
|
умеренный - 4,5 |
||
|
теплый - не ограничивают |
||
|
Мелкий и пылеватый, неводонасыщенные пески |
Допускается при влажности не более 1,2 - 1,3 от оптимальной |
То же |
|
Жирные глины, меловые, тальковые и трепелевые грунты, а также грунты с высокой влажностью |
Применять запрещается |
|
Таблица 6 - Рекомендуемая высота насыпи при производстве работ в зимнее время
|
Средняя температура воздуха за период производства работ по отсыпке насыпей, град. |
-5 |
-10 |
-15 |
-20 |
|
1 |
2 |
3 |
4 |
5 |
|
Рекомендуемая высота насыпи, м |
не ограничена |
4,5 |
3,5 |
2,5 |
2.13 Длина участков отсыпаемых насыпей в зимнее время и уплотняющие средства должны быть выбраны так, чтобы окончательное уплотнение грунта в насыпи заканчивалось не позднее 3 ч при температуре воздуха до -10 °С и не позднее 2 ч при температуре до -20 °С, после выемки грунта в резерве или грунтовом карьере (таблица 7).
Таблица 7 - Время уплотнения грунта в насыпи в зависимости от температуры воздуха
|
-5 |
-10 |
-20 |
-30 |
|
|
1 |
2 |
3 |
4 |
5 |
|
Время начала смерзания грунта |
90 - 120 |
60 - 990 |
40 - 60 |
20 - 30 |
2.14 Отсыпаемый грунт сразу же разравнивается бульдозером или автогрейдером толщиной слоя, не превышающей возможности уплотняющих машин. Не допускается скопление комьев мерзлого грунта при отсыпке насыпей.
Коэффициент уплотнения грунтов земляного полотна следует назначать по таблице 8.
Таблица 8 - Коэффициент уплотнения грунта земляного полотна
|
Часть земляного полотна |
Глубина расположения слоя от поверхности покрытия |
Коэффициент уплотнения грунта, не менее |
|
|
1 |
2 |
3 |
4 |
|
Насыпи |
Верхняя |
до 1,5 |
1,00 - 0,98 |
|
Нижняя |
1,5 - 6,0 |
0,98 |
|
|
неподтапливаемая |
более 6,0 |
0,95 - 0,98 |
|
|
Нижняя |
1,5 - 6,0 |
0,95 - 0,98 |
|
|
подтапливаемая |
более 6,0 |
0,98 |
|
|
Выемка и места с нулевыми отметками |
В слое сезонного промерзания |
до 1,2 |
1,00 - 0,98 |
|
Ниже слоя сезонного промерзания |
до 1,2 |
0,95 |
2.15 Во всех случаях каждый слой отсыпаемого грунта следует разравнивать, соблюдая проектный уклон. Перед уплотнением поверхность отсыпаемого слоя грунта должна быть спланирована под двухскатный или односкатный поперечный профиль с уклоном 2 - 3 % к бровкам земляного полотна.
Толщина слоя отсыпки должна назначаться, исходя из обеспечения однородной плотности грунта по глубине слоя, с учетом технических параметров применяемых уплотняющих машин и уточняться по результатам пробного уплотнения.
2.16 Предварительное уплотнение грунтов земляного полотна производится землеройно-транспортными механизмами и транспортными средствами, движение которых организуется по послойно отсыпаемому грунту равномерно по всей ширине земляного полотна.
Уплотнение грунта земляного полотна дорог может осуществляться укаткой, трамбовкой, вибрированием.
2.17 Уплотнение грунтов укаткой производят катками на пневматических шинах, комбинированными кулачковыми и с гладкими вальцами. Рекомендуемые грунтовые катки и другие механизмы для уплотнения грунтов приведены в Приложении А.
2.18 Самоходные катки с гладкими вальцами рационально использовать при окончательном уплотнении поверхностного слоя связных и малосвязных грунтов. Применение таких катков на свежеуложенной насыпи малоэффективно.
2.19 Кулачковые катки применяются для уплотнения непереувлажненных связных и малосвязных грунтов. При одинаковом весе катков с гладкими вальцами кулачковые катки дают почти вдвое большую глубину уплотнения.
2.20 Уплотнение грунта трамбованием производят гидромолотами на экскаваторах.
Вибрационные катки и виброплиты целесообразно применять для уплотнения только несвязных грунтов. Они уплотняют грунт за меньшее количество проходов по сравнению со статическими катками с гладкими вальцами и на пневматических шинах.
2.21 Уплотнение грунта обратных засыпок траншей и котлованов должно производиться послойно.
Для послойного уплотнения грунта обратных засыпок следует применять виброплиты, электротрамбовки, навесное оборудование к экскаваторам, в т.ч. гидромолоты, оснащенные трамбующими башмаками, катки.
Схема уплотнения грунта при прокладке и переустройстве подземных сетей приведена на рисунке 1.
Рисунок 1 - Схема уплотнения грунта при засыпке траншей
1 - зона над трубопроводом, где уплотнение грунта запрещается; 2, 3 - толщина слоя грунта, уплотненного ручными механизмами; 4 - слой грунта, уплотненный ручным немеханизированным инструментом; 5 - слои грунта, уплотненные виброплитами, гидромолотами, катками (h1i - h1n принимается до 0,25 м); h1, 2, 3 - толщина уплотняемого слоя, уплотнение производить одновременно с двух сторон
Примечание - ручной немеханизированный инструмент - лопата, совок, деревянные трамбовки; ручные механизмы - виброплиты массой до 100 кг.
3.1 Производство работ по устройству песчаного подстилающего слоя должно производиться в соответствии с требованиями СНиП 3.06.03-85 «Автомобильные дороги» и настоящих технических рекомендаций.
3.2 Для устройства подстилающего слоя могут быть использованы пески природные или искусственные, удовлетворяющие требованиям ГОСТ 8736-93*, с коэффициентом фильтрации не менее 4 м/сут при ширине дна корыта до 12 м, а при ширине более 12 м Кср > 4 м/сут.
3.3 Песок, полученный от переработки цементо - и асфальтобетонных конструкций, в соответствии с ГОСТ 8736-93* относится ко 2-му классу и подразделяется на мелкий, средний, крупный (таблица 9).
Таблица 9 - Характеристика песка
|
Модуль крупности, Мкр |
Полный остаток на сите с отверстиями 0,63 мм, % |
|
|
1 |
2 |
3 |
|
Мелкий |
1,5 - 2,0 |
10 - 30 |
|
Средний |
2 - 2,5 |
30 - 40 |
|
Крупный |
свыше 2,5 |
свыше 45 |
Для устройства подстилающего слоя песок должен иметь зерна размером до 5 мм и модуль крупности не ниже 1,8. Истинная плотность зерен песка должна быть в пределах 2000 - 2600 кг/м3.
Зерновой состав песка должен соответствовать требованиям ГОСТ 8736-93*.
Содержание в песке пылеватых частиц не должно превышать 5 % по массе, величина водопоглощения песка не должна превышать 6 % по массе. Содержание глины не допускается.
Песок не должен содержать компоненты и примеси в виде:
- серы, сульфидов не более 1 % по массе;
- слюды не более 2 % по массе;
- угля и древесных отходов не более 1 % по массе;
- свободных волокон асбеста не более 0,25 % по массе;
- кирпичного боя, стекла, рубероида, картона, арматуры и другого строительного мусора.
3.4 Песок доставляется на объект автомобилями-самосвалами и выгружается непосредственно в корыто дороги. Допускается складирование песка на специально отведенном месте с последующей подвозкой его к месту укладки автопогрузчиками.
Разравнивание песка производят бульдозерами или автогрейдерами по способу «от себя» с соблюдением проектных уклонов. Толщина слоя песка должна соответствовать заданной толщине слоя с учетом запаса на уплотнение (таблица 4). Отклонение по толщине слоя допускается не более 1 см.
3.5 Катки для уплотнения песка применяют те же, что и для уплотнения земляного полотна. Особенно тщательно следует уплотнять песок около дождеприемных колодцев и в местах примыкания к инженерным сооружениям, где уплотнение производится с помощью ручных электрических трамбовок (ЧЭ-4504).
3.6 Уплотненный подстилающий слой из песка должен иметь проектную толщину, отклонение от проекта не должно превышать ± 1 см, а коэффициент уплотнения должен быть не менее 0,98.
Наибольший просвет под трехметровой рейкой не должен превышать 1 см. Продольные и поперечные уклоны должны соответствовать проекту.
4.1.1 Конструктивные слои дорожных одежд с использованием геотекстиля и геосинтетиков устраивают в соответствии с требованиями проекта, альбома типовых конструкций «Внутриквартальные дороги и улицы. Часть 2» и настоящих технических рекомендаций.
4.1.2 Геотекстили, в основном, делятся на два вида: тканые и нетканые.
Тканые геотекстили представляют собой плоские конструкции, изготовленные путем переплетения двух и более групп, в основном, синтетических нитей.
Нетканые геотекстили представляют собой плоские конструкции из синтетических волокон, беспорядочно скрепленных между собой в результате механической, термической и адгезионной обработки.
4.1.3 Геосетки, в зависимости от технологии производства и используемого материала, бывают ткаными, неткаными, выполняются методом экструдирования, склеивания, вязания.
Геосетки имеют петельчатую конструкцию, состоящую из прерывающих друг друга нитей, толщиной 15 - 30 мм под постоянным углом (60° - 90°). Геосетки имеют одинаковые отверстия шириной от 5 до 200 мм.
4.2.1 Основные функции, выполняемые геотекстильными материалами:
- дренирование (ускорение отвода воды в плоскости полотна). В зависимости от области применения - улучшение работоспособности дренирующих слоев, ускорение консолидации грунтов повышенной влажности, возможность прерывания капиллярного поднятия воды;
- разделение слоев (предотвращение взаимопроникновения крупнофракционных материалов и грунта);
- фильтрация (предотвращение выноса грунтовых частиц в результате волнового воздействия, водного течения, давления воды из выклинивающихся водоносных горизонтов, предотвращение загрязнения традиционных дренажей).
4.2.2 Геотекстиль целесообразно использовать на переувлажненных грунтах земляного полотна и реже в качестве разделяющей прослойки между песчаным подстилающим слоем и основанием из крупнофракционных материалов. Применение геотекстильных материалов, уложенных по земляному полотну с благоприятными гидрогеологическими условиями, позволяет снизить толщину песчаного подстилающего слоя на 10 - 15 %.
4.2.3 При строительстве дорог в качестве дренирующей и армирующей прослойки может быть применен отечественный геотекстиль «Геоком» (таблица 10), «Стеклонит», «Дорнит» и его аналоги, получившие общее название «конструкционные материалы» (КМ) (таблица 11). Могут быть рекомендованы геотекстили зарубежных фирм: «Геолон», «Тенсар», «Полифельт» и др.
Таблица 10 - Геосинтетические материалы марки «Геоком»
|
Тип полотна |
Поверхностная плотность, г/кв.м |
Разрывная нагрузка по длине и ширине |
Удлинение при разрыве, % (по длине/по ширине) |
Толщина, мм |
Ширина, см |
||
|
Н, не менее |
КН/м, не менее |
||||||
|
1 |
2 |
3 |
4 |
5 |
6 |
7 |
8 |
|
Геоком Д-160 |
Полотно иглопробивное |
160 |
220 |
4,4 |
70 - 120/110 - 160 |
2,7 |
420 |
|
C1.300.160.03 |
|||||||
|
Геоком Д-250 |
Полотно иглопробивное |
250 |
300 |
6,0 |
70 - 120/110 - 160 |
3,4 |
420 |
|
С1.300.250.03 |
|||||||
|
Геоком Д-360 |
Полотно иглопробивное |
360 |
550 |
11,0 |
70 - 120/70 - 120 |
3,9 |
420 |
|
С1.300.360.0 |
|||||||
|
Геоком Б-450 |
Полотно иглопробивное |
450 |
900 |
18,0 |
60 - 110/70 - 120 |
4,0 |
420 |
|
С1.300.450.03 |
|||||||
|
Геоком Д-500 |
Полотно иглопробивное |
500 |
800 |
16,0 |
60 - 110/70, 120 |
4,8 |
420 |
|
С1.300.500.03 |
|||||||
|
Геоком Д-900 |
Полотно иглопробивное |
900 |
1400 |
28,0 |
80 - 90/100 - 120 |
6,4 |
420 |
|
С1.300.900.03 |
|||||||
|
Геоком ДТ-250 |
Иглопробивное термоскрепленное |
250 |
450 |
9,0 |
60 - 100/60 - 100 |
1,7 |
420 |
|
С1.320.250.03 |
|||||||
|
Геоком ДТ-360 |
Иглопробивное термоскрепленное |
360 |
700 |
14,0 |
60 - 100/60 - 100 |
2,5 |
420 |
|
С1.320.360.03 |
|||||||
|
Геоком ДТ-410 |
Иглопробивное термоскрепленное |
410 |
800 |
16,0 |
60 - 100/60 - 100 |
2,9 |
420 |
|
C1.320.410.03 |
|||||||
|
Геоком ДТМ-130 |
Иглопробивное термоскрепленное в массе |
130 |
250 |
5,0 |
70/70 |
1,1 |
420 |
|
С1.380.130.03 |
|||||||
|
Геоком ДТМ-160 |
Иглопробивное термоскрепленное в массе |
160 |
325 |
6,5 |
70/70 |
1,3 |
420 |
|
C1.380.160.03 |
|||||||
Таблица 11 - Марки и характеристика отечественных геотекстилей
|
Един. изм. |
Значения характеристик для: |
||||||
|
КМ-1, марок |
КМ-2 дорнит |
||||||
|
1 |
2 |
3 |
4 |
5 |
6 |
7 |
8 |
|
Поверхностная плотность |
г/см2 |
250 ± 7 % |
300 ± 7 % |
350 ± 7 % |
400 ± 7 % |
450 ± 7 % |
550 ± 50 |
|
Коэффициент вариации массы, не более |
% |
10 |
10 |
10 |
10 |
10 |
12 |
|
Разрывная нагрузка для полоски 50×200 мм, не менее: |
|
|
|
|
|
|
|
|
- по длине |
кгс/5 см |
40 (7,8) |
45 (8,8) |
55 (10,8) |
70 (13,7) |
80 (15,7) |
50 (9,8) |
|
- по ширине |
(кН/п.м.) |
65 (12,7) |
70 (13,7) |
80 (15,7) |
100 (19,6) |
100 (19,6) |
26 (5,1) |
|
Удлинение при разрыве в пределах: |
|
|
|
|
|
|
|
|
- по длине |
% |
100 - 200 |
100 - 115 |
95 - 110 |
80 - 100 |
80 - 100 |
65 - 75 |
|
- по ширине |
% |
80 - 100 |
80 - 100 |
85 - 95 |
80 - 110 |
80 - 110 |
120 - 140 |
|
Удлинение в продольном направлении при нагрузке 25 % от разрывной, в пределах |
% |
- |
- |
- |
25 - 30 |
30 - 35 |
- |
|
Водопроницаемость перпендикулярно плоскости материала, не менее |
м/сут. |
20 |
20 |
20 |
20 |
20 |
20 |
|
Толщина полотен |
мм |
2,5 ± 0,25 |
3,0 ± 0,3 |
3,5 ± 0,35 |
4,0 ± 0,4 |
4,5 ± 00,45 |
5,5 ± 0,5 |
|
Ширина полотен |
м |
1,7 - 2,4 |
1,7 - 2,4 |
1,7 - 2,4 |
1,7 - 2,4 |
1,7 - 2,4 |
2,45 ± 0,04 |
4.2.4 Варианты применения геотекстиля в конструктивных слоях представлены на рисунке 2.
4.2.5 При неблагоприятных гидрогеологических условиях на переувлажненные грунты земляного полотна укладывается геотекстильный материал с уклоном в сторону продольного дренажа. Полотно геотекстиля выпускается в сторону дренажной канавки и укладывается вдоль ее стенок с обертыванием продольной трубчатой дрены (рисунок 3).
Рисунок 2 - Варианты устройства конструктивных слоев с использованием геотекстиля при возведении земляного полотна
а - земляное полотно; б - геотекстиль
а
б

Рисунок 3 - Применение геотекстильных материалов в качестве дренирующей прослойки:
а - без устройства сопутствующего дренажа; б - при совмещении дренирующей прослойки с дренажем мелкого заложения; 1 - верхний слой покрытия; 2 - нижний слой покрытия; 3 - основание; 4 - подстилающий слой; 5 - дренирующая прослойка из геотекстильной ткани, уложенная на земляное полотно и вокруг трубчатой дрены
4.3.1 Геосинтетики (геосетки) при строительстве оснований дорог могут использоваться в качестве конструктивных слоев по земляному полотну, при возведении насыпи по песчаному подстилающему слою под щебеночное и бетонное основание, под двухслойным асфальтобетонным покрытием, уложенным на бетонное основание.
4.3.2 Геосетки используются для усиления земляного полотна, особенно на слабых грунтах. На слабых грунтах геосетку целесообразно применять вместе с геотекстилем. При возведении насыпей в зависимости от требований проекта могут быть использованы несколько слоев геосетки или геосетки вместе с геотекстилем. При неблагоприятных гидрогеологических условиях наличие геосетки позволяет уменьшить толщину песчаного подстилающего слоя.
4.3.3 Геосетки, уложенные под щебеночное (гравийное) или бетонное основание, повышают его несущую способность, а также снижают расход щебня или толщину слоя бетона.
Геосетки под основанием из материалов крупных фракций (щебень, гравий) позволяют избежать перемешивания с песчаным подстилающим слоем.
4.3.4 Геосетки, уложенные по бетонному основанию под асфальтобетонное покрытие, препятствуют образованию трещин и колеи.
4.3.5 Сетки изготавливают одно - и двухосноориентированными. В настоящее время фирмой «Тенсар» разработана трехосноориентированная геосетка, что позволяет выдержать значительные нагрузки при низких деформациях. Геосетки изготавливают на основе стекловолокна, базальта, полиэтилена, полипропилена, арамида и др. материалов фирмами ОАО «Судогодское стекловолокно», «Славрос», «Стеклонит», «Полифельт», «Тенсар» и др.
4.3.6 Одноосноориентированные геосетки в дорожном строительстве применяются, преимущественно, для возведения подпорных стенок, насыпей, в стесненных условиях.
Двух- и трехосноориентированные геосетки могут быть применены в зависимости от используемого сырья практически во всех конструктивных слоях дорог. Трехосноориентированные отличаются от остальных геосеток повышенной жесткостью.
Характеристики геосеток представлены в таблицах 12, 13, 14.
4.3.7 Рекомендуемые варианты дорожных конструкций с использованием геосеток представлены на рисунках 4, 5, 6.
Таблица 12 - Характеристики двухосноориентированных геосеток Славрос СД
|
Ед. изм. |
Ассортимент |
||||
|
СО 20 |
СО 30 |
СО 40 |
СО 45 |
||
|
Материал |
|
РР |
РР |
РР |
РР |
|
Мин. содержание сажи |
% |
2 |
2 |
2 |
2 |
|
Ширина рулона |
м |
4 |
4 |
4 |
4 |
|
Длина рулона |
м |
50 |
50 |
30 |
30 |
|
Вес |
г/м2 |
300 ± 30 |
400 ± 40 |
500 ± 50 |
550 ± 55 |
|
Размер ячейки |
|||||
|
А (длина) |
мм |
39 |
39 |
35 |
35 |
|
В (ширина) |
мм |
39 |
39 |
35 |
35 |
|
Физико-механические свойства |
|||||
|
Предел прочности в продольном направлении |
кН/м2 |
20,0 |
30,0 |
40,0 |
45,0 |
|
Предел прочности в поперечном направлении |
кН/м2 |
20,0 |
30,0 |
40,0 |
45,0 |
|
Продольное удлинение |
% |
16 |
16 |
16 |
16 |
|
Поперечное удлинение |
% |
13 |
13 |
13 |
13 |
|
Нагрузка при 2 % удлинении в продольном направлении |
кН/м2 |
8 |
11 |
13 |
16 |
|
Нагрузка при 2 % удлинении в поперечном направлении |
кН/м2 |
10 |
13 |
15 |
20 |
|
Нагрузка при 5 % удлинении в продольном направлении |
кН/м2 |
10 |
15 |
16 |
25 |
|
Нагрузка при 5 % удлинении в поперечном направлении |
кН/м2 |
13 |
15 |
20 |
22 |
Примечание - материал РР - полипропилен
Таблица 13 - Характеристики двух и трехосноориентированных геосеток «Тенсар»
|
|
Размеры георешетки (мм) |
||||||
|
|
AL |
AT |
WLR |
WTR |
tJ |
tLR |
tTR |
|
SS20 |
39 |
39 |
2,2 |
2,4 |
4,1 |
1,1 |
0,8 |
|
SS30 |
39 |
39 |
2,3 |
2,8 |
5,0 |
2,2 |
1,3 |
|
SS40 |
33 |
33 |
2,2 |
2,5 |
5,8 |
2,2 |
1,4 |
|
SS20LA |
65 |
65 |
4,0 |
4,0 |
4,4 |
0,8 |
0,8 |
|
SS30LA |
65 |
65 |
4,0 |
4,0 |
7,0 |
1,7 |
1,5 |

|
Механические характеристики |
||||||
|
|
Кратковременная прочность при разрыве продольная (кН/м) |
Кратковременная прочность при разрыве поперечная (кН/м) |
Прочность в узле продольная (%) (мин) |
Прочность в узле поперечная (%) (мин) |
Стабильность ячейки (кг·см/гр.) (мин) |
Радиальная жесткость при начальной деформации (кН/м2 0,5 %) (мин) |
|
SS20 |
> 20 |
> 20 |
95 |
95 |
4,1 |
150 |
|
SS30 |
> 30 |
> 30 |
95 |
95 |
9,1 |
390 |
|
SS40 |
> 40 |
> 40 |
95 |
95 |
13,6 |
450 |
|
SS20LA |
> 20 |
> 20 |
95 |
95 |
2,7 |
215 |
|
SS30LA |
> 30 |
> 30 |
95 |
95 |
3,5 |
350 |
|
ТХ160 |
|||||||||||
|
Геометрические характеристики |
Механические характеристики |
||||||||||
|
AL |
AT |
tOR |
tTR |
WDR |
WLR |
tJ |
Форма ребра |
Форма ячейки |
Прочность в узле |
Стабильность ячейки (кг·см/гр.) (мин) |
Радиальная жесткость при начальной деформации (кН/м2 0,5 %) (мин) |
|
45 |
45 |
2,0 |
1,9 |
1,1 |
1,3 |
4,7 |
Прямоуг. |
Треуг. |
100 |
1,9 |
430 |
|
Долговременные характеристики |
|||
|
|
Химическая устойчивость (%) |
Устойчивость к УФ излучению (%) |
Повреждаемость при монтаже (%) |
|
SS20 |
100 |
100 |
> 90 |
|
SS30 |
100 |
100 |
> 90 |
|
SS40 |
100 |
100 |
> 90 |
|
SS20LA |
100 |
100 |
> 90 |
|
SS30LA |
100 |
100 |
> 90 |
|
ТХ160 |
100 |
100 |
> 90 |

Таблица 14 - Характеристики геосеток марки СБП-Д из базальтового волокна ОАО «Судогодское стекловолокно»
|
Ед. изм. |
Значения характеристик СБП-Д |
|
|
Поверхностная масса |
г/см2 |
320 ± 40 |
|
Размер ячейки в свету |
мм |
25×25 (50×50) |
|
Плотность сетки: |
|
|
|
- по основе |
ровинг/м |
40 ± 2 (20 ± 2) |
|
- по утку |
-«- |
40 ± 2 (20 · 2) |
|
Разрывная нагрузка, не менее: |
|
|
|
- по основе |
кН/м |
45 |
|
- по утку |
-«- |
40 |
|
Удлинение по основе при разрыве, не более |
% |
96 |
|
Прочность в узлах, не менее |
кг |
2 |
|
Содержание связующего, не менее |
% |
20 |
|
Ширина |
см |
100 ± 5 200 ± 5 |
Рисунок 4 - Геосетка уложена на земляное полотно
Рисунок 5 - Геосетка уложена на песчаный подстилающий слой под щебеночным основанием
1 - верхний слой асфальтобетонного покрытия; 2 - нижний слой асфальтобетонного покрытия; 3 - щебеночное основание; 4 - бетонное основание; 5 - песчаный подстилающий слой; 6 - геосетка
Рисунок 6 - Геосетка уложена на бетонное основание под двухслойным асфальтобетонным покрытием
4.4.1 Устройство конструктивных слоев с использованием геотекстильных и геосинтетических материалов включает следующие операции:
- подготовка поверхности, на которую укладываются материалы;
- укладка и закрепление материалов;
- устройство верхних слоев дорожной одежды.
4.4.2 Подготовка земляного полотна и песчаного подстилающего слоя предусматривает их планировку в проектных отметках с обязательным выдерживанием продольных и поперечных уклонов и уплотнение грунтов до требуемого значения коэффициента уплотнения (Купл. ≥ 0,98).
4.4.3 Геотекстиль и геосетки к месту укладки доставляются в рулонах, которые распределяются вдоль участка производства работ на расстоянии друг от друга кратном длине материала в рулоне. Если по ширине проезжей части геотекстиль и геосетки укладываются несколькими рядами, то в местах их складирования оставляется необходимое количество рулонов.
4.4.4 Укладку геотекстиля и георешеток можно осуществлять вручную. Раскатанные рулоны материалов можно зафиксировать скобами, или насыпав строительный материал.
Геотекстиль и геосетки соединяют внахлест шириной 300 - 600 мм.
4.4.5 Конструктивные слои из щебня устраивают экскаватором или бульдозером, при этом щебень насыпают на геосетку. Не рекомендуется сдвигать щебень по геосетке ковшом.
4.4.6 Основание из укатываемых малоцементных или бетонных смесей обрабатывают 50 % битумной эмульсией с расходом 0,6 - 0,8 л/м2. Рулоны с геосеткой раскатывают по разлитой эмульсии. Во время работы следует использовать приспособления, исключающие хождение по незатвердевшему бетону.
4.4.7 Устройство нижнего слоя асфальтобетонного покрытия начинается сразу после укладки геосетки.
5.1.1 Одним из распространенных дефектов дорожного полотна является разрушение вокруг смотровых колодцев. Причиной является как некачественное устройство сопряжений дорожных одежд со смотровыми колодцами, так и недостатки конструкций колодцев.
Для реализации решения данной проблемы НИИМосстроем совместно с Мосинжпроектом разработана конструкция регулируемого оголовка смотровых колодцев, опирающихся на упругое основание дорожной одежды.
5.1.2 Установка разработанного регулируемого оголовка производится на стандартную горловину, имеющую внутренний диаметр 700 мм. Максимальная величина регулирования по высоте 130 мм. «Технические условия на регулируемые оголовки смотровых колодцев» - ТУ 5853-001-04000-633-2006 и «Инструкция по технологии применения регулируемых оголовков смотровых колодцев при реконструкции и ремонте городских дорог» - ВСН 62-97.
5.1.3 Регулируемый оголовок состоит из двух изделий: верхняя - поворотное кольцо (рисунок 7), нижняя часть - опорная плита (рисунок 8.). Опорная плита диаметром 2300 мм имеет два среза, позволяющие перевозить его в автомобилях с шириной кузова 2150 мм. Внутренний диаметр опорной плиты составляет 882 мм, что несколько больше наружного диаметра железобетонных колец горловины, входящей внутрь опорного кольца. Горловина может входить внутрь опорной плиты на расстояние до 200 мм.
Опорная плита выполнена переменной жесткости с изменением толщины от 100 мм у краев до 200 мм у гнезда под поворотное кольцо.
Гнездо под поворотное кольцо расположено в центре опорной плиты и имеет защитный буртик и клиновые опорные площадки, по которым происходит перемещение аналогичных клиновых площадок поворотного кольца при регулировании высоты оголовка.
Поворотное кольцо выполнено в виде полого усеченного конуса, в верхней части которого замоноличена обечайка чугунного люка, а нижняя часть имеет три клиновых выступа.
Рисунок 7 - Поворотное кольцо
Рисунок 8 - Опорная плита оголовка
5.1.4 Элементы регулируемого оголовка рассчитаны на нагрузки Н-30 и НК-80. На рисунке 9 показана конструкция сопряжения такого оголовка с дорожной одеждой и горловиной колодца.
Рисунок 9 - Сопряжение оголовка колодца с дорожной одеждой и горловиной:
1 - регулировочное кольцо с вбетонированной обечайкой; 2 - крышка люка; 3 - опорная плита; 4 - горловина колодца; 5 - два слоя асфальтобетона; 6 - слой основания дорожной одежды (укатываемый бетон, щебень, крупнозернистый асфальтобетон и др.); 7 - песчаный подстилающий слой; 8 - грунт земляного полотна.
5.1.5 Перед укладкой опорной плиты оголовка колодца на песчаный подстилающий слой производится тщательная подготовка и уплотнение (коэффициент уплотнения не менее 0,98) зоны основания вокруг колодца с определением отметок по нивелиру. При этом ровность подготовленного подстилающего слоя не должна иметь отклонений от проектной более ± 3 мм.
5.1.6 Перед укладкой опорной плиты для достижения плотного контакта ее с подстилающим слоем и равномерного распределения нагрузки на нижележащие слои устраивается прослойка из рыхлого сухого песка, песчано-цементной смеси или очерненного песка толщиной 5 см.
5.1.7 При установке плиты на отметку необходимо убедиться в наличии плотного контакта опорной поверхности и подстилающего слоя с помощью пробных предварительных посадок плиты. За полное опирание можно принимать такое опирание, при котором контакт с основанием достигнут на 95 % площади.
5.1.8 После укладки опорной плиты, которая должна быть тщательно отцентрирована, устанавливается поворотное регулировочное кольцо с вбетонированным в него люком. Регулировочное кольцо должно быть уложено на тщательно очищенную опорную поверхность плиты и повернуто по часовой стрелке до упора.
Регулировочное кольцо свободно устанавливается на опорную плиту без герметизации и заделки окон клиньями или раствором.
5.1.9 После установки оголовка производится устройство дорожной одежды в соответствии с проектом. При уплотнении нижних слоев дорожной одежды, расположенных над опорной плитой оголовка, следует избегать наезда на нее тяжелых катков, а уплотнение производить виброплощадками, ручными вибротрамбовками и легкими катками.
5.1.10 На уклонах оголовки легко устанавливаются в проектное положение благодаря телескопическому соединению оголовка с горловиной и технологическому зазору между ними.
5.2.1 Для устройства плавных закруглений различных радиусов на дорогах НИИМосстроем разработана номенклатура криволинейных бортовых камней.
5.2.2 Применение прямых рядовых бортовых камней на закруглениях, вместо криволинейных, при выполнении дорожно-строительных работ недопустимо в соответствии с требованиями СНиП III-10-75 (п. 3.25).
5.2.3 В разработанных НИИМосстроем конструкциях криволинейных бортовых камней предусмотрены скосы с внутренней и внешней стороны, что позволяет использовать их как на вогнутых, так и на выпуклых криволинейных участках дороги и, тем самым, сократить номенклатуру изделий и повысить их эксплуатационную надежность.
5.2.4 Для устройства закруглений на магистральных и внутриквартальных дорогах и проездах, дворовых территориях установлена минимально необходимая номенклатура, а также рекомендуемые параметры криволинейных бортовых камней.
Криволинейные бортовые камни могут изготавливаться из тяжелых и мелкозернистых бетонов, в том числе цветных и армированных металлическими и базальтовыми фибрами, модифицированных различными добавками, по различным технологиям, обеспечивающим получение физико-механических свойств, соответствующих требованиям ГОСТ 6665-91.
5.2.5 Бортовые камни на объект должны доставляться в специальных контейнерах (поддонах). Разгрузка осуществляется с использованием автокранов, автопогрузчиков соответствующей грузоподъемности.
Установка бортовых камней осуществляется с использованием ручных приспособлений или малогабаритных погрузчиков.
5.2.6 В зависимости от категории дороги и требований проекта бортовые камни устанавливаются на бетонное основание или на песчаный подстилающий слой. При укладке бортового камня на песчаный подстилающий слой по нему предварительно укладывают слой бетона толщиной 10 см и шириной, на 20 см превышающей ширину бортового камня с учетом кривизны камня. Для этого используется бетон класса В15 (М200), который укладывается вручную.
5.2.7 При наличии бетонного основания бортовой камень устанавливается без укладки дополнительного слоя бетона.
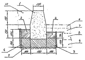
5.2.8 После установки камня для его устойчивости с двух сторон вручную в деревянной или металлической опалубке устраивается бетонная обойма высотой 10 см со стороны тротуара или газона и 7 см со стороны дороги (рисунок 10).
Схема установки бортового камня
Рисунок 10
1 - бортовой камень; 2 - бетонная обойма; 3 - бетонное основание под бортовой камень; 4 - опалубка; 5 - песчаный подстилающий слой; 6 - верхний слой асфальтобетона; 7 - нижний слой асфальтобетона; 8 - бетонное основание дороги; 9 - технологический слой дороги; 10 - тротуар
5.2.9 Бетонная обойма выполняется из пластичной бетонной смеси с осадкой конуса 4 - 5 см, класса В15 (М200) на известняковом щебне. Состав бетонной смеси для устройства обоймы представлен в таблице 15. В зимнее время бетонную обойму необходимо предохранять от промерзания.
Таблица 15 - Ориентировочный состав бетонной смеси обоймы криволинейных бортовых камней
|
Расход материалов, кг/м3 |
||||
|
Цемент марки 400 |
Цемент марки 500 |
|||
|
1 |
2 |
3 |
4 |
5 |
|
Вода, л |
165 |
160 |
160 |
155 |
|
Цемент, кг |
340 |
315 |
280 |
260 |
|
Песок, кг |
600 |
640 |
660 |
680 |
|
Щебень, кг |
1240 |
1180 |
1210 |
1190 |
|
Добавка С-3, % от массы цемента |
- |
0,15 - 0,2 |
- |
0,15 - 0,2 |
5.2.10 Ширина швов между криволинейными бортовыми камнями или на стыке криволинейных и прямолинейных изделий не должна превышать 5 мм. Швы между торцами бортовых камней должны быть заполнены цементно-песчаным раствором состава 1:4, а затем расшиты цементно-песчаным раствором в соотношении 1:2, допускается использование цементно-песчаного раствора состава 1:3.
5.2.11 Бортовой камень должен быть установлен не позже, чем за 3 сут до устройства дорожного покрытия для того, чтобы бетонная обойма и раствор в швах между бортовыми камнями набрали достаточную прочность.
Применение криволинейных бортовых камней улучшает внешний вид и повышает долговечность дорожной одежды.
Основания внутриквартальных дорог устраивают из уплотненных щебеночных смесей, укатываемых малоцементных, пластичных и литых, в т.ч. армированных фиброй и с использованием продуктов промышленных отходов бетонных смесей.
Основания дорог в соответствии с требованиями проекта могут выполнять при стадийном строительстве функции покрытия на период застройки квартала.
Основные характеристики бетонов оснований дорог представлены в таблице 16.
Таблица 16 - Нормативные характеристики бетонов
|
Нормативная прочность на растяжение при изгибе, Rнр.н. |
Минимальная марка по морозостойкости в солевых растворах |
|
|
25 (300)х) |
4,0 |
150 |
|
15 (200) |
3,0 |
150 |
|
7,5 (100) |
1,8 |
100 |
х) Основания, выполняющие функции покрытия при стадийном строительстве.
6.1.1 Для оснований дорог следует использовать крупнозернистые смеси первого типа в соответствии с требованиями ТУ 400-24-107-91х и таблицы 17.
Таблица 17 - Зерновой состав щебеночной смеси
|
Содержание в смеси частиц, проходящих через сита с размером отверстий, мм |
|||||||
|
70 |
40 |
20 |
10 |
5 |
0,63 |
не менее 0,005 |
|
|
Крупнозернистая, % |
80 - 100 |
40 - 50 |
20 - 30 |
15 - 25 |
12 - 20 |
5 - 10 |
0 - 3 |
6.1.2 Смеси приготавливаются путем смешивания в смесительной установке завода требуемого количества известнякового щебня или гравия и оптимального количества воды (4 - 6 % по массе) до получения однородной массы.
6.1.3 Приготовленная на заводе смесь доставляется на строительный объект автомобилями-самосвалами и выгружается в бункер укладочной машины или непосредственно на подстилающий слой. Щебнеукладчики целесообразно применять для устройства оснований площадью не менее 1000 м2.
Укладку щебеночных смесей следует осуществлять щебнеукладчиками, универсальными укладчиками с автоматическими следящими системами.
При выгрузке щебень можно разравнивать автогрейдером или бульдозером способом «от себя».
Число полос укладки смеси по ширине проезжей части принимается с учетом укладываемой машины и необходимого перекрытия каждой полосы минимум на 5 см. Толщина слоя распределяемого щебня должна быть на 20 - 30 % больше проектной. В каждом конкретном случае эта величина определяется экспериментально. Затем производится выравнивание и укатка смеси.
6.1.4 Уплотнение щебеночного основания производится самоходными катками с гладкими металлическими или кулачковыми вальцами, а также катками вибрационными и на пневматических шинах.
Величина перекрытия двух последовательно расположенных полос должна составлять 20 - 25 см.
6.1.6 Тип катка выбирается в зависимости от толщины уплотняемого слоя. Укладку начинают легкими катками. После прекращения образования волн перед вальцом легких катков следует применять тяжелые катки.
Уплотнять щебеночное основание следует до образования поверхностной корки. Проверка качества уплотнения производится тяжелыми катками, после прохода которых на поверхности не должно оставаться следа. Смесь должна быть уложена не позднее 3 ч после её приготовления.
6.2.1 Для приготовления малоцементных, пластичных и литых смесей следует применять портландцемент марки не ниже 400Д0 по ГОСТ 10178-85* с содержанием в клинкере цемента трехкальциевого алюмината не более 10 %, пески с модулем крупности более 1,8 по ГОСТ 8736-93* и с содержанием глинистых, илистых и пылеватых частиц, не превышающих по массе 3 %, щебень по ГОСТ 8267-93* с содержанием загрязнения не более 3 % по массе.
При приготовлении бетонных смесей могут быть использованы продукты переработки изношенных автопокрышек (ТУ 5745-005-02066517-99), цементо - и асфальтобетонных конструкций при одновременном снижении природного заполнителя.
6.2.2 В таблице 16 приведена характеристика резиновой муки и крошки, используемых до 15 % от массы цемента взамен части мелкого природного заполнителя.
В резиновой муке и крошке содержание кордового волокна и частиц металла не должно превышать соответственно 0,5 и 0,8 %.
Таблица 16 - Характеристика резиновой крошки и муки
|
Показатели |
Един. изм. |
Продукты переработки автопокрышек |
|
|
резиновая крошка |
резиновая мука |
||
|
1 |
2 |
3 |
4 |
|
Фракции |
мм |
0,80 - 1,5 |
0,001 - 0,15 |
|
1,5 - 2,5 |
0,15 - 0,35 |
||
|
2,5 - 4,0 |
0,35 - 0,50 |
||
|
|
0,50 - 0,80 |
||
6.2.3 Требования к материалам для приготовления смесей с продуктами дробления промышленных отходов такие же, как и для обычного дорожного бетона.
6.2.4 Для улучшения физико-механических показателей укатываемого бетона, в том числе с использованием продуктов дробления промышленных отходов, в бетонную смесь рекомендуется вводить тонкодисперсную битумную эмульсию в количестве до 25 % от массы цемента. Рекомендуемый состав эмульсии: битум БНД 40/60 - 50 %; вода - 48,5 %; эмульгатор типа сульфитно-спиртовой барды ССБ - 1,5 %.
6.2.5 При использовании в укатываемых бетонных смесях материалов от переработки асфальтобетонных конструкций количество битумной эмульсии можно снизить на 50 % или не вводить её, что решается в каждом конкретном случае в зависимости от качества применяемых материалов.
6.2.6 Для повышения физико-механических показателей бетона из пластичных и литых смесей могут быть использованы различные виды стальных фибр, выпускаемых отечественными и зарубежными фирмами.
Рекомендуемые параметры и свойства стальных фибр приведены в таблице 17.
Таблица 17 - Характеристика рекомендуемых стальных фибр для оснований дорог из литых и подвижных бетонных смесей
|
Характеристики фибр |
Един. изм. |
Значения |
|
Длина (L) |
мм |
40 - 70 |
|
Диаметр (d) |
мм |
0,4 - 0,7 |
|
Диаметр приведенный (L/d) |
- |
80 - 100 |
|
Временное сопротивление разрыву |
МПа |
400 - 1100 |
|
Относительное удлинение |
% |
14 - 8 |
6.2.7 Для повышения физико-механических показателей бетонов из подвижных и литых бетонных смесей следует применять суперпластификаторы типа С-3 или нового поколения типа Sika и др.
6.2.8 Доставка на строительный объект малоцементной бетонной смеси производится в автосамосвалах, где она должна быть защищена от потери влаги в сухую теплую погоду, а в сырую - от переувлажнения. Доставка бетонной смеси должна осуществляться по часовому графику, разработанному с учетом производительности укладочных машин.
6.2.9 Укладка укатываемой бетонной смеси осуществляется бетоноукладчиками на пневматическом или гусеничном ходу при работающем вибробрусе или автогрейдерами.
На участках площадью менее 1000 м3, где нецелесообразно применение укладчиков, укладку можно выполнять экскаватором с навесным оборудованием или автогрейдерами.
Укатку осуществляют в соответствии с требованиями п. 6.1.5.
6.2.10 Укладку малоцементной смеси при ширине дороги до 9 м следует вести отдельными захватками длиной 40 - 50 см с таким расчетом, чтобы разрыв во времени укладки смежных полос не превышал 60 мин во избежание обезвоживания боковой кромки ранее уложенной полосы.
Дефекты поверхности (впадины и разрывы) свежеуложенной смеси должны устраняться по ходу работы подсыпкой смеси.
6.2.11 Вслед за бетоноукладчиком по мере его продвижения смесь укатывается моторными катками: сначала легкими (статического действия) массой 5 - 6 т или виброкатками массой 3,5 т с числом проходов по одному следу 5 - 6 раз, затем - тяжелыми катками массой 10 - 15 т до полного уплотнения с перекрытием следа на 15 - 20 см с числом проходов по одному следу 8 - 10 раз. Укатка производится из расчета 75 м3 на каток.
Укатка должна начинаться от обоих бортов проезжей части к оси при двухскатном профиле, при односкатном - навстречу уклону. Уплотнение считается достаточным, если при проходе тяжелого катка на поверхности основания не остается следов.
6.2.12 Вальцы катков в течение всего времени уплотнения смеси должны быть чистыми и гладкими.
6.2.13 Остановка катков во время укатки свежеуложенной смеси не допускается.
6.2.14 В основаниях из укатываемых смесей швы расширения не устраивают. Швы сжатия в основаниях из бетона класса В 7,5 не устраивают, классов В15 и В22,5 выполняют в свежеуложенном или отвердевшем бетоне через 12 и 10 м соответственно.
6.2.15 В конце рабочей смены в случае отсутствия температурного шва должен устраиваться рабочий шов в виде упорной доски толщиной 5 см на всю ширину и высоту укладываемой полосы. Вдоль рабочих швов бетонная смесь должна быть дополнительно уплотнена поверхностными вибраторами с подсыпкой смеси вручную на полосе 25 - 30 см. Перед возобновлением укладки смеси доска удаляется, и торец бетона обрабатывается цементно-песчаным раствором состава 1:1.
6.2.17 При устройстве основания из пластичных бетонных смесей доставку их осуществляют в автосамосвалах. Продолжительность транспортирования смеси не должна превышать 60 мин при температуре воздуха от +25 °С и 90 мин - при температуре ниже +20 °С. В случае невозможности выполнения этих требований транспортировку смеси следует осуществлять только автобетоносмесителями.
При транспортировании смеси в автосамосвалах её следует защищать от атмосферных воздействий и испарения влаги.
6.2.18 Строительство оснований из пластичных бетонных смесей следует производить бетоноукладчиками с автоматическими следящими системами.
6.2.19 Укладку и уплотнение пластичной бетонной смеси следует производить непрерывно, избегая остановок бетоноукладчика.
6.2.20 Незначительные неровности и мелкие дефекты поверхности из подвижных бетонных смесей после прохода бетоноукладчика исправляют с помощью ручных гладилок.
6.2.21 Нарезка швов осуществляется в отвердевшем бетоне.
Уход за бетонным покрытием из пластичных смесей осуществляется в соответствии с требованиями п. 6.2.16.
6.2.22 Технология строительства оснований из литых бетонных смесей, в том числе и армированных фиброй, отличается от технологии строительства из пластичных смесей необходимостью предварительной установки бортовых камней или устройством герметичной опалубки и отсутствием распределяющих и уплотняющих механизмов.
6.2.23 Литая, в том числе дисперсно-армированная смесь, должна доставляться на объект в автобетоносмесителях, во время движения которых происходит непрерывное её перемешивание. Фибра может быть введена в бетонную смесь непосредственно на объекте. Независимо от способа введения фибры в бетоносмеситель они должны быть равномерно распределены по всему объему.
Добавки-суперпластификаторы, в зависимости от конкретных условий, можно вводить в бетонную смесь на бетонном заводе, на строительной площадке или частично на заводе и строительной площадке. При этом добавка может быть введена в виде порошка или жидкости рабочей 33 % консистенции.
6.2.24 На объекте следует визуально или при помощи стандартного конуса оценить подвижность литой смеси, величина которой определяется значениями продольного уклона строящейся дороги и может достигать 18 см.
В случае, если на строительном объекте имеются участки, продольный уклон которых более 30 ‰, следует применять бетонные смеси с осадкой конуса 10 - 12 см за счет снижения на 20 - 30 % вводимого на объекте суперпластификатора.
При недостаточной подвижности смеси на строительной площадке дополнительно в автобетоносмеситель вводится добавка-суперпластификатор и производится дополнительное перемешивание в течение 5 - 7 мин.
6.2.25 Готовая литая бетонная смесь выливается из автобетоносмесителя на предварительно уложенную по песчаному подстилающему слою полиэтиленовую пленку.
6.2.26 Для облегчения подачи литой смеси на расстояние 3 - 4 м следует применять удлиненные лотки или инвентарные приставки-лотки к автобетоносмесителю. Для исключения расслаиваемости смеси угол наклона лотка должен быть в пределах 45 - 60 °С.
При выгрузке смеси бетономешалку автобетоносмесителя следует установить вниз по естественному уклону дороги.
В труднодоступную конструкцию дороги укладка литой смеси может производиться автобетоносмесителями совместно с бетононасосами типа «Штеттер», «Вибау» и др.
6.2.27 Литая смесь после её укладки требует лишь незначительного распределения и профилирования, что осуществляется специальным оборудованием.
В случае необходимости, особенно на участках с продольным уклоном более 40 ‰, можно использовать для дополнительного уплотнения двухвальцовый ручной каток.
Смесь должна распределяться и профилироваться против продольного уклона строящейся дороги.
6.2.27 В конце рабочей смены устраивают поперечный температурный шов. Шов устраивают в виде упорного бруса или металлического шаблона, обернутых пергамином на полную ширину и высоту укладываемой полосы дороги. Брус (шаблон) закрепляют к грунту и бетону с помощью металлических штырей. После возобновления работ установленный брус (шаблон) снимается.
7.1 Все материалы, используемые для устройства различных конструктивных слоев дорожной одежды, должны отвечать требованиям и подвергаться испытаниям согласно действующим ГОСТам и настоящим Техническим рекомендациям.
7.2 Контроль в процессе производства работ заключается в проверке соответствия выполненных работ проекту, техническим условиям и правилам производства работ.
7.3 Все сооружения, предъявляемые к сдаче в эксплуатацию, должны быть выполнены в соответствии с проектом, СНиПом и другими действующими нормативно-техническими документами.
7.4 При приемке земляного полотна и песчаного подстилающего слоя поперечные и продольные профили проверяют нивелировкой, размеры элементов в плане - стальной лентой, а ровность поверхности - рейкой. Требуемая плотность земляного полотна и песчаного подстилающего слоя должна быть не менее 0,98 от оптимальной. Отклонение толщины песчаного слоя от проектной допускается в пределах ± 1 см. Коэффициент фильтрации песка должен быть не менее 3 м/сут.
7.5 Щебеночные и гравийные основания проверяют путем проведения лабораторных испытаний вырубок из оснований весом 2 кг по одной на каждые 5000 м2. Уменьшение толщины основания не должно превышать 10 % от проектной.
7.6 При приемке основания из цементного бетона проверяют отсутствие трещин, прочность бетона лабораторными испытаниями вырубок, конструкцию температурных швов и правильность их расположения, правильность установки люков колодцев и водоприемных решеток. Допускаемые отклонения от проекта не должны превышать по толщине плиты ± 10 мм, по ровности - 10 мм при проверке 3-метровой рейкой, по прочности при испытании на изгиб - 5 %, на сжатие - 10 %.
7.7 Контроль качества выполнения строительных работ в конструкциях с применением прокладок из геотекстильных материалов или геосеток производится по действующим техническим нормативам СНиП 3.06.03-85 «Автомобильные дороги» и ТР 103-00 «Технические рекомендации по устройству дорожных конструкций с применением асфальтобетона». К общим требованиям указанных нормативов добавляются требования по качеству устройства прослоек из геотекстильных материалов или геосеток, а именно:
· качество применяемых материалов;
· ровность раскладки применяемых материалов, исключение образования складок, волн, пузырей;
· качество заделки мест, где имели место разрывы или другие нарушения сплошности в уложенных полотнищах геотекстиля или геосетки;
· ширина перекрытия смежных полотен и качество стыковки полотен вдоль участка укладки;
· шаг и прочность соединения полотен скобами в местах примыкания.
7.8 Приемку соответствующего слоя дорожной одежды с устроенной по нему прокладкой из геотекстильной ткани или геосетки производят путем наружного осмотра с составлением акта приемки.
8.1 Техника безопасности на строительных объектах должна соблюдаться в соответствии с требованиями норм и правил СНиП 12-03-2001 «Безопасность труда в строительстве», ч. 1 Общие требования.
8.2 К работе по строительству временных дорог допускаются рабочие не моложе 18 лет, прошедшие медицинский осмотр, обученные по утвержденной программе безопасным методам работы, получившие удостоверение о сдаче экзаменов и проинструктированные непосредственно на рабочем месте. Проверка знаний рабочих производится ежегодно специальной комиссией.
Все подготовительные и механизированные работы должны производиться под непосредственным руководством инженерно-технических работников, назначенных приказом.
К работе на механизмах допускаются лица, имеющие специальные удостоверения на право управления ими.
8.3 Рабочие должны быть обеспечены специальной одеждой и исправным ручным инструментом в соответствии с требованиями ГОСТ 28010-88.
8.4 При производстве работ в зимнее время для обогрева рабочих устанавливаются перерывы продолжительностью 10 мин при температуре от -20 °С до -30 °С и полное прекращение работ при температуре ниже -30 °С.
8.5 Рабочую зону необходимо оградить. С наступлением темноты в зоне работ должны быть установлены сигнальные лампы красного цвета. Осветительные лампы мощностью до 200 Вт подвешивают на высоте 2,5 - 3 м, а более 200 Вт - на высоте 3,5 - 10 м.
8.6 При переносе изделий и др. материалов вручную в процессе строительства предельная норма для каждого рабочего не должна превышать 50 кг.
8.7 Ответственность за исправность машин и механизмов, используемых на строительстве, несет начальник участка. Категорически запрещается лицам, не имеющим специального удостоверения, управлять механизмами или ремонтировать их.
9.1 При проведении строительных работ следует осуществлять мероприятия и работы по охране окружающей природной среды в соответствии с требованиями СНиП 22-01-95; СНиП 22-02-2003; СНиП 3.01.01-85*.
9.2 На территории производственных предприятий, заводов и строительных площадках должна быть обеспечена сохранность зеленых насаждений.
9.3 Слив воды от промывки автотранспортной и строительной техники производить в места, предусмотренные проектом производства работ.
9.4 Все ИТР и рабочие должны пройти инструктаж по охране окружающей среды в пределах строящейся дороги.
Рекомендуемые машины и механизмы для уплотнения конструктивных слоев внутриквартальных дорог
Таблица А.1 - Катки для уплотнения земляного полотна
|
Фирма-производитель Торговая марка |
Модель |
Эксплуатационная масса, кг |
Габаритные размеры, мм |
Распределение общего веса между осями вибровальцового и тракторного модулей Qвм/Qтм, кг |
Мощность двигателя, л.с./кВт |
Ширина и диаметр вальца, мм |
Количество кулачков на вальце |
Высота кулачка, мм |
Площадь контактной поверхности кулачка, см2 |
Номинальная амплитуда колебаний вальца, мм |
Частота колебаний, Гц |
Центробежная сила вибратора, кН |
|
1 |
2 |
3 |
4 |
5 |
6 |
7 |
8 |
9 |
10 |
11 |
12 |
13 |
|
АМКОДОР |
АМКОДОР 6712 |
12000 |
5540×2318×3485 |
н.д. |
100/73,5 |
2100×1500 |
- |
- |
- |
12 |
30 |
140 |
|
ЗАО «РАСКАТ» |
ДУ-111 |
7000 |
5000×2000×27000 |
н.д. |
78,6/57,4 |
1700/1200 |
76 |
100 |
130 |
1,9/1,4 |
23/35 |
95/146 |
|
ДУ-85 |
13000 |
6000×4000×3200 |
н.д. |
150/110 |
2000/1600 |
108 |
100 |
130 |
2,1 |
24 |
150 |
|
|
ДУ-94 (прицепной) |
8200 |
5120×2200×2400 |
н.д. |
60,3/44 |
2000/1600 |
108 |
100 |
130 |
2,1 |
25 |
150 |
|
|
ДУ-476 |
7500 |
4790×1800×3250 |
н.д. |
60,3/44 |
1400×1200 |
н.д. |
н.д. |
н.д. |
0,5 |
41 |
63 |
|
|
Может комплектоваться кулачковым бандажом |
||||||||||||
|
ОАО «САСТА» |
W1103 |
11100 |
5500×2250×3140 |
5800×5300 |
115,5/85 |
2100×1500 |
- |
- |
- |
1,6/0,6 |
28/36 |
210/107 |
|
Челябинский тракторный завод - УРАЛТРАК |
ВК-24 |
23000/26000 |
6735×3135×3385 |
н.д. |
230/180 |
2995×1580/1834 |
- |
- |
- |
1,98/1,39 |
30 |
360 |
|
INGERCOLL-RAND (США) |
SО45F |
5147 |
4053×1990×2885 |
2789/2358 |
80/59,7 |
1372×1153 |
63 |
76 |
125 |
1,71 |
32 |
99 |
|
Фирмой выпускается пятнадцать типоразмеров и исполнений грунтовых катков эксплуатационной массы от 4807 кг до 20181 кг |
||||||||||||
|
STAVOSTOJ (Чехия) |
VV7ОOPD |
7085 |
5795×1880×2870 |
3965/3120 |
100,6/74,0 |
1680×1240 |
104 |
80 |
114 |
1,7/0,86 |
30/40 |
145/130 |
|
Фирмой выпускается двенадцать типоразмеров и исполнений грунтовых катков эксплуатационной массы от 7085 кг до 25215 кг |
||||||||||||
|
VIBROMAX (Германия) |
VM66PD |
7100 |
4870×1870×2840 |
3350/3750 |
80/60 |
1750×1300 |
100 |
80 |
н.д. |
0,80 |
36 |
84 |
|
Фирмой выпускается двенадцать типоразмеров и исполнений грунтовых катков эксплуатационной массы от 4450 кг до 18500 кг |
||||||||||||
|
DYNAPAC (Швеция) |
CA141PD |
5040 |
3800×1626×2403/1702 |
2440/2600 |
72/53 |
1524×1067 |
90 |
- |
53 |
1,1 |
34 |
83 |
|
Фирмой выпускается тридцать восемь типоразмеров и исполнений грунтовых катков эксплуатационной массы от 4150 кг до 18600 кг |
||||||||||||
|
BOMAG (Германия) |
BW124-PDH3 |
3350 |
3350×1310×2400 |
1650/1700 |
44/33 |
1200/890 |
70 |
55 |
81 |
1,60/0,80 |
41/41 |
85/43 |
|
Фирмой выпускается тридцать восемь типоразмеров и исполнений грунтовых катков эксплуатационной массы от 3300 кг до 26720 кг |
||||||||||||
|
НАММ AG (Германия) |
320SP |
5730 |
4355/4850×1480×2090/2775 |
3020/2710 |
57,2/42,1 |
1370×1160 |
84 |
180 |
н.д. |
1,2/0,53 |
30/42 |
69/60 |
|
Фирмой выпускается тридцать семь типоразмеров и исполнений грунтовых катков эксплуатационной массы от 5350 кг до 24960 кг |
||||||||||||
Таблица А.2 - Виброкатки тандемные малогабаритные
|
Фирма-производитель Торговая марка |
Модель |
Эксплуатационная масса, кг |
Габаритные размеры, мм |
Распределение общего веса между передней и задней осями Qп/Qз, кг |
Мощность двигателя, л.с./кВт |
Ширина и диаметр вальца, мм |
Номинальная амплитуда колебаний вальца, мм |
Частота колебаний, Гц |
Центробежная сила вибратора, кН |
|
1 |
2 |
3 |
4 |
5 |
6 |
7 |
8 |
9 |
10 |
|
ОТЕЧЕСТВЕННЫЕ |
|||||||||
|
ЗАО «РАСКАТ» |
ДУ-82 |
3500 |
2950×1400×2900 |
1,75/1,75 |
35,2/25,7 |
1300/800 |
0,42 |
64 |
32 |
|
ДУ-107 |
1500 |
2500×820×1600 |
0,65/0,65/0,2 |
13,2/9,6 |
700/550 |
0,45 |
60 |
6,2 |
|
|
ОАО «САСТА» |
СА242К |
2500 |
2435×1290×2697/1840 |
н.д. |
29/21,5 |
1200×700 |
0,50 |
58 |
30 |
|
ФГУП «Дмитровский экскаваторный завод» |
КД-151 |
1500 |
2080×930×2400 |
750/750 |
19/14 |
850/550 |
0,47 |
50 |
н.д. |
|
ИМПОРТНЫЕ |
|||||||||
|
АМКОДОР |
Амкодор 6223 |
2700 |
2470×1420×1800 |
н.д. |
25/18 |
1260×700 |
0,24 |
40 |
18 |
|
НАММ AG (Германия) |
HD 10 |
2530 |
2420×1070×1660 |
1300/1230 |
25/18,5 |
1000×700 |
0,5 |
55 |
25,8 |
|
Фирма выпускает три типоразмера и исполнения (модели) катков эксплуатационной массы от 2630 кг до 3150 кг. |
|||||||||
|
Ingersoll-Rand ABG (США) |
DD 14 |
1545 |
2135×1000×1759 |
710/835 |
16,88/12,6 |
900×560 |
0,37 |
66,7 |
15,57 |
|
Фирма выпускает семь типоразмеров и исполнений (моделей) катков эксплуатационной массы от 1545 кг до 3780 кг. |
|||||||||
|
STAVOSTROJ (Чехия) |
VH 170 |
1728 |
2050×986×2560 |
864/864 |
19/14 |
900×620 |
0,4 |
60 |
15 |
|
VH 180 |
1807 |
2050×1086×2560 |
903/904 |
19/14 |
1000×620 |
0,4 |
60 |
15 |
|
|
Фирма выпускает шесть типоразмеров и исполнений (моделей) катков эксплуатационной массы от 1728 кг до 3335 кг. |
|||||||||
|
VIBROMAX (Германия) |
W102 |
1182 |
1980´910´1580/2385 |
595/587 |
19/14 |
800´550/570 |
0,50 |
55 |
10,5 |
|
Фирма выпускает три типоразмера и исполнения (модели) катков эксплуатационной массы от 2630 кг до 3150 кг. |
|||||||||
|
DYNAPAC COMPACTION EQUIPMENT AB (Швеция) |
СС1000 |
1650 |
2095/2040×1070×2300/1520 |
810/840 |
23/17 |
1000×584 |
0,35 |
70 |
17 |
|
Фирма выпускает семь типоразмеров и исполнений (моделей) катков эксплуатационной массы от 1560 кг до 3900 кг. |
|||||||||
|
BOMAG (Германия) |
BW 900-2 |
1326 |
2080×956×2340 |
0/1142 |
17,95/13,2 |
900×560 |
0,50 |
65 |
14 |
|
Фирма выпускает одиннадцать типоразмеров и исполнений (моделей) катков эксплуатационной массы от 1326 кг до 4200 кг. |
|||||||||
Таблица A.3 - Виброкатки ручные
|
Фирма-производитель, торговая марка |
Модель |
Эксплуатационная масса, кг |
Габаритные размеры, мм |
Мощность двигателя, кВт |
Ширина и диаметр вальцов на оси, мм |
Номинальная (расчетная) амплитуда колебаний, мм |
Частота колебаний, Гц |
Центробежная сила вибровозбудителя, кН |
|
1 |
2 |
3 |
4 |
5 |
6 |
7 |
8 |
9 |
|
ЗАО «РАСКАТ» AMMANN VERDICHTUNG GmbH |
ДУ-90 |
270 |
1450×780×990 |
4,4 |
550´... |
н.д. |
75 |
22,6 |
|
AR 65 ID |
720 |
1070×650×1050 |
5,2 |
650×400 |
0,3/0,5 |
60/55 |
13/18 |
|
|
AR 65 IB |
700 |
1070×650×1050 |
6,3 |
650×400 |
0,3/0,5 |
60/55 |
13/18 |
|
|
BOMAG |
DMP 851 (многоцелевой грунтовый) |
1516 |
1500×610×1200 |
13,8 |
610×500 |
2,1 |
3,2 |
80 |
|
DYNAPAC Compaction Equipment AB |
LP8500 (дизель кулачковый с высокими кулачками, дистанционное управление) |
1675 |
1875×850/630×1207 |
12,5 |
850/630×535 |
1,2 |
32 |
65 |
|
IR-BOBCAT |
ТС-13С (дистанционное управление) |
1345 |
1805×610×1170 |
14,1 |
610/850×485 |
1,40 |
41,6 |
76 |
Таблица А.4 - Вибротрамбовки
|
Фирма-производитель, торговая марка |
Модель |
Эксплуатационная масса, кг |
Габаритные размеры, мм |
Мощность двигателя, л.с./кВт |
Амплитуда вибрации, мм |
Частота ударов в минуту, мин-1 |
Центробежная сила вибратора, кН |
Размер (длина×ширина) башмака, мм |
|
1 |
2 |
3 |
4 |
5 |
6 |
7 |
8 |
9 |
|
AMMANN VERDICHTUNG GmbH |
ADS 70 |
83 |
670×360×980 |
4,0/3,0 (4-тактный двигатель) |
60 |
730 |
100 (Дж) |
340×280 |
|
ADS 70 |
83 |
670×360×980 |
3,9/2,9 (дизель) |
60 |
680 |
105 (Дж) |
340×280 |
|
|
BOMAG |
В1 60/4 |
62 |
735×350×960 |
3,4/2,5 |
60 |
540×710 |
13,5 |
335×280 |
|
B1 65/4 |
68 |
735×350×1000 |
3,4/2,5 |
70 |
540×710 |
16,2 |
335×280 |
|
|
DYNAPAC Compaction Equipment AB |
LT800 |
84(85) |
810×422×1074 |
4,0/3,0 (дизель) |
65 - 75 |
720 |
21,4 |
330×280(330)/0,065×(0,075) |
|
LT5000 |
63 |
810×422×1030 |
3,0/2,2 (бензин) |
50 - 60 |
720 |
13,0 |
330×150/0,034 |
|
|
STAVOSTROI |
RV 56/2 |
56 |
1042×698×380 |
3,3/2,4 |
60 |
720 |
н.д. |
200×345 |
|
RV 66/2 |
66 |
1042×698×380 |
3,3/2,4 |
65 |
720 |
н.д. |
200×345 |
Таблица А.5 - Виброплиты реверсивные
|
Фирма-производитель, торговая марка |
Модель |
Центробежная сила вибратора, кН |
Частота вибрации, Гц |
Размеры днищевой плиты, ширина×длина, мм: (в скобках - размер контактной поверхности днищевой плиты, м2) |
Мощность двигателя, кВт |
Эксплуатационная масса, кг |
Габаритные размеры, мм |
|
1 |
2 |
3 |
4 |
5 |
6 |
7 |
8 |
|
AMMANN VERDICHTUNG GmbH |
AVP 2220 (бензиновый двигатель) |
22 |
98 |
400×600(0,10) |
2,9 |
100 |
600×400×1000 |
|
AVP 2220 (дизельный двигатель) |
22 |
98 |
400×600(0,10) |
3,1 |
115 |
600×400×1000 |
|
|
BOMAG |
BPR 25/45-3 |
25 |
80 |
450×1440 |
4/5,5 |
112 |
1440×450×10 |
|
BPR 25/45 D-3 |
25 |
80 |
450×1440 |
2,9 |
132 |
1440×450×10 |
|
|
DYNAPAC Compaction Equipment AB |
16200 (дизель, электр. старт) |
36 |
65 |
700×500(0,1735) |
3,0 |
247 |
1355×500×1105 |
|
LH300 (бензин) |
40 |
68 |
700×500(0,173) |
6,6 |
322 |
1430×450×1090 |
|
|
STAVOSTROI |
PR 105 R |
20 |
90 |
300×400(0,120) |
3,4 |
105 |
1034×1064×400 |
|
VIBROMAX |
AT 8 |
16 |
100 |
325×583(0,189) |
2,9 |
80 |
1280×526×1060 |
Фирмы выпускают виброплиты эксплуатационной массы до 800 кг.
Таблица А.6 - Виброплиты нереверсивные
|
Фирма-производитель, торговая марка |
Модель |
Центробежная сила вибратора, кН |
Частота вибрации, Гц |
Размеры днищевой плиты, ширина×длина, мм: (в скобках - размер контактной поверхности днищевой плиты, м2) |
Мощность двигателя, кВт |
Эксплуатационная масса, кг |
Габаритные размеры, мм |
|
1 |
2 |
3 |
4 |
5 |
6 |
7 |
8 |
|
ФГУП СНПЦ «РОСДОРТЕХ» |
ВП-3 |
9,0 |
100 |
450×220 |
3 |
70 |
800×450×850 |
|
СПЛИТСТОУН |
VS-134 |
831) |
100 |
(0,12) |
2,2 |
65 |
630×320×440 |
|
VS-244 |
671) |
90 |
(0,18) |
3,0 |
80 |
550×440×470 |
|
|
VS-246 E12 |
901) |
80 |
(0,20) |
4,5 |
140 |
630×450×600 |
|
|
VS-246 E20 |
1301) |
80 |
(0,20) |
4,5 |
160 |
630×450×600 |
|
|
VS-309 |
1581) |
70 |
(0,24) |
6,75 |
300 |
1340×500×900 |
|
|
AMMANN VERDICHTUNG GmbH |
AVP 1033 |
10,5 |
100 |
330×540(0,11) |
2,2 |
54 |
540×330×920 |
|
AVP 1240 с бензин. двигателем |
12 |
98 |
400×540(0,14) |
2,6 |
75 |
540×400×880 |
|
|
AVP 1240 Y с дизельн. двигателем |
12 |
98 |
400×540(0,14) |
2,8 |
85 |
540×400×880 |
|
|
BOMAG |
ВР 6/30 |
6 |
90 |
300×545 |
1,3 |
46 |
910×300×870 |
|
ВР 8/34 |
8 |
90 |
340×545 |
2,9 |
54 |
970×340×870 |
|
|
DYNAPAC Compaction Equipment AB |
LF90 бензин |
14 |
83 |
625×500(0,25) |
4,0 |
100 |
1152×505×950 |
|
LF90 дизель |
14 |
83 |
625×500(0,2205) |
2,5 |
116 |
1200×500×1025 |
1) Удельное давление
Фирмы выпускают виброплиты других моделей эксплуатационной массой до 300 кг.
Таблица А.7 - Отечественные виброплиты, виброуплотнители для послойного уплотнения грунта в траншеях и котлованах
|
Модель, основные конструктивные особенности |
Масса, кг |
Мощность двигателя, кВт (л.с.) |
Размеры плиты, ширина уплотнения, мм |
Частота колебаний, Гц |
Вынуждающая сила, кН |
Максимальная глубина уплотнения, мм |
Габаритные размеры, мм |
|
|
1 |
2 |
3 |
4 |
5 |
6 |
7 |
8 |
|
|
1 |
ВУ-800, двигатель бензиновый |
45 |
2,6 |
450×350 |
100 |
- |
150 - 200 |
- |
|
2 |
ВУ-1500, двигатель Honda GX-160 бензиновый |
100 |
2,9 (4,0) |
450 |
96 |
15 |
до 250 |
- |
|
3 |
ОУ-60, двигатель Honda GX-160 бензиновый |
80 |
4 |
350×410 |
90 |
10 |
250 |
1200×350×1090 |
|
4 |
ОУ-80, двигатель Honda G-160 бензиновый |
110 |
4 |
400×500 |
90 |
14 |
250 |
1440×400×1230 |
|
5 |
ДУ-90 двигатель СН-GД дизельный |
270 |
4,4 |
550 |
75 |
22,6 |
- |
1450×780×990 |
|
6 |
ВП-070 двигатель Robin EX 13 Honda GX 120 бензиновый |
76 (85) |
3,2 (4,3) |
390×510 |
100 |
10 |
150 |
1000×380×920 |
|
7 |
ВП-095 двигатель Robin EX 17 Honda GX 160 бензиновый |
95 (104) |
4,2 (5,7) |
440×585 |
93 |
18 |
250 |
- |
|
8 |
ВП-130 двигатель Robin EX 17 Honda GX 160 бензиновый |
135 (145) |
4,2 (5,7) |
500×675 |
87 |
22 |
300 |
- |
Таблица А.8 - Гидромолоты к гидравлическим экскаваторам, используемые для разработки и уплотнения грунтов
|
Фирма-производитель, торговая марка |
Модель |
Масса экскаватора, т |
Масса гидромолота, кг |
Энергия удара, Дж |
Частота ударов, уд./мин |
Номинальное рабочее давление, МПа |
Расход масла, л/мин |
Диаметр рабочего инструмента, мм |
Длина гидромолота/рабочая длина инструмента, мм |
Предприятие-изготовитель (поставщик) |
|
1 |
2 |
3 |
4 |
5 |
6 |
7 |
8 |
9 |
10 |
11 |
|
АО «АТЕК» |
ГПМ-300 |
18 - 28 |
1200 |
3000 |
до 200 |
16 |
100 - 200 |
135 |
3100/500 |
ООО «Компания «Традиция-К» Россия, 115583, Москва, Каширское шоссе, д. 65, оф. 806. Тел. факс: (495) 727-4069, 343-2417. E-mail: mai1@tradicia-k-ru, tradicia-k@mtu-net.ru |
|
«БУЛАТ» Златоустовский машиностроительный завод |
ГПМ-200 |
6 - 12 |
380 |
2000 |
до 250 |
12 |
60 - 120 |
|
1800/350 |
|
|
«ИМПУЛЬС» |
Д-41 |
1 - 5 |
240 |
450 |
до 1000 |
10 |
40 - 70 |
65 |
870/400 |
|
|
(Д-310) И-300М |
16 - 30 |
1200 |
3000 |
до 540 |
10 - 15 |
100 - 180 |
120 |
2330/650 |
||
|
Д-450 |
20 - 32 |
1600 |
5000 |
до 240 |
16 |
100 - 200 |
|
2500/750 |
||
|
Д-600 |
30 - 45 |
2500 |
8000 |
до 300 |
15 - 18 |
200 - 350 |
160 |
2830/800 |
||
|
КОВРОВЫЙ ЭКСКАВАТОРНЫЙ ЗАВОД |
СП-62ХЛ |
24 - 45 |
2100 |
9000 |
до 190 |
16 - 22 |
165 - 300 |
180 |
3210/800 |
|
|
НЕВЬЯНСКИЙ МЕХАНИЧЕСКИЙ ЗАВОД |
МГ-300 |
12 - 25 |
950 |
3000 |
до 300 |
16 |
110 - 220 |
110 |
2500/500 |
|
|
ОАО «САРЭКС» |
ГПМ-120 |
5 - 12 |
300 |
1220 |
до 180 |
14 |
50 - 120 |
80 |
1890/390 |
|
|
ТВЕРСКОЙ ЗАВОД «СТРОЙМОЛОТ» |
МГ-300.20 |
12 - 25 |
950 |
2700 |
до 350 |
16 |
80 - 200 |
110 |
2500/500 |
|
|
ТВЕРСКОЙ ЭКСКАВАТОРНЫЙ ЗАВОД |
СП-71А |
12 - 20 |
1000 |
3000 |
до 210 |
16 |
80 - 165 |
110 |
2600/480 |
|
|
ОАО «ТВЕРЬТЕХОСНАСТКА» |
PM-120 |
2 - 8 |
150 |
500 |
до 720 |
10 |
60 - 100 |
70 |
1350/350 |
|
|
НМ-220 |
6 - 13 |
300 |
1000 |
до 450 |
10 |
50 - 100 |
80 |
1800/330 |
||
|
НМ-230 |
6 - 13 |
350 |
1000 |
до 540 |
10 |
50 - 120 |
80 |
1800/330 |
||
|
НМ-330 |
13 - 18 |
750 |
2400 |
до 360 |
16 |
100 - 160 |
110 |
1900/430 |
||
|
НМ-440* |
18 - 26 |
1100 |
3500 |
до 270 |
16 |
160 - 240 |
110 |
2800/600 |
||
|
«ТРАДИЦИЯ-К» |
СМГ-200 |
4 - 14 |
350 |
2000 |
до 400 |
10 - 16 |
50 - 150 |
80 |
2000/390 |
|
|
СМГ-300 |
12 - 20 |
900 |
2700 |
до 420 |
12 - 16 |
70 - 240 |
130 |
2480/500 |
||
|
KRUPP |
Krupp НМ-230 |
6 - 13 |
380 |
1500 |
до 1000 |
16 |
60 - 90 |
80 |
1900/415 |
|
|
RAMMER |
Rammer 5-52 |
8 - 17 |
800 |
1800 |
до 580 |
14 |
60 - 140 |
н.д. |
2200/650 |
|
|
Rammer 5-54 |
12 - 20 |
850 |
2200 |
до 500 |
14 |
50 - 100 |
н.д. |
2378/700 |
||
|
Rammer 5-56 |
20 - 40 |
1550 |
3500 |
до 500 |
14 |
80 - 160 |
н.д. |
2300/680 |
||
|
ROXON |
Roxon-602 |
12 - 18 |
600 |
1300 |
до 560 |
14 |
60 - 90 |
100 |
2100/600 |
1 ГОСТ 25100-95 Грунты. Классификация.
2 ГОСТ 8736-93* Песок для строительных работ. Технические условия.
3 ГОСТ 8267-93* Щебень и гравий из плотных горных пород для строительных работ. Технические условия.
4 ТУ 218 РФ-001-05204776-2000 Базальтовая сетка. Технические условия.
5 ГОСТ 8269.0-97* Щебень и гравий из плотных пород и отходов промышленного производства для строительных работ. Методы физико-механических испытаний.
6 ГОСТ 8735-88* Песок для строительных работ. Методы испытаний.
7 ГОСТ 25584-90* Грунты. Методы лабораторного определения коэффициента фильтрации.
8 ГОСТ 26633-91* Бетоны тяжелые и мелкозернистые. Технические условия.
9 ТУ 5745-005-02066517-99 Смеси цементобетонные дорожные с использованием отходов переработки автопокрышек. Технические условия.
10 ТР 109-99 (МАДИ) Технические рекомендации по строительству монолитных дорожных конструкций из бетонных смесей, модифицированных резиновой крошкой или мукой.
11 ГОСТ 10178-85* Портландцемент и шлакопортландцемент. Технические условия.
12 ГОСТ Р 52128-2003 Эмульсии битумные дорожные. Технические условия.
13 СК 6101-98 Конструкции дорожных одежд для города Москвы. Улицы и дороги местного значения (ч. II).
14 СК 6117-2000 Альбом конструкций дорожных одежд с использованием продуктов переработки промышленных и строительных материалов.
15 СНиП 3.06.03-85 Автомобильные дороги.
16 СНиП 52-01-2003 Бетонные и железобетонные конструкции. Основные положения.
17 ТР 136-03 Технические рекомендации по технологии стабилизации конструктивных слоев дорожных одежд, покрытий, парковых дорожек и тротуаров с применением химических реагентов.
18 ВСН 2-94 Инструкция по конструкциям и технологии строительства дорог в районах массового жилищного строительства.
19 ТР 72-98 Технические рекомендации по конструкциям и технологии строительства дорог, тротуаров, площадок на территориях культурно-бытового назначения.
20 ТР 126-01 Технические рекомендации по технологии применения различных отходов промышленности, дорнита в дорожном строительстве.
21 ТР 128-01 Технические рекомендации по технологии строительства дорог с применением дорнита и других геотекстильных материалов и геосеток.
22 ТР 138-03 Технические рекомендации по применению укатываемого малоцементного бетона в конструкциях дорожных одежд.
23 ТР 159-04 Технические рекомендации по технологии строительства городских дорог в зимнее время.
24 ТР 145-03 Технические рекомендации по производству земляных работ в дорожном строительстве, при устройстве подземных инженерных сетей, при обратной засыпке котлованов, траншей, пазух.
25 ВСН 62-97 Инструкция по технологии применения регулируемых оголовков смотровых колодцев при реконструкции и ремонте городских работ.
26 ТУ 5853-001-04000-633-2006 Регулируемые оголовки смотровых колодцев. Технические условия.
27 ТР 172-05 Технические рекомендации по строительству городских дорог с применением криволинейных бортовых камней.
28 ГОСТ 23732-79 Вода для бетонов и растворов. Технические условия.
29 ГОСТ 6665-91 Камни бетонные и железобетонные бортовые. Технические условия.
30 СНиП III-10-75 Благоустройство территорий.
31 ГОСТ Р 51248-99 Пути наземные крановые. Общие технические требования.
32 ГОСТ 15902.3-79* Полотна нетканые. Методы определения прочности.
33 ГОСТ 8977-74 Кожа искусственная и пленочные материалы. Методы определения гибкости, жесткости и упругости.
СОДЕРЖАНИЕ