В учебном пособии даны примеры расчета сборного балочного предварительно напряженного железобетонного автодорожного пролетного строения с натяжением полигональных и прямолинейных пучков до бетонирования.
| Обозначение: | Учебное пособие |
| Название рус.: | Примеры расчета балочного предварительно напряженного железобетонного автодорожного пролетного строения |
| Статус: | действующий |
| Дата актуализации текста: | 08.10.2010 |
| Дата добавления в базу: | 08.10.2010 |
| Дата введения в действие: | 13.01.1971 |
| Разработан: | Ростовский инженерно-строительный институт |
| Утвержден: | Ростовский инженерно-строительный институт (13.01.1971) |
| Опубликован: | Ростовский инженерно-строительный институт № 1971 |
РОСТОВСКИЙИНЖЕНЕРНО-СТРОИТЕЛЬНЫЙ ИНСТИТУТ
ПРИМЕРЫ РАСЧЕТА БАЛОЧНОГО ПРЕДВАРИТЕЛЬНО НАПРЯЖЕННОГОЖЕЛЕЗОБЕТОННОГО АВТОДОРОЖНОГО ПРОЛЕТНОГО СТРОЕНИЯ
УЧЕБНОЕ ПОСОБИЕ
РОСТОВНА ДОНУ
1971
Содержание
В учебном пособии даны примеры расчета сборного балочного предварительнонапряженного железобетонного автодорожного пролетного строения с натяжениемполигональных и прямолинейных пучков до бетонирования.
Расчеты выполнены в соответствии с Указаниями по проектированиюжелезобетонных и бетонных конструкций железнодорожных, автодорожных и городскихмостов и труб - СH365-67.
В расчетах наряду с основными усилиями учтено воздействие крутящихмоментов от общей и местной временной нагрузки.
Учет кручения от общей нагрузки выполнен по способу, разработанномуавтором.
Примеры расчета снабжены подробными методическими указаниями.
Приведены уточненные способы расчета.
Учебное пособие рассчитано на студентов специальности"Автомобильные дороги", "Городское строительство" и"Мосты и тоннели", оно также может быть полезным студентам,специальности "Строительство железных дорог" и инженерам-проектировщикам.
Пролетное строение железобетонного сборное с натяжением полигональных ипрямолинейных пучков до бетонирования.
Условный пролет в свету lсв = 20 м.
Расчетный пролет цельноперевозимых диафрагменных балок l = 21,50 м.
Расстояние от торца балки до оси опирания С = 0,33 м.
Расстояния между осями диафрагм d = 4,31 и 4,295 м.
Расстояние от торца балки до оси крайней диафрагмы d0 = 0,32 м.
Полная длина пролетного строения lп = 0,32 + 4,295 +4,31´3 + 4,295 + 0,32 =22,16 м.
Опалубочные размеры балок приняты по типовому проекту сооружений наавтомобильных дорогах выпуск 122-62.
ПРИМЕЧАНИЕ. Схемы и показатели типовых сборных железобетонныхбалочных пролетных строений приведены в приложениях I-V.
Габарит проезжей части Г-8 с тротуарами по Т = 1 м.
Расстояние между осями балок по ширине моста в = 1,66 м. Числобалок по ширине моста для габарита Г-8 при Т = 1 м ... п = 6.
Нормативные нагрузки: H-30, HK-80 и толпа на тротуарах 400 кГ/м2.
Нормы проектирования
Расчеты выполнены в соответствиис нормами проектирования:
1. Технические условияпроектирования железнодорожных, автодорожных и городских мостов и труб (СН200-62), обозначенные в тексте сокращенно СН-200.
2. Мосты и трубы. Нормыпроектирования. СНиП П-Д.7-62, обозначенные в тексте сокращенно СНиП.
3. Указания по проектированиежелезобетонных и бетонных конструкций железнодорожных, автодорожных и городскихмостов и труб (СН-365-67), обозначенные в тексте сокращенно СН (с введением вдействие в 1967 г. Указании СН-365-67 утратили силу разделы II и VIСН 200-62 в части, относящейся к железобетонным и бетонным конструкциям).
В тексте расчетов в необходимыхслучаях даны ссылки на соответствующие пункты СН, СН-200 и СНиП.
Материалы
Бетон для балок тяжелыйпроектной марки:
по прочности на сжатие - 400;
по морозостойкости - не менее Мрз200по ГОСТ 4795-59 (пункт 1.6. СН).
ПРИМЕЧАНИЕ. Для климатических условий, соответствующихсреднемесячной температуре наиболее холодного месяца ниже минус 15°Спроектная марка бетона по морозостойкости - не менее Мрз300.
Бетон принят по группе А всоответствии с классификацией СН (пункт 1.3).
Предварительно напрягаемаяарматура балок - в виде пучков стальных высокопрочных холоднотянутых гладкихпроводов класса В-П диаметром 5 мм с нормативным сопротивлением (пределомпрочности)
по ГОСТ7348-63 (пункт 1.10 и таблица 30 СН).
Рабочая ненапрягаемая арматураконсольных плит, ребра, диафрагм, нижнего уширения и опорного утолщения главныхбалок - периодического профиля из углеродистой горячекатаной стали класса А-II по ГОСТ 5881-61 марки Ст.5сп мартеновскойили конверторной по ГОСТ 380-60 (пункт1.8 СН).
Прочая ненапрягаемая арматураглавных балок, каркасно-стержневые анкеры напрягаемых пучков, планки и накладкисварных стыков диафрагм - из углеродистой горячекатаной стали класса А-I по ГОСТ5781-61 марки ВМСт.3сп мартеновской или марки ВКСт.3спконверторной по ГОСТ 380-60 (пункт1.8 СН).
Конструкция балок
В поперечном сечении пролетноестроение состоит из двух крайних и четырех средних Т-образных балок с нижнимиуширениями ребер (нижними поясами).
Крайние балки отличаются от средних наличием односторонних диафрагм ибольшим количеством напрягаемых арматурных пучков.
ПРИМЕЧАНИЕ. В пособии рассчитаны более напряженные крайниебалки.
Предварительно напряженная арматура балок состоит из полигональных ипрямолинейных пучков, собранных из 24 параллельных проволок диаметром 5мм.
Пучки на концах снабжены каркасно-стержневыми анкерами.
Ненапряженная арматура консольных плит, ребер и нижних уширений балоксостоит из сварных сеток.
Диафрагмы соседних балок стыкуются путем приварки стальных накладок кпланкам диафрагм.
Изготовление балок
Изготовление балок с напряжением арматуры до бетонирования принято попоточно-агрегатной технологии на передвижном упоре-стенде, перемещаемом длятермовлажностной обработки в пропарочную камеру.
По этой причине не учтены потери предварительного напряжения оттемпературного перепада (разность между температурой напрягаемой арматуры иупоров стенда) при пропаривании и прогреве бетона (приложение 4 СН).
В расчетах не учтены возможные потери напряжения в напрягаемой арматуреиз-за упругих деформаций стенда. Эти потери должен учитывать завод-изготовительбалок.
Контролируемое напряжение варматуре с учетом перетяжки на величину этих потерь должно быть не более 0,75нормативного сопротивлении (предела прочности)
.
Для уменьшения потерь отрелаксации напряжений стали все пучки должны быть подвергнуты кратковременной(пятиминутной) перетяжке в размере 10% проектных значений контролируемыхнапряжении с последующим снижением напряжении (примечание к табл. 36 СН). Принатяжении пучков обязательно должен осуществляться двойной контроль завеличиной натяжения по манометру на домкрате и по замеру удлинения проволоки.
Отпуск арматуры производитсяпосле достижения бетоном балок 90% проектной марочной прочности и, как правило,достигается плавной передачей усилий с упора стенда на бетон балок путемперемещения упоров с закрепленной натянутой арматурой в сторону стенда припомощи плоских листовых гидродомкратов, песочниц или клиновых устройств.
Разрешается отпуск арматурыпутем поочередного перерезывания пучков автогеном с предварительным разогревомдокрасна свободного участка пучка между торцом балки и упором стенда.
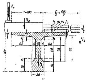
Рассчитывают консольную плиту всечении I-I у вута (рис. 1).

Рис. 1. К расчету плиты на постоянную нагрузку.
Расчетный пролет консоли l = 0,63 м.
Средняя толщина плиты
Средняя толщинабетонного сточного треугольника (см. рис. 1)
![]()
Толщины и объемные веса:
асфальтобетон...................................h1 = 0,05 м; g1 = 2,3 т/м3;
защитный бетонныйслой................. h2 = 0,04 м; g2 = 2,4 т/м3;
гидроизоляция...................................h3 = 0,01 м; g3 = 1,5 т/м3;
сточный бетонныйтреугольник...... h4 = 0,04 м; g4 = 2,4 т/м3;
железобетоннаяплита....................... hср = 0,10 м; gж.б = 2,5 т/м3.
Суммарная толщина четырех слоевдорожной одежды
h = h1 + h2 + h3 + h4= 0,05 + 0,04 + 0,01 + 0,04 = 0,14 м.
Рассчитывается полоска плитышириной в0 = 1 м (см. план на рис. 1).
Постоянная нагрузка на 1 п.м.полоски:
от веса четырех слоев дорожнойодежды
![]()
от веса плиты
![]()
Коэффициент перегрузки (пункт 115 СН-200):
вес слоев одежды..........1,5;
вес плиты.......................1,1.
Изгибающий момент в сечении I-I плитыот постоянной нагрузки:
расчетный
![]()
нормативный
![]()
Нормативная поперечная сила в сечении I-I плитыот постоянной нагрузки
![]()
На основании исследовании С.П.Тимошенко (см. Н.А. Калашников и E.В.Тумас. Таблицы и графики для расчета плит проезжей части мостов.Автотрансиздат, 1956 стр. 6) давление от сосредоточенного в одной точке груза Р,расположенного на свободном краю, условно распределяется в планеконсольной плиты под углом 45° от точки приложения груза (рис. 2), чтоопределяет величину рабочей ширины плиты "а".

Рис. 2. Распределение давления от сосредоточенного груза вконсольной плите на основе исследований С.П. Тимошенко.
Это распределение приближеннопринимается в СН 200-62 (стр. 265) и при нагрузке равномерно распределенной погрузовой площадке со сторонами а1 и в1(рис. 3), при этом рабочая ширина плити "а" определяетсяс учетом распределения влияния равномерной нагрузки в плане под углами в 45° отсредней линии, проходящей через центр тяжести грузовой площадки.

Рис. 3. К расчету плиты на временную нагрузкупо СН 200-62.
Тяжелое колесо весом Рустанавливается на краю консольнойплиты (рис. 3).
Размеры грузовой площадки (СН 200, стр. 265)
а1= а2 + 2Н;в1 = в2 + Н,
где а2 = 0,2 м - длина соприкасания ската спокрытием проезжей части вдоль движения для любых нагрузок (СН 200, стр. 262);
в2 - ширина заднего ската колеса (СН 200, стр.262 и 263);
в2 = 0,6 м........... Н-30;
в2 = 0,4 м........... Н-10;
в2 = 0,8 м.......... НК-80;
Н = 0,14 м (см. выше)
а1 = 0,2 + 2´0,14 = 0,48 м
Рабочая ширина плиты при в1 > l (рис. 3а)
а = а1 + l.
Рабочая ширина плиты при в1< l (рис. 3б)
а = а1 + 2l - в1.
Расчетный изгибающий момент всечении I-I плите от временной нагрузки при в1> l (рис. 3а и в)
![]()
То же при в1< l (рис. 3б и в)

где (1 + m) - динамический коэффициент (пункт 126 СН200);
1 + m = 1,3.......... Н-30 и Н-10;
1 + m = 1,0.......... НК-80;
пвр - коэффициент перегрузки (пункт 127 СН 200);
пвр= 1,4.......... Н-30 и Н-10;
пвр= 1,1......... НК-80.
Нагрузка Н-30
р = 6 т (СН 200, стр. 262);
в1 = в2 + Н = 0,6 + 0,14 = 0,74 м > l = 0,63 м;
![]()
Нагрузка НК-80
р = 10 т (СН 200, стр. 263);
в1 = в2 + Н = 0,8 + 0,14 = 0,94 м > l = 0,63 м;
![]()
Нагрузка Н-10
р = 4,75 т (СН 200, стр. 262);
в1 = в2 + Н = 0,4 + 0,14 = 0,54 м < l = 0,63 м;
![]()
Большее из трех значений (длярасчета плиты на прочность):
(нагрузка Н-30)
Для расчетов на трещиностойкостьвычисляем нормативные величины изгибающего момента и поперечной силы бездинамического коэффициента (пункт 2.2 СН).
При расчетах на трещиностойкостьнагрузка НК-80 принимается с коэффициентом 0,8 (пункт 116 СН 200).
Нормативный изгибающий момент всечении I-I плиты от временной нагрузки:
Нагрузка Н-30

Нагрузка НК-80

Нагрузка Н-10

Большее из трех значений (длярасчета плиты на трещиностойкость)
(нагрузка НК-80).
Нормативная поперечная сила всечении I-I плиты от временной нагрузки бездинамического коэффициента:
Нагрузка Н-30
в1 = 0,94 м > l =0,63 м (рис. 3а);
![]()
Нагрузка НК-80
в1 = 0,94 м > l =0,63 м;
![]()
Нагрузка Н-10
в1 = 0,54 м < l =0,63 м (рис. 3б);
![]()
Большее из трех значений (длярасчета плиты на трещиностойкость)
(нагрузка НК-80).
При расположенииравномерно-распределенной нагрузки по грузовой площадке со сторонами а1и в1 более точно определять изгибающий момент в сечении I-Iпутем суммирования моментов от нагрузок с элементарных площадок а1dx (рис. 4), при этом нагрузка с каждойплощадки распределяется под углом в 45°, что ближе к решению С.П. Тимошенко длясосредоточенных грузов.
Тогда получим


Рис. 4. К расчету плиты на временную нагрузкууточненным способом.
Откуда

где С - расстояние открая грузовой площадки до корня консоли (см. рис. 4);
ln - символ натуральногологарифма.
ПРИМЕЧАНИЕ. Эта формула, предложенная A.Ю. Гимельфарбом и М.Б. Фельдманом (см."Автомобильные дороги", 1960, № 5), принята в типовых альбомахжелезобетонных мостов (выпуски 149-62, 122-62, 122-63 и 123-64), составленныхКиевским филиалом Союздорпроекта.
Расчетные изгибающий момент всечении I-I плиты от временной нагрузки при в1> l (рис. 4 при С= 0)

То же при в1< l (рис. 4, где С= l - в1)

Нагрузка Н-30
р = 6 т; в1= 0,74 м > l= 0,63 м; а1 = 0,48;

ПРИМЕЧАНИЕ. По способу СН 200-62
уменьшениевеличины момента при уточненном расчете
![]()
![]()
Нагрузка НК-80
р = 10 т; в1= 0,94 м > l= 0,63 м; а1 = 0,48;

ПРИМЕЧАНИЕ. По способу СН 200-62
уменьшениевеличины момента при уточненном расчете
![]()
![]()
Нагрузка Н-10
р = 4,75 т; в1= 0,54 м < l = 0,63 м; а1= 0,48;

ПРИМЕЧАНИЕ. По способу СН 200-62
уменьшениевеличины момента при уточненном расчете ![]()
![]()
Большее из трех значений
(нагрузка Н-10)
Это уточненное значение принятодля расчета плиты на прочность.
ПРИМЕЧАНИЕ. При расчете по СН 200-62 (см. выше) максимальное значение
(нагрузка Н-30)больше уточненного значения на ![]()
Такимобразом, при l = 0,63 и для расчета напрочность расчетной нагрузкой является H-10.
Нормативный изгибающий момент всечении I-I плиты от временной нагрузки:
Нагрузка Н-30

Нагрузка НК-80

Нагрузка Н-10

Большее из трех значений
(нагрузка НК-80).
Это уточненное значение принятодля расчета плиты на трещиностойкость.
ПРИМЕЧАНИЕ. При расчете по СН200-62 (см. выше) максимальноезначение
(нагрузкаНК-80).
Нормативная поперечная сила в сеченииI-I плиты от временной нагрузки бездинамического коэффициента (см. рис. 4)

Нормативная поперечная сила всечении I-I плиты от временной нагрузки при в1> l (рис. 4 при С= 0)
![]()
То же при в1< l (рис. 4, где С= l - в1)
![]()
Нагрузка Н-30
р = 6 т; в1= 0,74 м > l= 0,63 м; а1 = 0,48;
![]()
ПРИМЕЧАНИЕ. По способу СН 200-62 ![]()
Нагрузка НК-80 (с коэффициентом 0,8)
р = 10 т; в1= 0,94 м > l= 0,63 м; а1 = 0,48;
![]()
ПРИМЕЧАНИЕ. По способу СН 200-62 ![]()
Нагрузка Н-10
р = 4,75 т; в1= 0,54 м < l = 0,63 м; а1= 0,48;

ПРИМЕЧАНИЕ. По способу СН 200-62 ![]()
Большее из трех значении
(нагрузка НК-80).
Это уточненное значение принятодля расчета плиты на трещиностойкость.
ПРИМЕЧАНИЕ. При расчете по СН 200-62 максимальное значении
(нагрузка НК-80) -меньше уточненного значения на ![]()
Суммарные усилия от постоянной ивременной нагрузки:
расчетный изгибающий момент
![]()
нормативный изгибающий момент
![]()
нормативная поперечная сила
![]()
ПРИМЕЧАНИЕ. Изгибающие моменты от временной нагрузки с учетомрасстояния "d"между диафрагмами консольной плиты могут быть определены по упрощенномупространственному способу В.И. Руденко, основанному на теории пространственныхрасчетов Б.Е. Улицкого, по следующим формулам (см. Н.Л. Филимонова, В.И.Руденко. Особенности проектирования плитных мостов. Автотрансиздат, 1962):
при в1> l
![]()
при в1 < l

где ![]()

x и b - коэффициенты, определяемые в зависимостиот
по графикам рис. 5.

Рис. 5 Графики коэффициентов распределения xи bдля различных значений
.
Бетон марки 400 группы A c Ru = 205 кГ/см2 (пункт 1.13 СН).
Рабочая арматура периодическогопрофиля из стали класса А-II(марки Ст.5сп) с Ra = 2400 кГ/см2 (пункт 1.14 СН).
Задаемся арматурой Æ 12 А-II с наружным диаметром по выступам d1 = 1,35 см (приложение VI).

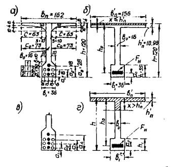
Рис. 6. Поперечное сечение I-I плиты.
Толщина плиты в сечении I-I hп = 12 см(рис. 1 и6).
Толщина защитного слоя бетона С= 2 см.
Полезная высота плиты (рис. 6).
![]()
Расчетная ширина плиты в0= 100 см.
Табличный коэффициент
![]()
По приложению VII этому коэффициенту соответствует g0 = 0,916.
ПРИМЕЧАНИЕ. Допустимо, не вычисляя величины A0 вестирасчет без использования таблицы приложения VII, приняв приближенно g0= 0,9.
Потребная площадь сечениярастянутой арматуры
![]()
Площадь сечения одного стержня f = 1,131 см (приложение VI).
Потребное число стержней
![]()
Принято 12 Æ 12А-II с Fa = 12 f = 12´1,131 = 13,57 cм2 > 13,25 cм2
Высота сжатой зоны
![]()
Условие, ограничивающее высотусжатой зоны (пункт 3.4 СН)
- условие соблюдено (сечение непереармировано).
Предельный момент,воспринимаемый сечением плиты
- прочность плитыобеспечена.
Ширина раскрытия трещин в сечении I-I плиты(нормальной к оси арматуры) при арматуре периодического профиля класса А-II (пункт 3.23 СН)
![]()
где
- напряжение в растянутой арматуре (в соответствии спунктом 3.23 СН плечо внутренней пары сил z принято по результатам расчета сечения напрочность);
Еa = 2100000 кГ/см2 - модуль упругости арматуры класса А-II (пункт 1.26 СН);
y2 = 0,5 - коэффициент, учитывающий влияниебетона растянутой зоны и деформации арматуры (для бетона марки 400 по пункту3.24 СН);
- радиус армирования;
b = 1 -коэффициент при армировании одиночными стержнями (пункт 3.25 СН);
d = 1,2см - расчетный диаметр принятой арматуры периодического профиля Æ12 (см. выше);
n = 12 - принятое число стержней (cм. выше);
- площадь зонывзаимодействия (пункт 3.26 СН и выше рис. 5).
![]()
ширина раскрытия трещины
(пункт 3.23СН) -трещиностойкость нормального к оси арматуры сечения I-I плиты обеспечена.
Тангенс угла наклона нижнейграни плиты к горизонту (см. рис. 1)
![]()
Приведенная нормативная поперечная сила в сечении I-I плиты с учетом переменности ее толщины(пункт 3.27 СН)
![]()
Главные растягивающие напряжения(пункт 3.27 СН):

(пункт 1.13 СН для бетона марки400).
Расчетное сопротивление наосевое растяжение для бетона марки 400 (пункт 1.13 СН) Rp.o = 11 кГ/см2. Так как главныерастягивающие напряжения sгр = 5,8 кГ/см2 < 0,7Rp.o = 0,7´11 = 7,7 кГ/см2, то расчет напрочность наклонных сечений по поперечной силе можно не производить (пункт 3.9СН), т.е. хомутов и отогнутых стержней в плите не требуется (наклонные трещиныв плите не возникают).
Расчет плиты по второмупредельному состоянию на деформации (прогиб) можно не производить, так как прималых пролетах железобетонных консольных плит величина прогиба от нормативнойвременной нагрузки (без динамического коэффициента) всегда будет меньшедопускаемых величин (пункт 52 СН 200).
Рассчитываем крайнюю главную балку.
Площадь поперечного сечения балки (рис. 7)

Рис. 7. К вычислению постоянной нагрузки на крайнюю главную балку.

Площадь боковой грани диафрагмы (см. рис. 6)
![]()
Расстояния между осями диафрагм d = 4,31 м.
Толщина диафрагмы d = 0,16 м.
Объемный вес железобетона gж.б = 2,5 т/м3 (приложение 5СН 200).
Нормативная постоянная нагрузка на 1 п.м. крайней главной балки от еесобственного веса
![]()
Нормативная постоянная нагрузка на 1 п.м. типового тротуарного блока приширине тротуара Т = 1 м ...... q2 = 0,550 т/м.
ПРИМЕЧАНИЕ. При Т = 1,5 м ....... q2 = 0,700 т/м.
Нормативная постоянная нагрузка на 1 п.м. типовых железобетонных перил q3 = 0,135т/м.
Нормативная постоянная нагрузка на 1 п.м. моста от веса четырех слоевдорожной одежды с шириной габарита Г = 8 м (см. выше пункт 1 § 2 и рис. 7):
q4= (h1g1 + h2g2 + h3g3 + h4g4)Г = (0,05´2,3 + 0,04´2,4 + 0,01´1,5 + 0,04´2,4)´8 = 0,322´8 = 2,576 т/м.
Нагрузки 2q2, 2q3 и q4 от веса двух тротуаров, двух перил и дорожной одежды прикладываютсяпосле стыкования диафрагм всех главных балок и равномерно распределяется междувсеми "n"главными балками, расположенными по ширине моста.
При Г = 8 м и Т = 1 м ..... n = 6.
Постоянная нормативная нагрузкана 1 п.м. крайней главной балки:
от ее собственного веса
q1= 1,115 т/м;
от веса перил и тротуаров
![]()
от веса дорожной одежды
![]()
Число балов n = 6.
Расстояния между симметричнымибалками (рис. 8):
в1 = 1,66´5 = 8,3 м;
в2 = 1,6´3 = 4,98 м;
в3 = 1,66 м.

Рис. 8. К вычисление коэффициентов поперечнойустановки.
Коэффициенты поперечнойустановки по методу внецентренного сжатия без учета кручения (см. рис. 8):
Нагрузка Н-30 (число полос nn = 2)

Нагрузка НК-80 (число полос nn = 1)

Толпа на одном тротуаре шириной T = 1 м

Коэффициент поперечной установки по методу внецентренного сжатия сучетом кручения (см. Я.C.Файн. К расчету мостов с учетом кручения главных балок " Изд. Строительство и архитектура, 1963, № 8)определяется по формуле
![]()
где
- поправка накручение балок;
Е и G - модули упругости и сдвига бетона;
Jкр- момент инерции балки на кручение;
J -момент инерции балки при изгибе в вертикальной плоскости;
n = 6 - число балок в поперечном сечении моста;
nп,с, в1, в2 и в3имеют прежние значения;
- (дляразрезной балки с расчетным пролетом l)
ПРИМЕЧАНИЕ. Значение
полученоавтором в упомянутой работе при частом расположении диафрагмы. При наличии,кроме опорных, лишь одной диафрагмы, расположенной в середине пролета,
.
Для бетона марки 400 (пункт 1.25СН)
Е = 350000 кГ/cм2;
G = 140000 кГ/cм2.
l = 21,50 м (см. выше § 1)
![]()
Вычисление Jкр
Действительное сечение балки(рис. 9а) заменяем расчетным(рис. 9б).
Приведенная толщина плиты (сучетом вутов)
![]()
Толщина нижнего уширения
h1= a + 0,5в = 30 + 0,5´10 = 35 см.
Высота ребра без плиты и нижнегоуширения
h2 = h - hп - h1 = 120 -10,96 - 35 = 74 ,01 см.
По СН 58-61 (Техническиеуказания по расчету балочных плит проезжей части мостов) можно принять
![]()
где а и d - длины и толщины прямоугольников, из которыхсоставлено сечение балки. Порис. 9б:


Рис. 9 К вычислению Jкр и J
а - действительное сечение; б - расчетное сечение.
Вычисление J
Расстояние до центра тяжестисечения от верхней грани балки (рис. 9б)


Поправка на кручение
![]()
Коэффициенты поперечной установки по методу внецентренного сжатия сучетом кручения (см. рис. 8):
Нагрузка Н-30 (число полос nn = 2)

(без учета кручения) на ![]()
Нагрузка НК-80 (число полос nn = 1)

(без учета кручения) на ![]()
Толпа на одном тротуаре шириной T = 1 м

(без учета кручения) на ![]()

Рис. 10. Линия влияния ![]()
Расчетный пролет l = 21,50 м.
Площадь линии влияния изгибающего момента в середине пролета (рис. 10)
![]()
Коэффициент многополосности к нагрузке Н-30 (пункт 117 СН 200) при l =21,5 м < 25 м: b = 1
ПРИМЕЧАНИЕ. При l > 25 м:
b = 0,9 для Г-7; Г-8 и Г-9;
b = 0,8 для Г-10,5
Коэффициенты поперечнойустановки (см. выше):
![]()
![]()
![]()
Нагрузка от толпы: KТО = 0,4 т/м2(пункт 125 СН 200)
Нормативные постоянные нагрузки(см. выше):
q1 = 1,115 т/м;
![]()
![]()
Эквивалентные нагрузки(приложение 10 СН 200):
от Н-30...............К30= 2,32 т/м;
от НК-80.......... К80= 6,62 т/м.
Нормативные изгибающие моменты в середине пролета балки безучета динамики:
от собственного веса балки
М1 = q1w = 1,115´57,78 = 64,4 тм;
от веса тротуаров и перил
![]()
от веса дорожной одежды
![]()
от автомобильной нагрузки Н-30
![]()
от толпы на одном тротуаре
![]()
от колесной нагрузки HК-80
![]()
Динамический коэффициент к временной нагрузке Н-30 по интерполяции при 5м < l < 45м (пункт 126 СН 200)
![]()
Коэффициенты перегрузки (пункты115 и 127 СН 200):
для q1 и
...........1,1;
для
...............1,5;
для Н-30 .............1,4;
для НК-80 ..........1,1;
для толпы ..........1,4;
Расчетные изгибающие моменты всередине пролета балки:
от постоянной нагрузки, Н-30 итолпы

от постоянной нагрузки и НК-80

Принимаем
![]()
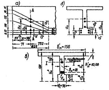
Действительное сечение балки (рис.11а)заменяем расчетным (рис. 11б).

Рис. 11. Схемы к расчету балки на прочностьпосередине пролета.
Приведенная постоянная толщина сжатого пояса (плиты)
![]()
Толщина нижнего уширения балки
h1= a + 0,5в = 30 + 0,5´1,0 = 35 см.
Полная высота балки h= 120 м.
Расчетная ширина сжатого пояса (плиты) по пунктам 4.10 и 3.6 СН (см.рис. 11а и в)
но не более вп, где учитываемая расчетом максимальная величина консольной частиплиты за вутом;

Имеем ![]()
Следовательно,
![]()
![]()
Принимаем ![]()
Предварительно принимаемармирование балки 7 пучками (см. приложение II) по 24 высокопрочных гладких стальныхпроволок класса В-П диаметром 5 мм с нормативным сопротивлением (пределомпрочности)
(пункт 1.10 и табл.30 СН).
Расчетное сопротивлениерастяжению такой напрягаемой арматуры при расчете на прочность в стадииэксплуатации (вторая стадия) RH2 = 9800 кГ/см2.
Размещение 7 напрягаемыхарматурных пучков в 3 ряда по высоте показано на рис. 11а.
Расстояние от центра тяжестивсех арматурных пучков до низа балки (см. рис. 11а и 11б):
![]()
ПРИМЕЧАНИЕ. При расположении пучков в растянутой зоне изгибаемого элемента болеечем в три ряда по высоте при расчете на прочность к числу пучков четвертогоряда вводят коэффициент 0,9, а пятого и последующих рядов - 0,8 (см. пункт 2.23СН).
Например,для 10 пучков, размещенных в 4 ряда по высоте (см. рис. 11в), ![]()
Полезная высота балки (рис. 11б)
h0= h - а0= 120 - 15,1 = 104,9 см.
В первом приближении необходимаяпо прочности площадь поперечного сечения всех арматурных пучков
![]()
Площадь поперечного сеченияодного пучка из 24 проволок диаметром d = 0,5 см
![]()
Необходимое число пучков
![]()
Принято с запасом дляудовлетворения последующего расчета на трещиностойкость 7 пучков по 24Æ5В-П с Fн = 7f1 = 7´4,71 = 32,97 см2 > 26,44 см2.Бетон марки 400 группы А с Ru =205 кГ/см2 (пункт 1.13 СН).
Предполагаем, что нейтральная ось проходит в плите (см. рис. 11б),тогда расстояние до центральной оси
т.е. нейтральная ось действительно проходит вплите, сечение рассчитывается как прямоугольное шириной
и высотой
.
Условие, ограничивающее высоту сжатойзоны (пункты 4.10 и 3.4 СН)
- условие соблюдено.
ПРИМЕЧАНИЕ. При
необходимо увеличитьвысоту балки или повысить марку бетона, если уменьшение Fнневозможно.
При
коэффициент условийработы m2 = 1 (пункт 2.24 СН). Предельный момент,выдерживаемый сечением балки посередине пролета (пункт 4.10 СН)

- прочность балки посерединепролетf на стадии эксплуатацииобеспечена.
ПРИМЕЧАНИЕ. Если расстояние x,вычисленное по формуле
окажется более
, то нейтральная ось проходит в ребре балки (рис. 11г), сечение рассчитываетсякак тавровое и действительное расстояние до нейтральной оси (при
) определяется по формуле (пункт 4.10 СН)
![]()
где Rnp = 165 кГ/cм2 - расчетное сопротивление на осевоесжатие бетона марки 400 группы А (пункт 1.13 СН);
в0 = 16 см - ширина ребрабалки (см. рис. 11). Условие, ограничивающеевысоту сжатой зоны (пункты 4.10 и 3.4 СН)
![]()
Предельныймомент, выдерживаемый тавровым сечением балки посередине пролета (пункт 4.10 СН)
![]()
Проверка напрочность
![]()
Коэффициент условий работы (пункты 4.10 и2.24 СН):
при ![]()
при
при этом принимают 0,8 £ m2 £ 1
Здесь А =0,00015 R0 £ 0,75;
![]()
(см. выше);
sН1 = sНК - Sпотерь - установившеесяпредварительное напряжение в пучковой арматуре (после всех потерь);
sНК - контролируемое напряжениев пучковой арматуре в момент ее натяжения;
принимаемпредварительно
sНК = RН1,
RН1 = 11000 кГ/см2 - расчетное сопротивлениерастяжению напрягаемой арматуры из высокопрочных гладких проволок диаметром 5мм в стадии создания предварительных напряжений (первая стадия) по пункту 1.16СН;
потери принимаютпредварительно приближенно в количестве 20¸25% отконтролируемого напряжения (Sпотерь = 0,2¸0,25sНК)
Например,принимаем
Sпотерь = 0,2sНК;
sН1 = sНК - Sпотерь = 0,8sНК =0,8´11000 = 8600 кГ/см2;
![]()
А = 0,00015 R0 = 0,00015´4800 = 0,72 < 0,75 -принимаем А = 0,72;
но не более 1 и не менее 0,8.
Проверяем прочность балки всечении посередине пролета на стадии эксплуатации при воздействии толькопостоянных нагрузок, при этом расчетные сопротивления бетона понижают на 20%(пункт 1.13 СН), а расчетное сопротивление растяжению напрягаемой арматуры неизменяется (пункт 1.15 СН).
Расчетный изгибающий момент всередине пролета балки от постоянных нагрузок (см. выше)

Предполагаем, что нейтральная осьпроходит в плите, тогда расстояние до нейтральной оси
![]()
т.е. нейтральная ось проходит нев плите, а в ребре балки, сечение рассчитываем как тавровое.
Действительное расстояние донейтральной оси
![]()
(сечение не переармировано);
следовательно, вычисляем величинукоэффициента условий работы по пункту 2.24 СН.
Принимаем приближенно суммарныепотери напряжений в пучковой арматуре Sпотерь = 0,25sНК.
Контролируемое напряжение внапрягаемой арматуре принимаем предварительно sНК = RH1 = 11000 кГ/см2(пункт 1.15 СH).
Установившееся предварительноенапряжение:
sН1 = sНК - Sпотерь = 0,75sНК = 0,75´11000 = 8250 кГ/см2;
![]()
А° = 0,00015 R0 = 0,00015´5350 = 0,80 > 0,75;
принимаем А = 0,75.
т2 = 0,93.
Предельный момент, выдерживаемый тавровым сечением балки посерединепролета при воздействии только постоянных нагрузок,

- прочность балки при действиитолько постоянных нагрузок обеспечена.
ПРИМЕЧАНИЕ. При
предельный момент привоздействии только постоянных нагрузок ![]()
Ен = 1,8´106 кГ/см2 - модульупругости высокопрочной стальной проволоки (пункт 1.26 СН).
Еб = 350000 кГ/см2 - модульупругости бетона марки 400 (пункт 1.25 СН)
Коэффициент приведения
![]()
ПРИМЕЧАНИЕ. Допускается приникать п1 = 5,2по табл. 12 СН

Рис. 12. К определению геометрическиххарактеристик расчетного сечения посередине пролета балки.
Площадь напрягаемой арматуры Fн = 32,97 см2 (см. выше).
Геометрические характеристики, учитываемые при расчетах по второмупредельному состоянию на деформации (прогиб) и по третьему предельномусостоянии на трещиностойкость, определяют с учетом работы сжатой и растянутойзон; при этой в расчет вводят приведённое сечение, т.е. полное сечение бетона иприведенную площадь арматуры (пункты 4.27 и 4.29 СН).
Расчетное сечение балкипосередине пролета при расчетах по второму и третьему предельным состояниям(рис. 12)принимается таким же, как и при расчете на прочность по первому предельномусостоянию (рис. 11б).
Площадь приведенного сечения(см. рис. 12)

Статический момент приведенногосечения относительно верха балки

Расстояния центра тяжестиприведенного сечения (см. рис. 12):
от верха балки
![]()
от низа балки
Ун = h - Ув = 120 - 49,3= 70,70 см.
Момент инерции приведенногосечения относительно оси I-I (рис. 12),проходящей через его центр тяжести,

А. Определение потерь напряжений
Для пучковой напрягаемойарматуры из стальных высокопрочных проволок класса В-П диаметром 5 мм имеем:
- нормативное сопротивление (пределпрочности) по пункту 1.10 и таблице 30 СН;
RН1 = 11000 кГ/см2 - расчетное сопротивление растяжениюнапрягаемой арматуры в стадии создания предварительных напряжений (перваястадия) по пункту 1.15 СН.
Контролируемое напряжение в пучковойарматуре в момент ее натяжения предварительно принято максимальнодопустимым
sНК = RН1= 11000 кГ/см2.
В соответствии с пунктом 4.2 СНучитываем следующие потери предварительного напряжения при натяжении арматурыдо бетонирования на упоры стенда:
а) к моментуокончания передачи на бетон натяжения арматуры (в момент отпуска арматуры)
s6 - потери от температурного перепада (разность между температуройнапрягаемой арматуры и упоров стенда) при пропаривании и прогреве бетона;
s5 - потери от трения полигональных пучков об оттяжки в местахперегибов;
s4 - потери от деформации тяговых анкеров;
s3 - потери от релаксаций напряжений стали;
б) в стадии эксплуатациикроме потерь s3+s4+s5+s6, учитывают
s2 - Ds2 - потери отползучести бетона с учетом постадийного приложения постоянной внешней нагрузкичастями в разном возрасте;
s1 - потери от усадки бетона. Потери учитываются по приложении 4 СН.
Вычисление потерь s6
Изготовление балок с натяжениемарматуры до бетонирования принято по поточно-агрегатной технологии на передвижномупоре-стенде, перемещаемом для термовлажностной обработки в пропарочную камеру.
По этой причине принимаем s6 = 0 (пункт 7 приложения4 CH). При этом неучитываем потери от обжатия упорных устройств. Эти потери должен учитыватьзавод-изготовитель балок.
ПРИМЕЧАНИЕ, При изготовлении балок в стационарныхжелезобетонных стендах потери s6определяют в кГ/см2 по формуле
s6 = 20Трасч,
где

DТ - разность температуры внутри камеры стенда инаружного воздуха.
Вычисление потерь s5
Балка армирована посерединепролета 7 пучками (п пучков = 7), из них полигональных (пполиг.= 3) отогнутых к опорам (рис. 13).

Рис. 13. Схема расположения пучков по длинебалки:
1 - общая оттяжка, жестко соединенная со стендом; 2 - трубки оттяжки.
Вычисляем углы наклона пучков.
Пучок № 1

Пучок № 2

Пучок № 3

Средний угол наклонаполигональных пучков

Площадь поперечного сечения всехпучков посередине пролета Fн = f1×п пучков, где f1 - площадь поперечного сечения одного пучка.

Рис. 14. К определении потерь s5:
1 - стальная трубка оттяжки
m = 0,3 - коэффициент трения полигональногопучка на перегибе стальной трубки оттяжки (рис. 14). Поперечное усилие от силнатяжения полигональных пучков, действующее на трубки оттяжки (рис. 14)

Потери от трения всехполигональных пучков в местах перегибов о трубки общей оттяжки, жесткосоединенной со стендом (пункт 6 приложения 4 СН), отнесенные к площади всех пучков,


Рис. 15. Схематические варианты оттяжек, свободно перемещаемыхвдоль стенда:
а - с общей оттяжкой для всех полигональных пучков; б - с раздельными оттяжкамидля каждого полигонального пучка;
1 - общая оттяжка; 2 - раздельная оттяжка; 3 - днище стенда.
ПРИМЕЧАНИЕ 1. При общей для всех полигональных пучковоттяжке, свободно перемещаемой вдоль стенда (рис. 15а),
(cм.пункт 6 приложения 4 СН).
ПРИМЕЧАНИЕ 2. При раздельных для каждого полигонального пучкаоттяжках, свободно перемещаемых вдоль стенда (рис. 15б), s5 = 0 (пункт 6 приложения 4 СН).

Рис. 16. Схема передвижного стенда:
1 - упор стенда; 2 - конусный тяговый анкер; 3 - внутренний каркасно-стержневойанкер; 4 - оттяжка полигональных пучков.
Вычисление потерь s4
Полная длина балки lп = 22,15 м (см. § 1и рис. 16). Средняя длина арматурных пучков (см. рис. 16)
l1» lп + 2 = 22,16 + 2 = 24,16 м.
Модуль упругости высокопрочнойстальной проволоки Ен = 1,8´106 кГ/см2. Смещение(проскальзывание) пучка относительно конусных тяговых анкеров у упоров стенда(рис. 16) призапрессовке конических пробок (анкеры и натяжение с двух сторон) по пункту 4приложения 4 СН
Dl1 = 2´0,2 = 0,4 см.
Потери от деформации тяговыханкеров
![]()
Вычисление потерь s3
Напряжения в арматуре с учетомначальных потерь s4,s5, s6
sН= sНК- s4- s5- s6= 11000 - 298 - 116 - 0 = 10586 кГ/см2
Потери от релаксации напряженийстали (пункт 3 причинения 4 СН)

Вычисление потерь s1 и s2
Потери напряжения от усадки иползучести бетона s1и s2 определяем с момента передачи на бетоннатяжения арматуры.
Усилие предварительногонатяжения арматуры в момент ее отпуска с учетом первичных потерь
N0= Fн(sНК- s3- s4- s5- s6)= 32,97´(11000- 721 - 298 - 116 - 0) = 32,97´9865 = 325300 кг
По пункту 6§ 3 для сечения посерединепролета имеем: Fпр = 4323 см2 - площадь приведенногосечения; Jпр = 8208000 см4 - момент инерцииприведенного сечения.
Нормативный изгибающий момент всередине пролета балки от ее собственного веса, включаемого в работу балки вмомент отпуска арматуры при изгибе балки кверху под воздействием эксцентрично приложенногоусилия N0, М1 = 64,4 тм = 6440000кгсм (см. выше пункт 4§ 3). Расстояние центратяжести прямолинейных пучков от низа балки (см. рис. 13)
![]()

Рис. 17. Схема к определению s6в момент отпуска арматуры.
Расстояние центра тяжестиполигональных пучков от низа балки (см. там же)
![]()
Расстояние центра тяжестиприведенного сечения от низа балки
Ун = 70,7 см (см. пункт 6§ 3).
Число пучков: полигональных.....ппол= 3;
прямолинейных..... ппр =4.
Площадь сечения одного пучка f1 = 4,71 см2 (пункт 5§ 3). Эксцентриситет усилияпредварительного натяжения N0 относительноцентра тяжести приведенного сечения с учетом различных потерь в прямолинейных иполигональных пучках (см. рис. 12,13 и 17)

ПРИМЕЧАНИЕ. Если в балке имеются только прямолинейные пучки,то (см. рис. 12):ex = Ун - а0. Предположим,что все пучки прямолинейные, тогда ex = Ун- а0 = 70,7 - 15,1 = 55,6 см, т.е. получили значение ex, совпадающеес его значением, подсчитанным с учетом дополнительных потерь в полигональныхпучках. По причине относительной малости потерь s5 допустимои при полигональных пучках принимать ex = Ун- а0 (для сечения балки посередине пролета).
Сжимающее напряжение в бетоне отусилия N0 и момента М1 отсобственного веса балки на уровне расположения усилия N0 (рис. 17)

Принимаем бетон с осадкой конуса 5-6 см. Соответственно для бетонамарки 400, подвергнутого тепловлажностной обработке в камере пропаривания пополному режиму (прочность после пропаривания не менее 80% проектной марочнойпрочности), принимаем по приложению 3 СН нормативные значения:
меры ползучести бетона ![]()
деформаций усадки бетона ![]()
Вводимые в расчет конечные(при t ® ∞) значения меры ползучести сt и деформаций усадки eу вычисляют в зависимости от их нормативных величин по формулам:
сt= снx1x2x3x4,
eу = eунx3x4,
где x1, x2, x3 и x4 - коэффициенты, учитывающие фактическиеусловия работы конструкции и принимаемые по таблице 34 приложения 3 СН.
Принимаем возраст бетона балок вмомент загружения (отпуска арматуры) менее 28 суток после достижения бетоном80% проектной марочной прочности.
Соответственно по табл. 34 x1 = 1,25 и x2 = 1,0
При относительной влажностисреды в 70% по табл. 34 принимаем x4 = 1,0.
ПРИМЕЧАНИЕ. Относительную влажность среды устанавливают пофактическим данным, а влажность воздуха - в зависимости от климатическогорайона расположения сооружения как среднюю летнюю за многолетний период. Приотсутствии таких данных, а также для типовых балок допускается принимать x4= 1.
Площадь поперечного сечениябалки (см. рис. 9б)
F = вnhn + h2в0+ h1вl = 152´10,96 + 74,04´16 + 35´36= 4219 cм2.
Открытый периметр поперечногосечения балки (см. рис. 9б)

Открытая удельная поверхность ![]()
IIо табл. 34 приложения 3CH при
принимаем x3 = 0,73. Конечное значение меры ползучести бетона
![]()
Конечное значение деформацийусадки бетона
![]()
Модуль упругости бетона марки400 (см. табл. 10 СН) Еб = 350000 кГ/см2.
Кубиковая прочность бетона вмомент загружения при достижении бетоном 80% проектной марочной прочностиравняется 400´0,8 = 320 кГ/см2.
Модуль упругости бетона,соответствующий прочности 320 кГ/см2 (по интерполяции данных табл.10 СН):
![]()
Характеристика ползучести бетона(см. пункт 8 приложения 3 СН)
![]()
Модуль упругости напрягаемойарматуры
Ен =1,8´106 кГ/см2.
Отношение модулей упругостинапрягаемой арматуры и бетона
![]()
По приложении 4 СН вычисляемфункцию Ф, учитывающую влияние длительности протекания усадки иползучести бетона на величину потерь,
![]()

rп1mн= 2,63´5,14´0,0076= 0,11.
В зависимости от величии rп1mн= 0,11 и jt = 2,05 по табл. 35 приложения 4 СН имеем Ф= 0,815.
Потери с моментапредварительного обжатия (приложение 4 СН):
от усадки бетона
![]()
от ползучести бетона
s2= s6п1jtФ = 154,1´5,14´2,05´0,815= 1324 кГ/см2.
Вычисление уменьшения потерь Ds2
С момента приложениядополнительной постоянной нагрузки (вес тротуаров, перил и дорожной одежды),уменьшающей сжимающие напряжения в бетоне на уровне центра напрягаемойарматуры, происходит уменьшении потерь от ползучести бетона на величину Ds2.
Нормативные изгибающие моменты всередине пролета балки (см. выше пункт 4§ 3): от веса тротуаров иперил М2 = 13,2 тм; от веса дорожной одежды М3= 24,8 тм.
М2 + М3 = 13,2 + 24,8 = 38,0 тм = 3800000кгсм.
Растягивающее напряжение вбетоне на уровне центра тяжести напрягаемой арматуры от моментов М2+ М3 (рис. 18)
![]()
Принимаем возраст бетона балок вмомент их загружения весом тротуарных блоков, перил и дорожной одежды 90 суток.Соответственно по табл. 34 приложения 3 СН x2 = 0,75 и x1 = 1

Рис. 18. Схема к определению
в моментприложения дополнительной постоянной нагрузки.
По предыдущему x3 = 0,73 и x4 = 1,0
Конечное значение мерыползучести бетона
![]()
Характеристика ползучести бетона
![]()
По предыдущему rп1mн= 0,11. В зависимости от величин rп1mн= 0,11 и jt = 1,40 по табл. 35 приложения 4 СН имеем: Ф= 0,842.
Уменьшение потерь от ползучестибетона с момента приложения дополнительной постоянной нагрузки
![]()
Б. РАСЧЕТ СЕЧЕНИЯ БАЛКИ ПОСЕРЕДИНЕ ПРОЛЕТА ПО ТРЕТЬЕМУ ПРЕДЕЛЬНОМУСОСТОЯНИЮ НА ТРЕЩИНОСТОЙКОСТЬ ПО ПОПЕРЕЧНЫМ НОРМАЛЬНЫМ ТРЕЩИНАМ НА СТАДИИЭКСПЛУАТАЦИИ
Сумма всех потерь
Sпотерь= s1+ s2- Ds2+ s3+ s4+ s5+ s6=
= 386 + 1324 - 156 + 721 + 298 + 116 +0 = 2689 кГ/см2.
Минимальное усилиепредварительного натяжения арматуры на стадии эксплуатации, т.е. с учетом всехпотерь
N = (sНК - Sпотерь)Fн = (11000 -2689)´32,97= 8311´32,07 = 274263 кг.
Расчет на трещиностойкостьпроизводят на нормативные нагрузки без динамического коэффициента (пункт 2.2СН). При этом нагрузка НК-80 принимается с коэффициентом 0,8 (пункт 116 СН200).
Нормативные изгибающие моменты всередине пролета балки (см. выше пункт 4§ 3):
М1 = 34,4 тм - от собственного веса балки;
М2 = 13,2 тм - от веса тротуаров и перил;
М3 = 24,8 тм - от веса дорожной одежды;
М4 = 66,4 тм - от нагрузки Н-30;
М5 = 11,9 тм - от толпы на тротуаре;
М6 = 122,8 тм - от нагрузки НК-80.
Максимальный суммарныйнормативный изгибающий момент:
Постоянная нагрузка, Н-30 и толпа
![]()
Постоянная нагрузка и НК-80
![]()
Принимаем большее из двухзначений
норм
![]()
Рассматриваем работу балки придействии N и момента
(рис. 19).
При этом в нижнем волокне балки недолжны возникать растягивающие напряжения (пункты 4.32 и 4.33 СН) .
Расстояние центра тяжестиприведенного сечения от низа балки Ун = 70,7 см (см. вышепункт 6§ 3).
По предыдущему эксцентриситет ex »Ун - а0 = 55,6 см (см. примечание выше).
ПРИМЕЧАНИЕ. Точнее

Минимальные сжимающее напряженияв нижних волокнах балки посередине пролета на стадии эксплуатации (рис. 19)

- растяжение не возникает,трещиностойкость обеспечена (поперечные нормальные трещины посередине пролетана стадии эксплуатации не возникают).

Рис. 19. Схема к расчету сечения балкипосередине пролета на трещиностойкость в стадии эксплуатации.
Однако при принятоммаксимально-допустимом значении sHК = RН1 = 11000 кГ/см2 полученный запассжимающих напряжении в 21,9 кГ/см2 несколько велик. Поэтому уменьшимвеличину контролируемого напряжения sHК.
ПРИМЕЧАНИЕ. При sсж<10-15 кГ/cм2допустимо оставить предварительно принятое значение sHК=11000 кГ/см2.
Для определения уменьшенногозначения sHК вычисляем величину N из выражения
![]()
Откуда

Из выражения N = (sHК - Sпотерь)Fн получимокончательно значение контролируемого напряжения
![]()
Потери s1, Ds2, s4 и s6 не зависящие от sHК, имеют прежние величины:
s1 = 386 кГ/см2;
Ds2 = 156 кГ/см2;
s4 = 298 кГ/см2;
s6 = 0.
Уточняем величины потерь s2, s3 и s5 в соответствии с изменившимся значением sHК.
Потери s5
![]()
Потери s3
sН= sНК- s4- s5- s6= 10100 - 298 - 107 - 0 = 9695 кГ/см2;

Потери s2
N0= Fн(sНК- s3- s4- s5- s6)= 32,97´(10100- 524 - 298 - 107 - 0) = 32,97´9171= 302600 кг

s2= sбетп1jtФ = 141,2´5,14´2,05´0,815= 1213 кГ/см2.
Sпотерь= s1+ s2- Ds2+ s3+ s4+ s5+ s6=
= 386 + 1213 - 136 + 524 + 298 + 107 +0 = 2372 кГ/см2.
Окончательно минимальное усилиепредварительного натяжения арматуры на стадии эксплуатации, т.е. с учетом всехпотерь:
N = (sHК - Sпотерь)Fн =(10100 - 2372)´32,97= 7728´32,97= 255000 кг.
Окончательно минимальныесжимающие напряжения в нижних волокнах балки посередине пролета на стадииэксплуатации

- растяжение не возникает,трещиностойкость по поперечным трещинам по низу балки обеспечена.
ПРИМЕЧАНИЕ. Точнее ех определяется поформуле предыдущего примечания при уточненных значениях потерь и sHК.
ПРИМЕЧАНИЕ.Если условие sсж³0 не удовлетворяется, необходимо увеличить N, т.е. увеличить площадь Fн напрягаемойарматуры.
В опытном порядке можно перейтик конструкции с частичным обжатием бетона (см. Г.К. Евграфов и Н.Н.Богданов. Проектирование мостов. М., "Транспорт", 1966 или Л.И.Иосилевский. Долговечность предварительно-напряженных железобетонных балочныхпролетных строений мостов. М., "Транспорт", 1967).
Однакорасчет балок с частичнымпредварительным напряжением в действующих нормах (СН и СНиП) не предусмотрен.
Проверяем стойкость противобразования поперечных трещин на стадии эксплуатации по верху балки в сечениипосередине пролета.
Рассматриваем работу балки придействии момента от полной нормативной постоянной нагрузки
и максимальнойвеличины силы предварительного обжатая, возможной в период эксплуатации, т.е. сучетом наименьших возможных потерь.
При этом в верхнем волокне балкине должны возникать растягивающие напряжения (пункт 4.32 СН).
![]()
Выше принят возраст бетона балокв момент их загружения весом тротуарных блоков, перил и дорожной одежды 90суток.
К этому времени проявилосьтолько 50% потерь от усадки и ползучести бетона s1+ s2 и еще не проявилось уменьшение потерь от ползучести бетона Ds2(см.табл. 37 приложения 4СН).
Усилие обжатия бетона балки наначальной стадия эксплуатации в возрасте бетона 90 суток
N' = Fн[sНК - 0,5(s1+ s2)- s3- s4- s5- s6] =
= 32,97´[10100 - 0,5´(386 + 1213) - 524 - 298 - 107 - 0]= 32,97´8371 = 276000 кг.
Минимальные сжимающие напряженияв верхних волокнах балки посередине пролета на стадии эксплуатация

- растяжение не возникает, трещиностойкостьпо поперечным трещинам по верху балки обеспечена.
Жесткость сечения (пункт 4.27СН).
В1 = 0,85ЕбJпр = 0,85´350000´8208000= 242´1010кгсм2.
Нормативный изгибающий момент отвременном нагрузки (кратковременной) без учета динамики (см. пункт 2.0 СН ивыше пункт 4§ 3):
от автомобильной нагрузки Н-30 и толпы
М4 + М5 = 66,4 + 11,9 = 78,3тм;
от колесной нагрузки НК-80
Мб = 125,8 тм > 78,3 тм (опаснее нагрузка HК-80).
Принимаем ![]()
Расчетный пролет балки l = 21,50 м = 2150 см.
Прогиб балки посередине пролетаот максимальной нормативной временной нагрузки (кратковременного действия)
![]()
Допустимый прогиб от нормативнойвременной нагрузки (пункт 52 СН 200).
![]()
Нормативный изгибающий момент всередине пролета балки от постоянной нагрузки (см. выше)
М1 + М2 + М3= 64,4 + 13,2 + 24,8 = 102,4 тм = 10240000 кгсм.
Прогиб балки посередине пролетаот постоянной нагрузки длительного действия с учетом ползучести бетона (пункту4.27 СН и 9.4 СНиП П-В.1-62)
![]()
где с - коэффициент,учитывающий увеличение деформации вследствие ползучести бетона от длительногодействия нагрузки, который рекомендуется принимать равных: 2,0 - при нормальныхтемпературно-влажностных условиях; 3,0 - при сухом климата; 1,5 - при влажномклимате.
Принимаем с = 2.
![]()
Усилие предварительногонатяжения арматуры с учетом всех потерь (см. выше)
N = (sНК - Sпотерь)Fн = 255000кг.
Изгибающий момент от усилия N
М = Nl0= 255000´55,6= 14176000 кгсм.
Обратная прогиб - выгиб отпредварительного обжатия бетона длительного действия с учетом ползучести бетона(пункты 4.27 СН и 9.4 СНиП П-В.1-62)
![]()
Суммарный прогиб
f = fвр+ fпост- fпредв= 2,51 + 4,12 - 6,00 = 0,63 см.
Так как f =0,63 см менее 1,5 см и менее
то специальногостроительного подъема балкам допустимо не придавать (пункт 58 СН 200).
Примем с = 3 (сухой климат).
Тогда суммарный прогиб
![]()
- (выгиб) - специального строительного подъема балкам подавноможно не предавать.
При натяжении арматуры на упорыстенда максимальное напряжение в напрягаемой арматуре посередине пролета балкина стадии эксплуатации (см. пункты 4.24, 4.25 и 5.2 СН)
sн.макс = sHК - Sпотерь - sуо +sн(п+в),
где sHК = 10100 кГ/см2 - контролируемые напряжения в арматуре вмомент ее натяжения (см. пункт 7§ 3);
Sпотерь= s1+ s2- Ds2+ s3+ s4+ s5+ s6= 2372 кГ/см2 (см. там же) -сумма потерь;
sуо = п1sб - снижение напряжения в напрягаемой арматуре от упругого обжатиябетона усилием предварительного натяжения арматуры N;
sн(п+в) - растягивающее напряжение в напрягаемойарматуре от нормативной постоянной и временной нагрузки с учетом динамики;
(см. выше);
N = (sНК - Sпотерь)Fн = 255000 кг (см. пункт 7§ 3)

Динамический коэффициент дляН-30:
1 - m= 1,176 (см. пункт 5§ 3).
Максимальный суммарныйнормативный изгибающий момент посередине пролета балки (см. пункт 4§ 3) с учетом динамики:
постоянная нагрузка, Н-30 итолпа
![]()
постоянная нагрузка и НК-80
![]()
Принимаем большее из двухзначений
![]()
![]()
Максимальное напряжение в арматуре
sн.макс = sHК - Sпотерь - sуо +sн(п+в) = 10100 - 2372 -798 + 784 = 7714 кГ/см2.
Расчетное сопротивление арматуры изв высокопрочной проволоки принимаютравным (пункт 4.24 СН)
![]()
Предварительное напряжение производим при достижении бетоном 80%проектной марочной прочности.
Расчетное сопротивление бетона марки 400 группы А при изгибе .... иосевому сжатию, соответствующие 80% прочности бетона к моменту натяженияарматуры с увеличением на 10%, как для случая строительных нагрузок в ста....предварительного натяжения.

Расчетное продольное обжимающее усилие на стадии предварительногонапряжения (пункт 4.19 и 4.20 СН)
Nн = [1,1(sНК - s3- s4- s5- s6)- sсн]Fн,
где 1,1 - коэффициент перегрузки (пункт 115 СН 200);
sсн= 2700 кГ/см2 -расчетное снижение предварительного напряжения в арматуре от укорочения бетонав предельном состоянии при его обжатии напрягаемой арматурой (пункт 4.3 СН);
sНК = s3 - s4- s5- s6 = 10100 - 524 - 298 - 107 - 0 = 9171 кГ/см2(см. выше пункт 7§ 3);
Fн = 32,97 см2.
Nн = [1,1(sНК - s3- s4- s5- s6)- sсн]Fн = (1,1´9171 - 2700)´32,97 = 243800 кг.
Нормативный изгибающий моментпосередине пролета балки от ее собственного веса М1 = 64,4 тм(см. выше пункт 4§ 3).
Расчетный изгибающий моментпосередине пролета балки от ее собственного веса с минимальным коэффициентомперегрузки 0,9 (пункт 115 СН 200)
![]()
Размеры расчетного сеченияпосередине пролета балки (рис. 12и 20):
h1 = 35 см; в1 = 36 см; в0= 16 см; а0 = 15,1; h0 = 104,9 см; h =120 см; ![]()
Рассчитываем сечение навнецентренное сжатие под действием внешних нагрузок Nн и
(см. рис. 20 пункт4.19 СН).
Высота сжатой зоны бетона хN, соответствующуювнешнему усилию Nн, определится из условия (см. пункт 4.19 СН)равенства нулю моментов внешних и внутренних сил (кроме силы
) относительно точки приложения силы Nн (знаки соответствуют расположению силы Nн на рис. 20)

Рис. 20. Расчетная схема напряжений и усилийпри расчете на прочность сечения посередине пролета на стадии предварительногонапряжения.
![]()
откуда
![]()
Подставляя численные значениявеличин, входящих в уравнение, получаем:
![]()
![]()
![]()
откуда
![]()
0,55h = 0,55´120 = 66 см.
0,7h = 0,7´120 = 84 см.
Так как 84 > 78,9 >66, т.е. 0,7h> хN > 0,55h имеем случай 2(см. пункт 4.19 СН), для которого прочность сечения проверяем из условия:
![]()
где коэффициент условий работы
и не менее 0,8 (см. пункт 2.24 СН).
принимаем ![]()

![]()
- прочность балки посерединепролета на стадии предварительного напряжения обеспечена.
ПРИМЕЧАНИЕ1 При хN > 0,7h (случай3) прочности сечения проверяется из условия (пункт 4.19 СН)
![]()
ПРИМЕЧАНИЕ 2 При хN £ 0,55h (случай1) полную высоту сжатой зоны бетона х (см. рис. 20)определяют из уравнения (пункт 4.19 СН)

При х > hn прочность сечения проверяютиз условия
![]()
При х £ hn прочность сечения проверяют из условия
![]()
Здесь m2 и
определяются попункту 2.24 СН
и не менее 0,8
при этом принимают 0,8 £ m2 £ 1;
А = 0,00015 R0£ 0,75;
![]()
Усилие предварительногонатяжения арматуры в момент отпуска с учетом первичных потерь (см. выше пункт 8§ 3)
N0 = Fн(sНК - s3 - s4- s5- s6)= 32,97´(10100- 524 - 298 - 107 - 0) = 302600 кг.
Нормативный изгибающий момент посередине пролета балки от еесобственного веса, включаемого в работу балки при ее выгибе кверху подвоздействием эксцентрично приложенного усилия N0:
М1 = 64,4 тм = 6440000 кгсм (см. выше пункт 4§ 3).
Геометрические характеристики сечения (пункт 6§ 3)
Fnp = 4323 см2; Jпр= 8208000см4;
ув = 49,3 см; Ун= 70,7 см; в1 =36 см; в0 = 16 см; h1 =35 см
Эксцентриситет силы N0:ex »Ун - а0 = 55,6 см (см. пункт 7§ 3).
А. РАСЧЕТ НА СТОЙКОСТЬ ПРОТИВ ОБРАЗОВАНИЯ ПРОДОЛЬНЫХ ТРЕЩИН ПО НИЗУБАЛКИ

Рис. 21. Схемы к расчету балки посерединепролета на трещиностойкость на стадии предварительного напряжения.
Максимальные сжимающие напряжения в нижнем волокне балки (см. рис. 21) сих увеличением на 10% для учета воздействия стесненной усадки бетона и резкихперепадов температур в пределах сечения(пункт 4.30 СН)

Расчет на стойкость противобразования продольных трещин производится из условия (пункт 4.30 СН)
![]()
RT - расчетное сопротивление бетона сжатию,соответствующее прочности бетона к моменту обжатия.
Величину RT (пункт 4.31 СН) определяют в зависимости отдвух критериев: градиента (перепада) напряжений и отношения толщины ребра балкив0 к ширине обжимаемого нижнего пояса балки в1(см. рис. 21).
Определяем величину RT по первому критерию (по перепадунапряжений).
Предварительное напряжениепроизводим при достижении бетоном 80% проектной марочной прочности.
Расчетные сопротивления батона марки 400 группы А при расчетах натрещиностойкость по продольным трещинам (пункт 1.13 СН), соответствующее 80%прочности бетона к моменту обжатия:
на сжатие при изгибе
![]()
на сжатие осевое
![]()
Сжимающее напряжение в бетоне науровне верха нижнего пояса (нижней полки) балки, т.е. в волокнах на высоте h1 над низом балки (см. рис. 21):

![]()
Расчетное сопротивление RT по первому критерию принимают равным (пункт4.31 СН):

Имеем:

Определяем величину RT по второму критерию (по отношению
).
![]()
Расчетное сопротивление RT по второму критерию принимают равным (пункт4.31 СН):

Имеем:

Из двух значений RT = 183 кГ/см2 и RT = 174 кГ/см2, определенных двум критериям, принимаемсогласно пункту 4.31 СН большее значение RT = 183 кГ/см2.
Проверка на трещиностойкость:
-стойкость против образования продольных трещин по низу балки на стадиипредварительного напряжения обеспечена.
ПРИМЕЧАНИЕ. Если условие
не удовлетворяется,то для увеличения RT можно произвести, еслипроизводственные условия позволяют, предварительное напряжение при достижениибетоном не 80% проектной марочной прочности, а 85, 90, 95 или 100%.
Для этой жецели можно повысить марку бетона. Если же отпуск арматуры производится придостижении бетоном 80% марочной прочности, то избыточное обжатие нижних волоконбалки
можно погаситьпостановкой верхних съемных инвентарных пучков (рис. 22).
Для возможностимногократной оборачиваемости инвентарных пучков в каждой линии устраиваетсяцепочки из трех пучков: двух коротких однопетлевых (рис. 22)и одного длинного двухпетлевого инвентарного 2.
Два короткихпучка соединяются с длинным инвентарным посредством двухпетлевого замка ссоединительным болтом.
Каждая цепочкапучков натягивается на бетон с торцов балки домкратами двойного действия доотпуска натяжения основных нижние пучков.

Рис 22. Схемы к расчету контролируемыхнапряжений в инвентарных пучках в момент отпуска основных пучков:
1 - однопетлевое пучок из 24 Æ 5 мм; 2 - инвентарный двухпетлевой пучок из 24 Æ5 мм; 3 - соединительный болт d= 60 мм из Ст.5; 4 - конусный анкер; 5 - упор.
Верхние пучкизакрепляются конусными анкерами 4 за упоры 5 (см. рис. 22),заделанные в ребре балки. После установки балок в пролет и укладки тротуарныхблоков и перил надобность в верхних пучках отпадает. Последние могут быть снятыи до установки балок в пролет при 85, 90, 95 или 100% марочной прочности, прикоторой соблюдается условие
. В этом случае применяются съемные инвентарные упоры 5 (см.типовой проект, вып. 122, Киевского Филиала Союздорпроекта). Короткие пучкеперерезываются автогеном, а двухпетлевые инвентарные пучки возвращаются дляповторного использования.
Выступающаячасть заделанных упоров 5 обрезается автогеном.
Поверхупоставлено два (пп = 2) инвентарных пучка каждый из 24проволок d = 5 мм. Площадь сечения каждого пучка f1 = 4,71 см2.
Пучки возвышаютсянад плитой балки на величину «с» (см. рис. 22).
Потеринапряжений в инвентарных пучках в момент отпуска основных пучков с достаточнойточностью равны s4.
Сила натяжений двух инвентарных пучков
![]()
где
- искомоеконтролируемое напряжение в инвентарных пучках в момент их натяжения.
Растягивающеенапряжение в нижних волокнах балки от силы Nu равно (см. рис. 22)
![]()
Это растяжение должно погасить избыточноесжатие
Из уравнения
![]()
учитывая, что ![]()
получаем

Например, по предыдущему RT = 183 кГ/см2
Допустим, что ![]()
Принимаем с = 7 см.
Тогда контролируемое напряжение винвентарных пучках

Б. РАСЧЕТ НА СТОЙКОСТЬ ПРОТИВ ОБРАЗОВАНИЯ ПОПЕРЕЧНЫХ ТРЕЩИН ПОВЕРХУ БАЛКИ
Максимальные растягивающиенапряжения в верхней зоне балки на стадии предварительного напряжения (см. рис.21)

- растяжение не влияет,стойкость балки против образования поперечных трещин по верху балки на стадиипредварительного напряжения обеспечена.
ПРИМЕЧАНИЕ 1. Растягивающие напряжения по верху балкидопускаются не более расчетного сопротивления бетона растяжению Rp.n., т.е. должно быть соблюденоусловие
![]()
При этойрасчетом должна бить предусмотрена передача всего растягивающего усилия верхнейзоны балки на ненапрягаемую арматуру (пункт 4.31 СН).
Для бетонамарки 400 Rp.n. = 16 кГ/см2 (пункт 1.13 СН)
Допустим, что
(растяжение)< Rp.n. - стойкость балки против образования поперечных трещин по верху балкиобеспечена, при этом передаем все растягивающее усилие на распределительнуюарматуру плиты. Сжимающее напряжения по низу балки ![]()
Высотарастянутой зоны по верху балки (рис. 21)
![]()
Растягивающиеусилив в верхней зоне балки (рис. 21)
![]()
В пределахрасчетной ширины плиты вв уложены вдоль балки 8 стержней распределительнойарматуры Æ 8 мм класса А (марки ВМСт.3сп) с расчетным сопротивлением Ra = 1900 кГ/см2(пункт 1.1 СН). Площадь 8 стержней (приложение V) 8´0,503 = 4,02 см2.
Напряжение варматуре
![]()
ПРИМЕЧАНИЕ 2. Если условие
не удовлетворяется,то избыточное растяжение верхних волокон балки
можно оооопостановкой верхних съемных инвентарных пучков (рис. 22),состоящих каждыйиз 24 проволок d = 5 мм с площадью пучка 4,71см2.
Принимаем одинпучок (пп = 1).
Инвентарнойпучок натягивается до отпуска натяжения основных нижних пучков и удаляетсяпосле достижения бетоном 85-100% марочной прочности, при которой соблюдаетсяусловие
или после установкибалок в пролет и укладки тротуарных блоков и перил.
Сила натяженияинвентарного пучка
![]()
Сжимающеенатяжение в верхних волокнах балки от силы Nu равно (см. рис. 22)
![]()
Этим сжатием погашаем избыточноерастяжение
. Из уравнения
учитывая, что
получаем

Например,допустим, что ![]()
Принимаем с = 7 см (см. рис. 22).
Тогдаконтролируемое напряжение в инвентарном пучке в момент его натяжения

Вычисляем поперечные силы вприопорном сечении балки А-А у начала опорного утолщения балки на расстоянии хот оси опирания балки (рис. 23).
х = 0,41 +0,30 - 0,33 = 0,38 м
Расчетный пролет l = 21,50 м.
Площади участков линии влиянияпоперечной силы в сечении А-А (см. рис. 23б):
![]()
![]()
w1+ w2= 10,372 - 0,003 = +10,369 м.
Коэффициент многополосности к нагрузке Н-30 (пункт 117 СН 200) придлине загружения l - x = 21,50 - 0,38 = 21,12 м < 25 м ....... b = 1.
ПРИМЕЧАНИЕ. При l - x >25 м:
b = 0,9 для Г-7, Г-8 и Г-9;
b = 0,8 для Г-10,5.
Коэффициенты поперечнойустановки (см. выше пункты 2и 3 §3):
![]()

Рис. 23. К расчету поперечных сил в приопорномсечении А-А балки:
а - фасад приопорного участке балки; б - линия влияния QA
Нагрузка от толпы: Кто= 0,4 т/м2 (пункт 125 СН 200). Нормативные постоянные нагрузки (см.выше пункт 1 § 3):
q1 = 1,155 т/м;
![]()
![]()
Эквивалентные нагрузки призагружении участка w1линии влияния с длиной загружения l - x = 21,12 м (приложение 10 СН 200):
от Н-30 .............. ![]()
от НК-80 ........... ![]()
Нормативные поперечные силы всечении А-А балки без учета динамики:
от собственного веса балки
Q1= q1(w1 + w2)= 1,115´10,369 = 11,6 т;
от веса тротуаров и перил
![]()
от веса дорожной одежды
![]()
от автомобильной нагрузки H-30
![]()
от толпы на одном тротуаре
![]()
от колесной нагрузки НК-80
![]()
Нормативные поперечные силы всечении А-А без учета динамики:
от постоянной нагрузки, Н-30 итолпы
![]()
от постоянной нагрузки и НК-80
![]()
Принимаем: ![]()
Динамический коэффициент к нагрузке Н-30 1 + m = 1,176 (см. вышепункт 6§ 3).
Коэффициенты перегрузки (пункты 115 и 127 СН 200):
для q1 и
................. 1,1;
для
.................................... 1,5;
для Н-30 ................................. 1,4;
для НК-80 ............................... 1,1;
для толпы ...............................1,4.
Расчетные поперечные силы всечении А-А:
от постоянной нагрузки, Н-30 итолпы
![]()
от постоянной нагрузки и НК-80
![]()
Принимаем ![]()
Размещение напрягаемых арматурных пучков в приопорном сечении А-А нарасстоянии х = 38 см от оси опирания показано на рис. 24аи б.

Рис. 24. К определению геометрическиххарактеристик расчетного сечения А-А (приопорного)
Вычисляем расстояния пучков в сечении А-А от низа балки:
a1 = 8 см;
a2 = 18 см;
![]()
![]()
![]()
Расстояния от центра тяжестивсех арматурных пучков в сечении А-А (рис. 24):
до низа балки

до верха балки
![]()
Коэффициент приведения
![]()
Площадь напрягаемой арматуры Fн = 32,97 см2(см. выше).
Площадь приведенного сечения(см. рис. 24в)

Статический момент приведенногосечения относительно верха балки

Расстояния центра тяжестиприведенного сечения (см. рис. 24)
от верха балки
![]()
от низа балки
![]()
Момент инерции приведенногосечения относительно оси I-I (рис. 24), проходящей через его центр тяжести

Расчет по главным растягивающимнапряжениям является расчетом на трещиностойкость и производится на нормативныенагрузки без учета динамики (пункты 4.35 и 2.2 СН).
Расчеты на главные сжимающие икасательные напряжения относят к расчетам на прочность (пункты 2.2 и 4.14 СН) ипроизводят на расчетные нагрузки.

Рис. 25. Схемы к расчету приопорного сеченияА-А на касательные и главные напряжения (пунктиром показан контурдействительного сечения с вутами).
Число пучков: полигональных........ ппол = 3
прямолинейных ....... ппр= 4
Средний угол наклонаравнодействующей всех полигональных пучков
(см. выше пункт 7§ 3).
![]()
Площадь сечения одного пучка f1 =4 ,71 см2 (см. выше пункт 5§ 3).
По предыдущему (см. пункт 7§ 3):
sНК = 11000 кГ/см2; s3 = 524 кГ/см2;
s1 = 386 кГ/см2; s4 =298 кГ/см2;
s2 =1213 кГ/см2; s5 =107 кГ/см2;
Ds2 = 156 кГ/см2; s6 =0.
Усилия предварительногонатяжения арматуры в приопорном сечении А-А (рис. 25)на стадии эксплуатации, т.е. с учетом всех потерь:
в полигональных пучках

в прямолинейных пучках

в полигональных и прямолинейных пучках
![]()
Расчетная поперечная в сеченииА-А от постоянной и временной нагрузки
(пункт 12§ 3).
Минимальная (с коэффициентомперегрузки 0,9) поперечная сила от усилий в наклонных пучках равна ![]()
Геометрические характеристикиприопорного сечения I-I (cм.выше пункт 13§ 3):
![]()
Приведенный к бетону статическиймомент отсечённой части сечения (заштрихована на рис. 25б) относительно нейтральной оси I-I (в пределах отсеченнойчасти два пучка на расстояниях в'1 = 15 см и в0 = 31 см отверха балки)

Наибольшие касательные расчетныенапряжения на уровне оси I-I, проходящей через центр тяжести приведенногосечения (пункт 4.14 СН)

Расчетное сопротивление наскалывание при изгибе для бетона марки 400 (пункт 1.13 СН) ![]()
- проверка на скалывающиенапряжения удовлетворяется.
Главные сжимающие напряженияопределяют по формуле (пункт 4.14 СН)
![]()
Главные растягивающие напряженияопределяют по формуле (пункт 4.35 СН)
![]()
Вычисление ![]()
Нормальные сжимающие напряженияв бетоне вдоль оси балки на уровне нейтральной оси I-I(см. рис. 25):
расчетные с коэффициентомперегрузки 1,1
![]()
нормативные
![]()
Вычисление ![]()
Сжимающие напряжения в бетоне,нормальные к продольной оси балки, созданные напрягаемыми полигональнымипучками при высоте балки h = 120 см (см. пункт 4.13 СН):
расчетные с коэффициентомперегрузки 1,1
![]()
нормативные
![]()
Вычисление tрасч и tнорм
Касательные напряжения на уровненейтральной оси I-I (см. рис. 25):
расчетные с коэффициентомперегрузки 1,1

нормативные

Вычисление ![]()
Dsу - сжимающие напряжения в бетоне, действующие в направлении, нормальномк продольной оси балки, и вызываемые опорной реакцией Б (см. рис. 26 и пункт4.15 СН).
Вычисляем величину опорнойреакции Б при загружении постоянной нагрузкой всего пролета l = 21,50 м, а временной нагрузкой (как и привычислении QА) длины l - x (см. рис. 23).
Нормативная опорная реакция(используя данные пункта 12§ 3):
от постоянной нагрузки, Н-30 итолпы

от постоянной нагрузки и НК-80

Принимаем: ![]()
Расчетная опорная реакции(используя данные пункта 12§ 3):
от постоянной нагрузки, Н-30 итолпы

от постоянной нагрузки и НК-80

Принимаем: ![]()
Расстояние от низа балки допродольного сечения, в котором определяют напряжения Dsу (см. рис. 25и 26),
![]()
Высота банки h = 120 см.
Расстояние приопорного сеченияА-А от оси опирания балки х = 38 см (см. выше).
Так как У = 71,7 см >0,4h = 48 см и х = 38 см < 0,7h = 84 см, то сжимающие напряжения по пункту 4.15 СН
![]()
ПРИМЕЧАНИЕ. При У > 0,4h
если х £ 0,7h......... ![]()
если х = 0,8h......... ![]()
если х = 0,9h......... ![]()
если х = h .............. ![]()
При У£ 0,4h и х£ 2,5У
![]()
F - площадь продольного сечения (в пределах зоны, учитываемой врасчете), расположенного на высоте У от нива балки (площадь F заштрихованана рис. 26б). Так как У >0,4h, то длина площади F (см. рис. 26) по пункту 4.15 СН
z = a + h = 33 + 120 = 153 см.

Рис. 26. К определению сжимающих напряжений Dsу:
а - фасад балки; б - горизонтальный разрез С-С (опорная диафрагма не показана).
ПРИМЕЧАНИЕ. При У > 0,4h
z = 5У при а³ 2,5у;
z = 2,5У + а при а < 2,5у.
По рис. 26

Сжимающие напряжения, вызываемыеопорной реакцией:
расчетные
![]()
нормативные
![]()
Главные сжимающие напряжения по нейтральной оси

Главные растягивающие напряженияпо нейтральной оси

Так как оба главные напряжениясжимающие, то главные сжимающие напряжения должны удовлетворять условии (пункт4.15 СН)
sг.с£Rnp
Для бетона марки 400 группы Арасчетное сопротивление на осевое сжатие (пункт 1.13 СН)
![]()
(условие соблюдено).
ПРИМЕЧАНИЕ1. Если sг.с > 0 (растяжение), то главные сжимающиенапряжения должны удовлетворять условию (см. пункт 4.14 и 1.13 СН)
sг.с £ Rг.с.п
(для бетона марки 400 группы A Rг.с.п = 140 кГ/см2), а главныерастягивающие напряжения должны удовлетворять условию (см. пункт 4.35 и 1.13СН)
sг.р £ mpRг.р.п
(для бетонамарки 400 группы А Rг.р.п = 24 кГ/см2),
где mp = 0,7, если sг.с £ 0,8Rг.с.п;
mp = 0,5, если sг.с = Rг.с.п
(для бетонамарок 300-400) ;
mp = 0,55, если sг.с = Rг.с.п
(для бетона марок 500-600).
Дляпромежуточных значений sг.с величина коэффициента mp определяется поинтерполяции.
ПРИМЕЧАНИЕ 2. При расчете на нагрузку НК-80 величину Rг.с.пдопускается повышать до Rnp.
ПРИМЕЧАНИЕ3. Главныенапряжения по высоте балки надлежит определить не только на уровне нейтральнойоси I-I, но и на уровне оси II-II (низ верхних вутов) и оси III-III(верх нижних вутов), показанных на рис. 25б(вуты действительного сечения балки показаны пунктиром). При определенииглавных напряжений на уровне осей II-II, и III-III (см. рис. 25)имеем:

где
- суммарный момент в сечении А-II отпостоянной и временной нагрузки;
у0 -расстояние оси II-II или III-III от оси I-I;
Snp -приведенный статическиq момент,отсекаемой осями II-II или III-III частисечения, относительно оси I-I;
У (при определении Dsу) -расстояние от низа балки до уровня оси II-II или III-III.
Усилия предварительного натяжения аркатуры в приопорном сечении А-А (см.рис. 25)в момент ее отпуска с учетом первичных потерь (см. выше пункт 14§ 3):
в полигональных пучках

в прямолинейных пучках

в прямолинейных и полигональных пучках
![]()
Расстояние центра тяжестипрямолинейных пучков от низа балки (см. рис. 24и 25а)
![]()
Расстояние центра тяжестиполигональных пучков от низа балки (см. там же)
![]()
Расстояние центра тяжестиприведенного сечения от низа балки (см. пункт 13§ 3)![]()
Эксцентриситет усилия
относительно центратяжести приведенного сечения (см. рис. 25)

ПРИМЕЧАНИЕ. Приближенно (см. рис. 24):
![]()

Рис 27. Линия влияния момента и приопорном сечении
Расчетный пролет l = 21,50 м.
Площадь линии влияния ивгибающего момента в приопорном сечении балки А-А на расстоянии = 0,38 м от осиопирания (рис. 27)
![]()
Нормативный изгибающий момент всечении А-А от собственного веса балки
![]()
Геометрические характеристикисечения (пункт 13§ 3):
![]()
А. РАСЧЕТ НА СТОЙКОСТЬ ПРОТИВ ОБРАЗОВАНИЯ ПРОДОЛЬНЫХ ТРЕЩИН ПО НИЗУБАЛКИ
Максимальные сжимающиенапряжения в нижнем волокне приопорного сечения балки (см. по аналогии рис. 21)с их увеличением на 10% для учета воздействия стесненной усадки бетона и резкихперепадов температур в пределах сечения (пункт 4.30 СН)

По предыдущему (см. пункт 11§ 3)
![]()
Определяем величину RT по первому критерию.
Сжимающее напряжение в бетона науровне верха нижней полки балки, т.е. в волокнах на высоте h1 над низом балки (см. по аналогии рис. 21),

По пункту 4.31 СН:

Определяем RT по второму критерию
![]()
по пункту 4.31 СН:

Из двух значений RT = 186 кГ/см2 и RT = 174 кГ/см2, определенных по двум критериям, принимаемсогласно пункту 4.31 СН большее значение RT = 186 кГ/см2. Проверка на трещиностойкость:
- стойкость против образования продольныхтрещин по низу балки в приопорном сечении на стадии предварительного напряженияобеспечена.
ПРИМЕЧАНИЕ. Если условие
не соблюдается,необходимо принять меры, указанные в примечании пункта 11§ 3.
В. РАСЧЕТ НА СТОЙКОСТЬ ПРОТИВ ОБРАЗОВАНИЯ ПОПЕРЕЧНЫХ ТРЕЩИН ПОВЕРХУ БАЛКИ
Максимальные растягивающиенапряжения в верхнем волокне балки на стадии предварительного напряжения (см.по аналогии рис. 21)

- растяжение не возникает,стойкость против образования поперечных трещин по верху приопорного сечениябалки на стадия предварительного напряжения обеспечена.
ПРИМЕЧАНИЕ. При
(растяжение) - см.выше примечания 1и 2в конце пункта 11§ 3.
Расчетные сопротивления бетонапри достижении бетоном марки 400 80% проектной прочности (см. выше пункт 10§ 3):
![]()
Расчетное снижениепредварительного напряжения от укорочения бетона (пункт 4.3 СН): sсн= 2700 кГ/см2.
Площадь поперечного сечения всехпучков в сечении A-A: Fн = 32,97 см2(см. выше).
Усилие предварительногонатяжения арматуры в приопорном сечении А-А в момент ее отпуска (см. выше пункт15§ 3): ![]()
Расчетное продольное обжимающееусилие на стадии предварительного напряжения (пункты 4.19 и 4.20 СН)
![]()
Расчетный изгибающий момент от собственного веса балки сминимальным коэффициентом перегрузки
![]()
Расстояния центра приложениясилы
(см. выше пункт 15§ 3):
от низа балки
![]()
от верха балки
![]()
Размеры расчетного приопорногосечения (см. по аналогии рис. 20):
h1 = 35 см; в1 = 36 см; в0= 16 см; ![]()
Рассчитываем сечение навнецентренное сжатие под действием внешних нагрузок
и
(см. пункт 4.19 СН ипо аналогии рис. 20).
Высота сжатой зоны бетона хN определится из уравнения (см. там же и вышепункт 10§ 3)
![]()
Подставляя численные значениявеличин, входящих в уравнение, получим:
![]()
![]()
![]()
откуда
![]()
0,7h = 0,7´120 = 84 см.
Так как 99,8 > 84 см, т.е. хN > 0,7h, имеем случай 3 (см. пункт 4.19 СН),для которого прочность сечения проверяем из условия:
![]()

![]()
- прочность приопорного сечения балки на стадии предварительногонапряжения обеспечена.
ПРИМЕЧАНИЕ. Условия проверки прочности при 0,7h > хN > 0,55h (случай2) и при хN £0,55h (случай 1) приведены выше в пункте 10§ 3 и в пункте 4.19 СН.
Шаг хомутов по изгибурассчитываем в зоне 1 по расчетной поперечной силе в приопорном сечении А-А и взоне II по расчетнойпоперечной силе в сечении B-Ву места перегиба полигональных пучков (рис. 28).

Рис. 28. К расчету хомутов по изгибу.
А. РАСЧЕТ ШАГА ХОММУТОВ ПО ИЗГИБУ В ЗОНЕ I

Рис. 29. К расчету шага хомутов по изгибу:
а - схема к расчету на поперечную силу по наклонному сечению;
б - поперечное сечение балки.
Расчет на прочность наклонного сечения балки, проходящего черезнижнюю точку приопорного сечения А-А (см. рис. 29), производят из условия(пункт 4.13 СН)
![]()
где предельная поперечная сила,воспринимаемая бетоном сжатой зоны и хомутами в невыгоднейшем наклонном сечении

Подставляя в это условиезначение Qхб, получаем требуемыймаксимальный шаг хомутов по изгибу в зоне I

где Rи = 205 кГ/см2 - расчетное сопротивление на осевое сжатиебетона марки 400 группы А (см. пункт 1.13 СH);
в0 = 16 см - толщина ребра балки;
- расстояние от верха балки до центра тяжестипрямолинейных пучков (см. рис. 29б);
mах = 0,8 - коэффициент условий(неравномерности) работы стержневых хомутов (пункт 1.17 СН);
Ra = 2400кГ/см2 - расчетное сопротивление стержней хомутов периодическогопрофиля из стали класса А-IIмарки Ст5сп (пункт 1.14 СН);
fх = 0,785 см2 - площадь поперечногосечения одной ветви хомута номинальным диаметром 10 мм (см. приложение VI);
nх = 2 - число ветвей хомутов в одномпоперечном сечении балки (см. рис. 29б);
- расчетная поперечная сила в приопорномсечении балки А-А (см. пункт 12§ 3) ;
тн.о = 0,7 - коэффициент условий(неравномерности) работы пучков из высокопрочных проволок (пункт 1.17 СН);
RН2 = 9800 кГ/см2 - расчетное сопротивление высокопрочнойгладкой проволоки диаметром 5 мм для пучков в стадии эксплуатации (пункт 1.15СН);
f1 = 4,71 см2 - площадь поперечногосечении одного пучка (см. выше);
Ssina = sina1 + sina2 + sina3 = 0,093 + 0,004 + 0,070= 0,243 - сумма синусов углов наклона пучков к горизонтали (см. рис. 29 и пункт 7§ 3).

Б. РАСЧЕТ ШАГА ХОМУТОВ ПО ИЗГИБУ В ЗОНЕ II
Начисляем расчетную поперечнуюсилу в сечении В-В балки на расстоянии х1 = 7,90 и от осиопирания (см. рис. 28)

Рис. 30. Линия влияния Qв.
Расчетный пролет l = 21,50 м. Площади участков линии влиянияпоперечной силы в сечении В-В (рис. 30):
![]()
![]()
w1+ w2= 4,31 - 1,45 = +2,86 м.
По предыдущему (см. пункт 12§ 3):

Эквивалентные нагрузки призагружении участка w1линии влияния с длиной загружения l х1 = 21,50 - 7,90 = 13,6 м (приложение 10 СН 200):
от Н-30 .............. ![]()
от НК-80 ........... ![]()
Расчетные поперечные силы всечении В-В:
от постоянной нагрузки, Н-30 итолпы

постоянной нагрузки и HK-80

Принимаем: ![]()
Полезная высота балки в сеченииВ-В h0 = 104,9 см (см. выше пункт 5§ 3).
Требуемый максимальный шагхомутов по изгибу в зоне II

Схема загружения в поперечнойразрезе моста при расчете крайней балки на кручение показана на рис. 31.

Рис. 31. Схема загружения в поперечном разреземоста при расчете крайней балки на кручение.
Ширина проезжей части Г = 8 м.
Расстояние между осями балок поширине моста в = 1,66 м.
Число балок по ширине моста п= 6.
Расстояние от оси крайней балкидо края тротуара (рис. 31)
![]()
Ширина заднего ската колеса(приложение 10 СН 200):
в2 = 0,6 м ................Н-30;
в2 = 0,8 м ................НК-80.
Устанавливаем тяжелое колесовесом Р с минимально допустимым приближением к тротуару.
Минимальное расстояние от краяската до края тротуара (см. там же и рис. 31):
--0,50-0,5 в2 = 0,50 - 0,5´0,6 = 0,20 м ........... H-30;
--0,25 м........................................................... HK-80.
Суммарная толщина четыpеxслоев дорожной одежды (см. пункт 1 § 2) Н = 0,14 м.
Длина соприкасания ската с покрытием проезжей части вдоль моста длялюбых нагрузок (приложение 10 СН 200)
а2 = 0,2 м.
Размеры грузовой площадки:
вдоль моста а1 = а2 + 2Н = 0,2 + 2´0,14 = 0,48 м;
поперек моста в1 = в2 + 2Н.
Длина консольного свеса плиты отоси крайней балки до оси шва (рис. 31)
![]()
Длина загружения консольногосвеса (см. рис. 31)
т = с - (с0 + К - Н)= с - с0 - К + Н.
Динамический коэффициент (пункт126 СН 200):
1 + m = 1,3 ..................Н-30;
1 + m = 1,0 ..................НК-80
Коэффициенты перегрузки:
пвр = 1,4 ................Н-30;
пвр = 1,1 ................HК-80
iiiiii крутящий момент отодного колеса (рис. 31)
![]()
Нагрузка Н-30
Р = 6 т (СН 200, приложение 10);
в1 = в2 + 2Н= 0,60 + 2´0,14= 0,88 м;
т = с - с0 - К + Н =0,83 - 0,15 - 0,20 + 0,14 = 0,62 м.
![]()
Нагрузка НК-80
Р = 10 т (СН 200, приложение 10)
в1 = в2 + 2Н= 0,80 + 2´0,14= 1,04 м.
т = с - с0 - К + Н =0,83 - 0,15 - 0,25 + 0,14 = 0,57 м;
![]()
Расстояние между диафрагмами d = 4,31 м.
Принимаем условно, что нагрузка,расположенная на концевых треугольных участках А (см. рис. 32а)отсека между диафрагмами, не вызывает кручение балки, а воздействуетнепосредственно на диафрагму.
Можно принять, что наибольшеекручение балки в отсеке между диафрагмами возникает в том случае, когда крайгрузовой площадки отстоит от оси диафрагмы на величину "с"(см. рис. 32).При приближении этой площадки и оси диафрагмы на расстояние менее величины"с" давление будет передаваться также и на диафрагму, уменьшаякрутящий момент в главной балке.

Рис. 32. К расчету максимального крутящего моментаот местной нагрузки Н-30:
а - расположение нагрузки Н-30 в плане; б - расчетная схема; в - эпюра крутящихмоментов в балке.
При нагрузке Н-30 на отсекеразмещается два колеса задних осей на взаимном расстоянии 1,6 м друг от друга(рис. 32).
Принимаем, что концы отсекабалки заделаны в диафрагмах и балка в пределах отсека работает на чистоевручение.
Внешний крутящий моментравномерно распределен по длине (см. рис. 32аи пункт 2 § 2)
а = а1 + 2с - т = 0,48 + 2´0,83- 0,62 = 1,52 м
Эпюру крутящих моментов в балкестроим по принципу построения эпюры поперечных сил в простой балке длиной"d", загруженнойна участках длиной "а" равномерно распределенными нагрузками
(рис. 32б).
Расстояния центра нагрузок додиафрагмы (см. рис. 32аи б):
и1 = d - 1,60 - с - 0,5а1 = 4,31 - 1,60 -0,83 - 0,5´0,48= 1,64 м;
и2 = d - с - 0,5а1 =4,31 - 0,83 - 0,5´0,48= 3,24 м.
Максимальный опорный расчетныйкрутящий момент в балке от нагрузки Н-30 (см. рис. 32в)
![]()
При нагрузке НК-80 на отсекеразмещаем три колеса на расстоянии 1,2 м друг от друга (см. рис. 33).
Колеса устанавливаем симметричнона отсеке длиной "d", пренебрегая несущественный заходом грузовых площадок крайнихколес на концевые треугольные участки А отсека (см. рис. 33а).
Внешний крутящий момент отодного колеса равномерно распределен по длине а1 + 2с- т = 0,48 + 2´0,83 - 0,57 = 1,57 м > 1,2 м, т.е. длины распределения моментов от давления колес накладываютсядруг на друга.
Поэтому в расчет принимаемсуммарный внешний крутящий момент от трех колес, равномерно распределенный подлине (см. приложение 10 СН 200 и рис. 33а)
a1= 1,2´2+а1 + 2с - т =2,40 + 1,57 = 3,97 м.

Рис. 33. К расчету крутящего момента отместной нагрузки НК-80:
а - расположение нагрузки НК-80 в плане; б - расчетная схема; в - эпюракрутящих моментов в балке.
Максимальный опорный расчетныйкрутящий момент в балке от нагрузки НК-80 (см. рис. 33в)
![]()
Момент инерции всей балки накручение (см. пункт 3 §3)
Jкр= 358000 см4.
Моменты инерции на кручение (см. там же и рис. 9б):
Плиты

Ребра балки

Нижней полки балки

![]()
Расчетный крутящий момент отнагрузки Н-30:
передаваемый ребру балки

передаваемый нижней полке балки

Расчетный крутящий момент отнагрузки НК-80:
передаваемый ребру балки

передаваемый нижней полке балки


Рис. 34. К подсчету пллощади ядра сеченияребра и нижней полки балки.
А. РАСЧЕТ ШАГА ХОМУТОВ ПО КРУЧЕНИЮ БАЛКИ ОТ МЕСТНОЙ НАГРУЗКИ В ЗОНЕ1 И ОПРЕДЕЛЕНИЕ СУММАРНОГО ШАГА ХОМУТОВ
По предыдущему (пункт 17):
fx = 0,785см2 - площадь поперечного сечения одной ветви хомута номинальнымдиаметром 10 мм;
Ra = 2400кГ/см2 - расчетное сопротивление стержней хомутов периодическогопрофиля из стали класса А-IIСт5сп. Наружный диаметр по выступам ветви хомута d1 = 1,13 см (приложение VI).
Боковой защитный слойненапрягаемых хомутов с = 1,5 см (пункт 5.26 СН).
Ширина ядра сечения ребра балки(рис. 34а)
вя = в0 - 2c - d1 = 16 - 2´1,5- 1,13 = 11,87 см.
Площадь ядра сечения ребра (рис. 34а)
![]()
Для расчета хомутов по кручениюв ребре в зоне Iпринимаем нагрузку Н-30, соответствующую расчету хомута по изгибу в той жезоне.
Требуемый шаг дополнительныххомутов по кручению от местной нагрузки в зоне I
![]()
Требуемый шаг хомутов по изгибуот общей нагрузки в зоне I (см. пункт 17§ 3) ![]()
Требуемый суммарный шаг хомутовв зоне I ребра балки по изгибу от общей и кручению отместной нагрузки
![]()
Наибольший шаг ненапрягаемыххомутов в тонких ребрах (в0 = 16 см < 20 см)предварительно напряженных балок при условии расчета на совместное действиеизгиба и кручения принимают независимо от расчета не более 00 см (см. пункт5.84 СН).
Принимаем ![]()
ПРИМЕЧАНИЕ. При в0 > 20 см наибольший шагхомутов принимают не более 1,5в0.
Объем стержней хомутов впроцентах от объема ребра
![]()
(см. пункт 5.84 СН).
Нижнюю полку балки (рис. 34б)армируют хомутами периодического профиля номинальным диаметром 10 мм с площадьюпоперечного сечения fx = 0,785 см2 из стали класса А-II марки Ст5сп с Ra = 2400 кГ/см2.
Площадь ядра сечения нижнейполки балки (заштрихована на рис. 34б)
![]()
Расчетный крутящий момент,передаваемый нижней полке балки (см. выше):
![]()
![]()
Принимаем большее значение ![]()
Требуемый шаг хомутов в нижнейполке балки по кручению от местной нагрузки в зоне I и II
![]()
Наибольший шаг хомутов в нижнейполке предварительно напряженных балок принимают не более 20 см.
ПРИМЕЧАНИЕ. При условии, если максимальные сжимающие напряжения внижнем волокне балки на стадии предварительного напряжения
(см. выше пункт 11§ 3 и пункт 5.85 СН), то наибольший шагхомутов допускается принимать равным 30 см.
Принимаем ![]()
Полная длина хомута в нижнейполке (см. рис. 34б),включая участи хомутов ребра в пределах нижней полки (пункт 5.85 СН)
lх= 31 + 27´2+ 26´2+ 37,5´2= 212 см.
Площадь нижней полки (см. рис. 34б)
![]()
Объем стержней хомутов впроцентах от объема нижней полки
![]()
(см. пункт 5.05 СН).
Б. РАСЧЕТ ШАГА ХОМУТОВ ПО КРУЧЕНИЮ БАЛКИ ОТ МЕСТНОЙ НАГРУЗКИ В ЗОНЕII ИОПРЕДЕЛЕНИЕ СУММАРНОГО ШАГА ХОМУТОВ
Для расчета хомутов по кручению в ребре в зоне II принимаем нагрузку HK-80, соответствующую расчету хомутовпо изгибу в той же зоне.
Требуемый шаг дополнительных хомутов по кручению от местной нагрузки взоне II
![]()
Требуемый шаг хомутов по изгибуот общей нагрузки в зоне II(см. пункт 17 §3) ![]()
Требуемый суммарный шаг хомутовв зоне II ребра балки по изгибуот общей и кручению от местной нагрузки
![]()
Принимаем ![]()
Объем стержней хомутов впроцентах от объема ребра
![]()
В. РАСЧЕТ ДОБАВОЧНОЙ ПРОДОЛЬНОЙ АРМАТУРЫ В БАЛКЕ ПО КРУЧЕНИЮ
Добавочная продольная арматура в ребре балки принята периодическогопрофиля номинальным диаметром 10 мм изстали класса А-II(марки Ст.5сп) с Ra = 2400 кГ/см2 (пункт 1.14 СН).
Площадь поперечного сечения одногостержня f = 0,785 см2(приложение VI).
Периметр ядра сечения и ребребалки (см. рис. 34а):
![]()
![]()
![]()
Принимаем большее значение ![]()
Требуемая добавочная площадьпоперечного сечения продольной арматуры в ребре балки
![]()
Потребное количество добавочныхпродольных стержней в ребре балки
![]()
Принято 8Æ10 А-II (рис. 34б).
Периметр ядра сечения в нижнейполке балки (см. рис. 34б) ![]()
Требуемая добавочная площадьпоперечного сечения продольной арматуры в нижней полке балки
![]()
Потребное количество добавочныхпродольных стержней в нижней полке балки
![]()
Принято 10Æ10 А-II (рис. 34б).
Расчет хомутов на стадииэксплуатации по кручению балки от общей нагрузки может выполняться следующимобразом.
При том же расположении общейнагрузки (Н-30 + толпа или НК-80), как и при определении коэффициентапоперечной установки с учетом кручения (см. рис. 8), на крайнююбалку воздействует внешний погонный крутящий момент (см. Я.С. Файн. К расчетумостов с учетом кручения главных балок." Изд. вузов. Строительство иархитектура", 1963, № 8), определяемый по формуле
![]()
где
- поправка на кручение (см. выше пункт 3 §3);
n = 6 - число балок впоперечном сечении моста;
в1 = 8,3 м -расстояние между крайними балками (см.рис. 8);
R1 -погонная нагрузка на крайнюю балку, равная произведению эквивалентной нагрузки(с учетом коэффициентов динамики, многополосности и перегрузки) на второе слагаемоекоэффициента поперечной установки.
Для нагрузки Н-30 и толпы наодной тротуаре
![]()
где пп = 2 -число полос движения и T = 1 м - ширинатротуара.
Для нагрузки НК-80
где пп= 1 - число полос движения.
Для расчета хомутов по кручениюв ребре в зоне Iпринимаем нагрузку Н-30, соответствующую расчету хомутов по изгибу в той жезоне (по поперечной силе в сечении А-А).
По предыдущему (см. выше пункт 12§ 3):
-эквивалентная нагрузка при загружении участка w1, линии влияния QА с длиной загружения l - x = 21,50 - 0,38 =21,12 м;

Нагрузка на 1 п.м.крайней балки от Н-30 и толпы:

Внешний погонный крутящий момент
![]()
Расчетный крутящий момент вприопорном участке балки от общей нагрузки Н-30 и толпы (рис. 35), предполагая,что на концах балки невозможны повороты сечений относительно ее оси
![]()

Рис. 35. К расчету максимального крутящего момента в зоне I от общей нагрузки Н-30 итолпы:
а - расчетная схема; б - эпюра крутящих моментов в балке.
Расчетный крутящий момент отобщей нагрузки Н-30 и толпы, передаваемый ребру балки

Требуемый шаг дополнительныххомутов по кручению от местной и общей временной нагрузки в зоне I, учитывая разное направление крутящихмоментов для крайней балки от этих нагрузок
![]()
Требуемый суммарный шаг хомутовв зоне I ребра балки (приопорный отсек) по изгибу отобщей и кручению от общей и местной нагрузки
![]()
В соседнем отсеке приопорногоучастка балки, где местная нагрузка отсутствует:
![]()
![]()
Предложенный способ учетакручения от общей и временной нагрузки, по нашему мнению, существенно уточняетрасчеты хомутов.
ПРИМЕЧАНИЕ. 1. Если на крайней балке местная временнаянагрузка (колеса Н-30 или НК-80) отсутствует во всех отсеках между диафрагмами(например, для типовых балок при габарите Г-7 и тротуарах по 1,5 м), то хомутыдолжны быть рассчитаны по изгибу от общей нагрузки и кручении от общейвременной нагрузки.
ПРИМЕЧАНИЕ. 2. Для средних балок расчетные крутящие моментыот местной и общей временной нагрузки могут совпадать по направлению.
ПРИЛОЖЕНИЯ

Геометрические показатели (см. рис. 36) и число пучков в балке.
| lсв, м | lп, м | l, м | hб, м | с, м | hап, м | d0, м | d, м | Число пучков |
| 10 | 11,36 | 11,10 | 0,80 | 0,13 | 0,00 | 0,28 | 2,70 | 4 по 20 Æ 5 мм |
| 12,5 | 14,06 | 13,70 | 0,85 | 0,18 | 0,07 | 0,28 | 2,70 | 4 по 24 Æ 5 мм |
| 15 | 16,76 | 16,30 | 1,00 | 0,23 | 0,08 | 0,28 | 2,70 | 5 по 24 Æ 5 мм |
| 20 | 22,16 | 21,50 | 1,20 | 0,33 | 0,41 | 0,31 | 4,31 | 7 по 24 Æ 5 мм |
| 30 | 32,96 | 32,32 | 1,70 | 0,32 | 0,44 | 0,32 | 4,04 | 10 по 24 Æ 5 мм |
lсв - условный пролет в свету;
lп - полная длина балки;
l - расчетный пролет;
с - расстояние от торца балки до оси опирания;
hап - высота опорных частей;
d0 - расстояние от торца балки до оси крайнейдиафрагмы;
d - расстояние между осями диафрагм;
№ 1 - крайние тротуарные блокидлиной 4,33 м;
№ 2 - средние тротуарные блокидлиной 2,70 м;
Количество балок на одно пролетное строение
| Габарит | Количество балов | |
| Т = 1 м | Т = 1,5 м | |
| Г-7 | 5 | 6 |
| Г-8 | 6 | 6 |
| Г-9 | 7 | 7 |
| Г-10,5 | 8 | 8 |
Т - ширина тротуара.
Таблица расхода бетона (в м3) на одно пролетное строение
| lп, м | Г-7 | Г-8 | Г-9 | Г-10,5 | ||||
| Т = 1 м | Т = 1,5 м | Т = 1 м | Т = 1,5 м | Т = 1 м | Т = 1,5 м | Т = 1 м | Т = 1,5 м | |
| 11,36 | 27,0 | 31,8 | 31,7 | 31,8 | 36,3 | 36,4 | 41,0 | 41,1 |
| 14,06 | 33,1 | 39,7 | 38,8 | 39,1 | 44,6 | 44,8 | 50,3 | 60,5 |
| 16,76 | 41,2 | 48,7 | 48,4 | 48,7 | 65,5 | 55,8 | 62,7 | 63,0 |
| 22,16 | 60,9 | 72,0 | 71,6 | 72,0 | 82,3 | 82,7 | 93,1 | 93,6 |
| 32,96 | 106,9 | 126,7 | 123,1 | 126,7 | 145,6 | 146,2 | 164,9 | 165,6 |
Геометрические показатели и число пучков в балке - см. приложение Iи рис. 36.
Количество балок на одно пролетное строение - см. приложение I.
Таблица расхода бетона (в м3) на одно пролетное строение
| lп, м | Г-7 | Г-8 | Г-9 | Г-10,5 | ||||
| Т = 1 м | Т = 1,5 м | Т = 1 м | Т = 1,5 м | Т = 1 м | Т = 1,5 м | Т = 1 м | Т = 1,5 м | |
| 11,36 | 27,0 | 31,8 | 31,7 | 31,8 | 36,3 | 36,4 | 41,0 | 41,1 |
| 14,06 | 33,1 | 39,7 | 38,8 | 39,1 | 44,6 | 44,8 | 50,3 | 60,5 |
| 16,76 | 41,2 | 48,7 | 48,4 | 48,7 | 65,5 | 55,8 | 62,7 | 63,0 |
| 22,16 | 60,9 | 72,0 | 71,6 | 72,0 | 82,3 | 82,7 | 93,1 | 93,6 |
| 32,96 | 106,9 | 126,7 | 123,1 | 126,7 | 145,6 | 146,2 | 164,9 | 165,6 |
Геометрические показатели (см. рис. 36) и число пучков в балке
| lсв, м | lп, м | l, м | hб, м | с, м | hап, м | d0, м | d, м | Число пучков |
| 40 | 43,2 | 42,6 | 2,3 | 0,35 | 0,49 | 0,35 | 5,005 и 6,235 | 14 по 20 Æ 5 мм или 8 по 48 Æ 5 мм |
ПРИМЕЧАНИЕ. Крайние тротуарные блоки № 1 - длиной 4,04 м;средние тротуарные блоки № 2 - длиной 2,7 м.
Количество балок на одно пролетное строение - см. приложение I.
Таблица расхода бетона (в м3) на одно пролетное строение
| lп, м | Г-7 | Г-8 | Г-9 | Г-10,5 | ||||
| Т = 1 м | Т = 1,5 м | Т = 1 м | Т = 1,5 м | Т = 1 м | Т = 1,5 м | Т = 1 м | Т = 1,5 м | |
| 43,2 | 204,6 | 242,4 | 241,7 | 242,3 | 278,8 | 279,5 | 315,9 | 316,5 |

Геометрические показатели (см. рис. 37) и число пучков в балке
| lп, м | l, м | hб, м | с, м | hап, м | Число пучков |
| 12 | 11,4 | 0,9 | 0,30 | 0,20 | 4 по 24 Æ 5 мм |
| 15 | 14,4 | 0,9 | 0,30 | 0,20 | 6 по 24 Æ 5 мм |
| 18 | 17,4 | 1,2 | 0,30 | 0,20 | 6 по 24 Æ 5 мм |
| 24 | 23,4 | 1,2 | 0,30 | 0,20 | 9 по 24 Æ 5 мм |
| 33 | 32,2 | 1,5 | 0,40 | 0,35 | 13 по 24 Æ 5 мм |
| 42 | 41,2 | 2,1 | 0,40 | 0,36 | 15 по 24 Æ 5 мм |
Количество балок на одно пролетное строение
| Габарит | Количество балок при тротуарах шириной | |
| Т = 1 м | Т = 1,5 м | |
| Г-7 | 4 | 5 |
| Г-8 | 5 | 5 |
| Г-9 | 5 | 6 |
| Г-10,5 | 6 | 6 |
Таблица расхода бетона (в м3) на одно пролетное строение
| lп, м | Г-7 | Г-8 | Г-9 | Г-10,5 | ||||
| Т = 1 м | Т = 1,5 м | Т = 1 м | Т = 1,5 м | Т = 1 м | Т = 1,5 м | Т = 1 м | Т = 1,5 м | |
| 12 | 33,8 | 42,2 | 41,1 | 42,0 | 40,8 | 49,2 | 48,0 | 48,9 |
| 15 | 42,2 | 52,6 | 51,1 | 52,3 | 50,9 | 61,4 | 59,8 | 61,0 |
| 10 | 55,8 | 69,7 | 67,9 | 69,4 | 67,6 | 81,4 | 79,5 | 81,0 |
| 24 | 74,1 | 92,4 | 90,1 | 92,0 | 89,7 | 108,1 | 105,6 | 107,5 |
| 33 | 111,9 | 138,5 | 135,2 | 137,9 | 134,6 | 162,3 | 158,8 | 161,5 |
| 42 | 157,7 | 196,9 | 196,9 | 196,2 | 192,1 | 231,3 | 227,0 | 230,3 |
ПРИМЕЧАНИЕ. Балки с lп= 12¸33 м - цельноперевозимые, балка с lп= 42 м -поперечночлененная.
Геометрические показатели (см. рис. 37)
| lп, м | l, м | hб, м | с, м | hап, м |
| 6 | 5,60 | 0,30 | 0,20 | 0,028 |
| 9 | 8,60 | 0,45 | 0,20 | 0,028 |
| 12 | 11,40 | 0,60 | 0,30 | 0,028 |
| 15 | 14,40 | 0,60 | 0,30 | 0,128 |
| 18 | 17,40 | 0,75 | 0,30 | 0,128 |
Количество плит на одно пролетное строение
| Габарит | Количество балок при тротуарах шириной | |
| Т = 1 м | Т = 1,5 м | |
| Г-7 | 9 | 10 |
| Г-8 | 10 | 11 |
| Г-9 | 11 | 12 |
| Г-10,5 | 12 | 13 |
Таблица расхода бетона (в м3) на одно пролетное строение
| lп, м | Г-7 | Г-8 | Г-9 | Г-10,5 | ||||
| Т = 1 м | Т = 1,5 м | Т = 1 м | Т = 1,5 м | Т = 1 м | Т = 1,5 м | Т = 1 м | Т = 1,5 м | |
| 6 | 15,2 | 17,0 | 16,0 | 18,3 | 17,8 | 19,7 | 19,1 | 20,9 |
| 9 | 27,2 | 30,6 | 29,7 | 33,1 | 32,2 | 35,8 | 34,8 | 38,2 |
| 12 | 41,7 | 46,9 | 45,7 | 51,0 | 49,8 | 55,0 | 53,7 | 58.9 |
| 15 | 52,1 | 58,6 | 57,2 | 63,7 | 62,3 | 68,7 | 67,1 | 73,7 |
| 18 | 70,6 | 78,0 | 78,5 | 86,3 | 84,5 | 93,3 | 91,3 | 100,1 |
| Номера сечений (номинальный диаметр), мм | Класс А-I | Класс А-II | Площадь f, см2 |
| диаметр d, мм | диаметр d1, по выступам, мм | ||
| 6 | 6 | - | 0,283 |
| 7 | 7 | - | 0,385 |
| 8 | 8 | - | 0,503 |
| 9 | 9 | - | 0,636 |
| 10 | 10 | 11,3 | 0,785 |
| 12 | 12 | 13,5 | 1,131 |
| 14 | 14 | 15,5 | 1,539 |
| 16 | 16 | 18,0 | 2,011 |
| 18 | 18 | 20,0 | 2,545 |
| 20 | 20 | 22,0 | 3,142 |
| 22 | 22 | 24,0 | 3,801 |
| 25 | 25 | 27,0 | 4,909 |
| 28 | 28 | 30,5 | 6,153 |
| 32 | 32 | 34,5 | 8,043 |
| 36 | 36 | 39,5 | 10,179 |
| 40 | 40 | 43,5 | 12,561 |
| a | r0 | g0 | A0 |
| a | r0 | g0 | A0 |
| 0,01 | 10,00 | 0,995 | 0,010 |
| 0,29 | 2,01 | 0,855 | 0,248 |
| 0,02 | 7,12 | 0,990 | 0,020 |
| 0,30 | 1,98 | 0,650 | 0,255 |
| 0,03 | 5,82 | 0,985 | 0,030 |
| 0,31 | 1,95 | 0,845 | 0,262 |
| 0,04 | 5,05 | 0,980 | 0,039 |
| 0,32 | 1,93 | 0,840 | 0,269 |
| 0,05 | 4,53 | 0,975 | 0,048 |
| 0,33 | 1,90 | 0,835 | 0,275 |
| 0,06 | 4,15 | 0,970 | 0,058 |
| 0,34 | 1,88 | 0,830 | 0,282 |
| 0,07 | 3,85 | 0,955 | 0,067 |
| 0,35 | 1,86 | 0,825 | 0,289 |
| 0,08 | 3,61 | 0,960 | 0,077 |
| 0,36 | 1,84 | 0,820 | 0,295 |
| 0,09 | 3,41 | 0,955 | 0,085 |
| 0,37 | 1,82 | 0,815 | 0,301 |
| 0,10 | 3,24 | 0,950 | 0,095 |
| 0,38 | 1,80 | 0,810 | 0,309 |
| 0,11 | 3,11 | 0,945 | 0,104 |
| 0,39 | 1,78 | 0,805 | 0,314 |
| 0,12 | 2,96 | 0,940 | 0,113 |
| 0,40 | 1,77 | 0,800 | 0,320 |
| 0,13 | 2,88 | 0,935 | 0,121 |
| 0,41 | 1,75 | 0,795 | 0,326 |
| 0,14 | 2,77 | 0,930 | 0,130 |
| 0,42 | 1,74 | 0,790 | 0,332 |
| 0,15 | 2,68 | 0,925 | 0,139 |
| 0,43 | 1,72 | 0,785 | 0,337 |
| 0,16 | 2,61 | 0,920 | 0,147 |
| 0,44 | 1,71 | 0,780 | 0,343 |
| 0,17 | 2,53 | 0,915 | 0,155 |
| 0,45 | 1,69 | 0,775 | 0,349 |
| 0,18 | 2,47 | 0,910 | 0,164 |
| 0,46 | 1,68 | 0,770 | 0,354 |
| 0,19 | 2,41 | 0,905 | 0,172 |
| 0,47 | 1,67 | 0,765 | 0,359 |
| 0,20 | 2,36 | 0,900 | 0,180 |
| 0,48 | 1,66 | 0,760 | 0,365 |
| 0,21 | 2,31 | 0,895 | 0,188 |
| 0,49 | 1,64 | 0,755 | 0,375 |
| 0,22 | 2,26 | 0,890 | 0,196 |
| 0,50 | 1,63 | 0,750 | 0,370 |
| 0,23 | 2,22 | 0,885 | 0,203 |
| 0,51 | 1,62 | 0,745 | 0,380 |
| 0,24 | 2,18 | 0,880 | 0,211 |
| 0,52 | 1,61 | 0,740 | 0,385 |
| 0,25 | 2,14 | 0,875 | 0,219 |
| 0,53 | 1,80 | 0,735 | 0,390 |
| 0,26 | 2,10 | 0,870 | 0,226 |
| 0,54 | 1,59 | 0,730 | 0,394 |
| 0,27 | 2,07 | 0,865 | 0,234 |
| 0,55 | 1,58 | 0,726 | 0,400 |
| 0,28 | 2,04 | 0,860 | 0,241 |
|
|
|
|
|