Меню
Навигация
Novatika

4425-87 «Санитарно-гигиенический контроль систем вентиляции производственных помещений. Методические указания»

Методические указания предназначены для применения органами и учреждениями санитарно-эпидемиологической службы при осуществлении предупредительного и текущего санитарного надзора за вентиляцией на проектируемых и действующих промышленных предприятиях, а также для санитарных лабораторий и вентиляционных служб предприятий при проведении контроля за системами промышленной вентиляции, состоянием воздушной среды и микроклиматом производственных помещений.

Обозначение: 4425-87
Название рус.: Санитарно-гигиенический контроль систем вентиляции производственных помещений. Методические указания
Статус: действующий
Заменяет собой: 1893-78 «Инструкция по санитарно-гигиеническому контролю систем вентиляции производственных помещений»
Дата актуализации текста: 01.01.2009
Дата добавления в базу: 10.11.2009
Дата введения в действие: 05.09.1987
Разработан: НИИ гигиены труда и профзаболеваний АМН СССР
Ленинградский НИИ гигиены труда и профзаболеваний Минздрава РСФСР
Свердловский НИИ гигиены труда и профзаболеваний Минздрава РСФСР
Утвержден: Главный государственный санитарный врач СССР (05.09.1987)
Опубликован: Минздрав СССР № 1987

МИНИСТЕРСТВО ЗДРАВООХРАНЕНИЯ СССР

МЕТОДИЧЕСКИЕ УКАЗАНИЯ

 

УТВЕРЖДАЮ

Заместитель Главного Государственного

санитарного врача СССР

_______________________А.М. Скляров

« 05 »   сентября   1987 г

№ 4425-87

САНИТАРНО-ГИГИЕНИЧЕСКИЙКОНТРОЛЬ СИСТЕМ
ВЕНТИЛЯЦИИ ПРОИЗВОДСТВЕННЫХ ПОМЕЩЕНИЙ

Москва, 1987г

Содержание

1.ОБЩИЕ ПОЛОЖЕНИЯ

1.1. Методические указанияпредназначены для применения органами и учреждениямисанитарно-эпидемиологической службы приосуществлении предупредительного и текущего санитарного надзора за вентиляциейна проектируемых и действующих промышленных предприятиях, е так же длясанитарных лабораторий и вентиляционных служб предприятий при проведенииконтроля за системами промышленной вентиляции, и состоянием воздушной среды имикроклиматом производственных помещений.*

Термины и определения, применяемые ввентиляционной технике, приведеныв приложении 1.

1.2. С выходом настоящихуказаний отменяется Инструкция по санитарно-гигиеническому контролю системвентиляции производственных помещений 1893-78.

1.3. Предупредительныйсанитарной надзор за системами вентиляции промышленных предприятий проводитьсяпри:

а) проектировании,строительстве, реконструкции или изменении профиля и технологии производства напредприятиях, цехах, участках;

б) вводе в эксплуатацию вновьсмонтированных систем вентиляции;

* Методическиеуказания не распространяйся на предприятия горнодобывающей промышленности.

в)вводе в эксплуатацию реконструированных систем вентиляции;

г)вводе в эксплуатацию новых типов технологического оборудования, новых технологическихпроцессов и новых химических веществ, могущих оказать вредное воздействий наорганизм человека или загрязнять окружающую среду.

Вновьвыстроенные или реконструированные вентиляционные системы промышленныхпредприятий принимаются в эксплуатацию вуставленном порядке специальной комиссией, в которую включаетсяпредставитель санитарно-эпидемиологической службы.

Обследование иоценку вентиляции при вводе в эксплуатации новых и реконструируемых систем,нового оборудования, процессов и веществ, следует производить после полногозавершения строительно-монтажных работ. Перед обследованием технологическиепроцессы должны быть отлажены в соответствии с регламентом; при обследовании производственноеоборудование должно работать с проектной нагрузкой, вентиляционные системыдолжны пройти монтажную наладку и иметьпроектную производительность.

1.4.Предупредительный санитарный надзор за вентиляцией промышленных предприятийосуществляется в виде:

а) составлениязаключений по проектным материалам (техническим проектам и рабочим чертежам) оправильности выборе схемы вентиляции;

б)наблюдения за ходом монтажа вентиляционных систем;

в) наблюденияза ходом наладки вентсистем;

г) участия вприёмке и составлении заключений о соответствия вентсистем вентиляции, вводимыхв эксплуатацию или реконструируемых, действующих санитарно-гигиеническимправилам и нормам.

1.5. Текущийсанитарный надзор за системами вентиляции действующих промышленных предприятийосуществляется в видевыборочного контроля за:

- состоянием воздушной среды врабочей зоне (или на постоянных рабочих местах) и в местах расположениявоздухозаборных устройств;

- работой вентиляционныхсистем, их состоянием и эксплуатацией.

Объем и периодичность выборочного контроля определяется санитарнымврачом, исходя из степени возможного вредного воздействия производственнойвоздушной среды на данном предприятии на организм работающих, из особенностейтехнологического процесса и характерапроизводственного оборудования, а также на основе анализа профессиональнойзаболеваемости на данном предприятии.

1.6.Санитарно-эпидемиологическая станция осуществляет текущий контроль также посредством анализа данныхинструментальных замеров вентиляция, представляемых в СЭС санитарными лабораториями и вентиляционными службамипромышленных предприятий в соответствии с "Положением о санитарнойлаборатории на промышленном предприятии", а также данными наладкивентиляционных систем.

1.7. Действующие вентиляционные системыдолжны подвергаться регулярной проверке силами вентслужб или санитарныхлабораторий предприятий в следующие сроки:

а) в помещениях, где возможновыделение вредных веществ 1 и 2 класса - 1 раз в месяц;

б) системы местной вытяжной иместной приточной вентиляции - 1 раз в год 1;

в) системы общеобменной механическойи естественной вентиляции - 1 раз в 3 года;

Контроль за соблюдениемпериодичности проверки вентиляции должен осуществляться санэпидстанциями.

В случае реконструкции вентиляционныхсистем после изменения технологического процесса, оборудования и перестройкипомещения проверка должна осуществляться сразу после реконструкции, независимоот сроков периодического контроля.

1.8. Общий объем необходимыхисследований, проводимых санитарными лабораториями и вентиляционными службамипромышленных предприятий и планы проведения этих исследований на предприятиях,цехах, участках должны согласовыватьсяс санэпидстанцией.

1.9. К контролю вентиляции иоценке ее гигиенической эффективности следует приступать после осуществлениявсех необходимых технологических, эксплуатационных и организационныхмероприятий по ликвидации или снижению выделений избыточного тепла, пыли игазов от оборудования в помещение.

1.10. Представительсанэпидстанции перед контролем вентиляционных систем должен ознакомиться соследующими документами:

- утвержденным в установленномпорядке проектом вентиляции, а также перечнем отступлений от проекта;

- актами осмотра и приемкаскрытых работ;

- протоколами техническихиспытаний и наладки вентсистем;

- паспортами вентсистем;

- графиками планово-предупредительногоремонта (ППР), журналами его ремонтов и эксплуатации вентоборудования.

2. ПАРАМЕТРЫ, ИЗМЕРЯЕМЫЕ ПРИ САНИТАРНО-ГИГИЕНИЧЕСКОМ ОБСЛЕДОВАНИИПРОИЗВОДСТВЕННЫХ ПОМЕЩЕНИЙ. ПРИБОРЫ И МЕТОДЫ ИЗМЕРЕНИЙ.

2.1. При санитарно-гигиеническом контролевентиляции в зависимости от конкретных условий, особенностей технологическогопроцесса и типа вентиляционного оснащения производственного помещения, должныизмеряться следующие параметра воздушной среды:

- концентрация вредных веществ в воздухерабочей зоны, температура, относительная влажность и подвижность воздуха,интенсивность теплового облучения, а также следующие параметры вентиляции:скорости и температуры воздушных потоков; производительность, развиваемогодавление и число оборотов вентилятора, разность давлений или разрежения, шум ивибрация элементов вентсистем, концентрация вредных веществ в приточномвоздухе.

2.2. Контроль параметроввоздушной среды следует осуществлять в воздухе рабочей зоны для сопоставленияих со значениями, установленной ГОСТ12.1.005-76 и "Санитарными нормами микроклимата производственныхпомещений" № 4088-86 (от 31.03.86).

2.3. Контроль параметроввентиляция осуществляется:

а) при намерении скоростей итемператур воздушных потоков в рабочей зоне, в открытия проемах укрытий ирабочих сечениях воздухоприемных устройств, а также в транспортных, монтажных иаэрационных проемах, в приточных струях от воздухоразделяющих устройств,воздушных душей и завес;

б) при определениипроизводительности вентилятора и развеваемого им давления - в воздуховодахобщеобменных приточных и вытяжных систем, встроенных в оборудование местныхотсосов и аспирационных укрытий;

в) при измерении разностидавлений или разрежения - в производственных помещениях относительно соседнихпомещений или атмосферы, боксах, кабинах и укрытиях относительно помещения;

А. Параметры воздушной среды .

2.4. Измерениеконцентрации вредных веществ осуществляется путем отбора пробы воздуха иполного их улавливания из измеренного объема воздуха. Отбор проб долженпроводиться непосредственно в зоне дыхания работающего либо в пределах рабочейзоны при ' характерных производственных условиях.

На отдельных этапах технологическогопроцесса в каждой точке должно быть отобрано не менее пяти последовательныхпроб (в соответствии с требованиями ГОСТ12.1.005-76).

2.5.Для отбора проб воздуха в качестве побудителей тяги могут быть использованыаспираторы (завода "Красногвардеец", мастерских ЛНИИГТ и др.),воздушные эжекторы, водоструйные насосы и другое оборудование.

При отборе проб воздуха, для определениякоторых требуется аспирировать расход больше 20 л/мин, следует использоватьболее производительные побудители тяги:

- бытовые электропылесосы;

- вентиляторы высокогодавления.

2.6. В комплекте свысокопроизводительными побудителями тяги для измерения расхода воздуха могутбыть использованы:

- газовые счетчики:лабораторные мокрые типа ГСЗ, бытовые сухие типа ГФК и ГК, промышленныеротационные типа РС;

- ротаметры стеклянные типа РС-3 или PС-5, измеряющие расход до 100-160 л/мин;

- реометры стеклянные сдиафрагмой типа РДС, измеряющие расход воздуха до 160 л/мин.

2.7.Вид поглотительного устройства (фильтра)при сборе проб воздуха следуетвыбирать в зависимости от агрегатного состояния химических свойств вредноговещества.

2.8. Для контроля микроклиматическихусловий производственных помещений следует измерять следующие параметры:

Таблица 1

№№ п.п.

Параметр

Единица измерения

Приборы для измерения параметра

1.

Температура по сухому термометру

а) наружного воздуха

б) воздуха на рабочем месте

°С

Жидкостные термометры, психрометры

2.

Температура по влажностному термометру

а) наружного воздуха

б) воздуха на рабочем месте

°С

Психрометры

3.

Относительная влажность воздуха

%

Психрометры, гигрометры

4.

Подвижность воздуха

м/с

Анемометры, крыльчатые, термоэлектрические

5.

Температура нагретых поверхностей

°С

Контактные жидкостные термометры, термопары

6.

Интенсивность теплового излучения

ккал/м2

Актинометры

2.9. При проведении измеренийпараметров микроклимата необходимо соблюдать следующие требования:

а) при равномерном распределении поплощади цеха источников тепловыделений точки измерения располагаются равномернопо всему цеху б соответствии стабл.2.

Точки измерения следует располагать вцентре условных квадратов, разделяющих основную площадь помещения.

Таблица 2.

Площадь цеха, м

Минимальное количество точек измерения

Менее 100

4

100-400

8

более 400

9 (расстояние между точками не более 12 м)

б) при неравномерномраспределении источников тепловыделения площадь рабочей зоны должна разбиватьсяна участки с различной теплонапряженностью ("холодные" и"горячие" участки). Параметры микроклимата определяются отдельно в рабочейзоне каждого участка, площадь которого не должна превышать 150м2.

2.10. Температура,относительная влажность и подвижность воздуха в производственных помещенияхдолжно измеряться для работ сидя на высоте 1,0м, для работ стоя - 1,5. м над столом иди площадкой, где находится рабочий.Подвижность воздуха, при заполнении работ 1 категории тяжести, кроме того,измеряется на наготе 0,1 и 1,65м от пола.

Температуру и влажность наружного воздухаследует измерить на открытой территории с наветренной стороны здания на высоте1,0-2,0 мнад поверхностью земли. Расстояние между местом измерения и зданием должно бытьне менее одной высоты и не более 4-5высот здания.

2.11. При постоянномтехнологическом процессе иустановившимся тепловлажностном режиме в помещении, минимальнаяпродолжительность одного дневного наблюдения должна составлять, при однойсменной работе:

- в холодное время года - всю первуюполовину рабочего дня;

- в теплое время года - всю вторую половину рабочегодня.

При работе внесколько смен измерения проводятся в течение одних суток в теплый и холодныйпериоды года.

2.12. При колебаниях тепловой нагрузки в зависимостиот технологического процесса измеренияпараметров микроклимата необходимо проводить во все периоды года при наибольшихи наименьших величинах тепловой нагрузки в течение не менее двух дней не рекеодного раза в час.

2.13. Измерение температур нагретыхповерхностей и оборудования с целью проверки их соответствия требованиямп.11.14 СН 245-71допускается проводить выборочно.

При тепловом облучении рабочих местинтенсивность облучения следует измерять для работ сидя на высоте 1,0м, для работ стоя 1,5м над уровнем пола или рабочей площадки, в направлении,перпендикулярном к источнику излучения.

В кондиционируемых помещениях измерениянеобходимо проводить в холодный и теплый периоды года в течение не менее одногодня с определением нормируемых параметров не менее 3 раз в день.

Б. Параметрывентиляции

2.15. При измерении скоростей воздушныхпотоков в рабочей зоне и на рабочих местах, в приточных струях, в открытыхрабочих приемах укрытий и местных воздухоприемных устройств, в воздуховодах, атакже в транспортных, монтажных и аэрационных проемах следует использовать вдиапазонах:

- 0,2-5 м/с - крыльчатыеанемометры, либо термоэлектроанемометры;

- более 5 м/с - чашечныеанемометры, пневмометрические трубки в комбинации с дифференциальнымиманометрами.

Измерения должны производиться приборами,снабженными графиками тарировки.

2.16. В процессе измерений крыльчатыйанемометр должен устанавливаться так, чтобы ось рабочего колеса совпадала снаправлением потока и показания счетчика увеличивались. Чашечный анемометрустанавливается так, чтобы ось рабочего колеса была перпендикулярна направлениюпотока.

Скорость воздуха в проемах площадью до 1м2следуетизмерять путем медленного (порядка 5-10 см/с) зигзагообразного перемещенияанемометра по площади проема. В проемах большей площади - скорости воздуха измеряютсятакже последовательным перемещением в центрах равновеликих площадей, на которыеусловно разбивается сечение проема.

В процессе измерений испытатель не должензаслонять собой поток воздуха, притекающий к проему. С этой целью, а также приизмерениях в труднодоступных местах, полую рукоятку анемометра насаживают надеревянный стержень необходимой длины.

Измерение скорости воздуха следуетпроводить не менее 2-3 раз; если расхождение результатов измерений превышает. 5%, то следует провестидополнительные замеры.

2.17. При измерениях скоростей воздуха вузких целях в отверстиях местных отсосов обечайка анемометра должна примыкать ккромкам щели, а сам анемометр должен перемещаться вдаль сели. Величинаскорости, полученная в результате измерения анемометром, должна умножаться напоправочный коэффициент, приведенный в табл.3, в зависимости от типа прибора ивысоты щелевого отверстия.

2.18. При измерении скоростей воздухатермоэлектроанемометрами в сильно пульсирующих потоках отбор показания следуетприводить не менее 20 сек в каждой точке, фиксируя максимальное значение пошкале прибора.

Таблица 3

Поправочныйкоэффициент к показаниям анемометра при измеренияскорости всасывания в щелевых отверстиях

Тип анемометра

Высота всасывающего отверстия, мм

20

40

60

80

100

150

200

300

Чашечный

 

2,1

1,6

1,5

1,5

1,2

1,1

0,9

Крыльчатый с обечайкой Ø 80 мм

5,3

2,1

1,3

1,0

0,9

0,85

0,85

0,85

Крыльчатый с обечайкой Ø 100 мм

-

1,8

1,2

1,1

1,0

0,9

0,85

0,85

2.19.Измерение скорости воздушных потоков в каналах или воздуховодах большихразмеров может производиться с помощью анемометров. Выбор измерительногосечения в канале и количество точек измерений производится такте, как и приизмерениях пневмометрическими трубками.

2.20. Окончательный результат при измерениискорости воздушных потоков анемометрами вычисляется как среднее значение из"η" измерений.

Vcp = ∑Vi/η, м/с

(2.1)

где Vi - величинаскорости воздуха одного измерения, м/с.

2.21.Производительностьвентсистем, местных отсосов, аспирационнихукрытий и т.д. определяется по формуле:

Z = Vcp·F·3600, м3

(2.2)

где Vсрскорость, м/с;

F - площадь сечения проема,укрытия воздуховода, всасывающего отверстия, местного отсоса, щели, патрубка, канала и т.п., м2.

2.22. При определениискорости воздушных потоков с помощью пневмометрических трубок средняя скоростьв измеряемом сечении вычисляется по формуле (при нормальных условиях:температура воздуха +30 ºС, атмосферное давление 760мм. рт.ст.):

, м/с

(2.3)

где Ндин - динамическое давление в измеряемом сечении, кгс/м2(см.п.2.26).

При условиях,отличающихся от нормальных, следует вычислять среднюю скорость по формуле:

(2.4)

где t- температура воздуха в измеряемомсечении, °С;

В - атмосферное давление во время измерения, кПа.

2.23. Динамическое давление ввоздуховодах измеряется микромонометрами или жидкостными V-образными манометрами в комплекте спневмометрическими трубками. Присоединение пневмометрической трубки кмикроманометру осуществляется в соответствия с рис.1.

Минимальное значения скоростей воздушныхпотоков, измеряемые с помощью микроманометров, составляют, м/с:

для V -образного манометра 7-8

для микроманометра ЦАГИ - 4

для микроманометра ММН - 3.

Для скоростей меньших значений точность измерениярезко падает и в этих случаях следует применять другие методы измерения(например, крыльчатые анемометры и др.)

Примечание: При измерении давлений ввоздуховодах и приточных струях плевмометрическими трубками могут наблюдатьсязаметные пульсации столба жидкости в микроманометре, что делает затруднительнымотсчет показаний прибора. В этих случаях целесообразно применять фемпфирующиевставки в резиновые шланги, соединяющие приемник давления с микронометром.Простейший демпфер представляет собой стеклянную или металлическую трубкудлиной не менее 100 мм,заполненную ватой или другим пористым материалом. Плотность набивки следуетотрегулировать таким образом, чтобы стабильное положение мониска рабочейжидкости устанавливалось в течение 10 секунд.

2.24. Жидкостные V-образные манометры целесообразно применять приизмерениях избыточных давлений и перепадов давлений больших 150 кгс/м3.Манометры могут заполняться водой (γ =1 г/см3), спиртом(γ=0,81 г/см3), либо ртутью (γ =13,6 г/см3). Прииспользовании ртути можно измерять давление больше 1000 кгс/м2.

При заполнении манометра водой разностьуровней, измеренная в мм, численно равна разности давлений в кгс/кг2. При заполненииманометра спиртом или ртутью разность давлений в кгс/м2 равна разностиуровней в мм, умноженной на величину, соответственно, 0,81 и 13,6.

При использовании V-образныхманометров необходимо соблюдать следующие требования:

- внутренний диаметр трубокманометра не должен быть менее 5мм;

- манометр должен находиться ввертикальном положении;

- отсчет показаний долженпроизводиться по нижней границе монисков жидкости.

2.25. Жидкостные чашечные однотрубныемногопредельные микроманометры с наклонной трубкой типа ММН 240 - 1,0 и АБ (ЦАГИ)применяются для измерения давлений соответственно до 240 и 160 кгс/м2.

В микроманометры должен заливаться спиртс удельным весом 0,81 г/см3; перед заливкой прибора необходимоочистить спирт от механических примесей.

Начальное положение должно быть установленопоршнем на нулевую отметку; в микроманометрах типа АБ начальное показаниедолжно быть зафиксировано в протоколе измерений.

Перед работой с микроманометром необходимо:

а) установить опорную площадку прибора горизонтально по уровню;

б) убедиться в герметичности соединительных шлангов, аотсутствии в них капель воды илиспирта и присоединить шланга к штуцерам микроманометра;

в) проверить герметичностьприбора, повышая давление поочередно в бачке и трубке (путем нагнетания воздухачерез резиновый патрубок). Прибор достаточно герметичен, если уровень жидкостине меняется в течение минуты при поочередном перекрытии соответствующегоштуцера.

2.26.Вычисление численных значений динамических давлений - следует производить поформулам:

а) для микроманометров типа ММН:

Ндин = h·f, кгс/м2

(2.5)

где h- длина столбика спирта в мм;

f = c·γ·sin α - фактор микроманометра(значение фактора на дуге прибора);

γ = 0,81 г/см3, -удельный вес спирта;

sin α – угол наклона трубки микроманометра;

С - тарировочный коэффициент прибора;

б) для микроманометров типаЦАГИ:

Ндин = (h-h0)γ·sinαK, кгс/м2

(2.6)

где h0 -начальный отсчет столбика спирта, мм;

К - тарировочный коэффициент, приведенный в паспортеприбора.

В теx случаях,когда показания микроманометра отличаются друг от друга не более чем в двараза, усредненная величина динамического давления вычисляется как среднееарифметическое из «η» П точек в измеряемом сечении:

, кгс/м2

(2.7)

где Ндинi - динамическое давление,измеренное в точке i;

При больших расхождениях показаний микроманометра, а также при нулевыхзначениях динамическое давление вычисляется по формуле:

(2.8)

2.27.При измерениях динамического давления в воздуховодахмеханической приточно-вытяжной вентиляции места замеров следует выбирать на прямых участках на расстоянии не менее 6-тидиаметров после наго по потоку.

Если прямолинейный участок необходимойдлины выбрать невозможно, то допускается располагать мерное сечение в месте,делящем выбранный для изменения участок в отношении 3:1 в направления потокавоздуха.

Измерение в мерном сечении следуетосуществлять по двум взаимно перпендикулярным осям; а в сечениях, расположенныхна расстояния более 6-ти диаметров после местного сопротивления измерение моднопроизводить по одной, произвольно расположенной оси.

Допускается размещать мерное сечениенепосредственно в месте внезапногорасширения или сужения потока. При этом за расчетный размер сечения следуетпринимать наименьшее сечение канала.

2.28. При измерениидавлений и скоростей в воздуховодах допускается использовать упрощенный методопределения координат метод равноотстоящих точек. Точки измерений располагаютсяна каждой оси равномерно, и расстояние между ними определяется из выражения:

(2.9)

где Д - диаметр (или ширина) воздуховода, мм;

η - число точек измерения.

Число точек измерений на каждой осидолжно быть не менее 6. Причисле точек 6 вычисленную величину расхода воздуха следует; умножить напоправочный коэффициент, равный 1,10 - для металлических и пластмассовыхвоздуховодов; 1,14 - для воздуховодов из других материалов (асбоцемент, гипс идр.). При числе точек больше 6-ти поправочный коэффициент следует определять изграфика (Рис.2).

2.29. Приизмерениях динамических давлений, требующих повышенной точности (определениевеличин валовых выбросов, определение производительности местных отсосов,определение эффективности улавливания газоочистных установок и т.п.),количество точек измерений зависит от размеров мерного сечения (20):

- для круглого сечения высотой от 100 до300 - 4 точки

- более 300мм- 8точек

- для прямоугольного сечения высотой от100 до 200 мм- 4 точки

- более 200мм - 16 точек.

2.30. Координаты точек измеренияскоростей и давлений, определяемые как размерами, так и формой мерного сечения,представлены на рис.3 и 4. Отклонение координат точек измерений от указанных нарис.3 и 4 не должно превышать ±10%. Количество измерений в каждой точке должнобыть не менее трех.

2.31. Пневмометрическая трубка,приемным отверстием направляющая навстречу потоку воздуха, должна перемещатьсявдоль каждой оси, размеченной согласно пп.2.27÷2.30, от ближайшей стенкивоздуховода до противоположной. В каждом фиксированном положениипневмометрической трубки внутри воздуховода регистрируется величина давления вточке замера.

После проведения замеровотверстия в воздуховоде следует заглушать.

2.32. Разность давлений(подпор или разрежение) в боксах, кабинах и укрытиях относительно помещений, вкоторых они расположены, а такжев производственных помещениях относительно соседних помещения или атмосферы,измеряется с помощью макроманометров, V -образныхманометров, а также жидкостными сильфонными тягонапоромерами. При определенииразности давлений измеритель давления размещается в удобном для работы месте;резервуар и трубка микроманометра соединяются резиновыми шлангами с объемами,разность давлений, в которых должна быть измерена. Присоединение шлангов должноосуществляться таким образом, чтобы больше давление воспринималось резервуароммикроманометра. При использовании сильфонных тягонапорометров с нулемпосередине шкалы и V -образныхманометров порядок присоединения трубок к прибору безразличен.

2.33. Для проверки паспортного значениядавления, развиваемого вентилятором, следует измерить полное и статическоедавления в воздуховодах до и после вентилятора в соответствии с рис.5, где указаны схемы присоединения пневмометрическойтрубки к микроманометру при измерении этих давлений. Полное давление Нполн принимается приемнымотверстием пневмометрической трубки, ориентированным навстречу воздушномупотоку. Статическое давление Нствоспринимается щелевыми или круглыми отверстиями, расположенными нацилиндрической поверхности пневмометрической трубки.

Место измерения Нполн в Нст давлений следует выбирать на прямых участкахвоздуховодов до вентилятора на расстоянии одного диаметра, после вентилятора -не менее 5 диаметров от нагнетательного отверстия. Измерения следует проводитьв соответствии с рекомендациями п.2.29.Методика измерений и получения численных усредненных значений полного истатического давлений аналогична измерению динамического давления по формулам (2.7) и (2.6).

2.34.Развиваемый вентилятором напорскладывается из суммы полных давлений до и после вентилятора

, кгс/м2

(2.10)

Для контроля правильности измерения полного давленая следует в каждом измерительном сечении проверять численное равенство

Нполн = Нстдин

(2.11)

Полученную величину давления, развиваемоговентилятором, приводят к стандартным условиям по формуле аналогичной формуле(2.5):

, Н, кгс/м2

(2.12)

для удобства сопоставления скаталожными данными вентилятора.

2.35. Для измерения числа оборотов(частоты вращения) колеса вентилятора следует использовать магнитный ручнойтахометр типа) ИО-30, который имеет шкалу, рассчитанную на три диапазона измерений:

от 30 до 300 об/мин.

от 300 до 3000 об/мин.

от 3000 до 30000 об/мин.

Острие или резиновую вставку наконечникашпинделя тахометра следует прижать к лунке в центре торца вращающегося валавентилятора и снять показания по шкале тахометра. При установке колесавентилятора па одном валу с электродвигателем, частоту вращенияпомощьютахометра следует определять на валу электродвигателя.

2.36. Уровни шума и вибрации, создаваемыена рабочих местах вентиляционными установками, не должны превышать значенияуказанных в СН 245-71,ГОСТ12.1.003-76 (9) и СНиП II-12-77 "Нормыпроектирования. Защита от шума."

3. ОЦЕНКА САНИТАРНО-ГИГИЕНИЧЕСКОЙЭФФЕКТИВНОСТИ ВЕНТИЛЯЦИИ

3.1. Присанитарно-гигиеническом контроле механической и естественной вентиляции, а такжеместных отсосов всех типов, эффективность оценивается как способностьподдержания в рабочей зоне производственного помещения параметров воздушнойсреды, удовлетворяющих требованиям ГОСТ ССБТ "Воздух рабочей зоны. Общиесанитарно-гигиенические требования" и "Санитарных норм микроклиматапроизводственных помещений" 4088-86.

Санитарно-гигиеническую оценку вентиляциипроизводственного помещения следует проводить при участии представителейсоответствующих служб предприятия: технологов, механиков, работников санитарнойлаборатории, представителей службы техники безопасности и вентслужбы.

А.Механическая вентиляция

3.2. Оценкасанитарно-гигиенической эффективности механической вентиляции производственногопомещения должна проводиться в следующем порядке:

а) предварительные мероприятия: проверитьсоответствие технологического процесса регламенту, убедиться в исправноститехнологического оборудования и коммуникаций, дать указание по устранениюзамеченных дефектов; провести осмотр вентиляционных сметем и их элементов,убедиться в нормальной работе вентилятора (правильное направление вращения,отсутствие посторонних шумов при вращении), в отсутствии разрывов и поврежденийв сети воздуховодов, в исправности воздуховыпускных и воздухоприемных устройств(жалюзи, решетки, клапаны и т.д.) и калориферов;

б) после устранения замеченныхдефектов провести измерение параметров микроклимата и определить содержаниевредных веществ в воздухе рабочее зоны.

Если величины указанных параметровнаходятся в пределах требований санитарных (указанных выше) норм и ГОСТа, товентиляция данного производственного помещения в условиях существующего режимаработы технологического оборудования может быть признана эффективной;

в) при отклонении параметроввоздушной среды от нормируемых значений, следует приступить к инструментальномуобследованию вентиляция (в соответствии с рекомендациями п.3.3);

г) результатыинструментального обследования вентиляции сопоставляются с проектнымивеличинами основных параметров вентсистем.

В случав совпадения фактических значенийс проектными, и несоблюдения при этом нормируемых величин параметров воздушнойсреды, вентиляции данного помещения оценивается как неудовлетворительная. Вэтом случае представитель санитарно-эпидемиологической службы должен указать нанеобходимость пересмотра проекта вентиляции с учетом фактического режима работытехнологического оборудования (увеличение мощности оборудования, интенсификациипроизводственных процессов, введение новых вредных веществ в технологическиециклы и т.п.),

При несовпадения фактических значенийпараметров вентиляции с проектными, представитель службы санитарного надзорасоставляет предписание о доведении параметров вентиляция до проектных значенийс указанием сроков выполнения;

д) по выполнении предприятием указанийорганов надзора производятся повторное измерение параметров вентиляционныхсистем и состояния воздушной среды помещения.

3.3. Инструментальное обследование вентиляциипроизводственного помещения проводится с помощью приборов и методов,приведенных в разделе2. Объем необходимых измерений и число определяемых параметров выбираются взависимости от вида обследуемой вентиляции механической, естественной илиместной.

Инструментальное обследование механическойвентиляции может включать в себя следующие измерения:

- измерение производительности всех приточных ивытяжных систем;

- измерение скоростей воздуха в проемах укрытий,воздухоприемных отверстиях местных отсосов, на выходе воздухораздающихустройств, в дверных, транспортных и монтажных проемах;

- измерение температуры приточного воздуха,подаваемого системами вентиляции или воздушного отопления;

- измерение концентраций вредных веществ в приточномвоздухе (вблизи мест воздухозабора);

- измерение шума и вибрации, создаваемых элементамивентсистем;

- измерение давления, развиваемого вентилятором;

- измерение частоты вращения колеса вентилятора.

В ряде случаевнеобходимо измерение, помимо перечисленного, еще и перепадов давлений междупомещениями, давлений (разрежений) в производственном оборудовании, тамбурах,шлюзах, боксах, а также в элементах вентиляционных сетей.

3.5. Производительность (расход) механическойвентиляции измеряется:

а)для определения соответствия фактической производительности вентиляциипроектной величине;

б)для вычисления кратности воздухообмена;

в) для выявления объемов притока в вытяжки и их распределенияпо зонам помещения;

г) для вычисления среднихскоростей движения воздуха в рабочих сечениях воздухоприемных устройств.

3.6. Производительность механическихвентиляционных систем следует измерять в сечениях магистральных воздуховодов нанагнетательной либо всасывающих линиях. Допускается определять общуюпроизводительность системы суммированием производительностей по всемответвлениям системы.

Считается допустимым расхождениепроектной и фактической величин производительности систем механическаявентиляция, не превышающее ±10.

Для определения фактической кратностивоздухообмена, обусловленного работой механической вентиляции, измеряютсяпроизводительности всех приточных и всех вытяжных систем, обслуживающих данноепомещение.

Кратность воздухообменавычисляется по формуле:

где Крпр и Крвыт- краткости воздухообмена по притоку и вытяжке соответственно, 1/ч;

Zпр и ∑Zвыт - суммарные производительности вентиляция приточной ивытяжной соответственно, мэ/ч;

V - строительныйобъем помещения, м3.

3.7. Величины, характеризующие работувентилятора в сети и получаемые в результате измерений - производительностьвентилятора Z, развиваемый напор ΔН и частотавращения колеса вентилятора η -сравнивают с паспортными данными вентилятора и с графиком его каталожнойхарактеристики. Если точка, определяемая фактической производительностью ифактическим полным давлением, совпадает с точкой каталожной характеристики.Если точка, определяемая фактической производительностью и фактическим полнымдавлением, совпадает с точкой каталожной характеристики, то вентиляторсчитается соответствующим каталожным данным. При этом фактическаяпроизводительность может не соответствовать проектной. Если точка окажется нижекаталожной характеристики, то вентилятор не соответствует каталожным данным.Отклонение от каталожной характеристики, то вентилятор не соответствуеткаталожным данным. Отклонение от каталожной характеристики по величине полногодавления допускается в пределах ±5%. При больших отклонениях следует устранитьдефекты  монтажа вентилятора илиизменять общее аэродинамическое сопротивление вне вентиляционной сети.

Б.Естественная вентиляция

3.8. Санитарно-гигиеническая оценкадействующих систем естественной вентиляции (аэрации) должна проводиться вследующем порядке:

а) предварительно в аэрируемом помещениинеобходимо проверить наличие и исправность предусмотренных проектом конструкцийи отдельных устройств, предназначенных для аэрации: фонарей, ветроотбойныхщитов, вытяжных шахт, дефлекторов, открывающихся аэрационных проемов,механизмов для регулирования площади аэрационных проемов. Необходимо такжепроверить соответствие высоты расположения приточных аэрационных проемовтребованиям проекта, а также наличие в цехе инструкции по управлению аэрацией;

б) после устранения замеченных дефектоваэрации следует измерить температуру и скорость движения воздуха в рабочей зонепомещения; определить наличие в воздухе рабочей зоны вредных паров, газов ипыли.

Измерения следует проводить в самый жаркийи самый холодный месяцы года. Особое внимание следует обращать на температуру иподвижность воздуха в местах внедренияаэрационных струй и работу зоны в переходный и холодный периоды года;

в) есливеличины указанных параметров воздуха рабочая зона находятся в пределахтребований ГОСТ, следует считать систему естественной вентиляции в данном производственномпомещении эффективной.

При несоблюдении нормированных значений параметров воздушной средыследует провести инструментальное обследование систем аэрации;

г) если расхождение фактическойпроизводительности аэрации и проектной не превышает ±15%, но параметры воздушной среда не удовлетворяют требованиямсанитарных норм, то естественная вентиляция оценивается какнеудовлетворительная, и представительорганов санитарно-эпидемиологической службы должен составить предписание, онеобходимости изменения проекта вентиляции (изменения площадей и расположенияприточных и вытяжных проемов, изменение регламентов и систем регулирования площади проемов, установка дополнительныхместных отопительных или охлаждающих приборов и т.д.)

3.9. Основным параметром, определяемымпри инструментальном обследовании естественной вентиляции (аэрации), являетсявоздухообмен, который подсчитывается суммированием расходов воздуха (раздельнопо притоку или по вытяжке) через аэрационные, транспортные и монтажные проемыобследуемого помещения. При этом следует учитывать также приток, поступающийчерез открытые проемы ворот помещения.

3.10. При определении производительностиестественной вентиляции измерение скоростей воздуха в аэрационных проемахследует проводить не менее, чем в трех поперечных сечениях, проходящих поцентрам участков с различной теплонапряженностью, на которые условно делятся производственноепомещение. В аэрационных проемах приходящихся на эти сечения(или находящиеся в непосредственнойблизости от них), скорость воздуха должна измеряться на трех уровнях: на высоте рабочей зоны, на половине высоты помещенияи в верхней его части. Измерения должныпроводиться не менее трех раз.

3.11. В процессе измерения расхода через тот или иной проем необходимо учитыватьнаправление движения воздуха - в помещение (проем работает на приток) или изнаго (проем работает на вытяжку), поскольку один и тот же проем в зависимостиот направления в силы ветра, цикла технологического процесса и т.п. можетработать либо на приток; либо на вытяжку. Для определения направления ивоздушных потоков в аэрационныхпроемах, а также мест внедрения приточных аэрационных струй в рабочую зону,следует использовать - специальные средства наблюдения воздушных потоков -дымари, щупы с шелковинками и др.

3.12. По результатам измерения скоростейвычисляется средняя величина скорости для каждого уровня на обеих сторонахпомещения и вычисляется суммарная площадь открытых аэрационных проемов. Объемыприточного или удаляемого аэрацией воздуха выделяются с учетом суммарной площади проемов и средней скорости воздуха по формуле (2.3) на соответствующем уровне. Затемсуммируются объемы раздельно притока и вытяжки по всем уровням и определяетсяобщая производительность аэрации. Величины кратностей воздухообменов по притокуи вытяжке определяются по формуле (3.1).

3.13. При оценке исправности иэффективности работы аэрационных проемов следует обращать внимание наокружающую данное помещение застройку, поскольку нормальная работа аэрационныхпроемов может нарушаться сооружениями или соседними помещениями, примыкающими квнешней стороне аэрируемого здания, а также близко расположенными устройствами для выброса вредных веществ ватмосферу.

В. Местные отсосы

3.14. Оценку санитарно-гигиенической эффективности местных отсосов следуетпроводить в следующем порядке:

а) убедиться в исправности производственного оборудования и элементов вытяжнойвентиляции, а также в нормальномходе технологического процесса;

б) определить содержаниевредных веществ в рабочей зоне нарабочих местах лиц, обслуживающих данное производственное оборудование;

в) если концентрация вредныхвеществ не превышает предельно допустимых значений, то данный местный отсосоцениваемся как элективный;

г) если концентрация вредныхвеществ в рабочей зоне превышает предельно допустимые, то необходимо провестиинструментальное обследование работы местного отсоса;

д) после инструментальныхобследований местного отсоса следует провести сравнение фактических егопараметров (производительности, разрежения в укрытии, скоростей воздуха впроемах или плотностях,скоростей всасывания на заданных расстояниях от отсоса и других величин,являющихся определяющими для расчета данного типа местного отсоса) с ихпроектными значениями. Проектные или расчетные величины, как правило, заданы впаспортах местных отсосов, либо в рабочем проекте цеха, либо в нормахпроектирования и в справочной литературе;

е) при несоответствии фактическиххарактеристик местного отсоса проектным величинам следует составить заданиевентслужбе завода о доведении характеристик отсоса до проектных значений;увеличить производительность отсоса, изменить его размеры и форму, изменить его расположениеотносительно источника вредностей и т.п.

После внесенияизменений и доведения характеристик местного отсоса до проектных величинследует провести повторную оценку его гигиенической, эффективности;

ж) еслифактические характеристики местного отсоса соответствуют проектным величинам,но содержание вредных веществ в рабочей зоне превышает ЦДК, то данныйотсос оценивается как неэффективный. В этом случае представитель службысанитарного надзора должен составить предписание о необходимости измененияпроекта местного отсоса.

3.15.Приналичии в помещении с исследуемым местным отсосом другого технологическогооборудования, выделяющего те же вредные примеси, что и оборудование с даннымместным отсосом, следует одновременно с отбором проб на рабочем месте уместного отсоса определять фоновую концентрацию примеси в помещении. Фоновыеконцентрации следует определять также в приточном воздухе и в открытых проемахв .смежные производственные помещения.

Средняя величина фоновой концентрациидолжна вычитаться из концентрации примеси на постоянных рабочих местах вблизиместных отсосов. Если фоновая концентрация превышает величину предельнодопустимой более чем на 30%, то оценка санитарно-гигиенической эффективностиместного отсоса недопустима. Следует изолировать испытываемое оборудование сместным отсосом в отдельное помещение, либо поместить его в легкий каркас изполиэтиленовой пленки, крафт-бумаги, фанера и др. В ряде случаев (привозможности) следует отключать все другие источники вредных выделений на времяиспытаний оборудования с исследуемым местным отсосом.

3.16.Объем инструментальных обследований местных отсосов в первую очередь зависит оттипа исследуемого отсоса.

а) В местных отсосах закрытого типаисточник выделения вредных веществ отделен от помещения жесткими стенкамиукрытия, бокса, кабины или камеры. Местные отсосы закрытого типа сообщаются сокружающей средой помещения либо, через неплотности в щелях и местах соединенияукрытия с оборудованием, либо через периодически открывающиеся створки, окнакапсуляции, транспортные проемы, либо через постоянно открытые рабочие проемы.Находясь в помещении вне укрытия (местного отсоса) рабочий через створки ипроемы осуществляет наблюдение и ведение технологического процесса внутризакрытого объема.

б) В местных отсосах отбытого типаисточник вредных выделений по своим габаритам, из-за наличия движущихся частей,по технологическим причинам не монет быть отделен от помещения жесткимистенками укрытия, вследствие чего источник вредных выделений расположеноткрыто, а местный отсос находится на некотором расстоянии от источника. В этомслучае подвижность окружающей среды в помещении может активно воздействовать напоток вредных веществ, образующихся у источника,разносить вредности по помещению и тем самым снижать эффективность местногоотсоса открытого типа.

в) Для повышения эффективности местныхотсосов открытого типа и создания устойчивых условий их работы, не зависящих отподвижности окружающей среды цеха, используются активирующие приточные струи ивоздушно-струйные укрытия источников вредных выделений. Активирующие струислужат для создания направленного движения вредных примесей в сторону местногоотсоса. Воздушно-струйные укрытия позволяют отделить открытый источник вредныхвыделений от помещения с помощью системы одинарных или сдвоенных плоских иликольцевых струй, расположенных по периметру источника. Система приточных струйвокруг источника снижает воздействие неорганизованных воздушных потоков,имеющихся в помещении,одновременно защищая зону дыхания работающего от вредных веществ.

3.17. Для местных отсосовзакрытого типа инструментальное обследование может включать в себя (взависимости от конструкции местного отсоса) определение следующих величин:

а) объем удаляемого местнымотсосом воздуха Zм (измерения проводятся в отводящем воздуховоде);

б) длина и ширина неплотностейукрытия (для вычисления суммарной площади щелей -∑Fщ );

в) разрежение в укрытии ΔР;

г) скорости воздуха Vср, воткрытых рабочих и. транспортных проемах, створках капсуляции;

д) коэффициент, потерьдавления ξ местного отсоса (измеренияпроводятся в отводящем воздуховоде);

е) температура газов tr выделяющихся отисточника в укрытии или в шкафу;

ж) количество тепла W выделяемоеисточником в укрытии, или в шкафу.

3.18. Для местных отсосовоткрытого типа при их инструментальном обследовании могут определятьсяследующие величины:

а) объем Zмудаляемого местным отсосом воздуха (измерение проводится в отводящем воздуховоде);

б) средняя скорость всасывания Vср вплоскости всасывающего отверстиязонта, решетки, панели и т.п.;

в) температура поверхности tповисточника тепла;

г) количество тепла W выделяемоеисточником в помещение;

д) скорость всасывания Vхсоздаваемая местным отсосом в зоне выделения вредностей;

е) окружная скорость Vокрвращающегося элемента стояка или машины, оборудованной местным отсосом в видекожуха или воронки;

ж) коэффициент потерь давленияξ местного отсоса (определяется в отводящемвоздуховоде);

з) объем воздуха Zперподаваемый в передувку или воздушно-струйное укрытие (измеряется в подводящемвоздуховоде);

и) скорость воздушного потока Vкp вкритическом сечения на оси системы струя-отсос.

3.19. При наличии в обследуемом помещениинескольких однотипных местных отсосов от одинаковых машин, агрегатов, реакторови т.п. инструментальному контролю подвергается не менее 10% общего количестваодинаковых местных отсосов. При этом перед началом работы следует по паспортнымданным и результатам осмотра убедиться в идентичности геометрических размеров ипроизводительности (или скорости воздушного потока в рабочем сечении) всеходнотипных местных отсосов, а также в одинаковом их положении относительноисточника вредных выделений. В случае последовательного объединения однотипныхместных отсосов в общую вентиляционную систему для контроля выбираются крайниеи средний местные отсосы одной системы.

3.20. При наличии в обследуемом помещениинескольких разнотипных местных отсосов от различных видов технологическогооборудования следует выбирать для инструментального контроля местные отсосы,предназначенные для удаления наиболее токсичных веществ, либо отсосы отоборудования, выделяющего наибольшее количество вредных веществ, либо отсосы отоборудования нагретого или находящегося под наибольшим избыточным давлением.

3.21. Целесообразно при инструментальномобследовании местных отсосов применять визуализацию воздушных потоков с помощьюшелковинок и дымарей с целью выявления картины подтекания воздуха к неплотностям укрытий или к воздухоприемному отверстию местногоотсоса в оценки правильности выбора его конструкция, размеров и расположенияместного отсоса относительно источника выделения вредных веществ, а такжевлияния возможного нарушения работы отсоса действием приточных вентиляционныхструй.

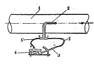
Рис.1.Схема присоединения пневмометрической трубки к микроманометру при измерениидинамического давления в воздуховоде:

1 -воздуховод нагнетательный или всасывающий, 2 - пневмометрическая трубка, 3.-наклонная трубка микроманометра, 4 - резервуар микроманометра, 5 - резиновыешланги.

Рис. 2. График поправочных коэффициентов навеличину расхода, воздуха по воздуховоду при измерении по методу равноотстоящихточек:

1 - для таллических воздуховодов, 2 - длявоздуховодов из строительных конструкции.

- при 100мм ≤Д ≥ 300мм

- при Д > 300мм

Рис. 3. Координатыточек измерения давлений и скоростей в воздуховодах цилиндрического сечения.

- при 100мм ≤ в ≥ 200мм

- при в ≥ 200мм

Рис.4. Координаты точек измерения давлений и скоростей в воздуховодах прямоугольного сечения.

а) при измерении остаточного давления

б) при измерении полного давления

Рис. 5 Схемы присоединенияпневмометрической трубки к микроманометру при определении напора, развиваемоговентилятором.

Приложение 1
ТЕРМИНЫ И ОПРЕДЕЛЕНИЯ

1. Вентиляция - организованнывоздухообмен, способствующий поддержанию требуемых гигиенических итехнологических параметров воздуха, а также - комплекс технических средств дляреализации воздухообмена.

2. Вентиляцияаварийная-вентиляция механическая, предназначенная для ускоренного удалениявредностей, поступающих в воздух помещения при аварийных ситуациях.

3. Вентиляция вытяжная местная(местные отсосы) - вентиляция, предназначенная для удаления загрязненноговоздуха непосредственно от источников вредных выделений.

4. Вентиляция вытяжнаяобщеобменная - вентиляция, предназначенная для удаления загрязненного воздухаиз всего объема помещения.

5. Вентиляция локализующая - вентиляцияместная механическая вытяжная или приточная, предотвращающая распространениевредностей по объему помещения.

6. Вентиляция механическая -воздухообмен, осуществляемый при помощи специальных побудителей тяги(вентиляторов, компрессоров, насосов, эжекторов), а также - комплекстехнических средств для реализации такого воздухообмена.

7. Вентиляция приточнаяместная - вентиляция механическая, предназначенная для подачи воздуха наопределенный участок рабочей зоны либо на определенное рабочее место.

8. Вентиляция приточнаяобщеобменная - вентиляция механическая, предназначенная для подачи воздуха впомещение.

9. Вентиляция естественная(аэрация) – воздухообмен, осуществляемый либо под действием разности удельныхвесов (температур) наружного и внутреннего воздуха, либо под влиянием ветра,либо совместным их действием, а также - комплекс технических средств дляреализации такого воздухообмена.

10. Вентиляционный агрегат (вентагрегат)- вентилятор с электродвигателем (может быть оснащен направляющим и спрямляющимаппаратами и регулирующими устройствами), установленный на общей раме,снабженной виброизолирующими устройствами.

11. Вентиляционная система (вентсистема)- вентилятор или вентагрегат с сетью воздуховодов, оборудованныхвоздухоразделяющими или воздухоприемными устройствами, который может быть снабжентакже устройствами для регулирования, контроля, тепловлажностной обработки и очистки воздуха.

12. Воздухообмен - удаление и подачавоздуха, организуемые действием естественной и механической вентиляции, впроизводственном помещении.

13. Воздухораспределитель -(воздухораздающее устройство, приточный насадок, приточный патрубок) -устройство, предназначенное для формирования приточной вентиляционной струи сцелью обеспечения требуемых параметров воздушной среды в рабочей зоне.

14. Воздушная (воздушно-тепловая) завеса- плосткостныхприточных струй, предназначенная для предотвращения поступлениянаружного воздуха через открытый проем ворот в помещение, либо перетеканиявоздуха из одного помещения в другое.

15. Воздушный душ - струя приточного воздуха, направленная нарабочего с целью предупреждения его перегрева (см.п.7).

16. Встроенный местный отсос -элемент местной вытяжной вентиляция, который конструктивно входит втехнологическое оборудование и поставляется вместе с ним.

17. Вытяжная шахта - вертикальныйоткрытый капан, выступающий над кровлей, предназначенный для удаления воздухаиз помещения либо под действием разности температур наружного и внутреннеговоздуха, либо под влиянием ветра, либо совместным их действием.

18. ДЕФЛЕКТОР - вытяжная шахтас оголовком специальной формы, обеспечивающим наиболее эффективное удалениевоздуха из помещения под совместным действием теплового и ветрового напоров.

19.Зона дыхания - пространствов радиусе до 0,5 мот лица работающего.

20. Калорифер - теплообменник,предназначенный для передачи тепла от теплоносителя к воздуху в системахотопления и приточной вентиляции.

21. Кондиционирование воздуха -специальная обработка приточного воздуха (очистка, подогрев или охлаждение,увлажнение или сушка и др.) с целью создания и автоматического поддержаниязаданных параметров воздушной среды в помещении, а также комплекс техническихсредств, обеспечивающих указанный процесс.

22. Кратность воздухообмена -отношение часового объема удаляемого или подаваемого воздуха к строительномуобъему помещения.

23. Микроклимат - условия впомещении, характеризуемые сочетанием следующих параметров производственнойсреды, действующих на организм человека: температура воздуха, относительнаявлажность или влагосодержание воздуха, подвижность воздуха, температураповерхностей ограждений и технологического оборудования.

24. Отопление - обеспечениетребуемого, температурного режима в помещении с помощью комплекса инженерногооборудования.

25. Отопление воздушное -система отопления, в которой теплоносителем служит нагретый воздух, подаваемыйнепосредственно в отапливаемое помещение.

26.Отопление воздушное, совмещенное с вентиляцией - система отопления, в которойтеплоносителем служит нагретый приточный воздух, используемый одновременно для общеобменнойвентиляции.

27.Подпор (разрежение) - избыточное (недостаточное) по сравнению с соседнимипомещениями иди атмосферой давление воздуха в производственном помещении,создаваемое средствами вентиляции путем превышения объема притока над вытяжкой(превышения вытяжки над притоком).

28. Пылегазоочистныеустройства - оборудование для очисткитехнологических и вентиляционных выбросов.

29. Пылеуловители - устройствадля очистки запыленных воздушных выбросов.

30. Рабочая зона -пространство высотой до 2 мнад уровнемпола или площадки, в котором находятся постоянные или временные рабочие места.

31. Рециркуляция - полный иличастичный возврат в помещение воздуха, удаляемого вытяжной вентиляцией.

32. Теплонапряженность - избыточное завычетом теплопотерь количество явного тепла, поступающего в помещение заединицу времени от технологического оборудования, изделий, освещения, людей исолнечной радиации, отнесенное к объему производственного помещения.

33. Фильтры воздушные - устройства дляочистки от пыли наружного илирециркуляционного воздуха, подаваемого в помещение системами приточнойвентиляции и кондиционирования воздуха.