Меню
Навигация
Novatika
Novatika
Первая линия

Карты операционного контроля качества. Часть 1. Монтаж сборных железобетонных конструкций

Карты операционного контроля качества предназначены для линейных инженерно-технических работников и бригадиров, а также могут быть использованы сотрудниками технадзора Заказчика и другими лицами, осуществляющими контроль качества строительно-монтажных работ

Обозначение: 135-06
Название рус.: Карты операционного контроля качества. Часть 1. Монтаж сборных железобетонных конструкций
Статус: не установлен срок действия
Дата актуализации текста: 05.05.2017
Дата добавления в базу: 01.09.2013
Дата введения в действие: 05.06.2006
Утвержден: 05.06.2006 ОАО ПКТИпромстрой (PKTIpromstroy OAO )
Ссылки для скачивания:

Открытое акционерное общество

Проектно-конструкторский и технологический институт
промышленного строительства

ОАО ПКТИпромстрой

 

 

 

 

 

УТВЕРЖДАЮ

 

 

Генеральный директор, к.т.н.

_____________ С.Ю. Едличка

«05» 06 2006 г.

 

КАРТЫ ОПЕРАЦИОННОГО КОНТРОЛЯ КАЧЕСТВА

Часть 1

МОНТАЖ СБОРНЫХ
ЖЕЛЕЗОБЕТОННЫХ КОНСТРУКЦИЙ

135-06

 

Главный инженер

___________ А.В. Колобов

Начальник лаборатории

___________ Б.И. Бычковский

2006

 

ОБЩАЯ ЧАСТЬ

Качество строительно-монтажных работ характеризуется степенью их соответствия требованиям проектов и нормативных документов. Любое отклонение от этих требований должно быть своевременно обнаружено и исправлено, чего можно добиться только при организации повседневного операционного контроля качества в процессе выполнения работ и по завершении операций. Операционный контроль качества строительно-монтажных работ осуществляется производителем работ и мастером с привлечением в необходимых случаях представителей специализированных строительных лабораторий.

Основными задачами операционного контроля качества выполнения строительно-монтажных работ являются.

- соответствие последовательности и состава выполняемых технологических операций технологической и нормативной документации, распространяющейся на данные технологические операции;

- соблюдение технологических режимов, установленных технологическими картами и регламентами;

- соответствие показателей качества выполнения операций и их результатов требованиям проектной и технологической документации, а также распространяющейся на данные технологические операции нормативной документации.

Места выполнения контрольных операций, их частота, исполнители, методы и средства измерений, формы записи результатов, порядок принятия решений при выявлении несоответствий установленным требованиям должны соответствовать требованиям проектной, технологической и нормативной документации.

Результаты операционного контроля качества должны быть документированы.

Все выявленные в ходе операционного контроля дефекты должны быть устранены до начала последующих операций (работ). Операционный контроль должен вестись в соответствии с требованиями проектной, организационно-технологической и нормативной документации. Основными документами операционного контроля качества являются карты операционного контроля. Они должны постоянно находиться на строящихся объектах у руководителя стройки и предъявляться по требованию лиц, контролирующих качество работ. В них указаны обязанности должностных лиц при осуществлении операционного контроля. Если работы на объекте возглавляет один руководитель (прораб или мастер), то он выполняет все контрольные функции, указанные в картах операционного контроля.

Карты операционного контроля качества предназначены для линейных инженерно-технических работников и бригадиров, а также могут быть использованы сотрудниками технадзора Заказчика и другими лицами, осуществляющими контроль качества строительно-монтажных работ.

Карты операционного контроля качества при монтаже конструкций разработаны сотрудниками лаборатории совершенствования организации и технологии строительства (отдел 41) ОАО ПКТИпромстрой Бычковским Б.И. и Савиной О.А.

Контактный телефон (495) 614-14-72; факс (495) 614-95-53, E-mail: pkti@co.ru; http://www.pkti.co.ru.

 

СОДЕРЖАНИЕ

Общая часть. 1

Карта операционного контроля качества при монтаже крупноблочных ленточных фундаментов. 3

Карта операционного контроля качества при монтаже плит ленточных фундаментов. 5

Карта операционного контроля качества при монтаже фундаментов стаканного типа. 7

Карта операционного контроля качества при монтаже железобетонных фундаментов под колонны.. 9

Карта операционного контроля качества при монтаже блоков стен подвалов. 10

Карта операционного контроля качества при монтаже железобетонных колонн. 12

Карта операционного контроля качества при монтаже ригелей. 14

Карта операционного контроля качества монтажа при монтаже наружных стеновых панелей. 16

Карта операционного контроля качества монтажа при монтаже внутренних стеновых панелей. 18

Карта операционного контроля качества при монтаже лестничных маршей. 20

Карта операционного контроля качества при монтаже плит перекрытия (покрытия) 21

Карта операционного контроля качества при монтаже железобетонных ферм и балок. 23

Карта операционного контроля качества при монтаже железобетонных подкрановых балок. 25

Карта операционного контроля качества при монтаже вентиляционных блоков. 28

Карта операционного контроля качества при монтаже элементов шахты лифта. 29

Карта операционного контроля качества при монтаже санитарно-технических кабин. 31

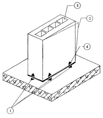
КАРТА ОПЕРАЦИОННОГО КОНТРОЛЯ КАЧЕСТВА ПРИ МОНТАЖЕ КРУПНОБЛОЧНЫХ ЛЕНТОЧНЫХ ФУНДАМЕНТОВ

Предельные отклонения при монтаже крупноблочных ленточных фундаментов принять в соответствии с требованиями СНиП 3.03.01-87:

1. Отклонение от совмещения установочных ориентиров фундаментных блоков с рисками разбивочных осей                                                12 мм.

2. Отклонение отметок опорных поверхностей фундаментов:

- до устройства выравнивающего слоя                       -20 мм.

- после устройства выравнивающего слоя                 ± 5 мм.

Лица, осуществляющие контроль качества

Операции, подлежащие контролю

Состав контроля

Способ контроля

Время контроля

Лица, привлекаемые к контролю

Актируемые работы

Производитель работ

Подготовительные работы

Определение состояния грунтов

Визуально

До начала монтажа

 

+

Правильность расположения котлована относительно разбивочного чертежа, надежность крепления, отметка дна котлована

Визуально, с помощью нивелира и рулетки

До начала монтажа

Геодезист

+

Отметка верха песчаной или гравийной подушки

С помощью нивелира

До начала монтажа

Геодезист

+

Правильность складирования плит

Визуально

До начала монтажа

 

 

Разбивка осей фундаментов

Точность определения положения углов здания, соответствие проекту расстояний между осями сборных фундаментов

С помощью теодолита и рулетки

До начала монтажа

Геодезист

 

Установка фундаментных блоков

Правильность и надежность строповки

Визуально

В процессе установки

 

 

Точность установки фундаментных блоков

С помощью уровня и отвеса

В процессе установки

 

 

Плотность опирания и примыкания

Визуально

 

 

Соответствие отметок проектным

С помощью нивелира

После установки блоков

Геодезист

 

Мастер

Подготовительные работы

Достаточность размеров котлованов

С помощью рулетки

До начала монтажа

 

 

Толщина песчаной или гравийной подушки, качество ее уплотнения

Визуально, с помощью стального метра

До начала монтажа

 

+

Очистка фундаментных блоков от грязи, зимой от снега

Визуально

До начала монтажа

 

 

Наличие паспортов на железобетонные конструкции; соответствие геометрических размеров блоков проекту; наружные дефекты

Визуально, с помощью стального метра, рулетки

До начала монтажа

 

 

Разбивка осей фундамента

Правильность натяжения осей, точность перенесения осей на блоки фундаментов

С помощью теодолита

До начала монтажа

Геодезист

 

Установка фундаментных блоков

Соответствие технологии монтажа технологической карте

Визуально

В процессе установки

 

 

КАРТА ОПЕРАЦИОННОГО КОНТРОЛЯ КАЧЕСТВА ПРИ МОНТАЖЕ ПЛИТ ЛЕНТОЧНЫХ ФУНДАМЕНТОВ

Предельные отклонения при монтаже плит ленточных фундаментов принять в соответствии с требованиями СНиП 3.03.01-87:

1. Отклонение от совмещения установочных ориентиров фундаментных плит с рисками разбивочных осей                                                12 мм.

2. Отклонение отметок опорных поверхностей плит:

- до устройства выравнивающего слоя                       -20 мм.

- после устройства выравнивающего слоя                 ± 5 мм.

Лица, осуществляющие контроль качества

Операции, подлежащие контролю

Состав контроля

Способ контроля

Время контроля

Лица, привлекаемые к контролю

Актируемые работы

Производитель работ

Подготовительные работы

Определение состояния грунтов

Визуально

До начала монтажа

 

+

Правильность расположения котлована относительно разбивочного чертежа, надежность крепления, отметка дна котлована

Визуально, с помощью нивелира и рулетки

До начала монтажа

Геодезист

+

Отметка верха песчаной или гравийной подушки

С помощью нивелира

До начала монтажа

Геодезист

+

Правильность складирования плит

Визуально

До начала монтажа

 

 

Разбивка осей фундаментов

Точность определения положения углов здания, соответствие проекту расстояний между осями сборных фундаментов

С помощью теодолита и рулетки

До начала монтажа

Геодезист

 

Установка фундаментных плит

Правильность и надежность строповки

Визуально

В процессе установки

 

 

Точность установки фундаментных плит.

С помощью уровня и отвеса

В процессе установки

 

 

Плотность опирания и примыкания

Визуально

 

 

 

Соответствие отметок проектным

С помощью нивелира

После установки блоков

Геодезист

 

Мастер

Подготовительные работы

Достаточность размеров котлованов

С помощью рулетки

До начала монтажа

 

 

Толщина песчаной или гравийной подушки, качество ее уплотнения

Визуально, с помощью стального метра

До начала монтажа

 

+

Очистка фундаментных плит от грязи, зимой от снега

Визуально

До начала монтажа

 

 

Наличие паспортов на железобетонные конструкции, соответствие геометрических размеров плит проекту; наружные дефекты

Визуально, с помощью стального метра, рулетки

До начала монтажа

 

 

Разбивка осей фундамента

Правильность натяжения осей, точность перенесения осей на плиты фундаментов

С помощью теодолита

До начала монтажа

Геодезист

 

Установка фундаментных плит

Соответствие технологии монтажа технологической карте

Визуально

В процессе установки

 

 

КАРТА ОПЕРАЦИОННОГО КОНТРОЛЯ КАЧЕСТВА ПРИ МОНТАЖЕ ФУНДАМЕНТОВ СТАКАННОГО ТИПА

Предельные отклонения от совмещения ориентиров при монтаже фундаментов стаканного типа принять в соответствии с требованиями СНиП 3.03.01-87:

1. Отклонение от совмещения установочных ориентиров фундаментов стаканного типа с рисками разбивочных осей                                               12 мм.

2. Отклонение отметок опорной поверхности дна стаканов фундаментов от проектных:

- до устройства выравнивающего слоя по дну стакана       -20 мм;

- после устройства выравнивающего слоя по дну стакана ± 5 мм.

Лица, осуществляющие контроль качества

Операции, подлежащие контролю

Состав контроля

Способ контроля

Время контроля

Лица, привлекаемые к контролю

Актируемые работы

Производитель работ

Подготовительные работы

Определение состояния грунтов

Визуально

До начала монтажа

 

+

Правильность расположения котлована относительно разбивочного чертежа, надежность крепления, отметка дна котлована

Визуально, с помощью нивелира и рулетки

До начала монтажа

Геодезист

+

Отметка верха песчаной или гравийной подушки

С помощью нивелира

До начала монтажа

Геодезист

+

Правильность складирования фундаментов стаканного типа

Визуально

До начала монтажа

 

 

Разбивка осей фундаментов

Точность определения положения углов здания, соответствие проекту расстояний между осями сборных фундаментов

С помощью теодолита и рулетки

До начала монтажа

Геодезист

 

Установка фундаментных блоков

Правильность и надежность строповки

Визуально

В процессе установки

 

 

Точность установки фундаментных блоков.

С помощью уровня и отвеса

В процессе установки

 

 

Плотность опирания и примыкания

Визуально

 

 

Соответствие отметок проектным

С помощью нивелира

После установки блоков

Геодезист

 

Мастер

Подготовительные работы

Достаточность размеров котлованов

С помощью рулетки

До начала монтажа

 

 

Толщина песчаной или гравийной подушки, качество ее уплотнения

Визуально, с помощью стального метра

До начала монтажа

 

+

Очистка фундаментных блоков от грязи, зимой от снега

Визуально

До начала монтажа

 

 

Наличие паспортов на железобетонные конструкции; соответствие геометрических размеров блоков проекту; наружные дефекты

Визуально, с помощью стального метра, рулетки

До начала монтажа

 

 

Разбивка осей фундамента

Правильность натяжения осей, точность перенесения осей на блоки фундаментов

С помощью теодолита

До начала монтажа

Геодезист

 

Установка фундаментных блоков

Соответствие технологии монтажа технологической карте

Визуально

В процессе установки

 

 

КАРТА ОПЕРАЦИОННОГО КОНТРОЛЯ КАЧЕСТВА ПРИ МОНТАЖЕ ЖЕЛЕЗОБЕТОННЫХ ФУНДАМЕНТОВ ПОД КОЛОННЫ

Предельные отклонения при монтаже железобетонных фундаментов под колонны приняты в соответствии с требованиями СНиП 3.03.01-87:

1. Отклонение от совмещения установочных ориентиров стаканов фундаментов с рисками разбивочных осей                                                         ± 12 мм.

2. Отклонение отметок опорной поверхности дна стаканов фундаментов от проектных:

- до устройства выравнивающего слоя по дну стакана       -20 мм;

- после устройства выравнивающего слоя по дну стакана ± 5 мм.

Лица, осуществляющие контроль качества

Операции, подлежащие контролю

Состав контроля

Способ контроля

Время контроля

Лица, привлекаемые к контролю

Актируемые работы

Производитель работ

Подготовительные работы

Подготовка основания под фундаменты, его состояние, размеры, отметки, защита от промерзания зимой

С помощью нивелира, стального метра, рулетки

До начала монтажа

Геодезист

+

Размеры котлованов, правильность их расположения и надежность крепления стенок котлована, отметки дна котлована

Визуально, с помощью нивелира, рулетки, отвеса

До начала монтажа

 

+

Отметка верха основания и горизонтальность подушки

С помощью нивелира

До начала монтажа

Геодезист

+

Боковая гидроизоляция фундаментных блоков

Качество изоляции

Визуально

После монтажа

 

+

Мастер

Подготовительные работы

Толщина песчаной или гравийной подушки и качество ее уплотнения

Визуально, с помощью стального метра

До начала монтажа

 

 

Очистка от грязи, зимой от снега и наледи

Визуально

До начала монтажа

 

 

Проверка геометрических размеров блоков, дефекты

Визуально, с помощью стального метра

До начала монтажа

 

 

Сопоставление паспортных данных железобетонных конструкций с проектными

Визуально, с помощью стального метра, рулетки

До начала монтажа

 

 

Установка контрольных визирок по осям фундаментов

Соответствие проекту перенесенных на дно котлована осей. Точность положения верха контрольных визирок.

С помощью теодолита, нивелира

До начала монтажа

 

 

Установка и выверка блоков

Точность установки, соответствие проектным отметкам и осям

С помощью нивелира, отвеса

Во время монтажа

Геодезист

 

КАРТА ОПЕРАЦИОННОГО КОНТРОЛЯ КАЧЕСТВА ПРИ МОНТАЖЕ БЛОКОВ СТЕН ПОДВАЛОВ

Предельные отклонения при монтаже блоков стен подвалов принять в соответствии с требованиями СНиП 3.03.01-87:

1. Отклонение от совмещения установочных ориентиров блоков стен подвала с рисками разбивочных осей                                                12 мм.

2. Отклонения отметок опорных поверхностей блоков стен подвала:

- до устройства выравнивающего слоя                       - 20 мм;

- после устройства выравнивающего слоя                 ± 5 мм.

3. Отклонение от совмещения ориентиров (рисок геометрических осей, граней) в нижнем сечении установленных блоков с установочными ориентирами (рисками геометрических осей или гранями нижележащих элементов, рисками разбивочных осей) фундаментов и ранее установленных блоков стен подвалов 8 мм.

4. Подвижность раствора по глубине погружения стандартного конуса 5 - 7 см.

Лица, осуществляющие контроль качества

Операции, подлежащие контролю

Состав контроля

Способ контроля

Время контроля

Лица, привлекаемые к контролю

Актируемые работы

Производитель работ

Подготовительные работы

Определение состояния грунтов

Визуально

До начала монтажа

 

+

Правильность расположения котлована относительно разбивочного чертежа, надежность крепления

Визуально, с помощью нивелира и рулетки

До начала монтажа

Геодезист

+

Отметка верха фундаментных блоков или плит

С помощью нивелира

До начала монтажа

Геодезист

+

Правильность складирования блоков

Визуально

До начала монтажа

 

 

Разбивка осей фундаментов

Точность определения положения углов здания, соответствие проекту расстояний между осями сборных фундаментов

С помощью теодолита и рулетки

До начала монтажа

Геодезист

 

Установка блоков стен подвала

Правильность и надежность строповки

Визуально

В процессе установки

 

 

Точность установки блоков стен подвала.

С помощью уровня и отвеса

В процессе установки

 

 

Плотность опирания и примыкания

Визуально

 

 

 

Соответствие отметок проектным

С помощью нивелира

После установки блоков

Геодезист

 

Мастер

Подготовительные работы

Достаточность размеров котлована

С помощью рулетки

До начала монтажа

 

 

Очистка блоков стен подвала от грязи, зимой от снега

Визуально

До начала монтажа

 

 

Наличие паспортов на железобетонные конструкции; соответствие геометрических размеров блоков проекту; наружные дефекты

Визуально, с помощью стального метра, рулетки

До начала монтажа

 

 

Разбивка осей фундамента

Правильность натяжения осей, точность перенесения осей на блоки стен подвала

С помощью теодолита

До начала монтажа

Геодезист

 

Установка блоков стен подвала

Соответствие технологии монтажа технологической карте

Визуально

В процессе установки

 

 

КАРТА ОПЕРАЦИОННОГО КОНТРОЛЯ КАЧЕСТВА ПРИ МОНТАЖЕ ЖЕЛЕЗОБЕТОННЫХ КОЛОНН

Предельные отклонения при монтаже железобетонных колонн в соответствии с требованиями СНиП 3.03.01-87 не должны превышать:

1. Разность отметок верха колонн или их опорных площадок (кронштейнов, консолей) одноэтажных зданий и сооружений при длине колонн в м:

- до 4                                                                                14 мм;

- св. 4 до 8                                                                        16 мм;

- св. 8 до 16                                                                      20 мм;

- св. 16 до 25                                                                    24 мм.

2. Разность отметок верха колонн каждого яруса многоэтажного здания и сооружения в пределах выверяемого участка при:

- контактной установке                                         12 + 2n мм,

где n - порядковый номер яруса колонн;

- установке по маякам                                                   10 мм.

3. Отклонение от совмещения ориентиров (рисок геометрических осей) в верхнем сечении колонн многоэтажных зданий с рисками разбивочных осей при длине колонн, м:

- до 4                                                                                12 мм;

- св. 4 до 8                                                                        15 мм;

- св. 8 до 16                                                                      20 мм,

- св. 16 до 25                                                                    25 мм.

Лица, осуществляющие контроль качества

Операции, подлежащие контролю

Состав контроля

Способ контроля

Время контроля

Лица, привлекаемые к контролю

Актируемые работы

Производитель работ

Подготовительные работы

Правильность складирования колонн

Визуально

До начала монтажа

 

 

Подготовка мест установки колонн

Отметка дна стакана фундамента

С помощью нивелира

До начала монтажа

Геодезист

+

Установка колонн

Надежность строповки; вертикальность установки; соосность; отметки опорных площадок; временное крепление

Визуально, с помощью нивелира, с помощью теодолита

В процессе монтажа

Геодезист

 

Приварка металлических деталей

Качество сварных швов

Визуально

В процессе монтажа

В случае необходимости лаборатория

+

Антикоррозийная защита металлических деталей

Качество нанесения антикоррозийного слоя

Визуально

В процессе монтажа

В случае необходимости лаборатория

+

Замоноличивание колонн

Тщательность замоноличивания

Визуально

В процессе монтажа

 

+

Мастер

Подготовительные работы (прием конструкций)

Наличие паспортов, чертежей, геометрические размеры, внешние дефекты, нанесение разбивочных осей, рисок, размеры площадок опирания, правильность расположения закладных деталей

Визуально, с помощью стального метра

До начала монтажа

 

 

Подготовка мест установки колонн

Очистка стаканов, размеры стакана фундамента; наличие рисок на фундаменте

Визуально, с помощью стального метра

До начала монтажа

 

 

Установка монтажной оснастки

Точность фиксирования оснастки

Визуально

В процессе монтажа

 

 

Приварка металлических деталей

Соответствие проекту; марка электродов; размеры швов

Визуально

В процессе монтажа

Лаборатория

 

Замоноличивание колонн в фундаментах

Марка, консистенция бетонной смеси, тщательность уплотнения

Визуально, с помощью стандартного конуса

В процессе монтажа

Лаборатория

 

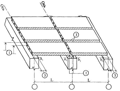
КАРТА ОПЕРАЦИОННОГО КОНТРОЛЯ КАЧЕСТВА ПРИ МОНТАЖЕ РИГЕЛЕЙ

Предельные отклонения при монтаже ригелей в соответствии с требованиями СНиП 3.03.01-87 не должны превышать:

1. Отклонение от совмещения ориентиров (рисок геометрических осей, граней) в нижнем сечении установленных ригелей с установочными ориентирами (рисками геометрических осей или гранями нижележащих элементов, рисками разбивочных осей)                                                                                     8 мм.

2. Отклонение от совмещения ориентиров (рисок геометрических осей, граней) в верхнем сечении установленных ригелей на опоре с установочными ориентирами (рисками геометрических осей или граней нижестоящих элементов, рисками разбивочных осей) при высоте ригеля на опоре, м:

- до 1                                                                                6 мм;

- св. 1 до 1,6                                                                     8 мм;

- св. 1,6 до 2,5                                                                  10 мм;

- св. 2,5 до 4                                                                     12 мм.

3. Отклонение от симметричности (половина разности глубины опирания концов элемента) при установке ригелей в направлении перекрываемого пролета при длине элемента, мм (),

- до 4000                                                                          5 мм;

- св. 4000 до 8000                                                            6 мм;

- св. 8000 до 16000                                                          8 мм;

- св. 16000 до 25000                                                        10 мм.

Лица, осуществляющие контроль качества

Операции, подлежащие контролю

Состав контроля

Способ контроля

Время контроля

Лица, привлекаемые к контролю

Актируемые работы

Производитель работ

Подготовительные работы

Правильность складирования ригелей

Визуально

До начала монтажа

 

 

Выверка опорных поверхностей на колоннах

Соответствие отметок опорных площадок колонн проектным, правильность нанесения разбивочных осей

С помощью теодолита, нивелира, стального метра

До начала монтажа

Геодезист

 

Монтаж ригелей

Правильность и надежность строповки

Визуально

В процессе монтажа

 

 

Совмещение осей ригеля с разбивочными осями на опорных конструкциях, вертикальность и плотность опирания ригеля

Визуально, с помощью отвеса

В процессе монтажа

 

+

Сварка закладных деталей в стыках

Качество сварки, акты приемки сварных соединений, размеры швов

Визуально, с помощью стального метра

В процессе монтажа

В случае необходимости лаборатория

+

Замоноличивание стыков

Внешний вид стыков, прочность бетона в стыке

Визуально, с помощью эталонного молотка

После распалубки стыка

Лаборатория

+

Мастер

Подготовительные работы

Соответствие геометрических размеров проектным, внешние дефекты, наличие паспортов, правильность расположения закладных деталей, очистка их

Визуально, с помощью стального метра, рулетки

До начала монтажа

 

 

Выверка опорных поверхностей на колоннах

Положение опорных площадок и закладных деталей

Визуально, с помощью стального метра

 

 

 

Монтаж ригелей

Правильность нанесения осевых и контрольных рисок на ригелях

Визуально, с помощью стального метра, рулетки

В процессе монтажа

 

 

Правильность технологии монтажа

Визуально

В процессе монтажа

 

 

Сварка закладных деталей в стыках

Соответствие конструкции стыка и марки электродов по проекту

Визуально

В процессе монтажа

 

 

Замоноличивание стыков

Плотность и прочность опалубки

Визуально

В процессе монтажа

 

 

Марка бетона

 

До бетонирования

Лаборатория

 

Качество уплотнения стыка

Визуально

В процессе бетонирования

 

 

Качество заполнения стыков

Визуально

После распалубки

 

 

КАРТА ОПЕРАЦИОННОГО КОНТРОЛЯ КАЧЕСТВА МОНТАЖА ПРИ МОНТАЖЕ НАРУЖНЫХ СТЕНОВЫХ ПАНЕЛЕЙ

Предельные отклонения при монтаже наружных стеновых панелей приняты в соответствии с требованиями СНиП 3.03.01-87:

1. Отклонение от совмещения ориентиров (рисок геометрических осей, граней) в нижнем сечении установленных элементов с установочными ориентирами (рисками геометрических осей или гранями нижележащих элементов, рисками разбивочных осей).

- панелей несущих стен                                                 8 мм;

- панелей навесных стен                                                10 мм.

2. Разность отметок верха стеновых панелей каркасных зданий в пределах выверяемого участка при:

- контактной установке                                          12 + 2n мм,

где n - число установленных по высоте панелей;

- установке по маякам                                                   10 мм.

3. Отклонение от вертикали верха плоскостей:

- панелей несущих стен                                                 10 мм;

- навесных стеновых панелей                                       12 мм.

Лица, осуществляющие контроль качества

Операции, подлежащие контролю

Состав контроля

Способ контроля

Время контроля

Лица, привлекаемые к контролю

Актируемые работы

Производитель работ

Подготовительные работы

Отметка верха ранее установленных стеновых панелей (блоков стен подвала)

С помощью нивелира

До начала монтажа

Геодезист

+

Правильность складирования стеновых панелей

Визуально

До начала монтажа

 

 

Разбивка осей фундаментов здания

Точность определения положения углов здания, соответствие проекту расстояний между осями сборных фундаментов

С помощью теодолита и рулетки

До начала монтажа

Геодезист

 

Установка наружных стеновых панелей

Правильность и надежность строповки

Визуально

В процессе установки

 

 

Точность установки стеновых панелей

С помощью уровня и отвеса

В процессе установки

 

 

Плотность опирания и примыкания

Визуально

 

 

Соответствие отметок проектным

С помощью нивелира

После установки блоков

Геодезист

 

Мастер

Подготовительные работы

Очистка стеновых панелей от грязи, зимой от снега

Визуально

До начала монтажа

 

 

Наличие паспортов на железобетонные конструкции; соответствие геометрических размеров панелей проекту; наружные дефекты

Визуально, с помощью стального метра, рулетки

До начала монтажа

 

 

Разбивка осей фундамента здания

Правильность разбивки осей, точность перенесения осей на стеновые панели

С помощью теодолита

До начала монтажа

Геодезист

 

Установка наружных стеновых панелей

Соответствие технологии монтажа технологической карте

Визуально

В процессе установки

 

 

КАРТА ОПЕРАЦИОННОГО КОНТРОЛЯ КАЧЕСТВА МОНТАЖА ПРИ МОНТАЖЕ ВНУТРЕННИХ СТЕНОВЫХ ПАНЕЛЕЙ

Предельные отклонения при монтаже внутренних стеновых панелей приняты в соответствии с требованиями СНиП 3.03.01-87:

1. Отклонение от совмещения ориентиров (рисок геометрических осей, граней) в нижнем сечении установленных элементов с установочными ориентирами (рисками геометрических осей или гранями нижележащих элементов, рисками разбивочных осей):

- панелей несущих стен                                                 8 мм;

- панелей навесных стен                                                10 мм.

2. Разность отметок верха стеновых панелей каркасных зданий в пределах выверяемого участка при:

- контактной установке                                         12 + 2n мм,

где n - число установленных по высоте панелей;

- установке по маякам                                                   10 мм.

3. Отклонение от вертикали верха плоскостей:

- панелей несущих стен                                                 10 мм;

- навесных стеновых панелей                                       12 мм.

Лица, осуществляющие контроль качества

Операции, подлежащие контролю

Состав контроля

Способ контроля

Время контроля

Лица, привлекаемые к контролю

Актируемые работы

Производитель работ

Подготовительные работы

Отметка верха стеновых панелей

С помощью нивелира

До начала монтажа

Геодезист

+

Правильность складирования панелей

Визуально

До начала монтажа

 

 

Разбивка осей фундаментов здания

Точность определения положения углов здания, соответствие проекту расстояний между осями сборных фундаментов

С помощью теодолита и рулетки

До начала монтажа

Геодезист

 

Установка внутренних стеновых панелей

Правильность и надежность строповки

Визуально

В процессе установки

 

 

Точность установки стеновых панелей

С помощью уровня и отвеса

В процессе установки

 

 

Плотность опирания и примыкания

Визуально

 

 

Соответствие отметок проектным

С помощью нивелира

После установки блоков

Геодезист

 

Мастер

Подготовительные работы

Очистка стеновых панелей от грязи, зимой от снега

Визуально

До начала монтажа

 

 

Наличие паспортов на железобетонные конструкции; соответствие геометрических размеров панелей проекту; наружные дефекты

Визуально, с помощью стального метра, рулетки

До начала монтажа

 

 

Разбивка осей фундамента здания

Правильность разбивки осей, точность перенесения осей на стеновые панели

С помощью теодолита

До начала монтажа

Геодезист

 

Установка внутренних стеновых панелей

Соответствие технологии монтажа технологической карте

Визуально

В процессе установки

 

 

КАРТА ОПЕРАЦИОННОГО КОНТРОЛЯ КАЧЕСТВА ПРИ МОНТАЖЕ ЛЕСТНИЧНЫХ МАРШЕЙ

Предельные отклонения при монтаже лестничных маршей приняты в соответствии с требованиями СНиП 3.03.01-87:

1. Допускаемые отклонения ступеней от горизонтали                            не более 2 мм.

2. Допускаемые отклонения поверхности ступени от поверхности площадок (высота уступа)                                                                                                  не более 3 мм.

3. Просветы при наложении 2-х метровой рейки вдоль марша не более 4 мм.

4. Предельные отклонения от симметричности опирания                      5 мм.

Лица, осуществляющие контроль качества

Операции, подлежащие контролю

Состав контроля

Способ контроля

Время контроля

Лица, привлекаемые к контролю

Актируемые работы

Прораб или мастер

Входной контроль

Проверка геометрических размеров, внешнего вида, положения закладных деталей. Складирование и хранение конструкций. Качество раствора

Визуально, метр, рулетки, отбор проб

При приемке конструкций

Инженер по качеству

 

Подготовительные работы

Очистка от снега, наледи основания, устройство постели раствора. Соответствие проекту опорных поверхностей лестничных площадок

Нивелир, метр

До начала монтажа

Инженер по качеству

 

Монтажные работы

Установка и выверка лестничного марша в проектное положение. Замоноличивание стыков.

Визуально

Во время монтажа

Инженер по качеству

 

Приемка работ

Поэтажная приемка фактических высотных отметок лестничных маршей

Визуально, нивелир

После монтажа

Геодезист

+

КАРТА ОПЕРАЦИОННОГО КОНТРОЛЯ КАЧЕСТВА ПРИ МОНТАЖЕ ПЛИТ ПЕРЕКРЫТИЯ (ПОКРЫТИЯ)

Предельные отклонения при монтаже плит перекрытия (покрытия) приняты в соответствии с требованиями СНиП 3.03.01-87:

1. Разность отметок лицевых поверхностей двух смежных непреднапряженных плит перекрытия в шве при длине плит, м:

- до 4                                                                                8 мм;

- свыше 4 до 8                                                                 10 мм,

- свыше 8 до 16                                                               12 мм.

2. Отклонение от симметричности (половина разности глубины опирания концов плиты) при установке плит покрытий и перекрытий в направлении перекрываемого пролета при длине плит, м ( и );

- до 4                                                                                5 мм;

- свыше 4 до 8                                                                 6 мм;

- свыше 8 до 16                                                               8 мм;

- свыше 16 до 25                                                             10 мм.

3. Допускаемые отклонения в размерах площадок опирания и зазоров между элементами конструкции определяются проектом.

Лица, осуществляющие контроль качества

Операции, подлежащие контролю

Состав контроля

Способ контроля

Время контроля

Лица, привлекаемые к контролю

Актируемые работы

Производитель работ

Подготовительные работы

Правильность складирования плит

Визуально

До начала монтажа

 

 

Соответствие отметок и площадок опирания проектным

С помощью нивелира, рулетки, стального метра

До начала монтажа

Геодезист

 

Монтаж плит перекрытия

Инструментальная проверка монтажного горизонта каждого этажа

С помощью нивелира

В процессе монтажа

Геодезист

+

Антикоррозийная защита анкеров

Качество антикоррозийного покрытия

Визуально

Закрепление стыков

Лаборатория

+

Замоноличивание стыков

Качество замоноличивания стыков

Визуально

После замоноличивания

 

+

Мастер

Подготовительные работы

Наличие паспортов, геометрические размеры, качество поверхности конструкций

Визуально, с помощью рулетки, стального метра

До начала монтажа

 

 

Правильность расположения закладных частей, монтажных петель

Визуально, с помощью рулетки, стального метра

До начала монтажа

 

 

Выполнение опорного ряда кирпичной кладки тычком

Визуально

До начала монтажа

 

 

Устройство постели из раствора

Соответствие марки раствора проекту, толщина слоя раствора

Визуально

В процессе монтажа

Лаборатория

 

Монтаж плит

Соответствие площади опирания Положения плит в плане, плотность примыкания к опорной поверхности, правильность технологии монтажа

Визуально

В процессе монтажа

 

 

Анкеровка плит

Соответствие анкеровки требованиям проекта

Визуально

До замоноличивания

 

+

Замоноличивание стыков

Очистка и увлажнение стыкуемых поверхностей, соответствие марки раствора или бетона проектным

 

В процессе замоноличивания

Лаборатория

 

КАРТА ОПЕРАЦИОННОГО КОНТРОЛЯ КАЧЕСТВА ПРИ МОНТАЖЕ ЖЕЛЕЗОБЕТОННЫХ ФЕРМ И БАЛОК

Предельные отклонения при монтаже железобетонных ферм и балок принять в соответствии с требованиями СНиП 3.03.01-87:

1. Отклонение от совмещения ориентиров (рисок геометрических осей, граней) в нижнем сечении ферм (балок) с установочными ориентирами (рисками геометрических осей или гранями нижележащих элементов) 8 мм.

2. Расстояние между осями верхних поясов ферм и балок в середине пролета 60 мм;

3. Отклонение от совмещения ориентиров (рисок геометрических осей, граней) в верхнем сечении установленных элементов (балок, подстропильных ферм, стропильных ферм и балок) на опоре с установочными ориентирами (рисками геометрических осей или граней нижестоящих элементов, рисками разбивочных осей) при высоте элемента на опоре, м:

- до 1                                                                                 6 мм;

- свыше 1 до 1,6                                                              8 мм;

- свыше 1,6 до 2,5                                                           10 мм;

- свыше 2,5 до 4                                                              12 мм.

4. Отклонение от симметричности (половина разности глубины опирания концов элемента) при установке балок, подстропильных ферм, стропильных ферм (балок) в направлении перекрываемого пролета при длине элемента, м :

- до 4                                                                                5 мм;

- свыше 4 до 8                                                                 6 мм;

- свыше 8 до 16                                                               8 мм;

- свыше 16 до 25                                                             10 мм.

Лица, осуществляющие контроль качества

Операции, подлежащие контролю

Состав контроля

Способ контроля

Время контроля

Лица, привлекаемые к контролю

Актируемые работы

Производитель работ

Подготовительные работы

Правильность складирования железобетонных конструкций

Визуально

До начала монтажа

 

 

Выверка опорных поверхностей ранее смонтированных конструкций

Соответствие отметок опорных площадок проектным, правильность нанесения разбивочных осей

Визуально, с помощью нивелира, стального метра

До начала монтажа

Геодезист

 

Монтаж ферм, балок

Правильность и надежность строповки

Визуально

В процессе монтажа

 

 

Совмещение осей ферм, балок с разбивочными осями, вертикальность конструкций опирания

Визуально, с помощью отвеса

В процессе монтажа

 

+

Надежность временного крепления

Визуально

В процессе монтажа

 

 

 

Сварка закладных деталей в стыках

Качество сварки, акты приемки сварных соединений, размеры швов

Визуально, с помощью стального метра

В процессе монтажа

В случае необходимости лаборатория

+

Антикоррозийная защита

Качество нанесения антикоррозийного слоя

Визуально

До замоноличивания

В случае необходимости лаборатория

+

Мастер

Подготовительные работы

Наличие паспортов, геометрические размеры, внешние дефекты железобетонных конструкций

Визуально, с помощью стального метра

До начала монтажа

 

 

Расположение закладных деталей, очистка их от ржавчины и наплывов бетона

Визуально, с помощью стального метра

До начала монтажа

 

 

Выверка опорных поверхностей конструкций

Положение опорных площадок и закладных деталей

Визуально

До начала монтажа

 

 

Монтаж ферм, балок

Наличие и правильность нанесения осевых и контрольных рисок на конструкциях

С помощью стального метра

В процессе монтажа

 

 

Правильность технологии монтажа

Визуально

В процессе монтажа

 

 

Сварка закладных деталей в стыках

Тип электродов, соответствие стыка проекту

Визуально

В процессе монтажа

 

 

Замоноличивание стыков

Плотность и прочность опалубки

Визуально

До бетонирования

 

 

 

Марка бетона, качество уплотнения

 

В процессе замоноличивания

Лаборатория

 

 

Внешний вид стыка, качество заделки

Визуально

В процессе замоноличивания

 

+

 

Соответствие отметок установленных конструкций проектным, расстояние между осями

Визуально, с помощью стальной ленты

После монтажа

Геодезист

 

КАРТА ОПЕРАЦИОННОГО КОНТРОЛЯ КАЧЕСТВА ПРИ МОНТАЖЕ ЖЕЛЕЗОБЕТОННЫХ ПОДКРАНОВЫХ БАЛОК

Предельные отклонения при монтаже железобетонных подкрановых балок принять в соответствии с требованиями СНиП 3.03.01-87:

1. Отклонение от совмещения ориентиров (рисок геометрических осей, граней) в нижнем сечении подкрановых балок с установочными ориентирами (рисками геометрических осей или гранями нижележащих элементов)                   8 мм.

2. Расстояние между осями верхних поясов подкрановых балок в середине пролета                                                                                                                           60 мм;

3. Отклонение от совмещения ориентиров (рисок геометрических осей, граней) в верхнем сечении установленных подкрановых балок на опоре с установочными ориентирами (рисками геометрических осей или граней нижестоящих элементов, рисками разбивочных осей) при высоте элемента на опоре, м:

- до 1                                                                                                             6 мм;

- свыше 1 до 1,6                                                                                           8 мм;

- свыше 1,6 до 2,5                                                                                        10 мм;

- свыше 2,5 до 4                                                                                           12 мм.

4. Отклонение от симметричности (половина разности глубины опирания концов элемента) при установке подкрановых балок в направлении перекрываемого пролета при длине элемента, м ():

- до 4                                                                                                             5 мм;

- свыше 4 до 8                                                                                              6 мм;

- свыше 8 до 16                                                                                            8 мм;

- свыше 16 до 25                                                                                          10 мм.

Лица, осуществляющие контроль качества

Операции, подлежащие контролю

Состав контроля

Способ контроля

Время контроля

Лица, привлекаемые к контролю

Актируемые работы

Производитель работ

Подготовительные работы

Правильность складирования железобетонных подкрановых балок

Визуально

До начала монтажа

 

 

Выверка опорных поверхностей ранее смонтированных конструкций

Соответствие отметок опорных площадок проектным, правильность нанесения разбивочных осей

Визуально, с помощью нивелира, стального метра

До начала монтажа

Геодезист

 

Монтаж подкрановых балок

Правильность и надежность строповки

Визуально

В процессе монтажа

 

 

Совмещение осей подкрановых балок с разбивочными осями, вертикальность конструкций опирания

Визуально, с помощью отвеса

В процессе монтажа

 

+

Надежность временного крепления

Визуально

В процессе монтажа

 

 

 

Установка анкеров в стыках

Качество сварки, акты приемки сварных соединений, размеры швов

Визуально, с помощью стального метра

В процессе монтажа

В случае необходимости лаборатория

+

Антикоррозийная защита

Качество нанесения антикоррозийного слоя

Визуально

До замоноличивания

В случае необходимости лаборатория

+

Мастер

Подготовительные работы

Наличие паспортов, геометрические размеры, внешние дефекты железобетонных подкрановых балок

Визуально, с помощью стального метра

До начала монтажа

 

 

Расположение закладных деталей, очистка их от ржавчины и наплывов бетона

Визуально, с помощью стального метра

До начала монтажа

 

 

Выверка опорных поверхностей конструкций

Положение опорных площадок и закладных деталей

Визуально

До начала монтажа

 

 

Монтаж подкрановых балок

Наличие и правильность нанесения осевых и контрольных рисок на конструкциях

С помощью стального метра

В процессе монтажа

 

 

Правильность технологии монтажа

Визуально

В процессе монтажа

 

 

Установка анкеров в стыках

Соответствие стыка проекту

Визуально

В процессе монтажа

 

 

Замоноличивание стыков балок

Плотность и прочность опалубки

Визуально

До бетонирования

 

 

Марка бетона, качество уплотнения

 

В процессе замоноличивания

Лаборатория

 

Внешний вид стыка, качество заделки

Визуально

В процессе замоноличивания

 

+

Соответствие отметок установленных конструкций проектным, расстояние между осями

Визуально, с помощью стальной ленты

После монтажа

Геодезист

 

КАРТА ОПЕРАЦИОННОГО КОНТРОЛЯ КАЧЕСТВА ПРИ МОНТАЖЕ ВЕНТИЛЯЦИОННЫХ БЛОКОВ

Предельные отклонения от совмещения ориентиров при монтаже вентиляционных блоков приняты в соответствии с требованиями СНиП 3.03.01-87:

1. Отклонение от совмещения ориентиров (рисок геометрических осей, граней) в нижнем сечении вентблока с установочными ориентирами (рисками геометрических осей или гранями нижележащих элементов, рисками разбивочных осей) 8 мм.

2. Отклонение от вертикали верха плоскости блока                                10 мм.

3. Совмещение каналов установленных блоков                                 визуально.

4. Полнота заполнения горизонтальных швов раствором                 визуально.

Лица, осуществляющие контроль качества

Операции, подлежащие контролю

Состав контроля

Способ контроля

Время контроля

Лица, привлекаемые к контролю

Актируемые работы

Производитель работ

Подготовительные работы

Правильность складирования вентблоков

Визуально

До начала монтажа

 

 

Разбивка осей вентблоков

Точность определения положения вентблоков Соответствие проекту мест расположения вентблоков

С помощью теодолита и рулетки

До начала монтажа

Геодезист

 

Отметки основания

С помощью нивелира

До начала монтажа

Геодезист

+

Установка вентиляционных блоков

Правильность и надежность строповки

Визуально

В процессе установки

 

 

Точность установки

С помощью уровня и отвеса

В процессе установки

 

 

Плотность опирания и примыкания

Визуально

 

 

 

Мастер

Подготовительные работы

Очистка вентиляционных блоков от грязи, зимой от снега

Визуально

До начала монтажа

 

 

Наличие паспортов на вентблоки, соответствие геометрических размеров вентблоков проектным; наружные дефекты

Визуально, с помощью стального метра, рулетки

До начала монтажа

 

 

Разбивка осей установки вентблоков

Правильность разбивки осей и привязки по вертикали

С помощью теодолита

До начала монтажа

Геодезист

+

Установка вентиляционных блоков

Совпадение установочных рисок; соответствие технологии монтажа технологической карте

Визуально

В процессе установки

 

 

КАРТА ОПЕРАЦИОННОГО КОНТРОЛЯ КАЧЕСТВА ПРИ МОНТАЖЕ ЭЛЕМЕНТОВ ШАХТЫ ЛИФТА

Предельные отклонения при монтаже элементов шахты лифта принять в соответствии с требованиями СНиП 3.03.01-87:

1. Отклонение по высоте порога дверного проема объемного элемента шахты лифта относительно посадочной площадки                                                     ± 10 мм.

2. Отклонение от перпендикулярности внутренней поверхности стен ствола шахты лифта относительно горизонтальной плоскости (пола приямка) согласно ГОСТ 22845-85                                                                                                                30 мм.

3. Отклонение от вертикали верха плоскостей лифтовых блоков 10 мм.

4. Отклонения от совмещения ориентиров (рисок геометрических осей) в нижнем сечении установленных элементов с установочными ориентирами  8 мм.

Лица, осуществляющие контроль качества

Операции, подлежащие контролю

Состав контроля

Способ контроля

Время контроля

Лица, привлекаемые к контролю

Актируемые работы

Производитель работ

Подготовительные работы

Правильность складирования элементов шахты лифта

Визуально

До начала монтажа

 

 

Разбивка осей шахты лифта

Точность определения положения элементов шахты лифта. Соответствие проекту мест расположения элементов шахты лифта

С помощью теодолита и рулетки

До начала монтажа

Геодезист

 

Отметки основания

С помощью нивелира

До начала монтажа

Геодезист

+

 

Установка элементов шахты лифта

Правильность и надежность строповки

Визуально

В процессе установки

 

 

Точность установки

С помощью уровня и отвеса

В процессе установки

 

 

Плотность опирания и примыкания

Визуально

 

 

 

Мастер

Подготовительные работы

Очистка элементов шахты лифта от грязи, зимой от снега

Визуально

До начала монтажа

 

 

Наличие паспортов на элементы шахты лифта; соответствие геометрических размеров элементов шахты лифта проекту, наружные дефекты

Визуально, с помощью стального метра, рулетки

До начала монтажа

 

 

Разбивка осей установки элементов шахты лифта

Правильность разбивки осей

С помощью теодолита

До начала монтажа

Геодезист

+

Установка элементов шахты лифта

Совпадение установочных рисок, соответствие технологии монтажа технологической карте

Визуально

В процессе установки

 

 

КАРТА ОПЕРАЦИОННОГО КОНТРОЛЯ КАЧЕСТВА ПРИ МОНТАЖЕ САНИТАРНО-ТЕХНИЧЕСКИХ КАБИН

Предельные отклонения от совмещения ориентиров при монтаже санитарно-технических кабин приняты в соответствии с требованиями СНиП 3.03.01-87.

1. Отклонение от совмещения ориентиров (рисок геометрических осей, граней) в нижнем сечении санитарно-технической кабины с установочными ориентирами (рисками геометрических осей или гранями нижележащих элементов, рисками разбивочных осей)                                                              8 мм.

2. Отклонение от вертикали верха плоскости блока 10 мм.

Лица, осуществляющие контроль качества

Операции, подлежащие контролю

Состав контроля

Способ контроля

Время контроля

Лица, привлекаемые к контролю

Актируемые работы

Производитель работ

Подготовительные работы

Правильность складирования сантехкабин

Визуально

До начала монтажа

 

 

Разбивка осей санитарно-технических кабин

Точность определения положения сантехкабин Соответствие проекту мест расположения сантехкабин

С помощью теодолита и рулетки

До начала монтажа

Геодезист

 

Отметки основания

С помощью нивелира

До начала монтажа

Геодезист

+

Установка санитарно-технических кабин

Правильность и надежность строповки

Визуально

В процессе установки

 

 

Точность установки

С помощью уровня и отвеса

В процессе установки

 

 

Плотность опирания и примыкания

Визуально

 

 

 

Мастер

Подготовительные работы

Очистка сантехкабин от грязи

Визуально

До начала монтажа

 

 

Наличие паспортов; соответствие геометрических размеров кабины проектным; наружные дефекты

Визуально, с помощью стального метра, рулетки

До начала монтажа

 

 

Разбивка осей установки сантехкабины

Правильность разбивки осей и привязки к выпускам

С помощью теодолита

До начала монтажа

Геодезист

+

Установка сантехкабины

Соответствие технологии монтажа технологической карте, совпадение установочных рисок

Визуально

В процессе установки