Меню
Навигация
Novatika
Первая линия

97-04 ТК «Технологическая карта на устройство оклеечной гидроизоляции вертикальных бетонных поверхностей гидроизолом»

Технологическая карта разработана на устройство оклеечной гидроизоляции вертикальных поверхностей подземной части бетонных и железобетонных конструкций строящихся и реконструируемых зданий от грунтовых вод с применением в качестве гидроизоляционного материала гидроизола .

Обозначение: 97-04 ТК
Название рус.: Технологическая карта на устройство оклеечной гидроизоляции вертикальных бетонных поверхностей гидроизолом
Статус: действующий
Дата актуализации текста: 01.10.2008
Дата добавления в базу: 01.02.2009
Дата введения в действие: 29.09.2004
Разработан: ОАО ПКТИпромстрой 125040, Москва, Ленинградский проспект, д. 26
Утвержден: ОАО ПКТИпромстрой (29.09.2004)
Опубликован: ОАО ПКТИпромстрой № 2004

Открытое акционерное общество

Проектно-конструкторский и технологический
институт промышленного строительства
ОАО ПКТИпромстрой

УТВЕРЖДАЮ

Генеральный директор,к.т.н.

____________ С.Ю. Едличка

«29» сентября2004 г.

ТЕХНОЛОГИЧЕСКАЯ КАРТА
НА УСТРОЙСТВО ОКЛЕЕЧНОЙ ГИДРОИЗОЛЯЦИИ
ВЕРТИКАЛЬНЫХ БЕТОННЫХ ПОВЕРХНОСТЕЙ
ГИДРОИЗОЛОМ

97-04 ТК

Главный инженер

_________________ А.В. Колобов

Начальникотдела

_________________Б.И. Бычковский

2004

Карта содержиторганизационно-технологические и технические решения на устройство оклеечнойгидроизоляции вертикальных бетонных поверхностей с применением гидроизола,использование которого должно способствовать ускорению работ, снижению затраттруда и повышению качества гидроизоляции монолитных конструкций.

В технологической картеприведены: область применения, организация и технологическая последовательностьвыполнения работ, требования к качеству и приемке работ, калькуляция затраттруда, график производства работ, потребность в материально-техническихресурсах, решения по безопасности и охране труда и технико-экономическиепоказатели.

Карта служит технологическимдокументом при производстве гидроизоляции подземных частей зданий и сооруженийи предназначена для инженерно-технических работников строительных организаций,производителей работ, мастеров и бригадиров, связанных с выполнениемгидроизоляционных работ монолитных бетонных и железобетонных конструкций, атакже технических служб заказчика.

В разработке технологическойкарты участвовали сотрудники ОАО ПКТИпромстрой:

- Савина О.А. - разработкатехнологической карты, компьютерная обработка и графика;

- Аганина О.В. - разработкатехнологической карты, компьютерная обработка и графика;

- Черных В.В. - общеетехнологическое сопровождение;

- Бычковский Б.И. -разработка технологической карты, техническое руководство, корректура инормоконтроль;

- Колобов А.В. - общеетехническое руководство разработкой технологических карт;

- к.т.н. Едличка С.Ю. -общее руководство разработкой технологической документации.

Контактный телефон (095)214-14-72.

Факс (095) 214-95-53.

Е-mail: pkti@co.ru

http://www.pkti.co.ru

СОДЕРЖАНИЕ

1ОБЛАСТЬ ПРИМЕНЕНИЯ

1.1 Технологическая карта разработана на устройство оклеечнойгидроизоляции вертикальных поверхностей подземной части бетонных ижелезобетонных конструкций строящихся и реконструируемых зданий от грунтовыхвод с применением в качестве гидроизоляционного материала гидроизола по ГОСТ7415-86* .

1.2 Технологическая карта, входящая согласно СНиП 3.01.01-85* в состав ППР, предназначена для инженерно-технического персонала(прорабов, мастеров) и рабочих строительных организаций, занятых на устройствеоклеечной гидроизоляции вертикальных поверхностей, сотрудников технадзоразаказчика, осуществляющих надзорные функции за технологией и качествомвыполнения работ, а также инженерно-технических работников строительных ипроектно-технологических организаций.

1.3 При привязке карты к конкретным условиям уточняются объемы работ,калькуляция затрат труда, потребность в материально-технических ресурсах ипродолжительность выполнения работ.

1.4 Форма использования технологической карты предусматривает обращение еев сфере информационных технологий с включением в базу данных по технологии иорганизации строительного производства автоматизированного рабочего местатехнолога строительного производства (АРМ ТСП), подрядчика и заказчика.

2ОРГАНИЗАЦИЯ И ТЕХНОЛОГИЯ ВЫПОЛНЕНИЯ РАБОТ

2.1 Гидроизоляция предназначена для защиты строительных конструкций отувлажнения грунтовыми водами.

В зданиях и сооруженияхгидроизоляция обеспечивает их долговечность и нормальную эксплуатацию. В жиломдоме изолируют наружные поверхности стен подвалов, фундаментов и другихподземных конструкций, соприкасающихся с грунтом.

2.2 В зависимости от положения строительной конструкции гидроизоляцияподразделяется на горизонтальную и вертикальную.

Вертикальная гидроизоляцияукладывается на вертикальные или наклонные поверхности при угле наклона кгоризонту более 25°.

2.3 Конструкция гидроизоляции должна выбираться в зависимости отгидростатического напора подземных вод на уровне пола наиболее заглубленногопомещения, требований заданного режима влажности помещений, грунтовых условий(пески, глинистые грунты) и агрессивностиокружающей грунтовой среды. Верхнюю границу гидроизоляции стен следуетпринимать на 0,5 м выше максимального прогнозируемого уровня подземных вод.

2.4 Для зданий с подвалами или подземными этажами выбор системыгидроизоляции следует делать на основании учета характера воздействия воды и ееуровня, режима, который должен быть в изолируемом помещении, итрещиноустойчивости изолируемых конструкций.

При сухих помещениях суровнем подземных вод на 1 м выше пола помещения на наружной стене и под поломпомещения требуется трехслойная оклеечная гидроизоляция из рулонных материалов.Могут быть использованы также эпоксидные и каменноугольные смолы.

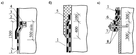
Состав гидроизоляционногослоя устанавливается рабочей документацией. Примерная конструктивная схемавертикальной гидроизоляции наружной стены подвального помещения представлена нарисунке 1.В качестве гидроизоляционного материала принят гидроизол марки ГИ-Г -безпокровный, биостойкий рулонный материал, полученный пропиткой асбестовойбумаги марки БГ-М нефтяными битумами. Гидроизол выпускается в рулонах ширинойполотна (950 ± 5) мм общей площадью (20 ± 0,5) м2.

а- при устройстве кирпичной защитной стенки; б - при штукатурке по сетке; в -при устройстве защиты из железобетонных плит;

1 - выравнивающая штукатурка;2 - гидроизоляционный слой из нескольких слоев рулонного материала; 3 - кирпичнаязащитная стенка; 4 - цементная штукатурка по металлической сетке; 5 -железобетонные плиты; 6 - асфальтометаллические шайбы розетки; 7 - анкерныйболт

Рисунок1 -Конструкция гидроизоляции стен из гидроизола

2.5 Рулоны гидроизола марки ГИ-Г должны храниться в сухом закрытомпомещении в вертикальном положении не более чем в два яруса по высоте нарасстоянии не менее 1 м от нагревательных приборов. При хранении рулонов вконтейнерах число их рядов по вертикали не ограничено и определяетсятребованиями безопасности.

2.6 При устройстве оклеечной гидроизоляции следует применять горячиебитумные мастики с температурой размягчения от 54 до 74 °С: в холодное времягода с низкими температурами размягчения, а в летнее время - мастики сповышенной температурой размягчения.

2.7 Гидроизоляция вертикальных поверхностей состоит из трех этапов,выполняемых в следующей последовательности:

- подготовка поверхности подизоляцию;

- изоляция поверхности;

- устройство защитного слоя(или ограждения) в виде прижимной стенки из кирпича или другого типа (попроекту).

2.8 Поверхности, подготавливаемые под изоляцию, и выступающие детали(болты и др.) должны быть сухими, чистыми и огрунтованными.

При подготовке поверхностейпод изоляцию с использованием гидроизола следует выполнить следующие работы:

- заделать швы междусборными железобетонными плитами наружных стен цементно-песчаным раствором илибетоном (при отсутствии указаний в проекте - раствором марки не ниже 100 илибетоном класса не ниже В7,5);

- выровнять поверхностиоснований из сборных железобетонных плит путем затирки цементным раствором (приотсутствии указаний в проекте - марки не ниже 50) слоем толщиной до 5 мм илипесчаным асфальтобетоном слоем толщиной до 10 мм;

- оштукатурить участкивертикальных поверхностей каменных конструкций (стен, шахт, труб и др.) навысоту примыкания ковра изоляции;

- закрепить пересекающиесяплоскости пола и стен (углы) радиусом 15 - 20 см или притупить, т.е. выполнитьв виде наклонных бортиков под углом 45° высотой не менее 100 мм;

- предусмотреть приустройстве стяжек в них температурные усадочные швы;

- установить устройства длякрепления ковра на вертикальных и наклонных поверхностях, оклеиваемых рулоннымиматериалами;

- установить и закрепитьзакладные элементы для подвески водосточных труб.

2.9 Перед началом производства гидроизоляционных работ поверхностивыравнивают, очищают и сушат. Места сопряжения, примыканий и швов заделывают всоответствии с рабочими чертежами. С поверхности срубают наплывы бетона ираствора, выступающую арматуру. Раковины и углубления заделывают цементным илиполимерным раствором. Для выравнивания поверхности применяют машинки дляскалывания бетона, шлифовальные и пескоструйные машины. Кирпичную кладку можновыравнивать путем устройства цементно-песчаной стяжки. Перед нанесениемгидроизоляции поверхность очищают от пыли и мусора сжатым воздухом откомпрессора, высушивают в естественных условиях или сушильными установками. Взимнее время поверхности под изоляцию с применением рулонных материалов должныбыть после очистки просушены до 5 % влажности и прогреты до температуры не ниже5 °С. При невозможности просушки этих поверхностей естественным путем можетпонадобиться дополнительная операция сушки поверхности огневыми форсунками,инфракрасными излучателями или теплым воздухом, а также допускается, какисключение, укладка изоляции по дополнительно нанесенному слою мастики стемпературой 5 °С.

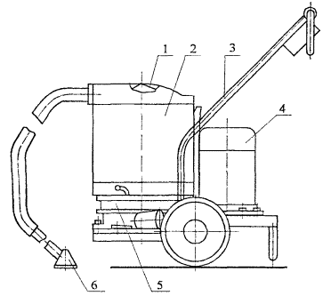
2.10 Для удаления влаги с изолируемой поверхности используют машину СО-16А,представленную на рисунке 1.

1 - крышка;

2 - водосборный бак;

3 - ручка;

4 - электрооборудование;

5 - воздуходувка;

6 - насадка

Рисунок 2 - Машина СО-106Адля удаления влаги с изолируемой поверхности

Технические характеристикимашины СО-106А

Производительность,л/мин                                                         20

Вместимостьбака, л                                                                     20

Мощностьэлектродвигателя, кВт                                               2,2

Габаритныеразмеры (длина×ширина×высота), мм                  910×595×610

Масса, кг                                                                                        60

2.11 В тех случаях, когда с помощью водоотвода, откачки воды из приямковили водопонижения не удается предотвратить фильтрацию грунтовых вод черезизолируемые поверхности, или при плохом качестве поверхностей для выравниванияпод оклеечную гидроизоляцию следует оштукатурить цементно-песчаным растворомсостава 1:2 без добавок, приготовленным на водонепроницаемом безусадочномцементе, или цементно-песчаным раствором состава 1:2, содержащим одну изследующих добавок:

- жидкое стекло в количестве10 - 12 % от массы цемента;

- глиноземистый цемент 10 -15 % от общей массы смеси;

- алюминат натрия 2 - 3 % отмассы воды затворения.

После нанесения штукатурногослоя производится огрунтовка поверхности разжиженным битумом в соответствии 1:2при расходе до 0,2 кг/м2 изолируемой поверхности. Грунтовку илибитумный лак следует наносить на поверхность непрерывным слоемпистолетом-распылителем или пневмофорсункой, а при малых объемах - кистью. Вслучае необходимости лак разбавляют до необходимой вязкости нефрасом.

Грунтовка должна бытьвысушена до полного испарения летучего растворителя. Интервал времени междугрунтовкой поверхности и нанесением основных слоев гидроизоляции долженсоставлять в зависимости от температуры воздуха не менее 4 ч, что необходимодля полного испарения растворителя, и не более 16 ч во избежание запыленияповерхности.

2.12 Изолируемые поверхности должны быть ровными, без раковин, выступающихщебенок и т.п.

Поверхность считаетсяровной, если при проверке трехметровой контрольной рейкой просвет под ней непревышает 5 мм в направлении вдоль уклона и 10 мм на вертикальной поверхности внаправлении поперек уклона. Просветы допускаются только плавного очертания и неболее одного на протяжении 1 м.

Основание до устройствагидроизоляции должно набрать прочность не менее 5 МПа.

2.13 Металлические сетки и каркасы, применяемые для укрепления изоляции,перед установкой очищают от ржавчины, обдувают сжатым воздухом, промываютводой, устанавливают по месту, натягивают и прикрепляют к анкерам, выпускамарматуры или штырям, заделанным в изолируемую поверхность.

2.14 Поверхности оборудования и трубопроводов и крепежные элементы, подлежащиеизоляции, должны быть очищены, а обработанные ранее хладагентом освобождены отпоследнего до начала изоляционных работ. Каналы, в которых проложенытрубопроводы, до начала изоляционных работ должны быть очищены от земли,мусора, снега и просушены.

2.15 Применяемые для устройства гидроизоляции рулоны гидроизоланепосредственно перед употреблением должны быть предварительно раскатаны,перевернуты и сложены один на другой в перевернутом виде. Для удаления посыпкииз мелкого песка поверхность полотна должна быть протерта ветошью. После этогополотна должны быть вновь намотаны на трубчатый сердечник. Для удаления посыпкии перемотки можно также использовать машину СО-98, показанную на рисунке 3.

1 - пылеулавливающий агрегат; 2 - очистныебарабаны; 3 - бункер для сбора крошки и пыли; 4 - электродвигатель.

Рисунок 3 -Машина СО-98 для очистки и перемотки рулонных изоляционных материалов

Технические характеристикимашины СО-98

Производительность,м/ч                                                            600

Скорость подачиматериала, м/с                                                0,7

Мощностьэлектродвигателя, кВт                                              2,2

Габаритныеразмеры (длина×ширина×высота), мм                 1195×1200×1440

Масса, кг                                                                                       270

Охлажденные рулонныематериалы, изготовленные на органических вяжущих, должны быть предварительноотогреты до температуры не ниже +15 °С в течение не менее 20 ч и перемотаны.

К месту укладки рулоныгидроизола следует доставлять в утепленной таре.

2.16 Мастика для приклеивания слоев гидроизоляционного покрытия должнаприготавливаться централизованно и доставляться в автогудронаторах. Принебольших объемах гидроизоляционных работ допускается приготовление мастикинепосредственно на строительной площадке.

2.17 Битумную мастику доставляют к рабочим местам, как правило, побитумопроводу или при помощи грузоподъемных машин. При необходимостиперемещения горячего битума на рабочих местах вручную следует применятьметаллические бачки, имеющие форму усеченного конуса, обращенного широкойчастью вниз, с плотно закрывающимися крышками и запорными устройствами. Недопускается использовать битумные мастики температурой выше 180 °С.

2.18 При устройстве рулонных покрытий необходимо соблюдать следующиетребования:

- толщина приклеивающихслоев из горячих битумных мастик не должна превышать 2 мм;

- приклеиваемые полотнищаследует прикатывать катком или валиком от середины к краям;

- полотнища в местах ихперекрытия необходимо пригладить шпателем особо тщательно;

- при механизированномспособе наклейки рулонных материалов мастику наносят на основание или нараскатываемое полотнище.

2.19 На участке гидроизоляционных работ должно быть выделено место длядощатого настила, используемого для раскроя и покрытия мастикой рулонныхматериалов.

Рулонные материалы дляудобства приклеивания должны раскраиваться (разрезаться) на полотнища по местуих приклейки, кромки полотнищ должны быть ровными, без разрывов. Мастикунаносят сначала по краям полотнища двумя продольными мазками, а затем мазками впромежутке между первыми согласно рисунку 4.

а - нанесение мастики

1 - 3 - очередность нанесениямастики

б - прижатие рулонного материала

1 - 3 - последовательностьработы шпателем

Рисунок 4 - Порядок нанесения мастикии прижатия рулонного материала при его клейке

2.20 Вертикальные или наклонные более 25° изолируемые поверхности следуетоклеивать в направлении снизу вверх заранее нарезанными кусками рулонногоматериала (полотнищами) длиной 1,5 - 2 м. Мастику наносят сначала наизолируемую поверхность, а затем на рулонный материал. При наклейке навертикальную поверхность свернутое в рулон полотнище наклеивают, постепеннораскатывая рулон и нанося мастику в зазор между изолируемой поверхностью иполотнищем.

2.21 Оклеечная рулонная гидроизоляция должна наноситься на изолируемуюповерхность путем послойного наклеивания полотнищ горячими битумными мастикамипри толщине каждого слоя мастики 1 - 2 мм.

Горячую битумную мастикуследует наносить механизированным способом (установками типов СО-100А, СО-122Аи другими или же пистолетом-соплом насоса автогудронатора).

1 - насос; 2 - пульт управления; 3 -электродвигатель; 4 - бак; 5 - нагреватель

Рисунок 5 - Машина СО-122А для нанесения битумных мастик

Технические характеристикимашины СО-122А

Вместимостьбака, л                                                                    80

Производительность,м3/ч                                                           0,9

Давлениенагнетания, МПа                                                        0,7

Толщина наносимогослоя, мм                                                   0,8 ... 1,0

Мощностьэлектродвигателя, кВт                                              1,5

Масса, кг                                                                                       160

2.22 Наклеивать рулонные материалы на изолируемые поверхности необходимо ссоблюдением следующих правил:

- рулонные материалы(полотнища) во всех слоях раскатывать в одном направлении, без перекрестного ихрасположения в смежных слоях;

- каждое последующееполотнище соединять внахлестку с предыдущим в продольных стыках на 10 см, а впоперечных - на 20 см;

- продольные и поперечныестыки полотнищ в смежных слоях располагать вразбежку на расстоянии один отдругого не менее 30 см;

- наклеиваемые полотнищакрепко прижимать (прикатывать) к изолируемой поверхности, обращая особоевнимание на тщательность выполнения швов нахлестки.

Кромки в местах стыков и всяповерхность гидроизоляционного полотна должны тщательно уплотняться шпателем.

2.23 Соединение слоев гидроизоляционного покрытия отдельных частейсооружения (стен, перекрытия и т.д.) может производиться в вилку или вразбежку.

При соединении слоевгидроизоляции в вилку места нахлестки склеиваемых полотен в каждом слоерасполагаются одно под другим.

При соединении слоевгидроизоляции вразбежку оставляемые для стыкования концы полотен имеют разнуюдлину, убывающие на 10 см от нижнего слоя к верхнему, а места нахлестки полотенв каждом слое располагаются со смещением на 10 см.

2.24 При перерывах в работе должны быть оставлены для стыкования концыполотнищ каждого слоя покрытия длиной не менее 30 см, защищенные отмеханических повреждений, загрязнения и увлажнения фартуками-отрезкамирулонного материала на прочной основе, а в местах прохода - деревяннымикоробами и настилами.

При длительных перерывах вработе допускается проводить и другие защитные мероприятия, обеспечивающиесохранность концов полотнищ гидроизоляционного материала.

Фартуки должны быть наклееныодним концом на покрытие, а другим - на изолируемую поверхность. При устройствефартуков из гидроизола их поверхность должна быть покрыта горячей битумноймастикой.

2.25 Последний слой рулонной гидроизоляции при отсутствии специальных указанийв проекте должен покрываться сплошным слоем горячей битумной мастики толщиной 2мм.

2.26 По уложенной гидроизоляции для защиты сравнительно мягкого покрытия отмеханических повреждений должен быть нанесен защитный слой изцементно-песчаного раствора марки М 100. Защитный слой должен укладываться лишьна очищенное гидроизоляционное покрытие по сетке после отвердения предыдущегослоя. Кроме того, в качестве защитного слоя могут быть использованы кирпичнаяприжимная стенка либо стенка из железобетонных плиток.

2.27 В местах сопряжения с трубопроводами или футлярами в виде отрезкатрубы для пропуска коммуникаций гидроизоляцию следует устраивать из рулонныхматериалов, наклеиваемых оплавлением покровного слоя пламенем газовоздушныхпропановых горелок или на горячей битумной мастике.

2.28 До устройства гидроизоляционного покрытия к проходящим через негометаллическим трубам в плоскости бетонного основания должен быть приваренводонепроницаемым швом фланец шириной не менее 120 мм с приваренными к немузаранее таким же швом болтами, обращенными резьбой в сторону покрытия, какпоказано на рисунке 6а. Диаметр болтов (по соображениям коррозии) должен быть не менее 16мм.

2.29 Перед наклейкой гидроизоляции сварные швы должны быть проверены наводонепроницаемость, а металлические части, в том числе болты и гайки, покрытыбитумным лаком.

2.30 В местах сопряжения конструкция гидроизоляции должна усиливатьсядвумя-тремя слоями рулонного материала.

2.31 Гидроизоляция, должна быть водонепроницаемой и плотно запрессованнойкольцевой накладкой, прибалчиваемой к фланцу. Запрессовывающие фланец инакладка должны иметь толщину не менее 10 мм и быть хорошо пригнанными ировными. Кольцевая накладка должна быть таких же размеров, как и фланец, сотверстиями, расположенными напротив болтов фланца.

2.32 Сопряжение гидроизоляционного покрытия с чугунными трубопроводамидолжно осуществляться так же, как и со стальными, но вместо приваренного ктрубе фланца на нее должен надеваться хомут с фланцем, как видно из рисунка 6б. Под хомутом с фланцемдолжен быть проложен замкнутый слой гидростеклоизола для герметизации зазора.

2.33 При пропуске через гидроизоляцию горячих труб они должны размещаться вкожухе из металлических труб. Пространство между кожухом и трубопроводом должнобыть заполнено теплоизоляционным материалом и загерметизировано по специальномупроекту.

2.34 Сопряжения гидроизоляционного покрытия с закладными деталямиусиливают: проклеивают армирующей тканью, заливают горячей мастикой. Примыканияразных по типу гидроизоляционных покрытий в углах сооружений также усиливаютпрокладками из металлических листов, сеток или тканей и заливают мастиками, какпоказано на рисунках 7 и 8. Деформационные швы тщательно уплотняют герметиками.

а - стальной трубопровод; б - чугунныйтрубопровод;

1 - стена подвала; 2 - фланец приварной; 3 - труба; 4 -водонепроницаемый сварной шов; 5 - болт; 6 - фланец накидной; 7 -гидроизоляция; 8 - хомут; 9 - прижимная стенка

Рисунок 6 - Сопряжение гидроизоляциис трубопроводом

а - сопряжение оклеечной изоляции сокрасочной; б - сопряжение оклеечной изоляции со штукатурной; в - сопряжениеоклеечной изоляции с металлической;

1 - оклеечная изоляция; 2 - окрасочнаяизоляция; 3 - деревянная рейка; 4 - деревянная пробка; 5 - штукатурнаяизоляция; 6 - металлическая изоляция; 7 - анкерный болт; 8 - стеклоткань

Рисунок7 -Сопряжения гидроизоляции на вертикальных поверхностях

а - сопряжение оклеечной гидроизоляции сасфальтовой; б - сопряжение оклеечной гидроизоляции с цементно-песчаной;

1 - асфальтовая изоляция; 2 - оклеечнаяизоляция; 3 - цементно-песчаная изоляция; 4 - кирпичная кладка; 5 - цементныйраствор; 6 - цементная стяжка

Рисунок 8 -Сопряжения гидроизоляции на пересечениях горизонтальных поверхностей свертикальными

Сопряжения гидроизоляцииодного вида с гидроизоляцией другого вида осуществляется одним из следующихспособов:

- для сопряжения окрасочнойгидроизоляции с оклеечной все слои оклеечной гидроизоляции наклеивают наокрасочную на полосе шириной не менее 0,5 м и дополнительно наносят окрасочнуюгидроизоляцию на место сопряжения;

- для сопряжения асфальтовойгидроизоляции с оклеечной последнюю перекрывают асфальтовой гидроизоляцией наполосе шириной 0,3 - 0,4 м.

2.35 При наружной рулонной гидроизоляции подземной части сооружений концыполотнищ наклеивают на временную стенку высотой 1,2 - 1,5 м, установленную попериметру сооружения до возведения наружных стен сооружения, или на краявременной бетонной подготовки, выступающие за периметр наружных стен на 0,5 -0,6 м. После возведения наружных стен указанные временные устройства разбирают,а изоляцию наносят на наружные стены.

2.36 Оклеечную гидроизоляцию, выполняемую при температуре воздуха выше 25°С, в процессе работ защищают от непосредственного воздействия источника тепла.

2.37 В зимнее время изоляционные работы с применением горячих органическихвяжущих (битумов и дегтей) разрешается выполнять на открытом воздухе притемпературе не ниже минус 20 °С.

3ТРЕБОВАНИЯ К КАЧЕСТВУ И ПРИЕМКЕ РАБОТ

3.1 При производстве работ по устройству гидроизоляции вертикальныхповерхностей подземной части зданий и сооружений необходимо вести строгийконтроль качества применяемых материалов, соблюдения технологии выполненияработ и ухода за законченными покрытиями.

3.2 Контроль качества работ осуществляют на всех стадиях технологическойцепи, начиная от разработки проекта и кончая его реализацией на объекте наоснове ППР и технологических карт. Контролируемые параметры и средства контроляприведены в таблице 1.

Таблица 1 - Контролируемые параметрыи средства контроля

№ п/п

Контролируемые параметры

Величина допустимых отклонений

Порядок контроля

Метод контроля

1

2

3

4

5

1

Отклонения поверхности основания под оклеечную гидроизоляцию на вертикальной поверхности

±10 мм

Измерительный, технический осмотр, не менее 5 измерений на каждые 70 - 100 м2 поверхности или на участке меньшей площади в местах, определяемых визуальным осмотром

Двухметровая рейка, металлическая линейка по ГОСТ 427-75*

2

Число неровностей (плавного очертания протяженностью не более 150 мм) на площади поверхности основания 4 м2

Не более 2

визуальный осмотр

 

3

Толщина грунтовки, мм:

 

Измерительный, технический осмотр, не менее 5 измерений на каждые 70 - 100 м2 поверхности или на участке меньшей площади в местах, определяемых визуальным осмотром

Толщиномер типа Н4

- при огрунтовке отвердевшей стяжки - 0,3

5 %

- при огрунтовке стяжек в течении 4 ч после нанесения раствора - 0,6

10 %

4

Влажность основания:

+0,5 %

Измерительный, технический осмотр, не менее 5 измерений равномерно на каждые 50 - 70 м2 основания, регистрационный

Влагомер ВКСМ-12М или подобного типа

5

Величина нахлеста полотнищ рулонных материалов

-10 мм

Измерительный технический осмотр, не менее 5 измерений на каждые 70 - 100 м2 поверхности или на участке меньшей площади в местах, определяемых визуальным осмотром

Металлическая линейка по ГОСТ 427-75* или рулетка по ГОСТ 7502-98

6

Качество поверхности гидроизоляции: наличие пузырей, вздутий, воздушных мешков, разрывов, вмятин, проколов, губчатого строения, потеков, наплывов, трещин

-

Визуальный, измерительный

Лупа типа «Мир»

7

Прочность сцепления с основанием и между собой гидроизоляционного ковра из рулонных материалов по сплошной мастичной клеящей прослойке эмульсионных составов с основанием

-

Измерительный, 5 измерений на 120 - 150 м2 поверхности покрытия, простукивание, акт приемки

Адгезиметр АМЦ 2-20

Приемке подлежат законченные элементы слоягидроизоляции, выполненные в соответствии с проектом. Приемка каждого слоягидроизоляции производится до устройства последующих работ.

3.3 Производственный контроль качества оклеечнойгидроизоляции вертикальных поверхностей подземной части должен включать входнойконтроль рабочей документации, конструкций, изделий, материалов и оборудования,операционный контроль отдельных строительных процессов или производственных операцийи приемочный контроль выполненных работ.

3.4 При входном контроле рабочей документации должна производитьсяпроверка ее комплектности и достаточности содержащейся в ней техническойинформации для производства работ.

При входном контроле изделийи материалов, составляющих гидроизоляционное покрытие вертикальных поверхностейподвального помещения, следует проверять внешним осмотром их соответствиетребованиям стандартов или других нормативных документов и рабочейдокументации, а также наличие и содержание паспортов, сертификатов и другихсопроводительных документов.

3.5 Гидроизол, применяемый для гидроизоляции вертикальных бетонных ижелезобетонных поверхностей, должен отвечать требованиям ГОСТ 7415-86* , ГОСТ 30547-97 и техническим условиям. Качественные показатели гидроизола должнысоответствовать требованиям, указанным в таблице 2.

Материалы после истеченияустановленного срока хранения перед применением подлежат контрольной проверке встроительной лаборатории.

Таблица 2 - Качественные показателигидроизола

Наименование показателя

Норма для гидроизола марки ГИ-Г

1. Отношение массы пропиточного битума к массе абсолютно сухой асбестовой бумаги, не менее

0,56

2. Разрывная нагрузка при растяжении в продольном направлении, Н (кгс), не менее

350 (35)

3. Водопоглощение через 24 ч. %, не более

6

4. Разрывная нагрузка при растяжении водонасыщенной в течение 24 ч полоски гидроизола в продольном направлении, Н (кгс), не менее

270 (27)

5. Водонепроницаемость под давлением 0,05 МПа (0,5 атм), мин, не менее

15

6. Разрывная нагрузка при растяжении водонепроницаемой в течение 24 ч полоски гидроизола

30

7. Гибкость при температуре (18 ± 2) °С по числу двойных перегибов на 180° до появления сквозных трещин при температуре 291 К (18 °С) при изгибании по полуокружности стержня диаметром, мм

20

8. Температура хрупкости по Фраасу пропиточного битума, К (°С), не выше

258 (-15)

9. Температура размягчения пропиточного битума по методу «Кольцо и шар», К (°С)

320 - 328 (47 - 55)

Асбестовая основа гидроизоладолжна быть равномерно пропитана по всей толщине полотна. В надрыве гидроизолдолжен быть черным или черным с коричневым оттенком без светлых прослоекнепропитанной основы и посторонних включений.

Поверхность гидроизоладолжна быть матовой и не должна иметь неровностей и бугорков высотой более 1мм. Допускаются на поверхности гидроизола отдельные блестящие битумные пятна,посыпанные мелким песком, предотвращающим слипание полотна в рулоне. Величиназерен мелкозернистого кварцевого песка для посыпки гидроизола не должнапревышать 0,63 мм.

Полотно гидроизола не должноиметь дыр, разрывов, складок. На кромках (краях) полотна гидроизола недопускается в одном рулоне более двух надрывов длиной 10 - 30 мм, надрывыдлиной свыше 30 мм не допускаются, а надрывы длиной до 10 мм не нормируются.

Гидроизолгидроизоляционный марки ГИ-Г может быть аттестован по высшей категориикачества. Гидроизол высшей категории качества должен отвечать дополнительным требованиям, указанным в ГОСТ 7415-86* :

- отношение массы пропиточногобитума к массе абсолютно сухой асбестовой бумаги не должно быть менее 0,6;

- разрывная нагрузкагидроизола при растяжении в продольном направлении не должна быть менее 370 Н(37 кгс);

- разрывная нагрузка прирастяжении водонасыщенной (в течение 24 ч) полоски гидроизола в продольномнаправлении не должна быть менее 290 Н (29,0 кгс);

- гидроизол должен бытьводонепроницаемым в течение не менее 25 минут под давлением 0,05 МПа (0,5 атм);

- в партии гидроизола высшейкатегории качества не должно быть составных рулонов и рулонов со склееннойасбестовой бумагой.

Каждый рулон гидроизоладолжен быть обернут по всей ширине бумагой, масса 1 м2 которойдолжна быть не менее 120 г, или другой бумагой аналогичного качества.

Допускается применениедругих упаковочных материалов, обеспечивающих сохранность гидроизола притранспортировании и хранении.

Маркировка рулоновгидроизола должна производиться по ГОСТ30547-97*. На этикетке должны быть указаны:

- наименованиепредприятия-изготовителя или его товарный знак;

- наименование материала иномер нормативного документа на конкретный вид материала;

- номер партии (или другое обозначение партии,принятое на заводе-изготовителе) и дата изготовления.

3.6 Каждая партия клеящих мастик снабжена инструкцией по применению идокументом, в котором должно быть указано:

- наименование организации,в подчинении которой находится предприятие-изготовитель;

- наименование и адреспредприятия-изготовителя или его товарный знак;

- наименование материала;

- номер партии и датаизготовления;

- масса «нетто» упакованногоместа;

- результатыфизико-механических испытаний;

- обозначение ГОСТ, ТУ.

Документ должен бытьподписан лицом, ответственным за технический контроль предприятия-изготовителя.

3.7 Результаты входного контроля должны быть занесены в «Журнал входногоучета и контроля качества получаемых деталей, материалов, конструкций иоборудования».

3.8 При операционном контроле надлежит проверять соответствие выполненияосновных производственных операций по гидроизоляции требованиям, установленнымстроительными нормами и правилами, проектом конструкции гидроизоляции и другиминормативными документами.

Составпроизводственного контроля качества производства оклеечной гидроизоляцииприведен в таблице 3.


Таблица3 -Состав производственного контроля качества

Вид контроля (стадии)

Входной контроль

Операционный контроль

Приемочный контроль

Контролируемые операции

Качество применяемых материалов

Влажность основания

Ровность основания

Соответствие марок применяемых материалов проекту

Наличие и комплектность проекта производства работ

Наличие деформационных швов в основании

Обеспыливание основания

Покрытие основания грунтовкой

Наклейка дополнительных слоев в деформационных швах

Качество поверхности

Величина и качество нахлеста полотнищ рулонных материалов

Прочность сцепления

Качество поверхности

Прочность сцепления

Нахлест полотнищ рулонных материалов

Качество установки дополнительной изоляции в деформационных швах

Объем контроля

Сплошной и выборочный

Сплошной

Сплошной

Метод контроля

Инструментальный

Визуальный

Визуальный

Инструментальный и визуальный

Инструментальный и технический осмотр

Освидетельствование скрытых работ

 

Акт приемки

 

 

Акт на скрытые работы

Операции, контролируемые строительной лабораторией

+

+

 

 

+

 

+

 


3.9 При операционном контроле подготовленной под грунтовку поверхностиподлежит проверке:

- степень ее отвердения,отсутствие отслоений, раковин и трещин, сцепление выравнивающего слоя с бетоном- осмотром и простукиванием;

- ровность - наложением наповерхность рейки в различных направлениях с замером линейкой просветов;

- правильность устройствазакруглений внутренних и внешних углов в местах сопряжения поверхностей -наложением шаблона;

- чистоту и сухостьповерхности - по отсутствию мусора, просачивания воды, мокрых пятен.

Сухость поверхности следуетконтролировать пробной наклейкой в разных местах кусков рулонного материалаплощадью около 1 м2 с последующим их отрывом после остываниямастики. Поверхность считается сухой, если рулонный материал нельзя оторватьбез его разрыва.

3.10 При операционном контроле наклейки отдельных слоев гидроизоляцииподлежат проверке:

- непрерывность слоя иправильность соединений полотнищ в стыках;

- отсутствие дефектов:воздушных и водяных пузырей, отслоений, складок, проколов, трещин, острыхперегибов, переломов, оползаний, механических повреждений, а также просачиванияводы - путем осмотра и простукивания изоляции легким деревянным молотком;

- правильность защиты концовгидроизоляционного покрытия, оставленных для наращивания;

- прочность приклейкирулонного материала в гидроизоляции.

Прочность приклейкигидроизола проверяют пробным отрывом у края. Приклейка считается прочной, еслипри отрыве разорвется материал или разрушится мастика.

3.11 Обнаруженные в гидроизоляции дефекты необходимо устранить.

Все места взятия проб изподготовленного под гидроизоляцию элемента (сооружения) или из готовогопокрытия необходимо тщательно заделать и перекрыть дополнительно. Особоговнимания требуют различные швы, стыки, сопряжения как на гидроизолируемойповерхности, так и в гидроизоляционном покрытии.

3.12 После устранения всех дефектов необходимо составить акт на скрытыеработы, разрешающий выполнять последующие работы по закрытию гидроизоляциидругими конструктивными элементами. Составление актов освидетельствованияскрытых работ в случаях, когда последующие работы должны начинаться последлительного перерыва, следует осуществлять непосредственно перед производствомпоследующих работ.

3.13 Результаты операционного контроля должны быть зарегистрированы вжурнале производства работ по устройству оклеечной гидроизоляции.

3.14 При приемочном контроле проверяют качество устройства гидроизоляциивертикальных поверхностей. Результаты производственного контроля качества работдолжны заноситься в журнал производства работ.

3.15 Требования к качеству работ:

- места проколов и надрезовв гидроизоляционном слое должны быть тщательно заделаны;

- пузыри, вздутия и т.п. вгидроизоляционном слое не допускаются;

- отклонения гидроизоляциипо толщине от проектной величины допускаются не более 10 %.

4ТРЕБОВАНИЯ БЕЗОПАСНОСТИ И ОХРАНЫ ТРУДА, ЭКОЛОГИЧЕСКОЙ И ПОЖАРНОЙ БЕЗОПАСНОСТИ

4.1 Все вновь поступающие на стройку рабочие должны проходить как вводныйинструктаж, так и первичный инструктаж на рабочем месте по безопасности иохране труда по работе с механизмами, инструментами и материалами. Инструктажна рабочем месте проводит производитель работ или мастер с записью результатовинструктажа в «Журнале регистрации инструктажа на рабочем месте». Прошедшиевводный инструктаж заносятся в «Журнал регистрации вводного инструктажа поохране труда».

4.2 К устройству гидроизоляционных работ допускаются лица не моложе 18лет, имеющие профессиональные навыки, прошедшие медицинское освидетельствованиеи признанные годными, получившие знания по безопасным методам и приемам трудасогласно ГОСТ 12.0.004-90 «ССБТ. Организация обучения безопасности труда. Общие положения»,сдавшие экзамены квалификационной комиссии в установленном порядке и получившиесоответствующее удостоверение, а также имеющие квалификационную группу поэлектробезопасности (не ниже II для лиц, допускаемых куправлению оборудованием с электроприводом, и лиц, допускаемых к управлениюручными электрическими машинами).

4.3 В целях предупреждения и своевременного выявления профессиональныхзаболеваний или отравлений рабочие должны проходить предварительный ипериодические медицинские осмотры.

4.4 Гидроизолировщики должны:

- быть обучены безопасным ипрогрессивным приемам выполнения соответствующих операций технологическогоцикла;

- иметь наряд-допуск напроизводство этих работ, а до их начала быть проинструктированы по безопасноститруда на рабочем месте;

- допускаться к работе сгидроизолом, который при температуре 433 - 453 К (160 - 180 °С) из битумавыделяет тяжелые углеводороды и окись углерода, только после специальногообучения и инструктажа о свойствах материалов и мерах пожарной безопасности.

4.5 Оборудование для гидроизоляции пола должно быть инвентарным инаходиться в исправном состоянии.

4.6 Работы по нанесению грунтовочного состава и горячей битумной мастикидолжны проводиться только при использовании средств индивидуальной защитыкожных покровов.

4.7 При устройстве гидроизоляции наружной стены подземной части надлежитсоблюдать следующие правила безопасности и охраны труда:

а) подогревание битумных составовпроизводится в электрических бачках; запрещается применять приборы с открытымогнем;

б) напряжение подводящейэлектросети должно быть не более 42 В;

в) металлические бачки,предназначенные для подачи и перемещения горячего битума на рабочих местах,должны иметь форму усеченного конуса, обращенного широкой частью вниз, с плотнозакрывающимися крышками и запорными устройствами;

г) рабочие, занятые наприготовлении горячей битумной мастики и ее нанесении на поверхность,обеспечиваются защитными очками, респираторами, резиновыми сапогами и защитнойспецодеждой;

д) рабочие, занятые напереноске и применении разогретого битума, должны завязывать тесемкой концырукавов поверх рукавиц, а концы брюк - поверх сапог.

4.8 Рабочие, выполняющие гидроизоляционные работы, обязаны знать:

- опасные и вредные дляорганизма производственные факторы выполняемых работ;

- вредные вещества икомпоненты используемых материалов и характер их воздействия на организмчеловека;

- правила личной гигиены;

- инструкции по технологиипроизводства гидроизоляционных работ, содержанию рабочего места, побезопасности и охране труда, производственной санитарии, противопожарнойбезопасности;

- правила оказания первоймедицинской помощи.

4.9 Для предупреждения пожаров необходимо строго соблюдать требованияпротивопожарной безопасности согласно ППБ 01-03 «Правила пожарной безопасности в Российской Федерации» и регулярнопроводить инструктаж работающих.

В случае загораниягидроизола или битума следует применять пенный огнетушитель, кошму, асбестовоеполотно или специальные порошки. Битум категорически запрещается тушить водой.

4.10 В местах производства гидроизоляционных работ с применением битумныхмастик запрещается:

- пользоваться открытымогнем;

- курить;

- производить работы,связанные с искрообразованием;

- пользоватьсяискрообразующим инструментом.

4.11 Для курения должны быть отведены специальные места, оборудованныеурнами, бочками с водой, ящиками с песком.

4.12 Отходы необходимо до окончания работ удалять с объекта.

4.13 Порожнюю тару из-под легковоспламеняющихся жидкостей, мастик следуетхранить отдельно от других материалов на специально отведенной площадке,удаленной от места работы не менее чем на 30 м.

4.14 Запас материалов на рабочем месте не должен превышать сменнойпотребности.

4.15 В складских помещениях с легковоспламеняющимися материалами нельзяпользоваться спичками, фонарями «летучая мышь» и тому подобными средствами.

Складские помещения дляхранения гидроизоляционных материалов должны быть пожаробезопасными, сухими,хорошо проветриваемыми или вентилируемыми, достаточно освещенными, оснащеннымипротивопожарным инвентарем, снабженными внутри и снаружи надписями«Огнеопасно».

4.16 Все электротехнические установки по окончании работ необходимовыключать, а кабели и провода обесточивать.

4.17 Места производства работ должны быть обеспечены первичными средствамипожаротушения - огнетушителями, бочками с водой, ящиками с песком, ломами,топорами, лопатами, баграми, ведрами.

4.18 Каждый рабочий должен знать свои обязанности при возникновении пожараи его тушении, уметь пользоваться средствами пожаротушения, быстро оповещатьпожарную команду, пользуясь средствами связи.

4.19 Для соблюдения экологических норм необходимо предусмотреть емкость дляводы, предназначенную для промывки инструмента и механизмов.

4.20 При устройстве гидроизоляции вертикальных бетонных и железобетонныхповерхностей подземной части зданий и сооружений с применением гидроизола руководствоватьсятребованиями:

- СНиП12-03-2001 «Безопасность труда в строительстве. Часть 1. Общие требования»;

- СНиП12-04-2002 «Безопасность труда в строительстве. Часть 2. Строительноепроизводство»;

- ГОСТ12.0.004-90 «Организация обучения безопасности труда. Общие положения»;

- ГОСТ12.3.009-76* «Работы погрузочно-разгрузочные. Общие требованиябезопасности».

- ПОТ РМ-016-2001«Межотраслевые правила по охране труда (правила безопасности) при эксплуатацииэлектроустановок», М., 2001 г.;

- ППБ 01-03«Правила пожарной безопасности в Российской Федерации», МЧС России, М., 2003г.;

- СП12-135-2003 «Безопасность труда в строительстве. Отраслевые типовыеинструкции по охране труда»;

- «Рекомендаций поорганизации работы службы охраны труда в организации».

5ПОТРЕБНОСТЬ В МАТЕРИАЛЬНО-ТЕХНИЧЕСКИХ РЕСУРСАХ

5.1 Потребность в оборудовании, инструментах и приспособлениях приведена втаблице 4.

Таблица4 -Ведомость потребности в оборудовании, инструментах и приспособлениях

№ п/п

Наименование

Марка, ГОСТ

Техническая характеристика

Назначение

Количество на звено, шт.

1

2

3

4

5

6

1

Машина для удаления воды с поверхности основания

СО-106А

Производительность, л/мин

20

Для удаления влаги с изолируемой поверхности

1

2

Машина для очистки и перемотки рулонных материалов

СО-98

Скорость подачи материалов, м/с

0,7

Для очистки и выравнивания рулонных материалов

1

3

Машина для нанесения битумных мастик

СО-122А

Производительность, м3

0,9

Транспортировка, поддерживание температуры, нанесение мастик

1

4

Пистолет-краскораспылитель

СО-72

Производительность, м2

600

Огрунтовка изолируемой поверхности

1

Масса, кг

1,3

5

Компрессор

СО-7А

Производительность, м3

28 - 30

Продувка изолируемой поверхности, нанесение грунтовки

1

Мощность, кВт

4

Масса, кг

140

6

Рейка трехметровая и линейка

ГОСТ 427-75*

 

 

Для проверки ровности поверхности

1

7

Термос

ТБ-1

Емкость, м3

2

Транспортировка горячих битумных мастик

1

Масса с битумом, кг

3450

8

Бачок для битумной мастики

ТУ 550-1-138-81

Вместимость бачка, л

28

Переноска горячего битума

2

Масса бачка, кг

8,6

9

Ковш для разливки мастики

КМ-2,5 ТУ 22-686-73

Вместимость, л

2,5

Разливка мастики

3

Масса, кг

1,9

10

Гребок для разравнивания мастики

КМ-2,5 ТУ 22-686-73

Длина, мм

1940

Разравнивание мастики

3

Ширина резиновой вставки, мм

300

Масса, кг

1,0

11

Щетка волосяная полотерная

 

Длина с ручкой, мм

1800

Нанесение битумных мастик и грунтовок

1

Ширина корпуса, мм

80

Масса, кг

0,6

12

Устройство для раскатки и прикатки рулонных материалов

СО-108А

Производительность, м2

400

Раскатка и прикатка рулонных материалов при оклеечной гидроизоляции

1

Масса, кг

40

13

Термометр технический

ГОСТ 28498-90

 

Измерение температуры битума

2

14

Толщинометр

Н4

 

Измерение толщины грунтовки

1

15

Влагомер

ВКСМ-12М

 

Измерение влажности основания

1

16

Адгезиметр

АМЦ2-20

 

Для измерения прочности сцепления с основанием и между собой слоев гидроизоляции

1

17

Рулетка в закрытом корпусе

РЗ-20

 

 

 

ГОСТ 7502-98

18

Тележка

 

 

Для перевозки рулонных материалов и мастик

1

19

Тележка с термосом

 

 

Для перевозки горячего битума

2

20

Каски строительные

ГОСТ 12.4.087-84

 

Для защиты головы работающих

7

21

Очки защитные

 

 

Для защиты глаз

7

22

Комбинезон

ГОСТ 12.4.100-80*

 

Для защиты работающих

7

23

Респиратор

ГОСТ 17269-71*

 

Для защиты органов дыхания

7

22

Сапоги резиновые

ГОСТ 12.4.072-79*

 

Для защиты ног работающих

7

24

Рукавицы

Тип Г

 

Для защиты рук работающих

7

ГОСТ 12.4.010-75*

6ТЕХНИКО-ЭКОНОМИЧЕСКИЕ ПОКАЗАТЕЛИ

6.1 В качестве единицы измерения для составления калькуляции затрат трудаи машинного времени и календарного плана производства работ принято 100 м2гидроизоляционного покрытия вертикальных бетонных и железобетонныхповерхностей.

6.2 Затраты труда и машинного времени на устройство оклеечнойгидроизоляции вертикальных поверхностей с использованием гидроизола подсчитаныпо «Единым нормам и расценкам на строительные, монтажные иремонтно-строительные работы», введенным в действие в 1987 г., и представлены втаблице 5.

6.3 Продолжительность работ на устройство гидроизоляции вертикальныхповерхностей определяется календарным планом работ, представленным в таблице 6.

Таблица5 - Калькуляциязатрат труда на устройство вертикальной гидроизоляции стен с применениемгидроизола

Измеритель конечной продукции - 100 м2поверхности

№ п/п

Обоснование (ЕНиР и др. нормы)

Наименование технологических процессов

Ед. изм.

Объем работ

Нормы времени

Затраты труда

рабочих, чел.-ч

машиниста, чел.-ч, (работа машин, маш.-ч.)

рабочих, чел.-ч.

машинистов, чел.-ч (работа машин, маш.-ч)

1

2

3

4

5

6

7

8

9

1

Е 11-74е

Очистка поверхности от пыли, грязи, наплывов раствора электрощетками

100 м2

1

0,78

-

0,78

-

2

Е 8-1-5 Табл. 2 № 1б

Штукатурное выравнивание отдельных мест вертикальных бетонных поверхностей

100 м2

0,3

55,0

-

16,5

-

3

Е 8-1-5 Табл. 2 № 3б

Штукатурное выравнивание мест прохода труб в вертикальных стенах

100 мест

0,1

9,4

-

0,94

-

4

Е 8-11 № 73 (применительно)

Установка колец из проволоки для крепления изоляции

100 колец

1

4,4

-

4,4

-

5

Е 11-40 Табл. 1 № 6а

Оклейка вертикальной поверхности трехслойным гидроизоляционным ковром на горячем битуме

1-й слой

100 м2

1

19,0

-

19,0

-

6

Е 11-40 Табл. 1 № 6а К = 0,9

2-й слой

19,0

17,1

7

Е 11-40 Табл. 1 № 6а К = 0,9

3-й слой

19,0

17,1

8

Е 8-1-1 Табл. 3 № 1а

Крепление штукатурной сетки с устройством защитной цементной стяжки толщиной 3 см по гидроизоляционному слою

м2

100

0,49

-

49

-

10

Е 1-22 № 1а

Погрузка гидроизола и сетки

т

0,606

0,53

-

0,32

-

11

Е 1-22 № 1б

Подача гидроизола и сетки

100 т

0,006

0,76

0,38 (0,38)

0,005

0,003 (0,003)

12

Е 1-6 № 17а, б

Разгрузка гидроизола и сетки

т

0,606

0,44

-

0,27

-

13

Е 1-6 № 7а, б

Разгрузка раствора с очисткой самосвалов от материалов

100 м3

0,033

8,2

-

0,27

-

 

Е 1-6-54 № 7а, б

Подача раствора в ящиках

м3

3,28

1,4

0,7 (0,7)

4,59

2,3 (2,3)

15

 

Неучтенные работы

%

10

-

-

13,02

-

 

 

ИТОГО:

 

 

 

 

143,28

2,53 (2,53)

6.4 Технико-экономические показатели приведены ниже:

Затраты труда погидроизоляции

100 м2 вертикальных поверхностей, чел.-ч                               143,28

1 м2 вертикальных поверхностей, чел.-ч                                   1,43

выработка наодного рабочего в смену, м                                 2,37

продолжительностьработ, ч                                                      33

Таблица 6 - Календарный план выполнения работ поустройству гидроизоляции вертикальных поверхностей из рулонного материалагидроизола

Измеритель конечной продукции - 100 м2поверхности

7ПЕРЕЧЕНЬ НОРМАТИВНО-ТЕХНИЧЕСКОЙ ЛИТЕРАТУРЫ

1 СНиП 3.01.01-85* Организация строительногопроизводства;

2 СНиП 3.04.01-87 Изоляционные и отделочныепокрытия;

3 СНиП 3.04.03-85 Защита строительных конструкций и сооружений от коррозии;

4 СНиП 12-03-2001 Безопасность труда в строительстве. Часть 1. Общие требования;

5 СНиП 12-04-2002 Безопасность труда в строительстве. Часть 2. Строительноепроизводство;

6 ГОСТ 12.0.004-90 ССБТ. Организация обучения безопасности труда. Общие положения;

7 ГОСТ 12.3.009-76* ССБТ. Работы погрузочно-разгрузочные. Общие требования безопасности;

8 ГОСТ 12.4.011-89 ССБТ. Средства защиты работающих. Общие требования и классификация;

9 ГОСТ 12.4.041-2001 ССБТ. Средства индивидуальной защиты органов дыхания фильтрующие.Общие технические требования;

10 ГОСТ 7415-86* Гидроизол. Технические условия; ГОСТ 30547-97* Материалы рулонные кровельные и гидроизоляционные. Общие техническиеусловия;

11 ГОСТ 9548-74* Битумы нефтяные кровельные. Технические условия;

12 ГОСТ 30547-97* Материалы рулонные кровельные и гидроизоляционные. Общие техническиеусловия;

13 ППБ 01-03 Правила пожарной безопасности в Российской Федерации;

14 СП 12-135-2003 Безопасность труда в строительстве. Отраслевые типовые инструкции поохране труда, Госстрой России. М., 2003 г.;

15 Справочник молодого теплоизолировщика и гидроизолировщика. М., Высшаяшкола, 1988 г.

16 Справочное пособие по строительному производству. М., Стройиздат, 1989г.

17 Рекомендации по устройству гидроизоляции АО «ЦНИИпромзданий» 1998.