Меню
Навигация
Novatika
Первая линия

53-03 ТК «Технологическая карта на устройство монолитных перекрытий зданий по стальному профилированному настилу»

Настоящая технологическая карта разработана на устройство монолитного перекрытия с применением стального профилированного настила для зданий общественного и промышленного назначения.

Обозначение: 53-03 ТК
Название рус.: Технологическая карта на устройство монолитных перекрытий зданий по стальному профилированному настилу
Статус: действующий
Дата актуализации текста: 01.10.2008
Дата добавления в базу: 01.02.2009
Дата введения в действие: 01.01.2003
Разработан: ОАО ПКТИпромстрой 125040, Москва, Ленинградский проспект, д. 26
Утвержден: ОАО ПКТИпромстрой (01.01.2003)
Опубликован: ОАО ПКТИпромстрой № 2003

Открытое акционерное общество

Проектно-конструкторский и технологический
институт промышленного строительства

ОАО ПКТИпромстрой

УТВЕРЖДАЮ

Генеральный директор, к.т.н.

____________ С.Ю. Едличка

«____» ____________ 2003 г.

ТЕХНОЛОГИЧЕСКАЯ КАРТА
НА УСТРОЙСТВОМОНОЛИТНЫХ ПЕРЕКРЫТИЙ
ЗДАНИЙ ПО СТАЛЬНОМУ ПРОФИЛИРОВАННОМУ
НАСТИЛУ

53-03 ТК

Главный инженер

_____________ А.В. Колобов

Начальник отдела

_____________ Б.И. Бычковский

2003

Карта содержиторганизационно-технологические и технические решения на устройство монолитныхперекрытий зданий по стальному профилированному настилу, применение которыхдолжно способствовать ускорению работ, снижению затрат труда и повышениюкачества монолитных перекрытий.

В технологической картеприведены: область применения, организация и технологическая последовательностьвыполнения работ, требования к качеству и приемке работ, калькуляция затраттруда, график производства работ, потребность в материально-техническихресурсах, решения по безопасности и охране труда и технико-экономическиепоказатели.

Исходные данные иконструктивные решения, применительно к которым разработана карта, приняты сучетом требований СНиП, а также условий и особенностей, характерных длястроительства в г. Москве.

Технологическая карта служиттехнологическим документом при устройстве монолитных перекрытий с применениемстального профилированного настила и предназначена для инженерно-техническихработников строительных и проектных организаций, а также производителей работ,мастеров и бригадиров, связанных с производством монолитных железобетонныхработ.

В разработке технологическойкарты участвовали сотрудники ОАО ПКТИпромстрой:

- Черных В.В. - разработкатехнологической карты, компьютерная обработка и графика;

- Холопов В.Н. - проверкатехнологической карты;

- Бычковский Б.И. -техническое руководство, корректура и нормоконтроль;

- Колобов А.В. - общеетехническое руководство разработкой технологических карт;

- к.т.н. Едличка С.Ю. -общее руководство разработкой технологической документации.

СОДЕРЖАНИЕ

1.ОБЛАСТЬ ПРИМЕНЕНИЯ

1.1 Настоящая технологическая карта разработана на устройство монолитногоперекрытия с применением стального профилированного настила для зданийобщественного и промышленного назначения.

1.2 В зависимости от конструктивных решений монолитное перекрытие можетбыть двух видов:

1.2.1. Монолитное перекрытие с использованием стального профилированногонастила только в качестве несъемной опалубки. В данном случае используется профнастилв соответствии с ГОСТ 24045-94 «Профили стальные листовые гнутые с трапециевидными гофрами длястроительства. Технические условия». Армирование предусматривается плоскимиарматурными каркасами и сетками, соответствующими требованиям ГОСТов, из сталикласса А-I, А-II, В-I. Конструкция такого перекрытия представлена на рисунке 1.

Рисунок1 -Конструкция монолитного перекрытия с применением стального профилированногонастила в качестве несъемной опалубки

1.2.2 Монолитное перекрытие с использованием стального профилированногонастила в качестве несъемной опалубки и внешней арматуры. В данном случаеиспользуется профнастил в соответствии с техническими условиями 9608-Н60А-845ТУс выштампованными рифами для обеспечения сцепления и совместной работы настилас бетоном. Целесообразно при опирании плиты на стальные прогоны обеспечивать ихсовместную работу за счет вертикальных стержневых анкеров, привариваемых повсем прогонам. В качестве дополнительной гибкой арматуры плиты рекомендуетсяарматурная сталь, соответствующая требованиям ГОСТов, следующих видов иклассов: стержневая периодического профиля классов А-II и А-III, проволочная класса Вр.Вертикальные анкеры, закрепляющие настил на опорах, должны быть выполнены изарматурной стали периодического профиля классов А-II и А-III диаметром 12 - 16 мм.Конструкция данного перекрытия представлена на рисунке 2.

Рисунок2 -Конструкция монолитного перекрытия с применением стального профилированногонастила в качестве несъемной опалубки и внешней арматуры

1.3 Стальной профнастил должен быть оцинкованным или иметь другоепокрытие, обеспечивающее его коррозийную стойкость. Рекомендуемый переченьстального профилированного настила, используемый для монолитных перекрытий,представлен в таблице 1.

Таблица 1 - Основные техническиепараметры стального профилированного настила

Марка профиля

Эскиз

Толщина листа, δ (мм)

Высота профиля, h (мм)

Расстояние между соседними гофрами, S (мм)

Ширина листа, L (мм)

Масса 1 м длины, кг

ГОСТ 24045-94

Н 57-750-0,7

0,7

57

187,5

801

8,7

Н 57-750-0,8

0,8

57

187,5

801

9,8

Н 60-845-0,7

0,7

60

211,2

902

8,8

Н 60-845-0,8

0,8

60

211,2

902

9,9

Н 60-845-0,9

0,9

60

211,2

902

11,1

Н 75-750-0,8

0,8

75

187,5

800

11,2

Н 75-750-0,9

0,9

75

187,5

800

12,5

Н 114-600-0,8

0,8

114

200

646

14,0

Н 114-600-0,9

0,9

114

200

646

15,6

Н 114-600-1,0

1,0

114

200

646

17,2

Н 114-750-0,8

0,8

114

250

807

12,5

Н 114-750-0,9

0,9

114

250

807

14,0

Н 114-750-1,0

1,0

114

250

807

15,4

9608-Н60А-845ТУ

Н 60А-845-0,7

0,7

60

211,5

902

8,8

Н 60А-845-0,8

0,8

60

211,5

902

9,9

Н 60А-845-0,9

0,9

60

211,5

902

11,1

Н 60А-845-1,0

1,0

60

211,5

902

11,2

Н 80А-674-0,9

0,9

80

168,6

724

13,9

Н 80А-674-1,0

1,0

80

168,6

724

15,3

1.4 Для бетонирования перекрытия применяется тяжелые бетонные смеси наобычном или мелкозернистом заполнителе классов по прочности на сжатие не нижеВ15, а также легкие бетоны на пористых заполнителях классов по прочности насжатие В12,5. Подача и распределение бетонной смеси предусматривается припомощи автобетононасосов типа СБ-170, СБ-126 или фирм «Путцмайстер», «Швинг».Основные технические характеристики автобетононасосов представлены в таблице 2.

Таблица 2 - Основные технические характеристики автобетононасосов.

№ п/п

Техническая характеристика

СБ-170-1

СБ-170-3

СБ-126А

«Швинг» BPL 600 HD

Путцмайстер

BRF 22.09EM

BRF 24.08

BRF 28.09EM

BRF 32.09EM

BRF 36.09

BRF 43.09

1

Максимальная подача на выходе из распределительного устройства, м3

65

65

60

60

90

87

90

90

90

90

2

Высота подачи бетона с помощью бетонораспределительной стрелы, м

22

-

21

30,75

22,3

23,2

27,3

32,6

35,7

42,1

3

Дальность подачи по вертикали, м

80

-

80

100

-

-

-

-

-

-

4

Дальность подачи по горизонтали, м

420

-

360

400

-

-

-

-

-

-

5

Подвижность перекачиваемой смеси, см

6 - 12

6 - 12

6 - 12

6 - 12

2 - 25

2 - 25

2 - 25

2 - 25

2 - 25

2 - 25

 

Наибольшая крупность заполнителя

50

50

50

50

63

63

63

63

63

63

6

Тип привода

Гидр.

Гидр.

Гидр.

Гидр.

-

-

-

-

-

-

7

Установленная мощность привода, кВт (л.с.)

95 (119,2)

95 (119,2)

100

-

-

-

-

-

-

-

8

Диаметр бетоновода (внутренний), мм

125

125

125

125

125

125

125

125

125

125

9

Объем загрузочной воронки, м3

0,6

0,6

0,6

0,5

0,6

0,6

0,6

0,6

0,6

0,6

10

Высота загрузки, мм

1450; 3600

1450

1400

1350

1350

1350

1350

1350

1400

1400

11

Поворот стрелы, град.

 

 

 

 

 

 

 

 

 

 

 

в вертикальной плоскости

90 - 3

90

90

95

97

110

112

105

94

106

 

в горизонтальной плоскости

355 + 5

370

355

370

390

365

365

365

365

365

12

Габаритные размеры в транспортном положении, м

10´25´3,8

-

10´2,5´3,8

11´2,44´3,85

9,1´2,5´3,6

8,62´2,5´3,82

10,84´2,5´3,85

10,11´ 2,48´3,9

11,16´2,5´3,9

13,73´ 2,5´3,97

14

Масса снаряженного автобетононасоса, кг

16500

19700

17000

22430

18200

17840

19300

25000 или 22860

26300

33890

15

Тип шасси

КамАЗ-740

Урал-4320-1912

КамАЗ-53213

МВ* 2224

МВ* 1824

МВ* 1824

МВ* 2024

МВ* 2631/41 или КРАЗ250К

МВ* 2631

МВ* 3538

* - Мерседес-Бенц

1.5 При использовании технологической карты необходима ее привязка кконкретным условиям строительной площадки.

2.ОРГАНИЗАЦИЯ И ТЕХНОЛОГИЯ ВЫПОЛНЕНИЯ РАБОТ

2.1 Работы по устройству монолитных перекрытий с применением стальногопрофилированного настила осуществляются в соответствии с рабочими чертежами,проектом производства работ, а также с соблюдением требований СНиП 3.01.01-85* «Организация строительного производства», СНиП 3.03.01-87 «Несущие и ограждающие конструкции», «Рекомендаций по проектированиюмонолитных железобетонных перекрытий со стальным профилированным настилом»НИИЖБ.

2.2 До начала производства работ по устройству монолитного перекрытиядолжны быть выполнены подготовительные работы, предусмотренные ППР, в томчисле:

- закончен монтажметаллических балок и прогонов перекрытий;

- подготовлены механизмы,приспособления и оборудование;

- осуществлена раскладкапакетов профилированного настила, арматуры (сеток и каркасов) в объеме,определенном ППР на захватку;

- произведена разметка местустановки настилов и стоек для крепления торцевой опалубки;

- установлены поддерживающиелеса с подмостями и ограждениями.

2.3 Подбор настилов по профилю и размерам для объекта в целом необходимопроизводить с одного завода-изготовителя.

2.4 На строительную площадку стальные профили должны поставлятьсяпакетами. Пакеты при транспортировании и хранении должны быть уложены надеревянные или из другого материала прокладки одинаковой толщины не менее 50мм, шириной не менее 150 мм и длиной больше габаритного размера пакета не менеечем на 100 мм, расположенные не реже чем через 3 м.

При транспортировании ихранении пакеты должны быть размещены в один ярус.

2.5 Длину пролета плиты рекомендуется назначать в пределах 1,5 - 3 м.Допускается принимать большие пролеты при устройстве временных опор на периодбетонирования и вызревания бетона.

2.6 Листы крепятся к стальным прогонам точечной сваркой с принудительнымпроплавлением и формованием электрозаклепки с использованием штучныхстандартных покрытых электродов или самонарезающими винтами, а к железобетоннымбалкам перекрытия - с помощью дюбелей. Между собой профнастил крепитсякомбинированными заклепками. Точки крепления профнастила к прогонам и балкамустанавливаются рабочими чертежами.

2.7 Стальной профилированный настил, используемый в качестве опалубки иарматуры плиты, должен иметь надежное сцепление с бетоном, что обеспечиваетсявыштампованными при прокате рифами и специальными анкерными устройствами.

В качестве анкерныхустройств рекомендуются вертикальные стержневые анкеры из арматурной стали,привариваемые в процессе монтажа через лист настила к верхней полке стальногопрогона.

Вертикальные стержневыеанкеры привариваются по всем прогонам, служащим опорами стальногопрофилированного настила в количестве, определенном проектом. Если совместнаяработа прогонов с плитой не учитывается, то число анкеров определяется израсчета плиты и принимается не менее одного в каждом гофре по концампрофилированного настила и не менее одного через два гофра на промежуточныхопорах при непрерывности на них настила.

Расстояние от анкера допрофнастила и грани прогона должно быть не менее 1,5 диаметра анкера, а междуосями анкеров в одном гофре - не менее 70 мм.

Длину анкеров следуетпринимать равной высоте плиты за вычетом величины защитного слоя от торцаанкера до поверхности бетона. Ширина гофров для приварки анкеров должна быть неменее 50 мм. Необходимо соблюдать требования плотности примыкания стальногопрофилированного листа к прогонам в местах приварки вертикальных анкерныхстержней, обеспечивающие прочность сварки и отсутствие прожогов настила.Допускается зазор не более 0,5 мм.

2.8 Приварка стального профилированного настила, а также вертикальныханкеров должна производиться в соответствии с требованиями «Рекомендаций потехнологии приварки втавр под флюсом стержней и оцинкованного профилированногонастила к стальным конструкциям». НИИЖБ, М., 1984 г. и ГОСТ 14098-91 «Соединения сварные арматуры и закладных изделий железобетонныхконструкций. Типы, конструкция и размеры».

Для приварки профнастила кэлементам каркаса должны применяться электроды типа Э50А марки УОНИ-13/55диаметром 4 мм или другой соответствующей марки, удовлетворяющей требованиям ГОСТ9466-75* и ГОСТ9467-75*.

Электроды перед сваркой должныпрокаливаться при температуре 450 °С в течение 1 часа.

2.9 Стыки листов стального профилированного настила по длине следуетвыполнять на прогонах впритык без нахлеста.

По ширине листы стыкуютсяпутем нахлеста боковых граней профнастила, соединяя их между собой заклепками сшагом не более 600 мм (ОСТ 34-14-017-78, ТУ 67-74-75).

2.10 Верхняя часть балки, на которую устанавливается настил, должна бытьсухой и очищенной от окалины, ржавчины, краски, грязи или мусора.

2.11 Армирование плиты перекрытия производят в соответствии с проектом.Замена арматурной стали по классу, сортаменту, марке должна быть согласована спроектной организацией.

Перед установкой арматурыдолжна быть произведена проверка правильности монтажа смонтированного настила,а также точности расположения закладных в соответствии с проектом.

Поверхность профилированногонастила должна быть очищена от мусора и грязи.

2.12 Арматуру следует монтировать в последовательности, обеспечивающейправильное ее положение и закрепление, исключающее смещение при бетонированииперекрытия. Для обеспечения защитного слоя бетона в соответствии с проектомнеобходимо устанавливать специальные фиксаторы.

2.13 Арматурные сетки и каркасы должны храниться раздельно по партиям, приэтом должны предусматриваться меры против их коррозии и загрязнения.

2.14 Транспортировку бетонной смеси к объекту необходимо производитьавтобетоносмесителями типа СБ-69Б, СБ-92В-2, СБ-159Б, СБ-172-1, СБ-24-1,СБ-230.

2.15 Перед укладкой бетонной смеси должны быть проверены и приняты все конструкциии их элементы, закрываемые в процессе последующего производства работ, ссоставлением актов скрытых работ. Непосредственно перед бетонированием настилдолжен быть очищен от мусора и грязи, а арматура - от налета ржавчины.

2.16 Бетонные смеси, предназначенные для транспортирования потрубопроводам, должны обладать однородной структурой, удобоперекачиваемостью иобеспечивать получение требуемых физико-механических характеристик бетона.

Оптимальная подвижностьбетонной смеси должна находиться в пределах 8 - 10 см, а водоцементноеотношение - 0,4 - 0,6.

2.17 При подаче бетонной смеси на перекрытие высота свободного сбрасыванияне должна превышать 1 м.

2.18 Подачу бетонной смеси бетононасосами необходимо выполнять всоответствии со следующими правилами:

- перед началом работбетононасос и весь комплект бетоновода должны быть испытаны гидравлическимдавлением, величина которого указывается в паспорте установки;

- назначенный состав иподвижность бетонной смеси должны быть проверены и уточнены на основании пробныхперекачек смеси;

- внутренняя поверхностьбетоновода непосредственно перед бетонированием должна быть увлажнена и смазанацементным молоком;

- при перерывах в перекачкесмеси от 20 до 60 мин. необходимо каждые 10 минут перекачивать бетонную смесь посистеме в течение 10 - 15 с на малых режимах работы бетононасоса. Приперерывах, превышающих указанное время, бетоновод должен быть опорожнен, очищени промыт;

- распределение бетоннойсмеси следует осуществлять с помощью распределительной стрелы и бетоноводов,установленных в зоне бетонирования;

2.19 Укладку бетонной смеси следует производить полосами шириной 3 - 4 мчерез одну.

2.20 Во время дождя забетонированный участок должен быть защищен отпопадания воды в бетонную смесь. Случайно размытый бетон следует удалить.Бетонирование конструкций должно сопровождаться соответствующими записями вжурнале бетонных работ.

2.21 Движение людей по забетонированным конструкциям, а также снятиеопалубки допускается лишь после достижения бетоном прочности в соответствии со СНиП 3.03.01-87 , но не менее 1,5 МПа.

2.22 Работы по устройству монолитного перекрытия с применением стальногопрофилированного настила выполнять в следующей технологической последовательности:

- раскладка и креплениестального профилированного настила;

- установка арматуры;

- укладка бетонной смеси вперекрытие.

2.22.1 Раскладка и крепление стального профилированного настила.

Укладку настила и егокрепление к прогонам осуществлять захватками, которые определяются всоответствии с конструктивными особенностями здания и назначаются в ППР. Подачунастилов в зону производства работ осуществлять краном.

Перед укладкой настилапроизвести очистку верхней полки балок от грязи и наледи при помощи скребковили стальных щеток, а затем приварить стальные стойки, к которым в последствиибудет крепиться торцевая деревянная опалубка и направляющие.

Раскладку настилапроизводить в соответствии с рабочими чертежами вручную.

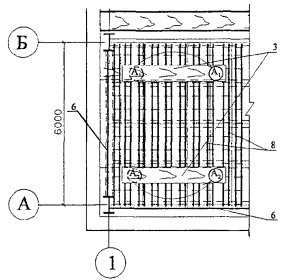
Работы по укладке стальногопрофилированного настила вести с деревянных мостиков, установленных по длиневсего пролета и вдоль торца здания. Порядок раскладки стальногопрофилированного настила представлен на рисунке 3.


ПРИМЕЧАНИЕ: - Продольный деревянный настил после укладкипрофилированного настила в пролете А-Б демонтируется, дальнейшая укладкапроводится с ранее уложенного настила.

1. Пакет с профилированным настилом - 20 шт.; 2.Поперечный деревянный настил; 3. Установленный профилированный настил; 4. Балкиперекрытия; 5. Продольный деревянный настил; 6. Деревянный трап

Рисунок3 -Производство работ по укладке профилированного настила

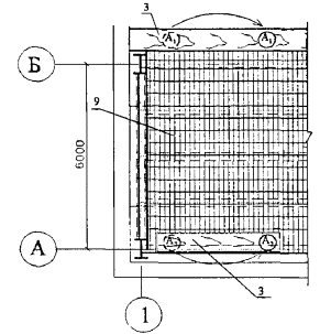
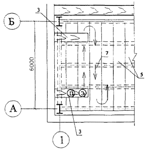
1 - пакет с арматурнымикаркасами; 2 - пакет с нижней арматурной сеткой; 3 - пакет с верхней арматурнойсеткой; 4 - ящик с проволочными фиксаторами Ф1; 5 - ящик спроволочными фиксаторами Ф2; 6 - торцевая опалубка; 7 - деревянныйтрап шириной 0,6 м; 8 - уложенный профилированный настил; 9 - направляющие длявиброрейки

Рисунок4 - Производство работ по армированию плитыперекрытия

Рисунок5 -Производство работ по бетонированию плиты перекрытия


Укладка и осаживание листовпрофнастила в местах нахлеста следует производить без повреждения егоповерхности и без искажения формы.

После укладки настила на стальныеили железобетонные балки производят его крепление. При этом должно бытьобеспечено плотное прилегание опорных частей стального профилированного настилак элементам каркаса в местах крепления.

2.22.2 Установка арматуры.

Перед армированиемперекрытия необходимо установить торцевую опалубку.

Установку отдельныхарматурных стержней, каркасов и сеток выполнять в соответствии с рабочимичертежами по захваткам в соответствии с рисунком 4.

Подачу арматурных стержней,каркасов и сеток в зону производства работ осуществлять при помощи крана.

Вначале в каждый гофрнастила уложить арматурный каркас, затем в продольном и поперечном направленияхустановить проволочные фиксаторы Ф1, нижнюю часть которых завестипод каркас, создавая при этом проектную величину защитного слоя.

На установленные проволочныефиксаторы уложить нижнюю арматурную сетку, на которую в свою очередь установитьеще одни проволочные фиксаторы Ф2 и уложить верхнюю арматурнуюсетку.

После укладки арматурывыполнить установку направляющих, разделяющих площадь перекрытия на зоныбетонирования в соответствии с рисунком 5.

2.22.3 Укладка бетонной смеси в перекрытие.

Бетонирование плитыпредусматривается при помощи автобетононасоса типа «Швинг» ВРД 600 HD.

Места стоянок и маршрут передвижения автобетононасосови автобетоносмесителей на строительной площадке определяют согласно ППР.

Состав бетонной смеси, предназначенной для подачиавтобетононасосом, должен быть подобран лабораторией согласно требованиям СНиП 3.03.01-87.

Автобетононасос устанавливается на предусмотренную ППРстоянку и подготавливается к работе: устанавливаются аутригеры, раскрываетсястрела.

Монтируется бетоновод из металлических труб, концевойучасток которого длиной 6 м, должен быть из резинотканевого шланга. Бетоноводследует укладывать на подкладки, козлы или стойки.

Выбор трассы бетоновода должен осуществляться так,чтобы было как можно меньшее сопротивление, что достигается сокращением длиныбетоновода и количества его изгибов. Особенно следует избегать применения коленс углом 90°.

Вертикальные или наклонные участки бетоновода следуетрасполагать не ближе 7 - 8 м от бетононасоса. Перед переходом с горизонтальногоучастка на вертикальный необходимо установить игольчатый клапан или шибернуюзадвижку для предотвращения обратного потока бетонной смеси при остановкебетононасоса (с механическим приводом), ремонте или очистке бетоновода.

Монтаж, демонтаж и ремонт бетоноводов, а такжеудаление из них задержавшегося бетона (пробок) допускается только послеснижения давления до атмосферного.

Бетононасос с бетоноводами и вспомогательнымоборудованием после сборки должен быть опробован и проверен.

Перед бетонированием профилированный настил и бетонныеповерхности рабочих швов должны быть очищены от мусора, грязи, масел, снега ильда, цементной пленки и др. Непосредственно перед укладкой бетонной смесиочищенные поверхности должны быть промыты водой и просушены струей воздуха.

Перед перекачкой бетонной смеси растворяется ипрогоняется по трубопроводу смазочный раствор.

Бетонирование перекрытия выполнять в соответствии срисунком 5,начиная от оси А с первой стоянки автобетононасоса. В первую очередьбетонируются карты 1, 2 и 3, затем 4, 5 и 6. Высота подачи бетонной смесипринята 15 м, площадь бетонирования 1080 м2.

Автобетоносмесители подъезжают к загрузочному бункеруавтобетононасоса и порциями разгружают бетонную смесь, котораяавтобетононасосом сразу же перекачивается в конструкцию плиты перекрытия. При помощигибкого рукава бетонную смесь распределяют по площади бетонирования, начиная снаиболее удаленного участка.

Бетонирование осуществлятьна всю толщину перекрытия с одновременным уплотнением бетонной смеси глубиннымивибраторами с последующим выравниванием виброрейкой.

При уплотнении бетоннойсмеси глубинным вибратором последний погружается в уплотняемый слой вертикальноили с небольшим наклоном. Погружение наконечника осуществлять быстро, послечего он, вибрируя, остается неподвижным в течение 10 - 15 сек., а затеммедленно вытаскивается из бетонной смеси с тем, чтобы обеспечить заполнениесмесью освобождаемого пространства. Уплотнение необходимо прекратить, когдаоседание бетонной смеси не наблюдается, крупный заполнитель покрываетсяраствором, на поверхности появляется цементное молоко и прекращается выделениебольших пузырьков воздуха.

Шаг перестановки глубинноговибратора не должен превышать полуторного радиуса действия вибратора, которыйустанавливается визуально и зависит от подвижности бетонной смеси, степениармирования, формы конструкции.

После завершениявибрирования и выравнивания бетонной смеси поверхность свежеуложенного бетонаукрыть брезентом или мешковиной, которые должны поддерживаться во влажномсостоянии. Можно использовать для укрытия слой влажных опилок или песка,которые насыпают через 3 - 4 часа после укладки бетона и поливают рассеяннойструей воды из брандспойта до 5 раз в день. Уход должен продолжаться в течение7 - 14 дней в зависимости от погоды и вида применяемого цемента до достижениябетоном 50 - 70 % проектной прочности.

В осеннее и весеннее времягода при температуре воздуха +5 °С и ниже, когда возможны заморозки, открытыеповерхности бетона необходимо укрывать теплоизоляционными рулоннымиматериалами.

2.23 Организация рабочего места.

Организация рабочих мест приукладке профнастила, раскладке армокаркасов и сеток, а также при бетонированииплиты представлена на рисунке 6.

1. При укладке стального профилированного настила

2. При приварке стального профилированного настила

3. При раскладке каркасов

4. При раскладке верхних и нижних сеток

5. При бетонировании перекрытия

Условные обозначения:

1 - пакет со стальнымипрофилированными настилами; 2 - деревянный настил; 3 - деревянный трап; 4 -стальные балки; 5 - устанавливаемый профилированный настил; 6 - опалубка; 7 - направление движения рабочего; 8 -уложенные каркасы; 9 - уложенная сетка; 10 - бетоновод; 11 -гибкий конец бетоновода; 12 - виброрейка; 13 - бетонная смесь; 14 -направляющие; М1, М2 - монтажники; Э1 -электросварщик; П1 - плотник; А1, А3 -арматурщики; Б1, Б2, Б3 - бетонщики

Рисунок 6 - Организация рабочего места

2.24 При устройстве железобетонной плиты необходимо придерживатьсяследующей очередности работ:

2.24.1. Очистка балок перекрытия.

Монтажник М1 сдеревянного мостика, уложенного на металлические балки, очищает стальной щеткойили скребком верхние полки балок перекрытия от грязи.

2.24.2. Крепление металлических стоек под торцевую опалубку и направляющие.

Электросварщик Э1с деревянного мостика в намеченных местах приваривает металлические стойки.

2.24.3. Укладка стального профилированного настила.

Монтажники М1 и М2с деревянного настила укладывают профилированный настил на металлические балки.

2.24.4. Приварка настила.

Плотник П1прижимает настил к балке перекрытия, а электросварщик Э1 привариваетего в нужной точке.

2.24.5. Установка торцевой опалубки.

Рабочие П1 и Э1крепят торцевую опалубку к ранее приваренным стойкам.

2.24.6. Раскладка арматурных каркасов.

Арматурщики А1 и А2, удерживая каркас законцы, укладывают его в гофр настила.

2.24.7. Установка проволочных фиксаторов.

Арматурщик А1 устанавливает в каждый гофр фиксаторыФ1.

2.24.8. Укладка нижних сеток.

Арматурщики А1 иА2 укладывают арматурную сетку на фиксаторы Ф1.

2.24.9. Установка проволочных фиксаторов.

Арматурщик А2 устанавливает фиксаторы Ф2.

2.24.10. Установка верхних сеток.

Арматурщики А1 иА2 укладывают на фиксаторы Ф2 арматурные сетки.

2.24.11. Установка направляющих.

Плотник П1 иэлектросварщик Э1 на нужной отметке устанавливают направляющие изакрепляют их к стойкам электросваркой.

2.24.12. Бетонирование перекрытия.

Бетонщик Б1 сдеревянного мостика при помощи веревочной оттяжки направляет гибкий концевойшланг в место укладки бетонной смеси, а бетонщик Б2 распределяетлопатой бетонную смесь.

2.24.13. Уплотнение бетонной смеси.

Бетонщик Б3, находясь на деревянном настиле,глубинным вибратором уплотняет бетонную смесь.

2.24.14. Выравнивание бетонной смеси.

Бетонщики Б1 и Б2устанавливают виброрейку на направляющие и передвигают ее за фалы, выравниваяповерхность бетонной смеси. При необходимости, бетонщик Б3 снимает излишки бетона лопатой илидобавляет ее в выемки.

3.ТРЕБОВАНИЯ К КАЧЕСТВУ И ПРИЕМКЕ РАБОТ

3.1 Контроль качества работ по устройству монолитного перекрытия попрофнастилу должен осуществляться специалистами службы строительнойорганизации, оснащенной техническими средствами и обеспечивающей необходимуюдостоверность и полноту контроля.

3.2 Контроль качества работ должен включать входной контроль рабочейдокументации, материалов и изделий, операционный контроль производства работ поустройству монолитного перекрытия и приемочный контроль качества выполненныхработ по перекрытию.

3.3 При входном контроле рабочей документации проводится проверка еекомплектности и достаточности в ней технической информации. При входномконтроле материалов и изделий проверяется соответствие их стандартам, наличиесертификатов соответствия, гигиенических и пожарных документов, паспортов идругих сопроводительных документов. Результаты проведения входного контролядолжны быть занесены в «Журнал входного учета и контроля качества получаемыхдеталей, материалов, конструкций и оборудования».

3.4 Поступающий на строительство профилированный настил долженудовлетворять требованиям ГОСТ 24045-94 и техническим условиям 9608-Н60А-845ТУ.

Предельные отклоненияразмеров всех типов профилей не должны превышать указанных в таблице 3.

Таблица 3 - Предельные отклонения в размерах всех типов профилей

Высота профиля

Предельные отклонения, мм

по высоте

по ширине

по длине

От 10 до 20 включительно

±1,0

±8,0

+10,0

Св. 20 до 60 включительно

±1,5

Св. 60 до 75 включительно

±2,0

Св. 75 до 114 включительно

±2,5

+15,0

-8,0

Примечания.

1. По согласованию изготовителя с потребителем отклонение по длине вышеуказанного предела бракованным признаком не является.

2. Размеры шага, ширины, радиусов кривизны и глубины гофров, высоты ступенек на готовых профилях не контролируется.

Размеры профилированныхлистов контролируют рулеткой по ГОСТ 7502-98,металлической линейкой по ГОСТ 427-75*,штангенрейсмасом по ГОСТ 164-90. Ширину и высотулистов измеряют на расстоянии от 40 до 500 мм, длину - по двум сторонам.

Предельные отклонения потолщине профилированных настилов должны соответствовать предельным отклонениямпо толщине заготовки нормальной точности прокатки по ГОСТ 19904-90 без учетатолщины покрытия. Предельные отклонения не распространяются на отклонения потолщине в местах изгиба.

Разность ширины крайнихузких полосок гофров профилированных листов должны быть не менее 2 мм.

На плоской части более узкихполосок рекомендуется производить маркировку в виде продольного зигзага,окраски или другими способами.

Серповидность профильныхлистов не должна превышать 1 мм на 1 м длины при длине профилей до 6 м и 1,5 ммна 1 м длины при длине профилей более 6 м. Общая серповидность не должнапревышать произведения допускаемой серповидности на 1 м на длину листа вметрах.

Волнистость на плоскихучастках профилированных листов не должна превышать 1,5 мм, а на отгибахкрайних полосок - 3 мм.

Серповидность по ребру гофраи волнистость профилированных листов проверяют поверочной линейкой длиной 1 мпо ГОСТ8026-92 и набором щупов по ТУ 2.034-225-87.

Общую серповидностьопределяют с помощью струны, закрепленной на плоской горизонтальнойповерхности, и линейкой по ГОСТ 427-75*.

Косина резов профилированныхлистов не должна выводить длину листов за номинальный размер и предельноеотклонение по длине. Косину резов профилированных листов измеряют линейкой по ГОСТ427-75* и угольником по ГОСТ 3749-77*,установленным по крайнему гофру профиля.

Качество покрытия(оцинкованного, алюмоцинкового, алюмокремниевого, алюминиевого) профилированныхлистов должно удовлетворять требованиям нормативных документов на материалисходной заготовки для профилирования.

На поверхности цинкового покрытияпрофилированных листов не допускаются потертости, риски, следы формообразующихваликов, не нарушающие сплошность покрытия.

Качество поверхностипокрытия профилированных листов определяют визуально.

Каждый пакетпрофилированного листа комплектуется ярлыком, который крепится к пакету.Маркировка должна содержать:

- наименование или товарныйзнак предприятия-изготовителя;

- условное обозначениепрофилированного листа; длину и количество профилированных листов в пакете;

- теоретическую массупакета;

- номер пакета и партии;

- клеймо техническогоконтроля предприятия-изготовителя.

3.5 Поступающая на строительство арматурная сталь, закладные детали приприемке должны подвергаться внешнему осмотру и замерам.

Каждая партия арматурнойстали должна быть снабжена сертификатом, в котором указываются наименованиезавода-изготовителя, дата и номер заказа, диаметр и марка стали, время ирезультаты проведения испытаний, масса партии, номер стандарта.

Каждый пакет, бухта илипучок арматурной стали должны иметь металлическую бирку завода-поставщика.

При несоответствии данныхсопроводительных документов и результатов проведенных контрольных испытанийэтим требованиям партия арматурной стали в производство не допускается.

3.6 При входном контроле необходимо учитывать класс (марку) бетона попрочности на сжатие, который должен соответствовать указанному в рабочихчертежах. Бетон должен соответствовать требованиям ГОСТ 26633-91 «Бетоны тяжелые и мелкозернистые. Технические условия».

Каждая партия бетонной смесидолжна иметь документ о качестве, который включает следующие положения:

- наименование вышестоящейорганизации;

- изготовитель;

- потребитель;

- дата и время отправкибетонной смеси;

- вид бетонной смеси и ееусловное обозначение;

- номер состава бетоннойсмеси;

- класс или марка бетона попрочности на сжатие в возрасте, сут;

- класс или марка бетона попрочности на растяжение при изгибе;

- коэффициент вариациипрочности бетона;

- требуемая прочностьбетона;

- проектная марка по среднейплотности (для легких бетонов);

- наибольшая крупностьзаполнителя;

- удобоукладываемостьбетонной смеси у места укладки, см;

- номер сопроводительногодокумента.

Требования к составу,приготовлению и транспортированию бетонных смесей приведены в таблице 4.

Таблица 4 - Требования к составубетонных смесей

Параметр

Величина параметра

Контроль (метод, объем, вид регистрации)

Наибольшая крупность заполнителей:

 

Измерительный, журнал работ

при перекачивании бетононасосом

Не более 0,33 внутреннего диаметра трубопровода

 

в том числе зерен наибольшего размера лещадной и игловатой форм

Не более 15 % по массе

 

при перекачивании по бетоноводам содержание песка крупностью менее, мм:

 

Измерительный по ГОСТ 8736-93* , журнал работ

0,14

5 - 7 %

 

0,3

15 - 20 %

 

Для лучшего перекачиваниябетонной смеси в нее следует вводить пластифицирующие или пластифицирующе-воздухововлекающиедобавки в количестве от 0,1 до 0,2 %. Количество добавок принимается впроцентах от массы цемента в пересчёте на сухое вещество, устанавливаемоепроектной организацией.

В состав бетонной смеси скрупным заполнителем должно входить такое количество цементного теста,заполнителей и растворной составляющей, при котором не только заполнялись быпустоты в песке, щебне (гравии) и обволакивались зерна, но и обеспечивалась быих некоторая раздвижка.

Основные характеристики иориентировочные составы бетонных смесей, пригодных для транспортирования потрубопроводам автобетононасосами, приведены в таблицах 5 и 6.

Таблица 5 - Основные характеристики бетонных смесей

Основные характеристики бетонных смесей

Единица измерения

Диаметр трубопроводов, мм

100

150

Количество крупного заполнителя:

 

 

 

диаметром 5 - 10 мм

%

40 - 60

30 - 40

диаметром 10 - 20 мм

%

40 - 60

50 - 60

диаметром 20 - 40 мм

%

-

до 10

Таблица 6 - Состав бетонных смесей

Состав бетонных смесей

Единица измерения

Диаметр трубопроводов, мм

100

150

Расход цемента

кг/м3

300 - 400

300 - 400

Расход песка

кг/м3

730 - 1000

600 - 800

Расход щебня (гравия)

кг/м3

850 - 1050

1000 - 1200

 

0,4 - 0,7

0,32 - 0,45

Осадка стандартного конуса

см

8 - 14

6 - 14

Состав бетонной смеси долженуточняться и контролироваться строительной лабораторией для каждого конкретногослучая.

Подвижность готовой бетоннойсмеси, предназначенной для перевозки автобетоносмесителями, необходимоназначать с учетом ее изменения при перевозках на заданное расстояние:

- при дальности перевозки до15 км (время доставки от 15 до 20 мин.) в автобетоносмеситель загружаетсябетонная смесь заданной консистенции;

- при дальности перевозки от15 до 30 км загружается жесткая смесь с осадкой конуса 2 - 3 см (заданнаяосадка конуса достигается в процессе транспортировки путем добавления воды избака автобетоносмесителя);

- при дальности перевозкиболее 30 км загружается сухой бетонной смесью. При использовании пескавлажностью более 4 % перевозка сухих смесей не допускается.

3.7 Операционный контроль осуществляется в ходе выполнения технологическихопераций для обеспечения своевременного выявления дефектов и принятия мер по ихустранению и предупреждению.

3.8 Контроль качества работ по бетонированию перекрытий включает:

- приемку работ,предшествующих бетонированию перекрытий, согласно требованиям СНиП 3.03.01-87, соответствующихтребованиям рабочих чертежей проекта;

- контроль производственныхопераций по схемам операционного контроля качества работ.

Основным документом приоперационном контроле является СНиП 3.03.01-87 «Несущие иограждающие конструкции».

Результаты операционногоконтроля фиксируются в журнале производства работ.

Перечень технологическихпроцессов, подлежащих контролю, приведен в таблице 7.

Таблица 7 - Перечень технологическихпроцессов, подлежащих контролю

№ п/п

Наименование технологических процессов, подлежащих контролю

Предмет контроля

Способ контроля

Время проведения контроля

Ответственный за контроль

Технические характеристики оценки качества

1

Установка профилированного настила

Соответствие проекту элементов профнастила и крепежных элементов, правильность установки и надежность крепления, соблюдение размеров между настилом и арматурой, наличие документации на профнастил

Рулетка, метр, нивелир. Визуально

В процессе работы

Мастер или прораб

Соответствие параметров проекту и СНиП 3.03.01-87

2

Установка арматуры

Соответствие геометрических размеров арматурной стали проекту, плановых и высотных отметок по отношению к осям здания, качество основания под плиту, качество соединения арматурной стали, наличие паспортов на арматурную сталь

Рулетка, метр, нивелир. Визуально

В процессе работы

Мастер или прораб

Соответствие параметров проекту, СНиП 3.03.01-87 , ГОСТ 14098-91

Отклонения от проектной толщины защитного слоя бетона

 

 

 

±5 мм

Отклонение в расстояниях между отдельно установленными рабочими стержнями плиты

Рулетка, визуально

До бетонирования

Геодезист

±10 мм

Отклонения в расстоянии между рядами арматуры

Рулетка, визуально

До бетонирования

Геодезист

±10 мм

3

Операции по бетонированию перекрытий

Марка бетона, подвижность бетонной смеси

Стандартный конус, метр

До начала производства работ

Лаборатория

В25

6 - 8 см

Температура в процессе выдерживания и тепловой обработки для бетона на портландцементе

Визуально, термометр

В период твердения бетона

Мастер, прораб

Определяется расчетом, но не выше 80 °С

Проверка прочности и однородности бетона, качества поверхности и соответствие проекту

Визуально, журнал работ

После распалубки

Лаборатория

В соответствии с проектом

Отклонение горизонтальных плоскостей на всю длину выверяемого участка

Измерительный, не менее 5 измерений на каждые 50 - 100 м, журнал работ

После распалубки

Мастер, прораб

20 мм

Местные неровности поверхности бетона при проверке двухметровой рейкой, кроме опорных поверхностей

Измерительный, не менее 5 измерений на каждые 50 - 100 м, журнал работ

После распалубки

Мастер, прораб

5 мм

Отметки поверхностей и закладных изделий, служащих опорами для стальных или сборных ж.б. колонн и других сборных элементов

Измерительный, каждый опорный элемент, исполнительная схема

После распалубки

Мастер, прораб

-5 мм

Разница отметок по высоте на стыке двух смежных поверхностей

То же, каждый стык, исполнительная схема

После распалубки

Мастер, прораб

3 мм

3.9 Контроль качества дуговой точечной сварки профилированного настила кстальным элементам осуществляется внешним осмотром сварных точек и испытаниемконтрольных образцов на отрыв или срез точки.

При внешнем осмотре высотаточки должна быть от 1 до 4 мм. Переход от головки точки к поверхности настиладолжен иметь плавные очертания. В центре могут иметь место небольшиеуглубления-кратеры, но не должно быть выделяющегося выступа, наличие которогосвидетельствует о раковине в верхней части головки. В месте перехода литогометалла головки точки к основному металлу настила не должно быть подрезов илипрожогов.

Недопустимы сквозныепрожоги, образовавшиеся на местах, где должны быть точки.

3.10 Контроль качества бетона заключается в проверке соответствия егофизико-механических характеристик требованиям проекта. Обязательной являетсяпроверка прочности бетона на сжатие и сцепление сборного железобетона смонолитным.

Прочность при сжатии бетонаследует проверять на контрольных образцах изготовленных проб бетонной смеси,отобранных после ее приготовления на бетонном заводе, а также непосредственнона месте бетонирования конструкций.

У места укладки бетоннойсмеси должен производиться систематический контроль ее подвижности.

Контрольные образцы,изготовленные у места бетонирования и с используемым методом уплотнения, должныхраниться в условиях твердения бетона конструкции.

Сроки испытания образцовнормального хранения должны строго соответствовать предусмотренным проектной маркой(28 суток, 90 суток и т.д.)

Сроки испытания контрольныхобразцов, выдерживаемых в условиях твердения бетона конструкции, назначаютсялабораторией в зависимости от фактических условий вызревания бетона конструкциис учетом необходимости достижения к моменту окончания испытания проектноймарки.

3.11 Контроль качества арматурных работ состоит в проверке:

- соответствия проекту видовмарок и поперечного сечения арматуры;

- соответствия проектуарматурных изделий;

- качества сварныхсоединений.

3.12 Приемка законченных железобетонных конструкций должна осуществляться вцелях проверки их качества и подготовки к проведению последующих видов работ иоформляться в установленном порядке актом.

Приемка железобетонныхконструкций должна включать:

- освидетельствованиеконструкций, включая контрольные замеры, а в необходимых случаях и контрольныеиспытания;

- проверку всейдокументации, связанной с приемкой и испытанием материалов, полуфабрикатов иизделий, которые применялись при возведении конструкций, а также проверку актовпромежуточной приемки работ;

- соответствие конструкциирабочим чертежам и правильность ее расположения в плане и по высоте;

- наличие и соответствиепроекту отверстий, проемов, каналов, деформационных швов, а также закладныхдеталей и т.д.

Отклонения в размерах иположении выполняемой конструкции (плиты перекрытия) не должны превышатьотклонений, указанных в таблице 8, если допуски специально не оговорены в проекте.

Приемку плит перекрытияследует оформлять актом на приемку ответственных конструкций в соответствии со СНиП 3.03.01-87«Несущие и ограждающие конструкции».

Таблица 8 - Допускаемыеотклонения в размерах и положении выполненных конструкций (таблица11 СНиП3.03.01-87)

№ п/п

Отклонения

Величина допускаемых отклонений

Контроль (метод, объем, вид, регистрация)

1

Отклонения линий плоскостей пересечения от вертикали или проектного наклона на всю высоту конструкций для: - стен и колонн, поддерживающих монолитные покрытия и перекрытия

15 мм

Измерительный, каждый конструктивный элемент, журнал работ

2

Отклонения горизонтальных плоскостей на всю длину выверяемого участка

20 мм

Измерительный, не менее 5 измерений на каждые 50 - 100 м, журнал работ

3

Местные неровности поверхности- бетона при проверке двухметровой рейкой, кроме опорных поверхностей

5 мм

То же

4

Длина или пролет элементов

±20 мм

Измерительный, каждый элемент, журнал работ

5

Размер поперечного сечения элементов

+6 мм

-3 мм

То же

6

Отметки поверхностей и закладных изделий, служащих опорами для стальных или сборных железобетонных колонн и других сборных элементов

-5 мм

Измерительный, каждый опорный элемент, исполнительная схема

7

Разница отметок по высоте на стыке двух смежных поверхностей

3 мм

Измерительный, каждый стык, исполнительная схема

4.ТРЕБОВАНИЯ БЕЗОПАСНОСТИ И ОХРАНЫ ТРУДА, ЭКОЛОГИЧЕСКОЙ И ПОЖАРНОЙ БЕЗОПАСНОСТИ

4.1 Работы по устройству сборно-монолитного перекрытия типового этажапроизводятся с соблюдением требований СНиП 12-03-2001 «Безопасность труда в строительстве. Часть 1. Общие требования», атакже СНиП 12-04-2002 «Безопасность труда в строительстве. Часть 2. Строительноепроизводство».

Рабочие при производстверабот должны иметь удостоверения на право производства конкретного вида работ,а также пройти первичный инструктаж по технике безопасности в соответствии стребованиями ГОСТ12.0.004-90 «ССБТ. Организация обучения безопасности труда. Общиеположения».

Допуск рабочих к выполнениюработ разрешается только после их ознакомления (под расписку) с технологическойкартой и, в случае необходимости, с требованиями, изложенными в наряде-допуске.

Рабочие должны быть обеспеченысредствами индивидуальной защиты (каски, рукавицы, очки защитные, поясапредохранительные и др.) и обязаны пользоваться ими.

4.2 Электробезопасность на строительной площадке, участках работ, рабочихместах должна обеспечиваться в соответствии с требованиями СНиП 12-03-2001 «Безопасность труда в строительстве. Часть 1. Общие требования».

В течение всего периодаэксплуатации электроустановок на строительных площадках должны применять знакибезопасности по ГОСТР 12.4.026-2001.

4.3 Лица, ответственные за содержание строительных машин в работоспособномсостоянии, обязаны обеспечивать техническое обслуживание и ремонт всоответствии с требованиями эксплуатационных документов завода-изготовителя.

К машинистам грузоподъемныхмашин должны предъявляться дополнительные требования по безопасности и охранетруда.

4.4 К работе по эксплуатации автобетононасоса допускаются лица не моложе21 года, прошедшие специальное медицинское освидетельствование. Машиниставтобетононасоса обязан иметь водительское удостоверение с правом управлениятранспортными средствами категории «С» и машиниста бетононасосных установок нениже 4 разряда, должен изучить конструкцию автобетононасоса и пройти инструктажпо безопасности и охране труда.

Организации и физические лица, применяющие машины,транспортные средства, производственное оборудование и другие механизмы, должныобеспечивать их работоспособное состояние.

Перечень неисправностей, при которых запрещаетсяэксплуатация средств механизации, определяется согласно документациизавода-изготовителя этих средств.

В кабине машиниста автобетононасоса должна бытьустановлена надежная радио- и телефонная связь с местом бетонирования.

Во время бетонирования необходимо контролироватьвыносные опоры автобетононасоса и при необходимости их выравнивать.

Запрещается ликвидация пробок путем увеличениядавления в системе более максимального.

Соединять стальные трубы бетоновода с резинотканевымишлангами необходимо с помощью инвентарных хомутов на болтах. Применять в этихцелях проволоку запрещается.

Запрещается перегибать шланги с движущейся бетоннойсмесью.

Над бетоноводами, уложенными в местах постоянногодвижения людей или транспортных средств, устанавливаются специальные мостики ипереходы.

Во избежание опрокидывания автобетононасосазапрещается удлинять концевой шланг стрелы.

Запрещается производить работы под стрелойавтобетононасоса, а также поднимать стрелой любые грузы.

При работе в ночное время должно быть обеспеченодостаточное освещение стоянки автобетононасоса и места укладки бетонной смеси всоответствии с требованиями ГОСТ12.1.046-85.

Техническое обслуживание и ремонт автобетононасоса,монтаж, демонтаж бетоновода производятся только после остановки двигателя исброса давления в системе до атмосферного.

Разъединение бетоноводов выполняется рабочими взащитных очках.

При перемещении автобетононасоса своим ходом должнысоблюдаться требования «Правил дорожного движения Российской Федерации».

При перемещении автобетононасос должен находиться втранспортном положении.

Передвижение автобетононасоса с полностью или частичновыдвинутой стрелой запрещается.

4.5 При уплотнении бетонной смеси электровибраторамиперемещать вибратор за токоведущие шланги не допускается, а при перерывах вработе и при переходе с одного места на другое электровибраторы необходимоотключать.

4.6 Сварочные работы должны выполняться в соответствии с требованиями СНиП 12-03-2001 , ГОСТ 12.3.002 -86* и ППБ 01-03 «Правила пожарной безопасности в Российской Федерации».

Передвижные источникисварочного тока на время их передвижения необходимо отключать от сети.

Не допускается производитьремонт сварочных установок под напряжением.

Длина первичной цепи междупунктом питания и передвижной сварочной установкой не должна превышать 10 м.Изоляция проводов должна быть защищена от механических повреждений (данныетребования не относятся к питанию установки по троллейной системе).

При производстве электросварочныхработ на открытом воздухе над установками и сварочными постами должны бытьсооружены навесы из несгораемых материалов. При отсутствии навесовэлектросварочные работы во время дождя или снегопада должны быть прекращены.

К работе по электросваркедопускаются лица, прошедшие соответствующее обучение, инструктаж и проверкузнаний требований безопасности с оформлением в специальном журнале и имеющиеквалификационное удостоверение.

При поступлении на работуэлектросварщики должны пройти предварительный медицинский осмотр, а припоследующей работе в установленном порядке проходить периодические медицинскиеосмотры.

Электросварщикам необходимоиметь квалификационную группу по электробезопасности не ниже II.

Электросварщики должныобеспечиваться средствами индивидуальной защиты в соответствии с типовымиотраслевыми нормами выдачи спецодежды, спецобуви и предохранительнымиприспособлениями.

4.7 Элементы каркасов арматуры необходимо пакетировать с учетом условий ихподъема, складирования и транспортирования к месту монтажа.

При обработке стержнейарматуры, выступающих за габариты верстака, необходимо ограждать рабочее место,а у 2-х сторонних верстаков, кроме этого, разделять верстак посерединеметаллической сеткой высотой не менее 1 м. При резке стержней арматуры станкамина отрезки длиной менее 0,3 м применять приспособления, предупреждающие ихразлет.

Необходимо закрывать щитамиторцевые части стержней арматуры в местах общих проходов, имеющих ширину менее1 м.

Во избежание перегрузкиподмостей не допускается хранение на них запасов арматуры.

Запрещается находиться накаркасе до его окончательной установки и раскрепления и оставлять беззакрепления установленную арматуру.

4.8 При производстве работ на высоте рабочая площадка должна бытьограждена инвентарным ограждением высотой не менее 1,2 м с отбойной доской понизу ограждения высотой 10 см.

Для прохода людей прибетонировании конструкции по арматурным каркасам должны быть уложены деревянныенастилы.

Запрещается работать снепроверенных лесов, подмостей, а также настилов, уложенных на случайныенеустойчивые опоры.

4.9 Пожарную безопасность на строительной площадке следует обеспечивать всоответствии с требованиями ППБ 01-03 «Правила пожарной безопасности в Российской Федерации» и ГОСТ 12.1.004-91* .

Все работающие должны бытьпроинструктированы по правилам пожарной безопасности.

В каждой смене должен быть назначенответственный за противопожарную безопасность.

Строительная площадка должнабыть обеспечена противопожарным оборудованием и инвентарем согласно ГОСТ12.1.004-91*. Характер противопожарного оборудования устанавливается посогласованию с местными органами государственного пожарного надзора взависимости от степени пожарной опасности объекта и его государственногозначения.

Для соблюдения экологическихнорм на строительной площадке размещается емкость для слива загрязненной водыпосле промывки бетононасоса и установка для мойки колес с оборотным цикломводоснабжения. Запрещается сжигание строительного мусора на площадке.Строительный мусор должен быть вывезен, для чего используются контейнеры.

5.ПОТРЕБНОСТЬ В МАТЕРИАЛЬНО-ТЕХНИЧЕСКИХ РЕСУРСАХ

5.1 Ведомость потребности в материалах, изделиях и конструкциях,подсчитанная на перекрытие площадью 100 м2 толщиной 180 мм,представлена в таблице 9.

Таблица 9 - Ведомость потребности вматериалах, изделиях и конструкциях на перекрытие площадью 100 м2

№ п/п

Строительные конструкции, изделия, полуфабрикаты и материалы

Тип, марка, ГОСТ

Ед. изм.

Количество

Примечания

1

Оцинкованный профилированный настил

ГОСТ 24045-94 , ТУ 9608-Н60А-845ТУ

м2

110

 

2

Арматурные стержни, каркасы, сетки

По рабочей документации

3

Бетонная смесь

не ниже В15

м3

18

 

4

Заклепки комбинированные

ЗК-10, ТУ 67-507-83

кг

5

 

5

Электроды сварочные

Типа Э50А марки УОНИ-13/55

кг

10

 

6

Уголок 40´40 мм

ГОСТ 8509-93

кг

109

 

5.2 Ведомость потребности в машинах, оборудовании, инструменте, инвентареи приспособлениях представлена в таблице 10.

Таблица 10 - Ведомость потребности вмашинах, оборудовании, инструменте, инвентаре и приспособлениях

№ п/п

Наименование

Тип, марка, ГОСТ

Техническая характеристика

Назначение

Количество на звено (бригаду), шт.

1

Технологический комплект технических средств для монтажа профилированного настила (на звено численностью 6 чел.)

1.1

Кран автомобильный

КС-55713

Грузоподъемность наибольшая, т          25

Подача в рабочую зону пачек профнастила

1

 

Ручные механизмы и оборудование

1.2

Машина ручная шлифовальная электрическая, угловая

WSA-2300

Диаметр диска, мм                                  230

Мощность, кВт                                         2,3

Напряжение, В                                         220

Масса, кг                                                    6,0

Для резки профлистов

1

1.3

Трансформатор сварочный

ТД-300

Мощность, кВт                                       19,4

Напряжение, В                                         220

Масса, кг                                                  137

Для ручной дуговой сварки

1

1.4

Машина ручная сверлильная электрическая

ИЭ-1026А

Напряжение, В                                         220

Для сверления отверстий под заклепки

1

1.5

Пистолет для ручной клепки

СТД-96/1

ТУ 36-1416-83

Масса, кг                                                    2,2

Для клепки профлистов между собой

1

 

Ручной строительно-монтажный инструмент

1.6

Молоток слесарный с круглым бойком

ГОСТ 2310-77*

 

Для обивки окалины со сварных швов

1

1.7

Зубило слесарное

ГОСТ 7211-86*

20´60°

Для сопутствующих сварке работ

2

1.8

Кувалда кузнечная остроносая

 

Масса, кг                                                       3

Для сопутствующих работ

1

1.9

Электрододержатель

ЭД-3150 VI

ГОСТ 14651-78*

Диаметр применяемых электродов, мм

                                                                 4 ... 6

Габаритные размеры, мм          270´39´46

Масса, кг                                                 0,42

Для удержания электрода при ручной дуговой сварке

1

1.10

Набор инструмента для ручной дуговой сварки

ЭНИ-300

ТУ 36-1160-81

Габаритные размеры футляра, мм

                                                    450´310´90

Масса, кг                                                     10

Оснащение электросварщика при выполнении сварочных работ

1

1.11

Щетка ручная из проволоки

ОСТ 17-830-80

 

При зачистке арматуры

2

1.12

Скребок металлический

 

Длина с ручкой, мм                              1200

Ширина полотна, мм                               200

Для очистки металлических балок

1

 

Технологическая оснастка и приспособления

1.13

Траверса для разгрузки и подачи пакета стального профнастила к месту укладки

Промстальконструкция. Р.ч. 21905-52

Грузоподъемность                                 12 т

Для разгрузки и подачи пакетов профнастила

1

1.14

Пенал для электродов

Р.ч. 649-76

Габаритные размеры, мм     160´100´475

Для хранения и переноса электродов

1

 

Средства измерения и контроля

1.15

Рулетка измерительная металлическая в закрытом корпусе

РЗ-10

ГОСТ 7502-98*

Длина ленты, м                                           10

Масса, кг                                                    0,2

Для линейных измерений

1

1.16

Линейка металлическая

ГОСТ 427-75*

 

Для линейных измерений

1

1.17

Штангенрейсмас

ГОСТ 164-90

 

Для линейных измерений

1

1.18

Линейка поверочная

ГОСТ 8026-92

Длина, м                                                        1

Для линейных измерений

1

1.19

Набор щупов

ТУ 2.034-225-87

 

Для линейных измерений

1

1.20

Угольник поверочный

ГОСТ 3749-77*

90°

Для измерения косины реза профлистов

1

 

Средства коллективной и индивидуальной защиты

1.21

Каска строительная

ГОСТ 12.4.087-84

 

Для защиты головы от механических повреждений

6

1.22

Рукавицы специальные

Тип Г ГОСТ 12.04.010-75*

 

Для защиты рук от механических повреждений

6

1.23

Очки защитные с прямой вентиляцией

ЗП2

 

Для защиты глаз

1

1.24

Пояс предохранительный

ГОСТ Р 50849-96*

 

Для страховки работающих от падения с высоты

6

1.25

Щиток защитный лицевой для электросварщика

Тип НН (со светофильтром)

ГОСТ 12.4.035-78*

 

Для защиты лица и глаз сварщика от светового излучения во время сварки и брызг расплавленного металла

1

1.26

Сапоги резиновые формовые общего назначения

ГОСТ 5375-79*

 

Для защиты от поражения электротоком

2

1.27

Перчатки резиновые технические

Тип 1

ГОСТ 20010-93

 

Для защиты от поражения электротоком

2

1.28

Коврик диэлектрический резиновый

ГОСТ 4997-75*

 

Для защиты от поражения электротоком

2

1.29

Устройство защитно-отключающее

И7-8913

ТУ 22-4677-80

Мощность, кВт                                     4/2,2

Время срабатывания защиты, с            0,05

Напряжение, В                                 380/220

Частота, Гц                                                 50

Масса, кг                                                    3,0

Для защиты от поражения током при пробивке фазы на корпус электроинструмента

1

2

Технологический комплект технических средств для арматурных работ (на звено численностью 5 чел.)

2.1

Кран автомобильный

КС-55713

Грузоподъемность наибольшая, т          25

Подача в рабочую зону пачек профнастила

1

 

Ручные механизмы и оборудование

2.2

Машина ручная шлифовальная электрическая, угловая

WSA-2300

Диаметр диска, мм                                  230

Мощность, кВт                                         2,3

Напряжение, В                                         220

Масса, кг                                                    6,0

Для резки профлистов

1

2.3

Трансформатор сварочный

ТД-300

Мощность, кВт                                       19,4

Напряжение, В                                         220

Масса, кг                                                  137

Для ручной дуговой сварки

1

2.4

Пресс-ножницы приводные комбинированные

ПК-40

 

Для резки арматуры

1

2.5

Приспособление для вязки арматуры

Р.ч. 5Н-21Н

Габаритные размеры, мм                315´45

Масса, кг                                                 0,35

Для крепления арматурных стержней между собой вязальной проволокой

1

 

Ручной строительно-монтажный инструмент

2.6

Напильник плоский тупоносый

ГОСТ 1465-80*

 

Для очистки арматурных изделий и снятия заусенец

2

2.7

Молоток слесарный с круглым бойком

ГОСТ 2310-77*

 

Для обивки окалины сварных швов

1

2.8

Зубило слесарное

ГОСТ 7211-86*

20´60°

Для сопутствующих сварке работ

2

2.9

Кувалда кузнечная остроносая

 

Масса, кг                                                       3

Для сопутствующих работ

1

2.10

Лом монтажный

ЛМ-24

Длина, мм                                               1180

Диаметр, мм                                               24

Масса, кг                                                    4,2

Для сопутствующих работ

1

2.11

Плоскогубцы комбинированные

 

Габаритные размеры, мм          180´50´11

Масса, кг                                                    0,2

Для захвата и удержания сварочного кабеля

1

2.12

Ключ газосварщика

Р.ч. 716-78

ЕН

20.020

Размер зевов под шестигранники, мм 7, 8, 10, 12, 17, 19, 24, 32

Размер отверстия под квадрат, мм         10

Масса, кг                                                    0,5

Для завертывания и снятия вентилей и гаек на баллонах, редукторах и горелках

1

2.13

Электрододержатель

ЭД-3150 VI

ГОСТ 14651-78*

Диаметр применяемых электродов, мм

                                                                 4 ... 6

Габаритные размеры, мм          270´39´46

Масса, кг                                                 0,42

Для удержания электрода при ручной дуговой сварке

1

2.14

Набор инструмента для ручной дуговой сварки

ЭНИ-300

ТУ 36-1160-81

Габаритные размеры футляра, мм

                                                    450´310´90

Масса, кг                                                     10

Оснащение электросварщика при выполнении сварочных работ

1

2.15

Резак инжекторный средней мощности

Р2А-01

ТУ 26-05-523-81Е

Толщина разрезаемой стали, мм    3 ... 200

Габаритные размеры, мм              350´100

Масса, кг                                                 1,38

Для ручной кислородной резки стали

1

 

Технологическая оснастка и приспособления

2.16

Строп четырехветвевой

4СК1-10,0/5000

ГОСТ

25573-82*

Длина стропа, м                                            5

Грузоподъемность, т                                10

Для подъема и перемещения арматурных стержней и каркасов

1

2.17

Строп с заделкой концов каната заплеткой

4СК1-10.0/4000

ГОСТ 25573-82*

Длина стропа, м                                            4

Грузоподъемность, т                                10

Для поднятия и перемещения арматурных стержней

2

2.18

Кондуктор универсальный

Р.ч. 80-268-001

Габаритные размеры, мм 5000´1040´300

Масса, кг                                                1890

Для сборки арматурных каркасов

1

2.19

Фиксатор для временного крепления арматурных сеток

Р.ч. 615-76

Масса, кг                                                    6,6

Расстояние между захватными прутками, мм                                                1200´1800

Для фиксации арматурных сеток под углом 90° с диаметром арматуры от 16 мм до 32 мм

1

2.20

Ящик инструментальный 3-х секционный

Р.ч. I.III.00.000

Габаритные размеры, мм     350´170´130

Масса, кг                                                       3

Для переноса и хранения ручного инструмента

1

2.21

Пенал для электродов

Р.ч. 649-76

Габаритные размеры, мм     160´100´475

Для хранения и переноса электродов

1

2.22

Редуктор ацетиленовый

ДАП-1-65

ГОСТ 13861-89

 

Для понижения давления ацетилена и подачи в горелку

<

2.23

Редуктор кислородный баллонный одноступенчатый

ДКП-1-65

ГОСТ 13861-89

Пропускная способность, м3               60

Для понижения давления и подачи кислорода в горелку

1

2.24

Ящик для фиксаторов

 

Габаритные размеры, мм   1000´800´500

Для хранения проволочных фиксаторов

2

 

Средства измерения и контроля

2.25

Рулетка измерительная

РЗ-2

ГОСТ 7502-98*

Длина ленты, м                                             2

Масса, кг                                                 0,07

Для линейных измерений

1

2.26

Рулетка измерительная металлическая в закрытом корпусе

РЗ-10

ГОСТ 7502-98*

Длина ленты, м                                           10

Масса, кг                                                    0,2

Для линейных измерений

1

2.27

Уровень строительный

УС2-300

ГОСТ 9416-83

Габаритные размеры, мм          300´22´40

Масса, кг                                                 0,24

Для выверки арматурных изделий при их установке

1

2.28

Штангенциркуль

ШЦ-1-125

ГОСТ 166-89*

 

Для замера диаметра стержней арматуры

1

2.29

Нивелир с треногой

ГОСТ 10528-90*

 

Для выверки горизонтальных поверхностей

1

 

Средства коллективной и индивидуальной защиты

2.30

Каска строительная

ГОСТ 12.4.087-84

 

Для защиты головы от механических повреждений

5

2.31

Рукавицы специальные

Тип Г

ГОСТ 12.4.010-75*

 

Для защиты рук от механических повреждений

5

2.32

Очки защитные с прямой вентиляцией

ЗП2

 

Для защиты глаз

3

2.33

Пояс предохранительный

ГОСТ Р 50849-96*

 

Для страховки работающих от падения с высоты

5

2.34

Щиток защитный лицевой для электросварщика

Тип НН (со светофильтром)

ГОСТ 12.4.035-78*

 

Для защиты лица и глаз сварщика от светового излучения во время сварки и брызг расплавленного металла

1

2.35

Сапоги резиновые формовые общего назначения

ГОСТ 5375-79*

 

Для защиты от поражения электротоком

2

2.36

Перчатки резиновые технические

Тип 1

ГОСТ 20010-93

 

Для защиты от поражения электротоком

2

2.37

Коврик диэлектрический резиновый

ГОСТ 4997-75*

 

Для защиты от Поражения электротоком

2

2.38

Устройство защитно-отключающее

ИЭ-8913

ТУ 22-4677-80

Мощность, кВт                                     4/2,2

Время срабатывания защиты, с            0,05

Напряжение, В                                 380/220

Частота, Гц                                                 50

Масса, кг                                                    3,0

Для защиты от поражения током при замыкании фазы на корпус электроинструмента

1

3

Технологический комплект технических средств для производства работ по укладке бетонной смеси в конструкции (на звено численностью 4 чел.)

3.1

Автобетононасос

«Швинг» BPL 600 HD

Средняя производительность, м3  13,25

Для подачи бетонной смеси на перекрытие

1

3.2

Автобетоносмеситель

СБ-230

Объем доставляемого бетона, м3            4

Высота разгрузки, м                              1,43

Масса загруженного автобетоносмесителя, т                           16

Доставка бетонной смеси к автобетононасосу

2

 

Ручные машины и оборудование

3.3

Вибратор глубинный

ИВ-117А

Длина гибкого вала, мм                       2995

Масса, кг                                                 1,43

Напряжение, В                                           40

Мощность, кВт                                       0,75

Уплотнение бетонной смеси

2

3.4

Виброрейка

СО-132Н

Производительность, м3                    130

Ширина обрабатываемой полосы, м     3,0

Глубина проработки, мм                        150

Масса, кг                                                     68

Мощность, кВт                                       0,26

Напряжение, В                                           36

Разравнивание и поверхностное уплотнение бетонной смеси

1

3.5

Трансформатор понижающий

ТСЗИ-1,6

Мощность, кВт                                         1,5

Первичное напряжение, В             380; 220

Вторичное напряжение, В                        42

Масса, кг                                                     29

Питание электрическим током низкого напряжения электровибраторов

2

 

Ручной строительно-монтажный инструмент

3.6

Лопата подборочная

ЛП-3

ГОСТ 19596-87*

Длина, мм                                               1150

Масса, кг                                                    1,5

Для подбора и перекидки бетонной смеси

2

3.7

Лопата совковая

ЛС-2

ГОСТ 19596-87*

Длина, мм                                               1150

Масса, кг                                                    1,9

Для распределения и разравнивания бетонной смеси

2

3.8

Кельма для бетонных и каменных работ

КБт1

ГОСТ 9533-81

Масса, кг                                                 0,36

Для разравнивания и заглаживания бетонной смеси

3

3.9

Гладилка ленточная

ГЛК-1

Длина, мм                                                 300

Масса, кг                                                    0,3

Для заглаживания свежеуложенного бетона

1

3.10

Щетка ручная из проволоки

ОСТ 17-830-80

 

При сопутствующих работах

2

3.11

Рейка-правило

 

 

Для разглаживания поверхности бетона

1

 

Средства измерения и контроля

3.12

Рулетка измерительная металлическая

РЗ-2

ГОСТ 7502-98

Длина ленты, м                                             2

Масса, кг                                                 0,07

Для линейных измерений

2

3.13

Рулетка измерительная металлическая

РЗ-10

ГОСТ 7502-98

Длина ленты, м                                           10

Масса, кг                                                    0,2

Для линейных измерений

1

3.14

Уровень строительный

УС-500

ГОСТ 9416-83

Габаритные размеры, мм          500´25´50

Масса, кг                                                 0,48

Для проверки горизонтальных бетонных поверхностей

1

3.15

Термометр

 

Предел измерений, °С                            300

Габаритные размеры, мм:

длина                                                  260

диаметр                                                28

Масса, кг                                                 0,32

Для замера температуры бетона при контроле режима прогрева

1

3.16

Шнур разметочный в корпусе

ТУ 22-4633-80

Длина шнура, м                                          15

Габаритные размеры, мм          128´77´45

Масса, кг                                                    0,1

Для разметки и проверки прямолинейности конструкции

1

3.17

Угольник металлический

ТУ 4400-79

Габаритные размеры, мм:

длина линейки                                   500

длина основания                               240

Масса, кг                                                 0,48

Для разметки и проверки прямых углов

1

3.18

Нивелир с треногой

ГОСТ 10528-90*

 

Для измерения и проверки горизонтальных поверхностей

1

3.19

Теодолит с треногой

ТБ-1

ГОСТ 10529-96

 

Для измерения и проверки вертикальных поверхностей

1

 

Средства индивидуальной защиты

3.20

Каска строительная

ГОСТ 12.4.087-84

 

Для защиты головы от механических повреждений

4

3.21

Сапоги резиновые формовые общего назначения

ГОСТ 5375-79*

 

Для защиты от поражения электрическим током

3

3.22

Рукавицы специальные

Тип Г

ГОСТ 12.4.010-75*

 

Для защиты рук от механических повреждений

4

3.23

Перчатки резиновые технические

Тип 1

ГОСТ 20010-93

 

Для защиты от поражения электрическим током

2

3.24

Пояс предохранительный

ГОСТ Р 50849-96*

 

Для страховки от падения работающих на высоте

4

3.25

Устройство защитно-отключающее

ИЭ-9813

ТУ 22-4677-80

Мощность, кВт                                     4/2,2

Время срабатывания защиты, с            0,05

Напряжение, В                                 380/220

Частота тока, Гц                                        50

Масса, кг                                                    3,0

Для защиты от поражения током при замыкании фазы на корпусе электроинструмента

1

6.ТЕХНИКО-ЭКОНОМИЧЕСКИЕ ПОКАЗАТЕЛИ

6.1 Калькуляция затрат труда и машинного времени на устройство монолитнойплиты по профилированному настилу приведена в таблице 11.

Таблица 11 - Калькуляция затрат трудаи машинного времени на устройство плиты перекрытия типового этажа толщиной 180мм

Измерительконечной продукции - 100 м2.

№ п/п

Обоснование (ЕНиР и др. нормы)

Наименование технологических процессов

Ед. изм.

Объем работ

Норма времени

Затраты труда

рабочих, чел.-ч

машиниста, чел.-ч (работа машин, маш.-ч)

рабочих, чел.-ч

машиниста, чел.-ч (работа машин, маш.-ч)

1

Е5-1-20

Табл. 5 № 9 а, б

Подъем краном листов в пачке на перекрытие

100 м2 настила

1,0

0,1

0,03 (0,03)

0,1

0,03 (0,03)

2

Е5-1-2 № 5,

Настилка с перестановкой и снятие деревянных настилов вручную

шт.

12

0,3

-

 

 

К = 1,2 (ПР-1)

 

 

 

 

2,16

-

К = 0,8 (ПР-2)

Кпопр. = 0,5

 

 

 

 

1,44

-

3

Е5-1-20

Табл. 5 № 10 а

Раскладка и укладка вручную с подгонкой листов длиной 6 м

100 м2 настила

1,0

2,6

-

2,6

-

4

Е5-1-20

Табл. 5 № 1 а

Комплектование комбинированных заклепок

100 заклепок

1,65

0,36

-

0,59

-

5

Е5-1-20

Табл. 5 № 3 а

Кпопр. = 0,3

Сверление отверстий под заклепки ручной электрической сверлильной машиной без штанги

100 отв.

1,65

0,55

-

0,27

-

6

Е5-1-20

Табл. 5 № 4 а

Установка заклепок

100 шт.

1,65

0,72

-

1,19

-

7

Применительно к Е40-6-1

Табл. 1 № 2 г

Точечная дуговая сварка профнастила к стальным балкам

м2

0,09

100

-

9

-

8

Е22-1-1 № 1 б

Приварка стоек для торцевой опалубки и направляющих из уголка 40´40

10 м шва

0,67

3

-

2,01

-

9

Е4-1-34 Е

Табл. 7, а

Установка торцевой опалубки

м2

8,0

1,7

-

13,6

-

10

Е22-1-1 № 1 б

Приварка направляющих из уголка 40´40

10 м шва

0,24

3

-

0,72

-

11

Е1-6

№ 23 а, 23 б

Подача армокаркасов и сеток автомобильным краном

100 т

0,32

3,8

1,9 (1,9)

1,22

0,61 (0,61)

12

Е4-1-44 Б

Табл. 2, б

Установка каркасов вручную

шт.

82

0,24

-

19,68

-

13

Е4-1-44Б

Табл. 2, б

Установка сеток вручную

шт.

22,0

0,24

-

5,28

-

14

Е4-1-48

Табл. 5 № 1

Подача бетонной смеси к месту укладки бетононасосом

100 м3

0,18

13,5

13,5 (13,5)

2,43

2,43 (2,43)

15

Е4-1-49 Б

Табл. 2 № 13

К = 1,2 (ПР-6)

Укладка бетонной смеси в конструкции плит

м3

18

0,85

-

18,36

-

16

Е4-1-54 № 9

Уход за бетонной поверхностью (поливка бетонной поверхности водой за 1 раз)

100 м2

1

0,14

-

0,14

-

17

Е4-1-34 Е

Табл. 7, б

Разборка торцевой опалубки

м2

8,0

1,2

-

9,6

-

Примечание - Калькуляция затрат не учитывает трудозатраты на монтаж и разборку бетоновода.

6.2 Календарный график производства работ представлен в таблице 12.


Таблица12 - Календарный график производства работ


6.3 На основании таблиц 11 и 12 определены основныетехнико-экономические показатели на измеритель конечной продукции:

Продолжительностьработ на 100 м2, часы                                          24

Количествоработающих в смену в максимальный период, чел.       9

Затратытруда, чел.-ч

- на измеритель конечнойпродукции (на 100 м2)                     90,39

- на 1 м2перекрытия                                                                      0,9

Работа машин,маш.-ч                                                                             3,07

Выработка на1 рабочего в смену, 1 м2 перекрытия                            3,7

7.Перечень использованной нормативно-технической литературы

1    СНиП 3.01.01-85* . Организация строительногопроизводства. Издание 1995 г.

2    СНиП 3.03.01-87 . Несущие и ограждающиеконструкции.

3    СНиП 12-03-2001 . Безопасность труда в строительстве. Часть 1. Общие требования.

4    СНиП 12-04-2002 . Безопасность труда в строительстве. Часть 2. Строительноепроизводство.

5    ГОСТ 12.0.004-90 . ССБТ. Организация обучения безопасности труда. Общие положения.

6    ГОСТ 12.1.004-91* . ССБТ. Пожарная безопасность. Общие требования.

7    ГОСТ 12.1.046-85 . ССБТ. Строительство. Нормы освещения строительных площадок.

8    ГОСТ 12.3.002 -86*. ССБТ. Работы электросварочные. Требования безопасности.

9    ГОСТ Р 12.4.026-2001 . Цвета сигнальные, знаки безопасности и разметка сигнальная.

10  ГОСТ 7566-94 . Металлопродукция. Приемка, маркировка, упаковка, транспортирование ихранение.

11  ГОСТ 24045-94 . Профили стальные листовые гнутые с трапециевидными гофрами длястроительства. Технические условия.

12  ГОСТ 26633-91 . Бетоны тяжелые и мелкозернистые. Технические условия.

13  ГОСТ 14098-91 . Соединения сварные арматуры и закладных изделий железобетонныхконструкций. Типы, конструкция и размеры.

14  ППБ 01-03 . Правила пожарной безопасности в Российской Федерации.

15  СП 12-135-2003 . Безопасность труда в строительстве. Отраслевые типовые инструкции поохране труда.

16  СП 12-136-2002 . Безопасность труда в строительстве. Решения по охране труда ипромышленной безопасности в проектах организации строительства и проектахпроизводства работ.

17  Инструкция по транспортировке иукладке бетонной смеси в монолитные конструкции с помощью автобетоносмесителейи автобетононасосов. ОАО ПКТИпромстрой, М., 2002 г.

18  Каталог. Автобетононасосы иавтобетоносмесители. Технические характеристики. ОАО ПКТИпромстрой, М., 1997 г.

19  Рекомендации по проектированиюмонолитных железобетонных перекрытий со стальным профилированным настилом.НИИЖБ.

20  Рекомендации по технологииприварки втавр под флюсом стержней и оцинкованного профнастила к стальнымконструкциям. НИИЖБ.

21  Технологическая карта на укладкубетонной смеси в перекрытия с помощью автобетононасоса. ОАО ПКТИпромстрой, М.,1999.

22  Указания по установке и безопасной эксплуатации грузоподъемных кранов истроительных подъемников при разработке ПОС и ППР. ОАО ПКТИпромстрой, М., 2002.