Технологическая карта разработана на герметизацию стыков керамзитобетонных наружных панелей горизонтальной полосовой разрезки для зданий, возводимых из изделий номенклатуры МТСК-2, а также для одноэтажных промышленных зданий.
| Обозначение: | 44-03 ТК |
| Название рус.: | Технологическая карта. Герметизация стыков наружных ограждающих конструкций |
| Статус: | действующий |
| Дата актуализации текста: | 01.10.2008 |
| Дата добавления в базу: | 01.02.2009 |
| Дата введения в действие: | 28.07.2003 |
| Разработан: | ОАО ПКТИпромстрой 125040, Москва, Ленинградский проспект, д. 26 |
| Утвержден: | ОАО ПКТИпромстрой (28.07.2003) |
| Опубликован: | ОАО ПКТИпромстрой № 2003 |
|
| Открытое акционерное общество Проектно-конструкторский и технологический |
|
УТВЕРЖДАЮ
Генеральный директор,к.т.н.
____________ С.Ю. Едличка
«28» июля 2003г.
ТЕХНОЛОГИЧЕСКАЯ КАРТА
ГЕРМЕТИЗАЦИЯ СТЫКОВ
НАРУЖНЫХ ОГРАЖДАЮЩИХ КОНСТРУКЦИЙ
44-03 ТК
Главный инженер
_________________ А.В. Колобов
Начальникотдела
_________________Б.И. Бычковский
В технологической картеприведена технология герметизации стыков наружных ограждающих конструкций из керамзитобетонныхнаружных панелей с горизонтальной и вертикальной разрезкой зданий, возводимыхиз изделий номенклатуры МТСК-2 «Сборные бетонные, железобетонные,керамзитобетонные, гипсобетонные конструкции», 2000 г.
В карте приведена технологияпроизводства работ по герметизации стыков «закрытого» типа с материалами,данными в каталоге МТСК-3 «Материалы», 2000 г.
В карте представлены схемыстыков наружных стен здания и организация работ по устройству их герметизации;освещены вопросы качества работ и безопасности труда, экологической и пожарнойбезопасности работ, приведены указания по организации рабочего места, данапотребность в материально-технических ресурсах, приведены технико-экономическиепоказатели.
Карта может применятьсясамостоятельно, а также в составе проекта производства работ в качестветехнологического документа при производстве работ по герметизации стыковнаружных ограждающих конструкций на строительных объектах. Настоящая картаразработана сотрудниками ОАО ПКТИпромстрой:
- Холопов В.Н. - разработкакарты;
- Савина О.А. - компьютернаяобработка и графика;
- Черных В.В. - общеетехнологическое сопровождение;
- Бычковский Б.И. -техническое руководство, нормоконтроль, корректура разработки;
- к.т.н. Едличка С.Ю. -общее руководство разработкой технологической документации.
Авторы будут признательны запредложения и возможные замечания по составу и содержанию данной карты.
Контактный телефон (095)214-14-72.
Факс (095) 214-95-53.
E-mail: pkti@co.ru
www/co.ru/-pkti
1.1 Технологическая карта разработана на герметизациюстыков керамзитобетонных наружных панелей горизонтальной полосовой разрезки длязданий, возводимых из изделий номенклатуры МТСК-2, а также для одноэтажныхпромышленных зданий.
1.2 Конструкции горизонтальных и вертикальных стыков,представленных на рисунках 1, 2, 3, 4 и 5, приняты в соответствии с альбомом типовых решенийДС-47-87, разработанным институтом «Моспроект-1», а для одноэтажных промышленныхзданий - конструкции, представленные на рисунке 6, в соответствиис альбомом серии 1.030.1-1 «Стены наружные из однослойных панелей для каркасныхобщественных зданий, производственных и вспомогательных зданий промышленныхпредприятий».
Примечание - цифрами в кружкахобозначены варианты конструкций стыков наружных стеновых панелей
Рисунок1 -Фрагмент фасада каркасного многоэтажного здания
Примечание- номера позиций соответствуют названиям материала, данным в таблице 1
Рисунок2 -Конструкция вертикального рядового стыка панелей. Вариант 1.
Примечание - номера позиций соответствуютназваниям материала, данным в таблице 1
Рисунок 3 -Конструкция вертикального стыка простеночных панелей у температурного шва.Вариант 2.
Рисунок 4 - Конструкция горизонтального стыка панелей. Вариант3.
Рисунок 5 - Конструкция горизонтального стыка панелей. Вариант4.
Примечание - Номера позиций соответствуютназваниям материала, данных в таблице 1
Рисунок 6 - Конструкция стыководноэтажных промышленных зданий
1.3 В настоящей карте представлена технология герметизации горизонтальныхи вертикальных стыков с обязательной укладкой уплотняющей прокладки, нанесениемстроительной нетвердеющей мастики и затем вулканизирующей.
1.4 В работе по герметизации стыков используются следующие материалы,представленные в таблице 1.
Таблица 1 - Материалы, используемыепри герметизации стыков
| Наименование материалов | ГОСТ или ТУ | |
| 1 | Мастика вулканизирующая тиоколовая АМ-05 | ТУ 84-246-85 |
| 2 | Клей-герметик вулканизирующий кремнийорганический «Эластосил- 1106» | ТУ 6-02-775-73 |
| 3 | Мастика герметизирующая вулканизирующая «Тиопрол-2» | ТУ 400-1-411-99-85 |
| 4 | Герметик высыхающий 51-Г-18 | ТУ 400-1-137-78 |
| 5 | Состав латексный грунтовочный ЛСГ-905 | ТУ 400-1-209-80 |
| 6 | Прокладки резиновые пористые уплотняющие ПРП-40 | ГОСТ 19177-81 |
| 7 | Прокладки пенополиэтиленовые уплотняющие марки «Вилатерм-СП» | ТУ 6-05-2049-87 |
| 8 | Мастика герметизирующая нетвердеющая строительная | ГОСТ 14791-79 |
| 9 | Пакля смоляная |
|
| 10 | Цементно-песчаный раствор марки 100 |
|
2.1 Работы по герметизации стыков наружных стеновых панелей для зданий,возводимых из изделий номенклатуры МТСК-2 «Сборные бетонные, железобетонные,керамзитобетонные, гипсобетонные конструкции» следует осуществлять всоответствии с типовыми проектами, требованиями СНиП 3.03.01-87 «Несущие и ограждающиеконструкции» и настоящей технологической картой.
2.2 До начала работ по герметизации стыков с наружной стороны зданиядолжны быть выполнены следующие подготовительные работы:
- проверка наличияогрунтовки стыковых наружных стен;
- монтаж наружных стеновыхпанелей на всем здании;
- сварка закладных деталей иих антикоррозионная защита;
- укладка в процессе монтажауплотняющих прокладок в горизонтальные стыки;
- завоз всех необходимыхматериалов для производства работ и обеспечение надежного складирования;
- навеска люлек и подготовкаих к работе;
- проведение мероприятий побезопасности и охране труда и противопожарной безопасности;
- проверка исправностимеханизмов.
2.3 Поверхностные повреждения бетонных панелей в месте устройства стыков(трещины, раковины, сколы) должны быть устранены с применением полимерцементныхсоставов.
Стыкуемые поверхностинаружных стеновых панелей, поступающих на объект, должны быть предварительноогрунтованы клеем-герметиком 51-Г-18 или ЛСГ-905. В случае поставки настроительный объект панелей с непрогрунтованными кромками производитель работобязан организовать обмазку кромок грунтовочным составом сразу же последоставки панелей на объект и проконтролировать исполнение до окончания рабочейсмены.
2.4 Кромки панелей и устье стыка, покрытые грунтовочными составами передгерметизацией, должны быть очищены от наплывов раствора и пыли, а в зимнеевремя - от снега и льда.
2.5 При герметизации стыков их внутренние поверхности должны быть сухими.Запрещается наносить герметик и клеящие материалы на мокрые поверхности, атакже производить эти работы во время дождя и снега. После дождя и снегопадаперед производством работ грани стыка со слоем грунтовки следует протеретьсухими чистыми обтирочными концами.
2.6 Работы по герметизации стыков выполняют в следующей технологическойпоследовательности:
- производят приклейкууплотняющей прокладки ПРП-40 или Вилатерм-СП с перекрытия в горизонтальныестыки панелей с их наружной стороны, при этом прокладки ПРП-40 необходимовыдержать при температуре +20 °С не менее 4-х часов;
- производят герметизациювертикальных стыков уплотняющими прокладками с наружной стороны здания;
- производят герметизациюгоризонтальных и вертикальных стыков строительной нетвердеющей мастикой(Бутепрол);
- производят герметизацию построительной мастике вулканизирующими мастиками АМ-0,5 или «Тиопрол-2».
2.7 Перед наклейкой уплотняющей прокладки в горизонтальные стыки панелейнеобходимо осуществить очистку соответственно верхнего гребня нижележащейпанели, затем покрывают поверхность гребня клеем ЛСГ-905 или 51-Г-18 (кистью),наклеивают прокладки, которые сверху снова покрывают клеем.
Обжатие прокладок,установленных в стыках, должно составлять не менее 20 % диаметра их поперечногосечения. Устанавливают уплотняющую прокладку без разрывов. В местах соединенияконцы уплотняющих прокладок обрезают «на ус», склеивают клеем ЛСГ-905 или51-Г-18 и обматывают изоляционной лентой.
Уплотняющие прокладкивертикальных швов укладываются после монтажа панелей.
В точке пересечениягоризонтального и вертикального швов в горизонтальных уплотняющих прокладкахвырезают пазы, и стык прокладок склеивают, при этом вертикальная прокладкадолжна располагаться ближе к фасадной поверхности.
Наращивать прокладки подлине следует на расстоянии не менее 0,5 м от места пересечения горизонтальныхи вертикальных стыков.
2.8 Герметизацию стыков панелей с наружной стороны здания производят ссамоподъемных электрифицированных люлек. Запас материалов в люльке должен бытьпредусмотрен не менее чем на 3 - 4 часа работы.
Люльку подвешивают в рабочееположение, устанавливая консоли на крыше здания. Весь объем по герметизациистыков выполняют звеном из 2-х человек с одной люльки.
Передвигаясь сверху вниз повысоте здания и обратно, рабочие выполняют следующие операции:
- герметизацию вертикальногостыка уплотняющими прокладками ПРП-40 или «Вилатерм»;
- ремонт сколов, трещинполимерцементным раствором;
- герметизацию вертикальногои горизонтального стыков нетвердеющей строительной мастикой (Бутепрол) и ееуплотнение с помощью расшивки;
- герметизацию стыковвулканизирующей мастикой АМ-0,5 или «Тиопрол-2».
По окончанию работ назахвате люльку переставляют на следующую позицию и операции повторяются.
2.9 В вертикальный стык панелей уплотняющие прокладки вводят «насухо» спомощью деревянной конопатки с наружной стороны.
2.10 В вертикальные и горизонтальные стыки нетвердеющую строительнуюмастику вводят по уложенной уплотняющей прокладке с помощьюэлектрогерметизатора «Стык-20». Для хорошего заполнения зазора стыка, надежногоприлипания к кромкам панелей и обеспечения нормальной производительностиэлектрогерметизатора температура мастики в брикетах при подаче их на рабочееместо должна быть в пределах 15 - 20 °С независимо от температуры наружноговоздуха. Зимой разогрев брикетов с мастикой производится в электрошкафах,которые должны быть установлены в будках герметчиков. При работеэлектрогерметизатора зимой подключают электрообогревающую насадку герметизаторадля того, чтобы температура мастики, нагнетаемой в стык, была в пределах 35 -40 °С.
2.11 При герметизации стыков двухкомпонентной вулканизирующей мастикойАМ-0,5 или «Тиопрол-2» следует руководствоваться рекомендациями НИИМосстроя.
Приготовление таких мастикпроизводят на месте работ небольшими порциями. Смешивается основная пастаАМ-0,5 (белого цвета) с отверждающей пастой № 3 (черного цвета) в весовойдозировке в соотношении 5:1, а «Тиопрол-2» - в соотношении 2:1. Перемешиваниекомпонентов производят в ведре с помощью машины сверлильной электрическойИЭ-1035, оборудованной смесительной насадкой для получения однородной по цветумассы. Приготовленную мастику используют в течение 1 - 3 часов. Запрещаетсяперемешивать герметик вручную и разбавлять его растворителями. Герметик АМ-0,5или «Тиопрол-2» наносят на поверхность стыков шпателем или пневмошприцем сточным соблюдением профиля, указанного в проекте. После нанесения мастики ееповерхность следует выровнять и загладить шпателем. Температура мастики АМ-0,5или «Тиопрол-2» независимо от температуры наружного воздуха должна быть 15 - 20°С. Зимой подогрев вулканизирующей мастики производят в электрошкафах, которыедолжны быть установлены в будках герметчиков. Температура в электрошкафах недолжна превышать 30 °С.
2.12 На рисунке 7 приведена технологическая схема герметизации стыков каркасно-панельныхзданий. На листе 28 представлен календарный план производства работ пригерметизации стыков. В качестве примера принято девятиэтажноекаркасно-панельное здание с высотой этажа 3,3 м с размерами наружных стен5900×1540 мм и 2500×1840 мм.
2.13 Герметизацию стыков одноэтажных промышленных зданий осуществляютуплотняющими прокладками и мастикой АМ-0,5. Укладку уплотняющей прокладки вгоризонтальный стык производят в процессе монтажа панелей, а в вертикальныйстык - после окончания монтажа.
На приобъектном складе верхнюю грань панели очищают от грязи и наплывовбетона, а зимой - от снега и наледи. Затем наносят клей 51-Г-18 и приклеиваютуплотняющую прокладку. После окончания монтажа с самоподъемной люльки ввертикальный стык вводят «насухо» уплотняющую прокладку, а затем герметизируютвсе стыки вулканизирующей мастикой АМ-0,5. Операции осуществляют в соответствиис п. 2.7 ÷ 2.11 настоящей карты.
На рисунке 8 приведена технологическая схема герметизации стыков одноэтажногопромышленного здания и график производства работ.
Рисунок 7 - Технологическая схема герметизации стыков каркасныхзданий
Рисунок8 -Технология и организация работ по герметизации стыков одноэтажных промышленных зданий
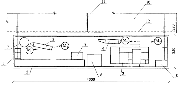
2.14 На рисунках 9 ÷ 14 приведены схемы организации рабочего места и приемы труда пригерметизации стыков.
1 - люлька ЛЭ-100-300; 2 - компрессор СО-7А; 3- пневмошприц; 4 - электрогерметизатор «Стык-20»; 5 - уплотняющие прокладки; 6- ящик с мастикой нетвердеющей, строительной; 7 - емкость с мастикой АМ-0,5; 8- ящик с сухой ветошью; 9 - ящик с инструментами; 10 - наружные стены; 11 -вертикальный стык; 12 - горизонтальный стык;
-направление перемещения рабочих-монтажников
Рисунок 9 - Организация рабочего места
Приемы труда
Рисунок10 -Очистка поверхности стыка
Монтажники М1 и М2,находясь в подвесной люльке, очищают поверхность стыка с помощью металлическойщетки и шпателя от наплывов бетона, набрызга раствора, снега; влажныеповерхности протирают концами или ветошью.
Рисунок11 -Укладка уплотняющей прокладки в стык (рисунки 2, 3 - поз. 6, 7)
М1 и М2с помощью деревянной конопатки вводят «насухо» уплотняющую прокладку в паз шва.Заглубляют его, не допуская растягивания, следят за тем, чтобы уплотняющаяпрокладка в стыках была обжата на 30 - 50 %. В местах соединения в прокладкахвырезается паз и стык шнуров склеивают.
Рисунок12 - Нанесение нетвердеющей строительноймастики (Бутепрол) (рисунки 2, 3, 4, 5 поз. 8)
Монтажник М1заправляет электрогерметизатор «Стык-20» разогретой мастикой, вводит наконечникэлектрогерметизатора в стык панелей, нажимает на пусковой рычаг и наносит валикмастики, равномерно перемещая герметизатор вдоль стыка со скоростью,обеспечивающей его полную герметизацию. Толщина валика мастики должна быть неменее 20 мм и не иметь разрывов и наплывов.
Рисунок13 -Нанесение мастики АМ-0,5 или «Тиопрол-2» (рисунок 2, 3, 4, 5 поз. 1, 2, 3)
Монтажник М1 спомощью пневмошприца наносит на мастику «Бутепрол» тиоколовый герметик АМ-0,5или «Тиопрол-2». Монтажник М2, пользуясь деревянной расшивкой,уплотняет герметик до толщины не менее 4 мм и разравнивает его так, чтобы онзаходил на кромки панелей не менее 20 мм.
Рисунок14 -Разравнивание и уплотнение герметика
Монтажник М2 расшивкой уплотняет иразравнивает ее так, чтобы слой мастики был ровный, без разрывов и плотноприлегал к кромке стыка.
3.1 Требования к материалам.
3.1.1 Все материалы, применяемые для герметизации стыков, должны отвечатьтребованиям действующих ГОСТ и технических условий (ТУ) на эти материалы.
Материалы для уплотнениястыков должны применяться только те, которые указаны в проекте, замена их безсогласования с проектной организацией не допускается.
Материалы после истеченияустановленного стандартами или ТУ срока хранения перед применением подлежатконтрольной проверке в строительной лаборатории.
Панели наружных стен должныпоставляться на объект с огрунтованными поверхностями под уплотняющиепрокладки, грунтовка должна образовывать сплошную пленку.
3.1.2 Обмазочные, твердеющие мастики (рисунки 2, 3, 4, 5 поз. 1, 2, 3):
- Мастика вулканизирующаятиоколовая АМ-0,5 - приготавливается в соответствии с ТУ 84-246-85, -двухкомпонентный материал на основе полисульфидного каучука (тиокола),пастообразный перед перемешиванием и резиноподобный после вулканизации (через 4 - 8 часов), светло-серого цвета.
Компоненты тиоколовоймастики - герметизирующая паста А-0,5 белого цвета и отверждающая паста № 30черного цвета поставляются заводом-изготовителем комплектно в весовой дозировкесогласно паспорту на каждую партию герметика. Нарушать дозировку, приведенную впаспорте, запрещается.
По физико-механическимпоказателям мастика должна соответствовать нормам, указанным в таблице 2.
Таблица 2 - Физико-механическиепоказатели тиоколовой мастики
| Наименование показателей | Норма | |
| 1 | Передел прочности при разрыве, МПа (кг/см2) | 1,0 (10,0) |
| 2 | Относительное удлинение, %, не менее | 150 |
| 3 | Температура хрупкости, °С, не выше | -40 |
| 4 | Сохранение основных свойств (жизнеспособность), час, не менее | 5 |
- Мастика герметизирующаявулканизирующая «Тиопрол-2» - двухкомпонентный материал на основе синтетическогокаучука ТПМ-полимера, цвет светло-серый. Компоненты мастики «Тиопрол-2»,герметизирующая паста светлого цвета и отверждающая паста темного цвета,поставляются заводом-изготовителем комплектно.
По физико-механическимпоказателям мастика «Тиопрол-2» должна соответствовать нормам, указанным втаблице 3.
Таблица 3 - Физико-механическиепоказатели мастики «Тиопрол-2»
| Наименование показателей | Норма | |
| 1 | Условная прочность в момент разрыва, МПа (кг/см2) | 0,15 (1,5) |
| 2 | Относительное удлинение в момент разрыва, %, не менее | 150 |
| 3 | Жизнестойкость при температуре от +18 °С до +30 °С, не менее | 2 часа |
Применяется при температуре наружного воздуха не ниже-20 °С для герметизации стыков элементов наружных стен.
3.1.3 Герметик высыхающий 51-Г-18 (ТУ 400-1-137-78) - жидкий материал наоснове дивинилстирольного термоэластопласта ДСТ-30, инденкумароновой смолы,наполнителей, растворителей. Применяется для грунтовки стыкуемых поверхностейнаружных стеновых панелей (рисунки 2, 3, 4, 5 поз. 4).
Состав латекснойгрунтовочной марки ЛСГ-905 (ТУ 400-1-204-80) - жидкий воднодисперсный материална основе синтетических каучуков (рисунки 2, 3, 4, 5 поз. 5). Применяется длягрунтовки стыкуемых поверхностей наружных стеновых панелей.
3.1.4 Резиновые пористые уплотняющие прокладки ПРП-40 (рисунки 2, 3, 4, 5 поз. 6) получают на основесинтетических каучуков. Их применяют в условиях эксплуатации с температурныминтервалом от -40 до +70 °С. Прокладки выпускают круглого сечения диаметром 40мм и длиной 3000 мм.
Прокладки должны иметьсплошную поверхностную планку без трещин и разрывов. На поверхности прокладокне допускаются бугорки или углубления, завулканизированные складки высотой(глубиной) более 3 мм, отслаивание поверхностной пленки от прокладки длинойболее 50 мм в количестве более 1 шт. на 1 м длины, пузыри размером более¼ наименьшего размера сечения прокладки.
Предельные отклонения вразмерах прокладок ПРП-40 представлены в таблице 4.
Таблица 4 - Предельные отклоненияпрокладок ПРП-40
| Прокладки ПРП-40 | ||
| Высшей категории качества | I категории качества | |
| 1 | 2 | 3 |
| Средняя плотность прокладок, кг/м3, не более, для групп: |
|
|
| 300 | 300 | 300 |
| 400 | 400 | 400 |
| 500 | 500 | 500 |
| 600 | - | 600 |
| Сопротивление сжатию, МПа (кгс/см2), не более: |
|
|
| при температуре: (20 ± 5) °С | 0,15 (1,5) | 0,20 (0,20) |
| (-20 ± 2) ° С | 0,25 (2,5) | |
| Остаточная деформация при сжатии, %, не более | 25 | 40 |
| Водопоглощение, %, не более | 3,0 | 5,0 |
| Температура хрупкости, °С | - 30 | |
Пенополиэтиленовые ВСН14-95 уплотняющие прокладки марки «Вилатерм-СП» (рисунки 2, 3, 4, 5 поз. 7)получают экструзией полиэтилена высокого давления (низкой плотности) сфизическим вспенивающим агентом.
Прокладки «Вилатерм-СП»белого цвета имеют профиль круглого сечения диаметром 30, 40, 50 мм сотверстием внутри, толщина стенки 10 мм, длина прокладки не менее 5 м.
Прокладки «Вилатерм-СП»должны иметь сплошную поверхностную пленку без трещин и разрывов.Физико-механические свойства представлены в таблице 5.
Таблица 5 - Физико-механическиесвойства прокладок «Вилатерм-СП»
| Наименование показателей | Норма | |
| 1 | Овальность, % от величины диаметра | 15 |
| 2 | Кажущаяся плотность, кг/м3 |
|
| 3 | Водопоглощение за 24 часа, % не более | 3,0 |
| 4 | Относительная остаточная деформация, %, не более, при сжатии: |
|
|
| на 25 % | 7,5 |
|
| на 50 % | 15,0 |
На стройплощадку прокладкиПРП-40 поставляются в бухтах или пачках массой не более 50 кг, а прокладки«Вилатерм-СП» - в контейнерах, уложенными в расправленном виде.
Транспортную маркировкупроизводят по ГОСТ 14192-96*.На каждую упаковку прикрепляют этикетку из плотного картона или фанеры, вкоторой указывают:
- наименование организации,в подчинении которой находятся предприятие-изготовитель;
- наименование и адреспредприятия-изготовителя или его товарный знак;
- наименование и условноеобозначение прокладок;
- номер партии и датуизготовления, качество;
- гарантийный срок хранения.
Каждая партия прокладокдолжна сопровождаться документом, в котором кроме сведений, указанных наэтикетках, должны содержаться показатели качества прокладок.
Прокладки перевозят всемивидами крытых транспортных средств.
Прокладки следует хранить ввентилируемых помещениях или под навесами при температуре не выше +30 °С вусловиях, исключающих попадание прямых солнечных лучей и веществ, разрушающихрезину (масла, растворители, кислоты, щелочи - для ПРП-40). Прокладки следуетхранить в штабелях высотой не более 2 м при упаковке в бухты и не более 1 м приупаковке в пачке или складировании в контейнерах.
Срок хранения прокладокПРП-40 и «Вилатерм-СП» - один год со дня изготовления при условии соблюденияправил хранения. По истечении гарантийного срока хранения прокладки передприменением должны быть проверены на соответствие требованиям ГОСТ или ТУ.
3.1.5 Мастика герметизирующая нетвердеющая строительная ГОСТ 14791-79 (рисунки 2, 3, 4, 5 поз. 8) - вязкая однородная масса на основе полиизобутиленового,этиленпропиленового, изопренового и бутилового каучуков, наполнителей ипластификаторов. Цвет мастики - от светло-серого до коричневого.
По внешнему виду мастикадолжна быть однородной, при этом не допускается на поперечном сечении брикетаболее двух включений диаметром свыше 1 мм.
Мастика поступает настройплощадку в брикетах прямоугольной формы сечением 60×30 мм и длинойдо 500 мм, обернутых в полиэтиленовую пленку толщиной 40 мкм.
По физико-механическимпоказателям мастика должна соответствовать нормам, указанным в таблице 6.
Таблица 6 - Физико-механическиесвойства мастики герметизирующей нетвердеющей
| Норма | ||
| высшая категория качества | I категория качества | |
| Предел прочности при растяжении, кгс/см2 (МПа) | 0,10 - 0,15 (0,01 - 0,015) | 0,08 - 0,10 (0,008 - 0,01) |
| Относительное удлинение при максимальной нагрузке, %, не менее | 45 | 35 |
| Водопоглощение, %, не более | 0,2 | 0,4 |
| Консистенция, мм | 7 - 11 | 7 - 11 |
| Стекание мастики при 70 °С (теплостойкость), мм, не более | 1,0 | 2,0 |
| Относительное удлинение при температуре 50 °С, %, не менее | 7,0 | 7,0 |
Брикеты упаковывают вдеревянные или картонные ящики, деревянные бочки. Масса «брутто» одного тарногоместа должна составлять не более 50 кг.
Срок хранения строительноймастики - 1 год со дня изготовления.
3.1.6. Каждая партия герметизирующих и клеящих мастик снабжена инструкциейпо применению и документом, в котором должно быть указано:
- наименование организации,в подчинении которой находится предприятие-изготовитель;
- наименование и адреспредприятия-изготовителя или его товарный знак;
- наименование материала;
- номер партии и датаизготовления;
- масса «нетто» упакованногоместа;
- результатыфизико-механических испытаний;
- обозначение ГОСТ, ТУ;
- на этикетках мастик КН-2 иКН-3 должны быть крупные надписи «ОГНЕОПАСНО» и «ВЗРЫВООПАСНО».
Документ должен бытьподписан лицом, ответственным за технический контроль предприятия-изготовителя.
3.1.7 Герметизирующие мастики следует хранить в вентилируемых помещениях илипод навесами при температуре не выше +30 °С в условиях, исключающих попаданиепрямых солнечных лучей и веществ, разрушающих материалы.
3.1.8 Растворные смеси, применяемые для зачеканки стыков, должны отвечатьтребованиям СП 82-101-98 «Приготовление и применение растворов строительных».
3.2 Контроль качества выполнения работ.
3.2.1 Производственный контроль качества по герметизации стыков наружныхограждающих конструкций производят в соответствии с требованиями СНиП 3.03.01-87 «Несущие и ограждающие конструкции» под руководством технического персоналастроительной организации и периодическим контролем лаборатории.
3.2.2 Производственный контроль включает в себя входной контроль наружныхстыков панелей, эксплуатационных материалов, операционный контроль отдельныхпроизводственных операций и приемочный контроль требуемого качествазагерметизированных стыков.
3.2.3 При входном контроле наружные стеновые панели и герметизирующиематериалы проверяют внешним осмотром, их соответствие нормативным и проектным требованиям, а также наличиеи содержание паспортов, сертификатов и других сопроводительных документов.
При операционном контролепроверяют все операции по герметизации швов в соответствии с требованиями СНиП,зачеканку прокладок в вертикальные и горизонтальные швы, величину обжатияпрокладок, нанесение мастик на уплотняющие прокладки.
При приемочном контролепроверяют качество устройства загерметизированных стыков. Результатыпроизводственного контроля качества работ должны заноситься в журналпроизводства работ.
Основными документами припроизводственном контроле является настоящая технологическая карта и указанныев карте нормативные документы, перечни операций, контролируемых производителемработ (мастером), данные о составе, сроках и способах контроля, как показано втаблице 7.
Таблица 7 - Состав и содержаниепроизводственного контроля качества
| Прораб или мастера | |||||||
| Операции, подлежащие контролю | Операции при входном контроле | Операции при операционном контроле | Операции при приемочном контроле | ||||
| Состав контроля | Проверка наличия сертификатов и паспортов на материалы и изделия, соответствия марок материалов и сроков их хранения требованиям проекта, ГОСТов, технических условий | Проверка огрунтовки граней панелей образующих стык. Очистка и просушка стыков. Определение фактического размера стыка | Наклейка уплотняющей прокладки на верхние грани ранее смонтированных панелей. Зачеканка прокладок в вертикальные стыки. | Проверка величины обжатия прокладки в рабочем состоянии | Нанесение мастики на уплотняющие прокладки. Нанесение защитного покрытия. | Зачеканка горизонтальных стыков цементно-песчаным раствором (или смоляной паклей) | Соответствие готового загерметизированного шва требованиям проекта |
| Метод контроля | Визуально | Визуально, газовая горелка, метр металлический | Визуально | Визуально, метр металлический | Визуально, метр металлический |
| Визуально, метр металлический |
| Время контроля | До герметизации |
|
|
|
|
| После окончания работ |
| Кто привлекается к контролю | Лаборатория |
|
|
|
|
| Технадзор |
| Наличие акта на скрытые работы (+) |
| + |
| + |
|
| |
4.1 При производстве работ по герметизации и теплоизоляции стыков панелейдолжны соблюдаться требования СНиП 12-03-2001 «Безопасность труда в строительстве. Часть 1. Общие требования», СНиП 12-04-2002 «Безопасность труда в строительстве. Часть 2. Строительноепроизводство», ППБ 01 -93** «Правила пожарной безопасности в Российской Федерации», «Правилустройства и безопасной эксплуатации строительных подъемников» и требованиянастоящей технологической карты.
4.2 К выполнению работ по герметизации стыков панелей допускаются рабочиемужского пола не моложе 18 лет, не имеющие медицинских противопоказаний дляработы на высоте, прошедшие обучение согласно ГОСТ 12.0.004-90 , сдавшие экзамены и имеющие удостоверение на право производства работ,прошедшие вводный инструктаж и первичный инструктаж на рабочем месте побезопасности и охране труда.
4.3 Лица, допускаемые к работам по герметизации, должны иметьпрофессиональную подготовку (в том числе по безопасности труда),соответствующую характеру работ, квалификационную группу по электробезопасности(не ниже II для лиц, допускаемых к управлению оборудованием с электроприводом, илиц, допускаемых к управлению ручными электрическими машинами).
4.4 Администрация строительного (специализированного) управления обязанаорганизовать разработку и после согласования с профсоюзной организациейутвердить инструкцию по безопасности и охране труда для рабочих, выполняющихработы по герметизации стыков панелей, и осуществлять контроль за соблюдениемее требований.
4.5 Перед допуском к работе рабочие должны быть ознакомлены с требованиямиуказанной инструкции и данной технологической картой.
4.6 В целях предупреждения и своевременного выявления профессиональныхзаболеваний или отравлений рабочие должны проходить предварительный ипериодические медицинские осмотры.
4.7 Для герметизации стыков наружных стеновых панелей на фасадах следуетпользоваться по окончании монтажных операций самоподъемными люльками.
4.8 Перед началом работ по герметизации и теплоизоляции стыков на рабочихместах должны быть вывешены плакаты и предупредительные надписи, разъясняющиебезопасные способы выполнения работ.
4.9 Герметчики и теплоизолировщики должны:
- быть обучены безопасным ипрогрессивным приемам выполнения соответствующих операций технологическогоцикла;
- иметь наряд-допуск напроизводство этих работ, а до их начала быть проинструктированы по техникебезопасности на рабочем месте;
- допускаться к работе сгерметиками и лентами, содержащими токсичные и легко летучие огнеопасныевещества, только после специального обучения, и также инструктажа о свойствахматериалов и мерах пожарной безопасности.
4.10 Оборудование для герметизации стыков должно быть инвентарным инаходиться в исправном состоянии:
- у компрессора должен бытьотрегулирован предохранительный клапан, проверена правильность показанийманометра;
- перед разогревомнетвердеющей строительной мастики (Бутепрол) в электрошкафах должны бытьпроверены исправность терморегулятора, изоляция проводов, заземление корпусаэлектрошкафа. Температура в электрошкафу не должна превышать +20 ÷ 30°С.
4.11 Электрооборудование будки герметчиков должно быть заземлено. Включатьи выключать его разрешается только дежурному электрику.
4.12 Приготовление мастик АМ-0,5 или «Тиопрол-2» (дозирование составов)должно производиться в вентилируемом помещении или температуре не ниже 20 °С.
4.13 При производстве работ должны соблюдаться следующие правила:
- герметизация мастикамистыков панелей в зоне монтажных работ запрещается;
- запрещается оставлятьприспособления и инструмент у краев перекрытия или на рабочем настиле люлек иплощадок;
- рабочие настилы нанавесных площадках и люльках зимой должны тщательно очищаться от снега иналеди.
4.14 При работе с электрогерметизатором запрещается:
- устранять неисправностибез обесточивания системы электропитания;
- поправлять рукой брикет смастикой в загрузочном окне электрогерметизатора.
4.15 Рабочие, занятые смешением и нанесением тиоколовой мастики АМ-0,5 или«Тиопрол-2» и грунтовочных составов, должны быть обеспечены резиновымиперчатками, профилактическими мазями для смазывания кожи рук перед работой,пятипроцентным раствором гипосульфита или десятипроцентным раствором бисульфитанатрия для мытья рук по окончании работы или рабочей смены.
4.16 К работам, связанным с эксплуатацией самоподъемных электрифицированныхлюлек, должны допускаться рабочие, обученные по специальной программе и сдавшиетехнический минимум.
4.17 Установка люльки и ее эксплуатация производятся в соответствии синструкцией и паспорта на люльку, а также правилами безопасности труда.
4.18 После монтажа и проверки всех механизмов перед началом работ следуетпроизвести пробный подъем люльки на полную высоту с нагрузкой 300 кг состановками на 1 - 2 минуты через каждые 8 - 10 м подъема. Если люлька работаетнормально и закреплена устойчиво, можно приступать к работе по герметизациистыков панелей.
4.19 При эксплуатации до начала работ ежедневно бригадир должен внимательноосматривать грузовые предохранительные канаты, а механик участка не менееодного раза в декаду - производить запись в журнале о техническом состоянииканатов.
4.20 Вход и выход на люльку производить только с земли. Вход и выход налюльку с оконных проемов категорически запрещается.
4.21 Работа с люлек при силе ветра более 6 баллов запрещается.
4.22 Запрещается совместная работа люлек при расстоянии между ними (погоризонтали) менее 5 метров.
4.23 Работа на люльках разрешается только в предохранительных поясах икасках, а также при наличии наряда-допуска на особо опасные работы.
4.24 Запрещается пользоваться открытым огнем и курить в местах, гдепроводится розлив, дозировка и перемешивание клеев, растворителей и жидкихкомпонентов.
4.25 Для предотвращения искрообразования категорически запрещаетсявскрывать металлическую тару с клеем КН-2, другими видами клея, ударяя по нимстальными предметами. Открывать тару следует неискрящими бронзовыми ключами илидеревянной конопаткой.
4.26 Пустую тару от клея запрещается оставлять на перекрытии или в будкегерметчиков ввиду ее взрыво- и пожароопасности.
4.27 Герметчики и теплоизолировщики должны быть обеспечены спецодеждой избрезента, рукавицами, резиновыми перчатками, профилактическими мазями длясмазывания кожи рук перед началом работы.
4.28 Строительная площадка должна быть обеспечена противопожарнымоборудованием и инвентарем согласно действующим нормам.
Все работающие должны бытьпроинструктированы по правилам пожарной безопасности.
В каждой схеме должен бытьназначен ответственный за противопожарную безопасность.
Для соблюдения экологическихнорм необходимо предусмотреть емкость для воды, предназначенную для промывкиинструмента и механизмов.
Запрещается сжиганиестроительного мусора на стройплощадке, его необходимо собирать в контейнеры ивывозить в установленные места.
5.1 Потребность в машинах, оборудовании и механизмах приведена в таблице 8 с учетом выполняемых работи технических характеристик.
Таблица 8 - Ведомость потребности машин, инструмента иоборудования
| Наименование | Тип, марка, ГОСТ | Технические характеристики | Назначение | Количество на звено, шт. | ||
| 1 | 2 | 3 | 4 | 5 | 6 | |
| 1 | Люлька самоподъемная | Грузоподъемность, кг | 300 | Подъем рабочих и материалов для герметизации горизонтальных и вертикальных стыков «закрытого» типа с наружной стороны здания | 1 | |
| Высота подъема, м | 100 | |||||
| Габаритные размеры, мм: |
| |||||
| длина | 4435 | |||||
| ширина | 935 | |||||
| высота | 1815 | |||||
| Масса, кг | 415 | |||||
| 2 | Передвижная компрессорная установка | СО-7А | Производительность, м3/мин | 0,50 | Для подачи воздуха в пневмошприцы | 1 |
| Давление, МПа (кг/см2) | 0,6 (6) | |||||
| Мощность, кВт | 4 | |||||
| Габаритные размеры, мм: |
| |||||
| длина | 1000 | |||||
| ширина | 485 | |||||
| высота | 820 | |||||
| Масса, кг | 140 | |||||
| 3 | Электрогерметизатор | Стык-20 | Производительность: |
| Для нанесения нетвердеющей мастики «Бутепрол» во внутренние и наружные стыки | 1 |
| подача мастики, л/мин | 1,0 | |||||
| стыка, м/ч | 20 - 25 | |||||
| Мощность, кВт | 0,86 | |||||
| Габаритные размеры, мм: |
| |||||
| длина | 510 | |||||
| ширина | 130 | |||||
| высота | 280 | |||||
| Масса, кг | 6,5 | |||||
| 4 | Пневмошприц для вулканизирующихся мастик |
| Габаритные размеры, мм: |
| Для укладки вулканизирующихся мастик в стык | 1 |
| длина | 560 | |||||
| диаметр | 132 | |||||
| Масса (с заряженной мастикой), кг | 1,7 | |||||
| 5 | Шприц заправочный | - | Габаритные размеры, мм: |
| Для нанесения мастики | 1 |
| длина с вытянутым поршнем | 827 | |||||
| длина шприца | 445 | |||||
| ширина | 100 | |||||
| диаметр | 70 | |||||
| 6 | Машина сверлильная электрическая с насадкой для перемешивания | ИЭ-1035 | Частота вращения шпинделя, с-1 | 10 | Для механического перемешивания мастики | 1 |
| Потребляемая мощность, кВт | 0,42 | |||||
| Частота питающей сети, Гц | 200 | |||||
| Напряжение, В | 220 | |||||
| Масса, кг | 2,50 | |||||
| Диаметр сверла, мм | 14 | |||||
| 7 | Столик-стремянка | - | Габаритные размеры, мм: |
| Герметизация вертикальных стыков внутри здания | 1 |
| длина | 850 | |||||
| ширина | 480 | |||||
| высота | 925 | |||||
| Масса, кг | 14 | |||||
| 8 | Шпатель стальной | ШД-45 | Габариты, мм: |
| Зачистка стыков | 1 |
| длина | 210 | |||||
| ширина | 45 | |||||
| Масса, кг | 0,12 | |||||
| 9 | Щетка волосяная |
| Габаритные размеры, мм: | 300×90×75 | Зачистка стыков | 1 |
| Масса, кг | 0,4 | |||||
| 10 | Сменные гильзы |
| Диаметр, мм: |
| Для замены использованных гильз | 1 |
| наружный | 88 | |||||
| внутренний | 85 | |||||
| Длина, мм | 215 | |||||
| Масса, кг | 0,7 | |||||
| 11 | Контейнер для гильз |
| Размеры, мм | 390×210×165 | Для хранения гильз | 1 |
| Масса, кг | 1,6 | |||||
| 12 | Преобразователь частоты тока | ИЭ-9403 | Мощность, кВа: |
| Подача напряжения на «Стык-20» и электрическую сверлильную машину ИЭ-1035 | 1 |
| отдаваемая | 1,2 | |||||
| потребляемая | 2,0 | |||||
| Род тока - переменный трехфазный |
| |||||
| Напряжение, В: |
| |||||
| первичное | 380/220 | |||||
| вторичное | 42 | |||||
| Частота тока, Гц: |
| |||||
| первичная | 50 | |||||
| вторичная | 200 | |||||
| Габаритные размеры, мм: |
| |||||
| диаметр | 335 | |||||
| высота | 256 | |||||
| Масса, кг | 39 | |||||
| 13 | Электрошкаф | - | Напряжение, В | 42 | Для подогрева мастики | 1 |
| Частота тока, Гц | 50 | |||||
|
|
|
| Температура нагрева мастики, °С | 60 ÷ 70 |
|
|
| Габаритные размеры, мм: |
| |||||
| длина | 795 | |||||
| ширина | 500 | |||||
| высота | 700 | |||||
| Масса, кг | 25 | |||||
| 14 | Большой заправщик жгута |
| Производительность при укладке и обмазке жгута клеящим раствором, м/мин: | 1,0 - 1,5 | Для укладки уплотняющих прокладок | 2 |
| Наибольшая высота укладки жгута, м | 3 | |||||
| Длина заправщика, мм | 900 | |||||
| Масса заправщика, кг | 0,85 | |||||
| 15 | Конопатка деревянная |
| Длина общая, мм | 250 | Для укладки уплотняющих прокладок | 2 |
| Ширина рабочей части, мм | 40 | |||||
| Масса, кг | 0,3 | |||||
| 16 | Кисть-ручник | КР-50 | Габаритные размеры, мм: | 290×50 | Нанесение клея-герметика 51-Г-18 или ЛСГ-0,05 | 2 |
| Масса, кг | 0,096 | |||||
| 17 | Кельма штукатурная | КШ | Габаритные размеры, мм: | 320×150×70 | Для нанесения и разравнивания раствора | 2 |
| Масса, кг | 0,3 | |||||
| 18 | Терка деревянная |
| Габаритные размеры, мм: | 200×120×68 | Для затирки раствора в стыках | 1 |
| 19 | Ведро | ГОСТ 20558-82* | Емкость, л | 10 | Для воды и раствора |
|
| 20 | Ящик деревянный |
| Габаритные размеры, мм: | 600×250×600 | Для переноски и хранения инструмента | 1 |
| Масса, кг | 2 | |||||
| 21 | Нож кровельный |
| Габаритные размеры, мм: | 190×20×80 | Для резки уплотняющих прокладок | 2 |
| Масса, кг | 0,12 | |||||
5.2 Рабочие, занятыена работах по герметизации стыков панелей, обеспечиваются спецодеждой испецобувью в соответствии с действующими отраслевыми нормами, как указано втаблице 9.
Таблица 9 - Средства индивидуальной защиты работающих
| Наименование | Тип, марка, ГОСТ | Технические характеристики | Назначение | Количество на звено, шт. | |
| 1 | 2 | 3 | 4 | 5 | 6 |
| 1 | Пояс предохранительный монтажный |
|
| При работе на высоте | 2 |
| 2 | Перчатки резиновые технические |
|
| Для защиты рук | 2 |
| 3 | Рукавицы брезентовые | ГОСТ 12.4.087-84 | Срок носки 1 мес. | Для защиты рук | 2 |
| 4 | Каска строительная | ГОСТ 12.4.087-84 |
| Для защиты головы | 2 |
| 5 | Костюм хлопчатобумажный |
| Срок носки 12 мес. |
| 2 |
| 6 | Ботинки кожаные |
| Срок носки 12 мес. |
| 2 |
| 7 | Куртка хлопчатобумажная на утепляющей прокладке |
|
| В зимний период | 2 |
| 8 | Брюки хлопчатобумажные на утепляющей прокладке |
|
| В зимний период | 2 |
| 9 | Валенки |
|
| В зимний период | 2 |
6.1 В качестве единицы измерения для составления калькуляции затрат трудаи машинного времени, календарного плана производства работ принято 100 м стыкакаркасно-панельного здания.
6.2 Затраты труда и машинного времени на устройство стыков каркасно-панельныхзданий подсчитаны по «Единым нормам и расценкам на строительные, монтажные иремонтно-строительные работы», введенным в действие в 1987 г., и представлены втаблице 10.
6.3 Продолжительность работ на устройство герметизации стыковкаркасно-панельного здания определяется календарным планом работ,представленным в таблице 11.
Таблица10 -Калькуляция трудовых затрат на производство работ по герметизации стыков
Измеритель - 100 м стыка каркасно-панельногоздания
| Обоснование (ЕниР и др. нормы) | Наименование технологических процессов | Ед. изм. | Объем работ | Норма времени | Затраты труда | |||
| рабочих, чел.-ч | машинистов, чел.-ч (работа машин, маш.-ч) | рабочих, чел.-ч | машинистов, чел.-ч (работа машин, маш.-ч) | |||||
| 1 | Е 4-1-27 № 2, № 3 | Укладка прокладки ПРП-40 или «Вилатерм-СП» насухо в вертикальные стыки с наружной стороны здания с изготовлением | 10 м шва | 10,0 | 2,51 | - | 25,1 | - |
| 2 | Е 4-1-27 № 7, № 8 | Герметизация горизонтальных и вертикальных стыков наружных стеновых панелей нетвердеющей строительной мастикой («Бутепрол») | 10 м шва | 10,0 | 2,99 | - | 29,9 | - |
| 3 | Е 4-1-27 № 7, № 8 | Герметизация горизонтальных и вертикальных стыков наружных панелей вулканизирующей мастикой АМ-0,5 или «Тиопрол-2» | 10 м шва | 10,0 | 2,99 | - | 29,9 | - |
Таблица 11 - Календарныйплан производства работ на герметизацию стыков каркасно-панельного здания
Измеритель - 100 м стыка
* Графиком предусматриваются работы в однусмену
6.3 Технико-экономические показатели приведены в таблице 11.
Таблица 11 - Технико-экономическиепоказатели герметизации стыков
| Наименование | Ед. изм. | Герметизация стыков в каркасно-панельном здании | |
| 1 | Затраты труда | чел.-ч | 84,9 |
| 2 | Выработка на 1 рабочего в смену | м | 19 |
| 3 | Расход электроэнергии в смену | КВт | 19,68 |
1 СНиП 3.01.01-85* «Организация строительногопроизводства»;
2 СНиП 3.03.01-87 «Несущие и ограждающиеконструкции»;
3 СНиП 12-03-2001 «Безопасность труда в строительстве. Часть 1. Общие данные»;
4 СНиП 12-04-2002 «Безопасность труда в строительстве. Часть 2. Строительноепроизводство»;
5 ГОСТ 12.0.004-90 «ССБТ. Организация обучения безопасности труда. Общие положения»;
6 ГОСТ 12.4.011-89 «ССБТ. Средства защиты работающих. Общие требования и классификация»;
7 ГОСТ 12.4.087-84 «ССБТ. Строительство. Каски строительные. Технические условия»;
8 ГОСТ 14791-79 «Мастика герметизирующая нетвердеющая строительная. Техническиеусловия»;
9 ГОСТ 19177-81 «Прокладки резиновые пористые уплотняющие. Технические условия»;
10 ГОСТ24064-80 «Мастики клеевые каучуковые»;
11 ППБ 01 -93** Правила пожарной безопасности в Российской Федерации.
12 Правила устройства и безопасной эксплуатации строительных подъемников.Госгортехнадзор, М., 2002 г.
13 ВСН 19-95 Инструкция по технологии заделки стыковых соединений панелей наружныхстен жилых домов и зданий соцкультбыта;
14 Альбом ДС-47-87 Стены каркасных зданий наружные керамзитобетонные сгоризонтальной разрезкой. Стыки;
15 Альбом 1.030-1-1 Выпуск 3-3. Монтажные узлы стен одноэтажныхпромышленных зданий;
16 ЕНиР. Единые нормы и расценки на строительно-монтажные иремонтно-строительные работы. Сборник Е 4. Выпуск 1. Здания и промышленныесооружения;
17 ТУ 6-05-2049-87 Прокладки пенополиэтиленовые уплотняющие марки«Вилатерм СП».