Рекомендации по методике лабораторных испытаний грунтов на водопроницаемость и суффозионную устойчивость являются практическим пособием по экспериментальному определению в лабораторных условиях указанных свойств связных и несвязных зернистых грунтов, исключая их устойчивость к химической суффозии. Рекомендации развивают и поясняют соответствующие разделы СНиП, регламентирующие фильтрационные расчеты оснований гидротехнических сооружений и плотин из грунтовых материалов.
| Обозначение: | 12-83 |
| Название рус.: | Рекомендации по методике лабораторных испытаний грунтов на водопроницаемость и суффозионную устойчивость |
| Статус: | действующий |
| Дата актуализации текста: | 01.10.2008 |
| Дата добавления в базу: | 01.02.2009 |
| Дата введения в действие: | 01.04.1983 |
| Разработан: | ВНИИГ им. Б.Е. Веденеева 195220, г. Санкт-Петербург, Гжатская ул., 21 |
| Утвержден: | ВНИИГ им. Б.Е. Веденеева (24.03.1983) |
| Опубликован: | Типография ВНИИГ им. Б. Е. Веденеева № 1983 |
МИНИСТЕРСТВО ЭНЕРГЕТИКИ И ЭЛЕКТРИФИКАЦИИ СССР
ГЛАВНИИПРОЕКТ
ВСЕСОЮЗНЫЙ ОРДЕНА ТРУДОВОГО КРАСНОГО ЗНАМЕНИ
НАУЧНО-ИССЛЕДОВАТЕЛЬСКИЙ ИНСТИТУТ ГИДРОТЕХНИКИ
имени Б. Е. ВЕДЕНЕЕВА
РЕКОМЕНДАЦИИ ПО МЕТОДИКЕ
ЛАБОРАТОРНЫХ ИСПЫТАНИЙ ГРУНТОВ
НА ВОДОПРОНИЦАЕМОСТЬ
И СУФФОЗИОННУЮ УСТОЙЧИВОСТЬ
П 12-83
ВНИИГ
ЛЕНИНГРАД
1983
Рекомендациипо методике лабораторных испытаний грунтов на водопроницаемость и суффозионнуюустойчивость являются практическим пособием по экспериментальному определению влабораторных условиях указанных свойств связных и несвязных зернистых грунтов,исключая их устойчивость к химической суффозии. Рекомендации развивают ипоясняют соответствующие разделы СНиП, регламентирующие фильтрационные расчетыоснований гидротехнических сооружений и плотин из грунтовых материалов.
Рекомендациисоставлены с учетом современных достижений в данной области фильтрационныхисследований грунтов и предназначены главным образом для инженерно-техническогоперсонала специализированных подразделений научно-исследовательских и проектныхорганизаций, занимающихся определением и контролем фильтрационно-суффозионныхсвойств грунтов.
Характеристикифильтрационно-суффозионных свойств грунтов являются важнейшими исходнымиданными для проектирования любого напорного гидротехнического сооружения.Прежде всего, они необходимы для выбора рациональной схемы его подземногоконтура, расчета конструкции водоупорного элемента, а также для оценкифильтрационных утечек, скорости консолидации грунта в основании и т.п. Поэтомубольшое внимание уделяется совершенствованию методов определенияводопроницаемости и местной фильтрационной прочности грунтов, на которыхвозводится само сооружение, или же используемых в качестве строительногоматериала при его возведении.
Вряде публикаций можно найти сведения о методических разработках, проводившихсяв этом направлении за последнее время у нас и за рубежом. Однако все этисведения не систематизированы и не собраны в одном методическом пособии.
Потребностьв таком документе возникла давно и обусловлена не только целесообразностьюунификации методов испытаний, но и необходимостью избавиться от ошибочныхоценок фильтрационно-суффозионных свойств грунтов вследствие невернойинтерпретации результатов самих испытаний, что нередко случается, когда, например,упускают из вида смену режимов фильтрации воды в грунте или наличие в немвоздуха (пневмокольматаж). Предполагается, что таким пособием явятся настоящиеРекомендации. В них обобщен, в частности, многолетний опыт экспериментальногоизучения фильтрационно-суффозионных свойств грунтов (особенно глинистых) вЛаборатории фильтрационных исследований им. акад. Н. Н. Павловского ВНИИГа им.Б. Е. Веденеева.
Рекомендации составлены заведующим этой лабораторией ст.научн. сотр., канд. техн. наук В. Н. Жиленковым.
| Министерство энергетики и электрификации СССР | Рекомендации по методике лабораторных испытаний грунтов на водопроницаемость и суффозионную устойчивость | П 12-83 ВНИИГ |
1.1. Рекомендации являютсяпрактическим пособием по экспериментальному определению в лабораторных условияхводопроницаемости и суффозионной устойчивости образцов связных и несвязныхзернистых грунтов, исключая их устойчивость к химической суффозии(выщелачиванию). В Рекомендациях не рассматриваются методические приемыопределения указанных свойств грунтов в процессе их промораживания иоттаивания, они развивают и поясняют в деталях соответствующие разделы СНиП попроектированию оснований гидротехнических сооружений и СНиП по проектированиюплотин из грунтовых материалов, которыми регламентируются выбор расчетныххарактеристик грунтов, проектирование подземного контура сооружений иводоупорных элементов каменно-земляных плотин.
1.2. В Рекомендацияхрассматриваются методические приемы, наиболее широко используемые в настоящеевремя при экспериментальном определении в лабораторных условияхводопроницаемости и суффозионной устойчивости зернистых грунтов. В связи с этимтакже дана общая типизация видов суффозии зернистых (нескальных) грунтов взависимости от характера воздействия на них фильтрационного потока.
1.3. При изучении в лабораторных условияхфильтрационно-суффозионных свойств грунтов мы определяем характеристики,отличающиеся в той или иной мере от характеристик, получаемых в результатеиспытаний грунтов in situ, даже в местах отбора проб.
| Внесены ВНИИГом имени Б. Е. Веденеена | Утверждены ВНИИГом имени Б. Е. Веденеева | Срок введения |
Поэтому, во-первых, по своему объему пробы должны быть достаточнопредставительными, т.е. каждая проба должна иметь полный набор фракций частиц,содержащихся в грунте; во-вторых, места отбора проб и их количество надо назначатьисходя из предварительно установленной схемы геологического строения массиваоснования с учетом тех предполагаемых изменений режима фильтрации грунтовыхвод, какие могут произойти в результате создания напора на сооружение, дляпроектирования которого используются определяемые характеристики грунтов.
1.4. Испытывая влаборатории образцы грунтов или отдельные фрагменты сооружения и воспроизводяпо своему желанию различные характерные случаи суффозионного разрушения грунта,мы получаем исключительную возможность определить не только критическиесостояния фильтрационного потока, но и изучить более общие закономерности вовзаимодействии грунта с фильтрационным потоком, что редко удается сделать припроведении экспериментов в натурных условиях.
Обращатьсяк экспериментальному определению характеристик фильтрационно-суффозионныхсвойств грунтов надо тогда, когда имеются сомнения, что эти характеристикиможно с надлежащей точностью получить расчетным путем, используясоответствующие зависимости, или же, - когда отсутствуют надежные исходныеданные о состоянии грунта (его геотехнические характеристики).
1.5. Предполагается,что пробы грунтов должны отбираться для последующего их испытания в лабораториипо методике, регламентируемой существующими руководствами по проведениюинженерно-изыскательских работ.
Водопроницаемостьгрунта - свойство грунта, заключающееся в способности пропускать черезсебя воду. Количественно водопроницаемость характеризуется коэффициентомфильтрации.
Фильтрация-движение жидкости в пористой среде (грунте).
Фильтрационныйпоток - поток фильтрующейся в грунте жидкости.
Скоростьфильтрации - воображаемая (условная) скорость движения фильтрующейся в грунтежидкости, равная отношению ее расхода в данном живом сечении к полной площадиэтого сечения.
Действительнаяскорость фильтрационного потока - средняя скорость движения жидкости всамих пустотах (порах) грунта, вмещающего фильтрационный поток.
Ламинарнаяфильтрация - движение фильтрующейся жидкости со скоростью, линейно зависящейот градиента напора.
Турбулентнаяфильтрация - движение фильтрующейся жидкости со скоростью, пропорциональнойградиенту напора в степени меньше единицы.
Коэффициентфильтрации - коэффициент пропорциональности в формуле Дарси, характеризующийстепень водопроницаемости данного пористого тела (грунта).
Свободнаяповерхность фильтрационного потока - поверхность, разделяющая две частипористого тела (грунта), одна из которых заполнена фильтрующейся жидкостью.
Напорнаяфильтрация - фильтрация жидкости в условиях, когда поверхности, выделяющиеобласть фильтрации вдоль потока жидкости, непроницаемы.
Безнапорнаяфильтрация - случай фильтрации жидкости, когда фильтрационный поток имеетсвободную поверхность, на которой сохраняется постоянство функции тока.
Скелетгрунта - совокупность частиц грунта (преимущественно крупнозернистыхфракций), образующих пространственную систему (структуру), на которуюпередается действующее на грунт внешнее давление.
Заполнительгрунта - совокупность частиц, находящихся в поровом пространстве скелетагрунта, на которые не передается действующее на грунт внешнее давление.
Гидравлическиэквивалентный диаметр пор - вычисленный по расходу фильтрации диаметр поровых каналовв грунте, приблизительно равный поперечникам каналов в местах их сужений(перехватов).
Фильтрационнаяпрочность грунта - способность грунта сопротивляться разрушающемувоздействию фильтрационного потока, которое может иметь вид внутреннего размыва(внутренней суффозии), поверхностного размыва (эрозии), отрыва и выпора целыхмасс грунта, а также вымывания из грунта содержащихся в нем растворимыхминералов (химическая суффозия); фильтрационную прочность грунта обычнохарактеризуют наибольшей допустимой в данных условиях величиной градиентанапора или скорости фильтрующейся через грунт воды, при которой не возникаетопасных деформаций грунта, а также резкого изменения его проницаемости.
Суффозионнаяустойчивость - сохранение частицами грунта своего первоначального положения привоздействии на них фильтрационного потока.
Механическаясуффозия - размыв грунта фильтрационным потоком, проявляющийся в видеотрыва и перемещения отдельных его частиц и целых агрегатов внутри пор илитрещин.
Контактныйразмыв - разновидность механической суффозии мелкозернистого, чаще всегоглинистого грунта, характеризующаяся разрушением (эрозией) поверхности грунтафильтрационным потоком, который протекает вдоль этой поверхности в смежном,более проницаемом грунте (коллекторе).
Контактныйвыпор - разновидность механической суффозии водонасыщенного глинистогогрунта, т.е. грунта, частицы которого подвержены слипанию (сцеплению);характерным признаком выпора является выдавливание грунта под действиемфильтрационных сил в пустоты другого грунта, например, в поровое пространствокрупнозернистого материала обратного фильтра.
Деструкцияпри замачивании (размокание) - нарушение структуры грунта (в том численесвязного), характеризуемое его разрыхлением и полной потерей связностивследствие внутрипорового давления, возникающего при интенсивном капиллярномвпитывании грунтом воды во время его замачивания, и прекращения действиякапиллярных (менисковых) сил.
Сегрегациягрунта - распределение частиц разнозернистого грунта по крупности(фракционирование), происходящее главным образом во время отсыпки и планировкигрунта.
Глинистыйгрунт - грунт, содержащий некоторое количество (обычно не менее 5 % помассе) очень мелких частиц какого-либо глинистого минерала, вследствие чегоэтот грунт приобретает свойство, характеризуемое связностью структуры(сцеплением, прочностью на разрыв). Глинистый грунт должен иметь индекспластичности более 0,03. В зависимости от величины индекса пластичностиразличают три разновидности глинистых грунтов: супеси, суглинки и глины.
Мелкозем-совокупность содержащихся в грунте мелкозернистых фракций с размерами частицменьше одного миллиметра.
Водоупорныйэлемент - являющееся частью сооружения устройство, выполненное изслабопроницаемого материала (например, глинистого грунта), обеспечивающееводоудерживающую способность данного сооружения. Водоупорными элементамиплотины могут быть ядро, экран, понур.
Обозначениявыбраны с учетом рекомендаций стандарта СЭВ в строительстве и Международнойассоциации по механике грунтов и фундаментостроению:
gw - удельный вес воды;
gs -удельный вес твердых частиц грунта;
gd -удельный вес сухого грунта;
е - коэффициентпористости;
п - пористость;
w - влажность;
wL - предел текучести;
wp - предел пластичности;
Ip - число (индекс) пластичности;
- показательтекучести;
g - ускорение свободного падения;
v -кинематический коэффициент вязкости воды;
D0, d0 - гидравлический эквивалентный диаметрпор грунта или зернистого материала;
H, h - гидравлическийнапор;
Q, g - расход воды;
u - скоростьфильтрации;
I - градиент напора;
k - коэффициент фильтрации;
- коэффициентнеоднородности грунта (по Хазену);
j - коэффициент формы сечения порового канала.
2.1. Поровоепространство зернистых грунтов может быть представлено в виде достаточносложной системы пересекающихся в пространстве искривленных трубок (поровыхканалов), каждая из которых имеет сужения и расширения. Известно, чтоламинарное движение в капилляре любой ньютоновской жидкости, в том числе воды,подчиняется закону Хагена-Пуазейля, в соответствии с которым расход протекающейчерез капилляр жидкости пропорционален четвертой степени его диаметра (в данномслучае - поперечника порового канала в грунте) и прямо пропорционален градиентунапора жидкости. Рассматривая грунт в целом как недеформируемую пористую среду,последнее условие можно выразить в виде закона Дарси:
u = kлi. (2.1)
2.2. Таким образом,одним из главных моментов в оценке расчетными способами водопроницаемостигрунта (как, впрочем, и его устойчивости к внутренней суффозии) являетсяопределение гидравлически эквивалентного поперечника d0 поровых каналов,приблизительно равного просвету в местах их сужений.
Имеетсянесколько наиболее употребительных выражений этого важного параметра зернистогогрунта, основанных главным образом на схематизированных представлениях оструктуре.
Величинуd0 рекомендуетсяопределять по следующим формулам:
d0 = 0,22hкd50, (2.2)
где hк = dn/d100-n параметрнеоднородности грунта (по В.И. Кондратьеву), определяемый по интегральнойкривой распределения его частиц по крупности так, как это показано на рис. 1; d50 - средний по обеспеченности размер частиц грунта.
Длямонозернистых грунтов (с одинаковыми по крупности частицами) при наиболее вероятнойих пористости, близкой к 0,4, величина поперечника d0 » 0,2d50.
Крометого, если известны пористость п и коэффициент ламинарной фильтрациигрунта kл, расчетныйпоперечник его поровых каналов также можно вычислить по формуле:
2.3. Входящий ввыражение (2.4) коэффициентформы сечений поровых каналов в грунте j = 0,45(1 + 0,306Б), где Б - балл окатанности попятибалльной шкале А.В. Хабакова.
1 Мелентьев В.А. Песчаные игравелистые грунты намывных плотин, - Л.: Госэнергоиздат, 1960. - 163 с.
Согласноэтой шкале зерна с режущими краями (щебнистый грунт) имеют нулевой баллокатанности. Зерна, сохранившие первоначальную форму со слегка окатаннымиребрами и углами, имеют один балл, а со сглаженными рёбрами, в очертаниикоторых заметны прямолинейные отрезки, - два балла. Хорошо окатанные зерна,сохранившие лишь следы первоначальной огранки, - три балла. И лишь идеальноокатанные зерна, а также зерна с равномерно и хорошо окатанной поверхностью -четыре балла.
Дляопределения на глаз (визуально) средней окатанности зерен грунта оцениваютсогласно шкале окатанность 50 - 100 его зерен. Затем умножают количество зеренданной группы пi на их балл di и сумму произведений делят на общееколичество зерен N, т.е.
.
2.4. Имея в виду,что в большинстве случаев температура воды, фильтрующейся в толще грунта,примерно равна 5 - 7 °С (v = 0,016),формулу (2.4) можно упростить:
(см). (2.4¢)
Например,грунт с коэффициентом фильтрации kл = 0,05 см/с (43м/сут), пористостью п = 0,30 и j = 0,75 (частицы средней окатанности) имеет поровые каналы срасчетным диаметром, см:

Рис. 1. Вспомогательное графическое построение для определениярасчетного диаметра пор зернистого материала d0
Примечание.Следует иметь ввиду, что в очень разнозернистом (hx > 25) грунте мелкие фракциимогут распределяться неравномерно в порах крупных фракций (скелета), в связи счем грунт становится неоднородным по своей структуре и оценка поперечника егопоровых каналов по формулам (2.2)и (2.3) часто приводит к большимошибкам. В этом случае предпочтительнее воспользоваться формулой (2.4).
Знаяd0 зернистогонесвязного грунта, нетрудно вычислить его коэффициент ламинарной фильтрации:
и турбулентнойфильтрации:
где b =
(здесь d0* - безразмерная величина отношения диаметра поровых каналовк первоначально выбранной единице длины).
2.5. Критическая скорость,соответствующая началу отклонения от линейной фильтрации (закона Дарси):
Соответственнокритический градиент напора
. (2.8)
Принимаяg = 981 см/с2;v = 0,01 см2/с и вводяобозначение jd20 = S, получим более удобные для расчетов выражения:
, (2.9)
. (2.10)
Каквидно из (2.7), критическое число Рейнольдса зависитот диаметра d0 и не является постояннойвеличиной при фильтрации воды в зернистом грунте:
. (2.11)
Изформулы (2.7) также следует, чтопри увеличении d0, например от 0,1 до1,0 см, критическая скорость изменяется очень незначительно: в пределах от 3 до2 см/с, в то время как критический градиент напора соответственно уменьшаетсяпочти в сто раз.
Используяданные выражения, можно заранее выяснить, до каких пределов допустимоувеличивать градиент напора или расход, сохраняя при этом ламинарный режимфильтрации воды в испытываемом грунте. И здесь же следует иметь в виду, чтоквадратичное сопротивление движению воды в грунте достигается при более чемдесятикратном возрастании скорости фильтрации по отношению к критическому еезначению. В промежуточном диапазоне изменения скорости наблюдается переходныйрежим фильтрации.
Вместес тем в начале переходного режима часто возникает так называемая перемежающаясяфильтрация, при которой наблюдается резкое отклонение градиент-скоростнойхарактеристики в сторону увеличения потерь напора, аналогичное установленномуНикурадзе изменению гидравлического сопротивления движению воды в трубе впереходной области.
2.6. При испытаниина водопроницаемость зернистого грунта следует иметь в виду, что на величинугидравлического сопротивления образца грунта могут ощутимо влиять стенкикамеры, в которую помещен данный образец. Этот, так называемый «эффектпристенной фильтрации», обусловленный наличием вблизи стенок сравнительнокрупных пор, становится пренебрежимо малым при отношении диаметра камеры кдиаметру зерен монофракционного грунта Dк/d > 40 (см.посвященную этому вопросу работу Францини в Amer. Geophys. Union, 1956, № 37, № 6, p.735 - 737).
Дляразнозернистых грунтов это отношение лучше заменить на Dк/d0 > 200, которое должно удовлетворяться наряду с другимусловием Dк/dмакс > 4.
2.7. Определяя в лабораторныхусловиях водопроницаемость зернистых грунтов, не следует забывать о возможном,подчас весьма существенном, снижении проницаемости вследствие закупорки порвоздухом, выделившимся из протекавшей через грунт воды (рис. 2). Часто это называютпневмокольматажем.
Растворенныйвоздух выделяется из воды после резкого снижения давления при поступлении ее изгородского водопровода в систему водоснабжения лаборатории, а также при еенагревании. Выделение воздуха в обоих случаях происходит из-за уменьшения егорастворимости в воде и, как правило, в наибольшей мере это проявляется зимой ивесной. Поэтому для качественного проведения эксперимента необходимоосуществить мероприятия, частично или полностью предотвращающие пневмокольматажиспытываемого грунта.
Ктаким мероприятиям относятся:
предварительныйподогрев воды до температуры воздуха в помещении лаборатории (или на 2 - 3°выше), после чего подогретая вода должна в течение одних-двух суток отстоятьсяв водонапорном резервуаре (баке), из которого затем ее подают к установкам;
использованиекипяченой или дистиллированной воды (если потребление ее в экспериментесравнительно невелико);
предварительноевакуумирование используемой в эксперименте воды.
Этиспособы борьбы с пневмокольматажем относятся к активным способам, поскольку их общим признаком является деаэрация воды, используемой в качествефлюида, перетекающего через поровое пространство грунта.
Существуюттакже пассивные способы, к которым относятся:
испытаниегрунта в случае, когда с низовой стороны образца создают достаточно высокоепротиводавление, препятствующее выделению из воды растворенного в ней воздуха;
оченьбыстрое испытание грунта при малых градиентах напора и расходах фильтрации,вследствие чего пневмокольматаж за время опыта проявляется незначительно.
Внекоторых случаях (при испытании несуффозионных грунтов) выделившийся воздухможно удалять из грунта «продувкой», резко и на короткое время повышая напорводы и затем вновь возвращаясь к исходному его значению. Таким образом нетолько выясняют наличие пневмокольматажа, но и определяют, в какой мере онповлиял на водопроницаемость грунта в данный момент испытаний.
Иллюстрациейподобного случая является показанный на рис. 3 график изменения величины отношения скорости фильтрацииводы и градиента ее напора в процессе испытаний монозернистого гравиякрупностью 3 - 5 мм.
Внаибольшей мере влияние пневмокольматажа проявляется при испытаниях песчано-гравийныхгрунтов с коэффициентами фильтрации от 1 до 1000 м/сут. В пылеватых и тем болееглинистых грунтах с поперечником пор меньше 0,1 мм пневмокольматаж практическиотсутствует, поскольку выделившийся в столь тонких порах воздух оказываетсясжатым достаточно большим капиллярным давлением, превышающим 7 кПа, в связи счем не может долго находиться в свободном состоянии. Вычисленный по полученной(рис. 4) зависимости Нк= 0,66/d50 среднийпоперечник поровых каналов в монозернистом грунте d0 = 0,4 d50 (при косинусеугла смачивания cos q = 0,86 и поверхностном натяжении воды s = 7,5×10-4Н/см).
Рис. 2. Графики зависимостей относительной проницаемости krмелкозернистого несвязного грунта от еговодонасыщения
1 - по воде, 2 - по воздуху
Рис. 3. График зависимости v(i), иллюстрирующийвлияние пневмокольматажа на водопроницаемость зернистого материала (гравиякрупностью 3 - 5 мм)
I - зона ламинарного режима; II - зона переходного режима; III- зона турбулентного режима; 1- начальный участок графика при ламинарной фильтрации воды; 2 -изменение скорости фильтрации при переходном режиме и отсутствиипневмокольматажа; 3 - фактическое изменение скорости фильтрации; 4 - участокграфика при турбулентном (квадратичном) режиме; 5 - нисходящая ветвьграфика при постепенном снижении градиента напора; 6 - изменениекоэффициента фильтрации материала, вычисленного исходя из предположения олинейной зависимости скорости от градиента
Вкрупнопористом грунте (при d0 > 3 мм)пузырьки выделившегося воздуха всплывают вверх под действием Архимедовой силыили же легко продавливаются в направлении движения фильтрационного потока.
Рис. 4. График изменения пассивного капиллярного поднятия воды в монофракционныхпесчаных и гравийных грунтах. График получен по данным опытов Жиленкова (1) иГильгарда (2)
dc- средний для данной фракцииразмер частиц
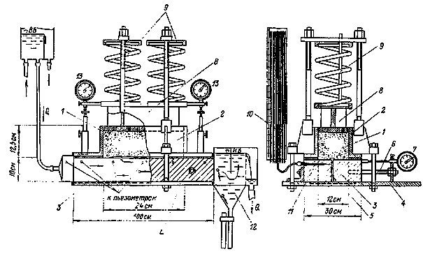
2.8. Для обеспеченияметодически приемлемых условий фильтрационно-суффозионных испытаний грунтов влаборатории необходимо располагать специальной аппаратурой и отлаженнойсистемой водоснабжения, позволяющей проводить эксперименты по заданнымпрограммам, поддерживая в течение всего опыта напор и расход воды в требуемыхпределах, а также подавать в прибор воду достаточно высокого качества (безмеханической взвеси и избытка растворенного воздуха). Поэтомуспециализированная лаборатория, в которой проводятся такие испытания, должнаиметь соответствующую технологическую оснастку, подобную, например, показанной насхеме рис. 5.
2.9.Водопроницаемость несвязного зернистого грунта следует определять, используяспециальные фильтрационно-суффозионные устройства: вертикальные приборы сцилиндрической рабочей камерой (пермеаметры) или горизонтальные грунтовыелотки. С помощью этих устройств можно испытывать грунты только с нарушеннойструктурой.
Рис. 5. Типовая схема технологической оснастки лабораторного помещения,в котором проводятся фильтрационно-суффозионные испытания грунтов
1 - водонапорный бак с запасомподогретой воды; 2 - ответвление городского водопровода; 3 -трубопровод для подачи воды от насосной установки; 4 - трубопровод дляподачи воды из бака; 5 - приборы для испытаний грунтов; 6 - воздушно-масляныеустановки, к которым подключены гидравлические домкраты приборов; 7 -электрический водоподогреватель; 8 - воздушный компрессор; 9 -аккумулятор сжатого воздуха; 10 - насосная установка; 11 - бакдля воды; 12 - канализационный коллектор
2.10.Дляиспытания грунта с ненарушенной структурой (образец которого отбирают,вдавливая в грунт пробоотборное кольцо) необходимо конструкцию вертикальногоприбора изменить так, чтобы в качестве рабочей камеры использовалось самокольцо. Аналогичным образом для этой цели приспособленфильтрационно-компрессионный прибор, описание которого дано в приложении 4.
Вприложении 1 даныпояснения методики испытаний на водопроницаемость несвязных грунтов с помощьювертикального прибора, а в приложении 2 - с помощью лотка.
2.11.Методикалабораторных испытаний на водопроницаемость связных грунтов имеет рядособенностей, обусловленных:
оченьнизкими коэффициентами фильтрации, значения которых обычно не превосходят 10-6см/с и быстро (экспоненциально) уменьшаются в процессе уплотнения грунта;
способностьюсвязных грунтов приобретать агрегатную (комковатую) структуру, существенновлияющую на величину водопроницаемости и характер ее изменения в процессеуплотнения грунта;
способностьюмногих глинистых грунтов набухать при замачивании или, наоборот, уплотняться(что характерно для так называемых просадочных лессовидных суглинков);
относительнобольшими потенциалами капиллярного впитывания воды;
зависимостьюуплотняемости грунта (при заданной энергии уплотнения) от его начальнойвлажности.
Здесьследует иметь в виду, что уплотнение связного грунта протекает в два этапа: напервом происходит разрушение отдельных комьев и исчезновение вследствие этогонаиболее крупных вторичных пор, а на втором - уменьшается объем первичнойпористости. В случае, если начальная влажность грунта меньше оптимальной,энергия уплотнения затрачивается главным образом на разрушение комьев.
Рис. 6. Графики осредненных зависимостей между коэффициентамифильтрации и пористости перемятых глинистых грунтов (при температуре воды 20°С)
2.12. Дляпредварительной оценки проницаемости грунта и контроля процесса его испытанияследует пользоваться установленной зависимостью между коэффициентами фильтрациии пористости грунта, которая может быть представлена в виде:
k = k0ехр bе, (2.12)
где k0 - коэффициент,имеющий размерность скорости, среднее значение которого при температуре 20 °Сравно 4×10-11см/с; b - показатель, характеризующийинтенсивность снижения проницаемости грунта при его уплотнении.
Этазависимость, графически показанная на рис. 6, справедлива в пределах изменения е примерно от0,1 до 0,8. Для большинства связных грунтов, не имеющих макроагрегатной(комковатой) структуры и не содержащих растворимые соли, показатель
КоэффициентeL, являющийсяважнейшим геомеханическим параметром грунта, рекомендуется определятьэкспериментально (по объему грунтового теста, имеющего влажность, равную wL) или вычислять по предлагаемой формуле:
. (2.14)
Извыражения (2.13) следует, что наибольшейинтенсивностью снижения проницаемости при уплотнении обладают низкопластичныесупесчаные грунты (eL < 0,7), анаименьшей - тяжелые глины и разложившийся торф (eL> 1,3).
2.13. Для определенияпо формуле (2.12) коэффициентафильтрации глинистого грунта, в составе которого имеются «плавающие» вмелкоземе крупные частицы (гравий, щебень), надо вначале выяснить плотностьмелкозема с частицами менее 0,1 см. Коэффициент пористости рекомендуетсявычислять по формуле:
, (2.15)
где pм и рк-относительные величины массосодержания мелких и крупных частиц в грунте (вдолях единицы); gdг - удельный вес сухого грунта; gsк и gsм - удельные веса твердых частиц крупно- и мелкозема.
Коэффициентфильтрации такого (разнозернистого) грунта
kг = kмpм. (2.16)
2.14. Уменьшениепроницаемости глинистого грунта в процессе его уплотнения нагрузкой также можнооценить расчетом по формуле:
, (2.17)
где k1 - коэффициент фильтрации грунтапри начальном уплотнении давлением р1; k2 - коэффициентфильтрации грунта, дополнительно уплотненного давлением р2;а - абсолютный коэффициент компрессии грунта, величину которого впредварительных расчетах можно принимать равной 0,1.
2.15. Оцениваяпроницаемость водоупорных элементов сооружений, выполненных из глинистыхгрунтов, следует иметь в виду, что фильтрация воды и водных растворов в этихгрунтах строго подчиняется закону Дарси при сколь угодно малых градиентахнапора. Вместе с тем, однако, в каждом конкретном случаенеобходимо учитывать влияние осмоса на перенос растворенного вещества.Интенсивность осмотического переноса обычно определяют экспериментальнымиисследованиями этого процесса.
2.16.Водопроницаемость глинистых грунтов следует определять с помощьюфильтрационно-компрессионных приборов, которые с достаточным приближениемпозволяют воспроизвести условия формирования структуры грунта в процессе егоуплотнения. Конструктивно такие приборы должны быть обязательно приспособленыдля испытаний образцов-монолитов грунта, отобранных непосредственно изсооружения или из опытных насыпей, поскольку только таким образом можно выявитьвлияние на проницаемость других технологических факторов, таких как начальнаявлажность, комковатость, замораживание или высыхание в процессе укладки и т.п.
2.17.Образцы-монолиты рекомендуется отбирать с помощью режущих колец, которые легкотранспортировать и хранить в специальном контейнере, описание которого дано вприложении 3. Самииспытания грунта следует проводить по методике, изложенной в приложении 4.
2.18. Рабочую камеру прибора,предназначенного для испытаний на водопроницаемость глинистых грунтов, следуетделать из материала, имеющего одинаковый с грунтом коэффициент температурныхдеформаций. Подходящими в этом отношении являются металлы (бронза, алюминий,сталь). Органическое стекло (плексиглас), обладающее слишком высокимтемпературным коэффициентом, использовать для этого нежелательно, поскольку приотсутствии термостатирования прибора всякое случайное повышение температурывоздуха в помещении может привести к отслаиванию стенки рабочей камеры отгрунта.
2.19. Одновременно сиспытаниями рекомендуется параллельно проводить контрольные анализы зерновогосостава грунта, а также дополнительно определять его начальную влажность,плотность и величину геомеханического параметра еi. По всем этим данным уточняетсязатем обобщенная характеристика проницаемости грунта, выражаемая зависимостью k(e).
3.1.Дляболее полного понимания сущности явления суффозии и правильного выборарасчетной схемы при оценке местной фильтрационной прочности нескальногооснования надо знать некоторые общие закономерности возникновения и протеканияпроцессов суффозии. Полезно в связи с этим классифицировать проявлениясуффозии, например, так, как это представлено на схемах рис. 7.
Рис. 7. Схемы проявления шести основных видов внешней суффозиинескальных грунтов (обозначения в тексте)
3.2.Преждевсего, суффозия нескального грунта, возникающая в теле или в основаниигидротехнического сооружения, может рассматриваться в зависимости от характераее проявления как внешняя или внутренняя.
Внешняясуффозия - это разрушение грунта фильтрационным потоком, проявляющееся ввиде:
поверхностногоразмыва (эрозии) грунта потоком, протекающим внутри обратного фильтра дренажа, пощелям (например, под подошвой сооружения) или внутри полых трещин в скальноммассиве, кровля которого сложена мелкозернистым грунтом (эти виды суффозиипоясняются схемами а, б и в на рис. 7);
отрываи выноса частиц грунта непосредственно с его поверхности и из приконтактнойзоны на участках разгрузки фильтрационного потока (нисходящего иливосходящего), например, при выходе в дренаж (схемы г и д на рис. 7);
выпорана отдельных участках основания целых объемов грунта, который при этом обычноразуплотняется под действием фильтрационных сил (схема е на рис. 7).
Внешнююсуффозию, проявляющуюся в том виде, как это показано на схемах а, в рис.7, называют также контактнымразмывом (соответственно случаи зернистого и трещинного коллекторов).
Надопомнить, что суффозионная устойчивость несвязного грунта в зоне его контакта сдругим более крупнопористым грунтом или материалом дренажа существенно зависитот направления фильтрационного потока по отношению к направлению силы тяжести.Так при нисходящем потоке (схема г на рис. 7) грунт оказывается более устойчивым вследствиеобразования в контактной зоне сводиков из отдельных сравнительно крупныхчастиц, в то время как при восходящем потоке (схема д рис. 7) такие сводики не образуются.
3.3.Внутренняя суффозия нескальных грунтов может проявиться вследующих видах.
1. Объемная суффозия (рис. 8, а), возникающая сразу во всем объемеоднородного грунта, где градиенты напора фильтрационного потока достигают«критических» значений, при которых начинается перемещение мелких незащемленных частиц заполнителя в порах скелета грунта. Интенсивность объемнойсуффозии, т.е. массовый расход транспортируемых потоком частиц заполнителявозрастает по мере увеличения градиента напора.
Вследствиетакой суффозии может резко измениться проницаемость грунта, а также егодеформативность, особенно в тех случаях, когда под действием фильтрационных силначинает разрушаться скелет грунта.
Разновидностьювнутренней суффозии также является выщелачивание содержащихся в грунтеводорастворимых минералов, например, гипса. Сам процесс выщелачивания обычноназывают химической суффозией.
2. Фронтальная суффозия (рис. 8, б).
Отрыви перемещение мелких частиц грунта, заполняющих в определенной зоне поры егоскелета, когда процесс суффозии развивается сразу на достаточно большихучастках поверхности, ограничивающей внутри грунта эту зону.
Рис. 8. Схемы четырех разновидностей внутренней суффозиинескальных грунтов
а - объемная; б -фронтальная; в - контактный размыв мелкозернистого пропластка; г- канальная
Врезультате фронтальной суффозии также может произойти резкое изменениепроницаемости грунтовой толщи и ее деформативных свойств:
контактныйразмыв мелкозернистого пропластка в слоисто-неоднородной толще грунта (рис. 8, в), в результате которогомогут произойти значительные деформации основания;
канальнаясуффозия, возникающая в виде так называемых грифонов, когда наиболее мелкиечастицы грунта во взвешенном состоянии перемещаются по каналам сосредоточенныхвыходов фильтрационного потока из толщи основания (рис. 8, г).
3.4. Для правильнойоценки суффозионной устойчивости грунтов необходимо совершенно отчетливопредставлять, в силу каких причин и при каких обстоятельствах возникают иразвиваются суффозионные процессы во всех их разнообразных формах; нижеприведены некоторые наиболее общие критерии суффозионной устойчивостинескальных грунтов.
3.5. Проявлениелюбого из первых пяти видов внешней суффозии (рис. 7, а - д) обусловлено возможностьюсвободного перемещения в порах обратного фильтра или в неплотностях (щелях) подподошвой сооружения отдельных частиц грунта, либо их агрегатов, которые поддействием фильтрационных сил оказались оторванными от контактнойповерхности. Таким образом, для предотвращения этих видов внешней суффозиидостаточно правильно подобрать обратный фильтр по крупности зерен его материалаисходя из условия «непросыпаемости» частиц защищаемого грунта и сохранения ихустойчивости в зоне контакта с обратным фильтром.
Этоусловие, как правило, выполняется, если гидравлически эквивалентный диаметр поробратного фильтра D0 (см. 3.11) не превосходит размера тех частицзащищаемого грунта, которые имеют обеспеченность не более 70 % (по интегральнойкривой зернового состава).
Примечание. В тех случаях, когда проектнаятолщина слоев обратного фильтра не превышает 30 см, надо при оценке диаметрапор D0 учитывать возможность сегрегации разнозернистого материала фильтрапо времени его отсыпки и для полной уверенности вводить в расчетные зависимостимаксимальный размер частиц этого материала.
3.6. Условия суффозионногоразрушения грунтов, обладающих структурной связностью, характеризуемой индексомпластичности Ip ³ 0,03, будутсущественно отличаться от условий, при которых возникает суффозия грунтовнесвязных.
3.7.Характернойособенностью поверхностного размыва (эрозии) связного грунта, поясняемогосхемами а, б и в на рис. 7, является то, что этот размыв возможен лишь притурбулентном режиме фильтрационного потока. В таком случае в качестве критерия суффозионнойустойчивости грунта удобно принимать критические значения скорости и градиентанапора потока воды в порах обратного фильтра дренажа (схема рис. 7, а), в щели под подошвойсооружения (схема 7, б) или втрещине (схема 7, в), прикоторых ламинарный режим потока переходит в турбулентный.
Дляпервой схемы критическая скорость движения воды в порах обратного фильтра
Изформулы (3.1) следует, что приувеличении гидравлически эквивалентного диаметра пор зернистого материалаобратного фильтра от 0,1 до 1,0 см критическая скорость изменяется оченьнезначительно: в пределах от 3 до 2 см/с, в то время как критический градиентнапора соответственно уменьшается почти в сто раз.
Такжепри турбулентном режиме будет происходить размыв грунта в щели, образовавшейсяпод подошвой сооружения или в полой трещине (схемы 7, б, в). Если известен градиент напора на данномучастке щели (трещины), наибольшее допустимое ее раскрытие (при которомсохранится суффозионная устойчивость грунта) можно оценить по формуле:
(см). (3.2)
Следуетиметь в виду, что при параметрах фильтрационного потока в крупнозернистомпропластке (коллекторе), близких к критическим, могут размываться лишьслабосвязные глинистые грунты, обладающие сцеплением менее 1 кПа.
3.8.Сопротивляемость размыву конкретного глинистого грунта можно оценить с большейточностью, используя для этого индекс размываемости c
, равный отношению величин скоростей: критической vк в данном коллекторе кразмывающей скорости vр, которуюследует определять на основании результатов испытаний грунта в лабораторныхусловиях.
Дляпредварительных расчетов можно воспользоваться зависимостью:
, (3.3)
где е, eL- коэффициенты пористости размываемогоглинистого грунта.
3.9. Суффозионнуюустойчивость слаборазнозернистых (hx < 10)несвязных грунтов по отношению к контактному размыву можно оценивать поэмпирической формуле:
. (3.4)
Посколькулюбое установленное расчетным или экспериментальным путем значение размывающейскорости находится за пределами области линейной фильтрации, подчиняющейсязакону Дарси, соответствующую величину размывающего градиента напора следуетопределять либо по заранее известной градиентскоростной характеристикеколлектора, вмещающего фильтрационный поток, либо расчетом, используяподходящее выражение градиента, например, двучленную зависимость Форхеймера:
, (3.5)
где kл и kт - коэффициентыламинарной и турбулентной фильтрации, которые для зернистого коллекторарекомендуется определять по формулам (2.5)и (2.6).
3.10. Контактную устойчивостьчастиц монофракционного несвязного грунта в зоне разгрузки в дренаж восходящегофильтрационного потока (схема д рис. 7) можно характеризовать соответствующей величиной iв выходного градиента напора, зависящейот отношения диаметра D0 пор дренажа кдиаметру d частиц иопределяемой по графикам на рис. 9.
Устойчивостьразнозернистого грунта в данном случае надлежит оценивать по результатам его экспериментальныхиспытаний.
3.11. Суффозионнуюустойчивость грунта по отношению к выпору (схема е рис. 7) рекомендуетсяопределять по предварительнопрогнозируемой тем или иным способом эпюре градиентов напора на участках выхода(разгрузки) фильтрационного потока в нижний бьеф или дренаж.
Рис. 9. Изменение градиентов напора фильтрационного поперечногопотока, вызывающего контактную суффозию монофракционного грунта, в зависимостиот отношения диаметра D0 пор дренажа кдиаметру d частиц грунта:
1 - при затухающей по временисуффозии
; 2 - при незатухающей суффозии
.
Дляэтого следует вначале выяснить (например, по методу ЭГДА) характерраспределения напора вдоль подземного контура сооружения и в зонах разгрузкифильтрационного потока, а затем, вычисляя по формуле осредненные градиентынапора
, (3.6)
вычертить эпюрыградиентов на участках разгрузки.
Еслиокажется, что при выходе фильтрационного потока непосредственно в нижний бьефградиенты напора не превышают значений 0,3, а при выходе в закрытый дренаж 0,6,то внутренне несуффозионный грунт основания сооружения можно считать устойчивымздесь к выпору.
3.12. Необходимымусловием возникновения первых трех разновидностей внутренней суффозии внескальных основаниях (исключая суффозию при возникновении грифонов),поясняемых схемами на рис. 8, а,б и в, является возможность перемещения мелких «незащемленных»частиц в поровых каналах грунта.
Данноеусловие с некоторым запасом может быть выражено неравенством:
dм > d0, (3.7)
где dм - размер мелкихчастиц (заполнителя грунта); d0 - расчетныйпоперечник поровых каналов в грунте.
Другое- гидромеханическое условие возникновения внутренней суффозии заключается вспособности фильтрационного потока перемещать в порах грунта мелкие егочастицы. Это условие может быть записано в виде неравенства:
i > iсф, (3.8)
где i - градиент напора фильтрационного потока в грунте; iсф - градиент напора, при которомвозникает внутренняя суффозия.
3.13. Таким образом,одним из самых главных моментов в оценке устойчивости грунта к внутреннейсуффозии является определение расчетного поперечника d0 поровых каналовв грунте, который примерно равен просвету в местах их сужений и может бытьпринят в качестве гидравлически эквивалентного диаметра поровых каналов.Величину d0 надо определять,основываясь на геоструктурных и фильтрационных характеристиках грунта и используяформулы (2.2) или (2.4).
3.14. После того какустановлен поперечный размер поровых каналов в грунте, выясняют возможностьвнутренней его суффозии путем определения суммарного количества (по весу)мелких частиц, которые могут быть вымыты из грунта фильтрационным потоком(считая, что вымываются из грунта лишь те частицы, размер которых меньше d0).
3.15. Величинукритического градиента напора, при котором произойдет вымыв этих частиц,следует определять экспериментальным путем, для чего надо испытывать грунт,воспроизводя в опытах те условия фильтрации, какие по всем предположениямдолжны быть во время эксплуатации сооружения.
3.16. Исходя изусловия сохранения первоначальной водопроницаемости грунта считают допустимымвымыв в результате внутренней объемной суффозии (схема на рис. 8, а) 2 - 5 % самых мелких егочастиц, а по условию сохранения несущей способности в отдельных случаяхдопускается вымывание до 15 % общей массы частиц грунта, в связи с чем оценкафильтрационной прочности грунта дается в зависимости от выполнения в данномконкретном случае основного из этих двух условий.
3.17. Внутренняяфронтальная суффозия в нескальном грунте (схема на рис. 8, б) сопровождается вследствие вымыва большогоколичества мелких частиц весьма существенным увеличением поперечников поровыхканалов.
Возникающеепри этом суффозионное разуплотнение грунта может распространяться назначительную глубину и вызвать его деформацию.
Этотвид суффозии характерен для грунта, состоящего из заполнителя и скелета, междукоторыми нет промежуточных фракций, что выражается относительно большим участкомразрыва дифференциальной кривой распределения частиц грунта по крупности (рис. 10, а).
3.18. Вопрос осуффозионной устойчивости такого грунта (у которого пористость скелета пс> 0,5) решается в следующем порядке.
Дляобеих составляющих (заполнитель и скелет), на которые может быть разделенгрунт, строят суммарные кривые распределения частиц, принимая каждуюсоставляющую за целое, а затем по суммарной кривой скелета определяют dc50 и коэффициент разнозернистости hс. Дляопределения диаметра поровых каналов скелета следует вычислить его пористость:
, (3.9)
где pc - относительное (вдолях единицы) содержание частиц скелета в общей массе грунта; gd - удельный вес сухого грунта;
- удельный весвещества частиц скелета.
Сравниваявеличину пссо значением пористости скелета, находящегосяотдельно от заполнителя, можно судить о том, каким деформациям подвергнется грунт,если произойдет вымыв всех мелких его частиц. Для выполнения таких расчетов нарис. 10, б приведены графикиизменения пористости сыпучих (несвязных) грунтов в зависимости от коэффициентаих разнозернистости. Пористость нормально уплотненного материала скелета такжеможно определить по формуле:
пс = 0,43hс-0,135. (3.10)
Рис. 10. Пример графоаналитического построения дляпоследующей оценки суффозионных свойств разнозернистого грунта
а - исходные характеристикизернового состава грунта: 1, 2 - соответственно интегральная идифференциальная кривые; 3 - интегральная кривая мелкозернистойсоставляющей; 4 - то же скелета; б - зависимость пористости откоэффициента разнозернистости сыпучих (несвязных грунтов): 5 - присредней по плотности укладке грунта; 6, 7 - соответственно при рыхлой иочень плотной укладке
Такимобразом, зная зерновой состав скелета грунта, легко тем или иным путемопределить среднюю величину его пористости и диаметр поровых каналов
.
Еслиокажется, что
<
, то вымыв мелких частиц произойдет только споверхности грунта и распространение суффозии вглубь быстро прекратитсявследствие образования в порах скелета сводиков из относительно крупных частиц,содержащихся в заполнителе (мелкозернистой составляющей) грунта. Фронтальнаясуффозия в этом случае не представит никакой опасности. И, наоборот, если d0 >
, то она может распространиться во всей толще грунта.
3.19. Контактныйразмыв мелкозернистого пропластка в слоисто-неоднородной толще грунта имеетхарактер эрозии и проявляется лишь при турбулизации фильтрационного потока вкрупнозернистом пропластке, в связи с чем контактный размыв будет отсутствовать,если скорость фильтрации в пропластке не превысит критического ее значения.Если в мелкозернистом пропластке содержится определенное количестводресвяно-щебнистых частиц, не способных пройти через поры крупнозернистогопропластка, то суффозионная устойчивость размываемого мелкозернистогопропластка резко повышается.
Этосвязано с тем, что в процессе размыва формируется «естественный» обратныйфильтр из крупных частиц, вследствие чего начавшийся размыв быстро затухает ичерез некоторое время полностью прекращается.
3.20. Максимальнуюглубину размыва fр, равнуювеличине возможной деформации толщи грунта, рекомендуется вычислять по формуле:
, (3.11)
где dp - расчетный размерчастиц мелкозернистого пропластка, проходящих при размыве через порыкрупнозернистого пропластка; рр - относительная величина (вдолях единицы) суммарной массы в мелкозернистом пропластке частиц с размерами< dp; gsп - удельный вес вещества частиц мелкозернистогопропластка; gdп - удельный вес сухого грунтаэтого пропластка.
3.21. При оценкефильтрационной прочности основания следует учитывать, что механическая суффозияможет представлять опасность лишь в случаях, когда имеются условия для транспортировки(удаления) фильтрационным потоком продуктов суффозии за пределы той зоны, гдеразвивается суффозия. Если же зона оказывается замкнутой, то, как правило,суффозионные процессы в ней быстро затухают после незначительного переотложениямелких частиц и закупорки ими участков выхода фильтрационного потока из этойзоны.
3.22. Средниестатистические величины коэффициентов фильтрации или разрушающих (критических)скоростей и градиентов напора фильтрационного потока, вычисленные на основаниирезультатов испытаний грунта, являются согласно СНиП проектирования основанийгидротехнических сооружений нормативными значениями его характеристик, каждаяиз которых должна в данном случае относиться к конкретному виду суффозионногоразрушения.
Расчетное значение характеристики надлежитсогласно тому же СНиП определять, понижая нормативное ее значение путем деленияна коэффициент безопасности, который при определении коэффициента фильтрациигрунта следует принимать равным единице, а при определении его суффозионнойустойчивости - двум.
3.23. Эксперименты,проводимые в лаборатории для определения суффозионной устойчивости грунтов,следует рассматривать, прежде всего, как имитационные, поскольку в этихэкспериментах фрагментарно воспроизводятся условия взаимодействияфильтрационного потока с грунтом конкретного сооружения или его основания.Только таким путем могут быть получены феноменологические зависимости,отражающие характерные закономерности суффозионного разрушения грунта.
3.24. Следует такжеиметь в виду, что возникшая при определенных условиях суффозия грунта необязательно приведет к нарушению его фильтрационной прочности, т.е. к потереспособности грунта сохранять при воздействии фильтрационного потока заданнуюмеханическую прочность и водопроницаемость. Соответственно в качестве мерыместной фильтрационной прочности принимают то предельное (критическое) значениеградиента напора потока (а иногда его скорости), при котором нарушения структурыили формы грунтового массива в рассматриваемой области становятся опасными длясооружения.
3.25. Эти предельнодопустимые значения градиента напора или скорости фильтрационного потокарекомендуется выяснять в эксперименте, методика проведения которогоразрабатывается применительно к одной или сразу нескольким конкретным схемамвоздействия фильтрационного потока на испытываемый грунт (см. классификациюсуффозионных явлений, приведенную выше).
Испытания грунтана устойчивость к объемной суффозии
3.26. Испытаниям наустойчивость к объемной суффозии подвергаются разнозернистые грунты, в томчисле с супесчаным и глинистым заполнителем (мелкоземом), для которыххарактерен структурный критерий, выражаемый неравенством (3.7). Следует в связи с этим испытывать грунт сполным набором входящих в него частиц, для чего надо иметь приборы с рабочимикамерами соответствующих размеров (поперечником и высотой), которые должны, какминимум, в четыре раза превосходить размер наиболее крупных частиц.
3.27. В зависимостиот воспроизводимого в опыте направления фильтрационного потока испытывать грунтможно в вертикальном фильтрационно-суффозионном приборе или в горизонтальномлотке.
Сособым вниманием в процессе испытаний надо следить за проявлениями характерныхпризнаков суффозии:
возникновениемместных размывов грунта (грифонов);
увеличениеминтенсивности выноса частиц за пределы испытываемого образца по мере увеличенияградиента напора;
изменениемрасхода фильтрации;
деформациямиобразца.
Желательнотакже контролировать изменение крупности выносимых из грунта частиц.
Общиеметодические приемы испытаний описаны в приложении 5.
3.28. Как правило,устойчивость грунта к внутренней объемной суффозии определяется степеньюзаполнения мелкоземом пор его скелета.
Втабл. 1 приведено минимальное (поданным ВНИИ ВОДГЕО) содержание мелкозернистой (d < 1 мм) компоненты грунта, прикоторых обеспечивается сплошность заполнения пор скелета, имеющего рыхлуюструктуру (пс= 0,45).
Таблица 1
| Индекс пластичности Iр | Расчетный удельный вес мелкозема gdм, г/см3 | Влажность мелкозема, wм | Минимальное содержание мелкозема | |
| Супесь | 0,04 | 1,60 | 0,15 | 0,32 |
| Суглинок | 0,09 | 1,59 | 0,165 | 0,30 |
| Глина | 0,25 | 1,26 | 0,31 | 0,24 |
Эти данные следует рассматривать как ориентировочные припредварительной оценке суффозионных свойств грунта.
Оптимальнаявлажность, при которой обеспечивается достаточно хорошая уплотняемость грунта,
w0 = wpмpм + wc, (3.12)
где wc = 0,02 - 0,03 - влажность,обеспечивающая смачивание частиц скелета.
Определениесуффозионной устойчивости грунта при воздействии на него потока воды в щели илив полой трещине (схемы 7 а, б, в)
3.29. Суффозия грунтав виде размыва его поверхности, являющейся стенкой трещины, может произойти присосредоточенной фильтрации воды по трещинам, образовавшимся в силу разныхпричин (например, землетрясения) в водоупорном элементе (ядре, экране)каменно-земляной плотины или в береговых массивах (трещины бортового отпора).Характеристики суффозионной устойчивости грунта (размывающую скорость, градиентнапора) рекомендуется в данном случае определять, испытывая грунт в щелевомсуффозионном лотке так, как это описано в приложении 6.
Дляопределения суффозионной устойчивости грунта при воздействии на него потокаводы со стороны устья «оперяющей» полой трещины (схема в на рис. 7) или, например, открытого шва междуплитами крепления откоса грунтовой плотины, проводить испытания надо используяустановки типа Бора по методике, которая описана в приложении 7.
Определениесопротивляемости грунтов контактному выпору
3.30. Контактныйвыпор как разновидность механической суффозии характерен лишь для грунтов,обладающих связностью (сцеплением частиц).
Вследствиеконтактного выпора может произойти местное нарушение фильтрационной прочностиводоупорного элемента (понура, ядра, экрана) каменно-земляной плотины илидругого сооружения, в связи с чем определение критериев сопротивляемостиглинистого грунта выпору надо рассматривать как составную часть общейхарактеристики его суффозионных свойств.
3.31. В данном случаефильтрационную прочность глинистого грунта водоупорного элемента следуетхарактеризовать критическим значением выходного градиента напора iвп, при котором начинаютсяпластические деформации глинистого грунта вследствие его выдавливания внаиболее крупные поры материала обратного фильтра дренажа или в трещиныоснования (рис. 11).
Еслиизвестен поперечник этих пор Dп, критическоезначение выходного градиента
где Rр = 0,1eхр
, МПа - долговременная прочность грунта на разрыв; x =
, D*п - безразмерноеотношение диаметра поры к первоначально выбранной единице длины, см.
3.32. Оцениваяфильтрационную прочность глинистого грунта на выпор, необходимо иметь, какминимум, двукратный запас в величине градиента напора по отношению ккритическому его значению, которое может быть определено по формуле (3.13).
Этуформулу можно использовать для расчетов при коэффициенте пористостигрунта
. (3.14)
Рис. 11. Графики изменения разрушающего градиента напора приконтактном выпоре глинистого грунта с показателем текучести IL = 1
Дляоблегчения расчетов на рис. 12приведены графики изменения долговременной прочности в зависимости от е иeLконкретногогрунта. Как видно, малопластичные супесчаные грунты с eL £ 0,75 более чувствительнык изменению плотности и значительно быстрее набирают прочность при уплотнении,чем суглинки и глины.
3.33. Выражение (3.13) критического градиентанапора можно использовать для расчетов суффозионной устойчивости глинистыхгрунтов, не содержащих крупнозернистых (дресвяно-щебнистых) включений. Еслитакие включения имеются, а также в тех случаях, когда надо более подробновыяснить характер поведения грунта при контактном его выпоре, особенно придействии внешнего давления, рекомендуется обращаться к эксперименту, методикакоторого описана в приложении 8.
3.34. Разновидностьюконтактной суффозии также является перемещение под действием поперечного фильтрационногопотока частиц несвязного грунта в поры более крупного зернистого материала(например, в поры обратного фильтра) или, что то же самое, перемещение частиц впоровом пространстве неоднородного по зерновому составу грунта (рис. 8, б).
Рис. 12. Изменение долговременной прочности глинистых грунтов наразрыв
Даннаяразновидность суффозии по своей физической сущности будет принципиально отличатьсяот контактного выпора связного грунта и поэтому разрушающие (критические)значения выходных градиентов напора будут иными. Они намного меньше разрушающихградиентов для связных грунтов.
Вместес тем различными оказываются разрушающие выходные градиенты при восходящем инисходящем фильтрационном потоке, что подтверждается приводимыми на рис. 9 графиками изменения этих градиентов взависимости от соотношения размеров частиц грунта и диаметра пор, в которыечастицы перемещаются под воздействием фильтрационного потока.
Определениесопротивляемости грунтов контактному размыву
3.35. В случаях,когда оценка суффозионной устойчивости грунта по существующим зависимостямоказывается недостаточной или когда условия воздействия фильтрационного потокана грунт не совсем обычны (например, наличие пульсаций давления в потоке иликолебаний всей системы), рекомендуется обращаться к экспериментальнымиспытаниям грунта, используя для этого специальные приборы типа фильтрационно-суффозионноголотка. Методика таких испытаний описана в приложении 9.
Впроцессе испытаний должны воспроизводиться (имитироваться) главныеобстоятельства суффозионного разрушения грунта, какие, по всем предположениям,будут иметь место в натуре:
положениеразмываемой поверхности грунта по отношению к коллектору, вмещающему продольныйфильтрационный поток;
наклонэтой поверхности к горизонту;
величинаконтактных напряжений в грунте;
гидродинамическийрежим фильтрационного потока в коллекторе (не стационарность, пульсации,величина пьезометрического напора и т.д.);
интенсивностьи направление фильтрационного потока в самом испытываемом грунте.
Приотсутствии в лаборатории суффозионного лотка испытания грунта на контактныйразмыв можно (с некоторыми ограничениями) проводить в вертикальныхприборах-пермеаметрах, используя приемы, описанные в приложении 10.
Рекомендуетсяпри испытаниях обращать внимание на качество подаваемой в коллектор воды: онадолжна быть обязательно деаэрированной, поскольку наличие в воде мелкихпузырьков воздуха приводит к резкому снижению гидродинамического воздействия наструктуру размываемого грунта и завышению получаемых в опыте размывающихскоростей и градиентов напора.
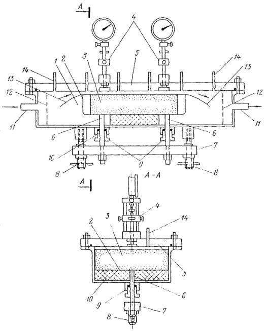
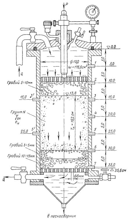
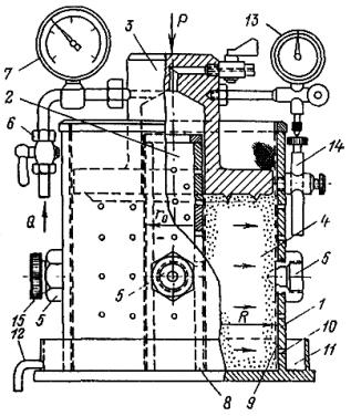
Наиболеераспространенным в настоящее время вертикальным фильтрационно-суффозионнымприбором, предназначенным для испытаний на водопроницаемость и фильтрационнуюпрочность зернистых грунтов с нарушенной структурой, является прибор (рис. 13), включающий следующие основныеэлементы: 1 - рабочую камеру цилиндрической формы, выполненную изпрозрачного материала, например, оргстекла; 2 - неподвижную опорнуюрешетку, расположенную в нижней части рабочей камеры; 3 - коническийотстойник; 4 - присоединенный к отстойнику пескосборник, в которомсобираются вымываемые из грунта частицы; 5 - патрубок для выпускапрофильтровавшейся через грунт воды (при нисходящей фильтрации) или для еевпуска (при восходящей фильтрации); 6 - приспособление для поддержанияна постоянной отметке уровня вытекающей из прибора воды; 7 - подвижнаярешетка, посредством которой равномерно распределяется по площади образцавнешняя нагрузка; 8 - шток, передающий нагрузку от силового домкрата; 9- устройство для измерения деформаций сжатия образца грунта; 10 -приспособление (вантуз) для выпуска воздуха из верхнего отсека рабочей камеры; 11- крышку рабочей камеры; 12 - приспособление для создания и измерениянапора воды, подаваемой в рабочую камеру; 13 - тройниковые краники длярегулирования поступления воды в пьезометры и выпуска из них воздуха; 14 -трубчатые пьезометры.
Подготавливаягрунт к испытаниям на водопроницаемость, необходимо сначала отобратьпредставительную его пробу (навеску), руководствуясь следующими правилами:
а)толщина образца грунта, уложенного в рабочую камеру прибора, не должна бытьменьше половины диаметра камеры;
б)по зерновому составу грунт в приборе (образец) практически не должен отличатьсяот исходной пробы или грунта с определенными расчетными характеристиками;
в)размер наиболее крупных частиц в грунте (образце) не должен превышать однойчетверти диаметра рабочей камеры прибора, в связи с чем надо заранее выбиратьдля испытаний прибор соответствующего калибра;
г)сильно разнозернистый грунт с hx > 15 передукладкой в прибор надо хорошо перемешать и увлажнить до wн = 2 - 3 %, чтобы уменьшить сегрегацию (фракционирование);
Рис. 13. Вертикальныйфильтрационно-суффозионный прибор
д) передсамой укладкой грунта в прибор надо взять контрольную пробу на влажность, аоставшуюся его часть взвесить.
Подготовленныйтаким образом грунт можно затем укладывать в прибор, но, чтобы при этом недопустить просыпания его частиц через крупные отверстия решетки, надо ееприкрыть либо мелкой сеткой, либо подстилающим слоем 15 из зернистогоматериала, подобранного по принципу обратного фильтра. Тут же следуетопределить по трем-четырем точкам отметку (заглубление) сетки или подстилающегослоя, принимая за ноль отсчета верхнюю торцевую плоскость камеры прибора.
Грунтнадо укладывать в прибор отдельными слоями, подвергая его легкому уплотнениютрамбованием, а около стенок камеры - штыкованием (чтобы здесь не осталоськрупных, так называемых пристенных пор).
Затемна поверхности уложенного грунта 16 делают пригрузочный слой (подсыпку) 17для более равномерного распределения расхода воды, втекающей в верхнийотсек рабочей камеры. При необходимости грунт до испытаний на водопроницаемостьподвергают уплотнению расчетным давлением, фиксируя при этом его деформацию(осадку верхней решетки).
Последнимэтапом подготовки к испытаниям является водонасыщение дистиллированной пликипяченой водой, которую для этого подают с капельным расходом в нижний отсекрабочей камеры через сливной бачок 6. Во время замачивания открываютвыпускные отверстия пьезометрических краников, облегчая тем самым выдавливаниевоздуха из грунта.
Послезамачивания грунта верхний отсек камеры заливают водой и присоединяютпьезометры. Затем приступают непосредственно к определению водопроницаемостигрунта, для чего измеряют тем или иным способом стабильный расход Q воды, профильтровавшейся при некотором ее напоре H через грунт. Деля этот расход на площадь сечения w камеры прибора,находят скорость фильтрации v = Q/w, и одновременно по показаниям пьезометров вычисляютградиенты напора in на каждом изконтролируемых участков испытываемого образца. И, наконец, по формуле Дарси(если фильтрация воды в образце происходит при ламинарном режиме) определяют коэффициентыфильтрации соответственно для любого из этих участков:
.
Водопроницаемостьнесвязного грунта также можно определить, испытывая его в горизонтальном лотке(рис. 14), с помощью которогосоздают условия напорной или безнапорной фильтрации воды в грунте. В первомслучае лоток должен иметь приспособление в виде поршня, установленного вверхней части рабочей камеры и обеспечивающего ее герметизацию. Это вызываетсущественное усложнение конструкции лотка. Но сама методика испытаний грунта внапорном лотке практически ничем не отличается от методики экспериментов по определениюпроницаемости грунтов с помощью вертикального фильтрационно-суффозионногоприбора.
Рис. 14. Испытания грунта на водопроницаемость в безнапорномфильтрационном лотке
1 - испытываемый грунт; 2 - депрессионнаяповерхность; 3 - капиллярная кайма
Нестоль существенны отличия испытаний грунта в безнапорном лотке.
Преждевсего, необходимо убедиться в том, что капиллярная кайма в грунте особенно неповлияет на величину площади живого сечения фильтрационного потока.
Вданном случае необходимо подбирать высоту засыпки грунта в зависимости от егокрупности (точнее, высоты капиллярного поднятия в нем воды). Такими грунтамимогут быть крупнозернистые пески или песчано-гравийные грунты.
Понижаяступенями в процессе испытаний грунта уровень нижнего бьефа в лотке и измеряяпри этом стабильные расходы воды и одновременно пьезометрические уровни награницах отдельных участков, определяют средние значения коэффициентафильтрации грунта в пределах каждого из этих участков:
,
где В -ширина рабочей камеры лотка; ln - средняя длинаучастка (отсека); Тп- средняя высота отсека, ограниченнаядепрессионной поверхностью потока; Dhn - изменениенапора по длине отсека.
Коэффициентфильтрации всей испытываемой засыпки (образца) грунта можно вычислить,используя формулу Дюпюи:
,
где L - общая длина засыпки грунта в лотке; h1 и h2 - уровни воды вверхнем и нижнем бьефах лотка.
Известно,что при невозможности испытаний образцов грунта на месте, их приходитсяпарафинировать для предохранения от высыхания и механических повреждений вовремя перевозки. Парафинирование отнимает много времени, в последующемусложняет процесс подготовки образцов к испытаниям.
Рис. 15. Контейнер для транспортировки и хранения образцов грунта,отобранных с помощью колец
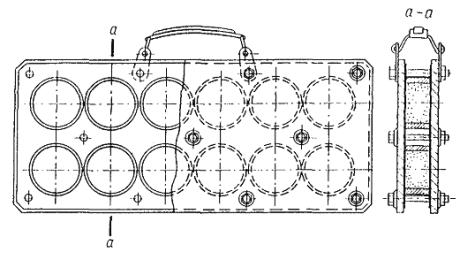
Всвязи с этим предлагается специальный контейнер для хранения и транспортировкиобразцов грунта, отобранных с помощью колец, без парафинирования. Контейнер,конструкция которого поясняется чертежом на рис. 15, представляет собой две пластины, изготовленные изтолстой фанеры или текстолита, соединенные болтами. Между этими пластинамипомещают кольца с грунтом. Для обеспечения полной герметизации колец навнутренней поверхности пластин укрепляется резиновая или полиэтиленоваяпрокладка. После того, как кольца с грунтом уложены в контейнер, гайки наболтах закручиваются и, таким образом, кольца оказываются плотно прижатыми кпрокладкам. Практически удобнее всего помещать в контейнер от 8 до 12 колец.Для переноски контейнера к нему прикрепляется ручка.
Испытания образцов с нарушенной структурой
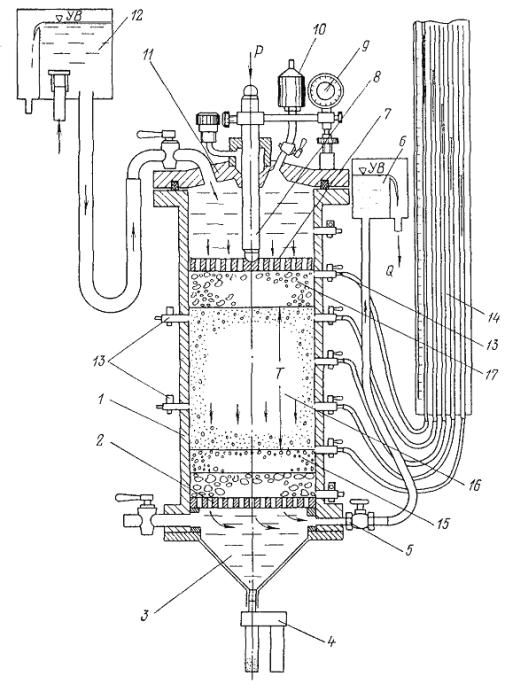
Водопроницаемостьглинистых грунтов с нарушенной структурой определяют обычно в лабораторныхусловиях с помощью фильтрационно-компрессионных приборов, один из которыхпоказан на рис. 16.
Вэтом приборе образец грунта, помещенный в цилиндрическую рабочую камеру,подвергается сжатию при действии усилия, передаваемого от гидравлического прессачерез шток на верхнюю подвижную решетку. Одновременно осуществляется фильтрацияводы, подаваемой из поплавкового бачка-дозатора, автоматически поддерживающегозаданную величину напора. Деформацию (сжатие) образца грунта в процессе егоиспытаний определяют по показаниям мессуры, закрепленной на штоке. Напор воды,действующий на весь образец, определяют по показаниям пьезометров, соединенныхс верхним и нижним бьефами. В тех случаях, когда необходимо выяснитьраспределение пьезометрического напора по толщине образца грунта, используютдля этого электрические преобразователи давления (датчики) индуктивного типа,присоединенные непосредственно к штуцерам пьезометров на стенке рабочей камерыприбора. С внутренней стороны стенки каждый из этих штуцеров должен бытьснабжен водоприемником из пористой керамики в виде диска диаметром около 1 см.
Следуетиметь в виду, что уплотнять грунт до заданной начальной плотности допустимолишь путем предварительного его сжатия, но не трамбованием, так как притрамбовании возникают отдельные сильно уплотненные слои, наличие которыхявляется причиной неравномерного распределения напора по толщине образца ивследствие этого возможна ошибка в определении проницаемости грунта.
Сразупосле начального уплотнения грунта его замачивают дистиллированной водой илихимически равновесным раствором содержащихся в нем солей в направлении снизувверх до тех пор, пока вода не проникнет через всю толщу образца, после чегокамеру прибора заполняют водой до уровня слива, расположенного на постояннойотметке. Поднимая бачок дозатора или расходомерную трубку, создают напор,достаточный для точного измерения объема фильтрата.
Вовремя испытаний грунтов в фильтрационно-компрессионных приборах особое вниманиенеобходимо уделять полному удалению воздуха из подстилающего слоя, на которыйукладывается образец, так как скопившийся под нижней поверхностью образцавоздух препятствует протеканию воды при малых ее напорах, что затем ошибочноинтерпретируется как отклонение от закона Дарси. Удаление воздуха обычноосуществляют через кран, расположенный чуть ниже образца, наклоняя при этомприбор, установленный в обойме, которую можно поворачивать в вертикальнойплоскости (рис. 17).
Рис. 16. Рабочаясхема испытаний грунта в вертикальном фильтрационно-суффозионномприборе
Рис. 17. Схема усовершенствованного фильтрационно-суффозионногоприбора с поворотным нагрузочным устройством
1 - цилиндрическая рабочая камера; 2- испытываемый грунт (заполнитель); 3 - отстойник; 4 -грунтосборник; 5 - сливной бачок; 6 - патрубок; 7 -обойма; 8 - червячный механизм; 9 - ось; 10 - вилка; 11- хвостовик; 12 - трубчатая стойка; 13 - опорная крестовина; 12- пьезометрический щит; 15 - гидравлический домкрат; 15 - чашка; 17- седиментометр
Всоответствии с основной целью исследований, которая обычно заключается ввыяснении характера изменения проницаемости грунта по мере его уплотнения, вкаждом опыте постепенно увеличивают (отдельными ступенями) сжимающее давление.Таким образом, весь опыт в данном случае подразделяется на ряд этапов(периодов), продолжительность которых зависит в основном от времени полногозатухания осадок и выравнивания расходов фильтрации.
Рис. 18. Пример графической интерпретациирезультатов испытаний грунта в фильтрационно-компрессионном приборе
Таблица 2
ОПЫТ № 301 Прибор № 1 Объект:Ирганайская ГЭС
Площадь сечения рабочей камеры Грунтиз месторождения 53, участок А, шурф 827, глубина 0,2 - 4,2 м.
w = 94,3 см2 Лаб. № 145(eL = 0,70; Iр = 0,14), мелкозем.
|
| Время измерения | Отметка верхнего бьефа | Отметка нижнего бьефа | Напор | Показания индикаторов | Величина суммарной осадки поршня | Высота образца | Объемный вес грунта | Пористость грунта | Коэффициент пористости грунта | Градиент напора | Объем профильтровавшейся воды | Продолжительность периода измерений | Расход фильтрации | Скорость фильтрации | Температура воды воздуха | Скорость фильтрации, приведенная к Т = 20 °C | Коэффициент фильтрации | |
|
| часы, дни | Ñ ВБ, см | Ñ НБ, см | Н, см | см | S, см | h, см | g, г/см3 | n, % | e, % | i | V, см3 | Т, с | Q, cм3/c | v, см3/с | t | v20°, см/с | k, см/с | |
| 1 | 2 | ||||||||||||||||||
|
| Начальные данные: |
| 0,0 | - |
| 7,02 | 1,483 | 0,453 | 0,828 |
|
|
|
|
|
|
|
| ||
|
| 17.10.80 | После уплотнения давлением s = 12 КПа и |
|
|
|
|
|
|
|
|
|
| |||||||
|
|
| замачивания образца: |
|
|
|
|
|
|
|
|
|
|
| ||||||
|
|
|
|
|
| 0,26 | - | 0,26 | 6,994 | 1,489 | 0,450 | 0,818 |
|
|
|
|
|
|
|
|
|
| 18.10.80 |
|
|
|
|
|
|
|
|
|
|
|
|
|
|
|
|
|
|
|
| 1300 - 1500 | 112,8 | 49,8 | 63,05 | 3,40 | - | 0,340 | 6,680 | 1,558 | 0,425 | 0,739 | 9,44 | 76 | 7200 | 0,0106 | 1,12×10-4 | 21,5 | 1,11×10-4 | 1,18×10-5 |
|
| 1535 - 1635 | 112,8 | 49,8 | 63,05 | 3,40 | - | 0,340 | 6,680 | 1,558 | 0,425 | 0,739 | 9,44 | 39 | 3600 | 0,0108 | 1,14×10-4 | 21,5 | 1,13×10-4 | 1,20×10-5 |
|
| 1710 | Сжимающая нагрузка увеличена до s = 18 КПа |
|
|
|
|
|
|
|
|
|
| |||||||
|
| 19.10.80 |
|
|
|
|
|
|
|
|
|
|
|
|
|
|
|
|
|
|
|
| 930 - 1030 | 112,8 | 50,1 | 62,7 | 5,73 | - | 0,73 | 6,447 | 1,615 | 0,404 | 0,678 | 9,73 | 11 | 3600 | 0,0031 | 3,24×10-5 | 20,0 | 3,24×10-5 | 3,3×10-6 |
|
| 1040° | Сжимающая нагрузка постепенно увеличена до s = 42 КПа |
|
|
|
|
|
|
|
|
| ||||||||
|
| 2010 | Расход фильтрации определялся по понижению уровня воды в пьезометре ВБ |
|
|
|
|
|
|
| ||||||||||
|
| 1030 - 1130 | 204,2 | 50,4 | 154,6 | 10,6 | - | 1,058 | 5,962 | 1,745 | 0,356 | 0,553 | 25,9 | 0,96 | 3600 | 2,65×10-4 | 2,81×10-6 | 20,0 | 2,81×10-6 | 1,08×10-7 |
|
| 1330 - 1630 | 197,1 | 50,4 | 148,9 | 10,6 | - | 1,058 | 5,962 | 1,745 | 0,356 | 0,553 | 24,9 | 2,57 | 10800 | 2,38×10-4 | 2,52×10-6 | 21,0 | 2,49×10-6 | 9,98×10-8 |
|
|
|
|
|
|
|
|
|
|
|
|
|
|
|
|
|
|
|
|
|
Используя полученные в опыте данные,вычисляют затем значения коэффициентов фильтрации и пористости грунта,изменение которых во времени (вместе с другими характерными параметрами) можнонаглядно представить в виде графиков, как это показано на рис. 18.
Неследует при этом забывать, что вычисленный по расходу и градиенту напоракоэффициент фильтрации грунта надо привести для последующих сравнений копределенной температуре (лучше - к 20 °С). Все экспериментальные и полученныерасчетом данные рекомендуем во время испытаний записывать в таблицу, наиболееудобная форма которой показана (табл. 2).
Рис. 19. Фильтрационно-компрессионный прибор (обозначения втексте)
Привесьма малых расходах фильтрации (Q < 10-5см3/с) определять их удобно по понижению уровня в пьезометрической трубке,одновременно используемой в этом случае для создания напора воды. Так, еслиизвестен начальный напор воды в трубке H0 и напор Ht, через интервалвремени t, коэффициентфильтрации грунта
,
где dт -диаметр пьезометрическойтрубки; Dк - диаметрпоперечного сечения рабочей камеры прибора; Т - толщина образца грунта.
Каквидно, при понижениях уровня воды ко времени отсчета, не превышающих 0,05Н0,коэффициент фильтрации можно вычислять, не считаясь с этим понижением, т.е.средний за данный интервал времени градиент напора, принимать iс = Н0/Т.
Испытаниеобразцов с ненарушенной структурой
Наиболеедостоверные данные о проницаемости грунта могут быть получены в результатеиспытаний образцов, отобранных с помощью режущих колец непосредственно изсамого сооружения или опытного его фрагмента.
Этиобразцы вместе с кольцами помещают в специально приспособленные для проведениятакого рода испытаний фильтрационно-компрессионные приборы. Конструкцияодного из них приведена на рис. 19,из которого видно, что пробоотборное кольцо 3 с находящимся в немгрунтом 4 расположено между верхней 6 и нижней 1 камерамиприбора. Эти камеры снабжены тремя откидными тягами 11, с помощьюкоторых осуществляется плотная стыковка обеих камер с кольцом, благодаря чемупоявляется возможность подавать через краны 10 и 12 под напоромводу в одну из камер, откуда она поступает в испытываемый грунт. С цельюравномерного распределения потока воды по площади образца, а также дляпредотвращения продавливания грунта в отверстия решеток 2 и 5снизу и сверху образца рекомендуется укладывать фильтровальную бумагу и тонкуюлатунную сетку с ячейками не более 0,05 см.
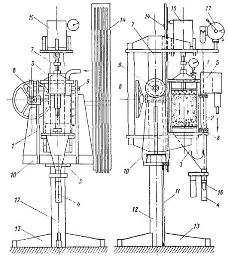
Рис. 20. Стенд фильтрационно-компрессионных приборов с поворотныминагрузочными устройствами
Доначала испытаний прибор помещают в нагрузочное устройство, позволяющеепереворачивать прибор перед водонасыщением грунта и создавать усилие,необходимое для его уплотнения. Стенд фильтрационно-компрессионных приборов,снабженных такими нагрузочными устройствами, показан на рис. 20.
Послеокончания испытаний образца грунта надо обязательно (и, по возможности, точнее)определить его конечную влажность wк, чтобы по нейвычислить коэффициент пористости
![]()
и таким образомдополнительно проконтролировать величину плотности грунта, вычисленную поосадке верхней решетки, передающей на грунт усилие от домкрата.
Методикаиспытаний грунта на устойчивость к объемной суффозии практически не отличаетсяот методики испытаний на водопроницаемость, которая достаточно подробно описанав приложении 1. В данном случаенеобходимо соблюдать те же правила водонасыщения грунта перед испытаниями иосуществлять меры по предотвращению выделения из воды воздуха в процессе самогоиспытания. Поэтому очень часто, проводя один эксперимент, стараютсяодновременно получить характеристики водопроницаемости и суффозионнойустойчивости грунта.
Отличительнойявляется операция по контролю интенсивности суффозии, которую надлежитвыполнять с помощью специальных приспособлений - грунтосборников (песколовок)или использовать более сложные электромеханические устройства - суффозиометры.
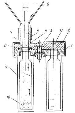
Рис. 21. Песколовка револьверного типа (обозначения в тексте)
Конструкцияодного из таких приспособлений - револьверной песколовки - поясняется чертежомна рис. 21, из которого видно, чтопесколовка состоит из двух дисков 1 и 2, находящихся на общей оси3. На верхнем диске 2 имеется отверстие 4, совмещенное спатрубком 5, с помощью которого песколовку присоединяют к отстойникуприбора 6.
Внижнем вращающемся диске 1 имеется несколько (два-три) отверстий 7с уплотнительными шайбами из фторопласта 8. Каждое из этих отверстийможет быть совмещено с отверстием 4 в верхнем диске. В отверстия ввернутытрубки-капсулы 9 из прозрачного материала, в которых улавливаютсявыпавшие из отстойника частицы грунта 10. Поворачивая по меренеобходимости нижний диск, разобщают с отверстием 4 одну из трубок снаходящимися в ней частицами грунта и совмещают с этим отверстием другуюпредварительно заполненную водой трубку (для чего в верхнем диске высверленонебольшое дополнительное отверстие 11).
Такимобразом, в течение одного опыта можно многократно отбирать порции частиц,вынесенных из испытываемого грунта. Однако здесь надо иметь в виду, чтоподстилающий образец грунта зернистый материал должен быть подобран так, чтобычерез него свободно проходили вымываемые из грунта частицы.
Болееоперативно можно получить информацию об интенсивности суффозии, если использоватьэлектромеханический суффозиометр (рис. 22),позволяющий непрерывно и с высокой точностью взвешивать осадок частиц, выпавшихиз отстойника прибора. Подключив к суффозиометру регистрирующий прибор, можнополучить запись изменения суффозии во времени, кроме того, обеспечитьсинхронизацию этой записи с другими получаемыми в опыте характеристиками(расходом фильтрации, напором).
Припроведении опыта надо учитывать, что по мере увеличения расхода фильтрации скоростьпротекания воды через отстойник прибора также возрастает, в связи с чемнаиболее мелкие частицы могут не успеть седиментировать и попасть всуффозиометр; они уйдут транзитом на слив. В этом случае рекомендуетсяосуществлять осаждение таких частиц в дополнительном отстойнике достаточнобольших размеров. Каждый отстойник должен иметь днище в виде перевернутойпирамиды или конуса с крутыми (более 50°) стенками, чтобы обеспечить сползаниевниз осевших частиц.
Испытаниягрунта начинают, как правило, при заведомо неопасных для него градиентахнапора, который постепенно увеличивают ступенями по 10 - 20 % до тех пор, покане обнаружатся признаки суффозии (появление очагов размыва, вынос частиц,деформация образца, изменение его проницаемости). При этом надо, не меняянапора, выяснить установившееся значение перечисленных показателейсостояния грунта, после чего можно еще повысить напор и вновь повторить те жеоперации.
Рис. 22. Схема электромеханического суффозиометра
1 - размываемый грунт; 2 -отстойник; 3 - соединительный патрубок; 4 - прозрачный сосуд; 5- чашка-пескосборник; 6 - капроновая нить; 7 - стеклянная трубка;8 - пластинчатая пружина; 9 - индуктивный датчик перемещения; 10- электронный блок
Такиеиспытания можно выполнить в лабораторных условиях с помощью суффозионногощелевого лотка. Лоток (рис. 23)состоит из рабочей камеры 1 с находящейся в ней подвижной кассетой 2,куда уложен образец грунта 3, приспособлений - щелемеров 4, расположенныхна прозрачной крышке 5 камеры лотка, и устройства для перемещениякассеты, состоящего из прикрепленных к ней тяг 6, соединенных также страверсой 7, на концевых участках которой имеются винты 8. Местапрохода тяг через дно камеры герметизированы сальниками 9, а дляуплотнения промежутка между кассетой и дном камеры здесь помещена легкосжимаемая и водонепроницаемая прокладка 10, например, из губчатойрезины.
Рис. 23. Суффозионный щелевой лоток с подвижной кассетой(обозначения в тексте)
Наторцевых стенках камеры имеются патрубки 11, через которые подается иотводится вода, а перед этими патрубками в камере установленыструераспределительные решетки 12. Для уменьшения сбойности теченияпотока на концевых участках щели кассета снабжена открылками 13. Накрышке камеры лотка размещены штуцеры 14, к которымприсоединяются пьезометры для измерения напора потока воды в щели.
Дляпроведения испытаний образец грунта 3 (в виде бруска с выровненнойверхней гранью) укладывают по возможности без нарушения его естественнойструктуры в кассету 2, которая находится в рабочей камере 1лотка, и фиксируют положение образца в кассете с помощью твердеющего раствора.
Закрываютлоток крышкой 5, присоединяют к штуцерам 14 пьезометры, а кпатрубкам 11 - приспособления для создания напора и слива воды, послечего замачивают образец, заполняя камеру водой.
Еслипри впитывании воды происходит деструкция поверхностного слоя образца, его плотноприжимают к крышке, что легко осуществить при наличии подвижной кассеты.
Затем,вращая винты 8, устанавливают и измеряют с помощью щелемеров 4 начальноераскрытие щели и, постепенно увеличивая напор воды, доводят скорость игидравлический уклон потока в щели до прогнозируемых значений этих параметров внатуре и одновременно наблюдают через прозрачную крышку лотка за состояниемповерхности образца, контролируя щелемерами раскрытие щели.
Вслучае размыва (эрозии) поверхности об интенсивности этого явления можно судитьне только по увеличению раскрытия щели, но также по изменению ее проницаемости,характеризуемой средней скоростью потока при данном градиенте напора, которыйопределяют по показаниям пьезометров.
Этачасто встречающаяся и весьма опасная разновидность механической суффозии посути является контактным размывом грунта фильтрационным потоком в трещинномколлекторе. Впервые для изучения данной разновидности суффозии (применительно коценке фильтрационной прочности сопряжения ядра каменно-земляной плотины соскальным основанием) во ВНИИГе им. Б.Е. Веденеева были созданы специальныеустановки, получившие название БОРА (что значит боковой размыв). Одна из такихустановок Бора-2 показана на фотографии рис. 24, а ее схема - на рис. 25.
Этаустановка позволяет воспроизвести условия размыва грунта потоком воды водиночной трещине с регулируемым раскрытием, которая образуется при расстыковкедвух частей бетонной призмы, предварительно расколотой в продольном направлениии являющейся своего рода трещинным коллектором. Для выявления особенностейпроцесса размыва как при потолочном, так и боковом его вариантах, установкаснабжена поворотной платформой, на которой размещается бетонная призма. Крометого, для стабилизации потока воды трещина имеет достаточно большой разгонныйучасток.1
1 Общая длина трещины в установкеБора-2 составляет 100 см, а разгонного участка - 50 см.
Рис. 24. Установка Бора для испытания грунта на суффозионную устойчивостьк контактному размыву фильтрационным потоком в трещинном коллекторе,(обозначения в тексте)
Методикаиспытаний грунта на установке Бора-2 заключается в следующем. Испытываемыйгрунт 1 помещают в рабочую камеру 2, расположеннуюнепосредственно на верхней грани бетонной призмы 3 над устьем продольнойтрещины 4, разделяющей эту призму на две части, одна из которыхнеподвижно закреплена на платформе 5, а другую можно с помощью тяг 6 перемещатьв поперечном направлении, устанавливая тем самым заданное раскрытие трещины.
Величинураскрытия при этом контролируют по показаниям мессур 7, укрепленных наплатформе.
Уложенныйгрунт затем уплотняют до расчетного объемного веса с помощью поршня 8, воспринимающегонеобходимое для уплотнения усилие от нагрузочного устройства 9 (гидравлическогодомкрата, пружин). После консолидации грунта через трещину пропускают потокводы, постепенно увеличивая его напор, пока не начнется размыв грунта.Градиенты напора определяют по пьезометрам 10, присоединенным к штуцерампьезометрических каналов (отверстий) 11, выходящих в трещину.
Рис. 25. Схема установки Бора (обозначения в тексте)
Интенсивностьразмыва грунта определяют по нарастанию массы его частиц, выносимых в отстойник12 и по осадке поршня, регистрируемой мессурами 13. По нарастаниюинтенсивности размыва и осадок поршня, по мере увеличения скорости течения водыв трещине можно определить ее размывающую величину, которая являетсяхарактеристикой суффозионной устойчивости грунта при данном воздействии на негофильтрационного потока и данном раскрытии трещины.
Приокончательной оценке суффозионной устойчивости грунта следует иметь в виду, чторазнозернистые грунты обладают несравненно более высокой устойчивостью крассматриваемому виду воздействия на грунт фильтрационного потока, поскольку впроцессе потолочного размыва устье трещины перекрывается крупными частицами,т.е. над трещиной самопроизвольно образуется своего рода обратный фильтр,предохраняющий грунт от дальнейшего размыва, в связи с чем местная деформация(осадка) грунта над устьем трещины с раскрытием d ограничится величиной
,
где D =
- параметр раскрытиятрещины; рd - относительноесодержание в грунте частиц (по массе) с размерами, не превышающими раскрытие трещины;yс = 45° + j/2 - угол наклона к горизонтуплоскости обрушения (сдвига) грунта над выработкой (в данном случае надразмываемым сводом).
Вотношении данного вида суффозии потенциально опасными трещинами в скальноммассиве основания грунтового сооружения (или в бетонной плите крепления откосаплотины) являются лишь сквозные трещины с раскрытиями свыше 0,5 мм, так как вболее тонких трещинах «размывающие» градиенты напора в десятки раз превосходятпрактически возможные их значения.
Наиболеепростым и доступным способом определения в лабораторных условияхсопротивляемости глинистого грунта контактному выпору является способ его испытанийв вертикальном фильтрационно-суффозионном приборе с цилиндрической рабочейкамерой, диаметр которой должен в четыре-пять раз превышать размер наиболеекрупных включений как в самом глинистом грунте, так и в грунте дренажа.
Испытаниясводятся к определению разрушающих градиентов напора фильтрующейся черезобразец глинистого грунта жидкости. Для этого образец помещают в рабочую камеруприбора, укладывая его непосредственно на подстилающий слой крупнозернистогогрунта дренажа, и после соответствующего уплотнения пропускают через него потокжидкости при постепенно возрастающем ее напоре до тех пор, пока не произойдетразрушение образца вследствие контактного выпора грунта.
Методическиболее совершенными являются испытания грунта с помощью специального прибора,конструкция которого поясняется чертежом на рис. 26.
Рис. 26. Прибор для определения фильтрационной прочности грунта вусловиях контактного выпора
1 - корпус; 2 - центральная перфорированнаятрубка; 3 - поршень; 4 - испытываемый грунт; 5 - штуцеры сотверстиями (фильеры); 6 - регулировочный кран; 7 -манометр; 8 - распределительная сетка; 9 - дренажная сетка; 10- дренажные отверстия; 11 - кювет для сбора воды; 12 - сливнаятрубка; 13 - индикатор осадки грунта; 14 - выдвижная подставкадля индикатора; 15 - пробка
Приборимеет цилиндрический корпус 1, по оси которого расположенаперфорированная трубка 2. Сверху в корпус вставлен массивный поршень 3,передающий внешнее давление на испытываемый грунт 4, который помещенв кольцевое пространство между корпусом и перфорированной трубкой. В корпусприбора ввинчены штуцеры (фильеры) 5 с отверстиями различного диаметра,моделирующими поры в грунте основания экрана или в обратном фильтре дренажа.
Вовремя проведения опыта вода (жидкость) через кран 6 поступает внутрьперфорированной трубки 2, откуда протекает в грунт и фильтрует кпериферии под действием напора, величину которого определяют по показаниямманометра 7.
Дляравномерного притока воды (жидкости) к грунту трубка 2 снаружи окруженаметаллической сеткой 8 галунного плетения. Дренирование фильтрационногопотока осуществляется такой же сеткой 9, расположенной на внутреннейповерхности корпуса, в котором для лучшего оттока воды имеются дренажныеотверстия 10. Профильтровавшаяся вода вытекает через эти отверстия исобирается в кювете 11, откуда она по сливной трубке 12 поступаетв мерный сосуд. Суммарную осадку грунта определяют по показаниям трехсимметрично расположенных на поршне индикаторов 13, причем опорой для ихштоков служат выдвижные подставки 14, закрепленные на корпусе прибора.Эти подставки позволяют легко устанавливать начальные нулевые показанияиндикаторов.
Рис. 27. Установка для определения фильтрационной прочности грунтовпри контактном выпоре
Фильтрационнуюпрочность грунта определяют по величине выходного градиента напора, измеренногов то время, когда начинается разрушение грунта в фильере с отверстием данногодиаметра. При этом по мере завершения контактного выпора фильерыпоследовательно закупоривают, ввинчивая в них пробки 15, что позволяет водном опыте испытать грунт при его выпоре в несколько отверстий различногодиаметра и установить таким образом зависимость между критическим градиентом идиаметром отверстий.
Величинуградиента на контуре разгрузки потока определяют по формуле для осесимметричнойфильтрации в напорном пласте:
,
где H0 - напор жидкости внутриперфорированной трубки; r0 и R - расстояния от оси прибора до распределительной сетки идренажной.
Одиниз таких приборов с рабочей камерой диаметром 31 см и высотой 26 см показан нафотографии (рис. 27). Вертикальнаясжимающая нагрузка, постоянно передаваемая поршнем на грунт, может достигать вэтом приборе 250 H/см2.
Фильтрационно-суффозионныйлоток (рис. 28), чаще всего используемыйдля испытаний грунта на контактный размыв, состоит из рабочей камеры в видеоткрытой сверху прямоугольной коробки, к торцевым решетчатым стенкам которойприсоединены: с одной стороны - фор-камера, куда подают воду, а с другой -отстойник с водосливом. Одну из боковых стенок камеры обычно делают прозрачной,чтобы можно было наблюдать, как происходит размыв грунта. На противоположнойбоковой стенке имеются отверстия с присоединенными к ним (через трехходовыекраники) пьезометрами.
Послезаполнения рабочей камеры грунтом сверху в нее вставляют массивный поршень, спомощью которого передается на грунт сжимающее усилие, воспринимаемое отгидравлического домкрата или рычажного устройства.1
В зависимостиот заданных условий испытываемый грунт укладывают либо под коллектором - слоемкрупнозернистого материала, - либо над ним (случай так называемого потолочногоразмыва). Считается обязательным торцевые участки слоя грунта на длине около 10D50 защищать от размыва(экранировать) тонкой металлической фольгой, так как на этих участках возникаетсбойность (перемежаемость) фильтрационного потока, не характерная длявнутренней зоны коллектора.
1 Иногда сжимающее давление создаютпри помощи «гидравлической подушки», в связи с чем рабочую камеру лотка плотнозакрывают крышкой, под которой укладывают «подушку».
Ксамим испытаниям приступают после водонасыщения грунта и полной егоконсолидации под нагрузкой, о чем судят по прекращению осадки поршня (или расширениягидравлической подушки), регистрируемой индикаторами, установленными на поршне.
Рис. 28. Горизонтальный фильтрационно-суффозионный лоток
Впроцессе испытаний главное внимание следует обратить на выяснение наименьшихзначений скорости и градиента напора фильтрационного потока в коллекторе, прикоторых возникает устойчивый размыв грунта (эти значения называютразмывающими); интенсивности размыва (расхода выносимых потоком частиц грунта)по мере увеличения скорости потока и соответствующих смещений размываемойповерхности (о чем свидетельствует осадка поршня).
Длябольшей наглядности все характерные для процесса испытаний грунта данныевыражают в виде графиков, как это показано на рис. 29. Здесь, например, можно отчетливо видеть, как быстропрекращается контактный размыв разнозернистого грунта вследствие появления впроцессе размыва отмостки из содержащихся в грунте крупных частиц, которые немогут пройти через поры коллектора.
Рис. 29. Рекомендуемый образец графической интерпретациирезультатов испытаний грунта на контактный размыв
1 - суглинисто-щебнистый грунт gd = 1,972 г/см3; h =10,2 см; wн = 10,9 %; 2 - гравийкрупностью 5 - 7 мм, n = 0,39
Рис. 30. Схема и результатыиспытаний грунта на контактный размыв в вертикальном фильтрационно-суффозионномприборе
1 - супесчано-щебнистый грунтСафедобского месторождения
= 1,70 г/см3,wн =0,7 %;
= 1,76 г/см3;2 - обратный фильтр (галечник) D = 2 - 40 мм, gd = 1,90 г/см3, n = 0,28; 3 - песколовка
Примечания.1. Снижениекоэффициента фильтрации галечника при градиентах 0,003 - 0,02 обусловленовлиянием закупорки пор воздухом.
2. Скорость движения водыв порах обратного фильтра подсчитывалась по формуле v0 = v/n.
Дляиспытаний по данной схеме (рис. 30)выбирают подходящий по размерам вертикальный прибор с цилиндрической рабочейкамерой, в которую укладывают грунт и одновременно материал коллектора(например, материал первого слоя обратного фильтра, защищающего от размываглинистое ядро каменно-земляной плотины). Для формирования при этом болеечеткого сопряжения (плоскости контакта) грунта и материала коллектора междуними при укладке помещают тонкую пластинку, которую потом извлекают.
Чтобыизбежать деструкции грунта при замачивании (размокания), нижнюю поверхностьобразца надо защищать надлежаще подобранным по крупности частиц подстилающимслоем, как это показано на схеме опыта (рис. 30). Данному требованию соответствует обычно слой гравиякрупностью 5 - 7 мм.
Сверхуукладывают пригрузку, которая должна быть менее проницаема, чем материалколлектора, иначе произойдет преждевременный и к тому же нехарактерный размыввходного фрагмента образца. Однако его можно защитить от размыва в этом месте спомощью тонкой фольги или пленки.
Приналичии внешней силы, воспринимаемой верхней решеткой, можно в процессеиспытаний фиксировать ее осадку, обусловленную контактным размывом грунта, итем самым получить дополнительное объективное свидетельство о характерепротекания размыва (см. график осадок на рис. 30). В остальном испытания проводятся так же, как и вгоризонтальном фильтрационно-суффозионном лотке.
1. Определение водопроницаемости несвязных грунтов
1. Справочноеруководство гидрогеолога. - Л.: Недра, 1979, т. 2. Гл. III. Лабораторные методы и эмпирические формулы, применяемые дляопределения коэффициента фильтрации горных пород, с. 70 - 84.
2. Ж.Коста, Г. Санглера. Механика грунтов. Практический курс (перевод с франц.).- М.: Стройиздат, 1982. Гл. 1. Физические характеристики грунтов; Гл. 2.Грунтовая вода, с. 15 - 87.
3. КондратьевВ. Н. Фильтрация и механическая суффозия в несвязных грунтах. -Симферополь, Крымиздат, 1958. - 75 с.
4. ПавчичМ. П., Балыков Б. И. Методы определения коэффициента фильтрации грунтов. -М.: Энергия, 1976. - 115 с.
5. ЖиленковВ. Н. О закономерностях фильтрации в трещинной и зернистой средахзакрепляющих растворов типа Ньютоновской жидкости. - Материалы VII Всесоюзного совещания по закреплению и уплотнению грунтов /ВНИИГ им. Б. Е. Веденеева, 1971, с. 504 - 510.
6. Гидродинамическиеи физико-химические свойства горных пород / Под ред. Н. Н. Веригина. - М.:Недра, 1977. - 271 с. Гл. I. Классификациягидродинамических параметров, способы их определения и уравнения гидродинамики;Гл. II. Лабораторные определения параметровгорных пород, с. 13 - 14.
7. БэрЯ., Заславский Д., Ирмей С. Физико-математические основы фильтрации воды. -М.: Мир, 1971. - 452 с.
8. Cisler J. у Kuraz V. Zarizenike sledovani stavu a pohybu v nenasycene zemine. - Vodni Hospodarstvi, 1971, №12, ser. A, p. 341 - 344; fig. 5, lit.: 3.
Лабораторноеустройство для наблюдения за уровнем и движением воды в ненасыщенном грунте.
9. ГореликЛ. В. О длительности растворения газа в грунтовой воде. - Известия ВНИИГим. Б. Е. Веденеева, т. 107, 1975, с. 137 - 147.
10. АверьяновС. Ф. Зависимость водопроницаемости почво-грунтов от содержания в нихвоздуха. - ДАН СССР, т. 69, № 2, 1949.
11. БулычевВ. Г. Теория газонасыщенных грунтов. - М.: Стройвоенмориздат, 1948.
12. ГоворковВ. М., Шебалин К. Н. Влияние вибрации на выделение газа из жидкой фазы. -Инженерно-физический журнал, 1964, № 2.
13. КутателадзеС. С., Зысин В. А. Нагрев и деаэрация воды при непосредственном смешении еес паром. - В кн.: За новое советское энергооборудование, 1939.
14. Bouwer H. Unsaturated flow ingroundwater hydraulic. - Proc. ASCE, 1964, vol. 90, № HY5, p.
15. Corey A. T. Measurement ofwater and air permeability in unsaturated soil. - Proc. Soil Sci. Soc. Am.,1957, vol. 21, p. 7 - 10.
16. ВедерниковВ. В. Определение коэффициента фильтрации почво-грунтов при неполном ихнасыщении. - Известия ВУЗов: Геология и разведка, 1973, № 8, с. 86 - 88.
17. ГузовМ. 3. Условия фильтрации в фильтрационных приборах и новый методопределения коэффициентов фильтрации в лабораторных условиях. - Труды Киевскогогидромелиоративного института, 1956, вып. 6, с. 119 - 131.
18. Lee К. L. and Black D. К. Time to dissolveair bubble in drain line. - Proc. Amer. Soc. Civ. Engrs, J. Soil Mech. andFoundat. Div., 1972, vol. 98, № SM2, p. 181 - 194.
Время,необходимое для растворения воздушных пузырьков в дренажной трубе.
19. Amar S., Dupny H. Etude stir lapermeabilite des sols fins mesuree en laboratoire. - Lab. Ponts Chauss., Rapp.Rech.,1973, № 23, p. 1 - 34.
Исследование водопроницаемости мелкозернистых грунтов в лаборатории.
2. Определение водопроницаемости связных (глинистых) грунтов
20. ТерцагиК., Пек Р. Механика грунтов в инженерной практике / Пер. с англ. - М.:Госстройиздат, 1958.
21. ЧаповскийЕ. Г. Лабораторные работы по грунтоведению и механике грунтов. - М.: Недра,1966. - 136 с.
22. ЛомтадзеВ. Д. Методы лабораторных исследований механических свойств горных пород. -Л.: Недра, 1972. - 171 с.
23. ЖиленковВ. Н. Водопроницаемость экранирующих покрытий из глинистого грунта. - ИзвестияВНИИГ им. Б. Е. Веденеева, т. 115, 1977, с. 101 - 109.
24. ЭнгельгардтВ. Поровое пространство осадочных пород / Пер. с нем. - М.: Недра, 1964. -232 с.
25. ПавилонскийВ. М. Методика определения коэффициента фильтрации глинистых грунтов прималых градиентах напора. - Труды ВНИИ ВОДГЕО: Гидротехника, вып. 44, 1974, с.96 - 100.
26. БьеррумЛ., Хадер Дж. Изменение водопроницаемости уплотненных глинистых грунтов /Пер. с норвежского. - В кн.: Проблемы инженерной геологии, вып. 2, 1960, с.
27. Vanicek I., Pachta V.Problematika laboratorniho stanoveni soucinitele propustnosti jilovitych zemin.- Vodni hospodarstvi, 1976, № 12, s. 319 - 323.
Проблемалабораторного определения коэффициента фильтрации глинистых грунтов.
28. ГорбуновБ. П. Определение фильтрационных свойств глинистых грунтов в одометрах. -Труды НИИ оснований, 1961, № 61.
29. БойченкоП. О. К расчетам коэффициента фильтрации связных грунтов по кривойконсолидации. - Ученые записки ЛГУ, 1953, 159, № 3, с. 142 - 169.
30. МигинС. И. К методике определения коэффициента фильтрации глинистых грунтов. -Труды ВНИИ ВОДГЕО: Гидротехника, М.: 1961, с. 13 - 18.
31. ШемшуринВ. А. О зависимости между коэффициентами фильтрации и удельнымсопротивлением песчано-глинистых пород. - Гидротехническое строительство, 1962,№ 9.
32. ФоменкоИ. Е., Глумов И. Ф. Лабораторный метод изучения движения жидкостей черезпористую среду при малых градиентах давления. - Нефтепромысловое дело, 1966, №8.
33. Инструкцияпо определению коэффициента фильтрации связных грунтов на приборе Ф-1М. -Госгеолтехиздат, 1962.
34. ЗауэрбрейИ. И. К вопросу о коэффициенте фильтрации грунтов и методике егоисследования. - Известия ВНИИГ, 1932, т. 3, т. 5.
3. Суффозионнаяустойчивость несвязных грунтов
35. Рекомендациипо проектированию обратных фильтров гидротехнических сооружений: П 92-80/ВНИИГ.- Л., 1981.
36. Ziems Jurgen L., ZurKlassifizierung der mechanischen Erdstoffvermungen durch Wirkungen desSickerwassers, Wasserwirtschaft-Wassertechnik, 1967, Bd. 17, № 2, S. 50 - 55.
37. КаныгинЛ. Е. Расчет обратных фильтров с учетом естественных вариацийгранулометрического состава грунтов. - Гидротехническое строительство, 1978, №5, с. 29 - 32.
38. Развитиеисследований по теории фильтрации в СССР. - М.: Наука, 1969. Гл. 8.Фильтрационные деформации, разрушения и прочность нескальных грунтов, с. 314 -335.
39. ЛубочковЕ. А. Графический и аналитический способы определения суффозионных свойствнесвязных грунтов. - Известия ВНИИГ им. Б. Е. Веденеева, 1965, т. 78, с. 255 -280.
4. Суффозионнаяустойчивость связных грунтов
40. ЖиленковВ. Н. Водоупорные свойства грунтов ядер и экранов высоких плотин. - Л.:Энергия, 1968. - 115 с.
41. ЖиленковВ. Н. Исследования фильтрационной прочности глинистых грунтов в условияхконтактного выпора. - Известия ВНИИГ им. Б. Е. Веденеева: Сборник научныхтрудов, 1981, т. 146, с. 86 - 95.
42. ЖиленковВ. Н., Шевченко Н. И. О сопротивляемости глинистых грунтов контактномуразмыву фильтрационным потоком. - Известия ВНИИГ им. Б. Е. Веденеева: Сборникнаучных трудов, 1981, т. 146, с. 3 - 12.
43. ГорьковаИ. М. Структурные и деформационные особенности осадочных пород. - М.:Недра, 1965.
44. КульчицкийЛ. И. Природа гидратации глинистых минералов и гидрофильность глинистыхпород. - В кн.: Связанная вода в дисперсных системах, вып. 2. - М., 1972.
45. РейтбурдЦ. М., Царева А. М., Пономарев В. В. Методика изучения текстуры глинистыхпород. - В кн.: Современные методы изучения физико-механических свойств пород.М., 1968.
46. ЗиманА. Д. Адгезия пыли и порошков. - М.: Химия, 1976. - 380 с.
47. ЛарионовЛ. К. Инженерно-геологическое изучение структуры рыхлых осадочных пород. -Л.: Недра, 1966.
48. ТанТьянг-ки. Структурная механика глин. - В кн.: Вопросы геотехники. М., 1959,№ 3.
49. МирцхулаваИ. Е. О зависимости сопротивления размыву связных грунтов от сцепления. -ДАН СССР, 1959, 124, № 1.
50. ЛарионовЛ. К., Руднева И. Е., Зайончек В. Г. Определение прочностных характеристикдонных грунтов лабораторными методами. - Вестник ЛГУ, т. 24: Геология игеография, вып. 4, 1981, с. 20 - 25.
51. Rehfeld Е. DieErosionsbeständigkeit bindiger Lockergesteine - die wichtigste Grundlagezur Dimensionierung von Dichtungsschichten aus natürlichen Erdstoff WissenschaftlicheZeitschrift der Technischen Universität Dresden. 16, № 5, 1967.
52. Zaslavsky D., Kassiff G.Theoretical formulation of piping mechanism in cohesive soils. - Geotechnique,1965, vol. XV, .№ 3, p. 305 - 316.
53. ЖиленковВ. Н. К оценке фильтрационной прочности трещиноватого массива полускальныхпород. - Известия ВНИИГ им. Б. Е. Веденеева: Сборник научных трудов, т. 137,1980, с. 93 - 99.
СОДЕРЖАНИЕ