Меню по разделу
+
Стандарт распространяется на штампованные тройники с вытянутой горловиной и обжатыми концами условным проходом 100 мм для трубопроводов питательной воды тепловых электростанций с абсолютным давлением и температурой воды: p=23,54 МПа (240 кгс/см2), t=250° C; p=18,14 МПа (185 кгс/см2), t=215° C.
| Обозначение: | ОСТ 108.104.09-82 |
| Название рус.: | Тройник штампованный равнопроходный с обжатием для трубопроводов ТЭС. Конструкция и размеры |
| Статус: | заменен |
| Заменен: | СТО ЦКТИ 720.11-2009 «Тройник равнопроходный штампованный с обжатием для трубопроводов питательной воды тепловых станций. Конструкция и размеры» |
| Дата актуализации текста: | 05.05.2017 |
| Дата добавления в базу: | 01.09.2013 |
| Дата введения в действие: | 01.05.2010 |
| Утвержден: | 04.06.1982 Министерство энергетического машиностроения (Ministry of Energy Machinery Manufacturing ВВ-002/4628) |
| Опубликован: | НПО ЦКТИ (1993 г. ) |
| Ссылки для скачивания: |
ОТРАСЛЕВЫЕ СТАНДАРТЫ
ДЕТАЛИ И СБОРОЧНЫЕ ЕДИНИЦЫ
ИЗ УГЛЕРОДИСТЫХ
И КРЕМНЕМАРГАНЦОВИСТЫХ СТАЛЕЙ
ДЛЯ ТРУБОПРОВОДОВ ПАРА И ГОРЯЧЕЙ ВОДЫ
С ДАВЛЕНИЕМ pу ≥ 4,0 МПа (PУ ≥ 40 кгс/см2)
ТЕПЛОВЫХ ЭЛЕКТРОСТАНЦИЙ
ТИПЫ, КОНСТРУКЦИЯ, РАЗМЕРЫ И ТЕХНИЧЕСКИЕ ТРЕБОВАНИЯ
ОСТ 108.104.09-82
УТВЕРЖДЕН И ВВЕДЕН В ДЕЙСТВИЕ указанием Министерства энергетического машиностроения от 04.06.82 № ВВ-002/4628
ИСПОЛНИТЕЛИ: НПО ЦКТИ и БЗЭМ
СОГЛАСОВАН с Главным управлением по проектированию и научно-исследовательским работам Министерства энергетики и электрификации СССР
Л.М. ВОРОНИН
ОТРАСЛЕВОЙ СТАНДАРТ
|
ТРОЙНИК ШТАМПОВАННЫЙ РАВНОПРОХОДНЫЙ С ОБЖАТИЕМ ДЛЯ ТРУБОПРОВОДОВ ТЭС КОНСТРУКЦИЯ И РАЗМЕРЫ |
ОСТ 108.104.09-82 Введен впервые |
Указанием Министерства энергетического машиностроения от 04.06.82 № ВВ-002/4628 срок действия установлен
с 01.01.85
до 01.01.96
Несоблюдение стандарта преследуется по закону
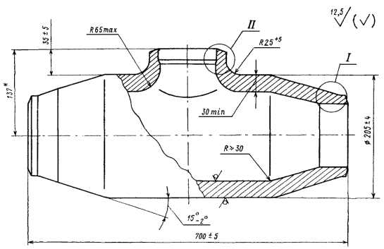
1. Настоящий стандарт распространяется на штампованные тройники с вытянутой горловиной и обжатыми концами условным проходом 100 мм для трубопроводов питательной воды тепловых электростанций с абсолютным давлением и температурой воды:
p = 23,54 МПа (240 кгс/см2), t = 250 °С;
p = 18,14 МПа (185 кгс/см2), t = 215 °С.
2. Конструкция и размеры тройника должны соответствовать указанным на черт. 1 - 3.
3. Материал - труба из стали марки 15ГС по ТУ 14-3-460. Масса тройника 112 кг.
4. Рекомендуемый размер прямого участка уточняется заводом - изготовителем при разработке технологического процесса.
Допускается изготовление подкатанной части без прямых участков.
5. Размеры радиусов сопряжения горловины с корпусом, высот и толщины стенки горловины могут быть изменены при соблюдении условий прочности по усмотрению предприятия - изготовителя.
6. Маркировка и остальные технические требования - по ОСТ 24.125.60.
* Размер для справок.
Черт. 1

Остальное - см. черт. 1
Черт. 2
Остальное - см. черт. 1
Черт. 3
ИНФОРМАЦИОННЫЕ ДАННЫЕ
1. УТВЕРЖДЕН И ВВЕДЕН В ДЕЙСТВИЕ указанием Министерства энергетического машиностроения от 04.06.82 № ВВ-002/4628
2. ИСПОЛНИТЕЛИ
П.М. Христюк, канд. техн. наук; Д.Д. Дорофеев, канд. техн. наук (руководитель темы); Г.Н. Смирнов (руководитель темы); Л.Н. Жылюк; В.Н. Шанский; Н.В. Москаленко; Д.Ф. Фомина; Г.А. Мисирьянц; В.Ф. Логвиненко; Ф.А. Гловач; А.З. Гармаш; Н.Г. Мазин; А.С. Шестернин
3. ЗАРЕГИСТРИРОВАН Государственным комитетом СССР по стандартам за № 8273787 от 26.02.83
4. Введен ВПЕРВЫЕ
5. ССЫЛОЧНЫЕ НОРМАТИВНО-ТЕХНИЧЕСКИЕ ДОКУМЕНТЫ
|
Обозначение НТД, на который дана ссылка |
Номер пункта, подпункта, перечисления, приложения |
|
ОСТ 24.125.60-89 |
|
|
ТУ 14-3-460-75 |
6. ПЕРЕИЗДАНИЕ (1992 г.) с Изменениями № 1, 2, 3, 4.
Срок действия продлен до 1996 г. Изменением № 4, утвержденным письмом Минтяжмаша СССР от 27.12.90 № ВА-002-1-12060



