Стандарт распространяется на опоры катковые пружинные трубопроводов ТЭС и АЭС: - из хромомолибденованадиевых сталей наружным диаметром от 194 до 630 мм; - из углеродистой и кремнемарганцовистых сталей наружным диаметром от 194 до 630 мм; - из коррозионностойкой стали аустенитного класса наружным диаметром от 219 до 325 мм. Стандарт устанавливает конструкцию и размеры катковых пружинных опор.
| Обозначение: | ОСТ 24.125.165-01 |
| Название рус.: | Опоры катковые пружинные трубопроводов ТЭС и АЭС. Конструкция и размеры |
| Статус: | не определен законодательством |
| Дата актуализации текста: | 05.05.2017 |
| Дата добавления в базу: | 01.09.2013 |
| Дата введения в действие: | 30.06.2003 |
| Утвержден: | 31.10.2001 Министерство промышленности, науки и технологий Российской Федерации (Russian Federation Ministry of Industry, Science, and Technology 10-1984) |
| Опубликован: | ОАО НПО ЦКТИ (2002 г. ) |
| Ссылки для скачивания: |
ОСТ 24.125.165-01
СТАНДАРТ ОТРАСЛИ
ОПОРЫ КАТКОВЫЕ ПРУЖИННЫЕ
ТРУБОПРОВОДОВ ТЭС И АЭС
КОНСТРУКЦИЯ И РАЗМЕРЫ
Предисловие
1 РАЗРАБОТАН открытым акционерным обществом «Научно-производственное объединение по исследованию и проектированию энергетического оборудования им. И. И. Ползунова» (ОАО «НПО ЦКТИ») и открытым акционерным обществом «Белгородский завод энергетического машиностроения» (ОАО «Белэнергомаш»)
ИСПОЛНИТЕЛИ: от ОАО «Белэнергомаш» ЗАВГОРОДНИЙ Ю.В., СЕРГЕЕВ О.А., РОГОВ В.А.; от ОАО «НПО ЦКТИ» ПЕТРЕНЯ Ю.К., д-р физ.-мат. наук; СУДАКОВ А.В., д-р техн. наук; ДАНЮШЕВСКИЙ И.А., канд. техн. наук; ИВАНОВ Б.Н., канд. техн. наук; ТАБАКМАН М.Л.; ГЕОРГИЕВСКИЙ Н.В.
2 ПРИНЯТ И ВВЕДЕН В ДЕЙСТВИЕ Департаментом промышленной и инновационной политики в машиностроении Министерства промышленности, науки и технологий Российской Федерации письмом № 10-1984 от 31.10.2001 г.
3 ВВЕДЕН ВПЕРВЫЕ
СТАНДАРТ ОТРАСЛИ
|
ОПОРЫ
КАТКОВЫЕ ПРУЖИННЫЕ Конструкция и размеры |
Дата введения 2002-01-01
Настоящий стандарт распространяется на опоры катковые пружинные трубопроводов ТЭС и АЭС:
- из хромомолибденованадиевых сталей наружным диаметром от 194 до 630 мм;
- из углеродистой и кремнемарганцовистых сталей наружным диаметром от 194 до 630 мм;
- из коррозионностойкой стали аустенитного класса наружным диаметром от 219 до 325 мм. Стандарт устанавливает конструкцию и размеры катковых пружинных опор.
В настоящем стандарте использованы ссылки на следующие стандарты:
ОСТ 24.125.154-01 Опоры скользящие трубопроводов ТЭС и АЭС. Конструкция и размеры
ОСТ 24.125.160-01 Блоки катковые направляющие для опор трубопроводов ТЭС и АЭС. Конструкция и размеры
ОСТ 24.125.163-01 Блоки катковые двухрядные для опор трубопроводов ТЭС и АЭС. Конструкция и размеры
ОСТ 24.125.166-01 Блоки пружинные для опор трубопроводов ТЭС и АЭС. Конструкция и размеры
ОСТ 24.125.170-01 Детали и сборочные единицы опор, подвесок, стяжек для линзовых компенсаторов и приводов дистанционного управления арматурой трубопроводов ТЭС и АЭС. Общие технические условия
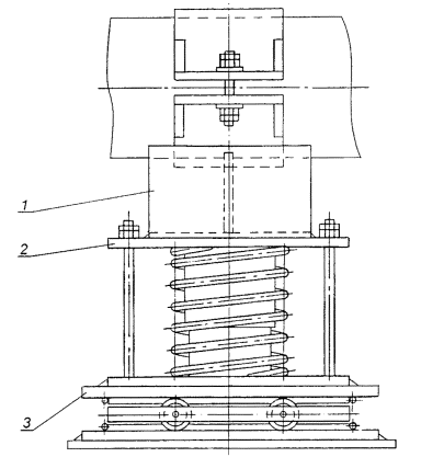
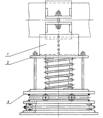
3.1 Конструкция опор и спецификация должны соответствовать указанным на рисунках 1, 2 и в таблицах 1 - 3.
3.2 Маркировка и остальные технические требования по ОСТ 24.125.170.
3.3 Пример условного обозначения катковой пружинной опоры исполнения 01:
ОПОРА КАТКОВАЯ ПРУЖИННАЯ 01 ОСТ 24.125.165
|
3.4 Пример маркировки: 01 ОСТ 24.125.165 |
|

1 - скользящая хомутовая опора; 2 - пружинный блок; 3 - катковый направляющий блок

1 - скользящая хомутовая опора; 2 - пружинный блок; 4 - двухрядный катковый блок
Таблица 1
Спецификация катковых пружинных опор трубопроводов из хромомолибденованадиевых сталей
|
Исполнение |
Наружный диаметр трубопровода Da, мм |
Опора скользящая хомутовая, поз. 1, 1 шт. по ОСТ 24.125.154 |
Блок пружинный, поз. 2, 1 шт. по ОСТ 24.125.166 |
Блок катковый направляющий, поз. 3, 1 шт. |
Блок катковый двухрядный поз. 4, 1 шт. |
|
01 |
194 |
06 |
02 |
01 ОСТ 24.125.160 |
- |
|
02 |
08 |
||||
|
03 |
219 |
07 |
02 |
||
|
04 |
08 |
||||
|
05 |
245 |
08 |
03 |
||
|
06 |
09 |
||||
|
07 |
273 |
09 |
03 |
||
|
08 |
09 |
||||
|
09 |
325 |
10 |
03 |
||
|
10 |
09 |
||||
|
11 |
377 |
11 |
03 |
||
|
12 |
09 |
||||
|
13 |
426 |
12 |
04 |
02 ОСТ 24.125.160 |
|
|
14 |
10 |
||||
|
15 |
465 |
13 |
04 |
||
|
16 |
10 |
||||
|
17 |
530 |
14 |
05 |
||
|
18 |
11 |
||||
|
19 |
630 |
15 |
06 |
||
|
20 |
12 |
||||
|
21 |
194 |
06 |
02 |
- |
01 ОСТ 24.125.163 |
|
22 |
08 |
||||
|
23 |
219 |
07 |
02 |
||
|
24 |
08 |
||||
|
25 |
245 |
08 |
03 |
||
|
26 |
09 |
||||
|
27 |
273 |
09 |
03 |
||
|
28 |
09 |
||||
|
29 |
325 |
10 |
03 |
||
|
30 |
09 |
||||
|
31 |
377 |
11 |
03 |
||
|
32 |
09 |
||||
|
33 |
426 |
12 |
04 |
02 ОСТ 24.125.163 |
|
|
34 |
10 |
||||
|
35 |
465 |
13 |
04 |
||
|
36 |
10 |
||||
|
37 |
530 |
14 |
05 |
||
|
38 |
11 |
||||
|
39 |
630 |
15 |
06 |
||
|
40 |
12 |
Таблица 2
Спецификация катковых пружинных опор трубопроводов из углеродистых и кремнемарганцовистых сталей
|
Исполнение |
Наружный диаметр трубопровода Da, мм |
Опора скользящая хомутовая, поз. 1, 1 шт. по ОСТ 24.125.154 |
Блок пружинный, поз. 2, 1 шт. по ОСТ 24.125.166 |
Блок катковый направляющий, поз. 3, 1 шт. |
Блок катковый двухрядный поз. 4, 1 шт. |
|
41 |
194 |
24 |
02 |
01 ОСТ 24.125.160 |
- |
|
42 |
08 |
||||
|
43 |
219 |
25 |
02 |
||
|
44 |
08 |
||||
|
45 |
245 |
26 |
03 |
||
|
46 |
09 |
||||
|
47 |
273 |
27 |
03 |
||
|
48 |
09 |
||||
|
49 |
325 |
28 |
03 |
||
|
50 |
09 |
||||
|
51 |
377 |
29 |
03 |
||
|
52 |
09 |
||||
|
53 |
426 |
30 |
04 |
02 ОСТ 24.125.160 |
|
|
54 |
10 |
||||
|
55 |
465 |
31 |
04 |
||
|
56 |
10 |
||||
|
57 |
530 |
32 |
05 |
||
|
58 |
11 |
||||
|
59 |
630 |
33 |
06 |
||
|
60 |
12 |
||||
|
61 |
194 |
24 |
02 |
- |
01 ОСТ 24.125.163 |
|
62 |
08 |
||||
|
63 |
219 |
25 |
02 |
||
|
64 |
08 |
||||
|
65 |
245 |
26 |
03 |
||
|
66 |
09 |
||||
|
67 |
273 |
27 |
03 |
||
|
68 |
09 |
||||
|
69 |
325 |
28 |
03 |
||
|
70 |
09 |
||||
|
71 |
377 |
29 |
03 |
||
|
72 |
09 |
||||
|
73 |
426 |
30 |
04 |
02 ОСТ 24.125.163 |
|
|
74 |
10 |
||||
|
75 |
465 |
31 |
04 |
||
|
76 |
10 |
||||
|
77 |
530 |
32 |
05 |
||
|
78 |
11 |
||||
|
79 |
630 |
33 |
06 |
||
|
80 |
12 |
Таблица 3
Спецификация катковых пружинных опор трубопроводов из коррозионно-стойких сталей аустенитного класса
|
Исполнение |
Наружный диаметр трубопровода Da, мм |
Опора скользящая хомутовая, поз. 1, 1 шт. по ОСТ 24.125.154 |
Блок пружинный, поз. 2, 1 шт. по ОСТ 24.125.166 |
Блок катковый направляющий, поз. 3, 1 шт. |
Блок катковый двухрядный поз. 4, 1 шт. |
|
81 |
219 |
42 |
02 |
02 ОСТ 24.125.160 |
- |
|
82 |
08 |
||||
|
83 |
245 |
43 |
03 |
||
|
84 |
09 |
||||
|
85 |
273 |
44 |
03 |
||
|
86 |
09 |
||||
|
87 |
325 |
45 |
03 |
||
|
88 |
09 |
||||
|
89 |
219 |
42 |
02 |
- |
02 ОСТ 24.125.163 |
|
90 |
08 |
||||
|
91 |
245 |
43 |
03 |
||
|
92 |
09 |
||||
|
93 |
273 |
44 |
03 |
||
|
94 |
09 |
||||
|
95 |
325 |
45 |
03 |
||
|
96 |
09 |
Ключевые слова: опоры, трубопроводы, конструкция, размеры, маркировка.
СОДЕРЖАНИЕ