Стандарт устанавливает нормы и методы расчета на прочность укрепления отверстий в цилиндрических и конических обечайках, конических переходах, выпуклых днищах и крышках сосудов и аппаратов, применяемых в химической, нефтегазоперерабатывающей и смежных отраслях промышленности, работающих под действием внутреннего или наружного давления.
| Обозначение: | ГОСТ Р 52857.3-2007 |
| Название рус.: | Сосуды и аппараты. Нормы и методы расчета на прочность. Укрепление отверстий в обечайках и днищах при внутреннем и внешнем давлениях. Расчет на прочность обечаек и днищ при внешних статических нагрузках на штуцер |
| Статус: | действует |
| Дата актуализации текста: | 05.05.2017 |
| Дата добавления в базу: | 01.09.2013 |
| Дата введения в действие: | 01.04.2008 |
| Утвержден: | 27.12.2007 Федеральное агентство по техническому регулированию и метрологии (503-ст) |
| Опубликован: | Стандартинформ (2008 г. ) Стандартинформ (2009 г. ) |
| Ссылки для скачивания: |
|
ФЕДЕРАЛЬНОЕ
АГЕНТСТВО |
||
|
|
НАЦИОНАЛЬНЫЙ |
ГОСТ Р |
Сосуды и аппараты
НОРМЫ
И МЕТОДЫ РАСЧЕТА
НА ПРОЧНОСТЬ
Укрепление отверстий в обечайках и днищах
при внутреннем и внешнем давлениях. Расчет
на прочность обечаек и днищ при внешних
статических нагрузках на штуцер
|
|
Москва |
Цели и принципы стандартизации в Российской Федерации установлены Федеральным законом от 27 декабря 2002 г. № 184-ФЗ «О техническом регулировании», а правила применения национальных стандартов Российской Федерации - ГОСТ Р 1.0-2004 «Стандартизация в Российской Федерации. Основные положения»
Сведения о стандарте
1. РАЗРАБОТАН Открытым акционерным обществом «Научно-исследовательский и конструкторский институт химического машиностроения» (ОАО НИИХИММАШ); Закрытым акционерным обществом «Петрохим Инжиниринг» (ЗАО Петрохим Инжиниринг); Открытым акционерным обществом «Всероссийский научно-исследовательский и проектно-конструкторский институт нефтяного машиностроения» (ОАО ВНИИНЕФТЕМАШ); Федеральной службой по экологическому, технологическому и атомному надзору (Ростехнадзор)
2. ВНЕСЕН Техническим комитетом по стандартизации ТК 260 «Оборудование химическое и нефтегазоперерабатывающее»
3. УТВЕРЖДЕН И ВВЕДЕН В ДЕЙСТВИЕ Приказом Федерального агентства по техническому регулированию и метрологии от 27 декабря 2007 г. № 503-ст
4. В настоящем стандарте учтены основные нормативные положения следующих международных и европейских стандартов: Директивы 97/23 ЕС Европейского Парламента и Совета от 29 мая 1997 г. по сближению законодательств государств-членов, касающейся оборудования, работающего под давлением; ЕН 13445-3:2002 «Сосуды, работающие под давлением. Часть 3. Расчет» (EN 13445-3:2002 «Unfired pressure vessel - Part 3: Design»)
5. ВВЕДЕН ВПЕРВЫЕ
Информация об изменениях к настоящему стандарту публикуется в ежегодно издаваемом информационном указателе «Национальные стандарты», а текст изменений и поправок - в ежемесячно издаваемых информационных указателях «Национальные стандарты». В случае пересмотра (замены) или отмены настоящего стандарта соответствующее уведомление будет опубликовано в ежемесячно издаваемом информационном указателе «Национальные стандарты». Соответствующая информация, уведомление и тексты размещаются также в информационной системе общего пользования - на официальном сайте Федерального агентства по техническому регулированию и метрологии в сети Интернет
СОДЕРЖАНИЕ
НАЦИОНАЛЬНЫЙ СТАНДАРТ РОССИЙСКОЙ ФЕДЕРАЦИИ
|
Сосуды и аппараты НОРМЫ И МЕТОДЫ РАСЧЕТА НА ПРОЧНОСТЬ Укрепление
отверстий в обечайках и днищах при внутреннем и внешнем давлениях. Vessels and apparatus. Norms and methods of strength
calculation. |
Дата введения - 2008-04-01
Настоящий стандарт устанавливает нормы и методы расчета на прочность укрепления отверстий в цилиндрических и конических обечайках, конических переходах, выпуклых днищах и крышках сосудов и аппаратов, применяемых в химической, нефтегазоперерабатывающей и смежных отраслях промышленности, работающих под действием внутреннего или наружного давления.
В стандарте приведен метод расчета на прочность обечаек и днищ при внешних статических нагрузках на штуцеры.
Настоящий стандарт применяется совместно с ГОСТ 52857.1 и ГОСТ Р 52857.2.
В настоящем стандарте использованы нормативные ссылки на следующие стандарты:
ГОСТ Р 52630-2006 Сосуды и аппараты стальные сварные. Общие технические условия
ГОСТ Р 52857.1-2007 Сосуды и аппараты. Нормы и методы расчета на прочность. Общие требования
ГОСТ Р 52857.2-2007 Сосуды и аппараты. Нормы и методы расчета на прочность. Расчет цилиндрических и конических обечаек, выпуклых и плоских днищ и крышек
Примечание - При пользовании настоящим стандартом целесообразно проверить действие ссылочных стандартов в информационной системе общего пользования - на официальном сайте Федерального агентства по техническому регулированию и метрологии в сети Интернет или по ежегодно издаваемому информационному указателю «Национальные стандарты», который опубликован по состоянию на 1 января текущего года, и по соответствующим ежемесячно издаваемым информационным указателям, опубликованным в текущем году. Если ссылочный стандарт заменен (изменен), то при пользовании настоящим стандартом следует руководствоваться заменяющим (измененным) стандартом. Если ссылочный стандарт отменен без замены, то положение, в котором дана ссылка на него, применяется в части, не затрагивающей эту ссылку.
В настоящем стандарте применены следующие обозначения:
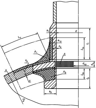
A - расчетная площадь вырезанного сечения, см. рисунок А.1 (приложение А), мм2;
A1 - площадь укрепляющего сечения внешней части штуцера, мм2;
A2 - площадь поперечного сечения накладного кольца, мм2;
A3 - площадь укрепляющего сечения внутренней части штуцера, мм2;
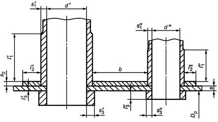
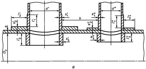
b - минимальное расстояние между наружными поверхностями двух соседних штуцеров, см. рисунки А.2 и А.3 (приложение А), измеряемое по поверхности укрепляемого элемента, мм;
c - сумма прибавок к расчетной толщине стенки обечайки, перехода или днища, мм;
cs,
,
- сумма прибавок
к расчетной толщине стенки штуцера, мм;
,
,
- прибавка
на коррозию к расчетной толщине стенки штуцера, мм;
D - внутренний диаметр цилиндрической обечайки или выпуклого днища, мм;
Dк - внутренний диаметр конической обечайки (перехода или днища) по центру укрепляемого отверстия, см. рисунок А.4б (приложение А), мм;
Dр,
,
- расчетные
внутренние диаметры укрепляемого элемента, мм;
Dc - средний диаметр обечайки у отверстия, мм;
D2 - наружный диаметр накладного кольца, мм;
d, d', d" - внутренние диаметры штуцеров, мм;
d0 - наибольший расчетный диаметр отверстия, не требующего дополнительного укрепления, мм;
dор - расчетный диаметр, мм;
d1 - большая ось овального отверстия, мм;
d2 - малая ось овального отверстия, мм;
dр - расчетный диаметр отверстия, мм;
dс - средний диаметр штуцера, мм;
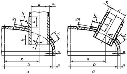
e - расстояние от края штуцера до внешнего края днища, см. рисунок А.5а, б (приложение А), мм;
F2, Fx - осевая и поперечная силы, действующие на штуцер, Н;
K1, K2, K3 - коэффициенты;
Lo - ширина зоны укрепления, прилегающей к штуцеру, при отсутствии накладного кольца, см. рисунок А.1 (приложение А), мм;
Lк - расстояние от наружной поверхности штуцера до ближайшего несущего конструктивного элемента, см. рисунок А.4 (приложение А), мм;
L2 - расчетная ширина зоны укрепления при использовании общего накладного кольца для двух отверстий, мм;
l - исполнительная ширина торообразной вставки или вварного кольца, мм;
lр - расчетная ширина зоны укрепления в окрестности штуцера или торообразной вставки, мм;
l1,
,
l3,
,
-
исполнительная длина штуцеров, см. рисунки А.6 и А.7 (приложение А),
мм;
Н - внутренняя высота эллиптической части днища, мм;
l1р,
,
, l3р,
,
- расчетные
длины штуцеров, мм;
l2 - исполнительная ширина накладного кольца, мм;
l2р - расчетная ширина накладного кольца, мм;
Mx, Му, Mz - изгибающие и крутящие моменты, действующие на штуцер, Н · мм;
р - расчетное давление в сосуде или аппарате, МПа;
[р] - допускаемое давление в элементах сосудов и аппаратов, МПа;
[р]п - допускаемое давление в пределах пластичности, МПа;
[р]E - допускаемое давление в пределах упругости, МПа;
R - наибольший внутренний радиус выпуклого днища, мм;
RH - радиус кругового накладного кольца при совместимом укреплении отверстий, см. рисунок А.8 (приложение А), мм;
R' - радиус несимметричного накладного кольца около отверстия диаметром d', см. рисунок А.8 (приложение А), мм;
R" - радиус несимметричного накладного кольца около отверстия диаметром d", см. рисунок А.8 (приложение А), мм;
Rc - средний радиус обечайки или днища у штуцера, мм;
r - радиус отбортовки или торовой части торообразной вставки, см. рисунки А.9 и А.10а (приложение А), мм;
s - исполнительная толщина стенки обечайки, перехода или днища, мм;
sp - расчетная толщина стенки обечайки, перехода или днища, мм;
s1,
,
-
исполнительные толщины стенок штуцеров, мм;
s1p,
,
- расчетные
толщины стенок штуцеров, мм;
s2,
,
-
исполнительные толщины накладных колец, мм;
s3,
,
-
исполнительные толщины внутренних частей штуцеров, мм;
t - длина отверстия в окружном направлении, см. рисунки А.11б, г (приложение А), мм;
V, V1 - коэффициенты понижения прочности;
x - расстояние от центра укрепляемого отверстия до оси эллиптического днища, мм;
a - половина угла при вершине конической обечайки, ...°;
b - угол между линией, соединяющей центры двух взаимовлияющих, и образующей обечайки, см. рисунок А.3а (приложение А), ...°;
g - угол между осью наклонного штуцера и нормалью к поверхности цилиндрической или конической обечайки, а также выпуклого днища, см. рисунки А.11б и А.5а (приложение А), ...°;
χ1, χ2, χ3,
,
,
,
,
,
- отношения
допускаемых напряжений;
ρ - поправочный коэффициент;
[s] - допускаемое напряжение для материала обечайки, перехода или днища при расчетной температуре, МПа;
[s]1 - допускаемое напряжение для материала внешней части штуцера при расчетной температуре, МПа;
[s]2 - допускаемое напряжение для материала накладного кольца при расчетной температуре, МПа;
[s]3 - допускаемое напряжение для материала внутренней части штуцера при расчетной температуре, МПа;
[t] - допускаемые напряжения из условия среза, МПа;
j - коэффициент прочности сварных соединений обечаек и днищ;
j,
,
-
коэффициент прочности продольного сварного соединения штуцера;
ψ - угол между плоскостью, проходящей через продольный шов и ось штуцера, и плоскостью продольного осевого сечения обечайки, см. рисунок А.12 (приложение А), ...°;
ψ', ψ" - угол между плоскостью, проходящей через ось и продольный шов штуцера, и плоскостью, проходящей через линию, соединяющую центры отверстий, см. рисунок А.12 (приложение А), ...°;
ω - угол между большой осью овального отверстия и плоскостью, проходящей через ось обечайки сосуда, см. рисунок А.13 (приложение А), ...°.
4.1. Изложенные в стандарте методы расчета основаны на теории предельного равновесия (предельных нагрузок). Теория предельного равновесия предполагает, что материал в условиях эксплуатации пластичен. Перечень таких сталей и минимальная температура применения, когда сталь сохраняет необходимые пластические свойства, приведены в ГОСТ Р 52630. Аналогичные данные приведены в нормативных документах на сосуды и аппараты из цветных металлов - алюминия, меди, титана, никеля и их сплавов.
В тех случаях, когда материал непластичный или по каким-либо другим параметрам и условиям эксплуатации не выполняются условия применения настоящего стандарта, то расчет следует проводить по ГОСТ Р 52857.9 либо по специальным методам расчета.
4.2. Пределы применения расчетных формул ограничиваются условиями, приведенными в таблице 1.
Таблица 1
|
Условие применения формул для расчета укрепления отверстий в |
||||
|
цилиндрических обечайках |
конических обечайках, переходах или днищах (крышках) |
эллиптических днищах (крышках) |
сферических и торосферических днищах (крышках) |
|
|
Отношение диаметров1) |
|
|
|
|
|
Отношение толщины стенки обечайки или днища к диаметру |
|
|
|
|
|
1) При расчете на прочность обечаек и днищ при внешних статических нагрузках на штуцер для цилиндрических и конических обечаек d/D £ 0,8, для днищ и крышек - d/D £ 0,6. |
||||
4.3. При установке наклонных штуцеров с круговым поперечным сечением на цилиндрических обечайках метод расчета укрепления отверстий применим, если угол g (см. рисунок А.11б) не превышает 45°, а отношение осей овального отверстия d1 и d2 (см. рисунок А.11а) удовлетворяет условию
(1)
Эти ограничения не распространяются на тангенциальные штуцеры (см. рисунок А.11в), на наклонные штуцеры, ось которых лежит в плоскости поперечного сечения обечайки (см. рисунок А.11г). Для смещенных (нецентральных) штуцеров на эллиптических днищах угол g (см. рисунок А.5) не должен превышать 60°.
4.4. Расстояние от края штуцера до края внешней поверхности сферического неотбортованного и торосферического днища, измеряемое по проекции образующей на плоскости основания днища, должно быть не менее е ³ [0,10(D + 2s); 0,09(D + s)].
Малые отверстия, диаметр которых удовлетворяет условию
(2)
допускается размещать в краевой зоне выпуклых днищ без специальных расчетных или экспериментальных обоснований.
При размещении отверстий в краевой зоне цилиндрических и конических обечаек необходим учет ограничений, указанных в 5.1.5.4.
В краевой зоне эллиптических и полусферических днищ допускается размещение отверстий без ограничений.
4.5. Расчет на прочность при внешних статических нагрузках применим для штуцеров, нормально расположенных к поверхности обечаек или днищ.
5.1.1. Расчетные диаметры
Диаметры укрепляемых элементов вычисляют по формулам:
- для цилиндрической обечайки
Dр = D; (3)
- для конической обечайки, перехода или днища
(4)
- для эллиптических днищ
(5)
- для эллиптических днищ при Н = 0,25D
(6)
- для сферических днищ, а также торосферических днищ вне зоны отбортовки
Dр = 2R, (7)
где R - для торосферических днищ определяют по ГОСТ Р 52857.2.
5.1.1.1. Расчетный диаметр отверстия в стенке обечайки, перехода или днища при наличии штуцера с круглым поперечным сечением, ось которого совпадает с нормалью к поверхности в центре отверстия [см. рисунок А.4, А.5б, А.6 (приложение А)] или кругового отверстия без штуцера, вычисляют по формуле
dр = d + 2cs. (8)
Расчетный диаметр отверстия для штуцера, ось которого лежит в плоскости поперечного сечения цилиндрической или конической обечайки [см. рисунок А.11в, г (приложение А)], вычисляют по формуле
dр = max{d; 0,5t} + 2cs. (9)
Расчетный диаметр отверстия для смещенного штуцера на эллиптическом днище [см. рисунок А.5а (приложение А)] вычисляют по формуле
(10)
5.1.1.2. При наличии наклонного штуцера с круглым поперечным сечением, когда большая ось овального отверстия с образующей обечайки составляет угол ω [см. рисунок А.11а (приложение А)], расчетный диаметр отверстия вычисляют по формуле
dр = (d + 2cs) · (1 + tg2g · cos2ω). (11)
Для цилиндрических и конических обечаек, когда ось штуцера [см. рисунок А.11б (приложение А)] лежит в плоскости продольного сечения обечайки (ω = 0), и для всех отверстий в сферических и торосферических днищах расчетный диаметр вычисляют по формуле
(12)
Расчетный диаметр овального отверстия для перпендикулярно расположенного штуцера к поверхности обечайки вычисляют по формуле
(13)
Для выпуклых днищ ω = 0.
Расчетный диаметр отверстия для штуцера с круглым поперечным сечением, ось которого совпадает с нормалью к поверхности обечайки в центре отверстия, при наличии отбортовки или торообразной вставки вычисляют по формуле
dр = d + 1,5(r - sр) + 2cs. (14)
5.1.2. Коэффициент прочности сварных соединений
Если ось сварного шва обечайки (днища) удалена от наружной поверхности штуцера на расстояние более чем три толщины укрепляемого элемента 3s [см. рисунок А.4 (приложение А)], то коэффициент прочности этого сварного соединения при расчете укрепления отверстий следует принимать ω = 1. В исключительных случаях, когда сварной шов пересекает отверстие или удален от наружной поверхности штуцера на расстояние менее 3s, принимают ω < 1 в зависимости от вида и качества сварного шва.
Если плоскость, проходящая через продольный шов вальцованного штуцера и ось этого штуцера, образует угол ψ не менее 60° с плоскостью продольного осевого сечения цилиндрической или конической обечайки [см. рисунок А.12 (приложение А)], то принимают j1 = 1. В остальных случаях j1 £ 1 в зависимости от вида и качества сварного шва.
5.1.3. Расчет толщины стенок
5.1.3.1. Расчетные толщины стенок укрепляемых элементов определяют в соответствии с ГОСТ Р 52857.2. Для эллиптических днищ, работающих под внутренним давлением, расчетную толщину стенки sр вычисляют по формуле
(15)
где коэффициент j определяют по 5.1.2.
5.1.3.2. Расчетную толщину стенки штуцера, нагруженного как внутренним, так и наружным давлением, вычисляют по формуле
(16)
где коэффициент j1 определяют по 5.1.2.
Для овального штуцера в этой формуле d = d1.
5.1.4. Расчетные длины штуцеров
Расчетные длины внешней и внутренней частей круглого штуцера, участвующие в укреплении отверстий и учитываемые при расчете [см. рисунок А.6 (приложение А)], вычисляют по формулам:
(17)
Для овального штуцера [см. рисунок А.13 (приложение А)] в этих формулах d = d2.
В случае проходящего штуцера [см. рисунок А.7 (приложение А)] s3 = s1.
5.1.5. Расчетная ширина
5.1.5.1. Ширину зоны укрепления в обечайках, переходах и днищах вычисляют по формуле
(19)
5.1.5.2. Расчетную ширину зоны укрепления в стенке обечайки, перехода или днища в окрестности штуцера при наличии торообразной вставки или вварного кольца [см. рисунок А.10 (приложение А)] вычисляют по формуле
lр = min{l; Lo}. (20)
В случае отбортовки [см. рисунок А.9 (приложение А)], а также при отсутствии торообразной вставки или вварного кольца
lр = Lо. (21)
5.1.5.3. Расчетную ширину накладного кольца вычисляют по формуле
5.1.5.4. Для отверстий, удаленных от других конструктивных элементов на расстояние Lк < Lo [см. рисунок А.4 (приложение А)], расчетную ширину lр, l2р определяют следующим образом:
- для зоны соединения обечайки с кольцом жесткости, плоским днищем, трубной решеткой [см. рисунок А.4а (приложение А)] - по формулам (20) или (21) и (22);
- для зоны соединения конической обечайки с другой обечайкой и обечайки с коническим или выпуклым днищем [см. рисунок А.4б (приложение А)], а также с фланцем или седловой опорой сосуда по формулам:
lр = Lк; l2р = min{l2; Lк}. (23)
5.1.6. Отношения допускаемых напряжений:
- для внешней части штуцера
![]()
- для накладного кольца
![]()
- для внутренней части штуцера
![]()
5.1.7. Расчетный диаметр отверстия, не требующий дополнительного укрепления
Расчетный диаметр отверстия, не требующий дополнительного укрепления, вычисляют по формуле
(24)
Отверстие считается одиночным, если ближайшее к нему отверстие не оказывает на него влияния, что имеет место, когда расстояние между наружными поверхностями соответствующих штуцеров [см. рисунок А.2 (приложение А)] удовлетворяет условию
5.2.1. Расчетный диаметр одиночного отверстия, не требующего укрепления, для сосудов под внутренним избыточным давлением
Расчетный диаметр одиночного отверстия, не требующего дополнительного укрепления при наличии избыточной толщины стенки сосуда, вычисляют по формуле
(26)
Если расчетный диаметр одиночного отверстия удовлетворяет условию
dр £ dо, (27)
то дальнейших расчетов укрепления отверстий не требуется.
В случае невыполнения условия (27) расчет укрепления проводят по 5.2.2 и 5.2.3.
5.2.2. Условие укрепления одиночных отверстий
5.2.2.1. В случае укрепления отверстия утолщением стенки сосуда или штуцера либо накладным кольцом, либо торообразной вставкой или отбортовкой должно выполняться условие
l1р · (s1 - s1p - cs) · χ1 + l2p · s2 · χ2 + l3р · (s3 - cs - cs1) · χ3 + lp · (s - sр - c) ³ 0,5(dp - dop) · sp. (28)
5.2.2.2. При укреплении отверстия штуцером произвольной формы [см. рисунок А.1 (приложение А)] условие укрепления выражается в общем виде
А1 + А3³ А = 0,5(dр - dop) · sp. (29)
Здесь площади A1 и A3 определяются без учета прибавок c, cs и расчетных толщин стенок штуцера s1p и сосуда sp.
Длины штуцера, учитываемые при определении площадей A1 и A3, вычисляют: l1р по формуле (17), l3р по формуле (18).
5.2.2.3. Расчет укрепления отверстия с помощью накладного кольца при необходимости определения площади этого кольца проводят по формуле
(30)
где A2 = l2p · s2 - площадь накладного кольца.
Если s2 > 2s, то накладные кольца рекомендуется устанавливать снаружи и изнутри сосуда или аппарата, причем толщина наружного кольца принимается 0,5s2, внутреннего - 0,5s2 + с.
5.2.3. Допускаемое внутреннее избыточное давление
Допускаемое внутреннее избыточное давление вычисляют по формуле
где K1 = 1 - для цилиндрических и конических обечаек;
K1 = 2 - для выпуклых днищ.
(32)
Для овального штуцера в этой формуле d = d1.
Если не выполнено условие (25), то расчет таких взаимовлияющих отверстий [см. рисунки А.2 и А.3 (приложение А)] выполняется следующим образом: вначале рассчитывают укрепления для каждого из этих отверстий отдельно в соответствии с 5.2, затем проверяется достаточность укрепления перемычки между отверстиями, для чего вычисляют допускаемое давление для перемычки по формуле
где
|
|
(34) |
При совместном укреплении двух взаимовлияющих отверстий общим накладным кольцом [см. рисунок А.8 (приложение А)] коэффициент понижения прочности вычисляют по формуле
|
|
(35) |
где ![]()
Для
овального штуцера в формулах (34) и (35)
и ![]()
Если ось сварного шва обечайки (днища) удалена от наружных поверхностей обоих штуцеров более чем на три толщины стенки укрепляемого элемента (3s) и не пересекает перемычку, то коэффициент прочности этого сварного шва в формулах (33), (34) и (35) следует принимать j = 1. В остальных случаях j £ 1 в зависимости от вида и качества этого сварного шва.
Коэффициенты
прочности продольных сварных швов штуцеров
и
, если
соответствующие сварные швы составляют на окружности штуцеров с линией,
соединяющей центры отверстий [см. рисунок А.12 (приложение А)],
центральные углы ψ' и ψ" не менее 60 °C.
В
остальных случаях
и
в зависимости от вида и
качества соответствующего сварного шва. Коэффициент K3 для
цилиндрических и конических обечаек вычисляют по формуле
(36)
Угол b определяется в соответствии с рисунком А.3, приложение А.
Для выпуклых днищ K3 = 1.
При укреплении двух близко расположенных отверстий другими способами нужно, чтобы половина площади, необходимой для укрепления в продольном сечении (см. рисунок А.2, приложение А), размещалась между этими отверстиями.
Для ряда отверстий [см. рисунок А.14 (приложение А)] коэффициент понижения прочности вычисляют по формуле
|
V
= min |
(37) |
Расчет по 5.3. не применим, если имеются взаимовлияющие отверстия и одно из них выполнено в соответствии с рисунком А.10, приложение А.
Допускаемое наружное давление вычисляют по формуле
|
|
(38) |
где [p]п - допускаемое наружное давление в пределах пластичности, определяемое по формуле (31) как допускаемое внутреннее избыточное давление для сосуда или аппарата с отверстием при j = 1,0;
[p]E - допускаемое наружное давление в пределах упругости, определяемое по ГОСТ Р 52857.2 - для соответствующих обечайки и днища без отверстий.
При наличии взаимного влияния отверстий [p]п определяется аналогично [p] по 5.3 для каждого отверстия в отдельности и для перемычки, а затем из полученных значений принимается меньшее.
Для обечаек или днищ с кольцами жесткости расчет проводят отдельно для каждого участка с отверстиями между соседними кольцами.
6.1. Цилиндрическая обечайка
6.1.1. Условия применения расчетных формул
Расчетные формулы применимы при выполнении следующих условий:
a) 0,001 £ s/Dc £ 0,1;
б) ![]()
где sэ - эквивалентная толщина обечайки и накладного кольца;
в)
расстояние от края штуцера до любого другого конструктивного элемента, где
возможна концентрация напряжений, должно быть не менее
;
г)
исполнительная толщина штуцера s1 должна быть на
длине не менее
.
6.1.2. Определение эквивалентной толщины стенки обечайки около штуцера
Эквивалентную толщину обечайки около штуцера вычисляют по формулам:
а) если накладного кольца нет, то sэ = s;
б)
если установлено накладное кольцо, то при ![]()

6.1.3. Определение допускаемых нагрузок
Допустимые значения давления, осевой нагрузки и изгибающих моментов определяются независимо друг от друга. Для оценки прочности узла врезки штуцера при совместном действии нагрузок используется выпуклая кривая предельного состояния.
6.1.3.1. Допускаемое давление для одиночного отверстия определяется по 5.2.3.
6.1.3.2. Допускаемое осевое усилие на штуцер [Fz] при отсутствии накладного кольца вычисляют по формуле
[Fz] = [s] · (s - с)2 · max[C1; 1, 81]. (39)
C1 определяют по графику, приведенному на рисунке А.16 (приложение А), или вычисляют по формуле
(40)
Параметр λс определяют при sэ = (s - c).
Коэффициенты а0 - а4 приведены в таблице 2.
6.1.3.3. Допускаемое осевое усилие на штуцер при наличии накладного кольца (при s1/sэ ³ 0,5) равно:
[Fz] = min{[Fz1]; [Fz2]}, (41)
где допускаемое осевое усилие [Fz1] из условия прочности в месте пересечения штуцера с обечайкой
[Fz1] = [s] · (s + χ2 · s2 - с)2 · max[С1; 1,81]. (42)
λс вычисляют при sэ, определяемой по 6.1.2.
Допускаемое осевое усилие [Fz2] из условия прочности у внешней кромки накладного кольца при s1/sэ ³ 0,5 вычисляют по формуле
[Fz2] = [s] · (s - с)2 · max[С1; 1,81]. (43)
λс определяют при dc = D2 и sэ = s - с.
С1 определяют по графику, приведенному на рисунке А.16 (приложение А), или вычисляют по формуле
(44)
a0 - a4 приведены в таблице 2.
6.1.3.4. Допускаемый изгибающий момент [Мх], действующий на штуцер в плоскости, перпендикулярной к оси сосуда, при отсутствии накладного кольца вычисляют по формуле
(45)
С2 определяют по графику, приведенному на рисунке А.17 (приложение А), или вычисляют по формуле
(46)
Коэффициенты a0 - a4 приведены в таблице 3.
6.1.3.5. Допускаемый изгибающий момент [Mx] при наличии накладного кольца (s1/sэ ³ 0,5) вычисляют по формуле
[Mx] = min{[Mx1]; [Mx2]}. (47)
Допускаемый изгибающий момент [Mx1] из условия прочности в месте пересечения штуцера с обечайкой вычисляют по формуле
(48)
λс вычисляют при sэ, определяемой по 6.1.2.
Допускаемый изгибающий момент [Мх2] из условия прочности у внешней кромки накладного кольца (при s1/sэ ³ 0,5) вычисляют по формуле
(49)
λс вычисляют при sэ = s - с и dc = D2.
С2 определяют по графику, приведенному на рисунке А.17 (приложение А), или вычисляют по формуле
(50)
a0 - a4 приведены в таблице 3.
6.1.3.6. Допускаемый изгибающий момент [My], действующий на штуцер в плоскости, совпадающей с осью сосуда, при отсутствии накладного кольца вычисляют по формуле
(51)
C3 определяют по графику, приведенному на рисунке А.18 (приложение А), в зависимости от λс или вычисляют по формуле:
(52)
λс вычисляют при sэ = s - с.
а0 - а4 приведены в таблице 4.
Если отношение s1/sэ находится между 0,2 и 0,5, то коэффициент С3 определяют с помощью линейной интерполяции.
6.1.3.7. Допускаемый изгибающий момент [My] при наличии накладного кольца (при s1/sэ ³ 0,5) равен:
[My] = min{[My1]; [Му2]}. (53)
Допускаемый изгибающий момент [My1] из условия прочности в месте пересечения штуцера с обечайкой вычисляют по формуле
(54)
C3 определяют по графику, приведенному на рисунке А.18 (приложение А), в зависимости от λс или вычисляют по формуле
(55)
λс определяют при sэ = s + χ2 · s2 - с.
a0 - a4 приведены в таблице 4.
Допускаемый изгибающий момент [My2] из условия прочности у внешней кромки накладного кольца вычисляют по формуле
(56)
С3 определяют по графику, приведенному на рисунке А.18 (приложение А), в зависимости от λс или вычисляют по формуле
(57)
λс определяется при dc = D2 и sэ = s - с.
а0 - а4 приведены в таблице 4.
Если отношение толщин s1/sэ находятся между 0,2 и 0,5, то коэффициент С3 на рисунке А.18 (приложение А) определяют при помощи линейной интерполяции.
6.1.4. Совместное действие нагрузок
Предварительно проверяют выполнение условий прочности для каждой нагрузки в отдельности:
(58)
(59)
(60)
Кроме того, определяют выполнение условий прочности при совместном действии нагрузок
(61)
C4 принимают равным 1,1, если нагрузка определялась с учетом стесненности температурных деформаций. В остальных случаях C4 = 1.
Фz определяют с учетом направления осевой нагрузки. Если осевая нагрузка направлена наружу от стенки, то Фz следует принимать со знаком плюс. Если Фz направлена в противоположном направлении, то в формуле (61) Фz следует принимать со знаком минус.
6.1.5. Проверка прочности штуцера
Максимальные продольные растягивающие напряжения в штуцере должны удовлетворять условию:
(62)
Fz следует принять равным нулю, если она создает сжимающее напряжение.
Кроме расчета на прочность, проводят расчет на устойчивость штуцера по формуле
(63)
где [М] и [F] - допускаемые изгибающий момент и сжимающая продольная сила соответственно;
[p] - допускаемое внешнее давление из условия устойчивости.
[M], [F] и [р] определяют по ГОСТ Р 52857.2 для обечайки штуцера.
Если Fz растягивающая продольная сила, а p - внутреннее избыточное давление, то в формуле (63) Fzи p надо принять равной нулю.
Таблица 2
|
s1/sэ |
a0 |
a1 |
a2 |
a3 |
a4 |
|
- |
0,60072181 |
0,95196257 |
0,0051957881 |
-0,001406381 |
0 |
Таблица 3
|
s1/sэ |
a0 |
a1 |
a2 |
a3 |
a4 |
|
- |
4,526315 |
0,064021889 |
0,15887638 |
-0,021419298 |
0,0010350407 |
Таблица 4
|
s1/sэ |
a0 |
a1 |
a2 |
a3 |
a4 |
|
£ 0,2 |
4,8844124 |
-0,071389214 |
0,79991259 |
-0,024155709 |
0 |
|
³ 0,5 |
6,3178075 |
-3,6618209 |
4,5145391 |
-0,83094839 |
0,050698494 |
6.2. Сферическое днище1)
___________
1) Расчет может быть применен для эллиптического днища, если расстояние от наружной кромки штуцера, измеренное по хорде, не более 0,4 наружного диаметра днища. Средний радиус днища Rc принимается равным радиусу в вершине эллиптического днища.
6.2.1. Условие применения расчетных формул
Формулы применимы при выполнении следующих условий:
а) 0,001 £ s/Rc £ 0,1.
Нижний
предел тонкостенности
следует выполнять, если толщина стенки
днища не превышает половины толщины стенки обечайки.
б) ![]()
где sэ - эквивалентная толщина днища и накладного кольца;
в)
расстояние от края штуцера до любого другого конструктивного элемента, где
возможна концентрация напряжений, не меньше, чем
;
г)
исполнительная толщина штуцера s1 должна быть на
длине не менее
.
6.2.2. Определение эквивалентной толщины стенки обечайки около штуцера
Эквивалентную толщину обечайки около штуцера вычисляют по формулам:
а) если накладного кольца нет, то sэ = s;
б)
если установлено накладное кольцо, то при ![]()
sэ = s + s2χ2,
если
,
то 
6.2.3. Определение допускаемых нагрузок
Допускаемые значения давления, осевой нагрузки и изгибающих моментов определяют независимо друг от друга. Для оценки прочности узла врезки штуцера при совместном действии нагрузок используется линейное суммирование повреждений.
6.2.3.1. Вспомогательные параметры

6.2.3.2. Допускаемое давление для одиночного отверстия определяют по 5.2.3.
6.2.3.3. Допускаемое осевое усилие на штуцер [F] при отсутствии накладного кольца определяют по графику, приведенному на рисунке А.19 (приложение А), или вычисляют по формуле
(64)
где λs и K4 вычисляют при sэ = s - c.
6.2.3.4. Допускаемое осевое усилие на штуцер [Fz] при наличии накладного кольца
[Fz] = min{[Fz1]; [Fz2]}, (65)
где допускаемое осевое усилие [Fz1] из условия прочности в месте пересечения штуцера с оболочкой определяют по графику, приведенному на рисунке А.19 (приложение А), или вычисляют по формуле
(66)
λs и K4 вычисляют при sэ = s + χ2s2 - c, определяемой по 6.2.2.
Допускаемое осевое усилие из условия прочности у внешней кромки накладного кольца вычисляют по формуле
(67)
где λs вычисляют при sэ = s - с и dc = D2, а параметр K4 = 1.
6.2.3.5. Допускаемый изгибающий момент [Мb] при отсутствии накладного кольца определяют по графику, приведенному на рисунке А.20 (приложение А), или вычисляют по формуле
(68)
где λs и K4 вычисляют при sэ = s - с.
6.2.3.6. Допускаемый изгибающий момент [Мb] при наличии накладного кольца вычисляют по формуле
[Mb] = min{[Мb1]; [Мb2]}, (69)
где [Мb1], допускаемый изгибающий момент из условия прочности в месте пересечения штуцера с днищем, определяют по графику, приведенному на рисунке А.20 (приложение А), или вычисляют по формуле
(70)
λs и K вычисляют при sэ, определяемой по 6.2.2.
Допускаемый изгибающий момент [Мb2] из условия прочности у внешней кромки накладного кольца определяют по графику, приведенному на рисунке А.20 (приложение А), или вычисляют по формуле
(71)
λs вычисляют при sэ = s - с и dc = D2, а параметр K4 = 1,0.
6.2.4. Совместное действие нагрузок
Предварительно проверяют условие прочности для каждой нагрузки в отдельности:
(72)
(73)
Кроме того, определяют выполнение условий прочности при совместном действии нагрузок
max(|Фp + Фz|; |Фz|; |Фp - 0,2Фz|) + |Фb| £ 1,0. (75)
6.2.5. Проверка прочности штуцера
Максимальные продольные растягивающие напряжения в штуцере должны удовлетворять условию
(76)
Если Fz создает сжимающее напряжение, то Fz следует принять равной нулю.
Устойчивость штуцера при p = 0 должна быть проверена по формуле
(77)
Если Fz растягивающая продольная сила, а p - внутреннее избыточное давление, то в формуле (77) Fz и р надо принять равными нулю.
[М] и [F] - допускаемые изгибающий момент и сжимающая продольная сила соответственно, определяемые из условий устойчивости по ГОСТ Р 52857.2.
Рисунок А.1 - Компенсация вырезанного сечения штуцером произвольной формы


Рисунок А.2 - Укрепление взаимовлияющих отверстий

Рисунок А.3 - Общий случай расположения взаимовлияющих отверстий
Рисунок А.4 - Укрепление отверстий при наличии близко расположенных конструктивных элементов (непроходящие штуцера)
Рисунок А.5 - Смещенные штуцера на выпуклом днище
Рисунок А.6 - Основная расчетная схема соединения штуцера со стенкой сосуда
Рисунок А.7 - Укрепление отверстий при наличии проходящего штуцера
а - укрепление круговым накладным кольцом

б - укрепление несимметричным кольцом
Рисунок А.8 - Совместное укрепление взаимовлияющих отверстий
Рисунок А.9 - Укрепление отверстий отбортовкой
Рисунок А.10 - Укрепление отверстия торообразной вставкой или вварным кольцом
Рисунок А.11 - Наклонные штуцера на обечайке
Рисунок А.12 - Учет влияния сварных швов
Рисунок А.13 - Отверстие для овального штуцера, перпендикулярного к поверхности обечайки
Рисунок А.14 - Ряды отверстий
а - цилиндрическая обечайка при внешних статических нагрузках на штуцер

б - сферическое днище при внешних статических нагрузках на штуцер
Рисунок А.15
Рисунок А.16 - График для определения С1
Рисунок А.17 - График для определения С2
Рисунок А.18 - График для определения С3
Рисунок А.19 - График для определения [Fz]
(верхняя кривая при K = 1; нижняя кривая - минимальное значение при K < 1,0)
Рисунок А.20 - График для определения [Мb]
(верхняя кривая при K = 1; нижняя кривая - минимальное значение при K < 1,0)
|
Ключевые слова: сосуды и аппараты, нормы и методы расчета на прочность, укрепления отверстий, допускаемые нагрузки, штуцера |