Меню
Навигация
Novatika

Шум машин. Измерение уровней звукового давления излучения на рабочем месте и в других контрольных точках. Метод с коррекциями на акустические условия

Стандарт распространяется на стационарные, передвигающиеся и переносные машины, механизмы и другое оборудование, эксплуатируемые в помещении или вне его и являющиеся источниками шума в воздушной среде, классифицируемого по ГОСТ 12.1.003, и устанавливает метод измерения уровней звукового давления излучения на рабочем месте, расположенном непосредственно у машины, в ее кабине, за частичным или полным звукозащитным ограждением (в выгородке), и в других контрольных точках в любом испытательном пространстве, которое удовлетворяет установленным к нему стандартом требованиям/

Обозначение: ГОСТ 30683-2000
Название рус.: Шум машин. Измерение уровней звукового давления излучения на рабочем месте и в других контрольных точках. Метод с коррекциями на акустические условия
Статус: действует
Заменен: ГОСТ ISO 11204-2016 «Шум машин. Определение уровней звукового давления излучения на рабочем месте и в других контрольных точках с точными коррекциями на свойства испытательного пространства»
Дата актуализации текста: 05.05.2017
Дата добавления в базу: 01.09.2013
Дата введения в действие: 01.01.2003
Утвержден: 03.04.2002 Госстандарт России (Russian Federation Gosstandart 126-ст)22.06.2000 Межгосударственный Совет по стандартизации, метрологии и сертификации (Inter-Governmental Council on Standardization, Metrology, and Certification 17)
Опубликован: ИПК Издательство стандартов (2002 г. )
Ссылки для скачивания:

ГОСТ 30683-2000

(ИСО 11204-95)

МЕЖГОСУДАРСТВЕННЫЙ СТАНДАРТ

ШУМ МАШИН

ИЗМЕРЕНИЕ УРОВНЕЙ
ЗВУКОВОГО ДАВЛЕНИЯ ИЗЛУЧЕНИЯ
НА РАБОЧЕМ МЕСТЕ И В ДРУГИХ
КОНТРОЛЬНЫХ ТОЧКАХ

МЕТОД С КОРРЕКЦИЯМИ НА АКУСТИЧЕСКИЕ УСЛОВИЯ

МЕЖГОСУДАРСТВЕННЫЙ СОВЕТ
ПО СТАНДАРТИЗАЦИИ, МЕТРОЛОГИИ И СЕРТИФИКАЦИИ

МИНСК

Предисловие

1 РАЗРАБОТАН Техническимкомитетом по стандартизации ТК 358 «Шум машин»

ВНЕСЕН Госстандартом России

2 ПРИНЯТ МежгосударственнымСоветом по стандартизации, метрологии и сертификации (протокол № 17 от 22 июня2000 г.).

За принятие проголосовали:

Наименование государства

Наименование национального органа по стандартизации

Азербайджанская республика

Азгосстандарт

Республика Армения

Армгосстандарт

Республика Беларусь

Госстандарт Республики Беларусь

Республика Казахстан

Госстандарт Республики Казахстан

Кыргызская Республика

Кыргызстандарт

Республика Молдова

Молдовастандарт

Республика Таджикистан

Таджикстандарт

Туркменистан

Главгосслужба «Туркменстандартлары»

Российская Федерация

Госстандарт России

Республика Узбекистан

Узгосстандарт

3 Стандарт соответствует международному стандарту ИСО 11204-95«Акустика. Шум, излучаемый машинами и оборудованием. Измерение уровней звуковогодавления излучения на рабочем месте и в других установленных точках. Метод,требующий коррекций на окружающую среду» в части требований проведения иобработки результатов измерений

4 Постановлением Государственного комитетаРоссийской Федерации по стандартизации и метрологии от 3 апреля 2002 г. №126-ст межгосударственный стандарт ГОСТ 30683-2000 (ИСО 11204-95) введен вдействие непосредственно в качестве государственного стандарта РоссийскойФедерации с 1 января 2003 г.

5 ВВЕДЕН ВПЕРВЫЕ

СОДЕРЖАНИЕ

1 Область применения. 2

2 Нормативные ссылки. 2

3 Определения. 3

4 Неопределенность измерений. 5

5 Средства измерения. 5

6 Условия измерений. 6

7 Измеряемые величины.. 6

8 Рассчитываемые величины.. 6

9 Установка и режим работы испытуемой машины.. 6

10 Измерения. 8

11 Положения микрофона. 9

12 Регистрируемая информация. 10

13 Данные, включаемые в протокол испытаний. 11

Приложение А Определение локальной коррекции на акустические условия К3 11

Приложение Б Пример испытательного стола. 14

Приложение В Указания по обнаружению импульсного шума. 14

Приложение Г Библиография. 15

Введение

Настоящий стандарт являетсяодним из серии стандартов, устанавливающих методы определения шумовыххарактеристик машин и оборудования. Метод измерения уровней звукового давленияизлучения на рабочем месте и в других контрольных точках вблизи машин,оборудования или их частей допускает проведение измерений в натурных условиях,позволяет определять и учитывать влияние акустических условий испытаний. Взависимости от значения локальной коррекции на акустические условия результатыизмерения соответствуют техническому методу (степень точности 2) илиориентировочному методу (степень точности 3).

ГОСТ30683-2000

(ИСО 11204-95)

 

МЕЖГОСУДАРСТВЕННЫЙ СТАНДАРТ            

Шум машин

ИЗМЕРЕНИЕ УРОВНЕЙ ЗВУКОВОГО ДАВЛЕНИЯ ИЗЛУЧЕНИЯ
НА РАБОЧЕМ МЕСТЕ И В ДРУГИХ КОНТРОЛЬНЫХ ТОЧКАХ

Метод с коррекциями на акустические условия

Noise of machines. Measurement of emission sound pressure levels at a work station and at other specified positions.
Method requiring environmental corrections

Дата введения2003-01-01

1Область применения

Настоящий стандарт распространяется настационарные, передвигающиеся и переносные машины, механизмы и другоеоборудование (далее - машины), эксплуатируемые в помещении или вне его иявляющиеся источниками шума в воздушной среде, классифицируемого по ГОСТ 12.1.003,и устанавливает метод измерения уровней звукового давления излучения на рабочемместе, расположенном непосредственно у машины, в ее кабине, за частичным илиполным звукозащитным ограждением (в выгородке), и в других контрольных точках влюбом испытательном пространстве, которое удовлетворяет установленным к немустандартом требованиям.

2Нормативные ссылки

В настоящем стандарте использованы ссылки наследующие стандарты:

ГОСТ 12.1.003-83 Системастандартов безопасности труда. Шум. Общие требования безопасности

ГОСТ12.1.025-81 Система стандартов безопасности труда. Шум. Определение шумовыххарактеристик источников шума в реверберационной камере. Точный метод

ГОСТ12.1.026-80* Система стандартов безопасности труда. Шум. Определениешумовых характеристик источников шума в свободном звуковом поле над звукоотражающейплоскостью. Технический метод

* На территории Российской Федерации действует ГОСТР 51401-99 (ИСО3744-94).

ГОСТ12.1.028-80** Система стандартов безопасности труда. Шум. Определениешумовых характеристик источников шума. Ориентировочный метод

**На территории Российской Федерации действует ГОСТР 51402-99 (ИСО3746-95).

ГОСТ17168-82 Фильтры электронные октавные и третьоктавные. Общие техническиетребования и методы испытаний

ГОСТ 17187-81Шумомеры. Общие технические требования и методы испытаний

ГОСТ30720-2001 (ИСО11203-95) Шум машин. Определение уровней звукового давления излучения нарабочем месте и в других контрольных точках по уровню звуковой мощности

3Определения

В настоящем стандарте применяются следующиетермины с соответствующими определениями.

3.1 излучение: Воздушный шум, излучаемый определеннымисточником звука (например, испытуемой машиной).

Примечание -В отличие от излучения, называемого также эмиссией, воздушный шум, создаваемыйвсеми функционирующими источниками, включающий также отражение и рассеиваниезвука на преградах и характеризующий шумовое воздействие (экспозицию) нанаходящихся в зоне его действия людей, называют имиссией.

3.2 звуковое давление излучения p (Па): Звуковое давление в заданной точке вблизиисточника шума при определенных рабочем режиме и условиях установки источникана звукоотражающей плоскости, когда исключено влияние фонового шума и отраженийот поверхностей, отличных от тех, которые допускаются для целей испытания.

3.3 уровень звукового давления излучения Lp (дБ): Десятикратный логарифм при основании,равном десяти, отношения квадрата звукового давления излучения, измеренного сопределенными временной и частотной характеристиками шумомера, выбранными изчисла установленных ГОСТ 17187,к опорному звуковому давлению p0 (p0 = 20 мкПа).

Примеры

1 Максимальный корректированный по частотнойхарактеристике А шумомера уровень звукового давления излучения (максимальныйуровень звука излучения) с временной характеристикой   (дБА).

2 Корректированный по частотнойхарактеристике С шумомера (далее - корректированный по С) пиковыйуровень звукового давления излучения:  (дБС).

3.3.1 эквивалентный уровень звуковогодавления излучения  (дБ): Усредненныйпо времени уровень звукового давления излучения, равный уровню звуковогодавления излучения постоянного шума, имеющего такое же среднее значение квадратазвукового давления, что и данный непостоянный шум за тот же период времениусреднения Т, равный продолжительности измерений.

Примечание -  рассчитывают поформуле

                                                           (1)

3.3.2 эквивалентный уровень звука излучения: Эквивалентный уровень звукового давления излучения,измеренный с частотной характеристикой А шумомера.

Примечание - Обычно обозначение  сокращают до .

3.3.3 пиковый уровень звукового давленияизлучения  (дБ): Наибольшее мгновенное значение уровня звукового давления излучения,полученное за рабочий цикл.

3.3.4 уровеньзвукового давления излучения единичного сигнала: Интегрированный по времени уровень звукового давленияизлучения одного отдельного звукового сигнала установленной продолжительности Т(или при установленной продолжительности измерений Т), нормированныйотносительно Т0 = 1 с.

Примечание -, дБ, рассчитывают по формуле

                                         (2)

3.4 показатель импульсного шума (импульсность) (дБ): Величина, спомощью которой шум может быть охарактеризован как импульсный.

3.5 свободное звуковое поле над звукоотражающей плоскостью: Звуковоеполе в однородной изотропной среде в полупространстве над бесконечной жесткойплоской поверхностью, на которой расположена испытуемая машина.

3.6 место оператора: Рабочее место вблизи испытуемой машины,предназначенное для оператора.

3.7 оператор: Лицо, рабочее местокоторого находится вблизи машины и которое выполняет рабочее задание, связанноес этой машиной.

3.8 контрольная точка: Точка,определяемая относительно машины, совпадающая или не совпадающая с местомоператора.

Примечание - Точка может быть единственной,либо может быть использовано несколько точек вдоль траектории обхода оператораили на поверхности, расположенной на заданном расстоянии от машины, какустановлено в соответствующем стандарте по испытаниям на шум. Точки,расположенные вблизи рабочего места либо вблизи необслуживаемой машины, гдемогут находиться лица, не являющиеся оператором (наблюдатели), называютвспомогательными.

3.9 операционный период: Периодвремени, в течение которого испытуемая машина выполняет заданную операцию.

3.10 рабочий цикл: Определеннаяпоследовательность операционных периодов при выполнении испытуемой машинойполного комплекса заданных работ.

Примечание - Каждый операционныйпериод соответствует определенному процессу, который может быть выполнен одинраз или может повторяться в течение рабочего цикла.

3.11 продолжительность измерений: Время,соответствующее части или нескольким операционным периодам или рабочим циклам,в течение которого для них определяют уровень звукового давления излучения илимаксимальный уровень звукового давления излучения.

3.12 уровнеграмма: Непрерывная записьуровня звукового давления как функции времени, получаемая в течение одного илиболее операционных периодов или рабочего цикла.

3.13 фоновый шум: Шум от всех источников,кроме испытуемой машины.

Примечание - Фоновый шум можетвключать воздушный шум, шум от вибрации конструкций, возбуждаемый испытуемоймашиной, электрический шум средств измерения.

3.14 уровень фонового шума (дБ):Уровень звукового давления, измеренный при выключенной испытуемой машине.

3.15 коррекция на фоновый шум К1:Величина для учета влияния фонового шума на уровень звукового давления вконтрольных точках.

Примечание - К1 зависит от частоты. Приприменении коррекции А величину К1А определяютпо измеренным значениям уровня звука или эквивалентного уровня звука.

3.16 показатель акустических условий К2(дБ): Величина для учета влияния отраженного либо поглощенного звука на уровеньзвукового давления на измерительной поверхности.

Примечание - К2 зависит от частоты. Приприменении коррекции А показатель обозначают К2А.

3.17 локальная коррекция на акустические условия К3(дБ): Величина для учета влияния отраженного звука на уровень звуковогодавления излучения в контрольной точке.

Примечание - К3 зависиткак от частоты, так и от положения точки. При применении коррекции Алокальную коррекцию обозначают К3А.

3.18 стандарт по испытаниям на шум: Документпо стандартизации (стандарт, правила или аттестованная национальным органом постандартизации методика испытаний, применимые к заданному типу или моделимашин), содержащий всю необходимую информацию для определения, заявления иконтроля шумовых характеристик в стандартизованных условиях.

4Неопределенность измерений

Неопределенность измерения обусловленаакустическими условиями и методикой измерений. Она зависит отсреднеквадратического отклонения воспроизводимости измерений sR, которое может быть неодинаково дляразличных контрольных точек, и от доверительной вероятности.Среднеквадратическое отклонение воспроизводимости измерений определяют спомощью повторных измерений, и оно должно быть указано в стандарте поиспытаниям на шум.

Среднеквадратическое отклонениевоспроизводимости корректированных по А измерений излучения может бытьне более 2,5 дБ (исключая изменения в режиме работы и условиях установкимашины) для технического метода и 5 дБ - для ориентировочного метода дляисточника, излучающего широкополосный шум с относительно равномерным спектром вдиапазоне от 100 до 10000 Гц.

Устанавливают следующие критерии,характеризующие степень точности, к которой могут быть отнесены результатыизмерений.

К3А £ 2 дБА - соответствует техническомуметоду (степень точности 2);

2 дБА < К3А£ 7 дБА- соответствует ориентировочному методу (степень точности 3).

Достигаемая степень точности зависит отположения контрольной точки.

5Средства измерения

Средства измерения, включая микрофон икабель, должны соответствовать требованиям класса 1 по ГОСТ 17187,октавные и третьоктавные фильтры - ГОСТ17168. Если применяют интегрирующие шумомеры, то они должны соответствоватьтребованиям, установленным в [1].

До или после проведения измерений средства измеренияследует калибровать калибратором звука с погрешностью в пределах ± 0,3 дБ наодной или нескольких частотах диапазона измерений.

6Условия измерений

6.1 Критерийсоответствия акустических условий

Показатель акустических условий К2А,определенный по методам ГОСТ12.1.026 или ГОСТ12.1.028, не должны превышать 7 дБА

6.2 Случай изолированного рабочего места

Если оператор находится в изолированнойкабине или выгородке, отдаленной от испытуемой машины, то кабину и выгородкурассматривают как неотъемлемую часть испытуемой машины. Отражения звука внутрикабины или выгородки рассматривают как добавление к уровню звукового давленияизлучения. Коррекцию на акустические условия не проводят.

Во время измерений двери и окна кабины или выгородкидолжны быть открыты либо закрыты, как указано в стандарте по испытаниям на шум.

В стандарте по испытаниям на шум должно бытьустановлено дополнительное условное рабочее место или место наблюдателя внекабины и выгородки.

6.3 Критерий фонового шума

Коррекцию на фоновый шум К1,дБ, определяют для каждой контрольной точки, в которой располагаютмикрофон, по формуле

К1 = -10lg(l- 10-0,1DL),                                                   (3)

где DL - разность между уровнями звукового давленияпри включенной и выключенной машине.

Если DL > 15 дБ, то считают К1 = 0. Если DL < 6 дБ (т.е. К1А> 1,3 дБ), то результат измерений считают недействительным.

6.4 Внешние условия измерений

Следует избегать сильных электрических имагнитных полей, ветра, высоких и низких температур, воздушного потока от испытуемоймашины, принимая соответствующие меры или выбирая соответствующее положениемикрофона.

6.5 Локальная коррекция на акустические условия

В приложении А описана методикаопределения локальной коррекции на акустические условия К3.

7Измеряемые величины

Измерению в каждой точке подлежат следующиевеличины:

- корректированный по А уровеньзвукового давления (уровень звука или эквивалентный уровень звука) L¢рА;

- корректированный по С пиковыйуровень звукового давления LpCpeak.

Допускаются измерения уровней звуковогодавления с другими частотными характеристиками; в октавных и третьоктавныхполосах частот; зависимостей уровней звукового давления от времени; уровнязвукового давления единичного сигнала и др.

Выбор измеряемой величины должен быть указанв стандарте по испытаниям на шум.

8Рассчитываемые величины

Рассчитываемые величины получают изизмеренных величин путем вычитания из них коррекции на фоновый шум К1и локальной коррекции на акустические условия К3. Дляпиковых уровней коррекции не проводят.

Уровень звука излучения или эквивалентныйуровень звука излучения LpA, дБА вычисляют по формуле

LpA = L¢pA - К1A - К,                                                       (4)

где L¢pA - измеренный уровень звука или эквивалентныйуровень звука, дБА

9Установка и режим работы испытуемой машины

9.1 Общие положения

Расположение, установка и режим работыиспытуемой машины должны быть указаны в стандарте по испытаниям на шум. Приизмерении уровней звукового давления излучения и уровней звуковой мощности (посоответствующим стандартам) расположение, установка и режим работы машиныдолжны быть одинаковыми.

Источники шума, работающие на столах, могутбыть установлены при испытании на полу.

В стандарте по испытаниям на шум для большихмашин должны быть даны указания относительно деталей, узлов, дополнительногооборудования, источников энергии и т.д., включаемых в состав машины.

9.2 Расположение источника шума

Испытуемую машину следует устанавливатьотносительно звукоотражающей плоскости в одном или нескольких положениях,соответствующих нормальному применению машины, и в отдалении от стен, потолка идругих звукоотражающих объектов. Может быть одна или несколько звукоотражающихплоскостей. Машина может быть установлена: на открытой площадке; в проеме стенытак, что она будет давать излучение одновременно по обе стороны стены какзвукоотражающей плоскости; другим образом, указываемом в стандарте поиспытаниям на шум.

9.3 Установка источника шума

Следует использовать или моделировать типовыеусловия установки, если такие имеются, принимать меры по снижению излученияопорными конструкциями. Многие малые источники шума могут вызывать вибрациюсвязанных с ними больших поверхностей и тем самым усиливать низкочастотный шум.Для предотвращения этого следует применять виброизолирующие прокладки, если онииспользуются при эксплуатации машины.

9.3.1 Ручные машины

Ручные машины должны быть подвешены илиудерживаться в руках, чтобы исключить шум от опорной конструкции. Еслииспользуется опорная конструкция, она должна быть небольшой, являться частьюиспытуемой машины и должна быть описана в стандарте по испытаниям на шум.

9.3.2 Машины и оборудование, устанавливаемыена полу и стене

Машины и оборудование должны располагаться назвукоотражающей плоскости (на полу или стене) либо на полу перед стеной, какуказано в условиях эксплуатации. Эксплуатируемые на столе машины следуетустанавливать при испытаниях на испытательном столе или подставке (консоли,стойке и т.д.) в соответствии со стандартом по испытаниям на шум. Испытательныйстол располагают на расстоянии не менее 1,5 м от звукоотражающих поверхностейиспытательного помещения.

Пример конструкции стола приведен вприложении Б.

9.4 Вспомогательное оборудование

Вспомогательное оборудование следуетрасполагать вне испытательного помещения. Если это невозможно, его включают всостав машины и описывают режим его работы в протоколе испытаний.

9.5 Режим работы машины во время испытаний

Соответствующий режим работы должен бытьуказан в стандарте по испытаниям на шум. Если такой код отсутствует, машинадолжна работать, если это возможно, в режиме, характерном для ее нормальногоиспользования. В этом случае должны быть выбраны один или несколько следующихрежимов:

а) при установленной нагрузке и заданномрежиме работы;

б) при полной нагрузке [если она отличаетсяот указанной в перечислении а)];

в) без нагрузки (холостой ход);

г) при режиме, соответствующем максимальномуизлучению, характерному для условий эксплуатации;

д) с моделируемой нагрузкой при заданныхусловиях;

е) в режиме работы с характерным рабочимциклом.

Испытания следует проводить при заданныхусловиях: температуре, влажности, числе оборотов и т.д. До начала испытаниймашина должна быть выведена на требуемый режим.

Если излучение зависит от видаобрабатываемого материала, вида инструмента, то следует определить типичныеусловия, обеспечивающие воспроизводимость результатов измерений.

В особых случаях результаты измерений приразных режимах работы можно объединять, рассчитывая среднеквадратическоезначение при различной продолжительности измерений в соответствии с 10.1.1на каждом из режимов.

Режимы работы машины во время измеренийдолжны быть детально описаны в протоколе испытаний.

10Измерения

10.1 Продолжительность измерений

10.1.1 Общие положения

Общая продолжительность измерений Т равнасумме продолжительностей измерений Ti, каждая из которых соответствует определенному операционному периоду. Вэтом случае обычно требуется рассчитать объединенный результат измерения уровнязвукового давления излучения. Уровень звука излучения или эквивалентный уровеньзвука излучения, соответствующий продолжительности измерений Т, дБ,рассчитывают по формуле

                                                (5)

где Т - общая продолжительность измерений, равная ;

Ti - продолжительность i-го измерения (повторного или на i-м операционном периоде);

N - общее число отдельных измерений или операционных периодов;

 - уровень звука излучения или эквивалентныйуровень звука излучения, соответствующий продолжительности измерений Ti.

Продолжительность измерений должнасоответствовать последовательности операционных периодов, для которых требуетсяопределить уровни звукового давления излучения и, когда необходимо, временнымхарактеристикам излучения. Значения величин Т и Ti должны быть такими же, как и при измерении посоответствующим стандартам уровня звуковой мощности машины. Эти значения должныбыть указаны в стандарте по испытаниям на шум.

10.1.2 Постоянный шум

Для постоянного шума продолжительностьизмерений на рабочем режиме должна быть не менее 15 с.

10.1.3 Непостоянный шум

Для непостоянного шума необходимо провестиисследования для определения продолжительности измерений и операционныхпериодов машины.

Продолжительность измерений и операционныепериоды указывают в стандарте по испытаниям на шум, если он имеется. Выбранныепродолжительности измерений и операционные периоды должны быть приведены впротоколе испытаний.

10.1.4 Измерения в полосах частот

Минимальная продолжительность измеренийдолжна составлять 30 с для полос со среднегеометрическими частотами, равнымиили менее 160 Гц, и 15 с - для полос со среднегеометрическими частотами,равными или более 200 Гц.

10.2 Методика измерения

10.2.1 Общие положения

Уровни звукового давления измеряют в течениехарактерного периода работы машины (см. 10.1.1) в контрольных точках.Шумомер по ГОСТ 17187используют в случае, если уровень звукового давления, измеренный с применениемвременной характеристики S, колеблется в пределах ± 3 дБ. За результат измерения принимаютсреднеарифметическое максимального и минимального значений. В противном случаеприменяют интегрирующий шумомер.

10.2.2 Повторение измерений

Для уменьшения неопределенности измеренийпроводят согласно стандарту по испытаниям на шум повторные измерения по шуму последующей методике:

а) испытуемую машину выключают и сновавключают, если возможно;

б) отодвигают микрофон и снова помещают его вконтрольной точке;

в) проводят измерения в одинаковыхакустических условиях, одинаковыми средствами, при той же продолжительностиизмерений, на одном и том же режиме работы и неизменных условиях монтажа.

Определяют среднее или максимальное значение,как указано в стандарте по испытаниям на шум.

10.2.3 Измерение импульсного шума и единичныхсигналов

Показатель импульсного шума определяют поприложению В.

Продолжительность измерений импульсного шумадолжна быть не менее времени прохождения 10 импульсов, если иное не установленов стандарте по испытаниям на шум. В качестве результата измерений принимаютсреднеарифметическое значение. При необходимости определения пикового значения  в качестве негопринимают наибольшее из измеренных пиковых значений.

Если машина издает единичные звуковые сигналы,следует определить уровень звукового давления излучения единичного сигнала Lp, 1s (см. 3.3.4)

11Положения микрофона

11.1 Общиеположения

Микрофон должен быть ориентирован повозможности в направлении наибольшего шума от испытуемой машины. Измерения,если это осуществимо, следует проводить при отсутствии оператора.

Одежда и головной убор оператора не должнысильно поглощать звук. В присутствии оператора микрофон располагают нарасстоянии (0,20 ± 0,02) м от середины головы оператора на уровне глаз по оси,параллельной направлению взгляда оператора, на той стороне, где значениевеличины LpA (уровень звука или эквивалентный уровень звука) максимально.

Если LpA существенно изменяется вблизи контрольной точки,следует определять среднее значение LpA в окрестности контрольной точки.

Положение микрофона должно соответствовать 11.2 - 11.5,если нет других указаний в стандарте по испытаниям на шум.

11.2 Положениемикрофона для оператора, работающего сидя

При выполнении измерений в отсутствиеоператора для машин с закрепленным сидением микрофон должен быть установлен навысоте (0,80 ± 0,05) м над серединой поверхности сиденья, если стандарт поиспытаниям на шум не содержит иных указаний.

Если сидение не является частью машины,положение микрофона должно быть установлено в стандарте по испытаниям на шум.При отсутствии такого стандарта положение микрофона указывают в протоколеиспытаний.

11.3 Положение микрофона для оператора, работающего стоя на одном месте

При выполнении измерений в присутствииоператора выполняют указания по 11.1. При отсутствии оператора микрофон долженбыть установлен на высоте (1,550 ± 0,075) м над опорной точкой, являющейся проекцией центра головыоператора на пол, если стандарт по испытаниям на шум не содержит другихуказаний.

11.4 Положение микрофона для оператора, перемещающегося вдольопределенной траектории

Микрофон должен быть установлен на высоте(1,550 ± 0,075) м над опорной линией, проходящей через проекции на пол серединыголовы перемещающегося оператора, если стандарт по испытаниям на шум несодержит иных указаний. Микрофон должен быть установлен во всех положениях,указанных в стандарте по испытаниям на шум. При отсутствии такого стандарта илиопределенных положений оператора должно быть выбрано не менее четыреххарактерных для представления звукового поля точек измерения вдоль траектории. Среднеквадратическоезначение уровня звука или эквивалентного уровня звука при измерениях по точкамвдоль траектории вычисляют по формуле (5). Допускается непрерывноеизмерение вдоль траектории с использованием интегрирующего шумомера.

Примечание - Если траектория лежит наизмерительной поверхности в виде прямоугольного параллелепипеда на одинаковомрасстоянии от огибающего параллелепипеда, рекомендуется метод, установленный ГОСТ30720.

11.5 Положениемикрофона для машины, находящейся под наблюдением

Если машина не имеет рабочего места, то встандарте по испытаниям на шум должно быть установлено условное рабочее местоили одна и более точек наблюдения. При отсутствии стандарта по испытаниям нашум измерения проводят в четырех и более точках, расположенных на расстоянии 1м от огибающего параллелепипеда по ГОСТ12.1.026, ГОСТ12.1.028 на высоте (1,550 ± 0,075) м над полом. Определяют максимальныйуровень звукового давления излучения и указывают точку, в которой измерено этозначение. Стандарт по испытаниям на шум может потребовать определения среднегоуровня звукового давления излучения в четырех и более точках.

Примечание - Вместо измерения вдискретных точках может быть более приемлемым использование уровня звуковогодавления на поверхности, рассчитанного по звуковой мощности в соответствии с ГОСТ30720.

12 Регистрируемаяинформация

12.1 Испытуемая машина

Описание машины, содержащее следующие данные:

- обозначение, тип;

- технические характеристики;

- размеры;

- данные об изготовителе;

- серийный номер;

- год изготовления.

12.2 Условия испытаний

- точное количественное описание режимаработы и, если нужно, операционных периодов и рабочего цикла;

- условия установки машины;

- расположение машины в испытательномпространстве;

- при наличии у испытуемой машины несколькихисточников шума, описание каждого из них, работающего при измерениях.

12.3 Акустические внешние условия

Описание испытательного пространства:

а) при измерении внутри помещения необходимоуказать:

- обработку стен, потолка и пола;

- схему расположения машины и находящихся впомещении других объектов;

- соответствие показателя акустическихусловий требованиям 6.1;

б) при измерении на открытой площадке даютсхему расположения машины относительно окружающей местности и приводятследующие данные:

- физические свойства испытательногопространства;

- температуру воздуха, атмосферное давление иотносительную влажность;

- скорость ветра.

12.4 Средства измерений:

а) аппаратура, применяемая при измерениях(наименование, тип, серийный номер, предприятие-изготовитель);

б) метод, применяемый для поверкиизмерительной системы (дата, место и результат поверки);

в) характеристики ветрозащитного экранамикрофона, если он применяется.

12.5 Расположение контрольных точек

Следует точно количественно описать положениевсех контрольных точек, в которых проводят измерения.

12.6 Акустические данные:

а) измеренные уровни звука или эквивалентныеуровни звука и уровни звукового давления в полосах частот в контрольных точках;

б) уровни звука излучения или эквивалентныеуровни звука излучения в контрольных точках;

в) корректированные по С пиковыеуровни звукового давления излучения, если измерялись;

г) уровни звука или эквивалентные уровнизвука фонового шума и коррекции на фоновый шум К1А вкаждой контрольной точке;

д) если требуется, уровни звукового давленияизлучения и коррекции на фоновый шум К1 в полосах частот;

е) коррекции на акустические условия К3Ав каждой контрольной точке;

ж) место и дата проведения измерений, а такжефамилия ответственного за испытания.

13Данные, включаемые в протокол испытаний

В протокол испытаний включают те данные поразделу 12,которые отвечают целям измерений и которые необходимы в соответствии стребованиями стандарта по испытаниям на шум, если он имеется. Кроме того,указывают:

- проведены ли измерения в полномсоответствии с требованиями настоящего стандарта или с отступлениями отуказанных требований (указать, какие допущены отступления);

- стандарт по испытаниям на шум, если онимеется;

- уровни звука излучения или эквивалентныеуровни звука излучения и звукового давления излучения, округленные до 0,5 дБ;

- коррекции на акустические условия в каждойконтрольной точке К3А;

- степень точности, которой соответствуют полученные результаты, т.е. реализованли технический или ориентировочный метод;

- место и дату проведения измерений, фамилиюответственного за испытания.

ПРИЛОЖЕНИЕ А

(обязательное)

Определение локальнойкоррекции на акустические условия К3

А.1 Общие положения

Коррекцию на акустические условия К3j в контрольной точке j в зависимости от располагаемых данных определяют либо на основепоказателя акустических условий К2 на измерительнойповерхности Sпо А.2,либо используя отношение A/S по А.3 (где А - эквивалентная площадь звукопоглощения в испытательномпомещении). Оба способа основаны на одинаковых предположениях и в принципе даютодинаковые значения К3.

Методы, приведенные в А.2 и А.3,неприменимы, если расстояние между контрольной точкой и ближайшей поверхностью машиныпревышает 3 м, либо имеются преграды, препятствующие распространению звука отисточника до контрольной точки.

А.2 Определениелокальной коррекции на акустические условия К3 наоснове показателя акустических условий К2.

Для случаев, когда  и К3j £ 7, и , и К3j £ 2, коррекцию К3j вычисляют по формуле

                                         (А.1)

где L¢j - уровень звукового давления, дБ, измеренныйв контрольной точке.

Примечание - В случае, когда оператордвижется по траектории, длина которой меньше максимального габаритного размераисточника, значение L¢jдолжно быть определено для траектории по измерениям в точках, равномернораспределенных по траектории. Значение L¢jдля траектории рассчитывают как среднеквадратическое значение результатовизмерений по точкам траектории.

Если длина траектории более максимальногогабаритного размера, используют один из методов по ГОСТ30720.

                                                   (А.2)

где L¢i - измеренные уровни звукового давления, дБ,в N точках измерительной поверхности по ГОСТ12.1.026 и ГОСТ12.1.028.

Если известен уровень звуковой мощности LW, то  определяют по формуле

                                                     (A.3)

где LS = 10lg(S/S0), дБ, (S -площадь измерительной поверхности, м2; S0 = 1 м2);

К2 - показатель акустическихусловий для измерительной поверхности S, для которой определено значение , определяемый по ГОСТ12.1.026 и ГОСТ12.1.028.

Формула (А.1) графически представленана рисунке А.1.

А.3 Определение локальной коррекции наакустические условия К3 на основе эквивалентнойплощади звукопоглощения в помещении А

Для случаев, когда  и К3j £ 7, и , и К3j £ 2, коррекцию K3j вычисляют по формуле

                                        (A.4)

где S -площадь измерительной поверхности, для которой было получено значение , м2;

А - эквивалентная площадь звукопоглощения в испытательном помещении, м2.

Величину А определяют приближеннымметодом по формуле

A = aSV,                                                                  (A.5)

где a - средний коэффициент звукопоглощения в помещении, приближенныезначения которого принимают по приложению 2 ГОСТ12.1.028;

SV - общая площадь поверхности испытательногопомещения (стены, потолок и пол), м2,

либо реверберационным методом по формуле

                                                            (А.6)

где V -объем испытательного помещения, м3;

Т - время реверберации испытательного помещения, с, определяемое длякорректированных по А измерений или в полосах частот согласно приложению4 ГОСТ12.1.025.

Вместо вычислений по формуле (А.4)можно воспользоваться графиком, представленным на рисунке А.2.

Рисунок А.1 - График для определения К3j по значению К2 и L¢j -

Рисунок А.2 - График для определения К3j по значению A/S и L¢3 -

ПРИЛОЖЕНИЕ Б

(справочное)

Пример испытательногостола

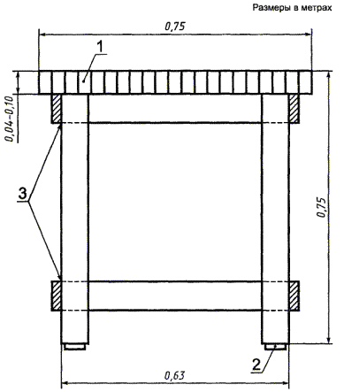
Испытательный стол представлен на рисунке Б.1.

Столешницу толщиной от 0,04 до 0,10 мнабирают из пластин фанеры. Площадь стола должна быть не менее 0,5 м2,ширина - не менее 0,7 м. В столешнице проделывают пазы и отверстия длякрепления машины и обеспечения ее работы.

1 - столешница из пластинфанеры; 2 - виброизолирующие прокладки; 3 - места скрепленияножек

Рисунок Б. 1 - Пример конструкциииспытательного стола

ПРИЛОЖЕНИЕ В

(справочное)

Указания пообнаружению импульсного шума

Шум признают импульсным по значениюпоказателя импульсного шума, сравниваемого с нормативным значением.

Показатель импульсного шума KI определяют по нижеприведенным формулам:

                                                    (В.1)

где  и  - эквивалентныеуровни звука, измеренные при временных характеристиках I и S шумомера не менее чем на десяти рабочихциклах в каждой контрольной точке при одном или нескольких положенияхмикрофона.

                                                    (В.2)

где  - корректированный поС пиковый уровень звукового давления на рабочем цикле;

 корректированный по С усредненный по времениуровень звукового давления, измеренный при временной характеристике S шумомера на том же рабочем цикле.

При единичных звуковых сигналах

                                                 (В.3)

где  и  - максимальныезначения корректированных по А уровней звукового давления для единичногосигнала, измеренные при временных характеристиках I и S шумомера.

При последовательности единичных звуковыхсигналов, следующих с интервалом 1 с и более, в качестве показателя импульсногошума принимают разность между корректированным по А среднеарифметическиммаксимальных значений уровней всех единичных сигналов, измеренных прихарактеристике Iшумомера, и максимальным уровнем, измеренным по совокупности сигналов прихарактеристике S шумомера.

При единичном импульсном сигнале

                                                 (В.4)

где  - корректированный поС пиковый уровень звукового давления;

 - корректированный по С максимальныйуровень звукового давления, измеренный при временной характеристике S шумомера.

ПРИЛОЖЕНИЕГ

(справочное)

Библиография

[1] МЭК 804-85 Интегрирующие шумомеры

Ключевые слова: шум, машина, оборудование,источник шума, излучение, звуковое давление излучения, место оператора,измерение звукового давления