Стандарт распространяется на метрические резьбы общего назначения с профилем по ГОСТ 9150, диаметрами и шагами по ГОСТ 8724.
| Обозначение: | ГОСТ 24705-2004 |
| Название рус.: | Основные нормы взаимозаменяемости. Резьба метрическая. Основные размеры |
| Статус: | взамен |
| Заменяет собой: | ГОСТ 24705-81 «Основные нормы взаимозаменяемости. Резьба метрическая. Основные размеры» |
| Дата актуализации текста: | 05.05.2017 |
| Дата добавления в базу: | 01.09.2013 |
| Дата введения в действие: | 01.07.2005 |
| Утвержден: | 26.05.2004 Межгосударственный Совет по стандартизации, метрологии и сертификации (Inter-Governmental Council on Standardization, Metrology, and Certification 25)02.03.2005 Федеральное агентство по техническому регулированию и метрологии (36-ст) |
| Опубликован: | Стандартинформ (2005 г. ) Стандартинформ (2006 г. ) Стандартинформ (2008 г. ) |
| Ссылки для скачивания: |
МЕЖГОСУДАРСТВЕННЫЙ
СОВЕТ ПО СТАНДАРТИЗАЦИИ, МЕТРОЛОГИИ И СЕРТИФИКАЦИИ
(МГС)
INTERSTATE COUNCIL FOR STANDARDIZATION, METROLOGY AND CERTIFICATION
(ISC)
|
МЕЖГОСУДАРСТВЕННЫЙ |
ГОСТ |
Основные нормы взаимозаменяемости
РЕЗЬБА МЕТРИЧЕСКАЯ
Основные размеры
ISO
724:1993
ISO
general-purpose metric screw threads -
Basic dimensions
(MOD)
Москва
Стандартинформ
2006
Предисловие
Цели, основные принципы и основной порядок проведения работ по межгосударственной стандартизации установлены ГОСТ 1.0-92 «Межгосударственная система стандартизации. Основные положения», ГОСТ 1.2-97 «Межгосударственная система стандартизации. Стандарты межгосударственные, правила, рекомендации по межгосударственной стандартизации. Порядок разработки, принятия, применения, обновления и отмены»
Сведения о стандарте
1 РАЗРАБОТАН Открытым акционерным обществом «Научно-исследовательским и конструкторским институтом средств измерения в машиностроении» (ОАО «НИИизмерения»)
2 ВНЕСЕН Госстандартом России
3 ПРИНЯТ Межгосударственным советом по стандартизации, метрологии и сертификации (протокол № 25 от 26 мая 2004 г.)
За принятие проголосовали:
|
Краткое наименование страны по
|
Код страны по МК |
Сокращенное наименование
национального органа по |
|
Азербайджан |
AZ |
Азстандарт |
|
Армения |
AM |
Армстандарт |
|
Беларусь |
BY |
Госстандарт Республики Беларусь |
|
Грузия |
GE |
Грузстандарт |
|
Казахстан |
KZ |
Госстандарт Республики Казахстан |
|
Кыргызстан |
KG |
Кыргызстандарт |
|
Молдова |
MD |
Молдова-Стандарт |
|
Российская Федерация |
RU |
Госстандарт России |
|
Таджикистан |
TJ |
Таджикстандарт |
|
Туркменистан |
TM |
Главгосслужба «Туркменстандартлары» |
|
Узбекистан |
UZ |
Узстандарт |
|
Украина |
UA |
Госпотребстандарт Украины |
4 Настоящий стандарт является модифицированным по отношению к международному стандарту ИСО 724:1993 «Резьба метрическая ИСО общего назначения. Основные размеры» (ISO 724:1993 «ISO general-purpose metric screw threads - Basic dimensions». При этом дополнительные положения, учитывающие потребности национальной экономики указанных выше государств и особенности межгосударственной стандартизации, выделены курсивом
5 Приказом Федерального агентства по техническому регулированию и метрологии от 2 марта 2005 г. № 36-ст межгосударственный стандарт ГОСТ 24705-2004 введен в действие непосредственно в качестве национального стандарта Российской Федерации с 1 июля 2005 г.
6 ВЗАМЕН ГОСТ 24705-81
Информация о введении в действие (прекращении действия) настоящего стандарта публикуется в указателе «Национальные стандарты».
Информация об изменениях к настоящему стандарту публпкуется в указателе «Нацпональные стандарты», а текст изменений - в информационных указателях «Национальные стандарты». В случае пересмотра или отмены настоящего стандарта соответствующая информация будет опубликована в информационном указателе «Национальные стандарты»
7 ПЕРЕИЗДАНИЕ. Январь 2006 г.
Переиздание (по состоянию на июнь 2008 г.)
Содержание
ГОСТ 24705-2004
(ИСО 724:1993)
МЕЖГОСУДАРСТВЕННЫЙ СТАНДАРТ
Основные нормы взаимозаменяемости
РЕЗЬБА МЕТРИЧЕСКАЯ
Основные размеры
Basic
norms of interchangeability.
Metric screw thread. Basic dimensions
Дата введения - 2005-07-01
Настоящий стандарт распространяется на метрические резьбы общего назначения с профилем по ГОСТ 9150, диаметрами и шагами по ГОСТ 8724.
В настоящем стандарте использованы ссылки на следующие межгосударственные стандарты:
ГОСТ 8724-2002 Основные нормы взаимозаменяемости. Резьба метрическая. Диаметры и шаги (ИСО 261-1998 «Метрическая резьба ИСО общего применения - Диаметры и шаги» (NEQ))
ГОСТ 9150-2002 Основные нормы взаимозаменяемости. Резьба метрическая. Профиль (ИСО 68-1:1998 «Резьбы ИСО общего назначения - Основной профиль - Часть 1: Метрическая резьба» (NEQ))
ГОСТ 11708-82 Основные нормы взаимозаменяемости. Резьба. Термины и определения
ГОСТ 16093-2004 Основные нормы взаимозаменяемости. Резьба метрическая. Допуски. Посадки с зазором (ИСО 965-1:1998 «Резьба метрическая ИСО общего назначения - Допуски - Часть 1: Общие положения и основные данные» (NEQ), ИСО 965-3:1998 «Резьба метрическая ИСО общего назначения - Допуски - Часть 3: Предельные отклонения для конструкционных резьб» (NEQ))
Примечание - При пользовании настоящим стандартом целесообразно проверить действие ссылочных стандартов по указателю «Национальные стандарты, составленному по состоянию на 1 января текущего года и по соответствующим информационным указателям, опубликованным в текущем году. Если ссылочный стандарт заменен (изменен), то при пользовании настоящим стандартом следует руководствоваться замененным (измененным) стандартом. Если ссылочный стандарт отменен без замены, то положение, в котором дана ссылка на него, применяется в части, не затрагивающей эту ссылку.
3.1 Термины и определения для резьбы: по ГОСТ 11708.
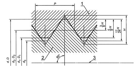
3.2 В настоящем стандарте приняты следующие обозначения:
D - номинальный наружный диаметр внутренней резьбы (номинальный диаметр резьбы), мм;
d - номинальный наружный диаметр наружной резьбы (номинальный диаметр резьбы), мм;
D2 - номинальный средний диаметр внутренней резьбы, мм;
d2 - номинальный средний диаметр наружной резьбы, мм;
D1 - номинальный внутренний диаметр внутренней резьбы, мм;
d1 - номинальный внутренний диаметр наружной резьбы, мм;
d3 - номинальный внутренний диаметр наружной резьбы по дну впадины (для расчета напряжений), мм;
Н - высота исходного треугольника резьбы, мм;
Р - шаг резьбы, мм.
4.1 Номинальные значения наружного, среднего и внутреннего диаметров резьбы должны соответствовать указанным на рисунке 1 и в таблице 1.
1 - внутренняя резьба; 2 - наружная резьба; 3 - ось резьбы
Рисунок 1
4.2 Значения диаметров вычисляют по формулам:
|
|
(1) |
|
|
(2) |
|
|
(3) |
|
|
(4) |
|
|
(5) |
Примечание - Номинальные значения диаметра d3 приведены для расчетов прочности
и определены исходя из среза по впадине наружной резьбы
. При расчетах
прочности следует учитывать верхнее отклонение es среднего диаметра d2 по ГОСТ
16093:
|
|
(6) |
Таблица 1
В миллиметрах
|
Номинальный диаметр |
Шаг Р |
Средний |
Внутренний |
Внутренний диаметр |
|
0,25 |
0,075 |
0,201 |
0,169 |
0,158 |
|
0,3 |
0,08 |
0,248 |
0,213 |
0,202 |
|
0,35 |
0,09 |
0,292 |
0,253 |
0,240 |
|
0,4 |
0,1 |
0,335 |
0,292 |
0,277 |
|
0,45 |
0,1 |
0,385 |
0,342 |
0,327 |
|
0,5 |
0,125 |
0,419 |
0,365 |
0,347 |
|
0,55 |
0,125 |
0,469 |
0,415 |
0,397 |
|
0,6 |
0,15 |
0,503 |
0,438 |
0,416 |
|
0,7 |
0,175 |
0,586 |
0,511 |
0,485 |
|
0,8 |
0,2 |
0,670 |
0,583 |
0,555 |
|
0,9 |
0,225 |
0,754 |
0,656 |
0,624 |
|
1 |
0,25 |
0,838 |
0,729 |
0,693 |
|
0,2 |
0,870 |
0,783 |
0,755 |
|
|
1,1 |
0,25 |
0,938 |
0,829 |
0,793 |
|
0,2 |
0,970 |
0,883 |
0,855 |
|
|
1,2 |
0,25 |
1,038 |
0,929 |
0,893 |
|
0,2 |
1,070 |
0,983 |
0,955 |
|
|
1,4 |
0,3 |
1,205 |
1,075 |
1,032 |
|
0,2 |
1,270 |
1,183 |
1,155 |
|
|
1,6 |
0,35 |
1,373 |
1,221 |
1,171 |
|
0,2 |
1,470 |
1,383 |
1,355 |
|
|
1,8 |
0,35 |
1,573 |
1,421 |
1,371 |
|
0,2 |
1,670 |
1,583 |
1,555 |
|
|
2 |
0,4 |
1,740 |
1,567 |
1,509 |
|
0,25 |
1,838 |
1,729 |
1,693 |
|
|
2,2 |
0,45 |
1,908 |
1,713 |
1,648 |
|
0,25 |
2,038 |
1,929 |
1,893 |
|
|
2,5 |
0,45 |
2,208 |
2,013 |
1,948 |
|
0,35 |
2,273 |
2,121 |
2,071 |
|
|
3 |
0,5 |
2,675 |
2,459 |
2,387 |
|
0,35 |
2,773 |
2,621 |
2,571 |
|
|
3,5 |
0,6 |
3,110 |
2,850 |
2,764 |
|
0,35 |
3,273 |
3,121 |
3,071 |
|
|
4 |
0,7 |
3,545 |
3,242 |
3,141 |
|
0,5 |
3,675 |
3,459 |
3,387 |
|
|
4,5 |
0,75 |
4,013 |
3,688 |
3,580 |
|
0,5 |
4,175 |
3,959 |
3,887 |
|
|
5 |
0,8 |
4,480 |
4,134 |
4,019 |
|
0,5 |
4,675 |
4,459 |
4,387 |
|
|
5,5 |
0,5 |
5,175 |
4,959 |
4,887 |
|
6 |
1 |
5,350 |
4,917 |
4,773 |
|
0,75 |
5,513 |
5,188 |
5,080 |
|
|
0,5 |
5,675 |
5,459 |
5,387 |
|
|
7 |
1 |
6,350 |
5,917 |
5,773 |
|
0,75 |
6,513 |
6,188 |
6,080 |
|
|
0,5 |
6,675 |
6,459 |
6,387 |
|
|
8 |
1,25 |
7,188 |
6,647 |
6,466 |
|
1 |
7,350 |
6,917 |
6,773 |
|
|
0,75 |
7,513 |
7,188 |
7,080 |
|
|
0,5 |
7,675 |
7,459 |
7,387 |
|
|
9 |
1,25 |
8,188 |
7,647 |
7,466 |
|
1 |
8,350 |
7,917 |
7,773 |
|
|
0,75 |
8,513 |
8,188 |
8,080 |
|
|
0,5 |
8,675 |
8,459 |
8,387 |
|
|
10 |
1,5 |
9,026 |
8,376 |
8,160 |
|
1,25 |
9,188 |
8,647 |
8,466 |
|
|
1 |
9,350 |
8,917 |
8,773 |
|
|
0,75 |
9,513 |
9,188 |
9,080 |
|
|
0,5 |
9,675 |
9,459 |
9,387 |
|
|
11 |
1,5 |
10,026 |
9,376 |
9,160 |
|
1 |
10,350 |
9,917 |
9,773 |
|
|
0,75 |
10,513 |
10,188 |
10,080 |
|
|
0,5 |
10,675 |
10,459 |
10,387 |
|
|
12 |
1,75 |
10,863 |
10,106 |
9,853 |
|
1,5 |
11,026 |
10,376 |
10,160 |
|
|
1,25 |
11,188 |
10,647 |
10,466 |
|
|
1 |
11,350 |
10,917 |
10,773 |
|
|
0,75 |
11,513 |
11,188 |
11,080 |
|
|
0,5 |
11,675 |
11,459 |
11,387 |
|
|
14 |
2 |
12,701 |
11,835 |
11,546 |
|
1,5 |
13,026 |
12,376 |
12,160 |
|
|
1,25 |
13,188 |
12,647 |
12,466 |
|
|
1 |
13,350 |
12,917 |
12,773 |
|
|
0,75 |
13,513 |
13,188 |
13,080 |
|
|
0,5 |
13,675 |
13,459 |
13,387 |
|
|
15 |
1,5 |
14,026 |
13,376 |
13,160 |
|
1 |
14,350 |
13,917 |
13,773 |
|
|
16 |
2 |
14,701 |
13,835 |
13,546 |
|
1,5 |
15,026 |
14,376 |
14,160 |
|
|
1 |
15,350 |
14,917 |
14,773 |
|
|
0,75 |
15,513 |
15,188 |
15,080 |
|
|
0,5 |
15,675 |
15,459 |
15,387 |
|
|
17 |
1,5 |
16,026 |
15,376 |
15,160 |
|
1 |
16,350 |
15,917 |
15,773 |
|
|
18 |
2,5 |
16,376 |
15,294 |
14,933 |
|
2 |
16,701 |
15,835 |
15,546 |
|
|
1,5 |
17,026 |
16,376 |
16,160 |
|
|
1 |
17,350 |
16,917 |
16,773 |
|
|
0,75 |
17,513 |
17,188 |
17,080 |
|
|
0,5 |
17,675 |
17,459 |
17,387 |
|
|
20 |
2,5 |
18,376 |
17,294 |
16,933 |
|
2 |
18,701 |
17,835 |
17,546 |
|
|
1,5 |
19,026 |
18,376 |
18,160 |
|
|
1 |
19,350 |
18,917 |
18,773 |
|
|
0,75 |
19,513 |
19,188 |
19,080 |
|
|
0,5 |
19,675 |
19,459 |
19,387 |
|
|
22 |
2,5 |
20,376 |
19,294 |
18,933 |
|
2 |
20,701 |
19,835 |
19,546 |
|
|
1,5 |
21,026 |
20,376 |
20,160 |
|
|
1 |
21,350 |
20,917 |
20,773 |
|
|
0,75 |
21,513 |
21,188 |
21,080 |
|
|
0,5 |
21,675 |
21,459 |
21,387 |
|
|
24 |
3 |
22,051 |
20,752 |
20,319 |
|
2 |
22,701 |
21,835 |
21,546 |
|
|
1,5 |
23,026 |
22,376 |
22,160 |
|
|
1 |
23,350 |
22,917 |
22,773 |
|
|
0,75 |
23,513 |
23,188 |
23,080 |
|
|
25 |
2 |
23,701 |
22,835 |
22,546 |
|
1,5 |
24,026 |
23,376 |
23,160 |
|
|
1 |
24,350 |
23,917 |
23,773 |
|
|
26 |
1,5 |
25,026 |
24,376 |
24,160 |
|
27 |
3 |
25,051 |
23,752 |
23,319 |
|
2 |
25,701 |
24,835 |
24,546 |
|
|
1,5 |
26,026 |
25,376 |
25,160 |
|
|
1 |
26,350 |
25,917 |
25,773 |
|
|
0,75 |
26,513 |
26,188 |
26,080 |
|
|
28 |
2 |
26,701 |
25,835 |
25,546 |
|
1,5 |
27,026 |
26,376 |
26,160 |
|
|
1 |
27,350 |
26,917 |
26,773 |
|
|
30 |
3,5 |
27,727 |
26,211 |
25,706 |
|
3 |
28,051 |
26,752 |
26,319 |
|
|
2 |
28,701 |
27,835 |
27,546 |
|
|
1,5 |
29,026 |
28,376 |
28,160 |
|
|
1 |
29,350 |
28,917 |
28,773 |
|
|
0,75 |
29,513 |
29,188 |
29,080 |
|
|
32 |
2 |
30,701 |
29,835 |
29,546 |
|
1,5 |
31,026 |
30,376 |
30,160 |
|
|
33 |
3,5 |
30,727 |
29,211 |
28,706 |
|
3 |
31,051 |
29,752 |
29,319 |
|
|
2 |
31,701 |
30,835 |
30,546 |
|
|
1,5 |
32,026 |
31,376 |
31,160 |
|
|
1 |
32,350 |
31,917 |
31,773 |
|
|
0,75 |
32,513 |
32,188 |
32,080 |
|
|
35 |
1,5 |
34,026 |
33,376 |
33,160 |
|
36 |
4 |
33,402 |
31,670 |
31,093 |
|
3 |
34,051 |
32,752 |
32,319 |
|
|
2 |
34,701 |
33,835 |
33,546 |
|
|
1,5 |
35,026 |
34,376 |
34,160 |
|
|
1 |
35,350 |
34,917 |
34,773 |
|
|
38 |
1,5 |
37,026 |
36,376 |
36,160 |
|
39 |
4 |
36,402 |
34,670 |
34,093 |
|
3 |
37,051 |
35,752 |
35,319 |
|
|
2 |
37,701 |
36,835 |
36,546 |
|
|
1,5 |
38,026 |
37,376 |
37,160 |
|
|
1 |
38,350 |
37,917 |
37,773 |
|
|
40 |
3 |
38,051 |
36,752 |
36,319 |
|
2 |
38,701 |
37,835 |
37,546 |
|
|
1,5 |
39,026 |
38,376 |
38,160 |
|
|
42 |
4,5 |
39,077 |
37,129 |
36,479 |
|
4 |
39,402 |
37,670 |
37,093 |
|
|
3 |
40,051 |
38,752 |
38,319 |
|
|
2 |
40,701 |
39,835 |
39,546 |
|
|
1,5 |
41,026 |
40,376 |
40,160 |
|
|
1 |
41,350 |
40,917 |
40,773 |
|
|
45 |
4,5 |
42,077 |
40,129 |
39,479 |
|
4 |
42,402 |
40,670 |
40,093 |
|
|
3 |
43,051 |
41,752 |
41,319 |
|
|
2 |
43,701 |
42,835 |
42,546 |
|
|
1,5 |
44,026 |
43,376 |
43,160 |
|
|
1 |
44,350 |
43,917 |
43,773 |
|
|
48 |
5 |
44,752 |
42,587 |
41,866 |
|
4 |
45,402 |
43,670 |
43,093 |
|
|
3 |
46,051 |
44,752 |
44,319 |
|
|
2 |
46,701 |
45,835 |
45,546 |
|
|
1,5 |
47,026 |
46,376 |
46,160 |
|
|
1 |
47,350 |
46,917 |
46,773 |
|
|
50 |
3 |
48,051 |
46,752 |
46,319 |
|
2 |
48,701 |
47,835 |
47,546 |
|
|
1,5 |
49,026 |
48,376 |
48,160 |
|
|
52 |
5 |
48,752 |
46,587 |
45,866 |
|
4 |
49,402 |
47,670 |
47,093 |
|
|
3 |
50,051 |
48,752 |
48,319 |
|
|
2 |
50,701 |
49,835 |
49,546 |
|
|
1,5 |
51,026 |
50,376 |
50,160 |
|
|
1 |
51,350 |
50,917 |
50,773 |
|
|
55 |
4 |
52,402 |
51,670 |
50,093 |
|
3 |
53,051 |
51,752 |
51,319 |
|
|
2 |
53,701 |
52,835 |
52,546 |
|
|
1,5 |
54,026 |
53,376 |
53,160 |
|
|
56 |
5,5 |
52,428 |
50,046 |
49,252 |
|
4 |
53,402 |
51,670 |
51,093 |
|
|
3 |
54,051 |
52,752 |
52,319 |
|
|
2 |
54,701 |
53,835 |
53,546 |
|
|
1,5 |
55,026 |
54,376 |
54,160 |
|
|
1 |
55,350 |
54,917 |
54,773 |
|
|
58 |
4 |
55,402 |
53,670 |
53,093 |
|
3 |
56,051 |
54,752 |
54,319 |
|
|
2 |
56,701 |
55,835 |
55,546 |
|
|
1,5 |
57,026 |
56,376 |
56,160 |
|
|
60 |
5,5 |
56,428 |
54,046 |
53,252 |
|
4 |
57,402 |
55,670 |
55,093 |
|
|
3 |
58,051 |
56,752 |
56,319 |
|
|
2 |
58,701 |
57,835 |
57,546 |
|
|
1,5 |
59,026 |
58,376 |
58,160 |
|
|
1 |
59,350 |
58,917 |
58,773 |
|
|
62 |
4 |
59,402 |
57,670 |
57,093 |
|
3 |
60,051 |
58,752 |
58,319 |
|
|
2 |
60,701 |
59,835 |
59,546 |
|
|
1,5 |
61,026 |
60,376 |
60,160 |
|
|
64 |
6 |
60,103 |
57,505 |
56,639 |
|
4 |
61,402 |
59,670 |
59,093 |
|
|
3 |
62,051 |
60,752 |
60,319 |
|
|
2 |
62,701 |
61,835 |
61,546 |
|
|
1,5 |
63,026 |
62,376 |
62,160 |
|
|
1 |
63,350 |
62,917 |
62,773 |
|
|
65 |
4 |
62,402 |
60,670 |
60,093 |
|
3 |
63,051 |
61,752 |
61,319 |
|
|
2 |
63,701 |
62,835 |
62,546 |
|
|
1,5 |
64,026 |
63,376 |
63,160 |
|
|
68 |
6 |
64,103 |
61,505 |
60,639 |
|
4 |
65,402 |
63,670 |
63,093 |
|
|
3 |
66,051 |
64,752 |
64,319 |
|
|
2 |
66,701 |
65,835 |
65,546 |
|
|
1,5 |
67,026 |
66,376 |
66,160 |
|
|
1 |
67,350 |
66,917 |
66,773 |
|
|
70 |
6 |
66,103 |
63,505 |
62,639 |
|
4 |
67,402 |
65,670 |
65,093 |
|
|
3 |
68,051 |
66,752 |
66,319 |
|
|
2 |
68,701 |
67,835 |
67,546 |
|
|
1,5 |
69,026 |
68,376 |
68,160 |
|
|
72 |
6 |
68,103 |
65,505 |
64,639 |
|
4 |
69,402 |
67,670 |
67,093 |
|
|
3 |
70,051 |
68,752 |
68,319 |
|
|
2 |
70,701 |
69,835 |
69,546 |
|
|
1,5 |
71,026 |
70,376 |
70,160 |
|
|
1 |
71,350 |
70,917 |
70,773 |
|
|
75 |
4 |
72,402 |
70,670 |
70,093 |
|
3 |
73,051 |
71,752 |
71,319 |
|
|
2 |
73,701 |
72,835 |
72,546 |
|
|
1,5 |
74,026 |
73,376 |
73,160 |
|
|
76 |
6 |
72,103 |
69,505 |
68,639 |
|
4 |
73,402 |
71,670 |
71,093 |
|
|
3 |
74,051 |
72,752 |
72,319 |
|
|
2 |
74,701 |
73,835 |
73,546 |
|
|
1,5 |
75,026 |
74,376 |
74,160 |
|
|
1 |
75,350 |
74,917 |
74,773 |
|
|
78 |
2 |
76,701 |
75,835 |
75,546 |
|
80 |
6 |
76,103 |
73,505 |
72,639 |
|
4 |
77,402 |
75,670 |
75,093 |
|
|
3 |
78,051 |
76,752 |
76,319 |
|
|
2 |
78,701 |
77,835 |
77,546 |
|
|
1,5 |
79,026 |
78,376 |
78,160 |
|
|
1 |
79,350 |
78,917 |
78,773 |
|
|
82 |
2 |
80,701 |
79,835 |
79,546 |
|
85 |
6 |
81,103 |
78,505 |
77,639 |
|
4 |
82,402 |
80,670 |
80,093 |
|
|
3 |
83,051 |
81,752 |
81,319 |
|
|
2 |
83,701 |
82,835 |
82,546 |
|
|
1,5 |
84,026 |
83,376 |
83,160 |
|
|
90 |
6 |
86,103 |
83,505 |
82,639 |
|
4 |
87,402 |
85,670 |
85,093 |
|
|
3 |
88,051 |
86,752 |
86,319 |
|
|
2 |
88,701 |
87,835 |
87,546 |
|
|
1,5 |
89,026 |
88,376 |
88,160 |
|
|
95 |
6 |
91,103 |
88,505 |
87,639 |
|
4 |
92,402 |
90,670 |
90,093 |
|
|
3 |
93,051 |
91,752 |
91,319 |
|
|
2 |
93,701 |
92,835 |
92,546 |
|
|
1,5 |
94,026 |
93,376 |
93,160 |
|
|
100 |
6 |
96,103 |
93,505 |
92,639 |
|
4 |
97,402 |
95,670 |
95,093 |
|
|
3 |
98,051 |
96,752 |
96,319 |
|
|
2 |
98,701 |
97,835 |
97,546 |
|
|
1,5 |
99,026 |
98,376 |
98,160 |
|
|
105 |
6 |
101,103 |
98,505 |
97,639 |
|
4 |
102,402 |
100,670 |
100,093 |
|
|
3 |
103,051 |
101,752 |
101,319 |
|
|
2 |
103,701 |
102,835 |
102,546 |
|
|
1,5 |
104,026 |
103,376 |
103,160 |
|
|
110 |
6 |
106,103 |
103,505 |
102,639 |
|
4 |
107,402 |
105,670 |
105,093 |
|
|
3 |
108,051 |
106,752 |
106,319 |
|
|
2 |
108,701 |
107,835 |
107,546 |
|
|
1,5 |
109,026 |
108,376 |
108,160 |
|
|
115 |
6 |
111,103 |
108,505 |
107,639 |
|
4 |
112,402 |
110,670 |
110,093 |
|
|
3 |
113,051 |
111,752 |
111,319 |
|
|
2 |
113,701 |
112,835 |
112,546 |
|
|
1,5 |
114,026 |
113,376 |
113,160 |
|
|
120 |
6 |
116,103 |
113,505 |
112,639 |
|
4 |
117,402 |
115,670 |
115,093 |
|
|
3 |
118,051 |
116,752 |
116,319 |
|
|
2 |
118,701 |
117,835 |
117,546 |
|
|
1,5 |
119,026 |
118,376 |
118,160 |
|
|
125 |
8 |
119,804 |
116,340 |
115,185 |
|
6 |
121,103 |
128,505 |
127,639 |
|
|
4 |
122,402 |
120,670 |
120,093 |
|
|
3 |
123,051 |
121,752 |
121,319 |
|
|
2 |
123,701 |
122,835 |
122,546 |
|
|
1,5 |
124,026 |
123,376 |
123,160 |
|
|
130 |
8 |
124,804 |
121,340 |
120,185 |
|
6 |
126,103 |
123,505 |
122,639 |
|
|
4 |
127,402 |
125,670 |
125,093 |
|
|
3 |
128,051 |
126,752 |
126,319 |
|
|
2 |
128,701 |
127,835 |
127,546 |
|
|
1,5 |
129,026 |
128,376 |
128,160 |
|
|
135 |
6 |
131,103 |
128,505 |
127,639 |
|
4 |
132,402 |
130,670 |
130,093 |
|
|
3 |
133,051 |
131,752 |
131,319 |
|
|
2 |
133,701 |
132,835 |
132,546 |
|
|
1,5 |
134,026 |
133,376 |
133,160 |
|
|
140 |
8 |
134,804 |
131,340 |
130,185 |
|
6 |
136,103 |
133,505 |
132,639 |
|
|
4 |
137,402 |
135,670 |
135,093 |
|
|
3 |
138,051 |
136,752 |
136,319 |
|
|
2 |
138,701 |
137,835 |
137,546 |
|
|
1,5 |
139,026 |
138,376 |
138,160 |
|
|
145 |
6 |
141,103 |
138,505 |
137,639 |
|
4 |
142,402 |
140,670 |
140,093 |
|
|
3 |
143,051 |
141,752 |
141,319 |
|
|
2 |
143,701 |
142,835 |
142,546 |
|
|
1,5 |
144,026 |
143,376 |
143,160 |
|
|
150 |
8 |
144,804 |
141,340 |
140,185 |
|
6 |
146,103 |
143,505 |
142,639 |
|
|
4 |
147,402 |
145,670 |
145,093 |
|
|
3 |
148,051 |
146,752 |
146,319 |
|
|
2 |
148,701 |
147,835 |
147,546 |
|
|
1,5 |
149,026 |
148,376 |
148,160 |
|
|
155 |
6 |
151,103 |
148,505 |
147,639 |
|
4 |
152,402 |
150,670 |
150,093 |
|
|
3 |
153,051 |
151,752 |
151,319 |
|
|
2 |
153,701 |
152,835 |
152,546 |
|
|
160 |
8 |
154,804 |
151,340 |
150,185 |
|
6 |
156,103 |
153,505 |
152,639 |
|
|
4 |
157,402 |
155,670 |
155,093 |
|
|
3 |
158,051 |
156,752 |
156,319 |
|
|
2 |
158,701 |
157,835 |
157,546 |
|
|
165 |
6 |
161,103 |
158,505 |
157,639 |
|
4 |
162,402 |
160,670 |
160,093 |
|
|
3 |
163,051 |
161,752 |
161,319 |
|
|
2 |
163,701 |
162,835 |
162,546 |
|
|
170 |
8 |
164,804 |
161,340 |
160,185 |
|
6 |
166,103 |
163,505 |
162,639 |
|
|
4 |
167,402 |
165,670 |
165,093 |
|
|
3 |
168,051 |
166,752 |
166,319 |
|
|
2 |
168,701 |
167,835 |
167,546 |
|
|
175 |
6 |
171,103 |
168,505 |
167,639 |
|
4 |
172,402 |
170,670 |
170,093 |
|
|
3 |
173,051 |
171,752 |
171,319 |
|
|
2 |
173,701 |
172,835 |
172,546 |
|
|
180 |
8 |
174,804 |
171,340 |
170,185 |
|
6 |
176,103 |
173,505 |
172,639 |
|
|
4 |
177,402 |
175,670 |
175,093 |
|
|
3 |
178,051 |
176,752 |
176,319 |
|
|
2 |
178,701 |
177,835 |
177,546 |
|
|
185 |
6 |
181,103 |
178,505 |
177,639 |
|
4 |
182,402 |
180,670 |
180,093 |
|
|
3 |
183,051 |
181,752 |
181,319 |
|
|
2 |
183,701 |
182,835 |
182,546 |
|
|
190 |
8 |
184,804 |
181,340 |
180,185 |
|
6 |
186,103 |
183,505 |
182,639 |
|
|
4 |
187,402 |
185,670 |
185,093 |
|
|
3 |
188,051 |
186,752 |
186,319 |
|
|
2 |
188,701 |
187,835 |
187,546 |
|
|
195 |
6 |
191,103 |
188,505 |
187,639 |
|
4 |
192,402 |
190,670 |
190,093 |
|
|
3 |
193,051 |
191,752 |
191,319 |
|
|
2 |
193,701 |
192,835 |
192,546 |
|
|
200 |
8 |
194,804 |
191,340 |
190,185 |
|
6 |
196,103 |
193,505 |
192,639 |
|
|
4 |
197,402 |
195,670 |
195,093 |
|
|
3 |
198,051 |
196,752 |
196,319 |
|
|
2 |
198,701 |
197,835 |
197,546 |
|
|
205 |
6 |
201,103 |
198,505 |
197,639 |
|
4 |
202,402 |
200,670 |
200,093 |
|
|
3 |
203,051 |
201,752 |
201,319 |
|
|
210 |
8 |
204,804 |
201,340 |
200,185 |
|
6 |
206,103 |
203,505 |
202,639 |
|
|
4 |
207,402 |
205,670 |
205,093 |
|
|
3 |
208,051 |
206,752 |
206,319 |
|
|
215 |
6 |
211,103 |
208,505 |
207,639 |
|
4 |
212,402 |
210,670 |
210,093 |
|
|
3 |
213,051 |
211,752 |
211,319 |
|
|
220 |
8 |
214,804 |
211,340 |
210,185 |
|
6 |
216,103 |
213,505 |
212,639 |
|
|
4 |
217,402 |
215,670 |
215,093 |
|
|
3 |
218,051 |
216,752 |
216,319 |
|
|
225 |
6 |
221,103 |
218,505 |
217,639 |
|
4 |
222,402 |
220,670 |
220,093 |
|
|
3 |
223,051 |
221,752 |
221,319 |
|
|
230 |
8 |
224,804 |
221,340 |
220,185 |
|
6 |
226,103 |
223,505 |
222,639 |
|
|
4 |
227,402 |
205,670 |
225,093 |
|
|
3 |
228,051 |
226,752 |
226,319 |
|
|
235 |
6 |
231,103 |
228,505 |
227,639 |
|
4 |
232,402 |
230,670 |
230,093 |
|
|
3 |
233,051 |
231,752 |
231,319 |
|
|
240 |
8 |
234,804 |
231,340 |
230,185 |
|
6 |
236,103 |
233,505 |
232,639 |
|
|
4 |
237,402 |
235,670 |
235,093 |
|
|
3 |
238,051 |
236,752 |
236,319 |
|
|
245 |
6 |
241,103 |
238,505 |
237,639 |
|
4 |
242,402 |
240,670 |
240,093 |
|
|
3 |
243,051 |
241,752 |
241,319 |
|
|
250 |
8 |
244,804 |
241,340 |
240,185 |
|
6 |
246,103 |
243,505 |
242,639 |
|
|
4 |
247,402 |
245,670 |
245,093 |
|
|
3 |
248,051 |
246,752 |
246,319 |
|
|
255 |
6 |
251,103 |
248,505 |
247,639 |
|
4 |
252,402 |
250,670 |
250,093 |
|
|
3 |
253,051 |
251,752 |
251,319 |
|
|
260 |
8 |
254,804 |
251,340 |
250,185 |
|
6 |
256,103 |
253,505 |
252,639 |
|
|
4 |
257,402 |
255,670 |
255,093 |
|
|
3 |
258,051 |
256,752 |
256,319 |
|
|
265 |
6 |
261,103 |
258,505 |
257,639 |
|
4 |
262,402 |
260,670 |
260,093 |
|
|
3 |
263,051 |
261,752 |
261,319 |
|
|
270 |
8 |
264,804 |
261,340 |
260,185 |
|
6 |
266,103 |
263,505 |
262,639 |
|
|
4 |
267,402 |
265,670 |
265,093 |
|
|
3 |
268,051 |
266,752 |
266,319 |
|
|
275 |
6 |
271,103 |
268,505 |
267,639 |
|
4 |
272,402 |
270,670 |
270,093 |
|
|
3 |
273,051 |
271,752 |
271,319 |
|
|
280 |
8 |
274,804 |
271,340 |
270,185 |
|
6 |
276,103 |
273,505 |
272,639 |
|
|
4 |
277,402 |
275,670 |
275,093 |
|
|
3 |
278,051 |
276,752 |
276,319 |
|
|
285 |
6 |
281,103 |
278,505 |
277,639 |
|
4 |
282,402 |
280,670 |
280,093 |
|
|
3 |
283,051 |
281,752 |
281,319 |
|
|
290 |
8 |
284,804 |
281,340 |
280,185 |
|
6 |
286,103 |
283,505 |
282,639 |
|
|
4 |
287,402 |
285,670 |
285,093 |
|
|
3 |
288,051 |
206,752 |
286,319 |
|
|
295 |
6 |
291,103 |
288,505 |
287,639 |
|
4 |
292,402 |
290,670 |
290,093 |
|
|
3 |
293,051 |
291,752 |
291,319 |
|
|
300 |
8 |
294,804 |
291,340 |
290,185 |
|
6 |
296,103 |
293,505 |
292,639 |
|
|
4 |
297,402 |
295,670 |
295,093 |
|
|
3 |
298,051 |
296,752 |
296,319 |
|
|
310 |
6 |
306,103 |
303,505 |
302,639 |
|
4 |
307,402 |
305,670 |
305,093 |
|
|
320 |
8 |
314,804 |
311,340 |
310,185 |
|
6 |
316,103 |
313,505 |
312,639 |
|
|
4 |
317,402 |
315,670 |
315,093 |
|
|
330 |
6 |
326,103 |
323,505 |
322,639 |
|
4 |
327,402 |
325,670 |
325,093 |
|
|
340 |
8 |
334,804 |
331,340 |
330,185 |
|
6 |
336,103 |
333,505 |
332,639 |
|
|
4 |
337,402 |
335,670 |
335,093 |
|
|
350 |
6 |
346,103 |
343,505 |
342,639 |
|
4 |
347,402 |
345,670 |
345,093 |
|
|
360 |
8 |
354,804 |
351,340 |
350,185 |
|
6 |
356,103 |
353,505 |
352,639 |
|
|
4 |
357,402 |
355,670 |
355,093 |
|
|
370 |
6 |
366,103 |
363,505 |
362,639 |
|
4 |
367,402 |
365,670 |
365,093 |
|
|
380 |
8 |
374,804 |
371,340 |
370,185 |
|
6 |
376,103 |
373,505 |
372,639 |
|
|
4 |
377,402 |
375,670 |
375,093 |
|
|
390 |
6 |
386,103 |
383,505 |
382,639 |
|
4 |
387,402 |
385,670 |
385,093 |
|
|
400 |
8 |
394,804 |
391,340 |
390,185 |
|
6 |
396,103 |
393,505 |
392,639 |
|
|
4 |
397,402 |
395,670 |
395,093 |
|
|
410 |
6 |
406,103 |
403,505 |
402,639 |
|
420 |
8 |
414,804 |
411,340 |
410,185 |
|
6 |
416,103 |
413,505 |
412,639 |
|
|
430 |
6 |
426,103 |
423,505 |
422,639 |
|
440 |
8 |
434,804 |
431,340 |
430,185 |
|
6 |
436,103 |
433,505 |
432,639 |
|
|
450 |
6 |
446,103 |
443,505 |
442,639 |
|
460 |
8 |
454,804 |
451,340 |
450,185 |
|
6 |
456,103 |
453,505 |
452,639 |
|
|
470 |
6 |
466,103 |
463,505 |
462,639 |
|
480 |
8 |
474,804 |
471,340 |
470,185 |
|
6 |
476,103 |
473,505 |
472,639 |
|
|
490 |
6 |
486,103 |
483,505 |
482,639 |
|
500 |
8 |
494,804 |
491,340 |
490,185 |
|
6 |
496,103 |
493,505 |
492,639 |
|
|
510 |
6 |
506,103 |
503,505 |
502,639 |
|
520 |
8 |
514,804 |
511,340 |
510,185 |
|
6 |
516,103 |
513,505 |
512,639 |
|
|
530 |
6 |
526,103 |
523,505 |
522,639 |
|
540 |
8 |
534,804 |
531,340 |
530,185 |
|
6 |
536,103 |
533,505 |
532,639 |
|
|
550 |
6 |
546,103 |
543,505 |
542,639 |
|
560 |
8 |
554,804 |
551,340 |
550,185 |
|
6 |
556,103 |
553,505 |
552,639 |
|
|
570 |
6 |
566,103 |
563,505 |
562,639 |
|
580 |
8 |
574,804 |
571,340 |
570,185 |
|
6 |
576,103 |
573,505 |
572,639 |
|
|
590 |
6 |
586,103 |
583,505 |
582,639 |
|
600 |
8 |
594,804 |
591,340 |
590,185 |
|
6 |
596,103 |
593,505 |
592,639 |
Ключевые слова: резьба, метрическая резьба, размеры