Стандарт устанавливает основные типы, конструктивные элементы и размеры сварных соединений из сталей, а также сплавов на железоникелевой и никелевой основах, выполняемых дуговой сваркой в защитном газе. Стандарт не устанавливает основные типы, конструктивные элементы и размеры сварных соединений стальных трубопроводов по ГОСТ 16037-80.
| Обозначение: | ГОСТ 14771-76* |
| Название рус.: | Дуговая сварка в защитном газе. Соединения сварные. Основные типы, конструктивные элементы и размеры |
| Статус: | действующий |
| Заменяет собой: | ГОСТ 14771-69 |
| Дата актуализации текста: | 01.10.2008 |
| Дата добавления в базу: | 01.02.2009 |
| Дата введения в действие: | 01.07.1977 |
| Разработан: | НПО "ЦНИИТМАШ" |
| Утвержден: | Госстандарт СССР (28.07.1976) |
| Опубликован: | Издательство стандартов № 1991 |

ГОСУДАРСТВЕННЫЙСТАНДАРТ СОЮЗА ССР
СВАРКА, ПАЙКА И ТЕРМИЧЕСКАЯРЕЗКА МЕТАЛЛОВ
ЧАСТЬ 3
ГОСТ 14771-76*
ИЗДАТЕЛЬСТВО СТАНДАРТОВ
Москва
1991
ГОСУДАРСТВЕННЫЙСТАНДАРТ СОЮЗА ССР
| ДУГОВАЯ СВАРКА В ЗАЩИТНОМ ГАЗЕ. СОЕДИНЕНИЯ СВАРНЫЕ Основные типы, конструктивные элементы и размеры Gas-shielded arc welding. Welded joints. Main types, design elements and dimensions | ГОСТ 14771-76* |
Срок действия с 01.07.77 до 01.07.92
1. Настоящий стандартустанавливает основные типы, конструктивные элементы и размеры сварных соединенийиз сталей, а также сплавов на железоникелевой и никелевой основах, выполняемыхдуговой сваркой в защитном газе.
Стандарт не устанавливаетосновные типы, конструктивные элементы и размеры сварных соединений стальныхтрубопроводов по ГОСТ16037-80.
2. В стандарте приняты следующиеобозначения способов сварки:
ИН - в инертных газахнеплавящимся электродом без присадочного металла;
ИНп - в инертных газахнеплавящимся электродом с присадочным металлом;
ИП - в инертных газах и ихсмесях с углекислым газом и кислородом плавящимся электродом;
УП - в углекислом газе и егосмеси с кислородом плавящимся электродом.
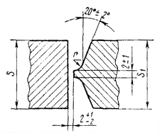
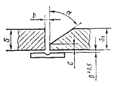
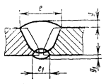
3. Основные типы сварныхсоединений должны соответствовать указанным в табл.1.
Таблица 1
| Тип соединения | Форма подготовленных кромок | Характер выполненного шва | Форма поперечного сечения | Толщина свариваемых деталей, мм, для способов сварки | Условное обозначение сварного соединения | ||||
| подготовленных кромок | выполненного шва | ИН | ИНп | ИП | УП | ||||
| Стыковое | С отбортовкой двух кромок | Односторонний |
|
| 0,5 - 2,0 | - | 0,5 - 4,0 | 0,5 - 4,0 | C1 |
|
|
| - | 0,8 - 4,0 | 1,0 - 12,0 | 1,0 - 12,0 | С28 | |||
| С отбортовкой одной кромки |
|
| 0,5 - 2,0 | - | 0,5 - 4,0 | 0,5 - 4,0 | С3 | ||
| Без скоса кромок |
|
| 0,5 - 4,0 | 0,8 - 6,0 | 0,8 - 6,0 | 0,8 - 6,0 | С2 | ||
| Односторонний на съемной подкладке |
| 0,8 - 8,0 | С4 | ||||||
| Односторонний на остающейся подкладке |
|
| 0,5-4,0 | 0,8 - 6,0 | 0,8 - 6,0 | 0,8 - 8,0 | С5 | ||
| Односторонний замковый |
|
| С6 | ||||||
| Двусторонний |
|
| 3,0 - 6,0 | 3,0 - 6,0 | 3,0 - 6,0 | 3,0 - 12,0 | С7 | ||
| Со скосом одной кромки | Односторонний |
|
| - | 3,0 - 10,0 | 3,0 - 10,0 | 3,0 - 60,0 | C8 | |
| Односторонний на съемной прокладке |
| C9 | |||||||
| Односторонний на остающейся прокладке |
|
| C10 | ||||||
| Односторонний замковый |
|
| - | 3 - 10 | 3 - 10 | 3 - 40 | C11 | ||
| Двусторонний |
|
| - | 3 - 60 | C12 | ||||
| С криволинейным скосом одной кромки |
|
| - | - | 18 - 100 | 18 - 100 | C13 | ||
| С ломаным скосом одной кромки |
|
| - | - | C14 | ||||
| С двумя симметричными скосами одной кромки |
|
| - | 6 - 20 | 8 - 100 | 8 - 100 | C15 | ||
| С двумя симметричными криволинейными скосами одной кромки | Двусторонний |
|
| - | - | 30 - 120 | 30 - 120 | С16 | |
| Со скосом двух кромок | Односторонний |
|
| - | 3 - 10 | 3 - 10 | 3 - 60 | С17 | |
| Односторонний на съемной подкладке |
| С18 | |||||||
| Односторонний на остающейся подкладке |
|
| - | С19 | |||||
| Односторонний замковый |
|
| - | С20 | |||||
| Двусторонний |
|
|
| С21 | |||||
| Со ступенчатым скосом двух кромок | Односторонний |
|
| - | 4 - 20 | 4 - 20 | - | С22 | |
| С криволинейным скосом двух кромок | Двусторонний |
|
| - | - | 24 - 100 | 24 - 100 | С23 | |
| С ломаным скосом двух кромок |
|
| - | - | 24 - 100 | 24 - 100 | С24 | ||
| С двумя симметричными скосами двух кромок |
|
| - | 6 - 20 | 6 - 120 | 6 - 120 | С25 | ||
| С двумя симметричными криволинейными скосами двух кромок |
|
| - | - | 26,0-120,0 | 26,0-120,0 | С26 | ||
| С двумя симметричными ломаными скосами двух кромок |
|
| - | - | - | С27 | |||
| Угловое | С отбортовкой одной кромки | Односторонний |
|
| 0,5 - 3,0 | 0,5 - 3,0 | 0,5 - 4.0 | 0,5 - 4,0 | У1 |
|
|
| - | 0,8 - 4,0 | 1,0-12,0 | 1,0 - 12,0 | У2 | |||
| Без скоса кромок |
|
| - | 0,8 - 4.0 | 0,8 - 8,0 | 0,8 - 8,0 | У4 | ||
|
|
| - | 0,8 - 10,0 | 0,8 - 10,0 | 0,8 - 30,0 | ||||
| Двусторонний |
|
|
| 0,8 - 4,0 | 0,8 - 12,0 | 0,8 - 12,0 | У5 | ||
|
|
|
| 0.8 - 10,0 | 0,8 - 30,0 | 0,8 - 30,0 | ||||
| Со скосом одной кромки | Односторонний |
|
| - | 3,0 - 10,0 | 3,0 - 10,0 | 3,0 - 60,0 | У6 | |
| Двусторонний |
|
| - | 3 - 10 | 3 - 10 | 6 - 60 | У7 | ||
| С двумя симметричны ми скосами одной кромки |
|
| - | 6 - 20 | 6 - 20 | 6 - 100 | У8 | ||
| Со скосом двух кромок | Односторонний |
|
| - | 3 - 20 | 3 - 20 | 3 - 60 | У9 | |
| Двусторонний |
|
| - | У10 | |||||
| Тавровое | Без скоса кромок | Односторонний |
|
| - | 0,8 - 40,0 | 0,8 - 40,0 | 0,8 - 40,0 | T1 |
| Без скоса кромок | Двусторонний |
|
| - | 0,8 - 40,0 | 0,8 - 40,0 | 0,8 - 40,0 | T3 | |
| Со скосом одной кромок | Односторонний |
|
|
| 3 - 10 | 3 - 60 | 3 - 60 | T6 | |
| Двусторонний |
|
| T7 | ||||||
| С двумя симметричными скосами одной кромки | Двусторонний |
|
| - | 6 - 20 | 6 - 80 | 6 - 80 | T8 | |
|
|
| - | - | 12 - 100 | 12 - 100 | T9 | |||
| Нахлесточное | Без скоса кромок | Односторонний |
|
| 0,8 - 4,0 | 0,8 - 10,0 | 0,8 - 60,0 | 0,8 - 60,0 | H1 |
| Двусторонний |
|
| 0,8 - 4.0 | 0,8 - 10,0 | 0,8 - 60,0 | 0,8 - 60,0 | H2 | ||
4. Конструктивные элементы сварныхсоединений, их размеры и предельные отклонения по ним должны соответствоватьуказанным в табл. 2-47. Кроме указанныхспособов сварки, допускается применять другие способы дуговой сварки в защитныхгазах.
Таблица 2
Размеры, мм
| Условное обозначение сварного соединения | Конструктивные элементы | Способ сварки | s | b | r | i | e, не более | ||
| подготовленных кромок свариваемых деталей | шва сварного соединения | Номин. | Пред. откл. | ||||||
| С1 |
* Размер для справок |
| ИН | 0,5 - 0,9 | 0 | + 0,2 | От s1 до 2s1 | От s1 до 3s1 | 1,5(s + s1) + 1,5 |
| 1,0 - 1,4 | + 0,3 | ||||||||
| 1,5 - 2,0 | + 0,5 | s + s1 + 2 | |||||||
| ИП, УП | 0,5 - 1,4 | 1,5(s + s1) + 2,5 | |||||||
| 1,5 - 4,0 | + 1,0 | s + s1 + 3 | |||||||
Таблица 3
Размеры, мм
| Условное обозначение сварного соединения | Конструктивные элементы | Способ сварки | s | e, не более | g | ||
| подготовленных кромок свариваемых деталей | шва сварного соединения | Номин. | Пред. откл. | ||||
| С28 |
|
| ИНп | 0,8 - 1,9 | 3s+2,0 | 0 | + 1,0 |
| 2,0 - 4,0 | 2s+2,0 | + 1,5 | |||||
| ИП, УП | 1,0 - 1,9 | 3s+2,0 | + 1,0 | ||||
| 2,0 - 6,0 | 2s+3,0 | ||||||
| 7,0 - 9,0 | + 2,0 | ||||||
| 10,0 - 12,0 | 2s + 4,0 | + 3,0 | |||||
Таблица 4
Размеры, мм
| Условное обозначение сварного соединения | Конструктивные элементы | Способ сварки | s | b | r | i | e, не более | ||
| подготовленных кромок свариваемых деталей | шва сварного соединения | Номин. | Пред. откл. | ||||||
| С3 |
* Размер для справок |
| ИН | 0,5 - 0,9 | 0 | + 0,2 | s - 2s | s - 3s | 3s + 1,5 |
| 1,0 - 1,4 | + 0,3 | ||||||||
| 1,5 - 2,0 | + 0,5 | 2s + 2,0 | |||||||
| ИП, УП | 0,5 - 1,4 | 3s + 2,5 | |||||||
| 1,5 - 4,0 | + 1,0 | 2s + 3,0 | |||||||
Таблица 5
Размеры, мм
| Условное обозначение сварного соединения | Конструктивные элементы | Способ сварки | s = s1 | b | e, не более | g | g1 | ||||
| подготовленных кромок свариваемых деталей | шва сварного соединения | Номин. | Пред. откл. | Номин. | Пред. откл. | Номин. | Пред. откл. | ||||
| C2 |
|
| ИН | 0,5 - 0,9 | 0 | +0,1 | 6,0 | 0 | ± 0,1 | 0 | + 0,1 |
| 1,0 - 1,4 | +0,2 | 7,0 | ± 0,3 | + 0,5 | |||||||
| 1,5 - 1,9 | ± 0,5 | ||||||||||
| 2,0 - 2,8 | +0,3 | 8,0 | + 1,0 | ||||||||
| 3,0 - 4,0 | 9,0 | ± 1,0 | |||||||||
| ИНп ИП УП | 0,8 - 1,2 | +1,0 | 7,0 | 1,0 | ± 0,5 | 1,0 | + 1,0 - 0,5 | ||||
| 1,4 - 2,0 | |||||||||||
| 2,2 - 4,0 | +1,5 | 8,0 | 1,5 | 1,5 | ± 1,0 | ||||||
| 4,5 - 6,0 | +2,0 | 12,0 | |||||||||
Таблица 6
Размеры, мм
| Условное обозначение сварного соединения | Конструктивные элементы | Способ сварки | s = s1 | b | e, не более | e1 | g | g1 | |||||
| подготовленных кромок свариваемых деталей | шва сварного соединения | Номин. | Пред. откл. | Номин. | Пред. откл. | Номин. | Пред. откл. | Номин. | Пред. откл. | ||||
| C4 |
|
| ИН | 0,5 - 0,9 | 0 | + 0,1 | 6,0 | 2,0 | ± 1,0 | 0 | ± 0,1 | 0 | + 0,2 |
| 1,0 -1 ,5 | + 0,2 | 7,0 | 4,0 | ± 2,0 | + 0,2 - 0,3 | + 0,5 | |||||||
| 1,6 - 2,2 | + 0,3 | 8,0 | + 0,2 - 0,5 | + 1,0 | |||||||||
| 2,5 - 4,0 | 9,0 | + 0,3 - 1,0 | |||||||||||
| ИНп | 0,8 - 1,4 | + 0,5 | 7,0 | 0,5 | + 0,5 - 0,2 | + 0,5 | |||||||
| 1,5 - 2,2 | + 1,0 | 8,0 | 0,5 | ± 0,5 | |||||||||
| 2,5 - 6,0 | 12,0 | 1,0 | ± 0,5 | ||||||||||
| ИП | 0,8 - 1,4 | 7,0 | 0,5 | + 0,5 - 0,2 | 0 | + 0,5 | |||||||
| 1,5 - 2,8 | + 1,5 | 8,0 | 6,0 | 1,0 | + 1 - 0,5 | ||||||||
| 3,0 - 6,0 | + 2,0 | 12,0 | 1,5 | 0,5 | ± 0,5 | ||||||||
| УП | 0,8 - 1,4 | + 1,5 | 6,0 | 1,0 | 1,0 | + 1,0 - 0,5 | |||||||
| 1,5 - 2,8 | 7,0 | ||||||||||||
| 3,0 - 4,0 | + 2,0 | 8,0 | 1,5 | 1,5 | + 1,0 | ||||||||
| 4,5 - 6,0 | 2,0 | 9,0 | |||||||||||
| 7,0 - 8,0 | 12,0 | 2,0 | ± 1,0 | ||||||||||
Таблица 7
Размеры, мм
| Условное обозначение сварного соединения | Конструктивные элементы | Способ сварки | s = s1 | b | e, не более | g | d, не менее | |||
| подготовленных кромок свариваемых деталей | шва сварного соединения | Номин. | Пред. откл. | Номин. | Пред. откл. | |||||
| C5 |
|
| ИН | 0,5 - 0,9 | 0 | + 0,1 | 6,0 | 0 | ± 0,1 | s |
| 1,0 - 1,5 | + 0,2 | 7,0 | ± 0,2 | |||||||
| 1,6 - 2,2 | + 0,3 | 8,0 | ||||||||
| 2,5 - 4,0 | 10,0 | |||||||||
| ИНп | 0,8 - 1,5 | + 0,5 | 7,0 | 0,5 | + 0,5 - 0,2 | |||||
| 1,6 - 2,2 | + 1,0 | 8,0 | ||||||||
| 2,5 - 6,0 | 12,0 | 1,0 | ± 0,5 | 3 | ||||||
| ИП | 0,8 - 1,4 | 7,0 | 0,5 | + 0,5 - 0,2 | s | |||||
| 1,5 - 2,8 | + 1,5 | 8,0 | 1,0 |
| ||||||
| 3,0 - 6,0 | + 2,0 | 12,0 | 1,5 | + 1,0 - 0,5 | ||||||
| УП | 0,8 - 1,4 | + 1,5 | 6,0 | 1,0 | 3 | |||||
| 1,5 - 2,8 | +2,0 | 7,0 | s | |||||||
| 3,0 - 4,0 | 8,0 | 1,5 | ||||||||
| 4,5 - 6,0 | 2,0 | 9,0 | 3,0 | |||||||
| 7,0 - 8,0 | 12,0 | 2,0 | ± 1,0 | |||||||
Таблица 8
Размеры, мм
| Условное обозначение сварного соединения | Конструктивные элементы | Способ сварки | s | b | e, не более | g | d, не менее | |||
| подготовленных кромок свариваемых деталей | шва сварного соединения | Номин. | Пред. откл. | Номин. | Пред. откл. | |||||
| C6 |
|
| ИН | 0,5 - 0,9 | 0 | + 0,1 | 6,0 | 0 | ± 0,1 | s |
| 1,0 - 1,5 | + 0,2 | 7,0 | ± 0,2 | |||||||
| 1,6 - 2,2 | + 0,3 | 8,0 | ||||||||
| 2.5 - 4,0 | 10,0 | |||||||||
| ИНп | 0,8 - 1,5 | + 0,5 | 7,0 | 0,5 | + 0,5 - 0,2 | |||||
| 1,6 - 2,2 | + 1,0 | 8,0 | ||||||||
| 2,5 - 6,0 | 12,0 | 1,0 | ± 0,5 | 3 | ||||||
| ИП | 0,8 - 1,4 | 7,0 | 0,5 | + 0,5 - 0,2 | s | |||||
| 1,5 - 2,8 | + 1,5 | 8,0 | 1,0 | + 1,0 - 0,5 | ||||||
| 3,0 - 6,0 | + 2,0 | 12,0 | 1,5 | 3 | ||||||
| УП | 0,8 - 1,4 | + 1,5 | 6,0 | 1,0 | s | |||||
| 1,5 - 2,8 | 7,0 | |||||||||
| 3,0 - 4,0 | 2,0 | 8,0 | 1,5 | ± 1,0 | 3 | |||||
| 4,5 - 6,0 | 2,0 | 9,0 | ||||||||
| 7,0 - 8,0 | 12,0 | 2,0 | ||||||||
Таблица 9
Размеры, мм
| Условное обозначение сварного соединения | Конструктивные элементы | Способ сварки | s = s1 | b | e, не более | g | |||
| подготовленных кромок свариваемых деталей | шва сварного соединения | Номин. | Пред. откл. | Номин. | Пред. откл. | ||||
| C |
|
| ИН | 3,0 - 4,0 | 0 | + 0,5 | 9,0 | 0 | + 0,2 |
| 4,5 - 6,0 | + 1,0 | 10,0 | |||||||
| ИНп | 3,0 - 4,0 | 9,0 | 1,0 | + 0,5 - 1,0 | |||||
| 4,5 - 6,0 | + 2,0 | 10,0 | |||||||
| ИП | 3,0 - 4,0 | + 1,0 | 9,0 | ± 1,0 | |||||
| 4,5 - 6,0 | + 2,0 | 10,0 | |||||||
| УП | 3,0 - 4,0 | + 0,5 | 8,0 | 1,5 | |||||
| 4,5 - 6,0 | + 1,0 | 9,0 | 2,0 | ± 1,5 | |||||
| 7,0 - 8,0 | 1,5 | + 1,0 | 10,0 | ||||||
| 9,0 - 10,0 | 12,0 | ||||||||
| 11,0 - 12,0 | 2,0 | 14,0 | |||||||
Таблица 10
Размеры, мм
| Условное обозначение сварного соединения | Конструктивные элементы | Способ сварки | s = s1 | b | с | е | g | a, град, ± 2° | |||||
| подготовленных кромок свариваемых деталей | шва сварного соединения | Номин. | Пред. откл. | Номин. | Пред. откл. | Номин. | Пред. откл. | Номин. | Пред. откл. | ||||
| C8 |
|
| ИНп ИП | 3,0 - 3,5 | 1 | ± 1 | 1 | ± 1 | 6 | ± 2,0 | 1,0 | + 0,5 - 1,0 | 50 |
| 3,8 - 4,5 | 7 | ||||||||||||
| 5,0 - 5,5 | 8 | ± 1,0 | |||||||||||
| 6,0 | 10 | ||||||||||||
| 7,0 | 14 | ||||||||||||
| 8,0 | 16 | ||||||||||||
| 9,0 | 18 | ||||||||||||
| 10,0 | 20 | ||||||||||||
| УП | 3 - 4,0 | 6 | 40 | ||||||||||
| 4,5 - 7,0 | 8 | ||||||||||||
| 8 - 11,0 | 14 | ||||||||||||
| 12 - 14 | 2,0 | + 1,0 - 2,0 | 2 | + 1,0 - 2,0 | 18 | ± 3,0 | |||||||
| 16 - 18 | 22 | 2,0 | + 1,0 - 2,0 | ||||||||||
| 20 - 22 | 26 | ||||||||||||
| 24 - 26 | 30 | ± 4,0 | |||||||||||
| 28 - 30 | 34 | ||||||||||||
| 32 - 34 | 38 | ||||||||||||
| 36 - 40 | 42 | ||||||||||||
| 42 - 45 | 46 | ± 5,0 | |||||||||||
| 48 - 53 | 50 | ||||||||||||
| 56 - 60 | 54 | ||||||||||||
Таблица 11
Размеры, мм
| Условное обозначение сварного соединения | Конструктивные элементы | Способ сварки | s = s1 | b | c | e | e1 ± 2 | g | g1 ± 1 | a, град, ± 2° | |||||
| подготовленных кромок свариваемых деталей | шва сварного соединения | Номин. | Пред. откл. | Номин. | Пред. откл. | Номин. | Пред. откл. | Номин. | Пред. откл. | ||||||
| С9 |
|
| ИНп, ИП | 3,0-3,5 | 1 | ± 1 | 1 | ± 1 | 6 | ± 2 | 4 | 1 | + 0,5 - 1,0 | 1,0 | 50 |
| 3,8-4,5 | 7 | ||||||||||||||
| 5,0-5,5 | 8 | ||||||||||||||
| 6,0 | 10 | + 1 | 1,5 | ||||||||||||
| 7,0 | 14 | ||||||||||||||
| 8,0 | 16 | ||||||||||||||
| 9,0 | 18 | ||||||||||||||
| 10,0 | 20 | ||||||||||||||
| УП | 3,0-4,5 | 6 | 40 | ||||||||||||
| 5,0-7,0 | 10 | ||||||||||||||
| 8,0-11,0 | 16 | ||||||||||||||
| 12,0-14,0 | 2 | + 1 - 2 | 2 | + 1 - 2 | 20 | ± 3 | 6 | 2,0 | |||||||
| 16,0-18,0 | 24 | 2 | + 1 - 2,0 | ||||||||||||
| 20,0-22,0 | 28 | 8 | |||||||||||||
| 24,0-26,0 | 32 | ± 4 | |||||||||||||
| 28,0-30,0 | 36 | ||||||||||||||
| 32,0-34,0 | 40 | ||||||||||||||
| 36,0-40,0 | 44 | ||||||||||||||
| 42,0-45,0 | 48 | ± 5 | |||||||||||||
| 48,0-53,0 | 52 | ||||||||||||||
| 56,0-60,0 | 56 | ||||||||||||||
Таблица 12
Размеры, мм
| Условное обозначение сварного соединения | Конструктивные элементы | Способ сварки | s = s1 | b | с | е | g | a, град, ± 2° | |||||
| подготовленных кромок свариваемых деталей | шва сварного соединения | Номин. | Пред. откл. | Номин. | Пред. откл. | Номин. | Пред. откл. | Номин. | Пред. откл. | ||||
| C10 |
|
| ИНп ИП | 3,0 - 3,5 | 1 | ± 1 | 1 | ± 1 | 6 | ± 2 | 1,0 | + 0,5 - 1,0 | 50 |
| 3,8 - 4,5 | 7 | ||||||||||||
| 5,0 - 5,5 | 8 | ± 1,0 | |||||||||||
| 6,0 | 12 | ||||||||||||
| 7,0 | 14 | ||||||||||||
| 8,0 | 16 | ||||||||||||
| 9,0 | 18 | ||||||||||||
| 10,0 | 20 | ||||||||||||
| УП | 3,0 - 4,0 | 6 | 40 | ||||||||||
| 4,5 - 7,0 | 10 | ||||||||||||
| 8,0 - 11,0 | 16 | ||||||||||||
| 12,0 - 14,0 | 2,0 | + 1,0 - 2,0 | 2 | + 1,0 - 2,0 | 20 | ± 3,0 | 2 | + 1,0 - 2,0 | |||||
| 16,0 - 18,0 | 24 | ||||||||||||
| 20,0 - 22,0 | 30 | ||||||||||||
| 24,0 - 26,0 | 34 | ± 4,0 | |||||||||||
| 28,0 - 30,0 | 38 | ||||||||||||
| 32,0 - 34,0 | 42 | ||||||||||||
| 36,0 - 40,0 | 46 | ||||||||||||
| 42,0 - 45,0 | ± 2 | 50 | ± 5,0 | 2,5 | + 1,5 - 2,0 | ||||||||
| 48,0 - 53,0 | 54 | ||||||||||||
| 56,0 - 60,0 | 58 | ||||||||||||
Таблица 13
Размеры, мм
| Условное обозначение сварного соединения | Конструктивные элементы | Способ сварки | s | b | е | g | a, град, ± 2° | ||||
| подготовленных кромок свариваемых деталей | шва сварного соединения | Номин. | Пред. откл. | Номин. | Пред. откл. | Номин. | Пред. откл. | ||||
| C11 |
|
| ИНп ИП | 3,0 - 3,5 | 0 | ± 3 | 7 | ± 2 | 1,0 | + 0,5 - 1,0 | 50 |
| 3,8 - 4,5 | 8 | ||||||||||
| 5,0 - 5,5 | 9 | ± 1,0 | |||||||||
| 6,0 | 12 | ||||||||||
| 7,0 | 14 | ||||||||||
| 8,0 | 16 | ||||||||||
| 9,0 | 18 | ||||||||||
| 10,0 | 20 | ||||||||||
| УП | 3,0 - 4,0 | 6 | |||||||||
| 4,5 - 7,0 | 10 | 40 | |||||||||
| 8,0 - 11,0 | 16 | ||||||||||
| 12,0 - 14,0 | 2 | ± 2 | 20 | ± 3,0 | 2,0 | + 1,0 - 2,0 | |||||
| 16,0 - 18,0 | 24 | ||||||||||
| 20,0 - 22,0 | 30 | ± 4,0 | |||||||||
| 24,0 - 26,0 | 34 | ||||||||||
| 28,0 - 30,0 | 38 | ||||||||||
| 32,0 - 34,0 | 42 | ||||||||||
| 36,0 - 40,0 | 46 | ||||||||||
Таблица 14
Размеры, мм
| Условное обозначение сварного соединения | Конструктивные элементы | Способ сварки | s = s1 | b | c | e | e1 ± 2 | g | g1 | a, град ± 2° | ||||||
| подготовленных кромок сваривае мых деталей | шва сварного соединения | Номин. | Пред. откл. | Номин. | Пред. откл. | Номин. | Пред. откл. | Номин. | Пред. откл. | Номин. | Пред. откл. | |||||
| С9 |
|
| ИНп, ИП | 3,0-3,5 | 1 | ± 1 | 1 | ± 1 | 6 | ± 2 | 6 | 1,0 | + 0,5 - 1,0 | 0,5 | + 0,5 | 50 |
| 3,8-4,5 | 7 | |||||||||||||||
| 5,0-5,5 | 8 | 8 | + 1 | 1,0 | + 1,0 | |||||||||||
| 6,0 | 10 | |||||||||||||||
| 7,0 | 14 | |||||||||||||||
| 8,0 | 18 | |||||||||||||||
| 9,0 | ||||||||||||||||
| 10,0 | 20 | |||||||||||||||
| УП | 3,0-4,5 | 6 | 2,0 | ± 1,0 | 40 | |||||||||||
| 4,5-7,0 | 8 | |||||||||||||||
| 8,0-11,0 | 14 | |||||||||||||||
| 12,0-14,0 | 2 | + 1 - 2 | 2 | + 1 - 2 | 18 | ± 3 | 2,0 | + 1 - 2,0 | ||||||||
| 16,0-18,0 | 22 | |||||||||||||||
| 20,0-22,0 | 26 | ± 4 | 10 | |||||||||||||
| 24,0-26,0 | 30 | |||||||||||||||
| 28,0-30,0 | 34 | |||||||||||||||
| 32,0-34,0 | 38 | |||||||||||||||
| 36,0-40,0 | 42 | |||||||||||||||
| 42,0-45,0 | 46 | ± 5 | ||||||||||||||
| 48,0-53,0 | 50 | |||||||||||||||
| 56,0-60,0 | 54 | |||||||||||||||
Таблица 15
Размеры, мм
| Условное обозначение сварного соединения | Конструктивные элементы | Способ сварки | s = s1 | r + 1 | е | е1 (пред. откл. ± 2) | g | g1 ± 1 | |||
| подготовленных кромок свариваемых деталей | шва сварного соединения | Номин. | Пред. откл. | Номин. | Пред. откл. | ||||||
| C13 |
|
| ИП, УП | 18 - 20 | 8 | 17 | ± 2 | 10 | 2 | + 1 - 2 | 2 |
| 22 - 24 | 18 | ||||||||||
| 26 - 28 | 20 | ± 3 | |||||||||
| 30 - 34 | 22 | ||||||||||
| 36 - 40 | 24 | 3 | |||||||||
| 42 - 45 | 26 | ± 4 | |||||||||
| 48 - 53 | 28 | ||||||||||
| 56 - 60 | 30 | ||||||||||
| 63 - 65 | 10 | 34 | ± 5 | 12 | 3 | + 1 - 3 | |||||
| 70 - 75 | 38 | ||||||||||
| 80 - 85 | 42 | ||||||||||
| 90 - 95 | 44 | ± 6 | |||||||||
| 100 | 46 | ||||||||||
Таблица 16
Размеры, мм
| Условное обозначение сварного соединения | Конструктивные элементы | Способ сварки | s = s1 | h + 1 | e | e1 ± 2 | ||
| подготовленных кромок свариваемых деталей | шва сварного соединения | Номин. | Пред. откл. | |||||
| С14 |
|
| ИП, УП | 18 - 20 | 10 | 14 | ± 3 | 10 |
| 22 - 24 | 16 | |||||||
| 26 - 30 | 18 | |||||||
| 32 - 36 | 12 | 21 | ||||||
| 38 - 42 | 23 | |||||||
| 45 - 48 | 25 | ± 4 | ||||||
| 50 - 53 | 27 | |||||||
| 56 - 60 | 29 | 12 | ||||||
| 63 - 70 | 33 | ± 5 | ||||||
| 75 - 80 | 37 | |||||||
| 85 - 90 | 41 | |||||||
| 95 - 100 | 45 | |||||||
Таблица 17
Размеры, мм
| Условное обозначение сварного соединения | Конструктивные элементы | Способ сварки | s = s1 | b | с | е | g | a, град ± 2° | |||||
| подготовленных кромок свариваемых деталей | шва сварного соединения | Номин. | Пред. откл. | Номин. | Пред. откл. | Номин. | Пред. откл. | Номин. | Пред. откл. | ||||
| C15 |
|
| ИНп | 6 - 9 | 1 | ± 1 | 1 | ± 1 | 7 | ± 2 | 1,0 | ± 1 | 50 |
| 10 - 12 | 9 | ||||||||||||
| 14 - 16 | 13 | ||||||||||||
| 18 - 20 | 17 | ||||||||||||
| ИП, УП | 8 - 11 | 8 | 40 | ||||||||||
| 12 - 14 | 10 | ||||||||||||
| 16 - 20 | 12 | ||||||||||||
| 22 - 26 | 16 | 2 | + 1,0 - 2,0 | ||||||||||
| 28 - 32 | 18 | ||||||||||||
| 34 - 38 | 22 | ||||||||||||
| 40 - 44 | 26 | ||||||||||||
| 46 - 50 | 30 | ||||||||||||
| 52 - 56 | 2 | + 1 - 2 | 2 | + 1 - 2 | 34 | ± 3,0 | |||||||
| 58 - 62 | 38 | ||||||||||||
| 64 - 70 | 42 | ||||||||||||
| 72 - 80 | 46 | ± 4,0 | |||||||||||
| 82 - 90 | 50 | ||||||||||||
| 92 - 100 | 54 | ± 5 | |||||||||||
Таблица 18
Размеры, мм
| Условное обозначение сварного соединения | Конструктивные элементы | Способ сварки | s = s1 | r + 1 | e | g + 1 - 2 | ||
| подготовленных кромок свариваемых деталей | шва сварного соединения | Номин. | Пред. откл. | |||||
| С16 |
|
| ИП, УП | 30 - 34 | 8 | 16 | ± 3 | 2 |
| 36 - 40 | 17 | |||||||
| 42 - 45 | 18 | |||||||
| 48 - 53 | 10 | 20 | ||||||
| 56 - 60 | 22 | |||||||
| 63 - 70 | 24 | |||||||
| 75 - 80 | 26 | |||||||
| 85 - 90 | 28 | |||||||
| 95 - 100 | 30 | ± 4 | ||||||
| 105 - 110 | 32 | |||||||
| 120 | 34 | ± 5 | 3 | |||||
Таблица 19
Размеры, мм
| Условное обозначение сварного соединения | Конструктивные элементы | Способ сварки | s = s1 | b | с | е | g | a, град, ± 2° | |||||
| подготовленных кромок свариваемых деталей | шва сварного соединения | Номин. | Пред. откл. | Номин. | Пред. откл. | Номин. | Пред. откл. | Номин. | Пред. откл. | ||||
| C17 |
|
| ИНп, ИП | 3,0 - 4,0 | 1,0 | ± 1 | 1,0 | ± 1,0 | 6 | ± 2 | 1,0 | ± 1 | 30 |
| 4,5 - 5,5 | 7 | ||||||||||||
| 6,0 | 8 | ||||||||||||
| 7,0 | 10 | ||||||||||||
| 8,0 | 12 | 20 | |||||||||||
| УП | 9,0 - 10,0 | 14 | |||||||||||
| 3,0 - 4,5 | 6 | ||||||||||||
| 5,0 - 7,0 | 8 | ||||||||||||
| 8,0 - 10,0 | 10 | ||||||||||||
| 11,0 - 14,0 | 2,0 | + 1,0 - 2,0 | 2,0 | + 1,0 - 2,0 | 13 | ± 3,0 | |||||||
| 16,0 - 18,0 | 16 | ||||||||||||
| 20,0 - 22,0 | 20 | ± 4,0 | 2 | + 1,0 - 2,0 | |||||||||
| 24,0 - 26,0 | 24 | ||||||||||||
| 28,0 - 30,0 | 28 | ||||||||||||
| 32,0 - 34,0 | 32 | ||||||||||||
| 36,0 - 40,0 | 36 | ||||||||||||
| 42,0 - 45,0 | 40 | ± 5 | |||||||||||
| 48,0 - 53,0 | 44 | ||||||||||||
| 56,0 - 60,0 | 50 | ||||||||||||
Таблица 20
Размеры, мм
| Условное обозначение сварного соединения | Конструктивные элементы | Способ сварки | s = s1 | b | c | e | e1 ± 2 | g | a, град ± 2° | |||||
| подготовленных кромок свариваемых деталей | шва сварного соединения | Номин. | Пред. откл. | Номин. | Пред. откл. | Номин. | Пред. откл. | Номин. | Пред. откл. | |||||
| С18 |
|
| ИНп, ИП | 3,0-3,5 | 1,0 | ± 1,0 | 1,0 | ± 1,0 | 6 | ± 2 | 4 | 1,0 | + 0,5 - 1,0 | 30 |
| 3,8-4,5 | 7 | |||||||||||||
| 5,0-5,5 | 8 | + 1 | ||||||||||||
| 6,0 | 10 | |||||||||||||
| 7,0-8,0 | 12 | |||||||||||||
| УП | 9,0-10,0 | 14 | ||||||||||||
| 3,0-4,0 | 8 | |||||||||||||
| 4,5-7,0 | 10 | 20 | ||||||||||||
| 8,0-11,0 | 12 | |||||||||||||
| 12,0-14,0 | 2,0 | + 1 - 2 | 2,0 | + 1,0 - 2,0 | 15 | ± 3 | 6,0 | 2 | + 1 - 2,0 | |||||
| 16,0-18,0 | 18 | |||||||||||||
| 20,0-22,0 | 22 | ± 4 | 8,0 | |||||||||||
| 24,0-26,0 | 26 | |||||||||||||
| 28,0-30,0 | 30 | |||||||||||||
| 32,0-36,0 | 34 | |||||||||||||
| 38,0-42,0 | 38 | |||||||||||||
| 45,0-48,0 | 42 | ± 5 | ||||||||||||
| 50,0-53,0 | 46 | |||||||||||||
| 56,0-60,0 | 52 | |||||||||||||
Таблица 21
Размеры, мм
| Условное обозначение сварного соединения | Конструктивные элементы | Способ сварки | s = s1 | b | c | e | g | a, град ± 2° | |||||
| подготовленных кромок свариваемых деталей | шва сварного соединения | Номин. | Пред. откл. | Номин. | Пред. откл. | Номин. | Пред. откл. | Номин. | Пред. откл. | ||||
| С19 |
|
| ИНп, ИП | 3,0 - 3,5 | 1 | ± 1 | 1 | ± 1 | 6 | ± 2 | 1,0 | + 0,5 - 1,0 | 30 |
| 3,8 - 4,0 | 7 | ||||||||||||
| 5,0 - 5,5 | 9 | + 1 | |||||||||||
| 6,0 | 10 | ||||||||||||
| 7,0 | 11 | ||||||||||||
| 8,0 | 12 | ||||||||||||
| 9,0 | 14 | ||||||||||||
| УП | 10,0 | 16 | |||||||||||
| 3,0 - 4,0 | 8 | ||||||||||||
| 4,5 - 70 | 10 | 20 | |||||||||||
| 8 - 11 | 12 | ||||||||||||
| 12 - 14 | 2 | + 1 - 2 | 2 | + 1,0 - 2,0 | 16 | ± 3 | 2,0 | + 1 - 2,0 | |||||
| 16 - 18 | 20 | ||||||||||||
| 20 - 22 | 26 | ± 4 | |||||||||||
| 24 - 26 | 30 | ||||||||||||
| 28 - 30 | 34 | ||||||||||||
| 32 - 36 | 38 | ||||||||||||
| 38 - 42 | ± 2 | 44 | |||||||||||
| 45 - 48 | 48 | ± 5 | |||||||||||
| 50 - 53 | 52 | ||||||||||||
| 56 - 60 | 56 | ||||||||||||
Таблица 22
Размеры, мм
| Условное обозначение сварного соединения | Конструктивные элементы | Способ сварки | s | b | c | e | g | a, град ± 2° | |||||
| подготовленных кромок свариваемых деталей | шва сварного соединения | Номин. | Пред. откл. | Номин. | Пред. откл. | Номин. | Пред. откл. | Номин. | Пред. откл. | ||||
| С20 |
|
| ИНп, ИП | 3,0 - 3,5 | 1 | ± 1 | 1 | ± 1 | 5 | ± 2 | 1,0 | + 0,5 - 1,0 | 30 |
| 3,8 - 4,5 | 6 | ||||||||||||
| 5,0 - 5,5 | 8 | + 1 | |||||||||||
| 6,0 | 9 | ||||||||||||
| 7,0 | 10 | ||||||||||||
| 8,0 | 11 | ||||||||||||
| 9,0 | 12 | ||||||||||||
| 10,0 | 14 | ||||||||||||
| УП | 3 - 4 | 8 | |||||||||||
| 4,5 - 7 | 10 | 20 | |||||||||||
| 8 - 11 | 12 | ||||||||||||
| 12 - 14 | 2 | + 1 - 2 | 2 | + 1,0 - 2,0 | 16 | ± 3 | 2,0 | ||||||
| 16 - 18 | 20 | ||||||||||||
| 20 - 22 | 26 | ± 4 | + 1 - 2,0 | ||||||||||
| 24 - 26 | 30 | ||||||||||||
| 28 - 30 | 34 | ||||||||||||
| 32 - 36 | 38 | ||||||||||||
| 38 - 42 | ± 2 | 42 | |||||||||||
| 45 - 48 | 46 | ||||||||||||
| 50 - 53 | 50 | ||||||||||||
| 56 - 60 | 54 | ||||||||||||
Таблица 23
Размеры, мм
| Условное обозначение сварного соединения | Конструктивные элементы | Способ сварки | s = s1 | b | c | e | e1 ± 2 | g | g1 | a, град ± 2° | ||||||
| подготовленных кромок свариваемых деталей | шва сварного соединения | Номин. | Пред. откл. | Номин. | Пред. откл. | Номин. | Пред. откл. | Номин. | Пред. откл. | Номин. | Пред. откл. | |||||
| С21 |
|
| ИНп, ИП | 3,0 - 3,5 | 1,0 | ± 1 | 1,0 | ± 1 | 6 | ± 1 | 6 | 1,0 | + 0,5 - 1,0 | 0,5 | + 0,5 | 30 |
| 3,8 - 4,5 | 7 | ± 2 | ||||||||||||||
| 5,0 - 5,5 | 2 | + 1 - 2 | 2 | + 1 - 2 | 8 | 8 | + 1 | 1,0 | + 1,0 | |||||||
| 6,0 | 10 | |||||||||||||||
| 7,0 - 8,0 | 12 | |||||||||||||||
| 9,0 - 10,0 | 14 | |||||||||||||||
| УП | 3,0 - 4,0 | 6 | 20 | |||||||||||||
| 4,5 - 7,0 | 8 | |||||||||||||||
| 8 - 11 | 10 | |||||||||||||||
| 12 - 14 | 13 | ± 3 | 2,0 | + 1 - 2,0 | 2,0 | ± 1,0 | ||||||||||
| 16 - 18 | 16 | |||||||||||||||
| 20 - 22 | 20 | ± 4 | 10 | |||||||||||||
| 24 - 26 | 24 | |||||||||||||||
| 28 - 30 | 28 | |||||||||||||||
| 32 - 36 | 32 | |||||||||||||||
| 38 - 42 | 36 | |||||||||||||||
| 44 - 48 | 40 | |||||||||||||||
| 50 - 54 | 44 | |||||||||||||||
| 56 - 60 | 48 | |||||||||||||||
Таблица 24
Размеры, мм
| Условное обозначение сварного соединения | Конструктивные элементы | Способ сварки | s = s1 | b | с ± 0,5 | е ± 2 | g | g1 | ||||
| подготовленных кромок свариваемых деталей | шва сварного соединения | Номин. | Пред. откл. | Номин. | Пред. откл. | Номин. | Пред. откл. | |||||
| C22 |
|
| ИНп, ИП | 4 - 5,5 | 0 | + 0,2 | 2,0 | 7 | 1,0 | + 0,5 - 1,0 | 0 | + 1 |
| 6 - 7 | + 0,5 | 3,0 | 8 | ± 1,0 | + 2 | |||||||
| 8 - 9 | 10 | |||||||||||
| 10 - 12 | + 1,0 | 3,5 | 12 | 2,0 | + 1,0 - 2,0 | |||||||
| 14 - 16 | 16 | |||||||||||
| 18 - 20 | 18 | |||||||||||
Таблица 25
Размеры, мм
| Условное обозначение сварного соединения | Конструктивные элементы | Способ сварки | s = s1 | r + 1 | е | е1 ± 2 | g | g1 ± 1 | |||
| подготовленных кромок свариваемых деталей | шва сварного соединения | Номин. | Пред. откл. | Номин. | Пред. откл. | ||||||
| C23 |
|
| ИП, УП | 24 - 28 | 8 | 28 | ± 4 | 10 | 2 | + 1 - 2 | 2 |
| 30 - 34 | 30 | ||||||||||
| 36 - 40 | 32 | ||||||||||
| 42 - 45 | 34 | ± 5 | |||||||||
| 48 - 50 | 36 | ||||||||||
| 53 - 56 | 38 | 12 | |||||||||
| 60 - 63 | 40 | ± 6 | |||||||||
| 65 - 70 | 43 | ||||||||||
| 75 - 80 | 48 | ± 7 | 3 | + 1 - 3 | 3 | ||||||
| 85 - 90 | 52 | ||||||||||
| 95 - 100 | 58 | ± 8 | |||||||||
Таблица 26
Размеры, мм
| Условное обозначение сварного соединения | Конструктивные элементы | Способ сварки | s = s1 | е | е1 ± 2 | g | g1 ± 1 | |||
| подготовленных кромок свариваемых деталей | шва сварного соединения | Номин. | Пред. откл. | Номин. | Пред. откл. | |||||
| C24 |
|
| ИП, УП | 24 - 28 | 22 | ± 5 | 10 | 2 | + 1 - 2 | 2 |
| 30 - 34 | 25 | |||||||||
| 36 - 40 | 28 | ± 6 | ||||||||
| 42 - 45 | 30 | |||||||||
| 48 - 50 | 33 | |||||||||
| 53 - 56 | 35 | 12 | ||||||||
| 60 - 63 | 38 | 3 | + 1 - 3 | 3 | ||||||
| 65 - 70 | 40 | ± 7 | ||||||||
| 75 - 80 | 43 | |||||||||
| 85 - 90 | 48 | ± 8 | ||||||||
| 95 - 100 | 53 | |||||||||
Таблица 27
Размеры, мм
| Условное обозначение сварного соединения | Конструктивные элементы | Способ сварки | s = s1 | b | c | e | g | a, град ± 2° | ||||||
| подготовленных кромок свариваемых деталей | шва сварного соединения | Номин. | Пред. откл. | Номин. | Пред. откл. | Номин. | Пред. откл. | Номин. | Пред. откл. | |||||
| С25 |
|
| ИНп | 6 - 9 | 1 | ± 1 | 1 | ± 1 | 7 | ± 2 | 1 | ± 1 | 30 | |
| 10 - 12 | 9 | |||||||||||||
| 14 - 16 | 12 | |||||||||||||
| 18 - 20 | 15 | |||||||||||||
| ИП, УП | 6 - 9 | 6 | 20 | |||||||||||
| 10 - 12 | 8 | |||||||||||||
| 14 - 16 | 10 | |||||||||||||
| 18 - 20 | 12 | |||||||||||||
| 22 - 28 | 2,0 | + 1 - 2 | 2,0 | + 1,0 - 2,0 | 15 | 2 | + 1 - 2 | |||||||
| 30 - 36 | 18 | ± 3 | ||||||||||||
| 38 - 45 | 20 | |||||||||||||
| 48 - 53 | 24 | ± 4 | ||||||||||||
| 56 - 60 | 28 | |||||||||||||
| 63 - 70 | 32 | |||||||||||||
| 75 - 80 | 36 | |||||||||||||
| 85 - 90 | 40 | ± 5 | ||||||||||||
| 95 - 100 | 44 | |||||||||||||
| 105 - 110 | 48 | ± 6 | ||||||||||||
| 120 | 52 | |||||||||||||
Таблица 28
Размеры, мм
| Условное обозначение сварного соединения | Конструктивные элементы | Способ сварки | s = s1 | e | g + 1 - 2 | ||
| подготовленных кромок свариваемых деталей | шва сварного соединения | Номин. | Пред. откл. | ||||
| С26 |
|
| ИП, УП | 26 - 30 | 20 | ± 3 | 2 |
| 32 - 36 | 22 | ||||||
| 38 - 42 | 23 | ± 4 | |||||
| 45 - 48 | 24 | ||||||
| 50 - 53 | 25 | ||||||
| 56 - 60 | 26 | ||||||
| 63 - 70 | 30 | ± 5 | 3 | ||||
| 75 - 80 | 32 | ||||||
| 85 - 90 | 34 | ± 6 | |||||
| 95 - 100 | 36 | ||||||
| 105 - 110 | 38 | ± 7 | |||||
| 120 | 40 | ||||||
Таблица 29
Размеры, мм
| Условное обозначение сварного соединения | Конструктивные элементы | Способ сварки | s = s1 | h1 + 1 | e | g | |||
| подготовленных кромок свариваемых деталей | шва сварного соединения | Номин. | Пред. откл. | Номин. | Пред. откл. | ||||
| С27 |
|
| УП | 26-30 | 10 | 17 | ± 4 | 2 | + 1 - 2 |
| 32-36 | 19 | ||||||||
| 38-42 | 20 | ||||||||
| 45-48 | 21 | ||||||||
| 50-53 | 22 | ± 5 | |||||||
| 56-60 | 24 | ||||||||
| 63-70 | 26 | ± | 3 | + 1 - 3 | |||||
| 75-80 | 28 | ||||||||
| 85-90 | 30 | ||||||||
| 95-100 | 12 | 34 | |||||||
| 105-110 | 37 | ± 7 | |||||||
| 120 | 40 | ||||||||
Таблица 30
Размеры, мм
| Условное обозначение сварного соединения | Конструктивные элементы | Способ сварки | s | b | r | l | e, не более | ||
| подготовленных кромок свариваемых деталей | шва сварного соединения | Номин. | Пред. откл. | ||||||
| У1 |
* Размер для справок. |
| ИН, ИНп | 0,5-0,9 | 0 | +0,2 | s - 2s | s - 3s | 2s + 3 |
| 1,0-1,4 | +0,3 | ||||||||
| 1,5-3,0 | +0,5 | ||||||||
| ИП, УП | 0,5-1,4 |
| |||||||
| 1,5-4,0 | +1,0 | ||||||||
Таблица 31
Размеры, мм
| Условное обозначение сварного соединения | Конструктивные элементы | Способ сварки | s | e | g | |||
| подготовленных кромок свариваемых деталей | шва сварного соединения | Номин. | Пред. откл. | Номин. | Пред. откл. | |||
| У2 |
|
| ИНп | 0,8 - 1,5 | 2 | + 3 | 0 | + 1 |
| 1,6 - 4,0 | 4 | |||||||
| ИП, УП | 1,0 - 1,5 | 2 | ||||||
| 1,6 - 4,5 | 4 | + 2 | ||||||
| 5,0 - 9,0 | 8 | + 5 | ||||||
| 10,0 - 12,0 | 12 | |||||||
Таблица 32
Размеры, мм
| Условное обозначение сварного соединения | Конструктивные элементы | Способ сварки | s | b | n | ||
| подготовленных кромок свариваемых деталей | шва сварного соединения | Номин. | Пред. откл. | ||||
| У4 |
|
| ИНп | 0,8 - 5,5 | 0 | + 0,5 | Св. 0,5s до s |
| 6 - 10 | + 1,0 | ||||||
| ИП, УП | 0,8 - 6,0 | ||||||
| 7,0 - 11,0 | + 1,5 | ||||||
| 12,0 - 30,0 | + 2,0 | ||||||
Таблица 33
Размеры, мм
| Условное обозначение сварного соединения | Конструктивные элементы | Способ сварки | s | b | n | e | g | ||||
| подготовленных кромок свариваемых деталей | шва сварного соединения | Номин. | Пред. откл. | Номин. | Пред. откл. | Номин. | Пред. откл. | ||||
| У4 |
|
| ИНп | 0,8 - 1,4 | 0 | + 0,5 | 0 - 0,5s | 3 | ± 1 | 0 | + 1,0 |
| 1,5 - 2,0 | 5 | ||||||||||
| 2,2 - 3,2 | 7 | ± 2 | + 1,5 | ||||||||
| 3,5 - 4,0 | 8 | ||||||||||
| ИП, УП | 0,8 - 1,4 | + 1,0 | 4 | ± 1 | 1,0 | + 1,0 | |||||
| 1,5 - 2,8 | 6 | ||||||||||
| 3,0 - 5,0 | 8 | ± 2 | + 1,5 | ||||||||
| 5,5 - 8,0 | 12 | + 2,0 | |||||||||
Таблица 34
Размеры, мм
| Условное обозначение сварного соединения | Конструктивные элементы | Способ сварки | s | b | n | e | g | ||||
| подготовленных кромок свариваемых деталей | шва сварного соединения | Номин. | Пред. откл. | Номин. | Пред. откл. | Номин. | Пред. откл. | ||||
| У5 |
|
| ИНп | 0,8 - 1,4 | 0 | + 0,5 | 0 - 0,5s | 3 | ± 1 | 0 | + 1,0 |
| 1,5 - 2,0 | 5 | ± 2 | |||||||||
| 2,2 - 3,2 | 7 | + 1,5 | |||||||||
| ИП, УП | 3,5 - 4,0 | + 1,0 | 8 | ||||||||
| 0,8 - 1,4 | 4 | ± 1 | + 1,0 | ||||||||
| 1,5 - 2,8 | 6 | ||||||||||
| 3 - 5 | 8 | ± 2 | + 1,5 | ||||||||
| 5,5 - 8,0 | 12 | ||||||||||
| 9,0 - 12,0 | 15 | ± 3 | + 2,0 | ||||||||
Таблица 35
Размеры, мм
| Условное обозначение сварного соединения | Конструктивные элементы | Способ сварки | s | b | n | ||
| подготовленных кромок свариваемых деталей | шва сварного соединения | Номин. | Пред. откл. | ||||
| У5 |
|
| ИНп | 0,8 - 5,5 | 0 | + 0,5 | Св. 0,5s до s |
| 6,0 - 10,0 | + 1,0 | ||||||
| ИП, УП | 0,8 - 6,0 | ||||||
| 7,0 - 11,0 | + 1,5 | ||||||
| 12,0 - 30,0 | + 2,0 | ||||||
Таблица 36
Размеры, мм
| Условное обозначение сварного соединения | Конструктивные элементы | Способ сварки | s | b | c | e | g | a, град ± 2° | ||||||
| подготовленных кромок свариваемых деталей | шва сварного соединения | Номин. | Пред. откл. | Номин. | Пред. откл. | Номин. | Пред. откл. | Номин. | Пред. откл. | |||||
| У6 |
|
| ИНп, ИП | 3,0 - 3,5 | 1 | ± 1 | 1 | ± 1 | 6 | ± 2 | 1,0 | + 0,5 - 1,0 | 50 | |
| 3,8 - 4,5 | 7 | |||||||||||||
| 5,0 - 5,5 | 8 | ± 1 | ||||||||||||
| 6,0 | 10 | |||||||||||||
| 7,0 | 14 | |||||||||||||
| 8,0 | 16 | |||||||||||||
| 9,0 | 18 | |||||||||||||
| 10,0 | 20 | |||||||||||||
| УП | 3,0 - 4,0 | 6 | 40 | |||||||||||
| 4,5 - 7,0 | 8 | |||||||||||||
| 8 0 - 11,0 | 14 | |||||||||||||
| 12,0 - 14,0 | 2,0 | + 1 - 2 | 2,0 | + 1 - 2 | 18 | ± 3 | ||||||||
| 16,0 - 18,0 | 22 | 2,0 | + 1,0 - 2,0 | |||||||||||
| 20,0 - 22,0 | 26 | |||||||||||||
| 24,0 - 26,0 | 30 | ± 4 | ||||||||||||
| 28,0 - 30,0 | 34 | |||||||||||||
| 32,0 - 36,0 | 38 | |||||||||||||
| 38,0 - 42,0 | 42 | |||||||||||||
| 45,0 - 48,0 | 46 | ± 5 | ||||||||||||
| 50,0 - 53,0 | 50 | |||||||||||||
| 56,0 - 60,0 | 54 | |||||||||||||
Таблица 37
Размеры, мм
| Условное обозначение сварного соединения | Конструктивные элементы | Способ сварки | s | b | c | e | g | a, град ± 2° | |||||
| подготовленных кромок свариваемых деталей | шва сварного соединения | Номин. | Пред. откл. | Номин. | Пред. откл. | Номин. | Пред. откл. | Номин. | Пред. откл. | ||||
| У7 |
|
| ИНп, ИП | 3,0 - 3,5 | 1 | ± 1 | 1 | ± 1 | 6 | ± 2 | 1,0 | + 0,5 - 1,0 | 50 |
| 3,8 - 4,5 | 7 | ||||||||||||
| 5,0 - 5,5 | 8 | ± 1 | |||||||||||
| 6,0 | 10 | ||||||||||||
| 7,0 | 14 | ||||||||||||
| 8,0 | 18 | ||||||||||||
| 9,0 | |||||||||||||
| 10,0 | 20 | ||||||||||||
| УП | 3,0 - 4,0 | 6 | 40 | ||||||||||
| 4,5 - 7,0 | 8 | ||||||||||||
| 8,0 - 11,0 | 14 | ||||||||||||
| 12,0 - 14,0 | 2,0 | + 1 - 2 | 2,0 | + 1 - 2 | 18 | ± 3 | 2,0 | + 1,0 - 2,0 | |||||
| 16,0 - 18,0 | 22 | ||||||||||||
| 20,0 - 22,0 | 26 | ± 4 | |||||||||||
| 24,0 - 26,0 | 30 | ||||||||||||
| 28,0 - 30,0 | 34 | ||||||||||||
| 32,0 - 34,0 | 38 | ||||||||||||
| 36,0 - 40,0 | 42 | ||||||||||||
| 42,0 - 45,0 | 46 | ± 5 | |||||||||||
| 48,0 - 53,0 | 50 | ||||||||||||
| 56,0 - 60,0 | 54 | ||||||||||||
Таблица 38
Размеры, мм
| Условное обозначение сварного соединения | Конструктивные элементы | Способ сварки | s | e | e1 | g = g1 | a, град ± 2° | ||||
| подготовленных кромок свариваемых деталей | шва сварного соединения | Номин. | Пред. откл. | Номин. | Пред. откл. | Номин. | Пред. откл. | ||||
| У8 |
|
| ИНп, ИП | 6 - 9 | 7 | ± 2 | 5 | ± 1 | 1 | ± 1 | 50 |
| 10 - 12 | 9 | 7 | |||||||||
| 14 - 16 | 13 | 11 | ± 2 | ||||||||
| 18 - 20 | 17 | 15 | |||||||||
| УП | 6 - 10 | 8 | 6 | 40 | |||||||
| 11 - 16 | 10 | 8 | |||||||||
| 18 - 22 | 13 | 11 | |||||||||
| 24 - 28 | 16 | 14 | |||||||||
| 30 - 34 | 19 | 17 | 2 | + 1 - 2 | |||||||
| 36 - 40 | 22 | 20 | |||||||||
| 42 - 45 | 26 | 24 | |||||||||
| 48 - 53 | 30 | 28 | |||||||||
| 56 - 63 | 38 | ± 3 | 33 | ± 3 | |||||||
| 65 - 70 | 42 | 40 | |||||||||
| 75 - 80 | 46 | ± 4 | 44 | ± 4 | |||||||
| 85 - 90 | 50 | 48 | |||||||||
| 95 - 100 | 5 1 | ± 5 | 52 | ± 5 | |||||||
Таблица 39
Размеры, мм
| Условное обозначение сварного соединения | Конструктивные элементы | Способ сварки | s | b | c | e | g | a, град ± 2° | |||||
| подготовленных кромок свариваемых деталей | шва сварного соединения | Номин. | Пред. откл. | Номин. | Пред. откл. | Номин. | Пред. откл. | Номин. | Пред. откл. | ||||
| У9 |
|
| ИНп, ИП | 3,0 - 4,5 | 1,0 | ± 1,0 | 1,0 | ± 1,0 | 8 | ± 2 | 1 | ± 1 | 30 |
| 5,0 - 8,0 | 12 | ||||||||||||
| 9,0 - 12,0 | 16 | ||||||||||||
| 14,0 - 16,0 | 20 | ||||||||||||
| 18,0 - 20,0 | 24 | ||||||||||||
| УП | 3,0 - 4,5 | 6 | 20 | ||||||||||
| 5,0 - 8,0 | 10 | ||||||||||||
| 9,0 - 12,0 | 2,0 | + 1 - 2 | 2,0 | + 1 - 2 | 13 | ||||||||
| 14,0 - 16,0 | 16 | ||||||||||||
| 18,0 - 20,0 | 20 | ||||||||||||
| 22,0 - 24,0 | 24 | ± 3 | 2 | + 1,0 - 2,0 | |||||||||
| 26,0 - 30,0 | 28 | ||||||||||||
| 32,0 - 36,0 | 32 | ||||||||||||
| 38,0 - 42,0 | 36 | ± 4 | |||||||||||
| 44,0 - 48,0 | 40 | ||||||||||||
| 50,0 - 53,0 | 44 | ± 5 | |||||||||||
| 56,0 - 60,0 | 50 | ||||||||||||
Таблица 40
Размеры, мм
| Условное обозначение сварного соединения | Конструктивные элементы | Способ сварки | s | b | c | e | g | a, град ± 2° | |||||
| подготовленных кромок свариваемых деталей | шва сварного соединения | Номин. | Пред. откл. | Номин. | Пред. откл. | Номин. | Пред. откл. | Номин. | Пред. откл. | ||||
| У10 |
|
| ИНп, ИП | 3,0 - 4,5 | 1,0 | ± 1,0 | 1,0 | ± 1,0 | 7 | ± 2 | 1 | ± 1 | 30 |
| 5,0 - 8,0 | 12 | ||||||||||||
| 9,0 - 12,0 | 16 | ||||||||||||
| 14,0 - 16,0 | 22 | ||||||||||||
| 18,0 - 20,0 | 28 | ||||||||||||
| УП | 3,0 - 4,5 | 6 | 20 | ||||||||||
| 5,0 - 8,0 | 10 | ||||||||||||
| 9,0 - 12,0 | 2,0 | + 1 - 2 | 2,0 | + 1 - 2 | 13 | ||||||||
| 14,0 - 16,0 | 16 | ||||||||||||
| 18,0 - 20,0 | 19 | ||||||||||||
| 22,0 - 24,0 | 22 | ± 3 | 2 | + 1,0 - 2,0 | |||||||||
| 26,0 - 30,0 | 26 | ||||||||||||
| 32,0 - 36,0 | 32 | ||||||||||||
| 38,0 - 42,0 | 36 | ± 4 | |||||||||||
| 45,0 - 48,0 | 40 | ||||||||||||
| 50,0 - 53,0 | 44 | ± 5 | |||||||||||
| 56,0 - 60,0 | 48 | ||||||||||||
Таблица 41
Размеры, мм
| Условное обозначение сварного соединения | Конструктивные элементы | Способ сварки | s | b | ||
| подготовленных кромок свариваемых деталей | шва сварного соединения | Номин. | Пред. откл. | |||
| Т1 |
|
| ИНп, ИП, УП | 0,8 - 3,0 | 0 | + 0,5 |
| 3,2 - 5,5 | + 1,0 | |||||
| Т3 |
| 6,0 - 20,0 | + 1,5 | |||
| 22,0 - 40,0 | + 2,0 | |||||
Таблица 42
Размеры, мм
| Условное обозначение сварного соединения | Конструктивные элементы | Способ сварки | s | b | c | e | a, град ± 2° | ||||
| подготовленных кромок свариваемых деталей | шва сварного соединения | Номин. | Пред. откл. | Номин. | Пред. откл. | Номин. | Пред. откл. | ||||
| Т6 |
|
| ИНп | 3,0 - 4,0 | 0 | ± 1,0 | 1,0 | ± 1,0 | 7 | ± 2 | 55 |
| 4,5 - 6,0 | 10 | ||||||||||
| 7,0 - 10,0 | 16 | ||||||||||
| ИП, УП | 3,0 - 4,0 | 6 | 45 | ||||||||
| 4,5 - 6,0 | 8 | ||||||||||
| 7,0 - 10,0 | 12 | ||||||||||
| 11,0 - 14,0 | + 2 | 2,0 | + 1,0 - 2,0 | 16 | ± 3 | ||||||
| 16,0 - 18,0 | 20 | ||||||||||
| 20,0 - 22,0 | 24 | ± 4 | |||||||||
| 24,0 - 26,0 | 28 | ||||||||||
| 28,0 - 30,0 | 32 | ||||||||||
| 32,0 - 34,0 | + 3 | 36 | |||||||||
| 36,0 - 40,0 | 40 | ||||||||||
| 42,0 - 45,0 | 44 | ± 5 | |||||||||
| 48,0 - 53,0 | 48 | ||||||||||
| 56,0 - 60,0 | 52 | ||||||||||
Таблица 43
Размеры, мм
| Условное обозначение сварного соединения | Конструктивные элементы | Способ сварки | s | b | c | e | a, град ± 2° | ||||
| подготовленных кромок свариваемых деталей | шва сварного соединения | Номин. | Пред. откл. | Номин. | Пред. откл. | Номин. | Пред. откл. | ||||
| Т7 |
|
| ИНп | 3,0 - 4,0 | 0 | ± 1,0 | 1,0 | ± 1,0 | 7 | ± 2 | 55 |
| 4,5 - 6,0 | 10 | ||||||||||
| 7,0 - 10,0 | 16 | ||||||||||
| ИП, УП | 3,0 - 4,0 | 6 | 45 | ||||||||
| 4,5 - 6,0 | 8 | ||||||||||
| 7,0 - 10,0 | 12 | ||||||||||
| 11,0 - 14,0 | + 2 | 2,0 | + 1,0 - 2,0 | 16 | ± 3 | ||||||
| 16,0 - 18,0 | 20 | ||||||||||
| 20,0 - 22,0 | 24 | ± 4 | |||||||||
| 24,0 - 26,0 | 28 | ||||||||||
| 28,0 - 30,0 | 32 | ||||||||||
| 32,0 - 34,0 | + 3 | 36 | |||||||||
| 36,0 - 40,0 | 42 | ||||||||||
| 42,0 - 45,0 | 46 | ± 5 | |||||||||
| 48,0 - 53,0 | 50 | ||||||||||
| 56,0 - 60,0 | 54 | ||||||||||
Таблица 44
Размеры, мм
| Условное обозначение сварного соединения | Конструктивные элементы | Способ сварки | s | b | c | e | g ± 2 | a, град ± 2° | ||||
| подготовленных кромок свариваемых деталей | шва сварного соединения | Номин. | Пред. откл. | Номин. | Пред. откл. | Номин. | Пред. откл. | |||||
| Т8 |
|
| ИНп | 6 - 9 | 1 | ± 1 | 1 | ± 1 | 7 | ± 2 | 0,08s - 0,25s | 55 |
| 10 - 12 | 9 | |||||||||||
| 14 - 16 | 12 | |||||||||||
| 18 - 20 | 16 | |||||||||||
| ИП, УП | 6 - 9 | 8 | 45 | |||||||||
| 10 - 12 | 2 | + 1 - 2 | 2 | + 1 - 2 | 10 | |||||||
| 14 - 18 | 12 | ± 3 | ||||||||||
| 20 - 24 | 14 | |||||||||||
| 26 - 30 | 16 | ± 4 | ||||||||||
| 32 - 36 | 20 | |||||||||||
| 38 - 42 | 24 | |||||||||||
| 45 - 48 | 28 | ± 5 | ||||||||||
| 50 - 53 | 32 | |||||||||||
| 56 - 60 | 36 | |||||||||||
| 63 - 65 | 40 | |||||||||||
| 70 - 75 | 44 | |||||||||||
| 80 | 48 | |||||||||||
Таблица 45
Размеры, мм
| Условное обозначение сварного соединения | Конструктивные элементы | Способ сварки | s | b | e | g ± 2 | |||
| подготовленных кромок свариваемых деталей | шва сварного соединения | Номин. | Пред. откл. | Номин. | Пред. откл. | ||||
| Т9 |
|
| ИП, УП | 12 - 16 | 0 | + 2 | 10 | ± 2 | 0,05s - 0,15s |
| 18 - 22 | 12 | ||||||||
| 24 - 28 | 14 | ||||||||
| 30 - 34 | 16 | ||||||||
| 36 - 40 | + 3 | 18 | |||||||
| 42 - 45 | 20 | ||||||||
| 48 - 53 | 22 | ||||||||
| 56 - 60 | 24 | ||||||||
| 63 - 65 | 26 | ± 3 | |||||||
| 70 - 75 | 30 | ||||||||
| 80 - 85 | 34 | ||||||||
| 90 - 95 | 38 | ± 4 | |||||||
| 100 | 40 | ||||||||
Таблица 46
Размеры, мм
| Условное обозначение сварного соединения | Конструктивные элементы | Способ сварки | s | b | B | ||
| подготовленных кромок свариваемых деталей | шва сварного соединения | Номин. | Пред. откл. | ||||
| Н1 |
* Размер для справок. |
| ИН | 0,8 - 3,0 | 0 | + 0,2 | 3,0 - 12,0 |
| 3,2 - 4,0 | + 0,5 | 5,0 - 16,0 | |||||
| ИНп | 0,8 - 5,0 | 3,0 - 20,0 | |||||
| 5,5 - 10,0 | + 1,0 | 8,0 - 40,0 | |||||
| ИП, УП | 0,8 - 2,0 | + 0,5 | 3,0 - 20,0 | ||||
| 2,2 - 5,0 | + 1,0 | ||||||
| 5,5 - 10,0 | 8,0 - 40,0 | ||||||
| 11,0 - 28,0 | + 1,5 | 12,0 - 100,0 | |||||
| 30,0 - 60,0 | + 2 | 30,0 - 20,0 | |||||
Таблица 47
Размеры, мм
| Условное обозначение сварного соединения | Конструктивные элементы | Способ сварки | s | b | B | ||
| подготовленных кромок свариваемых деталей | шва сварного соединения | Номин. | Пред. откл. | ||||
| Н2 |
* Размер для справок. |
| ИН | 0,8 - 3,0 | 0 | + 0,2 | 3,0 - 12,0 |
| 3,2 - 4,0 | + 0,5 | 5,0 - 16,0 | |||||
| ИНп | 0,8 - 5,0 | 3,0 - 20,0 | |||||
| 5,5 - 10,0 | + 1,0 | 8,0 - 40,0 | |||||
| ИП, УП | 0,8 - 2,0 | + 0,5 | 3,0 - 20,0 | ||||
| 2,2 - 5,0 | + 1,0 | ||||||
| 5,5 - 10,0 | 8,0 - 40,0 | ||||||
| 11,0 - 28,0 | + 1,5 | 12,0 - 100,0 | |||||
| 30,0 - 60,0 | + 2,0 | 30,0 - 240,0 | |||||
(Измененнаяредакция, Изм. №1, 2, 3).
5. При выполнении корнямногослойного шва способом сварки, отличным от основного способа, которымпроизводится заполнение разделки кромок, значения конструктивных элементовсварного соединения необходимо выбирать по основному способу сварки. При этомобозначение способа сварки следует производить дробью, в числителе которойдается обозначение способа сварки корня шва, а в знаменателе - обозначениеосновного способа сварки.
6. Для сварных соединений С12,С21, С23, С24, У7, У10, Т7, имеющих толщину деталей s = 12 мм и более, а также длясоединений С15, С16, С25, С27, У8, Т8, имеющих толщину деталей s = 20 мм и более,выполняемых способом сварки УП, допускается притупление с = 5 ± 2 мм.
Таблица 48
мм
| Толщина тонкой детали | Разность толщин деталей |
| 2 - 3 | 1 |
| 4 - 30 | 2 |
| 32 - 40 | 4 |
| Св. 40 | 6 |
7. Сварка встык деталей неодинаковойтолщины в случае разницы по толщине, не превышающей значений, указанных в табл. 48, должна производиться так же, какдеталей одинаковой толщины; конструктивные элементы подготовленных кромок иразмеры сварного шва следует выбирать по большей толщине.
Для осуществления плавногоперехода от одной детали к другой допускается наклонное расположениеповерхности шва (черт. 1).

Черт. 1.
При разнице в толщинесвариваемых деталей свыше значений, указанных в табл. 48, на детали, имеющей большую толщину s1 должен бытьсделан скос с одной или двух сторон до толщины тонкой детали s, как указано на черт. 2 и 3.При этом конструктивные элементы подготовленных кромок и размеры сварного шваследует выбирать по меньшей толщине.
Черт. 2.
Черт. 3.
8. Размер и предельныеотклонения катета углового шва К и K1 должны быть установлены при проектировании. Приэтом размер катета должен быть не более 3 мм для деталей толщиной до 3 ммвключительно и 1,2 толщины более тонкой детали при сварке деталей толщинойсвыше 3 мм. Предельные отклонения размера катета угловых швов от номинальногозначения приведены в приложении4.
(Измененная редакция, Изм. №3).
9. (Исключен, Изм. № 1).
10. (Исключен, Изм. № 3).
11. Допускается выпуклость иливогнутость углового шва до 30 % его катета, но не более 3 мм. При этомвогнутость не должна приводить к уменьшению значения катета Кп(черт. 4), установленного при проектировании.

Черт. 4.
Примечание. Катетом Кn является катет наибольшегопрямоугольного треугольника, вписанного во внешнюю часть углового шва. Присимметричном шве за катет Кn принимается любой из равныхкатетов, при несимметричном шве - меньший.
(Измененная редакция, Изм. №3).
12. Допускается перед сваркойсмещение кромок относительно друг друга не более:
0,2s мм - длядеталей толщиной до 4 мм;
0,1s + 0,5 мм - для деталей толщиной 5- 25 мм;
3 мм - для деталей толщиной 25 -50 мм;
0,04s + 1,0 мм - для деталей толщиной 50- 100 мм;
0,01s + 4,0 мм, но не более 6 мм - длядеталей толщиной более 100 мм.
13. При сварке вуглекислом газе электродной проволокой диаметром 0,8 - 1,4 мм допускаетсяприменять основные типы сварных соединений и их конструктивные элементы по ГОСТ5264-80.
14. Минимальные значения катетовугловых швов приведены в приложении 1.
15. При применении сварки вуглекислом газе взамен ручной дуговой сварки катет расчетного углового шваможет быть уменьшен до значений, приведенных в приложении 2.
16. При сварке в углекислом газеэлектродной проволокой, обеспечивающей получение металла шва с более высокимвременным сопротивлением разрыву, чем у основного металла, катет расчетногоуглового шва может быть уменьшен до значений, приведенных в рекомендуемом приложении 3.
14 - 16. (Введеныдополнительно, Изм. № 1).
17. В стыковых, тавровых иугловых соединениях толщиной более 16 мм, выполняемых в монтажных условиях,допускается увеличение номинального значения размера b до 4 мм. При этом соответственноможет быть увеличена ширина шва е, е1.
18. Допускается в местахперекрытия сварных швов и в местах исправления дефектов увеличение размеровшвов до 30 % номинального значения.
19. При подготовке кромок сприменением ручного инструмента предельные отклонения угла скоса кромок могутбыть увеличены до ± 5°. При этом соответственно может быть изменена ширина шва е,e1.
17 - 19. (Введеныдополнительно, Изм. № 3).
мм
| Предел текучести свариваемой стали, МПа | Минимальный катет углового шва для толщины более толстого из свариваемых элементов | |||||||
| от 3 до 4 | св. 4 до 5 | св. 5 до 10 | св. 10 до 16 | св. 16 до 22 | св. 22 до 32 | св. 32 до 40 | св. 40 до 80 | |
| До 400 | 3 | 3 | 4 | 5 | 6 | 7 | 8 | 9 |
| Св. 400 до 450 | 3 | 4 | 5 | 6 | 7 | 8 | 9 | 10 |
Примечание. Минимальное значение катета не должно превышать 1,2толщины более тонкого элемента.
(Введено дополнительно, Изм. № 1).
мм
| Катет углового шва для способов сварки | |||||
| Ручная дуговая | В углекислом газе проволокой марки Св-08Г2С диаметром от 1,4 до 2,0 мм взамен электродов типа | В углекислом газе проволокой марки Св-08Г2С диаметром от 0,8 до 1,2 мм взамен электродов типа | |||
| Э42А и Э42 | Э46А и Э46 | Э50А и Э50 | Э42А и Э42 | Э46А и Э46 | |
| 4 | 3 | 3 | 3 | 4 | 4 |
| 5 | 3 | 4 | 4 | 4 | 5 |
| 6 | 4 | 4 | 5 | 5 | 6 |
| 7 | 5 | 5 | 6 | 6 | 7 |
| 8 | 5 | 6 | 6 | 7 | 8 |
| 9 | 6 | 7 | 7 | 8 | 8 |
| 10 | 7 | 7 | 8 | 9 | 9 |
| 11 | 7 | 8 | 10 | 9 | 10 |
| 12 | 8 | 10 | 12 | 10 | 11 |
| 13 | 10 | 12 | 13 | 11 | 12 |
| 14 | 10 | 13 | 14 | 12 | 13 |
| 15 | 13 | 14 | 15 | 13 | 14 |
| 16 | 14 | 15 | 16 | 14 | 15 |
| 17 | 14 | 16 | 17 | 14 | 16 |
| 18 | 15 | 17 | 18 | 15 | 17 |
| 19 | 16 | 18 | 19 | 16 | 18 |
| 20 | 17 | 19 | 20 | 17 | 19 |
Примечание. Приведенные данные не распространяются насоединения, выполняемые при сварке на удлиненном вылете электрода или на прямойполярности тока.
(Введено дополнительно, Изм. № 1).
мм
| Катет углового шва для отношения временного сопротивления разрыву металла шва к временному сопротивлению разрыву основного металла | ||||
| 1,0 | 1,1 | 1,2 | 1,3 | 1,4 |
| 4 | 4 | 4 | 3 | 3 |
| 5 | 5 | 4 | 4 | 4 |
| 6 | 6 | 5 | 5 | 4 |
| 7 | 7 | 6 | 6 | 5 |
| 8 | 7 | 7 | 6 | 6 |
| 9 | 8 | 8 | 7 | 7 |
| 10 | 9 | 9 | 8 | 7 |
| 11 | 10 | 9 | 9 | 8 |
| 12 | 11 | 10 | 9 | 9 |
| 13 | 12 | 11 | 10 | 9 |
| 14 | 13 | 12 | 11 | 10 |
| 15 | 14 | 13 | 12 | 11 |
| 16 | 15 | 14 | 13 | 12 |
| 17 | 16 | 14 | 13 | 12 |
| 18 | 17 | 15 | 14 | 13 |
| 19 | 17 | 16 | 15 | 14 |
| 20 | 18 | 17 | 16 | 14 |
(Введено дополнительно, Изм. № 1).
мм
| Номинальный размер катета углового шва | Предельные отклонения размера катета углового шва номинального значения |
| До 5 включ. | + 1,0 - 0,5 |
| Св. 5 до 8 включ. | + 2,0 - 1,0 |
| Св. 8 до 12 включ. | + 2,5 - 1,5 |
| Св. 12 | + 3,0 - 2,0 |
(Введено дополнительно, Изм. № 3).
1. РАЗРАБОТАН И ВНЕСЕНнаучно-производственным объединением ЦНИИТМАШ.
ИСПОЛНИТЕЛИ
М. М. Борисенко(руководитель темы); В. Д. Ходаков; Е. Г. Старченко.
2. УТВЕРЖДЕН И ВВЕДЕН В ДЕЙСТВИЕПостановлением Государственного комитета стандартов Совета Министров СССР от28.07.76 № 1826.
3. Срок проверки 1990 г. Периодичностьпроверки 5 лет.
4. Стандарт соответствует TGL 14905/03 в части формы исодержания таблиц сварных соединений.
5. ВЗАМЕН ГОСТ 14771-69.
6. ССЫЛОЧНЫЕНОРМАТИВНО-ТЕХНИЧЕСКИЕ ДОКУМЕНТЫ.
| Обозначение НТД, на который дана ссылка | Номер пункта |
| 13 |
7. ПЕРЕИЗДАНИЕ сИзменениями № 1, 2, 3, утвержденными в марте 1982 г., декабре 1986 г., январе1989 г. (ИУС 6-82, 3-87, 4-89).