Стандарт распространяется на эмульсионный поливинилхлорид, представляющий собой продукт эмульсионной полимеризации винилхлорида, изготовляемый для нужд народного хозяйства и на экспорт.
| Обозначение: | ГОСТ 14039-78* |
| Название рус.: | Поливинилхлорид эмульсионный. Технические условия |
| Статус: | действующий |
| Заменяет собой: | ГОСТ 14039-68 ГОСТ 5.829-71 «Поливинилхлорид эмульсионный. Требования к качеству аттестованной продукции» |
| Дата актуализации текста: | 01.10.2008 |
| Дата добавления в базу: | 01.02.2009 |
| Дата введения в действие: | 01.01.1979 |
| Разработан: | Министерство химической промышленности СССР |
| Утвержден: | Госстандарт СССР (17.03.1978) |
| Опубликован: | Издательство стандартов № 1978<br>ИПК Издательство стандартов № 1996 |

ГОСУДАРСТВЕННЫЙ СТАНДАРТСОЮЗАССР
ПОЛИВИНИЛХЛОРИД ЭМУЛЬСИОННЫЙ
ТЕХНИЧЕСКИЕ УСЛОВИЯ
ГОСТ 14039-78
Е
ИПК ИЗДАТЕЛЬСТВО СТАНДАРТОВ
Москва
ГОСУДАРСТВЕННЫЙ СТАНДАРТ СОЮЗА ССР
| ПОЛИВИНИЛХЛОРИД ЭМУЛЬСИОННЫЙ Технические условия Emulsion polyvinylchloride. | ГОСТ |
Дата введения 01.01.79
Настоящий стандарт распространяется наэмульсионный поливинилхлорид, представляющий собой продукт эмульсионнойполимеризации винилхлорида, изготовляемый для нужд народного хозяйства и наэкспорт.
1.1. Марки эмульсионного поливинилхлорида взависимости от свойств и назначения и коды ОКП для каждой марки и сорта поОбщесоюзному классификатору промышленной и сельскохозяйственной продукцииприведены в табл. 1.
Таблица 1
| Код ОКП | Применяемость | |
| ПВХ-Е-7050-М | 22 1212 0100 09 | Для переработки в пластифицированные изделия методами вальцевания, экструзии и каландрования |
| Высший сорт | 22 1212 0101 08 | |
| Первый сорт | 22 1212 0102 07 | |
| ПВХ-Е-6650-М | 22 1212 0200 06 | |
| Высший сорт | 22 1212 0201 05 | |
| Первый сорт | 22 1212 0202 04 | |
| ПВХ-Е-6250-Ж | 22 1212 0400 00 | Для переработки в жесткие изделия методами вальцевания, каландрования и прессования |
| Высший сорт | 22 1212 0401 10 | |
| Первый сорт | 22 1212 0402 09 | |
| ПВХ-Е-5850-Ж | 22 1212 0500 08 | |
| Высший сорт | 22 1212 0501 07 | |
| Первый сорт | 22 1212 0502 06 | |
| ПВХ-Е-5450-Ж | 22 1212 0600 05 | |
| Высший сорт | 22 1212 0601 04 | |
| Первый сорт | 22 1212 0602 03 | |
| ПВХ-ЕП-7002-С | 22 1212 1000 08 | Для переработки через средневязкие пасты методами нанесения, пропитки, окунания |
| Высший сорт | 22 1212 1001 07 | |
| Первый сорт | 22 1212 1002 06 | |
| ПВХ-ЕП-6602-С | 22 1212 1100 05 | |
| Высший сорт | 22 1212 1101 04 | |
| Первый сорт | 22 1212 1102 03 | |
| ПВХ-ЕП-6202-С | 22 1212 1300 10 | |
| Высший сорт | 22 1212 1301 09 | |
| Первый сорт | 22 1212 1302 08 |
(Измененная редакция, Изм. № 3, 4).
1.2. Эмульсионный поливинилхлорид должен изготовлятьсяв соответствии с требованиями настоящего стандарта по технологическомурегламенту, утвержденному в установленном порядке.
1.3. Эмульсионныйполивинилхлорид должен соответствовать нормам, указанным в табл. 2 и 3.
Таблица 2
| Норма для марки и сорта | Норма для марки и сорта | Метод испытания | ||||||||||
| ПВХ-E-7050-M | ПВХ-Е-6650-М | ПВХ-Е-6250-Ж | ПВХ-Е-5850 Ж | ПВХ-Е-5450-Ж | ||||||||
| Высший сорт | 1-й сорт | Высший сорт | 1-й сорт | Высший сорт | 1-й сорт | Высший сорт | 1-й сорт | Высший сорт | 1-й сорт | |||
| 1. Внешний вид |
|
|
|
|
|
|
|
|
|
|
| |
| а) цвет | Порошок белого цвета | Порошок белого цвета | По п. 3.4 | |||||||||
| б) количество посторонних включений, шт., не более | 5 | 25 | 5 | 25 | 5 | 25 | 5 | 25 | 5 | 25 |
| |
| 2. Значение К | 70 - 73 | 70 - 73 | 66 - 69 | 66 - 69 | 62 - 65 | 62 - 65 | 58 - 61 | 58 - 61 | 54 - 57 | 54 - 57 | По ГОСТ 14040-82 | |
| 3. Насыпная плотность, г/см3 | 0,50 - 0,60 | 0,45 - 0,60 | 0,50 - 0,60 | 0,45 - 0,60 | 0,50 - 0,60 | 0,45 - 0,60 | 0,50 - 0,60 | 0,45 - 0,60 | 0,50 - 0,60 | 0,45 - 0,60 | По ГОСТ 11035-64, метод А | |
| 4. Остаток после просева на сите с сеткой № 02, %, не более | 0,05 | 0,1 | 0,05 | 0,1 | 0,05 | 0,1 | 0,05 | 0,1 | 0,05 | 0,1 | По п. 3.5.1 | |
| 5. Термостабильность при 180 °С, мин, не менее | 20 | 20 | 20 | 20 | 20 | 20 | 20 | 18 | 20 | 18 | По ГОСТ 14041-91 | |
| 6. Массовая доля влаги и летучих веществ, %, не более | 0,3 | 0,5 | 0,3 | 0,5 | 0,3 | 0,5 | 0,3 | 0,5 | 0,3 | 0,5 | По ГОСТ 14043-78 и п. 3.10 настоящего стандарта до 01.01.90, с 01.01.90 по ГОСТ 15973-82 | |
| 7. Массовая доля сульфатной золы, %, не более | 1,4 | 1,6 | 1,4 | 1,6 | 1,4 | 1,6 | 1,6 | 1,6 | 1,6 | 1,6 | По ГОСТ 15973-82 | |
| 8. Массовая доля щелочи в пересчете на NaOH, %, не более | 0,3 | 0,3 | 0.3 | 0,3 | 0,3 | 0,3 | 0,4 | 0,4 | 0,4 | 0,4 | По п. 3.11 | |
| 9. Массовая доля винилхлорида, млн-1, не более | 10 | 10 | 10 | 10 | 10 | 10 | 10 | 10 | 10 | 10 | По ГОСТ 25737-91 | |
| Примечание: Поливинилхлорид марок ПВХ-Е-6250-Ж, ПВХ-Е-6650- М, используемый для переработки в искусственные кожи, допускается выпускать с нормой по подпункту 5 - 15 мин при норме по подпункту 8 - 0,2 %. Допускается применение поливинилхлорида марок ПВХ-Е-6250-Ж, ПВХ-Е-6650-М для производства мипластовых сепараторов с насыпной плотностью 0,52 - 0,56 г/см3. | ||||||||||||
(Измененнаяредакция, Изм. № 3, 4).
Таблица 3
| Норма для марки и сорта | Норма для марки и сорта | Метод испытания | |||||
| ПВХ-ЕП-7002-С | ПВХ-ЕП-6602-С | ПВХ-ЕП-6202-С | |||||
| Высший сорт | 1-ый сорт | Высший сорт | 1-ый сорт | Высший сорт | 1-ый сорт | ||
| 1. Внешний вид: |
|
|
|
|
|
| По п. 3.4 |
| цвет | Порошок белого цвета | Порошок белого цвета |
| ||||
| количество посторонних включений, шт., не более | 5 | 25 | 5 | 25 | 5 | 25 |
|
| 2. Значение К | 70 - 73 | 70 - 73 | 66 - 69 | 66 - 69 | 62 - 65 | 62 - 65 | По ГОСТ 14040-82 |
| 3. Остаток после просева на сите с сеткой: |
|
|
|
|
|
| По п. 3.5.2 |
| № 02, %, не более | 0,03 | 0,06 | 0,03 | 0,06 | 0,03 | 0,06 |
|
| № 0063, %, не более | 1 | 5 | 1 | 5 | 1 | 5 |
|
| 4. Термостабильность при 180 °С, мин, не менее | 10 | 10 | 10 | 10 | 10 | 10 | По ГОСТ 14041-91 |
| 5. Вязкость пасты при скорости сдвига 50 с-1, Па×с | 3,6 - 5,6 | 3,6 - 7,5 | 3,6 - 5,6 | 3,6 - 7,5 | 3,6 - 5,6 | 3,6 - 7,5 | По ГОСТ 25276-82 |
| 6. Показатель набухаемости | 1 - 3 | 1 - 4 | 1 - 3 | 1 - 4 | 1 - 3 | 1 - 4 | По п. 3.9 |
| 7. Массовая доля экстрагируемых веществ, %, не более | 3 | 4 | 3 | 4 | 3 | 4 | По ГОСТ 24947-81 |
| 8. Расход пластификатора, см3/100 м×ч поливинилхлорида, не более | 50 | 60 | 50 | 60 | 50 | 60 | По п. 3.9 |
| 9. Массовая доля влаги и летучих веществ, %, не более | 0,3 | 0,3 | 0,3 | 0,3 | 0,3 | 0,3 | По ГОСТ 14043-78 и п. 3.10 настоящего стандарта |
| 10. Массовая доля сульфатной золы, %, не более | 1,0 | 1,4 | 1,0 | 1,4 | 1,0 | 1,4 | По ГОСТ 15973-82 |
| 11. Массовая доля щелочи в пересчете на NaOH, %, не более | Отсутствие | 0,1 | Отсутствие | 0,1 | Отсутствие | 0,1 | По п. 3.11 |
| 12. Массовая доля винилхлорида, млн-1, не более | 10 | 10 | 10 | 10 | 10 | 10 | По ГОСТ 25737-91 |
| Примечания: 1. Норма по показателю «Массовая доля щелочи» для поливинилхлорида, предназначенного для изготовления вспененных материалов должна быть не более 0,05 % при термостабильности не менее 3 мин. 2. Допускается по согласованию с потребителем изготовление поливинилхлорида 1-ого сорта с вязкостью пасты более 7,5 Па×с или менее 3,6 Па×с. | |||||||
(Измененная редакция, Изм. № 3, 4).
1.4. Условное обозначение марокполивинилхлорида состоит из наименования продукта - ПВХ и следующих обозначений:способа полимеризации - Е (эмульсионная); способа переработки через пасты (дляпастообразующих марок) - П; нижнего предела диапазона величины К - первые две цифры; показателянасыпной плотности - третья цифра: 0 - не нормируется, 5 - от 0,45 до 0,60 г/см3,показателя остатка на сите с сеткой № 0063- четвертая цифра: 0 - не нормируется; 2 - до 10 %; применяемости эмульсионногополивинилхлорида по табл. 4.
После обозначения марки эмульсионного поливинилхлоридауказывают сорт.
Таблица 4
| Применяемость | |
| М | Для переработки в пластифицированные изделия |
| Ж | Для переработки в жесткие изделия |
| С | Для переработки через средневязкие пасты |
Пример условногообозначения эмульсионногополивинилхлорида, изготовленного по способу эмульсионной полимеризации, свеличиной К от 70 до 73, с насыпной плотностью от 0,45 до 0,60 г/см3,с ненормируемым остатком на сите с сеткой № 0063, для переработки впластифицированные изделия, высшего сорта:
ПВХ-Е-7050-М, сорт высшийГОСТ 14039-78
То же, для переработки через пасты, с величинойК от 66 до 69, с ненормируемой насыпной плотностью, с остатком на сите ссеткой № 0063 - 5 %, для переработки через средневязкие пасты, первого сорта:
ПВХ-ЕП-6602-С, сорт1 ГОСТ 14039-78
(Измененная редакция, Изм. № 4).
2.1. Эмульсионный поливинилхлорид принимаютпартиями. Партией считают количество эмульсионного поливинилхлорида одной маркии сорта, сопровождаемое одним документом о качестве.
Документ должен содержать:
наименование предприятия-изготовителя и еготоварный знак;
условное обозначение продукта;
массу нетто;
номер партии и количество мест в ней;
результаты проведенных испытаний илиподтверждение о соответствии партии продукта требованиям настоящего стандарта;
дату изготовления;
обозначение настоящего стандарта.
Масса партии в мешках и контейнерах должна бытьне менее 4 т. При транспортировании поливинилхлорида в цистернах или вагонахдля полимеров партией считают каждую цистерну или вагон. Допускается уизготовителя за партию принимать объем готовой продукции в емкости вместимостьюне более 100 т.
(Измененная редакция, Изм. № 3, 4).
2.2. Для проверки соответствия качества эмульсионногополивинилхлорида требованиям стандарта устанавливают следующие категориииспытаний: приемо-сдаточные и периодические.
Для контроля качества эмульсионногополивинилхлорида пробы отбирают от каждой цистерны или вагона для полимеров илиот 0,5 % мешков или контейнеров, но не менее чем от трех упаковочных единиц.
Допускается изготовителю отбирать пробы иземкости готовой продукции равномерно из потока, поступающего на формированиепартии.
По показателям «Массовая доля сульфатной зоны»,«Набухаемость», «Массовая доля винилхлорида» изготовитель проводитпериодические испытания не реже одного раза в месяц на партии поливинилхлорида,прошедшей приемо-сдаточные испытания.
2.3. При получении неудовлетворительныхрезультатов испытаний хотя бы по одному из показателей по нему проводятповторные испытания проб, отобранных от удвоенного количества мешков иконтейнеров той же партии, или от удвоенного количества проб, отобранных отцистерны. Результаты повторного испытания распространяются на всю партию.
2.2; 2.3.(Измененная редакция, Изм. № 4).
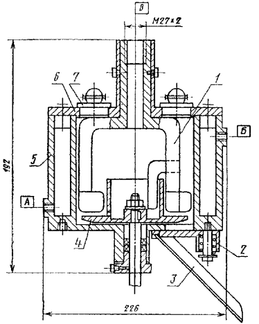
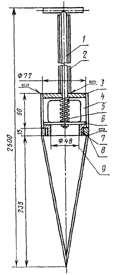
3.1. Точечные пробы эмульсионногополивинилхлорида отбирают при фасовке его в мешки. Из контейнера или цистерныпробы отбирают пробоотборником (черт. 1рекомендуемого приложения 2) неменее чем из трех мест по высоте. Допускается отбор проб из мешков в равныхколичествах металлическим щупом, погружая его на глубину мешка по вертикальнойоси.
Допускается отбор проб при заполненииконтейнера или цистерны.
Пробы отбирают в количестве не менее шести,равномерно, при заполнении контейнера или цистерны.
3.2. Точечные пробы соединяют вместе, тщательноперемешивают, отбирают объединенную пробу массой не менее 500 г, которуюпомещают в чистую сухую банку с притертой пробкой или полиэтиленовый мешочек,герметично закрытый.
3.1; 3.2.(Измененная редакция, Изм. № 3).
3.3. На банку или мешочек с объединенной пробойнаклеивают этикетку с указанием наименования продукта, марки, сорта, номерапартии, даты.
(Измененная редакция, Изм. № 3).
3.4. Определение внешнего вида
3.4.1. Цвет определяют визуально.
3.4.2. Посторонние включения определяют впленке.
3.4.2.1. Оборудование, посуда и материалы
Пластина стеклянная размером 625 см2с бортиками.
Рама размером 260 ´ 260 мм, на стойках.
Термошкаф, обеспечивающий точностьрегулирования температуры ±2 °С.
Ступка фарфоровая с пестиком по ГОСТ9147-80.
Цилиндр мерный по ГОСТ1770-74, вместимостью 50 см3.
Диоктилфталат по ГОСТ 8728-88.
Весы лабораторные по ГОСТ24104-88 квадрантные 4-го класса, типа ВЛТК-500г-М или весы других типов саналогичными метрологическими характеристиками.
(Измененная редакция, Изм. № 3, 4).
3.4.2.2. Проведение измерения
Навеску поливинилхлорида (20,0 ± 0,1) гпомещают в фарфоровую ступку, приливают (22 ± 2) см3 диоктилфталата,предварительно профильтрованного, и перемешивают до образования однороднойтекучей массы. Затем текучую массу поливом наносят на стеклянную пластину,наклоном пластины равномерно распределяют по всей площади и выдерживают 10 - 15мин. Далее помещают в термошкаф на 15 мин при (130 ± 2) °С. После охлаждения пластину с пленкой помещают нараму, освещают снизу на расстоянии около 200 мм лампой мощностью 60 Вт ипроводят подсчет посторонних включений визуально на пленке размером 240 ´ 240 мм. Посторонними являются включениянеполимерного характера, видимые в пленке невооруженным глазом.
За результат измерения принимают среднееарифметическое результатов двух параллельных определений с допустимыми расхождениями:3 шт. - для диапазона измерений 0 - 10 шт.; 6 шт. - для диапазона измерений 11- 30 шт.
Результаты вычисления округляют до целогочисла.
(Измененная редакция, Изм. № 4).
3.5. Определениеостатка после просева на сите
3.5.1. Определение остатка после сухого просевана сите
3.5.1.1. Приборы, посуда и материалы
Сита с сеткой № 02 по ГОСТ6613-86, высотой 30 - 50 мм. Весы лабораторные по ГОСТ24104-88 квадрантные 4-го класса, типа ВЛКТ-500г-М, весы лабораторные по ГОСТ24104-88 равноплечие 2-гокласса, типа ВЛР-200г или другие весы с аналогичными метрологическимихарактеристиками.
3.5.1.2. Проведение измерения
Навеску поливинилхлорида (50,00 ± 1,00) г переносятна сито с сеткой № 02 и просеивают, встряхивая. Рассев проводят до тех пор,пока количество прошедшего через сито за 1 мин материала составит менее 0,05 г,причем время просева не должно превышать 10 мин.
Остаток переносят на предварительно взвешеннуюкальку и взвешивают с погрешностью не более 0,001 г.
3.5.1.3. Обработка результатов
Остаток на сите (X1) в процентах вычисляют по формуле
![]()
где m - массанавески поливинилхлорида, г;
т1 - масса остаткана сите, г.
За результат испытания принимают среднее арифметическоерезультатов двух параллельных определений, допускаемое расхождение междукоторыми не должно превышать 0,010 %.
Окончательный результат вычисления округляют довторого десятичного знака.
3.5.1.1 - 3.5.1.3. (Введены дополнительно, Изм. № 4).
3.5.2. Определение остатка после мокрого просевана сите
3.5.2.1. Приборы, посуда и материалы
Сита с сеткой № 0063 и № 02 по ГОСТ6613-86 высотой 30 - 50 мм.
Термошкаф с автоматической регулировкой,поддерживающий температуру (100 ± 2) °С.
Лампа 3К-220-230-500-2.
Весы лабораторные по ГОСТ24104-88 квадрантные 4-го класса, типа ВЛТК-500г-М; весы лабораторные по ГОСТ24104-88 равноплечие 2-го класса типа ВЛР-200г или другие весы саналогичными метрологическими характеристиками.
Мензурка 250 ГОСТ1770-74.
Склянка 1-20,0 ГОСТ25336-82.
Чашка ЧВК-1-50 ГОСТ25336-82.
Палочка стеклянная с изгибом на конце диаметром~ 6 мм, длиной ~ 200 мм.
Вода дистиллированная по ГОСТ 6709-72 илиобессоленная.
(Измененная редакция, Изм. № 4).
3.5.2.2. Проведение измерения
Установку собирают (черт. 1) так, чтобы внутренняя стенка сита и ситовая тканьсмачивались по всей поверхности и вода не скапливалась на сите. Навескуполивинилхлорида (25,0 ± 0,5) г помещают в мензурку и приливают дистиллированную воду в количестве 100см3, тщательно перемешивая стеклянной палочкой содержимое мензурки.
Содержимое мензурки количественно переносят насито 2, предварительносмоченное водой. Мензурку и палочку тщательно промывают и промывные воды такжепереносят на сито. Порошок при постоянном перемешивании палочкой промывают насите 2, приливая черезнасадку 1 до 10 дм3воды. Остаток с сита переносят количественно водой около 50 см3 вчашку, предварительно высушенную до постоянной массы. Остаток сушат под лампойпри (105 ± 5) °С до визуально сухого состояния, затем в термошкафу притемпературе (70 ± 2) °С до постоянной массы. Погрешность взвешивания не более0,0005 г. Затем промывание порошка продолжают на сите 3 до тех пор, пока общее количествопромывной воды составит 30 дм3. Остаток на сите 3 определяют так же, как на сите 2.
3.5.2.3. Обработка результатов
Остаток на сите с сеткой № 02 (Х2) в процентах вычисляют по формуле
![]()
Остаток на сите с сеткой № 0063 (Х3)в процентах вычисляют по формуле
![]()
где т1 -масса остатка на сите с сеткой № 02, г;
m2 - масса остатка на сите с сеткой № 0063, вычисленная с учетом остаткана сите с сеткой № 02, г;
т - масса навески поливинилхлорида, г.
1 - насадка сотверстиями или шланг; 2 - сито с размером ячеек 0,200 мм; 3 -сито с размером ячеек 0,063 мм; 4- поддон для стока воды.
Черт. 1
За результат измерения принимают среднее арифметическоерезультатов двух параллельных определений, допустимое расхождение междукоторыми не должно превышать: для массы остатка на сите № 02 - 0,010 %, длямассы остатка на сите № 0063 - 0,5 %. Окончательный результат измеренияокругляют до второго десятичного знака - для остатка на сите с сеткой № 02 и доцелого числа - для остатка на сите с сеткой № 0063.
3.5.2.2 - 3.5.2.3. (Измененная редакция, Изм. № 4).
3.6. Вязкостьпасты определяют по ГОСТ 25276-82 при температуре (25,0 ± 0,1) °С, при скоростисдвига 1; 5; 50 с-1 и проведении замеров через 1 мин.
Навеску готовят следующим образом: 200 гполивинилхлорида, взвешенного с погрешностью не более 0,1 г, помещают в стакан№ 6, 7 по ГОСТ9147-80, приливают 133,3 г диоктилфталата по ГОСТ 8728-88 и перемешивают дополного смачивания поливинилхлорида пластификатором, а потом переносят всмеситель (черт. 2 рекомендуемогоприложения 2) вместимостью 1000см3.
Допускается применение навески другой массы присоотношении поливинилхлорида и диоктилфталата (60:40) м.ч.
Смеситель плотно закрывают крышкой, включаютохлаждение, мешалку и через 15 - 20 мин подключают вакуум-насос. Смешениепроводят при температуре (25,0 ± 1) °С в течение 60 мин до получения однородноймассы, поддерживая вакуум (13,3 - 19,9) ´ 102 Па (10 - 15 мм рт. ст.). Паступеред испытанием термостатируют 20 мин.
(Измененная редакция, Изм. № 3, 4).
3.6.1. - 3.6.3. (Исключены,Изм. № 3).
3.7. Определениепоказателя набухаемости
3.7.1. Проведение испытания
После определения вязкости пасты по п. 3.6 поднимают температуру термостата до(45,0 ± 0,1) °С и проводят термостатирование при этой температуре в течение 20мин, затем измеряют вязкость пасты начальную и через 1 ч после началаиспытания.
(Измененная редакция, Изм. № 4).
3.7.2. Обработка результатов
Показатель набухаемости (X4) вычисляют по формуле
![]()
где h60 - вязкость пасты, измеренная через 1 ч, после начала испытания, Па×с;
h0 - начальная вязкость пасты, Па×с.
За результат анализа принимают среднее арифметическоедвух параллельных определений, допускаемое расхождение между которыми не должнопревышать 0,2.
(Измененная редакция, Изм. № 3, 4).
3.8. - 3.8.3. (Исключены,Изм. № 2).
3.9. Определение расхода пластификатора на 100 м.ч. поливинилхлорида
Бюретка вместимостью 25 см3 с ценойделения 0,1 см3.
Ступка с пестиком по ГОСТ9147-80.
Диоктилфталат по ГОСТ 8728-88.
3.9.2. Проведение испытания
10 г поливинилхлорида, взвешенного спогрешностью не более 0,1 г, помещают в ступку, приливают около 3,5 см3диоктилфталата до полного смачивания полимера. Затем диоктилфталат добавляютпорциями по 0,5 см3 до образования пасты. После прилива каждойпорции диоктилфталата содержимое ступки тщательно перемешивают в течение 2 - 3мин. Образование пасты отмечают с момента появления текучести.
3.9.3. Обработка результатов
Расход пластификатора (Х6) всм3/100 м.ч. поливинилхлорида вычисляют по формуле
![]()
где V- объемпластификатора, израсходованный на образование пасты, см3;
m - масса навески поливинилхлорида, г.
За результат испытания принимают среднееарифметическое результатов двух параллельных определений, допускаемоерасхождение между которыми не должно превышать 2 %.
3.10. Массовуюдолю влаги и летучих веществ определяют по ГОСТ 14043-78 в термошкафу при (70 ± 2) °С.
3.11. Определениемассовой доли щелочи в пересчете на NaOH
3.11.1. Материалы, посуда, растворы:
Кислота серная по ГОСТ 4204-77, 0,1 н. раствор.
Натрия гидроокись по ГОСТ 4328-77, 0,1 н.раствор.
Фенолфталеин (индикатор), 1 %-ный спиртовойраствор.
Вода дистиллированная по ГОСТ 6709-72.
Колба Кн-1, 2-250 19/26-45/40 ТС ГОСТ25336-82.
Цилиндр мерный по ГОСТ1770-74, вместимостью 50 см3.
Бюретка вместимостью 25 см3.
(Измененная редакция, Изм. № 3, 4).
3.11.2. Проведение испытания
5 г поливинилхлорида, взвешенного спогрешностью не более 0,0002 г, помещают в коническую колбу и приливают 50 см3дистиллированной воды. Содержимое колбы взбалтывают, а затем приливают 10 см3раствора серной кислоты. Смесь нагревают до кипения. После охлаждениясодержимое колбы титруют раствором гидроокиси натрия в присутствиифенолфталеина до появления розового оттенка.
3.11.3. Обработка результатов
Массовую долю щелочи в пересчете на NaOH (X7) в процентах вычисляют по формуле
![]()
где V1 -объем точно 0,1 н. раствора серной кислоты, взятый для испытания, см3;
V2 - объем точно 0,1 н. раствора гидроокиси натрия, израсходованный натитрование, см3;
0,0040 - количество гидроокиси натрия,соответствующее 1 см3 точно 0,1 н. раствора гидроокиси натрия, г;
m - масса навески поливинилхлорида, г.
За результат испытания принимают среднееарифметическое результатов двух параллельных определений, допускаемоерасхождение между которыми не должно превышать 0,004 %.
Примечание. При разнице (V1 - V2) £ 0,5 см3 вычисление массовой долищелочи не производят, считая ее отсутствующей.
3.11.2; 3.11.3. (Измененнаяредакция, Изм. № 4).
4.1. Эмульсионныйполивинилхлорид упаковывают в четырех-пятислойные бумажные мешки марок ВМ, ПМпо ГОСТ 2226-88 , в специализированные мягкие контейнеры типаМКР-1,0C, МКО-1,0Спо нормативно-технической документации.
Допускается эмульсионный поливинилхлоридупаковывать в импортные бумажные мешки по качеству не ниже требований,установленных в стандарте.
4.2. Эмульсионный поливинилхлорид,предназначенный для экспорта, упаковывают в соответствии с требованиямизаказа-наряда внешнеторгового объединения.
4.3. Масса нетто эмульсионного поливинилхлоридав мешке должна быть (20,0 ± 0,5), (25,0 ± 0,5), (30,0 ± 0,5) кг, в контейнеремягком специализированном - (300 ± 10), (350 ± 10), (400 ± 10) кг.
Размеры нитей для сшивки мешков - по п. 2.7 ГОСТ 2226-88.
4.5.Полиэтиленовый вкладыш контейнера должен быть проварен. Допускается полиэтиленовыйвкладыш контейнера завязывать шпагатом по ГОСТ 17308-88 илидругими материалами по нормативно-технической документации, при этом горловинусобирают в пучок, завязывают шпагатом, затем перегибают и снова завязывают.
4.6. Эмульсионныйполивинилхлорид, упакованный в мешки, дополнительно помещают в универсальныеконтейнеры по ГОСТ 18477-79 или формируют в транспортные пакеты.
Основные параметры и размеры пакетов - по ГОСТ 24597-81.
Пакетирование осуществляют при повагонныхотправках железнодорожным транспортом на плоских поддонах по ГОСТ 9078-84, ГОСТ26381-84, ГОСТ9557-87 или без них, при мелких и малотоннажных отправках железнодорожнымтранспортом - в разборных (складных) ящичных поддонах с крышкой типа 4Я-840´1240 по ГОСТ 9570-84.
Способ укладки на поддоне - по ГОСТ 21140-88. Средстваскрепления транспортных пакетов - по ГОСТ21650-76.
4.7. Маркировка,характеризующая данные об упакованной продукции, должна содержать:
знак опасности, соответствующий классу 9,подклассу 9.2 и категории 923 по ГОСТ 19433-88;
манипуляционные знаки «Боится сырости», «Боитсянагрева» по ГОСТ 14192-77;
товарный знак и наименованиепредприятия-изготовителя или его условное обозначение;
наименование продукта и марку;
номер партии;
массу нетто и брутто;
дату изготовления;
обозначение настоящего стандарта.
Размер маркировочного ярлыка определяется взависимости от размеров знаков и данных по маркировке. Размеры знаков должныобеспечивать четкое прочтение данных маркировки.
Допускается при маркировании переменные данныенаносить четко и разборчиво от руки при условии обеспечения сохранностимаркировки.
Способы нанесения маркировки, способы крепленияярлыка и краска для маркировки - по ГОСТ 14192-77.
Маркировочные надписи должны быть выполненыконтрастным цветом.
Допускается вкладывать ярлык в тару или вупаковочную единицу так, чтобы маркировка была видна.
4.9. На пакеты, сформированные без поддонов,или на четырехзаходных поддонах, маркировку наносят на соседние боковую иторцевую поверхности.
На пакеты, сформированные на двухзаходныхподдонах, маркировку наносят на двух захватных сторонах.
Допускается по согласованию с потребителем намешки, из которых сформирован пакет, маркировку не наносить.
4.10. Маркирование эмульсионногополивинилхлорида, предназначенного для экспорта, производится в соответствии стребованиями заказа-наряда внешнеторгового объединения.
4.11.Транспортная маркировка эмульсионного поливинилхлорида при мелких ималотоннажных отправках и при транспортировании с перегрузкой в пути следованияосуществляется по ГОСТ 14192-77 с указанием манипуляционных знаков «Боитсясырости», «Боится нагрева» и с указанием знака опасности, соответствующегоклассу 9, подклассу 9.2 и категории 9.2.3 по ГОСТ 19433-88 ;
при повагонных отправках информационные надписине наносятся, а основные и дополнительные надписи по ГОСТ 14192-77 указываются в сопроводительнойдокументации.
4.12. Трафареты на подвижной состав наносятся всоответствии с правилами перевозки грузов.
4.14. Эмульсионный поливинилхлорид, упакованныйв мешки, транспортируют железнодорожным, автомобильным и водным транспортом вкрытых транспортных средствах в соответствии с правилами перевозки грузов,действующими на данном виде транспорта.
4.15. Эмульсионный поливинилхлорид насыпьютранспортируют железнодорожным транспортом в специальных цистернах и вагонахдля гранулированных полимеров грузоотправителя-грузополучателя.
4.16. Эмульсионный поливинилхлорид, упакованныйв специализированные мягкие контейнеры, транспортируют на открытом подвижномсоставе в соответствии с техническими условиями погрузки и крепления грузов,без перегрузок в пути следования.
Допускается по согласованию с потребителемтранспортирование эмульсионного поливинилхлорида, упакованного в специализированныемягкие контейнеры, в крытых железнодорожных вагонах.
4.17. Транспортирование эмульсионногополивинилхлорида транспортными пакетами производят по правилам перевозкигрузов, утвержденным соответствующими ведомствами.
4.18. Транспортированиеэмульсионного поливинилхлорида, упакованного в мешки, водным транспортомпроизводят в универсальных контейнерах по ГОСТ 18477-79 или транспортными пакетами.
4.19. Эмульсионный поливинилхлорид,предназначенный для экспорта, транспортируют в соответствии с требованиямизаказа-наряда внешнеторгового объединения.
4.20. Эмульсионный поливинилхлорид долженхраниться в закрытом помещении, исключающем попадание прямых солнечных лучей,на расстоянии не менее 1 м от нагревательных приборов при температуре не выше35 °С и относительной влажности воздуха не более 70 %.
Допускается хранение эмульсионногополивинилхлорида в течение не более 3 месяцев без соблюдения режима повлажности.
Разд. 4.(Измененная редакция, Изм. № 4).
5.1. Изготовитель должен гарантироватьсоответствие эмульсионного поливинилхлорида требованиям настоящего стандартапри соблюдении условий транспортирования и хранения.
(Измененная редакция, Изм. № 4).
5.2. Гарантийный срок хранения эмульсионногополивинилхлорида - один год со дня изготовления.
(Измененная редакция, Изм. № 3).
6.1. Эмульсионный поливинилхлорид представляетсобой белый порошок без вкуса и запаха.
По воздействию на организм человека относится кумеренно опасным веществам - 3 класс.
6.2. (Исключен,Изм. № 4).
6.3. При нагревании выше 150 °С эмульсионныйполивинилхлорид частично распадается с выделением хлористого водорода и окисиуглерода. Предельно допустимые концентрации в воздухе рабочей зоны, мг/м3:
винилхлорида ... 5/1;
хлористого водорода ... 5;
окиси углерода ... 20.
(Измененная редакция, Изм. № 4).
6.4. Осевшая пыль поливинилхлоридапожароопасна:
температура самовоспламенения … 500 °С
температура вспышки аэровзвеси … 624 °С
нижний предел взрываемости более 380 г/м3.
6.5. Производственные помещения по пожароопасностидолжны соответствовать категории В, класс помещений по ПУЭ П-11.
Средства пожаротушения: распыленная вода, пена,кошма, песок.
Уборку пыли в производственных помещениях проводятс помощью системы вакуумной пылеуборки.
6.6. Производственные помещения должны бытьоснащены приточно-вытяжной вентиляцией и соответствовать требованиям санитарныхнорм 245-71. Места отбора проб должны быть оборудованы дополнительно местнойвентиляцией.
Аппараты, реакторы должны быть заземлены сцелью защиты от статического электричества.
6.7. Индивидуальные средства защиты:спецодежда, респиратор типа «лепесток», противогаз БКФ, биологические перчатки(силиконовый крем).
ПРИЛОЖЕНИЕ 1.
(Исключено, Изм. № 4).
Рекомендуемое
1 - шток; 2 -направляющая трубка, в которой перемещается шток 1; 3, 7 - верхний и нижнийрезьбовые фланцы; 4 - цилиндрический корпус с окнами; 5 -пружина; 6 - шайба для перекрывания отверстия; 8 - резьбоваяшайба; 9 - полый конус
Черт. 1
А - входнагревающей воды; Б - выход нагревающей воды; В - отверстие длятермометра 1, 4 - ножи; 2 - отсекатель; 3 - лоток; 5 - корпус; 6 - крышка корпуса; 7 -загрузочные люки
Черт. 2
1. РАЗРАБОТАН И ВНЕСЕН Министерством химической промышленности СССР
РАЗРАБОТЧИКИ
В.В. Гузеев, А.И. Кириллов, В.И. Афанасьева, Т.С. Молова, В.Д. Карагодина, И.К. Киричек
2. УТВЕРЖДЕН И ВВЕДЕН В ДЕЙСТВИЕ Постановлением Государственного комитета СССР по стандартам от 17.03.78 № 711
3. ВЗАМЕН ГОСТ 14039-68, ГОСТ 5.829-71
4. ССЫЛОЧНЫЕ НОРМАТИВНО-ТЕХНИЧЕСКИЕ ДОКУМЕНТЫ
| Обозначение НТД, на который дана ссылка | Номер пункта |
| ГОСТ 1770-74 | |
| ГОСТ 2226-88 | |
| ГОСТ 4204-77 | |
| ГОСТ 4328-77 | |
| ГОСТ 6613-86 | |
| ГОСТ 6709-72 | |
| ГОСТ 8728-88 | |
| ГОСТ 9078-84 | |
| ГОСТ 9147-80 | |
| ГОСТ 9557-87 | |
| ГОСТ 9570-84 | |
| ГОСТ 11035-64 | |
| ГОСТ 14040-82 | |
| ГОСТ 14041-91 | |
| ГОСТ 14043-78 | |
| ГОСТ 14192-77 | |
| ГОСТ 15975-82 | |
| ГОСТ 17308-88 | |
| ГОСТ 18477-79 | |
| ГОСТ 19433-88 | |
| ГОСТ 21140-88 | |
| ГОСТ 21650-76 | |
| ГОСТ 24104-88 | |
| ГОСТ 24597-81 | |
| ГОСТ 24947-81 | |
| ГОСТ 25276-82 | |
| ГОСТ 25336-82 | |
| ГОСТ 25737-91 | |
| ГОСТ 26381-84 |
5. Ограничение срока действия снято Постановлением Госстандарта России от 28.09.92 № 1284
6. ПЕРЕИЗДАНИЕ (февраль 1996 г.) с Изменениями № 1, 2, 3, 4, утвержденными в мае 1980 г., сентябре 1981 г., августе 1984 г., декабре 1988 г. (ИУС 8-80, 12-81, 11-84, 2-89).
СОДЕРЖАНИЕ