Стандарт распространяется на предохранительные замки для однорогих кованых и штампованных крюков климатического исполнения У по ГОСТ 15150, применяемых в грузоподъемных машинах общего назначения.
Стандарт не распространяется на предохранительные замки для крюков, предназначенных для работы во взрывоопасной среде, а также дл грузоподъемных машин специального назначения.
| Обозначение: | ГОСТ 12840-80* |
| Название рус.: | Замки предохранительные для однорогих крюков. Типы и размеры |
| Статус: | действующий |
| Заменяет собой: | ГОСТ 12840-73 |
| Дата актуализации текста: | 01.10.2008 |
| Дата добавления в базу: | 01.02.2009 |
| Дата введения в действие: | 01.01.1981 |
| Разработан: | Министерство тяжелого машиностроения СССР |
| Утвержден: | Госстандарт СССР (31.01.1980) |
| Опубликован: | Издательство стандартов № 1980<br>ИПК Издательство стандартов № 1999 |
ГОСТ 12840-80
МЕЖГОСУДАРСТВЕННЫЙСТАНДАРТ
ЗАМКИПРЕДОХРАНИТЕЛЬНЫЕ
ДЛЯ ОДНОРОГИХ КРЮКОВ
ТИПЫ И РАЗМЕРЫ
ИПК ИЗДАТЕЛЬСТВОСТАНДАРТОВ
Москва
МЕЖГОСУДАРСТВЕННЫЙ СТАНДАРТ
| ЗАМКИ ПРЕДОХРАНИТЕЛЬНЫЕ ДЛЯ ОДНОРОГИХ КРЮКОВ Типы и размеры Safely locks for single hooks. | ГОСТ |
Дата введения 01.01.81
1. Настоящийстандарт распространяется на предохранительные замки для однорогих кованых иштампованных крюков климатического исполнения У по ГОСТ15150, применяемых в грузоподъемных машинах общего назначения.
Стандарт нераспространяется на предохранительные замки для крюков, предназначенных дляработы во взрывоопасной среде, а также для грузоподъемных машин специальногоназначения.
2.Предохранительные замки должны быть изготовлены следующих типов:
1 - замкипружинного замыкания;
2 - замки,замыкающиеся под действием собственной массы.
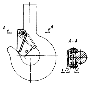
3. Присоединительные размеры замка типа 1 к крюку по ГОСТ 6627(исполнение 2) должны соответствовать указанным на черт. 1 и в табл. 1.
Таблица 1
мм
| Координаты центра отверстия | Диаметр отверстия крюка d Н14 | ||
| Н±1 | Н1±1 | ||
| 1 | 26 | 9 | 4 |
| 2 | 28 | ||
| 3 | 31 | 10 | |
| 4 | 35 | 12 | 5 |
| 5 | 38 | ||
| 6 | 42 | 15 | 6 |
| 7 | 48 | ||
| 8 | 56 | 18 | 8 |
| 9 | 60 | 21 | |
| 10 | 65 | ||
| 11 | 78 | 25 | 10 |
| 12 | 82 | 28 | |
| 13 | 92 | 32 | 12 |
| 14 | 105 | 35 | |
Примечание.Номера замков соответствуют номерам крюков по ГОСТ 6627.
1 - защелка; 2 -пружина; 3 - штифт
Черт. 1
Примечание.Чертеж не определяет конструкцию замка.
Пример условного обозначенияпредохранительного замка номер 7 типа 1:
Замок 7-1 ГОСТ12840-80
4.Присоединительные размеры замка типа 2 к крюку в случае сверления егохвостовика должны соответствовать указанным на черт. 2 и в табл. 2.
1 - скоба; 2 -штифт
Черт. 2
Примечание.Чертеж не определяет конструкцию замка.
Таблица 2
мм
| Координаты центра отверстия Н | Диаметр отверстия крюка d. H14 | Номер замка | Координаты центра отверстия Н | Диаметр отверстия крюка d. H14 | |||
| Номин. | Пред. откл. | Номин. | Пред. откл. | ||||
| 1 | 25 | ±1,0 | 3 | 14 | 105 | ±1,5 | 10 |
| 2 | 26 | 15 | 120 | ||||
| 3 | 30 | 16 | 130 | ||||
| 4 | 32 | 17 | 150 | 12 | |||
| 5 | 38 | 4 | 18 | 165 | |||
| 6 | 42 | 19 | 190 | ||||
| 7 | 48 | 20 | 210 | 16 | |||
| 8 | 55 | 6 | 21 | 240 | |||
| 9 | 60 | 22 | 260 | ||||
| 10 | 75 | 8 | 23 | 300 | 20 | ||
| 11 | 80 | 24 | 330 | ||||
| 12 | 85 | 25 | 370 | ||||
| 13 | 95 | 26 | 410 | ||||
Примечание. Номера замков соответствуют номерам крюков поГОСТ 6627.
Пример условного обозначенияпредохранительного замка номер 7 типа 2:
Замок 7-2 ГОСТ12840-80
Примерыконструкций предохранительных замков приведены в приложении.
Рекомендуемое
1. Примерконструкции и размеры предохранительных замков типа 1 приведены на черт. 1-3 и в табл. 1-3.

1 - защелка; 2 -пружина; 3 - штифт
Черт. 1
Таблица 1
| Sa, мм | Масса, г | Дет. 1 | Дет. 2 | Дет. 3 по ГОСТ 10774-80 | |
| 1 | 12 | 13 | 1-1/1 | 1-1/2 | 4h11´25 |
| 2 | 14 | 16 | 2-1/1 | ||
| 3 | 16 | 18 | 3-1/1 | 4h11´30 | |
| 4 | 19 | 31 | 4-1/1 | 4-1/2 | 5h11´36 |
| 5 | 21 | 35 | 5-1/1 | ||
| 6 | 23 | 45 | 6-1/1 | 6-1/2 | 6h11´36 |
| 7 | 27 | 49 | 7-1/1 | ||
| 8 | 30 | 81 | 8-1/1 | 8-1/2 | 8h11´45 |
| 9 | 33 | 87 | 9-1/1 | 8h11´50 | |
| 10 | 37 | 104 | 10-1/1 | ||
| 11 | 41 | 183 | 11-1/1 | 11-1/2 | 10h11´55 |
| 12 | 47 | 205 | 12-1/1 | 10h11´60 | |
| 13 | 51 | 294 | 13-1/1 | 14-1/2 | 12h11´70 |
| 14 | 62 | 321 | 14-1/2 |
(Измененная редакция, Изм. № 2).
1.1. Конструкцияи размеры защелки указаны на черт. 2и в табл. 2.
Деталь 1. Защелка
Черт. 2
Пример условного обозначения защелки длязамка номер 7 типа 1:
Защелка 7-1/1ГОСТ 12840-80
Таблица 2
мм
| b+1 | d H14 | L | l1 | l2 | l3 | l4 | l5 | l6 | S | r | r1 | Масса, г | |
| 1-1/1 | 18 | 4 | 26 | 8 | 6 | 18 | 37 | 4 | 7 | 1,5 | 1,5-3,0 | 4 | 10,5 |
| 2-1/1 | 28 | 13,0 | |||||||||||
| 3-1/1 | 22 | 31 | 22 | 41 | 15,0 | ||||||||
| 4-1/1 | 24 | 5 | 35 | 10 | 8 | 24 | 48 | 5 | 9 | 2,0 | 2,0-4,0 |
| 26,0 |
| 5-1/1 | 38 | 29,0 | |||||||||||
| 6-1/1 | 28 | 6 | 43 | 12 | 10 | 28 | 54 | 6 | 6 | 36,5 | |||
| 7-1/1 | 48 | 41,0 | |||||||||||
| 8-1/1 | 35 | 8 | 58 | 16 | 12 | 35 | 69 | 8 | 11 | 8,0 | 63,0 | ||
| 9-1/1 | 40 | 40 | 74 | 67,0 | |||||||||
| 10-1/1 | 62 | 84,0 | |||||||||||
| 11-1/1 | 45 | 10 | 75 | 20 | 15 | 45 | 87 | 10 | 14 | 3,0 | 3,0-5?0 | 10 | 152,0 |
| 12-1/1 | 50 | 78 | 50 | 92 | 167,0 | ||||||||
| 13-1/1 | 60 | 12 | 92 | 24 | 60 | 110 | 12 | 16 | 12 | 235,5 | |||
| 14-1/1 | 102 | 262,0 |
Примерусловного обозначения защелки для замка номер 7 типа 1:
Защелка 7-1/1ГОСТ 12840-80
1.2. Материал защелки - листовая сталь но ГОСТ 19903 и ГОСТ 19904 .
1.3. Отклонениеот соосности отверстий защелки - не более 0,25 мм.
1.4. Конструкцияи размеры пружины указаны на черт. 3и в табл. 3.
Деталь 2. Пружина
Черт. 3
Таблица 3
Размеры в мм
| D1 | d | H0 | b +1 | l ±1 | l1 +2 | t | Масса, г | |
| 1-1/2 | 7 | 0,8 | 22 | 9 | 8 | 18 | 2 | 0,6 |
| 4-1/2 | 8 | 25 | 12 | 25 | 0,8 | |||
| 6-1/2 | 9 | 1,0 | 32 | 12 | 10 | 32 | 3 | 1,4 |
| 8-1/2 | 11 | 39 | 20 | 12 | 45 | 1,7 | ||
| 11-1/2 | 13 | 1,2 | 50 | 25 | 14 | 50 | 4 | 3,1 |
| 14-1/2 | 15 | 60 | 35 | 16 | 3,7 |
Примерусловного обозначения защелки для замка номер 7 типа 1:
Пружина 6-1/2ГОСТ 12840-80
2. Пример конструкции и размеры предохранительных замков типа 2приведены на черт. 4-6 и в табл. 4-6.
* Размер длясправок.
1 - скоба; 2 - штифт
Черт. 4
Таблица 4
| Sа | Sb | Масса, кг, не более | Дет. 1 | Дет. 2 | |||
| Заклепка по ГОСТ 10299 , ГОСТ 10304 | Штифт | ||||||
| мм | по ГОСТ 10774 | по черт. 6 | |||||
| 1 | 13 | 2 | 0,03 | 1-2/1 | - | 3h11´30 | - |
| 2 | 15 | 2-2/1 | |||||
| 3 | 16 | 3-2/1 | 3´36.00 | - | |||
| 4 | 20 | 5 | 0,04 | 4-2/1 | |||
| 5 | 22 | 5-2/1 | |||||
| 6 | 24 | 0,08 | 6-2/1 | - | 4h11´40 | ||
| 7 | 28 | 7 | 0,09 | 7-2/1 | |||
| 8 | 30 | 0,22 | 8-2/1 | 6h11´55 | |||
| 9 | 34 | 0,24 | 9-2/1 | ||||
| 10 | 38 | 0,28 | 10-2/1 | ||||
| 11 | 42 | 0,46 | 11-2/1 | 8h11´70 | |||
| 12 | 45 | 10 | 0,52 | 12-2/1 | 8h11´80 | ||
| 13 | 50 | 0,58 | 13-2/1 | ||||
| 14 | 60 | 15 | 1,06 | 14-2/1 | 10h11´90 | ||
| 15 | 66 | 1,20 | 15-2/1 | 10h11´100 | |||
| 16 | 73 | 1,23 | 16-2/1 | ||||
| 17 | 75 | 2,37 | 17-2/1 | 12h11´120 | |||
| 18 | 90 | 20 | 2,63 | 18-2/1 | |||
| 19 | 100 | 2,97 | 19-2/1 | 12h11´140 | |||
| 20 | 110 | 5,61 | 20-2/1 | 16h11´160 | |||
| 21 | 120 | 6,59 | 21-2/1 | 16h11´180 | |||
| 22 | 130 | 22 | 7,16 | 22-2/1 | 16h11´200 | ||
| 23 | 150 | 12,31 | 23-2/1 | - | 23-2/2 | ||
| 24 | 170 | 25 | 13,61 | 24-2/1 | 24-2/2 | ||
| 25 | 190 | 35 | 15,07 | 25-2/1 | 25-2/2 | ||
| 26 | 200 | 40 | 16,50 | 26-2/1 | 26-2/2 | ||
Примечание. Номера замков соответствуют номерам крюков поГОСТ 6627.
(Измененнаяредакция, Изм. № 2).
2.1. Конструкция и размеры скобы указаны на черт. 5 и в табл. 5.
Деталь 1. Скоба
Черт. 5
Таблица 5
мм
| L | l | B | D | d H14 | r ±2,0 | r1 ±2,0 | r2 | h | h1 | К не более | S | Масса, кг не более | ||
| Н16 | ||||||||||||||
| 1-2/1 | 48 | 22 | 17 | 4 | 3 | 8 | 9 | 3 | 7 | 3 | 2 | 2 | 0,02 | |
| 2-2/1 | 52 | 23 | 0,03 | |||||||||||
| 3-2/1 | 55 | 27 | 20 | 11 | ||||||||||
| 4-2/1 | 65 | 22 | 6 | 10 | 12 | 9 | 3 | 0,04 | ||||||
| 5-2/1 | 70 | 32 | ||||||||||||
| 6-2/1 | 80 | 36 | 28 | 4 | 15 | 4 | 10 | 5 | 0,08 | |||||
| 7-2/1 | 95 | 40 | 0,09 | |||||||||||
| 8-2/1 | 105 | 48 | 34 | 10 | 6 | 14 | 18 | 6 | 16 | 8 | 3 | 5 | 0,21 | |
| 9-2/1 | 115 | 51 | 38 | 20 | 0,23 | |||||||||
| 10-2/1 | 130 | 65 | 0,27 | |||||||||||
| 11-2/1 | 140 | 68 | 45 | 12 | 8 | 20 | 24 | 8 | 20 | 9 | 6 | 0,43 | ||
| 12-2/1 | 160 | 72 | 50 | 26 | 0,49 | |||||||||
| 13-2/1 | 180 | 83 | 58 | 30 | 0.55 | |||||||||
| 14-2/1 | 200 | 87 | 62 | 16 | 10 | 24 | 32 | 10 | 26 | 12 | 4 | 8 | 1,01 | |
| 15-2/1 | 230 | 102 | 70 | 36 | 1,14 | |||||||||
| 16-2/1 | 250 | 112 | 72 | 40 | 1,17 | |||||||||
| 17-2/1 | 290 | 135 | 90 | 20 | 12 | 30 | 48 | 12 | 32 | 15 | 5 | 10 | 2,26 | |
| 18-2/1 | 330 | 140 | 92 | 50 | 2,27 | |||||||||
| 19-2/1 | 370 | 165 | 105 | 55 | 2,85 | |||||||||
| 20-2/1 | 410 | 185 | 120 | 26 | 16 | 40 | 63 | 16 | 42 | 20 | 6 | 12 | 5,38 | |
| 21-2/1 | 470 | 215 | 135 | 70 | 6,32 | |||||||||
| 22-2/1 | 520 | 235 | 150 | 80 | 6,86 | |||||||||
| 23-2/1 | 600 | 270 | 175 | 32 | 20 | 50 | 90 | 20 | 52 | 24 | 8 | 16 | 11,78 | |
| 24-2/1 | 670 | 295 | 195 | 95 | 13,06 | |||||||||
| 25-2/1 | 750 | 330 | 220 | 40 | 110 | 60 | 32 | 23,00 | ||||||
| 26-2/1 | 800 | 370 | 230 | 115 | 25,00 | |||||||||
Пример условного обозначения скобы для замканомер 7 типа 2:
Скоба - 7-2/1ГОСТ 12840-80
Примечание.Допускается увеличение диаметра D на 20 % посравнению с указанным в таблице.
(Измененная редакция, Изм. № 1).
2.2. Косынка должна быть приварена по контуру прилеганияэлектродами типа Э-42 по ГОСТ 9467 .
2.3. Допускаетсяцельноштампованный вариант изготовления скобы (штамповку скобы и косынкипроизводить одновременно из круга), а также изготовление скобы методом точноголитья.
2.5. Допускаетсяувеличивать размер l до полногоперекрытия зева крюка.
2.6. Отклонениеот соосности отверстий - не более 0,25 мм.
2.7. Отклонениеот перпендикулярности осей отверстий относительно плоскости симметрии скобы -не более 1,0 мм.
2.8. Материал скобы - горячекатаная круглая сталь по ГОСТ 2590 или калиброванная круглая сталь по ГОСТ 7417 .
2.9. Материал косынки - сталь листовая по ГОСТ 19903 и ГОСТ 19904 .
2.10. Конструкцияи размеры штифтов для замков номеров 23-26 указаны на черт. 6 и в табл. 6.
Деталь 2. Штифт
Черт. 6
| L, мм | Масса, кг | |
| 23-2/2 | 230 | 0,53 |
| 24-2/2 | 240 | 0,55 |
| 25-2/2 | 265 | 0,61 |
| 26-2/2 | 275 | 0,63 |
Примерусловного обозначения штифта для замка номер 23 типа 2:
Штифт 23-2/2 ГОСТ12840-80
2.11. Штифты должны быть изготовлены из стали марки 45 по ГОСТ 1050 без покрытия.
По требованиюпотребителя должно производиться антикоррозионное покрытие штифтов.
(Измененная редакция, Изм. № 1).
2.12. Допускается заменять штифты заклепками по ГОСТ 10299 и ГОСТ 10304 .
3. Предельныеотклонения размеров, не указанные на чертежах, должны быть: охватывающих - поН14; охватываемых - h14; прочих - по ±
.
(Измененная редакция. Изм. № 1).
4. Предельныеотклонения масс, указанных в табл. 1-6- не более 10 %.
ИНФОРМАЦИОННЫЕ ДАННЫЕ
1. РАЗРАБОТАН И ВНЕСЕН Министерствомтяжелого машиностроения СССР
РАЗРАБОТЧИКИ
А.С. Липатов,Н.И. Ивашков, Н.М. Колпаков
2. УТВЕРЖДЕН ИВВЕДЕН В ДЕЙСТВИЕ Постановлением Государственного комитета СССР по стандартамот 31.01.80 № 491
3.ВЗАМЕН ГОСТ 12840-73
4. ССЫЛОЧНЫЕНОРМАТИВНО-ТЕХНИЧЕСКИЕ ДОКУМЕНТЫ
| Обозначение НТД, на который дана ссылка | Номер пункта, приложения |
| ГОСТ 1050-88 | Приложение (п. 2.11) |
| ГОСТ 2590-88 | Приложение (п. 2.8) |
| ГОСТ 6627-74 | |
| ГОСТ 7417-75 | Приложение (п. 2.8) |
| ГОСТ 9389-75 | Приложение (п. 1.5) |
| ГОСТ 9467-75 | |
| ГОСТ 10299-80 | |
| ГОСТ 10304-80 | |
| ГОСТ 10774-80 ГОСТ 15150-69 | |
| ГОСТ 19903-74 | |
| ГОСТ 19904-90 |
5. Снято ограничение срока действия ПостановлениемГосстандарта от 25.07.90 № 2262
6. ПЕРЕИЗДАНИЕ(декабрь 1998 г.) с Изменениями № 1, 2, утвержденными в марте 1982 г., июле1990 г. (ИУС 7-82, 11-90)