Настоящий стандарт распространяется на упорные шпильки, применяемые для фланцевых соединений арматуры, соединительных частей трубопроводов, используемых в химической и нефтехимической промышленностях на Ру свыше 10 до 100 МПа (свыше 100 до 1000 кгс/кв.см), при температуре от минус 50 до плюс 510 градусов С.
| Обозначение: | ГОСТ 11447-80* |
| Название рус.: | Шпильки упорные на Ру свыше 10 до 100 МПа (свыше 100 до 1000 кгс/ кв.см). Технические условия |
| Статус: | действующий |
| Заменяет собой: | ГОСТ 11447-65 |
| Дата актуализации текста: | 01.10.2008 |
| Дата добавления в базу: | 01.02.2009 |
| Дата введения в действие: | 01.01.1982 |
| Разработан: | Министерство химического и нефтяного машиностроения |
| Утвержден: | Госстандарт СССР (30.12.1980) |
| Опубликован: | Издательство стандартов № 1980<br>ИПК Издательство стандартов № 1999 |
ГОСТ 11447-80
МЕЖГОСУДАРСТВЕННЫЙ СТАНДАРТ
ШПИЛЬКИ УПОРНЫЕ на Ру
свыше 10 до 100 МПа (свыше 100
до 1000 кгс/см2)
ТЕХНИЧЕСКИЕУСЛОВИЯ
ИПК ИЗДАТЕЛЬСТВО СТАНДАРТОВ
Москва
МЕЖГОСУДАРСТВЕННЫЙ СТАНДАРТ
| ШПИЛЬКИ УПОРНЫЕ НА РУ свыше 10 Технические условия Locking studs for Py 10 - 100 MPa (100 - 1000 kgf/cm2). | ГОСТ |
Дата введения 01.01.82
Настоящийстандарт распространяется на упорные шпильки, применяемые для фланцевыхсоединений арматуры, соединительных частей трубопроводов, используемых вхимической и нефтехимической промышленностях на Ру свыше 10 до 100МПа (свыше 100 до 1000 кгс/см2), при температуре от минус 50 до плюс510 °С.
Требования разд. 2, 3, 4; п.п. 1.1, 1.2, 5.1, 5.2, 5.4, 5.6, 5.8 являются обязательными, другие требования настоящегостандарта являются рекомендуемыми.
(Измененнаяредакция, Изм. № 2).
1.1.Шпильки должны изготовлять двух типов:
А - содинаковыми номинальными диаметрами резьбы и гладкой части;
Б - сноминальными диаметрами резьбы больше номинального диаметра гладкой части.
Дляиспользования при температуре свыше 200 °С должны изготовлятьшпильки только типа Б.
1.2.Конструкция и размеры шпилек должны соответствовать указанным на чертеже и в табл. 1.
мм
| Номина-льный диаметр резьбы d | Диаметр гладкой части d1 h12 | Диаметр хвостовика d2 | Длина ввинчиваемого резьбового конца l1 | Длина резьбового конца | Длина хвостовика | Длина хвостовика l4 | Размер | Радиус проточки R | Фаска | Предел длины шпилек (без ввинчиваемого конца | ||||
| номин. | пред. откл. | номин. | пред. откл. | номин. | пред. откл. | номин. | пред. откл. | |||||||
| 12 | 9,5 | 8 | 17 | +0,52 | 30 | ±1,5 | 7 | +0,20 | 8 | 7 | -0,20 | 4 | 1,0 | 30-80 |
| 14 | 11,0 | 10 | 20 | 9 | 8 | 1,6 | 35-90 | |||||||
| 16 | 13,0 | 12 | 22 | 10 | +0,24 | 10 | 2,0 | 40-100 | ||||||
| 20 | 16,0 | 15 | 28 | +0,62 | 36 | 13 | 12 | -0,24 | 3,0 | 45-110 | ||||
| 22 | 18,0 | 17 | 30 | 40 | 14 | 50-120 | ||||||||
| 24 | 19,0 | 33 | 45 | 6 | 60-130 | |||||||||
| 27 | 22,0 | 20 | 35 | 15 | 17 | 4,0 | 70-140 | |||||||
| 30 | 24,0 | 22 | 40 | 55 | 16 | 19 | -0,28 | 80-160 | ||||||
| 33 | 27,0 | 25 | 45 | +0,74 | 22 | 90-180 | ||||||||
| 36 | 29,0 | 27 | 50 | 60 | ±2,0 | 20 | +0,28 | 10 | 24 | 8 | 6,0 | 100-200 | ||
| 39 | 32,0 | 30 | 52 | 65 | 12 | 27 | 120-220 | |||||||
| 42 | 35,0 | 32 | 58 | 70 | 22 | 14 | 30 | 130-230 | ||||||
| 45 | 38,0 | 35 | 61 | 75 | 24 | 32 | -0,34 | 10 | 7,0 | 140-240 | ||||
| 48 | 40,0 | 37 | 64 | 80 | 26 | 15 | 150-250 | |||||||
| 52 | 44,0 | 41 | 70 | 85 | 28 | 18 | 36 | 12 | 8,0 | 160-260 | ||||
Примеры условных обозначений шпильки типаА, с диаметром резьбы d=20мм, длиной шпильки l=50мм, из стали марки 40ХФА, без покрытия:
ШпилькаАМ20´50.40ХФАГОСТ 11447-80
То же, типа Б:
ШпилькаБМ20´50.40ХФАГОСТ 11447-80
То же, типа А,с покрытием 02, толщиной 9 мкм:
ШпилькаАМ20´50.40ХФА,029 ГОСТ 11447-80
То же, типа Б:
ШпилькаБМ20´50.40ХФА,029 ГОСТ 11447-80
1.3.Масса шпилек типа А должна соответствовать указанной в табл. 2, типа Б - в табл.3.
Таблица 2
| Длина шпильки, l, мм | Номинальный диаметр резьбы, d, мм | ||||||||||||||
| 12 | 14 | 16 | 20 | 22 | 24 | 27 | 30 | 33 | 36 | 39 | 42 | 45 | 48 | 52 | |
| Масса, кг | |||||||||||||||
| 30 | 0,040 | - | - | - | - | - | - | - | - | - | - | - | - | - | - |
| 35 | 0,044 | 0,064 | - | - | - | - | - | - | - | - | - | - | - | - | - |
| 40 | 0,049 | 0,070 | 0,097 | - | - | - | - | - | - | - | - | - | - | - | - |
| 45 | 0,053 | 0,076 | 0,105 | 0,174 | - | - | - | - | - | - | - | - | - | - | - |
| 50 | 0,057 | 0,082 | 0,113 | 0,187 | 0,238 | - | - | - | - | - | - | - | - | - | - |
| 55 | 0,060 | 0,089 | 0,121 | 0,199 | 0,252 | - | - | - | - | - | - | - | - | - | - |
| 60 | 0,066 | 0,095 | 0,128 | 0,211 | 0,267 | 0,332 | - | - | - | - | - | - | - | - | - |
| 65 | 0,071 | 0,101 | 0,136 | 0,224 | 0,282 | 0,350 | - | - | - | - | - | - | - | - | - |
| 70 | 0,075 | 0,107 | 0,144 | 0,236 | 0,297 | 0,368 | 0,477 | - | - | - | - | - | - | - | - |
| 75 | 0,080 | 0,113 | 0,152 | 0,248 | 0,312 | 0,386 | 0,499 | - | - | - | - | - | - | - | - |
| 80 | - | 0,125 | 0,168 | 0,273 | 0,342 | 0,421 | 0,544 | 0,685 | - | - | - | - | - | - | - |
| 85 | - | 0,125 | 0,168 | 0,273 | 0,342 | 0,421 | 0,544 | 0,685 | - | - | - | - | - | - | - |
| 90 | - | 0,131 | 0,176 | 0,285 | 0,357 | 0,439 | 0,567 | 0,713 | 0,900 | - | - | - | - | - | - |
| 95 | - | - | 0,184 | 0,298 | 0,372 | 0,457 | 0,589 | 0,741 | 0,934 | - | - | - | - | - | - |
| 100 | - | - | 0,192 | 0,310 | 0,387 | 0,475 | 0,612 | 0,786 | 0,967 | 1,167 | - | - | - | - | - |
| 105 | - | - | - | 0,322 | 0,402 | 0,492 | 0,634 | 0,796 | 1,001 | 1,207 | - | - | - | - | - |
| 110 | - | - | - | 0,335 | 0,417 | 0,510 | 0,657 | 0,824 | 1,034 | 1,247 | - | - | - | - | - |
| 115 | - | - | - | - | 0,431 | 0,528 | 0,679 | 0,852 | 1,068 | 1,287 | - | - | - | - | - |
| 120 | - | - | - | - | 0,446 | 0,546 | 0,702 | 0,879 | 1,101 | 1,327 | 1,662 | - | - | - | - |
| 130 | - | - | - | - | - | 0,581 | 0,747 | 0,935 | 1,169 | 1,409 | 1,756 | 2,063 | - | - | - |
| 140 | - | - | - | - | - | - | 0,792 | 0,990 | 1,236 | 1,487 | 1,850 | 2,172 | 2,574 | - | - |
| 150 | - | - | - | - | - | - | - | 1,046 | 1,303 | 1,567 | 1,940 | 2,201 | 2,699 | 3,113 | - |
| 160 | - | - | - | - | - | - | - | 1,101 | 1,370 | 1,647 | 2,037 | 2,389 | 2,824 | 3,255 | 3,921 |
| 170 | - | - | - | - | - | - | - | - | 1,437 | 1,727 | 2,131 | 2,498 | 2,948 | 3,397 | 4,088 |
| 180 | - | - | - | - | - | - | - | - | 1,504 | 1,806 | 2,225 | 2,607 | 3,073 | 3,539 | 4,255 |
| 190 | - | - | - | - | - | - | - | - | - | 1,886 | 2,318 | 2,716 | 3,198 | 3,681 | 4,421 |
| 200 | - | - | - | - | - | - | - | - | - | 1,966 | 2,412 | 2,824 | 3,323 | 3,823 | 4,588 |
| 210 | - | - | - | - | - | - | - | - | - | - | 2,506 | 2,939 | 3,448 | 3,965 | 4,755 |
| 220 | - | - | - | - | - | - | - | - | - | - | 2,600 | 3,042 | 3,573 | 4,107 | 4,821 |
| 230 | - | - | - | - | - | - | - | - | - | - | - | 3,151 | 3,697 | 4,250 | 5,088 |
| 240 | - | - | - | - | - | - | - | - | - | - | - | - | 3,822 | 4,392 | 5,255 |
| 250 | - | - | - | - | - | - | - | - | - | - | - | - | - | 4,534 | 5,422 |
| 260 | - | - | - | - | - | - | - | - | - | - | - | - | - | - | 5,588 |
| Длина шпильки l, мм | Номинальный диаметр резьбы d, мм | ||||||||||||||
| 12 | 14 | 16 | 20 | 22 | 24 | 27 | 30 | 33 | 36 | 39 | 42 | 45 | 48 | 52 | |
| Масса, кг, не более | |||||||||||||||
| 30 | 0,037 | - | - | - | - | - | - | - | - | - | - | - | - | - | - |
| 35 | 0,039 | 0,059 | - | - | - | - | - | - | - | - | - |
| - | - | - |
| 40 | 0,042 | 0,063 | 0,090 | - | - | - | - | - | - | - | - | - | - | - | - |
| 45 | 0,045 | 0,067 | 0,095 | 0,164 | - | - | - | - | - | - | - | - | - | - | - |
| 50 | 0,048 | 0,071 | 0,100 | 0,173 | 0,224 | - | - | - | - | - | - | - | - | - | - |
| 55 | 0,051 | 0,075 | 0,105 | 0,181 | 0,235 | - | - | - | - | - | - | - | - | - | - |
| 60 | 0,054 | 0,078 | 0,110 | 0,189 | 0,245 | 0,306 | - | - | - | - | - | - | - | - | - |
| 65 | 0,057 | 0,082 | 0,115 | 0,198 | 0,256 | 0,318 | - | - | - | - | - | - | - | - | - |
| 70 | 0,059 | 0,086 | 0,121 | 0,206 | 0,266 | 0,329 | 0,436 | - | - | - | - | - | - | - | - |
| 75 | 0,062 | 0,090 | 0,126 | 0,214 | 0,277 | 0,341 | 0,452 | - | - | - | - | - | - | - | - |
| 80 | 0,065 | 0,094 | 0,131 | 0,222 | 0,287 | 0,353 | 0,468 | 0,597 | - | - | - | - | - | - | - |
| 85 | - | 0,098 | 0,136 | 0,231 | 0,298 | 0,364 | 0,483 | 0,615 | - | - | - | - | - | - | - |
| 90 | - | 0,102 | 0,141 | 0,239 | 0,308 | 0,376 | 0,499 | 0,633 | 0,808 | - | - | - | - | - | - |
| 95 | - | - | 0,146 | 0,247 | 0,319 | 0,388 | 0,514 | 0,651 | 0,830 | - | - | - | - | - | - |
| 100 | - | - | 0,151 | 0,256 | 0,330 | 0,400 | 0,520 | 0,668 | 0,852 | 1,055 | - | - | - | - | - |
| 105 | - | - | - | 0,264 | 0,340 | 0,411 | 0,546 | 0,686 | 0,875 | 1,082 | - | - | - | - | - |
| 110 | - | - | - | 0,272 | 0,351 | 0,423 | 0,561 | 0,704 | 0,897 | 1,110 | - | - | - | - | - |
| 115 | - | - | - | - | 0,361 | 0,435 | 0,577 | 0,722 | 0,920 | 1,138 | - | - | - | - | - |
| 120 | - | - | - | - | 0,372 | 0,447 | 0,592 | 0,739 | 0,942 | 1,166 | 1,483 | - | - | - | - |
| 130 | - | - | - | - | - | 0,470 | 0,624 | 0,775 | 0,987 | 1,221 | 1,548 | 1,841 | - | - | - |
| 140 | - | - | - | - | - | - | 0,655 | 0,810 | 1,032 | 1,277 | 1,613 | 1,918 | 2,309 | - | - |
| 150 | - | - | - | - | - | - | - | 0,846 | 1,077 | 1,332 | 1,678 | 1,994 | 2,400 | 2,776 | - |
| 160 | - | - | - | - | - | - | - | 0,881 | 1,122 | 1,388 | 1,744 | 2,070 | 2,491 | 2,878 | 3,504 |
| 170 | - | - | - | - | - | - | - | - | 1,167 | 1,443 | 1,809 | 2,147 | 2,582 | 2,979 | 3,624 |
| 180 | - | - | - | - | - | - | - | - | 1,212 | 1.499 | 1,874 | 2,223 | 2,673 | 3,080 | 3,745 |
| 190 | - | - | - | - | - | - | - | - | - | 1,554 | 1,939 | 2,300 | 2,763 | 3,181 | 3,865 |
| 200 | - | - | - | - | - | - | - | - | - | 1,610 | 2,004 | 2,376 | 2,854 | 3,282 | 3,986 |
| 210 | - | - | - | - | - | - | - | - | - | - | 2,069 | 2,452 | 2,945 | 3,383 | 4,106 |
| 220 | - | - | - | - | - | - | - | - | - | - | 2,134 | 2,529 | 3,036 | 3,484 | 4,347 |
| 230 | - | - | - | - | - | - | - | - | - | - | - | 2,605 | 3,127 | 3,535 | 4,347 |
| 240 | - | - | - | - | - | - | - | - | - | - | - | - | 3,218 | 3,687 | 4,468 |
| 250 | - | - | - | - | - | - | - | - | - | - | - | - | - | 3,788 | 4,588 |
| 260 | - | - | - | - | - | - | - | - | - | - | - | - | - | - | 4,709 |
1.2, 1.3. (Измененнаяредакция, Изм. № 2).
2.1. Шпилькидолжны изготовлять в соответствии с требованиями настоящего стандарта порабочим чертежам, утвержденным в установленном порядке.
2.2. Шпилькиследует изготовлять из сортового проката или поковок.
2.3. Маркисталей и параметры их применения должны соответствовать указанным в табл. 4.
| Марка стали | Обозначение стандарта | Предельные параметры применения | |
| температура, °С | условное давление, | ||
| 35Х | ГОСТ 4543 | От минус 50 | »63(630) |
| 38ХА | |||
| 40Х | |||
| 35ХМ | От минус 50 | »80(800) | |
| 30ХМА | |||
| 40ХФА | |||
| 25Х1МФ | ГОСТ 20072 | От минус 50 | »100(1000) |
| 25Х2М1Ф | |||
Примечание. Допускается посогласованию между потребителем и изготовителем применять стали других марок,разрешенных Госгортехнадзором СССР, если их механические свойства не нижеуказанных в табл. 5.
2.4. Заготовкидля изготовления шпилек должны быть подвергнуты термической обработке - закалкеи отпуску. Режимы термической обработки приведены в приложении.
2.5.Механические свойства заготовок при температуре 20 °С в термическиобработанном состоянии должны соответствовать указанным в табл. 5.
| Марка стали | Условный предел текучести | Временное сопротивление | Относительное удлинение | Ударная вязкость | Твердость НВ |
| не менее | |||||
| 35Х; 38ХА; 40Х | ³588 | 735 | 14 | 58,8 | 235-277 |
| 35ХМ; 30ХМА; 40ХФА | 637-784 | 785 | 13 | 248-293 | |
| 25Х1МФ | 667-784 | 16 | |||
| 25Х2М1Ф | 12 | 49,0 | |||
(Измененнаяредакция, Изм. № 1).
2.6. Сдаточнымихарактеристиками являются временное сопротивление, условный предел текучести,относительное удлинение и ударная вязкость.
2.7.Резьба - метрическая с крупным шагом по ГОСТ 24705 с полем допуска 6 g по ГОСТ 16093.
2.8. Сбегрезьбы - нормальный по ГОСТ 10549, форма впадин резьбы должна быть закругленнойпо ГОСТ 9150.
2.7, 2.8. (Измененнаяредакция, Изм. № 1).
2.9. Привыполнении резьбы накаткой допускается изготовлять резьбу с концевой фаской 30°.
2.10.При выполнении резьбы нарезкой диаметр гладкой части шпилек должен быть длятипов:
А - по ГОСТ19258;
Б - всоответствии с табл. 1.
При выполнениирезьбы накаткой диаметр гладкой части шпилек - по ГОСТ 19256.
2.11.Резьба должна быть чистой и не должна иметь заусенцев и сорванных ниток.Вмятины на резьбе, препятствующие навинчиванию проходного калибра, недопускаются.
Нарезанная игладкая поверхности шпилек не должны иметь трещин.
2.12.Допускаемое смещение оси резьбы относительно оси гладкой части стержняшпильки - по h 12 ГОСТ25347.
2.13.Неуказанные предельные отклонения размеров валов - по h 14, остальных - по ±
ГОСТ 25347.
2.12, 2,13. (Измененнаяредакция, Изм. № 1).
2.14. Стерженьшпильки должен быть прямым. Допускаемая кривизна стержня шпильки на 100 ммдлины не должна превышать:
0,2 мм - придиаметре шпильки от 12 до 24 мм;
0,1 - придиаметре шпильки свыше 24 мм.
2.15.Допускается изготовлять шпильки с центровыми отверстиями по ГОСТ 14034.
2.16.Шпильки, используемые при температуре до 200 °С, по заказу потребителядолжны изготовляться с покрытием. Вид покрытия - по ГОСТ 9.303. Толщина покрытия - по ГОСТ 9.306. Условное обозначение покрытия - по ГОСТ1759.0.
(Измененнаяредакция, Изм. № 1, 2).
2.17. Защитныепокрытия должны быть однородными. Пузыри и отслаивания не допускаются.
2.18.Требования к шероховатости поверхности под покрытие - по ГОСТ 9.301.
3.1. Правилаприемки - по ГОСТ 17769.
3.2. Каждаяшпилька должна быть подвергнута проверке на соответствие требованиям п.п. 1.1, 2.7-2.18, 5.1, 5.2.
3.3. Шпилькидолжны предъявлять к приемке партиями. Партия должна состоять из шпилек одногоусловного обозначения, изготовленных из одной партии заготовок.
3.4. Проверкушпилек на соответствие требованиям п. 2.5следует проводить на основании результатов испытаний каждой партии заготовок.
3.5. Партиязаготовок должна состоять из металла одной плавки и одной садки при термическойобработке.
3.6. Испытаниязаготовок на твердость должны проводить в объеме 100 %. При длине заготовкиболее 500 мм твердость измеряют на обоих концах и по длине с интервалом неболее 500 мм.
3.7. Одинпроцент заготовок от партии, но не менее двух штук, с нижним и верхнимзначениями твердости в данной партии должны подвергать испытаниям насоответствие требованиям п. 2.5.
Допускается отбиратьзаготовки для механических испытаний с промежуточными значениями твердости. Вэтом случае твердость является сдаточной характеристикой.
3.8. Числоиспытываемых образцов от каждой контролируемой заготовки должно быть: 1 - нарастяжение и 2 - на ударную вязкость.
3.9. Испытаниена ударную вязкость заготовок для шпилек размером М12 и М14 допускается непроводить.
3.10. Приполучении неудовлетворительных результатов испытания механических свойств хотя быодного образца следует проводить повторные испытания удвоенного числа образцаиз тех же заготовок или других этой же партии с той же твердостью только повиду испытаний, давших неудовлетворительный результат.
3.11. Партиюсчитают годной, если при повторных испытаниях получены положительныерезультаты. При получении неудовлетворительных результатов испытаний партиязаготовок может быть предъявлена к приемке вновь после испытания заготовок споследующим уровнем твердости.
3.12.Заготовки с твердостью, не обеспечивающей получение требуемых механическихсвойств, указанных в табл. 5, могут бытьдопущены к сдаче после повторной термической обработки с проведениемсоответствующих испытаний.
Числоповторных термических обработок не должно быть более двух. Дополнительныйотпуск не считают повторной термической обработкой.
4.1. Внешнийосмотр (п.п. 2.11, 5.1, 5.2) следуетпроводить без применения увеличительных приборов.
4.2. Размерышпилек (п.п. 1.1, 2.7 - 2.10, 2.12-2.15)следует проверять предельными калибрами, шаблонами, универсальнымиизмерительными приборами.
4.3.Определение твердости (п. 2.5) - по ГОСТ 9012.
4.4. Испытаниена растяжение (п. 2.5) - по ГОСТ 1497.
4.5. Испытаниена ударную вязкость (п. 2.5) - по ГОСТ9454-78, образец типа 1.
4.6. Методотбора проб (п. 2.5) - по ГОСТ 7564.
4.7. Методыпроверки качества и толщины покрытия (п.п.2.16 - 2.18) - по ГОСТ 9.302. Толщину покрытия проверяют на стержнешпильки.
5.1.Маркировка шпилек в зависимости от марок стали должна соответствовать указаннойв табл. 6.
| Марка стали | Маркировка |
| 35Х; 38ХА; 40Х |
|
| 35ХМ; 30ХМА; 40ХФА |
|
| 25Х1МФ; 25Х2М1Ф |
|
Примечания:
1. Допускается маркировка наторце хвостовика.
2. Маркировкадолжна сохраняться при замене стали на равноценную.
5.2.На шпильках, в местах, указанных в табл. 6,должна быть нанесена маркировка с указанием:
номера партии;
товарногознака предприятия-изготовителя.
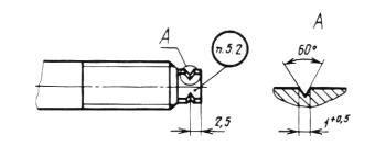
5.3. Высотазнаков маркировки должна быть:
2,5 мм - дляшпилек d £27 мм;
4 мм - дляшпилек d >27 мм.
5.4.Знаки маркировки должны быть отчетливо видны невооруженным глазом.
5.5.Маркировку следует проводить ударным способом.
5.6.Партия шпилек должна сопровождаться паспортом, удостоверяющим соответствиешпилек требованиям настоящего стандарта.
Паспорт долженсодержать следующие данные:
наименованиепредприятия-изготовителя;
условноеобозначение шпилек;
число шпилек;
номер партии;
марку стали;
номернастоящего стандарта;
результатыиспытаний (с указанием даты);
вид и толщинупокрытия (для шпилек с покрытием);
штамп ОТК.
5.7. (Исключен,Изм. № 1).
5.8.Требования к упаковке, транспортированию, хранению и маркировке тары - по ГОСТ 18160.
5.9. Прихранении в закрытом помещении шпильки должны находиться в таре.
5.10.Допускается по согласованию между потребителем и изготовителем шпильки спокрытием не подвергать консервации.
Рекомендуемое
Режимытермической обработки заготовок
| Марка стали | Закалка | Отпуск | ||
| температура нагрева, °С | охлаждающая среда | температура нагрева, °С | охлаждающая среда | |
| 35Х | 850-870 | Масло | 500-540 | Вода и масло |
| 38ХА | 850-870 | 530-580 | ||
| 40Х | 850-870 | 530-580 | ||
| 30ХМА | 850-890 | 530-570 | ||
| 35ХМ | 850-870 | 560-600 | ||
| 40ХФА | 870-890 | 630-660 | ||
| 25Х1МФ | 930-950 | 620-660 | ||
| 25Х2М1Ф | Двойная нормализация | 680-700 | ||
ИНФОРМАЦИОННЫЕДАННЫЕ
1. РАЗРАБОТАН ИВНЕСЕН Министерством химического и нефтяного машиностроения СССР
РАЗРАБОТЧИКИ
Е.Я. Нейман;Л.Ф. Березин (руководитель темы)
2. УТВЕРЖДЕН И ВВЕДЕНВ ДЕЙСТВИЕ Постановлением Государственного комитета СССР по стандартам от30.12.80 № 6081
3. ВЗАМЕН ГОСТ11447-65
4. ССЫЛОЧНЫЕНОМАТИВНО-ТЕХНИЧЕСКИЕ ДОКУМЕНТЫ
| Обозначение НТД, на который дана ссылка | Номер пункта |
| Обозначение НТД, на который дана ссылка | Номер пункта |
| ГОСТ 9.301-86 | 2.18 |
| ГОСТ 10549-80 | 2.8 |
| ГОСТ 9.302-88 | 4.7 |
| ГОСТ 14034-74 | 2.15 |
| ГОСТ 9.303-84 | 2.16 |
| ГОСТ 16093-81 | 2.7 |
| ГОСТ 9.306-85 | 2.16 |
| ГОСТ 17769-83 | 3.1 |
| ГОСТ 1497-84 | 4.4 |
| ГОСТ 18160-72 | 5.8 |
| ГОСТ 1759.0-87 | 2.16 |
| ГОСТ 19256-73 | 2.10 |
| ГОСТ 4543-71 | 2.3 |
| ГОСТ 19258-73 | 2.10 |
| ГОСТ 7564-97 | 4.6 |
| ГОСТ 20072-74 | 2.3 |
| ГОСТ 9012-59 | 4.3 |
| ГОСТ 24705-81 | 2.7 |
| ГОСТ 9150-81 | 2.8 |
| ГОСТ 25347-82 | 2.12, 2.13 |
| ГОСТ 9454-78 | 4.5 |
|
|
|
5. Ограничение срока действияснято Постановлением Госстандарта от 25.02.91 № 161
6.ПЕРЕИЗДАНИЕ (декабрь 1998 г.) с Изменениями № 1, 2, утвержденными в июле 1986г., феврале 1991 г. (ИУС 10-86, 5-91)