Настоящий стандарт распространяется на бурые и каменные угли, антрациты, горючие сланцы, продукты их обогащения, породные прослойки, сопровождающие пласты угля и горючих сланцев, каменноугольный, пековый кокс и термоантрацит, а также брикеты из бурого и каменного угля и устанавливает методы определения зольности при медленном и ускоренном озолении.
При разногласиях в оценке зольности топлива, а также при определении зольности породных прослоек определения проводят методом медленного озоления.
| Обозначение: | ГОСТ 11022-95* |
| Название рус.: | Топливо твердое минеральное. Методы определения зольности |
| Статус: | действующий |
| Заменяет собой: | ГОСТ 11022-90 «Топливо твердое минеральное. Методы определения зольности» |
| Дата актуализации текста: | 01.10.2008 |
| Дата добавления в базу: | 01.02.2009 |
| Дата введения в действие: | 01.01.1997 |
| Разработан: | ИОТТ МТК 179 "Уголь и продукты его переработки" |
| Утвержден: | Госстандарт России (12.03.1996) |
| Опубликован: | ИПК Издательство стандартов № 1996 |
ГОСТ 11022-95
(ИСО 1171-97)
(Измененная редакция. Изм.№ 1)
МЕТОДЫ ОПРЕДЕЛЕНИЯ ЗОЛЬНОСТИ
1 РАЗРАБОТАН МТК 179 "Уголь и продуктыего переработки", Комплексным научно-исследовательским ипроектно-конструкторским институтом обогащения твердых горючих ископаемыхМинтопэнерго Российской Федерации (ИОТТ)
2 ПРИНЯТ Межгосударственным Советом постандартизации, метрологии и сертификации (протокол № 8-95 от 12 октября 1995г.)
За принятие проголосовали:
| Наименование государства | Наименование национального органа по стандартизации |
| Азербайджанская Республика | Азгосстапдарт |
| Республика Армения | Армгосстандарт |
| Республика Беларусь | Госстандарт Республики Беларусь |
Республика Казахстан | Госстандарт Республики Казахстан |
| Кыргызская Республика | Кыргызстандарт |
| Республика Молдова | Молдовастандарт |
| Российская Федерация | Госстандарт России |
| Республика Таджикистан | Таджикстандарт |
| Туркменистан | Главгосслужба «Туркменстандартлары» |
| Республика Узбекистан | Узгосстандарт |
| Украина | Госстандарт Украины |
(Измененнаяредакция. Изм.№ 1)
3 Раздел 3 настоящего стандарта представляетсобой полный аутентичный текст ИСО 1171-81 "Твердое минеральное топливо.Определение содержания золы" и содержит дополнительные требования,отражающие потребности экономики страны
4 Постановлением Комитета РоссийскойФедерации по стандартизации, метрологии и сертификации от 12.03.96 № 160межгосударственный стандарт ГОСТ 11022-95 (ИСО 1171-81) введен в действиенепосредственно в качестве государственного стандарта Российской Федерации с 1января 1997 г.
5 ВЗАМЕН ГОСТ 11022-90
ГОСТ 11022-95
(ИСО 1171-97)
(Измененнаяредакция. Изм. № 1)
ТОПЛИВО ТВЕРДОЕ МИНЕРАЛЬНОЕ
Методы определения зольности
Solid mineral fuels.
Methods for determination of ash
Настоящий стандарт распространяется на бурые икаменные угли, антрациты, горючие сланцы, продукты их обогащения, породныепрослойки, сопровождающие пласты угля и горючих сланцев, каменноугольный,пековый кокс и термоантрацит, а также брикеты из бурого и каменного угля иустанавливает методы определения зольности при медленном и ускоренном озолении.
При разногласиях в оценке зольности топлива, а такжепри определении зольности породных прослоек определения проводят методоммедленного озоления.
В настоящем стандарте использованы ссылки наследующие стандарты:
ГОСТ 3044-84* Преобразователитермоэлектрические. Номинальные статистические характеристики преобразования
ГОСТ5583-78 Кислород газообразный технический и медицинский. Техническиеусловия
ГОСТ9147-80 Посуда и оборудование лабораторные фарфоровые. Технические условия
ГОСТ10742-71 Угли бурые, каменные, антрацит, горючие сланцы и угольные брикеты.Методы отбора и обработки проб для лабораторных испытаний
ГОСТ19908-90 Тигли, чаши, стаканы, колбы, воронки, пробирки и наконечникииз прозрачного кварцевого стекла. Общие технические условия
ГОСТ23083-78 Кокс каменноугольный, пековый и термоантрацит. Методы отбора иподготовки проб для испытаний
ГОСТ27313-95 (ИСО 1170-77) Топливо твердое минеральное. Обозначение показателейкачества и формулы пересчета результатов анализа для различных состоянийтоплива
ГОСТ25336-82 Посуда и оборудование лабораторные стеклянные. Общие техническиетребования
______________
* На территории Российской Федерации действует ГОСТР 8.585-2001 ГСИ. Термопары. Номинальные статические характеристикипреобразования.
(Измененнаяредакция. Изм.№ 1)
Зола, оставшаяся после сжигания угля или кокса навоздухе, образуется из неорганических соединений, входящих в состав угольноговещества, и из присутствующих минеральных веществ. Количество оставшейся в золесеры частично зависит от условий озоления и для получения сопоставимыхрезультатов определения зольности необходимо строго придерживаться этихусловий.
Дополнения и изменения, отражающие потребностинародного хозяйства, выделены курсивом.
3.1 Сущностьметода
Пробу топлива сжигают в муфельной печи, нагреваемойс определенной скоростью до температуры (815±10)°С, и выдерживают при этойтемпературе до постоянной массы. Свойства каменного угля и кокса в отличие отбурого угля и лигнитов допускают более высокие скорости нагрева.
Зольность в процентах рассчитывают по массе остаткапосле прокаливания.
(Измененная редакция. Изм.№ 1)
3.2.1 Весы с погрешностьювзвешивания не более 0,1 мг.
Допускается применять весы с погрешностьювзвешивания не более 0,2 мг.
3.2.2 Муфельная печь любоготипа с максимальной температурой нагрева 900-1000 °С, обеспечивающая постоянныетемпературу и скорость нагрева в соответствии с требованиями настоящегостандарта.
Вентиляция муфельной печи должна обеспечивать сменувоздуха около пяти раз в минуту.
Допускается применять муфельнуюпечь с естественной вентиляцией.
Альтернативно используют две муфельные печи любоготипа. Одна должна обеспечить постоянную температуру и скорость нагрева до 500°С, вторая - постоянную температуру (815±10) °С
Примечание -Кратность обмена воздуха в минуту (при принудительной вентиляции) можно оценитьизмерением потока воздуха в дымовом канале муфельной печи с помощью статическойтрубки Пито и чувствительного манометра.
(Измененная редакция. Изм.№ 1)
3.2.3 Тигли, лодочки для сжигания из кварца, фарфора или платины,глубиной от 8 до 15 мм № 1, 2, 3по ГОСТ9147 и ГОСТ19908.
Размер тигля или лодочки должен быть таким, чтобы на1 см2 поверхности масса пробы топлива не превышала 0,15 г/см2для угля или 0,10 г/см2 для кокса.
Применяемые тигли и лодочки должныбыть пронумерованы, прокалены до постоянной массы и храниться в эксикаторе сосушающим веществом.
(Измененная редакция. Изм.№ 1)
3.2.4 Изоляционная пластинаиз кварца толщиной 6 мм или аналогичное приспособление, размер которогопозволяет легко вводить его в муфельную печь.
Допускается использовать керамическиепластины или из огнеупорного материала толщиной не более 5 мм.
3.2.5Термопреобразователь для измерения температуры до 1000 °С по ГОСТ3044 с измерительным устройством.
3.2.6 Щипцытигельные
3.2.7 Эксикаторпо ГОСТ25336
Отбор и подготовка проб - по ГОСТ10742 и ГОСТ23083.
Для определения зольности угля или кокса используютаналитическую пробу, измельченную до размера частиц, проходящих через сито сразмером ячеек 200 мкм (0,2 мм). При необходимости пробу доводят довоздушно-сухого состояния, разложив тонким слоем на минимальное время,необходимое для достижения приблизительного равновесия массовой доли влаги сатмосферой лаборатории.
Перед началом определения аналитическую пробутщательно перемешивают в течение 1 мин, предпочтительно механическим способом.
3.4 Проведениеиспытания
Тигель или лодочкувзвешивают (3.2.1), равномернораспределяют 1-2 г пробы (3.3) иснова взвешивают.
Примечание -Кварцевые или фарфоровые тигли и лодочки перед первым взвешиванием нагревают до(815±10) °С, выдерживают приэтой температуре в течение 15 мин и охлаждают так же, как при проведении испытания.
Для бурых углей лигнитов, и горючих сланцев
Тигель или лодочку с навеской помещают в муфельнуюпечь (3.2.2) при комнатной температуре.В печение 60 мин повышают температуру печи до 500 °С и поддерживают этутемпературу в течение 60 мин. Продолжают нагрев до (815 ± 10) °С в той же печилибо, при использовании двух печей, переносят тигель или лодочку во вторуюпечь, предварительно нагретую до (815 ± 10) °С (см. примечание 2 к 3.2.2), и выдерживают при этой температуре не менее 60мин.
Тигель пли лодочку с навеской помещают в муфельную печьпри комнатной температуре. В течение 60 мин повышают температуру печи до 500 °Си поддерживают эту температуру в течение 30 мин. Далее продолжают нагрев до(815±10) °С в той же печи либо, при использовании двух печей, переносят тигельили лодочку во вторую печь, предварительно нагретую до (815 ± 10) °С, ивыдерживают при этой температуре не менее 60 мин.
Тигель пли лодочку с навеской помещают на пластину (3.2.4), которую сразу помешают в печь,нагретую до (815±10) °С. Выдерживают при этой температуре не менее 60 мин.
После прокаливания тигель или лодочку вынимают изпечи и охлаждают на толстой металлической плите в течение 10 мин, а затемпомешают в эксикатор без осушителя.
Примечание - Сосуд, в которомпроисходит охлаждение, можно заполнить сухим газом, чтобы уменьшить возможностьпоглощения влаги золой во время охлаждения. В этом случае лодочку или тигельнакрывают крышкой.
После охлаждения тигель или лодочку с зольнымостатком взвешивают. Проводят контрольные прокаливания при (815±10) °С втечение нескольких 15-минутных периодов до тех пор, пока последующее изменениемассы станет не более 1 мг.
Примечание - Если результатыиспытания необходимо пересчитать на другие состояния топлива, отличные отвоздушно-сухого, определяют массовую долю влаги в пробе
3.5 Обработкарезультатов
Зольность аналитической пробы А, % по массе вычисляют по формуле
![]()
где m1 - масса тигля, г;
m2 - масса тигля с пробой, г;
m3 - масса тигля с золой, г.
Результаты (предпочтительно среднее значение двухпараллельных определений - см. 3.6) рассчитывают до второго и округляют допервого десятичного знака.
(Измененная редакция. Изм.№ 1)
3.6.1Допускаемые расхождения между результатами двух определений не должны превышатьзначений, указанных в таблице.
| Зольность | Максимально допустимые расхождения между результатами (рассчитаны на одинаковую массовую долю влаги топлива) | |
| Сходимость | Воспроизводимость | |
| До 10 % | 0,2 % абс. | 0,3 % абс. |
| 10 % и более | 2,0 % среднего результата | 3,0 % среднего результата |
(Измененная редакция. Изм.№ 1)
3.6.2 Если расхождение между результатамидвух параллельных определений превышает приведенное в таблице значение, из тойже пробы (3.3) производят третьеопределение и за результат принимают среднее арифметическое результатов двухнаиболее близких определений в пределах допускаемых расхождений.
Если результат третьего определения находится в пределах допускаемыхрасхождений по отношению к результатам каждого из двух предыдущих определений,за результат принимают среднее арифметическое результатов трех определений.
3.6.3Повторяемость
Результатыдвух параллельных определений, проведенных в разное время в одной и той желаборатории одним и тем же исполнителем с использованием одного и того жеоборудования на двух навесках, взятых от одной и той же аналитической пробыугля, не должны превышать значений, указанных в таблице.
3.6.4Воспроизводимость
Средниерезультаты двух параллельных определений, выполненных в двух различныхлабораториях с навесками, взятыми из одной и той же аналитической пробы угляпосле последней стадии подготовки пробы, не должны превышать значений,указанных в таблице.
3.6.5 Пересчетрезультатов определения на другие состояния топлива - по ГОСТ27313.
Отчет обиспытании включает следующее:
- обозначение испытуемогопродукта;
- ссылку наиспользуемый метод;
- результаты иметод их выражения;
- любыеотклонения, отмеченные во время определения;
- любые операции, не включенные в настоящийстандарт или рассматриваемые как необязательные;
- датуиспытания.
(Измененная редакция. Изм.№ 1)
4.1 Настоящийметод распространяется на каменные и бурые угли, антрацит и горючие сланцы ипредусматривает ускоренное озоление в муфельных печах с естественнойвентиляцией и с подачей кислорода.
4.2 Метод ускоренного озоления с естественной вентиляцией
4.2.1Аппаратура (по 3.2).
Для проведенияозоления с естественной вентиляцией муфельная печь должна иметь вытяжную трубус наружным диаметром 20 - 22 мм и толщиной 1,5-2 мм, расположенную в заднейстенке ниже отверстия для термопары и выступающую над корпусом муфельной печина 30 мм.
4.2.2Подготовка пробы - по 3.3.
4.2.3Проведение испытания
Нагреваютмуфельную печь (3.2.2 и 4.2.1) дотемпературы озоления, которая равна, °С:
815 ± 10 - длякаменных и бурых углей, лигнитов, антрацитов;
865 ± 10 - длягорючих сланцев.
Открываютдверцу муфельной печи и устанавливают пластину с тиглями или лодочками у дверцыпечи в зоне пониженной температуры и в таком положении выдерживают 3 мин приозолении углей и 5 мин при озолении сланцев. Затем пластину с тиглями илилодочками продвигают в муфельную печь в зону постоянной температуры соскоростью 2 см/мин и закрывают дверцу печи.
Продолжительностьозоления (после достижения в муфельной печи температуры озоления) должна быть:
25 - 35 мин -для каменных углей и антрацита;
20 - 25 мин -для бурых углей и горючих сланцев.
(Измененная редакция. Изм.№ 1)
4.2.4 Поокончании озоления пластину с пробами вынимают из муфельной печи, охлаждают навоздухе до комнатной температуры и тигли или лодочки с зольным остаткомвзвешивают.
Обработкарезультатов анализа - по 3.5 -3.6.
4.2.5 Отчет обиспытании - по 3.7.
4.3 Метод ускоренного озоления с подачей в муфельнуюпечь кислорода
4.3.1Аппаратура (по 3.2)
Для проведенияускоренного озоления с подачей в муфельную печь кислорода муфельная печь должнаиметь в задней стенке ниже отверстия для термопары отверстие для металлической трубкииз жароупорной стали (для подачи кислорода) длиной 350 мм, наружным диаметром10-12 мм и толщиной стенок 1,5-2,0 мм. Поверхность трубки должна бытьперфорирована, диаметр отверстий 1,5 мм.
Кромеаппаратуры, приведенной в 3.2, применяют:
кислородгазообразный по ГОСТ5583;
редукторкислородный;
реометр-индикаторс поворотными диафрагмами или другой расходомер, обеспечивающий необходимуюточность измерения количества подаваемого кислорода.
4.3.2Подготовка пробы (по 3.3)
4.3.3Проведение испытания
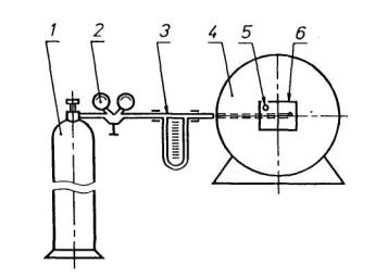
Для проведенияиспытания собирают установку по схеме, изображенной на рисунке.

1 - баллон с кислородом; 2 - манометр; 3 - реометр; 4 -муфельная печь; 5 - отверстиядля термопары; 6 - отверстиедля трубки
Рисунок- Схема установки для ускоренного озоления с подачей в муфельную печь кислорода
Нагреваютмуфельную печь до (865 ± 10)ºС. Открывают дверцу муфельной печи иустанавливают пластину с тиглями или лодочками у дверцы печи в зоне пониженнойтемпературы и выдерживают в течение 3 мин при озолении бурых, каменных углей иантрацита и в течение 5 мин при озолении сланцев. Затем пластину с тиглями илилодочками продвигают в зону постоянной температуры со скоростью 2 см/мин,закрывают дверцу и подают кислород со скоростью 3 дм3/мин.
Продолжительностьозоления (после достижения в муфельной печи температуры озоления) должна быть:
10 - 15 мин -для бурых углей;
20 - 25 мин -для каменных углей и антрацита;
15 - 20 мин -для горючих сланцев.
(Измененнаяредакция. Изм.№ 1)
4.3.4 Поокончании озоления подачу кислорода прекращают, пластину с пробами вынимают измуфельной печи, охлаждают на воздухе до комнатной температуры и тигли илилодочки с зольным остатком взвешивают.
Обработкарезультатов анализа - по 3.5-3.6.
4.3.5 Отчет об испытании - по 3.7.
Ключевые слова:топливо твердое минеральное, каменный уголь, бурый уголь, лигниты, антрацит,горючие сланцы, кокс, термоантрацит, метод определения, зольность