Стандарт распространяется на заклепки общемашиностроительного применения, классов точности В и С, предназначенные для работы при температуре от плюс 300 до минус 60 град. С.
| Обозначение: | ГОСТ 10304-80* |
| Название рус.: | Заклепки классов точности В и С. Общие технические условия |
| Статус: | действующий |
| Заменяет собой: | ГОСТ 10304-70 |
| Дата актуализации текста: | 01.10.2008 |
| Дата добавления в базу: | 01.02.2009 |
| Дата введения в действие: | 01.01.1981 |
| Утвержден: | Госстандарт СССР (06.05.1980) |
| Опубликован: | Издательство стандартов № 1986 |

ГОСУДАРСТВЕННЫЙ СТАНДАРТСОЮЗА ССР
ЗАКЛЕПКИ классов точности В и С.
ГОСТ 10304-80
(СТ СЭВ 1329-78)
ГОСУДАРСТВЕННЫЙКОМИТЕТ СССР ПО СТАНДАРТАМ
Москва
ГОСУДАРСТВЕННЫЙ СТАНДАРТ СОЮЗА ССР
| ЗАКЛЕПКИ классов точности В и С. Технические условия Rivets classes В and С. General specifications | ГОСТ (СТ СЭВ 1329-78) Взамен |
ПостановлениемГосударственного комитета СССР по стандартам от 6 мая 1980 г. № 2011 сроквведения установлен
с01.01.81
Проверен в 1985 г. ПостановлениемГосстандарта от 23.04.85 № 1138 срок действия продлен
до01.01.91
(Измененная редакция, Изм. № 3).
Настоящий стандартраспространяется на заклепки общемашиностроительного применения, классовточности В и С, предназначенные для работы при температуре от плюс 300 до минус60°С.
Стандарт полностьюсоответствует СТ СЭВ 1329-78.
1.1. По форме, размерам,предельным отклонениям, не указанным в настоящем стандарте, заклепки должны соответствоватьстандартам на технические условия.
(Измененная редакция, Изм. № 3).
1.2. Схема построенияусловных обозначений заклепок приведена в обязательном приложении.
1.3. Марки материалов и ихусловные обозначения должны соответствовать указанным в табл. 1.
Таблица 1
| Материал | |||
| Вид | Марка | Обозначение стандарта | Условное обозначение марки (группы) |
| Углеродистые стали | Ст 2* |
| 00 |
| 10*, 10кп | ГОСТ 1050-88 ГОСТ 5663-79 или ГОСТ 10702-78 | 01 | |
| Ст 3* | ГОСТ 14085-79 или ГОСТ 499-70 | 02 | |
| 15*, 15кп | ГОСТ 1050-74 ГОСТ 5663-79 или ГОСТ 10702-78 | 03 | |
| Низколегированная сталь | 09Г2 | ГОСТ 19281-73 | 10 |
| Коррозионно-стойкие стали | 12Х18Н9Т, 12Х18Н10Т | ГОСТ 5632-72 ГОСТ 5949-75 | 21 |
| Латунь | Л 63 | ГОСТ 12920-67 ГОСТ 15527-70 | 32 |
| Л 63 (антимагнитная) | 33 | ||
| Медь | М3 | ГОСТ 859-78 ГОСТ 1535-71 | 38 |
| МТ | ГОСТ 2112-79 | ||
| Алюминиевые сплавы | АМг5П | ГОСТ 14838-78 | 31 |
| Д18 | ГОСТ 4784-74 | 36 | |
| АД1 | 37 | ||
* Сведения о материалахприведены в справочном приложении 2.
(Измененная редакция, Изм. № 3).
Допускается применять другиематериалы с временным сопротивлением не ниже указанного в табл. 2.
(Измененная редакция, Изм. № 1, 2).
1.3а. Заклепки должны изготовлятьсяс покрытиями или без покрытий. Виды покрытий и их условные обозначения - поГОСТ 1759.0-87. Выбор толщины покрытий - по ГОСТ9.303-84.
(Измененная редакция, Изм. № 1, 2, 3).
1.4. Технические требованияк покрытиям - по ГОСТ9.301-86.
(Измененная редакция, Изм. № 3).
1.5. Временное сопротивлениесрезу заклепок должно соответствовать указанному в табл. 2.
Таблица 2
| Материал заклепок | Вид термообработки | Временное сопротивление срезу, МПа (кгс/мм2), не менее | |
| Наименование | Марка | ||
| Сталь | Ст2, Ст3 | Отжиг | 250 (25) |
| 10, 15 | 250 (25) | ||
| 10кп, 15кп | 250 (25) | ||
| 09Г2 | Без термической обработки | 380 (38) | |
| 12Х18Н9Т, 12Х18Н10Т | Закалка | 430 (43) | |
| Латунь | Л63 | Отжиг | - |
| Л 63 (антимагнитная) | |||
| Медь | М3, МТ | 190 (19) | |
| Алюминиевые сплавы | АМг5П | Без термической обработки | 160 (16) |
| АД1 | 60 (6) | ||
| Д18 | Закалка и естественное старение | 190 (19) | |
(Измененная редакция, Изм. № 3).
1.6. Допускается изготовлятьзаклепки без термической обработки.
1.7. Заклепка должнавыдерживать испытание в холодном состоянии на прочность соединения головки состержнем. Изгиб головки по отношению к стержню на угол 15° должен происходить безвозникновения поперечных надрывов.
(Измененная редакция, Изм. № 3).
1.8. Конец стержня илиметалла, подготовленного для изготовления заклепок, должен выдерживатьиспытание на расклепываемость без появления в образованной головке трещин инадрывов. Испытанию на расклепываемость допускается не подвергать заклепки,изготовленные методом холодной штамповки, и термообработанные заклепки.
(Измененная редакция, Изм. № 3).
На поверхности допускаются:
поверхностные дефекты,допускаемые стандартами на проволоку и прутки, из которых изготовляют заклепки,в том числе дефекты, измененные в результате деформирования материала привысадке. Глубина измененных дефектов на головках должна быть не более 0,2 мм;
следы инструмента и закаты,находящиеся в пределах допустимых отклонений размеров заклепок;
заусеницы на головке, еслиих величина не превышает половины поля допуска на диаметр головки заклепки; длязаклепок с диаметром стержня d> 16 мм заусеницы на головках не более 1 мм;
неотделяющийся цветной налетокисей.
(Измененная редакция, Изм. № 2, 3).
1.9а. Шероховатостьповерхности заклепок не должнапревышать:
Ra = 6,3 мкм для классаточности В,
Ra = 50 мкм для классаточности С.
Шероховатость поверхностейзаклепок, изготовленных методом холодной штамповки, и шероховатости торцастержня не контролируются.
(Введено дополнительно, Изм. № 3).
1.10. Поля допусков ипредельные отклонения размеров заклепок должны соответствовать указанным в табл. 3.
Таблица 3
| Наименование параметра | Поля допусков и предельные отклонения | |
| Класс точности В | Класс точности С | |
| Диаметр стержня d | jsl4 | jsl5 |
| Диаметр головки D | jsl5 | jsl6 |
| Длина заклепки L |
|
|
| Высота головки Н > 1 мм | jsl6 | |
(Измененная редакция, Изм. № 3).
1.11. Допускаемые отклоненияформы и расположения поверхностей не должны превышать следующих значений:
косой срез стержня (черт. 1):
a = 3° для диаметров от 1 до 16 мм;
a= 5° » » свыше 16 мм;
допускперпендикулярности опорной и торцовой поверхностей головок относительно осистержня (черт. 1) t; t =0,0175D для класса точности В и t = 0,0349D для класса точности С;
Черт. 1
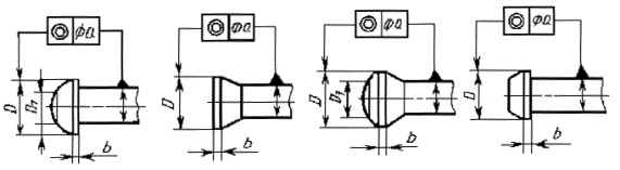
высота цилиндрическогопояска b и недопрессовка на вершине головокв виде площадок D1 (черт. 2) - согласно табл.4
Черт. 2
Таблица 4
мм
| D | До 3 | Св. 3 до 6 | Св. 6 до 10 | Св. 13 | Св. 18 до 30 | Св. 30 до 50 | Св. 50 |
| b, не более | 0,3 | 0,4 | 0,6 | 1,5 | 2,0 | 2,5 | 3,0 |
| D1, не более | 0,5D | 0,6D | |||||
Для заклепок диаметромстержня до 6 мм по согласованию между изготовителем и потребителем допускаетсяувеличение значений b, указанных в табл. 4 на 0,1мм;
допуск соосности оси головкиотносительно оси стержня (черт. 2) -согласно табл. 5.
мм
| d | От 1 до 1,6 | Св. 1,6 до 2,5 | Св. 2,5 до 5 | Св. 5 до 8 | Св. 8 до 18 | Св. 18 до 24 | Св. 24 до 36 |
| а | 0,2 | 0,32 | 0,4 | 0,6 | 1,0 | 2,0 | 3,0 |
уменьшение диаметра стержня,измеренное на расстоянии, равном диаметру стержня от конца заклепки, - согласнотабл. 6.
мм
| d | От 1 до 10 | Св. 10 до 13 | Cв. 13 до 18 | Св. 18 до 30 | Св. 30 до 36 |
| Уменьшение диаметра конца стержня | В пределах нижнего отклонения | -0,7 | -0,8 | -1,0 | -1,4 |
(Измененная редакция, Изм. № 3).
(Измененная редакция, Изм. № 3).
2.1. Правила приемкизаклепок - по ГОСТ 17769-83.
(Измененная редакция, Изм. № 3).
2.2. Каждая партия заклепок должнасопровождаться документом о качестве с указанием:
наименования или товарногознака завода-изготовителя;
условного обозначениязаклепок;
перечня и результатовпроведенных испытаний;
массы нетто партии;
средств временнойпротивокоррозионной защиты и срока защиты.
Примечание. Допускается вкладывать документ о качестве заклепок втару или контейнер, при этом должна обеспечиваться сохранность его притранспортировании.
(Измененная редакция, Изм. № 3).
(Измененная редакция, Изм. № 3).
3.1. Контроль механическихсвойств заклепок должен производиться на соответствие требованиям табл. 2.
3.2. Контроль качествапокрытий - по ГОСТ 9.302-79.
3.3. Внешний вид заклепок (п. 1.9) проверяют визуально без примененияувеличительных приборов.
Для заклепок диаметром менее3 мм допускается применение увеличительных средств (до 3´).
3.4. Шероховатостьповерхности проверяют сравнением с образцами шероховатости по ГОСТ 9378-75 илиприборами.
Шероховатость поверхностизаклепок, изготовленных методом холодной высадки, не контролируется.
3.5. Отклонения размеров ирасположения поверхностей заклепок проверяют предельными калибрами, шаблонами,контрольными матрицами, универсальными измерительными приборами илиинструментом.
Длина заклепок при косомсрезе конца должна проверяться по короткой стороне стержня.
(Измененная редакция, Изм. № 3).
3.6. Высоту потайных иполупотайных головок заклепок проверяют с помощью контрольной матрицы и шаблонапо схеме, указанной на черт. 3.
Высоту полупотайных головокзаклепок Н контролируют по размеру (H+h) сдопуском, равным по величине допуску на размер Н, черт. 4.
Допускаются другие методыконтроля высоты головок.
(Измененная редакция, Изм. № 3).
Черт. 3
Черт. 4
3.7. Отклонение отперпендикулярности опорной поверхности головки к оси стержня проверяют угловым шаблономили щупом по просвету между опорной поверхностью головки и торцевойповерхностью контрольной матрицы.
3.8. Прямолинейность стержнязаклепок проверяют по свободному вхождению заклепки в контрольную матрицу,диаметр отверстия которой соответствует максимальному диаметру стержнязаклепки.
Поле допуска отверстияматрицы - Н14.
3.9. Отклонение от соосностиголовки относительно стержня заклепок определяют разностью размеров s и s1 (черт. 5), измеренных с помощью штангенглубиномера илимикрометрического глубиномера. Допускаются другие методы контроля.
(Измененная редакция, Изм. № 1, 3).
3.10. Значения величины углаи радиуса скругления плоской головки, радиуса под головкой, перпендикулярностиопорной и торцовой поверхностей голосок к оси стержня, прямолинейности стержня,косой срез стержня и соосность головки относительно оси стержня допускается неконтролировать в готовых заклепках при условии обеспечения этих геометрическихпараметров инструментом.
(Измененная редакция, Изм. № 2, 3).
Черт. 5
Черт. 6
3.11. Прочность соединенияголовки со стержнем испытывают в контрольной матрице по схеме, указанной на черт. 6 ударами по головке заклепки досоприкосновения ее опорной поверхности с плоскостью матрицы.
Диаметр отверстия матрицы d1 должен выбираться из 2-горяда ГОСТ 11284-75.
Надрывы под головкой недопускаются.
Испытанию не подлежатзаклепки с потайной и полупотайной головками, отожженные и изготовленныегорячей штамповкой.
3.12. Испытание нарасклепываемость стержня заклепок - по ГОСТ 8818-73.
Допускается проводитьиспытание стальных заклепок с диаметром стержня более 10 мм в горячем состоянии(при температуре 850-950 °С).
3.13. Испытание заклепок насрез стержня проводят по требованию потребителя по методике, согласованноймежду изготовителем и потребителем.
При определении значениявременного сопротивления срезу расчет ведется по действительному диаметрузаклепок.
Допускается вместо заклепокподвергать испытанию образцы проволоки из бухты, которая была использована длявысадки заклепок (при условии, что эти образцы термообработаны одновременно спредставленными на испытание заклепками).
(Введено дополнительно, Изм. № 1).
3.14. Методика контроляпокрытий - по ГОСТ9.302-88.
(Введено дополнительно, Изм. № 3).
Упаковка заклепок, маркировкатары, транспортирование и хранение - по ГОСТ18160-72.
(Введено дополнительно, Изм. № 3).
Разд. 5. (Исключен, Изм. № 1).

1-классточности. Класс точности В не указывается; 2-диаметрстержня;
3-длина;4-условное обозначение марки (группы)материала; 5-марка материала.Указывается для групп 01, 03, 21, 38 и для материала, не предусмотренного внастоящем стандарте. Допускается не указывать марку материала для групп 01, 03,21, 38; 6-условное обозначение видапокрытия. Отсутствие покрытия не указывается; 7-толщина покрытия; 8 -обозначение стандарта на конкретный вид заклепок.
Примерусловного обозначения заклепки класса точности С, диаметром d = 8 мм, длиной L = 20 мм, из материалагруппы 38, марки меди МЗ, с никелевым покрытием толщиной 6 мкм:
Заклепка С 8 ´ 20.38.М3.136ГОСТ ...
(Измененная редакция, Изм. № 2, 3).
Кроме стандартныхматериалов, приведенных в табл. 1, дляизготовления заклепок применяют следующие марки стали: Ст2, Ст3 по ОСТ14-2-188-86 и ОСТ 14-15-193-86; сталь марок 10, 15 по ТУ 3-80-80.
(Введено дополнительно, Изм. № 3).
СОДЕРЖАНИЕ