Стандарт распространяется на бетоны всех видов по ГОСТ 25192, применяемые во всех областях строительства. Стандарт не распространяется на специальные виды бетонов, для которых предусмотрены другие стандартизированные методы определения прочности.
| Обозначение: | ГОСТ 10180-90 |
| Название рус.: | Бетоны. Методы определения прочности по контрольным образцам |
| Статус: | заменен |
| Заменяет собой: | ГОСТ 10180-78 «Бетоны. Методы определения прочности на сжатие и растяжение» (в части определения прочности бетона по контрольным образцам) |
| Заменен: | ГОСТ 10180-2012 «Бетоны. Методы определения прочности по контрольным образцам» |
| Дата актуализации текста: | 05.05.2017 |
| Дата добавления в базу: | 01.09.2013 |
| Дата введения в действие: | 01.07.2013 |
| Утвержден: | 29.12.1989 Госстрой СССР (Государственный комитет Совета Министров СССР по делам строительства) (USSR Gosstroy 168) |
| Опубликован: | Издательство стандартов (1990 г. ) ЦИТП Госстроя СССР (CITP, Gosstroy (USSR) 1990 г. ) Стандартинформ (2006 г. ) |
| Ссылки для скачивания: |
ГОСТ 10180-90
МЕЖГОСУДАРСТВЕННЫЙ СТАНДАРТ
БЕТОНЫ
МЕТОДЫ ОПРЕДЕЛЕНИЯ ПРОЧНОСТИ
ПО КОНТРОЛЬНЫМ ОБРАЗЦАМ
|
|
Москва |
|
Бетоны МЕТОДЫ ОПРЕДЕЛЕНИЯ ПРОЧНОСТИ Concretes. |
ГОСТ |
Дата введения 01.01.91
Настоящий стандарт распространяется на бетоны всех видов по ГОСТ 25192, применяемые во всех областях строительства.
Стандарт устанавливает методы определения предела прочности (далее - прочности) бетонов на сжатие, осевое растяжение, растяжение при раскалывании и растяжение при изгибе путем разрушающих кратковременных статических испытаний специально изготовленных контрольных образцов бетона.
Стандарт не распространяется на специальные виды бетонов, для которых предусмотрены другие стандартизированные методы определения прочности.
При производственном контроле прочности бетона стандарт следует применять с учетом требований ГОСТ 18105, в котором установлены правила оценки прочности бетона в конструкциях на основе результатов испытаний образцов бетона по настоящему стандарту.
Стандарт соответствует СТ СЭВ 3978. Степень соответствия приведена в приложении 1.
Определение прочности бетона состоит в измерении минимальных усилий, разрушающих специально изготовленные контрольные образцы бетона при их статическом нагружении с постоянной скоростью роста нагрузки и последующем вычислении напряжений при этих усилиях в предположении упругой работы материала.
2.1. Форма, размеры и число образцов
2.1.1. Форма и номинальные размеры образцов в зависимости от метода определения прочности бетона должны соответствовать указанным в табл. 1.
Таблица 1
|
Форма образца |
Размеры образца, мм |
|
|
Определение прочности на сжатие и на растяжение при раскалывании |
Куб |
Длина ребра: 100; 150; 200; 300 |
|
Цилиндр |
Диаметр ± 100; 150; 200; 300 |
|
|
Высота h, равная 2d |
||
|
Определение прочности на осевое растяжение |
Призма квадратного сечения |
100´100´400; |
|
150´150´600; |
||
|
200´200´800 |
||
|
Цилиндр |
Диаметр d: 100; 150; 200; 300 |
|
|
Высота h, равная 2d |
||
|
Определение прочности на растяжение при изгибе и при раскалывании |
Призма квадратного сечения |
100´100´400; |
|
150´150´600; |
||
|
200´200´800 |
- кубы с ребром длиной 70 мм;
- призмы размером 70´70´280 мм;
- цилиндры диаметром 70 мм;
- цилиндры высотой, равной соответствующему диаметру, при определении прочности на растяжение при раскалывании и высотой, равной четырем диаметрам, при определении прочности на осевое растяжение;
- восьмерки по черт. 1 и табл. 2 при определении прочности на осевое растяжение;
Черт. 1
Таблица 2
|
Значение при поперечном сечении образца, мм |
||||
|
70´70 |
100´100 |
150´150 |
200´200 |
|
|
а |
70 |
100 |
150 |
200 |
|
b |
100 |
150 |
250 |
350 |
|
l |
490 |
700 |
1050 |
1400 |
|
l1 |
210 |
300 |
450 |
600 |
|
l2 |
45 |
65 |
110 |
160 |
|
l3 |
95 |
135 |
180 |
250 |
- половинки образцов-призм, полученных после испытания на растяжение при изгибе образцов-призм, для определения прочности бетона на сжатие;
- кубы, изготовленные в неразъемных формах с технологическим уклоном.
За базовый образец при всех видах испытаний следует принимать образец с размером рабочего сечения 150´150 мм.
2.1.2. Размеры образцов в зависимости от наибольшей номинальной крупности заполнителя в пробе бетонной смеси должны соответствовать указанным в табл. 3.
Таблица 3
мм
|
Наименьший размер образца (ребра куба, стороны поперечного сечения призмы или восьмерки, диаметра и высоты цилиндра) |
|
|
20 и менее |
100 |
|
40 |
150 |
|
70 |
200 |
|
100 |
300 |
Примечания:
1. Для испытания конструкционно-теплоизоляционного и теплоизоляционного бетонов класса В5 (М75) и менее на пористых заполнителях (независимо от наибольшей крупности заполнителя) следует применять образцы с наименьшим размером 150 мм.
2. При изготовлении образцов из бетонной смеси должны быть удалены отдельные зерна крупного заполнителя, размер которых превышает более чем в 1,5 раза наибольший номинальный размер заполнителя, указанный в табл. 3, а также все зерна заполнителя размером более 100 мм.
3. При изготовлении образцов с минимальным размером 70 мм максимальная крупность заполнителя не должна превышать 20 мм.
2.1.3. Образцы изготавливают и испытывают сериями.
Число образцов в серии (кроме ячеистого
бетона) принимают по табл. 4 в зависимости от среднего внутрисерийного
коэффициента вариации прочности бетона (), рассчитываемого по приложению 2 не
реже одного раза в год.
Для ячеистого бетона число образцов в серии принимают равным трем.
Таблица 4
|
5 и менее |
Более 5 до 8 включ. |
Более 8 |
|
|
Требуемое число образцов бетона в серии, шт., не менее |
2 |
3* или 4 |
6 |
____________
* При применении форм типа 2ФК принимают четыре образца в серии, а для форм типа 1ФК и 3ФК - три образца.
2.1.5. Отклонения от прямолинейности образующей образцов-цилиндров, предназначенных для испытания на раскалывание, не должны превышать 0,1 мм на 100 мм длины.
2.2. Отбор проб и изготовление образцов
2.2.2. Пробы бетонной смеси для изготовления контрольных образцов, предназначенных для лабораторных исследований, при подборе состава бетона, обосновании норм расхода цемента, изучении влияния на свойства бетонов различных технологических факторов и других целей следует отбирать из специально изготовленных лабораторных замесов бетонной смеси.
2.2.3. Объем пробы бетонной смеси должен превышать требуемый для изготовления всех серий контрольных образцов не менее чем в 1,2 раза.
Отобранная проба бетонной смеси должна быть дополнительно вручную перемешана перед формованием образцов.
Бетонные смеси, содержащие воздухововлекающие и газообразующие добавки, а также предварительно разогретые смеси перед формованием образцов дополнительно перемешивать не следует.
2.2.4. Образцы следует изготавливать в поверенных формах, соответствующих требованиям ГОСТ 22685.
Перед использованием форм их внутренние поверхности должны быть покрыты тонким слоем смазки, не оставляющей пятен на поверхности образцов и не влияющей на свойства поверхностного слоя бетона.
2.2.6. При изготовлении одной или нескольких серий образцов, предназначенных для определения различных характеристик бетона, все образцы следует изготавливать из одной пробы бетонной смеси и уплотнять их в одинаковых условиях. Отклонения между собой значений средней плотности бетона отдельных серий и средней плотности отдельных образцов в каждой серии к моменту их испытания не должны превышать 50 кг/м3.
При несоблюдении этого требования результаты испытаний не учитывают.
2.2.8. Образцы из тяжелого и легкого бетонов при лабораторных исследованиях, а также при производственном контроле в случаях, когда условия п. 2.2.7 не могут быть выполнены, формуют следующим образом: формы заполняют бетонной смесью слоями высотой не более 100 мм. Каждый слой укладывают штыкованием стальным стержнем диаметром 16 мм с закругленным концом. Число нажимов стержня рассчитывают из условия, чтобы один нажим приходился на 10 см2 верхней открытой поверхности образца, штыкование выполняют равномерно по спирали от краев формы к ее середине.
При подвижности бетонной смеси менее 10 см или жесткости менее 11 с форму с уложенной бетонной смесью жестко закрепляют на лабораторной виброплощадке и дополнительно уплотняют, вибрируя до полного уплотнения, характеризуемого прекращением оседания бетонной смеси, выравниванием ее поверхности, появлением на ней тонкого слоя цементного теста и прекращением выделения пузырьков воздуха.
При изготовлении образцов из бетонной смеси жесткостью 11 с и более на форме закрепляют насадку. Форму с насадкой жестко закрепляют на лабораторной виброплощадке и устанавливают на поверхность смеси пригруз, обеспечивающий давление (4 ± 0,5) кПа, и вибрируют до прекращения оседания пригруза плюс дополнительно 5 - 10 с.
После окончания укладки и уплотнения бетонной смеси в форме верхнюю поверхность образца заглаживают мастерком или пластинкой.
2.2.10. Образцы в цилиндрических формах после заглаживания верхней поверхности закрывают крышками, кладут на боковую сторону и хранят в таком положении до распалубливания.
Контрольные блоки из ячеистого бетона должны иметь следующие размеры (черт. 2).
СХЕМЫ ВЫПИЛИВАНИЯ И ВЫБУРИВАНИЯ ОБРАЗЦОВ ЯЧЕИСТОГО БЕТОНА, ММ
|
При горизонтальном формовании изделия |
При вертикальном формовании изделия |
|
250 > h > 150, l > 400, b > 400 |
|
|
l > 400 |
|
|
|
Черт. 2
При горизонтальном формовании изделий:
- длина и ширина - не менее 400 мм;
- высота, равная толщине изделия.
При вертикальном формовании изделий:
- длина - не менее 400 мм;
- высота и толщина, равные высоте и толщине изделия.
Образцы выпиливают или выбуривают из средней части изделия или контрольного блока по схеме, приведенной на черт. 2.
Образцы выпиливают или выбуривают без увлажнения, отступив от граней изделия или блока не менее чем на 20 мм.
Допускается при подборе состава ячеистого бетона, а для пенобетона и в производственном контроле прочности, изготавливать контрольные образцы в формах по пп. 2.2.7 - 2.2.9.
2.2.12. Непосредственно после изготовления образцов на них должна быть нанесена маркировка. Маркировка не должна повреждать образец или влиять на результаты испытания.
2.3. Твердение, хранение и транспортирование образцов
При определении прочности бетона на сжатие образцы распалубливают не ранее чем через 24 ч для бетонов класса В7,5 (марки 100) и выше не ранее чем через 48 - 72 ч - для бетонов класса В5 (марки 75) и ниже, а также для бетонов с добавками, замедляющими их твердение в раннем возрасте.
При определении прочности бетона на растяжение образцы распалубливают не ранее чем через 96 ч после их изготовления.
После распалубливания образцы должны быть помещены в камеру, обеспечивающую у поверхности образцов нормальные условия, т.е. температуру (20 ± 3) °C и относительную влажность воздуха (95 ± 5) %. Образцы укладывают на подкладки так, чтобы расстояние между образцами, а также между образцами и стенками камеры было не менее 5 мм. Площадь контакта образца с подкладками, на которых он установлен, не должна составлять более 30 % площади опорной грани образца. Образцы в камере нормального твердения не должны непосредственно орошаться водой. Допускается хранение образцов под слоем влажных песка, опилок или других систематически увлажняемых гигроскопичных материалов.
Образцы, предназначенные для твердения в условиях тепловой обработки, должны быть помещены в формах в тепловой агрегат (пропарочную камеру, автоклав, отсек формы или кассеты и т.д.) и твердеть там вместе с конструкциями или отдельно по принятому на производстве режиму.
После окончания тепловой обработки образцы распалубливают и испытывают или хранят в нормальных условиях в соответствии с п. 2.3.1.
2.3.3. Образцы, предназначенные для твердения в условиях, аналогичных условиям твердения бетона в монолитных конструкциях, могут твердеть или в формах, или в распалубленном виде.
2.3.4. Допускаются другие условия твердения образцов, например, водное или комбинированное, если эти условия установлены стандартами, техническими условиями или указаны в рабочих чертежах конструкции.
Прочность бетона образцов к началу их транспортирования должна быть не менее 2 МПа.
3.1. Перечень оборудования для изготовления образцов, средств измерения их размеров, формы, массы, испытательного оборудования, приборов, устройств, приспособлений и их технические характеристики приведены в приложении 3.
Рекомендуемые конструктивные схемы устройств и некоторых приспособлений для испытаний на растяжение приведены в приложениях 8 - 10.
Допускается использовать другие средства измерения, оборудование, приспособления, если их технические характеристики удовлетворяют требованиям, указанным в приложении 3.
3.2. Средства измерения, выпускаемые серийно (большими или малыми сериями), допускается использовать, если они прошли государственные или ведомственные испытания в соответствии с ГОСТ 8.001*, ГОСТ 8.383* и внесены в государственный или ведомственный реестр, о чем должна быть сделана отметка или запись в эксплуатационных документах (паспорт-формуляр, инструкция по эксплуатации), а также прошли первичную поверку при их выпуске из производства, что удостоверено свидетельством о поверке или записью в паспорте.
3.3. Средства измерения, выпускаемые единичными экземплярами или ввозимые из-за границы в единичных экземплярах, допускается использовать, если они прошли аттестацию в соответствии с ГОСТ 8.326*, что удостоверяется свидетельством о метрологической аттестации.
____________
* На территории Российской Федерации действуют ПР 50.2.009-94.
3.4. Испытательное оборудование допускается использовать, если оно прошло первичную аттестацию в соответствии с ГОСТ 24555*, что для серийно выпускаемого оборудования удостоверяется аттестатом или записью в эксплуатационных документах, а для выпускаемого в единичных экземплярах или ввозимого из-за границы в единичных экземплярах - аттестатом, протоколом аттестации и формуляром по ГОСТ 2.601**.
____________
* На территории Российской Федерации действует ГОСТ Р 8.568-97.
** С 1 сентября 2006 г. введен в действие ГОСТ 2.601-2006.
3.5. В процессе эксплуатации средства измерения должны проходить периодическую поверку, а испытательное оборудование - периодическую аттестацию.
Необходимость проведения этих операций и наличие требуемых документов указаны в приложении 3.
3.6. Поверку средств измерения проводят органы государственной или ведомственной метрологической службы в соответствии с указаниями в эксплуатационной документации для средств, выпускаемых серийно или в акте метрологической аттестации.
3.7. Периодическую аттестацию испытательного оборудования проводят испытательные подразделения - строительные или заводские лаборатории, отделы технического контроля, испытаний и другие, применяющие это оборудование, с участием метрологической службы данного предприятия (организации).
3.8. Межповерочный срок между двумя последовательными поверками средств измерений указывают в эксплуатационной документации или в акте метрологической аттестации.
Периодическую аттестацию испытательного оборудования проводят в сроки, установленные при первичной аттестации.
После ремонта или перебазирования, а также замены средств измерений или испытательного оборудования следует проводить внеочередные поверки и аттестации.
4.1. В помещении для испытания образцов следует поддерживать температуру воздуха (20 ± 5) °C и относительную влажность воздуха не менее 55 %. В этих условиях образцы должны быть выдержаны до испытания в распалубленном виде в течение 24 ч, если они твердели в воде, и в течение 4 ч, если они твердели в воздушно-влажностных условиях или в условиях тепловой обработки.
Образцы, предназначенные для испытаний для определения передаточной или распалубочной прочности бетона на сжатие в горячем состоянии, а также образцы, предназначенные для определения прочности на растяжение после водного твердения, следует испытывать без предварительной выдержки.
4.2. Перед испытанием образцы подвергают визуальному осмотру, устанавливая наличие дефектов в виде околов ребер, раковин и инородных включений. Образцы, имеющие трещины, околы ребер глубиной более 10 мм, раковины диаметром более 10 мм и глубиной более 5 мм (кроме бетона крупнопористой структуры), а также следы расслоения и недоуплотнения бетонной смеси, испытанию не подлежат. Наплывы бетона на ребрах опорных граней образцов должны быть удалены напильником или абразивным камнем. Результаты осмотра записывают в журнал испытаний, форма которого приведена в приложении 4. В случае необходимости фиксируют схему расположения дефектов.
4.3. На образцах выбирают и отмечают грани, к которым должны быть приложены усилия в процессе нагружения.
Опорные грани отформованных образцов-кубов, предназначенных для испытания на сжатие, выбирают так, чтобы сжимающая сила при испытании была направлена параллельно слоям укладки бетонной смеси в формы.
Опорные грани образцов-кубов и призм, предназначенных для испытания на растяжение при раскалывании, должны быть выбраны так, чтобы оси колющих прокладок, передающих усилие, были перпендикулярны к слоям укладки бетонной смеси.
Плоскость изгиба образцов-призм при испытании на растяжении при изгибе должна быть параллельна слоям укладки.
Примечание. При использовании для изготовления образцов бетона поверенных форм по ГОСТ 22685, линейные размеры которых соответствуют требованиям этого стандарта, допускается не измерять линейные размеры образцов, а принимать их равными номинальным по табл. 1 настоящего стандарта.
4.6. Отклонения от перпендикулярности смежных граней образцов-кубов и призм, а также опорных и боковых поверхностей цилиндров определяют по методике приложения 5.
4.7. Отклонения от плоскостности поверхностей образцов определяют по методике приложения 5.
4.8. Отклонения от плоскостности, прямолинейности и перпендикулярности по пп. 4.5 - 4.7 следует проверять на образцах, изготовленных в формах одного комплекта не реже одного раза в 6 мес., а также при каждой замене форм для изготовления образцов.
4.9. Если опорные грани образцов-кубов или цилиндров не удовлетворяют требованиям п. 2.1.4, то они должны быть выравнены. Для выравнивания опорных граней применяют шлифование или нанесение слоя быстротвердеющего материала толщиной не более 3 мм и прочностью к моменту испытания не менее половины ожидаемой прочности бетона образца.
4.10. Если при определении прочности бетона на растяжение при раскалывании не применяют кондукторы по черт. 12 и 13, то на боковые грани образцов-кубов, призм и торцевые поверхности образцов-цилиндров, предназначенных для этих испытаний, наносят осевые линии, с помощью которых образец центрируют при испытании.
4.11. Образцы, предназначенные для испытания на осевое растяжение, закрепляют в захватах.
4.12. Перед испытанием образцы взвешивают с целью определения их средней плотности по ГОСТ 12730.1. При автоматическом определении массы образцов погрешность принимают по среднему классу точности по ГОСТ 29329.
5.1. Общие требования
5.1.1. Все образцы одной серии должны быть испытаны в расчетном возрасте в течение не более 1 ч.
5.1.2. Перед установкой образца на пресс или испытательную машину удаляют частицы бетона, оставшиеся от предыдущего испытания на опорных плитах пресса.
5.1.4. Нагружение образцов производят непрерывно со скоростью, обеспечивающей повышение расчетного напряжения в образце до его полного разрушения в пределах (0,6 ± 0,4) МПа/с при испытаниях на сжатие и в пределах (0,05 ± 0,02) МПа/с при испытаниях на растяжение. При этом время нагружения одного образца должно быть не менее 30 с.
5.1.5. Максимальное усилие, достигнутое в процессе испытания, принимают за разрушающую нагрузку и записывают его в журнал испытаний.
5.1.6. Разрушенный образец необходимо подвергнуть визуальному осмотру и отметить в журнале испытаний:
- характер разрушения;
- наличие крупных (объемом более 1 см3) раковин и каверн внутри образца;
- наличие зерен заполнителя размером более 1,5dmax, комков глины, следов расслоения.
Результаты испытаний образцов, имеющих перечисленные дефекты структуры и характер разрушения, учитывать не следует.
5.2. Испытание на сжатие
Между плитами пресса и опорными поверхностями образца допускается прокладывать дополнительные стальные опорные плиты.
5.2.2. Образцы-половинки призм при испытании на сжатие помещают между двумя дополнительными стальными плитами. Дополнительные плиты центрируют относительно оси пресса, используя риски, нанесенные на плиту пресса, и дополнительные стальные плиты, или специальное центрирующее устройство.
5.2.3. После установки образца на опорные плиты пресса (дополнительные стальные плиты) совмещают верхнюю плиту пресса с верхней опорной гранью образца (дополнительной стальной плитой) так, чтобы их плоскости полностью прилегали одна к другой. Далее начинают нагружение.
5.2.4. В случае разрушения образца по одной из дефектных схем (по приложению 7) при определении средней прочности серии этот результат не учитывают.
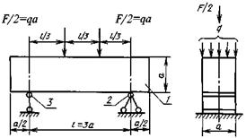
5.3. Испытание на растяжение при изгибе
5.3.1. Образцы-призмы устанавливают в испытательное устройство по схеме черт. 3 и приложению 8 и нагружают до разрушения.
СХЕМА ИСПЫТАНИЯ НА РАСТЯЖЕНИЕ ПРИ ИЗГИБЕ
Черт. 3
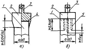
5.4. Испытания на растяжение при раскалывании
5.4.1. Образцы устанавливают на плиты пресса или в испытательное устройство по черт. 4 и приложению 9 и нагружают до разрушения.
СХЕМЫ ИСПЫТАНИЯ НА РАСТЯЖЕНИЕ ПРИ РАСКАЛЫВАНИИ
|
а) образцов-цилиндров: |
б) образцов-кубов из бетона всех видов |
|
|
из бетона всех видов (кроме ячеистого бетона) |
из ячеистого бетона |
из бетона всех видов |
|
|
|
|
|
в) образцов-призм из тяжелого бетона |
||
Черт. 4
Для равномерной передачи усилия на образец между стальной колющей прокладкой и поверхностью куба или между опорными плитами пресса и поверхностью образца-цилиндра допускается дополнительно устанавливать прокладку из фанеры, картона длиной не менее длины образца.
5.4.2. Образцы-призмы последовательно раскалывают в нескольких сечениях по длине. Расстояние между сечениями раскалывания должно быть не менее половины высоты призмы.
5.5. Испытание на осевое растяжение
5.5.1. Образцы закрепляют в разрывной машине по одной из схем приложения 10 и нагружают до разрушения.
5.5.2. Результат испытаний не учитывают, если разрушение образца произошло не в рабочей зоне или плоскость разрушения образца наклонена к его горизонтальной оси более чем на 15°.
ПОГРЕШНОСТИ РАСПОЛОЖЕНИЯ ПЛОСКОСТЕЙ ДЕЙСТВИЯ НАГРУЗКИ ПРИ ИСПЫТАНИИ НА РАСКАЛЫВАНИЕ
Черт. 5
- на сжатие
(1)
- на осевое растяжение
(2)
- на растяжение при раскалывании
(3)
- на растяжение при изгибе
где F - разрушающая нагрузка, Н (кгс);
A - площадь рабочего сечения образца, мм2 (см2);
a, b, l - соответственно ширина, высота поперечного сечения призмы и расстояние между опорами при испытании образцов на растяжение при изгибе, мм (см);
a, b, g, δ - масштабные коэффициенты для приведения прочности бетона к прочности бетона в образцах базового размера и формы;
KW - поправочный коэффициент для ячеистого бетона, учитывающий влажность образцов в момент испытания.
6.2. Значения масштабных коэффициентов следует определять экспериментально по приложению 11. Допускается значения масштабных коэффициентов a, b, g и δ для отдельных видов бетонов принимать по табл. 5.
Таблица 5
|
Масштабные коэффициенты |
|||||
|
Сжатие a |
Растяжение при раскалывании g |
Растяжение при изгибе тяжелого бетона δ |
Осевое растяжение b |
||
|
всех видов бетонов, кроме ячеистого |
тяжелого бетона |
мелкозернистого бетона |
|||
|
Куб (ребро) или квадратная призма (сторона): |
|||||
|
70 |
0,85 |
0,78 |
0,87 |
0,86 |
0,85 |
|
100 |
0,95 |
0,88 |
0,92 |
0,92 |
0,92 |
|
150 |
1,00 |
1,00 |
1,00 |
1,00 |
1,00 |
|
200 |
1,05 |
1,10 |
1,05 |
1,15 |
1,08 |
|
300 |
1,10 |
- |
- |
1,34 |
- |
|
Цилиндры (диаметр´высоту): |
|||||
|
100´200 |
1,16 |
0,98 |
0,99 |
- |
- |
|
150´300 |
1,20 |
1,13 |
1,08 |
- |
- |
|
200´400 |
1,24 |
- |
- |
- |
- |
|
300´600 |
1,28 |
- |
- |
- |
- |
Примечания:
1. Для ячеистого бетона средней плотностью менее 400 кг/м3 масштабный коэффициент a следует принимать равным 1,0 независимо от размеров и формы образцов.
2. Для ячеистого бетона средней плотностью 400 кг/м3 и более масштабный коэффициент a для выбуренных цилиндров диаметром и высотой 70 мм и выпиленных кубов с ребром длиной 70 мм принимают равным 0,90, а для цилиндров диаметром и высотой 100 мм и кубов с ребром длиной 100 мм - равным 0,95.
3. Применение экспериментальных масштабных коэффициентов a, b, g и δ по приложению 11, отличающихся от единицы в сторону увеличения или уменьшения более, чем это указано в табл. 5 для отдельных видов бетонов и размеров образцов, не допускается.
6.3. Значения коэффициентов KW для ячеистого бетона принимают по табл. 6. Коэффициент KW при промежуточных значениях влажности бетона определяют по линейной интерполяции. Для других видов бетона принимают KW равным единице.
Таблица 6
|
Поправочный коэффициент KW |
Влажность ячеистого бетона по массе в момент испытания W, % |
Поправочный коэффициент KW |
|
|
0 |
0,8 |
15 |
1,05 |
|
5 |
0,9 |
20 |
1,10 |
|
10 |
1,0 |
25 и более |
1,15 |
6.4. Прочность бетона (кроме ячеистого) в серии образцов определяют как среднее арифметическое значение в серии:
- из двух образцов - по двум образцам;
- из трех образцов - по двум наибольшим по прочности образцам;
- из четырех образцов - по трем наибольшим по прочности образцам;
- из шести образцов - по четырем наибольшим по прочности образцам.
При отбраковке дефектных образцов прочность бетона в серии образцов определяют по всем оставшимся образцам, если их не менее двух. Результаты испытания серии из двух образцов при отбраковке одного образца не учитывают.
6.5. Для ячеистого бетона прочность в серии образцов определяют как среднее арифметическое значение всех испытанных образцов серии.
6.6. При производственном контроле значения переходных коэффициентов от прочности бетона при одном виде испытаний к другому виду испытаний допускается определять экспериментально по приложению 11.
6.7. Результаты определения прочности бетона оценивают по ГОСТ 18105.
6.8. В случаях, если средний внутрисерийный коэффициент вариации прочности бетона на сжатие превышает 8 %, необходимо провести внеочередную переаттестацию испытательной лаборатории.
ИНФОРМАЦИОННЫЕ ДАННЫЕ О СООТВЕТСТВИИ ГОСТ 10180-90 СТ СЭВ 3978-83
|
ГОСТ 10180 |
СТ СЭВ 3978 |
ГОСТ 10180 |
СТ СЭВ 3978 |
|
Номер пункта |
Номер пункта |
||
|
Вводная часть |
Вводная часть и разд. 1 |
5.1.4 |
|
|
2.3.3 |
5.1.1 |
||
|
2.2.4 |
5.2.1 |
||
|
2.4.1 |
5.2.3 |
||
|
2.4.3 |
5.3.1 |
||
|
2.4.4 |
6.1; 6.2; 6.3; 6.4 |
||
|
5.1.5 |
|||
ОПРЕДЕЛЕНИЕ СРЕДНЕГО ВНУТРИСЕРИЙНОГО КОЭФФИЦИЕНТА ВАРИАЦИИ ПРОЧНОСТИ БЕТОНА
Средний внутрисерийный коэффициент
вариации прочности бетона , %, определяют по результатам испытания
любых последовательных 30 серий образцов бетона одного класса (марки). Для
этого определяют размах Wsjв каждой серии, а также средний
размах
,
МПа, и среднюю прочность Rs, МПа, по всем 30 сериям по формулам:
Wsj = Rj,max - Rj,min; (5)
(6)
(7)
(8)
где Rj,max и Rj,min - максимальное и минимальное значения прочности бетона в каждой серии образцов, МПа;
Rsj, Wsj - средняя прочность и размах прочности бетона в каждой серии образцов, МПа;
d - коэффициент, принимаемый в зависимости от числа образцов n в серии:
при n = 2d = 1,13;
» n = 3d = 1,69;
» n = 4d = 2,06;
Таблица 7
|
Наименование, тип, марка оборудования или средства измерения, документ их определяющий |
Технические характеристики |
Необходимость периодической поверки средств измерений или аттестации испытательного оборудования |
Справочные данные |
|
|
Организация |
||||
|
распространяющая чертежи и методики аттестации |
поставляющая оборудование |
|||
|
1. Оборудование для изготовления образцов |
Территориальные управления Госснаба СССР. Выпускаются серийно Симферопольским механическим заводом «Сантехпром»* и другими заводами по прямым договорам. |
|||
|
1.1. Формы с крышками и насадками по ГОСТ 22685 |
По ГОСТ 22685 |
Аттестация |
Центральный институт типового проектирования (ЦИТП) Госстроя СССР |
|
|
1.2. Лабораторная виброплощадка типа 435А или СМЖ 539 по ТУ 22-4419, СМЖ 739 по ТУ 22-109-24 |
Частота вертикальных колебаний с формой, заполненной бетонной смесью (2900 ± 100) мин-1; амплитуда вертикальных колебаний (0,5 ± 0,05) мм |
» |
- |
Территориальные управления Госснаба СССР. Выпускается серийно Челябинским ПО «Строммашина»** |
|
Амплитуда горизонтальных колебаний не более 0,1 мм; отклонение амплитуд колебаний краев площадки от ее середины не более 20 % |
||||
|
1.3. Лабораторная пропарочная камера типа ЭК-1 |
Погрешность поддержания заданной температуры не более 2 °C в диапазоне от 20 °C до 100 °C |
Аттестация |
Институт «Оргэнергострой» Минэнерго СССР, выпускается мелкими сериями*** |
|
|
1.4. Камера нормального твердения |
Температура (20 ± 3) °C, влажность воздуха (95 ± 5) %, наличие стеллажей для установки образцов, обеспечивающих зазор не менее 5 мм между образцами и стенками камеры или прокладками |
» |
- |
|
|
2. Средства измерения |
||||
|
2.1. Весы по ГОСТ 24104 |
Погрешность определения массы не более 0,1 % |
Поверка |
- |
Территориальные управления Госснаба СССР, выпускаются серийно*4 |
|
2.2. Линейки стальные по ГОСТ 427 |
Цена деления не более 1 мм |
- |
- |
Территориальные управления Госснаба СССР, выпускаются серийно |
|
2.3. Штангенциркули ШД-П 2-го класса по ГОСТ 166 |
По ГОСТ 166 |
Поверка |
- |
То же |
|
2.4. Щупы (набор № 2) 2-го класса по ТУ 2-034-225 |
По ТУ 2-034-225 |
- |
- |
» |
|
2.5. Поверочные плиты по ГОСТ 10905 |
По ГОСТ 10905 |
Поверка |
- |
» |
|
2.6. Поверочные угольники 90° по ГОСТ 3749 |
По ГОСТ 3749 |
Поверка |
- |
- |
|
2.7. Прибор для определения отклонений от плоскостности опорных поверхностей образцов |
Погрешность измерения не более 0,01 мм на 100 мм; наличие трех фиксированных опор и двух измерителей перемещений по схеме приложения 5 |
Поверка (только измерителей перемещений) |
ЦИТП Госстроя СССР |
- |
|
2.8. Прибор для определения отклонений от перпендикулярности смежных граней образцов |
Погрешность измерения не более 0,01 мм на 100 мм; наличие двух фиксированных опор в одной плоскости и одной опоры и измерителя перемещений в перпендикулярной плоскости по схеме приложения 5 |
То же |
То же |
- |
|
3. Испытательные машины для статических испытаний |
Территориальные управления Госснаба СССР. Выпускаются серийно*5 |
|||
|
3.1. Прессы для испытаний на сжатие по ГОСТ 28840 |
По ГОСТ 28840 |
Поверка |
- |
Армавирским ПО «Точмашприбор» |
|
3.2. Разрывные и универсальные испытательные машины по ГОСТ 28840 |
По ГОСТ 28840 |
Поверка |
- |
То же |
|
4. Устройства и приспособления для испытаний на сжатие |
||||
|
4.1. Устройства для центрирования образцов относительно геометрической оси испытательной машины |
Обеспечение эксцентриситета приложения осевой нагрузки не более 1 % размера поперечного сечения образца |
Аттестация |
ЦНИЛКиеворгстрой Киевооргстроя*6 |
Институт «Оргэнергострой» Минэнерго СССР |
|
Институт «Оргэнергострой» Минэнерго СССР |
||||
|
4.2. Дополнительные стальные плиты |
Твердость стали 55 ... 60 HRC3; отклонение от плоскостности опорных поверхностей не более 0,05 мм на 100 мм; |
Аттестация |
Институт «Оргэнергострой» Минэнерго СССР |
|
|
толщина не менее 0,25a (0,25d) при передаче нагрузки через шаровой шарнир; |
||||
|
размеры в плане должны соответствовать размерам поперечного сечения куба или цилиндра с погрешностью не более 1 % |
||||
|
5. Устройства и приспособления для испытаний на растяжение при изгибе |
||||
|
5.1. Устройство в целом |
Обеспечение заданных размеров схемы испытания с погрешностью не более: 0,3 % для расчетного пролета; 1 % - для остальных размеров |
Аттестация |
Межотраслевой научно-технический центр по испытаниям в строительстве «НТЦ ТЕСТ»*7 |
|
|
5.2. Шарнирно-подвижные опоры |
Поворот (перемещение) в плоскости изгиба образца (без нагрузки) усилием не более 1 Н |
|||
|
5.3. Шарнирно-неподвижные опоры |
Обеспечение возможности поворота образца (без его перемещения) в плоскости изгиба и перпендикулярной плоскости |
|||
|
5.4. Стальные опорные пластины между образцом и шарнирами |
Толщина не менее 0,15а, ширина (0,3 - 0,4)a, длина не менее а |
|||
|
6. Устройства и приспособления для испытаний на растяжение при раскалывании |
Обеспечение схем испытаний согласно черт. 4 и 11; исключение возможности погрешностей в расположении плоскостей действия нагрузки (при испытании кубов) по черт. 5 |
Аттестация |
Межотраслевой научно-технический центр по испытаниям в строительстве «НТЦ ТЕСТ» |
|
|
6.1. Устройство в целом |
Эксцентриситет плоскостей действия равномерно распределенных сил при испытании кубов (черт. 5а) не более 0,1а; |
Институт «Оргэнергострой» Минэнерго СССР Межотраслевой научно-технический центр по испытаниям в строительстве «НТЦ ТЕСТ» |
||
|
взаимная непараллельность плоскостей действия равномерно распределенных сил при испытании кубов (черт. 5б) не более 1 мм на 100 мм |
» |
|||
|
6.2. Колющие стальные стержни |
Твердость стали 55 ... 60 HRCэ; |
Аттестация |
Институт «Оргэнергострой» Минэнерго СССР |
|
|
диаметр цилиндрического стержня (75 ± 5) мм; |
Межотраслевой научно-технический центр по испытаниям в строительстве «НТЦ ТЕСТ» |
|||
|
сторона призматического стержня (10 ± 1) мм; |
||||
|
отклонение от прямолинейности образующей цилиндрического стержня или опорных поверхностей призматического стержня не более 0,05 мм на 100 мм; |
||||
|
длина стержня не менее длины (высоты) образца |
||||
|
6.3. Прокладки из картона по |
Толщина (3 ± 1) мм, ширина (15 ± 5) мм, длина не менее размера поперечного сечения куба, призмы или высоты цилиндра |
» |
Институт «Оргэнергострой» Минэнерго СССР |
|
|
ГОСТ 6659, |
||||
|
ГОСТ 7950, |
||||
|
ГОСТ 9542 или трехслойной фанеры по ОСТ 34-13-892 |
||||
|
6.4. Опорные плиты при испытании образцов-цилиндров |
Твердость стали 55 ... 60 HRCэ; отклонение от плоскостности вдоль линии приложения усилия не более 0,05 мм на 100 мм; толщина не менее 0,25d |
Аттестация |
Институт «Оргэнергострой» Минэнерго СССР |
|
|
7. Устройства для испытания на осевое растяжение призм или цилиндров |
Обеспечение соосности и эксцентриситета приложения осевого растягивающего усилия относительно продольной оси образца не более 1 % размера его поперечного сечения; по черт. 14 - 18 |
» |
Межотраслевой научно-технический центр по испытаниям в строительстве «НТЦ ТЕСТ» |
|
|
* 33017, г. Симферополь, ул. Киевская, 41, Симферопольский механический завод «Сантехпром». ** 454007, г. Челябинск, ул. Артиллерийская, 124, Челябинское ПО «Строммашина». *** 113105, г. Москва, Варшавское шоссе, 17. *4 192007, г. Ленинград, Курская ул., Ленинградский завод «Госметр»; 142600, Московская обл., г. Орехово-Зуево, Ликинское шоссе, 4, Ореховозуевский завод «Прибор-деталь»; 316050, г. Кировоград, ул. Кирова, 86, Кировоградский опытный завод дозирующих автоматов. *5 325913, г. Армавир-13, Армавирское ПО «Точмашприбор». *6 252061, г. Киев, пр. Чубаря, 103, ЦНИЛКиевгорстрой Киевгорстроя. *7 117071, г. Москва, ул. Орджоникидзе, 14 - 116, «НТЦ ТЕСТ». |
||||
|
Дата изготовления образца и номер смены |
Маркировка серии образцов |
Наименование контролируемых конструкций и (или) номер состава, и (или) номер технологического комплекса |
Нормируемые характеристики прочности и плотности бетона |
Удобоукладываемость бетонной смеси ОК, см |
Ф. И. О. лица изготовившего образцы, или наименование организации, приславшей образцы на испытание |
Дата испытания |
Масса образца, г |
Размеры образца, см |
Средняя плотность образца в момент испытания, г/см3 |
Номер испытательной машины, шкала |
Показания силоизмерителя испытательной машины |
Разрушающая нагрузка, кН (кгс) |
Прочность бетона, приведенная к базовому размеру образца, Мпа (с учетом влажностного коэффициента для ячеистого бетона) |
Средняя влажность (для легкого и ячеистого бетона) в серии, % по массе |
Средняя плотность в сухом состоянии (для легкого и ячеистого бетона) кг/м3 |
Средняя прочность серии образцов, МПа |
Примечания |
Подпись лица, испытавшего образцы |
|
|||
|
Проектный класс (марка), МПа |
Отпускная и передаточная прочность, МПа (для сборных конструкций) |
Средняя плотность, кг/м3 (для легких и ячеистых бетонов) |
Ж, см |
|||||||||||||||||||
|
Пример заполнения журнала для тяжелого бетона |
|
|||||||||||||||||||||
|
15.05.89 I см. |
Ф-53 |
Ф-14 |
М200 |
14,0 |
- |
4 |
Иванова М.И. |
16.05.89 |
2360 |
9,8´10,1´10,0 |
2384 |
200 кН |
357,5 |
143 (14300) |
13,6 |
- |
- |
|
||||
|
2390 |
10,0´10,0´10,0 |
2390 |
» |
382,5 |
153 (15300) |
14,5 |
14,0 |
|
||||||||||||||
|
15.05.89 I см. |
Ф-53 |
Ф-14 |
М200 |
- |
- |
4 |
- |
13.06.89 |
2380 |
10,1´10´9,9 |
2380 |
500 кН |
227 |
227 (22700) |
21,6 |
- |
- |
|
||||
|
2350 |
10´10´9,8 |
2397 |
» |
231 |
231 (23100) |
21,9 |
21,7 |
|
||||||||||||||
|
Пример заполнения журнала для легкого бетона |
|
|||||||||||||||||||||
|
15.05.89 II см. |
С-54 |
НС |
М50 |
4,0 |
900 |
- 10 |
16.05.89 |
3240 |
15,1´15´14,9 |
960 |
200 кН |
266 |
106,5 (10650) |
4,7 |
13 |
854 |
|
|||||
|
3300 |
15´15,1´15 |
970 |
» |
255 |
102 (10200) |
4,5 |
- |
4,6 |
|
|||||||||||||
|
15.05.89 II см. |
С-54 |
НС |
М50 |
- |
- |
- 10 |
13.06.89 |
3180 |
15´14,9´14,9 |
995 |
» |
340 |
136 (13600) |
6,1 |
12 |
855 |
|
|||||
|
3200 |
15,1´15,1´15 |
960 |
» |
359 |
143,6 (14360) |
6,3 |
- |
6,2 |
|
|||||||||||||
|
||||||||||||||||||||||
ОПРЕДЕЛЕНИЕ ОТКЛОНЕНИЙ ОТ ПЛОСКОСТНОСТИ И ПЕРПЕНДИКУЛЯРНОСТИ РАБОЧИХ ГРАНЕЙ ОБРАЗЦОВ
1. Отклонения опорных граней образцов от плоскости, принимаемой за прилегающую, измеряют прибором с погрешностью не более 0,01 мм на 100 мм длины, который при любом исполнении должен иметь три фиксированные опоры по углам и не менее двух индикаторов часового типа по ГОСТ 577 или других измерителей перемещений той же точности - один по четвертому углу и один в середине (черт. 6).
2. Перед измерением образца прибор устанавливают на поверочную плиту по ГОСТ 10905 в трех точках и приводят показания стрелок всех индикаторов в нулевое положение.
При отсутствии поверочной плиты допускается устанавливать прибор на зеркало с размерами, превышающими расстояние между угловыми опорами не менее чем на 20 мм.
Примечание. При использовании зеркала вместо поверочной плиты предварительно проверяют качество его поверхности. С этой целью прибор после установки стрелок индикаторов на нуль смещают на 10 - 15 мм в разные стороны по поверхности зеркала. Если при этом стрелки индикаторов отклоняются от нулевого положения не более чем на 0,5 деления, то зеркало пригодно для использования.
Схема прибора для измерений отклонений от плоскостности
1 - корпус (рамка); 2 - опора; 3 - индикатор; b1 - база прибора
Черт. 6
3. Прибор приставляют к измеряемой грани образца и фиксируют, опирая в трех точках. Вслед за тем снимают отсчеты по двум индикаторам.
4. Отклонение от плоскостности относительно угловых точек A, мм, рассчитывают по формуле
(9)
где C1 - постоянная прибора, рассчитываемая по формуле
(10)
где 100 - длина, к которой относится допуск, мм;
b1 - база прибора, принимаемая на 20 - 25 мм меньше длины ребра или диаметра образца, мм (черт. 6);
O1 - показание углового индикатора, мм.
5. Вогнутость (выпуклость) B, мм, рассчитывают по формуле
(11)
где O2 - показание индикатора, установленного в середине, мм.
Отрицательное значение В показывает, что грань образца вогнута, а положительное значение - выпукла.
6. Отклонение от плоскости опорных граней образца соответствует п. 2.1.4, если значения параметров A и B не превышают 0,1 мм независимо от размеров образца.
7. Отклонения от плоскостности проверяют по двум противоположным опорным граням, которыми образец при испытании будет контактировать с плитами пресса.
8. Отклонения от перпендикулярности опорных граней образцов проверяют прибором с погрешностью не более 0,01 мм на 100 мм длины (черт. 7), который при любом исполнении должен иметь три фиксированные опоры: две на одной стороне, одну - на второй стороне, на которой закреплен индикатор часового типа по ГОСТ 577.
Схема прибора для измерения отклонения от перпендикулярности
1 - корпус (угольник); 2 - опора; 3 - индикатор; b2- база прибора
Черт. 7
9. Перед измерением прибор устанавливают в вертикальное положение на поверочную плиту или зеркало и приставляют к третьей опоре прибора поверочный угольник. При таком положении прибора стрелку индикатора приводят в нулевое положение.
10. Прибор приставляют к измеряемой грани образца и фиксируют, прижимая к смежной грани двумя опорами и к измеряемой грани третьей опорой. Вслед за тем снимают отсчет по индикатору.
Отклонения от перпендикулярности в образце с ребром длиной не более 100 мм определяют в сечении посередине, а в образцах с ребром большей длины - в двух сечениях на расстоянии 20 - 50 мм от краев.
11. Отклонение от перпендикулярности C, мм, рассчитывают по формуле
С = С2 · O3, (12)
где
- постоянная прибора; (13)
100 - длина, к которой относится допуск, мм;
b2 - база прибора, принимаемая на 50 мм меньше длины ребра или диаметра образца, мм (см. черт. 7);
O3 - показание индикатора, мм.
12. Отклонения от перпендикулярности граней образца соответствуют п. 2.1.6, если значения параметра C не превышают 1 мм независимо от размеров образца.
13. Отклонения от перпендикулярности определяют по опорным граням относительно смежных граней; отклонения грани, открытой при бетонировании образца, не оценивают.
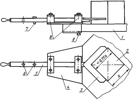
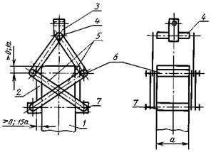
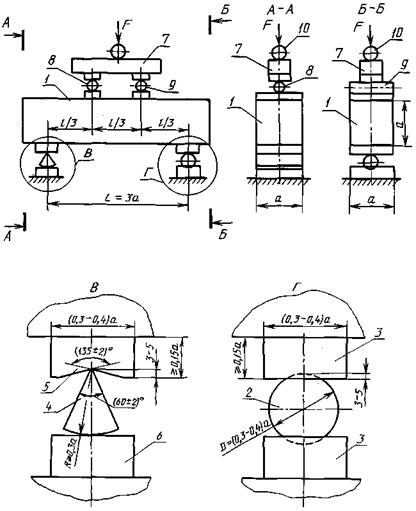
ПРИСПОСОБЛЕНИЕ ДЛЯ ЦЕНТРИРОВАНИЯ КОНТРОЛЬНЫХ ОБРАЗЦОВ ПРИ ИСПЫТАНИИ НА СЖАТИЕ

1 - плита пресса; 2 - бетонный образец; 3 - угольник; 4 - основание приспособления; 5 - шток; 6 - гнезда для установки ограничителя; 7 - ограничитель; 8 - направляющие; 9 - крепежные болты
Черт. 8
СХЕМА ХАРАКТЕРА РАЗРУШЕНИЙ ОБРАЗЦОВ ПРИ ИСПЫТАНИЯХ НА СЖАТИЕ

1 - нормальное разрушение; 2, 3, 4, 5 - дефектное разрушение
Черт. 9
УСТРОЙСТВО ДЛЯ ИСПЫТАНИЯ НА РАСТЯЖЕНИЕ ПРИ ИЗГИБЕ
Рекомендуемые конструктивные решения и размеры устройств и приспособлений для реализации схемы испытания на растяжение при изгибе приведены на черт. 10.
Одна из опор, на которую образец 1 устанавливают в испытательную машину (установку), является шарнирно-неподвижной, т.е. обеспечивает только поворот образца, а вторая - шарнирно-подвижной, т.е. обеспечивает как поворот образца, так и его смещение в плоскости изгиба.
Шарнирно-неподвижная опора (узел Г) выполнена в виде шара 2, устанавливаемого центрально относительно поперечной оси образца между опорными подушками 3 со сферическими поверхностями. Такая конструкция обеспечивает поворот образца, как в плоскости изгиба, так и в перпендикулярной к ней плоскости без перемещения образца, и исключает косой изгиб, который может быть вызван неплоскостностью опорных поверхностей образца.
Шарнирно-подвижная опора (узел В) выполнена в виде качающейся призмы 4, опирающейся на верхнюю сегментную 5 и нижнюю плоскую 6 опорные подушки, и установлена центрально относительно поперечной оси образца. Такая конструкция обеспечивает как поворот, так и смещение образца в плоскости изгиба и практически исключает возникновение усилия распора вследствие прогиба образца.
Нагрузку от испытательной машины (установки) передают на образец через распределительную траверсу 7, выполненную в виде однопролетной балки. Длина траверсы должна быть не менее половины длины образца, а ее прогиб под нагрузкой - не более 1/500 ее пролета. Траверсу устанавливают на образец центрально относительно его осей и опирают на образец в двух сечениях в третях пролета. Шарнирно-неподвижная опора 8 траверсы выполнена так же, как и соответствующая опора образца. Шарнирно-подвижная опора 9 траверсы выполнена в виде цилиндрического катка, устанавливаемого между опорными пластинами, размеры которых должны соответствовать размерам опорных подушек.
Длина опорных пластин и подушек должна быть не менее размера поперечного сечения образца.
Нагрузка от испытательной машины (установки) на траверсу должна передаваться центрально через шаровой шарнир 10, в качестве которого может быть использован верхний шарнир испытательной машины.
Схема устройств испытания на растяжение при изгибе
1 - образец; 2 - шар; 3 - опорная подушка; 4 - качающаяся призма; 5 - опорная сегментная подушка; 6 - опорная плоская подушка; 7 - распределительная траверса; 8 - шарнирно-неподвижная опора; 9 - шарнирно-подвижная опора; 10 - шаровой шарнир
Черт. 10
УСТРОЙСТВА ДЛЯ ИСПЫТАНИЯ НА РАСТЯЖЕНИЕ ПРИ РАСКАЛЫВАНИИ
1. Рекомендуемые конструктивные решения устройств и приспособлений для реализации схем испытания на растяжение при раскалывании образцов-цилиндров, кубов и призм приведены на черт. 11 - 13.
Схема устройств испытаний на растяжение при раскалывании
1 - образец; 2 - нагрузочное устройство (плита) при испытании цилиндра; 3 - нагрузочное устройство (колющий стержень) при испытании куба, призмы; 4 - шаровой шарнир; 5 - дополнительная шаровая опора; 6 - нижняя опора типа пресса (испытательной машины)
Черт. 11
Схема кондуктора
1 - направляющие; 2 - нижнее нагрузочное устройство; 3 - образец; 4 - верхнее нагрузочное устройство
Черт. 12
Усилие F от испытательной машины (установки) прикладывают к образцу 1 (черт. 11) через шаровой шарнир и нагрузочные устройства 2 или 3, которые при испытании цилиндров выполняют в виде плиты (черт. 11а), а при испытании кубов или призм - в виде колющих стальных стержней, цилиндров, полуцилиндров или сегментов по табл. 7 (черт. 11б, в). В качестве шарового шарнира допускается использовать верхний шарнир испытательной машины. В этом случае при испытании цилиндра, если толщина верхней опорной плиты испытательной машины удовлетворяет предъявляемым требованиям, дополнительного нагружающего устройства не требуется.
При испытании призм для обеспечения заданного напряженного состояния следует применять поддерживающую шаровую опору 5 (черт. 11).
Для обеспечения требуемой схемы приложения нагрузки рекомендуется применять кондуктор (черт. 12 и 13). Направляющие кондуктора 1 жестко соединены с нижним нагрузочным устройством 2, выполненным в виде плоской плиты (черт. 12а) или плиты с колющим стержнем (черт. 12б). Верхнее нагрузочное устройство 4 устанавливают в направляющие кондуктора (черт. 12) или надевают на них (черт. 13). Размеры элементов, кондуктора назначают, исходя из требований табл. 7.
Схема кондуктора
1 - направляющие; 2 - нижнее нагрузочное устройство; 3 - образец; 4 - верхнее нагрузочное устройство
Черт. 13
УСТРОЙСТВА ДЛЯ ИСПЫТАНИЯ НА ОСЕВОЕ РАСТЯЖЕНИЕ
1. Выбор схемы захвата определяют типом образца (призмой или цилиндром), конструкцией сочленения захвата с испытательной машиной (жесткая, гибкая, шарнирная), способом крепления захвата к образцу (за галтели, с помощью клея, анкеров, закладываемых в образец при его изготовлении, или за счет трения о его поверхность) (черт. 14 - 17).
2. На черт. 14 приведены схемы захватов для крепления образцов квадратного сечения с галтелями (черт. 14а, б, в). Образцы, как правило, захватывают за две противоположные грани.
На черт. 14а приведена схема жесткого захвата, в качестве которого допускается использовать опорные части испытательных машин в случае, если их устройство обеспечивает соосность передачи между ними растягивающего усилия.
На черт. 14б, в приведены схемы гибкой конструкции сочленения элементов захвата соответственно для образцов квадратного и цилиндрического сечений, в которых самоцентрирование образца в процессе установки и испытания облегчается за счет гибкой тяги 4. В приведенной на черт. 14в шарнирной конструкции захвата жесткая тяга 6 выполняет ту же функцию, что и гибкая. В случае применения захвата, схема которого приведена на черт. 14в, в галтельную часть образца при его изготовлении закладывают трубу для пропуска захвата.
Схема захватов для образца с галтелями
1 - образец; 2 - захват; 3 - концевой элемент шарнира Гука; 4 - гибкая тяга; 5 - ось; 6 - жесткая тяга
Черт. 14
Схема приклеиваемых и анкерных захватов
1 - образец; 2 - захват; 3 - концевой элемент шарнира Гука; 4 - клей; 5 - анкер
Черт. 15
Схемы зажимных захватов
1 - образец; 2 - захват; 3 - концевой элемент шарнира Гука; 4 - ось; 5 - цанга; 6 - стягивающие винты
Черт. 16
Схема самозажимного зажима
1 - образец; 2 - прижимная пластина; 3 - концевой элемент шарнира Гука; 4 - ось; 5 - тяга; 6 - подвижная опора захвата (каток); 7 - неподвижная опора захвата
Черт. 17
3. На черт. 15 - 18 приведены схемы захватов, которые используют для крепления образцов без галтелей.
Схема шарнира гука
1 - центральный элемент; 2, 3 - концевые элементы; 4 - ось
Черт. 18
3.1. Приклеиваемые и анкерные захваты (черт. 15) требуют специальной подготовки образца при его изготовлении или перед испытанием (закладки анкеров или приклеивания захвата клеем). Анкеры следует выполнять с заостренными концами и разной длины. При этом разница в длине анкеров должна быть не менее среднего диаметра крупного заполнителя daq.
При разрушении образца необходимо обращать внимание, как проходит плоскость разрушения. Если она проходит более чем через 50 % концов анкеров, то образец следует браковать по результатам измерения прочностных характеристик. Приклеивать захваты (черт. 15а) рекомендуется эпоксидной смолой с наполнителями: цементом или тонко молотым песком для снижения усадочных напряжений и деформаций. Приклеиваемые и анкерные захваты могут быть использованы как для образцов-призм, так и для образцов-цилиндров.
3.2. Зажимные (черт. 16) и самозажимные (черт. 17) захваты не требуют специальной подготовки образца и устанавливаются на нем непосредственно перед испытанием. Образец удерживается в захвате за счет трения деталей захвата прижимных пластин или цанг о его поверхность. С целью увеличения силы трения на поверхности деталей, прилегающих к образцу (2 на черт. 16а и 17 и 5 на черт. 16б, в) рекомендуется делать насечку, а в зажимных захватах эти детали дополнительно прижимать к образцу винтами (6 на черт. 16). Усилие затяжки винтов предварительно подбирают в зависимости от размера образца, вида и прочности бетона. Число винтов рекомендуется принимать равным числу цанг.
Число цанг 5 в зажимном захвате для образца цилиндра (черт. 16б) должно быть не менее четырех, что позволяет нивелировать возможные отклонения формы и размеров поперечного сечения образца от номинальных. Рекомендуется в этом типе захватов делать винтовое дно, которое служит для предварительного закрепления образца и удобства освобождения остатков образца после испытания.
В самозажимном захвате для образцов-призм (черт. 17) каток 6 должен свободно перемещаться по пластине 2 захвата, а неподвижная опора 7 должна быть жестко закреплена на ней. При установке захвата на образце для предотвращения его разрушения в захвате подвижный каток 6 должен располагаться на расстоянии не менее чем 0,1a от торца образца.
4. Для обеспечения соосности передачи усилия между захватами их следует соединять с опорными устройствами испытательной машины через шарнир Гука, схема которого приведена на черт. 18. Концевой элемент 2 шарнира входит в состав захвата, а концевой элемент 3 устанавливают в опорном устройстве испытательной машины.
Применение шаровых шарниров вместо шарниров Гука допускается только при гибкой конструкции сочленения захвата с испытательной машиной.
1. Экспериментальные масштабные коэффициенты устанавливают отдельно для каждой марки и вида бетона и для каждой испытательной машины и комплекта форм, используемых для изготовления образцов небазового размера и формы.
2. Для установления значений масштабных коэффициентов испытывают по восемь парных серий образцов базового и небазового размера, если число образцов в каждой серии равно двум, и по шесть серий образцов, если число образцов в каждой серии равно трем или более.
Образцы небазового размера изготавливают в различных формах из находящегося в обращении комплекта, при этом все формы должны быть поверены.
3. Образцы каждой парной серии базового и небазового размера изготовляют из одной пробы бетонной смеси и выдерживают в одинаковых условиях. После окончания твердения все образцы испытывают в одном возрасте.
Средняя плотность бетона в каждой парной серии образцов базового и небазового размеров в момент испытания не должны отличаться более чем на 2 %.
4. Для каждой парной серии необходимо определить значение масштабного коэффициента Kjпо формуле
(14)
где
и Rsj - средние значения прочности бетона в сериях базового и небазового
размеров, вычисленные по результатам испытания всех образцов серии.
По всем сериям вычисляют средний
масштабный коэффициент
, среднее квадратическое отклонение Sк и коэффициент вариации V по
формулам:
(15)
(16)
(17)
где n - число пар серий образцов, равное 8 или 6.
Экспериментально установленный масштабный коэффициент K может быть использован, если коэффициент вариации не превышает 15 %.
5. Получение значения экспериментальных коэффициентов сравнивают со значениями, приведенными в табл. 5, и оценивают для случаев, предусмотренных табл. 5, существенность их отличия от табличных по значению t, вычисляемому по формуле
(18)
где Ktb - значения коэффициентов a, b, g, δ по табл. 5 настоящего стандарта для образцов, имеющих форму и размеры, соответствующие испытываемым.
При t ³ 1,4 отличие признают существенным и принимают экспериментальное значение масштабного коэффициента.
При t < 1,4 отличие признают несущественным и принимают значение масштабного коэффициента по табл. 5.
6. Значения экспериментальных масштабных коэффициентов устанавливает лаборатория предприятия или строительной организации и утверждает главный инженер этого предприятия или организации.
7. Проверку установленных экспериментальных значений масштабных коэффициентов следует проводить не реже одного раза в два года, а также при ремонте и замене прессов или испытательных машин и парка форм для изготовления образцов.
8. По настоящей методике при производственном контроле прочности по ГОСТ 18105 следует определять также коэффициенты перехода образцов различной формы по п. 2.1.1 к эталонным и коэффициенты перехода от прочности при одном виде испытаний к другому, например от прочности на растяжение при изгибе к прочности на осевое растяжение
Rt = Rtf · K1 (19)
или от прочности на растяжение при раскалывании к прочности на осевое растяжение
Rt = Rtt · K2 (20)
Для тяжелых бетонов значения переходных коэффициентов K1 и K2 от прочности на растяжение при изгибе и растяжение при раскалывании к прочности на осевое растяжение допускается принимать: K1 = 0,55 и K2 = 0,83.
ИНФОРМАЦИОННЫЕ ДАННЫЕ
1. РАЗРАБОТАН
Научно-исследовательским, проектно-конструкторским и технологическим институтом бетона и железобетона (НИИЖБ) Госстроя СССР
Всесоюзным научно-исследовательским институтом заводской технологии сборных железобетонных конструкций и изделий (ВНИИ-железобетон) Госстроя СССР
Министерством энергетики и электрификации СССР, Министерством транспортного строительства СССР, Государственным комитетом СССР по управлению качеством продукции и стандартам
2. ВНЕСЕН Научно-исследовательским, проектно-конструкторским и технологическим институтом бетона и железобетона (НИИЖБ) Госстроя СССР
3. УТВЕРЖДЕН И ВВЕДЕН В ДЕЙСТВИЕ Постановлением Государственного строительного комитета СССР от 29.12.89 № 168
Стандарт соответствует международным стандартам ИСО 1920-76, ИСО 4012-78, ИСО 4013-78, ИСО 4108-80, СТ СЭВ 3978-83
ВЗАМЕН ГОСТ 10180-78 в части определения прочности бетона по контрольным образцам
ССЫЛОЧНЫЕ НОРМАТИВНО-ТЕХНИЧЕСКИЕ ДОКУМЕНТЫ
|
Обозначение НТД, на который дана ссылка |
Номер пункта, приложения |
Обозначение НТД, на который дана ссылка |
Номер пункта, приложения |
|
ГОСТ 2.601-95 |
ГОСТ 12730.1-78 |
||
|
ГОСТ 8.001-80 |
ГОСТ 18105-86 |
||
|
ГОСТ 8.326-89 |
|||
|
ГОСТ 8.383-80 |
ГОСТ 22685-89 |
||
|
ГОСТ 166-89 |
Приложение 3 |
ГОСТ 24104-2001 |
Приложение 3 |
|
ГОСТ 427-75 |
» |
ГОСТ 24555-81 |
|
|
ГОСТ 577-68 |
Приложение 5 |
ГОСТ 25192-82 |
Вводная часть |
|
ГОСТ 3749-77 |
Приложение 3 |
ГОСТ 28570-90 |
|
|
ГОСТ 6659-83 |
» |
ГОСТ 28840-90 |
Приложение 3 |
|
ГОСТ 7950-77 |
» |
ГОСТ 29329-92 |
|
|
ГОСТ 9542-89 |
» |
ТУ 2-034-225-87 |
Приложение 3 |
|
ГОСТ 10181-2000 |
ТУ 22-4419-79 |
» |
|
|
ГОСТ 10905-86 |
ТУ 22-109-24-88 |
» |
|
|
ОСТ 34-13-892-88 |
» |
4. ПЕРЕИЗДАНИЕ. Сентябрь 2006 г.
СОДЕРЖАНИЕ