Стандарт устанавливает метод радиографического контроля сварных соединений из металлов и их сплавов, выполненных сваркой плавлением, с толщиной свариваемых элементов от 1 до 400 мм, с применением рентгеновского, гамма- и тормозного излучений и радиографической пленки.
| Обозначение: | ГОСТ 7512-82* |
| Название рус.: | Контроль неразрушающий. Соединения сварные. Радиографический метод |
| Статус: | действующий |
| Заменяет собой: | ГОСТ 7512-75 |
| Дата актуализации текста: | 01.10.2008 |
| Дата добавления в базу: | 01.02.2009 |
| Дата введения в действие: | 01.01.1984 |
| Утвержден: | Госстандарт СССР (20.12.1982) |
| Опубликован: | Издательство стандартов № 1982<br>Издательство стандартов № 1995 |

ГОСУДАРСТВЕННЫЙСТАНДАРТ СОЮЗА ССР
КОНТРОЛЬНЕРАЗРУШАЮЩИЙ
СОЕДИНЕНИЯСВАРНЫЕ
РАДИОГРАФИЧЕСКИЙ МЕТОД
ГОСТ 7512-82
ИЗДАТЕЛЬСТВО СТАНДАРТОВ
Москва
ГОСУДАРСТВЕННЫЙСТАНДАРТ СОЮЗА ССР
| Контроль неразрушающий СОЕДИНЕНИЯ СВАРНЫЕ Радиографический метод Nondestructive testing. Welded joints. | ГОСТ |
Дата введения 01.01.84
Настоящий стандарт устанавливаетметод радиографического контроля сварных соединений из металлов и их сплавов, выполненныхсваркой плавлением, с толщиной свариваемых элементов от 1 до 400 мм, сприменением рентгеновского, гамма- и тормозного излучений и радиографическойпленки.
1.1. Радиографический контрольприменяют для выявления в сварных соединениях трещин, непроваров, пор,шлаковых, вольфрамовых, окисных и других включений.
1.2. Радиографический контрольприменяют также для выявления прожогов, подрезов, оценки величины выпуклости ивогнутости корня шва, недопустимых для внешнего осмотра.
1.3. Прирадиографическом контроле не выявляют:
любые несплошности и включения сразмером в направлении просвечивания менее удвоенной чувствительности контроля;
непровары и трещины, плоскостьраскрытия которых не совпадает с направлением просвечивания и (или) величинараскрытия менее значений, приведенных в табл. 1;
любые несплошности и включения,если их изображения на снимках совпадают с изображениями посторонних деталей,острых углов или резких перепадов трещин просвечиваемого металла.
1.1 - 1.3. (Измененнаяредакция, Изм. № 1).
Таблица 1
мм
| Раскрытие непровара (трещины) | |
| До 40 | 0,1 |
| Св. 40 до 100 включ. | 0,2 |
| » 100 » 150 » | 0,3 |
| » 150 » 200 » | 0,4 |
| » 200 | 0,5 |
1.4. Радиографическому контролюподвергают сварные соединения с отношением радиационной толщины наплавленногометалла шва к общей радиационной толщине не менее 0,2, имеющие двусторонний доступ,обеспечивающий возможность установки кассеты с радиографической пленкой иисточника излучения в соответствии с требованиями настоящего стандарта.
(Введен дополнительно, Изм. №1).
Следует использоватьмаркировочные знаки размеров, установленных ГОСТ 15843-79.
2.2. При радиографическомконтроле следует использовать радиографические пленки, соответствующиетребованиям технических условий на них.
Тип радиографической пленкидолжен устанавливаться технической документацией на контроль или приемкусварных соединений.
2.3. Прирадиографическом контроле следует использовать источники излучения,предусмотренные ГОСТ 20426-82 .
Тип радиоактивного источника,напряжение на рентгеновской трубке и энергия ускоренных электронов должныустанавливаться в зависимости от толщины просвечиваемого материала техническойдокументацией на контроль или приемку сварных соединений.
2.4. В качестве усиливающихэкранов при радиографическом контроле должны использоваться металлические ифлуоресцирующие экраны.
Тип усиливающего экрана долженустанавливаться технической документацией на контроль или приемку сварныхсоединений.
Толщина металлическихусиливающих экранов и способы зарядки пленки в кассеты с использованием экрановприведены в приложении1.
2.5. Экраны должны иметь чистуюгладкую поверхность. Наличие на экранах складок, царапин, трещин, надрывов ипрочих дефектов не допускается.
2.6. Кассеты для зарядки пленкидолжны быть светонепроницаемыми и обеспечивать плотный прижим усиливающихэкранов к пленке.
2.7. Для защиты пленки отрассеянного излучения рекомендуется экранировать кассету с пленкой со стороны, противоположнойисточнику излучения, свинцовыми экранами.
Толщина защитных экрановприведена в приложении2.
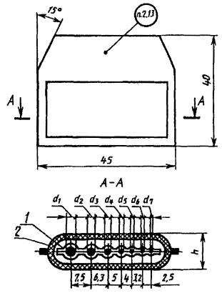
1 - вкладыш; 2 - чехол.
Черт. 1.
2.8. Для определениячувствительности контроля следует применять проволочные, канавочные илипластинчатые эталоны чувствительности.
2.9. Эталоны чувствительностиследует изготовлять из металла или сплава, основа которого по химическомусоставу аналогична основе контролируемого сварного соединения.
2.10. Форма и размерыпроволочных эталонов чувствительности приведены на черт. 1 и в табл. 2.Длина проволок в эталонах - (20 ± 0,5) мм. Предельные отклонения для диаметровпроволок:
до 0,2 мм ... + 0,01 мм
св. 0,2 до 1,6 мм ... ± 0,03 мм
» 1,6 » 4,0 мм ... ± 0,04 мм.
Таблица 2
мм
| d1 | d2 | d3 | d4 | d5 | d6 | d7 | h | |
| 1 | 0,2 | 0,16 | 0,125 | 0,10 | 0,08 | 0,063 | 0,05 | 1,2 |
| 2 | 0,4 | 0,32 | 0,25 | 0,20 | 0,16 | 0,125 | 0,10 | 1,4 |
| 3 | 1,25 | 1,00 | 0,80 | 0,63 | 0,50 | 0,40 | 0,32 | 2,2 |
| 4 | 4,0 | 3,20 | 2,50 | 2,00 | 1,60 | 1,25 | 1,00 | 5,0 |
Предельные отклонения другихразмеров - ± 0,5 мм. Вкладыш и чехол для проволочных эталонов следуетизготовлять из гибкого прозрачного пластика.
(Измененная редакция, Изм. № 1).
2.11. Форма и размеры канавочныхэталонов чувствительности приведены на черт. 2 и в табл. 3.
2.12. Форма и размерыпластинчатых эталонов чувствительности приведены на черт. 3 и в табл. 4.
2.13.Маркировку эталонов чувствительности следует проводить свинцовыми цифрами поГОСТ 15843-79 в соответствии с приложением 3. Первая цифрамаркировки должна обозначать материал эталона, следующие (одна или две цифры) -номер эталона.
Черт. 2.
Черт. 3.
Таблица 3
мм
| Глубина канавок | Пред. откл. глубины канавок | R, не более | a | b | c | h | L | |||||||||||
| h1 | h2 | h3 | h4 | h5 | h6 | Номин. | Пред. откл. | Номин. | Пред. откл. | Номин. | Пред. откл. | Номин. | Пред. откл. | Номин. | Пред. откл. | |||
| 1 | 0,60 | 0,5 | 0,40 | 0,3 | 0,20 | 0,10 | -0,05 | 0,1 | 2,5 | ±0,30; ±0,150 | 0,5 | +0,2; +0,1 | 10 | -0,360 | 2 | -0,100 | 30 | -0,52 |
| 2 | 1,75 | 1,5 | 1,25 | 1,0 | 0,/5 | 0,50 | -0,10 | 0,2 | 4,0 | ±0,40 | 1,5 | +0,3 | 12 | -0,430 | 4 | -0,120 | 45 | -0,62 |
| 3 | - | - | 3,00 | 2,5 | 2,00 | 1,50 | -0,25 | 0,3 | 6,0 | ±0,40 | 3,0 | +0,3 | 14 | -0,430 | 6 | -0,120 | 60 | -0,74 |
| 4,00 | 3,5 | - | - | - | - | -0,30 | ||||||||||||
(Измененнаяредакция, Изм. № 1).
Таблица 4
мм
| h | D | d | a | b | c | L | ||||||||
| Номин. | Пред. откл. | Номин. | Пред. откл. | Номин. | Пред. откл. | Номин. | Пред. откл. | Номин. | Пред. откл. | Номин. | Пред. откл. | Номин. | Пред. откл. | |
| 1 | 0,1 | - 0,01 | 0,2 | + 0,01 | 0,1 | + 0,01 | 5 | ± 0,15 | 5 | ± 0,15 | 10 | - 0,36 | 25 | - 0,52 |
| 2 | 0,2 | - 0,025 | 0,4 | + 0,025 | 0,2 | + 0,025 | ||||||||
| 3 | 0,3 | 0,6 | 0,3 | |||||||||||
| 4 | 0,4 | 0,8 | 0,4 | |||||||||||
| 5 | 0,5 | 1,0 | 0,5 | |||||||||||
| 6 | 0,60 | - 0,06 | 1,2 | + 0,06 | 0,60 | ± 0,06 | 6 | 7 | ± 0,18 | 12 | - 0,43 | 35 | - 0,62 | |
| 7 | 0,75 | 1,5 | 0,75 | |||||||||||
| 8 | 1,00 | 2,0 | 1,00 | |||||||||||
| 9 | 1,25 | 2,5 | 1,25 | |||||||||||
| 10 | 1,5 | - 0,1 | 3,0 | + 0,10 | 1,5 | + 0,1 | 7 | ± 0,18 | 9 | 14 | 45 | |||
| 11 | 2,0 | 4,0 | + 0,12 | 2,0 | ||||||||||
| 12 | 2,5 | 5,0 | + 0,12 | 2,5 | ||||||||||
Условные обозначения материалаэталона чувствительности: для сплавов на основе железа - 1, алюминия и магния -2, титана - 3, меди - 4, никеля - 5.
2.14. Для маркировки канавочныхэталонов допускается применять вырезы и отверстия или только отверстия,указанные в приложении3. В этом случае толщина эталона в месте маркировки должна бытьравна h.
При маркировке эталоновотверстиями длина эталона № 1 составляет 27-0,52 мм, № 2 - 38,5-0,62мм, № 3 - 53-0,74 мм.
2.15. Для сварных изделий,предназначенных для экспорта, допускается использование других типов эталоновчувствительности, если это предусмотрено условиями экспорта.
3.1. Радиографический контрольследует проводить после устранения обнаруженных при внешнем осмотре сварногосоединения наружных дефектов и зачистки его от неровностей, шлака, брызгметалла, окалины и других загрязнений, изображения которых на снимке могутпомешать расшифровке снимка.
3.2. После зачистки сварногосоединения и устранения наружных дефектов должна быть произведена разметкасварного соединения на участки и маркировка (нумерация) участков.
3.1, 3.2. (Измененнаяредакция, Изм. № 1).
3.3. Систему разметки имаркировки участков устанавливают технической документацией на контроль илиприемку сварных соединений.
3.4. При контроле на каждомучастке должны быть установлены эталоны чувствительности и маркировочные знаки.
3.5. Эталоны чувствительностиследует устанавливать на контролируемом участке со стороны, обращенной кисточнику излучения.
3.6. Проволочные эталоны следуетустанавливать непосредственно на шов с направлением проволок поперек шва.
3.7. Канавочные эталоны следуетустанавливать на расстоянии не менее 5 мм от шва с направлением канавок поперекшва.
3.8. Пластинчатые эталоныследует устанавливать вдоль шва на расстоянии не менее 5 мм от него илинепосредственно на шов с направлением эталона поперек шва так, чтобыизображения маркировочных знаков эталона не накладывались на изображение шва наснимке.
3.9. При контроле кольцевых швовтрубопроводов с диаметром менее 100 мм допускается устанавливать канавочныеэталоны на расстоянии не менее 5 мм от шва с направлением канавок вдоль шва.
3.10. При невозможностиустановки эталонов со стороны источника излучения при контроле сварныхсоединений цилиндрических, сферических и других пустотелых изделий через двестенки с расшифровкой только прилегающего к пленке участка сварного соединения,а также при панорамном просвечивании допускается устанавливать эталонычувствительности со стороны кассеты с пленкой.
3.11. (Исключен, Изм. № 1).
3.12. Маркировочные знаки,используемые для ограничения длины контролируемых за одну экспозицию участковсварных соединений, следует устанавливать на границах размеченных участков, атакже на границах наплавленного и основного металла при контроле сварныхсоединений без усиления или со снятым усилением шва.
3.13. Маркировочные знаки,используемые для нумерации контролируемых участков, следует устанавливать наконтролируемом участке или непосредственно на кассете с пленкой так, чтобыизображения маркировочных знаков на снимках не накладывались на изображение шваи околошовной зоны по п. 5.7.
3.14. При невозможностиустановки эталонов чувствительности и (или) маркировочных знаков наконтролируемом участке сварного соединения в соответствии с требованияминастоящего стандарта порядок проведения контроля без установки эталоновчувствительности и (или) маркировочных знаков должен быть предусмотрен втехнической документации на контроль или приемку сварных соединений.
(Измененная редакция, Изм. №1).
4.1. Сварные соединения следуетконтролировать по черт. 4 и 5.
4.2. При ограниченной ширинепривариваемого элемента допускается проводить контроль тавровых сварных соединенийс направлением излучения по образующей этого элемента в соответствии с черт. 6.
4.2а. При контроле кольцевыхсварных соединений цилиндрических и сферических пустотелых изделий следует, какправило, использовать схемы просвечивания через одну стенку изделия (схемычерт. 5а, б, е, ж, з). При этомрекомендуется использовать схемы просвечивания с расположением источникаизлучения внутри контролируемого изделия:
схему черт. 5е (панорамноепросвечивание) - для контроля изделии диаметром до 2 м независимо от объемаконтроля и диаметром 2 м и более при 100 %-ном контроле;
схему черт. 5 ж - при 100 %-ном ивыборочном контроле, если использование схемы черт. 5е невозможно;
схему черт. 5з - при выборочномконтроле изделий диаметром 2 м и более;
схемы черт. 5а, б - дляизделий с внутренним диаметром 10 м и более, если использование схемы черт. 5еневозможно.
(Введен дополнительно, Изм. №1).
Схемы контроля стыковых, нахлесточных, угловых и тавровых соединений
1 - источник излучения; 2 - контролируемый участок; 3- кассета с пленкой.
Черт. 4.
Схемы контроля кольцевых (стыковых, нахлесточных, угловых и тавровых)сварных соединений
1 - источник излучения; 2 - контролируемый участок; 3- кассета с пленкой.
Черт. 5.
1 - источник излучения; 2 - контролируемый участок; 3- кассета с пленкой.
Черт. 6.
4.3. При контроле через двестенки схема черт.5в рекомендуется для просвечивания изделий диаметром до 100мм; схемы черт.5г, д - для просвечивания изделий диаметром более 50мм.
4.4. При контроле стыковыхсварных соединений по схемам черт. 5а, б, е, ж, знаправление излучения должно совпадать с плоскостью контролируемого сварногосоединения. При контроле по этим схемам угловых сварных швов вварки труб,штуцеров и т. п. угол между направлением излучения и плоскостью сварногосоединения не должен превышать 45°.
4.5. При контроле сварныхсоединений по схемам черт. 5в, г, д направлениеизлучения следует выбирать таким, чтобы изображения противолежащих участковсварного шва на снимке не накладывались друг на друга.
При этом угол между направлениемизлучения и плоскостью сварного шва должен быть минимальным и в любом случае непревышать 45°.
4.3 - 4.5 (Измененнаяредакция, Изм. № 1).
4.6. (Исключен, Изм. № 1).
4.7. Кроме контроля по схемам,приведенным на черт.4 - 6, в зависимости от конструктивных особенностей сварныхсоединений и предъявляемых к ним требований могут использоваться другие схемы инаправления излучения.
Эти схемы и направленияизлучения должны быть предусмотрены технической документацией на контроль иприемку сварных соединений.
4.8. Для уменьшения разностиоптических плотностей различных участков снимка при контроле сварных соединенийс большим перепадом толщин, а также в случае, когда контролируемое сварноесоединение не обеспечивает защиту радиографической пленки от воздействияпрямого излучения (например, при контроле торцевых швов вварки труб в трубныерешетки, при контроле наплавки кромок под сварку и т. п.), контроль следуетпроводить с использованием приставок-компенсаторов.
Допускается использоватькомпенсаторы из любого материала, обеспечивающего требуемое ослаблениеизлучения.
4.9. При выборе схемы инаправления излучения следует учитывать:
расстояние от контролируемогосварного соединения до радиографической пленки должно быть минимальным и влюбом случае не превышать 150 мм;
угол между направлениемизлучения и нормалью к радиографической пленке в пределах контролируемого заодну экспозицию участка сварного соединения должен быть минимальным и в любомслучае не превышать 45°.
4.7 - 4.9. (Измененнаяредакция, Изм. № 1).
5.1. Расстояние от источникаизлучения до ближайшей к источнику поверхности контролируемого участка сварногосоединения (при просвечивании сварных соединений цилиндрических и сферическихпустотелых изделий через две стенки - до близлежащей к источнику поверхностиконтролируемого сварного соединения) и размеры или количество контролируемых заодну экспозицию участков для всех схем просвечивания (за исключением схемы черт. 5е)следует выбирать такими, чтобы при просвечивании выполнялись следующиетребования:
геометрическая нерезкостьизображений дефектов на снимках при расположении пленки вплотную кконтролируемому сварному соединению не должна превышать половины требуемойчувствительности контроля при чувствительности до 2 мм и 1 мм - причувствительности более 2 мм;
относительное увеличениеразмеров изображений дефектов, расположенных со стороны источника излучения (поотношению к дефектам, расположенным со стороны пленки), не должно превышать1,25;
угол между направлениемизлучения и нормалью к пленке в пределах контролируемого за одну экспозициюучастка сварного соединения не должен превышать 45°;
уменьшение оптической плотностиизображения сварного соединения на любом участке этого изображения по отношениюк оптической плотности в месте установки проволочного эталона чувствительностиили по отношению к оптической плотности изображения канавочного илипластинчатого эталона чувствительности не должно превышать 1,0.
5.2. Формулы для определенияминимальных допустимых расстояний от источника излучения до контролируемогосварного соединения, а также максимальных размеров и минимального количестваконтролируемых за одну экспозицию участков при контроле по схемам черт. 4 - 6,приведены в приложении4.
5.1, 5.2 (Измененнаяредакция, Изм. № 1).
5.3. Приконтроле сварных соединений по. черт. 5з (панорамное просвечивание) отношениевнутреннего диаметра d к внешнему диаметру D контролируемого соединения не должно быть менее 0,8, амаксимальный размер фокусного пятна Ф источника излучения не должен бытьболее
, где К - чувствительность контроля.
5.4 В случаях, когда размерыдефектов не определяются (например, дефекты не допускаются независимо от ихразмеров), приведенное в п. 5.3 соотношение между внутренним и внешнимдиаметрами контролируемого соединения может не соблюдаться.
5.5. При отсутствии источникаизлучения, удовлетворяющего требованию п. 5.3, допускается при контролепо черт. 5зиспользовать источники излучения с максимальным размером фокусного пятна,удовлетворяющим соотношению
![]()
В этом случае эталончувствительности должен устанавливаться на сварном соединении или имитаторесварного соединения, используемом при определении чувствительности, только состороны источника излучения.
5.6. Длина снимков должнаобеспечивать перекрытие изображений смежных участков сварных соединений придлине контролируемого участка до 100 мм не менее 0,2 длины участка, при длинеконтролируемого участка св. 100 мм - не менее 20 мм.
для стыковых и нахлесточныхсоединений:
не менее 5 мм - при толщинесвариваемых кромок до 5 мм;
не менее толщины свариваемыхкромок - при толщине свариваемых кромок св. 5 до 20 мм;
не менее 20 мм - при толщине свариваемыхкромок св. 20 мм;
для тавровых и угловыхсоединений - устанавливается технической документацией на контроль или приемкуэтих соединений.
6.1. Просмотр и расшифровкуснимков следует производить после их полного высыхания в затемненном помещениис применением специальных осветителей-негатоскопов.
Следует использовать негатоскопыс регулируемыми яркостью и размерами освещенного поля. Максимальная яркостьосвещенного поля должна составлять не менее 10Д+2 кд/м2,где Д - оптическая плотность снимка. Размеры освещенного поля должнырегулироваться при помощи подвижных шторок или экранов-масок в таких пределах,чтобы освещенное поле полностью перекрывалось снимком.
(Измененная редакция, Изм. №1).
6.2. Снимки, допущенные красшифровке, должны удовлетворять требованиям:
на снимках не должно быть пятен,полос, загрязнений и повреждений эмульсионного слоя, затрудняющих ихрасшифровку;
на снимках должны быть видныизображения ограничительных меток, маркировочных знаков и эталонов чувствительности;
оптическая плотность изображенийконтролируемого участка шва, околошовной зоны и эталона чувствительности должнабыть не менее 1,5;
уменьшение оптической плотностиизображения сварного соединения на любом участке этого изображения по сравнениюс оптической плотностью изображения эталона чувствительности не должнопревышать 1,0.
6.3. Чувствительность контроля(наименьший диаметр выявляемой на снимке проволоки проволочного эталона,наименьшая глубина выявляемой на снимке канавки канавочного эталона, наименьшаятолщина пластинчатого эталона, при которой на снимке выявляется отверстие сдиаметром, равным удвоенной толщине эталона), не должна превышать значений,приведенных в табл.6.
Таблица 6
мм
| Радиационная толщина (в месте установки эталона чувствительности) | Класс чувствительности | ||
| 1 | 2 | 3 | |
| До 5 | 0,10 | 0,10 | 0,20 |
| Св. 5 до 9 включ. | 0,20 | 0,20 | 0,30 |
| » 9 » 12 » | 0,20 | 0,30 | 0,40 |
| » 12 » 20 » | 0,30 | 0,40 | 0,50 |
| » 20 » 30 » | 0,40 | 0,50 | 0,60 |
| » 30 » 40 » | 0,50 | 0,60 | 0,75 |
| » 40 » 50 » | 0,60 | 0,75 | 1,00 |
| » 50 » 70 » | 0,75 | 1,00 | 1,25 |
| » 70 » 100 » | 1,00 | 1,25 | 1,50 |
| » 100 » 140 » | 1,25 | 1,50 | 2,00 |
| » 140 » 200 » | 1,50 | 2,00 | 2,50 |
| » 200 » 300 » | 2,00 | 2,50 | - |
| » 300 » 400 » | 2,50 | - | - |
Примечание. При использовании проволочных эталоновчувствительности значения 0,30; 0,60; 0,75 и 1,50 мм заменяются значениями0,32; 0,63; 0,80 и 1,60 мм.
(Измененная редакция, Изм. №1).
Конкретные значениячувствительности должны устанавливаться технической документацией (требованиямичертежей, техническими условиями, правилами контроля и приемки) наконтролируемые изделия.
Для атомных энергетических установоктребования к чувствительности устанавливаются соответствующими нормативнымидокументами.
6.4. В соответствии стребованиями технической документации на контролируемые изделия допускаетсяопределять чувствительность (k)в процентах по формуле
![]()
где К - чувствительность, мм;
S - толщинапросвечиваемого металла, мм.
6.5. Расшифровка и оценкакачества сварных соединений по снимкам, не имеющим изображений эталоновчувствительности, допускается:
при панорамном просвечивании кольцевыхсварных соединений при одновременном экспонировании более четырех пленок. Вэтих случаях, независимо от общего числа снимков, допускается устанавливать поодному эталону чувствительности на каждую четверть длины окружности сварногосоединения;
при невозможности примененияэталонов чувствительности.
В этих случаях чувствительностьопределяется на имитаторах сварного соединения при обработке режимов контроля.
6.6. При расшифровке снимковопределяют размеры изображений трещин, непроваров, пор и включений, а также,при необходимости, оценивают величину вогнутости и выпуклости корня шва (вслучаях, когда корень шва недоступен для внешнего осмотра).
Перечень подлежащих определениюразмеров и методика оценки величины вогнутости и выпуклости корня шва должныбыть приведены в технической документации на контроль и приемку сварныхсоединений.
6.7. При документальномоформлении результатов расшифровки снимков определенные по снимкам размерыследует округлить до ближайших значений из ряда 0,2; 0,3; 0,4; 0,5; 0,6; 0,8;1,0; 1,2; 1,5; 2,0; 2,5; 3,0 мм или ближайших целых значений в миллиметрах,если определенный по снимку размер превышает 3,0 мм.
6.8. Если при контроле пленкарасполагается на расстоянии Hот обращенной к пленке поверхности контролируемого сварного соединения ивыполняется соотношение
![]()
определенные по снимку размеры передих округлением рекомендуется умножать на коэффициент
![]()
где f - расстояние от источникаизлучения до обращенной к источнику поверхности контролируемого участкасварного соединения, мм;
s - радиационная толщина, мм.
6.6 - 6.8. (Измененнаяредакция, Изм. № 1).
6.9. При измерении размеровдефектов до 1,5 мм применяют измерительную лупу с ценой деления 0,1 мм, св. 1,5мм - любое измерительное устройство с ценой деления 1 мм.
6.10. Результаты расшифровкиснимков и чувствительность контроля должны быть записаны в заключении илижурнале регистрации результатов контроля, форма которых должна устанавливатьсятехнической документацией на контроль или приемку сварных соединений.
6.11. Для обозначения дефектов взаключении или журнале регистрации результатов контроля следует применятьусловные обозначения, приведенные в приложении 5.
Примеры сокращенной записидефектов при расшифровке снимков приведены в приложении 6.
7.1. Основными видами опасностидля персонала при радиографическом контроле являются воздействие на организмионизирующего излучения и вредных газов, образующихся в воздухе подвоздействием излучения, и поражение электрическим током.
7.2. Радиографический контроль иперезарядка радиоактивных источников должны проводиться только с использованиемспециально предназначенной для этих целей и находящейся в исправном состоянииаппаратуры, документация на изготовление и эксплуатацию которой при выпуске вколичестве более трех экземпляров должна быть согласована с Государственнымкомитетом СССР по использованию атомной энергии и Главнымсанитарно-эпидемиологическим управлением Министерства здравоохранения СССР; дотрех экземпляров - с местными органами санитарно-эпидемиологической службы.
7.3.Электрооборудование действующих стационарных и переносных установок длярадиографического контроля должно соответствовать требованиям ГОСТ 12.2.007.0-75 и «Правилустройства электроустановок», утвержденных Главным техническим управлением поэксплуатации энергосистем и Госэнергонадзором Министерства энергетики СССР.
7.4. Припроведении радиографического контроля, хранении и перезарядке радиоактивныхисточников излучения должна быть обеспечена безопасность работ в соответствии стребованиями «Основных санитарных правил работы с радиоактивными веществами идругими источниками ионизирующих излучений» ОСП 72/87 /80 № 2120-80, утвержденных Главнымгосударственным санитарным врачом СССР 18 января 1980 г., «Норм радиационнойбезопасности» НРБ-76 № 141-76, утвержденных Главным государственным санитарнымврачом СССР 7 июня 1976 г., «Санитарных правил по радиоизотопной дефектоскопии»№ 1171-74, утвержденных заместителем Главного государственного санитарноговрача СССР 7 августа 1974 г. и ГОСТ 23764-79.
7.5. При эксплуатацииподключенных к промышленной электросети стационарных и переносных установок длярадиографического контроля должна быть обеспечена безопасность работ всоответствии с требованиями «Правил технической эксплуатации электроустановокпотребителей» и «Правил техники безопасности при эксплуатации электроустановокпотребителей», утвержденных Госэнергонадзором 12 апреля 1969 г.
7.6. При транспортированиирадиоактивных источников излучения должны соблюдаться требования «Правилабезопасности при транспортировании радиоактивных веществ» ПБТРВ-73 № 1139-73,утвержденных Главным государственным санитарным врачом СССР 27 декабря 1973 г.
7.7. Предприятия, выполняющиерадиографический контроль сварных соединений, разрабатывают в соответствии стребованиями безопасности настоящего раздела документацию, определяющую правилаи методы безопасной организации работ, объем и средства радиографическогоконтроля с учетом местных условий производства и доводят их в установленномпорядке до работающих.
8.1. Используемые при контролеканавочные и пластинчатые эталоны чувствительности должны подвергатьсяметрологической поверке при их выпуске и последующим поверкам не реже одногораза в 5 лет. При выпуске этих эталонов на обратную сторону каждого эталонадолжен наноситься электрохимическим способом товарный знак предприятия,изготовившего эталон, и год выпуска; при очередной поверке - товарный илиусловный знак предприятия, производившего поверку, и год поверки.
8.2. Проволочные эталонычувствительности поверке не подлежат, однако они должны изыматься из обращенияпри любом повреждении пластикового чехла или обнаружения при визуальном осмотреследов коррозии проволок эталона.
8.3. Денситометры и наборыоптических плотностей, используемые для определения оптической плотностиснимков, подлежат поверке не реже одного раза в год с обязательным оформлениемдокумента (аттестата) о результатах поверки.
8.4. Негатоскопы подвергаютповерке только при их выпуске с обязательным указанием в паспорте (аттестате)негатоскопа максимальных яркости освещенного поля и оптической плотностиснимка.
8.5. Измерительные инструменты,используемые для определения размеров изображений трещин, непроваров, пор ивключений на снимках (измерительные линейки и лупы) подвергают поверке всоответствии с действующими положениями, распространяющимися на этиинструменты.
8.6. Нестандартизованныеизмерительные инструменты, используемые для определения размеров изображенийтрещин, непроваров, пор и включений на снимках (измерительные шаблоны,трафареты и т. п.), должны подвергаться поверке не реже одного раза в год собязательным оформлением документа о результатах поверки.
Разд. 8. (Введендополнительно, Изм. № 1).
Рекомендуемое
Таблица 1
| Источник излучения | Толщина экрана, мм |
| Рентгеновский аппарат с напряжением на рентгеновской трубке до 100 кВ | До 0,02 |
| Рентгеновский аппарат с напряжением на рентгеновской трубке свыше 100 до 300 кВ | 0,05 - 0,09 |
| Рентгеновский аппарат с напряжением на рентгеновской трубке свыше 300 кВ | 0,09 |
| 170Tm | 0,09 |
| 75Se; 192Ir | 0,09 - 0,20 |
| 137Cs | 0,20 - 0,30 |
| 60Co | 0,30 - 0,50 |
| Ускоритель электронов с энергией излучения от 1 до 15 МэВ | 0,50 - 1,00 |
Таблица 2
Способы зарядкикассет
| Способ зарядки | Наличие пленок в кассете | |
| одна | две | |
| Без экранов |
|
|
| С усиливающими металлическими экранами |
|
|
| С усиливающими флуоресцирующими экранами |
|
|
| С усиливающими металлическими и флуоресцирующими экранами |
|
|
- радиографическая пленка;
- усиливающий металлический экран;
- усиливающий флуоресцирующий экран.
Справочное
| Источник излучения | Толщина экрана, мм |
| Рентгеновский аппарат с напряжением на рентгеновской трубке до 200 кВ | До 0,1 |
| 170Tm; 75Se | До 0,1 |
| Рентгеновский аппарат с напряжением на рентгеновской трубке свыше 200 кВ | От 1,0 до 2,0 |
| 192Ir; 137Cs; 60Co | От 1,0 до 2,0 |
| Ускоритель электронов с энергией излучения от 1 до 15 МэВ | Св. 2,0 |
Обязательное
Таблица 1
| Тип эталона | Номер эталона | Номер набора цифр по ГОСТ 15843-79 |
| Проволочный | 1, 2 | 5 |
| 3, 4 | 6 | |
| Канавочный | 1 | 5 |
| 2 | 6 | |
| 3 | 7 | |
| Пластинчатый | 1 - 5 | 5 |
| 6 - 9 | 6 | |
| 10 - 12 | 7 |
Таблица 2
Маркировкаканавочных эталонов
| Номер эталона | Сплавы на основе | ||||
| железа | алюминия и магния | титана | меди | никеля | |
| 1 |
| ||||
| 2 | |||||
| 3 | |||||
Таблица 3
Маркировкаканавочных эталонов отверстиями
| Номер эталона | Сплавы на основе | ||||
| алюминия и магния | титана | железа | никеля | меди | |
| 1 |
| ||||
| 2 | |||||
| 3 | |||||
Примечание к табл. 2 и 3. Предельные отклонения размеров - по ГОСТ25347-82.
Рекомендуемое
1. Расстояние f отисточника излучения до обращенной к источнику поверхности контролируемогосварного соединения (при просвечивании кольцевых сварных соединений через двестенки - до близлежащей к источнику поверхности кольцевого соединения) недолжно быть менее значений, определяемых по формулам, приведенным в табл. 1.
Таблица 1
| Схема просвечивания | Расстояние от источника до поверхности контролируемого сварного соединения, мм, не менее |
| Cs | |
| 0,7 C (1 - m) D | |
| CD | |
| 0,5 [1,5 C (1 - m) - 1] D | |
| 0,5 [C (1,4 - m) - 1] D |
где
при
и C = 4 при
;
s - радиационная толщина, мм;
D - наружный диаметр контролируемого сварного соединения, мм;
т - отношениевнутреннего и наружного диаметров контролируемого сварного соединения;
Ф - максимальныйразмер фокусного пятна источника излучения, мм;
К - требуемаячувствительность контроля, мм.
Примечание. Если для схемы черт. 5г,д не выполняются условия 1,5 С (1 - m) > 1 и C (1,4 - m) > 1, расстояние fможет быть принято равным нулю (т. е. источник излучения может помещаться непосредственнона противоположной контролируемому участку стенке изделия).
2. Длина контролируемых за одну экспозицию участковпри контроле по схемам черт. 4 и 6 не должна быть более 0,8 f.
3. Количество участков (экспозиций) при контроле посхемам черт. 5а,в, г, д не должно быть менее значений, определяемых поформулам, приведенным в табл. 2.
Таблица 2
где т =
; n =
; p =
;
d - внутренний диаметр контролируемого сварногосоединения, мм.
4. Для схемы черт. 5б выбирают длину снимка l и расстояние f, которые должныудовлетворять соотношениям
![]()
где ![]()
и определяют вспомогательный коэффициент

Если не выполняется соотношение
, уменьшают l или увеличивают f до выполнения этого соотношения, после чего выбирают количество Nконтролируемых за одну экспозицию участков, которое должно удовлетворятьсоотношению

5. Для схемы черт. 5ж определяют максимально возможное(исходя из внутреннего диаметра контролируемого изделия и размеров радиационнойили коллимирующей головки гамма-дефектоскопа или размеров излучателярентгеновского аппарата) расстояние / (по диаметру изделия), которое должноудовлетворять соотношению
![]()
Если это соотношение не выполняется, необходимо использовать источник сменьшими размерами фокусного пятна, для которого это соотношение выполняется. Привыполнении этого соотношения определяют вспомогательный коэффициент

и выбирают количество N контролируемых за одну экспозицийучастков, которое должно удовлетворять соотношению

6. Угол между направлениями излучения для отдельных экспозицийпри контроле по схеме черт. 5 в должен составлять
![]()
и при контроле по схемам черт. 5а, б, г, д, ж-
![]()
7. Расстояние от источника излучения до контролируемого сварногосоединения и длина контролируемых за одну экспозицию участков при контролекольцевых сварных соединений цилиндрических и сферических пустотелых изделий сдиаметром более 2 м определяются так же, как для сварных соединений,контролируемых по схемам черт. 4 и 6.
Приложение 4. (Измененная редакция, Изм. № 1).
Обязательное
| Вид дефекта | Условное обозначение | Характер дефекта | Условное обозначение | ||
| Русский алфавит | Латинский алфавит | Русский алфавит | Латинский алфавит | ||
| Трещины | Т | Е | Трещина вдоль шва | Тв | Ea |
| Трещина поперек шва | Тп | Eb | |||
| Трещина разветвленная | Тр | Ec | |||
| Непровары | Н | D | Непровар в корне | Нк | Da |
| Непровар между валиками | Нв | Db | |||
| Непровар по разделке | Нр | Dc | |||
| Поры | П | А | Отдельная пора | П | Aa |
| Цепочка | ЦП | Ab | |||
| Скопление | СП | Ac | |||
| Шлаковые включения | Ш | В | Отдельное включение | Ш | Ba |
| Цепочка | ЦШ | Bb | |||
| Скопление | Сш | Bc | |||
| Вольфрамовые включения | В | С | Отдельное включение | В | Ca |
| Цепочка | ЦВ | Cb | |||
| Скопление | СВ | Cc | |||
| Окисные включения | O | O | - | - | - |
| Вогнутость корня шва | Вгк | Fa |
|
|
|
| Выпуклость корня шва | Впк | Fb |
|
|
|
| Подрез | Пдр | Fc |
|
|
|
| Смещение кромок | Скр | Fd |
|
|
|
(Измененная редакция, Изм. № 1).
2. Для сокращенной записи максимальной суммарной длины дефектов (научастке снимка длиной 100 мм или на всем снимке при его длине менее 100 мм)должно использоваться условное обозначение Е.
3. После условного обозначения дефектов указываются их размеры вмиллиметрах:
для сферических пор, шлаковых и вольфрамовых включений - диаметр;
для удлиненных пор, шлаковых и вольфрамовых включений - ширина и длина(через знак умножения);
для цепочек, скоплений, окисных включений, непроваров и трещин - длина.
4. Для цепочек и скоплений пор, шлаковых и вольфрамовых включений послеусловного обозначения дефектов, входящих в цепочку или скопление, указываютсямаксимальные диаметр или ширина и длина этих дефектов (через знак умножения).
5. При наличии на снимке изображений одинаковых дефектов (дефектоводного вида с одинаковыми размерами) допускается не записывать каждый издефектов отдельно а указывать перед условным обозначением дефектов их число.
6. После условного обозначения максимальной суммарной длины дефектов (научастке снимка длиной 100 мм) указывается эта длина в миллиметрах.
7. При отсутствии изображений дефектов на снимке, а также в случаях,когда длина, ширина и суммарная длина дефектов не превышают заданныхмаксимально допустимых значений, в графе документации «Соответствуеттребованиям» пишется «да», в противоположном случае - «нет».
8. При обнаружении на снимке изображений дефектов, не перечисленных в п. 1, взаключении или журнале регистрации результатов контроля следует указать полноенаименование дефектов.
Справочное
1. На снимке обнаружены изображения пяти пор с диаметром 3 мм каждая,цепочки пор с длиной 30 мм и максимальными длиной и шириной пор в цепочке 5 и 3мм, и шлакового включения с длиной 15 мм и шириной 2 мм.
Максимальная суммарная длина дефектов на участке снимка длиной 100 ммсоставляет 20 мм.
Запись в документации: 5П3; Ц30П5×3; Ш15×2; S20.
2. На снимке обнаружены изображения двух скоплений пор (длина каждогоскопления 10 мм, максимальный диаметр пор 0,5 мм) и скопление шлаковыхвключений (длина скопления 8 мм, максимальная длина и ширина включений 2 и 1мм).
Максимальная суммарная длина дефектов на участке снимка длиной 100 ммсоставляет 18 мм.
Запись в документации: 2С10П0,5; С8Ш2×1; S18.
3. На снимке обнаружены изображения двух непроваров длиной 15 мм каждыйи трещины длиной 40 мм.
Запись документации: 2Н15; Т40.
4. На снимке обнаружены изображения пяти пор с диаметром 4 мм каждая инепровара длиной 20 мм.
Максимальная суммарная длина пор на участке снимка длиной 100 ммсоставляет 12 мм.
Запись в документации: 5П4; S12; Н20.
ИНФОРМАЦИОННЫЕДАННЫЕ
1. РАЗРАБОТЧИКИ
Г. И. Николаев, Б. А. Хрипунов, Ю. И. Удралов, Э. Г. Волковыская.
2. УТВЕРЖДЕН И ВВЕДЕН В ДЕЙСТВИЕПостановлением Государственного комитета СССР по стандартам от 20.12.82 № 4923.
3. ВЗАМЕН ГОСТ 7512-75.
4. ССЫЛОЧНЫЕ НОРМАТИВНО-ТЕХНИЧЕСКИЕДОКУМЕНТЫ.
| Обозначение НТД на который дана ссылка | Номер пункта, подпункта, приложения |
| ГОСТ 12.2.007.0-75 | |
| ГОСТ 15843-79 | |
| ГОСТ 20426-82 | |
| ГОСТ 23764-79 | |
| ГОСТ 25347-82 |
5. Ограничениесрока действия снято по решению Межгосударственного Совета по стандартизации,метрологии и сертификации (ИУС 5-6-93).
6. Переиздание(декабрь 1994 г.) с Изменением № 1, утвержденным в марте 1988 г. (ИУС 6-88).
СОДЕРЖАНИЕ