Стандарт распространяется на инвентарные ограждения рабочих мест на высоте и проходов к ним , применяемые для предохранения человека от падения в местах перепада по высоте при возведении новых и реконструкции действующих зданий и сооружений.
| Обозначение: | ГОСТ 12.4.059-89 |
| Название рус.: | Система стандартов безопасности труда. Строительство. Ограждения предохранительные инвентарные. Общие технические условия |
| Статус: | действует |
| Заменяет собой: | ГОСТ 12.4.059-78 «ССБТ. Строительство. Ограждения защитные инвентарные. Технические условия» |
| Дата актуализации текста: | 05.05.2017 |
| Дата добавления в базу: | 01.09.2013 |
| Дата введения в действие: | 01.01.1990 |
| Утвержден: | 13.04.1989 Госстрой СССР (Государственный комитет Совета Министров СССР по делам строительства) (USSR Gosstroy 66) |
| Опубликован: | Издательство стандартов (1989 г. ) ИПК Издательство стандартов (2001 г. ) |
| Ссылки для скачивания: |
МЕЖГОСУДАРСТВЕННЫЙ СТАНДАРТ
|
Система стандартов безопасности труда СТРОИТЕЛЬСТВО.ОГРАЖДЕНИЯ ПРЕДОХРАНИТЕЛЬНЫЕ Общие технические условия Occupational safety standards system. Construction.
Protechtive inventory safeguards. |
ГОСТ |
|
Дата введения 01.01.90 |
|
Настоящий стандарт распространяется на инвентарные ограждения рабочих мест на высоте и проходов к ним (далее - ограждения), применяемые для предохранения человека от падения в местах перепада по высоте при возведении новых и реконструкции действующих зданий и сооружений.
Стандарт не распространяется на щиты и настилы, предназначенные для перекрытия горизонтальных проемов, защитные козырьки, страховочные горизонтальные устройства, а также на ограждения, являющиеся неотъемлемыми конструктивными элементами средств подмащивания, монтажной и других видов технологической оснастки.
Пояснения терминов, используемых в настоящем стандарте, приведены в приложении 1.
1.1. Тип ограждения устанавливают по совокупности характеризуемых свойств, указанных в таблице.
|
Характеризуемое свойство |
Наименование типа ограждения по характеризуемому свойству |
Обозначение типа ограждения по характеризуемому свойству |
|
1. Функциональное назначение |
Защитное |
Зщ |
|
Страховочное |
Ст |
|
|
Сигнальное |
Сг |
|
|
2. Место установки относительно границы рабочего места вблизи перепада по высоте |
Внутреннее |
Вн |
|
Наружное |
Нж |
|
|
3. Способ крепления ограждения к элементам здания |
Опорное |
Оп |
|
Навесное |
Нв |
1.2. Устанавливается следующая структура условного обозначения ограждений

Пример условного обозначения ограждения защитного наружного опорного:
Ограждение Зщ Нж Оп ГОСТ 12.4.059-89
1.3. Схемы ограждений и их условное обозначение приведены в приложении 2.
2.1. Ограждения должны изготовляться в соответствии с требованиями настоящего стандарта и технической документации, утвержденной в установленном порядке.
2.2. Характеристики
2.2.1. Защитные ограждения рассчитывают на прочность и устойчивость к поочередному действию как горизонтальной, так и вертикальной равномерно распределенных нормативных нагрузок 400 Н/м (40 кгс/м), приложенных на поручень.
В местах, предназначенных для пребывания не более двух человек, допускается принимать в качестве нормативной сосредоточенную нагрузку, равную 400 Н (40 кгс), поочередно приложенную как горизонтально, так и вертикально в любом месте по длине поручня.
2.2.2. Страховочные ограждения рассчитывают на прочность и устойчивость к действию горизонтальной сосредоточенной нагрузки не менее 700 Н (70 кгс), приложенной в любой точке по высоте ограждения в середине пролета, а страховочные наружные, кроме того, на прочность к действию груза массой 100 кг, падающего с высоты 1 м от уровня рабочего места в середине пролета.
2.2.3. Коэффициент надежности по нагрузке для защитного и страховочного ограждения следует принимать 1, 2.
2.2.4. Значение величины прогиба поручня защитного ограждения под действием расчетной нагрузки должно быть не более 0,1 м.
2.2.5. Высота защитных и страховочных ограждений (расстояние от уровня рабочего места до самой низкой точки верхнего горизонтального элемента) должна быть не менее 1,1 м, сигнальных - от 0,8 до 1,1 м включительно.
2.2.6. Расстояние между узлами крепления защитных и страховочных ограждений к устойчивым конструкциям здания или сооружения (длина одной секции ограждения) не должно превышать 6,0 м, сигнальных - допускается до 12,0 м.
2.2.7. Расстояние от границы перепада по высоте до ограждения должно быть для:
наружных защитных и страховочных - в пределах 0,20 - 0,25 м;
внутренних страховочных - не менее 0,30 м;
сигнальных - не менее 2,0 м.
Защитные внутренние ограждения устанавливают без ограничения расстояния от границы перепада по высоте.
2.2.8. Расстояние между горизонтальными элементами в вертикальной плоскости защитного ограждения должно быть не более 0,45 м.
2.2.9. Высота бортового элемента защитного ограждения должна быть не менее 0,10 м.
2.2.10. Размер ячеи заполнения сетчатых ограждений должен быть не более 0,05 м.
2.2.11. Конструкцией крепления ограждений к строительным конструкциям должна быть исключена возможность их самопроизвольного раскрепления.
2.2.12. Сигнальные ограждения должны быть выполнены в виде каната, не рассчитанного на нагрузки и прикрепленного к стойкам или устойчивым конструкциям здания (сооружения), с навешенными знаками безопасности в виде правильных треугольников желтого цвета с черной каймой со стороной не менее 100 мм. Оформление знаков безопасности - по ГОСТ 12.4.026, расстояние между знаками должно быть не более 6 м.
2.2.13. Разрывная нагрузка ячеи синтетического сетеполотна должна быть не менее 1750 Н (175 кгс).
2.2.14. При расчете прочности сетчатых ограждений необходимо учитывать срок службы сетематериалов и их старение.
2.2.15. Детали и сборочные единицы ограждений, имеющие массу более 25 кг, должны иметь монтажные петли или другие приспособления для строповки.
2.2.16. Элементы конструкций ограждений не должны иметь острых углов, режущих кромок, заусенцев.
2.2.17. Поверхность элементов заполнения защитных и страховочных ограждений должна быть окрашена желтой сигнальной краской по ГОСТ 12.4.026.
Синтетическое сетеполотно перед окраской дисперсными красителями должно быть пропитано битумным лаком БТ-577 по ГОСТ 5631, разбавленным уайт-спиритом или скипидаром.
2.3. Требования к материалам, комплектующим изделиям и защитным покрытиям
2.3.1. Для изготовления ограждений используют стальной прокат марки С235 по ГОСТ 27772, алюминиевые сплавы марок Амг6 и 1915 по ГОСТ 4784, пиломатериалы из древесины хвойных пород не ниже 2-го сорта по ГОСТ 8486, сетеполотна из синтетических материалов и др.
2.3.2. Синтетические сетеполотна должны изготавливаться из капроновых или лавсановых крученых веревок диаметром 3,1 мм, с технологической усадкой при отделке не более 10%, кондиционной влажностью не более 1 %. Сетеполотна оплетают по контуру капроновым шнуром диаметром 8 мм. Прочностные характеристики сетематериалов при испытании должны соответствовать проектным.
2.3.3. Элементы ограждений из металлопроката должны быть огрунтованы и окрашены на предприятии-изготовителе лакокрасочными материалами, соответствующими слабоагрессивной среде по СНиП 2.03.11-85. Класс покрытия - VII по ГОСТ 9.032.
Перед окраской поверхность элементов ограждений должна быть очищена до 4-й степени по ГОСТ 9.402.
2.4. Комплектность
2.4.1. В комплект ограждения, поставляемого предприятию-потребителю, должны входить ограждения одного типа в количестве до 20 шт., инструкция по эксплуатации, документ о качестве.
2.5. Маркировка и упаковка
2.5.1. Элементы ограждений одинакового наименования (стойки, рамки, стержневые горизонтальные элементы и т.п.) из металлопроката должны быть связаны в пакеты проволокой.
2.5.2. Мелкие детали (хомуты, струбцины и т.п.) должны быть упакованы в деревянные ящики по ГОСТ 18617.
2.5.3. Сетеполотна должны быть упакованы в мешки.
2.5.4. Каждый пакет и ящик с элементами ограждений из металлопроката, а также мешок с сетеполотнами должен иметь табличку, содержащую:
товарный знак и наименование предприятия-изготовителя;
условное обозначение ограждения;
дату изготовления (месяц, год);
массу;
для сетеполотен дату последнего испытания и прочностные данные.
2.5.5. Документация, входящая в комплект поставки, должна быть завернута в пакет из полиэтиленовой пленки по ГОСТ 10354 и надежно прикреплена к комплекту проволокой или передана потребителю при непосредственном получении им комплекта ограждений.
2.6. Срок эксплуатации ограждений при условии соблюдения потребителем требований эксплуатационной документации указывается в технических условиях на ограждения конкретного типа и должен быть не менее:
5 лет - металлических элементов;
2,5 года - деревянных элементов и синтетических сетеполотен.
3.1. Для проверки соответствия ограждений требованиям настоящего стандарта изготовитель должен проводить приемочный контроль ограждений, по результатам которого принимается решение об их пригодности к поставкам и использованию.
3.2. Приемочному контролю должно подвергаться каждое ограждение в следующей последовательности:
проверка комплектности;
проверка соответствия материала и размеров рабочим чертежам;
проверка целостности элементов;
проверка качества сварных швов, канатов, болтовых, гвоздевых и заклепочных соединений на соответствие требованиям технической документации;
проверка соответствия сигнальной окраски требованиям ГОСТ 12.4.026.
3.3. Результаты проведения приемки отражают в документе о качестве.
4.1. Контроль наличия трещин, надрезов, изломов, острых кромок, заусенцев и сварных швов проводят визуально до окраски.
4.2. Качество материалов, из которых изготовлены элементы ограждений, следует устанавливать по сертификатам или определять по результатам лабораторных анализов.
4.3. Качество окраски элементов ограждений определяют визуально в соответствии с ГОСТ 9.032.
4.4. Проверку геометрических размеров ограждений выполняют измерительными инструментами или шаблонами, обеспечивающими точность измерений до 1 мм.
5.1. Транспортирование и хранение ограждений следует производить в соответствии с условиями 5 по ГОСТ 15150.
5.2. Погрузка, разгрузка, транспортирование и хранение ограждений должно осуществляться в условиях, исключающих их деформацию и повреждение лакокрасочного покрытия. Не допускается сбрасывать ограждения при разгрузке, транспортировать их волоком.
5.3. Синтетические сетеполотна следует хранить в местах, исключающих их загрязнение, действие высокой температуры и попадание на них прямых солнечных лучей.
6.1. Ограждения должны эксплуатироваться в соответствии с требованиями настоящего стандарта, СНиП III-4 и инструкции по эксплуатации ограждений.
6.2. Контроль за исправным состоянием и правильным применением ограждений во время эксплуатации, установки и демонтажа возлагается на инженерно-технических работников строительно-монтажных организаций (производителей работ, мастеров, участковых механиков), определенных приказом по организации.
6.3. Ограждения должны входить в нормокомплект и быть закреплены за комплексной или специализированной бригадой приказом по строительно-монтажной организации, а из числа рабочих бригады выделены лица, специально обученные, на которых следует возлагать выполнение их монтажа и демонтажа.
6.4. Периодический осмотр ограждений должен проводиться мастером (производителем работ) и состоять в визуальном осмотре (проверке) исправного состояния сборочных единиц и элементов ограждения.
6.5. Элементы ограждений с обнаруженными неисправностями подлежат замене либо ремонту.
6.6. Эксплуатация ограждений с синтетическими материалами допускается при температуре окружающей среды от минус 40 до плюс 40 °С.
6.7. Огневые работы должны проводиться на расстоянии не менее 1,5 м от синтетических сеток для избежания уменьшения их прочности.
6.8. Установку и снятие ограждений следует осуществлять в технологической последовательности, обеспечивающей безопасность выполнения строительно-монтажных работ. Протяженность ограждаемого участка устанавливают в технологических картах.
6.9. Лица, выполняющие установку и снятие ограждений, должны пользоваться предохранительными поясами для закрепления во время работы к надежно установленным конструкциям здания (сооружения) или к страховочному канату.
6.10. Демонтированные ограждения должны быть уложены в контейнеры для подачи их краном на следующий монтажный горизонт.
7.1. Изготовитель гарантирует соответствие ограждений требованиям настоящего стандарта.
7.2. Гарантийный срок эксплуатации ограждений при условии соблюдения потребителем условий транспортирования, хранения и эксплуатации, установленных настоящим стандартом, - 18 мес со дня ввода в эксплуатацию.
Справочное
ТЕРМИНЫ И ПОЯСНЕНИЯ
|
Термин |
Пояснение |
|
Ограждение предохранительное |
Ограждение рабочих мест на высоте и проходов к ним, конструкции которого расположены в вертикальной плоскости, служащие для предотвращения падения человека |
|
Ограждение защитное |
Предохранительное ограждение, служащее для предотвращения непреднамеренного доступа человека к границе перепада по высоте |
|
Ограждение страховочное |
Предохранительное ограждение, обеспечивающее удержание человека при потере им устойчивости вблизи границы перепада по высоте |
|
Ограждение сигнальное |
Предохранительное ограждение, предназначенное для обозначения опасной зоны, в пределах которой имеется опасность падения с высоты |
|
Ограждение внутреннее |
Предохранительное ограждение, устанавливаемое в пределах рабочего места до границы перепада по высоте |
|
Ограждение наружное |
Предохранительное ограждение, устанавливаемое за пределами рабочего места вблизи границы перепада по высоте |
|
Заполнение ограждения |
Элемент ограждения, расположенный между опорами или вертикальными поверхностями строительных конструкций зданий |
|
Ограждение опорное |
Предохранительное ограждение, имеющее элемент несущей конструкции (опору, раму и т.п.), используемый для навески заполнения |
|
Ограждение навесное |
Предохранительное ограждение, не имеющее несущей конструкции и навешиваемое непосредственно на строительные конструкции здания |
Справочное
СХЕМЫ ОГРАЖДЕНИЙ И ПРИМЕРЫ ИХ ОБОЗНАЧЕНИЙ
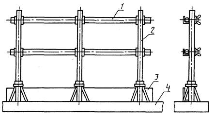
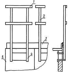
Защитное внутреннее опорное ограждение
(Ограждение Зщ Вн Оп ГОСТ 12.4.059-89)

1 - заполнение; 2 - стойка; 3 - бортовая доска; 4 - плита перекрытия
Черт. 1
Защитное наружное опорное ограждений
(Ограждение Зщ Нж Оп ГОСТ 12.4.059-89)
|
а) крепление за глухую стену |
б) крепление за оконный проем |
|
|
|
1
- заполнение; 2 - стойка; 3 - бортовая доска; 4 - место
крепления
(к стене или за оконный проем); 5 - стена здания
Черт. 2
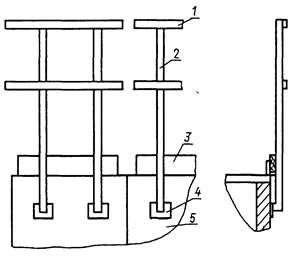
Защитное
внутреннее навесное ограждение
(Ограждение Зщ Вн Нв ГОСТ 12.4.059-89)

1
- заполнение; 2 - колонна здания; 3 - бортовая доска; 4
- струбцина (хомут);
5 - плита перекрытия; 6 - талреп
Черт. 3
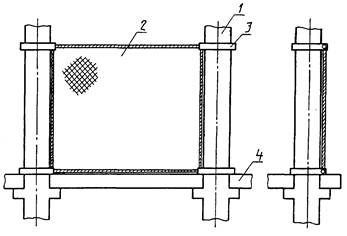
Страховочное
внутреннее навесное ограждение
(Ограждение Ст Вн Нв ГОСТ 12.4.059-89)

1 - колонна здания; 2 - заполнение; 3 - хомут; 4 - плита перекрытия
Черт. 4
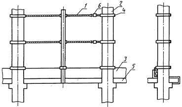
Страховочное
наружное опорное ограждение
(Ограждение Ст Нр Оп ГОСТ 12.4.059-89)

1
- рама; 2 - заполнение; 3 - место крепления ограждения к стене
здания (через закладную деталь);
4 - стена здания
Черт. 5
Сигнальное
внутреннее опорное ограждение
(Ограждение Сг Вн Оп ГОСТ 12.4.059-89)

1 - стойка; 2 - заполнение; 3 - знак безопасности; 4 - плита перекрытия
Черт. 6
Сигнальное
внутреннее навесное ограждение
(Ограждение Сг Вн Нв ГОСТ 12.4.059-89)

1 - колонна здания; 2 - плита перекрытия; 3 - заполнение; 4 - хомут; 5 - знак безопасности
Черт. 7
ИНФОРМАЦИОННЫЕ ДАННЫЕ
1. РАЗРАБОТАН Центральным научно-исследовательским и проектно-экспериментальным институтом организации, механизации и технической помощи строительству Госстроя СССР
ВНЕСЕН Государственным строительным комитетом СССР
2. УТВЕРЖДЕН И ВВЕДЕН В ДЕЙСТВИЕ Постановлением Государственного строительного комитета СССР от 13.04.89 № 66
4. ССЫЛОЧНЫЕ НОРМАТИВНО-ТЕХНИЧЕСКИЕ ДОКУМЕНТЫ
|
Обозначение НТД, на который дана ссылка |
Номер пункта, подпункта |
|
ГОСТ 9.032-74 |
2.3.3; 4.3 |
|
ГОСТ 9.402-80 |
2.3.3 |
|
ГОСТ 12.4.026-76 |
2.2.12; 2.2.17; 3.2 |
|
ГОСТ 4784-97 |
2.3.1 |
|
ГОСТ 5631-79 |
2.2.17 |
|
ГОСТ 8486-86 |
2.3.1 |
|
ГОСТ 10354-82 |
2.5.5 |
|
ГОСТ 15150-69 |
5.1 |
|
ГОСТ 18617-83 |
2.5.2 |
|
ГОСТ 27772-88 |
2.3.1 |
|
СНиП 2.03.11-85 |
2.3.3 |
|
СНиП III-4-80 |
6.1 |
4. ПЕРЕИЗДАНИЕ. Июль 2001 г.