Меню по разделу
+
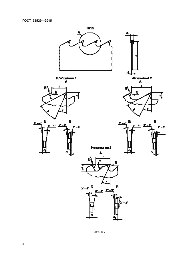
Настоящий стандарт распространяется на ленточные бревнопильные пилы, наплавленные стеллитом (износостойким литым сплавом), предназначенные для продольной распиловки хвойных и лиственных пород и древесных материалов на ленточнопильных станках
| Обозначение: | ГОСТ 33529-2015 |
| Статус: | действующий |
| Название рус.: | Пилы ленточные бревнопильные с режущими элементами, наплавленными стеллитом. Технические условия |
| Название англ.: | Band saw blades with cutting elements weld by satellite. Specifications |
| Дата актуализации текста: | 07.08.2016 |
| Дата актуализации описания: | 10.08.2017 |
| Дата издания: | 19.07.2016 |
| Дата введения в действие: | 01.01.2017 |
| Дата последнего изменения: | 17.07.2017 |
| Область и условия применения: | Настоящий стандарт распространяется на ленточные бревнопильные пилы, наплавленные стеллитом (износостойким литым сплавом), предназначенные для продольной распиловки хвойных и лиственных пород и древесных материалов на ленточнопильных станках |
| Страниц: | 11 |
| Ссылки для скачивания: |

