Меню по разделу
+
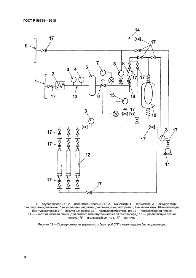
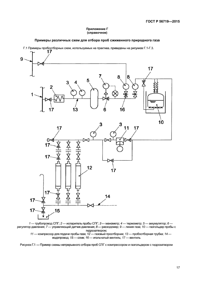
Настоящий стандарт распространяется на сжиженный природный газ (СПГ), поступающий с установок сжижения, а также подаваемый для дальнейшего хранения, транспортирования и потребления.
Настоящий стандарт устанавливает основные принципы и порядок действий при проведении отбора проб сжиженного природного газа
| Обозначение: | ГОСТ Р 56719-2015 |
| Статус: | действующий |
| Название рус.: | Газ горючий природный сжиженный. Отбор проб |
| Дата актуализации текста: | 07.08.2016 |
| Дата актуализации описания: | 10.08.2017 |
| Дата издания: | 08.02.2016 |
| Дата введения в действие: | 01.01.2017 |
| Дата последнего изменения: | 17.07.2017 |
| Область и условия применения: | Настоящий стандарт распространяется на сжиженный природный газ (СПГ), поступающий с установок сжижения, а также подаваемый для дальнейшего хранения, транспортирования и потребления.
Настоящий стандарт устанавливает основные принципы и порядок действий при проведении отбора проб сжиженного природного газа |
| Страниц: | 27 |
| Ссылки для скачивания: |

