Меню по разделу
+
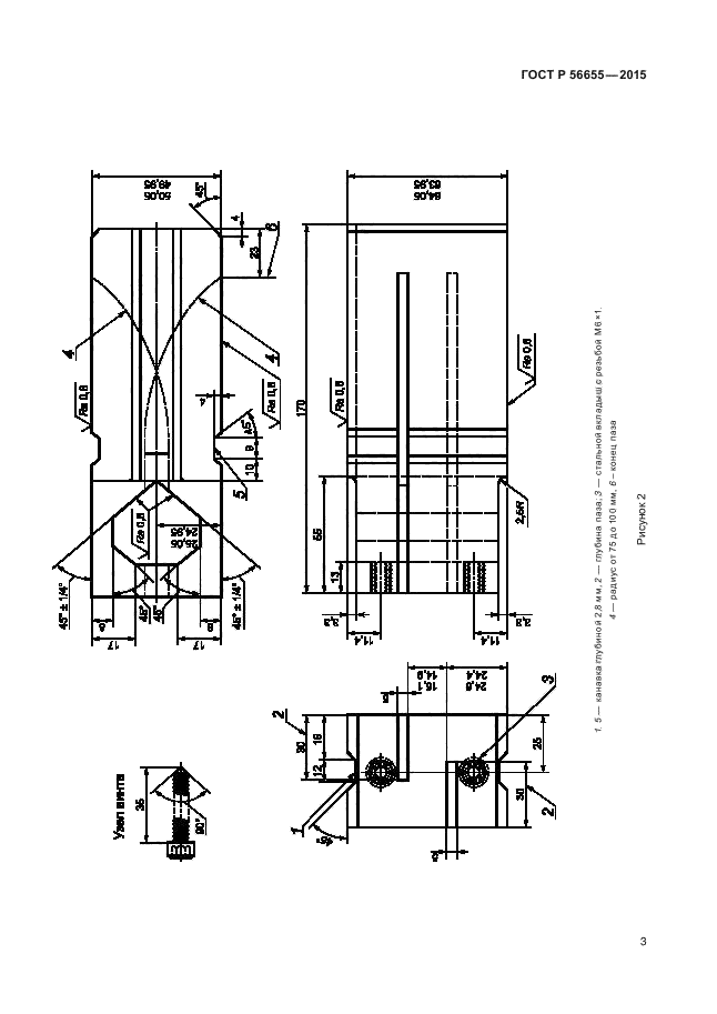
Настоящий стандарт устанавливает метод определения предела прочности при сдвиге в плоскости армирования пултрузионных стеклокомпозитных стержней диаметром от 19 до 32 мм
| Обозначение: | ГОСТ Р 56655-2015 |
| Статус: | действующий |
| Название рус.: | Композиты полимерные. Метод определения прочности при сдвиге в плоскости армирования пултрузионных стеклокомпозитных стержней |
| Дата актуализации текста: | 07.08.2016 |
| Дата актуализации описания: | 10.08.2017 |
| Дата издания: | 12.02.2016 |
| Дата введения в действие: | 01.01.2017 |
| Дата последнего изменения: | 13.07.2017 |
| Область и условия применения: | Настоящий стандарт устанавливает метод определения предела прочности при сдвиге в плоскости армирования пултрузионных стеклокомпозитных стержней диаметром от 19 до 32 мм |
| Страниц: | 15 |
| Ссылки для скачивания: |

