Меню
Навигация
Первая линия
Novatika

ГОСТ Р МЭК 60810-2015 Лампы для дорожных транспортных средств. Эксплуатационные требования

Настоящий стандарт распространяется на источники света (лампы накаливания, разрядные лампы и светодиодные источники света), используемые как фарные, противотуманные и светосигнальные для дорожных транспортных средств. Настоящий стандарт распространяется на лампы по МЭК 60809, но может быть использован для применения других ламп, входящих в область применения настоящего стандарта.
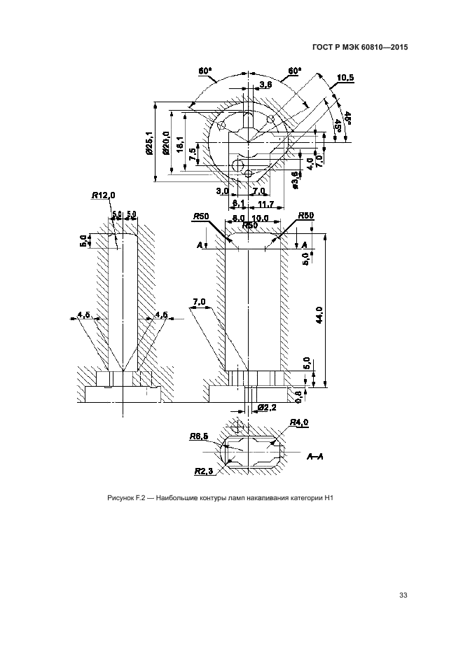
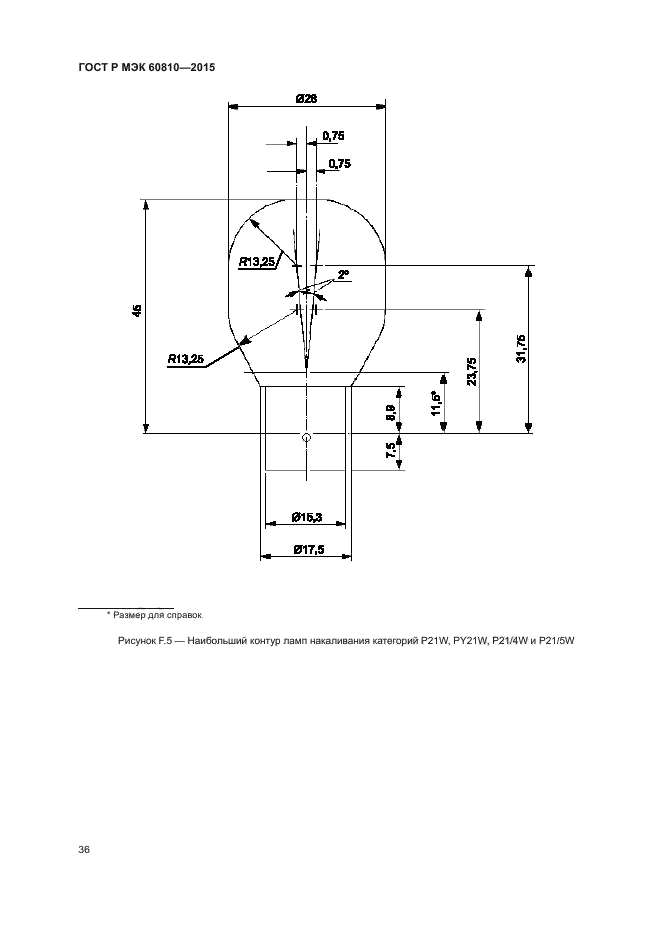
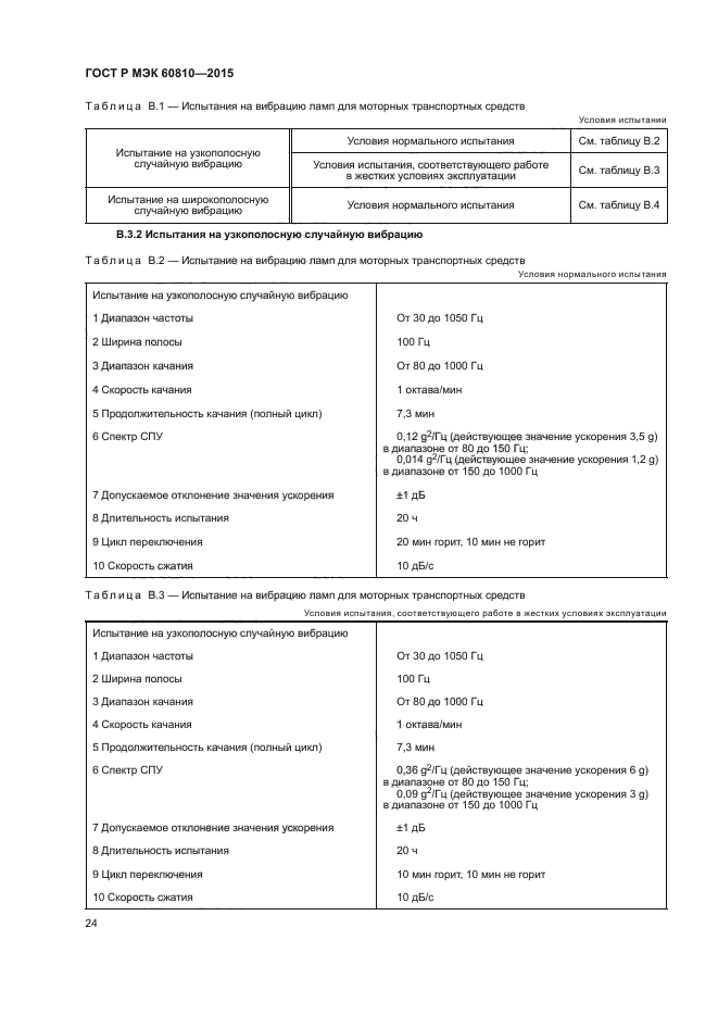
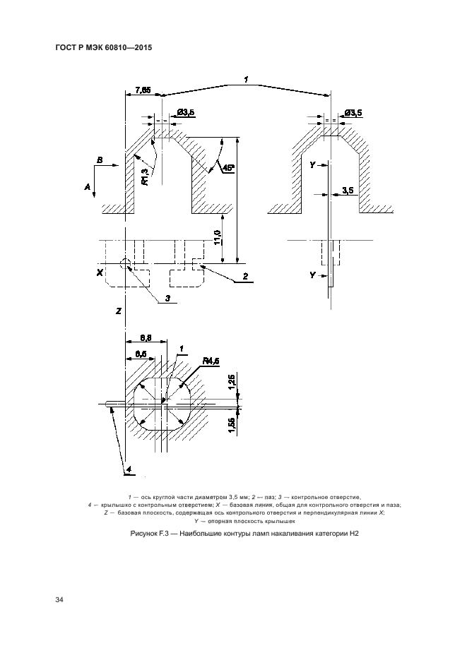
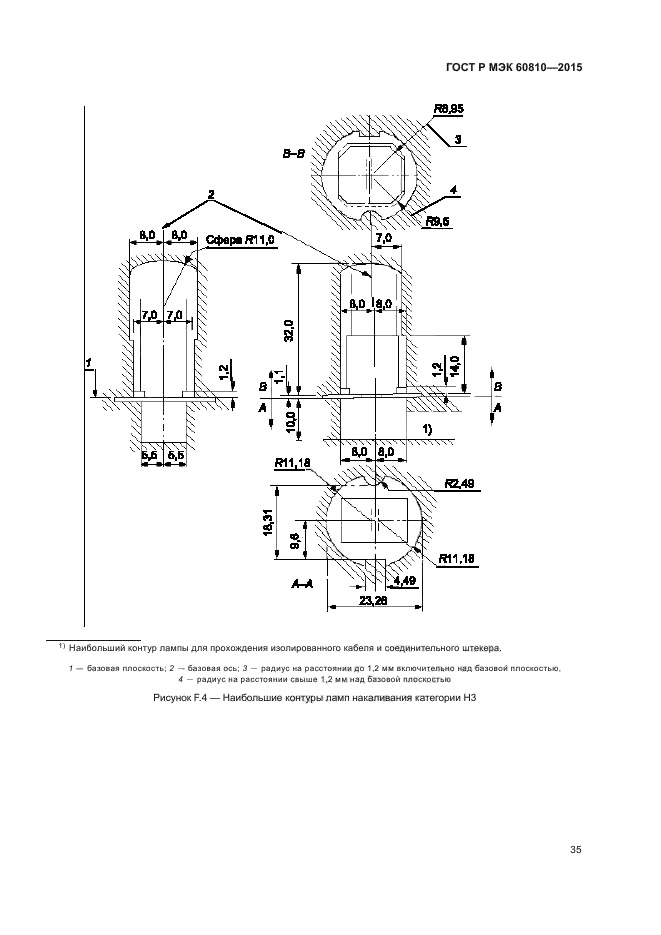
Настоящий стандарт устанавливает требования и методы испытаний для контроля эксплуатационных характеристик, таких как продолжительность горения, сохранение светового потока, стойкость к крутящему моменту, прочность стеклянной колбы, стойкость к вибрации и механическому удару. Кроме того, в приложении F приведена информация для руководства при расчете осветительного и электрического оборудования, а именно: пределы температур, наибольшие контуры ламп и максимально допустимые колебания напряжения.
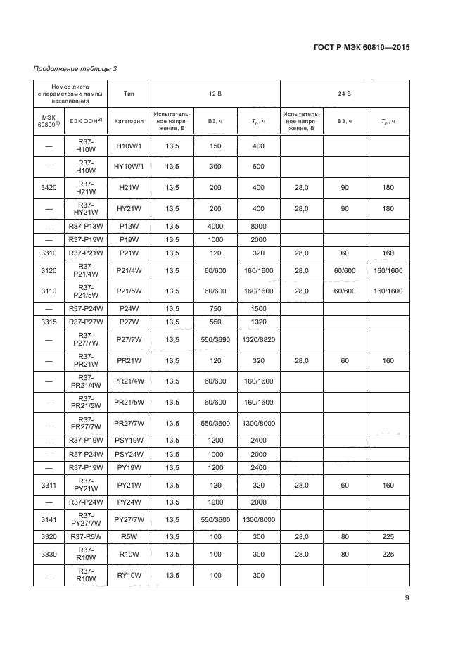
Некоторые требования в настоящем стандарте включают в себя ссылки на данные, приведенные в таблицах. Для ламп, не указанных в этих таблицах, соответствующие данные должен предоставить изготовитель ламп или ответственный поставщик.
Данные эксплуатационные требования дополняют основные требования, установленные в МЭК 60809. Однако они не предназначены для использования уполномоченными органами для целей законодательно установленного одобрения типа

Обозначение: ГОСТ Р МЭК 60810-2015
Статус: действующий
Название рус.: Лампы для дорожных транспортных средств. Эксплуатационные требования
Дата актуализации текста: 26.02.2016
Дата актуализации описания: 10.08.2017
Дата издания: 15.12.2016
Дата введения в действие: 01.01.2016
Дата последнего изменения: 17.07.2017
Область и условия применения: Настоящий стандарт распространяется на источники света (лампы накаливания, разрядные лампы и светодиодные источники света), используемые как фарные, противотуманные и светосигнальные для дорожных транспортных средств. Настоящий стандарт распространяется на лампы по МЭК 60809, но может быть использован для применения других ламп, входящих в область применения настоящего стандарта.
Настоящий стандарт устанавливает требования и методы испытаний для контроля эксплуатационных характеристик, таких как продолжительность горения, сохранение светового потока, стойкость к крутящему моменту, прочность стеклянной колбы, стойкость к вибрации и механическому удару. Кроме того, в приложении F приведена информация для руководства при расчете осветительного и электрического оборудования, а именно: пределы температур, наибольшие контуры ламп и максимально допустимые колебания напряжения.
Некоторые требования в настоящем стандарте включают в себя ссылки на данные, приведенные в таблицах. Для ламп, не указанных в этих таблицах, соответствующие данные должен предоставить изготовитель ламп или ответственный поставщик.
Данные эксплуатационные требования дополняют основные требования, установленные в МЭК 60809. Однако они не предназначены для использования уполномоченными органами для целей законодательно установленного одобрения типа
Страниц: 59
Ссылки для скачивания: