Меню по разделу
+
| Обозначение: | ГОСТ 22701.0-77 |
| Статус: | неизвестно |
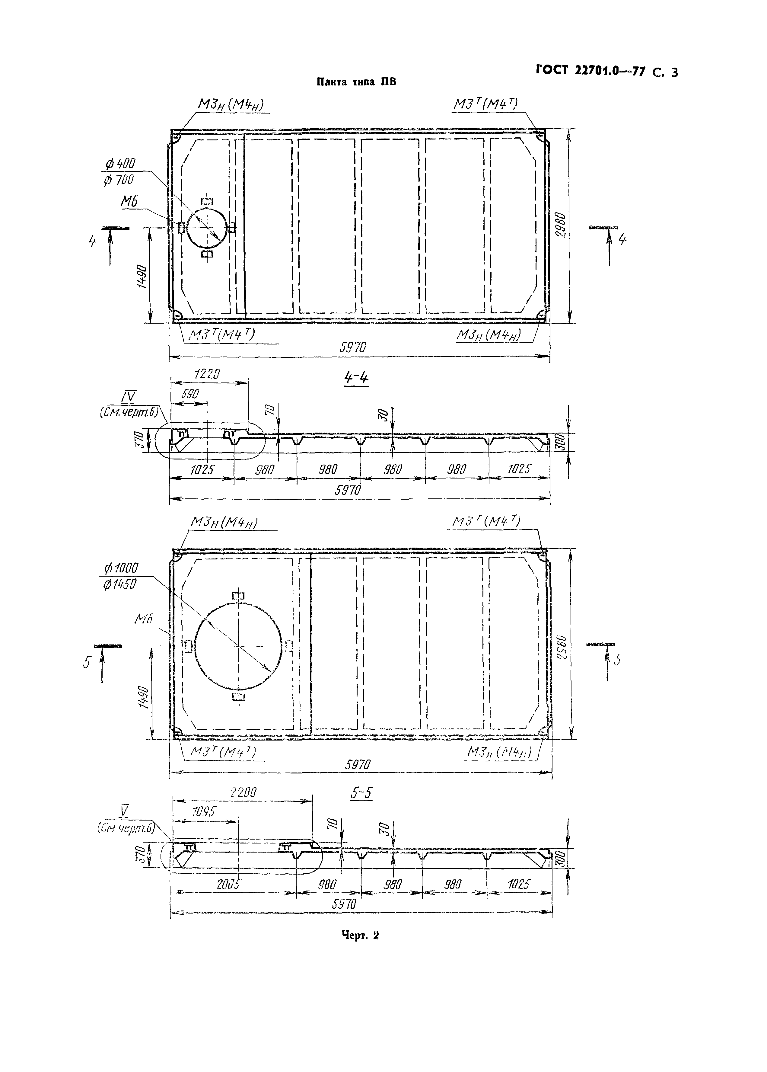
| Название рус.: | Плиты железобетонные ребристые предварительно напряженные размерами 6х3 м для покрытий производственных зданий. Технические условия |
| Дата актуализации текста: | 06.04.2015 |
| Дата актуализации описания: | 10.08.2017 |
| Область и условия применения: | |
| Страниц: | 25 |
| Ссылки для скачивания: |

