Меню по разделу
+
Настоящий стандарт устанавливает требования безопасности и энергоэффективности, методы испытаний бытовых отопительных газовых воздухонагревателей с принудительной конвекцией и вспомогательным вентилятором, обеспечивающим подачу воздуха для горения и/ или отвод продуктов сгорания (далее – аппараты).
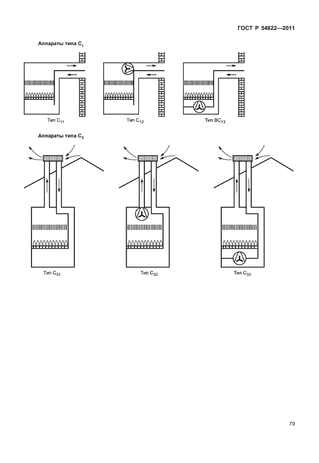
Настоящий стандарт распространяется на аппараты типов B12, B12AS, B12BS, В13, В13АS, B13BS, B14, B14АS, B14BS, B22, B23, B42, B42АS, B42BS, B43, B43АS, B43BS, B44, B44АS, B44BS, B52, B53, C12, C13, C32, C33, C62 и C63 с тепловой мощностью не более 70 кВт, предназначенные для использования, как правило, в одном блоке жилого дома
| Обозначение: | ГОСТ Р 54822-2011 |
| Статус: | действующий |
| Название рус.: | Воздухонагреватели газовые бытовые отопительные с принудительной конвекцией и вспомогательным вентилятором горелок с номинальной тепловой мощностью не более 70 кВт. Общие технические требования и методы испытаний |
| Название англ.: | Domestic gas-fired forced convection air heaters for space heating, with fan-assisted burners not exceeding a net heat input of 70 kW. General technical requirements and test methods |
| Дата актуализации текста: | 06.04.2015 |
| Дата актуализации описания: | 10.08.2017 |
| Дата издания: | 22.05.2013 |
| Дата введения в действие: | 01.01.2013 |
| Дата последнего изменения: | 13.07.2017 |
| Область и условия применения: | Настоящий стандарт устанавливает требования безопасности и энергоэффективности, методы испытаний бытовых отопительных газовых воздухонагревателей с принудительной конвекцией и вспомогательным вентилятором, обеспечивающим подачу воздуха для горения и/ или отвод продуктов сгорания (далее – аппараты).
Настоящий стандарт распространяется на аппараты типов B12, B12AS, B12BS, В13, В13АS, B13BS, B14, B14АS, B14BS, B22, B23, B42, B42АS, B42BS, B43, B43АS, B43BS, B44, B44АS, B44BS, B52, B53, C12, C13, C32, C33, C62 и C63 с тепловой мощностью не более 70 кВт, предназначенные для использования, как правило, в одном блоке жилого дома |
| Страниц: | 86 |
| Ссылки для скачивания: |

