Меню
Навигация
Novatika
Первая линия

Материалы кровельные и гидроизоляционные гибкие битумосодержащие и полимерные (термопластичные или эластомерные). Метод определения сопротивления статическому продавливанию

Стандарт распространяется на кровельные и гидроизоляционные гибкие битумосодержащие и полимерные (термопластичные или эластомерные). При эксплуатации в гидроизоляционных системах материалы могут подвергаться механическому воздействию двух типов - долговременным статическим нагрузкам или кратковременным динамическим нагрузкам. Стандарт устанавливает метод определения сопротивления материалов продавливанию под воздействием долговременных статических нагрузок. Стандарт предназначен для определения характеристик материалов конкретных видов.

Обозначение: ГОСТ EN 12730-2011
Название рус.: Материалы кровельные и гидроизоляционные гибкие битумосодержащие и полимерные (термопластичные или эластомерные). Метод определения сопротивления статическому продавливанию
Статус: действует
Дата актуализации текста: 05.05.2017
Дата добавления в базу: 01.10.2014
Дата введения в действие: 01.07.2013
Утвержден: 08.12.2011 МНТКС (MNTKS 39)27.12.2012 Федеральное агентство по техническому регулированию и метрологии (2009-ст)
Опубликован: Стандартинформ (2013 г. )
Ссылки для скачивания:

МЕЖГОСУДАРСТВЕННЫЙ СОВЕТ ПО СТАНДАРТИЗАЦИИ, МЕТРОЛОГИИ И СЕРТИФИКАЦИИ
(МГС)

INTERSTATE COUNCIL FOR STANDARDIZATION, METROLOGY AND CERTIFICATION
(ISC)

МЕЖГОСУДАРСТВЕННЫЙ
СТАНДАРТ

ГОСТ EN
12730-2011

МАТЕРИАЛЫ КРОВЕЛЬНЫЕ
И ГИДРОИЗОЛЯЦИОННЫЕ ГИБКИЕ
БИТУМОСОДЕРЖАЩИЕ И ПОЛИМЕРНЫЕ
(ТЕРМОПЛАСТИЧНЫЕ ИЛИ ЭЛАСТОМЕРНЫЕ)

Метод определения сопротивления статическому
продавливанию

(EN 12730:2001, IDT)

Москва
Стандартинформ
2013

Предисловие

Цели, основные принципы и основной порядок проведения работ по межгосударственной стандартизации установлены ГОСТ 1.0-92 «Межгосударственная система стандартизации. Основные положения» и ГОСТ 1.2-2009 «Межгосударственная система стандартизации. Стандарты межгосударственные, правила и рекомендации по межгосударственной стандартизации. Правила разработки, принятия, применения, обновления и отмены»

Сведения о стандарте

1 ПОДГОТОВЛЕН федеральным государственным бюджетным учреждением «Научно-исследовательский институт строительной физики Российской академии архитектуры и строительных наук» («НИИСФ РААСН») на основе собственного аутентичного перевода на русский язык европейского регионального стандарта, указанного в пункте 4

2 ВНЕСЕН Техническим комитетом по стандартизации ТК 465 «Строительство»

3 ПРИНЯТ Межгосударственной научно-технической комиссией по стандартизации, техническому нормированию и оценке соответствия в строительстве (МНТКС) (приложение Д к протоколу от 8 декабря 2011 г. № 39)

За принятие проголосовали:

Краткое наименование страны по MK (ИСО 3166) 004-97

Код страны по MK (ИСО 3166) 004-97

Сокращенное наименование национального органа по стандартизации

Азербайджан

AZ

Государственный комитет градостроительства и архитектуры

Армения

AM

Министерство градостроительства

Казахстан

KZ

Агентство по делам строительства и жилищно-коммунального хозяйства

Киргизия

KG

Госстрой

Молдова

MD

Министерство строительства и регионального развития

Россия

RU

Министерство регионального развития

Таджикистан

TJ

Агентство по строительству и архитектуре при Правительстве

Узбекистан

UZ

Госархитектстрой

Украина

UA

Министерство регионального развития, строительства и жилищно-коммунального хозяйства

4 Настоящий стандарт идентичен европейскому региональному стандарту EN 12730:2001 Flexible sheets for waterproofing - Bitumen, plastic and rubber sheets for roof waterproofing - Determination of resistance to static loading [Материалы гибкие гидроизоляционные. Материалы кровельные и гидроизоляционные битумосодержащие и полимерные (термопластичные или эластомерные). Определение сопротивления статическому продавливанию].

Наименование настоящего стандарта изменено по отношению к наименованию европейского регионального стандарта для приведения в соответствие с ГОСТ 1.5-2001 (подраздел 3.6).

Перевод с английского языка (en).

Сведения о соответствии межгосударственного стандарта ссылочному европейскому региональному стандарту приведены в дополнительном приложении ДА.

Степень соответствия - идентичная (IDT)

5 Приказом Федерального агентства по техническому регулированию и метрологии от 27 декабря 2012 г. № 2009-ст межгосударственный стандарт ГОСТ EN 12730-2011 введен в действие в качестве национального стандарта Российской Федерации с 1 июля 2013 г.

6 ВВЕДЕН ВПЕРВЫЕ

Информация об изменениях к настоящему стандарту публикуется в ежегодном информационном указателе «Национальные стандарты», а текст изменений и поправок - в ежемесячном информационном указателе «Национальные стандарты». В случае пересмотра (замены) или отмены настоящего стандарта соответствующее уведомление будет опубликовано в ежемесячном информационном указателе «Национальные стандарты». Соответствующая информация, уведомление и тексты размещаются также в информационной системе общего пользования - на официальном сайте Федерального агентства по техническому регулированию и метрологии в сети Интернет

СОДЕРЖАНИЕ

Введение

Применение настоящего стандарта, устанавливающего метод определения сопротивления статическому продавливанию гибких кровельных и гидроизоляционных битумосодержащих и полимерных (термопластичных или эластомерных) материалов, позволяет получить адекватную оценку качества материалов, производимых в государствах Евразийского экономического сообщества и странах ЕС, а также обеспечить конкурентоспособность продукции на международном рынке.

Настоящий стандарт применяют, если заключенные контракты или другие согласованные условия предусматривают применение материалов с характеристиками, гармонизированными с требованиями европейских региональных стандартов, а также в случаях, когда это технически и экономически целесообразно.

ГОСТ EN 12730-2011

МЕЖГОСУДАРСТВЕННЫЙ СТАНДАРТ

МАТЕРИАЛЫ КРОВЕЛЬНЫЕ И ГИДРОИЗОЛЯЦИОННЫЕ ГИБКИЕ
БИТУМОСОДЕРЖАЩИЕ И ПОЛИМЕРНЫЕ (ТЕРМОПЛАСТИЧНЫЕ
ИЛИ ЭЛАСТОМЕРНЫЕ)

Метод определения сопротивления статическому продавливанию

Roofing and hydraulic-insulating flexible bitumen-based and polymeric (thermoplastic or
elastomer) materials. Method for determination of resistance to static loading

Дата введения - 2013-07-01

1 Область применения

Настоящий стандарт распространяется на кровельные и гидроизоляционные гибкие битумосодержащие и полимерные (термопластичные или эластомерные) материалы (далее - материалы).

При эксплуатации в гидроизоляционных системах материалы могут подвергаться механическому воздействию двух типов - долговременным статическим нагрузкам или кратковременным динамическим нагрузкам. Настоящий стандарт устанавливает метод определения сопротивления материалов продавливанию под воздействием долговременных статических нагрузок.

Настоящий стандарт предназначен для определения характеристик и(или) классификации материалов после их изготовления или поставки, до их укладки.

Требования настоящего стандарта распространяются только на материалы и не применимы для определения характеристик изготовленных из них гидроизоляционных систем после производства работ.

Настоящий стандарт предназначен для определения характеристик материалов конкретных видов.

2 Нормативные ссылки

В настоящем стандарте использована ссылка на следующий европейский региональный стандарт:

EN 13416:2001 Flexible sheets for waterproofing - Bitumen, plastic and rubber sheets for roof waterproofing - Rules for sampling [Материалы гибкие гидроизоляционные. Материалы кровельные и гидроизоляционные битумосодержащие и полимерные (термопластичные или эластомерные). Правила отбора образцов]

3 Термины и определения

В настоящем стандарте применен следующий термин с соответствующим определением:

3.1 лицевая поверхность (surface): Верхняя сторона полотна материала, которая является рабочей при его эксплуатации; обычно находится внутри рулона.

4 Сущность метода

К лицевой поверхности испытуемого образца, уложенного на мягкую (метод А) или жесткую (метод В) подложку, при помощи продавливающего устройства прикладывают заданную статическую нагрузку в течение заданного времени, после чего образец подвергают испытанию на водонепроницаемость.

5 Средства испытаний

5.1 Общие требования

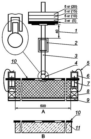
Для определения сопротивления статическому продавливанию используют нагружающее устройство, состоящее из элементов, приведенных в 5.2 - 5.6 (см. рисунок 1), или устройство аналогичного типа.

5.2 Направляющая штанга

Направляющая штанга удерживает нагружающий стержень в вертикальном положении.

Вертикальное перемещение продавливающего устройства от поверхности образца вниз ограничено направляющей штангой расстоянием (40 ± 2) мм.

5.3 Нагружающий стержень

В нижней части нагружающего стержня находится продавливающее устройство, в средней - подставка для нагружающих дисков. Общая масса нагружающего стержня, продавливающего устройства и подставки для нагружающих дисков составляет 2 кг.

5.4 Нагружающие диски

Полный комплект нагружающих дисков состоит из одного диска массой 3 кг и трех дисков массой по 5 кг каждый.

5.5. Продавливающее устройство

Продавливающее устройство представляет собой шарик, изготовленный из стали, закаленной до твердости 50 по шкале С Роквелла, с цилиндрическим выступом диаметром ≈ 5 мм для прикрепления его к нагружающему стержню (см. рисунок 1). Диаметр шарика (10 ± 0,05) мм, поверхность шарика должна быть чистой и гладкой.

1 - максимальное перемещение вниз; 2 - направляющая штанга; 3 - нагружающий стержень;
4 - шарик для продавливания; 5 - зажим; 6 - рамка в разрезе (20
´20) мм; 7 - гвоздь (диаметр 2,8 мм);
8 - пенополистирол; 9 - подставка; 10 - образец; 11 - бетон

А - мягкая подложка; В - жесткая подложка

Рисунок 1 - Схема нагружающего устройства для определения сопротивления статическому продавливанию

1 - стеклянная пластина; 2 - подложка; 3 - воздухопроницаемый слой; 4 - образец;
5 - прозрачная пластмассовая трубка; 6 - прокладка

Рисунок 2 - Схема вакуумной насадки

5.6 Подложки

5.6.1 Общие требования

Для проведения испытаний используют два типа подложек в соответствии с 5.6.2 и 5.6.3.

5.6.2 Метод A (с использованием мягкой подложки)

Образец закрепляют гвоздями в рамке и укладывают на подложку из пенополистирола плотностью (20 ± 2) кг/м3 и размерами [(500´500´50) ± 1] мм (см. рисунок 1).

Внутренние размеры рамки ≈ (500´500) мм.

5.6.3 Метод B (с использованием жесткой подложки)

Образец свободно укладывают на бетонную плитку размерами ≈ (300´300´40) мм.

Поверхность плитки должна быть ровной и не иметь дефектов.

5.7 Вакуумная насадка

Для определения водонепроницаемости образца после проведения испытаний применяют вакуумную насадку, схема которой приведена на рисунке 2, или устройство аналогичного типа.

6 Отбор образцов

Отбор образцов проводят в соответствии с требованиями EN 13416.

7 Подготовка образцов

Испытания проводят на образцах размерами [(550´550) ± 2] мм для метода А и [(300´300) ± 2] мм для метода В.

Образцы вырубают равномерно по ширине полотна материала на расстоянии не менее 100 мм от края полотна.

Для проведения испытаний по методам A и B используют по три образца для каждого значения нагрузки.

Перед проведением испытаний образцы кондиционируют при температуре (23 ± 2) °C в течение не менее 24 ч.

8 Методика проведения испытаний

8.1 Общие требования

Испытания проводят при температуре (23 ± 2) °C.

При проведении испытаний при каждом значении нагрузки используют новую серию из трех образцов, а при испытании по методу A - и трех новых пенополистирольных подложек (см. также 8.2).

Образец укладывают на подложку лицевой стороной вверх.

Продавливающее устройство помещают в центр образца и проводят три параллельных испытания, начиная с нагрузки 5 кг. Затем постепенно увеличивают нагрузку с шагом в 5 кг до потери образцом водонепроницаемости или до максимальной нагрузки в 20 кг. Время выдержки образца при каждом значении нагрузки (24 ± 0,1) ч.

Приложение нагрузки должно осуществляться плавно, без резких ударов и толчков.

Через (7 ± 2) мин после испытания при каждом значении нагрузки образец подвергают испытанию на водонепроницаемость; для этого на лицевую поверхность образца наносят мыльный раствор, прикладывают к ней вакуумную насадку и создают разность давлений на поверхностях образца ≈ 15 кПа (см. рисунок 2). Если в течение 60 с на лицевой поверхности образца в области продавливания не появятся мыльные пузыри, образец считают выдержавшим испытание на водонепроницаемость.

Материал считают выдержавшим испытание на сопротивление статическому продавливанию при заданной нагрузке, если все испытанные образцы остаются водонепроницаемыми.

8.2 Метод A (с использованием мягкой подложки)

При проведении испытаний на мягкой подложке образец закрепляют гвоздями в рамке.

Вертикальное перемещение продавливающего устройства от поверхности образца вниз должно быть ограничено расстоянием (40 ± 2) мм, как показано на рисунке 1.

8.3 Метод B (с использованием жесткой подложки)

При проведении испытаний с использованием жесткой подложки образец свободно укладывают на бетонную плитку.

9 Обработка результатов испытаний

За величину сопротивления статическому продавливанию принимают максимальное значение нагрузки, при котором все испытанные по методу A или B образцы остаются водонепроницаемыми.

10 Отчет об испытаниях

Отчет об испытаниях должен содержать:

a) данные, необходимые для идентификации испытуемого материала;

b) ссылку на настоящий стандарт и отклонения от его требований;

c) информацию об отборе образцов в соответствии с разделом 6;

d) информацию о подготовке образцов в соответствии с разделом 7;

e) информацию о проведении испытаний в соответствии с разделом 8 с указанием применяемого метода (A или B);

f) результаты испытаний в соответствии с разделом 9;

g) дату проведения испытаний.

Приложение ДА
(справочное)

Сведения о соответствии межгосударственного стандарта ссылочному
европейскому региональному стандарту

Таблица ДА.1

Обозначение ссылочного европейского регионального стандарта

Степень соответствия

Обозначение и наименование соответствующего межгосударственного стандарта

EN 13416:2001 Материалы гибкие гидроизоляционные. Материалы кровельные и гидроизоляционные битумосодержащие и полимерные (термопластичные или эластомерные). Правила отбора образцов

IDT

ГОСТ EN 13416-2011 Материалы кровельные и гидроизоляционные гибкие битумосодержащие и полимерные (термопластичные или эластомерные). Правила отбора образцов

Примечание - В настоящей таблице использовано следующее условное обозначение степени соответствия стандартов:

- IDT - идентичные стандарты.

 

 

Ключевые слова: кровельные и гидроизоляционные гибкие битумосодержащие и полимерные (термопластичные или эластомерные) материалы, сопротивление статическому продавливанию