Стандарт распространяется на теплоизоляционные изделия, применяемые в строительстве, и устанавливает требования к средствам испытания и методике определения диффузионного влагопоглощения в течение заданного длительного времени. Метод, приведенный в стандарте, моделирует условия эксплуатации, при которых изделия поглощают влагу с двух сторон при высокой относительной влажности воздуха (приблизительно 100 %) и разности давлений водяного пара в течение длительного периода времени, например, изделия, применяемые в инверсионных крышах, или изделия, применяемые в качестве тепловой изоляции в грунте в незащищенном от воды виде. Метод, приведенный в стандарте, не может быть применен для всех видов теплоизоляционных изделий. О необходимости применения метода, приведенного в стандарте, должно быть указано в стандарте, а при его отсутствии - в технических условиях на изделие конкретного вида.
| Обозначение: | ГОСТ EN 12088-2011 |
| Название рус.: | Изделия теплоизоляционные, применяемые в строительстве. Метод определения диффузионного влагопоглощения в течение длительного времени |
| Статус: | действует |
| Дата актуализации текста: | 05.05.2017 |
| Дата добавления в базу: | 01.10.2014 |
| Дата введения в действие: | 01.07.2013 |
| Утвержден: | 08.12.2011 МНТКС (MNTKS 39, дополнение 1)27.12.2012 Федеральное агентство по техническому регулированию и метрологии (1985-ст) |
| Опубликован: | Стандартинформ (2014 г. ) |
| Ссылки для скачивания: |
|
МЕЖГОСУДАРСТВЕННЫЙ
СОВЕТ ПО СТАНДАРТИЗАЦИИ, МЕТРОЛОГИИ И СЕРТИФИКАЦИИ |
|
|
МЕЖГОСУДАРСТВЕННЫЙ |
ГОСТ EN |
ИЗДЕЛИЯ ТЕПЛОИЗОЛЯЦИОННЫЕ,
ПРИМЕНЯЕМЫЕ В СТРОИТЕЛЬСТВЕ
Метод определения
диффузионного
влагопоглощения в течение длительного времени
(EN 12088:1997, IDT)
|
|
Москва |
Цели, основные принципы и основной порядок проведения работ по межгосударственной стандартизации установлены ГОСТ 1.0-92 «Межгосударственная система стандартизации. Основные положения» и ГОСТ 1.2-2009 «Межгосударственная система стандартизации. Стандарты межгосударственные, правила и рекомендации по межгосударственной стандартизации. Правила разработки, принятия, применения, обновления и отмены»
Сведения о стандарте
1 ПОДГОТОВЛЕН Некоммерческой организацией «Ассоциация производителей экструдированного пенополистирола «РАПЭКС» на основе аутентичного перевода на русский язык европейского регионального стандарта, указанного в пункте 4
2 ВНЕСЕН Техническим комитетом по стандартизации ТК 465 «Строительство»
3 ПРИНЯТ Межгосударственной научно-технической комиссией по стандартизации, техническому нормированию и оценке соответствия в строительстве (МНТКС) (приложение Д к протоколу от 8 декабря 2011 г. № 39, дополнение № 1)
За принятие проголосовали:
|
Краткое наименование страны |
Код страны по |
Сокращенное наименование национального органа
государственного |
|
Азербайджан |
AZ |
Государственный комитет градостроительства и архитектуры |
|
Армения |
AM |
Министерство градостроительства |
|
Казахстан |
KZ |
Агентство по делам строительства и жилищно-коммунального хозяйства |
|
Киргизия |
KG |
Госстрой |
|
Молдова |
MD |
Министерство строительства и регионального развития |
|
Россия |
RU |
Министерство регионального развития |
|
Таджикистан |
TJ |
Агентство по строительству и архитектуре при Правительстве |
|
Узбекистан |
UZ |
Госархитектстрой |
|
Украина |
UA |
Министерство регионального развития, строительства и жилищно-коммунального хозяйства |
4 Настоящий стандарт идентичен европейскому региональному стандарту EN 12088:1997 Thermal insulating products for building applications - Determination of long term water absorption by diffusion (Теплоизоляционные изделия, применяемые в строительстве. Определение абсорбционного влагопоглощения методом диффузии в течение длительного времени).
Настоящий стандарт дополнен приложением ДА, в котором приведен пример охлаждающей пластины для образца при определении абсорбционного влагопоглощения.
Наименование настоящего стандарта изменено относительно наименования указанного европейского регионального стандарта для приведения в соответствие с ГОСТ 1.5 (подраздел 3.6).
При применении настоящего стандарта рекомендуется использовать вместо ссылочного европейского регионального стандарта соответствующий ему межгосударственный стандарт, сведения о котором приведены в дополнительном приложении ДБ.
Перевод с английского языка (еn).
Степень соответствия - идентичная (IDT)
5 Приказом Федерального агентства по техническому регулированию и метрологии от 27 декабря 2012г. № 1985-ст межгосударственный стандарт ГОСТ EN 12088-2011 введен в действие в качестве национального стандарта Российской Федерации с 1 июля 2013 г.
6 ВВЕДЕН ВПЕРВЫЕ
Информация об изменениях к настоящему стандарту публикуется в ежегодном информационном указателе «Национальные стандарты», а текст изменений и поправок - в ежемесячном информационном указателе «Национальные стандарты». В случае пересмотра (замены) или отмены настоящего стандарта соответствующее уведомление будет опубликовано в ежемесячном информационном указателе «Национальные стандарты». Соответствующая информация, уведомление и тексты размещаются также в информационной системе общего пользования - на официальном сайте Федерального агентства по техническому регулированию и метрологии в сети Интернет
|
8 Обработка и представление результатов. 5 Приложение ДА (рекомендуемое) Пример охлаждающей пластины.. 7 |
Настоящий стандарт применяют, если заключенные контракты или другие согласованные условия предусматривают применение теплоизоляционных материалов с характеристиками, гармонизированными с требованиями европейских региональных стандартов, а также в случаях, когда это технически и экономически целесообразно.
ГОСТ EN 12088-2011
|
МЕЖГОСУДАРСТВЕННЫЙ СТАНДАРТ |
|
ИЗДЕЛИЯ ТЕПЛОИЗОЛЯЦИОННЫЕ, ПРИМЕНЯЕМЫЕ В СТРОИТЕЛЬСТВЕ Метод определения диффузионного влагопоглощения в течение длительного времени Thermal insulating products in building applications. Method for
determination of long-term moisture absorption by |
Дата введения -2013-07-01
Настоящий стандарт распространяется на теплоизоляционные изделия (далее - изделия), применяемые в строительстве, и устанавливает требования к средствам испытания и методике определения диффузионного влагопоглощения* в течение заданного длительного времени.
__________
* Сорбционной влажности.
Метод, приведенный в настоящем стандарте, моделирует условия эксплуатации, при которых изделия поглощают влагу с двух сторон при высокой относительной влажности воздуха (» 100 %) и разности давлений водяного пара в течение длительного периода времени, например, изделия, применяемые в инверсионных крышах, или изделия, применяемые в качестве тепловой изоляции в грунте в незащищенном от воды виде.
Метод, приведенный в настоящем стандарте, не может быть применен для всех видов теплоизоляционных изделий. О необходимости применения метода, приведенного в настоящем стандарте, должно быть указано в стандарте, а при его отсутствии - в технических условиях (ТУ) на изделие конкретного вида.
Примечание - Для изделий, применяемых в качестве тепловой изоляции в грунте в незащищенном от воды виде, температура испытания 50 °С может быть заменена на более низкую температуру, если имеются соответствующие указания.
В настоящем стандарте использована ссылка на следующий стандарт:
EN 12085:1997 Thermal insulating products for building applications - Determination of linear dimensions of test specimens (Теплоизоляционные изделия, применяемые в строительстве. Определение линейных размеров образцов для испытаний)
Настоящий стандарт не содержит терминов.
Сущность метода заключается в определении увеличения массы образца изделия, подвергаемого воздействию перепада давлений водяного пара и температурного градиента в течение 28 сут.
5.1 Весы с погрешностью взвешивания ± 0,1 г.
5.2 Коррозионно-стойкий контейнер с рамой для установки образцов.
5.3 Нагревательное устройство с термостатом для поддержания температуры воды в контейнере (50 ± 1) °С.
5.4 Охлаждающая пластина*, теплоизолированная с наружной стороны, для поддержания температуры (1 ± 0,5) °С.
__________
* Пример озлаждающей жидкости приведен в дополнительном приложении ДА
5.5 Водопроводная вода с регулируемой температурой (50 ± 1) °С.
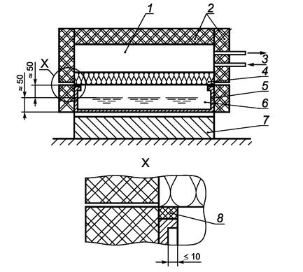
Схема испытания приведена на рисунке 1.
1 -
охлаждающая пластина; 2 - теплоизоляция охлаждающей пластины и
контейнера; 3 - вход и выход
для охлаждающего реагента; 4 - образец; 5 - коррозионностойкий
контейнер с рамой, поддерживающей
образец; 6 - водопроводная вода; 7 - нагревательное устройство с
термостатом; 8 - герметик
Рисунок 1 - Схема испытания по определению диффузионного влагопоглощения
Толщина образцов должна быть равна толщине изделия, из которого их вырезают.
Лицевые грани образцов должны иметь форму квадрата с размером сторон (500 + 1) мм.
Если размер изделия не позволяет вырезать образцы указанного размера, допускается применять образцы меньших размеров.
Образцы не должны иметь швов.
Число образцов, предназначенных для испытания, должно быть не менее двух.
6.3 Подготовка образцов к испытанию
Образцы должны быть вырезаны из изделия так, чтобы они не содержали кромок изделия, из которого их вырезают.
При подготовке к испытанию образцы должны сохранять структуру изделия, из которого их вырезают. Если изделие имеет облицовку, обшивку и/или покрытие, то они должны быть сохранены на образце.
Примечание - Специальные методы подготовки образцов к испытанию, если необходимо, должны быть приведены в стандарте или в технических условиях на изделие.
6.4 Кондиционирование образцов
Образцы перед испытанием выдерживают не менее 6 ч при температуре (23 ± 5) °С. В случае разногласий образцы выдерживают при температуре (23 ± 2) °С и относительной влажности воздуха (50 ± 5) % в течение времени, указанного в стандарте, а при его отсутствии - в технических условиях на изделие конкретного вида, но не менее 6 ч.
7.1 Методика проведения испытания
Измеряют размеры образцов в соответствии с требованиями EN 12085.
Образцы взвешивают с точностью до 0,1 г для определения первоначальной
массы .
Образец помещают на рамку контейнера. Если изделие облицовано с одной стороны, испытание начинают с необлицованной поверхности, при этом образец помещают на рамку облицовкой вверх. Нижнюю кромку образца герметизируют по периметру рамки. Ширина герметика должна быть более или равна 10 мм (см. рисунок 1). Теплоизолированную охлаждающую пластину помещают на верхнюю поверхность образца.
Образец подвергают воздействию температуры и перепаду давления водяного пара в течение 28 сут, поддерживая температуру воды (50 ± 1) °С и температуру на противоположной стороне образца (1 ± 0,5) °С.
Через каждые 7 сут образец переворачивают.
Через 28 сут образец извлекают из контейнера и удаляют воду
с его поверхности бумажной или другой подходящей салфеткой. Образец взвешивают
и определяют массу .
За результат испытания принимают среднеарифметическое значение результатов отдельных испытаний.
Результаты испытаний не следует экстраполировать для образцов другой толщины.
Для каждого образца определяют
количество поглощенной влаги по массе ,
кг/м2, или по объему
, %,
по формулам
|
|
(1) |
|
|
где - масса образца после выдержки в контейнере в течение 28
сут, кг;
- первоначальная масса образца, кг;
- площадь нижней грани образца, м2;
- толщина образца, м;
- плотность воды; допускается принимать равной 1000 кг/м3.
Полученное значение округляют до 0,01 кг/м2,
- до 0,1 %.
Примечание - Настоящий стандарт не содержит данных о точности метода, однако при последующем его пересмотре такие данные будут в него включены.
Отчет об испытании должен содержать:
a)ссылку на настоящий стандарт;
b) идентификацию изделия:
1) наименование изделия, предприятия-изготовителя или поставщика,
2) код маркировки,
3) вид изделия,
4) вид упаковки,
5) форму поставки изделия в лабораторию,
6) дополнительную информацию, например, номинальную толщину, номинальную плотность;
c) метод проведения испытания:
1) подготовку к испытанию образцов, порядок отбора образцов, например, кто и в каком месте проводил отбор образцов,
2) условия кондиционирования,
3) любые отклонения от требований разделов 6 и 7,
4) дату проведения испытания,
5) общую информацию о процедуре испытания,
6) обстоятельства, которые могут повлиять на результаты испытания.
Примечание - Сведения об оборудовании и фамилии лаборанта, проводившего испытание, должны находиться в лаборатории, однако в отчете их не следует указывать;
d) результаты испытания: результаты отдельных испытаний и средние значения.

1 - пластина; 2 - змеевик для охлаждающего реагента
Рисунок
ДА.1 - Пример охлаждающей пластины для образца при определении
диффузионного влагопоглощения
Таблица ДБ.1
|
Обозначение ссылочного европейского |
Степень |
Обозначение и наименование соответствующего |
|
EN 12085:1997 Теплоизоляционные изделия, применяемые в строительстве. Определение линейных размеров образцов для испытаний |
IDT |
ГОСТ EN 12085-2011 Изделия теплоизоляционные, применяемые в строительстве. Методы измерения линейных размеров образцов, предназначенных для испытаний |
|
Примечание - В настоящей таблице использовано следующее условное обозначение степени соответствия стандартов: - IDT - идентичные стандарты. |
||