Меню
Навигация
Бесплатное обучение
Novatika
Первая линия

Принципы зрительной эргономики. Освещение рабочих систем внутри помещений

Стандарт распространяется на основы эргономики зрительного восприятия и определяет параметры, влияющие на результаты зрительного восприятия. В стандарте рассматриваются требования к освещению рабочих систем в раюочих помещениях промышленных зданий. Бюро, больницах и т.д., но не рассматриваются требования к помещениям, где работа производится при слабом освещении (рпоектирование кинолент и диапозитивов, операции с фоточувствительными материалами и т.д.).

Обозначение: ГОСТ ИСО 8995-2002
Название рус.: Принципы зрительной эргономики. Освещение рабочих систем внутри помещений
Статус: отменен в рф
Дата актуализации текста: 05.05.2017
Дата добавления в базу: 01.09.2013
Дата введения в действие: 01.07.2014
Утвержден: 16.05.2003 Государственный комитет Российской Федерации по стандартизации и метрологии (Russian Federation National Committee for Standardization and Metrology 143-ст)06.11.2002 Межгосударственный Совет по стандартизации, метрологии и сертификации (Inter-Governmental Council on Standardization, Metrology, and Certification 22)
Опубликован: ИПК Издательство стандартов (2003 г. )
Ссылки для скачивания:

ГОСТ ИСО 8995-2002

МЕЖГОСУДАРСТВЕННЫЙ СТАНДАРТ

 

ПРИНЦИПЫ ЗРИТЕЛЬНОЙ ЭРГОНОМИКИ

ОСВЕЩЕНИЕ РАБОЧИХ СИСТЕМ ВНУТРИ
ПОМЕЩЕНИЙ

 

 

МЕЖГОСУДАРСТВЕННЫЙ СОВЕТ

ПО СТАНДАРТИЗАЦИИ, МЕТРОЛОГИИ И СЕРТИФИКАЦИИ

Минск

 

Предисловие

1 РАЗРАБОТАН «Экспериментальным научно-исследовательским институтом металлорежущих станков» (ОАО «ЭНИМС»)

ВНЕСЕН Госстандартом России

2 ПРИНЯТ Межгосударственным советом по стандартизации, метрологии и сертификации (протокол № 22 от 6 ноября 2002 г.)

За принятие проголосовали:

Наименование государства

Наименование национального органа по стандартизации

Азербайджан

Азгосстандарт

Армения

Армгосстандарт

Беларусь

Госстандарт Республики Беларусь

Казахстан

Госстандарт Республики Казахстан

Кыргызстан

Кыргызстандарт

Молдова

Молдовастандарт

Российская Федерация

Госстандарт России

Таджикистан

Таджикстандарт

Туркменистан

Главгосслужба «Туркменстандартлары»

Узбекистан

Узгосстандарт

3 Настоящий стандарт представляет собой идентичный текст международного стандарта ИСО 8995:1989 «Принципы зрительной эргономики. Освещение рабочих систем внутри помещений»

4 Постановлением Государственного комитета Российской Федерации по стандартизации и метрологии от 16 мая 2003 г. № 143-ст межгосударственный стандарт ГОСТ ИСО 8995-2002 введен в действие непосредственно в качестве государственного стандарта Российской Федерации с 1 января 2004 г.

5 ВВЕДЕН ВПЕРВЫЕ

 

СОДЕРЖАНИЕ

Введение

Целью эргономики зрительного восприятия является:

- максимальное улучшение восприятия зрительной информации при выполнении работы;

- обеспечение соответствующего уровня выполнения производственных задач;

- максимальное обеспечение безопасности работы;

- обеспечение достаточного уровня зрительного комфорта.

На практике эти цели достигаются в результате изучения зрительно воспринимаемого пространства с учетом физиологии человека.

На рисунке 1 указаны параметры, которые влияют на работоспособность персонала в данной зрительно воспринимаемой окружающей обстановке. Такие параметры, как зрительные способности рабочего и атрибуты задания по выполнению зрительной работы, определяют качество зрительного восприятия. Параметры освещения и рабочего пространства представляют собой зрительную характеристику, которая относится главным образом к окружающей среде. Все это влияет на качество воспринимаемой зрительной информации и, следовательно, на производительность и эффективность работы персонала. Соответственно можно несколько сгладить пониженное значение одного из этих факторов, улучшая один или несколько других факторов. Можно, например, получить адекватную зрительную информацию, улучшая контраст между элементами задания, и другие переменные параметры, связанные с заданием или оператором, при этом уменьшая общий уровень освещенности, если существует ограничение на освещенность, которую можно обеспечить.

Рисунок 1 - Основные параметры, влияющие на работоспособность человека в окружающей обстановке

Все эти соображения свидетельствуют о том, что применение эргономики зрительного восприятия может увеличить количество возможных решений. Эргономика зрительного восприятия позволяет выбрать наилучшее решение, основываясь на общих рекомендациях и на более детальных сведениях относительно параметра, который следует изменять, для обеспечения приемлемого зрительного восприятия окружающего пространства.

Диапазоны предельных значений блескости (приложение А) и рекомендуемой освещенности (приложение Б) взяты из существующих национальных стандартов, сводов правил и постановлений. Имеющиеся указания должны служить примером и руководством для создания окружающего пространства вокруг рабочих систем, в частности, в тех случаях, когда нет национальных кодексов или узаконенных предписаний.

 

ГОСТ ИСО 8995-2002

МЕЖГОСУДАРСТВЕННЫЙ СТАНДАРТ

Принципы зрительной эргономики

ОСВЕЩЕНИЕ РАБОЧИХ СИСТЕМ ВНУТРИ ПОМЕЩЕНИЙ

Principles of visual ergonomics. The lighting of indoor work systems

Дата введения 2004-01-01

1 Область применения

Настоящий стандарт распространяется на основы эргономики зрительного восприятия и определяет параметры, влияющие на результаты зрительного восприятия. В нем также представлены критерии создания приемлемой окружающей среды.

В настоящем стандарте рассматриваются требования к освещению рабочих систем в рабочих помещениях промышленных зданий, бюро, больницах и т.д., но не рассматриваются требования к помещениям, где работа производится при слабом освещении (проектирование кинолент и диапозитивов, операции с фоточувствительными материалами и т.д.).

В настоящем стандарте также не рассматриваются требования к рабочим помещениям, где расположены экраны электронно-лучевых приборов, а также не рассмотрены задания, требующие особого подхода, например работы с применением специальных оптических средств для увеличения размеров деталей.

Настоящий стандарт предназначен в первую очередь для неспециалистов, решающим вопросы зрительного восприятия окружающей среды.

Если требования, представленные в настоящем стандарте, не могут быть легко применимы или если необходимо произвести более точную оценку, то следует обратиться к специалисту, так как технические сложности или требования по себестоимости могут снизить значимость освещения.

2 Нормативные ссылки

В настоящем стандарте использована ссылка на ИСО 6385-81* Эргономические принципы проектирования рабочих систем

* Перевод - во ВНИИКИ.

3 Определения и обозначения

В настоящем стандарте применяют следующие термины с соответствующими определениями (Публикации ЖО № 17 [1]).

3.1 Глаз и зрение

3.1.1 адаптация: Процесс приспособления глаза к яркости и/или к цвету поля зрения или конечное состояние этого процесса.

3.1.2 аккомодация: Процесс фокусировки глаза, обычно произвольный, обеспечивающий максимальную остроту зрения при изменении расстояния до предмета.

3.1.3 острота зрения: Способность воспринимать раздельно предметы и их детали, расположенные на очень близком расстоянии друг от друга.

Количественно она может быть выражена величиной, обратной угловому размеру расстояния между краями рассматриваемой детали, или величиной четко различаемого промежутка на входе зрачка или в другой точке глаза.

3.1.4 контраст: Термин, имеющий субъективную и объективную трактовку:

а) субъективная точка зрения: субъективная оценка различия восприятия двух частей поля зрения, видимых одновременно или последовательно (в связи с этим различают: яркостный контраст, цветовой контраст, одновременный контраст и последовательный контраст).

б) объективная точка зрения: величина, обычно определяемая отношением яркостей (в основном для последовательных контрастов) L2/L1 или формулой (для поверхностей, видимых одновременно):

                                                                    (1)

где L1 - доминирующая яркость или яркость фона;

L2 - яркость объекта.

Если зоны различной яркости сравнимы по площади и нужно определить среднее значение контраста, то для расчета объективной точки зрения можно применить формулу

                                                             (2)

3.1.5 светлота: Характеристика восприятия яркости одного цвета по отношению к яркости другого цвета или яркости окружения [2].

Это субъективный аналог яркости.

3.1.6 блескость: Свойство световых приборов или светящихся и отражающих поверхностей, заключающееся в их способности нарушать условия комфортного зрения и/или ухудшать контрастную чувствительность [2].

3.1.7 блеск: Свойство поверхности, заключающееся в ее способности отражать свет [2].

3.1.8 мерцание: Зрительное ощущение прерывистости, чередования или колебаний света.

3.1.9 стробоскопический эффект: Кажущаяся неподвижность или кажущееся изменение движения объекта, освещенного светом, периодически изменяющейся интенсивности с соответствующей частотой.

3.1.10 поле зрения: Поверхность или часть физического пространства, видимая неподвижным глазом из данной точки.

3.1.11 зрительно воспринимаемая окружающая среда: Совокупность пространства, которое можно видеть с определенного места при перемещении головы и глаз.

3.2 Величины и единицы света и цвета

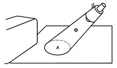
3.2.1 световой поток Ф, лм: Световая мощность, излучаемая источником или принимаемая поверхностью. Величина светового потока происходит из энергетического потока (мощности) посредством оценки излучения приемником со стандартной спектральной чувствительностью глаз (рисунок 2).

Рисунок 2

3.2.2 сила света (одного источника в заданном направлении) I, кд: Световой поток, распространяющийся внутри единичного телесного угла в заданном направлении. Это световой поток на малую поверхность, перпендикулярную к направлению его распространения, деленный на телесный угол с вершиной в точке источника, опирающегося на эту поверхность (рисунок 3).

Рисунок 3

3.2.3 освещенность Е, лк (1 лк = 1 лм/м2): Плотность светового потока Ф, падающего на какую-либо точку поверхности. На практике среднюю освещенность заданной поверхности рассчитывают отношением светового потока, падающего на эту поверхность, к площади А освещенной поверхности (рисунок 4).

                                                                    (3)

Рисунок 4

Примечание - Освещенность в точке Р (рисунок 5), расположенной на расстоянии d от источника с силой света I в данном направлении и с углом падения на плоскость, рассчитывают по формуле

                                                                                (4)

Рисунок 5

3.2.4 яркость L, кд/м2: Физическая величина, создающая ощущение светлоты, выраженная силой света в заданном направлении ε (обычно к наблюдателю), с единицы площади поверхности, которая светится сама за счет отражения или за счет пропускания. Яркость равна силе света, испускаемого или отражаемого в заданном направлении элементом поверхности, деленной на площадь проекции этого элемента в данном направлении.

Примечание - Яркость для матовой поверхности рассчитывают по формуле

                                                                                    (5)

где Е - освещенность, лк,

r - коэффициент отражения рассматриваемой поверхности.

3.2.5 коэффициент отражения r: Отношение светового потока, отраженного поверхностью Фг к световому потоку Ф0, падающему на эту поверхность.

                                                               (6)

Коэффициент отражения зависит от направления падения света (за исключением матовых поверхностей) и спектрального состава света.

3.2.6 световая отдача (источника света), лм/Вт: Частное от деления полного светового потока, испускаемого источником, на полную мощность, потребляемую им. (Если учитывать потери мощности в балластном сопротивлении, то можно пользоваться термином «коэффициент полезного действия схемы включения»).

3.2.7 коррелированная цветовая температура (источника света) Тс, К: Температура черного тела, испускающего излучение, наиболее близкое по цвету или цветности к излучению рассматриваемого источника света.

3.2.8 цветопередача: Воспроизведение цветов источником света связано с воздействием этого источника на цвет объектов, сравнивая его с цветом объектов, освещенных эталонным источником света.

3.2.9 общий индекс цветопередачи Ra: Величина, предназначенная для определения степени соответствия цвета объектов, освещенных исследуемым источником света, цвету этих объектов при эталонном освещении. Общий индекс цветопередачи характеризует степень соответствия визуального восприятия цвета восьми эталонных образцов, освещенных исследуемым источником света, с цветом тех же образцов, освещенных эталонным источником света, учитывая цветовую адаптацию (Публикация МКО № 13.2 [31]).

Примечание - Ra может достигать максимального значения, равного 100, когда спектральное распределение испытуемого источника и эталонного источника является практически одинаковым.

3.3 Помещения и системы

3.3.1 рабочая система: Рабочая система состоит из человека и рабочих средств, совместно действующих в процессе работы для осуществления задания, и находится в рабочем пространстве рабочей окружающей среды в соответствии с условиями выполнения поставленной задачи.

3.3.2 рабочее пространство: Объем, предоставленный одному или нескольким лицам, относящимся к рабочей системе для выполнения задания, являющегося частью работы.

3.3.3 рабочая поверхность: Поверхность, на которой непосредственно выполняется работа.

3.3.4 расчетная рабочая поверхность: Условная горизонтальная поверхность, на которой рассчитывают среднюю освещенность при проектировании освещения.

Примечание - Исключая особые случаи, расчетная рабочая поверхность выбирается на расстоянии 0,85 м от пола (при особых случаях 0,7 - 0,75 м).

3.3.5 общее освещение: Освещение, обеспечивающее приблизительно равномерную освещенность в рассматриваемом рабочем пространстве.

3.3.6 локализованное освещение: Освещение для помещения, обеспечивающее повышенную освещенность в одной или нескольких точках внутреннего пространства.

3.3.7 местное освещение: Специальное освещение для выполнения особого задания, создаваемое дополнительно к общему освещению и обеспеченное отдельной регулировкой.

3.3.8 коэффициент учета снижения освещенности (коэффициент запаса): Соотношение между освещенностью, обеспечиваемой светильниками в заданный момент, и начальной освещенностью, создаваемой новой осветительной установкой.

3.3.9 коэффициент использования (коэффициент полезного действия): Отношение между полным световым потоком, достигшим рабочую поверхность, и полным световым потоком, испускаемым лампами установки.

4 Параметры, влияющие на зрительную работоспособность

Природа зрительной системы работника определяет, по существу, эффективность восприятия окружающей среды. На практике эффективность зрительной системы определяется понятием зрительной работоспособности. Чтобы оценить возможности зрительной работоспособности, исследование следует проводить, учитывая взаимодействие между зрительной системой и особенностями выполняемых заданий в окружающем их пространстве, не определяя их раздельно. Следовательно, зрительная работоспособность должна рассматриваться в зависимости от факторов, которые оказывают на нее наибольшее влияние.

Термин «зрительная работоспособность» используют для количественной оценки способности человека заметить, опознать и обработать деталь, попавшую в поле зрения, основываясь на скорости, точности и качестве восприятия. Зрительная работоспособность одновременно зависит от собственных характеристик выполняемого задания (размера, формы, положения, цвета, коэффициента отражения деталей и фона) и способности восприятия, на которую влияют условия освещения.

Кроме того, на зрительную работоспособность влияют такие параметры, как блескость, неравномерность освещенности, помехи, рассеивающие внимание, природа заднего плана и, в более общем смысле, организация рабочего пространства.

«Усталость», или снижение зрительной работоспособности может возникнуть после продолжительной работы в плохих условиях освещения (низкая освещенность, недостаточная равномерность, помехи, отвлекающие внимание, дискомфортная блескость); кроме этого, она может быть порождена:

- усталостью центральной нервной системы, возникающей в результате прилагаемых усилий для опознания недостаточно четких или сомнительных сигналов;

- мышечной усталостью из-за попыток сохранять неудобное положение, чтобы сократить расстояние до рабочего объекта, желанием не отвлекаться от выполняемого задания и не обращать внимания на возможные блики, например на чертежной доске.

Локальные мышечные напряжения (в частности, шейных мышц) могут возникать также во время работы, при которой необходимо пользоваться микроскопом.

4.1 Составляющие задания

Зрительное восприятие связано со следующими параметрами:

а) контрастом;

б) размером, формой и структурой;

в) наличием движения и временем для рассмотрения;

г) положением изображения на сетчатке;

д) цветом;

е) яркостью.

4.1.1 Яркость

В обычных условиях увеличение освещенности приводит к улучшению зрительной работоспособности, которая возрастает вначале очень быстро, затем замедляется, доходя до горизонтали, когда дальнейшее увеличение освещенности не производит эффекта.

Зрительная работоспособность при выполнении кропотливой работы и/или при низком контрасте может быть улучшена за счет обеспечения высоких уровней яркости, то есть за счет увеличения освещенности. Но выполнение задания при больших размерах объектов или при высоком контрасте позволяет быстро достичь максимальной зрительной работоспособности при умеренных уровнях яркости.

4.1.2 Контраст

Восприятие объекта в окружающем пространстве главным образом зависит от яркостного контраста и/или от цвета между объектом и фоном, на котором он выделяется. Всегда, когда это возможно, вид работы и освещения должны обеспечивать оптимальный контраст.

Контрастная чувствительность глаза немного повышается с увеличением яркости. На эту чувствительность также влияет градиент зон, разделяющих две яркости или два цвета, но чувствительность снижается, если изменения яркости и цвета в поле зрения выполняемого задания слишком сильны. Например, если интенсивный источник света находится в поле зрения, то слепящая блескость вызовет кажущееся уменьшение контраста. Снижение контраста возникает и при переводе взгляда на зону, освещенную более ярко в результате временного снижения чувствительности глаза.

Контраст снижается также за счет бликов, действующих как вуалирующая яркость. Это бывает тогда, когда очень яркий свет, отражаясь от выполняемой работы, попадает в глаза. Это явление воздействует подобно вуалирующей яркости, мешающей восприятию. В более частном случае блики от источников света, появляющиеся на объектах с зеркальным или смешанным отражением, приводят к значительному снижению контраста. Рассеянное освещение, например, при отражении от потолка и/или от стен или освещение, направленное прямо на рабочую поверхность из-за спины работника или от бокового источника, ликвидирует обычно этот недостаток.

4.1.3 Размеры, форма и структура

Способность различать размеры, формы и структуры, сложный психофизиологический процесс познавания окружающего пространства основывается, по крайней мере, на трех функциях: способности восприятия контрастности, разрешающей способности зрения и способности восприятия глубины и расстояния.

Условно разрешающая способность зрения выражается количественной мерой и определяется термином «острота зрения». Степень остроты зрения зависит от качества зрения человека и характеристик окружающего пространства, в частности, от перепада яркости в поле зрения.

Изменяя размеры объекта, можно улучшить видимость. Например, часто можно получить лучшие результаты работы при увеличении размеров деталей, приближая их к наблюдателю или применяя оптические средства.

Способность восприятия глубины формы поверхности и расстояний зависит не только от функций зрения, таких как качество бинокулярного зрения, и от интеллектуальных способностей, таких как запоминание размеров и форм знакомых объектов, но в равной степени зависит от окружающих предметов, необходимых для создания оптического образа. Восприятие формы объекта зависит от игры теней и света на его поверхности.

Проектируя освещение, которое для конкретного задания должно обеспечить требуемый уровень яркости, следует позаботиться о том, чтобы направленность и рассеивание излучаемого света не уменьшали бы контраст, необходимый для восприятия структуры поверхности формы объектов, что имеет место при чрезмерном рассеивании света. Иногда тени улучшают восприятие (5.8), тогда как бывают тени, которые ухудшают восприятие. Многочисленность теней может привести к путанице и плохому различению общего изображения.

4.1.4 Цвет

Цвет - неотъемлемая часть света, которая в значительной мере определяет вид нашего окружающего пространства и уровень зрительного восприятия. Цвет, в частности, наиболее полезен для быстрого и точного опознания объектов, находящихся в рабочем пространстве.

Восприятие цветов улучшается с увеличением освещенности в некоторых пределах. Восприятие цветов зависит от положения изображения на сетчатке. Наилучшее различие цвета происходит в центральной зоне сетчатки.

Постоянство цветов объясняет, каким образом воспринимаются одни цвета по отношению к другим. Цвета остаются в относительно постоянном соотношении при освещении, спектральный состав которого достаточно близок к дневному свету. Если спектральный состав сильно отличается от него, то цветовое ощущение меняется, так как не сохраняется постоянство цвета. Цветовое ощущение зависит не только от спектрального состава света, но и от характеристик рассматриваемой поверхности, яркости, цветовых контрастов и цветовой адаптации. Глаз может воспринимать очень слабые различия цвета между двумя смежными поверхностями, даже если яркости идентичны, но сравнение цветов по памяти гораздо труднее. Различные источники света могут улучшать или ухудшать различение цветов.

Однако у некоторых людей могут быть недостатки цветного зрения. Они приводят к искажению ощущения цветов и влияют на способность их различения, что может иметь значение для некоторых обстоятельств профессиональной деятельности (4.3).

4.1.5 Движение и время, необходимое для рассмотрения

Для восприятия движения требуется перемещение изображения объекта на сетчатке. Центральная ямка глаза более чувствительна к движению, чем периферия. Но периферия сетчатки относительно лучше воспринимает движение, чем форму, поэтому глазное яблоко поворачивается в направлении объекта, чтобы его изображение попало в центр сетчатки с целью рассмотреть объект с большей точностью.

Точность восприятия движения зависит от скорости восприятия размеров, формы и контраста, но восприятие объекта зависит также от времени, которое имеется на рассмотрение. Беглого взгляда может быть достаточно, если речь идет о предмете большого размера, сильно контрастного. В противном случае необходимо более длительное рассмотрение. Видимость движущегося предмета может быть улучшена, если глаза могут следить за ним достаточно долго во время движения. Если скорость движения в поле зрения слишком высока или направление движения слишком беспорядочно, или и то и другое вместе, то видимость очень быстро ухудшается.

4.1.6 Положение изображения на сетчатке

Острота зрения, способность глаза различать мелкие детали быстро снижается, если изображение объекта удаляется от центральной ямки сетчатки. В случае, когда необходимо рассмотреть каждую деталь, зрительная система работает с максимальной эффективностью, если рассматриваемый объект расположен на главной линии зрения и изображение предмета образуется в центральной части сетчатки. Пульсация света легче обнаруживается на периферии сетчатки.

4.2 Характеристики освещения

4.2.1 Блескость

Блескость возникает в случае, когда яркость светильников или окна значительно больше, чем общая яркость поверхностей интерьера (прямая блескость), или когда такие источники света отражаются от блестящих или полуматовых поверхностей (блеск) [2].

Блескость может проявляться одной из двух следующих форм, воздействующих отдельно или ощущаемых одновременно. Первая известна как слепящая блескость, нарушающая и искажающая видимость деталей или объектов, но не обязательно вызывающая ощущение неудобства. Вторая квалифицируется как дискомфортная блескость, вызывающая неудобство, без обязательного ухудшения при этом видимости деталей и объектов.

В многочисленных рабочих помещениях, особенно в бюро, но необязательно в промышленных зданиях, дискомфортная блескость часто создает больше проблем, чем слепящая блескость. Меры, принимаемые для устранения дискомфортной блескости, создаваемой светильниками и окнами, обычно также достаточны для сглаживания слепящей блескости.

Блескость может также возникать при отражении от поверхностей с высокой отражающей способностью, особенно в случае применения источников высокой яркости и зеркально отражающих поверхностей, например, из полированного металла. Блестящее изображение, воспринимаемое глазом, может вызывать неудобство и рассеивает внимание работника. Блеск может соединять одновременно дискомфортную блескость и слепящую блескость.

4.2.1.1 Дискомфортная блескость

Обычно дискомфортная блескость создает ощущение неудобства, которое увеличивается со временем, вызывая усталость.

Ощущение дискомфорта усиливается при увеличении яркости источников, телесных углов, ими образуемых, и числа источников света, находящихся в поле зрения. Оно уменьшается при увеличении угла между направлением от глаза к источнику света и линией зрения, а также при повышении яркости фона. Другие параметры, такие как характеристики зрения субъекта и степень его сосредоточенности на объекте зрения, также могут влиять на уровень испытываемого дискомфорта.

Обычно яркость заднего плана обусловливает общий уровень яркостной адаптации глаза. Если источник света имеет большие размеры (например окно), надо учитывать влияние яркости этого источника на уровень адаптации.

В международной практике существует общая точка зрения на важность таких параметров, как яркость источника света, его видимая площадь поверхности и яркость фона, которые определяют степень блескости. В различных странах проведенные исследования позволили определить относительные значения этих параметров, чтобы перейти к субъективному определению ощущения блескости.

4.2.1.2 Слепящая блескость

Слепящая блескость обычно возникает в том случае, когда крупный источник низкой яркости (или маленький источник высокой яркости) виден вблизи от линии зрения, направленной на объект. Примером может служить трудность чтения надписей, расположенных впереди или очень близко от окна, через которое видно небо.

4.2.2 Мерцание

Колебания светового потока, производимые источником света или наблюдаемые на освещенной поверхности, находящейся в поле зрения, воспринимаются в том случае, когда частота этих колебаний достаточно низкая. Эта пульсация может вызывать чувство неудобства и приводит, в частности, к раздражению. Ощущение пульсации значительно зависит от индивидуума так же, как ощущение дискомфорта.

Частота замечаемой пульсации зависит от яркости и площади источника или освещенной зоны, положения изображения на сетчатке, вида кривой яркости по времени и амплитуды колебаний. Колебания света могут вызвать также стробоскопический эффект, при котором предметы кажутся либо скачкообразно движущимися, либо, наоборот, искажается реальная скорость вращающихся предметов (5.9).

4.3 Зрение

Зрительное восприятие представляет собой сложный процесс как в том, что касается восприятия объекта, так и в реакциях на окружающую среду. Если человек хорошо себя чувствует, то его зрительная система в широком диапазоне яркостей сама хорошо приспосабливается путем саморегуляции к тому, чтобы передать информацию с максимальной ясностью.

Однако глаза испытывают напряжение при чрезмерных или даже противоречивых требованиях, связанных с аккомодацией, регулированием диаметра зрачка и положением глазного яблока. При работе на близком расстоянии два эти механизма, вызывающие напряжение, могут сочетаться. Они обеспечивают схождение осей зрения и аккомодацию. Это должно приниматься в расчет при исследовании рабочего места и окружающего пространства.

Характеристики зрения различны у людей и изменяются с возрастом. Они также зависят от некоторых болезней, например от диабета. Наиболее серьезным изменением, происходящим с глазами при старении, является снижение способности аккомодации. В этом случае полезно прибегать к помощи оптических средств. С возрастом могут возникнуть и другие изменения:

- уменьшение пропускания света в глазных средах, что затрудняет зрение в условиях слабого освещения;

- увеличение рассеяния в глазных средах, значительно повышающее чувствительность глаз к блескости (слепящей блескости, в частности).

Создание соответствующего и неслепящего освещения приобретает большее значение для более пожилых работников, чем для молодых, поэтому этот вопрос следует изучать очень внимательно.

4.4 Параметры рабочего пространства

Параметры рабочего пространства, такие как ограничения, ухудшающие поле зрения, оптимальные условия положения работника, необходимо учитывать при создании хорошего освещения (раздел 5).

5 Критерии освещения

Характеристики освещения в зрительно воспринимаемом пространстве воздействуют одновременно на физиологические зрительные функции (зрительную работоспособность) и на психологические зрительные функции (условия комфорта). Таким образом, они могут способствовать производительности труда, безопасности, зрительному комфорту и удовлетворению работающего в зрительно воспринимаемом пространстве.

5.1 Требования к освещению

Освещение рабочего помещения естественным и электрическим светом должно обеспечивать оптимальные условия для выполнения требуемых заданий и для правильного восприятия окружающего пространства, когда рабочий переводит взгляд от выполняемого задания для отдыха или для того, чтобы перейти к другой деятельности. Особые требования могут предъявляться к освещению торговых предприятий, промышленных зданий, бюро, больниц и т.д.

Зрительное впечатление от помещения зависит от вида следующих поверхностей:

- основных объектов зрения: например, задания, лица персонала, оборудование;

- больших поверхностей в рабочем помещении: стен, потолков, полов, окон (в ночное время), больших установок;

- источников света: светильников, окон (в дневное время).

5.1.1 Освещение и характер зрительной работы

В рабочей обстановке поле зрения различно в зависимости от того, сконцентрировано ли внимание работающего на задании или он отводит от него взгляд на какое-то время для отдыха. Требуемые критерии освещения различны в этих двух случаях. Поэтому следует различать освещение рабочего места и общее освещение помещения. Эффективность освещения, предназначенного для выполнения задания, в основном оценивается по критерию зрительной работоспособности, на которую влияют параметры, рассмотренные в разделе 4. Если общее освещение помещения не вызывает рассеяния внимания, неприятной переадаптации и не создает дискомфорта в поле зрения выполняемого задания, то оно может благоприятно влиять на зрительную работоспособность, обеспечивая комфорт и чувство удовлетворения при выполнении работы.

Кроме яркостных контрастов, при выполнении задания используются также цветовые контрасты. Цветовые контрасты улучшают видимость объекта (особенно, если яркостные контрасты низкие).

5.1.2 Общее освещение помещения

Соотношения между яркостями и цветами поверхностей в окружающем пространстве должны соответствовать назначению рабочего помещения, создавать приятную в зрительном смысле атмосферу и не должны вызывать ослепления.

Среди целей, которые следует достичь, чтобы наилучшим образом использовать общее освещение помещения, можно указать следующие (не указывая их в порядке приоритета):

- обеспечить в помещении световую обстановку, способствующую выявлению его назначения;

- обеспечить благоприятные условия для общения и безопасности передвижения внутри рабочего помещения;

- способствовать концентрации внимания на рабочей зоне;

- обеспечить пониженные уровни яркости вне рабочей зоны;

- получить естественное изображение лиц и смягчить резкие тени, осуществляя правильное соотношение прямого и рассеянного освещения;

- придавать служащим и обстановке помещения приемлемый «естественный» вид, используя источники света с хорошей цветопередачей;

- осуществить в рабочем помещении приятное сочетание яркости и цвета, способствующих хорошему самочувствию работающих, и снизить напряжения (ИСО 6385), вызываемые деятельностью. Возможным решением является наличие небольших ярких поверхностей в окружающем зрительном пространстве, но не по оси зрения при выполнении задания;

- поддерживать чистоту, выбирая светлые цвета, особенно для пола и (в цехах) для машин и аппаратов.

Некоторые из вышеуказанных перечислений могут оказаться противоречащими друг другу, и следует находить удовлетворительные компромиссы, не затрагивая, однако, безопасности и комфортности служащих.

5.2 Уровни освещенности

В таблице 1 приведены ряды освещенности для различных типов поверхностей, заданий и видов деятельности. Значения освещенности зависят от визуальных требований для выполнения задания, практического опыта и необходимости оптимального использования энергии с наименьшими затратами. Они должны обеспечить удовлетворительную зрительную работоспособность и комфортное состояние работников. Для каждого типа поверхности, задания или для вида деятельности указан ряд трех уровней освещенности.

Таблица 1 - Ряды освещенности для различных типов поверхностей, заданий и видов деятельности

Ряды освещенности, лк

Тип поверхности, задания или вида деятельности

20; 30; 50

Наружные рабочие площадки и улицы

100; 150; 200

Рабочие помещения, не используемые постоянно для работы

200; 300; 500

Задания с низкими требованиями к условиям зрительного восприятия

300; 500; 750

Задания со средними требованиями к условиям зрительного восприятия

500; 750; 1000

Задания с требованиями к зрительному восприятию

750; 1000; 1500

Задания с трудными условиями зрительной работы

1000; 1500; 2000

Задания с особыми требованиями к условиям зрительной работы

Св. 2000

Задания с чрезвычайно высокими требованиями к условиям зрительной работы

Наивысшие значения освещенности из указанного ряда могут быть рекомендованы, когда:

- коэффициенты отражения поверхностей или контрасты в поле зрения при выполнении задания являются исключительно низкими;

- исправление ошибок является особенно дорогостоящим;

- результат работы является критическим;

- точность или высокая производительность труда имеет большое значение;

- этого требуют особенности зрительной системы работника.

Наименьшие значения освещенности из указанного ряда могут быть использованы, когда:

- коэффициенты отражения поверхностей или контрасты в поле зрения при выполнении задания являются исключительно высокими;

- скорость выполнения или точность имеют второстепенное значение;

- задание выполняется нерегулярно.

Многие рабочие помещения кажутся темными при внутренней освещенности 200 лк, поэтому минимальная рекомендуемая освещенность для длительной работы в одном рабочем пространстве составляет 200 лк независимо от легкости зрительного задания.

При создании осветительных систем иногда необходимо сочетать общее освещение и местное освещение, чтобы обеспечить повышенную освещенность на определенных участках. Оно может применяться для зрительных работ с мелкими деталями или для работ, предъявляющих особые требования, например направленность освещения. В обоих случаях дополнительное местное освещение может быть необходимым.

Разные страны включили в свои правила внутреннего освещения ряды освещенности, рекомендуемые для большинства рабочих помещений и зрительных заданий (приложение Б).

Эти рекомендации не имеют целью подменять действующие.

5.3 Яркость поверхностей рабочих помещений

Яркость поверхности, освещенной одним источником, зависит одновременно от освещенности и от характеристик отражения этой поверхности.

Распределение яркости в рабочем помещении должно приниматься во внимание помимо освещенности, предусмотренной при проектировании рабочего помещения. Следует учитывать следующие соотношения яркостей:

- между объектом зрительной работы и его непосредственным окружением, например верстаком или письменным столом (соотношения яркости);

- потолка, стены и пола (коэффициенты отражения);

- осветительных приборов и окна (ограничения яркости).

Яркость непосредственного окружения объекта должна быть, если возможно, ниже яркости объекта, но не ниже, чем треть этого значения. Если коэффициенты отражения объекта не известны заранее, то во время разработки они принимаются от 0,3 до 0,5.

В рабочих помещениях коэффициент диффузного отражения потолка или внутренней поверхности кровли должен быть как можно больше, особенно, если используют углубленные светильники, чтобы уменьшить прямую блескость, блеск и вуалирующие отблески. Коэффициенты отражения стен должны быть предпочтительно равны 0,3 - 0,7.

5.4 Ограничение блескости

Слепящая или дискомфортная блескость, создаваемая системой освещения или окнами, может быть устранена за счет внесения ограничений на параметры, упомянутые в 4.2.1.1.

5.4.1 Методы ограничения блескости

Во многих странах разработаны практические способы, позволяющие гарантировать, что осветительная установка не создаст блескости, приводящей к некоторой степени дискомфорта. Эти методы описаны в Публикации МКО № 55 [4].

Система показателей ослепленности, используемая в Великобритании и некоторых других странах (GL), и система вероятности зрительного комфорта (VCP), которой пользуются в Северной Америке, позволяют определить степень ослепленности, которая может возникнуть в заданной ситуации (системы оценки).

Система кривой яркости, используемая в странах Центральной Европы, гарантирует, что верхний предел яркости, выбранный по степени ослепленности, не будет превышен, не уточняя, на сколько реальные яркости будут ниже установленного верхнего предела (системы ограничения).

Один из методов выбора светильников для ограничения блескости приводится в приложении А (Публикации МКО № 29/2 [5]). Предложенная система обеспечения защиты от слепящего действия может быть использована при выборе светильников для общего освещения рабочих помещений и для проверки ограничения слепящего действия существующих осветительных установок. Следует быть осмотрительным при применении таких способов оценки слепящего действия для промышленных рабочих помещений, особенно когда выполняемое задание не предполагает работу только в одном единственном месте.

Этот метод, данный в качестве примера, не имеет целью заменить ни одну из национальных систем, используемых в настоящее время.

5.4.2 Блескость от окон

Можно дать несколько общих рекомендаций с целью уменьшения блескости:

- прошедший через окна солнечный свет может служить главным источником блескости при непосредственном попадании в глаза или после отражения. В каждом из таких случаев следует предусматривать систему экранирования солнечных лучей;

- степень дискомфорта, вызванная блескостью, создаваемой окном, зависит главным образом от яркости неба, видимого через окно, и в очень малой степени от размеров окна, за исключением случая, когда оно очень маленькое или значительно удалено от наблюдателя;

- исключая очень пасмурные дни, работник, взглянув на небо через окно без гардин, может испытать некоторое неудобство. За исключением тех случаев, когда нормальное положение персонала на своих рабочих местах исключает попадание окон в их поле зрения, все окна должны быть снабжены какими-либо средствами защиты (например, гардинами, шторами, ставнями), снижающими яркость неба в ясные дни, пропуская или не пропуская солнечный свет;

- другие способы уменьшения дискомфорта, возникающего из-за наличия окон, без снижения количества прошедшего в помещение дневного света, состоят в разумном выборе формы и коэффициента отражения поверхностей, окружающих окна, чтобы увеличить яркость пространства, непосредственно вокруг светопроема;

- слепящая блескость устраняется при таком расположении рабочих мест, чтобы свет неба высокой яркости, проходящий через окно, не попадал в поле зрения при выполнении задания.

5.5 Блеск и вуалирующие блики

Существует много способов устранения воздействия блеска и вуалирующих бликов, которые были описаны в 4.2.1. Наиболее эффективным способом является размещение персонала и/или реального источника света таким образом, чтобы его отражения не попадали в глаза работающему. Дополнительный способ направлен на снижение яркости используемых материалов.

Блики, отвлекающие или расстраивающие внимание и находящиеся вблизи поля зрения при выполнении задания, могут быть устранены, если исключить применение направленно-отражающих покрытий для рабочих столов и других подобных плоскостей.

Вуалирующие блики приводят к снижению контрастов задания. Карандашные линии, например, различаются с трудом, если на них падает свет, так как отблески меняют их окраску от черного до бледно-серого. Печатные тексты испытывают такое же воздействие. В этом случае лучшим способом защиты является правильное взаимное размещение, при котором вуалирующие блики не попадают в глаза. Если это невозможно, то нежелательный эффект можно устранить, увеличив освещенность объекта посредством местного освещения, направленного таким образом, чтобы оно само не способствовало появлению вуалирующих бликов.

Другие способы состоят в выборе светильников с большой площадью поверхности и низкой яркостью или светильников с пониженной яркостью в направлении возможного отражения. Увеличивая яркость всего потолка при использовании матовых отделочных покрытий с высоким коэффициентом отражения для потолка, стен и пола и желательно добавляя к этому светильники, направляющие свет вверх, добиваются снижения блеска и вуалирующих бликов. Коэффициент передачи контраста (КПК) введен как количественное выражение этих эффектов (Публикация МКО № 19/2 [6]).

5.6 Дневной свет

Достижения электрического освещения не устранили заметного предпочтения, отдаваемого дневному свету в зданиях всегда, когда это возможно. Дневной свет используют шире в жилых помещениях, бюро, школах, больничных палатах, чем на заводах и в магазинах.

В некоторых климатических условиях использование дневного света, проходящего через зенитные фонари в покрытии здания, позволяет сэкономить большую часть энергии, предназначенной для освещения неглубоких залов и цехов, но в ущерб теплообмену, связанному с увеличением площади остекления (Публикация МКО № 16 [7]).

5.6.1 Критерии

Окна позволяют обеспечить:

- зрительный контакт с внешним миром;

- полезное освещение рабочих поверхностей в рабочих помещениях.

Дневной свет, проходящий через зенитные фонари, позволяет видеть состояние неба и наблюдать за атмосферными условиями, но оно не обеспечивает зрительного контакта, подобного контакту через окна. С субъективной точки зрения зенитное естественное освещение больше уподобляется электрическому освещению, чем дневному свету, проникающему через окно.

Желательно прямое попадание солнечного света внутрь некоторых типов зданий, например в жилые здания, расположенные в умеренном климате, но его следует избегать в рабочих зонах производственных зданий. Солнечная энергия, связанная с дневным светом, влечет за собой поступление тепла в рабочие помещения во время летнего периода, в связи с чем может возникнуть потребность кондиционирования в очень жаркое время; в холодное время, напротив, прошедшая через остекление солнечная энергия способствует уменьшению стоимости обогрева. Однако потери тепла через стекла могут в холодное время свести на нет эту экономию и даже увеличить стоимость обогрева.

Оптимальные размеры и формы окон и/или фонарей должны быть определены для каждого здания в зависимости от местных условий, учитывая архитектурные, зрительные, тепловые, акустические особенности и требования к освещению. Экономия энергии имеет большое значение, но не должна приносить в жертву удобство жителей или персонала.

Блескость, обусловленная наличием окон, описана в 5.4.2.

5.6.2 Требования, связанные с восприятием внешнего мира

Минимальная площадь остекления в постоянно занятых рабочих помещениях должна учитывать доказанную необходимость иметь зрительный контакт с внешним миром.

Исследования показали, что ширина окон в жилых комнатах и в некоторых рабочих помещениях должна составлять, по меньшей мере, 55 % ширины соответствующей стены. Полученный при таких условиях вид окружающей местности наиболее предпочтителен для служащих.

Однако в рабочих помещениях большой площади вид внешнего пространства можно считать достаточным, если застекленная поверхность занимает от 20 % до 30 % внутренней поверхности стены, на которой расположены окна; но эта достаточность резко падает, когда относительная площадь окон становится меньше 20 %. Соотношение между шириной окна и шириной непрозрачной части соответствующей стены должно составлять от 1,5:1 до 3:1. Оно может быть меньше, если имеются вертикальные простенки между застекленными поверхностями, и это решение предпочтительно, учитывая, что окна должны быть равномерно расположены по всему рассматриваемому периметру. Окна, через которые проходит прямой свет неба, могут привести к дискомфорту и уменьшению удовлетворенности естественным освещением. В подобных помещениях предпочтительней, чтобы высота подоконной стены не превышала 0,9 м от пола, чтобы обеспечивать достаточно хороший контакт с внешним миром.

5.6.3 Требования к освещению

Окна, размеры которых отвечают требованиям 5.6.2, обеспечивают освещение, соответствующее рабочему помещению в дневной период. Это относится к рабочим помещениям, глубина которых приблизительно в два - три раза больше расстояния, отделяющего верх окна от подоконника. Это имеет значение только для светлых окон и для окон с относительно малой площадью переплетов.

Дополнительное электрическое освещение, соответствующим образом дополняющее дневной свет, может улучшить распределение светлоты в глубоких рабочих помещениях и исключить зоны полутени в частях помещения, удаленных от окон.

5.6.4 Естественное освещение

Уровни освещенности, создаваемые дневным светом, изменяются в течение дня и зависят в значительной мере от состояния неба, загрязненности, ориентации окон или кровельных фонарей, а также от географического положения. Ввиду постоянного изменения яркости неба расчеты освещенности от дневного света в основном заключаются в учете средней продолжительности времени за день, месяц или год, когда естественное освещение рабочей поверхности обеспечивает или превышает требуемую для работы освещенность. В остальное время следует использовать электрическое освещение. Время использования дневного света в часы ежедневной работы позволяет предопределить возможную экономию энергии и себестоимости, обусловливаемые использованием естественного освещения.

Возможные расчеты, учитывающие ориентацию, должны основываться на известном распределении яркости в помещении при средних условиях свечения неба (средних за длительный период).

5.6.5 Естественное и искусственное освещение

Искусственное освещение дополняет естественное освещение или его заменяет полностью, когда один дневной свет не может обеспечить достаточную освещенность рабочей поверхности. Освещенность, обеспечиваемая электрическим освещением, предусматривается исходя из наиболее неблагоприятных условий естественного освещения, то есть при полном его отсутствии. Устройство переключения и/или регулирования должно быть установлено таким образом, чтобы можно было воспользоваться электрическим освещением в любой момент и в любом месте, если освещенность, обеспечиваемая дневным светом, упадет ниже необходимого значения.

В некоторых рабочих помещениях может быть необходимым освещение комнаты полностью электрическим светом. Особое внимание в этом случае следует уделять яркости поверхности стен, потолков и полов. Это необходимо потому, что комната с темными стенами и слабой вертикальной освещенностью кажется мрачной, даже если рабочая поверхность освещена надлежащим образом.

5.7 Цвет источников

Цветовые характеристики лампы, практически белой, характеризуются двумя следующими свойствами:

а) собственным видимым цветом самой лампы;

б) способностью цветопередачи, которая в свою очередь влияет на видимый цвет объектов, освещенных лампой.

Видимый цвет источника света и его свойство передавать цвета зависят от спектрального состава излучаемого света. Однако совершенно разные спектральные составы излучения могут давать похожий видимый цвет, но порождают большие различия в цветопередаче. Таким образом, невозможно сделать выводы об особенностях передачи цветов лампой на основе ее видимого цвета.

5.7.1 Цветовосприятие

«Цветовосприятие» лампы относится к видимому цвету (цветности) света, который она излучает. Цветность излучения лампы выражается коррелированной цветовой температурой.

Лампы, обычно используемые для освещения помещений, могут быть разделены на три группы в соответствии с их коррелированной цветовой температурой (таблица 2).

Таблица 2

Группа

Цветовосприятие

Коррелированная цветовая температура, К

1 Для жилых помещений

Теплое

До 3300

2 Преимущественно для рабочих помещений

Среднее

От 3300 » 5300

3 Только для повышенных уровней освещенности и особых заданий (сравнение или подбор цветов) или горячих условий труда

Холодное

Св. 5300

Цветовое восприятие объектов зависит от спектрального распределения света, который их освещает, цветовой адаптации наблюдателя и характеристик спектрального отражения поверхности объектов.

5.7.2 Цветопередача

Чтобы располагать объективной информацией об особенностях цветопередачи источника света, вводят общий индекс, Ra цветопередачи. Этот индекс равен 100, если источник света производит такой же эффект, как и эталонный источник. Значение индекса снижается по мере того, как цветопередающие свойства лампы удаляются от соответствующих характеристик эталонного источника.

Чтобы упростить детализацию индексов цветопередачи ламп, используемых для освещения помещений, установили группы цветопередачи, как указано в таблице 3.

Таблица 3

Группа цветопередачи

Уровень цветопередачи

(интервал)

Цветовосприятие

Пример применения

Предпочтительно

Допустимо

1 А

Ra > 90

Теплое.

Среднее.

Холодное

Подбор цветов, клинические исследования

-

1 В

80 < Ra< 90

Теплое.

Среднее

Бюро, клиники

-

Среднее.

Холодное

Типографии, текстильная промышленность, художественные промыслы, производственная работа

-

2

60 < Ra< 80

Теплое.

Среднее.

Холодное

Производственные работы

Бюро

3

40 < Ra< 60

-

Работа в тяжелой промышленности

Производственная работа

4

20 < Ra< 40

-

-

Работа в тяжелой промышленности

5.8 Направленность света

Эффект направленности света облегчает распознавание деталей объекта. Свет, направленный с учетом защитного угла на поверхность, выявляет некоторые дефекты этой поверхности и даже ее структуру. Это может представлять особый интерес для контроля материалов.

С другой стороны, общий вид помещения лучше вырисовывается, когда его структурные особенности, находящиеся в нем люди и объекты освещены таким образом, что формы и структуры выявляются четко и привлекательно. Это происходит в том случае, когда свет правильно направлен от данного источника света. Однако освещение не должно быть слишком направленным, чтобы не порождать резких, мало приятных теней, и не должно быть слишком рассеянным, так как полностью потеряется эффект рельефности.

5.9 Мерцание и стробоскопический эффект

Свет, излучаемый любыми лампами, питающимися от сети переменного тока, характеризуется периодическими колебаниями, небольшими для ламп накаливания и люминесцентных ламп, но немного заметными для газоразрядных ламп. Эти колебания вызывают ощущение мерцания или стробоскопические эффекты, или оба вместе. Основные периодические колебания частотой 100 (120) Гц характерны для светового потока ламп, работающих на переменном токе частотой 50 (60) Гц. Эти колебания происходят очень быстро и редко могут быть замечены глазом. В некоторых люминесцентных лампах, однако, также присутствуют колебания частотой 50 (60) Гц, особенно возле электродов, на краях лампы, и некоторыми людьми воспринимаются как мерцание. Это ощущение можно устранить, прикрывая соответствующим образом концы люминесцентных ламп. Мерцание обычно усиливается в связи со старением люминесцентных ламп и может быть устранено регулярной заменой ламп.

Мерцание светового потока газоразрядных ламп, ртутных ламп высокого давления, металлогалогенных и натриевых ламп ощущается в большей степени для ламп в прозрачной колбе, чем для ламп в колбе с люминесцентными покрытиями.

Мерцание, вызванное непериодическими колебаниями напряжения питания, хотя обычно заметно, не представляет сложности.

Стробоскопический эффект, создаваемый вращающимися машинами и другими движущимися объектами, является помехой, если стробоскопическое изображение появляется на объекте, требующем постоянного внимания. Это может быть опасным, если дело касается вращающихся частей машины, создавая ложное впечатление малой скорости, неподвижности или даже вращения в противоположном направлении. Все это представляет потенциальный риск. Этого можно избежать, освещая вращающиеся узлы машин индивидуальными лампами накаливания. Однако стробоскопический эффект часто специально применяется для контроля.

Стробоскопический эффект может быть уменьшен распределением ламп на три фазы или использованием в люминесцентных лампах двойных цепей с фазовым сдвигом. Наиболее эффективным способом снижения эффектов мерцания и стробоскопических эффектов является питание ламп током высокой частоты.

5.10 Эффективность электрического освещения

Полная стоимость осветительной установки зависит от капитальных вложений и стоимости эксплуатации. Стоимость эксплуатации определяется:

- желаемой освещенностью;

- эффективностью ламп и коэффициентом полезного действия светильников;

- коэффициентом использования системы освещения;

- стоимостью ухода;

- временем использования;

- постоянной или периодической работой осветительной установки.

Выбирая наиболее экономную систему, следует учитывать не только исходную стоимость, но и эксплуатационные расходы за определенный период времени. Это значит, что принятие более высоких капитальных вложений в создание освещения может способствовать снижению полной стоимости.

Рекомендуемые уровни освещенности (таблица 1) основаны на соотношении между зрительной работоспособностью и яркостью объекта, на практическом опыте и экономических расчетах.

Потребление энергии и самая большая часть эксплуатационных расходов сокращаются пропорционально увеличению эффективности ламп и коэффициента использования светильников в данной ситуации.

Коэффициент использования учитывает коэффициент полезного действия светильников, распределение интенсивности света, способы их установки и характеристики помещения как с точки зрения размеров, так и коэффициентов отражения поверхностей вышеуказанного помещения. Чем выше коэффициент использования, тем ниже стоимость эксплуатации освещения и потребление энергии.

Надлежащий уход является также важным фактором, который следует учитывать, касаясь экономических аспектов освещения. Лучшим было бы содержание в порядке установки освещения за счет регулярной замены ламп и периодической очистки установки и поверхностей помещения, при этом различие между начальным уровнем освещенности, создаваемым осветительной установкой, и рекомендуемой освещенностью будет небольшим.

Чтобы более гибко использовать освещение, можно больше прибегать к локализованному освещению или объединять последнее с общим освещением. Местное освещение также должно использоваться, если в каких-то местах необходима большая яркость. Управление посредством коммутатора или регулятора, позволяющее снизить излишнее освещение или его изменять в зависимости от имеющегося дневного света, способствует сокращению потребления энергии и эксплуатационных расходов.

6 Обслуживание осветительной установки

6.1 Уход за осветительной установкой

Уровни освещенности, создаваемые осветительной установкой в здании, постепенно уменьшаются в процессе эксплуатации в связи с:

- накапливанием пыли на светильниках и других поверхностях;

- падением световой отдачи ламп, вызванным старением.

Следовательно, тщательный уход за системами освещения уменьшает повреждение оборудования и помещения, способствует безопасности, поддерживает функционирование освещения в заданных пределах и помогает уменьшить расход электроэнергии и капитальные вложения. Уход включает в себя замену использованных или негодных ламп, замену балластных сопротивлений, очистку поверхностей помещения через соответствующие промежутки времени. Из этого следует, что светильники должны быть расположены в доступном месте, чтобы облегчить операции обслуживания. Оптимальная частота заданной осветительной установки зависит от типа светильников, скорости запыленности и расходов на очистку. Более экономичным является сочетание чистки светильников с заменой ламп.

В больших осветительных установках предпочтительна замена всех ламп в определенный срок, по сравнению с заменой лампы каждый раз, когда она перегорает. Этот способ называется «групповой заменой». Индивидуальная замена обычно является более дорогостоящей, поскольку создает помехи в занятых помещениях здания и, кроме того, приводит к заметным различиям по яркости и цвету ламп.

При создании осветительной установки следует предусмотреть снижение светового потока установки, поэтому вначале следует обеспечить освещенность выше требуемой. В связи с этим при расчете мощности осветительной установки необходимо ввести коэффициент, который учитывает потери светового потока и расходы на уход и который зависит от степени и скорости загрязнения, графика обслуживания, согласованного между разработчиком и потребителем, и от типа выбранных светильников.

6.2 Измерение

Измерения на рабочем месте, осуществляемые в осветительной установке, позволяют проверить соответствие условий освещения нормам или практическим рекомендациям. Также их можно сравнить с результатами измерений, проведенных ранее, чтобы решить, есть ли основание приступить к обслуживанию, модернизации или замене.

Сравнительные измерения также могут быть с пользой применены для улучшения осветительной установки с двух точек зрения: качества и экономичности освещения.

6.2.1 Измерительные приборы

Для точных измерений освещенности измерительный прибор должен иметь фотоэлемент с корректирующей косинусной насадкой, чтобы учесть воздействие света, наклонно падающего на фотоэлемент, и осуществить спектральную коррекцию чувствительности фотоэлемента в соответствии с чувствительностью стандартного фотометрического наблюдателя МКО [V(l)t].

Прибор измерения яркости должен быть спектрально откорректирован. Для большинства измерений применяется апертурный угол 1°. Для специальных измерений требуются меньшие апертурные углы, например, для зрительно воспринимаемых объектов с очень мелкими деталями.

6.2.2 Определение средней освещенности

Освещенность измеряют на соответствующей рабочей поверхности. При отсутствии указаний о высоте рабочей плоскости измерение должно производиться в еще не заполненных оборудованием помещениях на высоте 0,85 м от пола (при особых случаях 0,7 - 0,75 м). В зонах движения транспортных средств высота плоскости измерения освещенности не должна превышать 0,2 м.

Во время измерения падению света не должен мешать человек, производящий измерения, или объекты, которые находятся не на своих обычных местах (тени, отражения).

Обычно измерение средней горизонтальной освещенности осуществляется в пустых комнатах или в комнатах и участках, в которых нет мебели, высота которых превышает высоту плоскости измерения освещенности. Это не относится к участкам складирования или к участкам, занятым мебелью или механизмами, составляющими неотъемлемую часть помещения, например в библиотеках.

Если измерения проводят при приемке новой осветительной установки, то следует обратить внимание, чтобы условия измерения освещенности соответствовали реальным условиям (номинальное напряжение питания, температура окружающей среды, выбор ламп и т.д.) или чтобы показания прибора измерения освещенности были скорректированы относительно этих условий.

Площадь пола комнаты или участка должна быть разделена на некоторое число прямоугольников одинаковой формы и размера, которые выбирают в зависимости от размеров и высоты комнаты, а также от способа размещения светильников. Отношение длины к ширине прямоугольника не должно превышать 2:1. Освещенности измеряют в центре прямоугольников; среднюю освещенность рассчитывают на основе всех результатов измерений. Обычные расстояния между точками измерения в комнатах с нормальной высотой составляют приблизительно от 1 до 2 м; в промышленных помещениях большой высоты и для специального размещения светильников расстояния могут быть равны 5 м и более. Расстояние между точками измерения должно быть связано с расстояниями между светильниками, чтобы не измерялись лишь максимумы или минимумы освещенности.

6.2.3 Измерение освещенности на рабочих местах

Измерения проводят в одном или нескольких определенных местах, где выполняются элементы задания. При этом работник должен находиться на своем обычном месте и должно быть учтено создаваемое им затенение. Фотоэлемент прибора измерения освещенности должен быть помещен в плоскость, соответствующую рабочей (горизонтальную, вертикальную или наклонную). Следует принять меры предосторожности, чтобы не нарушить ни условия выполнения задания, ни падающего на него света. Во время измерений не допускаются никакие изменения установки.

Если поверхность объекта мала, то, по крайней мере, одно измерение должно быть выполнено в центре этой поверхности. Чтобы получить более точные измерения, площадь рабочего пространства должна быть разделена на соответствующие квадраты.

Равномерность освещенности может быть рассмотрена в двух местах: на и вокруг самого объекта, и во всем помещении. Для объекта и его непосредственного окружения важна равномерность освещенности. Желательно ее проконтролировать в нескольких точках рабочего участка.

6.2.4 Измерение яркости

Измерения яркости проводят в реальных условиях работы, в местах, характерных для рабочего пространства. Прибор измерения яркости следует помещать на уровне глаз работника и направлять на источник, отраженный свет или рабочую поверхность.

Для рабочих пространств, используемых в дневное и в ночное время, измерения следует проводить и в тех, и в других условиях. В большинстве случаев распределение яркости в помещении в основном определяется яркостью следующих поверхностей:

- зрительно воспринимаемого объекта;

- среды, непосредственно окружающей объект;

- общего заднего плана объекта;

- вертикальных плоскостей, расположенных против наблюдателя;

- потолка;

- светильников и окон.

В местах деятельности, где не должно быть вуалирующей блескости, необходимо измерять те яркости, которые способны создать блики света.

ПРИЛОЖЕНИЕ А

(справочное)

Метод выбора светильников для ограничения блескости

Последующий материал основывается на системе МКО защиты от блескости (Публикация МКО № 29/2 [5]).

А.0 Общая часть

Если светильники расположены равномерно, то система МКО защиты от блескости может применяться для выбора светильников, наиболее подходящих для общего освещения рабочих помещений. Она заключается в использовании метода кривых яркости в совокупности с системой критического угла для светильников, лампы которых видны полностью или частично в критическом диапазоне углов зрения.

А.1 Система кривой яркости

Дискомфортная блескость в помещениях, освещенных светильниками, равномерно расположенными на потолке, может быть ограничена на основе системы кривой яркости, которая указывает пределы яркости светильников для различных классов качества и для критических углов от 45° до 85° относительно вертикали, направленной вниз.

Совокупность критических углов, для которых должно быть удовлетворено ограничение яркости светильников, лежит в пределах от 45° до угла g (рисунок А.1), который для наблюдателя в этом положении представляет собой угол, заключенный между направленной вниз вертикалью и прямой, соединяющей глаза наблюдателя с наиболее удаленным светильником. Из практических соображений максимальное значение угла g принимают равным 85°.

Рисунок А.1 - Область излучения светильника, внутри которой следует обеспечивать ограничение яркости

Ограничение ослепленности достаточно, если средняя яркость светильников (сила света, отнесенная к площади светящейся поверхности светильника в направлении линии зрения) не превышает значений предельных кривых яркости для соответствующего диапазона критических углов у, представленных на рисунках А.2 и А.3. Предельные кривые яркости (рисунки А.2 и А.3) для степеней ослепленности, представляющей классы качества от А до Е, и для различных значений освещенности указаны в таблице А.1. Степени ослепленности (таблица А.1, рисунки А.2 и А.3), охватывают главные характерные точки (0 - отсутствие ослепления; 2 - слабое ослепление; 4 - значительное ослепление; 6 - невыносимое ослепление).

Рисунок А.2 - Предельные кривые яркости для всех светильников без светящихся боковых поверхностей и для светильников удлиненной формы со светящимися боковыми поверхностями, видными в продольном направлении

Рисунок А.3 - Предельные кривые яркости для всех светильников со светящимися боковыми поверхностями, за исключением светильников удлиненной формы со светящимися боковыми поверхностями, видными в продольном направлении.

Таблица А.1 - Соответствие предельных кривых яркости и степеней ослепленности, представляющих классы качества от А до Е, для различных значений освещенности

Степень ослепленности

Класс качества

Значение освещенности, лк

а

b

с

d

е

f

g

h

1,15

А

2000

1000

500

< 300

 

 

 

 

1,5

В

 

2000

1000

500

< 300

 

 

 

1,85

С

 

 

2000

1000

500

< 300

 

 

2,2

D

 

 

 

2000

1000

500

< 300

 

2,55

Е

 

 

 

 

2000

1000

500

< 300

Выбор рисунка А.2 или А.3 зависит от типа освещения, его ориентации и направления наблюдения, что уточняется в описаниях этих рисунков.

В том, что касается ограничения блескости, вид светильника должен удовлетворять следующим критериям:

- светильники со светящимися боковыми поверхностями;

- светильники без светящихся боковых поверхностей.

Примечание - Светильник со светящимися боковыми поверхностями высотой не более 30 мм рассматривается как светильник без боковых светящихся поверхностей;

- светильники удлиненной формы;

- светильники неудлиненной формы.

Примечание - Светильник принимается удлиненной формы, если отношение длины к ширине светящейся поверхности не меньше 2:1.

А.1.1 Ориентация светильников

При использовании рисунков А.2 и А.3 распределение яркостей светильников должно рассматриваться в двух вертикальных плоскостях. Это плоскость С0 - С180 и плоскость С90 - С270 (рисунок А.4).

Когда светильники установлены так, что плоскость С0 - С180 параллельна продольной оси помещения, распределение яркости светильника в этой плоскости должно служить основой для контролирования ограничения блескости в продольное направление, а распределение яркости в плоскости С90 - С270 служит для проверки ограничения блескости в поперечном направлении.

Рисунок А.4 - Плоскости С и углы g, для которых должно быть проверено распределение яркости

Когда светильники установлены так, что плоскость С90 - С270 параллельна продольной оси помещения, эта плоскость должна служить основой для контроля ограничения блескости в продольном направлении, а распределение яркости в плоскости С0 - С180 служит для проверки ограничения блескости в поперечном направлении.

Для удлиненных светильников плоскость С90 - С270 является плоскостью продольной оси ламп или параллельна этой оси. Когда эта плоскость параллельна направлению наблюдения, наблюдение называется продольным; когда плоскость С90 - С270 перпендикулярна к направлению наблюдения - поперечным.

А.1.2 Отношение a/hs

Вместо диапазона соответствующих критических углов g допускается применять критические отношения a/hs, значения которых указаны на рисунках А.2 и А.3 [а - обозначает расстояние по горизонтали, hs - расстояние по вертикали между глазом наблюдателя и самым удаленным светильником (рисунок А.1)].

А.1.3 Значения яркости

Распределение яркости светильников в плоскости С0 - С180 и плоскости С90 - С270, которые принимаются в расчет, основано на начальных значениях, т.е. для расчетов используют начальные значения световых потоков ламп. Средняя яркость светильника в заданном направлении может быть рассчитана, беря частное от деления силы света в этом направлении и площади видимой светящейся поверхности светильника.

А.1.4 Классы качества

Для различных работ и/или различных помещений значения степени ослепленности различны. Исходя из этого, определены пять классов качества:

- класс А - очень высокое качество (при выполнении задания очень высокой точности);

- класс В - высокое качество (когда выполнение задания требует очень хорошей видимости);

- класс С - среднее качество (когда выполнение задания требует средней видимости);

- класс D - низкое качество (когда выполнение задания требует посредственной видимости и низкого уровня концентрации внимания);

- класс Е - очень низкое качество (работающие не связаны с рабочим местом и в их работе видимость не является основным фактором).

Пример определения соответствующего класса качества дан в таблице Б.1 с рекомендуемыми значениями освещенности. Рекомендованные значения освещенности, начиная с 300 лк и выше, представляют собой параметр, который вместе с классом качества позволяет выбрать предельную кривую соответствующей яркости.

А.1.5 Область применения кривых яркости

Предельные кривые яркости применимы, если выполняются три следующие условия:

- рассматривается только общее освещение;

- линии зрения направлены в основном горизонтально или вниз;

- коэффициенты отражения - не менее 0,5 для потолка и 0,2 - для стен и оборудования.

А.1.6 Защитный угол

Для светильников с диффузными отражателями, лампы которых видны полностью или частично под углами 45° и более относительно вертикали, средняя яркость светильника должна быть ограничена согласно предельным кривым яркости (рисунки А.2, А.3 и таблица А.1), кроме того, лампы должны быть в необходимой степени скрыты от глаз, что определяется яркостью лампы и выбранным классом качества. Требуемые значения защитных углов (рисунок А.5) указаны в таблице А.2. Если значения защитного угла меньше указанного на рисунке А.3, то анализируют яркость лампы. В этом смысле следует принимать во внимание только защитный угол в плоскости С0 - С180 для светильников с люминесцентными лампами.

Рисунок А.5 - Защитные углы для различных типов светильников, лампы которых полностью или частично видны (или их отражение), когда на них смотрят под критическим углом

Таблица А.2 - Минимальные защитные углы, требуемые для светильников, лампы которых видны полностью или частично, когда на них смотрят под критическим углом

Диапазоны средних яркостей ламп, кд/м2

Классы качества по ограничению блескости

Тип лампы

А, В, С

D, Е

L < 20´103

20°

10°

Трубчатые люминесцентные лампы

20´103 < L< 500´103

30°

20°

Газоразрядные лампы высокого давления в люминесцентных или рассеивающих колбах

500´103 < L

30°

30°

Газоразрядные лампы высокого давления с прозрачными горелками, лампы накаливания в прозрачных колбах

А.2 Ограничение яркости в случае светящихся потолков

Для светящихся потолков ограничение блескости является достаточным, если их яркость под углами более 45° относительно направленной вниз вертикали (рисунок АЛ) не превышает 500 кд/м2.

А.3 Соотношение между системой кривых яркости и другими национальными системами

Относительно предельных значений яркости, рассмотренных в А.1.6, система кривых яркости дает результаты, согласующиеся с результатами других возможных систем, как показано в таблице А.3. Следует заметить, что предельная кривая яркости (обозначенная буквой) соответствует критерию показателей ослепленности (GL) или вероятности зрительного комфорта (VCP) для всех освещенностей, а также соответствует другой степени ослепления и другому классу качества в системе кривых яркости в зависимости от освещенности рабочей поверхности.

Таблица А.3 - Приблизительное соответствие ослепленности классам качества в национальных системах

Система кривой яркости

Сокращенное обозначение

а

b

с

d

е

i

g

h

Система показателей ослепленности

GL

15,5

17,0

18,5

20,0

21,5

23,0

24,5

26,0

Система вероятности зрительного комфорта, %

VCP

-

-

75

65

55

45

-

-

А.4 Инструкция по применению системы кривой яркости и примеры

Для пользования рисунков А.2 и А.3 необходимо:

1) выбрать соответствующий рисунок, учитывая направление зрения и тип светильника; если направление линии зрения наблюдателя не указано, то следует принимать:

- рисунок А.2 для светильников без светящихся боковых поверхностей, особенно для углубленных светильников,

- рисунок А.3 для светильников со светящимися боковыми поверхностями:

2) выбрать предельную кривую, которая соответствует классу качества выполняемой работы и уровню освещенности;

3) сравнить яркость светильника, определенную по начальному световому потоку ламп (по каталогу производителя), с выбранной предельной кривой яркости.

Ослепленности не следует опасаться, если яркость светильника ниже яркости, указанной предельной кривой в заданном направлении. Обычно это бывает в случае, когда рассматриваемая кривая средних яркостей светильника полностью расположена слева от предельной кривой. Если она полностью расположена справа, то светильник не подходит.

Если кривая средней яркости пересекает предельную кривую, то следует убедиться, что яркость светильника ниже предельных яркостей во всех критических направлениях наблюдения внутри рассматриваемого помещения.

А.4.1 Проверка требований по ослепленности прямоугольного светильника, расположенного в данном помещении

Пример 1. Углубленный светильник

а) Условия рассмотрения

1) Углубленный светильник с призматическим рассеивателем, расположенный параллельно направлению наблюдения персонала, находящегося в бюро;

2) Е = 600 лк;

3) hs = 1,80 м (рисунок А.1);

4) кривые яркости светильника, представленные производителем (рисунок А.6).

б) Использование рисунка А.2

Если светильник без боковых светящихся поверхностей, следует обращаться к рисунку А.2 и таблице А.1.

Если светильник ориентирован параллельно направлению наблюдения, то берется кривая яркости в плоскости, параллельной оси люминесцентной лампы (рисунок А.6), которая показана на рисунке А.2 (рисунок А.7, таблица А.1).

Кривая яркости светильника располагается полностью слева от предельной кривой «с». Из этого следует, что светильник, рассматриваемый в этом случае, подходит для рабочей освещенности: 500 лк - для класса качества работы А, 1000 лк - для класса качества работы В, 2000 лк - для класса качества работы С для любых размеров помещения.

Пример 2. Светильник с боковыми светящимися поверхностями, расположенный на потолке

В случае удлиненного светильника с боковыми светящимися поверхностями и для направления наблюдения, параллельного продольной оси светильника, следует обратиться к рисунку А.3 и таблице А.1.

 - плоскость, перпендикулярная к оси люминесцентной лампы;

 - плоскость, параллельная оси люминесцентной лампы

Рисунок А.6 - Кривые яркости для примеров 1 и 2

Рисунок А.7

Если ориентация светильника неизвестна, направление наблюдения выбирают перпендикулярно к оси светильника в самом неблагоприятном случае. Поэтому обращаются к рисунку А.3.

На рисунке А.8 представлена кривая яркости светильника к рисунку А.3 в направлении, перпендикулярном к оси люминесцентной лампы.

Рисунок А.8

Таким образом, светильник подходит для классов качества в зависимости от хода предельной кривой, отвечая следующим требованиям:

- «d» - для комнат длиной менее чем а = 2hs;

- «е» - для комнат длиной менее чем а = 3hs;

- «f» - для комнат любой длины. Это значит, что светильник может быть использован, например, для работ класса точности В, освещенностью 300 лк до а = 3hs.

ПРИЛОЖЕНИЕ Б

(справочное)

Рекомендуемые освещенности и классы качества по ограничению ослепленности

Б.0 Введение

В Б.3 настоящего приложения приводится типичный пример рекомендаций освещенности, который могла бы применять любая страна, основываясь на интерпретации таблицы 1 для специальных применений. Речь идет только о примере, так как род деятельности в рабочих помещениях и названия этих помещений различны в разных странах. Приведены также рекомендации для классов качества, направленные на ограничение ослепленности (приложение А) и соответствующие желаемые значения освещенности.

Б.1 Уровни освещенности

Значения, приведенные в таблице Б.1, соответствуют освещенностям для различных заданий. Освещенность определяется как среднее значение освещенностей, полученных в течение цикла обслуживания осветительной установки, и среднее из значений на рассматриваемых поверхностях. Уровни освещенности относятся ко всему помещению или к зоне этого помещения рабочей поверхности, расположенной обычно на высоте 0,85 м над поверхностью пола. Если рабочая поверхность расположена иначе, то рекомендуемая освещенность соответствует этому положению.

Критерии, согласно которым применяют значения, указанные в данном ряду, изложены в 5.2.

В этом примере среднее значение освещенности рабочих мест не должно быть ниже 0,8 от заданной освещенности, какой бы старой ни была осветительная установка. Освещенность на любом рабочем месте никогда не должна быть ниже 0,6 от заданной освещенности. В противном случае необходимо приступить к обслуживанию системы.

Б.2 Классы качества для ограничения ослепленности

Классы качества по ограничению ослепленности определяются в соответствии с методом кривых яркости, описанным в приложении А. Значения рекомендуемой освещенности, начиная от 300 лк, вместе с классом качества составляют один параметр для выбора предельной кривой соответствующей яркости.

Таблица Б.1 - Рекомендуемые освещенности и классы качества по ограничению ослепленности

Тип помещения, задания или вид деятельности

Ряды освещенности, лк

Классы качества по ограничению ослепленности

Общая площадь здания:

 

 

зоны движения, коридоры

50; 100; 150

D - Е

лестницы, эскалаторы

100; 150; 200

С - D

гардероб, туалеты

100; 150; 200

С - D

магазины, склады

100; 150; 200

D - Е

Сборочные цеха:

 

 

грубая работа, сборка тяжелых машин

200; 300; 500

С - D

средняя работа, сборка двигателей, кузовов

300; 500; 750

В - С

тонкая работа, электронный монтаж или пишущие машинки

500; 750; 1000

А - В

очень тонкая работа, сборка инструментов

1000; 1500; 2000

А - В

Химическая промышленность:

 

 

автоматические операции

50; 100; 150

D - Е

промышленные установки, редко требующие вмешательства

 

 

человека

100; 150; 200

С - D

общая внутренняя площадь завода

200; 300; 500

С - D

участки контроля, лаборатории

300; 500; 750

С - D

фармацевтическое производство

300; 500; 750

С - D

контроль

500; 750; 1000

А - В

сравнение цветов

750; 1000; 1500

А - В

производство шин

300; 500; 750

С - D

Производство одежды:

 

 

шитье

500; 750; 1000

А - В

контроль

750; 1000; 1500

А - В

прессование

300; 500; 750

А - В

Электротехническая промышленность:

 

 

производство кабелей

200; 300; 500

В - С

монтаж телефонов

300; 500; 750

А - В

намотка

500; 750; 1000

А - В

сборка радиоприемников и телевизоров

750; 1000; 1500

А - В

сборка элементов большой точности, электронных схем

1000; 1500; 2000

А - В

Пищевая промышленность:

 

 

общие рабочие площади

200; 300; 500

С - D

автоматические операции

150; 200; 300

D - Е

ручная отделка, контроль

300; 500; 750

А - В

Литейное производство:

 

 

литейный цех

150; 200; 300

D - Е

грубая формовка

200; 300; 500

С - D

производство ядер, осмотр

300; 500; 750

А - В

Стекольная и керамическая промышленность:

 

 

цех печей

100; 150; 200

D - Е

помещение для перемешивания, формовки, литья; печи

200; 300; 500

С - D

окончательная обработка, эмалировка, лакировка

300; 500; 750

В - С

окраска, декорация

500; 750; 1000

А - В

полировка, производство очков; производство хрусталя, тонкая

 

 

обработка

750; 1000; 1500

А - В

Черная металлургия:

 

 

промышленные установки, не требующие ручного вмешательства

50; 100; 150

D - Е

промышленные установки, требующие периодического

 

 

вмешательства

100; 150; 200

D - Е

рабочее место, постоянно занятое в промышленных установках

200; 300; 500

D - Е

площади контроля и осмотра

300; 500; 750

А - В

Кожевенная промышленность

 

 

общие рабочие площади

200; 300; 500

В - С

прессы, резка, шитье, производство обуви

500; 750; 1000

А - В

градация, подбор, контроль качества

750; 1000; 1500

А - В

Механические и сборочные цеха:

 

 

случайная работа

150; 200; 300

D - Е

грубая работа на станках и машинах, сварка

200; 300; 500

С - D

средняя обработка на станках и машинах, обычных автоматах

300; 500; 750

В - С

тонкая обработка на станках и машинах, точных автоматах,

 

 

инспектирование и исследование

500; 750; 1000

А - В

очень тонкая обработка, калибровка и осмотр мелких, сложных

 

 

деталей

1000; 1500; 2000

А - В

Художественные цеха, кинопроекционные:

 

 

смачивание и окраска распылением

200; 300; 500

D - Е

окраска, пульверизация, обычная отделочная обработка

300; 500; 750

С - D

окраска, пульверизация и тонкая отделка

500; 750; 1000

А - В

ретушь и подбор

750; 1000; 1500

А - В

Бумажные фабрики:

 

 

производство бумаги и картона

200; 300; 500

С - D

автоматическое производство

150; 200; 300

D - Е

осмотр, печатание

300; 500; 750

А - В

Типографии и переплетные мастерские:

 

 

помещения для печатных машин

300; 500; 750

С - D

помещения для набора и контрольного считывания

500; 750; 1000

А - В

уточняющие правки, гравюрная ретушь

750; 1000; 1500

А - В

репродуцирование цветов и печатание

1000; 1500; 2000

А - В

гравировка на меди и стали

1500; 2000; 3000

А - В

переплетные работы

300; 500; 750

А - В

обрезка, чеканка

500; 750; 1000

А - В

Текстильная промышленность:

 

 

разрыхление мякины, чесание, вытяжка

200; 300; 500

D - Е

прядение, намотка, образование мотков; чесание, крашение

300; 500; 750

С - D

навивка, прядение, определение длины и толщины ниток,

 

 

кручение ткани

500; 750; 1000

А - В

шитье, чистка, суровья, осмотр

750; 1000; 1500

А - В

Деревообрабатывающая и мебельная промышленность:

 

 

лесопильные заводы

150; 200; 300

D - Е

станочная обработка, сборка

200; 300; 500

С - D

машинная обработка

300; 500; 750

В - С

отделочные работы, окончательный осмотр

500; 750; 1000

А - В

Служебные помещения:

 

 

вычислительных машин

300; 500; 750

А - В

помещения для обычных работ большой глубины

500; 750; 1000

А - В

чертежные бюро

500; 750; 1000

А - В

залы для совещаний

300; 500; 750

А - В

Больницы:

 

 

общее освещение

50; 100; 150

А - В

обследование

200; 300; 500

А - В

чтение

150; 200; 300

А - В

ночное дежурство

3; 5; 10

А - В

Помещение для обследований:

 

 

общее освещение

300; 500; 750

А - В

местный осмотр

750; 1000; 1500

А - В

Интенсивная обработка:

 

 

изголовье кровати

30; 50; 100

А - В

наблюдение

200; 300; 500

А - В

рабочие места медсестер

200; 300; 500

А - В

Операционные помещения:

 

 

общее освещение

500; 750; 1000

А - В

местное

10000; 30000; 100

А - В

Лаборатории и аптеки:

 

 

общее освещение

500; 750; 1000

А - В

местное

5000; 10000; 15

А - В

Консультации:

 

 

общее освещение

300; 500; 750

А - В

местное

500; 750; 1000

А - В

Магазины:

 

 

общее освещение магазинов в больших торговых центрах

500-750

В - С

другие помещения

300-500

В - С

магазины самообслуживания

500-750

В - С

Школы; классы:

 

 

общее освещение

300; 500; 750

А - В

классная доска (для мела)

300; 500; 750

А - В

доска для черчения

500; 750; 1000

А - В

Аудитории:

 

 

общее освещение

300; 500; 750

А - В

доски

500; 750; 1000

А - В

экраны

500; 750; 1000

А - В

лаборатории

300; 500; 750

А - В

помещение для художественного обучения

300; 500; 750

А - В

ателье

300; 500; 750

В - С

залы для собраний

150; 200; 300

С - D

ПРИЛОЖЕНИЕ С

Библиография

[1] Публикация МКО № 17. Международный словарь по освещению

[2] Т.В. Корнеева «Толковый словарь по метрологии, измерительной технике и управлению качеством»

[3] Публикация МКО № 13.2. Метод измерения и определения качества цветопередачи различными источниками света

[4] Публикация МКО № 55. Дискомфортная блескость во внутреннем рабочем пространстве

[5] Публикация МКО № 29/2. Руководство по внутреннему освещению

[6] Публикация МКО № 19/2. Аналитическая модель, описывающая влияние параметров освещения на результаты зрительного восприятия

[7] Публикация МКО № 16. Дневной свет; международные рекомендации по расчету естественного освещения

 

 

Ключевые слова: эргономика, зона действия, освещение, яркость