Меню
Навигация
Novatika
Первая линия
Бесплатное обучение

Совместимость радиоэлектронных средств электромагнитная. Устройства радиопередающие народнохозяйственного применения. Требования к побочным радиоизлучениям. Методы измерения и контроля

Стандарт распространяется на изготовляемые, устанавливаемые и вновь разрабатываемые (модернизируемые) радиопередающие устройства и устанавливает требования к побочным радиоизлучениям, которые определяются максимально допустимыми уровнями побочных радиоколебаний, передаваемых радиопередатчиками в антенно-фидерные устроства на частотах побочных радиоизлучений радиопередающих устройств от 9 кГц до 17,7 ГГц. Стандарт не распространяется на радиопередающие устройства, устанавливаемые на станциях спасательных средств, аварийные (резервные) воздушные и морские радиопередающие устройства и радиопередающие устройства, устанавливаемые на станциях радиоопределения.

Обозначение: ГОСТ Р 50842-95
Название рус.: Совместимость радиоэлектронных средств электромагнитная. Устройства радиопередающие народнохозяйственного применения. Требования к побочным радиоизлучениям. Методы измерения и контроля
Статус: действует
Дата актуализации текста: 05.05.2017
Дата добавления в базу: 01.09.2013
Дата введения в действие: 01.07.1996
Утвержден: 19.12.1995 Госстандарт России (Russian Federation Gosstandart 616)
Опубликован: ИПК Издательство стандартов (1996 г. )
Ссылки для скачивания:

ГОСТ Р 50842-95

ГОСУДАРСТВЕННЫЙ СТАНДАРТ РОССИЙСКОЙ ФЕДЕРАЦИИ

 

СОВМЕСТИМОСТЬ РАДИОЭЛЕКТРОННЫХ
СРЕДСТВ ЭЛЕКТРОМАГНИТНАЯ

УСТРОЙСТВА РАДИОПЕРЕДАЮЩИЕ
НАРОДНОХОЗЯЙСТВЕННОГО
ПРИМЕНЕНИЯ

ТРЕБОВАНИЯ
К ПОБОЧНЫМ РАДИОИЗЛУЧЕНИЯМ.
МЕТОДЫ ИЗМЕРЕНИЯ И КОНТРОЛЯ

 

 

 

ГОССТАНДАРТ РОССИИ

Москва

 

Предисловие

1 РАЗРАБОТАН И ВНЕСЕН Техническим комитетом по стандартизации в области электромагнитной совместимости технических средств (ТК ЭМС)

2 ПРИНЯТ И ВВЕДЕН В ДЕЙСТВИЕ Постановлением Госстандарта России от 19 декабря 1995 г. № 616

3 ВВЕДЕН ВПЕРВЫЕ

СОДЕРЖАНИЕ

1 Область применения. 2

2 Нормативные ссылки. 2

3 Определения. 2

4 Обозначения и сокращения. 3

5 Требования к побочным радиоизлучениям.. 4

6 Требования к средствам измерения и контроля. 5

7 методы измерений и контроля уровней побочных радиоколебаний (радиоизлучений) 7

7.1 Подготовка к проведению измерений и контроля. 7

7.2 Калибровка измерительных трактов. 8

7.3 Проверка достаточности экранирования измерительных приборов. 8

7.4 Измерения в одномодовом режиме радиоколебаний радиопередатчика, согласованного с нагрузкой во всем диапазоне частот контроля. 9

7.6 Измерения в одномодовом режиме радиоколебаний радиопередатчика, согласованного с нагрузкой не во всем диапазоне частот контроля. 11

7.7 Измерения в многомодовом режиме радиоколебаний радиопередатчика, согласованного с нагрузкой не во всем диапазоне частот контроля. 12

7.8 Измерения уровней побочных радиоколебаний интермодуляционного типа. 13

7.9 Измерения уровней побочных радиоизлучений по полю.. 16

Приложение А Рекомендуемые режимы работы радиопередатчиков при измерении побочных радиоколебаний (радиоизлучений) 17

Приложение Б Способ пересчета результатов измерений побочных радиоколебаний (радиоизлучений) при импульсной модуляции. 19

Приложение В перечень рекомендуемых средств измерения побочных радиоколебаний (радиоизлучений) радиопередающих устройств. 20

Приложение Г Протокол измерений побочных радиоколебаний (радиоизлучений) радиопередатчиков. 22

Приложение Д Приближенный метод оценки побочных радиоизлучений радиопередатчиков фиксированной службы декаметровых волн по допустимому значению эквивалентной напряженности поля. 23

Приложение Е Библиография. 27

ГОСТ Р 50842-95

ГОСУДАРСТВЕННЫЙ СТАНДАРТ РОССИЙСКОЙ ФЕДЕРАЦИИ

Совместимость радиоэлектронных средств электромагнитная

УСТРОЙСТВА РАДИОПЕРЕДАЮЩИЕ НАРОДНОХОЗЯЙСТВЕННОГО
ПРИМЕНЕНИЯ

Требования к побочным радиоизлучениям. Методы измерения и контроля

Electromagnetic compatibility of radioelectronic equipment.
Radio transmitting devices for national economic application. Limits for spurious
emissions. Measuring and monitoring methods

Дата введения 1996-07-01

1 ОБЛАСТЬ ПРИМЕНЕНИЯ

Настоящий стандарт распространяется на изготавливаемые, устанавливаемые и вновь разрабатываемые (модернизируемые) радиопередающие устройства и устанавливает требования к побочным радиоизлучениям, которые определяются максимально допустимыми уровнями побочных радиоколебаний, передаваемых радиопередатчиками в антенно-фидерные устройства на частотах побочных радиоизлучений радиопередающих устройств от 9 кГц до 17,7 ГГц.

Стандарт не распространяется на радиопередающие устройства, устанавливаемые на станциях спасательных средств, аварийные (резервные) воздушные и морские радиопередающие устройства и радиопередающие устройства, устанавливаемые на станциях радиоопределения.

Установление более высоких требований к побочным радиоизлучениям радиопередающих устройств для некоторых служб решается по согласованию между заказчиком и разработчиком радиоэлектронных средств.

Требования настоящего стандарта, за исключением приведенных в графе «Перспективные» таблицы 1, являются обязательными.

2 НОРМАТИВНЫЕ ССЫЛКИ

В настоящем стандарте использованы ссылки на следующие стандарты:

ГОСТ 13420-79 Передатчики для магистральной радиосвязи. Основные параметры. Технические требования и методы измерений

ГОСТ 13924-80 Передатчики радиовещательные стационарные. Основные параметры, технические требования и методы измерений

ГОСТ 23611-79 Совместимость радиоэлектронных средств электромагнитная. Термины и определения

ГОСТ Р 50016-92 Совместимость технических средств электромагнитная. Требования к ширине полосы радиочастот и внеполосным излучениям радиопередатчиков. Методы измерений и контроля

3 ОПРЕДЕЛЕНИЯ

В настоящем стандарте применяют термины, установленные в ГОСТ 23611-79 и [1], [2], [3], а также следующие:

- характерная частота - частота, которую можно легко опознать и измерить в данном излучении. Например, несущую частоту можно рассматривать как характерную частоту;

- мощность побочного радиоизлучения - мощность радиоколебания, относящегося к побочным радиоизлучениям, передаваемая радиопередатчиком в антенно-фидерное устройство или эквивалент нагрузки;

- основные частоты - частоты, лежащие в полосе основного радиоизлучения;

- средняя мощность (радиопередатчика) - подводимая от радиопередатчика к фидеру антенны мощность, усредненная в течение достаточно длительного промежутка времени по сравнению с наиболее низкой частотой, встречающейся при модуляции, при нормальных условиях работы;

- частота контроля уровней ПК - частота, на которой осуществляется измерение и контроль ПК на соответствие требованиям НД;

- контрольная частота радиопередатчика - частота радиопередатчика в пределах его диапазона рабочих частот, при работе на которой проводится измерение и контроль уровней ПК;

- эквивалентная напряженность поля ПИ - напряженность поля, создаваемая ПИ с мощностью, равной норме, и приведенная к расстоянию 5 км от излучателя;

- абсолютное значение мощности побочных радиоколебаний - значение уровня побочных радиоколебаний, выраженное в единицах мощности (мВт, мкВт);

- диапазон частот контроля - диапазон частот, в котором контроль уровней побочных радиоизлучений является обязательным;

- эквивалентное нагрузочное сопротивление - сопротивление нагрузки, равное волновому сопротивлению антенно-фидерного тракта контролируемого радиопередатчика.

Примечание - В вышеперечисленных терминах слово «радиоизлучение» следует заменить на слово «радиоколебания» при определении характеристик и параметров в высокочастотном тракте радиопередатчика.

4 ОБОЗНАЧЕНИЯ И СОКРАЩЕНИЯ

4.1. В настоящем стандарте применяют следующие обозначения:

N - норма на относительное значение мощности ПК, дБ;

Na - норма на абсолютное значение мощности ПК, Вт (В), мкВ/м;

Ротн - относительный уровень ПК (ПИ), дБ;

Е1 - допустимая эквивалентная напряженность поля ПИ, мкВ/м;

f0 - рабочая частота радиопередатчика, кГц, МГц;

fвк - критическая частота коаксиальной линии передачи при одномодовом режиме распространения колебаний, МГц;

fкр - критическая частота для радиопередающих устройств с волноводными трактами, МГц;

Вп - полоса частот пропускания измерительного приемника, кГц, МГц;

Вн - необходимая ширина полосы радиочастот;

Рнп (Uнп) - нижний предел измерения мощности (напряжения) измерительного приемника, Вт (В);

Рвп (Uвп) - верхний предел измерения мощности (напряжения) измерительного приемника, Вт (В);

Pунп (Uунп) - нижний предел измерения мощности (напряжения) измерительного приемника, установленный с помощью отсчетных аттенюаторов, Вт (В);

Pн max (Uн max) - максимальная мощность (напряжение) наводимой помехи, Вт (В);

P0 - мощность контролируемого радиопередатчика на рабочей частоте, Вт;

Pи0 (Uи0) - измеренное значение мощности (напряжения) на входе измерительного приемника, на рабочей частоте контролируемого радиопередатчика, Вт (В);

Pиi (Uиi) - измеренное значение мощности (напряжения) на входе измерительного приемника на частоте i-го ПК (ПИ), Вт (В);

Pат - допустимая мощность рассеивания аттенюатора (направленного ответвителя), Вт;

G0, Gi - коэффициент усиления антенны контролируемого передатчика на частоте измерений, дБ;

S0, Si - эффективная площадь измерительной антенны на частоте измерений, м (см);

λ0, λi - длина волны, на которой производятся измерения, м (см);

Rа - входное сопротивление измерительной антенны, Ом;

Rвх - входное сопротивление измерительного приемника, Ом;

Rвых - выходное сопротивление измерительного генератора, Ом;

r - расстояние между антеннами контролируемого радиопередатчика, и измерительной установки, м;

Da - максимальный размер раскрыва антенны контролируемого радиопередатчика, м (см);

Dиа - максимальный размер раскрыва измерительной антенны, м (см);

d1 - внутренний диаметр внешнего проводника коаксиальной линии передачи, мм;

d2 - наружный диаметр внутреннего проводника коаксиальной линии передачи, мм;

K0, Ki - коэффициент передачи по мощности высокочастотного измерительного тракта на частоте измерений;

Kmin - минимальный коэффициент передачи по мощности высокочастотного измерительного тракта в диапазоне частот контроля;

Kн0, Kнi - коэффициент передачи по мощности направленного ответвителя (развязывающего аттенюатора) на частоте измерений;

H - ослабление чувствительности побочных каналов приема измерительного приемника относительно чувствительности основного канала приема, дБ;

α - затухание, вносимое аттенюатором, дБ;

Cф - затухание, вносимое фильтром вне полосы пропускания, дБ;

Рпр - проходящая мощность ПК, Вт;

Pпад, Pотр - мощности, снимаемые с ответвителей, ориентированных соответственно на падающую и отраженную волны, Вт;

Uпад, Uотр - напряжения, снимаемые с ответвителей, ориентированных соответственно на падающую и отраженную волны, В;

Kф - коэффициент ослабления фильтра на частоте ПК;

E3 - значение напряженности поля ПИ, отсчитываемое по прибору;

Eиi - измеренное значение напряженности поля на частоте i-го ПИ контролируемого радиопередатчика, мкВ/м.

Примечание - Индекс «0» относится к рабочей частоте, индекс «i» - к частоте i-го ПК (ПИ)

4.2 В настоящем стандарте применяют следующие сокращения:

КСВН - коэффициент стоячей волны;

НОММ - направленный ответвитель многомодовый;

ПИ - побочные радиоизлучения;

ПК - побочные радиоколебания;

РЭС - радиоэлектронное средство.

5 ТРЕБОВАНИЯ К ПОБОЧНЫМ РАДИОИЗЛУЧЕНИЯМ

Уровень любого побочного радиоколебания, передаваемого передатчиком в антенно-фидерное устройство на частоте побочного радиоизлучения, не должен превышать относительного и абсолютного значений, указанных в таблице 1.

Таблица 1

Полоса основных частот (исключая нижний предел и включая верхний предел)

Радиопередатчики, средняя мощность, классы излучения, службы

Требования к уровням побочных радиоколебаний

нормируемые

перспективные

9 кГц - 30 МГц

Передатчики фиксированной службы мощностью:

 

 

50 кВт и менее

-40 дБ, 50 мВт

 

более 50 кВт

-60 дБ

50 мВт

Портативные передатчики мощностью менее 5 Вт

-30 дБ

-40 дБ

 

 

 

 

Подвижные передатчики

-40 дБ, но не превышая 200 мВт

50 мВт

30 - 235 МГц

Передатчики мощностью:

 

 

100 мВт - 25 Вт

-40 дБ, но не превышая 25 мкВт

2,5 мкВт

менее 100 мВт

-40 дБ, но не превышая 10 мкВт

2,5 мкВт

более 25 Вт

-60 дБ, но не превышая 1 мВт

-70 дБ

Передатчики морской подвижной службы с классом излучения F3, со средней мощностью 20 Вт и менее:

 

 

излучения, попадающие в любой международный канал морской подвижной службы за счет продуктов модуляции

Не превышая 10 мкВт

 

другие побочные радиоизлучения

Не превышая 2,5 мкВт

 

при средней мощности более 20 Вт

Указанные пределы увеличивают пропорционально средней мощности

 

235 - 960 МГц

Передатчики мощностью:

 

 

25 Вт и менее

-40 дБ, но не превышая 25 мкВт1)

2,5 мкВт

более 25 Вт

-60 дБ, но не превышая 20 мВт1)

-70 дБ

960 - 1215 МГц

Радиопередатчики воздушной радионавигационной службы

 

-(43 + 10lgP0) или -80 дБ

1215 МГц - 17,7 ГГц

Передатчики мощностью:

 

 

10 Вт и менее

100 мкВт1), 2)

 

более 10 Вт

-50 дБ, но не превышая 100 мВт1), 2)

 

1) При наличии помех приемным станциям радиоастрономической и космической служб, а также приемниками земных станций спутниковой связи должны быть приняты меры к снижению влияния ПИ с учетом географического расположения указанных радиопередатчиков.

2) Эти уровни не применимы к станциям космических служб, но их ПИ должны быть уменьшены до самых низких возможных уровней, обусловленных техническими и экономическими требованиями к оборудованию

Примечание - Во всех случаях, когда требования на уровни побочных радиоколебаний не установлены, должны быть приняты все возможные меры по максимальному снижению мощности этих радиоколебаний

6 ТРЕБОВАНИЯ К СРЕДСТВАМ ИЗМЕРЕНИЯ И КОНТРОЛЯ

6.1 Аппаратура, применяемая для измерений, должна перекрывать диапазон частот контроля, указанный в 7.1.4. Допускается перекрытие этого диапазона по участкам средствами измерений различных типов.

6.2 Нижний предел измерения мощности (напряжения) измерительного приемника при полосе частот пропускания, устанавливаемой в соответствии с 7.1.5, должен соответствовать условиям:

                                                 (1)

или

                                       (2)

6.3 Ослабление чувствительности побочных каналов приема измерительного приемника относительно основного должно составлять

H [дБ] ≥ |N| + 5.                                                            (3)

Если это требование не удовлетворяется, необходимо применять дополнительный фильтр для ослабления излучения на рабочей частоте на входе измерительного приемного устройства на величину

Сф [дБ] ≥ |N| - H + 5.                                                    (4)

6.4 Измерительный приемник при измерениях должен работать в линейном режиме.

6.5 Абсолютная погрешность измерения мощности (напряжения) непрерывного сигнала измерительного приемника не должна превышать 2,5 дБ.

6.6 При импульсном режиме работы контролируемого радиопередатчика измерительный приемник должен иметь пиковый детектор.

6.7 Измерительная антенна должна иметь линейную поляризацию (с возможностью ее установки в двух ортогональных плоскостях) и быть аттестована либо по эффективной площади с погрешностью не более 30 %, либо по коэффициенту усиления. В последнем случае ее эффективную площадь вычисляют по формулам:

S0 = G0 · λ20/4π;                                                             (5)

Si = Gi · λ2i/4π.                                                              (6)

6.8 КСВН измерительной антенны должен быть не более 2,5.

6.9 КСВН входа фильтра должен быть не более 2,5.

6.10 Измерительный аттенюатор должен иметь мощность рассеивания

PатP0Kн0                                                                    (7)

и обеспечивать минимальное затухание, определяемое из условия

αmin ≥ 10lg(P0Kн0/Pвп).                                                  (8)

6.11 Первичный тракт одномодового направленного ответвителя должен быть рассчитан на мощность, значение которой не меньше мощности контролируемого радиопередатчика.

6.12 Коэффициент передачи по мощности одномодового направленного ответвителя в измерительный тракт на рабочей частоте должен находиться в пределах

Pнп/P0 · 10-0,1|N|Kmin < Kн0Pат/P0.                                         (9)

6.13 КСВН входа одномодового направленного ответвителя не должен превышать 1,8.

6.14 Направленность одномодового ответвителя должна составлять не менее 20 дБ.

6.15 Первичный тракт НОММ должен соответствовать требованию 6.11 и обеспечивать отбор многомодовой мощности с погрешностью не более 3,5 дБ.

6.16 Число вторичных каналов НОММ должно быть не менее 6.

6.17 Переходное затухание (развязка) между каналами НОММ должно быть не менее 20 дБ.

6.18 Допустимая мощность рассеивания на эквивалентном нагрузочном сопротивлении должна быть не менее максимальной средней мощности основного радиоизлучения контролируемого радиопередатчика.

6.19 КСВН на входе эквивалентного нагрузочного сопротивления в диапазоне частот контроля не должен превышать 1,4.

6.20 Вспомогательные измерительные элементы (высокочастотные переключатели, высокочастотные переходы, соединительные фидерные тракты) должны быть аттестованы по всему диапазону частот контроля.

6.21 КСВН вспомогательных элементов высокочастотного измерительного тракта не должен превышать 1,5.

6.22 Высокочастотные переходы и переключатели не должны вносить дополнительные затухания более 0,5 дБ.

7 МЕТОДЫ ИЗМЕРЕНИЙ И КОНТРОЛЯ УРОВНЕЙ ПОБОЧНЫХ РАДИОКОЛЕБАНИЙ (РАДИОИЗЛУЧЕНИЙ)

7.1 Подготовка к проведению измерений и контроля

7.1.1. Контроль нормированных параметров осуществляют по измерениям мощности (напряжения) радиоколебаний в высокочастотном тракте или по измерениям плотности потока мощности (напряженности) электромагнитного поля.

7.1.2 Измерения и контроль проводят при максимальном значении мощности радиоизлучения, предусмотренном техническими, условиями на радиопередатчик.

Испытуемый радиопередатчик должен работать в режиме излучения 100 % мощности несущей без модуляции. Если такой режим невозможен, то устанавливают режим из числа штатных режимов, предусмотренных в ТУ на радиопередатчик, или используют рекомендуемые режимы работы, указанные в приложении А.

7.1.3 Измерения и контроль уровней ПК проводят при работе радиопередатчика на контрольных частотах, установленных в ТУ или не менее чем на трех контрольных частотах, выбранных в начале, середине и конце диапазона (поддиапазона) его рабочих частот.

7.1.4 Диапазон частот контроля уровней ПК (ПИ) должен составлять 0,5f0 - 8f0, но не ниже 9 кГц и не выше 17,7 ГГц. Неконтролируемый участок, прилегающий к рабочей частоте  f0, устанавливают в ТУ (ТЗ) на радиопередатчик.

7.1.5 Во всем диапазоне частот контроля по возможности используют один вид измерительного приемника.

Полосу частот пропускания этого приемника Вп устанавливают постоянной при измерениях во всем диапазоне частот контроля. Она должна соответствовать значениям, указанным в таблице 2.

Таблица 2

f0

Вп, не менее

9 кГц ≤ f0 < 30 МГц

1 кГц

30 МГц ≤ f0 < 300 МГц

10 кГц

300 МГц ≤ f0 < 4000 МГц

100 кГц

4 ГГц f0 < 40 ГГц

1 МГц

При импульсной модуляции несущей допускают проведение измерений при других значениях Вп с пересчетом результатов в соответствии с приложением Б.

7.1.6 Измерения и контроль осуществляют, как правило, с использованием средств измерений, перечень которых и требования к ним приведены в приложении В.

7.1.7 На результаты измерений и контроля не должны оказывать влияние излучения посторонних источников помех (высоковольтные линии передачи и другие источники энергии, радиоизлучения других РЭС и т.п.).

7.1.8 Допускают использование методов измерения ПК (ПИ), отличающихся от рекомендаций настоящих методов, но оговоренных в ТУ, ГОСТ и другой нормативной документации.

7.1.9 Измерения в одномодовом режиме радиопередатчиков проводят:

- для коаксиальных линий в диапазоне частот меньше fвк, где

fвк = 1,91´105/(d1 + d2);                                                (10)

- для волноводных линий в диапазоне частот от fкр до 1,7f0;

- для двухпроводных линий в диапазоне частот контроля.

7.1.10 Измерения в многомодовом режиме радиопередатчиков проводят:

- для коаксиальных линий в диапазоне частот

от fвк = 1,91´105/(d1 + d2) до 8f0;                                 (11)

- для волноводных линий от 1,7f0 до 8f0.

7.2 Калибровка измерительных трактов

7.2.1 Определяют частоты контроля. Включают контролируемый радиопередатчик на частоте контроля, производят обнаружение побочных радиоколебаний, перестраивая измерительный приемник в диапазоне частот контроля, и отмечают в протоколе частоты ПК (ПИ).

Для проведения калибровки по 7.8 отмечают в протоколе одну из частот основного передатчика, выбранную для контроля, и соответствующие частоты интермодуляционных радиоколебаний третьего порядка по 7.8.5.

7.2.2 Повторяют метод по 7.2.1 на всех других частотах, выбранных для контроля.

7.2.3. Собирают установку в соответствии со структурной схемой, приведенной на рисунке 1.

1 - измерительный генератор; 2 - высокочастотный переключатель; 3 - измерительный тракт (начиная с выхода направленного ответвителя или делителя, или измерительной антенны); 4 - измерительный приемник; 5 - измерительный аттенюатор

Рисунок 1 - Структурная схема калибровки измерительного тракта

7.2.4 Устанавливают переключатель 2 в положение I и настраивают измерительный генератор 1 и измерительный приемник 4 на одну из частот по 7.2.1 и 7.2.2.

7.2.5 Устанавливают уровень мощности генератора таким, чтобы на индикаторе измерительного приемника отчетливо наблюдался сигнал генератора. Показания индикатора фиксируют.

7.2.6 Устанавливают переключатель 2 в положение II, а затухание α измерительного аттенюатора 5 таким, чтобы показание индикатора измерительного приемника было равно показанию, отмеченному в 7.2.5.

7.2.7 Определяют коэффициент передачи измерительного тракта по формуле

K0(i) = 10-0,1α.                                                                 (12)

7.2.8 Повторяют действия по 7.2.4 - 7.2.7 на всех частотах, зафиксированных по 7.2.1 и 7.2.2.

7.3 Проверка достаточности экранирования измерительных приборов

7.3.1 Отключают вход измерительной установки (точка а на рисунках 2 - 9, Д.2, Д.3) и нагружают его на экранированное согласованное сопротивление.

7.3.2 Для измерения уровня наведенной помехи устанавливают на измерительном приемнике предел измерения мощности (напряжения) на 10 (20) дБ ниже рассчитанного в 6.2. При измерениях по полю (по 7.9 и приложению Д) устанавливают максимальную чувствительность измерительного приемника.

7.3.3 Включают контролируемый радиопередатчик (или основной и дополнительный радиопередатчики в случае измерения уровней ПК интермодуляционного типа) на одной из частот контроля. Перестраивают измерительный приемник в диапазоне частот контроля, отмечают показания его индикатора на частотах, на которых наблюдают прием наведенной помехи.

7.3.4 Повторяют измерения по 7.3.3 на всех частотах, выбранных для контроля.

7.3.5 Определяют частоту, соответствующую Рн max (Uн max).

7.3.6 Восстанавливают схему измерений, проводят измерения мощности Pи0(i) (напряжения Uи0(i)) на частоте, соответствующей Рн max (Uн max) и далее, определив превышение измеренной мощности Pи0(i) (Uи0(i)) над Рн max (Uн max) устанавливают необходимость дополнительной экранировки.

7.3.7 Экранировку считают достаточной, если измеренный уровень ПК (ПИ) не менее чем на 10 дБ выше уровня максимальной наводимой помехи. Если это условие не выполняется, необходимо провести дополнительные мероприятия по уменьшению наведенной помехи.

7.4 Измерения в одномодовом режиме радиоколебаний радиопередатчика, согласованного с нагрузкой во всем диапазоне частот контроля

7.4.1 Структурная схема измерений приведена на рисунках 2 и 3. Включение фильтра в измерительный тракт осуществляют в случае, если относительный уровень ПК превышает по абсолютному значению динамический диапазон измерительного приемника.

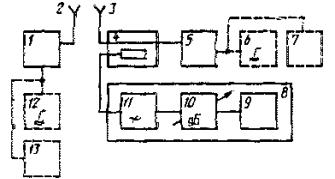
1 - контролируемый радиопередатчик; 2 - развязывающий аттенюатор; 3 - высокочастотный переключатель; 4 - измерительный аттенюатор; 5 - измерительный приемник; 6 - экранированная камера (используется при необходимости); 7 - фильтр; 8 - эквивалентное нагрузочное сопротивление; 9 - генератор сигналов низкочастотный

Рисунок 2 - Структурная схема измерений ПК маломощных радиопередатчиков

Для радиопередатчиков с симметричной нагрузкой в схеме (рисунок 3) направленные ответвители встраивают в каждый фидер.

1 - контролируемый радиопередатчик; 2 - направленный ответвитель; 3 - эквивалентное нагрузочное сопротивление или штатная антенна радиопередатчика; 4 - экранированная камера (используется при необходимости); 5 - измерительный приемник; 6 - высокочастотный переключатель; 7 - измерительный аттенюатор; 8 - фильтр; 9 - генератор сигналов низкочастотный

Рисунок 3 - Структурная схема измерений ПК мощных радиопередатчиков

7.4.2 Производят калибровку по 7.2 и проверку достаточности экранирования по 7.3.

7.4.3 Измеряют мощность Pи0 (напряжение Uи0) и, перестраивая измерительный приемник в диапазоне частот контроля, измеряют мощность Pиi (напряжение Uиi).

Результаты измерений заносят в протокол измерений (приложение Г).

7.4.4 Обработка результатов измерений

Относительный уровень ПК в фидерном тракте вычисляют по формуле

Ротн = 10lg (PиiKн0K0)/(Pи0KнiKi),                                      (13)

или

                                (14)

Повторяют измерения по 7.4.3, 7.4.4. при настройке радиопередатчика на каждую из частот, выбранных для контроля.

Испытуемый радиопередатчик соответствует требованиям к уровням побочных радиоизлучений, если выполняется условие

|Pотн| ≥ |N| и Pиi/KнiKiNa,                                           (15)

или

U2иi/RвхKнiKi Na                                                          (16)

на каждой из обнаруженных частот ПК.

7.5 Измерения в многомодовом режиме радиоколебаний радиопередатчика, согласованного с нагрузкой во всем диапазоне частот

7.5.1 Структурная схема измерений приведена на рисунке 4.

7.5.2 Проводят калибровку по 7.2 и проверку достаточности экранирования по 7.3.

7.5.3 Проводят обнаружение ПК при одном из положений переключателя каналов 11, перестраивая измерительный приемник в диапазоне частот контроля и фиксируя частоты приема ПК.

7.5.4 Повторяют измерения по 7.5.3 для каждого положения переключателя каналов 11. Обобщая результаты обнаружения ПК в каждом из вторичных каналов НОММ, определяют частоты ПК контролируемого радиопередатчика.

7.5.5 Измеряют мощности Pи0 и Pиij в каждом вторичном канале НОММ, где Pиij мощность на входе измерительного приемника, измеренная на i-ой частоте ПК в j-ом канале НОММ.

7.5.6 Вычисляют мощность на i-ой частоте ПК на входе приемника по формуле

                                                                  (17)

где l - число вторичных каналов.

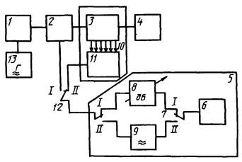
1 - контролируемый передатчик; 2 - направленный ответвитель для волны основного типа; 3 - НОММ или отборник другого типа; 4 - эквивалентное нагрузочное сопротивление или штатная антенна радиопередатчика; 5, 10 - экранированные камеры (используются при необходимости); 6 - измерительный приемник; 7, 12 - высокочастотный переключатель; 8 - измерительный аттенюатор; 9 - фильтр (используется при необходимости); 11 - многоканальный коаксиальный переключатель; 13 - генератор сигналов низкочастотный

Рисунок 4 - Структурная схема измерений ПК в многомодовом режиме радиоколебаний

7.5.7 Обработка результатов измерений

Относительный уровень ПК на i-ой частоте вычисляют по формуле

Pотн = 10lg(PиiK0Kн0)/(PиiKiKнi).                                  (18)

Повторяют измерения по 7.5.3 - 7.5.7 при настройке радиопередатчика на каждую из частот, выбранных для контроля. Испытуемый радиопередатчик соответствует требованиям к уровням побочных радиоколебаний, если выполняются условия

|Pотн| ≥ |N| и Pиi/(KнiKi) ≤ Na                                         (19)

на каждой из обнаруженных частот ПК.

7.6 Измерения в одномодовом режиме радиоколебаний радиопередатчика, согласованного с нагрузкой не во всем диапазоне частот контроля

7.6.1 Структурная схема измерений приведена на рисунке 5.

7.6.2 Для передатчиков с симметричным выходом направленные ответвители встраивают в каждый фидер.

7.6.3 Производят калибровку по 7.2 и проверку достаточности экранирования по 7.3.

7.6.4 Подключают на вход измерительной установки измеритель мощности падающей волны.

7.6.5 Настраивают измерительный приемник на рабочую частоту радиопередатчика и отмечают показания его индикатора.

1 - контролируемый передатчик; 2 - направленный ответвитель; 3, 4 - измеритель мощности соответственно падающей и отраженной волн; 5 - антенна; 6 - экранированная камера (используется при необходимости); 7 - измерительный приемник; 8, 11 - высокочастотные переключатели; 9 - измерительный аттенюатор; 10 - фильтр (используется при необходимости); 12 - измерительный генератор; 13 - генератор сигналов низкочастотный

Рисунок 5 - Структурная схема измерений ПК радиопередатчика, работающего на несимметричную нагрузку, в одномодовом режиме радиоколебаний

7.6.6 Подключают на вход измерительной установки измерительный генератор и, не меняя настройки и усиления измерительного приемника, добиваются тех же показаний индикатора, подавая сигнал от генератора на рабочей частоте радиопередатчика.

7.6.7 Отсчитывают величину сигнала Рпад0 по шкале регулятора выходного уровня генератора.

7.6.8 Повторяют измерения по 7.6.5 - 7.6.7, подключив на вход измерительной установки измеритель мощности отраженной волны и отмечая Ротр0.

7.6.9 Повторяют измерения по 7.6.5 - 7.6.8, последовательно настраивая измерительный приемник на частоты ПК радиопередатчика, производя измерения Рпадi и Ротрi.

7.6.10 Проходящую мощность на частотах измерения определяют в зависимости от градуировки регулятора выходного уровня генератора (по мощности или напряжению) по формулам:

Pпр0 = (Pпад0 - Pотр0)/Kн0;                                               (20)

Pпрi = (Pпадi - Pотрi)/Kнi                                                 (21)

или Pпр0 = (Uпад0 - Uотр0)/RвыхKн0;                                        (22)

Pпрi = (Uпадi - Uотрi)/RвыхKнi.                                         (23)

7.6.11 Обработка результатов измерений

Относительный уровень ПК в фидерном тракте радиоприемника вычисляют по формуле

Pотн = 10lg(Pпрi/Pпр0).                                                           (24)

Испытуемый передатчик соответствует требованиям к уровням побочных радиоколебаний, если выполняются условия

|Pотн| ≥ |N| и PпрiNa                                                    (25)

на каждой из обнаруженных частот ПК.

7.7 Измерения в многомодовом режиме радиоколебаний радиопередатчика, согласованного с нагрузкой не во всем диапазоне частот контроля

7.7.1 Измерение уровня ПК проводят при помощи НОММ, на измерительной секции которого расположены измерители мощности падающей и отраженной волн.

7.7.2 Структурная схема измерения по 7.7.1 аналогична рисунку 5, но вместо направленного ответвителя 2 в фидерный тракт включают НОММ и направленный ответвитель для волны основного типа (если нет таких измерителей мощности в НОММ), ориентированные на падающую и отраженную волны.

7.7.3 Подключают на вход измерительной установки съемник мощности падающей волны основного типа. Настраивают измерительный тракт на одну из частот, выбранных для контроля, и отмечают показание индикатора.

7.7.4 Подключают на вход измерительной установки измерительный генератор и, не меняя настройки и усиления измерительного приемника, добиваются тех же показаний индикатора, подавая сигнал от генератора.

7.7.5 Отсчитывают величину сигнала по шкале регулятора выходного уровня генератора.

7.7.6 Повторяют измерения по 7.7.3 - 7.7.5, подключив на вход измерительной установки измеритель мощности отраженной волны основного типа.

7.7.7 Рассчитывают проходящую мощность Рпр0 на рабочей частоте по формулам (20) - (23).

7.7.8 Подключают на вход измерительной установки j-ый измеритель падающей волны НОММ.

7.7.9 Производят обнаружение ПК в измерителе мощности НОММ, перестраивая измерительный приемник в диапазоне частот контроля, и отмечают показание индикатора приемника. Выключив испытуемый радиопередатчик, устанавливают, что ПК относится к данному радиопередатчику.

7.7.10 Подключают на вход измерительной установки измерительный генератор и, не меняя настройки и усиления приемника, настраивают генератор на частоту приемника. Регулировкой выходного уровня генератора добиваются тех же показаний индикатора приемника.

7.7.11 Определяют величину мощности или напряжения ПК падающей волны по шкале аттенюатора генератора (Рпадij или Uпадij).

7.7.12 Повторяют измерения по 7.7.8 - 7.7.10, подключив на вход измерительной установки j-ый измеритель мощности отраженной волны.

7.7.13 Определяют величину ПК отраженной волны по шкале аттенюатора генератора (Ротрij или Uотрij).

7.7.14 Величину проходящей мощности i-го ПК вычисляют по формуле

                                         (26)

или

                                 (27)

где l - число пар измерителя мощности падающей и отраженной волн НОММ.

7.7.15 Обработка результатов измерений

Относительный уровень ПК в фидерном тракте передатчика вычисляют по формуле (24).

Испытуемый радиопередатчик соответствует требованиям к уровням побочных радиоколебаний, если выполняются условия

|Pотн| ≥ |N| и PпрiNa                                                    (28)

на каждой из обнаруженных частот ПК.

7.8 Измерения уровней побочных радиоколебаний интермодуляционного типа

7.8.1 Измерения уровней интермодуляционных колебаний проводят при работе двух радиопередатчиков: контролируемого и дополнительного.

7.8.2 Структурные схемы измерительных установок приведены на рисунках 6, 7, 8. Схему на рисунке 8 используют в случае, если динамический диапазон по двухсигнальной избирательности измерительного приемника меньше абсолютного значения нормы на побочные радиоколебания радиопередатчика и не может быть увеличен с помощью фильтров.

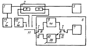
1, 8 - экранированные камеры; 2 - устройство регулируемой связи; 3, 7 - эквивалентные нагрузочные сопротивления; 4 - дополнительный радиопередатчик; 5 - контролируемый радиопередатчик; 6 - направленный ответвитель; 9 - измерительный приемник; 10 - аттенюатор; 11 - фильтр; 12, 14 - генераторы сигналов низкочастотные; 13, 15 - вольтметры переменного тока

Рисунок 6 - Структурная схема измерения мощности ПК интермодуляционного типа при связи между радиопередатчиками по тракту

1 - дополнительный радиопередатчик; 2 - антенна дополнительного радиопередатчика; 3 - антенна контролируемого радиопередатчика; 4 - направленный ответвитель; 5 - контролируемый радиопередатчик; 6, 12 - генераторы сигналов низкочастотные; 7, 13 - вольтметры переменного тока; 8 - экранированная камера; 9 - измерительный приемник; 10 - аттенюатор; 11 - фильтр

Рисунок 7 - Структурная схема измерения мощности ПИ интермодуляционного типа при связи между радиопередатчиками по полю

1, 8 - экранированные камеры; 2 - устройство регулируемой связи; 3, 7 - эквивалентные нагрузочные сопротивления; 4 - дополнительный радиопередатчик; 5 - контролируемый радиопередатчик; 6 - направленный ответвитель; 9 - измерительный приемник; 10 - осциллограф; 11 - квадратичный вольтметр; 12 - аттенюатор; 13 - фильтр; 14 - согласующее устройство с ослаблением 6 дБ; 15 - измерительный генератор; 16, 18 - генераторы сигналов низкочастотные; 17, 19 - вольтметры переменного тока

Рисунок 8 - Структурная схема измерения мощности ПК интермодуляционного типа при связи между радиопередатчиками по тракту с использованием метода сравнения

7.8.3 Устанавливают одну из рабочих частот контролируемого радиопередатчика f0, выбранную для измерений. Частоту дополнительного радиопередатчика fд устанавливают с расстройкой Δf = f0 - fl (когда fl < f0). Величина расстройки должна быть 0,1f0 для радиопередатчиков, работающих в полосе частот до 1000 МГц и 0,025f0 для радиопередатчиков, работающих на частотах выше 1000 МГц.

7.8.4 Устанавливают полосу пропускания измерительного приемного устройства Вп, исходя из условия Вн Вп 0,1Δf и настраивают его на частоту f0.

7.8.5 Определяют частоты интермодуляционных радиоколебаний (радиоизлучений) третьего порядка, создаваемых двумя радиопередатчиками, по формулам:

f1, 3 = 2f0 - fд; f2, 3 = 2fд - f0.                                            (29)

Частоты f0, fд, f1, 3 и f2, 3 не должны совпадать с частотами побочных каналов приема измерительного приемника.

7.8.6 Производят калибровку по 7.2 и проверку достаточности экранирования регистрирующей части измерительной установки по 7.3.

7.8.7 Включают контролируемый передатчик. С помощью аттенюатора 10 на рисунках 6 и 7 или 12 на рисунке 8 устанавливают уровень сигнала на входе измерительного приемника в пределах

10lgPвп ≥ 10lgPи0 N + 10lgPнп + 5.                                   (30)

Фиксируют показания индикатора приемника Pи0 (Uи0).

7.8.8 Выключают контролируемый радиопередатчик, включают дополнительный радиопередатчик, настраивают измерительный приемник на частоту fд и изменением связи между передатчиками с помощью устройства регулируемой связи 2 (рисунок 6 или 8) или изменением взаимного положения антенн 2, 3 (рисунок 7) устанавливают на индикаторе измерительного приемника уровень сигнала на 15 дБ ниже контролируемого радиопередатчика, работающего на ненаправленную антенну, или на 40 дБ для радиопередатчика, работающего на направленную антенну.

7.8.9 Настраивают измерительный приемник на одну из рассчитанных в 7.8.5 частот и при включенных обоих радиопередатчиках при измерениях по схемам рисунков 6 и 7 фиксируют показания индикатора измерительного приемника Риз (Uиз). При измерениях по схеме, приведенной на рисунке 8, фиксируют показания вольтметра 11.

7.8.10 Чтобы установить, что измеряемый сигнал является интермодуляционным радиоколебанием, необходимо убедиться, что показания измерительного приемника исчезают при выключении каждого радиопередатчика. После такой проверки при работе обоих радиопередатчиков аттенюатором 10 (рисунки 6 и 7) или 12 (рисунок 8) вводят дополнительное затухание 3 дБ. Показания измерительного приемника должны уменьшиться на 3 дБ. В противном случае наблюдаемый сигнал не является интермодуляционным радиоколебанием (радиоизлучением).

7.8.11 При измерениях по схеме рисунка 8, не выключая обоих радиопередатчиков, включают генератор 15 и, установив на генераторе достаточный уровень сигнала, настраивают его на частоту измеряемого интермодуляционного радиоколебания. Совпадение частот генератора и интермодуляционного радиоколебания радиопередатчика определяют по возрастанию показаний выходного индикатора измерительного приемника или по «нулевым биениям» на осциллографе 10. Уровень сигнала генератора 15 устанавливают так, чтобы показание вольтметра 11 увеличилось на 3 дБ по сравнению с зафиксированным на этой частоте по 7.8.9.

Производят отсчет установленного уровня интермодуляционных радиоколебаний третьего порядка по выходному аттенюатору генератора Рг.из (Uг.из).

7.8.12 Повторяют измерения по 7.8.9 - 7.8.11 при настройке измерительного приемника 9 (рисунки 6 и 7) или измерительного приемника 9 и генератора 15 (рисунок 8) на вторую частоту интермодуляционного радиоколебания (радиоизлучения), рассчитанную по 7.8.5.

7.8.13 Повторяют измерения по 7.8.3 - 7.8.6, 7.8.8 - 7.8.12 при расстройке дополнительного радиопередатчика Δf когда fд > f0.

7.8.14 Обработка результатов измерений

Относительные уровни интермодуляционных радиоколебаний в фидерном тракте контролируемого радиопередатчика рассчитывают по формулам:

- при измерениях по схемам, приведенным на рисунках 6 и 7:

Pотн = 10lg(PизKн0K0/Pи0KнiKi),                                    (31)

или

                                  (32)

- при измерении по схеме, приведенной на рисунке 8:

Pотн = 10lg(Pг.изKн0K0/Pи0Kнi),                                      (33)

или

                          (34)

для обеих расстроек дополнительного радиопередатчика (fд > f0 и fд < f0).

При контроле радиопередатчиков, работающих в импульсном режиме, в случае необходимости результаты измерений могут быть пересчитаны в соответствии с приложением Б.

Контролируемый радиопередатчик соответствует норме при измерениях по схемам, приведенным на рисунках 6 и 7, если выполняют условия:

|Pотн| ≥ |N| и Pиз/KнiKiNa                                            (35)

или

U2из/RвхKнiKiNa,                                                        (36)

а по схеме рисунка 8 - условия:

|Pотн| ≥ |N| и Pг.из100,6/KнiNa                                       (37)

или

U2из100,6/RвыхKнiNa                                                    (38)

на частотах интермодуляционного радиоколебания третьего порядка.

7.8.15 Повторяют измерения по 7.8.3 - 7.8.14 при настройке контролируемого радиопередатчика на каждую из частот, выбранных для контроля.

7.9 Измерения уровней побочных радиоизлучений по полю

7.9.1 Минимальное расстояние между антеннами испытуемого радиопередатчика и измерительной установки должно соответствовать дальней зоне этих антенн. Его определяют одним из следующих уравнений:

r1min = 2D2/λ0,i,                                                              (39)

если Da < 0,4Dиа или Dиа < 0,4Da,

где D - максимальный размер раскрыва наибольшей из антенн,

или

r2min = 5DaDиа0,i, если DaDиа.                                        (40)

Для слабо направленных антенн минимальное расстояние между ними должно соответствовать условию

rmin ≥ λ0,i.                                                              (41)

7.9.2 Высота подъема измерительной антенны по возможности должна быть равна высоте фазового центра антенны контролируемого радиопередатчика (с учетом места размещения радиопередатчика).

7.9.3 Собирают измерительную установку в соответствии со структурной схемой рисунка 9.

7.9.4 Определяют на одной из рабочих частот максимум диаграммы направленности антенны испытуемого радиопередатчика либо ее вращением, либо перемещением измерительной установки вокруг испытуемого радиопередатчика.

1 - контролируемый радиопередатчик; 2 - антенна испытуемого радиопередатчика; 3 - измерительная антенна; 4 - высокочастотный переключатель; 5 - аттенюатор; 6 - экранированная камера; 7 - измерительный приемник; 8 - фильтр; 9 - генератор сигналов низкочастотный

Рисунок 9 - Структурная схема измерения мощности радиоизлучений радиопередающих устройств по полю

7.9.5 Производят калибровку до 7.2 и проверку достаточности экранирования измерительной установки по 7.3.

7.9.6 Включают радиопередатчик на одной из рабочих частот, выбранных для контроля.

7.9.7 Устанавливают полосу пропускания измерительного приемника в соответствии с 7.1.5.

7.9.8 Перестраивают измерительный приемник в диапазоне частот контроля, фиксируют частоты ПИ.

7.9.9 Устанавливают вертикальную поляризацию измерительной антенны.

7.9.10 Измеряют мощность Pви0 (напряжение Uви0)* на входе измерительного приемника и заносят результаты измерения в протокол.

7.9.11 Устанавливают горизонтальную поляризацию измерительной антенны.

7.9.12 Измеряют мощность Pги0* (напряжение Uги0) на входе измерительного приемника и заносят результаты измерений в протокол.

* Индексы «в» и «г» указывают, что измерения произведены при вертикальной или горизонтальной поляризации измерительной антенны

7.9.13 Повторяют измерения по 7.9.9 - 7.9.12 для каждой из зафиксированных по 7.9.8 частот ПИ, измеряя и отмечая в протоколе Pвиi (Uвиi), Pгиi (Uгиi).

7.9.14 Рассчитывают измеренные значения мощности (напряжения) на входе измерительного приемника по формулам:

Pи0 = Pви0 + Pги0; Pиi = Pвиi + Pгиi,                                         (42)

U2и0 = (Uви0)2 + (Uги0)2;                                                 (43)

U2иi = (Uвиi)2 + (Uгиi)2.                                                  (44)

7.9.15 Обработка результатов измерений

Значение относительного уровня ПИ для каждой из частот, на которых производились измерения, рассчитывают по одной из формул:

Ротн = 10lg(РиiS0K0/РиiSiKi),                                         (45)

или

Ротн = 10lg(U2иiS0K0/U2иiSiKi).                                      (46)

Для сравнения результатов измерений ПИ в поле электромагнитных волн с требованиями к уровням побочных радиоколебаний измеренные относительные уровни ПИ корректируют на величину

10lg(G0/Gi).                                                         (47)

Испытуемый радиопередатчик соответствует требованиям к уровням побочных радиоколебаний, если выполняются условия:

|Pотн + 10lg(G0/Gi)| ≥ |N| и                                                (48)

(4пг2Pиi)/(GiSiKi) Na                                                   (49)

или

(4пг2U2иi)/(RвхGiSiKi) ≤ Na.                                            (50)

на каждой из обнаруженных частот ПИ.

7.9.16 Повторяют измерения по 7.9.6 - 7.9.15 при настройке радиопередатчика на каждую из частот, выбранных для контроля.

ПРИЛОЖЕНИЕ А

(справочное)

РЕКОМЕНДУЕМЫЕ РЕЖИМЫ РАБОТЫ РАДИОПЕРЕДАТЧИКОВ ПРИ ИЗМЕРЕНИИ ПОБОЧНЫХ РАДИОКОЛЕБАНИЙ (РАДИОИЗЛУЧЕНИЙ)

Таблица А.1

Тип модуляции

Тип передачи и ее характеристика

Обозначение класса радиоизлучения

Режим работы радиопередатчика при контроле

Амплитудная модуляция (манипуляция)

Телеграфирование посредством амплитудной манипуляции:

 

 

без использования модулирующей звуковой частоты

А1А

А1В

Непрерывное излучение при максимальной мощности (без модуляции)

с использованием модулирующей звуковой частоты

А2А

Непрерывное излучение при максимальной мощности без модулирующей звуковой частоты

А2В

Однополосное телеграфирование с полной несущей

Н2А

Излучение одной боковой полосы и несущей

Телефония:

 

 

две боковые полосы

А3Е

Излучение несущей при максимальной мощности (без модуляции)

Одна боковая полоса с полной несущей

Н3Е

То же

Одна боковая полоса, несущая подавлена

J3E

Излучение одной боковой полосы. Передатчик модулируется одновременно двумя тонами при уровне каждого тона, равном 50 % значения, соответствующего максимальной пиковой мощности огибающей.

Рекомендуется использовать модулирующие частоты 400 и 700 Гц

Одна боковая полоса, несущая ослаблена

R3E

То же

Две независимые боковые полосы

В8Е

"

Амплитудная модуляция (манипуляция)

Факсимиле:

 

 

одна боковая полоса, несущая ослаблена

R3C

Излучение одной боковой полосы в режиме передачи изображения (черного - при негативной модуляции, белого - при позитивной модуляции) при максимальной пиковой мощности огибающей

Телевидение (только изображение), частично подавлена боковая полоса

G3F

Излучение несущей при уровне мощности, соответствующем уровню черного поля

Многоканальная тональная телеграфия. Одна боковая полоса с ослабленной несущей

R7B

Излучение одной боковой полосы, модулированной в одном из каналов одновременно двумя тонами, при уровне каждого тона, равном 50 % значения, соответствующего максимальной пиковой мощности огибающей

Случаи, не предусмотренные выше, например, комбинированная передача телефонии и телеграфии; две независимые боковые полосы

ВХХ

Излучение двух боковых полос, каждая из которых модулирована одним тоном с уровнем, равным 50 % значения, соответствующего максимальной пиковой мощности огибающей. Рекомендуется использовать модулирующие частоты 400 и 700 Гц

Частотная модуляция (манипуляция)

Телеграфирование одноканальное без исправления ошибок

F1B

Излучение одной из двух частот при максимальной мощности

Двойное частотное телеграфирование

F7B

Излучение одной из четырех частот при максимальной мощности

Коммерческая телефония, радиовещание, звуковое сопровождение телевидения

F3E

Излучение несущей при максимальной мощности (без модуляции)

Факсимиле при помощи непосредственной модуляции несущей

F1C

Излучение несущей при максимальной мощности (без модуляции)

Широкополосный сигнал с частотной манипуляцией поднесущих

F9W

Излучение всех поднесущих с одинаковым уровнем при максимальной мощности

Фазовая модуляция (манипуляция)

Непрерывная фазоманипулированная несущая

G1B

Излучение несущей при максимальной мощности (без модуляции)

Широкополосный сигнал с относительной фазовой манипуляцией поднесущих

G9W

Излучение всех поднесущих с одинаковым уровнем при максимальной суммарной мощности (без модуляции)

Импульсная модуляция

Импульсная несущая без модуляции (серия импульсов и импульсно-кодовая модуляция)

P0N

Непрерывное излучение серии импульсов при максимальной пиковой мощности огибающей (без модуляции)

Телеграфирование посредством амплитудной модуляции импульсной несущей без модуляции звуковой частотой

К1В

То же

Телеграфирование посредством амплитудной манипуляции одной или нескольких модулирующих звуковых частот или посредством амплитудной манипуляции модулированной импульсной несущей:

 

 

модуляция импульсов по амплитуде

К2В

Непрерывное излучение серии импульсов при максимальной пиковой мощности огибающей (без модуляции)

модуляция импульсов по ширине

L2B

То же

модуляция импульсов по фазе

М2В

-"-

Телефония:

 

-"-

модуляция импульсов по амплитуде

К3Е

-"-

модуляция импульсов по ширине (или длительности)

L3E

-"-

модуляция импульсов по фазе (или по положению)

М3Е

-"-

кодово-импульсная модуляция (после амплитудно-импульсной модуляции и отбора импульсных посылок)

G3E

Непрерывное излучение серии импульсов при максимальной пиковой мощности огибающей (без модуляции)

Случаи, не предусмотренные выше, в которых несущая модулируется импульсами

Х3Е

То же

ПРИЛОЖЕНИЕ Б

(рекомендуемое)

СПОСОБ ПЕРЕСЧЕТА РЕЗУЛЬТАТОВ ИЗМЕРЕНИЙ ПОБОЧНЫХ РАДИОКОЛЕБАНИЙ (РАДИОИЗЛУЧЕНИЙ) ПРИ ИМПУЛЬСНОЙ МОДУЛЯЦИИ

Мощность на входе измерительного приемника в полосе Вп (7.1.5) при измерениях приемником с полосой В1п определяют по формуле

Pи0(i) = qP1и0(i)(Bп/Blп),                                               (Б.1)

где P1и0(i) - измеренное значение мощности на входе измерительного приемника при полосе пропускания Blп, Вт;

q - коэффициент пересчета (для большинства встречающихся на практике случаев q = 1).

В случае необходимости q определяют с использованием огибающей спектра сигнала, полученного на экране анализатора спектра (рисунок Б.1)

q = 10MΔα                                                            (Б.2)

где Δα = 10 log (Q/Q1);

Q, Q1 - средние значения уровней спектра в полосах пропускания Bп, Blп соответственно (рисунок Б.1);

М = 0,1 - в режиме квадратичного детектирования;

М = 0,2 - в режиме линейного детектирования.

Динамический диапазон одновременно наблюдаемых составляющих спектра должен составлять 17 - 20 дБ.

Рисунок Б.1 - Изображение огибающей линейчатого спектра контролируемого импульсного сигнала на экране анализатора спектра

ПРИЛОЖЕНИЕ В

(рекомендуемое)

ПЕРЕЧЕНЬ РЕКОМЕНДУЕМЫХ СРЕДСТВ ИЗМЕРЕНИЯ ПОБОЧНЫХ РАДИОКОЛЕБАНИЙ (РАДИОИЗЛУЧЕНИЙ) РАДИОПЕРЕДАЮЩИХ УСТРОЙСТВ

Таблица В.1 - Измерительные приемники и селективные микровольтметры

Тип прибора

Диапазон частот

Пределы измерения мощности (напряжения)

Полоса пропускания, МГц

Погрешность измерения уровня

Экранировка, дБ

Вид детектирования

П5-34

8,24 - 12,05 ГГц

3´10-12 - 10-4 Вт

5 + 1;

1 + 0,2

2,5 дБ

30

Квадратичный пиковый

П5-13

12 - 16,7 ГГц

3´10-13 - 10-6 Вт

10

2,0 дБ

20

То же

П5-14А

16,6 - 25,8 ГГц

10-12 - 10-6 Вт

10

1,8 дБ

25

«

В6-9

20 Гц - 200 кГц

1 мкВ - 1 В

 

15 %

 

-

В6-10

0,1 - 30 МГц

1 мкВ - 1 В

1; 9 кГц; делитель напряжения 1:100

15 %

 

-

Таблица В.2 - Зарубежные селективные микровольтметры

Тип прибора

Диапазон частот, МГц

Диапазон измерения напряжения

Минимальное измеряемое напряжение

Погрешность измерения, дБ

Ширина полосы, кГц

Экранирование, дБ

Ослабление ПКП, дБ

SMV-11

0,01 - 30

0,3 мкВ - 0,6 В при полосе 9 кГц

0,3 мкВ

1,5

0,2; 1,7; 9,0

80 на частоте 150 кГц

130 на частотах более 150 кГц

70

SMV-6,2

0,1 - 30

0,4 мкВ - 4 В

0,07 мкВ

1,0

9 (на уровне 6 дБ)

0,2; 1,0; 3,0 (на уровне 3 дБ)

60

60

SMV-8,5

30 - 1000

1 мкВ - 0,6 В

0,3 мкВ

0,8

20 и 120

60

60

Таблица В.3 - Анализаторы спектра

Тип прибора

Диапазон частот

Полоса обзора

Полоса пропускания на уровне 3 дБ

Чувствительность в полосе пропускания 1 кГц

Погрешность измерения уровней, %

Динамический диапазон, дБ

Экранирование, дБ

Ослабление ПКП, дБ

СК4-58

0,4 - 600 кГц

0,2 - 200 кГц

100, 300, 1000, 3000 Гц

0,14 мкВ (в полосе 100 Гц Rвх = 600 Ом)

5

70

-

70

СК4-59

0,01 - 110 МГц

5 кГц

0,1; 1; 3; 10, 300 кГц

10-14 Вт/кГц

5

70

60

70

С4-60/1

10 МГц - 1,5 ГГц

50 кГц - 1000 МГц

1, 3, 10, 30, 100, 300 кГц

10-12 - 10-10 Вт/кГц

6

60

-

60

С4-60/2

1,5 - 39,6 ГГц

50 кГц - 2 ГГц

1, 3, 10, 30, 100, 300 кГц

10-12 - 10-10 Вт/кГц

6

50

-

60

СК4-85

30 Гц - 110 МГц

0 - 110 МГц

3,16 Гц - 316 кГц

 

 

По искажениям: 85 - 100 дБ

 

 

С4-85

100 Гц - 39,6 ГГц

0; 500 Гц - 20 ГГц

10 - 3 · 106 Гц

 

1 дБ

По искажениям: (60 - 80) дБ

 

 

Таблица В.4 - Аттенюаторы

Тип

Диапазон частот, ГГц

Ослабление, дБ

Погрешность, дБ

Д2-22

0 - 1,5

1 - 109

1

Д2-13

0,5 - 3,0

9 - 40

+0,5

Д2-19

0 - 30

10 - 70

0,8 - 0,01А

Д2-20

0 - 30

15 - 115

0,8 - 0,01А

Д3-28А

3,93 - 5,65

0 - 60

+0,3,

Д3-29А

2,58 - 3,9

 

 

Д3-27А

5,65 - 8,25

 

где - А величина ослабления, установленная по шкале аттенюатора

Д3-33А

8,24 - 12,05

 

Д3-34А

12,05 - 17,44

 

Д5-35А

17,44 - 25,86

 

Д5-36А

25,86 - 37,5

 

Таблица В.5 - Измерительные антенны

Тип антенны

Диапазон частот, ГГц

Эффективная площадь, см2

Погрешность аттестации, %

Примечание

П6-33

0,1 - 1

Не менее 350

25

 

П6-23А

1 - 12

Не менее 150

20

 

 

8

Не менее 50

 

Входит в комплект измерителя плотности потока мощности П3-9

Таблица В.6 - Ферритовые полосовые и режекторные фильтры

Тип фильтра

Диапазон частот, ГГц

Полоса пропускания на уровне 3 дБ, МГц

Затухание вне полосы пропускания, дБ

КСВН, дБ, не более

ФП-01

6,85 - 9,93

15

50

2,5

ФП-02

8,24 - 12,05

15

40 - 50

2,5

ФП-03

12,05 - 17,44

25

40

2,5

ФП-04

17,44 - 25,86

40 - 45

45

2,5

ФП-02М

8,24 - 12,05

20 - 25

43 - 55

2,5

РФ1-РФ4

0,093 - 1,05

_

30

3,0

ФП-03М

12,05 - 17,44

20 - 25

43 - 55

2,5

ФКИН4-6А

0,003 - 0,005

1,1

45

2,0

ФКИН4-6

0,005 - 0,009

2,0

45

2,0

ФКИН4-5

0,009 - 0,0017

3,5

45

2,0

ФКИН4-4

0,0017 - 0,030

4,5

45

2,0

ФКИН2-2

1,5 - 9

20 - 50

40

 

ФКИН2-2

1,0 - 18

20 - 50

45

 

Таблица В.7 - Генераторы сигналов

Тип прибора

Диапазон частот

Дискретность установки частоты в полосе частот

Погрешность установки частоты

Стабильность частоты

Г3-27

10 Гц - 10 МГц

0,001 Гц       (10 Гц - 100 кГц)

0,01 Гц         (100 кГц - 1 МГц)

0,1 Гц            (1 - 10 МГц)

+10-5fn

+10-6 за 15 мин

Г3-119

20 Гц - 20 МГц

                       0,001 - 0,01 Гц

+3´10-7

10-8

Г4-174

17,44 - 25,95 ГГц

                                    1 МГц

+10-4

5´10-5

Г4-175

25,95 - 37,5 ГГц

                                    1 МГц

+10-4

5´10-6

Г4-187

1,07 - 17,85 ГГц

 

5´10-7

1´10-7

Г4-190

1,07 - 17,85 ГГц

 

5´10-7

1´10-7

Г4-158А

0,01 - 130 МГц

0,001 кГц     (10 - 100 кГц)

0,01 кГц       (100 - 1000 кГц)

0,1 кГц          (1 - 16 МГц)

1 кГц             (16 - 130 МГц)

10-5

5´10-6

Г4-191

0,1 - 70 МГц

                       10 Гц

10-7

 

Г4-192

0,01 - 1300 МГц

                       0,1 Гц

1,5´10-7fn

 

Г7-2

200 Гц - 81 МГц

                       0,001 Гц

+10-7

10-8 за 24 ч

Таблицa B.8 - Высокочастотные переключатели

Тип прибора

Диапазон частот, ГГц

Потери, дБ

Высокочастотный тракт

Волновое сопротивление, Ом

КСВН

П5Г-2В

0,0015 - 0,5

 

 

75

 

П4Г-2В

0,030 - 0,6

 

 

50

 

Э3-13 (Э3-14)

0 - 5,8

0,1

 

50

1,15

Э3-5А

5,55 - 8,34

0,2

35/15 мм

 

1,1

ПДК-1-1-75Р

0 - 3

0,1

 

75

1,2

Э3-10/2

6,84 - 10

0,1

28,5/12,6 мм

 

1,06

Э3-11/2

8,24 - 12,05

0,1

23/10 мм

 

1,06

Э3-3А

11,55 - 17,15

0,2

17/8 мм

 

1,1

Э3-2А

17,15 - 25,9

0,2

11/5,5 мм

 

1,15

Э3-1А

25,9 - 39

0,2

7,2/3,4 мм

 

1,2

ПРИЛОЖЕНИЕ Г

(рекомендуемое)

ПРОТОКОЛ
ИЗМЕРЕНИЙ ПОБОЧНЫХ РАДИОКОЛЕБАНИЙ (РАДИОИЗЛУЧЕНИЙ) РАДИОПЕРЕДАТЧИКОВ

1 Тип радиопередатчика.

2 Характеристика измерительной установки (структурная схема, состав аппаратуры, тип дополнительного радиопередатчика*).

3 Рабочие частоты настройки радиопередатчика (радиопередатчиков*), выбранные для контроля (f0, fд), МГц.

* В случае контроля уровней ПК интермодуляционного типа.

4 Мощность радиопередатчика (P0), Вт.

5 Норма (N), дБ.

6 Результаты измерений и данные калибровки на рабочих частотах радиопередатчика f0 заносят в таблицу:

№ п/п

Рабочие частоты радиопередатчика f0, МГц

Мощность (напряжение) основного излучения на входе измерительного приемника Ри0 (Uи0), Вт (В)

Коэффициент передачи мощности ВЧ тракта K0

Коэффициент передачи мощности направленного ответвителя Kн0

Эффективная площадь измерительной, антенны S0, см2

падающей волны

отраженной волны

 

 

 

 

 

 

 

7 Результаты измерений и расчетов на частотах ПИ заносят в таблицу:

№ п/п

Рабочие частоты радиопередатчика f0, МГц

Частота обнаруженного побочного излучения fi, МГц

Мощность (напряжение) ПИ на входе измерительного приемника Риi (Uиi), Вт (В)

Коэффициент передачи мощности ВЧ тракта Ki

Коэффициент передачи мощности направленного ответвителя Kнi

Эффективная площадь измерительной антенны Si, см2

падающей волны

отраженной волны

 

 

 

 

 

 

 

 

8 Заключение о выполнении (или невыполнении) норм.

9 Дата контроля.

10 Контроль проводил                                                                      (подписи)

ПРИЛОЖЕНИЕ Д

(рекомендуемое)

ПРИБЛИЖЕННЫЙ МЕТОД ОЦЕНКИ ПОБОЧНЫХ РАДИОИЗЛУЧЕНИЙ РАДИОПЕРЕДАТЧИКОВ ФИКСИРОВАННОЙ СЛУЖБЫ ДЕКАМЕТРОВЫХ ВОЛН ПО ДОПУСТИМОМУ ЗНАЧЕНИЮ ЭКВИВАЛЕНТНОЙ НАПРЯЖЕННОСТИ ПОЛЯ

Д.1 Общие положения

Д.1.1 При контроле по электромагнитному полю уровни радиопомех в диапазоне частот контроля должны быть на 10 дБ меньше значения контролируемого уровня побочных радиоизлучений.

Д.1.2 Уровни ПИ могут быть оценены по величине эквивалентной напряженности поля, допустимые значения которой E1 приведены в таблице Д.1. Превышение этих значений не является основанием для установления несоответствия радиопередатчика требованиям к уровням побочных радиоизлучений, приведенным в разделе 5 настоящего стандарта. При превышении этих допустимых значений радиопередатчик проверяют на соответствие нормам по методике, изложенной в разделе 7 настоящего стандарта. Значение E1 определяют в зависимости от мощности радиопередатчика на рабочей частоте и требований к уровням побочных радиоизлучений.

Таблица Д.1

Мощность радиопередатчика на рабочей частоте, кВт

Требования к уровням мощности ПИ

Допустимая эквивалентная напряженность поля E1

Менее 0,5

-40 дБ

0,01E*

0,5 - 50

50 мВт

0,2E

Более 50

-60 дБ

0,001E

*E - максимальное значение вертикальной составляющей напряженности поля; соответствующее мощности ПК в 1 Вт на входе фидера на расстоянии 5 км от антенны, мкВ/м

Значение E со второй по пятую гармоники рабочей частоты приведены в таблице Д.2

Таблица Д.2

Номер гармоники

Значения напряженности поля Е, мкВ/м, для антенн типов

ВГДШ*

РГД**

СГД 8/16 РА***, СГД 8/8 РА

СГД 4/8 РА, СГД 4/4 РА

СГД 2/4 РА, СГД 1/4 РА, СГД 1/2 РА

2

140

330

210

130

70

3

45

400

440

245

130

4

65

550

370

220

110

5

55

600

240

150

75

* ВГДШ - вибратор горизонтальный диапазонный шунтовой;

** РГД - ромбическая горизонтальная двойная;

*** СГДРА - синфазная горизонтальная диапазонная антенна с рефлектором апериодическим

Таблица Д.3

Вид почвы

Значения напряженности поля Е, мкВ/м, для антенн типов

ВГДШ

РГД

СГДРА

СГД 8/16 РА

СГД 8/8 РА

СГД 4/8 РА

СГД 4/4 РА

СГД 2/4 РА

СГД 1/4 РА

СГД 1/2 РА

Влажная почва:

ε* = 20, σ**= 10-1 См/м

75

350

320

370

205

160

120

110

85

60

50

40

Почва средней влажности: ε = 8, σ = 10-2 См/м

30

85

100

95

110

55

40

30

27

20

20

15

Сухая почва: ε = 3, σ = 10-3 См/м

10

65

110

80

130

60

45

38

30

20

20

15

* ε - относительная диэлектрическая проницаемость;

** σ - удельная электрическая проводимость почвы

а - ВГДШ; б - СГДРА; в - РГД

Рисунок Д.1 - Расположение секторов наибольшего значения вертикальной составляющей напряженности поля антенн разных типов

Значения E для частот ПИ, отличающихся от рабочей частоты не более чем на 10 %, приведены в таблице Д.3.

Оценку уровней ПИ осуществляют путем измерения вертикальной составляющей напряженности поля Е в секторах ее наибольших значений.

Расположение секторов и их углы для антенн типа ВГДШ, СГДРА, РГД указаны на рисунке Д.1. Буква А обозначает центры антенн.

Антенно-фидерную систему, а также тот сектор измерения, в котором находится меньше местных предметов, наносят на карту района расположения радиостанции. Масштаб карты должен быть 25000:1.

Измерения проводят на расстоянии от трех до десяти километров от антенны. Точки измерения с учетом местных условий располагают равномерно по дуге. Их число должно быть:

- для антенны ВГДШ - 5;

- для антенны СГДРА - 5;

- для антенны РГД - 10.

Результаты измерений приводят к одному расстоянию R = 5000 м по формуле

E2 = Eиimax(r/5000)2,                                                      (Д.1)

где E2 - приведенное значение напряженности поля, мкВ/м.

Д.2 Порядок проведения измерений

Д.2.1 Собирают измерительную установку в соответствии со структурной схемой, приведенной на рисунке Д.2.

Д.2.2 Устанавливают вертикальную поляризацию измерительной антенны.

Д.2.3 Проверяют достаточность экранирования измерительной установки в соответствии с 6.3.

Д.2.4 Проводят обнаружение основного и побочных радиоизлучений в диапазоне частот контроля, фиксируя частоты приема сигналов.

Д.2.5 Отсчитывают по прибору измерителя напряженность поля E3 для всех частот ПИ.

1 - контролируемый радиопередатчик; 2 - антенно-фидерная система; 3 - измерительная антенна; 4 - фильтр; 5 - измеритель напряженности поля; 6 - экранированная камера (используется при необходимости)

Рисунок Д.2 - Структурная схема измерений напряженности поля радиопередатчиков фиксированной службы декаметровых волн

Д.2.6 Значения напряженности поля ПИ, с учетом потерь в фильтре, вычисляют по формуле

Еиi = KфE3                                                                (Д.2)

Д.2.7 Испытуемый радиопередатчик соответствует норме, если максимальное значение напряженности поля ПИ Е2, вычисленное по формуле Д.1, не превышает значения Е1, приведенного в таблице Д.1.

Д.2.8 В случае, когда частота ПИ не может быть отделена фильтром от основной частоты радиопередатчика, измерение напряженности поля проводят методом замещения по структурной схеме, приведенной на рисунке Д.3.

Д.2.9 Проверяют достаточность экранирования измерительной установки в соответствии с 6.3.

Д.2.10 Устанавливают коаксиальный переключатель в положение I и настраивают измерительный приемник на частоту ПИ.

Д.2.11 Аттенюатор устанавливают в положение, при котором показание индикатора измерительного приемника в полтора-два раза превышает уровень собственных шумов; показание индикатора фиксируют.

Д.2.12 Коаксиальный переключатель устанавливают в положение II и на вход приемника подают сигнал от измерительного генератора, при котором на индикаторе измерительного приемника установится уровень, равный зафиксированному на этой частоте по 2.11.

1 - контролируемый радиопередатчик; 2 - антенно-фидерная система; 3 - измерительная антенна; 4 - коаксиальный переключатель; 5 - аттенюатор; 6 - измерительный приемник; 7 - экранированная камера (используется при необходимости); 8 - измерительный генератор

Рисунок Д.3 - Структурная схема измерений напряженности поля ПИ на частотах, отличающихся от основной частоты не более чем на 10 %

Д.2.13 Вычисляют значение напряженности поля по формуле

Еиi = 2U/lд,                                                                    (Д.3)

где U - напряжение, отсчитываемое по шкале регулятора выходного уровня измерительного генератора, мкВ;

lд - действующая длина измерительной антенны, м.

Д.2.14 Контролируемый радиопередатчик соответствует норме, если приведенное значение напряженности поля ПИ Е2 (Д.1) не превышает значения Е1.

ПРИЛОЖЕНИЕ Е

(справочное)

БИБЛИОГРАФИЯ

[1] Регламент радиосвязи, том 2, 1990 г.

[2] Рекомендация 329-6, МСЭ-Р, том 1, 1990 г.

[3] Общесоюзные нормы на побочные радиоизлучения радиопередающих устройств гражданского назначения (Нормы 18-85), ГКРЧ России

 

Ключевые слова: совместимость радиоэлектронных средств электромагнитная; устройства радиопередающие; побочные радиоизлучения (радиоколебания); требования; методы измерения и контроля