Меню
Навигация
Бесплатное обучение
Novatika
Первая линия

Электроустановки низковольтные. Часть 4-41. Требования для обеспечения безопасности. Защита от поражения электрическим током

Стандарт устанавливает основополагающие требования к защите от поражения электрическим током людей и животных, включающей в себя основную защиту и защиту при повреждении, координацию этих требований в соответствии с внешними воздействиями и требования к применению дополнительной защиты в определенных случаях.

Обозначение: ГОСТ Р 50571.3-2009
Название рус.: Электроустановки низковольтные. Часть 4-41. Требования для обеспечения безопасности. Защита от поражения электрическим током
Статус: действует
Заменяет собой: ГОСТ 30331.3-95 «Электроустановки зданий. Часть 4. Требования по обеспечению безопасности. Защита от поражения электрическим током» ГОСТ 30331.8-95 «Электроустановки зданий. Часть 4. Требования по обеспечению безопасности. Общие требования по применению мер защиты для обеспечения безопасности. Требования по применению мер защиты от поражения электрическим током» ГОСТ Р 50571.3-94 «Электроустановки зданий. Часть 4. Требования по обеспечению безопасности. Защита от поражения электрическим током» ГОСТ Р 50571.8-94 «Электроустановки зданий. Часть 4. Требования по обеспечению безопасности. Общие требования по применению мер защиты для обеспечения безопасности. Требования по применению мер защиты от поражения электрическим током»
Дата актуализации текста: 05.05.2017
Дата добавления в базу: 01.09.2013
Дата введения в действие: 01.01.2011
Утвержден: 10.12.2009 Федеральное агентство по техническому регулированию и метрологии (672-ст)
Опубликован: Стандартинформ (2011 г. ) Стандартинформ (2012 г. )
Ссылки для скачивания:

ФЕДЕРАЛЬНОЕ АГЕНТСТВО
ПО ТЕХНИЧЕСКОМУ РЕГУЛИРОВАНИЮ И МЕТРОЛОГИИ

НАЦИОНАЛЬНЫЙ
СТАНДАРТ
РОССИЙСКОЙ
ФЕДЕРАЦИИ

ГОСТ Р
50571.3-2009

(МЭК 60364-4-41:2005)

ЭЛЕКТРОУСТАНОВКИ НИЗКОВОЛЬТНЫЕ

Часть 4-41

Требования для обеспечения безопасности.
Защита от поражения электрическим током

IEC 60364-4-41:2005
Low-voltage electrical installations - Part 4-41:
Protection for safety - Protection against electric shock
(IDT)

Москва

Стандартинформ

2012

Предисловие

Цели и принципы стандартизации в Российской Федерации установлены Федеральным законом от 27 декабря 2002 г. № 184-ФЗ «О техническом регулировании», а правила применения национальных стандартов Российской Федерации» - ГОСТ Р 1.0-2004 «Стандартизация в Российской Федерации. Основные положения»

Сведения о стандарте

1 ПОДГОТОВЛЕН Федеральным государственным унитарным предприятием «Всероссийский научно-исследовательский институт стандартизации и сертификации в машиностроении» (ВНИИНМАШ) на основе собственного аутентичного перевода стандарта, указанного в пункте 4

2 ВНЕСЕН Техническим комитетом по стандартизации ТК 337 «Электроустановки зданий»

3 УТВЕРЖДЕН И ВВЕДЕН В ДЕЙСТВИЕ Приказом Федерального агентства по техническому регулированию и метрологии от 10 декабря 2009 г. № 672-ст

4 Настоящий стандарт является идентичным по отношению к международному стандарту МЭК 60364-4-41:2005 «Низковольтные электроустановки. Часть 4-41. Требования для обеспечения безопасности. Защита от поражения электрическим током» (IEC 60364-4-41:2005 «Low-voltage electrical installations - Part 4-41: Protection for safety - Protection against electric shock»)

5 ВЗАМЕН ГОСТ Р 50571.3-94 и ГОСТ Р 50571.8-94

6 ПЕРЕИЗДАНИЕ. Июль 2012 г.

Информация об изменениях к настоящему стандарту публикуется в ежегодно издаваемом информационном указателе «Национальные стандарты», а текст изменений и поправок - в ежемесячно издаваемых указателях «Национальные стандарты». В случае пересмотра (замены) или отмены настоящего стандарта соответствующее уведомление будет опубликовано в ежемесячно издаваемом информационном указателе «Национальные стандарты». Соответствующая информация, уведомление и тексты размещаются также в информационной системе общего пользования - на официальном сайте Федерального агентства по техническому регулированию и метрологии в сети Интернет

СОДЕРЖАНИЕ

410.1 Область применения. 3

410.2 Нормативные ссылки. 3

410.3 Общие требования. 4

411 Защитная мера - автоматическое отключение питания. 5

411.1 Общие положения. 5

411.2 Требования к основной защите. 6

411.3 Требования к защите при повреждении. 6

411.4 Система TN.. 8

411.5 Система ТТ. 9

411.6 Система IT. 10

411.7 Функциональное сверхнизкое напряжение (ФСНН) 12

412 Защитная мера: двойная или усиленная изоляция. 13

412.1 Общие положения. 13

412.2 Требования для основной защиты и защиты при повреждении. 13

413 Защитная мера: электрическое разделение. 15

413.1 Общие положения. 15

413.2 Требования к основной защите. 16

413.3 Требования к защите при повреждении. 16

414 Защитная мера: сверхнизкое напряжение, обеспечиваемое БСНН и ЗСНН.. 16

414.1 Общие положения. 16

414.2 Требования к основной защите и защите при повреждении. 17

414.3 Источники питания для БСНН и ЗСНН.. 17

414.4 Требования к цепям БСНН и ЗСНН.. 17

415 Дополнительная защита. 19

415.1 Дополнительная защита: защитные устройства дифференциального тока (УДТ) 19

415.2 Дополнительная защита: дополнительное защитное уравнивание потенциалов. 19

Приложение А (обязательное) Меры для основной защиты.. 19

Приложение В (обязательное) Барьеры и расположение вне зоны досягаемости. 21

Приложение С (обязательное) Защитные меры, применяемые в электроустановках, эксплуатируемых квалифицированным или инструктированным персоналом.. 22

Библиография. 24

Введение

Настоящий стандарт устанавливает основополагающие требования к защите от поражения электрическим током в применении к низковольтным электрическим установкам. Настоящий стандарт подготовлен на основе международного стандарта МЭК 60364-4-41:2005 «Низковольтные электрические установки. Часть 4-41. Защита для безопасности. Защита от поражения электрическим током», который, в свою очередь, приведен в полное соответствие с международным базовым стандартом по безопасности МЭК 61140:2001 «Защита от поражения электрическим током. Общие аспекты, связанные с электроустановками и электрооборудованием».

МЭК 61140 включает в себя основные принципы и требования к обеспечению защиты от поражения электрическим током, являющиеся общими для электрических установок, систем электроснабжения и электрического оборудования в их взаимосвязи.

В настоящем стандарте посредством установления защитных мер реализовано основное правило защиты от поражения электрическим током, согласно которому опасные токоведущие части должны быть недоступными, а доступные проводящие части должны быть безопасными в нормальных условиях и при наличии повреждения.

Настоящий стандарт разработан взамен ГОСТ Р 50571.3-94* «Электроустановки зданий. Часть 4. Требования по обеспечению безопасности. Защита от поражения электрическим током» и ГОСТ Р 50571.8-94* «Электроустановки зданий. Часть 4. Требования по обеспечению безопасности. Общие требования по применению мер защиты для обеспечения безопасности. Требования по применению мер защиты от поражения электрическим током». Основные отличия настоящего стандарта от заменяемых стандартов следующие:

_______

* С 1 января 2011 г. введен в действие ГОСТ Р 50571.3-2009 (МЭК 60364-4-41:2005).

- принята терминология по МЭК 61140 с использованием терминологии по МЭК 60050-195 и МЭК 60050-826;

- применена классификация защитных мер, установленная МЭК 61140, мер основной защиты и защиты при повреждении вместо мер защиты от прямого прикосновения и защиты от косвенного прикосновения. В настоящем стандарте в ряде требований вместо термина «повреждение» принят термин «повреждение в виде замыкания на землю»;

- уточнены требования к автоматическому отключению питания для системы ТТ;

- требования к автоматическому отключению питания для системы IT рассмотрены более полно;

- предусмотрена дополнительная защита электрических цепей штепсельных розеток посредством устройств дифференциального тока, имеющих номинальный отключающий дифференциальный ток до 30 мА;

- конкретизированы защитные меры, которые можно применять в электроустановках, эксплуатируемых и контролируемых квалифицированным или инструктированным персоналом.

ГОСТ Р 50571.3-2009

(МЭК 60364-4-41:2005)

НАЦИОНАЛЬНЫЙ СТАНДАРТ РОССИЙСКОЙ ФЕДЕРАЦИИ

ЭЛЕКТРОУСТАНОВКИ НИЗКОВОЛЬТНЫЕ

Часть 4-41

Требования для обеспечения безопасности. Защита от поражения электрическим током

Low-voltage electrical installations.
Part 4-41. Requirements for safety ensuring. Protection against electric shock

Дата введения - 2011-01-01

410.1 Область применения

Настоящий стандарт устанавливает основополагающие требования к защите от поражения электрическим током людей и животных, включающей в себя основную защиту и защиту при повреждении, координацию этих требований в соответствии с внешними воздействиями и требования к применению дополнительной защиты в определенных случаях.

410.2 Нормативные ссылки

В настоящем стандарте использованы ссылки на следующие международные стандарты. Для недатированных ссылок применяется последняя редакция упомянутого документа (включая любые поправки).

МЭК 60364-5-52 Низковольтные электрические установки. Часть 5-52. Выбор и монтаж электрического оборудования. Электропроводки

МЭК 60364-5-54 Электрические установки зданий. Часть 5-54. Выбор и монтаж электрического оборудования. Заземляющие устройства, защитные проводники и защитные проводники уравнивания потенциалов

МЭК 60364-6 Низковольтные электрические установки. Часть 6. Испытания

МЭК 60439-1 Устройства комплектные низковольтные распределения и управления. Часть 1. Устройства, испытанные полностью или частично

МЭК 60449 Диапазоны напряжения для электрических установок зданий

МЭК 60614 (все части) Трубы для электрических установок. Технические требования

МЭК 61084 (все части) Системы кабельных коробов и специальных кабельных коробов для электрических установок

МЭК 61140 Защита от поражения электрическим током. Общие положения для электроустановки и оборудования

МЭК 61386 (все части) Системы труб для электрических установок

МЭК 61558-2-6 Безопасность силовых трансформаторов, блоков питания и аналогичного оборудования. Часть 2-6. Частные требования к безопасным разделительным трансформаторам общего применения

Руководство 104 МЭК Подготовка публикаций по безопасности и использование базовых и групповых публикаций по безопасности

410.3 Общие требования

410.3.1 В настоящем стандарте (если не оговорено иное) используют следующие значения напряжений:

- напряжение переменного тока - действующее значение;

- напряжение постоянного тока - без пульсаций.

Отсутствие пульсации условно определено как действующее значение пульсирующего напряжения, пульсирующая составляющего которого не превышает 10 % составляющей постоянного тока.

410.3.2 Защитная мера должна состоять из:

- соответствующего сочетания защитных мер для основной защиты и независимой меры для защиты при повреждении или

- усиленной меры защиты, которая обеспечивает основную защиту и защиту при повреждении.

Дополнительная защита определена как часть защитной меры для специальных электроустановок при определенных условиях внешних воздействий на них и в определенных специальных размещениях в соответствии с частью 7 комплекса стандартов МЭК 60364-7 [1].

Примечание 1 - Для специальных условий эксплуатации электроустановок установлены защитные меры по 410.3.5 и 410.3.6.

Примечание 2 - Примером усиленной защитной меры является усиленная изоляция.

410.3.3 В каждой части электроустановки должна быть применена одна или несколько защитных мер в зависимости от условий внешних воздействий.

Обычно применяют следующие основные защитные меры:

- автоматическое отключение питания (411);

- двойную или усиленную изоляцию (412);

- электрическое разделение (для питания одного электроприемника) (413);

- сверхнизкое напряжение (система безопасного сверхнизкого напряжения - БСНН и система защитного сверхнизкого напряжения - ЗСНН) (414).

Защитные меры, примененные в установке, должны быть учтены при выборе и монтаже оборудования.

Для особых электроустановок см. 410.3.4 - 410.3.9.

Примечание - В электроустановках самой широко применяемой защитной мерой является автоматическое отключение питания.

410.3.4 Для специальных электроустановок или их размещений должны быть применены защитные меры в соответствии с частью 7 комплекса стандартов МЭК 60364-7 [1].

410.3.5 Защитные меры, указанные в приложении В, то есть использование барьеров и размещение вне зоны досягаемости, должны быть применены только в установках, доступных для:

- квалифицированного или инструктированного персонала или

- лиц, находящихся под наблюдением квалифицированного или инструктированного персонала.

410.3.6 Защитные меры, указанные в приложении С, непроводящее помещение, местное уравнивание потенциалов, не связанное с землей, электрическое разделение могут быть применены только в случае, если электроустановка находится под наблюдением квалифицированного или инструктированного персонала так, чтобы не могли быть внесены недопустимые изменения.

410.3.7 Если не могут быть выполнены определенные условия для осуществления защитной меры, должны быть применены дополнительные меры защиты так, чтобы предпринятые меры в совокупности обеспечивали такой же уровень безопасности.

Примечание - Пример применения этого правила приведен в 411.7.

410.3.8 Различные защитные меры, примененные в одной и той же электроустановке или части электроустановки, или к оборудованию, не должны влиять друг на друга так, чтобы при отказе одной защитной меры не могли быть ухудшены другие защитные меры.

410.3.9 Защита при повреждении не требуется для следующего оборудования:

- металлической арматуры и присоединяемых к ней деталей крепления изоляторов воздушной линии электропередачи, установленных на здании и размещенных вне зоны досягаемости рукой;

- железобетонных опор воздушных линий электропередачи, стальная арматура которых недоступна;

- открытых проводящих частей, имеющих малые размеры (приблизительно 50´50 мм) или расположенных так, чтобы вероятность их контакта с частями человеческого тела была мала, а также при условии, что соединение с защитным проводником будет затруднено или ненадежно.

Примечание 1 - Это исключение применяется, например, к болтам, заклепкам, фирменным пластинам и зажимам для крепления кабеля.

Примечание 2 - В США все открытые проводящие части присоединяют к защитному проводнику;

- металлических труб или других металлических оболочек, защищающих оборудование в соответствии с 412.

411 Защитная мера - автоматическое отключение питания

411.1 Общие положения

Автоматическое отключение питания представляет собой защитную меру, при которой:

- основную защиту обеспечивают посредством основной изоляции токоведущих частей или посредством ограждений или оболочек в соответствии с приложением А и

- защиту при повреждении обеспечивают посредством защитного уравнивания потенциалов и автоматического отключения в случае повреждения в соответствии с 411.3 - 411.6.

Примечание 1 - При применении этой защитной меры также может быть использовано оборудование класса II.

В отдельных случаях дополнительную защиту обеспечивают посредством защитного устройства дифференциального тока (УДТ) с номинальным отключающим дифференциальным током, не превышающим 30 мА, в соответствии с 415.1.

Примечание 2 - Устройства контроля (мониторы) дифференциального тока (МДТ) не являются защитными устройствами, но могут быть использованы в электрических установках для контроля дифференциальных токов, воздействуя на звуковой или звуковой и световой сигналы при превышении заданного значения дифференциального тока.

411.2 Требования к основной защите

Для обеспечения основной защиты в оборудовании должна быть использована одна из мер, указанная в приложениях А и В.

411.3 Требования к защите при повреждении

411.3.1 Защитное заземление и защитное уравнивание потенциалов

411.3.1.1 Защитное заземление

Открытые проводящие части должны быть присоединены к защитному проводнику в соответствии с особенностями типов заземления системы, как указано в 411.4 - 411.6.

Открытые проводящие части, доступные одновременному прикосновению, должны быть присоединены индивидуально, в группах или все вместе - к одной и той же системе заземления.

Проводники для защитного заземления должны соответствовать МЭК 60364-5-54.

Каждая цепь должна иметь защитный проводник, присоединенный к соответствующему заземляющему зажиму.

411.3.1.2 Защитное уравнивание потенциалов

В каждом здании система защитного уравнивания потенциалов должна соединять между собой следующие проводящие части:

- заземляющий проводник;

- главную заземляющую шину (зажим);

- главный защитный проводник;

- металлические трубы снабжающих коммуникаций в здании, например, трубы газа, воды;

- металлические части строительных конструкций (если они доступны при нормальном использовании), металлические системы центрального отопления и вентиляции и кондиционирования воздуха.

Если указанные проводящие части берут начало вне здания, они должны быть присоединены к системе основного уравнивания потенциалов как можно ближе к их точке ввода в здание.

Защитные проводники уравнивания потенциалов должны соответствовать требованиям МЭК 60364-5-54.

Любая металлическая оболочка телекоммуникационных кабелей должна быть присоединена к системе защитного уравнивания потенциалов с учетом требования эксплуатирующих организаций.

411.3.2 Автоматическое отключение при повреждении (замыкании на землю)

411.3.2.1 Кроме случаев, предусмотренных 411.3.2.5 и 411.3.2.6, защитное устройство должно автоматически отключать питание электрической цепи или оборудования в случае замыкания на землю с незначительным полным сопротивлением между линейным проводником и открытой проводящей частью или защитным проводником в цепи или оборудовании в течение времени отключения, указанного в 411.3.2.2, 411.3.2.3 или 411.3.2.4.

Примечание 1 - Большие значения времени отключения, чем требуемые в настоящем подпункте, могут быть допущены в системах для распределения электроэнергии населению, производства электроэнергии и передачи для таких систем.

Примечание 2 - Меньшие значения времени отключения могут быть применены для специальных электроустановок или размещений согласно требованиям части 7 комплекса стандартов МЭК 60364 [1].

Примечание 3 - Для систем IT автоматическое отключение обычно не требуется при возникновении первого замыкания на землю (см. 411.6.1). Требования к автоматическому отключению после первого замыкания на землю см. 411.6.4.

Примечание 4 - В Бельгии требования 411.3.2.3 не применяют. Бельгийские «Правила устройства электропроводок» не определяют различий во времени автоматического отключения между распределительными цепями и конечными цепями.

Примечание 5 - В Норвегии для электроустановки, составляющей часть системы IT и питаемой от коммунальной электрической сети, требуется автоматическое отключение при первом замыкании на землю.

411.3.2.2 Максимальное время отключения, установленное в таблице 41.1, следует применять для конечных электрических цепей, расчетный ток в которых не превышает 32 А.

Таблица 41.1 - Максимальное время отключения

Тип заземления системы

50 В < Uо < 120 В, с

120 В < Uо < 230 В, с

230 В < Uo < 400 В, с

Uo > 400 В, с

Переменный ток

Постоянный ток

Переменный ток

Постоянный ток

Переменный ток

Постоянный ток

Переменный ток

Постоянный ток

TN

0,8

Примечание 1

0,4

5

0,2

0,4

0,1

0,1

ТТ

0,3

Примечание 1

0,2

0,4

0,07

0,2

0,04

0,1

В системах ТТ, если отключение выполняют устройством защиты от сверхтока, и все сторонние проводящие части установки присоединены к системе защитного уравнивания потенциалов, может быть применено максимальное время отключения, соответствующее системам TN.

Uo - номинальное напряжение переменного или постоянного тока линейного проводника относительно земли.

Примечание 1 - Отключение может потребоваться по причинам, не связанным с защитой от поражения электрическим током.

Примечание 2 - В случаях, если отключение обеспечивается УДТ, см. примечание к 411.4.4, примечание 4 к 411.5.3 и примечание к 411.6.4, перечисление b).

Примечание 3 - В Бельгии последнюю графу Uo > 400 В не применяют. При напряжении свыше 400 В применяют бельгийскую кривую безопасности в соответствии с бельгийскими «Правилами выполнения электропроводок».

Примечание 4 - В Нидерландах максимальное время отключения, установленное в таблице, применяют ко всем электрическим цепям, расчетный ток в которых не превышает 32 А, и ко всем цепям, питающим штепсельные розетки.

Примечание 5 - В Китае максимальное время отключения, установленное в таблице, применяют к конечным цепям, которые питают переносное или передвижное оборудование.

411.3.2.3 В системах TN время отключения, не превышающее 5 с, применяют для распределительных цепей и для цепей, не охваченных требованиями 411.3.2.2.

411.3.2.4 В системах ТТ время отключения, не превышающее 1 с, применяют для распределительных цепей и для цепей, не охваченных требованиями 411.3.2.2.

411.3.2.5 Для систем с номинальным напряжением Uo более чем 50 В переменного тока или 120 В постоянного тока не применяют автоматическое отключение с временем отключения, установленным в 411.3.2.2, 411.3.2.3 или 411.3.2.4, если, в случае замыкания на землю или на защитный проводник, выходное напряжение источника питания понижается в течении не более 5 с до 50 В переменного тока или 120 В постоянного тока, или меньшего значения. Однако в этом случае отключение питания может потребоваться по причинам, не связанным с защитой от поражения электрическим током.

411.3.2.6 Если автоматическое отключение питания по 411.3.2.1 не может быть достигнуто за время, установленное в 411.3.2.2, 411.3.2.3 или 411.3.2.4, должно быть выполнено дополнительное защитное уравнивание потенциалов в соответствии с 415.2.

411.3.3 Дополнительная защита

В системах переменного тока дополнительная защита посредством защитного устройства дифференциального тока (УДТ) в соответствии с 415.1 должна быть предусмотрена для:

- штепсельных розеток, предназначенных для общего применения, с номинальным током, не превышающим 20 А, которые используют обычные лица.

Примечание 1 - Исключение может быть сделано для:

- штепсельных розеток, предназначенных для использования под наблюдением квалифицированного или инструктированного персонала, например, в некоторых коммерческих или производственных помещениях или

- специальной штепсельной розетки, предусмотренной для присоединения одного электроприемника.

Примечание 2 - В Испании и Ирландии дополнительную защиту предусматривают для штепсельных розеток с номинальным током до 32 А, предназначенных для использования обычными лицами;

- передвижного оборудования с номинальным переменным током, не превышающим 32 А, которое используют вне здания.

411.4 Система TN

411.4.1 В системах TN целостность заземления электроустановки зависит от надежного и эффективного соединения PEN или РЕ проводников с землей. Если заземление предусмотрено от распределительной электрической сети (коммунальной), то соответствие необходимым условиям, внешним по отношению к электроустановке, является ответственностью оператора распределительной электрической сети.

Примечание 1 - Примеры условий включают в себя:

Присоединение PEN-проводника к земле в нескольких точках и прокладку его таким способом, чтобы вероятность обрыва PEN-проводнике была минимальной:

RB/RE £ 50/(Uo - 50),

где Rв - суммарное сопротивление всех заземлителей, соединенных параллельно, Ом;

RE - минимальное сопротивление контакта между землей и сторонними проводящими частями, не присоединенными к защитному проводнику, через которые может произойти замыкание между линейным проводником и землей, Ом;

Uo - номинальное напряжение переменного тока, действующее значение относительно земли, В.

Примечание 2 - В Германии соответствие с условием RB/RE £ 50/(Uo - 50) является обязательным для оператора распределительной электрической сети.

411.4.2 Нейтральная или средняя точка системы питания должна быть заземлена. При отсутствии нейтральной или средней точки или их недоступности должен быть заземлен линейный проводник.

Открытые проводящие части электроустановки должны быть присоединены к главной заземляющей шине установки посредством защитного проводника, которая должна быть присоединена к заземленной точке системы питания.

Примечание 1 - Если существуют другие точки эффективного соединения с землей, рекомендуется защитные проводники также присоединять к таким точкам везде, где это возможно. Заземление в дополнительных точках, распределенное по возможности равномерно, может быть необходимым для гарантии того, что в случае повреждения значения потенциалов защитных проводников останутся настолько близкими к значению потенциала земли, насколько это возможно.

В больших зданиях (высотные здания), дополнительное заземление защитных проводников практически невозможно. В этом случае аналогичную функцию выполняет защитное уравнивание потенциалов.

Примечание 2 - Рекомендуется заземлять защитные проводники РЕ и PEN на вводе в любые здания или участки застройки.

411.4.3 В стационарных электрических цепях электроустановки один и тот же проводник может использоваться как защитный и как нейтральный проводник (PEN-проводник) при условии выполнения требований 543.4 МЭК 60364-5-54. Включение каких-либо коммутационных или разъединительных устройств в PEN-проводник не допускается.

Примечание 1 - В Швейцарии главное устройство защиты от сверхтока здания со встроенным устройством разъединения в PEN-проводнике формирует границу раздела между распределительной электрической сетью и электроустановкой здания.

Примечание 2 - В Норвегии не допускается использование PEN-проводника после главного распределительного щита.

411.4.4 Характеристики защитных устройств (см. 411.4.5) и полные сопротивления цепей замыкания на землю должны соответствовать требованию

Zs · Ia £ Uo,

где Zs - полное сопротивление петли замыкания на землю, включающей в себя источник питания, линейный проводник до точки замыкания на землю, защитный проводник между точкой замыкания на землю и источником питания, Ом;

Iа - ток, вызывающий автоматическое срабатывание отключающего устройства в пределах времени, установленного в 411.3.2.2 или 411.3.2.3, А. В случае использования устройства дифференциального тока (УДТ) этот ток является отключающим дифференциальным током, обеспечивающим отключение в пределах времени, установленного в 411.3.2.2 или 411.3.2.3;

Uo - номинальное напряжение переменного или постоянного тока линейного проводника относительно земли, В.

Примечание - В случаях, когда соответствие настоящему пункту обеспечивают посредством УДТ, время отключения в соответствии с таблицей 41.1 относят к ожидаемым дифференциальным токам, обусловленным замыканием на землю, которые значительно больше, чем номинальный отключающий дифференциальный ток УДТ (равный приблизительно 5 IΔn).

411.4.5 В системах TN для защиты при повреждении могут быть использованы следующие защитные устройства:

- устройства защиты от сверхтока;

- защитные устройства дифференциального тока (УДТ).

Примечание 1 - Если для защиты при повреждении используют УДТ, цепь должна также быть защищена устройством защиты от сверхтока в соответствии с МЭК 60364-4-43 [2].

Защитное устройство дифференциального тока (УДТ) не должно применяться в системе TN-C.

При применении УДТ в системе TN-C-S PEN-проводник не должен быть использован на стороне нагрузки. Присоединение защитного проводника к PEN-проводнику должно осуществляться на стороне источника питания по отношению к УДТ.

Примечание 2 - Обеспечение селективности между УДТ по 535.3 МЭК 60364-5-53 [3].

411.5 Система ТТ

411.5.1 Открытые проводящие части, защищенные одним защитным устройством, должны присоединяться защитными проводниками к одному заземляющему устройству, общему для всех этих частей. Если несколько защитных устройств установлены последовательно, то данное требование применяется отдельно к каждой группе открытых проводящих частей, защищаемой каждым устройством.

Нейтральная или средняя точка системы питания должна быть заземлена. При их отсутствии или если они недоступны, должен быть заземлен линейный проводник.

Примечание - В Нидерландах сопротивление заземлителя должно быть настолько низким, насколько осуществимо, но в любом случае не превышать 166 Ом.

411.5.2 В системах ТТ для защиты при повреждении следует применять УДТ. Устройства защиты от сверхтока могут быть применены для защиты при повреждении при условии, что надежно гарантировано соответствующее постоянно низкое значение Zs.

Примечание 1 - Если для защиты при повреждении используют УДТ, цепь должна также быть защищена устройством защиты от сверхтока в соответствии с МЭК 60364-4-43 [2].

Примечание 2 - Использование защитных устройств, управляемых напряжением повреждения, в настоящем стандарте не рассматривается

Примечание 3 - В Нидерландах в случаях, если систему заземления используют для более чем одной электрической установки в соответствии с 411.5.3, она должна оставаться эффективной в случае:

- любого единичного обрыва системы заземления;

- повреждения любого защитного устройства дифференциального тока (УДТ).

411.5.3 При использовании УДТ для защиты при повреждении должны быть выполнены следующие условия:

i) время отключения должно соответствовать требованиям 411.3.2.2 или 411.3.2.4 и

ii) RА · IΔn < 50 В,

где RA - сумма сопротивлений заземлителя и защитного проводника для открытых проводящих частей, Ом;

IΔn - номинальный отключающий дифференциальный ток УДТ.

Примечание 1 - В этом случае защита при повреждении также обеспечивается, если полное сопротивление замыкания на землю не является пренебрежимо малым.

Примечание 2 - В случаях, если необходима селективность между УДТ, - см. требования 535.3 МЭК 60364-5-53 [3].

Примечание 3 - В случаях, если не известно значение RA, оно может быть заменено на Zs.

Примечание 4 - Время отключения в соответствии с таблицей 41.1 относится к ожидаемым дифференциальным токам, обусловленным замыканием на землю, которые значительно больше, чем номинальный отключающий дифференциальный ток примененного УДТ (обычно или как правило 5IΔn).

411.5.4 При применении устройств защиты от сверхтока должно быть выполнено условие

zs · ia < uo,

где Zs - полное сопротивление петли замыкания на землю, включающей в себя: источник питания, линейный проводник до точки замыкания на землю, защитный проводник открытых проводящих частей, заземляющий проводник, заземлитель установки и заземлитель источника питания, Ом;

ia - ток, вызывающий автоматическое оперирование отключающего устройства в пределах времени, установленного в 411.3.2.2 или 411.3.2.4, А;

Uo - номинальное напряжение переменного или постоянного тока линейного проводника относительно земли, В.

411.6 Система IT

411.6.1 В системах IT токоведущие части должны быть изолированы от земли или связаны с ней через достаточно большое полное сопротивление. Эта связь может быть выполнена путем присоединения к нейтральной точке или средней точке системы, или к искусственной нейтральной точке. Последняя может быть непосредственно присоединена к земле, если результирующее полное сопротивление относительно земли на частоте системы достаточно велико. При отсутствии нейтральной или средней точки линейный проводник может быть присоединен к земле через большое полное сопротивление.

При единичном замыкании на открытую проводящую часть или на землю, когда ток замыкания на землю небольшой, обеспечение автоматического отключения в соответствии с 411.3.2 не обязательно, если выполняется условие по 411.6.2.

Однако должны быть приняты меры для исключения вредного патофизиологического воздействия на человека, касающегося одновременно доступных прикосновению открытых проводящих частей при двух одновременных замыканиях на землю.

Примечание 1 - Выполнение заземления через полные сопротивления или искусственные нейтральные точки, характеристики которых должны соответствовать требованиям установки, может потребоваться для понижения перенапряжения или ослабления колебаний напряжения.

411.6.2 Открытые проводящие части должны быть заземлены индивидуально, группами или все вместе.

Должны быть выполнены следующие условия:

- в системах переменного тока RA · Id £ 50 В;

- в системах постоянного тока RA · Id £ 120 В,

где RA - сумма сопротивления заземлителя и защитного проводника для открытых проводящих частей, Ом (см. 411.5.3);

Id - ток первого замыкания на землю (с незначительным полным сопротивлением) между линейным проводником и открытой проводящей частью, А. Значение Id учитывает токи утечки и суммарное полное сопротивление заземляющего устройства электрической установки.

411.6.3 В системах IT могут быть использованы следующие контролирующие и защитные устройства:

- устройства контроля изоляции (УКИ);

- мониторы (устройства контроля) дифференциального тока (МДТ);

- системы определения места повреждения изоляции;

- устройства защиты от сверхтока;

- защитные устройства дифференциального тока (УДТ).

Примечание - При применении УДТ не исключена возможность расцепления УДТ при первом замыкании на землю из-за емкостных токов утечки.

411.6.3.1 Если систему IT применяют для обеспечения бесперебойности питания, то должно быть предусмотрено устройство контроля изоляции для указания возникновения первого замыкания токоведущей части на открытые проводящие части или на землю. Данное устройство должно подавать звуковой и (или) световой сигнал, который должен продолжаться до тех пор, пока существует замыкание на землю.

Если имеются звуковой и световой сигналы, допускается звуковой сигнал отменить.

Примечание 1 - Рекомендуется устранять первое замыкание на землю в самый короткий срок.

Примечание 2 - В Нидерландах для питающей системы, соответствующей типу заземления системы IT, используемой для обеспечения бесперебойности питания, и там, где система присоединена к земле через полное сопротивление (см. 411.6.1), для контроля системы вместо УКИ может быть предусмотрен МДТ.

411.6.3.2 За исключением случаев, когда защитное устройство установлено для отключения питания в случае первого замыкания на землю, могут быть предусмотрены МДТ или система определения места повреждения изоляции для сигнализации о возникновении первого замыкания токоведущей части на открытые проводящие части или на землю. Данное устройство должно подавать звуковой и (или) световой сигналы, которые должны продолжиться до тех пор, пока существует замыкание на землю.

При наличии звукового и светового сигналов допускается отключать звуковой сигнал, но световая сигнализация должна продолжаться до устранения замыкания на землю.

Примечание - Рекомендуется устранять первое замыкание на землю в самый короткий срок.

411.6.4 После возникновения первого замыкания на землю условия для автоматического отключения питания при втором замыкании, происходящим на другом токоведущем проводнике, должны быть следующими:

а) если открытые проводящие части соединены между собой защитным проводником, присоединенным к одной общей системе заземления, применяют требования, аналогичные требованиям к системам TN. При этом, если нейтральный проводник в системе переменного тока и средний проводник в системе постоянного тока отсутствуют, должно быть выполнено следующее условие:

2IaZs £ U

или при наличии нейтрального проводника и среднего проводника:

2IaZ'S £ Uo,

где Uo - номинальное напряжение переменного или постоянного тока между линейным проводником и нейтральным проводником или средним проводником, В;

U - номинальное напряжение переменного или постоянного тока между линейными проводниками, В;

Zs - полное сопротивление петли замыкания на землю, включающей в себя линейный и защитный проводники цепи, Ом;

Z's - полное сопротивление петли замыкания на землю, включающей в себя нейтральный и защитный проводники цепи, Ом;

Iа - ток срабатывания защитного устройства в пределах времени, указанного в 411.3.2.2 для систем TN или в 411.3.2.3, А.

Примечание 1 - Время, установленное в таблице 41.1 для систем TN, применяют к системам IT при наличии или отсутствии нейтрального или среднего проводника.

Примечание 2 - Коэффициент 2 в обеих формулах означает, что в случае одновременного возникновения двух замыканий на землю замыкания могут быть в разных цепях.

Примечание 3 - Для полного сопротивления петли замыкания на землю должен быть принят в расчет самый тяжелый случай, например замыкание на линейном проводнике в источнике питания одновременно с другим замыканием на нейтральном проводнике электроприемника рассматриваемой цепи;

b) если открытые проводящие части заземлены в группах или индивидуально, следует выполнять условие

RА · Iа < 50 В,

где RA - сумма сопротивлений заземлителя и защитного проводника относительно открытых проводящих частей;

Iа - ток, вызывающий автоматическое отключение отключающего устройства за время, соответствующее времени для систем ТТ по таблице 41.1, или за время, соответствующее указанному в 411.3.2.4.

Примечание 4 - Если соответствие требованиям перечисления b) обеспечивается УДТ, соответствие времени отключения, требуемому для систем ТТ по таблице 41.1, может потребовать дифференциальных токов, обусловленных замыканием на землю, значительно больших, чем номинальный отключающий дифференциальный ток IΔn примененного УДТ (обычно равный 5 IΔn).

411.7 Функциональное сверхнизкое напряжение (ФСНН)

411.7.1 Общие положения

В случаях, когда по условиям функционирования электроустановки используют номинальное напряжение, не превышающее 50 В переменного тока или 120 В постоянного тока, и при этом требования 414, касающиеся применения систем БСНН или ЗСНН, не могут быть выполнены и/или в их применении нет необходимости, для основной защиты и защиты при повреждении применяют дополнительные меры защиты, указанные в 411.7.2 и 411.7.3. Система этих мер защиты определяется как система ФСНН.

Примечание - Такие условия могут иметь место, когда цепь содержит оборудование, не достаточно изолированное относительно цепей с более высоким напряжением (например, трансформаторы, реле, выключатели с дистанционным управлением, контакторы).

411.7.2 Требования к основной защите

Основная защита должна быть обеспечена:

- основной изоляцией, соответствующей номинальному напряжению первичной цепи источника питания согласно разделу А.1 приложения А или

- ограждениями или оболочками в соответствии с разделом А.2 приложения А.

411.7.3 Требования к защите при повреждении

Открытые проводящие части оборудования цепи ФСНН должны быть присоединены к защитному проводнику первичной цепи источника питания при условии, что первичная цепь защищена при помощи автоматического отключения питания в соответствии с 411.3 - 411.6.

411.7.4 Источники питания

Источником питания системы ФСНН должен быть трансформатор с простым разделением между обмотками или другой источник питания, соответствующий требованиям 414.3.

Примечание - Если систему ФСНН питают от системы с более высоким напряжением посредством оборудования, не обеспечивающего простое разделение между этой системой и системой ФСНН (например, от автотрансформаторов, потенциометров, полупроводниковых устройств и т.д.), то выходную цепь считают продолжением входной цепи. Она должна быть защищена защитной мерой, применяемой во входной цепи.

411.7.5 Штепсельные вилки и штепсельные розетки

Штепсельные вилки и штепсельные розетки для цепей системы ФСНН должны соответствовать следующим требованиям:

- штепсельные вилки не должны подходить к штепсельным розеткам других напряжений;

- штепсельные розетки не должны допускать подключение штепсельных вилок на другие напряжения;

- штепсельные розетки должны иметь контакт для присоединения защитного проводника.

412 Защитная мера: двойная или усиленная изоляция

412.1 Общие положения

412.1.1 Двойная или усиленная изоляция является защитной мерой, при которой:

- основную защиту обеспечивают основной, а защиту при повреждении - дополнительной изоляцией или

- основную защиту и защиту при повреждении обеспечивают усиленной изоляцией между токоведущими и доступными прикосновению проводящими частями.

Примечание - Данная защитная мера предназначена для предотвращения появления опасного напряжения на доступных прикосновению проводящих частях электрического оборудования из-за повреждения основной изоляции.

412.1.2 Защиту посредством двойной или усиленной изоляции применяют во всех случаях, за исключением некоторых ограничений, указанных в соответствующих стандартах части 7 комплекса МЭК 60364-7 [1].

412.1.3 Если применение двойной или усиленной изоляции является единственной защитной мерой для электроустановки или соответствующей цепи, должен быть обеспечен постоянный контроль за электроустановкой или ее частью, гарантирующий недопущение внесения изменений, снижающих эффективность этой защитной меры. Данную защитную меру не следует применять в цепях, которые включают в себя штепсельные розетки, или в случаях, если пользователь может заменить электрическое оборудование без разрешения.

412.2 Требования для основной защиты и защиты при повреждении

412.2.1 Электрическое оборудование

При применении защитной меры, использующей двойную или усиленную изоляцию, в электроустановке в целом или ее части электрическое оборудование должно соответствовать требованиям подпунктов 412.2.1.1 или 412.2.1.2 и 412.2.2, или 412.2.1.3 и 412.2.2.

412.2.1.1 Электрическое оборудование, успешно выдержавшее типовые испытания (испытания типа) и маркированное согласно требованиям соответствующих стандартов, должно быть следующих типов:

- электрическое оборудование с двойной и усиленной изоляцией (оборудование класса II);

- электрическое оборудование, в стандартах на которое указано соответствие классу II, например, низковольтные комплектные устройства заводского изготовления со сплошной изоляцией (см. МЭК 60439-1).

Примечание - Данное электрооборудование идентифицируют символом  МЭК 60417-5172 [4], оборудование класса II.

412.2.1.2 На электрическое оборудование, имеющее только основную изоляцию, в процессе монтажа электроустановки должна быть нанесена дополнительная изоляция, обеспечивающая степень безопасности, равноценную степени безопасности для оборудования класса II по 412.2.1.1 и соответствующую требованиям 412.2.2.1 - 412.2.2.3.

Примечание - Символ  наносят на видном месте на наружной и внутренней сторонах оболочки (корпуса) в соответствии с требованиями МЭК 60417-5019 [4].

412.2.1.3 На электрическое оборудование с неизолированными токоведущими частями в процессе монтажа электроустановки должна быть нанесена усиленная изоляция, обеспечивающая степень безопасности, равноценную степени безопасности для оборудования класса II по 412.2.1.1 и соответствующая требованиям 412.2.2.2 и 412.2.2.3. Усиленную изоляцию применяют только там, где конструкция оборудования не позволяет применять двойную изоляцию.

Примечание - Символ  наносят на видном месте на наружной и внутренней сторонах оболочки (корпуса) в соответствии с требованиями МЭК 60417-5019 [4].

412.2.2 Оболочки

412.2.2.1 Электрическое оборудование, проводящие части которого отделены от токоведущих частей только основной изоляцией, перед использованием должно быть заключено в изолирующую оболочку, обеспечивающую степень защиты не ниже IPXXB или IP2X.

412.2.2.2 Изолирующая оболочка должна соответствовать следующим требованиям:

- проводящие части, способные переносить потенциал, не должны пересекать ее;

- оболочка не должна содержать винтов или других средств крепления из изоляционного материала, удаление которых при монтаже и обслуживании с последующей заменой на металлические винты или другие средства крепления может вызвать снижение уровня изоляции, обеспечиваемого этой оболочкой.

Если на изолирующей оболочке предусмотрены механические стыки и соединения, пересекающие ее (например, рукоятки управления аппаратов, расположенных внутри оболочки), их конструктивное исполнение должно ослаблять защитные свойства оболочки.

412.2.2.3 Если оболочка оборудована дверцами или крышками, которые могут открываться без применения инструмента или ключа, все проводящие части, доступные при открытии дверцы или снятой крышки, должны быть расположены позади изолирующего ограждения, обеспечивающего степень защиты не ниже IPXXB или IP2X и препятствующего непреднамеренному прикосновению к этим частям. Такое изолирующее ограждение должно сниматься только при помощи инструмента.

412.2.2.4 Проводящие части электрического оборудования, заключенные в изолирующую оболочку, не должны быть присоединены к защитному проводнику. Однако могут быть использованы технические средства для присоединения защитных проводников, проходящих через оболочку и используемых для другого электрического оборудования, цепь питания которого также проходит через эту оболочку. Внутри оболочки такие защитные проводники и их зажимы должны иметь изоляцию, как у токоведущих частей, а зажимы должны иметь маркировку РЕ.

Открытые проводящие части и промежуточные части не должны присоединяться к защитному проводнику, если это не предусмотрено техническими условиями (ТУ) на это оборудование.

412.2.2.5 Оболочка не должна оказывать неблагоприятного влияния на работу заключенного в нее оборудования.

412.2.3 Монтаж

412.2.3.1 Монтаж оборудования по 412.2.1 (крепление, соединение проводников и т.д.) должен быть произведен так, чтобы не ухудшать защиту, предусмотренную в ТУ на данное оборудование.

412.2.3.2 За исключением случаев применения требований 412.1.3, цепь, питающая электрооборудование класса II, должна иметь защитный проводник, проложенный вдоль всей цепи и подключенный в каждой точке электропроводки, к которой подключается электрооборудование, и в каждой штепсельной розетке.

Примечание - Данное требование учитывает возможность замены пользователем оборудования класса II оборудованием класса I.

412.2.4 Электропроводки

412.2.4.1 Электропроводки, выполненные в соответствии с МЭК 60364-5-52, соответствуют требованиям 412.2, если:

- номинальное напряжение электропроводки не менее номинального напряжения системы и не менее 300/500 В и

- обеспечивается соответствующая механическая защита основной изоляции посредством одного или более из следующих способов:

a) неметаллической оболочкой кабеля или

b) неметаллическим коробом или специальным кабельным коробом, соответствующим требованиям стандартов комплекса МЭК 61084, или неметаллической трубой, соответствующей требованиям стандартов комплекса МЭК 60614 или комплекса МЭК 61386.

Примечание 1 - Стандарты на кабельную продукцию не определяют стойкость к импульсным перенапряжениям, однако считается, что кабельная изоляция соответствует требованию МЭК 61140 к усиленной изоляции.

Примечание 2 - Такая электропроводка не должна быть идентифицирована ни символом  МЭК 60417-5172 [4], ни символом  МЭК 60417-5019 [4].

Примечание 3 - В Италии электропроводки, смонтированные в соответствии с требованиями МЭК 60364-5-52 в электрических системах номинальным напряжением до 690 В, рассматривают как соответствующие требованиям 412.2, если используются следующие кабели или изолированные провода:

- кабели с неметаллической оболочкой с номинальным напряжением на одну ступень выше, чем номинальное напряжение системы, или

- изолированные провода, смонтированные в изолирующих трубах или изолирующих коробах, соответствующие требованиям стандартов на изделия, или

- кабели с металлической оболочкой, имеющие между проводниками и металлической оболочкой и между этой металлической оболочкой и внешней поверхностью изоляцию, соответствующую номинальному напряжению электрической системы.

413 Защитная мера: электрическое разделение

413.1 Общие положения

413.1.1 Электрическое разделение представляет собой защитную меру, при которой:

- основную защиту обеспечивают посредством основной изоляции токоведущих частей или ограждений и оболочек в соответствии с приложением А;

- защиту при повреждении обеспечивают простым разделением отделенной цепи от других электрических цепей и от земли.

413.1.2 Кроме случаев, указанных 413.1.3, применение данной защитной меры должно быть ограничено одним электроприемником, питающимся от одного незаземленного источника питания с простым разделением.

Примечание - Если используют эту защитную меру, особенно важно гарантировать соответствие основной изоляции требованиям стандартов на изделия.

413.1.3 Если к незаземленному источнику питания с простым разделением подключено более одного электроприемника, то должны выполняться требования раздела С.3 приложения С.

413.2 Требования к основной защите

Для всего электрического оборудования должна выполняться одна из защитных мер для основной защиты, указанная в приложении А, или защитная мера по 412.

413.3 Требования к защите при повреждении

413.3.1 Защита электрическим разделением должна быть обеспечена в соответствии с требованиями 413.3.2 - 413.3.6.

413.3.2 Отделенную цепь следует питать от источника питания с простым разделением, а напряжение отделенной цепи не должно превышать 500 В.

413.3.3 Токоведущие части отделенной цепи не должны иметь присоединений к другой электрической цепи или земле, или защитному проводнику.

Для того, чтобы гарантировать электрическое разделение, электрические цепи должны быть отделены друг от друга основной изоляцией.

413.3.4 Гибкие кабели и шнуры должны быть доступны для осмотра по всей своей длине в местах возможных механических повреждений.

413.3.5 Для отделенных цепей рекомендуется использование отдельно проложенных электропроводок. Если отделенные цепи и другие цепи находятся в составе одной общей электропроводки, то могут быть использованы многожильные кабели без металлической оболочки, изолированные провода, проложенные в изолирующих трубах, коробах или специальных кабельных коробах, при условии, что эти кабели и проводники:

- рассчитаны на самое высокое номинальное напряжение, имеющееся в общей электропроводке, и

- каждая цепь защищена от сверхтоков.

413.3.6 Присоединение открытых проводящих частей отделенной цепи к защитному проводнику, открытым проводящим частям других цепей и земле не допускается.

Примечание - Если открытые проводящие части отделенной цепи могут преднамеренно или случайно войти в контакт с открытыми проводящими частями других цепей, то защита от поражения электрическим током в этом случае не может быть обеспечена только посредством электрического разделения.

414 Защитная мера: сверхнизкое напряжение, обеспечиваемое БСНН и ЗСНН

414.1 Общие положения

414.1.1 Защита посредством сверхнизкого напряжения представляет собой защитную меру, состоящую из любой из двух различных систем сверхнизкого напряжения: БСНН или ЗСНН.

Для обеспечения данной защитной меры требуется:

- ограничение напряжения в системе БСНН или ЗСНН верхним пределом напряжения диапазона I: 50 В переменного тока или 120 В постоянного тока (см. МЭК 60449) и

- защитное разделение системы БСНН или ЗСНН от всех цепей (кроме цепей БСНН и ЗСНН) и основная изоляция между системой БСНН или ЗСНН и другими системами БСНН или ЗСНН, и

- основная изоляция между системой БСНН и землей (только для систем БСНН).

414.1.2 Использование БСНН или ЗСНН в соответствии с 414 применяют в качестве защитной меры во всех ситуациях.

Примечание - В определенных случаях стандарты части 7 комплекса МЭК 60364 [1] ограничивают значение сверхнизкого напряжения значением менее 50 В переменного тока или 120 В постоянного тока.

414.2 Требования к основной защите и защите при повреждении

Основная защита и защита при повреждении обеспечены, если:

- номинальное напряжение не превышает верхний предел напряжения диапазона I;

- питание осуществляется от одного из источников питания, перечисленных в 414.3, и

- выполняются условия 414.4.

Примечание 1 - Если система питается от системы более высокого напряжения посредством оборудования, обеспечивающего простое разделение между этой системой и системой сверхнизкого напряжения, но не соответствует требованиям для источников питания БСНН и ЗСНН, приведенным в 414.3, допускается применение требований к ФСНН (см. 411.7).

Примечание 2 - Напряжения постоянного тока для цепей сверхнизкого напряжения, генерируемые полупроводниковым преобразователем (см. МЭК 60146-2 [5]), требуют наличия внутренней цепи напряжения переменного тока для питания выпрямителя. Напряжение переменного тока внутренней цепи может превышать напряжение постоянного тока. Такую внутреннюю цепь переменного тока не рассматривают как цепь более высокого напряжения в рамках требований настоящего подраздела. Между внутренними цепями и внешними цепями более высокого напряжения требуется защитное разделение.

Примечание 3 - Если в системах постоянного тока с аккумуляторными батареями напряжение зарядки аккумуляторной батареи и напряжение холостого хода превышают номинальное напряжение батареи (в зависимости от типа батареи), то это не требует применения дополнительных защитных мер, кроме предусмотренных в настоящем подразделе. Напряжение зарядки не должно превышать максимальные значения, равные 75 В переменного тока или 150 В постоянного тока, приведенные в таблице 1 МЭК 61201 [6].

414.3 Источники питания для БСНН и ЗСНН

Для систем ЗСНН и БСНН могут быть использованы следующие источники питания:

414.3.1 Безопасный разделительный трансформатор по МЭК 61558-2-6.

414.3.2 Источник тока, обеспечивающий степень безопасности, равноценную степени, обеспечиваемой безопасным разделительным трансформатором, в соответствии с 414.3.1 (например, двигатель-генератор с обмотками, обеспечивающими эквивалентное разделение).

414.3.3 Электрохимический источник питания (например, аккумуляторная батарея) или другой источник питания, независимый от цепи более высокого напряжения (например, генератор с дизельным приводом).

414.3.4 Электронные устройства, в которых предусмотрены защитные меры, обеспечивающие в случае внутреннего повреждения невозможность превышения значений выходного напряжения, установленных в 414.1.1. Допускаются более высокие значения выходного напряжения, если в случае контакта с токоведущей частью или замыкания между токоведущей частью и открытой проводящей частью напряжение на выходных выводах немедленно понизится до безопасных или меньших значений.

Примечание 1 - Примером таких устройств является оборудование для испытания изоляции и контролирующие устройства.

Примечание 2 - Выходное напряжение электронных устройств должно быть измерено вольтметром с внутренним сопротивлением не менее 3000 Ом.

414.3.5 Передвижные источники питания, например, безопасные разделительные трансформаторы или двигатели-генераторы, должны быть выбраны или смонтированы в соответствии с требованиями к защите посредством двойной или усиленной изоляции (см. 412).

414.4 Требования к цепям БСНН и ЗСНН

414.4.1 Цепи БСНН и ЗСНН должны иметь:

- основную изоляцию между токоведущими частями и другими цепями БСНН или ЗСНН и

- защитное разделение от токоведущих частей цепей, не являющихся цепями БСНН или ЗСНН, обеспеченное двойной или усиленной изоляцией или основной изоляцией и защитным экранированием для самого высокого напряжения.

Цепи БСНН должны иметь основную изоляцию между токоведущими частями и землей.

Цепи ЗСНН и/или открытые проводящие части оборудования, питаемого цепями ЗСНН, могут быть заземлены.

Примечание 1 - В частности, защитное разделение необходимо между токоведущими частями такого электрического оборудования, как реле, контакторы, вспомогательные выключатели, и любой частью цепи более высокого напряжения или цепи ФСНН.

Примечание 2 - Заземление цепей ЗСНН может быть достигнуто посредством присоединения к земле или заземленному защитному проводнику в пределах источника питания.

414.4.2 Защитное разделение электропроводок цепей БСНН и ЗСНН от токоведущих частей других цепей, имеющих основную изоляцию, может быть обеспечено при выполнении одного из следующих мероприятий:

- проводники цепи БСНН и ЗСНН должны быть помещены в неметаллическую или изолирующую оболочку в дополнение к основной изоляции;

- проводники цепи БСНН и ЗСНН должны быть отделены от проводников цепей с более высокими напряжениями, чем напряжение диапазона I, посредством заземленной металлической оболочки или заземленного металлического экрана;

- проводники цепи с более высокими напряжениями, чем значение напряжения диапазона I, могут находиться в многожильном кабеле или другой группе проводников, если проводники БСНН и ЗСНН имеют изоляцию, рассчитанную на самое высокое напряжение в данном кабеле или группе проводников;

- электропроводки других цепей соответствуют требованиям 412.2.4.1;

- обеспечено пространственное разделение.

414.4.3 Штепсельные вилки и штепсельные розетки для систем БСНН и ЗСНН должны соответствовать следующим требованиям:

- штепсельные вилки не должны входить в штепсельные розетки на другие напряжения;

- штепсельные розетки не должны допускать включения штепсельных вилок на другие напряжения;

- штепсельные вилки и штепсельные розетки для системы БСНН не должны иметь контактов для присоединения защитного проводника.

414.4.4 Открытые проводящие части цепей системы БСНН не должны присоединяться к земле, защитным проводникам и открытым проводящим частям, относящимся к другим цепям.

Примечание - Если открытые проводящие части цепей БСНН могут случайно или преднамеренно войти в контакт с открытыми проводящими частями других цепей, то защита от поражения электрическим током в этом случае не зависит исключительно от защиты как посредством БСНН, но зависит от мер защиты, принятых для открытых проводящих частей этих других цепей.

414.4.5 Если номинальное напряжение превышает 25 В переменного тока или 60 В постоянного тока или если оборудование должно быть погружено в воду, то основная защита должна быть обеспечена для цепей БСНН и ЗСНН посредством:

- изоляции в соответствии с разделом А.1 приложения А или

- ограждений или оболочек в соответствии с разделом А.2 приложения А.

При нормальных условиях в сухой окружающей среде не требуется обеспечивать основную защиту посредством защитных мер, предусмотренных в разделах А.1 и А.2 приложения А:

- для цепей БСНН - если значение номинального напряжения не превышает 25 В переменного тока или 60 В постоянного тока;

- для цепей ЗСНН - если значение номинального напряжения не превышает 25 В переменного тока или 60 В постоянного тока и открытые проводящие части и/или токоведущие части присоединены защитным проводником к главному заземляющему зажиму.

Во всех других случаях основная защита не требуется, если номинальное напряжение системы БСНН или ЗСНН не превышает 12 В переменного тока или 30 В постоянного тока.

415 Дополнительная защита

Примечание - Для определенных условий внешних воздействий и в специальных условиях размещения в соответствии с частью 7 МЭК 60364 [1] может потребоваться выполнение дополнительной защиты совместно с принятой мерой защиты.

415.1 Дополнительная защита: защитные устройства дифференциального тока (УДТ)

415.1.1 Применение УДТ с номинальным отключающим дифференциальным током, не превышающим 30 мА, в системах переменного тока считают дополнительной защитой в случае отказа одной из мер для основной защиты и (или) защиты при повреждении или неосторожности пользователей.

415.1.2 Применение таких УДТ не может быть единственным средством защиты и не исключает необходимости применения одной из защитных мер, указанных в 411 - 414.

415.2 Дополнительная защита: дополнительное защитное уравнивание потенциалов

Примечание 1 - Дополнительное защитное уравнивание потенциалов применяют в качестве дополнительной защитной меры к защите при повреждении.

Примечание 2 - Применение дополнительного защитного уравнивания потенциалов не исключает необходимости отключения питания по другим причинам (например, защита от пожара, температурных перегрузок в оборудовании и т.д.).

Примечание 3 - Дополнительное защитное уравнивание потенциалов может охватывать всю электроустановку, часть установки, любое оборудование.

Примечание 4 - Дополнительные требования могут быть необходимыми для электроустановок специальных помещений и мест размещения (см. стандарты части 7 комплекса МЭК 60364 [1]) или по другим причинам.

415.2.1 Дополнительное защитное уравнивание потенциалов должно охватывать все одновременно доступные прикосновению открытые проводящие части стационарного оборудования и сторонние проводящие части, включая, если это возможно, металлическую арматуру строительных конструкций зданий. К системе уравнивания потенциалов должны быть подключены защитные проводники всего оборудования, в том числе штепсельных розеток.

415.2.2 Для эффективного функционирования системы уравнивания потенциалов сопротивление R между одновременно доступными открытыми проводящими частями и сторонними проводящими частями должно удовлетворять следующему условию:

 - в системах переменного тока и  - в системах постоянного тока,

где Iа - ток срабатывания защитного устройства, А, который равен:

IΔn - для защитных устройств дифференциального тока (УДТ);

- ток срабатывания в течение 5 с для устройств защиты от сверхтока.

Приложение А
(обязательное)

Меры для основной защиты

Примечание - Меры основной защиты обеспечивают защиту при нормальных условиях и применяются в случаях, если они определены в качестве части выбранной защитной меры.

А.1 Основная изоляция токоведущих частей

Примечание - Изоляция предназначена для предотвращения любого контакта с токоведущими частями.

Токоведущие части электроустановки должны быть полностью покрыты изоляцией, которая может быть устранена только разрушением.

Изоляция для электрооборудования должна соответствовать стандартам на конкретные типы оборудования.

А.2 Ограждения или оболочки

Примечание - Ограждения или оболочки предназначены для предотвращения любого контакта с токоведущими частями.

А.2.1 Токоведущие части должны располагаться в оболочках или за ограждениями, обеспечивающими степень защиты не менее IPXXB или IP2X, кроме случаев, когда большие зазоры (отверстия) необходимы для нормального функционирования оборудования согласно требованиям к оборудованию или если такие зазоры (отверстия) возникают во время перемещения частей оборудования (определенного вида патроны ламп или плавкие предохранители). В этих случаях:

- должны быть предприняты соответствующие меры предосторожности для предотвращения непреднамеренного прикосновения к токоведущим частям людей или домашнего скота;

- должны быть установлены предупреждающие надписи о том, что к токоведущим частям нельзя прикасаться через отверстие;

- отверстие должно быть небольшим, но достаточным для нормального функционирования и замены частей оборудования.

А.2.2 Поверхности ограждений или оболочек, являющиеся легко доступными, должны обеспечивать степень защиты не менее IPXXD или IP4X.

А.2.3 Ограждения и оболочки должны быть надежно закреплены и быть достаточно прочными и долговечными, чтобы сохранить требуемые степени защиты и соответствующее разделение от токоведущих частей в условиях нормального обслуживания, учитывая соответствующие внешние воздействия.

А.2.4 Если необходимо снять ограждения или вскрыть оболочки или их части, это должно быть возможно только:

- при помощи ключа или специального инструмента или

- после отключения питания для токоведущих частей, защищенных этими ограждениями или оболочками. Восстановление питания должно быть возможным только после замены или закрытия ограждений или оболочек или

- если установлены промежуточные ограждения, обеспечивающие степень защиты не менее IРХХВ или IP2X, которые могут быть сняты также только при применении ключа или специального инструмента.

А.2.5 Если позади ограждения или в оболочке установлены части оборудования, которое может сохранять опасные электрические заряды после отключения (например, конденсаторы и т.д.), то должна быть нанесена предупреждающая надпись. Малые конденсаторы, например, используемые для гашения дуги, задержки срабатывания реле и т. д., не считают опасными.

Примечание - Непреднамеренный контакт не является опасным, если напряжение в результате электростатических зарядов падает ниже 120 В постоянного тока в течение менее чем 5 с после отключения от источника питания.

Приложение В
(обязательное)

Барьеры и расположение вне зоны досягаемости

B.1 Применение

Защитные меры, осуществляемые путем установки барьеров и расположения вне зоны досягаемости, предназначены для обеспечения только основной защиты и применяются в электроустановках с защитой или без защиты при повреждении и в электроустановках, которые обслуживаются квалифицированным или инструктированным персоналом.

Условия, при которых в качестве части защитных мер могут быть применены меры основной защиты по приложению В, приведены в 410.3.5.

B.2 Барьеры

Примечание - Барьеры предназначены для предотвращения случайного прикосновения к токоведущим частям, но не исключают прикосновения при обходе барьера.

B.2.1 Барьеры должны препятствовать:

- непреднамеренному приближению к токоведущим частям или

- непреднамеренному контакту с токоведущими частями при нормальном обслуживании оборудования.

B.2.2 Барьеры могут быть съемными, снимаемыми без применения ключа или инструмента, но они должны быть закреплены так, чтобы их нельзя было снять непреднамеренно.

B.3 Расположение вне зоны досягаемости

Примечание - Защита путем расположения вне зоны досягаемости предназначена только для предотвращения непреднамеренных контактов с токоведущими частями.

В.3.1 Части электроустановки с различными потенциалами, доступные одновременному прикосновению, не должны находиться внутри зоны досягаемости рукой.

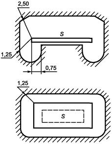
Примечание - Две части электроустановки считают одновременно доступными, если они находятся на расстоянии не более 2,50 м друг от друга (см. рисунок В.1).

B.3.2 Если пространство, в котором обычно находится и работает персонал, ограничено в горизонтальном направлении барьером (например, поручнем, сетчатым экраном), обеспечивающим степень защиты не менее IPXXB или IP2X, то зона досягаемости начинается от этого барьера. В вертикальном направлении зона досягаемости рукой составляет 2,50 м от поверхности S; не принимая во внимание любой промежуточный барьер, обеспечивающий степень защиты менее IPXXB.

Примечание - Размеры зоны досягаемости рукой определяют непосредственным прикосновением голыми руками без вспомогательных приспособлений (например, инструмента или лестницы).

B.3.3 В местах, где обычно работают с крупногабаритными или длинными проводящими предметами, расстояния, указанные в В.3.1 и В.3.2, должны быть увеличены с учетом характерных размеров этих предметов.

Размеры в метрах

 - граница зоны досягаемости; S - поверхность, на которой может находиться человек;
0,75; 1,25; 2,50 - расстояния от края поверхности
S до границы зоны досягаемости

Рисунок В.1 - Зона досягаемости рукой

Приложение С
(обязательное)

Защитные меры, применяемые в электроустановках, эксплуатируемых
квалифицированным или инструктированным персоналом

Примечание - Условия применения защитных мер по приложению С установлены в 410.3.6.

С.1 Непроводящее размещение

Примечание 1 - Данная защитная мера предназначена для предотвращения одновременного прикосновения к частям, оказавшимся под разными потенциалами в случае повреждения основной изоляции токоведущих частей.

Примечание 2 - В Швеции защита посредством непроводящего размещения не разрешена.

С.1.1 Все электрическое оборудование электроустановки должно соответствовать одной из мер основной защиты по приложению А.

С.1.2 Открытые проводящие части должны располагаться так, чтобы при обычных условиях было невозможно коснуться одновременно:

- двух открытых проводящих частей;

- открытой проводящей части и какой-нибудь сторонней проводящей части, если эти части могут оказаться под разными потенциалами при повреждении основной изоляции токоведущих частей.

С.1.3 При непроводящем размещении (в изолирующих помещениях) запрещено применять защитный проводник.

С.1.4 Требования С.1.2 считают выполненными, если пол и стены помещения являются изолирующими и выполняется хотя бы одно или несколько из условий, приведенных ниже:

a) открытые проводящие части и сторонние проводящие части, а также открытые проводящие части удалены друг от друга. Удаление считают достаточным, если расстояние между двумя частями не менее 2,5 м; за пределами зоны досягаемости рукой это расстояние может быть уменьшено до 1,25 м;

b) установлены эффективные барьеры между открытыми проводящими частями и сторонними проводящими частями.

Барьеры считают эффективными, если они увеличивают расстояния до значений, установленных в перечислении а). Барьеры не должны быть присоединены к земле или открытым проводящим частям; по мере возможности они должны быть изготовлены из изоляционного материала;

c) изоляция сторонних проводящих частей должна обладать достаточной механической прочностью и выдерживать испытательное напряжение не ниже 2000 В. В нормальных условиях ток утечки не должен превышать 1 мА.

С.1.5 Сопротивление изолирующего пола и стен, измеренное в каждой точке согласно МЭК 60364-6, должно быть не менее:

50 кОм - при номинальном напряжении электроустановки не более 500 В;

100 кОм - при номинальном напряжении электроустановки более 500 В.

Примечание - Если сопротивление в какой-либо точке менее указанного значения, то стены и полы должны рассматриваться как сторонние проводящие части.

С.1.6 Принятые меры должны быть долговременными и исключать возможность нарушения их надежности. Они должны также обеспечивать защиту в случаях, если применяется передвижное или переносное оборудование.

Примечание 1 - Необходимо принимать во внимание опасность последующего внесения в изолирующее помещение защитных проводников и сторонних проводящих частей (например, передвижного или переносного оборудования класса I, металлических водопроводных труб), которые могут нарушить указанные условия.

Примечание 2 - Изоляция пола и стен не должна подвергаться воздействию влаги.

С.1.7 Должны быть приняты меры, предотвращающие внесение электрического потенциала в изолирующее помещение.

С.2 Защита посредством местного уравнивания потенциалов, не связанного с землей

Примечание - Местное уравнивание потенциалов, не связанное с землей, предназначено для предотвращения появления опасного напряжения прикосновения.

С.2.1 Все электрическое оборудование должно соответствовать одной из мер предосторожности для основной защиты по приложению А.

С.2.2 Все открытые проводящие части и сторонние проводящие части, доступные одновременному прикосновению, должны быть соединены между собой проводниками уравнивания потенциалов.

С.2.3 Система местного уравнивания потенциалов не должна быть электрически связана с землей как непосредственно, так и посредством открытых или сторонних проводящих частей.

Примечание - Если это требование не может быть выполнено, применяют защиту посредством автоматического отключения питания (см. 411).

С.2.4 Должны быть приняты меры, исключающие воздействие опасной разности потенциалов на людей при входе их в помещения и зоны с незаземленной системой уравнивания потенциалов, особенно в тех случаях, когда к такой системе присоединен проводящий, изолированный от земли пол.

С.3 Электрическое разделение цепей при питании более чем одного электроприемника от одного источника

Примечание - Электрическое разделение индивидуальной цепи предназначено для предотвращения поражения электрическим током при прикосновении к открытым проводящим частям, которые могут оказаться под напряжением из-за повреждения в основной изоляции цепи.

С.3.1 Все электрическое оборудование должно соответствовать одной из мер основной защиты по приложению А.

С.3.2 Защиту посредством электрического разделения при питании нескольких электроприемников обеспечивают соблюдением требований раздела 413, за исключением 413.1.2, а также требованиями С.3.3 - С.3.8.

С.3.3 Должны быть предприняты меры для защиты отделенной цепи от повреждения изоляции и других повреждений.

С.3.4 Открытые проводящие части отделенной цепи должны быть соединены между собой изолированными незаземленными проводниками уравнивания потенциалов. Такие проводники не должны быть соединены как с защитными проводниками, так и с открытыми проводящими частями других цепей и со сторонними проводящими частями.

Примечание - См. примечание к 413.3.6.

С.3.5 Защитные контакты всех штепсельных розеток должны быть присоединены к системе уравнивания потенциалов, выполняемой в соответствии с С.3.4.

С.3.6 Гибкие кабели, за исключением питающих оборудование с двойной или усиленной изоляцией, должны иметь защитный проводник, применяемый в качестве проводника уравнивания потенциалов в соответствии с С.3.4.

С.3.7 При двойном замыкании разных фаз на две открытые проводящие части защитное устройство должно обеспечивать отключение питания за время отключения, определенное по таблице 41.1.

С.3.8 Произведение номинального напряжения цепи, В, на длину электропроводки, м, должно быть не более 100000 В · м, а длина электропроводки не должна превышать 500 м.

Библиография

[1]

МЭК 60364-7 (все части)

Низковольтные электрические установки. Часть 7. Требования для специальных установок или размещений

[2]

МЭК 60364-4-43: 2008

Электрические установки зданий. Часть 4-43. Защита для безопасности. Защита от сверхтока

[3]

МЭК 60364-5-53:2001

Электрические установки зданий. Часть 5-53. Выбор и монтаж электрического оборудования. Разъединение, коммутация и управление

[4]

МЭК 60417:1998

Условные обозначения графические, используемые на оборудовании.

[5]

МЭК 60146-2:1999

Полупроводниковые преобразователи. Часть 2. Самокоммутирующие полупроводниковые преобразователи, включая прямые преобразователи постоянного тока

[6]

МЭК 61201:1992

Сверхнизкое напряжение (СНН). Предельные значения

 

Ключевые слова: низковольтная электроустановка, защита от поражения электрическим током, автоматическое отключение питания, типы заземления системы, сверхнизкое напряжение, электрическое разделение, непроводящее размещение, уравнивание потенциалов