Меню
Навигация
Novatika
Первая линия
Бесплатное обучение

Головки соединительные пневматического привода тормозных систем. Типы, основные размеры. Общие технические требования и методы испытаний

Стандарт распространяется на соединительные головки, предназначенные для соединения однопроводных и двухпроводных приводов тормозных систем автомобилей и тракторов с приводами тормозных систем прицепов, полуприцепов и прицепных сельскохозяйственных машин, а также для соединения тормозных систем звеньев автопоездов и тракторных поездов, и устанавливает типы головок, основные присоединительные размеры, необходимые для обеспечения их соединения, технические требования и методы испытаний.

Обозначение: ГОСТ Р 50023-92
Название рус.: Головки соединительные пневматического привода тормозных систем. Типы, основные размеры. Общие технические требования и методы испытаний
Статус: отменен
Дата актуализации текста: 05.05.2017
Дата добавления в базу: 01.09.2013
Дата введения в действие: 01.04.2017
Утвержден: 20.07.1992 Госстандарт России (Russian Federation Gosstandart 726)
Опубликован: Издательство стандартов (1992 г. ) Издательство стандартов (1994 г. )
Ссылки для скачивания:

ГОСТ Р 50023-92

ГОСУДАРСТВЕННЫЙ СТАНДАРТ РОССИЙСКОЙ ФЕДЕРАЦИИ

 

ГОЛОВКИ СОЕДИНИТЕЛЬНЫЕ
ПНЕВМАТИЧЕСКОГО ПРИВОДА
ТОРМОЗНЫХ СИСТЕМ

ТИПЫ, ОСНОВНЫЕ РАЗМЕРЫ.
ОБЩИЕ ТЕХНИЧЕСКИЕ ТРЕБОВАНИЯ И
МЕТОДЫ ИСПЫТАНИЙ

 

 

ГОССТАНДАРТ РОССИИ

Москва

 

ГОСУДАРСТВЕННЫЙ СТАНДАРТ РОССИЙСКОЙ ФЕДЕРАЦИИ

ГОЛОВКИ СОЕДИНИТЕЛЬНЫЕ
ПНЕВМАТИЧЕСКОГО ПРИВОДА ТОРМОЗНЫХ
СИСТЕМ

Типы, основные размеры. Общие технические
требования и методы испытаний

Coupling heads of pneumatic transmission of braking systems.
Types, basic dimensions.
General technical requirements and test methods

ГОСТ P
50023-92

Дата введения 01.01.93

Настоящий стандарт распространяется на соединительные головки (далее головки), предназначенные для соединения однопроводных и двухпроводных приводов тормозных систем автомобилей и тракторов (далее тягачей) с приводами тормозных систем прицепов, полуприцепов и прицепных сельскохозяйственных машин (далее прицепов), а также для соединения тормозных систем звеньев автопоездов и тракторных поездов, и устанавливает типы головок, основные присоединительные размеры, необходимые для обеспечения их соединения, технические требования и методы испытаний.

Требования всех пунктов настоящего стандарта являются обязательными.

1. ТИПЫ И ОСНОВНЫЕ РАЗМЕРЫ ГОЛОВОК

1.1. Головки изготовляют следующих типов:

1 - головки, предназначенные для установки на тягаче или прицепе в конце магистрали однопроводного привода (черт. 1);

2 - головки, предназначенные для установки на прицепе в начале магистрали однопроводного привода (черт. 2);

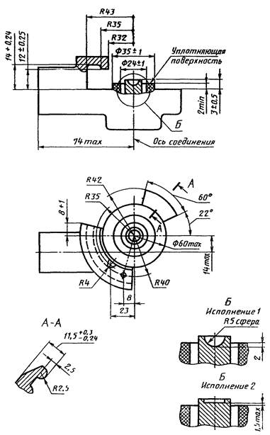
3 - головки, предназначенные для установки на тягаче или прицепе в питающей магистрали двухпроводного привода (черт. 3);

4 - головки, предназначенные для установки на тягаче или прицепе в управляющей магистрали двухпроводного привода (черт. 4);

5 - головки, предназначенные для установки на тягаче или прицепе как в питающей, так и в управляющей магистрали двухпроводного привода (черт. 5). Применять до 01.01.95.

1.2. Основные размеры

1.2.1. Основные размеры головок для обеспечения их взаимного соединения должны соответствовать размерам, указанным на черт. 1 - 5 и таблице.

мм

Исполнение головок для двухпроводного привода

А

В

Черт. 3 и 4

Черт. 5

Черт. 3 - 5

С упругим уплотняющим кольцом

2,7 ± 0,5

2,6 ± 0,5

19 ± 2

С подвижной деталью для открытия автоматического устройства

4,5

5,5

21

13

1.2.2. Головки должны иметь внутреннюю присоединительную резьбу М16´1,5 или М22´1,5 длиной не менее 12 мм.

2. ТЕХНИЧЕСКИЕ ТРЕБОВАНИЯ

2.1. Головки должны иметь крышки или другие приспособления, предохраняющие рабочие поверхности от их загрязнения, повреждения и попадания во внутренние полости пыли и влаги, когда головки разомкнуты.

2.2. Головки (или их детали) должны иметь отличительную окраску:

для магистрали однопроводного привода - черный цвет;

для питающей магистрали двухпроводного привода - красный цвет;

для управляющей магистрали двухпроводного привода - желтый цвет.

До 01.01.95 допускается окрашивать в голубой цвет головки управляющей магистрали двухпроводного привода или их детали или трубопроводы в непосредственной близости с головкой.

2.3. Тягач или ведущее звено автопоезда (транспортного поезда) должны быть оборудованы автоматическим или ручным устройством, обеспечивающим поступление воздуха из магистрали тягача в магистраль прицепа при соединении головок и прекращение поступления воздуха при размыкании головок.

Тип 1

Черт. 1

Тип 2

Черт. 2

Тип 3

1 - предохранитель неправильного соединения

Черт. 3

Тип 4

1 - предохранитель неправильного соединения; 2 - минимальное свободное пространство для прохода предохранителя неправильного соединения другой головки

Черт. 4

Тип 5

Черт. 5

В случае применения в качестве автоматического устройства клапана, встроенного в головку, конструкция этого клапана должна обеспечивать его открытие головкой прицепа.

2.4. Утечка воздуха через головки в соединенном состоянии и головки с клапаном в разомкнутом состоянии при температуре 20 °С и выше и избыточном давлении от 0 до 0,8 МПа не должна превышать 10 см3/мин для головок с клапаном и 20 см3/мин - для остальных головок, а при температуре минус 50 °С утечка воздуха для всех головок не должна превышать 980 см3/мин.

2.5. Головки должны сохранять механическую прочность при давлении воздуха (1,32 ± 0,5) МПа.

2.6. Момент для размыкания головок при избыточном давлении в трубопроводе до 0,8 МПа и температуре 15 °С и выше не должен превышать 17 Н · м, а при температуре минус (45 ± 5) °С не должен превышать 23 Н · м.

2.7. Сопротивление воздуха при его подаче через соединенные головки не должно превышать сопротивление прямого участка трубопровода с внутренним диаметром 8 мм и длиной, равной общей длине воздуховода соединенных головок.

2.8. Головки должны выдерживать не менее 1000 циклов соединений и размыканий без повреждений, влияющих на герметичность и момент размыкания.

3. МЕТОДЫ ИСПЫТАНИЯ

3.1. Испытания на устойчивость к температурным воздействиям проводят в три этапа:

Несоединенные головки, охлажденные до минус (45 ± 5) °С и выдержанные при этой температуре в течение 2 ч, испытывают при падении с высоты 1,5 м на бетонную поверхность, после этого головки должны соответствовать требованиям пп. 2.5 и 2.7. Повреждение защитной крышки при этом не учитывают;

Две пары головок (две соединенные и две разомкнутые, имеющие клапаны), охлажденные до минус (45 ± 5) °С, выдерживают при этой температуре в течение 2 ч. Затем соединенные и разомкнутые головки испытывают подачей воздуха при избыточном давлении 0,8 МПа в течение 120 с;

Две пары головок (две соединенные и две разомкнутые, имеющие клапаны), нагретые до (70 ± 3) °С, выдерживают при этой температуре в течение 2 ч. Затем соединенные и разомкнутые головки испытывают подачей воздуха при избыточном давлении 0,8 МПа в течение 120 с.

3.2. Испытания на герметичность проводят при температуре (20 ± 5) °С головки с клапаном и соединенных головок подачей воздуха в течение 120 с при избыточном давлении 0,2 и 0,8 МПа.

3.3. Испытания на прочность проводят при температуре (20 ± 5) °С и давлении воздуха (1,32 ± 0,05) МПа в течение 30 с; после этого головки не должны иметь механических повреждений.

3.4. Испытания на надежность соединения головок проводят при температуре (20 ± 5) °С путем измерения величины момента, необходимого для размыкания головок, при избыточном давлении воздуха 0 и ,0,8 МПа.

ИНФОРМАЦИОННЫЕ ДАННЫЕ

1. РАЗРАБОТАН И ВНЕСЕН ТК 56 «Дорожный транспорт»

РАЗРАБОТЧИКИ

О.И. Гируцкий (руководитель темы); А.А. Крылов; Б.В. Кисуленко; Н.К. Дьячков; И.И. Малашков; П.В. Антонов; Л.В. Вендель

2. УТВЕРЖДЕН И ВВЕДЕН В ДЕЙСТВИЕ Постановлением Госстандарта России от 20.07.92 № 726

3. Срок проверки - 1997 г.

4. Стандарт соответствует ИСО 1728-80 в части маркировки и присоединительных размеров питающей и управляющей головок двухпроводного привода

5. ПЕРЕИЗДАНИЕ. Июль 1994 г.