Стандарт распространяется на устьевое оборудование и фонтанную арматуру, применяемые при добыче нефти и газа, и устанавливает основные технические характеристики, требования к размерной и функциональной взаимозаменяемости, требования к проектированию и изготовлению, материалам, испытаниям и контролю, сварке, маркировке, погрузо-разгрузочным операциям, хранению, приобретению, ремонту и модернизации. Стандарт не распространяется на испытания и (или) ремонт устьевого оборудования и фонтанной арматуры в промысловых условиях.
| Обозначение: | ГОСТ Р 51365-2009 |
| Название рус.: | Нефтяная и газовая промышленность. Оборудование для бурения и добычи. Оборудование устья скважины и фонтанное устьевое оборудование. Общие технические требования |
| Статус: | действует |
| Заменяет собой: | ГОСТ Р 51365-99 «Оборудование нефтепромысловое добычное устьевое. Общие технические условия» |
| Дата актуализации текста: | 05.05.2017 |
| Дата добавления в базу: | 01.09.2013 |
| Дата введения в действие: | 01.01.2011 |
| Утвержден: | 15.12.2009 Федеральное агентство по техническому регулированию и метрологии (1070-ст) |
| Опубликован: | Стандартинформ (2011 г. ) |
| Ссылки для скачивания: |
|
ФЕДЕРАЛЬНОЕ АГЕНТСТВО |
||
|
|
НАЦИОНАЛЬНЫЙ |
ГОСТ Р (ИСО
|
НЕФТЯНАЯ
И ГАЗОВАЯ ПРОМЫШЛЕННОСТЬ
ОБОРУДОВАНИЕ ДЛЯ БУРЕНИЯ И ДОБЫЧИ.
ОБОРУДОВАНИЕ УСТЬЯ СКВАЖИНЫ
И ФОНТАННОЕ УСТЬЕВОЕ ОБОРУДОВАНИЕ
Общие технические требования
ISO 10423:2003
Petroleum
and natural gas industries - Drilling and production equipment -
Wellhead and christmas tree equipment - general specifications
(MOD)
|
|
Москва |
Цели и принципы стандартизации в Российской Федерации установлены Федеральным законом от 27 декабря 2002 г. № 184-ФЗ «О техническом регулировании», а правила применения национальных стандартов Российской Федерации - ГОСТ Р 1.0-2004 «Стандартизация в Российской Федерации. Основные положения»
Сведения о стандарте
1. ПОДГОТОВЛЕН Закрытым акционерным обществом «НЕФТЕМАШ» (ЗАО «НЕФТЕМАШ»), Фондом развития топливно-энергетического комплекса «Стандарт ТЭК» (Фонд «Стандарт ТЭК»)
2. ВНЕСЕН Техническим комитетом по стандартизации ТК 23 «Техника и технологии добычи и переработки нефти и газа»
3. УТВЕРЖДЕН И ВВЕДЕН В ДЕЙСТВИЕ Приказом Федерального агентства по техническому регулированию и метрологии от 15 декабря 2009 г. № 1070-ст.
4. Настоящий стандарт является модифицированным по отношению к международному стандарту ИСО 10423:2003 «Промышленность нефтяная и газовая. Буровое и эксплуатационное оборудование. Устьевая и фонтанная арматура» (ISO 10423:2003 «Petroleum and natural gas industries - Drilling and production equipment - Wellhead and Christmas tree equipment. General specifications»)
5. ВЗАМЕН ГОСТ Р 51365-99
Информация об изменениях к настоящему стандарту публикуется в ежегодно издаваемом информационном указателе «Национальные стандарты», а текст изменений и поправок - в ежемесячно издаваемых информационных указателях «Национальные стандарты». В случае пересмотра (замены) или отмены настоящего стандарта соответствующее уведомление будет опубликовано в ежемесячно издаваемом информационном указателе «Национальные стандарты». Соответствующая информация, уведомления и тексты размещаются также в информационной системе общего пользования - на официальном сайте Федерального агентства по техническому регулированию и метрологии в сети Интернет
СОДЕРЖАНИЕ
Настоящий стандарт, сохраняя все формулировки, положения и ссылки на международные стандарты, дополняет их положениями и ссылками на действующие российские стандарты и технические нормативные документы.
Настоящий стандарт знакомит российских производителей и потребителей оборудования с требованиями стандарта ИСО 10423:2003 и практическими возможностями его применения.
Настоящий стандарт предназначен для применения техническими комитетами по стандартизации Российской Федерации, предприятиями и объединениями предприятий, в том числе союзами, госкорпорациями, ассоциациями, концернами, акционерными обществами, межотраслевыми, региональными и другими объединениями, независимо от форм собственности и подчинения, а также федеральными органами исполнительной власти Российской Федерации.
Стандарт распространяется на оборудование, независимо от его технических характеристик, размеров, массы и других показателей, времени и места разработки, испытаний, изготовления предприятиями всех форм собственности и подчиненности.
Пользователи настоящего стандарта должны помнить, что в конкретных случаях применения могут потребоваться дополнительные или отличающиеся требования. Настоящий стандарт не имеет целью запретить продавцу предлагать, а покупателю приобретать альтернативное оборудование или технические решения для конкретных случаев применения. Особенно это касается новых или усовершенствованных технологий. Если предлагается альтернатива, продавец должен подробно указывать все отклонения от настоящего стандарта.
НАЦИОНАЛЬНЫЙ СТАНДАРТ РОССИЙСКОЙ ФЕДЕРАЦИИ
|
НЕФТЯНАЯ И
ГАЗОВАЯ ПРОМЫШЛЕННОСТЬ Общие технические требования Petroleum and
natural gas industries.
Drilling
and production equipment. |
Дата введения - 2011-01-01
Настоящий стандарт распространяется на устьевое оборудование и фонтанную арматуру, применяемые при добыче нефти и газа, и устанавливает основные технические характеристики, требования к размерной и функциональной взаимозаменяемости, требования к проектированию и изготовлению, материалам, испытаниям и контролю, сварке, маркировке, погрузо-разгрузочным операциям, хранению, приобретению, ремонту и модернизации.
Настоящий стандарт не распространяется на испытания и (или) ремонт устьевого оборудования и фонтанной арматуры в промысловых условиях.
Настоящий стандарт применим к следующему специальному оборудованию:
а) Устьевое оборудование:
- корпусы головок обсадных труб;
- катушки головок обсадных труб;
- катушки головок насосно-компрессорных труб (НКТ);
- катушки переходные;
- корпусы многоколонных головок и катушки;
б) Соединители и фитинги:
- соединители переходные;
- переводники трубной головки;
- соединители верхние;
- тройники и крестовины;
- устройства отбора проб жидкости;
- переходные и промежуточные катушки;
в) Подвески НКТ и обсадных труб:
- подвески резьбовые;
- подвески клиновые;
г) Запорная арматура и штуцеры:
- одноходовые краны;
- многоходовые краны;
- приводные задвижки;
- задвижки, подготовленные для приводов;
- контрольные клапаны;
- штуцеры;
- наземные и подводные предохранительные клапаны и приводы;
- обратные клапаны;
д) Конструкции соединителей [фланцевые, резьбовые, другие концевые соединители (ОЕС) и сварные]:
- соединители-заглушки;
- соединители резьбовые;
- переходные и промежуточные соединители;
- пробки-заглушки;
- пробки для извлечения клапанов;
е) Прочее оборудование:
- силовые приводы задвижек;
- втулки с концевыми соединительными элементами;
- герметизирующие устройства;
- уплотнительные кольца;
- инструменты для спуска и испытания (приложение 3);
- сменные вкладыши (приложение 3).
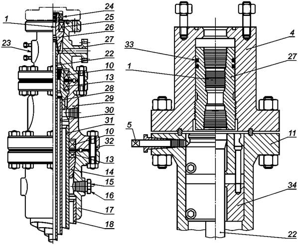
Наименования деталей и сборочных единиц типового устьевого оборудования приведены на рисунках 1 и 2.
а
1 - место
для установки обратного клапана; 2 - аварийный клапан; 3 - выход канала
управления
скважинным предохранительным клапаном; 4 - переводник головки НКТ; 5 -
стопорный винт;
6 - уплотнение подвески НКТ; 7 - подвеска НКТ с удлиненной выточкой и каналом управления
скважинным предохранительным клапаном; 8 - боковой выход на шпильках; 9 -
устройство для удаления
клапана; 10 - нижний уплотнитель (пакер); 11 - катушка головки НКТ; 12 -
переводник с двухрядным
расположением резьбовых отверстий для шпилек; 13 - уплотнение затрубного
пространства обсадных
труб; 14 - подвеска обсадных труб (клиновой тип); 15 - резьбовой выпускной
патрубок; 16 - заглушка;
17 - корпус колонной головки; 18 - поверхность обсадных труб; 19 - опорная
плита устьевого
оборудования; 20 - стопорное кольцо уплотнения НКТ; 21 - подвеска НКТ (клиновой
тип); 22 - НКТ

б
23 - гнездо для установки
выпускного патрубка на шпильках; 24 - уплотнение удлиненной шейки
подвески НКТ; 25 - кольцевое уплотнение подвески НКТ; 26 - резьбовая подвеска НКТ;
27 - патрубок фланцевый выпускной; 28 - резьбовая подвеска обсадных труб; 29 -
катушка головки
обсадных труб; 30 - внутренняя колонна обсадных труб; 31 - промежуточная
колонна обсадных труб;
32 - фланцевое концевое соединение; 33 - уплотнения резьбовой подвески НКТ; 34 - уплотнение подвески
навивочное
Рисунок 1 (а, б) - Наименования деталей и сборочных единиц типового устьевого оборудования
Настоящий стандарт определяет условия эксплуатации, касающиеся давления, температуры и класса материала, технического состояния устьевого оборудования.
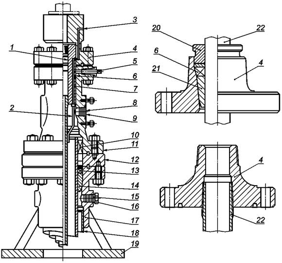
1 -
контрольный кран; 2 - гайка колпачковая; 3 - пробка-заглушка; 4 - корпус; 5 -
соединитель верхний;
6 - буферная или верхняя задвижка; 7 - тройник; 8 - задвижка отводящей линии; 9
- штуцер;
10 - задвижка фонтанная; 11 - переводник головки НКТ
Рисунок 2 - Наименования деталей и сборочных единиц фонтанного устьевого оборудования
В настоящем стандарте использованы ссылки на следующие стандарты:
ГОСТ Р 15.201-2000 Система разработки и постановки продукции на производство. Продукция производственно-технического назначения. Порядок разработки и постановки продукции на производство
ГОСТ Р 51906-2002 Соединения резьбовые обсадных, насосно-компрессорных труб и трубопроводов и резьбовые калибры для них. Общие технические требования
ГОСТ Р 52630-2006 Сосуды и аппараты стальные сварные. Общие технические условия
ГОСТ Р 8.568-97 Государственная система обеспечения единства измерений. Аттестация испытательного оборудования. Основные положения
ГОСТ 632-80 Трубы обсадные и муфты к ним. Технические условия
ГОСТ 633-80 Трубы насосно-компрессорные и муфты к ним. Технические условия
ГОСТ 977-88 Отливки стальные. Общие технические условия
ГОСТ 1497-84 (ИСО 6892-84) Металлы. Методы испытаний на растяжение
ГОСТ 2246-70 Проволока стальная сварочная. Технические условия
ГОСТ 3242-79 Соединения сварные. Методы контроля качества
ГОСТ 4543-71 Прокат из легированной конструкционной стали. Технические условия
ГОСТ 5264-80 Ручная дуговая сварка. Соединения сварные. Основные типы, конструктивные элементы и размеры
ГОСТ 6996-66 Сварные соединения. Методы определения механических свойств
ГОСТ 7512-82 Контроль неразрушающий. Соединения сварные. Радиографический метод
ГОСТ 8479-70 Поковки из конструкционной углеродистой и легированной стали. Общие технические условия
ГОСТ 8713-79 Сварка под флюсом. Соединения сварные. Основные типы, конструктивные элементы и размеры
ГОСТ 9012-59 (ИСО 410-82, ИСО 6506-81) Металлы. Метод измерения твердости по Бринеллю
ГОСТ 9013-59 (ИСО 6508-86) Металлы. Метод измерения твердости по Роквеллу
ГОСТ 9454-78 Металлы. Метод испытания на ударный изгиб при пониженных, комнатной и повышенных температурах
ГОСТ 9466-75 Электроды покрытые металлические для ручной дуговой сварки сталей и наплавки. Классификация и общие технические условия
ГОСТ 9467-75 Электроды покрытые металлические для ручной дуговой сварки конструкционных и теплоустойчивых сталей. Типы
ГОСТ 10052-75 Электроды покрытые металлические для ручной дуговой сварки высоколегированных сталей с особыми свойствами. Типы
ГОСТ 13846-89 Арматура фонтанная и нагнетательная. Типовые схемы, основные параметры и технические требования к конструкции
ГОСТ 14771-76 Дуговая сварка в защитном газе. Соединения сварные. Основные типы, конструктивные элементы и размеры
ГОСТ 14782-86 Контроль неразрушающий. Соединения сварные. Методы ультразвуковые
ГОСТ 15150-69 Машины, приборы и другие технические изделия. Исполнения для различных климатических районов. Категории, условия эксплуатации, хранения и транспортирования в части воздействия климатических факторов внешней среды
ГОСТ 16037-80 Соединения сварные стальных трубопроводов. Основные типы, конструктивные элементы и размеры
ГОСТ 16350-80 Климат СССР. Районирование и статистические параметры климатических факторов для технических целей
ГОСТ 18442-80 Контроль неразрушающий. Капиллярные методы. Общие требования
ГОСТ 21105-87 Контроль неразрушающий. Магнитопорошковый метод
ГОСТ 24507-80 Контроль неразрушающий. Поковки из черных и цветных металлов. Методы ультразвуковой дефектоскопии
ГОСТ 28919-91 Фланцевые соединения устьевого оборудования. Типы, основные параметры и размеры
ГОСТ 28996-91 Оборудование нефтепромысловое устьевое. Термины и определения
Примечание - При пользовании настоящим стандартом целесообразно проверить действие ссылочных стандартов и классификаторов в информационной системе общего пользования - на официальном сайте Федерального агентства по техническому регулированию и метрологии в сети Интернет или по ежегодно издаваемому информационному указателю «Национальные стандарты», который опубликован по состоянию на 1 января текущего года, и по соответствующим ежемесячно издаваемым информационным указателям, опубликованным в текущем году. Если ссылочный стандарт заменен (изменен), то при пользовании настоящим стандартом следует руководствоваться заменяющим (измененным) стандартом. Если ссылочный стандарт отменен без замены, то положение, в котором дана ссылка на него, применяется в части, не затрагивающей эту ссылку.
В настоящем стандарте применяются термины по ГОСТ 28996 и следующие термины с соответствующими определениями:
3.1 адаптер: Конструктивный элемент оборудования (переходник), используемый для присоединения других элементов оборудования различных номинальных размеров и давления в соответствии с техническими требованиями.
3.2 монограмма API: Зарегистрированный знак Американского нефтяного института (API).
3.3 пакер: Устройство, предназначенное для герметичного перекрытия заколонного пространства обсадных колонн различных диаметров.
3.4 фонтанная (устьевая) арматура: Устьевая арматура фонтанной скважины.
3.5 шпилечное соединение: Крепежные детали фланцевого соединения (шпильки, гайки), используемые при сборке оборудования, работающего под давлением.
3.6 время выдержки: Период времени, в течение которого оборудование подвергается выдержке под давлением и изолировано от источника давления.
3.7 крепежные винты: Группа резьбовых винтов, проходящих через стенку корпуса колонной или трубной головок, используемых для фиксации трубодержателя и уплотнений.
3.8 визуальный контроль: Контроль деталей и оборудования на видимые дефекты в материале при изготовлении.
3.9 горячая обработка: Пластическое деформирование металла при температуре выше температуры рекристаллизации.
3.10 доступные смачиваемые поверхности: Поверхности, доступные для смачивания, которые могут быть проконтролированы визуально под прямым углом зрения для целей неразрушающего контроля (НК).
3.11 дроссель: Оборудование, используемое для ограничения и регулирования потока жидкости под давлением.
3.12 дроссельная насадка: Сменная часть, выполненная из высокопрочного материала, используемая в дросселях.
3.13 дроссельные элементы: Настроечные элементы дросселя, работающие под давлением, включая насадки и втулки, используемые для регулирования и контроля расхода жидкости.
3.14 дата изготовления: Дата приемки готового оборудования на предприятии-изготовителе.
3.15 дата ремонта: Дата приемки оборудования на предприятии-изготовителе после завершения ремонта (восстановления способности оборудования выполнять производственные функции).
3.16 деталь: Отдельные части, используемые при сборке узлов оборудования.
3.17 детали, работающие под давлением: Детали, нарушение функционирования которых приводит к вытеканию жидкости скважины в атмосферу.
3.18 детали, регулирующие давление: Детали, используемые для контроля и регулирования движения жидкостей под давлением, например механизм уплотнения отверстия задвижки и трубодержателя.
3.19 зона термического влияния: Та часть основного металла, который не расплавлен, но свойства или микроструктура которого изменяется под воздействием высокой температуры при сварке, резке или наплавке.
3.20 шиберная задвижка: Сборная задвижка с шибером, работающим внутри корпуса и установленным под углом 90° к трубопроводу, чтобы осуществлять перекрытие потока.
3.21 индикация линейных дефектов: Индикация поверхностных дефектов при неразрушающем контроле (НК), у которых длина втрое превышает поперечный размер дефекта.
3.22 интегральное давление: Давление, способное сопротивляться течи под приложенным высоким давлением.
3.23 индикация поверхностных дефектов: Индикация круговых поверхностных дефектов при контроле НК эллиптической или круговой формы, длина которых не превышает трех поперечных размеров дефекта.
3.24 значительные изменения: Изменения, выявленные изготовителем, которые влияют на рабочие характеристики изделия при эксплуатации.
3.25 испытательная организация: Любая независимая третья сторона, располагающая испытательным комплексом для проведения испытаний материалов и оборудования в целях оценки соответствия установленным требованиям.
3.26 критерии приемки: Определенные предельные значения, установленные на характеристики материала и оборудования.
3.27 обратный клапан трубодержателя: Однопроходный запорный клапан, установленный в трубодержателе насосно-компрессорных труб (НКТ) для предотвращения выброса нефтепродуктов из скважины.
3.28 корпус: Часть оборудования между соединениями с внутренними деталями или без них, которая удерживает скважинное давление.
3.29 крышка герметичная: Деталь корпуса, находящаяся в процессе работы под давлением в отличие от других концевых и выпускных соединений.
3.30 калибровка: Совокупность операций, выполняемых в целях определения действительных значений, сравнение и регулировка их в соответствии с установленными значениями.
3.31 однофланцевая головка колонная: Часть оборудования, присоединяемая к самому верхнему концу обсадных труб, которая обеспечивает подвеску и уплотнение подвешенных обсадных труб в трубодержателе.
3.32 двухфланцевая головка колонная: Часть оборудования, присоединяемая к однофланцевой колонной головке и обеспечивающая подвеску и уплотнение следующих обсадных колонн.
3.33 коррозионностойкие кольцевые канавки: Канавки, покрытые металлом, устойчивым к коррозии.
3.34 критические компоненты: Специальные требования к деталям.
3.35 крестовина: Фитинг, работающий под давлением с четырьмя отверстиями; обычно отверстия располагаются под углом 90° друг от друга.
3.36 крестовая катушка: Оборудование с фланцевыми или другими соединениями с ограниченной площадью уплотнения, расположенного вблизи поверхности его нижнего и верхнего фланцев.
Примечание - Крестовая катушка часто снабжена средствами подвески и уплотнения вокруг подвешенных внутренних обсадных труб и трубопровода. Верхнее соединение катушки крестовой выдерживает большее давление по сравнению с нижним соединением.
3.37 обратный клапан: Обратная арматура, конструктивно выполненная в виде клапана.
3.38 коронный клапан: Верхний клапан на вертикальной оси фонтанной арматуры под выпускным отверстием.
3.39 полнопроходный клапан: Клапан, запорный механизм которого имеет такой же размер, как и внутренний диаметр корпуса клапана.
3.40 коренной клапан: Самый нижний клапан на вертикальной оси фонтанной арматуры, используется для полного перекрытия скважины.
3.41 пробковый клапан: Собранный клапан, в котором для закрытия используется пробка (прямая, шаровая, коническая и т.д.), постоянно установленная через канал так, чтобы при повороте на 90° создавать эффект закрытия.
3.42 редукционный клапан: Клапан с редукционным отверстием в механизме перекрывания клапана.
3.43 боковой клапан: Клапан, расположенный на боковом отводе фонтанной арматуры, используемый для перекрытия потока из скважины.
3.44 неразрушающий контроль: Контроль состояния материала без разрушения изделия.
3.45 корпус трубодержателя: Часть трубодержателя, которая присоединяется с помощью резьбы к подвешенному трубопроводу и образует верхнюю часть трубопровода.
3.46 колонна насосно-компрессорных труб (НКТ): Трубы, применяемые в скважине для вывода пластового флюида из скважины в фонтанную арматуру.
3.47 многопроходная колонная головка (моноблок): Устьевое оборудование с боковыми отводами, имеющее возможность подвешивания и уплотнения двух и более обсадных колонн в одном корпусе.
Примечание - В моноблочной колонной головке верхний фланец может иметь рабочее давление выше, чем установлено для нижнего соединения.
3.48 маршрут (рабочая партия): Возможность отслеживать принадлежность деталей к определенной партии.
3.49 механизм уплотнения отверстия клапана: Внутренняя часть клапана, шибер, шар, заглушка, пробка и их посадочное место, перекрывающие поток через клапан.
3.50 обсадные трубы: Трубы, используемые в конструкции скважины в качестве основной крепи пробуренного ствола.
3.51 флюид пластовый: Нефть, газ, вода в горных породах, характеризующиеся текучестью.
3.52 оборудование: Любой единичный комплект оборудования.
3.53 объективное свидетельство: Документально зарегистрированные в протоколе результаты испытаний, контрольные данные, анализ элементов или расчеты, подтверждающие рабочие характеристики изделия.
3.54 привод задвижек или дросселя: Механизм для дистанционного или автоматического срабатывания задвижки или дросселя.
3.55 посадка: Характер соединения двух деталей, определяемый разностью их размеров до сборки.
3.56 ковка: Горячая пластическая деформация сжатия металла для получения деталей нужной формы с использованием штампа или без его использования.
3.57 отливка: Необходимая форма детали, полученная методом расплавления металла.
Примечание - Для переплавленных сплавов определяется как необработанный материал, образовавшийся из первичного расплавления слитка.
3.58 протокол: Документ, содержащий результаты испытаний и другую информацию, относящуюся к испытаниям.
3.59 серийный номер: Уникальный код отдельных деталей и/или частей оборудования для регистрации в журналах.
3.60 проставка: Элемент оборудования, работающий под давлением, для подсоединения или разделения других элементов оборудования.
3.61 наземный клапан безопасности: Сборка автоматического клапана оборудования устья скважины, который должен срабатывать на закрытие при отказе в энергоснабжении.
3.62 привод клапанов: Устройство, обеспечивающее срабатывание клапанов на открытие при подаче энергии и автоматическое закрытие их при отказе в энергоснабжении или команде на закрытие.
3.63 переходник трубной головки: Деталь оборудования фонтанной арматуры, присоединяемая к трубной головке и далее к фонтанной елке.
3.64 поковка: Деталь, изготовленная методом ковки.
3.65 рабочие характеристики материала (основные): Минимальные значения показателей материалов, обеспечивающие выполнение требований настоящего стандарта.
3.66 рабочее давление: Максимальное внутреннее давление оборудования, на которое оно рассчитано.
3.67 коррозионное растрескивание под напряжением: Растрескивание, возникающее под действием коррозии и напряжений.
3.68 растрескивание под действием сероводорода: Растрескивание металлических материалов под воздействием жидкостей, содержащих сероводород.
3.69 коррозионностойкие сплавы: Сплавы на железной основе, в которых не железо, а какой-либо другой элемент или сумма определенных элементов (титан, никель, кобальт, хром, молибден) превышает 6 %.
3.70 крестовое соединение: Переходник с ограниченной площадью уплотнения и давлением на верхнее соединение выше, чем на нижнее.
3.71 концевые и выпускные соединения: Внутренние и внешние резьбовые или фланцевые соединения с помощью шпилек или другими способами, используемые для соединения деталей оборудования, работающего под давлением или управляющего давлением.
3.72 соединяющие каналы для установки датчиков и проведения испытаний: Отверстия, просверленные и обработанные метчиком, через которые можно измерять внутреннее давление или можно подавать давление для проверки механизма уплотнения.
3.73 садка: Материал, загружаемый на подъемное или транспортное устройство и перемещаемый как партия в цикле термообработки.
3.74 скважинная жидкость: Реальная жидкость, которая выходит из скважины.
3.75 специальный материал: Материал, удовлетворяющий специальным требованиям, предъявляемым промышленными стандартами изготовителю.
3.76 нержавеющая сталь: Сталь, содержащая более 11 % хрома, что делает ее устойчивой к коррозии.
Примечание - Другие элементы могут добавляться для получения определенных свойств материала.
3.77 снятие напряжений: Контролируемый нагрев материала до определенной температуры с целью снятия остаточных напряжений после сварки.
3.78 верхнее соединение: Верхний фланец фонтанной арматуры, позволяющий инструменту входить в фонтанную арматуру для присоединения других узлов и деталей.
3.79 резьбовой трубодержатель обсадных труб: Устройство, используемое для удержания подвешенных обсадных труб в верхней части посредством наружной или внутренней резьбы обсадных труб.
3.80 клиновой трубодержатель обсадных труб: Устройство для поддержания подвешенных обсадных труб в верхней части с помощью клиньев.
3.81 термическая обработка: Чередующиеся этапы контролируемого нагрева и охлаждения материалов с целью изменения физических или механических свойств.
3.82 технологический производственный процесс: Операции механической обработки, сварки, термообработки или другие процессы, используемые для полного изготовления изделия.
3.83 термическая обработка после сварки: Любая термическая обработка после сварки, снимающая напряжения, а также служащая для получения нужных механических свойств.
3.84 комнатная температура: Температура от 4 °C до 50 °C.
3.85 резьбовой трубодержатель трубной головки: Устройство для удержания подвешенной колонны лифтовых труб в трубной головке фонтанной арматуры посредством наружной или внутренней резьбы насосно-компрессорных труб.
3.86 трубная головка фонтанной арматуры: Деталь устьевого оборудования, устанавливаемая на верхний фланец колонной головки, служащая для подвешивания лифтовых труб и герметизации кольцевого пространства между колоннами лифтовых и обсадных труб.
3.87 кольцевой уплотнитель: Устройство, уплотняющее пространство между внутренним диаметром колонной головки и наружным диаметром подвешенной обсадной трубы или трубчатого элемента.
3.88 условия поставки: Условия, оговоренные в контракте на поставку.
3.89 утвержденная программа качества: Программа обеспечения качества по требованиям настоящего стандарта.
3.90 нижний уплотнитель обсадных труб: Устройство, которое обеспечивает уплотнение кольцевого пространства между наружным диаметром обсадных труб и внутренним диаметром нижней части корпуса колонной головки, расположенной выше трубодержателя и пакеров обсадной колонны, подвешенной в предыдущей колонной головке.
3.91 подвижный уплотнитель: Уплотнитель, в котором происходит движение относительно уплотняемой поверхности после его установки.
3.92 устройство, срабатывающее под воздействием тепла: Устройство, установленное на приводе наземного клапана безопасности для поддержания его в полностью открытом положении до момента воздействия на него определенного количества тепла, вызывающего сброс взведенного устройства закрытия клапана безопасности.
3.93 статичный уплотнитель: Уплотнитель, неподвижный по отношению к уплотняющим поверхностям после их установки.
3.94 фланец: Выступающее опорное кольцо с отверстиями для шпилек (болтов), с механизмом уплотнения, используемым для соединения частей оборудования, работающего под давлением.
3.95 глухой фланец: Фланец, не имеющий центрального отверстия, используемый для полного глушения фланцевого конца и выходных соединений
3.96 открытый фланец: Фланец, не являющийся целой частью с другими деталями оборудования.
Примечание - Он может быть резьбовым, сварным, со шпилечным соединением или другим соединительным переходным устройством.
3.97 резьбовой фланец: Фланец с уплотняемой поверхностью с одной стороны и внутренней резьбой с другой для присоединения фланцевых соединений к резьбовым соединениям.
3.98 приварной фланец: Фланец с приварной фаской со стороны противоположной уплотняемой поверхности, для приварки к соответствующей трубе или переходной детали.
3.99 форма: Основная форма изделия, включая все ее составляющие части.
Устьевое оборудование должно соответствовать предъявляемым к нему требованиям, безопасно выдерживать внутреннее давление скважинной среды и не иметь утечек при долговременной эксплуатации скважины.
Оборудование должно соответствовать [1] и [2].
Установлены четыре уровня технических требований (УТТ) к изделию:
- УТТ1 (PSL 1) - общепринятые правила, характерные для широкого спектра производства. Требования настоящего стандарта применимы к уровню УТТ1, если нет специальных пометок;
- УТТ2 (PSL 2) - требования уровня УТТ1 и дополнительные требования (приложение А);
- УТТ3 (PSL 3) - требования уровня УТТ2 и дополнительные требования (приложение А);
- УТТ4 (PSL 4) - требования уровня УТТ3 и дополнительные требования (приложение А).
Рекомендации по выбору потребителем соответствующего уровня, которые указывают в опросном листе при оформлении заявки на изготовление и поставку, приведены в приложении А.
Линейные размеры в настоящем стандарте приведены в миллиметрах (мм), а в ряде пунктов стандарта для большей информативности они одновременно указаны в дюймах. При необходимости миллиметры могут быть переведены в дюймы с помощью переводных коэффициентов, приведенных в приложении Б.
4.4.1. Расчеты на прочность узлов и деталей оборудования
4.4.1.1. Требования к расчету на прочность узлов и деталей оборудования, работающих под давлением, приведены в приложении В. При этом допускаемые напряжения для узлов и деталей оборудования о, за исключением болтов и шпилек, принимают равными:
- для рабочих условий: s = Min {sT/1,5; sв/2,4};
- для условий гидроиспытания и монтажа: s = sт/1,2,
где sт - минимальный условный предел текучести при расчетной температуре;
sв - минимальное временное сопротивление при расчетной температуре.
Прочность и плотность резьбовых и фланцевых соединений, включая назначение допускаемых напряжений для болтов и шпилек, рассчитывают в соответствии с нормативной документацией.
4.4.1.2. В качестве альтернативы расчету на прочность может быть использовано подтверждение допускаемого расчетного давления для рассматриваемых узлов и деталей экспериментальными методами при проведении гидроиспытания.
Деформации при определении допускаемого расчетного давления для рассматриваемых узлов и деталей экспериментальными методами контролируют с помощью тензометрических датчиков любого типа, позволяющих измерять относительные деформации с точностью не менее 0,005 %. Относительные деформации измеряют в направлении максимального напряжения, при этом тензометрические датчики должны располагаться как можно ближе к наиболее напряженным местам конструкции.
Давление гидроиспытания следует увеличивать постепенно до значения, равного половине ожидаемого расчетного давления. После достижения этого значения давление должно увеличиваться ступенчато, причем приращение давления на каждой ступени не должно превышать 0,1 ожидаемого расчетного давления. После каждого приращения давления должны быть сняты и записаны показания тензометрических датчиков.
4.4.1.3. Допускаемое расчетное давление Pр считается подтвержденным проведенным гидроиспытанием, если при достижении испытательного давления Рг наибольшие измеренные относительные деформации не превышают 0,2 %.
Если известен фактический средний предел текучести sтф образцов, выполненных из того же материала, что и испытываемая деталь, давление Рг определяют по формуле (4.1)
Pг = 2Pр(sтф/sт) (4.1)
Если фактический средний предел текучести sтф образцов, выполненных из того же материала, что и испытуемая деталь, не определялся, давление Рг вычисляют по формуле
Рг = 2,5Pр (4.2)
4.4.1.4. Результаты испытаний, включая результаты испытаний образцов для определения фактического среднего предела текучести, методику, используемую для определения мест размещения тензометрических датчиков, и средства термокомпенсации, программу нагружения и величину деформации на каждой ступени нагружения и после снятия нагрузки, фиксируют и прилагают к документации на испытуемый узел или деталь.
4.4.2. Основные параметры
4.4.2.1. Основные параметры фонтанной арматуры приведены в таблице 1. Типовые схемы фонтанных арматур - по ГОСТ 13846.
Таблица 1 - Основные параметры фонтанной арматуры
|
Значение |
||||||||||||||||||
|
1. Рабочее давление, МПа (PSI) |
14,0 (2000); 21,0 (3000); 35,0 (5000); 70,0 (10000); 105,0 (15000); 140,0 (20000) |
|||||||||||||||||
|
2. Условный проход в зависимости от рабочего давления, мм |
Ствола елки |
Боковых отводов елки |
Боковых отводов трубной головки |
Рабочее давление, МПа |
||||||||||||||
|
50 |
14,0; 21,0; 35,0; 70,0; 105,0 |
|||||||||||||||||
|
65 |
50, 65 |
50, 65 |
||||||||||||||||
|
80 |
50, 65, 80 |
14,0; 21,0; 35,0; 70,0; 105,0; 140,0 |
||||||||||||||||
|
100 |
65, 80, 100 |
|||||||||||||||||
|
150 |
100 |
21,0 |
||||||||||||||||
|
3. Условный проход присоединительных фланцев в зависимости от рабочего давления, мм |
Верхнего фланца трубной головки |
Нижнего фланца трубной головки |
Условный проход ствола |
Рабочее давление, МПа |
||||||||||||||
|
180 |
180, 280 |
50, 65, 80 |
14,0 |
|||||||||||||||
|
280 |
21,0; 35,0 |
|||||||||||||||||
|
50, 65 |
70,0; 105,0 |
|||||||||||||||||
|
80 |
70,0; 105,0 |
|||||||||||||||||
|
230 |
100 |
14,0; 21,0; 35,0; 70,0; 105,0; 140,0 |
||||||||||||||||
|
280 |
350 |
150 |
21,0 |
|||||||||||||||
|
4. Предельная осевая нагрузка от массы колонны насосно-компрессорных труб (НКТ), т |
Условный диаметр НКТ |
|||||||||||||||||
|
73 |
89 |
114 |
||||||||||||||||
|
Рабочее давление, МПа |
||||||||||||||||||
|
14, |
21, |
35, |
70, |
10 |
14, |
21, |
35, |
70, |
10 |
14, |
21, |
35, |
70, |
105 |
||||
|
20 |
30 |
45 |
80 |
10 |
30 |
45 |
65 |
10 |
13 |
35 |
50 |
75 |
12 |
150 |
||||
|
0 |
0 |
0 |
0 |
|||||||||||||||
|
5. Скважинная среда |
1. Обычная, содержащая СO2* 2. Кислая среда, содержащая СO2 и H2S |
|||||||||||||||||
|
6. Температурные характеристики, °C |
От -60 до +120 |
|||||||||||||||||
|
7. Тип соединения |
Фланцевый по ГОСТ 28919 |
|||||||||||||||||
|
8. Уровень требований к рабочим характеристикам |
УТТ 1; УТТ 2 |
|||||||||||||||||
|
* Коррозионную агрессивность скважинной среды см. в таблице 9. Примечание - Размеры в скобках менее предпочтительны. |
||||||||||||||||||
4.4.2.2. Основные параметры однофланцевых и двухфланцевых колонных головок приведены в таблицах 2, 3; параметры скважинной среды и температурные характеристики - в таблице 1.
Таблица 2 - Основные параметры однофланцевых колонных головок
Размеры в мм
Таблица 3 - Основные параметры двухфланцевых колонных головок
Размеры в мм
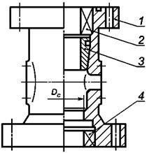
4.4.3. Типовые схемы колонных головок приведены на рисунках 3 и 4.
1 - корпус; 2 - верхний уплотнитель; 3 - трубодержатель
Рисунок 3 - Однофланцевая колонная головка
1 - корпус; 2 - верхний уплотнитель; 3 - трубодержатель; 4 - нижний уплотнитель
Рисунок 4 - Двухфланцевая колонная головка
4.4.3.1. Диаметр стволового прохода Dc полнопроходных головок определяют при выполнении следующих условий:
- диаметр стволового прохода Dc образован непосредственно расточкой в корпусе колонной головки или с помощью специальных приспособлений - направляющего долота, центрирующего кольца и т.д.;
- диаметры стволового прохода полнопроходных колонных головок в таблицах 2 и 3 определены из условий, что в основании колонной головки применяется колонна обсадных труб по ГОСТ 632 с наименьшей толщиной стенки, соответствующей параметрам колонной головки, а диаметр Dc на 0,8 мм превышает диаметр шаблона по ГОСТ 632 для проверки внутреннего диаметра этих обсадных труб;
- если размеры труб обсадной колонны в основании колонной головки отличаются от приведенных в таблицах 2 и 3 (большая толщина стенки или иной условный диаметр), то для того, чтобы колонная головка соответствовала полнопроходной, ее диаметр стволового прохода Dc также должен на 0,8 мм превышать диаметр шаблона для проверки внутреннего диаметра этих обсадных труб.
4.5.1. Оборудование, проектируемое, производимое и импортируемое для работы в Российской Федерации, должно соответствовать требованиям ГОСТ 15150.
4.5.2. Климатическое районирование на территории Российской Федерации и стран СНГ - по ГОСТ 16350.
4.6.1. Конструкция корпусных деталей фонтанной арматуры должна обеспечивать возможность их опрессовки пробным давлением в соответствии с таблицей 4.
Таблица 4 - Испытательное давление деталей фонтанной арматуры
|
14 |
21 |
35 |
70 |
105 |
140 |
|
|
Pр, МПа |
||||||
|
Пробное давление |
2Pр |
1,5Pр |
||||
|
Pпр, МПа |
||||||
4.6.2. Соосность отверстий составных частей арматуры, образующих стволовой проход, должна обеспечивать беспрепятственное прохождение оборудования, приборов и приспособлений, спускаемых в скважину, и оборудования, подвешенного на колонне НКТ.
4.6.3. Допускается конструктивно объединять несколько составных частей арматуры в один блок, не изменяя ее типовой схемы.
4.6.4. Допускается дополнительно оборудовать фонтанную арматуру запорными устройствами и обратным клапаном, а елки - дросселем.
4.6.5. Дроссель в фонтанной арматуре должен быть регулируемым (бесступенчато) или не регулируемым со сменной дроссельной насадкой (штуцером).
4.6.6. Конструкция трубной головки должна обеспечивать возможность подвешивания скважинных трубопроводов, контроля давления и управления потоком скважинной среды в (межтрубном) пространстве, смены елки под давлением и извлечения колонны насосно-компрессорных труб при установке превентора (при условии, если установлен обратный клапан).
4.6.7. Трубодержатель трубной обвязки должен быть рассчитан на нагрузку, передаваемую скважинным трубопроводом, подвешенным в нем, и на восприятие усилий от давления скважинной среды и воздействия технологических операций, возникающих при эксплуатации и ремонтных работах.
При этом вызываемая ими деформация, приводящая к уменьшению внутреннего диаметра насосно-компрессорной трубы, закрепленной в трубодержателе, не должна препятствовать прохождению через нее шаблона по ГОСТ 633 для проверки ее внутреннего диаметра.
- от полного веса скважинного трубопровода;
- от веса колонны труб с наибольшей толщиной стенки для рассматриваемого условного диаметра за вычетом выталкивающей силы гидростатического столба жидкости в скважине;
- подругой методике, используемой изготовителем.
4.6.8. Корпус трубной головки (крестовины) должен иметь два, как правило, соосных боковых отвода для соединения с трубопроводами на резьбе или фланцах.
4.6.8.1. По требованию потребителя во фланцевых боковых отводах должна быть предусмотрена возможность подсоединения устройства для смены запорных устройств под давлением.
4.6.8.2. В нижнем фланце корпуса трубной головки (крестовины) должно быть предусмотрено устройство для опрессовки фланцевого соединения.
4.6.9. По требованию потребителя конструкция фонтанной арматуры должна обеспечивать:
- монтаж елки при избыточном давлении среды в скважинном трубопроводе;
- нагнетание ингибиторов коррозии и гидратообразования в скважинный трубопровод и затрубное пространство (в фонтанных скважинах);
- измерение давления и температуры скважинной среды в боковых отводах фонтанной елки.
4.6.10. Конструкция запорных устройств с дистанционным управлением должна предусматривать возможность ручного управления ими.
4.7.1. Корпуса колонных головок, включая их боковые отводы, должны быть рассчитаны на опрессовку пробным давлением Pпр в соответствии с таблицей 5 в зависимости от рабочего давления Pр верхнего фланца.
Таблица 5 - Испытательное давление деталей устьевого и противовыбросового оборудования
|
Рабочее давление, Pр МПа |
|||||
|
14 |
21 |
35 |
> 70 |
||
|
Пробное давление Pпр, МПа |
|||||
|
До 350 включ. |
2Pр |
1,5Pр |
|||
|
Св. 350 |
1,5Pр |
2Pр |
|||
При этом вызываемая им деформация, приводящая к уменьшению внутреннего диаметра обсадной трубы, закрепленной в трубодержателе, не должна препятствовать прохождению через нее шаблона по ГОСТ 632 для проверки ее внутреннего диаметра.
Нагрузка, передаваемая обсадной колонной на трубодержатель, может определяться одним из следующих методов:
- от полного веса обсадной колонны;
- от веса обсадной колонны с наибольшей толщиной стенки для рассматриваемого условного диаметра без учета выталкивающей силы гидростатического столба жидкости в скважине;
- по другой методике, используемой изготовителем.
4.7.3. Нижний присоединительный резьбовой конец корпуса однофланцевой колонной головки должен соответствовать резьбе обсадных труб по ГОСТ 632.
По требованию заказчика может быть изготовлена резьба другого типа (другое соединение) по ГОСТ 632 или другому нормативному документу.
4.7.4. На корпусах колонных головок должны быть по два соосных боковых отвода, имеющих присоединительные элементы в виде резьбы для Pр < 21,0 МПа по ГОСТ 633 или в виде фланцев для Pр > 21,0 МПа.
4.7.5. Во фланцевых боковых отводах должна быть предусмотрена возможность подсоединения устройства для смены запорных устройств под давлением.
4.8.1. Общие положения
Запорная арматура включает в себя:
- полнопроходные шиберные задвижки, включая стволовые и на выкидных линиях, предназначенных для управления скважиной;
- шаровые или пробковые краны, включая стволовые и на выкидных линиях, предназначенных для управления скважиной на рабочее давление не более 14,0 МПа;
- запорные вентили с разделителем сред для контроля давления и замены манометра под давлением.
4.8.2. Запорная арматура должна соответствовать требованиям к эксплуатации, установленным в нормативных документах изготовителя.
4.8.3. Показатели надежности.
Рабочий цикл: количество циклов закрытия - открытия задвижки - 500;
количество циклов проверки давлением Pр (после каждого
седьмого закрытия) - 78;
количество рабочих циклов: при УТТ 1 - 1;
при УТТ 2 - 3.
За рабочий цикл принимают закрытие - открытие задвижки с периодической проверкой (после каждого седьмого закрытия) рабочим давлением.
4.8.4. Присоединительные размеры фланцев задвижек и кранов - по ГОСТ 28919.
4.8.5. Шиберные задвижки должны быть оборудованы средствами для замены уплотнения шпинделя (штока) при наличии давления в подключенных к задвижке трубопроводах.
4.8.6. Задвижки и вентили с ручным управлением должны поворачиваться против часовой стрелки для открывания и по часовой стрелке для закрывания. Шиберные задвижки должны быть снабжены маховиком. Маховик должен сниматься во время транспортирования или технического обслуживания. Краны должны быть оснащены маховиком либо рукояткой, которая должна иметь указатель направления вращения: «Открыто» и «Закрыто». Шпиндели задвижек должны быть защищены от механических повреждений при транспортировании и эксплуатации. Запорная арматура должна иметь указатель положения затвора. Приводы должны быть спроектированы таким образом, чтобы обеспечить перестановку запорного органа при максимальном рабочем перепаде давления на нем без применения дополнительных механических устройств.
4.8.7. Материал корпуса, крышки, фланцевых соединений и внутренних деталей (штуцер, седло) должен соответствовать 4.16.
4.8.8. Запорную арматуру проверяют гидравлическим испытанием на пробное давление в соответствии с таблицей 4.
Проверка качества запорной арматуры - по 4.18.
4.8.9. Запорная арматура должна маркироваться в соответствии с требованиями 4.20.
4.8.10. Хранение и транспортирование запорной арматуры - в соответствии с 4.21.
4.9.1. Обратный клапан представляет собой запорный орган (захлопку) с уменьшенным проходным отверстием, используемый на выкидных линиях для пропуска потока жидкости только в одном направлении.
4.9.2. Обратные клапаны должны удовлетворять общим эксплуатационным требованиям. Конструкция клапанов должна обеспечивать работоспособность в условиях низких температур по ГОСТ 15150.
4.9.3. Присоединительные размеры фланцев должны выполняться в соответствии с ГОСТ 28919.
4.9.4. Для клапанов с уменьшенным отверстием изготовитель должен документировать характеристики потока и падение давления.
4.9.5. На корпусе обратного клапана должно быть указано направление потока жидкости.
4.9.6. Материал корпуса и внутренних деталей должен соответствовать требованиям 4.16.
4.9.7. Гидравлические испытания обратных клапанов на пробное давление проводят в соответствии с таблицей 4, проверка качества изготовления - в соответствии с 4.18.
4.9.8. Обратные клапаны должны маркироваться в соответствии с требованиями 4.20.
4.9.9. Транспортирование и хранение обратных клапанов - в соответствии с 4.21.
4.10.1. Общие положения
Этот раздел охватывает нерегулируемые и регулируемые дроссели, которые включают в себя устройства для управления скоростью потока жидкости. Эти дроссели не предназначены для использования в качестве запорных устройств.
Регулируемые дроссели позволяют регулировать положение дросселирующей пары в пределах «Открыто» - «Закрыто» или от «От 0 до 100 %».
Нерегулируемые дроссели включают в себя заменяемые детали, имеющие постоянный размер отверстия, которые именуются фонтанным штуцером.
4.10.2. Дроссели должны удовлетворять общим эксплуатационным требованиям.
4.10.3. Обозначение номинального размера дросселя должно состоять из размера входного отверстия фланца и максимального размера отверстия, возможного для данного дросселя.
4.10.4. Эквивалентом безотказной работы в течение 3000 ч по прокачке скважинной среды или воды является объем прокачки раствора плотностью 1,6 г/см3, условной вязкостью по СПВ-5 с содержанием песка 1 - 3 % (по объему), расходом от 6 до 15 дм3/с при давлении 0,67 Па и объеме 445 м3.
4.10.5. Требования к рабочим характеристикам регулируемых дросселей Количество рабочих циклов: при УТТ 1 - 1;
при УТТ 2 - 3.
Количество циклов при уплотнении между седлом и корпусом:
при УТТ 1 - 1;
при УТТ 2 - 3.
За рабочий цикл принимают закрытие - открытие от минимума до максимума с проверкой рабочего давления.
4.10.6. Штуцеры нерегулируемого дросселя должны иметь фиксированный проход отверстия.
4.10.7. Регулируемые дроссели должны быть оборудованы видимым индикаторным механизмом площади прохода для определения этой площади при любой установке дросселя во всем диапазоне его эксплуатации. Этот механизм должен быть откалиброван, чтобы показывать диаметры круглых отверстий, имеющих площади, эквивалентные минимальным площадям потока жидкости. Эти отметки должны быть с интервалом 0,4 мм (1/64"), например 1,5 мм (4/64"), 1,9 мм (5/64"), 3,3 мм (6/64") и т.д. Конструкция регулируемых дросселей должна иметь механическую блокировку регулирующего органа с целью предупреждения его полного выкручивания в процессе эксплуатации при наличии давления в корпусе.
4.10.8. Присоединительные размеры фланцев дросселей должны быть выполнены в соответствии с ГОСТ 28919.
4.10.9. Материалы корпуса, крышки, фланцевых соединений и внутренних деталей (шток, седло, наконечник) должны соответствовать требованиям 4.16.
4.10.10. Дроссель (регулируемый и нерегулируемый) должен проходить проверку гидравлическим испытанием на пробное давление согласно таблице 4.
Дроссель, имеющий разные давления на входе и выходе, должен проходить гидравлические испытания не в корпусе, а до регулирующего седла. Для этого место посадки седла должно быть заглушено временной технологической заглушкой.
Проверка качества дросселей - по 4.18.
4.10.11. Дроссели должны маркироваться в соответствии с требованиями 4.20.
4.10.12. Транспортирование и хранение дросселей в соответствии с требованиями 4.21.
4.11.1. Пробоотборники, используемые для отбора проб жидкости в скважине, должны удовлетворять требованиям, установленным для корпусов и фланцевых соединений.
4.11.2. Соединитель для отбора проб должен быть с внутренней резьбой не менее чем 12,7 мм (1/2") номинального размера трубной резьбы.
4.11.3. Требования к циклам
Количество циклов при полном объеме проб: при УТТ 1 - 1;
при УТТ 2 - 3.
Давление при УТТ 1 и УТТ 2 - обеспечение герметизации изнутри.
4.12.1. Идентификация уровня требований к рабочим характеристикам в настоящих технических требованиях и [3]:
УТР 1 соответствует PR 1;
УТР 2 соответствует PR 2.
4.12.2. Уровень требований УТТ 1 включает требования к рабочим характеристикам оборудования, необходимые и достаточные для его эксплуатации.
Уровень УТР 2 предусматривает больше требований к рабочим характеристикам и больший объем испытаний (по количеству циклов и номенклатуре контролируемых параметров) для более сложных (отечественных) условий эксплуатации оборудования.
Необходимый уровень требований определяет потребитель в зависимости от множества факторов, учитываемых при заказе.
Оборудование должно проектироваться для работы с минимальными и максимальными температурами, указанными в таблице 1.
Минимальной температурой является самая низкая температура окружающей среды, воздействию которой может подвергаться оборудование.
Максимальной температурой является самая высокая температура внутренней среды, которая непосредственно контактирует с оборудованием.
Конструкция должна учитывать влияние различных тепловых расширений при изменении температуры и температурных градиентов, возникающих на практике при эксплуатации (таблица 6).
Таблица 6 - Температурные характеристики
|
Рабочий диапазон температур, °C |
|
|
УХЛ, ХЛ |
От -60 до +45 |
|
У |
От -45 до +45 |
|
О |
От 0 до +60 |
4.14.1. Конструкция устьевого оборудования, схемы обвязки и компоновка должны обеспечивать оптимальные режимы работы скважины, герметизацию трубного, затрубного и межтрубного пространства, возможность технологических операций на скважине, глубинных исследований, отбора проб и контроля устьевого давления и температуры.
4.14.2. Рабочее давление устьевого оборудования должно быть не менее давления опрессовки эксплуатационной колонны.
4.14.3. Опрессовку оборудования в собранном виде до установки на устье (в заводских условиях) следует производить на пробное давление (таблица 4). Результаты опрессовки предприятие-изготовитель оформляет актом.
4.14.4. Фонтанная арматура должна оснащаться предприятием-изготовителем дросселями с ручным, а по требованию заказчика - с дистанционным управлением, запорной арматурой с дистанционным и/или ручным управлением и обеспечивать возможность замены манометров с использованием вентиля с разделителем сред без снижения давления до атмосферного.
4.14.5. При эксплуатации скважины с температурой выше 120 °C следует применять соответствующую арматуру, конструкция и термостойкость которой обеспечивают безопасность технологического процесса и обслуживающего персонала.
4.14.6. Фонтанные скважины с дебитом 400 т/сут. нефти или 500 тыс. м3/сут. газа и более, расположенные на расстоянии менее 500 м от населенного пункта, оснащают внутрискважинным оборудованием (пакер, клапан-отсекатель, циркуляционный клапан, станция управления и др.). Газоконденсатная и газовая скважины должны дополнительно оборудоваться автоматическим клапаном-отсекателем, устанавливаемым на выкидной линии.
4.15.1. Общие положения
Чтобы гарантировать соответствие конструкции принятым нормам и методикам расчета, проводят проверки работоспособности конструкции на аттестованном испытательном оборудовании с использованием поверенных средств измерений утвержденных типов, по утвержденным методикам.
4.15.1.1. Проверку работоспособности проводит персонал, независимый от разработки и производства продукции, имеющий соответствующую квалификацию и сертификаты.
4.15.1.2. Проверка работоспособности может соответствовать любому из перечисленных способов испытаний:
- функциональные испытания (проверка);
- испытание (проверка) давлением;
- проверка оправкой;
- температурные испытания.
4.15.2. Требования к изделию
4.15.2.1. Фактические размеры изделия, подвергающиеся испытаниям, должны быть в диапазоне допусков на размеры, установленные в нормативной документации (НД).
4.15.2.2. Наружная окраска изделия, подвергаемого любому виду испытания, не должна препятствовать обнаружению утечек или их наблюдению.
4.15.3. Функциональные испытания
4.15.3.1. Функциональные испытания или испытания рабочих характеристик проводят на опытных образцах или серийных моделях для проверки требований по давлению, температуре, нагрузке, механическим циклам и стандартным испытательным жидкостям.
4.15.3.2. Опытный образец каждой модели должен пройти проверку работоспособности, включающую проверку задвижек на цикличность, регулируемых дросселей на прокачку раствором или водой, являющихся эквивалентом указанного срока службы и функциональным возможностям изделия.
4.15.3.3. Методика испытаний
Количество циклов, объем прокачиваемого раствора и продолжительность, при которых проводятся испытания, устанавливают согласно технической документации производителя.
Для устьевого оборудования, рассчитанного на продолжительный срок работы, испытания проводят на цикличность, эквивалентную минимум 10 годам срока службы, и при прокачке раствора с учетом обеспечения безотказного регулирования давления от Pmin до Pр в процессе эксплуатации.
4.15.3.4. Оценка результатов
Опытный образец должен работать без потери рабочего давления, сплавным перемещением и без заеданий вращающихся элементов запорной арматуры. Усилие на штурвалах должно быть не выше указанных в паспорте и с обеспечением регулирования давления от Pmin до Pр при различных расходах прокачиваемой.
4.15.4. Проверка работоспособности созданием избыточного давления (опрессовка)
4.15.4.1. Объект испытания
Каждая конструкция, включающая детали и узлы, работающие под давлением, должна проходить проверку работоспособности гидравлическим испытанием.
4.15.4.2. Методика испытаний
Давление при гидравлических испытаниях должно соответствовать указанному в таблице 4. Гидравлические испытания узлов и деталей оборудования включают в себя:
- первичный период удержания давления;
- снижение давления до нуля;
- вторичный период удержания давления.
Оба периода удержания давления должны продолжаться не менее 3 мин, при этом отсчет времени начинается при достижении пробного давления.
Наружные поверхности частей должны быть тщательно осушены.
Фонтанная арматура в сборе должна быть испытана на рабочее давление по указанной схеме цикличности.
4.15.4.3. Требования к испытательной среде
Испытательная среда должна быть нейтральной или иметь соответствующий ингибитор к металлическим и неметаллическим изделиям.
Для гидравлических испытаний в качестве испытательной среды используют жидкость, соответствующую испытательным температурам. В качестве жидкости применяют воду с добавками или без них или другие жидкие смеси, которые сохраняют свои свойства на протяжении всего испытания.
При испытании газом в качестве испытательной среды рекомендуется использовать азот.
В дополнение к гидравлическим испытаниям проводят испытания узлов и деталей газом.
Испытание корпусов газом должно проводиться при температуре окружающей среды при полном погружении оборудования в ванну с водой.
Давление испытания должно быть равно номинальному рабочему давлению оборудования.
4.15.4.4. Критерии испытания
Испытания должны включать все требования к испытаниям соответствующего уровня показателей.
Гидравлические испытания при комнатной температуре считают выполненными, если в установленный период удержания давления не наблюдается видимой утечки. Изменение давления в период удержания должно быть менее 5 % испытательного давления.
Испытания газом при комнатной температуре считают выполненными, если не наблюдается утечка, а если появляется утечка, то она должна быть менее 20 см3/ч при атмосферном давлении в течение периода удержания.
Гидравлические испытания и испытания газом при высокой или низкой температуре считают выполненными, если изменения давления в период удержания не ниже 5 % испытательного давления.
4.15.5. Проверка работоспособности оправкой
4.15.5.1. Испытание задвижек
Пропускают шаблон, приведенный в приложении Г, через отверстие в задвижке после сборки и ее опрессовки.
Шаблон должен полностью проходить через отверстие задвижки.
4.15.5.2. Испытание фонтанной арматуры
Пропускают шаблон, приведенный в приложении Г, через стволовое (главное) отверстие фонтанной арматуры после сборки и ее опрессовки.
Шаблон должен полностью проходить через главное отверстие фонтанной арматуры.
4.15.6. Проверка работоспособности оборудования под нагрузкой
4.15.6.1. Объект испытаний
Испытанию подвергают трубодержатели трубной и колонной головки.
4.15.6.2. Критерии испытаний
Трубодержатели трубной головки и установленный в колонную головку клиновой захват должны быть рассчитаны на нагрузку, передаваемую скважинным трубопроводом и обсадной колонной, определяемую по одному из методов, указанных в 4.6.7.1 и 4.7.2 (см. таблицу 7).
Таблица 7 - Рекомендуемая испытательная нагрузка клинового захвата колонных головок (продолжительность испытания 3 мин)
|
Осевые нагрузки на подвеске, кН, для оборудования типа |
Условный диаметр колонны, мм |
Осевые нагрузки на подвеске, кН, для оборудования типа |
|||||
|
ОКК4 |
ОКК3 |
ОКК2 |
ОКК3 |
ОКК3 |
ОКК2 |
||
|
140 |
2600 |
2600 |
2000 |
273 |
3000 |
2500 |
2500 |
|
168 |
2600 |
2600 |
2000 |
299 |
1500 |
- |
2000 |
|
178 |
- |
2000 |
2000 |
324 |
1500 |
2000 |
2000 |
|
219 |
3000 |
2500 |
- |
340 |
2000 |
2000 |
- |
|
245 |
3000 |
2500 |
2500 |
426 |
2000 |
- |
- |
|
508 |
2000 |
- |
- |
||||
|
Примечание - Сокращение «ОКК2» означает - обвязка колонная с клиньевой подвеской, состоящая из 2 обсадных колонн |
|||||||
4.15.7. Температурные испытания
4.15.7.1. Место измерения температуры
Температура должна измеряться в контакте с испытуемым оборудованием в пределах 13 мм от проходного отверстия либо от поверхности нагревания.
Нагревание испытуемой жидкости во время испытаний до максимальной температуры должно быть осуществлено внутри проходного отверстия.
4.15.7.2. Охлаждение для испытаний при минимальной температуре должно быть проведено по всей наружной поверхности оборудования.
4.15.7.3. Период удержания давления
Период удержания давления отсчитывают после достижения стабилизации давления и температуры. Время удержания должно быть минимальным.
Давление считается стабильным, если изменение его не превышает 5 % испытательного давления в час.
Температура считается стабильной, если изменение ее менее 0,55 °C в минуту.
4.15.7.4. Циклы давления и температуры
Циклические испытания рабочим давлением проводят при различных температурах. Циклограмма испытаний давлением Pр при различных температурах приведена на рисунке 5.
Обозначения: А - начать при комнатной температуре и атмосферном давлении и повышать температуру до tmax;
Б - подвести испытательное давление (минимальный период удержания 1 ч), затем снизить постепенно давление;
В - снизить температуру до tmin;
Г - подвести испытательное давление (минимальный период удержания 1 ч), затем сбросить давление;
Д - повысить температуру до tк;
Е - подвести испытательное давление при tк и удерживать, пока температура не поднимется до tmax;
Ж - период удержания не менее 1 ч;
З - снизить температуру до tmin при удержании испытательного давления;
И - период удержания не менее 1 ч;
К - повысить температуру до тк при удержании испытательного давления;
Л - сбросить давление, затем повысить температуру до tmax;
М - подвести испытательное давление (минимальный период удержания 1 ч), затем сбросить давление;
Н - снизить температуру до tmin;
О - подвести испытательное давление (период удержания не менее 1 ч), затем сбросить давление;
П - повысить температуру до tк;
Р - подвести испытательное давление (период удержания не менее 1 ч), затем сбросить давление;
С - подвести 5 - 10 % испытательного давления (период удержания не менее 1 ч), затем сбросить давление.
Рисунок 5 - Циклограмма испытаний давлением Pр при различных температурах
Примечание - Давление должно отслеживаться и регулироваться при изменении температуры.
4.15.7.5. Проверка после испытаний
Испытанный опытный образец должен быть разобран и проверен. Испытуемые узлы и детали рекомендуется сфотографировать. По результатам испытаний составляют протокол соответствия изделия рабочим характеристикам.
4.16.1. Общие положения
Все требования к металлическим материалам относятся к углеродистым, низколегированным и мартенситным нержавеющим сталям. Могут быть применены и другие сплавы, включая нержавеющие стали с упрочнением, при условии, что они удовлетворяют требованиям данного раздела.
Материалы, работающие в сероводородсодержащих средах, должны соответствовать требованиям [4].
4.16.2. Характеристика класса материалов
Классификация материалов в зависимости от условий эксплуатации приведена в таблице 8.
Таблица 8 - Классификация материалов в зависимости от условий эксплуатации
|
Класс материала |
Наименование материала |
||
|
Корпуса, крышки, фланцевые соединения |
Детали, регулирующие давление, подвески |
||
|
Обычная эксплуатация |
AA BB CC |
Углеродистая или низколегированная сталь Углеродистая или низколегированная сталь Нержавеющая сталь |
Нержавеющая сталь |
|
Кислая среда* |
DD ЕЕ FF НН |
Углеродистая или низколегированная сталь Углеродистая или низколегированная сталь Нержавеющая сталь Коррозионностойкие сплавы |
|
|
* Определение кислой среды - по [4]. |
|||
При условии соответствия механических свойств нержавеющие стали могут быть использованы вместо углеродистых и низколегированных сталей, а коррозионностойкие сплавы - вместо нержавеющих сталей.
Класс материала определяет потребитель, который должен принимать во внимание различные факторы окружающей среды и эксплуатационные переменные величины, а также факторы, представленные в таблице 9.
Таблица 9 - Коррозионная агрессивность скважинной среды
|
Относительная коррозионная агрессивность скважинной среды |
Парциальное давление СO2, МПа |
|
|
Обычная, содержащая СO2 |
Некоррозионная |
До 0,05 |
|
Слабокоррозионная |
0,05 - 0,21 |
|
|
От умеренной до высококоррозионной |
Св. 0,21 |
|
|
Кислая среда, содержащая СO2 и H2S |
Некоррозионная |
До 0,05 |
|
Слабокоррозионная |
0,05 - 0,21 |
|
|
От умеренной до высококоррозионной |
Св. 0,21 |
Взаимодействие факторов окружающей среды и эксплуатационных условий оказывает влияние на скорость общей коррозии и коррозионное растрескивание.
Следующим условием должно быть определение парциального давления смеси углерода (СO2) и сероводорода (H2S), которое влияет на агрессивность скважинной среды.
Парциальное давление - по [4].
4.16.3. Технические условия на материал
Для всех металлических и неметаллических деталей, работающих под давлением или регулирующих давление, должны быть составлены технические условия на материал.
4.16.3.1. Требования к металлическим материалам
Технические условия на металлические материалы для корпусов, крышек, фланцевых соединений, штанг, уплотняющих механизмов и подвесок наряду с критериями приемки и отбраковки должны содержать:
для технического уровня изделий УТТ1:
- химический состав материала с допусками;
- испытания, подтверждающие механические свойства материала;
- режим термообработки, включая временные и температурные циклы с допусками;
- требования к неразрушающему контролю НК (NDE);
для технических уровней изделия УТТ2 - УТТ4:
- требования для уровня УТТ1;
а также:
- способ выплавки;
- технологию деформирования;
- требования к оборудованию для термообработки и охлаждающей среде.
4.16.3.2. Требования к неметаллическим материалам
Технические условия на неметаллические материалы для уплотнений, работающих под давлением или регулирующих давление, должны содержать:
- характеристику полимера по техническим условиям на полимеры или по [5];
- требования к физическим свойствам;
- требования к хранению и контролю за старением.
4.16.4. Химический состав материалов
4.16.4.1. Химический состав материалов подвески насосно-компрессорных труб и обсадной колонны должен соответствовать требованиям технических условий изготовителя.
4.16.4.2. Химический состав материалов корпуса, крышки, фланцевых соединений приведен в таблице 10.
Таблица 10 - Химический состав материалов корпусов, крышек, фланцевых соединений
|
Массовая доля элементов, %, не более |
|||
|
Углеродистые и низколегированные стали |
Мартенситные нержавеющие стали |
Сталь 45К для фланцев с приварной шейкой |
|
|
Углерод |
0,45 |
0,15 |
0,35 |
|
Марганец |
1,80 |
1,00 |
1,05 |
|
Кремний |
1,00 |
1,50 |
1,35 |
|
Фосфор |
* |
* |
0,05 |
|
Сера |
* |
* |
0,05 |
|
Никель |
1,00 |
4,50 |
- |
|
Хром |
2,75 |
11,0 - 14,0 |
- |
|
Молибден |
1,50 |
1,00 |
- |
|
Ванадий |
0,30 |
- |
- |
|
* Максимальная массовая доля серы и фосфора составляет: - для УТТ1 и УТТ2 - 0,040 % каждого для отливок и 0,035 % - каждого для поковок; - для технических уровней УТТ3 и УТТ4 - 0,025 % каждого. Примечание - Допускаемые отклонения по содержанию элементов должны соответствовать ГОСТ 977, ГОСТ 4543 и другим нормативным документам. |
|||
4.16.4.3. Химический состав материала кольцевых прокладок должен соответствовать требованиям технических условий изготовителя.
4.16.5. Механические свойства
4.16.5.1. Механические свойства материалов подвески насосно-компрессорных труб и обсадной колонны должны соответствовать требованиям технических условий изготовителя.
4.16.5.2. Механические свойства материалов корпуса, крышек, фланцевых соединений при нормальной температуре приведены в таблицах 11 - 13.
Таблица 11 - Механические свойства материалов корпуса, крышек, фланцевых соединений
|
Предел текучести σ 0,2, МПа (Psi) |
Временное сопротивление sв, МПа (Psi) |
Относительное удлинение δ 5, % |
Поперечное сужение ψ, % |
Твердость, НВ |
|
|
Не менее |
|||||
|
К248 (36К) |
248 (36000) |
483 (70000) |
21 |
- |
140 |
|
К310 (45К) |
310 (45000) |
483 (70000) |
19 |
32 |
140 |
|
К414 (60К) |
414 (60000) |
586 (85000) |
18 |
35 |
174 |
|
К517 (75К) |
517 (75000) |
655 (95000) |
17 |
35 |
197 |
Таблица 12 - Применение материалов для корпусов, крышек, фланцевых соединений
|
Наименование детали |
Применяемый материал при номинальном давлении, МПа |
|||
|
14,0 |
21,0 |
35,0 |
> 70,0 |
|
|
Корпус |
К248, К310 |
К248, К310 |
К248, К310 |
К414, К517 |
|
Крышка |
К414, К517 |
К414, К517 |
К414, К517 |
К414, К517 |
|
Фланцевое соединение |
К414, К517 |
К414, К517 |
К414, К517 |
К414, К517 |
Таблица 13 - Ударная вязкость материалов корпусов, крышек, фланцевых соединений
|
Температура испытания, °C (F) |
Среднее значение работы удара, Дж, (KV) при уровне технических требований |
|
|
УТТ1, УТТ2, УТТ3, УТТ4 |
||
|
УХЛ, ХЛ |
-60 (-75) |
20 |
|
У |
-46 (-50) |
20 |
|
О |
-18 (0) |
20 |
|
Примечание - В таблице приведены данные для образца сечением 10´10 мм. Для образцов других сечений вводят поправочные коэффициенты: 0,833 - для сечения 10´7,5 мм; 0,667 - для сечения 10´5 мм; 0,333 - для сечения 10´2,5 мм. |
||
4.16.5.3. Материал кольцевых прокладок испытывают на твердость, которая не должна превышать:
|
Низкоуглеродистая сталь |
56 HRB |
|
Углеродистая и низколегированная сталь |
68 HRB |
|
Нержавеющая сталь |
83 HRB |
|
Коррозионностойкий сплав (CRA) |
В соответствии с техническими условиями изготовителя |
4.16.6. Обработка
4.16.6.1. Выплавка
Изготовитель должен выбрать и определить способ выплавки всех материалов. Для уровня УТТ4 должен быть составлен акт о фактическом способе выплавки.
4.16.6.2. Горячая деформация
Качество поковок должно соответствовать требованиям, предназначенным для сосудов высокого давления по ГОСТ Р 52630. Технология ковки должна обеспечивать полностью кованую структуру.
Для уровней УТТ2 - УТТ4 изготовитель должен документировать технологию ковки.
4.16.6.3. Отливка
Качество отливок должно соответствовать требованиям, предназначенным для сосудов высокого давления [7]. Для технических уровней УТТ2 - УТТ4 изготовитель должен документировать технологию литья.
4.16.6.4. Термическая обработка
Все операции по термообработке должны выполняться с использованием оборудования, квалифицированного в соответствии с требованиями уровней качества.
Время выдержки и температуру для циклов термообработки определяют в соответствии с техническими условиями изготовителя.
Режим термообработки для изделий уровня УТТ4 определяют на пробных образцах или самих деталях в соответствии с ГОСТ 977 для отливок и ГОСТ 8479 - для поковок.
Наконечник термопары должен находиться в пределах детали или образца-представителя, но не ближе 25 мм от любой поверхности детали.
При закалке температура воды или другой закалочной среды не должна превышать 40 °C до охлаждения и 50 °C после охлаждения деталей.
4.16.7. Правила приемки и методы испытаний
Правила приемки и методы испытаний отливок - по [7], поковок - по ГОСТ Р 52630.
Испытания на растяжение проводят при нормальной температуре в соответствии с ГОСТ 1497 не менее чем на трех образцах.
Испытания на ударную вязкость проводят при самой низкой температуре классификационного диапазона в соответствии с ГОСТ 9454 не менее чем на трех образцах типа II с острым надрезом по Шарпи. На одном из образцов допускается снижение ударной вязкости на 1/3 среднего значения, указанного в таблице 13.
4.17.1. Общие положения
4.17.1.1. В этом разделе устанавливаются требования на сварку корпусов задвижек, фитингов и других деталей устьевого оборудования, на их ремонт и наплавку.
4.17.1.2. Устьевое оборудование характеризуется уровнем технических требований к изготовлению УТТ1 (PSL-1) - УTT4 (PSL-4). При изготовлении оборудования с уровнями УТТ1 - УТТ3 допускается применение сварки. В изделиях с уровнем УТТ4 сварка не допускается, разрешается только применение деталей с коррозионностойкой или упрочняющей наплавкой.
4.17.1.3. Для устьевого оборудования допускается применять промышленную сварку всех видов, за исключением газовой сварки.
4.17.1.4. Сварку и наплавку производят в соответствии с технической документацией, содержащей указания по технологии сварки - сварочным материалам, виду и объему контроля, подогреву и термообработке. При этом составляют спецификацию процесса сварки (СПдС) по форме, приведенной в приложении Д.
4.17.1.5. Процесс производственной сварки и наплавки аттестовывает предприятие-изготовитель оборудования или ремонтная организация, проводящая ремонт. При этом составляется протокол квалификации процедуры сварки ПКП, в котором указываются свойства и качество сварных соединений, представленных в приложении Е.
4.17.1.6. Аттестацию процесса сварки проводят для каждой группы однотипных производственных сварных соединений. Определение понятия однотипности сварных соединений приведено в приложении Ж.
4.17.1.7. Для сварки применяют сварочные материалы: электроды по ГОСТ 9466, ГОСТ 9467 и ГОСТ 10052, сварочную проволоку по ГОСТ 2246 для сварки в среде защитных газов и под слоем флюса или сварочные материалы Американского общества по сварке (AWS).
4.17.1.8. Типы сварных соединений и размеры швов при ручной электродуговой сварке должны соответствовать требованиям ГОСТ 5264, при сварке в среде защитного газа - ГОСТ 14771, при сварке под флюсом - ГОСТ 8713, ГОСТ 16037 или требованиям стандартов ASME.
4.17.1.9. Сварные соединения изделий, контактирующие со средой скважины, выполняют в соответствии с требованиями [4].
4.17.1.10. Необходимость подогрева при сварке и термообработке сварных соединений определяется в зависимости от применяемого материала и условий эксплуатации.
Допускается проводить местную термообработку сварных соединений.
4.17.1.11. Ремонтные сварочные работы производят в соответствии с нормативной документацией [20], по аттестованной процедуре сварки (СПдС).
4.17.1.12. На сварные изделия устьевого оборудования распространяют требования [3].
4.17.1.13. Сварные изделия устьевого оборудования рекомендуется изготовлять с учетом требований [6].
4.17.2. Требования к квалификации персонала по сварке, сварочному и термическому оборудованию, средствам измерения и аппаратуре для неразрушающего контроля - по ПБ 03-440-02.
4.17.2.1. К сварочным работам при изготовлении, ремонте и наплавке устьевого оборудования допускаются сварщики, аттестованные в соответствии с [8] или аттестованные в соответствии с требованиями [6] или [7].
4.17.2.2. К неразрушающему контролю (НК) сварных соединений допускаются контролеры, аттестованные в соответствии с требованиями [10] или [9].
4.17.2.4. Остальные требования должны выполняться в соответствии с документами, указанными в 4.17.2.1 - 4.17.2.3.
4.17.2.5. Периодичность осмотров, проверок, ремонтов оборудования должна соответствовать требованиям паспортов или другим документам.
4.17.3. Контроль качества сварных соединений
4.17.3.1. В процессе изготовления и ремонта элементов устьевого оборудования необходимо производить систематический контроль качества сварочных работ и сварных соединений - предварительный контроль (включая входной контроль материалов и персонала), операционный и приемочный контроль.
4.17.3.2. Результаты предварительного и операционного контроля должны оформляться документами или фиксироваться в специальном журнале.
Результаты приемочного контроля сварных соединений оформляют актом приемки, утвержденным руководством организации, выполняющей контроль.
4.17.3.3. Контроль качества сварных соединений включает:
- визуальный и измерительный контроль;
- радиографию (РГ);
- ультразвуковую дефектоскопию (УЗД);
- цветной (капиллярный) (ЦД) или магнитопорошковый метод контроля (МПД);
- измерение твердости;
- механические испытания сварных образцов;
- стилоскопирование металла антикоррозионной наплавки с измерением ее толщины.
4.17.3.4. Контроль РГ или УЗД проводят после сварки и термообработки. Контролю ЦД или МПД подвергают сварные соединения после окончания работы со сварными швами либо после сварки, либо после термообработки, либо после механической обработки (если последние проводятся).
4.17.3.5. Объем и виды контроля приведены в таблице 14.
Таблица 14 - Контроль сварных соединений
4.17.3.6. Визуальный контроль проводят по ГОСТ 3242. Перед контролем сварные швы и прилегающая к ним поверхность основного металла шириной не менее 20 мм по обе стороны шва должны быть очищены от шлака, брызг металла, окалины и других загрязнений.
В сварных соединениях не допускаются наружные дефекты - трещины, непровары, подрезы, незаплавленные кратеры. Размеры сварных швов должны соответствовать стандартам на сварку.
Визуальному и измерительному контролю подвергают все сварные соединения устьевого оборудования.
4.17.3.7. Радиографический контроль сварных соединений проводят согласно требованиям ГОСТ 7512 или [13].
4.17.3.8. Ультразвуковая дефектоскопия - по ГОСТ 14782 или ГОСТ Р 52630 или [13].
4.17.3.9. В сварных соединениях, контролируемых РГ и УЗД, не допускаются трещины, непровары, несплавления.
4.17.3.10. При контроле цветной и магнитопорошковой дефектоскопии наличие протяженных и неодиночных дефектов является браковочным признаком. Оценка дефектности - по ГОСТ Р 52630.
4.17.3.11. Твердость измеряют на металле сварных соединений изделий с уровнем УТТ3 после термообработки. Метод измерения - по Роквеллу HRC по ГОСТ 9013 или [10], Бринеллю НВ по ГОСТ 9012 или [11]. Измерения проводят не менее чем в двух точках на сварном шве и основном металле вдали от шва. Твердость не должна превышать 22 HRC по [4].
4.17.3.12. Антикоррозионные наплавки корпусов, крышек, фланцев и других деталей должны подвергаться контролю ЦД на поверхностные дефекты, УЗД на сплошность металла в зоне сплавления, стилоскопированию на хром, никель, также молибден (при необходимости) с измерением толщины наплавки.
4.17.3.13. Механические испытания проводят на образцах, изготовленных из контрольных сварных стыков.
4.17.3.14. Каждый сварщик должен сварить контрольные пробы в объеме не менее 1 % общего числа сваренных им однотипных производственных стыков, но не менее одного стыка.
Эти контрольные стыки сваривают в дополнение к ПКП (PQR).
4.17.3.15. Из контрольных стыков изготовляют в соответствии с ГОСТ 6996 образцы на растяжение (не менее двух), статический изгиб (не менее двух) и ударный изгиб (не менее трех).
Определяют следующие механические свойства сварных соединений:
- предел прочности - не ниже нижнего предела прочности основного металла по стандарту или техническим условиям;
- минимальный угол загиба:
для углеродистой стали - 100°;
- для низколегированных марганцовистых сталей - 80° при толщине не более 20 мм, при большей толщине - 60°;
для хромомолибденовых сталей - 50° при толщине не более 20 мм, при большей толщине - 40°;
для аустенитно-ферритных сталей при толщине не более 20 мм - 80°, при большей толщине - 60°;
- ударная вязкость KCV (Шарпи) по шву и зоне термического влияния (ЗТВ) - не ниже требований к основному металлу.
При толщине металла менее 13 мм проводят по четыре измерения твердости в указанных участках сварного соединения, при большей толщине - по шесть измерений. Твердость металла в зоне термического влияния измеряют на расстоянии 2 мм от линии сплавления (рисунки 6 и 7).
Рисунок 6 - Измерение твердости по Роквеллу HRC (к протоколу ПКП)
Рисунок 7 - Измерение твердости по Виккерсу HV (к протоколу ПКП)
4.17.3.17. Исследование твердости по 4.17.3.16 проводится в случае, если эти исследования не проводились при аттестации процедуры квалификации сварки по 4.17.1.5.
4.18.1. Требования к средствам измерений и испытательному оборудованию
4.18.1.1. Испытательное оборудование, используемое для проверки, испытания или исследования материала или детали, должно быть идентифицировано, откалибровано, отрегулировано в соответствии с инструкциями изготовителя, аттестовано согласно ГОСТ Р 8.568 и должно соответствовать национальным или международным стандартам.
4.18.1.2. Средства измерения давления должны иметь верхний предел диапазона измерений, на 30 % превышающий давление опрессовки, и класс точности не ниже 0,6. Периодичность поверки - не менее одного раза в 3 месяца, пока изготовитель не зарегистрирует другую схему поверки.
4.18.2. Требования к персоналу, осуществляющему контроль качества.
4.18.2.1. Персонал для проведения неразрушающего контроля должен быть аттестован в соответствии с национальными или признанными международными стандартами.
4.18.2.2. Персонал, осуществляющий визуальный контроль, должен подвергаться ежегодной проверке зрения.
4.18.2.3. Персонал, выполняющий другие виды контроля, должен аттестовываться в соответствии с требованиями изготовителя.
4.18.2.4. Контроль качества
4.18.2.4.1. Общие положения
В таблицах 15 - 20 приведены требования к контролю качества отдельных деталей оборудования
Таблица - 15 Требования к контролю качества корпусов, крышек, фланцевых соединений, стыков
|
Проведение испытания при уровне |
||||
|
УТТ1 |
УТТ2 |
УТТ3 |
УТТ4 |
|
|
Испытание на растяжение |
+ |
+ |
+ |
+ |
|
Испытание на ударную вязкость |
+ |
+ |
+ |
+ |
|
Определение твердости |
+ |
+ |
+ |
+ |
|
По [4] |
+ |
+ |
+ |
+ |
|
Проверка размеров |
+ |
+ |
+ |
+ |
|
Прослеживаемость |
- |
+ |
+ |
+ |
|
Химический анализ |
- |
+ |
+ |
+ |
|
Визуальный осмотр |
+ |
+ |
+ |
+ |
|
Неразрушающий контроль |
- |
+ |
+ |
+ |
|
Объемный неразрушающий контроль |
+ |
+ |
+ |
+ |
|
Неразрушающий контроль сварных соединений |
См. 4.17 |
Сварка не допускается, за исключением наплавок |
||
Таблица 16 - Требования к контролю качества кольцевых прокладок
|
Вид испытания |
Проведение испытания при уровне |
|||
|
УТТ1 |
УТТ2 |
УТТ3 |
УТТ4 |
|
|
Проверка размеров |
+ |
+ |
+ |
+ |
|
Определение твердости |
+ |
+ |
+ |
+ |
|
По [4] |
+ |
+ |
+ |
+ |
Таблица 17 - Требования к контролю качества уплотнительных механизмов арматуры задвижек штуцеров
|
Вид испытания |
Проведение испытания при уровне |
|||
|
УТТ1 |
УТТ2 |
УТТ3 |
УТТ4 |
|
|
Испытание на растяжение |
- |
- |
+ |
+ |
|
Испытание на ударную вязкость* |
- |
- |
+ |
+ |
|
Определение твердости |
- |
- |
+ |
+ |
|
По [4] |
+ |
+ |
+ |
+ |
|
Проверка размеров |
+ |
+ |
+ |
+ |
|
Прослеживаемость |
- |
- |
+ |
+ |
|
Химический анализ |
- |
- |
+ |
+ |
|
Визуальный осмотр |
+ |
+ |
+ |
+ |
|
Неразрушающий контроль поверхности** |
- |
- |
+ |
+ |
|
Неразрушающий объемный контроль |
- |
- |
+ |
+ |
|
Серийная нумерация |
- |
- |
+ |
+ |
|
Неразрушающий контроль сварных соединений |
См. 4.17 |
Сварка не допускается, за исключением наплавок |
||
|
* Для седел (клапанов) не требуется. ** Для паяных соединений и соединений с тугой и горячепрессовой насадкой не требуется. |
||||
Таблица 18 - Требования к контролю качества шпилек и гаек
|
Вид испытания |
Проведение испытания при уровне |
|||
|
УТТ1 |
УТТ2 |
УТТ3 |
УТТ4 |
|
|
Испытание на растяжение |
+ |
+ |
+ |
+ |
|
Испытание на ударную вязкость |
+ |
+ |
+ |
+ |
|
Проверка размеров |
+ |
+ |
+ |
+ |
|
Определение твердости |
+ |
+ |
+ |
+ |
|
По [4] |
+ |
+ |
+ |
+ |
Таблица 19 - Требование к контролю качества неметаллических уплотняющих материалов
|
Вид испытания |
Проведение испытания при уровне |
|||
|
УТТ1 |
УТТ2 |
УТТ3 |
УТТ4 |
|
|
Проверка размеров |
+ |
+ |
+ |
+ |
|
Визуальный осмотр |
+ |
+ |
+ |
+ |
|
Твердость |
+ |
+ |
+ |
+ |
|
Документирование |
+ |
+ |
+ |
+ |
|
Прослеживаемость партии |
- |
- |
+ |
+ |
|
Удостоверение периода |
- |
- |
+ |
+ |
|
Удостоверение срока годности |
- |
- |
+ |
+ |
|
Данные физических свойств |
- |
- |
- |
+ |
Таблица 20 - Требования к контролю качества подвесок обсадной колонны и насосно-компрессорных труб
|
Проведение испытания при уровне |
||||
|
УТТ1 |
УТТ2 |
УТТ3 |
УТТ4 |
|
|
Испытание на растяжение |
+ |
+ |
+ |
+ |
|
Испытание на ударную вязкость |
+ |
+ |
+ |
+ |
|
Твердость |
+ |
+ |
+ |
+ |
|
Проверка размеров |
+ |
+ |
+ |
+ |
|
Прослеживаемость |
+ |
+ |
+ |
+ |
|
Химический анализ |
+ |
+ |
+ |
+ |
|
Визуальный осмотр |
+ |
+ |
+ |
+ |
|
Неразрушающий контроль поверхности |
- |
+ |
+ |
+ |
|
Неразрушающий объемный контроль |
- |
- |
+ |
+ |
|
Серийная нумерация |
- |
- |
+ |
+ |
|
Неразрушающий контроль сварных соединений |
См. 4.17 |
Сварка не допускается, за исключением наплавки |
||
Примечание к таблицам 15 - 20 - Знак «+» означает выполнение, знак «-» - отсутствие.
Требования к материалам для отдельных деталей приведены в разделе 4.16.
Все работы по контролю качества должны определяться инструкциями изготовителя, которые должны включать соответствующую методику и количественные или качественные критерии приемки. Инструкции по неразрушающему контролю должны соответствовать требованиям настоящих технических условий и требованиям национальных и международных стандартов, выбранных изготовителем.
Все инструкции по проведению неразрушающего контроля должны быть одобрены экспертом III уровня.
Каждая деталь, работающая под давлением или регулирующая давление в среде с сероводородом, должна быть проверена на твердость для подтверждения требований по [4] (за исключением кольцевых прокладок, твердость которых должна соответствовать техническим условиям изготовителя).
4.18.2.4.2. Контроль механических свойств
Испытания на растяжение проводят при нормальной температуре по ГОСТ 1497 не менее чем на трех образцах.
Испытания на ударную вязкость проводят при самой низкой температуре классификационного диапазона по ГОСТ 9454 не менее чем на трех образцах типа II с острым надрезом по Шарпи. На одном из образцов допускается снижение ударной вязкости на 1/3 среднего значения, указанного в таблице 13.
Все детали должны быть проверены на твердость по методике ГОСТ 9012 или ГОСТ 9013. Твердость проверяют после последнего цикла термообработки и всей механической обработки наружной поверхности в местах, определенных техническими условиями изготовителя.
Твердость должна быть не ниже:
140 НВ - для материалов К248, К310;
174 НВ - для материала К414;
197 НВ - для материала К517.
Для кольцевых прокладок - указано в 4.16.5.3.
4.18.2.4.3. Проверка размеров
Все резьбы концевых и фланцевых соединений должны быть проверены калибром на наличие отклонений при ручной затяжке.
Критерии приемки - в соответствии с техническими условиями изготовителя. Для уровней УТТ3 и УТТ4 должны быть дополнительно проверены размеры всех деталей.
Для кольцевых прокладок размеры и допуски должны соответствовать техническим условиям изготовителя.
Отбор образцов и методика - в соответствии с техническими условиями изготовителя.
Чистота поверхности кольцевых прокладок - в соответствии с техническими условиями изготовителя.
4.18.2.4.4. Визуальный контроль
Каждая деталь должна быть проверена визуально.
Визуальный контроль отливок должен осуществляться в соответствии с [7], поковок - в соответствии с техническими условиями изготовителя.
Для изделий уровней УТТ3 и УТТ4 визуальный контроль дополняется неразрушающим контролем.
4.18.2.4.5. Химический анализ
Химический анализ принимают на основе плавочного анализа и проводят в соответствии с национальными или признанными изготовителем международными стандартами.
4.18.2.4.6. Прослеживаемость
На материалах и деталях в процессе обработки должна сохраняться маркировка, облегчающая прослеживаемость.
Технические требования изготовителя к прослеживаемости должны включать средства сохранения или перенесения маркировки и контрольных записей.
4.18.2.4.7. Неразрушающий контроль поверхности
Для ферромагнитных материалов поверхности деталей, работающих под давлением и уплотняемых, должны быть проверены магнитопорошковым методом в доступных местах. Для уровней УТТ3 и УТТ4 дополнительно контролируют все детали в доступных местах после окончательной термической и механической обработок по ГОСТ 21105 или [12].
Критерии приемки:
- для поковок - по [3];
- для отливок - по [7].
Для неферромагнитных материалов поверхности деталей, работающих под давлением и уплотняемых, должны быть проверены капиллярным методом в доступных местах. Для уровней УТТ3 и УТТ4 дополнительно контролируются все детали в доступных местах после окончательной термической и механической обработок по ГОСТ 18442 или [13].
Критерии приемки:
- для поковок - по [3];
- для отливок - по [7].
4.18.2.4.8. Объемный неразрушающий контроль
Каждая деталь должна быть проконтролирована на сплошность в доступных местах радиографическим или ультразвуковым методами. Контроль проводят после окончательной термообработки, за исключением термообработки для снятия внутренних остаточных напряжений или повторного отпуска для снятия твердости.
Ультразвуковой контроль поковок проводят методом отверстия с плоским дном по ГОСТ 24507 или [14] (за исключением метода погружения) и [15]. Ультразвуковой контроль отливок проводят по методу отверстия с плоским дном в соответствии с [7] или [16] (за исключением метода погружения) и [15].
Критерии приемки:
- для поковок - по [3];
- для отливок - по [7].
Радиографический контроль проводят в соответствии с ГОСТ 7512 или [17] при минимальной эквивалентной чувствительности 2 %. Приемлемы источники рентгеновского или гамма-излучения в пределах толщин, ограниченных для каждого метода. Можно использовать методы получения изображения и записи в реальном масштабе времени, когда изготовитель документально гарантирует минимальный уровень эквивалентной чувствительности 2 %.
Критерии приемки:
- для поковок - по [3];
- для отливок - по [7].
4.19.1. Тип, конструкция, техническая характеристика и технические требования к фонтанной арматуре должны соответствовать комплекту конструкторской документации, разработанной с учетом настоящих технических требований.
4.19.2. Тип, конструкция, техническая характеристика и технические требования к колонной обвязке должны соответствовать комплекту конструкторской документации, разработанной с учетом настоящих технических требований.
4.19.3. Тип, конструкция, размеры и технические требования к фланцевым соединениям, фланцам, кольцевым прокладкам, шпилькам и гайкам должны соответствовать требованиям ГОСТ 28919.
4.19.4. Коррозионностойкие кольцевые канавки
На деталях, подвергающихся коррозионному воздействию, кольцевые канавки должны быть изготовлены с коррозионностойкой наплавкой. Прочность наносимой наплавки должна быть равной или превышать прочность основного материала детали.
4.19.5. Резьбовые соединения
4.19.5.1. Резьбовые соединения для труб НКТ должны выполняться в соответствии с ГОСТ 633.
4.19.5.2. Резьбовые соединения для обсадных труб должны выполняться в соответствии с ГОСТ 632.
4.19.5.3. Резьбовые соединения, выполняемые по API, должны соответствовать требованиям [18].
4.20.1. Маркировка продукции
Каждое изделие устьевого оборудования должно иметь маркировку на наружной поверхности. Маркировка должна содержать:
- наименование или товарный знак предприятия-изготовителя;
- наименование или условное обозначение;
- температурный диапазон;
- класс материала;
- уровень технических требований.
Оборудование, к которому предъявляются дополнительные требования (ЦТ) [SR], должно быть маркировано (см. таблицы 22 - 26).
Маркировка каждого элемента, работающего под воздействием внутреннего давления, должна содержать рабочее давление, условный проход, а при необходимости, и направление потока.
4.20.2. Идентификация
Каждое составляющее изделие оборудования должно быть маркировано отдельным номером, который должен обеспечить прослеживаемость этого изделия в процессе изготовления.
4.20.3. Метод маркировки
Маркировку (4.20.1) предпочтительно выполнять на фирменной табличке методом электрохимического травления.
Дату изготовления и номер допускается выбивать с небольшим усилием.
На элементах, работающих под воздействием внутреннего давления, маркировка должна быть отлита либо выбита с небольшим усилием. Маркировка должна быть легко различимой с высотой знаков не менее 10 мм (3/8") и расположена там, где позволяют размеры изделия.
4.20.4. Место маркировки
Место маркировки устьевого оборудования и его составных частей приведено в таблице 21.
Таблица 21 - Место маркировки устьевого оборудования и его составных частей
|
Место маркировки |
||||
|
Устьевое оборудование |
Соединители и фитинги |
Подвески обсадных колонн и НКТ |
Задвижки и дроссели (штуцеры) |
|
|
Общие технические требования |
Табличка или корпус |
Табличка |
||
|
Наименование или товарный знак |
Табличка или корпус |
Табличка |
Табличка или корпус |
|
|
Наименование или условное обозначение |
Табличка или корпус |
|||
|
Температурный диапазон |
Табличка или корпус |
|||
|
Класс материала |
Табличка |
Корпус |
Табличка |
|
|
Уровень технических требований |
Табличка или корпус |
Табличка |
Табличка или корпус |
|
|
Уровень эксплуатационных требований |
Табличка или корпус |
Табличка |
||
|
Дата изготовления |
Табличка |
Табличка или корпус |
Табличка |
|
|
Рабочее давление |
Корпус |
Табличка |
Корпус |
|
|
Условный проход |
Корпус |
Табличка |
Корпус |
|
|
Условный проход присоединительных фланцев |
Корпус |
Наружный диаметр |
Корпус |
|
|
Скважинная среда |
Табличка или корпус |
|||
|
Серийный номер |
Табличка или корпус |
Табличка |
Табличка или корпус |
|
Таблица 22 - Дополнительная маркировка устьевого оборудования
|
Место маркировки |
|
|
Тип и номер кольцевой уплотнительной прокладки |
Рядом с каждым соединением |
Таблица 23 - Дополнительная маркировка для соединений и фитингов
|
Маркировка |
Место маркировки |
|
1. Размер уплотнителя (пакера) обсадной колонны |
Табличка или корпус |
|
2. Минимальное вертикальное отверстие |
То же |
Таблица 24 - Дополнительная маркировка для подвесок
|
Маркировка |
Место маркировки |
|
1. Тип и модель обратного клапана |
Табличка |
|
2. Размер обсадной колонны |
То же |
|
3. Тип и обозначение уплотнителя обсадной колонны (пакера) |
Табличка или корпус |
|
4. Предельная осевая нагрузка от массы НКТ и обсадной колонны |
То же |
Таблица 25 - Дополнительная маркировка для задвижек и дросселей (штуцеров)
|
Маркировка |
Место маркировки |
|
1. Направление потока жидкости |
Корпус |
|
2. Направление вращения для открытия-закрытия |
Маховик |
Таблица 26 - Кольцевые уплотнительные прокладки
|
Место маркировки |
|
|
1. Дата изготовления |
Наружный диаметр прокладки |
|
2. Наименование или тип |
|
|
3. Номер прокладки |
|
|
4. Материал |
4.20.5. Маркировка шпилек и гаек
Маркировка шпилек - по ГОСТ 28919.
Маркировка гаек - по ГОСТ 28919.
4.20.6. Маркировка оборудования перед отправкой
Устьевое оборудование в собранном виде должно иметь ярлык или указание в паспорте, содержащие следующие сведения:
- дату окончательной приемки;
- наименование сборщика;
- место расположения сборщика.
4.21.1. Защита от коррозии
Перед хранением и транспортированием оборудование должно быть просушено, очищено, смазано и законсервировано.
4.21.2. Перед отгрузкой незащищенные металлические поверхности деталей и оборудования должны быть защищены от коррозии средством, которое не теряет антикоррозионных свойств при температуре выше 50 °C.
4.21.3. Уплотняющие поверхности должны быть предохранены от механических повреждений.
4.21.4. Кольцевые прокладки
Кольцевые прокладки в период хранения и транспортирования должны быть завернуты в антикоррозионный материал и уложены в ящик.
4.21.5. Защита оборудования для различных уровней технических требований.
4.21.5.1. Для уровней УТТ1 и УТТ2 защита неметаллических материалов должна быть задокументирована изготовителем в технической документации на изделие.
4.21.5.2. Для уровней УТТ3 и УТТ4 защита неметаллических материалов должна быть задокументирована изготовителем в технической документации и должна включать следующие положения:
- хранение на открытом воздухе;
- максимальную температуру, не превышающую - 50 °C;
- защиту от прямого солнечного излучения;
- хранение, исключающее контакт с жидкостями, в том числе атмосферными осадками;
- защиту от рентгеновского излучения.
4.22.1. Общие положения
4.22.1.1. Конструкторская документация
Конструкторская документация должна разрабатываться в соответствии с требованиями ГОСТ Р 15.201, стандартов ЕСКД и проверяться любым независимым от разработчиков квалифицированным специалистом.
4.22.1.2. Пересмотр конструкторской документации
Конструкторская документация должна пересматриваться и проверяться любым независимым от разработчика квалифицированным специалистом.
4.22.1.3. Документация, указанная в п. 4.22.2 настоящего стандарта, должна храниться производителем в течение пяти лет со дня производства и продажи оборудования. Документация должна быть ясной, легко читаемой, воспроизводимой, доступной и защищенной от повреждения, износа или утери.
Все записи по контролю качества должны быть подписаны и датированы. Компьютерные записи должны содержать персональный код автора.
По требованию потребителя оборудования, органов надзора или сертификации производитель должен обеспечить доступ к документации для проверки ее соответствия настоящему стандарту.
4.22.2. Документация, хранящаяся у производителя
Производитель должен хранить следующую документацию:
а) конструкторскую,
б) конструкторскую поверочную,
в) технические условия,
г) квалификационные записи:
- по сварочным процессам,
- квалификация сварщиков,
- квалификация персонала, проводящего неразрушающий контроль (НК),
- записи о поверках измерительного и испытательного оборудования;
д) контрольные и испытательные записи, прослеживаемые до оборудования или компонентов, включающие:
- протоколы испытаний материалов (химический анализ, испытания на растяжение, ударную вязкость, проверка твердости),
- записи о поверхностном и/или объемном НК,
- записи о поверках измерительного и испытательного оборудования;
е) контрольные и испытательные записи, прослеживаемые до оборудования или компонентов, включающие:
- протоколы испытаний материалов (химический анализ, испытания на растяжение, ударную вязкость, проверку твердости),
- записи о поверхностном и/или объемном НК,
- записи хода испытаний, включающие протоколы нагрузочных испытаний, протоколы гидростатических испытаний давлением и протоколы функциональных испытаний,
- записи о специальных технологических процессах.
Записи о специальных процессах включают в себя действительное время термообработки/графики температур и записи о ремонтах сваркой, как описано в 4.15 - 4.17. Записи должны вестись производителем или организацией, осуществляющей эти специальные процессы. Эти записи должны быть прослеживаемы до соответствующих компонентов.
4.22.3. Документация, поставляемая с оборудованием
С оборудованием должна поставляться следующая документация:
а) технический паспорт на изделие, включающий:
- подтверждение производителем полного соответствия оборудования техническим требованиям этого документа и требованиям, обусловленным заказом-нарядом. Подтверждение должно отмечать любые замеченные отклонения от установленных требований,
- подтверждение испытаний нагрузкой,
- подтверждение о проведении функциональных испытаний,
- гарантии производителя;
б) руководство по эксплуатации/обслуживанию, которое должно включать в себя:
- сборочные чертежи,
- перечень составляющих компонентов,
- характеристики,
- руководство по эксплуатации,
- рекомендуемую частоту обследования в полевых условиях и профилактических работ, способы и критерии приемки,
- перечень запасных частей (не вошедших в сборку компонентов оборудования) и рекомендуемые условия хранения;
- другую дополнительную информацию, которая может быть определена потребителем или изготовителем;
в) набор универсальных показателей должен быть определен потребителем в заказе-наряде как дополнительное требование ДТ (SR).
Рекомендации по определению уровней технических требований (УТТ) к оборудованию
А.1. Технический уровень изделия (УТТ)
А.1.1. Рекомендуемый технический уровень представлен в таблице А.1.
Таблица А.1 - Определение уровней технических требований
|
Уровни технических требований |
||||||
|
Повышенное содержание углекислого газа (СO2) в скважинной среде |
Нет |
Да |
Да |
Да |
Не |
Да |
|
Повышенное содержание сероводорода (H2S)* в скважинной среде |
Нет |
Нет |
||||
|
Близость жилой зоны* |
Нет |
Да |
Да |
|||
|
Рабочее давление, МПа: до 35 включительно |
УТТ1 |
УТТ1 |
УТТ2 |
УТТ2 |
УТТ1 |
УТТ3 |
|
Св. 35 до 70 включительно |
УТТ2 |
УТТ2 |
УТТ3 |
УТТ3 |
УТТ3 |
УТТ4 |
|
Св. 70 до 140 включительно |
УТТ3 |
УТТ3 |
УТТ4 |
УТТ4 |
УТТ4 |
УТТ4 |
|
* Содержание сероводорода (H2S) в скважинной среде, близость жилой зоны и радиус распространения (ROE) - см. [3] (приложение А). |
||||||
УТТ, определенные по таблице А.1, следует рассматривать как минимальные для основных составных частей устьевого оборудования, к которым относят:
- трубную головку;
- подвески насосно-компрессорных труб;
- переводники насосно-компрессорных труб;
- основную стволовую задвижку.
Для остальных составных частей устьевых арматур и других видов добычного устьевого оборудования УТТ могут быть такими или ниже, их выбирает потребитель в зависимости от конкретных условий эксплуатации оборудования.
А.2. Руководство по выбору и приобретению оборудования
А.2.1. Общие положения
А.2.1.1. Данное приложение содержит рекомендации по выбору и приобретению устьевого оборудования в соответствии с настоящими требованиями.
А.2.1.2. Для определения УТТ заказчик заполняет заявку по формам 1 (общую), 2 (для однофланцевой колонной головки), 3 (для двухфланцевой колонной головки), 4 (для фонтанной арматуры).
А.2.1.3. Форма записи данных позволят заказчику:
- определиться в необходимых и достаточных требованиях к оборудованию;
- правильно довести эти требования до производителя.
ФОРМА 1
(общая)
|
1. |
Требуется монограмма API: |
_________ |
_________ |
|
да |
нет |
||
|
2. |
Наименование скважины и расположение: |
___________________ |
|
|
3. |
Максимальное рабочее давление, МПа: |
___________________ |
|
|
4. |
Ожидаемый температурный диапазон: |
||
|
- минимальная температура окружающей среды: |
___________________ |
||
|
- максимальная температура скважинной среды на устье: |
___________________ |
||
|
5. |
Ожидаемый состав пластовой жидкости: |
||
|
- СO2, частей на миллион |
___________________ |
||
|
- H2S, частей на миллион |
___________________ |
||
|
- хлориды, частей на миллион |
___________________ |
||
|
- другие компоненты |
___________________ |
||
|
6. |
Ожидаемое завершение или будущие ремонтные работы, оказывающие влияние на давление, температуру или скважинную среду |
___________________ |
|
|
7. |
«pH» воды и соляного раствора |
___________________ |
|
|
8. |
Требуется стандарт [4] |
_________ |
_________ |
|
9. |
Использование ингибитора накипи, парафина, коррозии: |
да |
нет |
|
- тип ингибитора |
___________________ |
||
|
- порционный или непрерывный |
___________________ |
||
|
10. |
Будет ли проводиться кислотная обработка |
________ |
________ |
|
да |
нет |
||
|
Тип кислоты: |
___________________ |
||
|
11. |
Ожидаемый дебит: |
||
|
- нефть, бар/сутки |
___________________ |
||
|
- газ, млн. м3/сутки |
___________________ |
||
|
- конденсат, бар/сутки |
___________________ |
||
|
- вода, бар/сутки |
___________________ |
||
|
12. |
Требование к покрытию оборудования |
________ |
________ |
|
да, тип |
нет |
||
|
13. |
Требование по доставке |
___________________ |
|
|
14. |
Требование по отгрузке, упаковке, хранению |
___________________ |
|
|
15. |
Конструкция скважины |
___________________ |
|
|
Конструкция скважины |
Наружный диаметр |
Тип соединения |
Общий вес колонны |
Размер долота |
|
Кондуктор |
_____________ |
|||
|
Промежуточная колонна |
____________ |
____________ |
____________ |
|
|
____________ |
____________ |
____________ |
____________ |
|
|
Эксплуатационная колонна |
____________ |
____________ |
____________ |
____________ |
|
Насосно-компрессорная труба |
_____________ |
____________ |
____________ |
____________ |
|
16. |
Тип заканчивания скважины: |
|
|
- на один горизонт или несколько |
______________________________ |
|
|
- обычное или беструбное |
______________________________ |
|
|
17. |
Контактный телефон заказчика |
______________________________ |
ФОРМА
2
(однофланцевая
колонная головка)
|
1. |
Условный проход верхнего фланца |
_________________ |
|
|
2. |
Диаметр боковых отводов |
_________________ |
|
|
3. |
Рабочее давление |
_________________ |
|
|
4. |
Диаметр кондуктора |
_________________ |
|
|
5. |
Диаметр стволового прохода |
_________________ |
|
|
6. |
Диаметр эксплуатационной колонны |
_________________ |
|
|
7. |
Специальные требования к материалам |
_________________ |
|
|
8. |
Уровень технических требований |
_________________ |
|
|
9. |
Температурные характеристики |
_________________ |
|
|
10. |
Класс материала |
_________________ |
|
|
11. |
Скважинная среда |
_________________ |
|
|
12. |
Наружное покрытие |
____________ |
___________ |
|
да |
нет |
||
|
13. |
Внутреннее покрытие |
____________ |
___________ |
|
да |
нет |
||
|
14. |
Спускаемый и извлекаемый инструмент |
_________________ |
|
ФОРМА 3
(двухфланцевая колонная головка)
|
1. |
Условный проход фланца колонной головки: |
|||
|
- верхнего |
____________________ |
|||
|
- нижнего |
____________________ |
|||
|
2. |
Диаметр бокового отвода |
____________________ |
||
|
3. |
Рабочее давление |
____________________ |
||
|
4. |
Диаметр промежуточной колонны |
____________________ |
||
|
5. |
Диаметр эксплуатационной колонны |
____________________ |
||
|
6. |
Диаметр стволового прохода |
____________________ |
||
|
7. |
Специальные требования к материалам |
____________________ |
||
|
8. |
Уровень технических требований |
____________________ |
||
|
9. |
Температурные характеристики |
____________________ |
||
|
10. |
Класс материала |
____________________ |
||
|
11. |
Скважинная среда |
____________________ |
||
|
12. |
Наружное покрытие |
__________ |
__________ |
|
|
да |
нет |
|||
|
13. |
Внутреннее покрытие |
__________ |
__________ |
|
|
да |
нет |
|||
|
14. |
Спускаемый и извлекаемый инструмент |
____________________ |
||
ФОРМА 4
(фонтанная арматура)
|
1. |
Тип арматуры |
___________________ |
|
|
2. |
Схема по ГОСТ 13846 |
___________________ |
|
|
3. |
Рабочее давление |
___________________ |
|
|
4. |
Условный проход: |
||
|
- ствола |
___________________ |
||
|
- боковых отводов елки |
___________________ |
||
|
- боковых отводов трубной головки |
___________________ |
||
|
5. |
Условный проход: |
||
|
- верхнего фланца трубной головки |
___________________ |
||
|
- нижнего фланца трубной головки |
___________________ |
||
|
- ствола |
___________________ |
||
|
6. |
Специальные требования к материалам |
___________________ |
|
|
7. |
Количество и тип задвижек: |
||
|
- стволовых |
___________________ |
||
|
- боковых |
___________________ |
||
|
8. |
Диаметр НКТ |
___________________ |
|
|
9. |
Общая масса НКТ |
___________________ |
|
|
10. |
Уровень технических требований |
___________________ |
|
|
11. |
Уровень технических требований к рабочим характеристикам |
___________________ |
|
|
12. |
Температурные характеристики |
___________________ |
|
|
13. |
Класс материала |
___________________ |
|
|
14. |
Скважинная среда |
___________________ |
|
|
15. |
Наружное покрытие |
_________ |
_________ |
|
да |
нет |
||
|
16. |
Внутреннее покрытие |
_________ |
_________ |
|
да |
нет |
||
|
17. |
Спускаемый и извлекаемый инструмент |
__________________ |
|
|
18. |
Тип дросселя |
_________ |
_________ |
|
нерегулируемый |
регулируемый |
||
Рекомендации по переводу внесистемных единиц измерений в метрическую систему СИ
Б.1. Пример перевода дюймов в миллиметры
Размер 4,31 дюйма перевести в метрическую систему.
Сначала переводят десятичные доли дюйма в точную дробь
4,31 дюйма = 45/16" или 4,3125 дюйма.
Полученный эквивалент дюймовый дроби умножают на 25,4 мм, чтобы получить точный размер в миллиметрах
4,3125 · 25,4 = 109,5375 мм.
Полученный результат округляют до целого числа, используя известное правило округления
109,5375 = 110 мм.
Таким образом, перевод имеет следующие этапы:
4,31 дюйма = 45/16" = 4,3125 мм = 109,5375 мм = 110 мм.
Б.2. Номинальные размеры
1. Округление номинальных размеров отверстий для фланцев приведено в таблице Б.1.
Таблица Б.1
|
мм |
Дюйм |
мм |
Дюйм |
мм |
Дюйм |
мм |
|
|
113/16 |
46 |
41/16 |
103 |
11 |
279 |
203/4 или 211/4 |
527 |
|
21/16 |
52 |
51/8 |
130 |
135/8 |
346 |
211/4 |
540 |
|
29/16 |
65 |
71/15 |
179 |
163/4 |
425 |
261/4 |
680 |
|
31/16 или 31/8 |
78 |
9 |
228 |
183/4 |
476 |
30 |
762 |
2. Округление номинальных давлений, выраженных в фунтах на квадратный дюйм (PSI) переведенных в Мегапаскали (МПа), приведено в таблице Б.2.
Таблица Б.2
|
МПа |
PSI |
МПа |
|
|
2000 |
13,8 (14,0) |
10000 |
69,0 (70,0) |
|
3000 |
20,7 (21,0) |
15000 |
103,5 (105,0) |
|
5000 |
34,5 (35,0) |
20000 |
138,0 (140,0) |
Б.3. Переводные коэффициенты
Длина: 1 дюйм Inch (in) = 25,4 миллиметров (мм) точно
Давление: 1 фунт на квадратный дюйм (psi) = 0,06894757 Bar (Бар)
Примечание - 1 Bar = 100 килопаскалей (кРа)
Прочность или напряжение: 1 фунт на квадратный дюйм (psi) = 0,006894757 Мегапаскалей (МПа)
Энергия удара: 1 футо - фунт (ft - Ib) = 1,355818 Джоулей (Дж)
Крутящий момент: 1 футо - фунт (ft - Ib) = 1,355818 ньютон · метров (Нм)
Температура: Градусы Фаренгейта (F) переводят в градусы Цельсия (°C) по формуле (Б.1)
°C = 5/9(F - 32) (Б.1)
Масса: 1 фунт (Ib) = 0,4535924 килограмм (кг)
Сила: 1 фунт - сила (Ibf) = 4,44823 ньютона (Н)
Основные требования к расчету на прочность узлов и деталей оборудования
В.1. Общие положения
В.1.1. Настоящее приложение регламентирует требования к поверочному расчету по напряжениям узлов и деталей оборудования, работающих в условиях статического и квазистатического нагружения, и оценке напряжений в элементах оборудования.
В.1.2. Если на узлы и детали оборудования, наряду со статическими и квазистатическими нагрузками, действуют циклические нагрузки, необходимо в дополнение к поверочному расчету выполнить расчет этих деталей и узлов на усталость.
В.1.3. Основными расчетными нагрузками являются:
- внутреннее или наружное давление;
- нагрузки от собственного веса и веса присоединенных изделий;
- температурные воздействия;
- вибрационные нагрузки.
В.1.4. Основными расчетными режимами эксплуатации являются:
- рабочие условия;
- условия гидроиспытания;
- условия монтажа, включая натяг болтов и шпилек.
В.1.5. В технически обоснованных случаях может быть проведен дополнительный расчет на нагрузки и режимы эксплуатации, отличные от перечисленных в В.1.3, В.1.4.
В.1.6. При поверочном расчете используют физико-механические свойства основного металла и сварных швов, указанные в национальных или отраслевых стандартах или технических условиях. При поверочном расчете изготовленных ранее узлов и деталей оборудования допускается использовать экспериментально определенные физико-механические свойства, приведенные в сертификатах на примененные материалы.
В.1.7. При проведении поверочного расчета все напряжения в конструкции разделяют на категории. Напряжения, относящиеся к различным категориям, объединяют в группы категорий напряжений, которые сопоставляют с допускаемыми значениями.
В.1.8. Для определения напряжений в узлах и деталях оборудования можно использовать численное моделирование напряженно-деформированного состояния конструкций на ЭВМ с помощью метода конечных элементов и других методов и методик, использующих аналитические методы расчета и экспериментальные исследования. Используемые программы и методики расчета должны быть сертифицированы и утверждены соответствующим образом и согласованы с авторами настоящего стандарта.
Выбранные методы определения напряжений должны учитывать все возможные нагрузки для всех расчетных случаев и давать возможность определить все необходимые расчетные группы категорий напряжений.
Ответственность за правильность выбора того или иного метода расчета, точность моделирования напряженно-деформированного состояния конструкции или экспериментально определенных напряжений несет организация, выполнявшая соответствующий расчет или эксперимент.
В.1.9. Напряжения в элементах конструкции не должны превышать предельные значения, указанные в В.4.
В.1.10. Если в элементах конструкции возникают сжимающие напряжения, в дополнение к требованиям В.1.9, должна быть проведена проверка на устойчивость.
В.2. Термины, используемые при анализе напряжений, и определения
В.2.1. эквивалентная интенсивность сложного напряженного состояния или просто интенсивность напряжения в какой-либо точке конструкции: Напряжение, получаемое, исходя из напряженно-деформированного состояния в данной точке, в соответствии с одной из теорий прочности, и используемое для сравнения с механическими свойствами материала, определенными при испытаниях, проводимых при одноосном нагружении образца.
В.2.2. конструктивный переход: Источник концентрации напряжений или деформаций, оказывающий влияние на относительно большую часть конструкции и воздействующий на общую схему распределения напряжений и деформаций в конструкции. Например, соединение крышки или фланца с корпусом, узлы врезки патрубков, соединение обечаек различного диаметра и толщины и т.д.
В.2.3. местный конструктивный переход: Источник концентрации напряжений или деформаций, воздействующих на относительно небольшой объем материала и не оказывающий существенного влияния на общую схему распределения напряжений и деформаций в конструкции, например галтели небольших радиусов, сварные швы с неполным проплавлением и т.д.
В.2.4. нормальные напряжения: Напряжения, действующие по нормали к плоскости сечения. Обычно распределение нормальных напряжений неоднородно по толщине детали. Постоянная компонента нормального В.1.8 напряжения, равная среднему значению напряжений по толщине сечения, называется мембранным напряжением.
В.2.5. напряжения сдвига: Компоненты напряжений, действующие по касательной к плоскости сечения.
Термические напряжения не относятся к классу первичных напряжений.
В.2.7. вторичные напряжения: Напряжения, возникающие в связи со стесненностью деформаций в конструкции, ограничений деформации прилегающими деталями и связями. В отличие от первичных напряжений, величины вторичных напряжений внутренне ограничены, так как их природа связана со стесненностью деформаций в конструкции. Образование локальных пластических зон и небольшие деформации могут приводить к прекращению роста вторичных напряжений. При однократном приложении нагрузки вторичные напряжения, как правило, не могут вызвать разрушение конструкции. Примерами вторичных напряжений являются термические напряжения, напряжения в конструктивных переходах при изгибе и т.д.
В.2.8. первичные мембранные напряжения (общие и местные): К общим первичным мембранным напряжениям относят такие напряжения, распределение относительных величин которых не изменится при переходе материала конструкции в пластическое состояние, например мембранные напряжения в цилиндрических и сферических оболочках.
Напряженная область в оболочке вращения может рассматриваться как
локальная, если расстояние, на котором интенсивность напряжения превышает 1,1[s],
не распространяется в меридиональном направлении более чем на
, где R -
радиус кривизны срединной поверхности, s -
минимальная толщина оболочки в рассматриваемой области. Области местных
первичных мембранных напряжений, превышающие 1,1[s], не должны располагаться в
меридиональном направлении на расстоянии, меньше чем
. Примерами локальных
первичных мембранных напряжений являются напряжения в корпусах в местах
крепления опор и присоединения патрубков.
В.3. Определение расчетных напряжений
В.3.1. При поверочном расчете по категориям напряжений определение напряжений производится, исходя из упругой модели работы конструкции.
В.3.2. При определении эквивалентных интенсивностей напряжений допускается использовать теорию максимальных касательных напряжений (теорию Треска - Геста) или теорию удельной энергии формоизменения (теорию Губера - Генки - Мизеса).
Интенсивность напряжений в расчетной точке по теории максимальных касательных напряжений вычисляют по формуле (В.1)
si = max{|s2 - s1|; |s2 - s3|; |s3 - s1|}. (В.1)
Интенсивность напряжений в расчетной точке по теории удельной энергии формоизменения определяют по формуле (В.2)
(В.2)
где s1, s2, s3 - главное нормальное напряжение в рассматриваемой точке, т.е. напряжения в трех взаимно перпендикулярных плоскостях, выбранных таким образом, что напряжения сдвига в них равны нулю.
В.3.3. Интенсивность напряжения вычисляют для всех перечисленных в В.2.6 - В.2.9 категорий напряжений в отдельности, после чего значения соответствующих напряжений группируются и суммируются в соответствии с разделом В.4.
В.3.4. Интенсивность мембранных напряжений выводят, исходя из мембранных напряжений, усредненных по толщине сечения.
В.4. Предельная допускаемая интенсивность напряжений
В.4.1. Расчетные напряжения во всех точках конструкции должны соответствовать требованиям таблицы.
Таблица В.4.1
|
Категория напряжения |
Первичные |
Вторичные мембранные и изгибные |
Пиковые |
||
|
Общие мембранные |
Местные мембранные |
Изгибные |
|||
|
Символ |
sm |
sL |
sB |
sQ |
sf |
|
Предельно допускаемая интенсивность напряжения |
sт < [s] |
||||
|
sm + sL + sB < 1,5[s] |
|||||
|
sm + sL + sB + sQ < 3,0[s] |
|||||
|
sm + sL + sB + sQ + sf < 2,0 [sQ] |
|||||
В.4.2. При сравнении расчетных и предельно допустимых значений интенсивностей первичных напряжений и их комбинаций следует определять компоненты напряжений, исходя из величин расчетных нагрузок.
При сравнении расчетных и предельно допустимых значений интенсивностей комбинаций напряжений, включающих вторичные и пиковые напряжения, допускается определять компоненты напряжений, исходя из величин рабочих нагрузок.
В.4.3. Допускается использовать конструкции, в отдельных точках которых суммарная интенсивность первичных и вторичных напряжений превышает предельно допускаемую интенсивность напряжения 3,0[s], при условии, что прочность конструкции подтверждается упругопластическим расчетом, учитывающим пластические свойства материала.
В.4.4. Оценка интенсивности суммарных первичных, вторичных и пиковых напряжений производится по размаху суммарных напряжений. Допускаемую амплитуду условных упругих напряжений [sQ] определяют в соответствии с документацией, утвержденной в установленном порядке.
Шаблон для проверки соосности стволовых проходов
Соосность стволовых проходов устьевых елок проверяют шаблоном. Размеры шаблонов приведены на рисунке Г.1 и в таблице Г.1.
Рисунок Г.1
Таблица Г.1
Размеры в мм
|
Максимальный диаметр расточки |
L |
D |
D1 |
|
|
40 |
46 |
76 |
45,20 |
38,6 |
|
50 |
52 |
76 |
51,60 |
48,3 |
|
65 |
65 |
76 |
64,30 |
59,7 |
|
80 |
78 |
76 |
77,00 |
73,2 |
|
100 |
103 |
103 |
102,40 |
97,3 |
|
150 |
152 |
152 |
151,60 |
143,3 |
Спецификация процесса сварки (СПдС)
Протокол квалификации процедуры сварки (ПКП)
|
1 |
Протокол квалификации процедуры сварки (ПКП) PROCEDURE QUALIFICATION RECORD (PQR) |
Лист |
||||||||||
|
2 |
№ протокола ПКП |
|||||||||||
|
3 |
№ спецификации СПС |
|||||||||||
|
4 |
Предприятие-изготовитель |
|||||||||||
|
5 |
Дата |
6 |
Способ(ы) сварки |
7 |
Тип сварки |
|||||||
|
8 |
Соединения |
|||||||||||
|
9 |
Разделка кромок испытательного образца |
|||||||||||
|
10 |
Основной металл |
|||||||||||
|
11 |
Марка и спецификация |
|||||||||||
|
12 |
Тип, класс |
|||||||||||
|
13 |
Толщина образца |
14 |
Диаметр образца |
|||||||||
|
15 |
Присадочный металл |
|||||||||||
|
16 |
Нормативный документ (НД) |
|||||||||||
|
17 |
Классификация по НД |
|||||||||||
|
18 |
Марка присадочного металла |
|||||||||||
|
19 |
Диаметр присадочного металла, мм |
|||||||||||
|
20 |
Марка флюса |
|||||||||||
|
21 |
Положение |
30 |
Температура, °C _________________ |
|||||||||
|
22 |
Положение кромок ______________ |
31 |
Температура между проходами, °C ________________________________ |
|||||||||
|
23 |
Направление сварки _____________ |
|||||||||||
|
24 |
Прочее ________________________ |
32 |
Прочее |
|||||||||
|
25 |
Послесварочная термообработка |
33 |
Газ |
|||||||||
|
26 |
Температура, °C ________________ |
34 |
Расход |
|||||||||
|
27 |
Выдержка |
35 |
Защита ________ |
______________ |
||||||||
|
28 |
Прочее |
36 |
Дополнительная защита выплавленного шва ______________________________________ |
|||||||||
|
29 |
Подогрев |
37 |
Защита обратной стороны |
|||||||||
|
38 |
Характеристики электропитания |
|||||||||||
|
39 |
Ток постоянный или переменный |
43 |
Размер электрода, мм |
|||||||||
|
40 |
Полярность |
44 |
Прочее |
|||||||||
|
45 |
Составил |
46 |
Проверил |
|||||||||
|
1 |
ПКП № |
2 |
Лист |
|||||||||||||
|
3 |
Техника выполнения |
|||||||||||||||
|
4 |
Проход |
8 |
Размер присадочного металла, мм |
|||||||||||||
|
5 |
Процесс |
9 |
Скорость сварки, мм/мин |
|||||||||||||
|
6 |
Ток, А |
10 |
Колебания электрода |
|||||||||||||
|
7 |
Напряжение, В |
11 |
Узкий или расширенный валик |
|||||||||||||
|
12 |
Одно или многопрофильный шов |
13 |
Несколько или один электрод |
|||||||||||||
|
14 |
Испытания на прочность при растяжении |
15 |
Отчет № |
|||||||||||||
|
16 |
Образец № |
20 |
Предельная полная нагрузка, кг |
|||||||||||||
|
17 |
Ширина, мм |
21 |
Предельное удельное напряжение, кг/мм2 |
|||||||||||||
|
18 |
Толщина, мм |
22 |
Тип и место разрушения |
|||||||||||||
|
19 |
Площадь, мм2 |
|||||||||||||||
|
23 |
Испытания на изгиб с оправкой |
24 |
Отчет № |
|||||||||||||
|
25 |
Тип испытаний и № эскиза |
26 |
Результаты |
|||||||||||||
|
27 |
Испытания на ударную вязкость |
28 |
Отчет № |
|||||||||||||
|
29 |
Номер образца |
34 |
Поперечное расширение |
|||||||||||||
|
30 |
Место надреза |
ЗТВ |
Ось шва |
ЗТВ |
Ось шва |
ЗТВ |
Ось шва |
35 |
Вязкость излома, % |
|||||||
|
31 |
Тип надреза |
36 |
Минимальное значение |
|||||||||||||
|
32 |
Температура испытаний, °C |
37 |
Энергия удара |
|||||||||||||
|
33 |
Ударная вязкость |
38 |
Разрушение |
|||||||||||||
|
39 |
Без разрушений |
|||||||||||||||
|
40 |
Испытания углового шва |
41 |
Отчет № |
|||||||||||||
|
42 |
Результат металлического контроля |
43 |
Проплавка в основном металле |
|||||||||||||
|
44 |
Прочие испытания |
|||||||||||||||
|
45 |
Радиографический контроль |
47 |
Отчет № |
|||||||||||||
|
46 |
Металлографический контроль |
|||||||||||||||
|
48 |
Фамилия сварщика |
49 |
Таблица № |
50 |
Клеймо |
|||||||||||
|
51 |
Мы удостоверяем, что данные, приведенные в этом протоколе, правильны и что испытываемые швы были подготовлены, сварены и испытаны в соответствии с |
|||||||||||||||
|
52 |
Главный сварщик |
|||||||||||||||
Определение понятия однотипных сварных соединений
К однотипным сварным соединениям относят группу сварных соединений, имеющих следующие общие признаки:
а) способ сварки;
б) марка (сочетание марок) основного металла. Допускается объединять в одну группу сварные соединения деталей из сталей различных марок, для сварки которых согласно технологии предусмотрено применение сварочных материалов одних и тех же марок (сочетаний марок);
в) марка (сочетание марок) сварочных материалов. Допускается объединять в одну группу сварные соединения, выполненные с применением различных сварочных материалов, марки (сочетание марок) которых согласно технологии могут использоваться для сварки деталей из одной и той же стали; электроды должны иметь одинаковый вид покрытия по ГОСТ 9466 (основной, рутиловый, целлюлозный, кислый);
г) номинальная толщина свариваемых деталей в зоне сварки. Допускается объединять в одну группу соединения с номинальной толщиной деталей в зоне сварки до 3 мм включительно в пределах одного из следующих диапазонов:
Св. 3 до 10 мм включительно;
» 10 » 50 мм »;
» 50 мм.
Для угловых, тавровых и нахлесточных соединений указанные диапазоны относятся к привариваемым деталям; толщину основных деталей разрешается не учитывать;
д) радиус кривизны деталей в зоне сварки. Допускается объединять в одну группу сварные соединения деталей с радиусом кривизны в зоне сварки до 12,5 мм включительно (для труб - с половиной наружного номинального диаметра) в пределах одного из следующих диапазонов:
Св. 12,5 до 50 мм включительно;
» 50 » 250 мм »;
» 250 мм (включая плоские детали).
Для угловых, тавровых и нахлесточных сварных соединений указанные диапазоны относятся к привариваемым деталям;
радиусы кривизны основных деталей разрешается не учитывать;
е) вид сварного соединения (стыковое, угловое, тавровое, нахлесточное). Допускается объединять в одну группу угловые, тавровые и нахлесточные соединения, кроме угловых сварных соединений приварки штуцеров (труб) к элементам сосудов;
ж) форма подготовки кромок. Допускается объединять в одну группу сварные соединения с одной из следующих форм подготовки кромок:
с односторонней разделкой кромок и углом их скоса более 8°;
с односторонней разделкой кромок и углом их скоса более 8° включительно (узкая разделка);
с двусторонней разделкой кромок;
без разделки кромок;
з) способ сварки корневого слоя на остающейся подкладке (подкладном кольце), на расплавляемой подкладке, без подкладки (свободное формирование обратного валика), с подваркой корня шва;
и) термический режим сварки: с предварительным и сопутствующим подогревом, без подогрева, с послойным охлаждением;
к) режим термической обработки сварного соединения.
Проектирование
и изготовление наземного устьевого оборудования,
связанного со спуском, извлечением, испытанием и очисткой инструмента,
в том числе и сменных вкладышей
З.1. Общие сведения
Настоящее приложение рассматривает проектирование, выбор материалов, изготовление и испытание всех видов инструментов и оборудования для спуска и подъема, а также испытания узлов устьевого оборудования, включая сменные вкладыши.
З.2. Проектирование
З.2.1. Общие данные
Оборудование, изготавливаемое в соответствии с настоящим приложением, должно отвечать техническим требованиям раздела 4.
З.2.2. Нагрузки
При проектировании спусковых, очищающих и испытательных инструментов должны учитываться, как минимум, следующие нагрузки или их сочетание:
- нагрузки при подвешивании, в том числе чрезмерные;
- изгибающие нагрузки;
- давление;
- усилие закручивания, включая необходимый крутящий момент свинчивания (вращающий момент докрепления) резьбовых соединений с упорным заплечиком;
- радиальные нагрузки;
- нагрузки от воздействия окружающей среды.
З.2.3. Концевые соединения
Бурильные замки или роторные резьбовые соединения с упорным заплечиком должны быть выполнены согласно требованиям ГОСТ 5286. Они должны составлять одно целое с инструментом и не присоединяться сваркой. Должно быть предусмотрено достаточное пространство под элеватор и под плашки для зажима бурильных труб. Нагрузочная способность инструмента не должна быть обусловлена выбором концевого соединения инструмента, а если это все-таки имеет место, то это должно быть запротоколировано. Сварные соединения с инструментом допускаются, если они выполняются согласно 6.2. Резьбы должны быть прокалиброваны в соответствии с ГОСТ Р 51906.
Резьбы обсадных или насосно-компрессорных труб должны быть выполнены в соответствии ГОСТ Р 51906.
Управляемые крутящим моментом инструменты желательно нарезать левой резьбой для свинчивания и правой резьбой - для отвинчивания во избежание непреднамеренного отвинчивания соединений обсадных/насосно-компрессорных/бурильных труб в процессе работы/развинчивания. Левая резьба должна быть четко обозначена; она может понадобиться на инструментах для спуска насосно-компрессорных труб с целью извлечения постоянного эксплуатационного пакера.
З.2.4. Вертикальное проходное отверстие
Если инструменты имеют вертикальное проходное отверстие в целях обеспечения циркуляции, то проходной диаметр этого отверстия должен как минимум быть равным размеру указанного замкового соединения или, в случае внутренних профилей, в соответствии с техническими условиями изготовителя.
З.2.5. Наружный профиль
Наружный профиль инструмента должен быть в соответствии с техническими условиями изготовителя. По возможности наружный профиль должен быть спроектирован так, чтобы обеспечивать совмещение инструмента, в случае его применения, и снижать риск зависания в углублениях превентора.
З.2.6. Номинальное давление
Номинальное давление от инструмента по возможности должно быть в соответствии с техническими условиями изготовителя.
З.3. Материалы
З.3.1. Общие сведения
На все инструменты и их детали требуются официально оформленные технические условия на материалы, которые определяют следующее, наряду с критериями приемки/отбраковки:
- требования к механическим свойствам;
- проверка материала на соответствие;
- способ термической обработки, включая продолжительность цикла и температуры с допусками;
- состав материала с допусками;
- требования к неразрушающему контролю;
- допустимые режимы плавки;
- способы горячей обработки;
- охлаждающая среда при тепловой обработке.
Спусковые инструменты должны изготавливаться из материалов, по своим свойствам отвечающим требованиям, предъявляемым к ним изготовителем.
З.3.2. Дополнительные требования
З.3.2.1. Общие сведения
Подразделы с З.3.2 по З.3.4 относятся только к основным несущим нагрузку инструментам, например к инструментам для спуска обсадных и насосно-компрессорных труб, к посадочным инструментам для манжетных тестеров опрессовки превенторов и уплотнительных узлов, от которых требуется передавать момент, превышающий 50 % крутящего момента при свинчивании.
З.3.2.2. Термообработка
Термообработка должна проводиться в соответствии с техническими условиями изготовителя. Эти технические условия должны содержать всю необходимую информацию по выполнению термообработки каждого выбранного материала или детали таким образом, чтобы получить требуемые механические свойства.
З.3.2.3. Химический состав
З.3.2.3.1. Материалы должны соответствовать техническим условиям изготовителя.
З.3.2.3.2. Изготовитель должен указать номинальный химический состав, включая небольшие допустимые отклонения по составу материала.
З.3.2.3.3. Состав материала должен определяться на основе плавки (или на основе переплавленного слитка для материалов переплавленного сорта) в соответствии с техническими условиями изготовителя.
З.3.2.4. Проверка материала на соответствие
З.3.2.4.1. Испытания образца (QTC) на соответствие техническим условиям
QTC для квалификационного испытания спусковых инструментов должен быть испытательным образцом полного сечения. Этот образец может быть термически обработан вместе со спусковым инструментом или отдельно от него. Этот пробный вырезанный образец должен быть достаточно длинным, чтобы можно было взять образцы для механических испытаний (см. З.3.2.4.3) размером как минимум 1/4Т (где Т - наибольшее поперечное сечение тест-купона) с ближайшей термообработанной поверхности.
Если спусковой инструмент термически и механически обработан на разные диаметры, тогда QTC должен браться с конца, имеющего наибольший диаметр.
З.3.2.4.2. Оценочная партия
QTC должен представлять аналогичные спусковые инструменты, которые выполнены из той же плавки, и вместе, одновременно термически обработаны в одной и той же печи (испытание по одной плавке на каждую термообработанную партию материала). Присоединенный QTC, если он применяется, должен оставаться присоединенным к рабочему спусковому инструменту на протяжении всей термообработки, за исключением циклов повторной закалки или повторного старения, если они потребуются.
З.3.2.4.3. Механическое испытание
На каждом QTC должно быть проведено как минимум одно испытание на разрыв и три ударных испытания по Шарпи для образцов с V-образным надрезом. Должны применяться полноразмерные образцы. Испытания должны проводиться в соответствии с [6]. Температура ударных испытаний должна быть не выше минимальной ожидаемой температуры режима эксплуатации.
а) Испытательные образцы должны быть взяты из QTC таким образом, чтобы расчетная длина испытуемого на растяжение образца и основание V-образного надреза Шарпи были, как минимум, на 1/4Т от термически обработанных концов QTC (T - наибольшее сечение образца). Продольная ось образцов для испытания на растяжение и на удар должна быть взята в пределах центра 1/4T оболочки для сплошных тест-купонов, или в пределах 3 мм (1/8 дюйма) от промежуточной линии для полых образцов.
б) Испытания на твердость должны проводиться в соответствии с указаниями изготовителя.
З.3.3. Требования к механическим свойствам
В случае если спусковые инструменты используются для спуска обсадных или насосно-компрессорных труб, или они требуются для передачи высокого крутящего момента, или предполагается сильная нагрузка из-за испытательных давлений, механические свойства инструментов должны быть такими, как указано в таблице З.1.
Таблица З.1 - Механические свойства инструментов
|
Минимальный предел прочности МПа (фут/дюйм2) |
Минимальное относительное удлинение, % |
Твердость по Бринеллю HBW |
Минимальное требование к ударному испытанию по Шарпи |
|
|
690 (100000) |
930 (135000) |
13 |
260 - 321 |
42 Дж |
|
при - 20 °C |
||||
|
(31 фут/фунт при - 4 °F) |
Могут быть использованы материалы с более низким пределом текучести и пределом прочности, если может быть доказано, что спусковой инструмент так же прочен, как и трубная подвеска. Требования, предъявляемые к материалу сменных вкладышей, должны быть в соответствии с письменными указаниями изготовителя, однако твердость должна быть в пределах 241 HBW и 321 HBW; ударное испытание для материала сменных вкладышей не требуется.
Вращающиеся соединения инструментов должны быть покрыты противозадирной смазкой.
З.4. Испытание
З.4.1. Заводские приемочные испытания
Все инструменты перед их отправкой с завода-изготовителя должны быть, по возможности, функционально испытаны, а также измерены или откалиброваны, с целью проверки их нормального срабатывания. У инструментов с гидравлической системой управления эта система должна быть испытана в соответствии с требованиями технических условий изготовителя.
Это гидростатическое испытание должно состоять из трех этапов:
- первичный период выдержки давления;
- снижение давления до нуля (атмосферное давление);
- вторичный период выдержки давления.
Каждый период выдержки должен быть не менее 15 мин; отсчет времени не должен начинаться, пока наружные поверхности элементов корпуса полностью не просохнут пока не будет достигнуто испытательное давление, а оборудование и прибор контроля давления - изолированы от источника давления.
З.5. Маркировка
Все инструменты должны быть маркированы в соответствии с нормативными документами изготовителя или иметь маркировку «ISO 10423», а также как указано в 4.20 [19], ниже места для ключа на замковом соединении. Сменные вкладыши должны быть маркированы «ISO 10423» с последующим указанием диаметра проходного сечения в миллиметрах и дюймах. Индивидуальный серийный номер должен быть выбит штампом на каждом инструменте в сборе, желательно во фрезерованной канавке.
З.6. Требования к контролю качества и к отчетности
Требования контроля качества должны быть в соответствии с официально оформленными требованиями изготовителя. Уровни технической характеристики изделия (PSL) к инструментам не применяются.
З.7. Хранение и транспортирование
В дополнение к требованиям раздела 4.21, наружная резьба должна быть защищена высококачественной смазкой для хранения и металлическим протектором со штампованной резьбой или аналогичным устройством.
|
[1] |
ПБ 08-624-03 |
Правила безопасности в нефтяной и газовой промышленности |
|
[2] |
ПБ 03-576-03 |
Правила устройства и безопасной эксплуатации сосудов, работающих под давлением |
|
API Spec 6A |
Спецификация для устьевого и фонтанного устьевого оборудования |
|
|
[4] |
NACE MR-01-75 |
Требования к материалам для нефтяного оборудования стойким к сульфидному растрескиванию |
|
[5] |
ASTM D 1418 |
Резина и резиновые изделия (сетки) |
|
[6] |
ASTM A 370-03a |
Стандартный метод испытаний и определения для механических испытаний металлопродукции |
|
[7] |
ПНА Э Г-7-025-90 |
Стальные отливки для атомных энергетических установок. Правила контроля |
|
[8] |
ПБ 03-273-99 |
Правила аттестации сварщиков и специалистов сварочного производства |
|
ASNT-TC-IA |
Квалификация персонала и сертификация испытаний без разрушения образцов |
|
|
[10] |
ASTM E 18 |
Стандартные методы испытаний на твердость по Роквеллу |
|
[11] |
ASTM E 10 |
Стационарные методы испытаний на твердость по Бринеллю металлических материалов |
|
[12] |
ASTM E 709 |
Практика проверок и испытаний с использованием магнитных частиц (Метод магнитной дефектоскопии) |
|
[13] |
ASTM E 165 |
Методика проведения испытаний методом жидкостного проникновения |
|
[14] |
ASTM A 388 |
Практические рекомендации для ультразвуковых испытаний тяжелых стальных поковок |
|
[15] |
ASTM E 428 |
Стандартная рекомендуемая практика изготовления и контроля стальных эталонных блоков, используемых при ультразвуковом исследовании |
|
[16] |
ASTM A 609 |
Технические условия для ультразвуковых испытаний отливок из углеродистой и низколегированной стали |
|
[17] |
ASTM E 94 |
Стандартная практика рентгенографических испытаний |
|
[18] |
API Spec 5B |
Спецификация для нарезания, измерения и контроля резьб обсадных, насосно-компрессорных и труб магистральных трубопроводов |
|
[19] |
API Spec 7 |
Технические условия на элементы бурильного инструмента |
|
[20] |
РД 03-615-03 |
Порядок применения сварочных технологий при изготовлении, монтаже, ремонте и реконструкции технических устройств для опасных производственных объектов |
|
Ключевые слова: оборудование устьевое, фонтанная арматура, эксплуатация, стандарты, определения, общие технические требования, конструкция, проектирование, изготовление, материалы, сварка, испытания, контроль качества, хранение и транспортирование, документирование |