Меню
Навигация
Novatika
Первая линия
Бесплатное обучение

Двигатели внутреннего сгорания поршневые. Дымность отработавших газов. Нормы и методы определения

Стандарт распространяется на судовые, тепловозные и промышленные двигатели внутреннего сгорания и устанавливает нормы дымности отработавших газов, измеренной оптическим или фильтрационным методом, при проведении стендовых испытаний новых и капитально отремонтированных двигателей. Допускается применение стандарта в условиях эксплуатации при проведении испытаний силовых установок и агрегатов на базе судовых, тепловозных и промышленных двигателей. Стандарт на распространяется на автомобильные, тракторные и авиационные двигатели.

Обозначение: ГОСТ Р 51250-99
Название рус.: Двигатели внутреннего сгорания поршневые. Дымность отработавших газов. Нормы и методы определения
Статус: отменен
Дата актуализации текста: 05.05.2017
Дата добавления в базу: 01.09.2013
Дата введения в действие: 01.07.2014
Утвержден: 03.03.1999 Госстандарт России (Russian Federation Gosstandart 57)
Опубликован: ИПК Издательство стандартов (1999 г. ) ИПК Издательство стандартов (2005 г. )
Ссылки для скачивания:

ГОСТ Р 51250-99

ГОСУДАРСТВЕННЫЙ СТАНДАРТ РОССИЙСКОЙ ФЕДЕРАЦИИ

Двигатели внутреннего сгорания поршневые

ДЫМНОСТЬ ОТРАБОТАВШИХ ГАЗОВ

Нормы и методы определения

ГОССТАНДАРТ РОССИИ
Москва

Предисловие

1 РАЗРАБОТАН И ВНЕСЕН Техническим комитетом ТК 235 «Дизели судовые, тепловозные и промышленные»

2 ПРИНЯТ И ВВЕДЕН В ДЕЙСТВИЕ Постановлением Госстандарта России от 3 марта 1999 г. № 57

3 Стандарт соответствует ИСО 8178 «Двигатели внутреннего сгорания. Измерение выбросов вредных веществ» Части 1, 2, 4 и 9 - в части испытательных процедур и методов испытаний

4 ВВЕДЕН ВПЕРВЫЕ

5 ИЗДАНИЕ (январь 2005г.) с Изменением № 1, утвержденным в марте 2004 г. (ИУС 6-2004)

Содержание

1 Область применения. 2

2 Нормативные ссылки. 2

3 Определения. 2

4 Нормы дымности отработавших газов. 3

5 Методы измерений. 4

6 Объем и режимы испытаний. 6

7 Оборудование моторного стенда и измерительные приборы.. 6

8 Условия проведения измерений. 11

9 Проведение измерений. 12

10 Требования безопасности. 13

Приложение А. Рекомендации по применению оптического метода измерений дымности ОГ в условиях эксплуатации двигательных установок. 13

Приложение Б. Библиография. 15

 

ГОСУДАРСТВЕННЫЙ СТАНДАРТ РОССИЙСКОЙ ФЕДЕРАЦИИ

Двигатели внутреннего сгорания поршневые

ДЫМНОСТЬ ОТРАБОТАВШИХ ГАЗОВ

Нормы и методы определения

Internal combustion reciprocating engines. Visible pollutants.
Limit values and test methods.

Дата введения 2000-01-01

1 Область применения

Настоящий стандарт распространяется на судовые, тепловозные и промышленные двигатели внутреннего сгорания (далее - двигатели) и устанавливает нормы дымности отработавших газов (далее - ОГ), измеренной оптическим или фильтрационным методом, при проведении стендовых испытаний новых и капитально отремонтированных двигателей.

Допускается применение настоящего стандарта в условиях эксплуатации при проведении испытаний силовых установок и агрегатов на базе судовых, тепловозных и промышленных двигателей в соответствии с приложением А.

Стандарт не распространяется на автомобильные, тракторные и авиационные двигатели.

Раздел 1 (Измененная редакция, Изм. № 1).

2 Нормативные ссылки

В настоящем стандарте использованы ссылки на следующие стандарты:

ГОСТ 12.1.003-83 ССБТ. Шум. Общие требования безопасности

ГОСТ 12.1.005-88 ССБТ. Общие санитарно-гигиенические требования к воздуху рабочей зоны

ГОСТ 12.2.003-91 ССБТ. Оборудование производственное. Общие требования безопасности

ГОСТ 12.3.002-75 ССБТ. Процессы производственные. Общие требования безопасности

ГОСТ Р 12.4.213-99 Система стандартов безопасности труда. Средства индивидуальной защиты органа слуха. Противошумы. Упрощенный метод измерения акустической эффективности противошумных наушников для оценки качества

ГОСТ 10448-80 Двигатели судовые, тепловозные и промышленные. Приемка. Методы испытаний

ГОСТ 30574-98 Дизели судовые, тепловозные и промышленные. Измерение выбросов вредных веществ с отработавшими газами. Циклы испытаний

ГОСТ Р ИСО 8178-7-99 Двигатели внутреннего сгорания поршневые. Выбросы вредных веществ с отработавшими газами. Часть 7. Определение семейства двигателей

ГОСТ Р ИСО 8178-8-99 Двигатели внутреннего сгорания поршневые. Выбросы вредных веществ с отработавшими газами. Часть 8. Определение группы двигателей

Раздел 2 (Измененная редакция, Изм. № 1).

3 Определения

В настоящем стандарте использованы следующие термины с соответствующими определениями:

отработавшие газы (ОГ): Смесь газообразных продуктов полного сгорания, избыточного воздуха и различных микропримесей (газообразных, жидких и твердых частиц), поступающая из цилиндров двигателя в его выпускную систему.

дымность: Видимая дисперсия жидких и (или) твердых частиц в ОГ, образовавшаяся в результате неполного сгорания топлива и испарившегося масла в цилиндрах двигателя.

дымомер: Прибор для измерения дымности.

дымомер оптического типа: Прибор для измерения непрозрачности ОГ, выраженной через коэффициент ослабления светового потока.

коэффициент ослабления светового потока (N, %): Часть светового потока от источника света дымомера, не достигшая приемника света из-за поглощения, отражения и рассеяния этой части потока отработавшими газами, проходящими через измерительную (дымовую) камеру дымомера.

натуральный показатель ослабления потока (K, м-1): Величина, обратная толщине слоя ОГ, м, проходя через который световой поток от источника света дымомера ослабляется в е раз, где е - основание натурального логарифма.

эффективная база дымомера оптического типа (L, м): Толщина оптически однородного слоя ОГ, эквивалентного по ослаблению светового потока столбу тех же ОГ, заполняющих измерительную камеру дымомера в условиях измерения.

предельно допустимое значение натурального показателя ослабления светового потока (Kд, м-1): Значение натурального показателя ослабления светового потока в зависимости от расхода ОГ, при превышении которого двигатель считается не выдержавшим испытаний.

дымомер фильтрационного типа: Прибор для измерения дымности, выраженной через показатель отражения света поверхностью фильтра, окрашенного всеми компонентами дисперсной фазы ОГ после пропускания определенной их порции через фильтр.

дымовое число фильтра FSN («Filter Smoke Number»): Степень потемнения фильтра, определяемая по оптическому отражению от окрашенного ОГ фильтра по отношению к чистому фильтру, выраженная в условных единицах 10-балльной шкалы.

показатель отражения светового потока поверхностью фильтра (R, %): Часть светового потока источника света, достигшая приемника после отражения от эффективной поверхности фильтра. Измеряют оптико-электрическим рефлектометром.

эффективная длина дымовой колонки (LF, м): Величина, определяемая эффективным объемом всасывания и эффективной поверхностью фильтра. Указывает организация-изготовитель.

4 Нормы дымности отработавших газов

Нормы дымности определяют в зависимости от расхода ОГ Vexh, дм3/с, приведенного к нормальным условиям (температура 273 К и давление 101,3 кПа).

4.1 Для новых двигателей

4.1.1 При измерении дымности оптическим методом максимально допустимые значения натурального показателя ослабления светового потока и соответствующие им значения коэффициента ослабления светового потока, приведенные к шкале дымомера с базой L = 0,43 м, в зависимости от расхода ОГ должны соответствовать приведенным в таблице 1.

4.1.2 При измерении дымности фильтрационным методом прибором с длиной колонки LF = 0,405 м предельно допустимые значения дымового числа фильтра FSN в зависимости от расхода ОГ должны соответствовать приведенным в таблице 1.

Таблица 1

Расход ОГ

Vexh, дм3

Натуральный показатель ослабления светового потока Kд, м--1, не более

Коэффициент ослабления светового потока N, приведенный к шкале дымомера оптического типа (L = 0,43 м) %, не более

Дымовое число FSN фильтра, приведенное к шкале дымомера фильтрационного типа (LF = 0,405 м), условных единиц, не более

               До     75  включ.

1,857

55

4,2

Св.   75  »      85        »

1,707

52

4,0

»       85  »      95        »

1,612

50

3,9

»       95  »    110        »

1,521

48

3,8

»    110  »    125        »

1,433

46

3,7

»    125  »    140        »

1,348

44

3,6

»    140  »    160        »

1,267

42

3,5

»    160  »    185        »

1,188

40

3,4

»    185  »    210        »

1,112

38

3,3

»    210  »    250        »

1,038

36

3,2

»    250  »    290        »

0,966

34

3,0

»    290  »    350        »

0,897

32

2,9

»    350  »    400        »

0,829

30

2,8

»    400  »    500        »

0,764

28

2,7

»    500  »    600        »

0,700

26

2,5

»    600  «    700        »

0,638

24

2,3

»    700  »    900        »

0,578

22

2,2

»    900  »  1150        »

0,519

20

2,0

»  1150  »  1500        »

0,461

18

1,8

»  1500  »  2000        »

0,405

16

1,7

»  2000  »  3000        »

0,351

14

1,5

»  3000

0,297

12

1,3

Примечание. Для звездообразных двигателей нормы дымности отработавших газов устанавливаются по согласованию с заказчиком.

4.1.3 Двигатель считают соответствующим требованиям настоящего стандарта, если каждое измеренное значение натурального показателя ослабления светового потока или дымового числа фильтра меньше или равно соответствующему предельно допускаемому значению натурального показателя ослабления светового потока или дымового числа фильтра.

4.2 Для двигателей после капитального ремонта

4.2.1 Максимально допустимые нормы дымности для двигателей после капитального ремонта увеличивают на 20 % по отношению к значениям, установленным таблицей 1.

5 Методы измерений

5.1 Метод измерения дымности оптический

Сущность оптического метода определения дымности ОГ заключается в измерении их непрозрачности, а именно коэффициента ослабления светового потока с вычислением значений натурального показателя ослабления светового потока при просвечивании столба ОГ двигателя в измерительной камере дымомера с известной эффективной базой.

Коэффициент ослабления светового потока N, %, при измерении непрозрачности рассчитывают по формуле

,

(1)

где Ф - световой поток, достигший приемника света после просвечивания столба ОГ, лм;

Ф0 - световой поток, достигший приемника света после просвечивания чистого воздуха, лм.

Из закона Бугера-Ламберта-Бера для дисперсной среды следует

(2)

Из формул (1) и (2) устанавливают зависимость натурального показателя ослабления светового потока K от коэффициента ослабления светового потока N по формуле

(3)

Основным нормируемым параметром дымности ОГ является натуральный показатель ослабления светового потока K, вычисленный по формуле (3) и приведенный к базовым условиям по 9.1.

Вспомогательным нормируемым параметром дымности является измеряемый коэффициент ослабления светового потока по формуле (1), приведенный к измерительной базе L = 0,43 м. Если измерительная база дымомера L отличается от 0,43 м, то вспомогательный нормируемый параметр N, %, рассчитывают по формуле

(4)

5.2 Метод измерения дымности фильтрационный

Сущность фильтрационного метода измерения дымности ОГ заключается в измерении почернения фильтра после пропускания через него строго определенного количества газов. Поверхность фильтра темнеет, окрашиваясь всеми компонентами дисперсной фазы. Почернение фильтра оценивают по степени его оптического отражения в сравнении с чистым фильтром и измеряют оптико-электрическим рефлектометром.

Рефлектометры дымомеров могут быть проградуированы в единицах измеряемого показателя отражения светового потока R от 0 % до 100 % или в условных единицах поглощения светового потока фильтром, как, например, в приборах типа Бош.

Относительный показатель отражения затемненного фильтра R', %, оценивают по формуле

(5)

где R и R0 - показатели отражения, измеренные рефлектометром, от затемненного и чистого фильтра соответственно.

Тогда дымовое число фильтра как основную характеристику дымности, измеренную фильтрационным дымомером, FSN в усл. ед. 10-балльной шкалы рассчитывают по формуле

(6)

Дымовое число фильтра FSN отсчитывают по шкале рефлектометра (с соответствующей градуировкой) при условии установки на 0 его показаний при отражении от чистого фильтра.

Формула справедлива при эффективной длине дымовой колонки дымомера 0,405 м, при атмосферном давлении и температуре (298+ 4) К.

При использовании дымомера с фильтрационной колонкой, эффективная длина которой отличается от 0,405 м, измеренное значение FSN приводят к указанной длине по формуле

(7)

где FSN и LF - параметры применяемого дымомера.

Основным нормируемым показателем дымности ОГ двигателя при измерениях фильтрационным методом служит дымовое число фильтра FSN.

При использовании дымомеров со 100-балльной шкалой усл. ед. дымности в формулах (6) и (7) коэффициент размерности 10 необходимо заменить на 100, а дымовое число FSN по таблице 1 умножить на 10.

Запрещается пересчет показаний дымомера оптического типа в показания фильтрационного дымомера, за исключением случаев одновременного проведения измерений дымомерами обоих типов.

6 Объем и режимы испытаний

Испытанию на дымность следует подвергать двигатели при проведении сертификационных, приемо-сдаточных, квалификационных, периодических и типовых испытаний в соответствии с требованиями ГОСТ 10448 и технических условий на двигатели конкретного типа.

С целью сокращения объема измерений в условиях стабильного производства допускается проведение измерений дымности ОГ только для характерного представителя семейства двигателей по ГОСТ Р ИСО 8178-7 или группы двигателей по ГОСТ Р ИСО 8178-8. Концепция отбора характерного представителя серийных двигателей должна быть согласована с разработчиком стандарта.

Измерение дымности ОГ, предусмотренное в программе специальных испытаний по ГОСТ 10448, выполняют в соответствии с требованиями настоящего стандарта.

(Измененная редакция, Изм. № 1).

6.1 Структура режимов испытаний

Режимы испытаний в зависимости от назначения двигателя должны соответствовать ГОСТ 30574.

(Измененная редакция, Изм. № 1).

7 Оборудование моторного стенда и измерительные приборы

При измерении дымности оптическим методом испытания проводят с отбором или без отбора проб ОГ. При испытаниях без отбора проб просвечивают представительную (репрезентативную) часть потока или весь поток ОГ внутри или на срезе выпускной трубы двигателя с помощью полнопоточных дымомеров.

При испытаниях с отбором проб из выпускной трубы с помощью газоотборного зонда и пробной трубы отводят представительную часть потока ОГ и просвечивают ее в измерительном контуре частично-поточного дымомера.

При измерении дымности фильтрационным методом испытания проводят только с отбором дозированной части ОГ с помощью газоотборного зонда.

Кроме дымомера испытательный моторный стенд должен быть оборудован, как минимум, измерительными приборами для определения мощности (крутящего момента) и частоты вращения коленчатого вала двигателя, состояния окружающей среды (температуры, давления) и расходов топлива и воздуха. Погрешность измерительных приборов должна соответствовать требованиям ГОСТ 10448.

7.1 Система пробоотбора

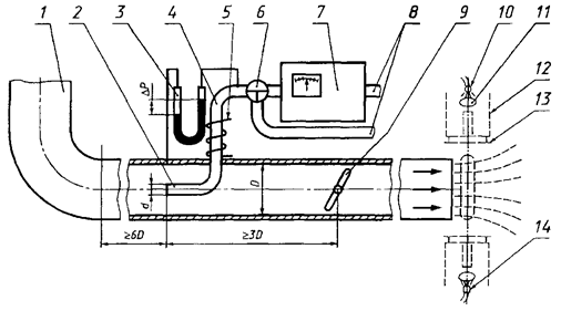
7.1.1 Схема установки дымомера оптического типа для измерения параметров дымности с отбором проб ОГ показана на рисунке 1.

1 - выпускная труба; 2 - газоотборный зонд; 3 - дифференциальный манометр; 4 - газоподводящая труба; 5 - теплообменник; 6 - байпасный клапан; 7 - дымомер частичнопоточный; 8 - газоотводящие трубы; 9 - регулируемая заслонка; 10 - источник света; 11 - собирательная линза; 12 - дымомер полнопоточный (на срезе выпускной трубы); 13 - разделительная перегородка; 14 - приемник света

Рисунок 1 - Схема установки дымомера оптического типа

Для дымомеров оптического типа внутренний диаметр d газоотборного зонда должен быть, при диаметре выпускной трубы D = 100 мм, не менее 0,225D и при любых D - не более 25 мм.

Газоотборный зонд должен быть установлен по оси выпускной трубы с внутренним диаметром D таким образом, чтобы его открытый конец был направлен навстречу потоку газов и чтобы он располагался на прямолинейном участке трубы длиной не менее 6 D против направления потока газов и длиной 3 D - по направлению потока газов.

При невозможности выполнения этих требований в конструкции выпускной системы допускается применение других мероприятий (установка выпрямительных решеток, дополнительных рессиверов и др.), обеспечивающих равномерность потока ОГ в выпускной трубе и представительность отбираемых проб (см. приложение А).

Газоподводящая труба, соединяющая газоотборный зонд с дымомером (см. рисунок 1), должна иметь длину не более 2 м и располагаться, по возможности, с подъемом в сторону дымомера. Газоподводящая труба должна быть герметичной, без резких изгибов.

В особых случаях допускается применение удлиненной газоподводящей трубы до 5 м, при этом должны быть приняты меры, исключающие образование конденсата в трубе.

Для настройки надлежащего перепада давлений Р в газовой трассе дымомера рекомендуется устанавливать регулируемую заслонку в выпускной трубе за газоотборным зондом по направлению потока газов на расстоянии не менее 3 D.

При измерениях на частичных нагрузках нельзя изменять положение заслонки.

Рекомендуется устанавливать теплообменные устройства в газоподводящей трубе.

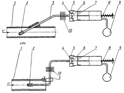
7.1.2 В системе пробоотбора для дымомера фильтрационного типа, схема которого показана на рисунке 2, не допускается затекание газов в открытый конец зонда, за исключением периода отбора проб.

Untitled-1

1 - прямолинейный участок трубы двигателя; 2 - газоотборный зонд; 3 - линия отбора; 4 - дымомер; 5 - зажимное устройство; 6 - фильтр; 7 - поршень; 8 - пружина; 9 - пневматическое устройство; 10 - охладитель

Рисунок 2 - Схема установки дымомера фильтрационного типа

Внутренний диаметр d газоотборного зонда на всем протяжении системы отбора проб от входа до фильтра должен быть не менее 3 мм.

Мертвый объем VD - общий объем от входа в газоотборный зонд до поверхности фильтра - не должен превышать 15 % номинального объема всасывания VN. Лишь в случае многократного пропускания проб (не менее 3) через один фильтр, эквивалентного соответствующему увеличению VN и допустимого при измерениях на крупных двигателях, зонд может быть удлинен, но значение VD должно быть не более 40 % от VN.

Во всех случаях перед отбором мертвый объем должен быть заполнен чистым воздухом.

Внутренний диаметр верхней по потоку части зажимного устройства для фильтра рассматривается как размер, определяющий эффективную поверхность фильтра АF, он должен находиться в диапазоне 15 - 35 мм. Внутренний диаметр нижней по потоку части зажимного устройства должен быть таким же или не более чем на 0,5 мм большим, а несоосность этих диаметров не более 0,2 мм или 0,7 % от внутреннего диаметра верхней по потоку части зажимного устройства.

7.2 Дымомер оптического типа

При определении изготовителем эффективной базы дымомера (эффективной длины светового луча) следует учитывать влияние способов, используемых для защиты источника света и приемника от загрязнений.

Дымомер должен иметь, как минимум, шкалу измерения коэффициента N, имеющую не менее 100 делений, для определения непрозрачности ОГ с основной приведенной погрешностью ±2 %. Допускается применение цифровых индикаторов с точностью отсчета в третьем разряде одна единица.

При наличии шкалы натурального показателя ослабления K она должна иметь деления по меньшей мере 0,025 м-1 между 0 и 2 м-1 и по меньшей мере 0,05 м-1 между 2 и 4 м-1.

Оптические свойства дымовой камеры дымомера должны быть такими, чтобы суммарное отклонение значения коэффициента ослабления светового потока, вызванное рассеиванием и отражением, при значении N = 50 % не вышло за пределы ±0,5 %.

(Измененная редакция, Изм. № 1).

7.2.1 Допускаемая максимальная температура газов в измерительном контуре дымомера должна быть не ниже 433 К и должна указываться изготовителем.

7.2.2 В качестве источника света следует использовать электрическую лампу накаливания с цветовой температурой нити 2800 - 3500 К или диод зеленого излучения со спектральным пиком в интервале 550 - 570 нм. Применение других источников света не допускается.

В качестве приемника света следует применять фотоэлемент или фотодиод со спектральной характеристикой, близкой к спектральной характеристике глаза человека. Максимальная чувствительность - при длине волны от 550 до 570 нм. При длине волны менее 430 нм и более 680 нм допускается не более 4 % максимальной чувствительности.

Конструкция оптической системы дымомера должна быть такой, чтобы отклонение от параллельности лучей светового потока от оптической оси не превышало 3°, а приемник не реагировал на прямой или отраженный луч света, если он отклонен от оптической оси более чем на 3°.

7.2.3 Электрическая схема фотоприемника и индикатора дымности должна обеспечить характеристику силы тока, произведенного фотоприемником, стабильную во всем температурном диапазоне эксплуатации фотоэлемента.

Электрическая схема фотоприемника и индикатора дымности должна быть регулируемой и обеспечивать установление индикатора в нулевое положение, когда световой поток проходит через измерительный контур (дымовую камеру), наполненный чистым воздухом.

Прибор должен быть обеспечен средствами установления и проверки полной шкалы, например, заслонками или нейтральными плотными фильтрами, устанавливаемыми перпендикулярно к световому лучу.

7.2.4 Для проверки характеристики системы «источник света - фотоприемник - индикатор дымности» применяют контрольный светофильтр с нейтрально серым цветом, для которого значение N в пределах 50 % - 55 % должно быть известно с погрешностью не более 0,5 %. После установления стрелки индикатора дымности в нулевое положение светофильтр следует ввести между источником света и фото приемником. При этом значение, отсчитанное на индикаторе дымности, не должно отклоняться от указанного на светофильтре значения более чем на 0,5 %.

7.2.5 Динамические свойства дымомера, а также стабильность фотоэлектрической системы должны обеспечивать одно измерение в течение 1 мин с отклонением стрелки индикатора дымности от нулевого положения менее чем на 0,5 %.

7.2.6 Полнопоточные дымомеры должны иметь устройство автоматической коррекции показаний шкалы по температуре и, если необходимо, давлению потока ОГ в дымовой камере (8.4.1).

7.3 Дымомер фильтрационного типа

7.3.1 Конструкция дымомера должна обеспечивать прохождение гомогенного потока через всю эффективную поверхность фильтра для достижения его равномерного затемнения.

7.3.2 Оценка равномерности почернения фильтра: значения FSN рефлектометра, измеренные в периферийной части поверхности фильтра, не должны отличаться от значений FSN, измеренных в центральной части поверхности фильтра, более чем на 5 %.

7.3.3 Во избежание чрезмерных отложений сажи в системе пробоотбора средняя скорость газового потока в любой ее точке до фильтра не должна быть менее 0,1 м/с.

Среднюю скорость в любом сечении , м/с, рассчитывают по формуле

(8)

где VN - номинальный объем всасывания, м3;

t - время всасывания, с;

As - площадь поперечного сечения в каком-либо месте системы отбора проб, м2.

Время всасывания для дымомера с поршневым насосом представляет собой время от начала движения поршня до момента, когда давление за фильтром стабилизируется до уровня ±1 кПа по отношению к значению статического давления на входе в газоотборный зонд и когда дымность пробы находится в диапазоне 3 - 4 FSN.

7.3.4 Допустимое изменение утечек VL при эксплуатации прибора, связанное, например, с износом уплотнений, не должно превышать 1 % номинального объема всасывания VN.

7.3.5 Фильтр должен быть изготовлен из натурального целлюлозного волокна без примесей смол или резин. Поверхность фильтра должна быть гладкой.

Сложенные в стопку непрозрачные фильтры, не менее 20 слоев, должны обладать отражательной способностью (92 ± 3) %.

Примечание - Стандарт отражательной способности для известных рефлектометров дает таблетка сульфата бария (BaSO4) или окиси магния (MgO).

Толщина бумаги должна быть в пределах 0,17 - 0,23 мм при измерениях с прилагаемым давлением 50 кПа.

Разрывной перепад давлений не должен быть менее 40 кПа для приборов с максимальным диаметром зажимного устройства 35 мм.

7.3.6 Для измерения рефлектометром значения FSN при отражении от чистого и зачерненного фильтров используется прокладка под фильтры в виде стопки из 20 чистых фильтров или другого материала с аналогичной отражательной способностью, равной (92 ± 3) %. Подкладочный материал должен быть плоским.

Для измерения надо поместить головку рефлектометра на фильтре так, чтобы прикладываемое давление не вызывало сдвига поверхности фильтров из обзорной плоскости, а контакт головки и фильтра не изменял его отражательную способность. Это обеспечивается при давлениях на контактную поверхность фильтра в пределах 150 - 300 кПа.

7.3.7 Требования к оптико-электрическому рефлектометру

7.3.7.1 Оцениваемая поверхность фильтра должна освещаться рассеянным светом.

7.3.7.2 Относительная спектральная чувствительность головки рефлектометра должна быть подобна световой чувствительности человеческого глаза в условиях дневного зрения с ошибкой менее 3 %.

7.3.7.3 Направленность освещения должна быть перпендикулярной к поверхности образца.

7.3.7.4 Направленная чувствительность головки рефлектометра должна быть по возможности равномерной.

7.3.7.5 Влияние помех от отражения света в системе «освещение - улавливание» не должно превышать 0,05 FSN.

7.3.7.6 Пропорциональность (линейность) системы рефлектометра по отношению к освещенности не должна нарушаться более чем на 1 % измеряемой величины.

7.3.8 Номинальный объем всасывания VN и эффективная поверхность фильтра AF определяются проектными данными аппаратуры. Если они не регламентированы, то должны быть измерены. Измерению подлежит также объем утечек VL.

7.3.9 Эффективный объем всасывания VE, м3, рассчитывают по формуле

vE = vn - vd - vl.

(9)

Эффективную длину фильтрационной колонки LF, м, рассчитывают по формуле

(10)

Эффективную длину фильтрационной колонки LF определяют с точностью в пределах ±1 %.

8 Условия проведения измерений

8.1 Измерениям дымности должен подвергаться двигатель, прошедший обкатку и отрегулированный в соответствии с техническими условиями на двигатель конкретного типа.

Двигатель должен быть снабжен воздушным фильтром, глушителем шума ОГ и газовыпускной системой. Воздушный фильтр, глушитель шума ОГ и газовыпускная система должны соответствовать области применения двигателя.

8.2 При испытаниях двигатель должен работать с применением горюче-смазочных материалов, указанных в технических условиях на двигатель конкретного типа.

8.3 Атмосферные условия в испытательном боксе регламентируются только при использовании оптического метода измерения дымности для целей сертификации.

Эти условия в испытательном боксе регламентируются допустимыми отклонениями расчетного коэффициента F:

0,98 F1,02.

(11)

Для двигателей без наддува и с механическим наддувом коэффициент F рассчитывают по формуле

(12)

Для двигателей с газотурбинным наддувом коэффициент F рассчитывают по формуле

(13)

где Та - температура в испытательном боксе, К;

Рa - атмосферное давление в испытательном боксе, исключая парциальное давление водяных паров, кПа.

8.4 Физические условия в измерительном контуре

8.4.1 Дымомер оптического типа при испытаниях с отбором проб должен быть снабжен устройствами для измерения давления и температуры в дымовой камере.

Давление ОГ в дымовой камере не должно отличаться от давления окружающей среды более чем на ±750 Па (в случае создания разрежения во избежание конденсации ужесточаются требования к температуре).

Температура ОГ в дымовой камере Тт должна быть существенно выше местной температуры точки росы и в общем случае ограничивается диапазоном

343 К Тт ≤ 553 К.

(14)

Оптимальная (базовая) средняя температура в дымовой камере устанавливается (373 ± 5) К и по возможности должна поддерживаться на этом уровне автоматически.

Максимальная температура газов не должна превышать предельно допустимую максимальную температуру в измерительном контуре дымомера, указанную изготовителем.

8.4.2 В полнопоточных оптических дымомерах приведение показателей к указанным давлению и температуре должно осуществляться автоматически.

8.4.3 Температура пробы газов в дымовой колонке дымомера фильтрационного типа должна быть также существенно выше местной точки росы (Тт > 343 К).

9 Проведение измерений

9.1 Измерение оптическим методом

Измерение параметров дымности на каждом режиме двигателя следует проводить не менее трех раз с промежутками между двумя последующими измерениями не более 1 мин.

После каждого измерения следует проверять нулевое положение стрелки индикатора дымности и при необходимости приводить ее в нулевое положение.

Измерения считают действительными, если расхождения между двумя последними показаниями по шкале N не превышают 2 %, а результаты трех измерений не образуют монотонно убывающей или возрастающей последовательности. Если эти условия не выполняются, то серию измерений следует продолжать до получения трех последовательных показаний, удовлетворяющих поставленным условиям.

За результат измерений принимают среднее арифметическое трех показаний.

Давление и температура в дымомере во время испытаний должны соответствовать требованиям 8.4.

При невозможности проведения измерений при базовом (атмосферном) давлении (например, полнопоточным дымомером внутри выпускной системы двигателя и в удалении от ее выходного отверстия) натуральный показатель ослабления светового потока K приводят к атмосферному давлению Рa по формуле

(15)

где Рд - измеренное статистическое давление в дымовой камере;

K - измеренный [вычисленный по формуле (3)] натуральный показатель ослабления светового потока, м-1.

Если средняя температура ОГ в дымовой камере Тт отличается от базовой (373 К), то показатель K следует привести к указанной температуре по формуле

(16)

9.1.1 Расход отработавших газов Vexh, дм3/с, рассчитывают по формуле

Vexh = 775 (Gair + Gf),

(17)

где Gair - расход воздуха, кг/с;

Gf - расход топлива, кг/с.

Для приемо-сдаточных испытаний по ГОСТ 10448, при которых не измеряют расход воздуха, следует использовать значение Vexh, полученное при периодических испытаниях.

9.2 Измерения фильтрационным методом

9.2.1 Отбор пробы следует проводить в соответствии с инструкцией по эксплуатации, разработанной изготовителем дымомера. При этом необходимо удостовериться, что мертвый объем Vд заполнен чистым воздухом непосредственно перед отбором пробы.

Проба должна быть пропущена через фильтр, который затем удаляют из дымомера и заменяют новым, через который пропускают новую пробу для перепроверки результата и получения его осредненного значения.

Увлажненные или нестандартные фильтры применять не следует.

9.2.2 Поддержание дымомера в работоспособном состоянии и проверку его соответствия требованиям настоящего стандарта следует осуществлять согласно инструкции изготовителя.

В качестве вспомогательного средства для проверки точности работы аппаратуры изготовитель дымомера должен поставлять калибровочные экраны или их эквиваленты (для проверки линейности). Обязательной поставке подлежит по меньшей мере один калибровочный экран, соответствующий дымовому числу фильтра 3 FSN или 5 FSN с указанной точностью в пределах ±0,1 FSN.

9.3 Оформление результатов испытаний

9.3.1 Результаты измерений дымности отработавших газов, выполненные с целью сертификации двигателей, оформляют в виде отчета о результатах испытаний, содержание которого должно соответствовать [1].

9.3.2 Результаты измерений дымности отработавших газов, не связанных с сертификацией двигателя, регистрируются в краткой форме, принятой в соответствии с системой качества изготовителя.

9.3 - 9.3.2 (Введены дополнительно, Изм. № 1).

10 Требования безопасности

10.1 Оборудование испытательного стенда и организация рабочего места при испытаниях должны соответствовать требованиям безопасности по ГОСТ 12.2.003 и ГОСТ 12.3.002.

На каждом испытательном стенде, оборудованном дымомером, должна быть инструкция по технике безопасности.

10.2 Воздух рабочей зоны стендового помещения должен соответствовать ГОСТ 12.1.005. Не допускается сброс ОГ двигателя после прохождения ими частично-поточного оптического дымомера в воздух рабочей зоны стендового помещения. Для этого дымомер должен быть оборудован газоотводящей трубой (см. рисунок 1), выходной конец которой вынесен за пределы рабочей зоны стендового помещения.

10.3 Уровни шума на рабочих местах стендового помещения должны соответствовать требованиям ГОСТ 12.1.003.

10.4 Персонал, обслуживающий испытательный стенд, должен быть обеспечен средствами индивидуальной защиты органов слуха по ГОСТ Р 12.4.123.

(Измененная редакция, Изм. № 1).

ПРИЛОЖЕНИЕ А
(рекомендуемое)

Рекомендации по применению оптического метода измерений дымности ОГ в условиях эксплуатации двигательных установок

А.1 Установка газоотборного зонда как частично поточного, так и полнопоточного дымомеров в выпускных трубах тепловозных и крупных судовых двигателей практически невозможна.

Для труб большого диаметра с реальным доступом к ним только на «срезе» следует использовать дымомеры, газоотборный зонд которых погружают вглубь трубы не менее чем на 300 мм вдоль ее оси (при неразделенном выпуске) или вдоль условной оси отдельных секторов трубы (при разделенном впуске). На открытом конце газоотборного зонда рекомендуется устанавливать конфузор.

В тех крайних случаях, когда поток пробы через дымовую камеру дымомера затруднен (например, при испытаниях двигателей маневровых тепловозов с искрогасителями), допускается применение эжекционного отбора пробы ОГ через оптический дымомер с помощью постороннего источника сжатого воздуха при соблюдении условий 7.2.4 настоящего стандарта.

А.2 Дымомеры оптического типа могут использоваться для измерений как на установившихся, так и на переходных режимах работы двигателя. Пригодность конкретного дымомера к измерениям при частой смене режимов двигателя зависит от типа дымомера, комплектации информационно-регистрирующими приборами и обусловливается общим временем срабатывания дымомера t0.

Полное время срабатывания определяется тремя составляющими времени срабатывания - физического tp, электрического tе и температурного tт.

Время физического срабатывания дымомера обусловлено перемещением газа в измерительной камере. Для полнопоточных дымомеров tp может быть рассчитано как отношение объема измерительной зоны к расходу ОГ и указано производителем в виде расчетной формулы.

Дымомеры могут иметь один и более электрических выходов (на самописец, аналоговый вольтметр, цифровой вольтметр и др.). Выходной сигнал должен быть унифицирован диапазоном 0 - 10 В.

Время электрического срабатывания этих приборов определяют как разницу времени Δt, за которое показания достигают 10 и 90 % полной шкалы при прерывании или полном выключении источника света менее чем за 0,01 с.

Цифровой индикатор не пригоден для измерений дымности на переходных режимах двигателя (за исключением возможного показа фиксированных пиковых или средних за t значений дымности).

На переходных режимах выходной индикатор должен обеспечивать фиксацию показания максимального значения дымности по крайней мере в течение 5 с и позволять мгновенно аннулировать фиксированное (в пределах 1 % отклонений) значение. Система фиксации пиков должна быть отключаемой.

Комбинированное время физического tp и электрического tе срабатываний дымомера, рассчитываемое по формуле

(18)

определяет наиболее быстрый переходный режим двигателя, для которого данный дымомер пригоден для измерения изменений или пика дымности ОГ.

При измерениях с отбором проб конструкция газоотборного зонда и газоподводящей трубы оптического дымомера может существенно влиять на время срабатывания системы в целом, которое следует определять экспериментально.

Когда декларирована пригодность дымомера для испытаний двигателя на переходных режимах, необходимо, чтобы температурный датчик отслеживал переменную температуру газов. Время температурного срабатывания tт характеризуется константой термического времени измерительного прибора. Если ΔТk - разница максимального и минимального значений температуры в дымовой камере, то общее время срабатывания дымомера t0 рассчитывают по формуле

(19)

Так как наименьшим временем срабатывания обладают полнопоточные дымомеры, это обусловливает их наибольшую пригодность для измерений на переходных режимах. Пример размещения подобного дымомера на срезе выпускной трубы двигателя схематично (пунктиром) показан на рисунке 1 настоящего стандарта.

А.3 В условиях эксплуатации, а также в случаях каких-либо затруднений с измерениями расходов воздуха и (или) топлива в двигателе при измерениях дымности на режиме номинальной мощности рекомендуется использовать для определения предельно допустимого значения натурального показателя ослабления светового потока Kд (с погрешностью в пределах ±4 %) вместо данных таблицы 1 настоящего стандарта следующую формулу

(20)

где Рen - фактическая (номинальная) мощность двигателя, кВт.

(Измененная редакция, Изм. № 1).

ПРИЛОЖЕНИЕ Б
(справочное)

Библиография

[1]

ИСО 8178-6-1995

Двигатели внутреннего сгорания поршневые. Измерение выбросов вредных веществ. Часть 6. Отчет по результатам измерений и испытаний*

__________

* Оригинал международного стандарта находится во ВНИИКИ Госстандарта России.

ПРИЛОЖЕНИЕ Б. (Введено дополнительно, Изм. № 1).

Ключевые слова: двигатели судовые, тепловозные и промышленные; газы отработавшие; дымность; нормы; методы измерения