Стандарт устанавливает технические требования к тростям с тремя и более ножками и методы их испытаний на устойчивость, статическую и усталостную прочность. В стандарте также установлены требования безопасности, эргономики и марикровки. Стандарт распространяется на трости с тремя или более ножками, предназначенные для пользователя массой не менее 35 кг. Стандарт не распространяется на трости с тремя или более ножками с опрой для предплечья или плеча.
| Обозначение: | ГОСТ Р 52285-2004 |
| Название рус.: | Технические средства для облегчения ходьбы, манипулируемые одной рукой. Технические требования и методы испытаний. Часть 4. Трости с тремя или более ножками |
| Статус: | действует |
| Дата актуализации текста: | 05.05.2017 |
| Дата добавления в базу: | 01.09.2013 |
| Дата введения в действие: | 01.07.2005 |
| Утвержден: | 15.12.2004 Федеральное агентство по техническому регулированию и метрологии (114-ст) |
| Опубликован: | ИПК Издательство стандартов (2005 г. ) |
| Ссылки для скачивания: |
ФЕДЕРАЛЬНОЕ АГЕНТСТВО
ПО ТЕХНИЧЕСКОМУ РЕГУЛИРОВАНИЮ И МЕТРОЛОГИИ
|
|
НАЦИОНАЛЬНЫЙ |
ГОСТ Р |
ТЕХНИЧЕСКИЕ СРЕДСТВА
ДЛЯ ОБЛЕГЧЕНИЯ ХОДЬБЫ,
МАНИПУЛИРУЕМЫЕ ОДНОЙ РУКОЙ
Технические требования и методы испытаний
Часть 4
Трости с тремя или более ножками
ISO 11334-4:1998
Walking aids manipulated by
one arm -
Requirements and
test methods - Part 4: Walking sticks with three
or more legs (MOD)
Москва
ИПК Издательство стандартов
2005
Предисловие
Задачи, основные принципы и правила проведения работ по государственной стандартизации в Российской Федерации установлены ГОСТ Р 1.0-92 «Государственная система стандартизации Российской Федерации. Основные положения» и ГОСТ Р 1.2-92 «Государственная система стандартизации Российской Федерации. Порядок разработки государственных стандартов»
Сведения о стандарте
1 ПОДГОТОВЛЕН Федеральным государственным унитарным предприятием «Всероссийский научно-исследовательский институт стандартизации» (ФГУП «ВНИИстандарт»)
2 ВНЕСЕН Техническим комитетом по стандартизации ТК 381 «Технические средства для инвалидов»
3 УТВЕРЖДЕН Приказом Федерального агентства по техническому регулированию и метрологии от 15 декабря 2004 г. № 114-ст
4 Настоящий стандарт является модифицированным по отношению к международному стандарту ИСО 11334-4:1998 «Технические средства для облегчения ходьбы, манипулируемые одной рукой. Технические требования и методы испытаний. Часть 4. Трости с тремя или более ножками» (ISO 11334-4:1998 «Walking aids manipulated by one arm - Requirements and test methods - Part 4: Walking sticks with three or more legs») путем уменьшения числа рисунков (до шести): рисунки 1, 2, 3 объединены с рисунками 5, 6, 7, соответственно, примененного международного стандарта
5 Настоящий стандарт разработан по заказу Минтруда России в рамках федеральной целевой программы «Социальная поддержка инвалидов на 2000 - 2005 годы», утвержденной Постановлением Правительства Российской Федерации от 14 января 2000 г. № 36
6 ВВЕДЕН ВПЕРВЫЕ
Информация об изменениях к настоящему стандарту публикуется в указателе «Национальные стандарты», а текст изменений - в информационных указателях «Национальные стандарты». В случае пересмотра или отмены настоящего стандарта соответствующая информация будет опубликована в информационном указателе «Национальные стандарты»
СОДЕРЖАНИЕ
Введение
Международная организация по стандартизации (ИСО (ISO)) является всемирной федерацией национальных органов по стандартизации (членов ИСО). Разработку международных стандартов обычно проводят технические комитеты ИСО. Каждый член организации, заинтересованный темой, для работы над которой был создан соответствующий технический комитет, имеет право участвовать в работе этого комитета. В работе принимают участие международные правительственные и неправительственные организации, поддерживающие связь с ИСО. ИСО тесно сотрудничает с Международной электротехнической комиссией (МЭК (IEC)) по всем вопросам стандартизации в области электротехники.
Международные стандарты разрабатывают в соответствии с правилами Руководства ИСО/МЭК. Часть 3.
Проекты международных стандартов, одобренные техническим комитетом, направляют на согласование членам этого комитета. Для публикации международных стандартов требуется одобрение не менее 75 % проголосовавших членов комитета.
Международный стандарт ИСО 11334-4 подготовлен Техническим комитетом ИСО/ТК 173 «Технические системы и средства помощи для инвалидов или людей с ограничениями жизнедеятельности».
ИСО 11334 состоит из следующих частей под общим заголовком «Технические средства для облегчения ходьбы, манипулируемые одной рукой. Технические требования и методы испытаний»:
- Часть 1: Костыли локтевые.
- Часть 4: Трости с тремя или более ножками.
Приложение А настоящего стандарта следует использовать только в качестве справочного.
НАЦИОНАЛЬНЫЙ СТАНДАРТ РОССИЙСКОЙ ФЕДЕРАЦИИ
|
ТЕХНИЧЕСКИЕ СРЕДСТВА ДЛЯ ОБЛЕГЧЕНИЯ ХОДЬБЫ, МАНИПУЛИРУЕМЫЕ ОДНОЙ РУКОЙ Технические требования и методы испытаний Часть 4 Трости с тремя или более ножками Walking aids manipulated by one arm. Technical requirements and test methods. Part 4. Walking sticks with three or more legs |
Дата введения - 2005-07-01
Настоящий стандарт устанавливает технические требования к тростям с тремя и более ножками и методы их испытаний на устойчивость, статическую и усталостную прочность. В настоящем стандарте также установлены требования безопасности, эргономики и маркировки.
Настоящий стандарт распространяется на трости с тремя или более ножками, предназначенные для пользователя массой не менее 35 кг.
Настоящий стандарт не распространяется на трости с тремя или более ножками с опорой для предплечья или плеча.
Примечание - Рекомендации по разработке, производству и испытаниям тростей с тремя и более ножками в дополнение к требованиям настоящего стандарта даны в приложении А.
В настоящем стандарте использованы нормативные ссылки на следующие стандарты:
ГОСТ Р ИСО 10993-1-99 Изделия медицинские. Оценка биологического действия медицинских изделий. Часть 1. Оценка и исследования
ГОСТ Р 51079-97 (ИСО 9999-92) Технические средства реабилитации людей с ограничениями жизнедеятельности. Классификация
Примечание - При пользовании настоящим стандартом целесообразно проверить действие ссылочных стандартов по указателю «Национальные стандарты», составленному по состоянию на 1 января текущего года, и по соответствующим информационным указателям, опубликованным в текущем году. Если ссылочный документ заменен (изменен), то при пользовании настоящим стандартом следует руководствоваться замененным (измененным) документом. Если ссылочный документ отменен без замены, то положение, в котором дана ссылка на него, применяют в части, не затрагивающей эту ссылку.
В настоящем стандарте применены следующие термины с соответствующими определениями (рисунки 1 - 3):
трость с тремя или более ножками (walking stick with three or more legs): Трость с тремя или более ножками и ручкой, но не имеющая опоры для предплечья или плеча.
Примечание 1 - Классификационная группировка 12 03 16 по ГОСТ Р 51079.
Примечание 2 - В настоящем стандарте термин «трость с тремя или более ножками» заменен на термин «трость».
рукоятка (handgrip): Часть трости, на которую опираются рукой при пользовании.
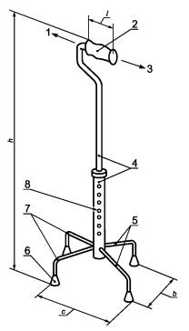
1 - направление движения вперед; 2 - рукоятка; 3 - направление движения назад; 4 - телескопические части; 5 - боковая ножка; 6 - задняя ножка; 7 - наконечник; 8 - передняя ножка; 9 - устройство регулировки и фиксации высоты; l - длина рукоятки; b - габаритная ширина трости; с - габаритная длина трости по горизонтали; h - высота трости
Рисунок 1 - Трость с тремя ножками

1 - направление движения вперед; 2 - рукоятка; 3 - направление движения назад; 4 - телескопические части; 5 - задние ножки; 6 - наконечник; 7 - передние ножки; 8 - устройство регулировки и фиксации высоты; l - длина рукоятки; b - габаритная ширина трости; с - габаритная длина трости по горизонтали; h - высота трости
Рисунок 2 - Трость с четырьмя ножками
длина рукоятки (handgrip length): Длина продольной части рукоятки, на которую опирается рука (рисунок 4).
Примечание - В рукоятках, не имеющих явного переднего или заднего конца, за длину рукоятки принимают длину той ее части, которая может служить опорой для пользователя.
ширина рукоятки (handgrip width): Поперечный размер рукоятки по горизонтали в ее самой толстой опорной части (рисунок 4).
ручка (handle): Часть трости, к которой присоединена рукоятка.
наконечник (tip): Часть трости, которая находится в контакте с землей.
высота трости (walking-stick height): Расстояние по вертикали от самой высокой точки на рукоятке до поверхности земли (рисунки 1 - 3).
Примечание - Для тростей установлено шесть типоразмеров, указанных в таблице А.1.
габаритная длина трости по горизонтали (walking-stick depth): Максимальное расстояние между наиболее выступающими элементами трости, измеренное по горизонтали в направлении движения (рисунки 1 - 3).
габаритная ширина трости (walking-stick width): Максимальное расстояние между наиболее выступающими элементами трости, измеренное по горизонтали перпендикулярно к направлению движения (рисунки 1 - 3).
телескопические части (telescoping members): Части трости, выдвигаемые одна из другой для регулировки по высоте.
устройство фиксации (locking device): Элемент трости, обеспечивающий фиксацию механизма регулировки высоты и/или других механизмов регулировки.
1 - направление движения вперед; 2 - рукоятка; 3 - направление движения назад; 4 - телескопические части; 5 - боковая ножка; 6 - задние ножки; 7 - наконечник; 8 - передние ножки; 9 - устройство регулировки и фиксации высоты; l - длина рукоятки; b - габаритная ширина трости; с - габаритная длина трости по горизонтали; h - высота трости
Рисунок 3 - Трость с пятью ножками
l - длина рукоятки; d - ширина рукоятки
Рисунок 4 - Детали ручки и рукоятки
масса пользователя (user weight): Масса тела человека, использующего трость как техническое средство для облегчения ходьбы.
Примечание - Стандартная масса пользователя составляет: взрослого - 100 кг, ребенка - 35 кг.
4.1 Рукоятка
Ширина рукоятки должна быть не менее 25 мм и не более 50 мм.
Примечание - Это требование неприменимо к анатомической рукоятке.
Рукоятка должна быть заменяемой или легкоочищаемой.
4.2 Секция ножек и наконечники
На ножке должен быть наконечник такой конструкции, чтобы не происходило его сквозного продавливания при условиях по 5.6 и 5.7.
Та часть наконечника, которая соприкасается с опорной поверхностью, должна иметь диаметр не менее 35 мм.
4.3 Устройства регулировки
Устройства регулировки высоты не должны саморазблокироваться при использовании трости.
Механизм регулировки высоты должен иметь отчетливые отметки с указанием максимально допустимого удлинения, установленного изготовителем.
Телескопические элементы должны иметь свободный ход.
Вертикальный просвет в центре основания трости, когда трость отрегулирована на минимальную высоту, должен быть не менее 120 мм.
4.4 Материалы
Несущие элементы конструкции, отлитые из пластичных материалов, должны быть изготовлены из первичных материалов. Если использованы материалы вторичной переработки, то элементы из этих материалов должны сохранять эквивалентную прочность в течение всего срока службы трости.
Материалы, контактирующие с телом человека, должны быть оценены на биосовместимость по ГОСТ Р ИСО 10993-1.
4.5 Чистовая обработка
Поверхности всех деталей тростей не должны иметь заусенцев, задиров, острых кромок или выступов, могущих повредить одежду или причинить дискомфорт пользователю.
Материалы, применяемые для изготовления тростей, не должны изменять цвет кожи пользователя, одежды либо поверхности пола в процессе нормальной эксплуатации трости.
4.6 Устойчивость
При проведении испытаний на внутреннюю устойчивость при отклонении трости в направлении к пользователю (5.3) угол наклона плоскости в момент начала опрокидывания трости должен быть не менее 2°.
При проведении испытания на наружную устойчивость при отклонении трости в направлении от пользователя (5.4) угол наклона плоскости в момент начала опрокидывания трости с тремя ножками должен быть не менее 5°, тростей с четырьмя или более ножками - не менее 7,5°.
4.7 Механическая прочность и долговечность
При проведении испытания на прочность соединений (5.5) верхние и нижние части трости не должны разъединяться.
При проведении испытания на статическую нагрузку (5.6) трость не должна иметь повреждений, которые могут представлять собой опасность при пользовании тростью. Никакая часть трости не должна ломаться или иметь трещины.
При проведении испытания на усталость (5.7) трость не должна иметь повреждений, которые могут представлять собой опасность при пользовании тростью. Никакая часть трости не должна ломаться или иметь трещины.
5.1 Условия испытаний
Все испытания, если не установлено иное, следует проводить при температуре окружающего воздуха 21 °С ± 5 °С.
Все испытания, если не установлено иное, следует проводить при максимальной высоте трости.
5.2 Отбор образцов
Испытания проводят на одной трости. Последовательность испытаний: на устойчивость, на прочность соединений, на статическую и усталостную прочность.
Непосредственно перед проведением испытаний трость подвергают внешнему осмотру. Все дефекты (трещины, расслоения покрытий и т.п.) отмечают для того, чтобы впоследствии они не были зарегистрированы как возникшие в результате проведенных испытаний.
5.3 Испытание на внутреннюю устойчивость
5.3.1 Направление действия нагрузки
Нагрузка должна быть приложена к трости вертикально. Линия приложения нагрузки должна быть всегда вертикальной и проходить через середину рукоятки.
5.3.2 Порядок проведения испытания
На испытательной плоскости, наклон которой можно изменять, располагают трость так, чтобы две ножки, ближайшие к пользователю при нормальном пользовании тростью, находились на линии, параллельной оси поворота плоскости.
Регулируют высоту трости по 5.1. Прилагают статическую силу, равную 250 Н ± 2 %. Наклоняют испытательную плоскость в направлении, показанном на рисунке 5, и записывают значение максимального угла ее наклона в момент начала опрокидывания трости, округлив его в сторону уменьшения до 0,1°.
5.4 Испытание на внешнюю устойчивость
5.4.1 Направление действия нагрузки
Нагрузка должна быть приложена к трости вертикально. Линия нагрузки должна быть всегда вертикальной и проходить через середину рукоятки.
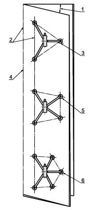
1 - угол наклона плоскости; 2 - параллельные линии; 3 - трость с тремя ножками; 4 - ось поворота испытательной плоскости; 5 - трость с четырьмя ножками; 6 - трость с пятью ножками
Рисунок 5 - Испытание на внутреннюю устойчивость
1 - трость с тремя ножками; 2 - трость с четырьмя ножками; 3 - трость с пятью ножками; 4 - ось поворота испытательной плоскости
Рисунок 6 - Испытание на внешнюю устойчивость
5.4.2 Порядок проведения испытания
На испытательной плоскости, наклон которой можно изменять, располагают трость так, чтобы линия, на которой находятся две ножки, соответствующие рассматриваемому направлению отклонения трости, была параллельна оси поворота плоскости.
Регулируют высоту трости по 5.1. Прилагают статическую силу, равную 250 Н ± 2 %. Наклоняют испытательную плоскость и записывают значение максимального угла ее наклона в момент начала опрокидывания трости, округлив его в сторону уменьшения до 0,1°.
Повторяют испытание для всех других положений трости, показанных на рисунке 6.
5.5 Испытание на прочность соединений трости
5.5.1 Общее положение
Данное испытание применимо для тростей, соединенных из двух или более частей, и только в тех случаях, когда соединение не является частью механизма регулировки высоты.
5.5.2 Направление действия нагрузки
Прилагают силу растяжения к верхней и нижней частям трости, не допуская при этом изгибающих моментов в местах соединения верхней и нижней частей.
5.5.3 Сила растяжения
Значение силы растяжения составляет 500 Н ± 2 %.
Нагрузку постепенно наращивают до получения максимального значения силы растяжения в течение минимум 5 с и выдерживают 10 с.
5.6 Испытание на статическую прочность
5.6.1 Направление действия нагрузки
Нагрузку прилагают вертикально к середине рукоятки. Регулируют высоту трости по 5.1.
5.6.2 Испытательная плоскость
Устанавливают трость (с наконечниками) на неподвижную плоскость, имеющую наклон 3,0° ± 0,2° в направлении от пользователя, под прямым углом к направлению движения.
5.6.3 Нагрузка
Нагрузка должна составлять 1000 Н ± 2 %. Если установленная для данной трости максимально допустимая масса пользователя отлична от 100 кг, следует прилагать нагрузку в расчете 10,0 Н на каждый килограмм максимальной массы пользователя ±2 %. Нагрузка должна быть не менее 350 Н ± 2 %.
5.6.4 Порядок проведения испытания
Нагрузку постепенно наращивают до получения ее максимального значения в течение минимум 5 с и выдерживают 10 с.
Проверяют трость на наличие трещин или поломок. Отмечают видимые трещины, поломки и все другие нарушения надежности трости.
5.7 Испытание на усталость
5.7.1 Направление действия нагрузки
Направление действия нагрузки - по 5.6.1.
5.7.2 Испытательная плоскость
Испытательная плоскость должна соответствовать 5.6.2.
5.7.3 Испытательная сила
Прилагают циклическую нагрузку, равную 450 Н ± 2 %. Если установленная для данной трости максимально допустимая масса пользователя отлична от 100 кг, следует прилагать нагрузку в расчете 4,5 Н на каждый килограмм максимальной массы пользователя ±2 %. Нагрузка должна быть не менее 157,5 Н ± 2 %.
5.7.4 Частота испытательной нагрузки
Частота циклов приложения нагрузки не должна превышать 1 Гц.
5.7.5 Циклы нагружения
Число циклов нагружения должно быть равным 200000.
Каждая трость должна иметь четкую и несмываемую маркировку со следующими данными:
a) максимальная масса пользователя;
b) наименование изготовителя или другие данные для идентификации;
c) идентификационное наименование и/или номер модели;
d) месяц и год выпуска;
e) максимально допустимое удлинение при регулировке высоты (маркировка на одном из элементов регулировки).
Отчет об испытаниях должен содержать следующую информацию:
a) наименование и адрес изготовителя;
b) наименование и адрес поставщика, направившего изделие на испытания;
c) наименование и адрес учреждения, проводившего испытания;
d) классификационная группировка по ГОСТ Р 51079 и тип;
e) максимальная масса пользователя;
f) тип изделия и идентификационное наименование и/или номер модели, заданный изготовителем;
g) тип изделия и идентификационное наименование и/или номер модели, заданный поставщиком;
h) фотография трости;
i) месяц и год проведения испытания;
j) оценка соответствия требованиям настоящего стандарта.
А.1 Область применения
Данное приложение содержит дополнительную информацию, которую учитывают при разработке, производстве и испытаниях трости с тремя или более ножками.
А.2 Рекомендации
А.2.1 Механическая долговечность
После проведения испытаний по 5.5 или 5.6 не должно быть обнаружено какой-либо остаточной деформации, которая может ухудшить эксплуатационные свойства трости или механизма регулировки.
А.2.2 Ручка и рукоятка
Ручка может быть регулируемой, но необходимо обеспечить ее надежную фиксацию в рабочем положении.
Форма и/или материал рукоятки должны обеспечить отсутствие скольжения руки при захвате.
Длина рукоятки не должна быть меньше длины, указанной в таблице А.1.
Примечание - Эти рекомендации не относятся к изогнутой или анатомической рукоятке.
Рукоятка должна быть изготовлена из неадсорбирующего материала.
Таблица А.1
В миллиметрах
|
Типоразмер трости |
Максимальный рост пользователя |
Высота трости |
Длина рукоятки |
|
|
минимальная |
максимальная |
|||
|
1 |
900 |
350 |
550 |
65 |
|
2 |
1100 |
450 |
650 |
70 |
|
3 |
1300 |
550 |
750 |
80 |
|
4 |
1550 |
650 |
850 |
90 |
|
5 |
1800 |
750 |
950 |
100 |
|
6 |
2050 |
850 |
1100 |
110 |
|
Примечание - Трость может быть сразу нескольких типоразмеров. |
||||
А.2.3 Секция ножек и наконечники
Наконечник должен быть упругим, прочным и иметь высокий коэффициент трения с поверхностью.
Наконечник должен быть легкозаменяемым, но он должен быть надежно закрепляем при установке.
Рабочая поверхность наконечника не должна создавать эффекта «присоски», соприкасаясь с поверхностью пола.
А.2.4 Устройства регулировки и фиксации
Регулировка и складывание должны быть проведены без применения какого-либо инструмента.
А.2.5 Материалы и чистовая обработка
Трость не должна дребезжать при использовании.
А.3 Маркировка
Каждая трость должна, в дополнение к требованиям настоящего стандарта, иметь этикетку со следующими данными:
a) типоразмер трости по таблице А.1;
b) наименование поставщика;
c) идентификационное наименование и/или номер модели, заданный поставщиком.
А.4 Отчет об испытаниях
Отчет об испытаниях должен, в дополнение к требованиям настоящего стандарта, содержать следующую информацию:
a) акт о внешнем осмотре по 5.2;
b) результаты испытания по 5.3;
c) результаты испытания по 5.4;
d) результаты испытания по 5.5;
e) результаты испытания по 5.6;
f) результаты испытания по 5.7;
g) максимальная высота трости;
h) минимальная высота трости;
i) максимальная габаритная длина трости по горизонтали;
j) максимальная габаритная ширина трости;
k) ширина рукоятки;
l) длина рукоятки;
m) масса трости;
n) указание о необходимости инструмента для регулировки;
o) любая другая значимая информация.
Ключевые слова: трости с тремя и более ножками, технические требования, методы испытаний