Меню
Навигация
Novatika
Бесплатное обучение
Первая линия

Стекло с солнцезащитным или декоративным твердым покрытием. Технические условия

Стандарт распространяется на стекло с солнцезащитным или декоративным твердым покрытием, стойкое к внешним воздействиям. Стекло с солнцезащитным твердым покрытием предназначено для остекления светопрозрачных конструкций в жилых, общественных и производственных зданиях и сооружениях и защиты внутреннего помещения от избыточного солнечного излучения. Стекло с декоративным твердым покрытием предназначено для остекления светопрозрачных конструкций в жилых, общественных и производственных зданиях и сооружениях и придания выразительного архитектурного облика фасадам зданий и внутренним интерьерам. Стандарт допускается применять при проведении сертификационных испытаний и для оценки соответствия.

Обозначение: ГОСТ Р 54179-2010
Название рус.: Стекло с солнцезащитным или декоративным твердым покрытием. Технические условия
Статус: отменен
Дата актуализации текста: 05.05.2017
Дата добавления в базу: 01.09.2013
Дата введения в действие: 01.04.2016
Утвержден: 21.12.2010 Федеральное агентство по техническому регулированию и метрологии (951-ст)
Опубликован: Стандартинформ (2011 г. )
Ссылки для скачивания:

ФЕДЕРАЛЬНОЕ АГЕНТСТВО
ПО ТЕХНИЧЕСКОМУ РЕГУЛИРОВАНИЮ И МЕТРОЛОГИИ

НАЦИОНАЛЬНЫЙ
СТАНДАРТ
РОССИЙСКОЙ
ФЕДЕРАЦИИ

ГОСТ Р
54179-
2010

СТЕКЛО С СОЛНЦЕЗАЩИТНЫМ ИЛИ
ДЕКОРАТИВНЫМ ТВЕРДЫМ ПОКРЫТИЕМ

Технические условия

EN 1096-1:1998
Glass in building - Coated glass - Part 1: Definitions and classification
(NEQ)

EN 1096-2:2001
Glass in building - Coated glass - Part 2: Requirements and test methods for class A, B
and S coatings
(NEQ)

EN 1096-4:2004
Glass in building - Coated glass - Part 4: Evaluation of conformity/Product standard
(NEQ)

Москва
Стандартинформ
2011

Предисловие

Цели и принципы стандартизации в Российской Федерации установлены Федеральным законом от 27 декабря 2002 г. № 184-ФЗ «О техническом регулировании», а правила применения национальных стандартов Российской Федерации - ГОСТ Р 1.0-2004 «Стандартизация в Российской Федерации. Основные положения»

Сведения о стандарте

1. РАЗРАБОТАН Открытым акционерным обществом «Институт стекла»

2. ВНЕСЕН Техническим комитетом по стандартизации ТК 041 «Стекло»

3. УТВЕРЖДЕН И ВВЕДЕН В ДЕЙСТВИЕ Приказом Федерального агентства по техническому регулированию и метрологии от 21 декабря 2010 г. № 951-ст

4. В настоящем стандарте учтены основные нормативные положения следующих европейских региональных стандартов:

- ЕН 1096-1:1998 «Стекло в строительстве. Стекло с покрытием. Часть 1. Определения и классификация» (EN 1096-1:1998 «Glass in building - Coated glass - Part 1: Definition and classification», NEQ);

- EH 1096-2:2001 «Стекло в строительстве. Стекло с покрытием. Часть 2. Требования и методы испытаний для стекол с покрытиями классов А, В и S» (EN 1096-2:2001 «Glass in building - Coated glass - Part 2: Requirements and test methods for class А, В and S coatings», NEQ);

- EH 1096-4:2004 «Стекло в строительстве. Стекло с покрытием. Часть 4. Оценка соответствия» (EN 1096-4:2004 «Glass in building - Coated glass - Part 4: Evaluation of conformity/Product standard», NEQ)

5. ВВЕДЕН ВПЕРВЫЕ

Информация об изменениях к настоящему стандарту публикуется в ежегодно издаваемом информационном указателе «Национальные стандарты», а текст изменений и поправок - в ежемесячно издаваемых информационных указателях «Национальные стандарты». В случае пересмотра (замены) или отмены настоящего стандарта соответствующее уведомление будет опубликовано в ежемесячно издаваемом информационном указателе «Национальные стандарты». Соответствующая информация, уведомления и тексты размещаются также в информационной системе общего пользования - на официальном сайте Федерального агентства по техническому регулированию и метрологии в сети Интернет

СОДЕРЖАНИЕ

1. Область применения. 3

2. Нормативные ссылки. 3

3. Термины и определения. 4

4. Основные параметры и размеры.. 5

5. Технические требования. 6

6. Требования безопасности. 8

7. Требования охраны окружающей среды.. 9

8. Правила приемки. 9

9. Методы контроля. 11

9.1. Определение длины и ширины.. 11

9.2. Определение разности длин диагоналей. 11

9.3. Определение отклонения от плоскостности. 11

9.4. Определение отклонения от прямолинейности кромок. 12

9.5. Определение количества и размеров пороков. 12

9.6. Определение повреждения углов. 13

9.7. Определение толщины стекла. 13

9.8. Определение спектральных характеристик. 14

9.9. Определение солнечного фактора. 14

9.10. Определение оптических искажений. 14

9.11. Определение отклонения цветовых координат. 14

9.12. Определение влагостойкости. 14

9.13. Определение кислотостойкости. 15

9.14. Определение стойкости к воздействию нейтрального соляного тумана. 16

9.15. Определение стойкости к истиранию.. 17

9.16. Определение величины остаточных внутренних напряжений. 18

10. Транспортирование и хранение. 18

11. Указания по эксплуатации. 19

12. Гарантии изготовителя. 20

НАЦИОНАЛЬНЫЙ СТАНДАРТ РОССИЙСКОЙ ФЕДЕРАЦИИ

СТЕКЛО С СОЛНЦЕЗАЩИТНЫМ ИЛИ ДЕКОРАТИВНЫМ ТВЕРДЫМ ПОКРЫТИЕМ

Технические условия

Hard coating solar protection or decorative glass. Specifications

Дата введения - 2012-07-01

1. Область применения

Настоящий стандарт распространяется на стекло с солнцезащитным или декоративным твердым покрытием (далее - стекло), стойкое к внешним воздействиям. Стекло с солнцезащитным твердым покрытием предназначено для остекления светопрозрачных конструкций в жилых, общественных и производственных зданиях и сооружениях и защиты внутреннего помещения от избыточного солнечного излучения.

Стекло с декоративным твердым покрытием предназначено для остекления светопрозрачных конструкций в жилых, общественных и производственных зданиях и сооружениях и придания выразительного архитектурного облика фасадам зданий и внутренним интерьерам.

Настоящий стандарт допускается применять при проведении сертификационных испытаний и для оценки соответствия.

2. Нормативные ссылки

В настоящем стандарте использованы нормативные ссылки на следующие стандарты:

ГОСТ Р ИСО 2859-1-2007 Статистические методы. Процедуры выборочного контроля по альтернативному признаку. Часть 1. Планы выборочного контроля последовательных партий на основе приемлемого уровня качества

ГОСТ Р 52901-2007 Картон гофрированный для упаковки продукции. Технические условия

ГОСТ Р 54169-2010 Стекло листовое окрашенное в массе. Общие технические условия

ГОСТ Р 54170-2010 Стекло листовое бесцветное. Технические условия

ГОСТ Р 54164-2010 (ИСО 9050:2003) Стекло и изделия из него. Методы определения оптических характеристик. Определение световых и солнечных характеристик

ГОСТ 12.0.004-90 Система стандартов безопасности труда. Организация обучения безопасности труда. Общие положения

ГОСТ 12.1.004-91 Система стандартов безопасности труда. Пожарная безопасность. Общие положения

ГОСТ 12.3.009-76 Система стандартов безопасности труда. Работы погрузочно-разгрузочные. Общие требования безопасности

ГОСТ 12.4.011-89 Система стандартов безопасности труда. Средства защиты работающих. Общие требования и классификация

ГОСТ 427-75 Линейки измерительные металлические. Технические условия

ГОСТ 3118-77 Реактивы. Кислота соляная. Технические условия

ГОСТ 3749-77 Угольники поверочные 90°. Технические условия

ГОСТ 4233-77 Реактивы. Натрий хлористый. Технические условия

ГОСТ 4295-80 Ящики дощатые для листового стекла. Технические условия

ГОСТ 6507-90 Микрометры. Технические условия

ГОСТ 6709-72 Вода дистиллированная. Технические условия

ГОСТ 7502-98 Рулетки измерительные металлические. Технические условия

ГОСТ 9416-83 Уровни строительные. Технические условия

ГОСТ 14192-96 Маркировка грузов

ГОСТ 14791-79 Мастика герметизирующая нетвердеющая строительная. Технические условия

ГОСТ 17299-78 Спирт этиловый технический. Технические условия

ГОСТ 25706-83 Лупы. Типы, основные параметры. Общие технические требования

Примечание - При пользовании настоящим стандартом целесообразно проверить действие ссылочных стандартов в информационной системе общего пользования - на официальном сайте Федерального агентства по техническому регулированию и метрологии в сети Интернет или по ежегодно издаваемому информационному указателю «Национальные стандарты», который опубликован по состоянию на 1 января текущего года, и по соответствующим ежемесячно издаваемым информационным указателям, опубликованным в текущем году. Если ссылочный стандарт заменен (изменен), то при пользовании настоящим стандартом следует руководствоваться заменяющим (измененным) стандартом. Если ссылочный стандарт отменен без замены, то положение, в котором дана ссылка на него, применяется в части, не затрагивающей эту ссылку.

3. Термины и определения

В настоящем стандарте применены следующие термины с соответствующими определениями:

3.1 солнцезащитное покрытие: Покрытие, при нанесении которого на стекло улучшается защита помещения от проникновения избыточного солнечного излучения.

3.2 декоративное покрытие: Покрытие, при нанесении которого на стекло, приобретается художественная выразительность стекла.

3.3 твердое покрытие: Покрытие, стойкое к внешним воздействиям, которое наносится на стекло в процессе его производства.

3.4 оптические искажения: Дефекты листового стекла, характеризующиеся минимальным углом между плоскостью стекла и плоскостью экрана, при котором не наблюдается искажение формы полос экрана.

3.5 краевая зона: Часть поверхности стекла, составляющая 5 % длины и 5 % ширины листа стекла, но не более 50 мм.

3.6 рабочая зона: Часть поверхности стекла, исключая краевую зону.

3.7 царапина: Механическое повреждение поверхности стекла в виде черты. В зависимости от ширины различают царапины грубые и волосные.

3.8 волосные царапины: Механическое повреждение стекла в виде черты, ширина которой не более 0,1 мм.

3.9 грубые царапины: Механическое повреждение стекла в виде черты, ширина которой более 0,1 мм.

3.10 пузырь: Полость в стекле различных размеров и формы.

3.11 трещина: Нарушение целостности стекла, проходящее через всю толщину.

3.12 посечка: Нарушение целостности стекла, не проходящее через всю толщину стекла и имеющее ограниченную длину.

3.13 разрушающие пороки: Трещины, посечки, а также другие виды пороков, сопровождающиеся трещинами и (или) посечками.

3.14 инородные разрушающие включения: Включения в стекле, сопровождающиеся трещинами и (или) посечками.

3.15 цветные пятна, разводы: Участки поверхности стекла, отличающиеся по цвету от остальной части поверхности стекла.

3.16 солнечный фактор (общий коэффициент пропускания солнечной энергии): Отношение общей солнечной энергии, поступающей в помещение через светопрозрачную конструкцию, к энергии падающего солнечного излучения. Общая солнечная энергия, поступающая в помещение через светопрозрачную конструкцию, представляет собой сумму энергии, непосредственно проходящей через светопрозрачную конструкцию, и той части поглощенной светопрозрачной конструкцией энергии, которая передается внутрь помещения.

3.17 точечный просвет (прокол): Участок поверхности стекла, характеризующийся частичным или полным отсутствием покрытия.

4. Основные параметры и размеры

4.1. Стекло должно изготавливаться в соответствии с требованиями настоящего стандарта по технологической документации, утвержденной в установленном порядке.

4.2. Номинальная толщина, предельные отклонения по толщине и разнотолщинность листа стекла должны соответствовать требованиям, указанным в таблице 1.

Таблица 1

В миллиметрах

Номинальная толщина

Предельное отклонение

Разнотолщинность

3,0

± 0,2

0,1

4,0

± 0,2

0,1

5,0

6,0

8,0

± 0,3

0,2

10,0

12,0

15,0

± 0,5

0,3

19,0

± 1,0

0,5

25,0

4.3. Максимальный номинальный размер стекла (ширина и длина) 3210´6000 мм.

Номинальные размеры стекла устанавливают в договоре (заказе) между изготовителем и потребителем.

Форма, размеры и допуски размеров стекла сложной конфигурации должны соответствовать рабочим чертежам или шаблонам, согласованным изготовителем и потребителем.

4.4. Предельные отклонения размеров стекла прямоугольной формы по длине (ширине) должны соответствовать требованиям, указанным в таблице 2.

Таблица 2

В миллиметрах

Номинальная толщина

Предельные отклонения размеров при длине кромок

до 1500 включ.

св. 1500 до 3000 включ.

св. 3000

3,0

± 1

± 2

± 2

4,0

5,0

± 2

6,0

8,0

± 2

± 3

10,0

12,0

15,0

± 3

19,0

± 3

± 4

25,0

Примечание - Предельные отклонения размеров по длине и ширине допускается устанавливать в договоре (заказе) между изготовителем и потребителем.

4.5. Отклонение от прямолинейности кромок листа стекла не должно превышать 1 мм на 1 м длины кромки.

4.6. Отклонение от плоскостности листа стекла не должно быть более 0,1 % длины стороны, параллельно которой производится измерение.

4.7. Разность длин диагоналей для листа стекла прямоугольной формы не должна превышать значений, указанных в таблице 3.

Таблица 3

В миллиметрах

Длина диагоналей

Разность длин диагоналей

До 1500 включ.

2

Св. 1500 до 3000 включ.

3

Св. 3000

4

4.8. Условное обозначение стекла с солнцезащитным твердым покрытием должно состоять из: буквенного обозначения стекла Ст, длины, ширины, толщины и обозначения настоящего стандарта.

Пример условного обозначения стекла с солнцезащитным твердым покрытием длиной 2900 мм, шириной 1850 мм, толщиной 6 мм:

Ст-2900´1850´6 ГОСТ Р 54179-2010.

4.9. Условное обозначение стекла с декоративным твердым покрытием должно состоять: из буквенного обозначения стекла Дт, длины, ширины, толщины и обозначения настоящего стандарта.

Пример условного обозначения стекла с декоративным твердым покрытием длиной 2900 мм, шириной 1850 мм, толщиной 6 мм:

Дт-2900´1850´6 ГОСТ Р 54179-2010.

5. Технические требования

5.1. Характеристики

5.1.1. По показателям внешнего вида (порокам) стекло должно соответствовать требованиям, указанным в таблице 4.

При подсчете количества пороков берется общая площадь листов стекла, вошедших в выборку при контроле.

Таблица 4

Наименование порока

Норма ограничения

рабочая зона

краевая зона

Трещины, посечки

Не допускаются

Пузыри, мм:

до 0,5 включ.

Допускаются, если не мешают обзору

Не нормируются

св. 0,5 до 1,0        »

Не допускаются более 3 шт. на 5 м2

»   1,0 »    2,0      »

Не допускаются более 3 шт. на 10 м2

Допускаются не более 1 шт./м2

»   2,0 »    3,0      »

Не допускаются более 2 шт. на 10 м2

Допускаются не более 1 шт./м2

»   3,0

Не допускаются

Царапины грубые

Не допускаются

Царапины волосные, мм:

до 75 включ.

Не допускаются общей длиной более 75 мм на 1 м2

Допускаются, если не мешают обзору

св. 75

Не допускаются

Допускаются, если расстояние между ними более 50 мм

Инородные разрушающие включения

Не допускаются

Цветные пятна, разводы

Не допускаются

Допускаются, если не мешают обзору

Точечные просветы размером, мм:

до 0,5 включ.

Допускаются, если не мешают обзору

св. 0,5 » 2,0        »

1 шт./м2

» 2,0

Не допускаются

5.1.2. Стекло должно иметь ровные кромки и целые углы.

Допускаются:

- дефекты края стекла (щербление, сколы), которые не должны проникать более чем на половину толщины листа стекла;

- повреждение углов (по биссектрисе), которые не должны превышать предельных отклонений по длине и ширине.

По требованию потребителя (заказчика) стекло может иметь шлифованную кромку.

5.1.3. Оптические искажения стекла с солнцезащитным твердым покрытием, имеющего коэффициент направленного пропускания света не менее 30 %, не должны превышать требований, указанных в таблице 5.

Таблица 5

Наименование показателя

Нормативное значение

Оптические искажения, видимые в проходящем свете

Не допускается искажение полос экрана «зебра» под углом менее или равным 45°

Оптические искажения, видимые в отраженном свете

Не допускается отклонение показателя отраженного растра более 5 мм

5.1.4. Оптические искажения стекла с декоративным твердым покрытием не нормируются.

5.1.5. Солнечный фактор стекла с солнцезащитным твердым покрытием должен быть не более 0,60.

5.1.6. Спектральные характеристики стекла с солнцезащитным покрытием, такие как:

- коэффициент направленного пропускания света;

- коэффициент отражения света стороной стекла без покрытия;

- коэффициент отражения света стороной стекла с покрытием;

- коэффициент поглощения света;

- коэффициент пропускания солнечной энергии;

- коэффициент отражения солнечной энергии стекла стороной без покрытия;

- коэффициент отражения солнечной энергии стекла стороной с покрытием;

- коэффициент поглощения солнечной энергии,

согласовываются изготовителем с потребителем и указываются в договоре (заказе).

5.1.7. Отклонения цветовых координат, определяемые по 9.11 от установленных значений, не должны превышать следующих значений: DL* £ ± 2,0; Da* £ ± 1,5; Db* £ ± 1,5.

5.1.8. Стекло должно быть влагостойким.

5.1.9. Стекло должно быть кислотостойким.

5.1.10. Стекло должно быть стойким к воздействию нейтрального соляного тумана.

5.1.11. Стекло должно быть стойким к истиранию.

5.1.12. Величина остаточных внутренних напряжений не должна быть более 70 нм/см.

5.2. Маркировка, упаковка

5.2.1. Маркировку на стекло, как правило, не наносят. При необходимости, правила маркировки устанавливают в договоре (заказе) между изготовителем и потребителем.

5.2.2. Упаковку стекла производят в соответствии с требованиями, изложенными в договоре поставки. Листы стекла при упаковке пересыпают специальным порошковым материалом на основе полиметилакрилата или полиэтилена высокого давления по нормативным документам.

Допускается по согласованию изготовителя с потребителем листы стекла перекладывать прокладочным материалом, не содержащим царапающих включений и не повреждающим поверхность стекла (пробковыми прокладками, бумагой по нормативным документам или др.), так, чтобы исключалась возможность соприкосновения листов стекла друг с другом.

5.2.3. Если в договоре поставки не оговорены требования к упаковке стекла, то листы стекла упаковывают в дощатые ящики по ГОСТ 4295, специализированные контейнеры для листового стекла, ящичные специализированные поддоны или другой вид тары по нормативным документам.

5.2.4. В каждую стопу контейнера, ящика или любого другого вида тары устанавливают стекло одного размера и толщины.

Листы стекла устанавливают так, чтобы исключалась возможность смещения отдельных листов стекла относительно стопы. Между стопами стекла в контейнере устанавливают предохранительные вставные перегородки (деревянные, из гофрированного картона по ГОСТ Р 52901 или др.).

5.2.5. Пространство между стопами стекла и стенками ящиков должно быть заполнено уплотняющим материалом, обеспечивающим сохранность стекла.

В качестве уплотняющего прокладочного материала в ящиках используют гофрированный картон по ГОСТ Р 52901 или другой уплотняющий прокладочный материал, не допускающий смещение стопы стекла и не повреждающий стекло.

5.2.6. В каждый контейнер, ящик или другой вид тары вкладывают или наклеивают ярлык, в котором указывают:

- наименование или товарный знак предприятия-изготовителя;

- условное обозначение стекла;

- сведения о дате изготовления (или идентификационные данные, позволяющие установить дату отгрузки стекла со склада изготовителя);

- количество листов стекла, шт., или площадь стекла, м2;

- вес нетто, кг.

Допускается по согласованию изготовителя с потребителем в ярлыке указывать торговую марку и размеры стекла вместо условного обозначения, а также приводить дополнительную информацию (сведения о сертификации и т.д.).

5.2.7. Транспортную маркировку производят по ГОСТ 14192 с нанесением манипуляционных знаков «Хрупкое. Осторожно», «Верх», «Беречь от влаги».

5.2.8. При экспортно-импортных операциях требования к маркировке и упаковке стекла уточняют в договорах (контрактах) на поставку.

6. Требования безопасности

6.1. Требования безопасности при производстве стекла устанавливают в соответствии с санитарно-гигиеническими правилами, правилами по электробезопасности, правилами противопожарной безопасности с применением соответствующего технологического оборудования и технологии производства.

6.2. Пожарную безопасность производства стекла обеспечивают системами предотвращения пожара, противопожарной защиты, организационно-техническими мероприятиями по ГОСТ 12.1.004. Не допускается в производственных и складских помещениях использование открытого огня.

6.3. Лица, занятые на производстве стекла, должны быть обеспечены спецодеждой по нормативным документам и средствами индивидуальной защиты по ГОСТ 12.4.011. В производственных помещениях должны быть вода и аптечка с медикаментами для оказания первой помощи.

6.4. Лица, занятые в производстве стекла, при приеме на работу, а также периодически должны проходить медицинский осмотр в соответствии с действующими правилами органов здравоохранения, инструктаж по технике безопасности и обучены правилам безопасной работы согласно ГОСТ 12.0.004. К изготовлению стекла не допускаются лица моложе 18 лет.

6.5. При выполнении погрузочно-разгрузочных работ должны соблюдаться правила безопасности согласно ГОСТ 12.3.009.

6.6. Для всех технологических операций и производственных процессов, включая погрузочно-разгрузочные, упаковочные и транспортные, должны быть разработаны и утверждены в установленном порядке инструкции по технике безопасности.

7. Требования охраны окружающей среды

7.1. Стекло является экологически безопасной продукцией и в процессе производства, транспортирования, хранения и эксплуатации не выделяет токсичных веществ в окружающую среду.

7.2. Утилизацию отходов стекла производят путем его промышленной переработки или захоронения на специализированных полигонах.

8. Правила приемки

8.1. Приемку стекла на соответствие требованиям настоящего стандарта производят партиями. Партией считают количество стекла, оформленное одним документом о качестве.

8.2. Стекло подвергают приемо-сдаточным испытаниям по 4.2, 4.4 - 4.7, 5.1.1 - 5.1.3, периодическим - по 5.1.5 - 5.1.12.

8.3. Приемо-сдаточные испытания

8.3.1. Проверка партии листов стекла на соответствие требованиям 4.2, 4.4 - 4.7, 5.1.1 - 5.1.2 должна проводиться по двухступенчатому плану контроля по ГОСТ Р ИСО 2859-1 для AQL 4 %.

8.3.2. Объем выборки в зависимости от объема партии для первой и второй ступеней плана контроля, а также приемочные и браковочные числа приведены в таблице 6.

Таблица 6

Объем партии изделий, шт.

Ступень плана контроля

Объем выборки, шт.

Общий объем выборки, шт.

Приемочное число

Браковочное число

От 2* до 90 включ.

1

3

3

0

2

2

3

6

1

2

Св. 90 до 150 включ.

1

5

5

0

2

2

5

10

1

2

Св. 150 до 280 включ.

1

8

8

0

2

2

8

16

1

2

Св. 280 до 500 включ.

1

13

13

0

3

2

13

26

3

4

Св. 500 до 1200 включ.

1

20

20

1

4

2

20

40

4

5

Св. 1200 до 3200 включ.

1

32

32

2

5

2

32

64

6

7

* Если объем выборки больше объема партии, производят 100 %-ный контроль.

8.3.3. Партию листов стекла считают принятой, если число дефектных листов в выборке меньше или равно приемочному числу, указанному в таблице 6 для первой ступени плана контроля, и бракуют, если число дефектных листов больше или равно браковочному числу.

Если число дефектных листов в первой выборке больше приемочного, но меньше браковочного числа, следует отобрать от той же партии выборку объемом, указанным в таблице 6 для второй ступени плана контроля, и повторить испытания по всем контролируемым показателям, указанным в 8.3.1.

После повторной проверки показателей партию листов стекла считают принятой, если суммарное число дефектных листов в выборках для первой и второй ступеней плана контроля меньше или равно приемочному числу, указанному для второй ступени, и считают непринятой, если суммарное число дефектных листов больше или равно браковочному числу, указанному в таблице 6 для второй ступени контроля.

Таблица 7

В штуках

Объем партии

Объем выборки

До 90 включ.

2

Св. 90 » 500      »

3

» 500 » 3200    »

5

8.3.4. Для проверки оптических искажений (см. 5.1.3) из партии составляют выборку из числа листов, принятых по 8.3.1 - 8.3.3 объемом, указанным в таблице 7.

Партию считают принятой, если все листы соответствуют требованиям 5.1.3. При несоответствии хотя бы одного листа требованиям 5.1.3 проводят повторную проверку по этому показателю на удвоенном количестве листов. При получении неудовлетворительных результатов повторной проверки хотя бы на одном листе партию считают непринятой.

8.4. Периодические испытания

8.4.1. Стекло подвергают периодическим испытаниям по 5.1.5 - 5.1.12 в соответствии с таблицей 8 и при изменении технологии производства.

Таблица 8

Наименование показателя

Технические требования

Периодичность

Количество образцов, шт.

Метод испытаний

Солнечный фактор

По 5.1.5

Один раз в шесть месяцев

3

По 9.9

Спектральные характеристики

По 5.1.6

Один раз в шесть месяцев

По 9.8

Отклонение цветовых координат

По 5.1.7

Один раз в три месяца

По 9.11

Влагостойкость

По 5.1.8

Один раз в год

По 9.12

Кислотостойкость

По 5.1.9

Один раз в год

По 9.13

Стойкость к нейтральному соляному туману

По 5.1.10

Один раз в год

По 9.14

Стойкость к истиранию

По 5.1.11

Один раз в год

По 9.15

Величина остаточных напряжений

По 5.1.12

Один раз в шесть месяцев

5

По 9.16

8.4.2. При получении неудовлетворительных результатов, если хотя бы один образец не соответствует заданным требованиям, проводят повторные испытания на удвоенном количестве образцов.

Результаты повторных испытаний распространяются на всю партию.

При получении неудовлетворительных результатов повторных испытаний партию бракуют и переводят испытания по данному показателю в приемо-сдаточные до получения положительных результатов не менее чем на двух партиях подряд.

При изменении технологии производства, а также не реже одного раза в три года результаты периодических испытаний подтверждают испытаниями, проводимыми в испытательных центрах (лабораториях), аккредитованных в установленном порядке на право проведения этих видов испытаний.

8.4.3. Каждую партию стекла сопровождают документом о качестве, в котором указывают:

- наименование или товарный знак предприятия-изготовителя;

- условное обозначение стекла;

- количество листов стекла, шт., или площадь стекла, м2;

- количество и идентификационное обозначение ящиков, контейнеров или другого вида тары;

- номер и дату отгрузки.

Примечание - За дату отгрузки допускается принимать дату составления документа.

По согласованию изготовителя с потребителем в документе допускается указывать торговую марку стекла вместо условного обозначения и дополнительную информацию (результаты испытаний, сведения о сертификации и т.д.).

8.5. При экспортно-импортных операциях требования к содержанию документа, сопровождающего партию стекла, могут устанавливаться в договорах (контрактах) на поставку.

9. Методы контроля

9.1. Определение длины и ширины

9.1.1. Сущность метода

Метод основан на измерении линейных размеров и вычислении отклонений от заданных значений.

9.1.2. Отбор образцов

Испытание проводят на листах стекла, отобранных в соответствии с 8.3.1.

9.1.3. Средства контроля (измерений)

Рулетка по ГОСТ 7502 или другие средства измерений с ценой деления не более 1 мм.

9.1.4. Проведение испытания

Для определения длины (ширины) проводят два измерения параллельно кромкам листа стекла на расстоянии от края не менее толщины листа стекла. Погрешность измерения равна 1 мм.

9.1.5. Обработка результатов

9.1.5.1. Длину (ширину) стекла определяют как среднеарифметическое значение результатов измерений, округленное до 1 мм.

9.1.5.2. Отклонение размеров по длине (ширине) определяют как разность между каждым значением длины (ширины), измеренным по 9.1.4, и номинальным значением длины (ширины) листа стекла.

9.1.6. Оценка результатов

Стекло считают выдержавшим испытание, если отклонение размеров по длине и ширине соответствует 4.4.

9.2. Определение разности длин диагоналей

9.2.1. Сущность метода

Метод основан на измерении линейных размеров и вычислении отклонений от заданных значений.

9.2.2. Отбор образцов

Испытания проводят на листах стекла, отобранных в соответствии с 8.3.1.

9.2.3. Средства контроля (измерений)

Рулетка по ГОСТ 7502 или другие средства измерений с ценой деления не более 1 мм.

9.2.4. Проведение испытания

Измеряют длину каждой диагонали. Погрешность измерения равна 1 мм.

9.2.5. Обработка результатов

Вычисляют разность длин измеренных диагоналей.

9.2.6. Оценка результатов

Стекло считают выдержавшим испытание, если разность длин диагоналей соответствует требованиям 4.7.

9.3. Определение отклонения от плоскостности

9.3.1. Сущность метода

Метод основан на определении максимального отклонения поверхности листа стекла от контрольного инструмента с допустимым отклонением от плоскостности.

9.3.2. Отбор образцов

Испытание проводят на листах стекла, отобранных в соответствии с 8.3.1.

9.3.3. Средства контроля (измерений)

Линейка по ГОСТ 427 или строительный уровень по ГОСТ 9416 длиной не менее 1000 мм. Набор щупов класса точности не ниже 2 по нормативным документам.

9.3.4. Проведение испытания

Лист стекла устанавливают вертикально на длинную сторону стекла (угол отклонения от вертикали не должен превышать 15°) таким образом, чтобы исключить прогиб стекла под собственным весом. Линейку или строительный уровень прикладывают ребром к поверхности листа стекла вдоль кромок на расстоянии не более 25 мм таким образом, чтобы середина линейки или уровня совпадала с центром листа стекла.

Расстояние (зазор) между поверхностью листа стекла и линейкой или уровнем контролируют щупом.

Толщина щупа должна быть равна:

- 0,001 длины стороны листа стекла, вдоль которой производится измерение, если длина линейки или уровня больше длины (ширины) листа стекла;

- 0,001 длины линейки или уровня, если их длина меньше или равна длине (ширине) листа стекла.

Испытание проводят при вертикальном и горизонтальном положениях линейки или уровня.

9.3.5. Оценка результатов

Стекло считают выдержавшим испытание, если щуп не входит в зазор.

9.4. Определение отклонения от прямолинейности кромок

9.4.1. Сущность метода

Метод основан на определении максимального отклонения кромки листа стекла от контрольного инструмента с допустимым отклонением от прямолинейности.

9.4.2. Отбор образцов

Испытание проводят на листах стекла, отобранных в соответствии с 8.3.1.

9.4.3. Средства контроля (измерений)

Линейка по ГОСТ 427 или строительный уровень по ГОСТ 9416 длиной не менее 300 мм.

Набор щупов класса точности не ниже 2 по нормативным документам.

9.4.4. Проведение испытания

К каждой кромке примерно посередине листа стекла поочередно прикладывают ребром металлическую линейку или строительный уровень и щупом, толщина которого равна максимальному допускаемому значению отклонения от прямолинейности, контролируют расстояние (зазор) между кромкой стекла и линейкой или уровнем.

9.4.5. Оценка результатов

Стекло считают выдержавшим испытание, если щуп не входит в зазор.

9.5. Определение количества и размеров пороков

9.5.1. Сущность метода

Метод основан на визуальном осмотре стекла и измерении размеров обнаруженных пороков.

9.5.2. Отбор образцов

Испытание проводят на листах стекла, отобранных в соответствии с 8.3.1.

9.5.3. Средства контроля (измерений)

Линейка с ценой деления не более 1 мм по ГОСТ 427.

Лупа с ценой деления не более 0,25 мм по ГОСТ 25706.

Рулетка с ценой деления не более 1 мм по ГОСТ 7502.

9.5.4. Проведение испытания

Испытание проводят в проходящем свете при рассеянном дневном освещении или подобном ему искусственном (без прямого освещения).

Лист стекла устанавливают вертикально (угол отклонения от вертикали не должен превышать 15°). Освещенность поверхности листа стекла должна быть от 300 до 600 лк.

Визуальный осмотр проводят, находясь на расстоянии от 0,6 до 1,0 м от поверхности листа стекла и перпендикулярно поверхности.

Точечные просветы контролируют в отраженном свете. Лист стекла располагают в горизонтальном положении. Освещенность поверхности листа стекла должна быть от 300 до 600 лк.

В случае обнаружения при визуальном осмотре пороков производят подсчет их количества, измерение размеров и, при необходимости, расстояния между пороками.

Размеры пороков определяют по наибольшим четко выраженным видимым очертаниям без учета оптических искажений.

Пороки размером менее 1 мм измеряют лупой, размером 1 мм и более - металлической линейкой.

Расстояние между пороками измеряют между их центрами линейкой или рулеткой.

Щербины и сколы измеряют линейкой или другим мерительным инструментом с ценой деления не более 1 мм.

9.5.5. Оценка результатов

Стекло считают выдержавшим испытание, если количество и размеры пороков соответствует требованиям 5.1.1 - 5.1.2.

9.6. Определение повреждения углов

9.6.1. Сущность метода

Метод основан на определении максимального зазора между сторонами листа стекла и угольника.

9.6.2. Отбор образцов

Испытание проводят на листах стекла, отобранных в соответствии с 8.3.1.

9.6.3. Средства контроля (измерений)

Угольник класса точности не ниже 2 по ГОСТ 3749.

Набор щупов класса точности не ниже 2 по нормативным документам.

9.6.4. Проведение испытания

К каждому углу листа стекла поочередно прикладывают угольник так, чтобы одна измерительная поверхность угольника была прижата к кромке стекла. Расстояние (зазор) между второй измерительной поверхностью угольника и кромкой листа стекла контролируют щупом, толщина которого равна максимальному допускаемому значению повреждения углов согласно 5.1.2.

9.6.5. Оценка результатов

Стекло считают выдержавшим испытание, если щуп не входит в зазор.

9.7. Определение толщины стекла

9.7.1. Сущность метода

Метод основан на измерении линейных размеров и вычислении величины отклонений от заданных значений.

9.7.2. Отбор образцов

Испытания проводят на листах стекла, отобранных в соответствии с 8.3.1.

9.7.3. Средство контроля (измерений)

Микрометр с ценой деления не более 0,01 мм по ГОСТ 6507 или другие средства измерений с ценой деления не более 0,01 мм.

9.7.4. Проведение испытания

Толщину стекла измеряют в четырех точках, расположенных в середине каждой стороны листа стекла на расстоянии от края не менее толщины стекла. Погрешность измерения равна 0,01 мм.

9.7.5. Обработка результатов

9.7.5.1. Толщину стекла определяют как среднеарифметическое значение результатов измерений, округленное до 0,01 мм.

9.7.5.2. Отклонение по толщине Dd, мм, вычисляют по формуле

Dd = max |di - d0|,                                                         (1)

где di - толщина, измеренная по 9.7.4, мм;

d0 - номинальная толщина, мм.

9.7.5.3. Разнотолщинность стекла определяют как разность между максимальным и минимальным значениями результатов измерений толщины одного и того же листа стекла.

9.8. Определение спектральных характеристик

9.8.1. Спектральные характеристики определяют по ГОСТ Р 54164.

9.9. Определение солнечного фактора

9.9.1. Солнечный фактор определяют по ГОСТ Р 54164.

9.9.2. Оценка результатов

Образцы стекла считают выдержавшими испытание, если измеренная величина солнечного фактора соответствует 5.1.5.

9.10. Определение оптических искажений

9.10.1. Определение оптических искажений, видимых в проходящем свете, проводят по ГОСТ Р 54170 с использованием экрана «зебра».

9.10.2. Определение оптических искажений, видимых в отраженном свете, проводят по ГОСТ Р 54170.

9.10.3. Оценка результатов

Образцы стекла считают выдержавшими испытание, если измеренные значения оптических искажений соответствуют 5.1.3.

9.11. Определение отклонения цветовых координат

9.11.1. Отклонение цветовых координат определяют по ГОСТ Р 54169.

9.11.2. Оценка результатов

Образцы стекла считают выдержавшими испытание, если полученные значения отклонения цветовых координат соответствуют 5.1.7.

9.12. Определение влагостойкости

9.12.1. Сущность метода

Метод состоит в способности покрытия стекла выдерживать воздействие насыщенного водяного пара при определенной температуре в течении заданного периода времени.

9.12.2. Отбор образцов

Испытания проводят на трех образцах размером не менее 100´150 мм, вырезанных из трех листов стекла из испытываемой партии, не имеющих пороков внешнего вида. На образцах наличие царапин не допускается.

9.12.3. Испытательное оборудование и средства измерений

Испытательное оборудование включает в себя камеру тепла и влаги, обеспечивающую создание, регулирование и поддержание заданных режимов испытания:

- воздействие положительных температур до 100 °C с погрешностью поддержания температуры ± 5 °C;

- относительная влажность воздуха до 98 % с погрешностью поддержания ± 5 %.

При определении влагостойкости используют следующие средства измерений.

Линейка по ГОСТ 427 с ценой деления не более 1 мм.

Лупа с ценой деления не более 0,25 мм по ГОСТ 25706.

Рулетка с ценой деления не более 1 мм по ГОСТ 7502.

Внутренняя поверхность камеры должна быть сделана из материалов, не подвергающихся коррозии в заданных условиях испытания.

Температуру и влажность контролируют средствами измерения с погрешностью не более: 1 °C для температуры, 1 % для влажности.

Вода, обеспечивающая заданную влажность в камере, должна иметь pH не менее 5 ед.

9.12.4. Проведение испытания

9.12.4.1. Перед проведением испытания образцы выдерживают при температуре (20 ± 4) °C не менее одного часа. Затем на образцах измеряют коэффициент направленного пропускания света на длинах волн 550 и 900 нм.

9.12.4.2. После выдержки образцы устанавливают в камере покрытием вверх под углом (15 ± 5)° к вертикали так, чтобы они были на расстоянии 20 - 40 мм друг от друга и на расстоянии не менее 100 мм от стенок камеры.

9.12.4.3. Образцы выдерживают в камере при температуре (40 ± 2) °C в течение 21 сут. Капли конденсата не должны попадать на образцы.

9.12.4.4. По истечении времени выдержки и остывании образцов их извлекают из камеры, выдерживают на воздухе до высыхания, протирают сухой мягкой неворсистой тканью, подвергают визуальному контролю и измеряют коэффициент направленного пропускания света на длинах волн 550 и 900 нм.

9.12.4.5. Образцы осматривают при рассеянном освещении при освещенности от 300 до 600 лк на расстоянии от 0,6 до 1,0 м.

9.12.5. Оценка результатов

9.12.5.1. После проведения испытания образцы подвергают визуальному осмотру и спектрофотометрическим измерениям.

9.12.5.2. Стекло считают выдержавшим испытание, если:

а) при визуальном осмотре не обнаружено:

- пороков размером более 3 мм,

- пороков размером от 2 до 3 мм - не более 1 шт.,

- пороков размером от 1 до 2 мм - не более 5 шт.;

б) при спектрофотометрических измерениях:

- коэффициент направленного пропускания света на длинах волн 550 и 900 нм после испытаний изменился по сравнению с коэффициентом направленного пропускания света на этих же длинах волн до испытаний не более чем на ± 0,03.

Примечание - Коэффициенты направленного пропускания света на длинах волн 550 и 900 нм измеряют с помощью спектрофотометра в соответствии с инструкцией по его эксплуатации.

9.13. Определение кислотостойкости

9.13.1. Сущность метода

Метод состоит в способности покрытия стекла выдерживать воздействие соляной кислоты в течение заданного времени без изменения внешнего вида.

9.13.2. Отбор образцов

Испытания проводят на трех образцах размером не менее 100´150 мм, вырезанных из трех листов стекла из испытываемой партии, не имеющих пороков внешнего вида. На образцах наличие царапин не допускается.

9.13.3. Аппаратура и реактивы

Цилиндр (без дна) из химически стойкого стекла диаметром не более 80 мм и высотой не менее 50 мм.

Мастика уплотняющая по ГОСТ 14791 (химически нейтральная).

Этиловый спирт по ГОСТ 17299.

Вода дистиллированная по ГОСТ 6709.

Раствор соляной кислоты, приготовленный из 30 см3 соляной кислоты по ГОСТ 3118 с плотностью 1,19 г/см3 и 970 см3 дистиллированной воды по ГОСТ 6709.

9.13.4. Проведение испытаний

Перед проведением испытаний образцы стекла тщательно очищают этиловым спиртом и на образцах измеряют коэффициент направленного пропускания света на длинах волн 550 и 900 нм.

Стеклянный цилиндр приклеивают уплотняющей мастикой к поверхности образца, на которую нанесено покрытие, и наполняют его раствором соляной кислоты на высоту (20 ± 1) мм. Образцы с раствором выдерживают при температуре (23 ± 3) °C в течение 7 сут. После 4 сут раствор обновляют.

После 7 сут раствор выливают, стеклянный цилиндр снимают, поверхность стекла тщательно очищают этиловым спиртом, высушивают и измеряют коэффициент направленного пропускания света на длинах волн 550 и 900 нм.

9.13.5. Оценка результатов

9.13.5.1. После проведения испытаний образцы подвергают визуальному осмотру и спектрофотометрическим измерениям.

9.13.5.2. Стекло считают выдержавшим испытание, если:

а) при визуальном осмотре не обнаружено:

- пороков размером более 3 мм,

- пороков размером от 2 до 3 мм - не более 1 шт.,

- пороков размером от 1 до 2 мм - не более 5 шт.;

б) при спектрофотометрических измерениях:

- коэффициент направленного пропускания света на длинах волн 550 и 900 нм после испытаний изменился по сравнению с коэффициентом направленного пропускания света на этих же длинах волн до испытаний не более чем на ± 0,03.

Примечание - Коэффициенты направленного пропускания света на длинах волн 550 и 900 нм измеряют с помощью спектрофотометра в соответствии с инструкцией по его эксплуатации.

9.14. Определение стойкости к воздействию нейтрального соляного тумана

9.14.1. Сущность метода

Метод состоит в способности покрытия стекла выдерживать воздействие соляного тумана в течение заданного периода времени без изменения внешнего вида.

9.14.2. Отбор образцов

Испытания проводят на трех образцах размером не менее 100´150 мм, вырезанных из листов стекла из испытываемой партии, не имеющих пороков внешнего вида. На стекле наличие царапин не допускается.

9.14.3. Испытательное оборудование и реактивы

9.14.3.1. Испытательное оборудование включает в себя камеру, обеспечивающую равномерное распыление раствора. Рекомендуемый объем камеры - не менее 0,4 м3.

Детали камеры, контактирующие с соляным раствором, должны быть изготовлены из материалов, не подвергающихся коррозии в условиях испытаний и не оказывающих влияния на коррозионную активность соляного тумана.

Камера должна быть сконструирована таким образом, чтобы брызги раствора из распыляющего устройства и капли жидкости, конденсирующиеся на различных частях камеры, не попадали на испытываемые образцы.

9.14.3.2. Камера должна обеспечивать:

- температуру в камере не менее плюс 50 °C;

- поддержание температуры с погрешностью ± 2 °C;

- распыление соляного раствора с производительностью от 0,5 до 1,0 дм3 в час.

Температуру в камере измеряют на расстоянии не менее 100 мм от стенок камеры.

9.14.3.3. Нейтральный соляной туман приготавливают путем растворения NaCl по ГОСТ 4233 в деминерализованной воде с проводимостью не менее 30 мкСм/см, при этом концентрация NaCl должна составлять (50 ± 5) г/л при температуре (25 ± 2) °C.

9.14.4. Проведение испытания

9.14.4.1. Перед проведением испытания образцы выдерживают при температуре (20 ± 4) °C не менее одного часа. Затем на образцах измеряют коэффициент направленного пропускания света на длинах волн 550 и 900 нм.

9.14.4.2. После выдержки образцы устанавливают в камере покрытием вверх под углом (15 ± 5)° к вертикали так, чтобы они были на расстоянии 20 - 40 мм друг от друга и на расстоянии не менее 100 мм от стенок камеры.

9.14.4.3. Образцы выдерживают в камере при температуре (35 ± 2) °C в течение 21 сут.

9.14.4.4. По истечении времени выдержки и остывании образцов их извлекают из камеры, выдерживают на воздухе до высыхания, протирают сухой мягкой неворсистой тканью, подвергают визуальному контролю и измеряют коэффициент направленного пропускания света на длинах волн 550 и 900 нм.

9.14.4.5. Образцы осматривают при рассеянном освещении при освещенности от 300 до 600 лк на расстоянии от 0,6 до 1,0 м.

9.14.5. Оценка результатов

9.14.5.1. После проведения испытаний образцы подвергают визуальному осмотру и спектрофотометрическим измерениям.

9.14.5.2. Стекло считают выдержавшим испытание, если:

а) при визуальном осмотре не обнаружено:

- пороков размером более 3 мм,

- пороков размером от 2 до 3 мм - не более 1 шт.,

- пороков размером от 1 до 2 мм - не более 5 шт.,

- царапин и пятен на покрытии;

б) при спектрофотометрических измерениях:

- коэффициент направленного пропускания света на длинах волн 550 и 900 нм после испытаний изменился по сравнению с коэффициентом направленного пропускания света на этих же длинах волн до испытаний не более чем на ± 0,03.

Примечание - Коэффициенты направленного пропускания на длинах волн 550 и 900 нм измеряют с помощью спектрофотометра в соответствии с инструкцией по его эксплуатации.

9.15. Определение стойкости к истиранию

9.15.1. Сущность метода

Метод состоит в способности покрытия стекла противостоять истирающему воздействию.

9.15.2. Отбор образцов

9.15.2.1. Испытания проводят на трех образцах размером не менее 300´300 мм, вырезанных из трех листов стекла от испытываемой партии, не имеющих пороков внешнего вида.

9.15.2.2. Перед проведением испытаний образцы должны быть вымыты с помощью обычных моющих средств и протерты сухой мягкой неворсистой тканью для удаления загрязнений. Затем на образцах измеряют коэффициент направленного пропускания света на длинах волн 550 и 900 нм.

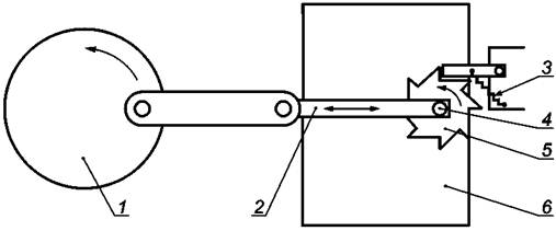
9.15.3. Аппаратура

Испытательная установка показана на рисунке 1, обеспечивающая истирающее воздействие на стекло со скоростью (60 ± 6) шагов/мин, длину шага (120 ± 5) мм и прижимное усилие (4,0 ± 0,4) Н.

Войлочная насадка, используемая как абразивный материал, должна иметь следующие характеристики:

- плотность (0,52 ± 0,052) г/см2;

- толщина (10 ± 1) мм;

- диаметр (14,5 ± 0,5) мм.

1 - маховик; 2 - рычаг; 3 - пружина; 4 - войлочная насадка;
5 - вращающееся колесо для войлочной насадки; 6 - образец стекла

Рисунок 1 - Схема испытательной установки для определения стойкости к истиранию

9.15.4. Проведение испытания

Образцы закрепляют так, чтобы во время проведения испытания они не смещались. Установку приводят в движение, и металлический рычаг через войлочную насадку создает нагрузку перпендикулярно поверхности стекла (4,0 ± 0,4) Н. Истирающее воздействие на образец длится по достижении 500 шагов. На образце проводят не менее четырех испытаний (истирающих воздействий). Для каждого испытания (истирающего воздействия) используют новую войлочную насадку.

9.15.5. Оценка результатов

Образцы считают выдержавшими испытание, если коэффициент направленного пропускания света на длинах волн 550 и 900 нм после испытаний изменился по сравнению с коэффициентом направленного пропускания света на этих же длинах волн до испытаний не более чем на ± 0,05.

Примечание - Коэффициенты направленного пропускания света на длинах волн 550 и 900 нм измеряют с помощью спектрофотометра в соответствии с инструкцией по его эксплуатации.

9.16. Определение величины остаточных внутренних напряжений

9.16.1. Величину остаточных внутренних напряжений определяют в соответствии с ГОСТ Р 54170.

9.16.2. Оценка результатов

Образцы считают выдержавшими испытание, если измеренная величина остаточных внутренних напряжений соответствует 5.1.12.

10. Транспортирование и хранение

10.1. Упакованное стекло транспортируют всеми видами транспорта в соответствии с правилами перевозки грузов, действующими на данном виде транспорта. Размещение и крепление в транспортных средствах производят в соответствии с техническими условиями погрузки и крепления грузов.

Ящики с листами стекла или другой вид тары транспортируют в железнодорожных вагонах, автомобилях, в трюмах судов, обеспечивая защиту стекла от атмосферных осадков.

Ящики с листами стекла или другой вид тары при длине кромки свыше 1800 мм транспортируют на открытом подвижном железнодорожном транспорте (полувагонах) и специальных автомобилях, обеспечивая защиту стекла от атмосферных осадков.

10.2. При транспортировании ящиков или другого вида тары их устанавливают так, чтобы торцы листов стекла были расположены в них по направлению движения.

10.3. При транспортировании, погрузке, выгрузке и хранении стекла должны быть приняты меры, обеспечивающие его сохранность от механических повреждений.

10.4. Стекло хранят в сухих, закрытых, отапливаемых помещениях. Хранение стекла в контейнерах не допускается.

10.5. При хранении и транспортировании стекло не должно подвергаться воздействию влаги, агрессивной среды и механическим повреждениям.

10.6. При хранении ящики со стеклом или другой вид тары должны быть установлены в один ярус под углом 5° - 15° к вертикали на специально предусмотренных опорах. Допускается устанавливать ящики со стеклом в вертикальные стойки, снабженные крепежными элементами, препятствующими перемещению ящиков, а также в два яруса, если имеются специальные привалы и завод-изготовитель допускает хранение таким образом. Опирать ящики на стены или колонны здания запрещается.

Если транспортная тара влажная, стекло необходимо распаковать на складе получателя.

11. Указания по эксплуатации

11.1. При распаковывании транспортной тары, хранении стекла и в период его эксплуатации не допускается:

- взаимное касание стекол без прокладки между ними бумаги, пробковых прокладок, а также касание о твердые предметы;

- протирание стекла жесткой тканью и тканью, содержащей царапающие примеси;

- удары твердыми предметами;

- очистка сухого стекла жесткими щетками без подачи смывающей жидкости;

- длительное присутствие влаги на поверхности стекла;

- эксплуатация в агрессивной среде.

11.2. При работе со стеклом необходимо использовать чистые матерчатые перчатки во избежание загрязнения жировыми пятнами от пальцев рук.

11.3. Стекло необходимо мыть при помощи вертикальных или горизонтальных многоэтапных автоматических моющих установок с использованием теплой деминерализованной воды и мягких роликовых щеток с диаметром волокна не более 0,25 мм. Режим мойки устанавливается в рекомендациях изготовителя стекла.

При ручной мойке стекло можно мыть неагрессивными стекломоющими средствами, не содержащими абразивных частиц, мягкой неворсистой ветошью и протирать сухой мягкой неворсистой ветошью.

11.4. Правила монтажа (включая ориентацию покрытия) стекла с солнцезащитным покрытием в светопрозрачные конструкции устанавливают в нормативных документах, проектной и конструкторской документациях на эти конструкции.

11.5. Резку стекла производят по поверхности листа стекла, на которую нанесено твердое покрытие, применяя жидкость для резки, рекомендованную изготовителем стекла. Допускается проводить резку стекла со стороны, противоположной покрытию. При этом следует соблюдать чистоту поверхности стола для резки и не допускать контакта осколков стекла с покрытием.

11.6. Поверхность стекла с солнцезащитным или декоративным твердым покрытием должна быть защищена от соприкосновения или трения с любой шероховатой поверхностью.

11.7. При применении в наружном остеклении стекла, имеющего коэффициент поглощения света более 25 %, стекло должно быть закаленным. Допускается вместо коэффициента поглощения света использовать коэффициент поглощения солнечной энергии. Для неупрочненного стекла (в том числе многослойного) коэффициент поглощения солнечной энергии должен быть не более 50 %.

11.8. При выполнении отделочных и других видов работ необходимо соблюдать меры по защите стекол от механических повреждений (ударов, вибрации и т.д.) и загрязнений (попадание на стекло строительных материалов, таких как цементная пыль, строительные растворы, штукатурные смеси и др. агрессивных веществ).

11.9. При проведении сварочных работ стекло необходимо защищать от попадания на него раскаленных частиц металла.

12. Гарантии изготовителя

12.1. Изготовитель гарантирует соответствие стекла требованиям настоящего стандарта при соблюдении правил эксплуатации, упаковки, транспортирования и хранения.

12.2. Гарантийный срок хранения стекла - пять лет со дня изготовления.

Ключевые слова: стекло с солнцезащитным твердым покрытием, стекло с декоративным твердым покрытием, основные размеры, характеристики, упаковка, маркировка, требования безопасности, приемка, методы контроля, транспортирование, хранение